JP7246768B2 - カバードステントの製造方法及びそれによって製造されたカバードステント - Google Patents

カバードステントの製造方法及びそれによって製造されたカバードステント Download PDF

Info

Publication number
JP7246768B2
JP7246768B2 JP2021130983A JP2021130983A JP7246768B2 JP 7246768 B2 JP7246768 B2 JP 7246768B2 JP 2021130983 A JP2021130983 A JP 2021130983A JP 2021130983 A JP2021130983 A JP 2021130983A JP 7246768 B2 JP7246768 B2 JP 7246768B2
Authority
JP
Japan
Prior art keywords
elastic member
stent
cylindrical body
ptfe
polytetrafluoroethylene
Prior art date
Legal status (The legal status is an assumption and is not a legal conclusion. Google has not performed a legal analysis and makes no representation as to the accuracy of the status listed.)
Active
Application number
JP2021130983A
Other languages
English (en)
Other versions
JP2022177774A (ja
Inventor
チョル ミョン,ビョン
フンソン キム
Original Assignee
ビーシーエム カンパニー,リミテッド
Priority date (The priority date is an assumption and is not a legal conclusion. Google has not performed a legal analysis and makes no representation as to the accuracy of the date listed.)
Filing date
Publication date
Application filed by ビーシーエム カンパニー,リミテッド filed Critical ビーシーエム カンパニー,リミテッド
Publication of JP2022177774A publication Critical patent/JP2022177774A/ja
Application granted granted Critical
Publication of JP7246768B2 publication Critical patent/JP7246768B2/ja
Active legal-status Critical Current
Anticipated expiration legal-status Critical

Links

Images

Classifications

    • AHUMAN NECESSITIES
    • A61MEDICAL OR VETERINARY SCIENCE; HYGIENE
    • A61FFILTERS IMPLANTABLE INTO BLOOD VESSELS; PROSTHESES; DEVICES PROVIDING PATENCY TO, OR PREVENTING COLLAPSING OF, TUBULAR STRUCTURES OF THE BODY, e.g. STENTS; ORTHOPAEDIC, NURSING OR CONTRACEPTIVE DEVICES; FOMENTATION; TREATMENT OR PROTECTION OF EYES OR EARS; BANDAGES, DRESSINGS OR ABSORBENT PADS; FIRST-AID KITS
    • A61F2/00Filters implantable into blood vessels; Prostheses, i.e. artificial substitutes or replacements for parts of the body; Appliances for connecting them with the body; Devices providing patency to, or preventing collapsing of, tubular structures of the body, e.g. stents
    • A61F2/02Prostheses implantable into the body
    • A61F2/04Hollow or tubular parts of organs, e.g. bladders, tracheae, bronchi or bile ducts
    • A61F2/06Blood vessels
    • A61F2/07Stent-grafts
    • AHUMAN NECESSITIES
    • A61MEDICAL OR VETERINARY SCIENCE; HYGIENE
    • A61FFILTERS IMPLANTABLE INTO BLOOD VESSELS; PROSTHESES; DEVICES PROVIDING PATENCY TO, OR PREVENTING COLLAPSING OF, TUBULAR STRUCTURES OF THE BODY, e.g. STENTS; ORTHOPAEDIC, NURSING OR CONTRACEPTIVE DEVICES; FOMENTATION; TREATMENT OR PROTECTION OF EYES OR EARS; BANDAGES, DRESSINGS OR ABSORBENT PADS; FIRST-AID KITS
    • A61F2/00Filters implantable into blood vessels; Prostheses, i.e. artificial substitutes or replacements for parts of the body; Appliances for connecting them with the body; Devices providing patency to, or preventing collapsing of, tubular structures of the body, e.g. stents
    • A61F2/82Devices providing patency to, or preventing collapsing of, tubular structures of the body, e.g. stents
    • AHUMAN NECESSITIES
    • A61MEDICAL OR VETERINARY SCIENCE; HYGIENE
    • A61FFILTERS IMPLANTABLE INTO BLOOD VESSELS; PROSTHESES; DEVICES PROVIDING PATENCY TO, OR PREVENTING COLLAPSING OF, TUBULAR STRUCTURES OF THE BODY, e.g. STENTS; ORTHOPAEDIC, NURSING OR CONTRACEPTIVE DEVICES; FOMENTATION; TREATMENT OR PROTECTION OF EYES OR EARS; BANDAGES, DRESSINGS OR ABSORBENT PADS; FIRST-AID KITS
    • A61F2/00Filters implantable into blood vessels; Prostheses, i.e. artificial substitutes or replacements for parts of the body; Appliances for connecting them with the body; Devices providing patency to, or preventing collapsing of, tubular structures of the body, e.g. stents
    • A61F2/82Devices providing patency to, or preventing collapsing of, tubular structures of the body, e.g. stents
    • A61F2/844Devices providing patency to, or preventing collapsing of, tubular structures of the body, e.g. stents folded prior to deployment
    • AHUMAN NECESSITIES
    • A61MEDICAL OR VETERINARY SCIENCE; HYGIENE
    • A61FFILTERS IMPLANTABLE INTO BLOOD VESSELS; PROSTHESES; DEVICES PROVIDING PATENCY TO, OR PREVENTING COLLAPSING OF, TUBULAR STRUCTURES OF THE BODY, e.g. STENTS; ORTHOPAEDIC, NURSING OR CONTRACEPTIVE DEVICES; FOMENTATION; TREATMENT OR PROTECTION OF EYES OR EARS; BANDAGES, DRESSINGS OR ABSORBENT PADS; FIRST-AID KITS
    • A61F2/00Filters implantable into blood vessels; Prostheses, i.e. artificial substitutes or replacements for parts of the body; Appliances for connecting them with the body; Devices providing patency to, or preventing collapsing of, tubular structures of the body, e.g. stents
    • A61F2/82Devices providing patency to, or preventing collapsing of, tubular structures of the body, e.g. stents
    • A61F2/848Devices providing patency to, or preventing collapsing of, tubular structures of the body, e.g. stents having means for fixation to the vessel wall, e.g. barbs
    • AHUMAN NECESSITIES
    • A61MEDICAL OR VETERINARY SCIENCE; HYGIENE
    • A61LMETHODS OR APPARATUS FOR STERILISING MATERIALS OR OBJECTS IN GENERAL; DISINFECTION, STERILISATION OR DEODORISATION OF AIR; CHEMICAL ASPECTS OF BANDAGES, DRESSINGS, ABSORBENT PADS OR SURGICAL ARTICLES; MATERIALS FOR BANDAGES, DRESSINGS, ABSORBENT PADS OR SURGICAL ARTICLES
    • A61L31/00Materials for other surgical articles, e.g. stents, stent-grafts, shunts, surgical drapes, guide wires, materials for adhesion prevention, occluding devices, surgical gloves, tissue fixation devices
    • A61L31/02Inorganic materials
    • A61L31/022Metals or alloys
    • AHUMAN NECESSITIES
    • A61MEDICAL OR VETERINARY SCIENCE; HYGIENE
    • A61LMETHODS OR APPARATUS FOR STERILISING MATERIALS OR OBJECTS IN GENERAL; DISINFECTION, STERILISATION OR DEODORISATION OF AIR; CHEMICAL ASPECTS OF BANDAGES, DRESSINGS, ABSORBENT PADS OR SURGICAL ARTICLES; MATERIALS FOR BANDAGES, DRESSINGS, ABSORBENT PADS OR SURGICAL ARTICLES
    • A61L31/00Materials for other surgical articles, e.g. stents, stent-grafts, shunts, surgical drapes, guide wires, materials for adhesion prevention, occluding devices, surgical gloves, tissue fixation devices
    • A61L31/04Macromolecular materials
    • A61L31/048Macromolecular materials obtained by reactions only involving carbon-to-carbon unsaturated bonds
    • AHUMAN NECESSITIES
    • A61MEDICAL OR VETERINARY SCIENCE; HYGIENE
    • A61LMETHODS OR APPARATUS FOR STERILISING MATERIALS OR OBJECTS IN GENERAL; DISINFECTION, STERILISATION OR DEODORISATION OF AIR; CHEMICAL ASPECTS OF BANDAGES, DRESSINGS, ABSORBENT PADS OR SURGICAL ARTICLES; MATERIALS FOR BANDAGES, DRESSINGS, ABSORBENT PADS OR SURGICAL ARTICLES
    • A61L31/00Materials for other surgical articles, e.g. stents, stent-grafts, shunts, surgical drapes, guide wires, materials for adhesion prevention, occluding devices, surgical gloves, tissue fixation devices
    • A61L31/08Materials for coatings
    • A61L31/10Macromolecular materials
    • BPERFORMING OPERATIONS; TRANSPORTING
    • B29WORKING OF PLASTICS; WORKING OF SUBSTANCES IN A PLASTIC STATE IN GENERAL
    • B29CSHAPING OR JOINING OF PLASTICS; SHAPING OF MATERIAL IN A PLASTIC STATE, NOT OTHERWISE PROVIDED FOR; AFTER-TREATMENT OF THE SHAPED PRODUCTS, e.g. REPAIRING
    • B29C53/00Shaping by bending, folding, twisting, straightening or flattening; Apparatus therefor
    • B29C53/56Winding and joining, e.g. winding spirally
    • B29C53/566Winding and joining, e.g. winding spirally for making tubular articles followed by compression
    • BPERFORMING OPERATIONS; TRANSPORTING
    • B29WORKING OF PLASTICS; WORKING OF SUBSTANCES IN A PLASTIC STATE IN GENERAL
    • B29CSHAPING OR JOINING OF PLASTICS; SHAPING OF MATERIAL IN A PLASTIC STATE, NOT OTHERWISE PROVIDED FOR; AFTER-TREATMENT OF THE SHAPED PRODUCTS, e.g. REPAIRING
    • B29C53/00Shaping by bending, folding, twisting, straightening or flattening; Apparatus therefor
    • B29C53/80Component parts, details or accessories; Auxiliary operations
    • AHUMAN NECESSITIES
    • A61MEDICAL OR VETERINARY SCIENCE; HYGIENE
    • A61FFILTERS IMPLANTABLE INTO BLOOD VESSELS; PROSTHESES; DEVICES PROVIDING PATENCY TO, OR PREVENTING COLLAPSING OF, TUBULAR STRUCTURES OF THE BODY, e.g. STENTS; ORTHOPAEDIC, NURSING OR CONTRACEPTIVE DEVICES; FOMENTATION; TREATMENT OR PROTECTION OF EYES OR EARS; BANDAGES, DRESSINGS OR ABSORBENT PADS; FIRST-AID KITS
    • A61F2/00Filters implantable into blood vessels; Prostheses, i.e. artificial substitutes or replacements for parts of the body; Appliances for connecting them with the body; Devices providing patency to, or preventing collapsing of, tubular structures of the body, e.g. stents
    • A61F2/02Prostheses implantable into the body
    • A61F2/04Hollow or tubular parts of organs, e.g. bladders, tracheae, bronchi or bile ducts
    • A61F2/06Blood vessels
    • A61F2/07Stent-grafts
    • A61F2002/072Encapsulated stents, e.g. wire or whole stent embedded in lining
    • AHUMAN NECESSITIES
    • A61MEDICAL OR VETERINARY SCIENCE; HYGIENE
    • A61FFILTERS IMPLANTABLE INTO BLOOD VESSELS; PROSTHESES; DEVICES PROVIDING PATENCY TO, OR PREVENTING COLLAPSING OF, TUBULAR STRUCTURES OF THE BODY, e.g. STENTS; ORTHOPAEDIC, NURSING OR CONTRACEPTIVE DEVICES; FOMENTATION; TREATMENT OR PROTECTION OF EYES OR EARS; BANDAGES, DRESSINGS OR ABSORBENT PADS; FIRST-AID KITS
    • A61F2210/00Particular material properties of prostheses classified in groups A61F2/00 - A61F2/26 or A61F2/82 or A61F9/00 or A61F11/00 or subgroups thereof
    • A61F2210/0014Particular material properties of prostheses classified in groups A61F2/00 - A61F2/26 or A61F2/82 or A61F9/00 or A61F11/00 or subgroups thereof using shape memory or superelastic materials, e.g. nitinol
    • AHUMAN NECESSITIES
    • A61MEDICAL OR VETERINARY SCIENCE; HYGIENE
    • A61FFILTERS IMPLANTABLE INTO BLOOD VESSELS; PROSTHESES; DEVICES PROVIDING PATENCY TO, OR PREVENTING COLLAPSING OF, TUBULAR STRUCTURES OF THE BODY, e.g. STENTS; ORTHOPAEDIC, NURSING OR CONTRACEPTIVE DEVICES; FOMENTATION; TREATMENT OR PROTECTION OF EYES OR EARS; BANDAGES, DRESSINGS OR ABSORBENT PADS; FIRST-AID KITS
    • A61F2210/00Particular material properties of prostheses classified in groups A61F2/00 - A61F2/26 or A61F2/82 or A61F9/00 or A61F11/00 or subgroups thereof
    • A61F2210/0076Particular material properties of prostheses classified in groups A61F2/00 - A61F2/26 or A61F2/82 or A61F9/00 or A61F11/00 or subgroups thereof multilayered, e.g. laminated structures
    • AHUMAN NECESSITIES
    • A61MEDICAL OR VETERINARY SCIENCE; HYGIENE
    • A61FFILTERS IMPLANTABLE INTO BLOOD VESSELS; PROSTHESES; DEVICES PROVIDING PATENCY TO, OR PREVENTING COLLAPSING OF, TUBULAR STRUCTURES OF THE BODY, e.g. STENTS; ORTHOPAEDIC, NURSING OR CONTRACEPTIVE DEVICES; FOMENTATION; TREATMENT OR PROTECTION OF EYES OR EARS; BANDAGES, DRESSINGS OR ABSORBENT PADS; FIRST-AID KITS
    • A61F2220/00Fixations or connections for prostheses classified in groups A61F2/00 - A61F2/26 or A61F2/82 or A61F9/00 or A61F11/00 or subgroups thereof
    • A61F2220/0008Fixation appliances for connecting prostheses to the body
    • AHUMAN NECESSITIES
    • A61MEDICAL OR VETERINARY SCIENCE; HYGIENE
    • A61FFILTERS IMPLANTABLE INTO BLOOD VESSELS; PROSTHESES; DEVICES PROVIDING PATENCY TO, OR PREVENTING COLLAPSING OF, TUBULAR STRUCTURES OF THE BODY, e.g. STENTS; ORTHOPAEDIC, NURSING OR CONTRACEPTIVE DEVICES; FOMENTATION; TREATMENT OR PROTECTION OF EYES OR EARS; BANDAGES, DRESSINGS OR ABSORBENT PADS; FIRST-AID KITS
    • A61F2220/00Fixations or connections for prostheses classified in groups A61F2/00 - A61F2/26 or A61F2/82 or A61F9/00 or A61F11/00 or subgroups thereof
    • A61F2220/0025Connections or couplings between prosthetic parts, e.g. between modular parts; Connecting elements
    • A61F2220/0075Connections or couplings between prosthetic parts, e.g. between modular parts; Connecting elements sutured, ligatured or stitched, retained or tied with a rope, string, thread, wire or cable
    • AHUMAN NECESSITIES
    • A61MEDICAL OR VETERINARY SCIENCE; HYGIENE
    • A61FFILTERS IMPLANTABLE INTO BLOOD VESSELS; PROSTHESES; DEVICES PROVIDING PATENCY TO, OR PREVENTING COLLAPSING OF, TUBULAR STRUCTURES OF THE BODY, e.g. STENTS; ORTHOPAEDIC, NURSING OR CONTRACEPTIVE DEVICES; FOMENTATION; TREATMENT OR PROTECTION OF EYES OR EARS; BANDAGES, DRESSINGS OR ABSORBENT PADS; FIRST-AID KITS
    • A61F2240/00Manufacturing or designing of prostheses classified in groups A61F2/00 - A61F2/26 or A61F2/82 or A61F9/00 or A61F11/00 or subgroups thereof
    • A61F2240/001Designing or manufacturing processes
    • AHUMAN NECESSITIES
    • A61MEDICAL OR VETERINARY SCIENCE; HYGIENE
    • A61FFILTERS IMPLANTABLE INTO BLOOD VESSELS; PROSTHESES; DEVICES PROVIDING PATENCY TO, OR PREVENTING COLLAPSING OF, TUBULAR STRUCTURES OF THE BODY, e.g. STENTS; ORTHOPAEDIC, NURSING OR CONTRACEPTIVE DEVICES; FOMENTATION; TREATMENT OR PROTECTION OF EYES OR EARS; BANDAGES, DRESSINGS OR ABSORBENT PADS; FIRST-AID KITS
    • A61F2240/00Manufacturing or designing of prostheses classified in groups A61F2/00 - A61F2/26 or A61F2/82 or A61F9/00 or A61F11/00 or subgroups thereof
    • A61F2240/001Designing or manufacturing processes
    • A61F2240/002Designing or making customized prostheses
    • A61F2240/004Using a positive or negative model, e.g. moulds
    • AHUMAN NECESSITIES
    • A61MEDICAL OR VETERINARY SCIENCE; HYGIENE
    • A61FFILTERS IMPLANTABLE INTO BLOOD VESSELS; PROSTHESES; DEVICES PROVIDING PATENCY TO, OR PREVENTING COLLAPSING OF, TUBULAR STRUCTURES OF THE BODY, e.g. STENTS; ORTHOPAEDIC, NURSING OR CONTRACEPTIVE DEVICES; FOMENTATION; TREATMENT OR PROTECTION OF EYES OR EARS; BANDAGES, DRESSINGS OR ABSORBENT PADS; FIRST-AID KITS
    • A61F2240/00Manufacturing or designing of prostheses classified in groups A61F2/00 - A61F2/26 or A61F2/82 or A61F9/00 or A61F11/00 or subgroups thereof
    • A61F2240/001Designing or manufacturing processes
    • A61F2240/005Templates
    • AHUMAN NECESSITIES
    • A61MEDICAL OR VETERINARY SCIENCE; HYGIENE
    • A61FFILTERS IMPLANTABLE INTO BLOOD VESSELS; PROSTHESES; DEVICES PROVIDING PATENCY TO, OR PREVENTING COLLAPSING OF, TUBULAR STRUCTURES OF THE BODY, e.g. STENTS; ORTHOPAEDIC, NURSING OR CONTRACEPTIVE DEVICES; FOMENTATION; TREATMENT OR PROTECTION OF EYES OR EARS; BANDAGES, DRESSINGS OR ABSORBENT PADS; FIRST-AID KITS
    • A61F2250/00Special features of prostheses classified in groups A61F2/00 - A61F2/26 or A61F2/82 or A61F9/00 or A61F11/00 or subgroups thereof
    • A61F2250/0014Special features of prostheses classified in groups A61F2/00 - A61F2/26 or A61F2/82 or A61F9/00 or A61F11/00 or subgroups thereof having different values of a given property or geometrical feature, e.g. mechanical property or material property, at different locations within the same prosthesis
    • A61F2250/0039Special features of prostheses classified in groups A61F2/00 - A61F2/26 or A61F2/82 or A61F9/00 or A61F11/00 or subgroups thereof having different values of a given property or geometrical feature, e.g. mechanical property or material property, at different locations within the same prosthesis differing in diameter
    • AHUMAN NECESSITIES
    • A61MEDICAL OR VETERINARY SCIENCE; HYGIENE
    • A61LMETHODS OR APPARATUS FOR STERILISING MATERIALS OR OBJECTS IN GENERAL; DISINFECTION, STERILISATION OR DEODORISATION OF AIR; CHEMICAL ASPECTS OF BANDAGES, DRESSINGS, ABSORBENT PADS OR SURGICAL ARTICLES; MATERIALS FOR BANDAGES, DRESSINGS, ABSORBENT PADS OR SURGICAL ARTICLES
    • A61L2400/00Materials characterised by their function or physical properties
    • A61L2400/16Materials with shape-memory or superelastic properties
    • AHUMAN NECESSITIES
    • A61MEDICAL OR VETERINARY SCIENCE; HYGIENE
    • A61LMETHODS OR APPARATUS FOR STERILISING MATERIALS OR OBJECTS IN GENERAL; DISINFECTION, STERILISATION OR DEODORISATION OF AIR; CHEMICAL ASPECTS OF BANDAGES, DRESSINGS, ABSORBENT PADS OR SURGICAL ARTICLES; MATERIALS FOR BANDAGES, DRESSINGS, ABSORBENT PADS OR SURGICAL ARTICLES
    • A61L2420/00Materials or methods for coatings medical devices
    • A61L2420/02Methods for coating medical devices
    • BPERFORMING OPERATIONS; TRANSPORTING
    • B29WORKING OF PLASTICS; WORKING OF SUBSTANCES IN A PLASTIC STATE IN GENERAL
    • B29KINDEXING SCHEME ASSOCIATED WITH SUBCLASSES B29B, B29C OR B29D, RELATING TO MOULDING MATERIALS OR TO MATERIALS FOR MOULDS, REINFORCEMENTS, FILLERS OR PREFORMED PARTS, e.g. INSERTS
    • B29K2027/00Use of polyvinylhalogenides or derivatives thereof as moulding material
    • B29K2027/12Use of polyvinylhalogenides or derivatives thereof as moulding material containing fluorine
    • B29K2027/18PTFE, i.e. polytetrafluorethene, e.g. ePTFE, i.e. expanded polytetrafluorethene
    • BPERFORMING OPERATIONS; TRANSPORTING
    • B29WORKING OF PLASTICS; WORKING OF SUBSTANCES IN A PLASTIC STATE IN GENERAL
    • B29LINDEXING SCHEME ASSOCIATED WITH SUBCLASS B29C, RELATING TO PARTICULAR ARTICLES
    • B29L2031/00Other particular articles
    • B29L2031/753Medical equipment; Accessories therefor
    • B29L2031/7532Artificial members, protheses

Landscapes

  • Health & Medical Sciences (AREA)
  • Engineering & Computer Science (AREA)
  • Heart & Thoracic Surgery (AREA)
  • Vascular Medicine (AREA)
  • Life Sciences & Earth Sciences (AREA)
  • Animal Behavior & Ethology (AREA)
  • General Health & Medical Sciences (AREA)
  • Public Health (AREA)
  • Veterinary Medicine (AREA)
  • Biomedical Technology (AREA)
  • Cardiology (AREA)
  • Oral & Maxillofacial Surgery (AREA)
  • Transplantation (AREA)
  • Epidemiology (AREA)
  • Surgery (AREA)
  • Mechanical Engineering (AREA)
  • Chemical & Material Sciences (AREA)
  • Gastroenterology & Hepatology (AREA)
  • Pulmonology (AREA)
  • Chemical Kinetics & Catalysis (AREA)
  • Inorganic Chemistry (AREA)
  • Prostheses (AREA)
  • Media Introduction/Drainage Providing Device (AREA)
  • Medicinal Chemistry (AREA)
  • Polymers & Plastics (AREA)
  • Organic Chemistry (AREA)

Description

本発明はカバードステントの製造方法及びそれによって製造されたカバードステントに関するもので、特にステントの円筒状胴体にPTFE材の被膜を形成し、円筒状胴体より直径が大きいステントの拡管部にPTFE材及びシリコン材からなる被膜を形成するカバードステントの製造方法及びそれによって製造されたカバードステントに関するものである。
一般に、気道、食道、十二指膓、胆道、尿道官などのような人体の内腔に腫瘍やその他の原因で狭窄又は閉塞する病変部位が発生すれば、正常な機能を果たさないことから、人体の内腔で発生した病変部位にステントを挿入して拡張させることにより、正常な機能を果たすことができるようにする。
これに関連して、特許文献1は、少なくとも一つ以上の最初の超弾性形状記憶合金ワイヤを対角線方向に上下側で上線と下線として交差するように編んで多数の菱形空間部を有する中空形胴体から形成されたステントであって、中空形胴体にはワイヤを対角線方向に垂直に突出するように折り曲げた係止突起を形成して人体の内腔で滑りを防止するように構成され、係止突起はワイヤの上線を胴体の対角線方向に垂直に突出するように折り曲げて構成され、ワイヤの上線は2本以上の複数の下線の上を通るように形成して構成され、二つ以上の複数の係止突起を連続的に形成して構成されたことを特徴とする滑り防止用ステントを提供した。
しかし、特許文献1は、係止突起によってステントが病変部位で滑って離脱することを防止しにくかった。
そのため、従来には、図1及び図2に示すように、円筒状胴体2aと、前記円筒状胴体2aより直径が大きいように前記円筒状胴体2aの端部に形成され、病変部位が発生した人体の内腔にかかる拡管部2bとを含むカバードステント2を提供した。
ここで、前記円筒状胴体2aにはPTFE材の被膜2cが形成され、拡管部2bにはPTFE材の被膜2d又はシリコン材の被膜2eが形成された。
しかし、従来の場合には、前記拡管部2bがステント伝達装置のカテーテルに圧着された状態で挿入されることから、PTFE材の特性上、被膜2dが延びる問題が発生した。
そのため、前記病変部位にカバードステント2を施術するとき、PTFE材の特性上延びる被膜2dにより、拡管部2bが元の形状に戻らない問題があった。
すなわち、前記拡管部2bのワイヤの弾性及び延びたPTFE材の被膜2dの弾性のみによっては復元力が足りなくて前記拡管部2bが元の形状に戻ることが難しかった。
これにより、前記拡管部2bが人体の内腔に十分にかからなく、人体の振動などのような外力によって前記人体の内腔で滑って病変部位を離脱する事例があった。
また、前記拡管部2bにシリコン材の被膜2eが形成されたカバードステント2を病変部位に施術すれば、人体の内腔で発生した体液に前記シリコン材の被膜2eが接触して溶けるなどの毀損の問題が発生した。
このような理由で、前記病変部位は成長するにつれて毀損されたシリコン材の被膜2eを通して拡管部2bの空間部に挿入され、これにより、成長した前記病変部位によってカバードステント2の内部が塞がるおそれがあるだけではなく、成長した前記病変部位が拡管部2bの空間部にかかり、一定期間が経った後にステントを交替するか又は除去するとき、カバードステント2を人体の内腔から除去しにくくなるおそれがあった。
韓国登録特許第10-1657648号公報
したがって、本発明は、病変部位に施術するとき、ステント伝達装置のカテーテルによって圧着されていた拡管部が被膜の弾性によって従来より容易に元の形状に戻って人体の内腔にかかるようにするカバードステントの製造方法及びそれによって製造されたカバードステントを提供することを目的とする。
また、本発明は、拡管部に形成された被膜が人体の内腔で発生した体液によって溶けることを防止するカバードステントの製造方法及びそれによって製造されたカバードステントを提供することを目的とする。
前述した目的を達成するために、本発明は、カバードステントの製造方法であって、円筒状胴体、及び前記円筒状胴体の一端又は両端に形成され、前記円筒状胴体より直径が大きい拡管部を含むジグを準備し、前記円筒状胴体の外面に第1PTFE(polytetrafluoroethylene)テープを巻き付けるテーピング作業を行う過程と、円筒状胴体、及び前記円筒状胴体の一端又は両端に形成され、前記円筒状胴体より直径が大きい拡管部を含むステントの内部にジグを挿入した後、前記円筒状胴体及び拡管部の外面に第2PTFE(polytetrafluoroethylene)テープを巻き付けるテーピング作業を行う過程と、前記ジグが内部に挿入されたステントをオーブンに入れ、第1及び第2PTFE(polytetrafluoroethylene)テープが互いに接着可能な状態になるように加熱した後、前記オーブンから取り出す過程と、加熱された前記第1及び第2PTFE(polytetrafluoroethylene)テープがそれぞれ巻かれたジグ及びステントを前記ジグの一部と同じ形状に形成された下部弾性部材の第1嵌込部に嵌め込んだ後、前記ジグの残部と同じ形状に形成された上部弾性部材の第1嵌込部に嵌め込む過程と、前記下部弾性部材及び上部弾性部材を前記下部弾性部材及び上部弾性部材と同じ形状に形成された金型の第1嵌込部に嵌め込んだ後、前記上部弾性部材を押圧部材で押圧し、第1及び第2PTFE(polytetrafluoroethylene)テープを互いに接着させて空間部を埋めることによりステントの円筒状胴体に第1被膜を形成する過程と、前記押圧部材の押圧を解除して金型の第1嵌込部から下部弾性部材及び上部弾性部材を抜き出し、前記下部弾性部材の第1嵌込部及び上部弾性部材の第1嵌込部からステントを抜き出した後、前記ステントからジグを除去する過程と、前記拡管部に固定されなかった第2PTFE(polytetrafluoroethylene)テープを円筒状胴体に向けて裏返して前記拡管部を露出させた後、シリコンコーティングで前記拡管部にシリコンコーティング層を形成して空間部を埋める過程と、前記第2PTFE(polytetrafluoroethylene)テープを拡管部を包むように元の状態に戻した後、前記拡管部の空間部、第2PTFE(polytetrafluoroethylene)テープ及びシリコンコーティング層を連結糸で縫着してステントの前記拡管部に第2被膜を形成する過程とを含んでなることを特徴とするカバードステントの製造方法及びそれによって製造されたカバードステントを提供する。
本発明は、拡管部の空間部、第2PTFEテープ及びシリコンコーティング層を連結糸で縫着してステントの拡管部に第2被膜を形成する効果がある。
すなわち、PTFEより弾性の良いシリコンコーティング層によってステントの拡管部の弾性が向上する効果がある。
これにより、病変部位に施術するとき、ステント伝達装置のカテーテルによって圧着されていた拡管部が、第2被膜のシリコンコーティング層の弾性によって従来より容易に元の状態に戻って人体の内腔に安定的にかかることにより、人体の振動などのような外力によって病変部位で滑って離脱することを従来より確かに防止する効果がある。
本発明は、第2被膜のシリコンコーティング層の代わりに第2被膜の第2PTFEテープが人体の内腔に接触する効果がある。
すなわち、拡管部に形成された第2被膜のシリコンコーティング層が人体の内腔で発生した体液に溶けて毀損されることを従来より確かに防止する効果がある。
これにより、成長した病変部位が拡管部の空間部に浸透することを防止し、カバードステントの内部が塞がることを防止する効果がある。
また、成長した病変部位が拡管部の空間部にかかり、一定期間が経った後にステントを交替又は除去するとき、カバードステントを人体の内腔から除去しにくくなることを従来より確かに防止する効果がある。
本発明は、金型及び押圧部材を介して上部及び下部弾性部材を均一に押圧して第1及び第2PTFEテープを接着させることができる効果がある。
すなわち、第1及び第2PTFEテープが従来より均一に接着されてステントの空間部を埋めるから、ステントの円筒状胴体に第1被膜が安定的に形成される効果がある。
言い換えれば、ステントの円筒状胴体からPTFE材の第1被膜が剥離されることを防止する効果がある。
これにより、病変部位が成長して円筒状胴体の空間部に浸透することを第1被膜によって防ぐ効果がある。
本発明は、上部及び下部弾性部材がシリコン材又はゴム材からなるから、上部及び下部弾性部材の製造が簡便な効果がある。
本発明は、ジグ又は上部及び下部弾性部材につまみが形成されるから、オーブン及び上部及び下部弾性部材及び金型に対してステントを容易に入れるか取り出すことができる効果がある。
従来のカバードステントを示す正面図である。 同上 本発明の実施例に使われるジグ及びステントの多様な形状を示す正面図である。 同上 同上 同上 同上 同上 同上 同上 同上 同上 同上 同上 同上 本発明の実施例によるカバードステントの製造過程を示す図である。 本発明の実施例によるカバードステントの設置状態を示す図である。 同上 本発明の実施例の他の実施例による上部及び下部弾性部材及び金型の平面図である。 本発明の実施例のさらに他の実施例による上部及び下部弾性部材及び金型の平面図である。
以下、前述したような本発明を添付図面に基づいて詳細に説明する。
図3~図18に示すように、本発明の実施例によるカバードステント1000の製造過程は次のようである。
円筒状胴体110、及び前記円筒状胴体110の一端又は両端に形成され、前記円筒状胴体110より大きい直径を有する拡管部120を含むジグ100を準備し、前記円筒状胴体110の外面に第1PTFE(polytetrafluoroethylene)テープ201を巻き付けるテーピング作業を行う。
ここで、前記ジグ100の拡管部120は、図3に示すように、多様な形状に形成されるが、図3に示した形状とは違う形状にも形成されることができる。
また、前記ジグ100は金属素材からなり、第1PTFEテープ201はジグ100の螺旋方向にのみ巻かれるか、前記ジグ100の円周方向にのみ巻かれるか、前記ジグ100の螺旋方向及び円周方向に混合して巻かれる。
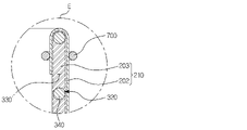
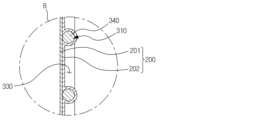
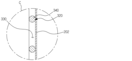
そして、円筒状胴体310、及び前記円筒状胴体310の一端又は両端に形成され、前記円筒状胴体310より大きい直径を有する拡管部320を含むステント300の内部にジグ100を挿入した後、前記円筒状胴体310及び拡管部320の外面に第2PTFE(polytetrafluoroethylene)テープ202を巻き付けるテーピング作業を行う。
ここで、前記ステント300の円筒状胴体310及び拡管部320は最初の超弾性形状記憶合金からなる少なくとも1本以上のワイヤ340が網状に編まれながら交差し、ジグ100が内部に挿入可能な中空状に形成され、多数の空間部330が外面に形成される。
また、前記ステント300の拡管部320は、図3に示すように、多様な形状に形成され、図3に示した形状とは違う形状にも形成されることができる。
また、前記第2PTFEテープ202はステント300の螺旋方向にのみ巻かれるか、前記ステント300の円周方向にのみ巻かれるか、前記ステント300の螺旋方向及び円周方向に混合して巻かれる。
そして、前記ジグ100が内部に挿入されたステント300をオーブン400に入れて第1及び第2PTFE(polytetrafluoroethylene)テープ201、202が互いに接着可能な状態になるように加熱した後、前記オーブン400から取り出す過程を行う。
ここで、前記オーブン400はジグ100が内部に挿入されたステント300を300℃以上に加熱し、第1及び第2PTFEテープ201、202は前記300℃以上の加熱によって性質が柔軟になって互いに接着可能な状態になる。
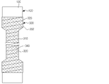
そして、加熱された前記第1及び第2PTFE(polytetrafluoroethylene)テープ201、202がそれぞれ巻かれたジグ100及びステント300を前記ジグ100の一部と同じ形状に形成された下部弾性部材500の第1嵌込部501に嵌め込んだ後、前記ジグ100の残部と同じ形状に形成された上部弾性部材510の第1嵌込部511に嵌め込む過程を行う。
ここで、前記下部弾性部材500及び上部弾性部材510はシリコン材又はゴム材からなり、ヒンジ部材を介して互いに連結される。
また、前記下部弾性部材500の第1嵌込部501と上部弾性部材510の第1嵌込部511はステント300の厚さによって変形されて拡張される。
そして、前記下部弾性部材500及び上部弾性部材510を前記下部弾性部材500及び上部弾性部材510と同じ形状に形成された金型600の第1嵌込部601に嵌め込んだ後、前記上部弾性部材510を押圧部材610で押圧して第1及び第2PTFE(polytetrafluoroethylene)テープ201、202を互いに接着させて空間部330を埋めることにより、ステント300の円筒状胴体310に第1被膜200を形成する過程を行う。
ここで、前記ステント300の厚さによって第1嵌込部501、511が変形されて拡張された下部弾性部材500及び上部弾性部材510は金型600の第1嵌込部601と押圧部材610からいずれか一側からの偏重なしに四方から均一に圧力を受けるようになる。
また、前記下部弾性部材500及び上部弾性部材510は金型600の第1嵌込部601と押圧部材610の均一な圧力により、第1及び第2PTFEテープ201、202がそれぞれ巻かれたジグ100及びステント300を全体的に均一に押圧するようになる。
また、前記ステント300のワイヤ340に密着した下部弾性部材500及び上部弾性部材510の一部は変形されなく、前記ステント300のワイヤ340に密着しない下部弾性部材500及び上部弾性部材510の残部は変形されて空間部330に浸透して前記ステント300に巻かれた第2PTFEテープ202を押圧するようになる。
また、前記ステント300に巻かれた第2PTFEテープ202は、下部弾性部材500及び上部弾性部材510の押圧によって空間部330に浸透し、円筒状胴体110に巻かれた第1PTFEテープ201に密着しながら接着される。
すなわち、前記空間部330が埋められることにより、ステント300の円筒状胴体310に第1被膜200が形成される。
また、前記押圧部材610は油圧又は空圧で作動するシリンダー611のシリンダーロッドに連結され、前記シリンダー611によって上部弾性部材510を押圧するようになる。
また、前記金型600は第1嵌込部601が形成されるように結合される少なくとも2個以上の構成部からなることもできる。
そして、前記押圧部材610の押圧を解除して金型600の第1嵌込部601から下部弾性部材500及び上部弾性部材510を抜き出し、前記下部弾性部材500の第1嵌込部501及び上部弾性部材510の第1嵌込部511からステント300を抜き出した後、前記ステント300からジグ100を除去する過程を行う。
ここで、前記押圧部材610は油圧又は空圧で作動するシリンダー611によって上部弾性部材510を押圧するか解除するようになる。
また、前記拡管部320を包んでいる第2PTFE(polytetrafluoroethylene)テープ202は前記拡管部320の空間部330を埋めなくて前記拡管部320に固定されない。
また、前記ステント300からジグ100を除去するに先立ち、冷却作業を行う。
そして、前記拡管部320に固定されなかった第2PTFE(polytetrafluoroethylene)テープ202を円筒状胴体310に向けて裏返して前記拡管部320を露出させた後、シリコンコーティングで前記拡管部320にシリコンコーティング層203を形成して空間部330を埋める過程を行う。
ここで、前記シリコンコーティング層203は、拡管部320をシリコン溶液に浸すか、前記拡管部320にシリコンを噴射することによって形成する。
また、前記シリコンコーティング層203を形成した後には乾燥作業を行う。
そして、前記第2PTFE(polytetrafluoroethylene)テープ202を拡管部320を包むように元の状態に戻した後、前記拡管部320の空間部330、第2PTFE(polytetrafluoroethylene)テープ202及びシリコンコーティング層203を連結糸700で縫着して連結してステント300の前記拡管部320に第2被膜210を形成する過程を行う。
すなわち、前記ステント300の円筒状胴体310には第1及び第2PTFE(polytetrafluoroethylene)テープ201、202からなる第1被膜200が形成され、前記ステント300の拡管部320には第2PTFE(polytetrafluoroethylene)テープ202及びシリコンコーティング層203からなる第2被膜210が形成されることにより、本発明の実施例による前記カバードステント1000が出来上がる。
図17及び図18に示すように、前記カバードステント1000は、飲食物、胆汁、血液などが通過する人体の内腔1にステント伝達装置を介して施術され、前記人体の内腔1で発生した狭窄又は閉塞した病変部位1aを拡張させる。
ここで、前記ステント伝達装置のカテーテルによって圧着されていた拡管部320は、病変部位1aに施術されるとき、シリコンコーティング層203の弾性によって元の形状に容易に戻って人体の内腔1にかかる。
また、前記第2被膜210の第2PTFEテープ202は、人体の内腔1で発生した体液がシリコンコーティング層203に接触することを防ぐ。
図19に示すように、本発明の実施例の他の実施例による前記拡管部120はつまみ130が外面から突設される。
よって、加熱された前記第1及び第2PTFE(polytetrafluoroethylene)テープ201、202ではなく、つまみ130を用いてオーブン400からジグ100及びステント300を取り出す。
そして、前記下部弾性部材500及び上部弾性部材510の外面には、第1嵌込部501、511とそれぞれ連結され、つまみ130が嵌め込まれる第2嵌込部502、512がそれぞれ形成される。
また、前記金型600の外面には、第1嵌込部601と連結され、つまみ130が嵌め込まれる第2嵌込部602が形成される。
よって、前記つまみ130を用いて金型600の第1嵌込部601から下部弾性部材500及び上部弾性部材510を抜き出し、前記つまみ130を用いて下部弾性部材500の第1嵌込部501及び上部弾性部材510の第1嵌込部511からステント300を抜き出す。
そして、図20に示すように、本発明の実施例のさらに他の実施例による前記下部弾性部材500及び上部弾性部材510はつまみ520が外面に突設される。
ここで、前記つまみ520は下部弾性部材500及び上部弾性部材510の外面の一端又は両端に突設される。
また、前記金型600の外面には、第1嵌込部601と連結され、つまみ520が嵌め込まれる第3嵌込部603が形成される。
よって、前記つまみ520を用いて金型600の第1嵌込部601から下部弾性部材500及び上部弾性部材510を抜き出す。
以上では本発明を特定の好適な実施例を例として図示して説明したが、本発明は前述した実施例に限定されず、本発明の精神を逸脱しない範疇内で本発明が属する技術分野で通常の知識を有する者によって多様な変更及び修正が可能であろう。
100 ジグ
110 円筒状胴体
120 拡管部
130 つまみ
200 第1被膜
201 第1PTFEテープ
202 第2PTFEテープ
203 シリコンコーティング層
210 第2被膜
300 ステント
310 円筒状胴体
320 拡管部
330 空間部
340 ワイヤ
400 オーブン
500 下部弾性部材
501 第1嵌込部
502 第2嵌込部
510 上部弾性部材
511 第1嵌込部
512 第2嵌込部
520 つまみ
600 金型
601 第1嵌込部
602 第2嵌込部
603 第3嵌込部
610 押圧部材
611 シリンダー
700 連結糸
1000 カバードステント

Claims (6)

  1. カバードステントの製造方法であって、
    円筒状胴体(110)、及び前記円筒状胴体(110)の一端又は両端に形成され、前記円筒状胴体(110)より直径が大きい拡管部(120)を含むジグ(100)を準備し、前記円筒状胴体(110)の外面に第1PTFE(polytetrafluoroethylene)テープ(201)を巻き付けるテーピング作業を行う過程と、
    円筒状胴体(310)、及び前記円筒状胴体(310)の一端又は両端に形成され、前記円筒状胴体(310)より直径が大きい拡管部(320)を含むステント(300)の内部にジグ(100)を挿入した後、前記円筒状胴体(310)及び拡管部(320)の外面に第2PTFE(polytetrafluoroethylene)テープ(202)を巻き付けるテーピング作業を行う過程と、
    前記ジグ(100)が内部に挿入されたステント(300)をオーブン(400)に入れ、第1及び第2PTFE(polytetrafluoroethylene)テープ(201、202)が互いに接着可能な状態になるように加熱した後、前記オーブン(400)から取り出す過程と、
    加熱された前記第1及び第2PTFE(polytetrafluoroethylene)テープ(201、202)がそれぞれ巻かれたジグ(100)及びステント(300)を前記ジグ(100)の一部と同じ形状に形成された下部弾性部材(500)の第1嵌込部(501)に嵌め込んだ後、前記ジグ(100)の残部と同じ形状に形成された上部弾性部材(510)の第1嵌込部(511)に嵌め込む過程と、
    前記下部弾性部材(500)及び上部弾性部材(510)を前記下部弾性部材(500)及び上部弾性部材(510)と同じ形状に形成された金型(600)の第1嵌込部(601)に嵌め込んだ後、前記上部弾性部材(510)を押圧部材(610)で押圧し、第1及び第2PTFE(polytetrafluoroethylene)テープ(201、202)を互いに接着させて空間部(330)を埋めることによりステント(300)の円筒状胴体(310)に第1被膜(200)を形成する過程と、
    前記押圧部材(610)の押圧を解除して金型(600)の第1嵌込部(601)から下部弾性部材(500)及び上部弾性部材(510)を抜き出し、前記下部弾性部材(500)の第1嵌込部(501)及び上部弾性部材(510)の第1嵌込部(511)からステント(300)を抜き出した後、前記ステント(300)からジグ(100)を除去する過程と、
    前記拡管部(320)に固定されなかった第2PTFE(polytetrafluoroethylene)テープ(202)を円筒状胴体(310)に向けて裏返して前記拡管部(320)を露出させた後、シリコンコーティングで前記拡管部(320)にシリコンコーティング層(203)を形成して空間部(330)を埋める過程と、
    前記第2PTFE(polytetrafluoroethylene)テープ(202)を拡管部(320)を包むように元の状態に戻した後、前記拡管部(320)の空間部(330)、第2PTFE(polytetrafluoroethylene)テープ(202)及びシリコンコーティング層(203)を連結糸(700)で縫着してステント(300)の前記拡管部(320)に第2被膜(210)を形成する過程とを含んでなることを特徴とする、カバードステントの製造方法。
  2. 前記下部弾性部材(500)及び上部弾性部材(510)はシリコン又はゴム材からなることを特徴とする、請求項1に記載のカバードステントの製造方法。
  3. 前記押圧部材(610)は油圧又は空圧で作動するシリンダー(611)によって上部弾性部材(510)を押圧するか押圧状態を解除することを特徴とする、請求項1に記載のカバードステントの製造方法。
  4. 前記拡管部(120)はその外面に形成されたつまみ(130)を含み、
    前記下部弾性部材(500)及び上部弾性部材(510)の外面には、第1嵌込部(501、511)とそれぞれ連結され、つまみ(130)が嵌め込まれる第2嵌込部(502、512)がそれぞれ形成され、
    前記金型(600)の外面には、第1嵌込部(601)と連結され、つまみ(130)が嵌め込まれる第2嵌込部(602)が形成されることを特徴とする、請求項1に記載のカバードステントの製造方法。
  5. 前記下部弾性部材(500)及び上部弾性部材(510)はその外面に形成されたつまみ(520)を含み、
    前記金型(600)の外面には、第1嵌込部(601)と連結され、つまみ(520)が嵌め込まれる第3嵌込部(603)が形成されることを特徴とする、請求項1に記載のカバードステントの製造方法。
  6. 1PTFE(polytetrafluoroethylene)テープ(201)と
    円筒状胴体(310)、及び前記円筒状胴体(310)の一端又は両端に形成され、前記円筒状胴体(310)より直径が大きい拡管部(320)を含むステント(300)と、
    前記円筒状胴体(310)及び拡管部(320)の外面に巻き付けられて拡管部(320)を包んでいる第2PTFE(polytetrafluoroethylene)テープ(202)と
    シリコンコーティング層(203)とを含むカバードステントであって、
    第1及び第2PTFE(polytetrafluoroethylene)テープ(201、202)互いに接着さて空間部(330)を埋めることによりステント(300)の円筒状胴体(310)に第1被膜(200)を形成しており
    前記シリコンコーティング層(203)が前記拡管部(320)に形されて空間部(330)を埋めており
    記拡管部(320)の空間部(330)、第2PTFE(polytetrafluoroethylene)テープ(202)及びシリコンコーティング層(203)連結糸(700)で縫着されてステント(300)の前記拡管部(320)に第2被膜(210)を形成していることを特徴とする、カバードステント。
JP2021130983A 2021-05-18 2021-08-10 カバードステントの製造方法及びそれによって製造されたカバードステント Active JP7246768B2 (ja)

Applications Claiming Priority (2)

Application Number Priority Date Filing Date Title
KR1020210064307A KR102535728B1 (ko) 2021-05-18 2021-05-18 커버드 스텐트의 제조 방법과 그에 의해 제조된 커버드 스텐트
KR10-2021-0064307 2021-05-18

Publications (2)

Publication Number Publication Date
JP2022177774A JP2022177774A (ja) 2022-12-01
JP7246768B2 true JP7246768B2 (ja) 2023-03-28

Family

ID=84104236

Family Applications (1)

Application Number Title Priority Date Filing Date
JP2021130983A Active JP7246768B2 (ja) 2021-05-18 2021-08-10 カバードステントの製造方法及びそれによって製造されたカバードステント

Country Status (3)

Country Link
US (1) US12496181B2 (ja)
JP (1) JP7246768B2 (ja)
KR (1) KR102535728B1 (ja)

Families Citing this family (2)

* Cited by examiner, † Cited by third party
Publication number Priority date Publication date Assignee Title
KR102535728B1 (ko) 2021-05-18 2023-05-30 주식회사 비씨엠 커버드 스텐트의 제조 방법과 그에 의해 제조된 커버드 스텐트
WO2025015000A1 (en) * 2023-07-10 2025-01-16 Atrium Medical Corporation Compressed stent with flexible covering

Citations (4)

* Cited by examiner, † Cited by third party
Publication number Priority date Publication date Assignee Title
JP2005278993A (ja) 2004-03-30 2005-10-13 Terumo Corp 生体内留置用ステントおよびその製造方法
JP2007505687A (ja) 2003-09-17 2007-03-15 ボストン サイエンティフィック リミテッド 生物化学的な活性物質を有するカバードステント
JP2011240120A (ja) 2010-05-14 2011-12-01 Taewoong Medical Co Ltd ステント
JP2013223540A (ja) 2012-04-19 2013-10-31 Terumo Corp ステント被覆方法

Family Cites Families (17)

* Cited by examiner, † Cited by third party
Publication number Priority date Publication date Assignee Title
US5078726A (en) * 1989-02-01 1992-01-07 Kreamer Jeffry W Graft stent and method of repairing blood vessels
US5735892A (en) * 1993-08-18 1998-04-07 W. L. Gore & Associates, Inc. Intraluminal stent graft
US6475232B1 (en) * 1996-12-10 2002-11-05 Purdue Research Foundation Stent with reduced thrombogenicity
WO1996028115A1 (en) * 1995-03-10 1996-09-19 Impra, Inc. Endoluminal encapsulated stent and methods of manufacture and endoluminal delivery
US7118592B1 (en) * 2000-09-12 2006-10-10 Advanced Cardiovascular Systems, Inc. Covered stent assembly for reduced-shortening during stent expansion
KR100442330B1 (ko) * 2002-09-03 2004-07-30 주식회사 엠아이텍 스텐트 및 이 스텐트의 제조방법
US8998973B2 (en) * 2004-03-02 2015-04-07 Boston Scientific Scimed, Inc. Medical devices including metallic films
WO2008027188A2 (en) * 2006-08-29 2008-03-06 C. R. Bard, Inc. Helical high fatigue stent-graft
KR100988816B1 (ko) * 2008-01-29 2010-10-20 신경민 담즙관용 이중 피막형 스텐트
KR101006990B1 (ko) * 2009-02-09 2011-01-12 신경민 굴곡상태 유지가 가능한 굴곡 유지 코팅 스텐트와 그 제조방법
US10034740B2 (en) * 2010-06-28 2018-07-31 Cook Medical Technologies Llc Covered stent
KR20150052719A (ko) * 2013-11-06 2015-05-14 주식회사 비씨엠 인조 혈관 접착형 스텐트의 제조방법 및 그에 의해 제조한 인조 혈관 접착형 스텐트
KR101557010B1 (ko) * 2014-07-11 2015-10-02 주식회사 비씨엠 커버드 스텐트와 그 제조방법
KR101657648B1 (ko) 2014-10-21 2016-09-19 (주) 태웅메디칼 미끄럼 방지용 스텐트 제조 방법 및 그에 의해 제조된 미끄럼 방지 스텐트
GB201521474D0 (en) * 2015-12-04 2016-01-20 Univ Manchester Textured surfaces for implants
US20170340460A1 (en) * 2016-05-31 2017-11-30 V-Wave Ltd. Systems and methods for making encapsulated hourglass shaped stents
KR102535728B1 (ko) 2021-05-18 2023-05-30 주식회사 비씨엠 커버드 스텐트의 제조 방법과 그에 의해 제조된 커버드 스텐트

Patent Citations (4)

* Cited by examiner, † Cited by third party
Publication number Priority date Publication date Assignee Title
JP2007505687A (ja) 2003-09-17 2007-03-15 ボストン サイエンティフィック リミテッド 生物化学的な活性物質を有するカバードステント
JP2005278993A (ja) 2004-03-30 2005-10-13 Terumo Corp 生体内留置用ステントおよびその製造方法
JP2011240120A (ja) 2010-05-14 2011-12-01 Taewoong Medical Co Ltd ステント
JP2013223540A (ja) 2012-04-19 2013-10-31 Terumo Corp ステント被覆方法

Also Published As

Publication number Publication date
KR20220156709A (ko) 2022-11-28
KR102535728B1 (ko) 2023-05-30
JP2022177774A (ja) 2022-12-01
US12496181B2 (en) 2025-12-16
US20220371259A1 (en) 2022-11-24

Similar Documents

Publication Publication Date Title
JP7525211B2 (ja) ステントにptfe被膜を形成する方法、並びにそれによって製造されたステント及びそれに使われる治具
EP2923674B1 (en) Filament-wound implantable devices
US5630830A (en) Device and method for mounting stents on delivery systems
JP7246768B2 (ja) カバードステントの製造方法及びそれによって製造されたカバードステント
US6056906A (en) Method of making an intervascular catheter system for implanting a radially expandable stent within a body vessel
JP4490099B2 (ja) バルブ付き医療用ステントおよび関連製造方法
US5672169A (en) Stent mounting device
US6395212B1 (en) Covered stent and method of making it
US20030055482A1 (en) Cold-molding process for loading a stent onto a stent delivery system
JPH11128365A (ja) 拡張可能なステントを導入するための拡張カテーテル
JP2015503364A5 (ja)
JP2009039577A (ja) ステントを備えたカテーテル及びその製造方法
US8696736B2 (en) Medical device having an unravable portion
WO2003013394A1 (en) Balloon stent retaining assembly and method
JPH0847540A (ja) 管腔内留置用ステント及びその製造方法
HK1239483A1 (en) Filament-wound implantable devices
HK1214122B (en) Filament-wound implantable devices
HK1155346B (en) Filament-wound implantable devices

Legal Events

Date Code Title Description
A621 Written request for application examination

Free format text: JAPANESE INTERMEDIATE CODE: A621

Effective date: 20210812

A131 Notification of reasons for refusal

Free format text: JAPANESE INTERMEDIATE CODE: A131

Effective date: 20220830

A521 Request for written amendment filed

Free format text: JAPANESE INTERMEDIATE CODE: A523

Effective date: 20221025

TRDD Decision of grant or rejection written
A01 Written decision to grant a patent or to grant a registration (utility model)

Free format text: JAPANESE INTERMEDIATE CODE: A01

Effective date: 20230207

A61 First payment of annual fees (during grant procedure)

Free format text: JAPANESE INTERMEDIATE CODE: A61

Effective date: 20230308

R150 Certificate of patent or registration of utility model

Ref document number: 7246768

Country of ref document: JP

Free format text: JAPANESE INTERMEDIATE CODE: R150