JP7206040B2 - キッチン用シンク及びキッチンユニット - Google Patents

キッチン用シンク及びキッチンユニット Download PDF

Info

Publication number
JP7206040B2
JP7206040B2 JP2017251176A JP2017251176A JP7206040B2 JP 7206040 B2 JP7206040 B2 JP 7206040B2 JP 2017251176 A JP2017251176 A JP 2017251176A JP 2017251176 A JP2017251176 A JP 2017251176A JP 7206040 B2 JP7206040 B2 JP 7206040B2
Authority
JP
Japan
Prior art keywords
guide groove
sink
drain port
kitchen
bottom portion
Prior art date
Legal status (The legal status is an assumption and is not a legal conclusion. Google has not performed a legal analysis and makes no representation as to the accuracy of the status listed.)
Active
Application number
JP2017251176A
Other languages
English (en)
Other versions
JP2019116775A (ja
Inventor
創 森
裕也 小川
Current Assignee (The listed assignees may be inaccurate. Google has not performed a legal analysis and makes no representation or warranty as to the accuracy of the list.)
Lixil Corp
Original Assignee
Lixil Corp
Priority date (The priority date is an assumption and is not a legal conclusion. Google has not performed a legal analysis and makes no representation as to the accuracy of the date listed.)
Filing date
Publication date
Application filed by Lixil Corp filed Critical Lixil Corp
Priority to JP2017251176A priority Critical patent/JP7206040B2/ja
Publication of JP2019116775A publication Critical patent/JP2019116775A/ja
Application granted granted Critical
Publication of JP7206040B2 publication Critical patent/JP7206040B2/ja
Active legal-status Critical Current
Anticipated expiration legal-status Critical

Links

Images

Landscapes

  • Sink And Installation For Waste Water (AREA)

Description

本発明は、キッチン用シンク及びキッチンユニットに関する。
一般に、シンクは排水口を備え、シンクに併設された水栓の蛇口から吐出された水が排水口に向かって案内されるようにシンクの底面が形成されている(特許文献1)。調理台に設けられるシンクは、食器や食材の洗浄時などに使用される。そのため、シンクの使用時、水に加えて食材片、食品の包装片、洗剤の泡等の塵がシンク内周面に付着する。このような塵は、蛇口からの吐水等、シンクの上方から水を流し入れ、その水流により排水口に向けて流し、排水口に設けられた塵受け部に集められたうえで廃棄することが多い。
特許第6080808号公報
従来のシンクでは、シンク内の塵を排水口側に誘導するために蛇口からの吐水等の水を流してもシンク上に塵が残留する場合が多く、全ての塵を流すために手間を要していた。また、シンク内に付着した廃棄物を流すために多くの水が必要となっていた。
上記事情を踏まえ、本発明は、塵がシンク内に残留することを防いで排水口に向けて円滑に誘導できるキッチン用シンク及びキッチンユニットを提供することを目的とする。
本発明に係るキッチン用シンクは、底部と、前記底部の外縁部に立設される側壁と、前記底部の奥側に平面視外方に向かって延出する延出部と、前記延出部に設けられる排水口と、前記排水口に連続して設けられ、前記底部と前記側壁との境界部分に前記底部よりも下方に窪んで形成される誘導溝と備え、前記誘導溝は、前記排水口に近接する前記側壁と前記底部との境界のみに沿って前記底部の全長に亘って延設されており、前記底部が前記排水口に向かって低くなるように傾斜しており、前記誘導溝の最深部が、前記誘導溝の延設方向に直線状に延びており、前記排水口が前記誘導溝より前記延出部側に設けられている。
この発明によれば、底部よりも下方に窪んで形成される誘導溝を備えるため、シンク内を流れる水がシンクの底部よりも下方の誘導溝に流入し、水と共にシンク内の塵を円滑に排水口に誘導できる。また、誘導溝が底部よりも下方に窪んで形成されているため、誘導溝内に流入した塵がシンクの底部側に逆流することを防ぐことができる。したがって、塵がシンク内に滞留することを防ぎ排水口に向けて円滑に誘導できるシンクを提供できる。この発明によれば、底部の一部に平面視外方に向かって延出する延出部を備え、排水口が誘導溝より延出部側に設けられることにより、底部の面積を広く確保でき、シンク内における物品載置スペースを広く確保できる。
本発明に係るキッチン用シンクでは、前記誘導溝は、前記誘導溝の延設方向に直交する縦断面形状が下方に突出する曲面形状で形成されていてもよい。
この発明によれば、誘導溝が下方に突出する曲面形状で形成されているため、誘導溝の最も深い部分となる最深部を誘導溝の延設方向に沿って細く形成できる。この結果、誘導溝の最深部に塵が誘導されやすくなり、塵を円滑に誘導できる。また、底面が平面の溝に比べて誘導溝内の水位が早く上昇するため、少量の水でも塵を流すことができる。
本発明に係るキッチン用シンクでは、前記誘導溝の最深部が前記誘導溝の延設方向の両端部から前記排水口に向かって深くなるように傾斜していてもよい。
この発明によれば、誘導溝の最も深い部分となる最深部が誘導溝の延設方向の両端部から排水口に向かって深くなるように傾斜することにより、誘導溝の最深部に誘導された塵を排水口に誘導する流路が形成され、円滑に塵を排水口に誘導できる。
本発明に係るキッチンユニットは、上記キッチン用シンクと、前記シンクの下方に設けられる排水路と、前記シンクが取り付けられる天板と、を備える。
この発明によれば、塵がシンク内に残留することを防いで排水口に向けて円滑に誘導できるシンクを備えるキッチンユニットを提供できる。
本発明によれば、塵がシンク内に残留することを防いで排水口に向けて円滑に誘導できるキッチン用シンク及びキッチンユニットを提供できる。
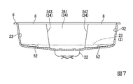
本発明の一実施形態に係るシンクを備えるキッチンユニットの一例を示す斜視図である。 本発明の一実施形態に係るシンクを上方から見た斜視図である。 本発明の一実施形態に係るシンクの平面図である。 本発明の一実施形態に係るシンクの底面の形状を示す模式図である。 図4のV-V線における断面図である。 図4のVI-VI線における断面図である。 図4のVII-VII線における断面図である。 図1の実施形態に係るシンクの変形例を示す平面図である。
以下、本発明の一実施形態に係るシンクについて図面を用いて説明する。
図1は本実施形態に係るシンク1の一例として、キッチンユニット100に取り付けられるシンク1を示す斜視図である。図2は、図1のシンク1を上方から見た斜視図である。図3は、本実施形態に係るシンク1の平面図である。図4は本実施形態に係るシンク1の底部及び誘導溝の形状を示す模式図である。図5は、図4におけるV-V断面図である。図6は、図4におけるVI-VI断面図である。
図1及び図2に示すように、キッチンユニット100は、支持体となるキッチンキャビネット102と、キッチンキャビネット102上に設けられた天板101と、シンク1と、シンク1に取り付けられる水栓103(図1では図示省略)とを備える。キッチンユニット100には、この他、抽斗、棚板、扉等を備える収納部104や加熱器具(図示省略)が適宜設けられる。シンク1は、天板101に形成された開口(不図示)に一部が挿入された状態で天板101に支持され、シンク1と天板101とが当接する部分に防水処理が施されて天板101に固定されている。
以下の説明において、キッチンユニット100を使用する使用者がシンク1と向き合ったときの左右方向を幅方向と称する。キッチンユニット100が設置される床面Fに直交する方向を上下方向と適宜称する。また、上記幅方向及び上下方向と直交する方向を奥行方向と称し、使用者側を手前側、反対側を奥側と称する。
図2及び図3に示すように、シンク1は、底部2と、側壁31,32,33,34と、排水口4と、誘導溝5,53と、上縁部6とを備える。シンク1は、ステンレス、人造大理石等からなり一体成形されている。シンク1は、底部2と、底部2の外縁部に立設される複数の側壁31,32,33,34とにより、ボウル状の凹部が形成されている。本実施形態では、底部2が平面視において幅方向に長い略長方形である例を示す。
シンク1の上部には、上縁部6が設けられている。上縁部6は、シンク1の上端部に設けられる平面視略矩形の枠部である。上縁部6は、側壁31,32,33,34,35の上端部からそれぞれ外方に向かって水平方向に延びるように連続して設けられている。上縁部6には水平面61(図5参照)を有し、水平面61が天板101に当接されて天板101にシンク1が支持される。
底部2の奥側の幅方向中央部の一部には奥側(平面視外方)に延出する延出部21を備え、延出部21に排水口4が形成されている。つまり、排水口4は、底部2の奥側であって、誘導溝5より延出部21側に設けられている。排水口4は、シンク1の下方に設けられた排水路(不図示)に接続されている。
図4に、シンク1の底部2及び誘導溝5,53の高さ方向の傾斜分布を等高線で示す。図4から図6に示すように、底部2は、手前側の幅方向端部から排水口4に向かって次第に高さが低くなるように傾斜している。本実施形態では、排水口4が奥側の幅方向中央部に設けられている。そのため、図4に等高線で示すように、底部2は手前側の幅方向端部から奥側の幅方向中央部に向かって深くなるように傾斜している。第1誘導溝5,5は、延設方向に延びる最深部52が幅方向両端部から中央部に向かって深くなるように傾斜している。
側壁31,32,33,34,35は、奥側に位置する奥側壁31,34と、底部2の幅方向端部から立設される右側壁32及び左側壁33と、手前側に位置する手前側壁35とからなる。奥側壁31,34は、幅方向両側に位置する2つの第1奥側壁31,31と、2つの第1奥側壁31,31の間に位置する第2奥側壁34とからなる。第1奥側壁31,31は、底部2の奥側端部23の幅方向両側に立設されている。第2奥側壁34は、2つの第1奥側壁31,31の間に位置し、延出部21の外縁部から立設されている。第2奥側壁34は、第1壁341と第2壁342,343とにより平面視U字状の3面からなる壁部である。第1壁341は、奥側に位置し、幅方向に延設されている。第2壁342は、第1壁341の左右端部と幅方向両側の第1奥側壁31,31とを接続するように設けられている。
図6に示すように、延出部21の下部に凹部22を有する。凹部22は、底部2よりも深さが深く、凹部22の下端部に排水口4が形成されている。
誘導溝5,53は、底部2と第1奥側壁31,31及び第2奥側壁34との境界部分に底部2の奥側端部23に沿って延設されている。つまり、誘導溝5,53は幅方向に沿って延設されている。誘導溝5,53は、第1誘導溝5と第2誘導溝53とを備える。誘導溝5,53は、幅方向の両端側に第1誘導溝5,5が位置し、第1誘導溝5,5の間に第2誘導溝53が位置する。誘導溝5,53は、シンク1の底部2の幅方向の全長に亘って形成されており、第1誘導溝5,5の幅方向の外側端部、すなわち、誘導溝5,53の延設方向(幅方向)の両端部51,51は右側壁32及び左側壁33の下端部に位置する。誘導溝5,53は、排水口4に連続して設けられている。誘導溝5,53は、平面視において、少なくとも排水口4が近接する側壁である奥側壁31,34の全長に亘って形成されている。
図5及び図6に示すように、誘導溝5,53は底部2の上面よりも下方に窪んで形成されている。第1誘導溝5,5は、延設方向に直交する縦断面形状が下方に突出する曲面形状となるように形成されている。図7は、図4のVII-VII線における縦断面図である。図7には、底部2の奥側端部23の高さを点線で示している。図4及び図7に示すように、第1誘導溝5,5の最深部52,52が第1誘導溝5,5の延設方向の両端部51,51から排水口4に向かって次第に深くなるように傾斜している。
第2誘導溝53は、凹部22と底部2の奥側端部23との間及び延設部21内に形成されている。第2誘導溝53は、凹部22の手前側上端部と底部2の奥側端部23との間を接続し、底部2の上面よりも下方に窪んで形成されている。第2誘導溝53は、第2奥側壁34と凹部22の上端部とを接続している。また、第2誘導溝53は、第1誘導溝5よりも下方に窪んで形成されている。
第2壁342,343の上端から幅方向外側にそれぞれ平面状の奥側上面部8,8が形成されている。奥側上面部8,8は、各第1奥側壁31,31の上端部と、第2奥側壁34の第2壁342,343と、上縁部6とに囲まれた部分に形成されている。奥側上面部8,8は、奥側から第1奥側壁31,31に向かって下方に僅かに傾斜している。本実施形態では、幅方向左側の奥側上面部8には上下方向に貫通する水栓孔が形成されており、水栓孔に水栓103が挿通されて、水栓103が設けられている。水栓103は、シンク1の下方に設けられた不図示の配水管と接続されている。
図2に示すように、第1奥側壁31,31と第2奥側壁34との境界となる部分に仕切板7が係止されて架設されている。図1、図3、図4、図6、図7では仕切板7の図示を省略している。仕切板7は略平板状の部材であり、第1奥側壁31,31より奥側に設けられた延出部21とシンク1の手前側の領域とを仕切り、排水口4の目隠しとして機能する。図2に示すように、仕切板7が第1奥側壁31,31と面一となるようにシンク1に取り付けられるため、外観意匠上、仕切板7と第1奥側壁31,31との一体感が得られる。仕切板7の下端は、第2誘導溝53の手前側端部よりも奥側に位置している。この構成により、第1誘導溝5,5に誘導された水や塵が流れ込む開口が確保されている。なお、仕切板7は必須の構成ではなく、仕切板7に代えて、食器用洗剤やスポンジなどの物品を収容するラックを左右の上面部間に架設して、スペースを有効活用する構成であってもよい。また、仕切板7に加えて、排水口4の上方であって仕切板7と第2奥側壁34とで囲まれたスペースに物品を収容するラックを設けてもよい。
次に、本実施形態に係るシンク1の作用について説明する。
従来のシンクは、底部と側壁部との間に底部よりも下方に窪む溝が形成されておらず、底部の縁部から側壁部が起立するように形成されている。そのため、シンク内に流入した水が底部の傾斜に沿って下方に流れ、底部の下方端側に起立する側壁部に達すると、側壁部により跳ね返されて底部側に逆流する流れが発生する。その結果、水と共に流れる塵も側壁部により跳ね返されて底部側に戻される。跳ね返された水とともに逆流した塵のうち、水よりも重い塵が底部上に残ることがある。そのため、使用者は大量の水を流す必要があり、また、シャワー水栓を塵の上流側に配置して吐水するなどを行う必要があり、手間がかかっていた。
本実施形態に係るシンク1は、奥側に排水口4が設けられているため、底部2の奥側縁部側に向かって下方に傾斜している。そのため、シンク1内に水が流入すると、底部2上において水が奥側縁部側に向かって流れる。底部2の奥側縁部側には底部2よりも下方に窪む第1誘導溝5,5が形成されているため、底部2上を下方に向かって流れる水は第1誘導溝5,5に流入する。このとき、底部2側から流入した水は、第1奥側壁31,31に当たり手前側へ戻される流れが発生する。しかし、第1誘導溝5,5は、底部2よりも下方に窪み、かつ、最深部52,52が第1誘導溝5,5の延設方向に直線状に位置する。この結果、第1奥側壁31,31により跳ね返された水は第1誘導溝5,5から底部2側に移動せずにとどまり、最深部52,52の傾斜に沿って排水口4側に流れるため、第1誘導溝5,5に流入した水が底部2上に逆流し難い。また、第1誘導溝5,5が下方に窪む円弧形状を有するため、水が最深部52,52近傍に溜まりやすく、少量の水でも塵を流すために必要な水が速やかに確保できる。第1誘導溝5内に溜まった水は、最深部52,52の傾斜に沿って第2誘導溝53及び凹部22側に流れ、円滑に排水口4まで誘導される。
本実施形態に係るシンク1によれば、底部2よりも下方に窪んで形成される誘導溝5を備えるため、シンク1内を流れる水が底部2よりも下方の誘導溝5,53に流入し、水と共にシンク1内の塵を円滑に排水口4に誘導できる。また、誘導溝5,53が底部2よりも下方に窪んで形成されているため、誘導溝5,53内に流入した塵がシンク1の底部2側に逆流することを防ぐことができる。したがって、塵がシンク1内に滞留することを防いで排水口4に向けて円滑に誘導できるシンク1を提供できる。
本実施形態に係るシンク1によれば、第1誘導溝5,5が下方に突出する曲面形状で形成されているため、第1誘導溝5,5の最も深い部分を第1誘導溝5,5の延設方向に沿って細く形成できる。この結果、第1誘導溝5,5の最深部52,52に塵が誘導されやすくなり、塵を円滑に誘導できる。また、底部が平面の溝に比べて、第1誘導溝5,5内の水位が早く上昇するため、少量の水でも塵を流すことができる。
本実施形態に係るシンク1によれば、第1誘導溝5,5の最深部52,52が第1誘導溝5,5の延設方向の両端部から排水口4に向かって深くなるように傾斜することにより、第1誘導溝5,5の最深部52,52に誘導された塵を排水口4に誘導する流路が形成され、円滑に塵を排水口4に誘導できる。
本実施形態に係るシンク1によれば、底部2の一部に奥側(平面視外方)に向かって延出する延出部21を備え、排水口4が誘導溝5,53より延出部側(奥側)に設けられることにより、底部2の面積を広く確保でき、シンク1内における物品載置スペースを広く確保できる。
本実施形態によれば、塵がシンク1内に残留することを防いで排水口4に向けて円滑に誘導できるシンク1を備えるキッチンユニットを提供できる。
上記実施形態では、底部2に延出部21が設けられ、排水口4が第1誘導溝5,5よりも奥側の延出部21に位置する例を示したが、延出部21は必須の構成ではない。また、排水口4が誘導溝5,53よりも奥側に位置する構成は必須ではない。例えば、図8に示す変形例のシンク1Aのように、底部2Aに延出部を備えず、奥側壁31Aが一平面からなり、第1誘導溝5,5に重畳するように連続して排水口4が形成されていてもよい。
上記実施形態では、排水口4が幅方向中央部に設けられる例を示したが、排水口の位置はこれに限定されず、誘導溝と連続して設けられていればよい。例えば、底部2の幅方向のいずれか一方の端部寄りに設けられていてもよい。
上記実施形態では、誘導溝5,53が底部2の長辺方向に沿って全長に亘って形成される例を示したが、この構成に限定されず、誘導溝は、排水口4に近接する側壁と底部との境界に形成されていればよい。例えば、排水口4が底部2の短辺側に形成されている場合、誘導溝が底部2の短辺方向の右側壁32あるいは左側壁33の全長に設けられていてもよい。
上記実施形態では、底部が平面視略長方形状である例を示したが、底部の形状は特に限定されない。例えば、幅方向と奥行方向の寸法が略等しい略正方形状、円形、楕円形、半円形、半楕円形、扇形などであってもよい。なお、底部が円形である場合、排水口が近接する側壁の全長とは、底部の寸法が最大となる直線(直径)上に位置する部分から、180度の半円の円弧形状の部分を言い、少なくともこの円弧形状部分の側壁と底部との境界部に誘導溝が形成されていればよい。底部が楕円形状である場合は、底部の長辺あるいは短辺上に位置する部分から外周の半分の縁部と、その縁部に隣接する側壁との境界に誘導溝が形成されていればよい。
本実施形態では、延出部21の凹部22と第1誘導溝5との間に第2誘導溝53が形成され、誘導溝が第1誘導溝5と第2誘導溝53とからなる例を示したが、第2誘導溝53は必須の構成ではない。例えば、第1誘導溝5から排水口4に向かって第1誘導溝5の深さが次第に深くなるように傾斜する構成であってもよい。
以上、本発明の実施形態について図面を参照して詳述したが、具体的な構成はこの実施形態に限られるものではなく、本発明の要旨を逸脱しない範囲の設計変更等も含まれる。
また、上述の実施形態及び各変形例において示した構成要素は適宜に組み合わせて構成することが可能である。
1,1A シンク
2,2A 底部
4 排水口
5 第1誘導溝(誘導溝)
31 第1奥側壁(側壁)
34 第2奥側壁(即壁)
53 第2誘導溝(誘導溝)
100 キッチンユニット
101 天板

Claims (4)

  1. 底部と、
    前記底部の外縁部に立設される側壁と、
    前記底部の奥側に平面視外方に向かって延出する延出部と、
    前記延出部に設けられる排水口と、
    前記排水口に連続して設けられ、前記底部と前記側壁との境界部分に前記底部よりも下方に窪んで形成される誘導溝と備え、
    前記誘導溝は、前記排水口に近接する前記側壁と前記底部との境界のみに沿って前記底部の全長に亘って延設されており、
    前記底部が前記排水口に向かって低くなるように傾斜しており、
    前記誘導溝の最深部が、前記誘導溝の延設方向に直線状に延びており、
    前記排水口が前記誘導溝より前記延出部側に設けられているキッチン用シンク。
  2. 前記誘導溝は、前記誘導溝の延設方向に直交する縦断面形状が下方に突出する曲面形状で形成されている
    請求項1に記載のキッチン用シンク。
  3. 前記誘導溝の最深部が前記誘導溝の延設方向の両端部から前記排水口に向かって深くなるように傾斜している
    請求項2に記載のキッチン用シンク。
  4. 請求項1から請求項3のいずれか一項に記載のキッチン用シンクと、
    前記シンクの下方に設けられる排水路と、
    前記シンクが取り付けられる天板と、
    を備えるキッチンユニット。
JP2017251176A 2017-12-27 2017-12-27 キッチン用シンク及びキッチンユニット Active JP7206040B2 (ja)

Priority Applications (1)

Application Number Priority Date Filing Date Title
JP2017251176A JP7206040B2 (ja) 2017-12-27 2017-12-27 キッチン用シンク及びキッチンユニット

Applications Claiming Priority (1)

Application Number Priority Date Filing Date Title
JP2017251176A JP7206040B2 (ja) 2017-12-27 2017-12-27 キッチン用シンク及びキッチンユニット

Publications (2)

Publication Number Publication Date
JP2019116775A JP2019116775A (ja) 2019-07-18
JP7206040B2 true JP7206040B2 (ja) 2023-01-17

Family

ID=67304188

Family Applications (1)

Application Number Title Priority Date Filing Date
JP2017251176A Active JP7206040B2 (ja) 2017-12-27 2017-12-27 キッチン用シンク及びキッチンユニット

Country Status (1)

Country Link
JP (1) JP7206040B2 (ja)

Families Citing this family (5)

* Cited by examiner, † Cited by third party
Publication number Priority date Publication date Assignee Title
JP6766937B1 (ja) 2019-09-30 2020-10-14 セイコーエプソン株式会社 液体噴射装置
JP7028229B2 (ja) * 2019-09-30 2022-03-02 セイコーエプソン株式会社 液体噴射ヘッドおよび液体噴射装置
JP2023143141A (ja) * 2022-03-25 2023-10-06 株式会社Lixil 洗面器及び洗面台
JP2023143145A (ja) * 2022-03-25 2023-10-06 株式会社Lixil 洗面器
JP7655418B1 (ja) 2024-02-16 2025-04-02 Toto株式会社 洗面器及び洗面台

Citations (3)

* Cited by examiner, † Cited by third party
Publication number Priority date Publication date Assignee Title
JP2007198019A (ja) 2006-01-26 2007-08-09 Matsushita Electric Works Ltd ボウルの構造
JP2009007909A (ja) 2007-06-29 2009-01-15 Cleanup Corp 流し台の排水口構造
JP2016050419A (ja) 2014-08-29 2016-04-11 クリナップ株式会社 キッチン用シンク

Patent Citations (3)

* Cited by examiner, † Cited by third party
Publication number Priority date Publication date Assignee Title
JP2007198019A (ja) 2006-01-26 2007-08-09 Matsushita Electric Works Ltd ボウルの構造
JP2009007909A (ja) 2007-06-29 2009-01-15 Cleanup Corp 流し台の排水口構造
JP2016050419A (ja) 2014-08-29 2016-04-11 クリナップ株式会社 キッチン用シンク

Also Published As

Publication number Publication date
JP2019116775A (ja) 2019-07-18

Similar Documents

Publication Publication Date Title
JP7206040B2 (ja) キッチン用シンク及びキッチンユニット
US7325695B2 (en) Dish rack with water drainage mechanism
US4033461A (en) Cleaning and draining device for sink
CA2641937A1 (en) Dual capacity sink
JP2017110427A (ja) 流し台用シンク
JP6080796B2 (ja) キッチン用シンク
JP6054619B2 (ja) 流し台用シンク
KR20220001801U (ko) 싱크대의 개수대
WO2009079923A1 (fr) Évier de cuisine équipé d'un égouttoir escamotable et réversible
EP2108749A2 (en) Sink
JP6851192B2 (ja) 仕切部材とシンク
JP2009007907A (ja) 流し台
JP6241707B2 (ja) 厨房装置
JP5760165B2 (ja) シンク
JP7061838B2 (ja) シンク
JP7270435B2 (ja) 洗面台
JP5276617B2 (ja) 浴室ユニット
JP7391623B2 (ja) 洗面器
JP3333820B2 (ja) キッチンのカウンター構造
KR101269567B1 (ko) 싱크대용 수납 받침구
JP3173127U (ja) 石けん箱
JP6803555B2 (ja) 洗面化粧ユニット
JPH09135736A (ja) 洗浄槽を備えた流し台
CN207452499U (zh) 用于洗衣机的洗涤剂添加装置及洗衣机
JP2016202374A (ja) キッチン用シンク及びキッチン用シンクを備えたシステムキッチン

Legal Events

Date Code Title Description
A621 Written request for application examination

Free format text: JAPANESE INTERMEDIATE CODE: A621

Effective date: 20201126

A711 Notification of change in applicant

Free format text: JAPANESE INTERMEDIATE CODE: A712

Effective date: 20210113

A977 Report on retrieval

Free format text: JAPANESE INTERMEDIATE CODE: A971007

Effective date: 20211020

A131 Notification of reasons for refusal

Free format text: JAPANESE INTERMEDIATE CODE: A131

Effective date: 20211102

A521 Request for written amendment filed

Free format text: JAPANESE INTERMEDIATE CODE: A523

Effective date: 20211227

A131 Notification of reasons for refusal

Free format text: JAPANESE INTERMEDIATE CODE: A131

Effective date: 20220325

A521 Request for written amendment filed

Free format text: JAPANESE INTERMEDIATE CODE: A523

Effective date: 20220520

A131 Notification of reasons for refusal

Free format text: JAPANESE INTERMEDIATE CODE: A131

Effective date: 20220802

A521 Request for written amendment filed

Free format text: JAPANESE INTERMEDIATE CODE: A523

Effective date: 20221003

TRDD Decision of grant or rejection written
A01 Written decision to grant a patent or to grant a registration (utility model)

Free format text: JAPANESE INTERMEDIATE CODE: A01

Effective date: 20221206

A61 First payment of annual fees (during grant procedure)

Free format text: JAPANESE INTERMEDIATE CODE: A61

Effective date: 20230104

R150 Certificate of patent or registration of utility model

Ref document number: 7206040

Country of ref document: JP

Free format text: JAPANESE INTERMEDIATE CODE: R150