JP7200529B2 - 検眼用テーブル及び検眼システム - Google Patents

検眼用テーブル及び検眼システム Download PDF

Info

Publication number
JP7200529B2
JP7200529B2 JP2018146325A JP2018146325A JP7200529B2 JP 7200529 B2 JP7200529 B2 JP 7200529B2 JP 2018146325 A JP2018146325 A JP 2018146325A JP 2018146325 A JP2018146325 A JP 2018146325A JP 7200529 B2 JP7200529 B2 JP 7200529B2
Authority
JP
Japan
Prior art keywords
optometric
tray
moving means
optometry
moving
Prior art date
Legal status (The legal status is an assumption and is not a legal conclusion. Google has not performed a legal analysis and makes no representation as to the accuracy of the status listed.)
Active
Application number
JP2018146325A
Other languages
English (en)
Other versions
JP2020018711A (ja
JP2020018711A5 (ja
Inventor
憲嗣 野澤
泰 澤田
Current Assignee (The listed assignees may be inaccurate. Google has not performed a legal analysis and makes no representation or warranty as to the accuracy of the list.)
Nidek Co Ltd
Original Assignee
Nidek Co Ltd
Priority date (The priority date is an assumption and is not a legal conclusion. Google has not performed a legal analysis and makes no representation as to the accuracy of the date listed.)
Filing date
Publication date
Application filed by Nidek Co Ltd filed Critical Nidek Co Ltd
Priority to JP2018146325A priority Critical patent/JP7200529B2/ja
Publication of JP2020018711A publication Critical patent/JP2020018711A/ja
Publication of JP2020018711A5 publication Critical patent/JP2020018711A5/ja
Application granted granted Critical
Publication of JP7200529B2 publication Critical patent/JP7200529B2/ja
Active legal-status Critical Current
Anticipated expiration legal-status Critical

Links

Images

Landscapes

  • Eye Examination Apparatus (AREA)

Description

本開示は、検眼装置を載置する検眼用テーブル、及び、検眼装置を用いて検眼を行う検眼システムに関する。
検眼装置を載置した載置台をテーブル面上で移動させ、検眼装置を被検者の眼前に配置することで、検眼を実施することができる検眼用テーブルが知られている(例えば、特許文献1参照)。
特開平7-143961号公報
ところで、検眼時には、被検眼の屈折力を他覚的に測定するためのオートレフラクトメータ、被検眼を観察または撮影するためのスリットランプ、等といった複数の検眼装置を用いることがある。従来の検眼用テーブルは、1つの検眼装置を載置できる載置台を備えた構成であり、別の検眼装置を用いるときには被検者を移動させなければならず、検者にとっても被検者にとっても手間であった。
本開示は、上記従来技術に鑑み、複数の検眼装置を用いて容易に検眼を実施することができる検眼用テーブル及び検眼システムを提供することを技術課題とする。
上記課題を解決するため、本開示は以下の構成を備えることを特徴とする。
(1)本開示の第1態様に係る検眼用テーブルは、検眼装置を載置する検眼用テーブルであって、複数の検眼装置を載置するためのスペースを有する第1テーブルと、前記第1テーブルの下面側に設けられる第2テーブルと、前記第1テーブルと前記第2テーブルとの間に設けられるトレイであって、前記第1テーブルの下面側且つ前記第2テーブルの上面側に設けられるトレイと、前記第1テーブルと、前記トレイと、を連結するための第1移動手段であって、前記第1テーブルを前記トレイに対して水平方向に移動可能とする第1移動手段と、前記第2テーブルと、前記トレイと、を連結するための第2移動手段であって、前記第1移動手段とは異なる移動手段であり、前記トレイを前記第2テーブルに対して水平方向に移動可能とする第2移動手段と、を備え、前記第1テーブルが前記第2テーブル上の所定の位置に位置するように、前記第1テーブルと前記トレイとの少なくともいずれかを前記所定の位置まで水平方向に移動させることで、被検者に対して複数の前記検眼装置を使用可能とし、前記第1テーブルが前記第2テーブル上の前記所定の位置から退避するように、前記第1テーブルと前記トレイとの少なくともいずれかを前記所定の位置から水平方向に移動させることで、前記第2テーブルを使用可能とすることを特徴とする。
(2)本開示の第2態様に係る検眼システムは、被検者に対して複数の検眼装置を用いて検眼を行う検眼システムであって、複数の検眼装置と、複数の前記検眼装置の内、少なくとも第1検眼装置を載置するための第1テーブルと、複数の前記検眼装置の内、少なくとも第2検眼装置を載置するための第2テーブルと、前記第1テーブル及び前記第2テーブルの下面側に設けられる第3テーブルと、前記第1テーブル及び前記第2テーブルを、前記第3テーブルに対して水平方向に移動可能とする移動手段と、を備え、前記第1テーブルが前記第3テーブル上の所定の位置であって、前記被検者の前に水平移動されることによって、前記被検者に対して少なくとも前記第1検眼装置を使用可能とし、前記第2テーブルが前記第3テーブル上の前記所定の位置であって、前記被検者の前に水平移動されることによって、前記被検者に対して前記第2テーブルに載置された前記第2検眼装置を使用可能とすることを特徴とする。
検眼用テーブルの外観略図である。 第1移動手段と第2移動手段の概略図である。 第3移動手段の概略図である。 昇降ユニットの概略図である。 退避状態と検眼状態を説明する図である。
<概要>
本開示の実施形態に係る検眼用テーブルの概要について説明する。なお、以下の<>にて分類された項目は、独立または関連して利用されうる。
<検眼用テーブル>
本実施形態における検眼用テーブル(例えば、検眼用テーブル1)は、検眼装置を載置することができる検眼用テーブルである。例えば、検眼用テーブルは、第1テーブルを備える。また、例えば、検眼用テーブルは、第2テーブルを備える。また、例えば、検眼用テーブルは、トレイを備える。また、例えば、検眼用テーブルは、第1移動手段を備える。また、例えば、検眼用テーブルは、第2移動手段を備える。
例えば、第1テーブル(例えば、第1テーブル11)は、複数の検眼装置を載置するためのスペースを有する。複数の検眼装置は、第1検眼装置と第2検眼装置を含む。もちろん、複数の検眼装置は、第3検眼装置、第4検眼装置、等を含んでもよい。複数の検眼装置を載置するためのスペースは、第1検眼装置、第2検眼装置、第3検眼装置、第4検眼装置、等の複数の検眼装置を載置するためのスペースであってもよい。このような検眼装置としては、被検眼の屈折力を他覚的に測定するためのオートレフラクトメータ、被検眼を観察または撮影するためのスリットランプ、被検眼の屈折力を自覚的に測定するためのレフラクタと視標呈示部を有する自覚式検眼装置、等の少なくともいずれかが載置されてもよい。例えば、本実施例では、第1テーブルが有するスペースに、第1検眼装置と第2検眼装置が載置される場合を例に挙げる。例えば、第1テーブルに載置された検眼装置は、第1テーブルが第2テーブル上に位置するように、第1テーブルとトレイとの少なくともいずれかを水平方向に移動させることで使用可能となる。
例えば、第1テーブルは、複数の検眼装置を固定する固定部を有していてもよい。固定部は、複数の検眼装置を1つの固定部で固定するための固定部であってもよい。また、固定部は、複数の検眼装置をそれぞれの固定部で固定するための固定部であってもよい。本実施例では、第1テーブルに第1検眼装置と第2検眼装置が載置されるため、固定部は、第1検眼装置を固定するための第1固定部(例えば、第1固定部15a)と、第2検眼装置を固定するための第2固定部(例えば、第2固定部15b)と、を有していてもよい。例えば、第1固定部の位置は、第2テーブル上から第1テーブルの突出が開始される側の第1テーブルの側面に対して、第2固定部の位置よりも長手方向に遠い位置に配置されてもよい。もちろん、第1固定部の位置は、第2テーブル上から第1テーブルの突出が開始される側の第1テーブルの側面に対して、第2固定部の位置よりも長手方向に近い位置に配置されてもよい。
例えば、第2テーブル(例えば、第2テーブル12)は、第1テーブルの下面側に設けられる。例えば、第2テーブルは、第1テーブルが第2テーブル上から退避するように、第1テーブルとトレイとの少なくともいずれかを水平方向に移動させることで使用可能となる。例えば、第2テーブルは、検眼用テーブルの基部であって、天板と脚部を備えたテーブルとして用いられてもよい。なお、本実施例において、第2テーブルには昇降ユニット(例えば、昇降ユニット50)が連結されてもよい。この場合、第2テーブルは、昇降ユニットによって上下方向に移動される。
例えば、トレイ(例えば、トレイ20)は、第1テーブルと第2テーブルとの間であって、第1テーブルの下面側かつ第2テーブルの上面側に設けられる。例えば、本実施例におけるトレイには、車輪(例えば、車輪23)が取り付けられてもよい。例えば、本実施例におけるトレイは、第1移動部材を介して、第1テーブルに連結される。また、例えば、本実施例におけるトレイは、第2移動部材を介して、第2テーブルに連結される。
例えば、第1移動手段(例えば、第1移動手段30)は、第1テーブルと、トレイと、を連結するための第1移動手段であって、第1テーブルをトレイに対して水平方向に移動可能とする。例えば、第1移動手段は、ガイドレール(例えば、ガイドレール31)と、ガイドレールに嵌合する嵌合部(例えば、嵌合部32)と、を備えたスライド機構により構成されてもよい。第1移動手段は、第1テーブルに直接連結してもよいし、第1テーブルに支持部材(例えば、レール固定板33)を介して連結してもよい。また、第1移動手段は、トレイに直接連結してもよいし、トレイに支持部材(例えば、嵌合部固定板34)を介して連結してもよい。例えば、このような第1移動手段によって、第1テーブルをトレイに対して水平方向に移動させ、第2テーブル上における第1テーブルの配置を変更することができる。
例えば、第2移動手段(例えば、第2移動手段40)は、第1移動手段とは異なる移動手段である。例えば、第2移動手段は、第2テーブルと、トレイと、を連結するための第2移動手段であって、トレイを第2テーブルに対して水平方向に移動可能とする。例えば、第2移動手段は、レール板(例えば、レール板41)と、レール板に沿って転動するベアリング(例えば、ベアリング43)と、を備えたスライド機構により構成されてもよい。第2移動手段は、トレイに直接連結してもよいし、トレイに支持部材(例えば、支持部22)を介して連結してもよい。また、第2移動手段は、第2テーブルに直接連結してもよいし、第2テーブルに支持部材を介して連結してもよい。例えば、このような第2移動手段によって、トレイを第2テーブルに対して水平方向に移動させ、第2テーブル上におけるトレイの配置を変更することができる。
なお、本実施例では、第1テーブルとトレイが第1移動手段により連結され、第2テーブルとトレイが第2移動手段により連結されている。このため、トレイを第2テーブルに対して水平方向に移動させ、第2テーブル上におけるトレイの配置を変更することで、第2テーブル上における第1テーブルの配置も連動して変更される。
また、本実施例では、第1移動手段と第2移動手段が、同一のスライド機構で構成されてもよい。すなわち、第1移動手段と第2移動手段は、ともにガイドレールと嵌合部を備えたスライド機構により構成されてもよいし、レール板とベアリングを備えたスライド機構により構成されていてもよい。本実施例のように、第1移動手段と第2移動手段が、別々のスライド機構で構成されていてもよい。
上記のような第1テーブル、第2テーブル、トレイ、第1移動手段、及び第2移動手段を少なくとも備える検眼用テーブルは、第1テーブルが第2テーブル上に位置するように、第1テーブルとトレイとの少なくともいずれかを水平方向に移動させることで、被検者に対して複数の検眼装置を使用可能とすることができる。すなわち、第1テーブルが第2テーブル上に位置するように、第1移動手段と第2移動手段の少なくともいずれかを用いて、第1テーブルとトレイとの少なくともいずれかを水平方向に移動させることで、被検者に対して複数の検眼装置を使用可能とすることができる。
例えば、第1テーブルが固定部を有する場合には、固定部が第2テーブル上に配置されるように、第1テーブルとトレイとの少なくともいずれかを水平方向に移動させることで、検眼装置が使用可能とされてもよい。本実施例のように、第1テーブルが第1固定部と第2固定部を有する場合には、第1固定部と、第2固定部の少なくとも一部と、が第2テーブル上に配置されるように、第1テーブルとトレイとの少なくともいずれかを水平方向に移動させることで、第1検眼装置が使用可能とされてもよい。また、第1固定部の少なくとも一部と、第2固定部と、が第2テーブル上に配置されるように、第1テーブルとトレイとの少なくともいずれかを水平方向に移動させることで、第2検眼装置が使用可能とされてもよい。
例えば、このような検眼装置を使用可能とする状態は、少なくとも第1テーブルの固定部が第2テーブル上に配置された状態であってもよい。すなわち、固定部が第2テーブル上に配置された状態であれば、固定部に固定された検眼装置の一部は第2テーブル上に配置された状態でなくてもよい。
また、上記のような第1テーブル、第2テーブル、トレイ、第1移動手段、及び第2移動手段を少なくとも備える検眼用テーブルは、第1テーブルを第2テーブル上から退避するように、第1テーブルとトレイとの少なくともいずれかを水平方向に移動させることで、第2テーブルを使用可能とすることができる。すなわち、第1テーブルが第2テーブル上から退避するように、第1移動手段と第2移動手段の少なくともいずれかを用いて、第1テーブルとトレイとの少なくともいずれかを水平方向に移動させることで、第2テーブルを使用可能とすることができる。
例えば、第1テーブルが固定部を有する場合には、固定部の少なくとも一部が第2テーブル上から突出するように、第1テーブルとトレイとの少なくともいずれかを水平方向に移動させることで、第2テーブルが使用可能とされてもよい。本実施例のように、第1テーブルが第1固定部と第2固定部を有する場合には、第1固定部の少なくとも一部が第2テーブル上に配置され、第2固定部の少なくとも一部が第2テーブル上から突出するように、第1テーブルとトレイとの少なくともいずれかを水平方向に移動させることで、第2テーブルが使用可能とされてもよい。すなわち、例えば、第1固定部と第2固定部のどちらか一方が第2テーブル上から突出することで、第1テーブルに載置された検眼装置の一方が第2テーブル上から突出する状態であってもよい。また、例えば、第1固定部と第2固定部の双方が第2テーブル上から突出することで、第1テーブルに載置された検眼装置の双方が第2テーブル上から突出する状態であってもよい。
例えば、本実施例における検眼用テーブルは、このように、第1テーブルに載置した検眼装置を使用可能な状態と、第2テーブルを使用可能な状態と、を切り換えることができる。これによって、検者は被検者を移動させることなく複数の検眼装置を用いた検眼を実施することができ、従来に比べて検眼が容易になる。また、被検者の移動による負担を軽減させることができる。
なお、本実施例における検眼用テーブルは、さらに、第3テーブルを備えていてもよい。第3テーブル(例えば、第3テーブル13)は、第2テーブルにおいて第1テーブルが突出する側面側に設けられる。また、第3テーブルは、第2テーブルを使用可能な状態において、第1テーブルを支持する。なお、このとき、第3テーブルは、第3テーブルと第1テーブルとを連結するための部材を介して、第1テーブルを支持してもよい。例えば、この場合の一例としては、第3テーブルの上面に突出部を設けておいてもよい。第2テーブルを使用可能な状態において、第1テーブルが第3テーブルの突出部上に当接することで、第3テーブルが第1テーブルを支持してもよい。もちろん、第1テーブルの下面にスタンド等の突出部を設けておいてもよい。第2テーブルを使用可能な状態において、第1テーブルの突出部が第3テーブル上に当接することで、第3テーブルが第1テーブルを支持してもよい。
また、本実施例における検眼用テーブルは、さらに、第3移動手段を備えていてもよい。第3移動手段(例えば、第3移動手段25)は、第3テーブルの上面側に設けられる。また、第3移動手段は、第3テーブルに対して、第1テーブルを水平方向に移動可能に支持する。例えば、本実施例では、第1テーブルの下面に車輪(例えば、車輪14)が設けられ、車輪が第3移動手段上を摺動することによって、第3テーブルが第1テーブルを水平方向に移動可能に支持する。第1テーブル上に複数の検眼装置を配置した状態では、第1テーブルを第2テーブルから突出させると第1テーブルに大きな荷重がかかるが、このような構成とすることで、第1テーブル11の荷重を第3テーブルにより支えることができる。すなわち、第3テーブルを設けることで第1テーブル11の耐荷重を強くすることができ、第1テーブル上に検眼装置を安定に載置しておくことができる。
<検眼システム>
なお、本実施形態では、被検者に対して複数の検眼装置を用いた検眼を行う検眼システムが構築されてもよい。例えば、検眼システムは、被検者に対して複数の検眼装置を用いて検眼を行うための検眼用テーブルを有する。
例えば、検眼システムとしては、複数の検眼装置と、複数の検眼装置の内、少なくとも第1検眼装置を載置するための第1テーブルと、複数の検眼装置の内、少なくとも第2検眼装置を載置するための第2テーブルと、第1テーブル及び第2テーブルの下面側に設けられる第3テーブルと、第1テーブル及び第2テーブルを、第3テーブルに対して水平方向に移動可能とする移動手段と、を備えてもよい。例えば、本実施例において、第3テーブルは、検眼用テーブルの基部であって、天板と脚部を備えたテーブルとして用いられてもよい。このような検眼システムにおいては、第1テーブルが第3テーブル上の位置であって、被検者の前に水平移動されることによって、被検者に対して少なくとも第1検眼装置を使用可能としてもよい。また、第2テーブルが第3テーブル上の位置であって、被検者の前に水平移動されることによって、被検者に対して第2テーブルに載置された第2検眼装置を使用可能とするようにしてもよい。
例えば、第1テーブルと第2テーブルは、一体的に形成されるようにしてもよい。例えば、この場合、第1テーブルと第2テーブルが一体的に形成されたテーブルが、第3テーブル上の位置であって、第1検眼装置が被検者の前に位置するように、テーブルを水平方向に移動させることで、被検者に対して第1検眼装置を使用可能としてもよい。また、テーブルが第3テーブル上の位置であって、第1検眼装置が被検者の前に位置するように、テーブルを水平方向に移動させることで、被検者に対して第2検眼装置を使用可能としてもよい。
例えば、第1テーブルと第2テーブルは、別途それぞれ設けられるようにしてもよい。例えば、この場合、第1テーブルと第2テーブルは、独立に移動させることができてもよい。例えば、第1テーブルが第3テーブル上の位置であって、第1検眼装置が被検者の前に位置するように、第1テーブルを水平方向に移動させることで、被検者に対して第1検眼装置を使用可能としてもよい。また、第2テーブルが第3テーブル上の位置であって、第2検眼装置が被検者の前に位置するように、第2テーブルを水平方向に移動させることで、被検者に対して第2検眼装置を使用可能としてもよい。
例えば、移動手段としては、スライド機構を用いてもよい。例えば、スライド機構の一例としては、ガイドレール及びガイドレールに嵌合する嵌合部を備えたスライド機構であってもよい。また、例えば、スライド機構の一例としては、ガイドレール及びガイドレール上を転動する車輪を備えたスライド機構であってもよい。また、例えば、スライド機構の一例としては、レール板とレール板に沿って転動するベアリングを備えたスライド機構であってもよい。もちろん、種々のスライド機構を組み合わせて用いるようにしてもよい。なお、上記移動手段としてはスライド機構を例に挙げているが、別の機構であってもよい。例えば、移動手段としては、第1テーブル及び第2テーブルを、第3テーブルに対して水平方向に移動可能とする構成であればよい。
例えば、移動手段は、第1テーブルと第2テーブルとで、少なくとも一部が兼用されてもよい。この場合、例えば、移動手段は、第1テーブルと第2テーブルとで、その全てが兼用される構成であってもよい。また、この場合、例えば、移動手段は、第1テーブルと第2テーブルとで、一部が兼用される構成であってもよい。
例えば、移動手段は、第1テーブルと第2テーブルとで、その全てが兼用される場合、第1テーブルと第2テーブルと共通の移動手段が用いられるようにしてもよい。一例として、移動手段がガイドレール及びガイドレールに嵌合する嵌合部を備えたスライド機構を有する場合、第1テーブル及び第2テーブルに共通の篏合部を設け、嵌合部が嵌合されるガイドレールを第3テーブルに設けてもよい。これによって、第1テーブル及び第2テーブルが第3テーブルに対して、一体的に移動される。
例えば、移動手段が第1テーブルと第2テーブルとで一部が兼用される例として、移動手段がガイドレール及びガイドレールに嵌合する嵌合部を備えたスライド機構を有する場合、第1嵌合部を第1テーブルに設け、第2嵌合部を第2テーブルに設け、第1嵌合部と第2嵌合部との双方が嵌合されるガイドレールを第3テーブルに設けてもよい。
また、例えば、移動手段は、第1テーブルと第2テーブルとで、別々にそれぞれ設けられてもよい。この場合、例えば、第1テーブル用の移動手段が設けられるとともに、第2テーブル用の移動手段が設けられるようにしてもよい。一例として、移動手段がガイドレール及びガイドレールに嵌合する嵌合部を備えたスライド機構を有する場合、第1嵌合部を第1テーブルに設け、第1嵌合部が嵌合される第1ガイドレールを第3テーブルに設けるとともに、第2嵌合部を第2テーブルに設け、第2嵌合部が嵌合される第2ガイドレールを第3テーブルに設けてもよい。
なお、例えば、移動手段は、少なくとも1つの移動手段(例えば、少なくとも1つのスライド機構)によって構成されるようにしてもよい。この場合、例えば、1つの移動手段によって、第1テーブル及び第2テーブルを、第3テーブルに対して水平方向に移動可能とする移動手段であってもよい。また、この場合、例えば、複数の移動手段によって、第1テーブル及び第2テーブルを、第3テーブルに対して水平方向に移動可能とする移動手段であってもよい。
なお、例えば、検眼システムは、第1テーブル及び第2テーブルと、第3テーブルと、の間にトレイが設けられるようにしてもよい。例えば、この場合、検眼システムは、第1テーブル及び第2テーブルをトレイに対して水平方向に移動可能とする第1移動手段と、第1移動手段とは異なる移動手段であり、トレイを第3テーブルに対して水平方向に移動可能とする第2移動手段と、を備えていてもよい。例えば、第1テーブル及び第2テーブルと、トレイと、は第1移動手段を介して連結されてもよい。つまり、上記の<検眼用テーブル>の構成であってもよい。また、例えば、第1テーブル及び第2テーブルと、トレイと、は、第1移動手段と、第1移動手段とは異なる別の部材(例えば、支持部材、等)と、を介して連結されてもよい。例えば、トレイと第3テーブルとは第2移動手段を介して連結されてもよい。つまり、上記の<検眼用テーブル>の構成であってもよい。また、例えば、トレイと第3テーブルとは、第2移動手段と、第2移動手段とは異なる別の部材(例えば、支持部材、等)と、を介して連結されてもよい。
なお、上記の連結する構成は、種々の異なる連結機構を有する構成を組み合わせて用いるようにしてもよい。一例として、第1テーブル及び第2テーブルと、トレイと、が第1移動手段及び第1移動手段とは異なる別の部材を介して連結され、トレイと第3テーブルとが第2移動手段を介して連結されてもよい。また、一例として、第1テーブル及び第2テーブルと、トレイと、が第1移動手段を介して連結され、トレイと第3テーブルとが第2移動手段及び第2移動手段とは異なる別の部材を介して連結されてもよい。
また、例えば、上記の連結する構成は、同一の連結機構を用いるようにしてもよい。一例として、第1テーブル及び第2テーブルと、トレイと、が第1移動手段及び別の部材を介して連結され、トレイと第3テーブルとが第2移動手段及び別の部材を介して連結されてもよい。また、一例として、第1テーブル及び第2テーブルと、トレイと、が第1移動手段を介して連結され、トレイと第3テーブルとが第2移動手段を介して連結されてもよい。
なお、例えば、検眼システムは、第1テーブル及び第2テーブルと、第3テーブルと、の間にトレイを有しない構成であってもよい。この場合、例えば、検眼システムは、第1テーブル及び第2テーブルと、第3テーブルと、が移動手段を介して連結する構成であってもよい。また、この場合、例えば、検眼システムは、第1テーブル及び第2テーブルと、第3テーブルと、が移動手段及び移動手段とは異なる別の部材(例えば、支持部材、等)を介して連結する構成であってもよい。
<実施例>
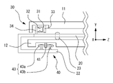
以下、本開示における典型的な実施例について、図面を参照して説明する。図1は検眼用テーブルの外観略図である。本実施例では、検眼用テーブルの水平方向(左右方向)をX方向、鉛直方向(上下方向)をY方向、垂直方向(前後方向)をZ方向として説明する。検眼用テーブル1は、第1テーブル11、第2テーブル12、第3テーブル13、トレイ20、第1移動手段30(図2参照)、第2移動手段40(図2参照)、第3移動手段25、昇降ユニット50、等を備える。
なお、本実施形態に係る構成と、その一例である本実施例の構成との対応関係を示すに、第1テーブル11は<検眼用テーブル>に係る概要における第1テーブルに対応し、第2テーブル12は<検眼用テーブル>に係る概要における第2テーブルに対応する。また、第1テーブル11は<検眼システム>に係る概要における第1テーブル及び第2テーブルに対応し、第2テーブル12は<検眼システム>に係る概要における第3テーブルに対応する。第1テーブル11は、<検眼システム>に係る概要における第1テーブル及び第2テーブルが一体的に形成されたテーブルである。
<テーブル>
第1テーブル11は、X方向(水平方向)が長手であり、Z方向(垂直方向)が短手である四角形状を有する。第1テーブル11は、複数の検眼装置を載置するためのスペースを有する。本実施例では、第1テーブル11が、第1検眼装置と、第2検眼装置と、を載置するためのスペースを有する場合を例に挙げる。例えば、第1検眼装置としては、被検眼の屈折力を他覚的に測定するためのオートレフラクトメータ(以下、レフラクトメータ)ARが載置される。例えば、第2検眼装置としては、被検眼を観察または撮影するためのスリットランプSLが載置される。
第1テーブル11は、複数の検眼装置を固定する固定部15を有する。本実施例では、固定部15が、第1検眼装置を固定するための第1固定部15aと、第2検眼装置を固定するための第2固定部15bと、で構成される。第1固定部15aは、第1テーブル11の長手方向における第2テーブル12側に配置される。第2固定部15bは、第1テーブル11の長手方向における第3テーブル13側に配置される。すなわち、第2テーブル12から第1テーブル11の突出が開始される側の第1テーブル11の側面に対して、第1固定部15aの位置は第2固定部15bの位置よりも長手方向に遠い位置に配置される。なお、第1テーブル11の突出については後述する。例えば、固定部15aによって、第1検眼装置(レフラクトメータAR)が第1テーブル11上に固定配置される。また、固定部15bによって、第2検眼装置(スリットランプSL)が第1テーブル11上に固定配置される。
第1テーブル11の下面(裏面)には、車輪14が転動可能に取り付けられる。車輪14は、後述する第3移動手段25のガイド部28(図3参照)に保持されるとともに、ガイド部28に沿って水平方向に移動する。車輪14がガイド部28に保持されることで、第1テーブル11が検眼装置の重みで上方向に傾くことを抑制することができる。
また、第1テーブル11の下面には、車輪16(図5参照)が転動可能に取り付けられる。車輪16は、トレイ20上を水平方向に移動する。なお、本実施例において、第1テーブルの下面には必ずしも車輪16を取り付ける必要はない。しかし、後述の第1移動手段30を介して第1テーブル11を移動させたとき、車輪16を取り付けている場合には、車輪16を取り付けていない場合よりも、第1テーブル11をより滑らかに移動させることができる。
また、第1テーブル11の下面には、車輪17(図5参照)が収納可能に取り付けられている。車輪17は、第2テーブル12が使用可能な状態(すなわち、後述する図5(a)の状態)、及び、第1検眼装置が検眼状態にある状態(すなわち、後述する図5(b)の状態)では、第1テーブル11の下面にその一部が収納され、トレイ20上を摺動する。また、車輪17は、第1検眼装置が検眼状態にある状態から、さらに第1テーブル11が移動され、第2検眼装置が検眼状態にある状態(すなわち、後述する図5(c)の状態)となると、第1テーブル11から突出し、第2テーブル12上を摺動する。これによって、第1テーブル11が検眼装置の重みで下方向に傾くことを抑制することができる。
第2テーブル12は、X方向が長手であり、Z方向が短手である四角形状を有する。第2テーブル12は、第1テーブル11の下面側に設けられる。本実施例において、第2テーブル12は、第1テーブル11の下面側、かつ、トレイ20の下面側に設けられる。第2テーブル12は、第1テーブル11を第2テーブル12上から退避するように水平方向に移動させた状態(すなわち、後述する退避状態)において使用可能となる。第2テーブル12には、昇降ユニット50が連結される。
第3テーブル13は、X方向が長手であり、Z方向が短手である四角形状を有する。第3テーブル13は、第2テーブル12において第1テーブル11が突出する側面側に設けられる。第3テーブル13は、第1テーブル11を第2テーブル12上から退避するように水平方向に移動させた状態(すなわち、後述する退避状態)において、第1テーブル11を支持する。本実施例では、第3テーブル13が、後述する第3移動手段25を介して第1テーブル11を支持する。第3テーブル13を設けることで、第1テーブル11に複数の検眼装置を載置し、第1テーブル11を第2テーブルから突出させても、第1テーブル11の荷重を支えることができる。すなわち、第3テーブル13を設けることで、第1テーブル11の耐荷重を強くすることができる。
<トレイ>
トレイ20(図2及び図3参照)は、第1テーブル11と第2テーブル12の間に設けられる。トレイ20は、第1テーブル11の下面側、かつ、第2テーブル12の上面側に設けられる。トレイ20は、X方向が短手であり、Z方向が長手である四角形状を有する。トレイ20の四隅には、車輪23が転動可能に取り付けられる。車輪23は第2テーブル12に当接する。なお、本実施例において、トレイ20には必ずしも車輪23を取り付ける必要はない。しかし、後述の第2移動手段40を介してトレイ20を移動させたとき、車輪23を取り付けている場合には、車輪23を取り付けていない場合よりも、トレイ20をより滑らかに移動させることができる。
本実施例において、トレイ20には支持部22が連結されている。支持部22は、トレイ20と後述する第2移動手段40を連結する。支持部22は、第2テーブル12の上面(表面)から側面を回って下面まで伸びるコの字形状を有する。もちろん、支持部22の形状は種々の形状であってもよく、本実施例に限定されない。
<移動手段>
図2は第1移動手段30と第2移動手段40の概略図である。なお、図2は図1のA-A´断面を示している。第1移動手段30は、第1テーブル11とトレイ20とを連結するための移動手段である。第1移動手段30は、第1テーブル11をトレイ20に対して水平方向(X方向)に移動可能にする。第1移動手段30は、ガイドレール31、嵌合部32、等で構成される。ガイドレール31は、第1テーブル11の水平方向に伸びるように、第1テーブル11の下面に固定される。本実施例におけるガイドレール31は、第1テーブル11の下面に設けられたレール固定板33に固定されることで、第1テーブル11の下面に固定されている。嵌合部32は、トレイ20の上面に固定される。本実施例における嵌合部32は、トレイ20の上面に設けられた嵌合部固定板34に固定されることで、トレイ20の上面に固定されている。ガイドレール31と嵌合部32は互いに嵌合する。例えば、嵌合部32がガイドレール31に沿って摺動されることで、第1テーブル11が水平方向に移動される。
第2移動手段40は、第1移動手段30とは異なる移動手段である。すなわち、第1移動手段30と第2移動手段40は、別々に設けられた移動手段である。第2移動手段40は、第2テーブル12とトレイ20とを連結するための移動手段である。第2移動手段40は、トレイ20を第2テーブル12に対して水平方向(X方向)に移動可能にする。第2移動手段40は、レール板41、ベアリング42(ベアリング42a及び42b)、等で構成される。レール板41は、第2テーブル12の水平方向に伸びるように、第2テーブル12の下面に固定される。ベアリング42aとベアリング42bは、レール板41を挟むように配置される。ベアリング42aとベアリング42bは、トレイ20に連結された支持部22に転動可能に取り付けられる。例えば、ベアリング42をレール板41に沿って転動させることで、トレイ20は水平方向に移動される。
本実施例では、上記のように、第1テーブル11とトレイ20が第1移動手段30によって連結され、トレイ20と第2テーブル12が第2移動手段40によって連結される。このため、第1移動手段30を用いて、トレイ20を移動させることなく、第1テーブル11を水平方向に移動させることができる。第2移動手段40を用いて、トレイ20を第2テーブル12に対して水平方向に移動させることでも、第1テーブル11を水平方向に移動させることができる。
図3は第3移動手段25の概略図である。図3では、第1テーブル11と第1移動手段30の図示を省略している。図3(a)は第3移動手段25が縮んだ状態である。図3(b)は第3移動手段25が伸びた状態である。第3移動手段25は、第3テーブル13の上面側に設けられる。第3移動手段25は、第3テーブル13に対して、第1テーブル11を水平方向に移動可能に支持する。第3移動手段25は、固定部26、スライド部27、ガイド部28、等を備える。固定部26は第3テーブル13に固定される。固定部26は凸部26aを有する。スライド部27はトレイ20の側面に固定される。スライド部27は凹部27aを有する。固定部26とスライド部27は、凸部26aと凹部27aが嵌合するように配置される。ガイド部28は、スライド部27に固定される。第1テーブル11の下面に取り付けられた車輪14が、ガイド部28に保持されるとともに、ガイド部28上を移動する。
第3移動手段25は、トレイ20の移動位置によって、X方向(左右方向)に伸縮する。例えば、第1テーブル11を第2テーブル12上から退避するように水平方向に移動させた状態(すなわち、後述する退避状態)では、第2テーブル12の端付近にトレイ20が移動される。このとき、スライド部27の凹部27aは固定部26の凸部26a上を摺動し、図2(a)に示すように、スライド部27が固定部26に重なるように配置される。また、例えば、第1テーブル11が第2テーブル12上に位置するように水平方向に移動させた状態(すなわち、後述する検眼状態)では、第2テーブル12の中央付近にトレイ20が移動される。このとき、スライド部27の凹部27aは固定部26の凸部26a上を摺動し、図2(b)に示すように、スライド部27が固定部26から引き出されて配置される。なお、凸部26aには、凸部26aから凹部27bが抜け落ちることを抑制するための部材(例えば、プランジャ等)を設けてもよい。
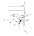
<昇降ユニット>
図4は昇降ユニット50の概略図である。昇降ユニット50は、第2テーブル12に設けられる。昇降ユニット50は、第1支柱51、第2支柱52、上下移動機構53、等で構成される。上下移動機構53は、モータ54、ギヤ55(ギヤ55a及び55b)、ナット部56、送りネジ57、等を備える。第1支柱51は第2テーブル12の下面に連結される。第1支柱51の内部にはモータ54が取り付けられる。モータ54の回転軸にはギヤ55aが固定される。第2支柱52は基台3に連結される。第2支柱52の内部にはナット部56が取り付けられる。ナット部56には送りネジ57が螺合する。送りネジ57の先端にはギヤ55bが固定される。ギヤ55aとギヤ55bは噛み合うように配置される。例えば、モータ54が回転すると、その回転がギヤ55を介して送りネジ57に伝達され、送りネジ57が回転する。これによって、第1支柱51は、第2支柱52に対して上下方向(鉛直方向)にスライドする。なお、昇降ユニット50はこのようなギヤ機構に限らず、アクチュエータ、シリンダ、等により上下方向にスライドする構成としてもよい。
昇降ユニット50は、第2テーブル12に設けられた上下移動スイッチ2を操作することで、モータ54を回転させ、上下方向へスライドさせることができる。また、昇降ユニット50は、第1支柱51の上下移動に対する上限と下限を検知するための図示なきマイクロスイッチを備えていてもよい。例えば、マイクロスイッチが第2支柱52に設けられ、第1支柱51の下端がマイクロスイッチに触れたときに、モータ54の回転が停止されてもよい。
<退避状態と検眼状態>
本実施例における検眼用テーブル1は、第1テーブル11を水平方向に移動させることで、第2テーブル12の所定の位置にて検眼装置を使用可能な状態と、第2テーブル12の所定の位置にて第2テーブルを使用可能な状態と、を切り換えることができる。すなわち、本実施例における検眼用テーブル1は、第1テーブル11を水平方向に移動させることで、第2テーブル12の所定の位置に検眼装置を配置した検眼状態と、第2テーブル12の所定の位置から検眼装置を退避させた退避状態と、を切り換えることができる。例えば、第2テーブル12の所定の位置は、第2テーブル12を前後方向(Z方向)に挟んで、検者と被検者が対面する位置P(図5参照)である。
図5は退避状態と検眼状態を説明する図である。図5(a)は、第2テーブル12を使用可能な状態である。すなわち、図5(a)は第1検眼装置と第2検眼装置がともに退避状態にある場合を示している。図5(b)と図5(c)は、検眼装置を使用可能な状態である。図5(b)は第1検眼装置が検眼状態にある場合を示している。図5(c)は第2検眼装置が検眼状態にある場合を示している。なお、図5において、第1検眼装置(レフラクトメータAR)は、固定部15aに固定されることで、第1テーブル11の検者に近い側に載置されている。また、第2検眼装置(スリットランプSL)は、固定部15bに固定されることで、第1テーブル11の検者から遠い側に載置されている。
例えば、第1テーブル11が第2テーブル12上に位置するように、第1テーブル11とトレイ20との少なくともいずれかを水平方向に移動させることで、検眼装置を使用可能とすることができる。このとき、検眼装置を固定する固定部15が第2テーブル12上に配置されるように、第1テーブル11とトレイ20との少なくともいずれかが、第2テーブル12上で水平方向に移動される。本実施例では、第1検眼装置(レフラクトメータAR)を固定する固定部15aと、第2検眼装置(スリットランプSL)を固定する固定部15bと、が第2テーブル12上に配置されるように、第1テーブル11とトレイ20との少なくともいずれかを水平方向に移動させることで、第1検眼装置が使用可能となる。これによって、図5(a)に示す退避状態から、図5(b)に示す検眼状態へと切り換えられる。また、本実施例では、第1固定部15aの少なくとも一部と、第2固定部15bと、が第2テーブル12上に配置されるように、第1テーブル11とトレイ20との少なくともいずれかを水平方向に移動させることで、第2検眼装置が使用可能となる。これによって、図5(a)に示す退避状態、あるいは、図5(b)に示す検眼状態から、図5(c)に示す検眼状態へと切り換えられる。
また、例えば、第1テーブル11が第2テーブル12上から退避するように、第1テーブル11とトレイ20との少なくともいずれかを水平方向に移動させることで、第2テーブルを使用可能とすることができる。このとき、検眼装置を固定する固定部15の少なくとも一部が第2テーブル12上から突出するように、第1テーブル11とトレイ20との少なくともいずれかが、第2テーブル12上で水平方向に移動される。本実施例では、第1検眼装置を固定する固定部15aが第2テーブル12上に配置され、第2検眼装置を固定する固定部15bが第2テーブル12上から突出するように、第1テーブル11とトレイ20との少なくともいずれかを水平方向に移動させることで、第2テーブル12が使用可能となる。これによって、図5(b)または図5(c)に示す検眼状態から、図5(a)に示す退避状態へと切り換えられる。
<動作>
以上のような構成を備える検眼用テーブルの動作を説明する。例えば、第1テーブル11は、図5(a)に示す第2テーブル12を使用可能な状態(すなわち、退避状態)を初期位置として配置されている。初期位置では、第1テーブル11の検者に近い側に配置されたレフラクトメータARが、トレイ20の上部にくるように配置される。すなわち、第1テーブル11の突出が開始される側の側面Sから遠い位置に配置されたレフラクトメータARが、トレイ20の上部にくるように配置される。検者は、被検者に対して問診や診察を行うと、第1テーブル11を図5(b)または図5(c)に示す検眼装置を使用可能な状態(すなわち、検眼状態)に配置し、被検者に対して検眼を行う。
検者は、まず、レフラクトメータARを用いた検眼を行う。検者は、トレイ20を水平方向に移動させるための図示なきレバーを操作して、トレイ20を第2テーブル12の所定の位置Pまで移動させる。トレイ20は、第2移動手段40によって、第2テーブル12上を水平方向にスライドする。第2テーブル12のスライドに連動して、トレイ20の上部に位置する第1テーブル11の検者に近い側、及び第1テーブル11の検者に近い側に配置されたレフラクトメータARが、所定の位置Pまで移動する。これによって、図5(b)に示す検眼状態となり、検者及び被検者の前にレフラクトメータARが配置されるので、検者は被検者に対してレフラクトメータARを用いた検眼を行うことができる。
検者は、次に、スリットランプSLを用いた検眼を行う。検者は、第1テーブル11を水平方向に移動させるための図示なきレバーを操作して、第1テーブル11を移動させる。第1テーブル11は、第1移動手段30によって、トレイ20上を水平方向にスライドする。第1テーブル11の検者に近い側、及び第1テーブル11の検者に近い側に配置されたレフラクトメータARは所定の位置Pから離れるとともに、第1テーブル11の検者から遠い側、及び第1テーブル11の検者から遠い側に配置されたスリットランプSLが所定の位置Pに移動される。これによって、図5(b)に示す検眼状態から図5(c)に示す検眼状態となり、検者及び被検者の前にスリットランプSLが配置されるので、検者は被検者に対してスリットランプSLを用いた検眼を行うことができる。なお、図5(c)の検眼状態では、第1テーブル11の検者から遠い側に配置されたスリットランプSLが、トレイ20の上部にくるように配置される。すなわち、第1テーブル11の突出が開始される側の側面Sに近い位置に配置されたスリットランプSLが、トレイ20の上部にくるように配置される。
検者は、レフラクトメータARを用いた検眼と、スリットランプSLを用いた検眼と、の少なくともいずれかを行って被検者の検眼を終えると、検者及び被検者の前から検眼装置(レフラクトメータAR及びスリットランプSL)を移動させ、第2テーブル12を使用可能な状態にする。例えば、検者は、第1テーブル11を水平方向に移動させるための図示なきレバーを操作して、第1テーブル11をトレイ20に対して水平方向にスライドさせることで、検者及び被検者の前にレフラクトメータARを配置した検眼状態へと戻す。また、例えば、検者は、トレイ20を水平方向に移動させるための図示なきレバーを操作して、トレイ20を第2テーブル12に対して水平方向にスライドさせることで、検者及び被検者の前からレフラクトメータARを退避させ、第2テーブル12を使用可能な状態へと戻す。
以上説明したように、例えば、本実施例における検眼用テーブルは、複数の検眼装置を載置するためのスペースを有する第1テーブルと、第1テーブルの下面側に設けられる第2テーブルと、第1テーブルと第2テーブルとの間であり、第1テーブルの下面側かつ第2テーブルの上面側に設けられるトレイと、第1テーブルをトレイに対して水平方向に移動可能とし、第1テーブルとトレイを連結するため第1移動手段と、第1移動手段とは異なる移動手段であり、トレイを第2テーブルに対して水平方向に移動可能とし、第2テーブルとトレイを連結するための第2移動手段と、を備え、第1テーブルが第2テーブル上に位置するように、第1テーブルとトレイとの少なくともいずれかを水平方向に移動させることで、被検者に対して複数の検眼装置を使用可能とし、第1テーブルが第2テーブル上から退避するように、第1テーブルとトレイとの少なくともいずれかを水平方向に移動させることで、第2テーブルを使用可能とする。これによって、検者は被検者を移動させることなく複数の検眼装置を用いた検眼を実施することができ、従来に比べて検眼が容易になる。また、被検者の移動による負担を軽減させることができる。
また、例えば、本実施例における検眼用テーブルは、複数の前記検眼装置を固定する固定部を有し、固定部が第2テーブル上に配置されるように、第1テーブルとトレイとの少なくともいずれかを水平方向に移動させることで、検眼装置を使用可能とし、固定部の少なくとも一部が第2テーブル上から突出するように、第1テーブルとトレイとの少なくともいずれかを水平方向に移動させることで、第2テーブルを使用可能とする。これによって、検眼装置と第2テーブルを効率的に使用することができる。検眼の際には、検者及び被検者の前に検眼装置を配置することができ、問診や診察の際には、第1テーブルを第2テーブル上から突出させて第2テーブルをあけ、第2テーブルを使用することができる。
また、例えば、本実施例における検眼用テーブルは、第1検眼装置を固定するための第1固定部と、第2検眼装置を固定するための第2固定部と、を有し、第1固定部と第2固定部の少なくとも一部とが第2テーブル上に配置されるように、第1テーブルとトレイとの少なくともいずれかを水平方向に移動させることで、被検者に対して第1検眼装置を使用可能とし、第1固定部の少なくとも一部と第2固定部とが第2テーブル上に配置されるように、第1テーブルとトレイとの少なくともいずれかを水平方向に移動させることで、被検者に対して第2検眼装置を使用可能とし、第1固定部の少なくとも一部が第2テーブル上に配置され、第2固定部の少なくとも一部が第2テーブル上から突出するように、第1テーブルとトレイとの少なくともいずれかを水平方向に移動させることで、第2テーブルを使用可能とする。これによって、第1検眼装置と第2検眼装置を、検眼内容に合わせて容易に切り換えることができる。また、第1検眼装置または第2検眼装置を使用可能な状態と、第2テーブルを使用可能な状態と、を容易に切り換えることができる。
また、例えば、本実施例における検眼用テーブルは、第2テーブルにおいて第1テーブルが突出する側面側に設けられた第3テーブルを備え、第2テーブルを使用可能な状態において、第3テーブルが第1テーブルを支持する。第1テーブル上に複数の検眼装置を配置した状態では、第1テーブルを第2テーブルから突出させると第1テーブルに大きな荷重がかかるが、このような構成とすることで、第1テーブル11の荷重を第3テーブルにより支えることができる。すなわち、第3テーブルを設けることで第1テーブル11の耐荷重を強くすることができ、第1テーブル上に検眼装置を安定に載置しておくことができる。
<変容例>
なお、本実施例では、第1テーブル11、第2テーブル12、及び第3テーブル13が、それぞれX方向(水平方向)が長手であり、Z方向(垂直方向)が短手である四角形状を有する構成を例に挙げて説明したがこれに限定されない。もちろん、第1テーブル11、第2テーブル12、及び第3テーブル13の形状や寸法は、本実施例とは異なっていてもよい。また、本実施例では、トレイ20が、X方向が短手であり、Z方向が長手である四角形状を有する構成を例に挙げて説明したがこれに限定されない。もちろん、トレイ20の形状や寸法は、本実施例とは異なっていてもよい。
なお、本実施例では、第1テーブル11を第2テーブル12上で水平方向に移動させる際に、第1テーブル11を直線状に水平方向に移動させる構成を例に挙げて説明したがこれに限定されない。例えば、第1テーブル11を曲線状に水平方向に移動させる構成としてもよい。一例としては、円弧状に水平方向に移動させてもよい。
なお、本実施例では、第1固定部15aと第2固定部15bを別に設けることで、第1テーブル11上に第1検眼装置と第2検眼装置を固定配置する構成を例に挙げて説明したがこれに限定されない。例えば、第1固定部15aと第2固定部15bとは兼用されてもよい。すなわち、1つの固定部を用いて、第1テーブル11上に第1検眼装置と第2検眼装置を固定配置する構成としてもよい。
なお、本実施例では、第2テーブル12を使用可能な状態(すなわち、退避状態)とする場合に、スリットランプSLを固定する固定部15bのみが第2テーブル12上から突出するように、第1テーブル11を第2テーブル上から水平方向に移動させる構成を例に挙げて説明したがこれに限定されない。もちろん、レフラクトメータARを固定する固定部15aと、スリットランプSLを固定する固定部15bと、がどちらも第2テーブル12上から突出するように、第1テーブル11を第2テーブル上から水平方向に移動させる構成としてもよい。例えば、この場合には、トレイ20を第3テーブル13上まで水平方向に移動可能とする第2移動手段40を設けてもよい。
なお、本実施例では、第2テーブル12を使用可能な状態(すなわち、退避状態)から、トレイ20を第2テーブル12に対して水平方向に移動させることで、レフラクトメータARを使用可能な状態とする構成を例に挙げて説明したがこれに限定されない。例えば、第2テーブル12を使用可能な状態から、第1テーブル11をトレイ20に対して水平方向に移動させることで、レフラクトメータARを使用可能な状態とする構成であってもよい。この場合には、レフラクトメータARを使用可能な状態から、トレイ20を第2テーブル12に対して水平方向に移動させることで、スリットランプSLを使用可能な状態に切り換えることができる。
なお、本実施例における検眼用テーブル1は、第1移動手段30による第1テーブル11の水平方向への移動と、第2移動手段40によるトレイ20の水平方向への移動と、の少なくともいずれかに対して、その水平方向への移動を制御するロック機構を設けてもよい。このようなロック機構は、第1テーブル11の水平方向への移動を制御するロック機構と、トレイ20の水平方向への移動を制御するロック機構と、が別々に設けられた構成であってもよいし、兼用される構成であってもよい。例えば、ロック機構は、第1テーブル11やトレイ20に密着するブレーキパッド、ブレーキパットが先端に設けられた解除レバー、等で構成されてもよい。解除レバーを操作しないときは、ブレーキパッドが第1テーブル11やトレイ20に密着することで、これらの水平方向への移動がロックされる。解除レバーを操作したときは、ブレーキパッドが第1テーブル11やトレイ20から離れ、これらの水平方向への移動のロックが解除される。このようなロック機構を設けることによって、第1テーブル11とトレイ20がずれて検眼装置が動いてしまうことを抑制し、より安全に検眼を行うことができるようにしてもよい。
1 検眼用テーブル
11 第1テーブル
12 第2テーブル
13 第3テーブル
15 固定部
25 第3移動手段
30 第1移動手段
40 第2移動手段

Claims (5)

  1. 検眼装置を載置する検眼用テーブルであって、
    複数の検眼装置を載置するためのスペースを有する第1テーブルと、
    前記第1テーブルの下面側に設けられる第2テーブルと、
    前記第1テーブルと前記第2テーブルとの間に設けられるトレイであって、前記第1テーブルの下面側且つ前記第2テーブルの上面側に設けられるトレイと、
    前記第1テーブルと、前記トレイと、を連結するための第1移動手段であって、前記第1テーブルを前記トレイに対して水平方向に移動可能とする第1移動手段と、
    前記第2テーブルと、前記トレイと、を連結するための第2移動手段であって、前記第1移動手段とは異なる移動手段であり、前記トレイを前記第2テーブルに対して水平方向に移動可能とする第2移動手段と、
    を備え、
    前記第1テーブルが前記第2テーブル上の所定の位置に位置するように、前記第1テーブルと前記トレイとの少なくともいずれかを前記所定の位置まで水平方向に移動させることで、被検者に対して複数の前記検眼装置を使用可能とし、
    前記第1テーブルが前記第2テーブル上の前記所定の位置から退避するように、前記第1テーブルと前記トレイとの少なくともいずれかを前記所定の位置から水平方向に移動させることで、前記第2テーブルを使用可能とすることを特徴とする検眼用テーブル。
  2. 請求項1に記載の検眼用テーブルにおいて、
    前記第1テーブルは、複数の前記検眼装置を固定する固定部を有し、
    前記固定部が前記第2テーブル上に配置されるように、前記第1テーブルと前記トレイとの少なくともいずれかを水平方向に移動させることで、被検者に対して複数の前記検眼装置を使用可能とし、
    前記固定部の少なくとも一部が前記第2テーブル上から突出するように、前記第1テーブルと前記トレイとの少なくともいずれかを水平方向に移動させることで、前記第2テーブルを使用可能とすることを特徴とする検眼用テーブル。
  3. 請求項2に記載の検眼用テーブルにおいて、
    複数の前記検眼装置は、第1検眼装置と、第2検眼装置と、を含み、
    前記固定部は、前記第1検眼装置を固定するための第1固定部と、前記第2検眼装置を固定するための第2固定部と、を有し、
    前記第2テーブル上から前記第1テーブルの突出が開始される側の前記第1テーブルの側面に対して、前記第1固定部の位置が前記第2固定部の位置よりも長手方向に遠い位置に配置され、
    前記第1固定部と、前記第2固定部の少なくとも一部と、が前記第2テーブル上に配置されるように、前記第1テーブルと前記トレイとの少なくともいずれかを水平方向に移動させることで、被検者に対して前記第1検眼装置を使用可能とし、
    前記第1固定部の少なくとも一部と、前記第2固定部と、が前記第2テーブル上に配置されるように、前記第1テーブルと前記トレイとの少なくともいずれかを水平方向に移動させることで、被検者に対して前記第2検眼装置を使用可能とし、
    前記第1固定部の少なくとも一部が前記第2テーブル上に配置され、前記第2固定部の少なくとも一部が前記第2テーブル上から突出するように、前記第1テーブルと前記トレイとの少なくともいずれかを水平方向に移動させることで、前記第2テーブルを使用可能とすることを特徴とする検眼用テーブル。
  4. 被検者に対して複数の検眼装置を用いて検眼を行う検眼システムであって、
    複数の検眼装置と、
    複数の前記検眼装置の内、少なくとも第1検眼装置を載置するための第1テーブルと、
    複数の前記検眼装置の内、少なくとも第2検眼装置を載置するための第2テーブルと、
    前記第1テーブル及び前記第2テーブルの下面側に設けられる第3テーブルと、
    前記第1テーブル及び前記第2テーブルを、前記第3テーブルに対して水平方向に移動可能とする移動手段と、
    を備え、
    前記第1テーブルが前記第3テーブル上の所定の位置であって、前記被検者の前に水平移動されることによって、前記被検者に対して少なくとも前記第1検眼装置を使用可能とし、
    前記第2テーブルが前記第3テーブル上の前記所定の位置であって、前記被検者の前に水平移動されることによって、前記被検者に対して前記第2テーブルに載置された前記第2検眼装置を使用可能とすることを特徴とする検眼システム。
  5. 請求項4の検眼システムにおいて、
    前記第1テーブルと、前記第2テーブルと、は、一体的に形成されており、複数の前記検眼装置を載置するためのスペースを有するテーブルであって、
    前記テーブルが前記第3テーブル上の位置であって、前記第1検眼装置が前記被検者の前に位置するように、前記テーブルを水平方向に移動させることで、前記被検者に対して前記第1検眼装置を使用可能とし、
    前記テーブルが前記第3テーブル上の位置であって、前記第検眼装置が前記被検者の前に位置するように、前記テーブルを水平方向に移動させることで、前記被検者に対して前記第2検眼装置を使用可能とすることを特徴とする検眼システム。
JP2018146325A 2018-08-02 2018-08-02 検眼用テーブル及び検眼システム Active JP7200529B2 (ja)

Priority Applications (1)

Application Number Priority Date Filing Date Title
JP2018146325A JP7200529B2 (ja) 2018-08-02 2018-08-02 検眼用テーブル及び検眼システム

Applications Claiming Priority (1)

Application Number Priority Date Filing Date Title
JP2018146325A JP7200529B2 (ja) 2018-08-02 2018-08-02 検眼用テーブル及び検眼システム

Publications (3)

Publication Number Publication Date
JP2020018711A JP2020018711A (ja) 2020-02-06
JP2020018711A5 JP2020018711A5 (ja) 2021-08-05
JP7200529B2 true JP7200529B2 (ja) 2023-01-10

Family

ID=69587736

Family Applications (1)

Application Number Title Priority Date Filing Date
JP2018146325A Active JP7200529B2 (ja) 2018-08-02 2018-08-02 検眼用テーブル及び検眼システム

Country Status (1)

Country Link
JP (1) JP7200529B2 (ja)

Citations (2)

* Cited by examiner, † Cited by third party
Publication number Priority date Publication date Assignee Title
JP2002345751A (ja) 2001-05-29 2002-12-03 Komura Seisakusho:Kk 水平移動載置台装置
JP2003245252A (ja) 2002-02-25 2003-09-02 Konan Medical Inc 眼科装置の自動制御架台

Family Cites Families (2)

* Cited by examiner, † Cited by third party
Publication number Priority date Publication date Assignee Title
DE6750992U (de) * 1968-07-31 1969-01-23 Rodenstock Optik G Instrumentenschiebetisch fuer ophthalmologische geraete.
JP3374997B2 (ja) * 1993-11-19 2003-02-10 株式会社ニデック 検眼装置

Patent Citations (2)

* Cited by examiner, † Cited by third party
Publication number Priority date Publication date Assignee Title
JP2002345751A (ja) 2001-05-29 2002-12-03 Komura Seisakusho:Kk 水平移動載置台装置
JP2003245252A (ja) 2002-02-25 2003-09-02 Konan Medical Inc 眼科装置の自動制御架台

Also Published As

Publication number Publication date
JP2020018711A (ja) 2020-02-06

Similar Documents

Publication Publication Date Title
RU2656553C2 (ru) Панель управления ультразвуковой системы и подъемник дисплея
JP4883873B2 (ja) 特に外科手術用に設計した作業テーブル
US4225125A (en) Operation table
US2636793A (en) Operating table with adjustable top sections
RU2672019C1 (ru) Кресло микрохирурга
US10028874B2 (en) Operating table base for an operating table
RU2562013C1 (ru) Универсальный рентгеновский комплекс
US3041122A (en) Surgical table
CN103764032B (zh) 用于移动压紧桨的紧凑型机构
US20030053599A1 (en) Medical X-ray examination device
US4131801A (en) X-ray cradle top with tilting mechanism
JP7200529B2 (ja) 検眼用テーブル及び検眼システム
CN213464984U (zh) 一种眼科眼底检查设备
US2905952A (en) Patient stretchers
JP6734662B2 (ja) 眼科医療用テーブル
GB1559945A (en) Operation table
US4041786A (en) Linear motion devices
JP2008307088A (ja) 低床型ストレッチャー
RU2587313C1 (ru) Универсальный рентгеновский комплекс
CN108245180A (zh) 一种放射诊断成像仪
CN212415758U (zh) 三轴移动的可居中ct扫描床
WO2019097594A1 (ja) 放射線撮影装置
CN211432839U (zh) 一种基于眼科检查的托架结构
JP3340817B2 (ja) 検眼装置
CN112263239A (zh) 一种驼背患者核磁共振检查装置

Legal Events

Date Code Title Description
A521 Request for written amendment filed

Free format text: JAPANESE INTERMEDIATE CODE: A523

Effective date: 20210625

A621 Written request for application examination

Free format text: JAPANESE INTERMEDIATE CODE: A621

Effective date: 20210625

A977 Report on retrieval

Free format text: JAPANESE INTERMEDIATE CODE: A971007

Effective date: 20220526

A131 Notification of reasons for refusal

Free format text: JAPANESE INTERMEDIATE CODE: A131

Effective date: 20220607

A521 Request for written amendment filed

Free format text: JAPANESE INTERMEDIATE CODE: A523

Effective date: 20220808

TRDD Decision of grant or rejection written
A01 Written decision to grant a patent or to grant a registration (utility model)

Free format text: JAPANESE INTERMEDIATE CODE: A01

Effective date: 20221122

A61 First payment of annual fees (during grant procedure)

Free format text: JAPANESE INTERMEDIATE CODE: A61

Effective date: 20221205

R150 Certificate of patent or registration of utility model

Ref document number: 7200529

Country of ref document: JP

Free format text: JAPANESE INTERMEDIATE CODE: R150

R250 Receipt of annual fees

Free format text: JAPANESE INTERMEDIATE CODE: R250