JP7168564B2 - 歯科補綴材の製造方法ならびに歯科用工作機械 - Google Patents

歯科補綴材の製造方法ならびに歯科用工作機械 Download PDF

Info

Publication number
JP7168564B2
JP7168564B2 JP2019531116A JP2019531116A JP7168564B2 JP 7168564 B2 JP7168564 B2 JP 7168564B2 JP 2019531116 A JP2019531116 A JP 2019531116A JP 2019531116 A JP2019531116 A JP 2019531116A JP 7168564 B2 JP7168564 B2 JP 7168564B2
Authority
JP
Japan
Prior art keywords
workpiece
machining
dental
tool
machine tool
Prior art date
Legal status (The legal status is an assumption and is not a legal conclusion. Google has not performed a legal analysis and makes no representation as to the accuracy of the status listed.)
Active
Application number
JP2019531116A
Other languages
English (en)
Other versions
JP2020513872A (ja
Inventor
フーバー,マルティン
ヴォルマー,アルフォンス
Current Assignee (The listed assignees may be inaccurate. Google has not performed a legal analysis and makes no representation or warranty as to the accuracy of the list.)
Individual
Original Assignee
Individual
Priority date (The priority date is an assumption and is not a legal conclusion. Google has not performed a legal analysis and makes no representation as to the accuracy of the date listed.)
Filing date
Publication date
Application filed by Individual filed Critical Individual
Publication of JP2020513872A publication Critical patent/JP2020513872A/ja
Application granted granted Critical
Publication of JP7168564B2 publication Critical patent/JP7168564B2/ja
Active legal-status Critical Current
Anticipated expiration legal-status Critical

Links

Images

Classifications

    • AHUMAN NECESSITIES
    • A61MEDICAL OR VETERINARY SCIENCE; HYGIENE
    • A61CDENTISTRY; APPARATUS OR METHODS FOR ORAL OR DENTAL HYGIENE
    • A61C13/00Dental prostheses; Making same
    • A61C13/0003Making bridge-work, inlays, implants or the like
    • A61C13/0004Computer-assisted sizing or machining of dental prostheses
    • AHUMAN NECESSITIES
    • A61MEDICAL OR VETERINARY SCIENCE; HYGIENE
    • A61CDENTISTRY; APPARATUS OR METHODS FOR ORAL OR DENTAL HYGIENE
    • A61C13/00Dental prostheses; Making same
    • A61C13/0003Making bridge-work, inlays, implants or the like
    • A61C13/0006Production methods
    • AHUMAN NECESSITIES
    • A61MEDICAL OR VETERINARY SCIENCE; HYGIENE
    • A61CDENTISTRY; APPARATUS OR METHODS FOR ORAL OR DENTAL HYGIENE
    • A61C1/00Dental machines for boring or cutting ; General features of dental machines or apparatus, e.g. hand-piece design
    • AHUMAN NECESSITIES
    • A61MEDICAL OR VETERINARY SCIENCE; HYGIENE
    • A61CDENTISTRY; APPARATUS OR METHODS FOR ORAL OR DENTAL HYGIENE
    • A61C13/00Dental prostheses; Making same
    • A61C13/08Artificial teeth; Making same
    • BPERFORMING OPERATIONS; TRANSPORTING
    • B23MACHINE TOOLS; METAL-WORKING NOT OTHERWISE PROVIDED FOR
    • B23CMILLING
    • B23C3/00Milling particular work; Special milling operations; Machines therefor
    • B23C3/02Milling surfaces of revolution
    • B23C3/04Milling surfaces of revolution while revolving the work

Landscapes

  • Health & Medical Sciences (AREA)
  • Life Sciences & Earth Sciences (AREA)
  • Oral & Maxillofacial Surgery (AREA)
  • Dentistry (AREA)
  • Epidemiology (AREA)
  • Animal Behavior & Ethology (AREA)
  • General Health & Medical Sciences (AREA)
  • Public Health (AREA)
  • Veterinary Medicine (AREA)
  • Engineering & Computer Science (AREA)
  • Manufacturing & Machinery (AREA)
  • Mechanical Engineering (AREA)
  • Dental Tools And Instruments Or Auxiliary Dental Instruments (AREA)
  • Dental Prosthetics (AREA)

Description

この発明は、歯科補綴材の製造方法に関する。本発明はさらに歯科用工作機械に関する。
従来の歯科用工作機械は実質的に1つのプロセスでワークピースを処理し、それによればワークピースを所与のパラメータと一致するように加工あるいはフライス削りし、その際所要の輪郭あるいは表面形状を作成するために所与の加工軌道に沿って歯科用工作機械の加工工具を移動させる。その際従来の方式によれば、加工工具がワークピース内に切り込まれて所与の加工軌道を走行した後ワークピースから離れて新しい加工軌道を開始するように、ワークピースに対して加工工具を相対移動させる。従って、歯科補綴材が完成するまでの間に加工工具をワークピースに対して位置直しして新しい加工軌道を走行させるために加工工具を処理されるワークピースに接触させ再び離れさせることが多数回にわたり繰り返される。
ドイツ国特許第102008027941号(B4)明細書により、ワークピースを丸型に切削する回転削り方法が開示されており、それによれば少なくとも一箇所の前方切削端を有する回転削り工具をワークピース回転軸に対して偏心性を有する工具回転軸周りで回転するように駆動し、その際回転削り工具をワークピース軸の方向へ移動させることにより継続的に偏心性を縮小させてワークピースに切り込ませる。
ドイツ国特許出願公開第102010061116号(A1)明細書には、特にインレイ、クラウン、ブリッジ、バー、インプラントスーパーストラクチャ等の歯科用ワークピースを製造するための平板状の未加工材の材料切削式の加工方法が開示されており、それによれば回転する工具によって未加工材のアーチ腹面位置内にあるワークピースのクラウン内面と未加工材のアーチ背面位置内にあるクラウン外面を交互に加工する。主要な材料切削に工具作用部の側面を使用するために、中間位置内のアーチ腹面位置とアーチ背面位置の角度を二分する未加工材の位置で追加的にワークピースの加工を実施する。
ドイツ国特許出願公開第102015010322号(A1)明細書により、ワークピースに対する切削軌道に沿ってフライス工具を移動させることによって少なくともワークピースの凹状の部分領域内をフライス工具によってフライス削りするワークピースの切削方法が開示されており、その際少なくともフライス工具が凹状の部分領域をフライス削りする際に移動する範囲内において前記切削軌道がトロコイドに似た軌跡を有する。
従って本発明の目的は、より効率的な加工工具を使用したワークピースの加工軌道を設定しそれによって加工時間を短縮すると同時に加工品質も高めることができる、改善された歯科補綴材の製造方法を提供することである。さらに、より効率的な加工工具の加工軌道によってワークピースの摩耗を抑制すると同時に加工中のワークピースの破損リスクも低減可能になる利点を提供する。
前記の課題は、請求項1および10の特徴を有する歯科補綴材の製造方法によって解決される。前記の課題はさらに、請求項12の特徴を有する歯科用工作機械によって解決される。
本発明は、工作機械、特に歯科診療所用に設計された歯科用工作機械を使用して歯科補綴材を製造する方法を提供し、前記工作機械が多軸のワークピースアームと少なくとも1本の工具スピンドルを備えていて第1の工程で回転する加工工具によってワークピースを回転フライス削り、回転加工、あるいは研磨し、その際にワークピースの外側プロフィールを殆ど全面的に螺旋状動作で加工することによって、少なくとも1本の進入および/または退出経路を除いて、略連続的にワークピースと接触するようにし、すなわち0%の透気度あるいは少ない割合、特に10%未満の透気度しか有さないようにする。本発明によって複雑な三次元構造を回転フライス加工することもできる。螺旋軸に沿って見ると常に螺旋状の加工軌跡が存在し、その際両方の別の次元で見た形状が著しく円形から逸脱し得ることが理解される。
歯科用工作機械は5/0軸機械として構成することが好適であり、すなわちワークピースアーム用の5本の動作軸を備え工具用の軸を備えないものとすることが好適である。
本発明によれば、加工の間、すなわち加工工具とワークピースの最初の接触の後から最後の接触の前までの間にそれらの間に連続的に接触が存在することが極めて好適である。それによって常に実質的に同等な加工応力が付加される。加工部材は圧力を加えて保持され、従って考えられ得る駆動遊びが影響をもたらすことはない。従って加工精度が大幅に上昇する。個別のケースによっては接触を短時間中断することもでき、特にそれを必要とするような複雑な構造の場合に中断することができる。しかしながら中断回数は少なくされ、特に10回未満、好適には1回であるが、0回が最も好適である。同じことが中断時間および/または中断路程にも該当する。本発明によればそれら両方とも10%未満、特に好適には1%未満とされる。
本発明はさらに、工作機械、特に歯科診療所用に設計された歯科用工作機械を使用して歯科補綴材を製造する方法を提供し、前記工作機械が多軸のワークピースアームと少なくとも1本の工具スピンドルを備えていて第1の工程で回転する加工工具によってワークピースを回転フライス削り、回転加工、あるいは研磨してその間にワークピースを凸状の、すなわち凹面性を有さない中間製品に加工し、さらに第2の工程において同様に回転フライス削りあるいは回転加工によって凹形状を形成しながら漸進的にワークピース内に削り込むことによってワークピースのキャビティを形成してそのワークピースを仕上げ加工する。
本発明はさらに、多軸のワークピースアームとモータ駆動される工具スピンドルを有する特に歯科診療所用の歯科用工作機械であって前記歯科用工作機械の加工手法のための制御装置を備えていて、前記制御装置がワークピースの外側プロフィールを実質的に螺旋状動作で回転加工することにより特に進入および退出経路を除いて実質的に連続的に加工工具とワークピースの間に接触が保持される、すなわち透気度が0%であるように前記多軸のワークピースアームの動作を制御してなる歯科用工作機械を提供する。
本発明の発想は、考えられる全ての幾何形状を実現可能なワークピース上における工作機械の加工工具の加工軌道についての手法を設定することである。その際に決定的なことは、加工工具が連続的にワークピースと接触し、すなわちワークピースから離間することなく個々の加工軌道に沿って作成すべきワークピースの幾何形状全体を製造することからなる本発明の特徴を実行することである。
その種の加工手法は、従来の加工手法におけるワークピースへの接触と離脱によって形成される凹凸を回避することができるため加工工具の最適な切削条件を有することが好適である。同様に、ガラスセラミック等の割れやすい材料からなるワークピースを加工する際の剥離を減少させることができる。このことは、ワークピース上の加工工具の螺旋状、すなわち角の無い加工軌道によって有効に達成することができる。
好適な実施形態および追加構成が従属請求項ならびに添付図面の説明によって明らかにされる。
好適な追加構成によれば、第2の工程においてワークピースのキャビティを加工する。従って、前述した加工工具によるワークピースの螺旋状動作の加工からなる加工手法はワークピースのキャビティの形成にも適用可能である。
別の好適な追加構成によれば、一定の送り速度で加工を実行する。従って、規則的なワークピースの材料削除とそれに従って精密な表面幾何形状の形成を有効に実施することができる。
別の好適な追加構成によれば、一加工工程当たり最大1回のワークピースと加工工具の間の接近と最大1回のワークピースと加工工具の間の離脱が実行され、また特に最大2工程の歯科用工作機械を使用して歯科補綴材を製造するための加工工程が設定される。最大で2つの加工工程を設けることによって効率的な歯科補綴材の製造方法を有効に提供し、それによりワークピースの外側幾何形状とキャビティの両方を効率的かつ精密に作成することができる。
別の好適な追加構成によれば、第1の工程中および第2の工程中にワークピースと加工工具の間に一定の圧力を維持し、また加工の方向転換を可能な限り回避する。多軸のワークピースアーム上にワークピースを保持するため、所与の加工軌道を移動する際にワークピースと加工工具の間に常に一定の圧力が存在するような方式で加工工具に相対してワークピースを空間的に動作および/または回転させることができる。同様に加工工具に相対するワークピースの動作性のため、加工工具の方向変更の目的の加工の方向転換を回避することができる。
別の好適な追加構成によれば、歯科補綴材の角を形成する場合に、ワークピースから加工工具に作用する応力の方向が可能な限り最少に変更されるようにして好適には不変にされるようにし、その際付加される加工圧力による加工工具の歪みが維持されるような方式でワークピースアームによってワークピースを回転させる。それによって最高精度の歯科補綴材の幾何形状を好適な方式で作成することができる。
別の好適な追加構成によれば、追加的な第3の工程においてワークピースのプレパラート境界上、咬合面上および/または接続部上でフライス削りする。従って好適な方式によってワークピースの研磨あるいは仕上げ加工を実行することができる。
別の好適な追加構成によれば、加工工程内において原則的に螺旋状動作で加工し、特にワークピースの歯肉側キャビティ上においても螺旋状動作で加工する。従って、ワークピースの歯肉側キャビティの領域においても均等な材料削除あるいは均一な歯科補綴材の表面品質を提供することができる。
別の好適な追加構成によれば、歯科補綴材をインレイ、オンレイ、および/またはベニアとする場合に加工方向が常に縁部に向かって指向するような方式で螺旋状動作によって縁部をフライス削りする。そのことによってワークピースの縁部が滑らかあるいは丸み付けられた輪郭を有することが可能になることが好適である。
別の好適な追加構成によれば、加工に際してワークピースが加工工具に対して螺旋状の経路を移動し、第1の工程中に実質的に一定の単位時間当たりの削除量を処理し、また特にワークピースと加工工具の間に一定の圧力を付与する。この方式によって、製造すべき歯科補綴材の精密な表面幾何形状を作成することができ、しかもそのことを効率的な方式で実施してそれによって加工時間が有効に短縮されることが好適である。
別の好適な追加構成によれば、存在し得るワークピースの歯肉側キャビティを加工するように制御装置を構成する。それによって、ワークピースの歯肉側キャビティの領域においても均等な材料削除あるいは均一な歯科補綴材の表面品質を提供することができる。
別の好適な追加構成によれば、歯科用工作機械を5/0軸フライス盤として構成し、すなわち多軸のワークピースアームのための5軸を備えるとともに加工工具のためには0軸とし、第1の工程中に特に4軸を使用し、第2の工程中は5軸を使用する。従って回転する工具に対してワークピースが所与の加工軌道を移動することができ、それによって考えられる全ての歯科補綴材の表面幾何形状を実現することができる。さらにこの軸構成により加工精度、特に回転研磨の精度が極めて良好になる。ワークピースアームに均一に荷重することによって通常存在する軸-ジョイントの遊びが全く影響を与えなくなる。各軸受が片側に接触して保持され、すなわち“係合”状態となる。加工精度は数十μmとなり得る。
別の好適な追加構成によれば、一定の切削条件が維持されるとともに特に歯科用工作機械の回転数が2000rpmないし50000rpmの範囲内で調節可能になるように歯科用工作機械の送り速度を調節する。均一な切削条件が存在することによって均等な表面削除を有効に達成することができる。すなわちそのことを可能にするために均一な切削条件の存在と工作機械の回転数の調節可能性の組み合わせが寄与し、それによって正確な削除結果のための均一な材料削除が達成される。
上述した構成形態および追加構成を任意に組み合わせることができる。
本発明のその他の可能な構成、追加構成、および実施形態には、具体的な記述が無くとも上述の説明あるいは後述する実施例関連して記述する本発明の特徴の組み合わせが含まれる。
添付図面は本発明の実施形態の詳細な理解を補助するものである。それらの添付図面には本発明の実施形態が示されていて、関連する記述との組み合わせによって本発明の原理および概念が明らかにされる。
図面を参照することにより他の実施形態と上述した数多くの利点が理解される。図中の各要素は必ずしも実物に忠実な縮尺で示されたものではない。
本発明の好適な実施形態に係るワークピースの材料削除を概略的に示した説明図である。 本発明の別の好適な実施形態に係るワークピースの材料削除を概略的に示した説明図である。 本発明の好適な実施形態に係るワークピースの材料削除を概略的に示した説明図である。 本発明の好適な実施形態に係るワークピースの材料削除を概略的に示した説明図である。 本発明の好適な実施形態に係る歯科用工作機械を示した説明図である。
図中において同一あるいは機能が等しい部品あるいは構成要素は、特別に説明がない限り同一の参照符号によって示される。
図1には、本発明の好適な実施形態に係るワークピースの材料削除が概略的に示されている。
(図1に示されていない)工作機械を使用した歯科補綴材の製造方法は、第1の工程において回転する加工工具16によってワークピース18を回転加工することを含む。また、回転する加工工具16によってワークピース18を例えば回転フライス削りあるいは研磨することができる。加工工具16は少なくとも1本の進入および/または退出経路を除いてワークピース18と連続的に接触する。実質的に完全に螺旋状動作でワークピース18の外側プロフィール19を加工することによって加工工具16が0%の透気度を有するようにする。
ワークピース18の加工は一定の送り速度で実行することが好適である。他方、加工形状あるいは加工する材料に応じ加工工具の回転数に相関して加工工具の送り速度を変化させることもできる。
一加工工程当たり最大1回のワークピース18と加工工具16の間の接近と最大1回のワークピース18と加工工具16との離脱が実行される。さらにこの方法は、歯科用工作機械を使用した歯科補綴材の製造のために最大で2つの工程を含む。それによって高い処理効率と品質を達成することができる。
第1の工程中および第2の工程中にワークピースと加工工具の間に一定の圧力を付与することが好適である。加工の方向転換は可能な限り回避される。(図示されていない)ワークピースアームによって歯科補綴材の角部を形成する場合、ワークピースから加工工具にかけられる応力の方向変更が可能な限り少なくなるような方式でワークピースを回転させることが好適である。好適には、付加された加工圧力による加工工具16の歪を保持しながらワークピース18から加工工具16にかけられる圧力の方向を維持する。
加工に際してワークピース18が加工工具16に対して螺旋状の路程を移動する。第1の工程中に実質的に一定の単位時間当たりの削除量を処理する。さらに、ワークピース18と加工工具16の間に一定の圧力を維持する。(図1に示されていない)歯科用工作機械は5/0軸フライス盤として構成することが好適である。従って多軸のワークピースアームが5本の軸を備え、加工工具16は無軸となる。第1の工程中は4本の軸を使用し、第2の工程中に5本の軸を使用することが好適である。
図2には、本発明の別の好適な実施形態に係るワークピースの材料削除が概略的に示されている。
歯科補綴材の製造方法は、第1の工程において回転する加工工具(図2には示されていない)によってワークピース18を回転加工することを含む。また、ワークピース18を例えば回転フライス削りあるいは研磨することができる。
この処理によってワークピース18を凸状、すなわち凹面性を有さない中間製品に加工し、また第2の工程において同様に回転加工あるいは回転フライス削りによって凹状の形状を形成しながらワークピース内に漸進的に進入することによってワークピース18のキャビティ21を形成しこのワークピースを仕上げ加工する。加工は原則的に螺旋状に実行する。加えて、一定の単位時間当たりの削除量を処理し、また特にワークピース18と加工工具の間に一定の圧力を維持する。
図2には歯科補綴材としてインレイのフライス削りが示されており、その際加工方向が常に縁部24に向かって指向するような方式でその縁部24を螺旋状動作でフライス削りする。同様なことが歯科補綴材を例えばオンレイおよび/またはベニアとする場合にも該当する。
図3には、本発明の好適な実施形態に係るワークピースの材料削除が概略的に示されている。追加的な第3の工程においてワークピース18のプレパラート境界22上をフライス削りする。追加的あるいは代替的に、例えばワークピース18の咬合面および/または接続部上をフライス削りすることもできる。
図4には、本発明の好適な実施形態に係るワークピースの材料削除が概略的に示されている。図4に示されたワークピース18の咬合面の仕上げ加工も、同様にワークピースに加工工具に対して螺旋状の加工経路を移動させることによって実行する。
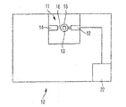
図5には、本発明の好適な実施形態に係る歯科用工作機械が概略的に示されている。歯科用工作機械あるいは工作機械10は、多軸のワークピースアーム12とモータ駆動される工具スピンドル14を備える。歯科用工作機械はさらに、その歯科用工作機械の加工手法のための制御装置26を備える。
制御装置26は、加工工具16とワークピース18の間に連続的に接触あるいは動作が保持される、すなわち透気度が0%であるように、進入および退出経路と多軸のワークピースアームの動作を制御するよう構成する。そのことは、ワークピース18の外側プロフィールを実質的に螺旋状動作で回転加工することによって達成される。さらに、存在し得るワークピースの歯肉側キャビティを加工するように制御装置26を構成する。
歯科用工作機械は5/0軸フライス盤として構成することが好適である。従って多軸のワークピースアームが5本の軸を備え、加工工具16は無軸となる。その際第1の工程中は4本の軸を使用し、第2の工程中に5本の軸を使用することが好適である。均一な切削条件が維持されるとともに特に歯科用工作機械の回転数が2000rpmないし50000rpmの範囲内で調節可能になるように、歯科用工作機械の送り速度が有効に調節可能である。
以上、本発明の好適な実施例につき説明したが、本発明がそれらに限定されることはなく、多様な型式および方式によって設計変更可能であることが理解される。すなわち、本発明の核心から逸脱することなく、多様な方式で設計変更可能であることは勿論である。
例えば、加工軌道、特に螺旋状の加工軌道の寸法が作成すべきワークピースの幾何形状に合わせて調節可能になるような方式で、加工手法あるいは所与の加工軌道をワークピースの幾何形状に合わせて調整することができる。特に、任意のワークピースあるいは作成すべき歯科補綴材の寸法を提供することができるような方式で、螺旋状の加工軌道を寸法変更することができる。

Claims (12)

  1. 多軸のワークピースアーム(12)と少なくとも1本の工具スピンドル(14)を備える工作機械(10)、特に歯科診療所用に設計された歯科用工作機械を使用して歯科補綴材を製造する方法であり、第1の工程で回転する加工工具(16)によってワークピース(18)を回転加工あるいは研磨し、その際にワークピース(18)の外側プロフィール(19)を全面的に螺旋状動作で加工することによって1本の進入および/または退出経路を除いて連続的にワークピース(18)に接触させ、ワークピースから離間することなく、個々の加工軌道に沿って作成すべきワークピースの幾何形状全体を製造し、歯科用工作機械を5/0軸フライス盤として構成し、すなわち多軸のワークピースアーム(12)のための5軸を備えるとともに加工工具(16)のためには0軸とし、第1の工程中に4軸を使用し、第2の工程中は5軸を使用するように構成してなる方法。
  2. 第2の工程においてワークピース(18)のキャビティ(21)を加工することを特徴とする請求項1記載の方法。
  3. 一定の送り速度および/または一定の圧力で加工を実行することを特徴とする請求項1または2記載の方法。
  4. 一加工工程当たり最大1回のワークピース(18)と加工工具(16)の間の接近と最大1回のワークピース(18)と加工工具(16)の間の離脱を実行し、また最大2工程の歯科用工作機械を使用して歯科補綴材を製造するための加工工程を設定することを特徴とする請求項1ないし3のいずれかに記載の方法。
  5. 第1の工程中および第2の工程中にワークピース(18)と加工工具(16)の間に定の圧力を維持し、また加工の方向転換を可能な限り回避することを特徴とする請求項1ないし4のいずれかに記載の方法。
  6. 歯科補綴材の角を形成する場合に、ワークピース(18)から加工工具(16)に作用する応力の方向が可能な限り最少に変更され好適には不変にされるようにし、その際付加される加工圧力による加工工具(16)の歪みが維持されるような方式でワークピースアーム(12)によってワークピース(18)を回転させることを特徴とする請求項1ないし5のいずれかに記載の方法。
  7. 追加的な第3の工程においてワークピース(18)のプレパラート境界(22)上、咬合面上および/または接続部上でフライス削りすることを特徴とする請求項1ないし6のいずれかに記載の方法。
  8. 加工工程内において原則的に螺旋状動作で加工し、ワークピース(18)の歯肉側キャビティ(21)上においても螺旋状動作で加工することを特徴とする請求項1ないし7のいずれかに記載の方法。
  9. 歯科補綴材をインレイ、オンレイ、および/またはベニアとする場合に加工方向が常に縁部(24)に向かって指向するような方式で螺旋状動作によって縁部(24)をフライス削りすることを特徴とする請求項1ないし8のいずれかに記載の方法。
  10. 多軸のワークピースアーム(12)とモータ駆動される工具スピンドル(14)を有する歯科用工作機械であってその歯科用工作機械の加工手法のための制御装置(22)を備えてなる歯科診療所用の歯科用工作機械であり、前記制御装置がワークピース(18)の外側プロフィール(19)を螺旋状動作で回転加工することにより進入および退出経路を除いて相対動作の少なくとも90%にわたって連続的に加工工具(16)とワークピース(18)の間の接触を維持し、好適には相対動作の少なくとも99%にわたって連続的に前記接触を維持するように前記多軸のワークピースアーム(12)の動作を制御し、歯科用工作機械を5/0軸フライス盤として構成し、すなわち多軸のワークピースアーム(12)のための5軸を備えるとともに加工工具(16)に対しては0軸とし、第1の工程中は4軸を使用し、第2の工程中は5軸を使用することを特徴とする歯科用工作機械。
  11. 存在し得るワークピース(18)の歯肉側キャビティ(21)を加工するように制御装置(22)を構成することを特徴とする請求項10記載の歯科用工作機械。
  12. 一定の切削条件が維持されるとともに、歯科用工作機械の回転数が2000rpmないし50000rpmの範囲内で調節可能になるように歯科用工作機械の送り速度を調節することを特徴とする請求項10または11に記載の歯科用工作機械。
JP2019531116A 2016-12-12 2017-11-21 歯科補綴材の製造方法ならびに歯科用工作機械 Active JP7168564B2 (ja)

Applications Claiming Priority (3)

Application Number Priority Date Filing Date Title
EP16203488.8A EP3332737B1 (de) 2016-12-12 2016-12-12 Verfahren zum erzeugen eines dentalrestaurationsteils sowie dentalbearbeitungsmaschine
EP16203488.8 2016-12-12
PCT/EP2017/079922 WO2018108465A1 (de) 2016-12-12 2017-11-21 Verfahren zum erzeugen eines dentalrestaurationsteils sowie dentalbearbeitungsmaschine

Publications (2)

Publication Number Publication Date
JP2020513872A JP2020513872A (ja) 2020-05-21
JP7168564B2 true JP7168564B2 (ja) 2022-11-09

Family

ID=57544293

Family Applications (1)

Application Number Title Priority Date Filing Date
JP2019531116A Active JP7168564B2 (ja) 2016-12-12 2017-11-21 歯科補綴材の製造方法ならびに歯科用工作機械

Country Status (7)

Country Link
US (1) US11583372B2 (ja)
EP (1) EP3332737B1 (ja)
JP (1) JP7168564B2 (ja)
KR (1) KR102454322B1 (ja)
CN (1) CN110267620B (ja)
ES (1) ES2932423T3 (ja)
WO (1) WO2018108465A1 (ja)

Families Citing this family (4)

* Cited by examiner, † Cited by third party
Publication number Priority date Publication date Assignee Title
EP3797731A1 (en) * 2019-09-24 2021-03-31 DENTSPLY SIRONA Inc. Dental tool having a miniaturized rfid tag
EP3797735B1 (en) * 2019-09-24 2022-10-26 DENTSPLY SIRONA Inc. Computer-implemented method of machining a dental restoration with reduced contour falsification
EP3797733A1 (en) * 2019-09-24 2021-03-31 DENTSPLY SIRONA Inc. Method of planning free-form tool paths for simultaneous two-sided machining with kinematic axis coupling
EP3804654B1 (en) * 2019-10-08 2023-07-26 DENTSPLY SIRONA Inc. Method of machining a dental block for manufacturing a dental restoration

Citations (5)

* Cited by examiner, † Cited by third party
Publication number Priority date Publication date Assignee Title
US20050246052A1 (en) 2004-04-29 2005-11-03 Surfware, Inc. Engagement milling
DE102005001600A1 (de) 2004-11-30 2006-06-01 Follow Me! Technology System Gmbh Werkstück bzw. Formelement, Verfahren zur Material abtragenden Bearbeitung von Werkstücken, Maschinensteuerungsprogramm und Bearbeitungsvorrichtung
US20120148985A1 (en) 2010-12-09 2012-06-14 Yunoh Jung Method for Machining a Dental Prosthesis
DE102012106849A1 (de) 2012-07-27 2014-05-28 Open Mind Technologies Ag Verfahren zur teilweisen oder vollständigen Bearbeitung einer beliebigen Kavität
JP2015060480A (ja) 2013-09-20 2015-03-30 ブラザー工業株式会社 数値制御装置

Family Cites Families (6)

* Cited by examiner, † Cited by third party
Publication number Priority date Publication date Assignee Title
JPH0646842U (ja) 1992-11-30 1994-06-28 三菱自動車工業株式会社 加工装置
US20050159840A1 (en) * 2004-01-16 2005-07-21 Wen-Jong Lin System for surface finishing a workpiece
US8454362B2 (en) * 2006-10-16 2013-06-04 Natural Dental Implants Ag Customized dental prosthesis for periodontal- or osseointegration, and related systems and methods
DE102008027941B4 (de) 2008-06-12 2010-09-30 Gebr. Heller Maschinenfabrik Gmbh Drehfräsen mit spezieller Anfahrstrategie
DE102010061116B4 (de) 2010-12-08 2022-01-13 Helge Arndt Verfahren zur Herstellung von dentalen Werkstücken
DE102015010322A1 (de) 2015-08-06 2016-03-17 Daimler Ag Verfahren zum Fräsen eines Werkstücks

Patent Citations (5)

* Cited by examiner, † Cited by third party
Publication number Priority date Publication date Assignee Title
US20050246052A1 (en) 2004-04-29 2005-11-03 Surfware, Inc. Engagement milling
DE102005001600A1 (de) 2004-11-30 2006-06-01 Follow Me! Technology System Gmbh Werkstück bzw. Formelement, Verfahren zur Material abtragenden Bearbeitung von Werkstücken, Maschinensteuerungsprogramm und Bearbeitungsvorrichtung
US20120148985A1 (en) 2010-12-09 2012-06-14 Yunoh Jung Method for Machining a Dental Prosthesis
DE102012106849A1 (de) 2012-07-27 2014-05-28 Open Mind Technologies Ag Verfahren zur teilweisen oder vollständigen Bearbeitung einer beliebigen Kavität
JP2015060480A (ja) 2013-09-20 2015-03-30 ブラザー工業株式会社 数値制御装置

Also Published As

Publication number Publication date
EP3332737B1 (de) 2022-10-12
ES2932423T3 (es) 2023-01-19
KR20190111901A (ko) 2019-10-02
KR102454322B1 (ko) 2022-10-12
CN110267620A (zh) 2019-09-20
JP2020513872A (ja) 2020-05-21
CN110267620B (zh) 2022-09-13
WO2018108465A1 (de) 2018-06-21
US20210205058A1 (en) 2021-07-08
EP3332737A1 (de) 2018-06-13
US11583372B2 (en) 2023-02-21

Similar Documents

Publication Publication Date Title
JP5714503B2 (ja) 歯状構造を製造する工作機械及び方法
CN103328145B (zh) 用于加工工件的方法和设计用于该方法的加工工具
JP7168564B2 (ja) 歯科補綴材の製造方法ならびに歯科用工作機械
JP5963946B2 (ja) 義歯の製造のためのミリング方法
RU2584838C2 (ru) Способ зуботочения и станок для его осуществления
KR102485833B1 (ko) 거친 및 미세-기계가공 기어들을 위한 디바이스 및 방법
US20120148985A1 (en) Method for Machining a Dental Prosthesis
JP4197831B2 (ja) 医科的嵌合体を製作する装置と方法
CN106363249B (zh) 精加工锥齿轮的方法和机器以及相应设计的磨削工具
JP6549164B2 (ja) 歯車の製造方法、および歯車
US20200171591A1 (en) Method for generating a toothed workpiece and control program, tools and tooth-cutting machine suitable therefor
CN110121393B (zh) 对内部齿形部分硬表面加工的方法和适合该方法的机床
KR20170045271A (ko) 치형부를 기계가공하기 위한 방법, 기계가공 툴 및 머신 툴
US20120177456A1 (en) Method for machining a dental prosthesis
JP2009214290A (ja) 歯車の試作及び少数生産のための装置、及びその製造方法
JP2021178205A (ja) 歯科用製品の製造方法
JP2023516721A (ja) ワーク歯列の歯面領域を機械加工するための方法、面取り工具、同方法を実行するための制御命令を有する制御プログラム、および歯切り機械
RU2397729C2 (ru) Заготовка для изготовления инструмента, применяемого в области эндодонтии, и способ изготовления такого инструмента
JP2018051753A (ja) 半仕上げ法においてフェースカップリングワークピースの歯面を機械加工する方法
JP2010220714A (ja) 歯科用補綴物の製作装置および製作方法
CN110039126A (zh) 用于对锥齿轮工件进行齿轮切削的方法
EP3804654B1 (en) Method of machining a dental block for manufacturing a dental restoration
HK40060924A (en) Manufacture of a dental prosthesis
WO2023282173A1 (ja) 歯科用エンドミル、及び加工方法
WO2021180530A1 (en) Manufacture of a dental prosthesis

Legal Events

Date Code Title Description
A621 Written request for application examination

Free format text: JAPANESE INTERMEDIATE CODE: A621

Effective date: 20190610

A711 Notification of change in applicant

Free format text: JAPANESE INTERMEDIATE CODE: A711

Effective date: 20200213

A521 Request for written amendment filed

Free format text: JAPANESE INTERMEDIATE CODE: A821

Effective date: 20200213

A131 Notification of reasons for refusal

Free format text: JAPANESE INTERMEDIATE CODE: A131

Effective date: 20200812

A601 Written request for extension of time

Free format text: JAPANESE INTERMEDIATE CODE: A601

Effective date: 20201112

A521 Request for written amendment filed

Free format text: JAPANESE INTERMEDIATE CODE: A523

Effective date: 20210112

A131 Notification of reasons for refusal

Free format text: JAPANESE INTERMEDIATE CODE: A131

Effective date: 20210702

A521 Request for written amendment filed

Free format text: JAPANESE INTERMEDIATE CODE: A523

Effective date: 20211004

A131 Notification of reasons for refusal

Free format text: JAPANESE INTERMEDIATE CODE: A131

Effective date: 20220304

A601 Written request for extension of time

Free format text: JAPANESE INTERMEDIATE CODE: A601

Effective date: 20220606

A601 Written request for extension of time

Free format text: JAPANESE INTERMEDIATE CODE: A601

Effective date: 20220729

A521 Request for written amendment filed

Free format text: JAPANESE INTERMEDIATE CODE: A523

Effective date: 20220905

TRDD Decision of grant or rejection written
A01 Written decision to grant a patent or to grant a registration (utility model)

Free format text: JAPANESE INTERMEDIATE CODE: A01

Effective date: 20220930

A61 First payment of annual fees (during grant procedure)

Free format text: JAPANESE INTERMEDIATE CODE: A61

Effective date: 20221027

R150 Certificate of patent or registration of utility model

Ref document number: 7168564

Country of ref document: JP

Free format text: JAPANESE INTERMEDIATE CODE: R150

R250 Receipt of annual fees

Free format text: JAPANESE INTERMEDIATE CODE: R250