JP7166327B2 - 吸入器並びに吸入器を使用する方法及び製造する方法 - Google Patents
吸入器並びに吸入器を使用する方法及び製造する方法 Download PDFInfo
- Publication number
- JP7166327B2 JP7166327B2 JP2020500019A JP2020500019A JP7166327B2 JP 7166327 B2 JP7166327 B2 JP 7166327B2 JP 2020500019 A JP2020500019 A JP 2020500019A JP 2020500019 A JP2020500019 A JP 2020500019A JP 7166327 B2 JP7166327 B2 JP 7166327B2
- Authority
- JP
- Japan
- Prior art keywords
- flap
- annular member
- inhaler
- compartment
- conduit
- Prior art date
- Legal status (The legal status is an assumption and is not a legal conclusion. Google has not performed a legal analysis and makes no representation as to the accuracy of the status listed.)
- Active
Links
Images
Classifications
-
- A—HUMAN NECESSITIES
- A61—MEDICAL OR VETERINARY SCIENCE; HYGIENE
- A61M—DEVICES FOR INTRODUCING MEDIA INTO, OR ONTO, THE BODY; DEVICES FOR TRANSDUCING BODY MEDIA OR FOR TAKING MEDIA FROM THE BODY; DEVICES FOR PRODUCING OR ENDING SLEEP OR STUPOR
- A61M15/00—Inhalators
- A61M15/0001—Details of inhalators; Constructional features thereof
- A61M15/0013—Details of inhalators; Constructional features thereof with inhalation check valves
- A61M15/0015—Details of inhalators; Constructional features thereof with inhalation check valves located upstream of the dispenser, i.e. not traversed by the product
-
- A—HUMAN NECESSITIES
- A61—MEDICAL OR VETERINARY SCIENCE; HYGIENE
- A61M—DEVICES FOR INTRODUCING MEDIA INTO, OR ONTO, THE BODY; DEVICES FOR TRANSDUCING BODY MEDIA OR FOR TAKING MEDIA FROM THE BODY; DEVICES FOR PRODUCING OR ENDING SLEEP OR STUPOR
- A61M15/00—Inhalators
- A61M15/0001—Details of inhalators; Constructional features thereof
- A61M15/0021—Mouthpieces therefor
-
- A—HUMAN NECESSITIES
- A61—MEDICAL OR VETERINARY SCIENCE; HYGIENE
- A61M—DEVICES FOR INTRODUCING MEDIA INTO, OR ONTO, THE BODY; DEVICES FOR TRANSDUCING BODY MEDIA OR FOR TAKING MEDIA FROM THE BODY; DEVICES FOR PRODUCING OR ENDING SLEEP OR STUPOR
- A61M15/00—Inhalators
- A61M15/0028—Inhalators using prepacked dosages, one for each application, e.g. capsules to be perforated or broken-up
- A61M15/0045—Inhalators using prepacked dosages, one for each application, e.g. capsules to be perforated or broken-up using multiple prepacked dosages on a same carrier, e.g. blisters
-
- A—HUMAN NECESSITIES
- A61—MEDICAL OR VETERINARY SCIENCE; HYGIENE
- A61M—DEVICES FOR INTRODUCING MEDIA INTO, OR ONTO, THE BODY; DEVICES FOR TRANSDUCING BODY MEDIA OR FOR TAKING MEDIA FROM THE BODY; DEVICES FOR PRODUCING OR ENDING SLEEP OR STUPOR
- A61M15/00—Inhalators
- A61M15/0028—Inhalators using prepacked dosages, one for each application, e.g. capsules to be perforated or broken-up
- A61M15/0045—Inhalators using prepacked dosages, one for each application, e.g. capsules to be perforated or broken-up using multiple prepacked dosages on a same carrier, e.g. blisters
- A61M15/0046—Inhalators using prepacked dosages, one for each application, e.g. capsules to be perforated or broken-up using multiple prepacked dosages on a same carrier, e.g. blisters characterized by the type of carrier
- A61M15/0048—Inhalators using prepacked dosages, one for each application, e.g. capsules to be perforated or broken-up using multiple prepacked dosages on a same carrier, e.g. blisters characterized by the type of carrier the dosages being arranged in a plane, e.g. on diskettes
-
- A—HUMAN NECESSITIES
- A61—MEDICAL OR VETERINARY SCIENCE; HYGIENE
- A61M—DEVICES FOR INTRODUCING MEDIA INTO, OR ONTO, THE BODY; DEVICES FOR TRANSDUCING BODY MEDIA OR FOR TAKING MEDIA FROM THE BODY; DEVICES FOR PRODUCING OR ENDING SLEEP OR STUPOR
- A61M15/00—Inhalators
- A61M15/0065—Inhalators with dosage or measuring devices
- A61M15/0068—Indicating or counting the number of dispensed doses or of remaining doses
- A61M15/007—Mechanical counters
- A61M15/0071—Mechanical counters having a display or indicator
- A61M15/0075—Mechanical counters having a display or indicator on a disc
-
- A—HUMAN NECESSITIES
- A61—MEDICAL OR VETERINARY SCIENCE; HYGIENE
- A61M—DEVICES FOR INTRODUCING MEDIA INTO, OR ONTO, THE BODY; DEVICES FOR TRANSDUCING BODY MEDIA OR FOR TAKING MEDIA FROM THE BODY; DEVICES FOR PRODUCING OR ENDING SLEEP OR STUPOR
- A61M15/00—Inhalators
- A61M15/0001—Details of inhalators; Constructional features thereof
- A61M15/0021—Mouthpieces therefor
- A61M15/0025—Mouthpieces therefor with caps
- A61M15/0026—Hinged caps
-
- A—HUMAN NECESSITIES
- A61—MEDICAL OR VETERINARY SCIENCE; HYGIENE
- A61M—DEVICES FOR INTRODUCING MEDIA INTO, OR ONTO, THE BODY; DEVICES FOR TRANSDUCING BODY MEDIA OR FOR TAKING MEDIA FROM THE BODY; DEVICES FOR PRODUCING OR ENDING SLEEP OR STUPOR
- A61M15/00—Inhalators
- A61M15/0028—Inhalators using prepacked dosages, one for each application, e.g. capsules to be perforated or broken-up
- A61M15/003—Inhalators using prepacked dosages, one for each application, e.g. capsules to be perforated or broken-up using capsules, e.g. to be perforated or broken-up
- A61M15/0043—Non-destructive separation of the package, e.g. peeling
-
- A—HUMAN NECESSITIES
- A61—MEDICAL OR VETERINARY SCIENCE; HYGIENE
- A61M—DEVICES FOR INTRODUCING MEDIA INTO, OR ONTO, THE BODY; DEVICES FOR TRANSDUCING BODY MEDIA OR FOR TAKING MEDIA FROM THE BODY; DEVICES FOR PRODUCING OR ENDING SLEEP OR STUPOR
- A61M15/00—Inhalators
- A61M15/0091—Inhalators mechanically breath-triggered
-
- A—HUMAN NECESSITIES
- A61—MEDICAL OR VETERINARY SCIENCE; HYGIENE
- A61M—DEVICES FOR INTRODUCING MEDIA INTO, OR ONTO, THE BODY; DEVICES FOR TRANSDUCING BODY MEDIA OR FOR TAKING MEDIA FROM THE BODY; DEVICES FOR PRODUCING OR ENDING SLEEP OR STUPOR
- A61M2202/00—Special media to be introduced, removed or treated
- A61M2202/06—Solids
- A61M2202/062—Desiccants
-
- A—HUMAN NECESSITIES
- A61—MEDICAL OR VETERINARY SCIENCE; HYGIENE
- A61M—DEVICES FOR INTRODUCING MEDIA INTO, OR ONTO, THE BODY; DEVICES FOR TRANSDUCING BODY MEDIA OR FOR TAKING MEDIA FROM THE BODY; DEVICES FOR PRODUCING OR ENDING SLEEP OR STUPOR
- A61M2202/00—Special media to be introduced, removed or treated
- A61M2202/06—Solids
- A61M2202/064—Powder
Landscapes
- Health & Medical Sciences (AREA)
- Engineering & Computer Science (AREA)
- Life Sciences & Earth Sciences (AREA)
- Anesthesiology (AREA)
- Pulmonology (AREA)
- Biomedical Technology (AREA)
- Heart & Thoracic Surgery (AREA)
- Hematology (AREA)
- Bioinformatics & Cheminformatics (AREA)
- Animal Behavior & Ethology (AREA)
- General Health & Medical Sciences (AREA)
- Public Health (AREA)
- Veterinary Medicine (AREA)
- Biophysics (AREA)
- Medical Preparation Storing Or Oral Administration Devices (AREA)
- Medicinal Preparation (AREA)
Description
本出願は、「METHODS AND DEVICES FOR FACILITATING DESIRABLE POWDERED DOSE RING POCKET CAVITY AIR FLOW」と題する、2017年3月15日に出願された米国仮特許出願第62/471,661号明細書と、「METHODS AND DEVICES FOR FACILITATING DESIRABLE POWDERED DOSE RING POCKET CAVITY AIR FLOW」と題する、2017年6月2日に出願された米国仮特許出願第62/514,072号明細書に対する優先権を主張し、それらの出願はともに参照により本明細書に援用される。
Claims (6)
- 乾燥粉末の吸入を容易にする吸入器であって、
内部空間を画定し且つマウスピースを含む本体と、
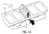
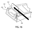
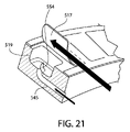
前記内部空間内の且つ前記マウスピースに対して回転可能な少なくとも1つの環状部材であって、複数のコンパートメント及び複数のフラップを含み、各フラップが、前記コンパートメントのうちの少なくとも1つに関連付けられ、各コンパートメントが、乾燥粉末を保持するように構成された空洞を画定し、且つ、各コンパートメントが、前記フラップが閉鎖位置から開放位置まで移動すると前記乾燥粉末を放出するように構成された前記コンパートメントの開口部を含み、各フラップが、前記コンパートメントのうちの1つについての少なくとも前記コンパートメントの前記開口部を覆い、且つ、各フラップが、前記関連付けられた1つ又は複数のコンパートメントを越えて延在する拡張部を含む、少なくとも1つの環状部材と、
を備え、
各フラップの前記拡張部の少なくとも一部が、少なくとも一つの導管を通って移動し、前記拡張部の下側に作用する空気流に対して露出されるように構成され、前記導管が、それぞれのコンパートメントに隣接して配置され、前記空気流が、前記フラップを前記閉鎖位置から前記開放位置まで移動させるように構成され、
前記吸入器は、前記マウスピースを通して前記本体の前記内部空間内から空気が排出されたとき、空気が前記少なくとも1つの導管を通って移動し、空気が前記フラップを持ち上げるように、構成されている、吸入器。 - 前記導管が、前記環状部材内を貫通する、請求項1に記載の吸入器。
- 各フラップの前記下側の少なくとも一部が、前記関連付けられた導管に面している、請求項1または2に記載の吸入器。
- 空気が、前記導管のうちの少なくとも1つを通って移動して、前記関連付けられたフラップの前記閉鎖位置から開放位置までの移動を容易にする、請求項1~3のいずれかに記載の吸入器。
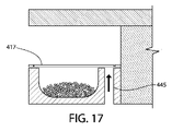
- 前記本体が乾燥剤を収容する、請求項1~4のいずれか一項に記載の吸入器。
- 前記吸入器は、前記少なくとも1つの導管を通って移動する前記空気によって前記フラップが持ち上げられることにより、前記乾燥粉末の少なくとも一部が前記マウスピースを通過することができるように、構成されている、請求項1~5のいずれかに記載の吸入器。
Applications Claiming Priority (5)
| Application Number | Priority Date | Filing Date | Title |
|---|---|---|---|
| US201762471661P | 2017-03-15 | 2017-03-15 | |
| US62/471,661 | 2017-03-15 | ||
| US201762514072P | 2017-06-02 | 2017-06-02 | |
| US62/514,072 | 2017-06-02 | ||
| PCT/US2018/022732 WO2018170315A1 (en) | 2017-03-15 | 2018-03-15 | Inhaler and methods of using and making same |
Publications (2)
| Publication Number | Publication Date |
|---|---|
| JP2020512912A JP2020512912A (ja) | 2020-04-30 |
| JP7166327B2 true JP7166327B2 (ja) | 2022-11-07 |
Family
ID=62025945
Family Applications (1)
| Application Number | Title | Priority Date | Filing Date |
|---|---|---|---|
| JP2020500019A Active JP7166327B2 (ja) | 2017-03-15 | 2018-03-15 | 吸入器並びに吸入器を使用する方法及び製造する方法 |
Country Status (11)
| Country | Link |
|---|---|
| US (1) | US11617842B2 (ja) |
| EP (1) | EP3595758B1 (ja) |
| JP (1) | JP7166327B2 (ja) |
| CN (1) | CN110913934B (ja) |
| BR (1) | BR112019019107A2 (ja) |
| CA (1) | CA3056636A1 (ja) |
| CL (1) | CL2019002616A1 (ja) |
| CO (1) | CO2019009933A2 (ja) |
| MX (1) | MX2019010892A (ja) |
| PE (1) | PE20200432A1 (ja) |
| WO (1) | WO2018170315A1 (ja) |
Citations (4)
| Publication number | Priority date | Publication date | Assignee | Title |
|---|---|---|---|---|
| US20100078022A1 (en) | 2008-09-26 | 2010-04-01 | Rachel Striebig | Inhalers with airway disks having discrete airway channels and related disks and methods |
| US20110259326A1 (en) | 2008-10-08 | 2011-10-27 | John Briant | Inhaler with indexing linked to movement of cover |
| JP2012531961A (ja) | 2009-07-01 | 2012-12-13 | アストラゼネカ・アクチエボラーグ | 粉末を気流に引き込むためのディスペンサーおよび方法 |
| US20140007875A1 (en) | 2011-03-21 | 2014-01-09 | Jan Åberg | Inhalator for substances in powder form |
Family Cites Families (28)
| Publication number | Priority date | Publication date | Assignee | Title |
|---|---|---|---|---|
| US6214255B1 (en) | 1995-04-19 | 2001-04-10 | Capitol Specialty Plastics, Inc. | Desiccant entrained polymer |
| US6130263A (en) | 1995-04-19 | 2000-10-10 | Capitol Specialty Plastics, Inc. | Desiccant entrained polymer |
| US6486231B1 (en) | 1995-04-19 | 2002-11-26 | Csp Technologies, Inc. | Co-continuous interconnecting channel morphology composition |
| US5911937A (en) | 1995-04-19 | 1999-06-15 | Capitol Specialty Plastics, Inc. | Desiccant entrained polymer |
| US6194079B1 (en) | 1995-04-19 | 2001-02-27 | Capitol Specialty Plastics, Inc. | Monolithic polymer composition having an absorbing material |
| US6080350A (en) | 1995-04-19 | 2000-06-27 | Capitol Specialty Plastics, Inc. | Dessicant entrained polymer |
| US6124006A (en) | 1995-04-19 | 2000-09-26 | Capitol Specialty Plastics, Inc. | Modified polymers having controlled transmission rates |
| US5988163A (en) * | 1995-08-02 | 1999-11-23 | Innovative Devices | Dry powder medicament inhalator having an inhalation-activated flow diverting means for triggering delivery of delivery of medicament |
| EP0938907B1 (en) * | 1996-01-03 | 2001-12-05 | Glaxo Group Limited | Inhalation device |
| US6810872B1 (en) * | 1999-12-10 | 2004-11-02 | Unisia Jecs Corporation | Inhalant medicator |
| US6722364B2 (en) * | 2001-01-12 | 2004-04-20 | Becton, Dickinson And Company | Medicament inhalation delivery devices and methods for using the same |
| GB0120018D0 (en) * | 2001-08-16 | 2001-10-10 | Meridica Ltd | Pack containing medicament and dispensing device |
| CA2460904C (en) * | 2001-09-19 | 2011-03-22 | Advent Pharmaceuticals Pty Ltd | An inhaler for delivering metered doses of powdered medicament |
| JP2005532091A (ja) * | 2002-05-10 | 2005-10-27 | オリエル・セラピューティクス,インコーポレイテッド | ドライ・パウダー吸入器、関連するブリスター装置、およびドライ・パウダー物質を施与しならびにブリスター・パッケージを製作する関連付けられた方法 |
| GB0315509D0 (en) | 2003-07-02 | 2003-08-06 | Meridica Ltd | Dispensing device |
| EP1795221A1 (en) * | 2005-12-02 | 2007-06-13 | Boehringer Ingelheim Pharma GmbH & Co. KG | Dispensing device, storage device and method for dispensing a formulation |
| WO2008112661A2 (en) * | 2007-03-09 | 2008-09-18 | Alexza Pharmaceuticals, Inc. | Heating unit for use in a drug delivery device |
| US20090084379A1 (en) | 2007-10-02 | 2009-04-02 | Baxter International Inc. | Dry powder inhaler |
| CN109568740B (zh) | 2008-06-13 | 2022-05-27 | 曼金德公司 | 干粉吸入器和用于药物输送的系统 |
| CA2732840C (en) * | 2008-09-26 | 2016-07-05 | Oriel Therapeutics, Inc. | Dry powder inhalers with dual piercing members and related devices and methods |
| BRPI0920658A2 (pt) | 2008-10-08 | 2016-01-12 | Astrazeneca Ab | dispositivo de inalação e método de dispensar medicamento |
| EP2731571B1 (en) * | 2011-07-13 | 2019-12-18 | Pharmaxis Ltd | Improvements relating to delivery devices |
| PL2712643T3 (pl) * | 2012-09-26 | 2018-08-31 | Boehringer Ingelheim International Gmbh | Inhalator |
| US9902788B2 (en) | 2013-03-14 | 2018-02-27 | Csp Technologies, Inc. | Agent for the formation of channels in an entrained polymer, entrained polymer containing such an agent, process for producing such an entrained polymer and product containing the same |
| SE1300485A1 (sv) * | 2013-04-23 | 2014-10-24 | Simplified Solutions Sweden Ab | Engångs-inhalator för ämnen i pulverform |
| SE537715C2 (sv) * | 2013-11-26 | 2015-10-06 | Simplified Solutions Sweden Ab | Inhalationsanordning för ämnen i pulverform |
| WO2017011867A1 (en) * | 2015-07-20 | 2017-01-26 | Medical Developments International Limited | Inhaler device for inhalable liquids |
| US11590298B2 (en) | 2017-06-02 | 2023-02-28 | Csp Technologies, Inc. | Inhaler and methods of using and making same |
-
2018
- 2018-03-15 MX MX2019010892A patent/MX2019010892A/es unknown
- 2018-03-15 WO PCT/US2018/022732 patent/WO2018170315A1/en not_active Ceased
- 2018-03-15 US US16/494,388 patent/US11617842B2/en active Active
- 2018-03-15 EP EP18718964.2A patent/EP3595758B1/en active Active
- 2018-03-15 CA CA3056636A patent/CA3056636A1/en active Pending
- 2018-03-15 PE PE2019001857A patent/PE20200432A1/es unknown
- 2018-03-15 JP JP2020500019A patent/JP7166327B2/ja active Active
- 2018-03-15 BR BR112019019107A patent/BR112019019107A2/pt active Search and Examination
- 2018-03-15 CN CN201880031287.0A patent/CN110913934B/zh active Active
-
2019
- 2019-09-12 CO CONC2019/0009933A patent/CO2019009933A2/es unknown
- 2019-09-13 CL CL2019002616A patent/CL2019002616A1/es unknown
Patent Citations (4)
| Publication number | Priority date | Publication date | Assignee | Title |
|---|---|---|---|---|
| US20100078022A1 (en) | 2008-09-26 | 2010-04-01 | Rachel Striebig | Inhalers with airway disks having discrete airway channels and related disks and methods |
| US20110259326A1 (en) | 2008-10-08 | 2011-10-27 | John Briant | Inhaler with indexing linked to movement of cover |
| JP2012531961A (ja) | 2009-07-01 | 2012-12-13 | アストラゼネカ・アクチエボラーグ | 粉末を気流に引き込むためのディスペンサーおよび方法 |
| US20140007875A1 (en) | 2011-03-21 | 2014-01-09 | Jan Åberg | Inhalator for substances in powder form |
Also Published As
| Publication number | Publication date |
|---|---|
| EP3595758B1 (en) | 2021-09-29 |
| CO2019009933A2 (es) | 2020-02-07 |
| EP3595758A1 (en) | 2020-01-22 |
| CL2019002616A1 (es) | 2020-06-19 |
| US20200129712A1 (en) | 2020-04-30 |
| CN110913934B (zh) | 2022-06-14 |
| US11617842B2 (en) | 2023-04-04 |
| BR112019019107A2 (pt) | 2020-04-22 |
| JP2020512912A (ja) | 2020-04-30 |
| CN110913934A (zh) | 2020-03-24 |
| MX2019010892A (es) | 2020-02-12 |
| CA3056636A1 (en) | 2018-09-20 |
| WO2018170315A1 (en) | 2018-09-20 |
| PE20200432A1 (es) | 2020-02-28 |
Similar Documents
| Publication | Publication Date | Title |
|---|---|---|
| CA2652283C (en) | Dry-powder inhaler for pulmonary or nasal delivery | |
| CN102458543B (zh) | 干粉吸入器 | |
| JP5667170B2 (ja) | ドライパウダー吸入器 | |
| DE60126609T2 (de) | Behälter für pulverförmige medikamente | |
| US20150238723A1 (en) | Inhalator | |
| JP2016539677A (ja) | 吸入器 | |
| JP7166327B2 (ja) | 吸入器並びに吸入器を使用する方法及び製造する方法 | |
| US11590298B2 (en) | Inhaler and methods of using and making same | |
| HK40020015B (en) | Inhaler | |
| HK40020015A (en) | Inhaler | |
| JP7522719B2 (ja) | 低臭気または無臭気吸入乾燥剤ポリマー | |
| KR20250044315A (ko) | 약물을 투여하기 위한 적어도 하나의 디바이스를 유지하도록 구성된 2차 패키징, 약물을 투여하기 위한 적어도 하나의 디바이스를 2차 패키징에 부착하는 방법 및 환자를 치료하는 방법 | |
| BR112020005425B1 (pt) | Conjunto de embalagem e recipiente para o mesmo, método para produzir um conjunto de embalagem e método associado para ativar um agente ativo | |
| HK1125871B (en) | A simple inhaler |
Legal Events
| Date | Code | Title | Description |
|---|---|---|---|
| A621 | Written request for application examination |
Free format text: JAPANESE INTERMEDIATE CODE: A621 Effective date: 20210312 |
|
| A131 | Notification of reasons for refusal |
Free format text: JAPANESE INTERMEDIATE CODE: A131 Effective date: 20210907 |
|
| A521 | Request for written amendment filed |
Free format text: JAPANESE INTERMEDIATE CODE: A523 Effective date: 20211207 |
|
| A131 | Notification of reasons for refusal |
Free format text: JAPANESE INTERMEDIATE CODE: A131 Effective date: 20220510 |
|
| A521 | Request for written amendment filed |
Free format text: JAPANESE INTERMEDIATE CODE: A523 Effective date: 20220809 |
|
| TRDD | Decision of grant or rejection written | ||
| A01 | Written decision to grant a patent or to grant a registration (utility model) |
Free format text: JAPANESE INTERMEDIATE CODE: A01 Effective date: 20220927 |
|
| A61 | First payment of annual fees (during grant procedure) |
Free format text: JAPANESE INTERMEDIATE CODE: A61 Effective date: 20221025 |
|
| R150 | Certificate of patent or registration of utility model |
Ref document number: 7166327 Country of ref document: JP Free format text: JAPANESE INTERMEDIATE CODE: R150 |
|
| R250 | Receipt of annual fees |
Free format text: JAPANESE INTERMEDIATE CODE: R250 |
