JP7127058B2 - 応力プロファイルが操作された被覆ガラス系物品およびその製造方法 - Google Patents

応力プロファイルが操作された被覆ガラス系物品およびその製造方法 Download PDF

Info

Publication number
JP7127058B2
JP7127058B2 JP2019559001A JP2019559001A JP7127058B2 JP 7127058 B2 JP7127058 B2 JP 7127058B2 JP 2019559001 A JP2019559001 A JP 2019559001A JP 2019559001 A JP2019559001 A JP 2019559001A JP 7127058 B2 JP7127058 B2 JP 7127058B2
Authority
JP
Japan
Prior art keywords
glass
substrate
coating
clad
young
Prior art date
Legal status (The legal status is an assumption and is not a legal conclusion. Google has not performed a legal analysis and makes no representation as to the accuracy of the status listed.)
Active
Application number
JP2019559001A
Other languages
English (en)
Other versions
JP2020514242A (ja
Inventor
トーマス ハリス,ジェイソン
スブラマニアン,ヴィジェイ
Current Assignee (The listed assignees may be inaccurate. Google has not performed a legal analysis and makes no representation or warranty as to the accuracy of the list.)
Corning Inc
Original Assignee
Corning Inc
Priority date (The priority date is an assumption and is not a legal conclusion. Google has not performed a legal analysis and makes no representation as to the accuracy of the date listed.)
Filing date
Publication date
Application filed by Corning Inc filed Critical Corning Inc
Publication of JP2020514242A publication Critical patent/JP2020514242A/ja
Application granted granted Critical
Publication of JP7127058B2 publication Critical patent/JP7127058B2/ja
Active legal-status Critical Current
Anticipated expiration legal-status Critical

Links

Images

Classifications

    • CCHEMISTRY; METALLURGY
    • C03GLASS; MINERAL OR SLAG WOOL
    • C03CCHEMICAL COMPOSITION OF GLASSES, GLAZES OR VITREOUS ENAMELS; SURFACE TREATMENT OF GLASS; SURFACE TREATMENT OF FIBRES OR FILAMENTS MADE FROM GLASS, MINERALS OR SLAGS; JOINING GLASS TO GLASS OR OTHER MATERIALS
    • C03C17/00Surface treatment of glass, not in the form of fibres or filaments, by coating
    • CCHEMISTRY; METALLURGY
    • C03GLASS; MINERAL OR SLAG WOOL
    • C03CCHEMICAL COMPOSITION OF GLASSES, GLAZES OR VITREOUS ENAMELS; SURFACE TREATMENT OF GLASS; SURFACE TREATMENT OF FIBRES OR FILAMENTS MADE FROM GLASS, MINERALS OR SLAGS; JOINING GLASS TO GLASS OR OTHER MATERIALS
    • C03C17/00Surface treatment of glass, not in the form of fibres or filaments, by coating
    • C03C17/006Surface treatment of glass, not in the form of fibres or filaments, by coating with materials of composite character
    • BPERFORMING OPERATIONS; TRANSPORTING
    • B32LAYERED PRODUCTS
    • B32BLAYERED PRODUCTS, i.e. PRODUCTS BUILT-UP OF STRATA OF FLAT OR NON-FLAT, e.g. CELLULAR OR HONEYCOMB, FORM
    • B32B17/00Layered products essentially comprising sheet glass, or glass, slag, or like fibres
    • B32B17/06Layered products essentially comprising sheet glass, or glass, slag, or like fibres comprising glass as the main or only constituent of a layer, next to another layer of a specific material
    • CCHEMISTRY; METALLURGY
    • C03GLASS; MINERAL OR SLAG WOOL
    • C03CCHEMICAL COMPOSITION OF GLASSES, GLAZES OR VITREOUS ENAMELS; SURFACE TREATMENT OF GLASS; SURFACE TREATMENT OF FIBRES OR FILAMENTS MADE FROM GLASS, MINERALS OR SLAGS; JOINING GLASS TO GLASS OR OTHER MATERIALS
    • C03C21/00Treatment of glass, not in the form of fibres or filaments, by diffusing ions or metals in the surface
    • C03C21/001Treatment of glass, not in the form of fibres or filaments, by diffusing ions or metals in the surface in liquid phase, e.g. molten salts, solutions
    • C03C21/002Treatment of glass, not in the form of fibres or filaments, by diffusing ions or metals in the surface in liquid phase, e.g. molten salts, solutions to perform ion-exchange between alkali ions
    • BPERFORMING OPERATIONS; TRANSPORTING
    • B32LAYERED PRODUCTS
    • B32BLAYERED PRODUCTS, i.e. PRODUCTS BUILT-UP OF STRATA OF FLAT OR NON-FLAT, e.g. CELLULAR OR HONEYCOMB, FORM
    • B32B2255/00Coating on the layer surface
    • B32B2255/20Inorganic coating
    • BPERFORMING OPERATIONS; TRANSPORTING
    • B32LAYERED PRODUCTS
    • B32BLAYERED PRODUCTS, i.e. PRODUCTS BUILT-UP OF STRATA OF FLAT OR NON-FLAT, e.g. CELLULAR OR HONEYCOMB, FORM
    • B32B2307/00Properties of the layers or laminate
    • B32B2307/50Properties of the layers or laminate having particular mechanical properties
    • BPERFORMING OPERATIONS; TRANSPORTING
    • B32LAYERED PRODUCTS
    • B32BLAYERED PRODUCTS, i.e. PRODUCTS BUILT-UP OF STRATA OF FLAT OR NON-FLAT, e.g. CELLULAR OR HONEYCOMB, FORM
    • B32B2307/00Properties of the layers or laminate
    • B32B2307/50Properties of the layers or laminate having particular mechanical properties
    • B32B2307/51Elastic
    • BPERFORMING OPERATIONS; TRANSPORTING
    • B32LAYERED PRODUCTS
    • B32BLAYERED PRODUCTS, i.e. PRODUCTS BUILT-UP OF STRATA OF FLAT OR NON-FLAT, e.g. CELLULAR OR HONEYCOMB, FORM
    • B32B2307/00Properties of the layers or laminate
    • B32B2307/50Properties of the layers or laminate having particular mechanical properties
    • B32B2307/536Hardness
    • BPERFORMING OPERATIONS; TRANSPORTING
    • B32LAYERED PRODUCTS
    • B32BLAYERED PRODUCTS, i.e. PRODUCTS BUILT-UP OF STRATA OF FLAT OR NON-FLAT, e.g. CELLULAR OR HONEYCOMB, FORM
    • B32B2307/00Properties of the layers or laminate
    • B32B2307/50Properties of the layers or laminate having particular mechanical properties
    • B32B2307/546Flexural strength; Flexion stiffness
    • BPERFORMING OPERATIONS; TRANSPORTING
    • B32LAYERED PRODUCTS
    • B32BLAYERED PRODUCTS, i.e. PRODUCTS BUILT-UP OF STRATA OF FLAT OR NON-FLAT, e.g. CELLULAR OR HONEYCOMB, FORM
    • B32B2307/00Properties of the layers or laminate
    • B32B2307/50Properties of the layers or laminate having particular mechanical properties
    • B32B2307/558Impact strength, toughness
    • BPERFORMING OPERATIONS; TRANSPORTING
    • B32LAYERED PRODUCTS
    • B32BLAYERED PRODUCTS, i.e. PRODUCTS BUILT-UP OF STRATA OF FLAT OR NON-FLAT, e.g. CELLULAR OR HONEYCOMB, FORM
    • B32B2307/00Properties of the layers or laminate
    • B32B2307/50Properties of the layers or laminate having particular mechanical properties
    • B32B2307/584Scratch resistance
    • BPERFORMING OPERATIONS; TRANSPORTING
    • B32LAYERED PRODUCTS
    • B32BLAYERED PRODUCTS, i.e. PRODUCTS BUILT-UP OF STRATA OF FLAT OR NON-FLAT, e.g. CELLULAR OR HONEYCOMB, FORM
    • B32B2419/00Buildings or parts thereof
    • BPERFORMING OPERATIONS; TRANSPORTING
    • B32LAYERED PRODUCTS
    • B32BLAYERED PRODUCTS, i.e. PRODUCTS BUILT-UP OF STRATA OF FLAT OR NON-FLAT, e.g. CELLULAR OR HONEYCOMB, FORM
    • B32B2457/00Electrical equipment
    • B32B2457/20Displays, e.g. liquid crystal displays, plasma displays
    • BPERFORMING OPERATIONS; TRANSPORTING
    • B32LAYERED PRODUCTS
    • B32BLAYERED PRODUCTS, i.e. PRODUCTS BUILT-UP OF STRATA OF FLAT OR NON-FLAT, e.g. CELLULAR OR HONEYCOMB, FORM
    • B32B2605/00Vehicles
    • CCHEMISTRY; METALLURGY
    • C03GLASS; MINERAL OR SLAG WOOL
    • C03CCHEMICAL COMPOSITION OF GLASSES, GLAZES OR VITREOUS ENAMELS; SURFACE TREATMENT OF GLASS; SURFACE TREATMENT OF FIBRES OR FILAMENTS MADE FROM GLASS, MINERALS OR SLAGS; JOINING GLASS TO GLASS OR OTHER MATERIALS
    • C03C2217/00Coatings on glass
    • C03C2217/70Properties of coatings
    • C03C2217/78Coatings specially designed to be durable, e.g. scratch-resistant

Landscapes

  • Chemical & Material Sciences (AREA)
  • Geochemistry & Mineralogy (AREA)
  • Life Sciences & Earth Sciences (AREA)
  • Engineering & Computer Science (AREA)
  • Chemical Kinetics & Catalysis (AREA)
  • General Chemical & Material Sciences (AREA)
  • Materials Engineering (AREA)
  • Organic Chemistry (AREA)
  • Composite Materials (AREA)
  • Surface Treatment Of Glass (AREA)
  • Glass Compositions (AREA)
  • Laminated Bodies (AREA)
  • Joining Of Glass To Other Materials (AREA)

Description

関連出願の説明
本出願は、その内容が依拠され、ここに全て引用される、2017年1月18日に出願された米国特許出願第62/447562号の米国法典第35編第119条の下での優先権の恩恵を主張するものである。
本開示の実施の形態は、概して、応力プロファイルが操作された被覆ガラス系物品およびその製造方法に関する。
強化ガラス系物品が、携帯電話、スマートフォン、タブレット、ビデオプレーヤー、情報端末(IT)機器、ラップトップ型コンピュータ、ナビゲーションシステムなどの手持ち式または携帯型電子通信機器およびエンターテイメント機器用のカバープレートまたは窓として電子機器に、並びに建築(例えば、窓、シャワーパネル、カウンターなど)、輸送(例えば、自動車、列車、航空機、海上船舶など)、電化製品、または破壊抵抗が優れているが、薄く軽量の物品を必要とする任意の用途などの他の用途に広く使用されている。
化学強化ガラス物品などの強化ガラス系物品において、圧縮応力は、ガラス表面で最高すなわちピークであり、その表面から離れるにつれて、ピーク値から減少し、ガラス物品中の応力が引張になる前に、ガラス物品のある内部位置で応力がゼロになる。ガラスの応力プロファイルを変更して初期傷数に対する感度を減少させるために、イオン交換過程への変更を使用して、ガラス系物品における初期傷数に対する感度に対処することができる。この目的に、イオン交換過程への変更を使用することができるが、強化ガラス系物品が益々使用されるにつれて、強化ガラス系材料の平均強度に著しく影響を与えずに、信頼性が改善された強化ガラス系材料を提供する他の方法を開発することが望ましいであろう。ガラス系物品に耐引掻性を提供するために、ガラス系物品の表面上に硬質の脆いコーティングが利用されているが、急な応力プロファイルを有するガラス系物品にとって、硬質コーティングは、硬質の脆いコーティングを有するガラス系物品の曲げ強度性能を低下させる傾向を有し得る。
本開示の態様は、コア基板、第1クラッド基板および第2クラッド基板を備えた積層基板に、ヤング率値を有するコーティングが施された、被覆ガラス系物品に関する。第1クラッド基板は、コーティングのヤング率値より小さいクラッド基板のヤング率値を有する。本開示の他の態様は、ここに記載された被覆ガラス系物品を製造する方法に関する。
添付図面は、本明細書に包含され、その一部を構成するものであり、下記に記載されたいくつかの実施の形態を示す。
複数の亀裂を有する表面を持つガラス系基板の実施の形態を示す概略図 被覆された積層ガラス系物品の実施の形態を示す概略図 被覆された積層ガラス系物品の別の実施の形態を示す概略図 未被覆の積層ガラス系物品のモデル化応力プロファイル 未被覆の積層ガラス系物品のモデル化応力プロファイル 図5Aの応力プロファイルに関する傷長さに対するモデル化強度のプロット 未被覆の積層ガラス系物品のモデル化応力プロファイル 図6Aの応力プロファイルに関する傷長さに対するモデル化強度のプロット 未被覆の積層ガラス系物品のモデル化応力プロファイル 図7Aの応力プロファイルに関する傷長さに対するモデル化強度のプロット 未被覆の積層ガラス系物品のモデル化応力プロファイル 図8Aの応力プロファイルに関する傷長さに対するモデル化強度のプロット 未被覆の積層ガラス系物品のモデル化応力プロファイル 図9Aの応力プロファイルに関する傷長さに対するモデル化強度のプロット 未被覆の積層ガラス系物品のモデル化応力プロファイル 図10Aの応力プロファイルに関する傷長さに対するモデル化強度のプロット 未被覆の積層ガラス系物品のモデル化応力プロファイル 未被覆の積層ガラス系物品のモデル化応力プロファイル 図12の積層ガラス系物品のプロファイルの深さに対するモデル化強度のプロファイル 未被覆の積層ガラス系物品のモデル化応力プロファイル 図14の積層ガラス系物品のプロファイルの深さに対するモデル化強度のプロファイル 被覆された積層ガラス系物品のモデル化応力プロファイル 図16Aの応力プロファイルに関する傷長さに対するモデル化強度のプロット 被覆された積層ガラス系物品のモデル化応力プロファイル 図17Aの応力プロファイルに関する傷長さに対するモデル化強度のプロット 基板の強度を測定するためのリング・オン・リング試験構成の概略図 ここに開示された被覆ガラス系物品のいずれかを組み込んだ例示の電子機器の平面図 図19Aの例示の電子機器の斜視図
いくつかの例示の実施の形態を説明する前に、本開示は、以下の開示に述べられた構成または工程段階の詳細に限定されないことを理解すべきである。ここに与えられた開示は、他の実施の形態も可能であり、様々な様式で実施または実行することができる。
本明細書に亘る、「1つの実施の形態」、「特定の実施の形態」、「様々な実施の形態」、「1つ以上の実施の形態」、または「ある実施の形態」への言及は、その実施の形態に関して記載された特定の特性、構造、材料、または特徴が、本開示の少なくとも1つの実施の形態に含まれることを意味する。それゆえ、本明細書全体に亘る様々な場所における「1つ以上の実施の形態」、「特定の実施の形態」、「様々な実施の形態」、「1つの実施の形態」、または「ある実施の形態」などの句の出現は、必ずしも、同じ実施の形態を称するものではない。さらに、その特定の特性、構造、材料、または特徴は、1つ以上の実施の形態においてどの適切な様式で組み合わされてもよい。
本開示の1つ以上の実施の形態は、応力プロファイルが操作されたガラス系基板を含む被覆ガラス系物品を提供する。1つ以上の実施の形態におけるガラス系物品は、積層ガラス系物品である。1つ以上の実施の形態において、深い損傷による破損に対する耐性を提供する、設計された応力プロファイルを有する被覆ガラス系物品が提供される。1つ以上の実施の形態において、その被覆ガラス系物品は曲げられない。1つ以上の実施の形態において、そのコーティングは、積層された強化ガラス系基板のクラッドと同じかそれより高いヤング率を有する材料から作られる。1つ以上の実施の形態によれば、そのコーティングは、残留応力または圧縮残留応力を持たない。1つ以上の実施の形態において、そのコーティングは、引張応力を有する。コーティングが残留応力を持たない場合について、積層ガラス系物品中の特定の距離だけイオン交換プロファイルを移動させることによって得られる応力プロファイルと類似の応力プロファイルが提供され、そのガラス系物品のクラッド基板には圧縮がない。モデル化および予備実験データによるこの構成は、ほぼ同じ平均強度を有する、元の積層された強化ガラス系基板と比べて、初期ガラス傷にそれほど敏感ではない。コーティングは多層コーティングを含み得る。そのガラス系基板は、平らであっても、または三次元積層基板を提供するように、1つ以上の方向(例えば、x、yおよび/またはz面)において湾曲していても差し支えない。1つ以上の実施の形態において、積層ガラス系基板は、少なくとも1つの方向(例えば、x、yおよび/またはz面)において湾曲している。1つ以上の実施の形態において、積層ガラス系基板は、例えば、面取りエッジを有することによって、2.5次元性を有することができる。その積層ガラス系基板の応力プロファイルは、対称(ガラス基板の両面で同じ)または非対称(基板の一方の側の応力プロファイルが、基板の反対側の応力プロファイルと異なる)であって差し支えない。
1つ以上の実施の形態によれば、被覆ガラス系物品が提供される。1つ以上の実施の形態において、積層ガラス系基板は、鋭い接触により誘発した破壊および表面引っ掻き傷などの損傷からガラス系物品を保護するためのコーティングを備える。1つ以上の実施の形態において、容量式タッチセンサ、または他の光学的品質などの他の機能のために、1つ以上のコーティングが施されることがある。それゆえ、本開示の実施の形態は、ガラス系物品上に多層コーティングを有するガラス系物品に関する。ある実施の形態において、約2マイクロメートルの厚さを有する多層耐引掻性コーティング(例えば、8層の耐引掻性コーティング)が提供され、これは、唯一のコーティングまたは複合反射防止コーティング、コーティングの屈折率を下層のガラス系基板に一致させるためのコーティング、および他の機能性コーティングであり得る。高剛性コーティング、すなわち、脆い傾向にあるクラッドのヤング率と比べて比較的高いヤング率を有するコーティングのために、高剛性の脆いコーティングに関連する強度低下を緩和する応力プロファイルを有するガラス系物品の必要性が生じる。1つ以上の実施の形態において、深い損傷による破損に対する耐性を提供する、設計された応力プロファイルを有する積層ガラス系物品が提供される。高剛性の脆いコーティングを有するガラス系物品の曲げ強度(リング・オン・リングなどの試験を使用して測定される)は、最大表面応力の関数であり、プロファイルの形状に依存する、コーティング/ガラス界面と10から30マイクロメートルの深さとの間のプロファイルの形状が興味深い。1つ以上の実施の形態によれば、積層ガラス系物品は、被覆ガラス系物品の改善された曲げ強度、および/または複合製品の深い損傷導入抵抗を示す応力プロファイルを有する。
深い傷に対して最適化された応力プロファイルを有する被覆ガラス系物品が提供される。いくつかの実施の形態において、その最適化された応力プロファイルは、深い傷、例えば、100マイクロメートル超の傷に関する残留強度を改善しつつ、表面での高い圧縮応力のために十分な曲げ強度も有することによって、そのガラス系物品の落下性能を改善する。1つ以上の実施の形態において、最適化された落下性能は、損傷導入による傷が終わると予測される領域に高い圧縮応力を作り出す、特別に設計された応力プロファイルによる。1つ以上の実施の形態において、被覆された積層ガラス系物品は、表面またはその近くにより急な正接(すなわち、表面での応力プロファイルにおけるスパイク)がある圧縮応力プロファイルを示す。1つ以上の実施の形態の応力プロファイルは、所定の範囲内の正接を有する2つの別個の領域の存在を特徴とする-1つは比較的急な正接を持ち、1つは浅い正接を持つ。
ある実施の形態において、提案された前記応力プロファイルは、改良イオン交換過程、例えば、2つ以上のイオン交換過程または2つ以上の異なる強化機構、例えば、CTE不一致による積層強化、イオン交換(化学強化)または熱強化の組合せによって、達成することができる。ガラス系物品の実施の形態は、一般に、2mm未満の厚さであり、脆いコーティングの厚さは、一般に、10マイクロメートル未満かつ10ナノメートルより厚い。1つ以上の実施の形態によれば、被覆ガラス系物品の応力プロファイルは、曲げ強度、深い損傷抵抗、またはその両方を改善するように、調節することができる。特定の実施の形態において、滑らかな表面の落下損傷は曲げ強度により制御されるので、コーティングの傷伝播に対する耐性を改善すると、滑らかな表面の落下性能も改善される。最適化された応力プロファイルおよび脆い機能性コーティングを有する被覆ガラス系物品は、標準的なイオン交換済みのガラス系物品または同じコーティングを有するガラス系物品の深い層の深さと比べて、良好な性能を示すと予測される。
1つ以上の実施の形態において、最適化された応力プロファイルは、標準的な一回のイオン交換強化または積層により得られるプロファイルと比べて、落下により誘発される損傷に対するその機械的信頼性を改善するために、積層ガラス系物品の深い傷(例えば、70μm超、80μm超、90μm超、100μm超、110μm超、120μm超、130μm超、140μm超、150μm超、160μm超、170μm超、180μm超、190μm超、200μm超、210μm超、220μm超、230μm超、240μm超、および250μm超)に対する強度保護を著しく増加させることができる。1つ以上の実施の形態において、最適化された応力プロファイルは、より短い傷(例えば、10μm未満)に対して匹敵する曲げ強度挙動も有し得る。1つ以上の実施の形態において、深い傷(例えば、70μm超、80μm超、90μm超、100μm超、110μm超、120μm超、130μm超、140μm超、150μm超、160μm超、170μm超、180μm超、190μm超、200μm超、210μm超、220μm超、230μm超、240μm超、および250μm超)に対する良好な応力腐食耐性を提供するために、最適化された応力プロファイルを作り出すことができる。
1つ以上の実施の形態によれば、最適化された応力プロファイルは、積層過程と、その後の被覆過程により達成することができる。プロファイルは、イオン交換プロファイルを有するコア基板の両面にガラス系基板を積層させて、積層板積層体を提供し、次に、その積層板積層体をイオン交換して、積層ガラス系基板を提供することによって、作り出すことができる。その積層ガラス系基板は、従来の積層ガラスとは反対に、クラッドガラス上に張力を、コアガラス上に圧縮を有する。コアとクラッドの相対的なイオン拡散性が、ガラス系物品における応力プロファイルを制御するための別の方法を提供することができる。その積層ガラス系物品にコーティングが施される。
落下事象に関連する損傷は、ガラス系基板の表面近くの剥離および緻密化を生じ得、これは、誤差関数プロファイルについて、最高の残留圧縮応力と一致する。1つ以上の実施の形態によれば、応力が、埋もれており、粗面上の落下事象中に生じる表面損傷の影響を受けない、ピークが埋もれたプロファイルを得ることができる。
1つ以上の実施の形態において、コアおよびクラッドのガラス系基板の組成は、同じでも、異なっても差し支えなく、これにより、新たな設計特性および用途の統合が可能になる。1つ以上の実施の形態によれば、例えば、熱膨張係数(CTE)差を使用して、クラッド層に圧縮応力を生じさせ、粗面落下性能を改善することにより、ガラス系基板の深い損傷破壊抵抗をさらに増加させるために、コアとクラッドのガラス基板に異なる組成を利用することができる。1つ以上の実施の形態において、クラッドガラス系基板の厚さは、応力プロファイルの埋もれたピークの深さを正確に位置付けるために変えることができる。ここに用いられているように、応力プロファイルに関する「埋もれたピーク」は、ガラスの表面からの深さに対する応力のプロットの局所極大値を称し、その局所極大値またはピークは、埋もれたピークとガラス系物品の外面との間の地点よりも高い、圧縮応力の大きさを有する。
1つ以上の実施の形態において、イオン拡散性などの、コアとクラッドの基板特性は、ガラス系物品の埋もれたピークおよび表面圧縮残留応力の分布を正確に制御するように選択することができる。例えば、イオン拡散性の低いコアおよびイオン拡散性の高いクラッドにより、標準的なイオン交換誤差関数プロファイルと類似の埋もれたピークが生じるが、1つ以上の実施の形態によれば、ここに記載されたガラス物品は、既存のプロファイルと比べて、応力プロファイルを設計する上での融通性および応力プロファイルの調節可能性が大きいという点で異なる。イオン拡散性の異なるガラス基板を使用すると、応力の大きさおよびCS深さなどの、埋もれたピークの特徴を制御することができる。1つ以上の実施の形態において、イオン交換された基板の積層体に、センサ層を組み込むことができる。
1つ以上の実施の形態において、小さい傷と大きい傷(10μm未満および75μm超)に対する曲げ強度を犠牲にせずに、カバーガラスの落下性能を改善するために、深い傷に対して最適化された応力プロファイルを有するガラス系物品が提供される。また、カバーガラスの落下性能を改善するために、深い傷に対して最適化された応力プロファイルを得る方法も提供される。
1つ以上の実施の形態において、落下、引っ掻き傷、および曲げ性能について最適化された応力プロファイルを有する被覆ガラス系物品、そのようなプロファイルを生じる方法が提供される。ある実施の形態において、最適化されたプロファイルは、イオン交換と、共有結合によるコア基板への薄いガラス系クラッド基板の結合との組合せにより作り出すことができる。1つ以上の実施の形態において、そのような最適化されたプロファイルを作り出す方法は、所定の組成を有するガラス基板を選択して、積層ガラス系物品のコア基板を提供する工程を含み得る。その所定の組成は、プロファイルの大きさと形状を変えるいくつかの後続過程に鑑みて、1つ以上の実施の形態にしたがって選択され、その後続過程は後により詳しく述べられている。1つ以上の実施の形態において、そのコア基板は化学強化されており、結果として得られる応力プロファイルは、表面での応力の大きさおよび応力層の深さに関して、予め決定されている。1つ以上の実施の形態において、約50から150μm厚の範囲にあり、所定の厚さおよび組成を有する2つのクラッド基板がコア基板に結合されている。1つ以上の実施の形態において、そのクラッド基板は、共有結合によりコア基板に結合させることができる。
1つ以上の実施の形態において、共有結合を形成するための高温により、イオン交換済みのコア基板内に追加のイオン拡散が生じ、これにより、応力の大きさが低下するが、応力の深さは増加する。そのコア基板内のナトリウムイオンとカリウムイオンがクラッドガラス中に拡散するであろうが、ここに使用されるモデル化は、コアとクラッドの間の界面が非透過性であると仮定することも可能である。結合後、積層物品全体は、再びイオン交換されて、薄いクラッド基板内に圧縮応力が作り出される。その応力プロファイルは、積層ガラス物品に曲げ強度を与える。第2のイオン交換によりコアのイオン交換の大きさが低下し、拡散による深さがさらに増加し、貯蔵される全エネルギーは維持される。
図4は、1つ以上の実施の形態による被覆前の積層ガラス系物品を形成する過程の複数の段階での様々な応力プロファイルを示す。実線は、化学強化されたコア基板の例示の応力プロファイルを示す。各々が同じ厚さおよび組成を有するガラスクラッド基板の2層が、化学強化されたコアガラス基板の表面に結合されている。クラッドガラス基板の組成は、コアガラスのものと異なって差し支えなく、クラッドガラス基板の厚さは、一般に、コアガラス基板よりも薄い。次に、積層ガラス物品全体が化学強化され、長い破線により示されるものなどの例示の応力プロファイルが得られる。基板を結合するための熱処理により、実線により示されるコアガラス基板の応力プロファイルが、非透過性境界層拡散のために、小さい破線により示される応力プロファイルに変わる。最終的な応力プロファイルは、小さい破線の、外層に施されたイオン交換プロファイルとの重畳である。その応力プロファイルは、全ての点が表面に近い比較的急な正接311を含む第1の部分310、および全ての点が、急な正接311と比べて比較的浅い正接321を含む第2の部分320を含む。1つ以上の実施の形態において、急な正接311を含む第1の部分および比較的浅い正接321を含む第2の部分は、比較的浅い正接に対する急な正接の比が、1超、2超、4超、8超、10超、15超、20超、25超、30超、または35超かつ40未満であるようなものである。1つ以上の実施の形態において、第1の部分の比較的急な正接311は、3MP/マイクロメートルから40MPa/マイクロメートルの範囲の絶対値を有し、第2の部分の比較的浅い正接321は、0.5MPa/マイクロメートルから2MPa/マイクロメートルの範囲の絶対値を有する。いくつかの実施の形態において、その正接は、「局所勾配」と交換可能に記載され使用されることがあり、この局所勾配は、深さの関数としての応力の大きさの変化として定義される。図4に示された応力プロファイルを有する積層板に剛性または脆いコーティングを施すと、下記にさらに理解されるであろうように、積層ガラス系物品に向上した曲げ強度が与えられる。
1つ以上の実施の形態において、その被覆ガラス系物品は、単一の誤差関数に従わない応力プロファイルを有する。図4に示された例は、全厚で1.0mmに基づいており、クラッド基板の各々が100μm厚であり、コア基板は800μm厚である。
1つ以上の実施の形態において、コア基板をクラッド基板に結合して、積層板積層体を形成する過程は、コア基板およびクラッド基板の表面を高pH溶液で洗浄する工程を含み得る。例えば、PCA洗浄またはSC1プロセスとして知られているものを使用してよい。1つ以上の実施の形態において、RCA洗浄過程は、有機汚染の除去(有機洗浄+パーティクル洗浄)、薄い酸化物層の除去(酸化物剥離、随意的)、およびイオン汚染の除去(イオン洗浄)を含む。基板は、脱イオン水などの水中に浸漬され、各工程の間に水で濯ぐことができる。1つ以上の実施の形態において、洗浄は、SC1(標準洗浄プロセスと呼ばれる)プロセスのみを含んで差し支えなく、これは、脱イオン水と含水水酸化アンモニウム(例えば、29質量%のNH)と過酸化水素(例えば、30%)の溶液で基板を洗浄する工程を含む。例示のSC1溶液は、5部(体積)の水、1部の水酸化アンモニウムおよび1部の含水過酸化物を含み得る。この洗浄は、室温(例えば、約25℃)で、または50℃から80℃の範囲の高温で行われ得る。基板は、1分から30分に亘りその溶液中に配置され得る。この溶液洗浄により、有機残留物およびパーティクルが除去される。
1つ以上の実施の形態によれば、SC1プロセスに加え、随意的な酸化物剥離が行われることがある。この酸化物剥離は、1つ以上の実施の形態によれば、薄い酸化物層およびイオン汚染のいくらかを除去するために、約15秒から約5分の期間に亘り25℃から80℃の範囲の温度で、HFフッ化水素酸の1:100または1:50の水溶液中の浸漬を含む。1つ以上の実施の形態において、第3の工程はイオン洗浄を含む。例示の実施の形態において、水(例えば、脱イオン水)、含水HCl(塩化水素酸、例えば、37質量%)、および含水過酸化水素(例えば、30質量%)の溶液が提供される。溶液の例に、6部(体積)の脱イオン水、1部のHCl、および1部の過酸化水素がある。基板は、室温(例えば、約25℃)で、または50℃から80℃の範囲の高温で溶液中に入れられる。その基板は、1分から30分に亘り溶液中に配置され得る。このイオン洗浄処理は、いくらかがSC1洗浄工程中に導入された、残留する微量の金属(イオン)汚染を効果的に除去する。随意的な工程において、基板を水(脱イオン水など)中で濯ぎ、次に、積層体内に置き、圧力を印加し続けながら、約1時間に亘り約400℃を超える温度に加熱することができる。結果として得られた積層ガラス系物品は、互いに結合されたクラッド基板およびコア基板を含む。積層後、積層ガラス系物品はイオン交換されて、クラッド基板の薄層内に圧縮応力を生じる。1つ以上の実施の形態によれば、得られる応力プロファイルは、積層ガラス系物品に曲げ強度を与える。いくつかの実施の形態による積層ガラス系物品のイオン交換は、イオン交換拡散により、コアのイオン交換の大きさを減少させ、その深さをさらに増加させ、貯蔵される全エネルギーは維持される。
ここに用いられているように、「ガラス系物品」および「ガラス系基板」という用語は、ガラスから全体がまたは部分的に製造された任意の物体を含むように最も広い意味で使用される。ガラス系物品は、ガラス材料と非ガラス材料の積層板、ガラス材料と結晶質材料の積層板、およびガラスセラミック(非晶相および結晶相を含む)を含む。特に明記のない限り、全ての組成は、モルパーセント(モル%)で表される。1つ以上の実施の形態によるガラス基板は、ソーダ石灰ガラス、アルカリアルミノケイ酸塩ガラス、アルカリ含有ホウケイ酸ガラス、およびアルカリアルミノホウケイ酸塩ガラスから選択することができる。1つ以上の実施の形態において、その基板はガラスであり、そのガラスは、強化ガラス、例えば、熱強化ガラス、テンパードガラス、または化学強化ガラスであり得る。1つ以上の実施の形態において、強化済みガラス系基板は圧縮応力(CS)層を有し、CSは、化学強化ガラス内で、化学強化ガラスの表面から、少なくとも10マイクロメートルから数十マイクロメートルの深さの圧縮層の圧縮応力深さ(DOC)まで延在する。1つ以上の実施の形態において、そのガラス系基板は、Corning Gorilla(登録商標)ガラスなどの化学強化されたガラス系基板である。ここに記載された様々なガラス系物品は、建築用ガラス基板、車両用板ガラス、車内用ガラス基板、電化製品用ガラス基板、携帯型機器用ガラス基板、およびウェアラブルデバイス用ガラス基板から選択することができる。
「実質的に」および「約」という用語は、任意の量的比較、値、測定、または他の表現に帰することのある固有の不確実さの程度を表すためにここに使用されることがあることに留意のこと。これらの用語は、量的表現が、問題の主題の基本機能に変化をもたらさずに、述べられた基準から変動することのある程度を表すためにもここに使用される。それゆえ、例えば、「MgOを実質的に含まない」ガラス系物品は、MgOがそのガラス系物品に能動的に加えられもバッチ配合もされないが、汚染物質として非常に少量存在することがあるものである。
ここに用いられているように、DOCは、ガラス系物品内の応力が圧縮応力から引張応力に変わる深さを称する。DOCでは、応力は、正の(圧縮)応力から負の(引張)応力に交差し、それゆえ、ゼロの応力値を示す。
ここに用いられているように、「化学深さ」、「層の化学深さ」、「層の深さ」および「化学層の深さ」という用語は、互いに交換可能に使用されることがあり、金属酸化物またはアルカリ金属酸化物のイオン(例えば、金属イオンまたはアルカリ金属イオン)がガラス系物品中に拡散する深さおよびイオンの濃度が最小値に到達する深さを称する。
当該技術分野に通常使用されている慣例によれば、圧縮は負の(<0)応力と表され、張力は正(>0)の応力と表される。しかしながら、この説明を通じて、CSは正または絶対値として表される-すなわち、ここに挙げられるように、CS=|CS|である。
図1は、表面下損傷がどのように破損を生じ得るかを示す、複数の亀裂を有する例示の強化済みガラス系基板10を示している。ガラス系基板10の外面55から圧縮応力層の深さ(DOC)まで延在する圧縮応力領域60は、圧縮応力(CS)下にある。ガラスの中央張力領域80まで延在しない、例示の強化済みガラス系基板10の圧縮応力領域60内の亀裂50が、引張応力または中央張力(CT)下にある領域である、ガラスの中央張力領域80中に貫通する亀裂90と共に、示されている。ガラスの表面近くの領域にCSが含まれると、亀裂の伝播およびそのガラス系基板の破損を防ぐことができるが、損傷がDOCを越えて延在し、CTが十分に大きい大きさのものである場合、傷が、材料の臨界応力拡大レベル(破壊靭性)に到達するまで、時間の経過と共に伝播し、最終的にガラスを破損させる。
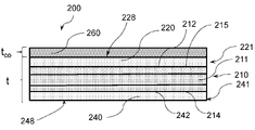
ここで、図2を参照すると、本開示の第1の実施の形態は、ガラス系物品200であって、約0.1ミリメートルから3ミリメートルの範囲の基板厚(t)を規定する、第1の表面228およびその第1の表面228と反対の第2の表面248を有するガラス系基板210を備え、そのガラス系基板は、ガラス系基板の第1の表面228で第1の圧縮応力CS極大値を、第1の表面228から少なくとも25μmの深さで第2の局所CS極大値を有する、層の深さ215まで延在する圧縮領域220を有する、ガラス系物品200に関する。1つ以上の実施の形態において、ガラス系物品200は、ガラス系基板210の第2の表面248で第3の圧縮応力CS極大値を、第2の表面248から少なくとも25μm、50μm、75μmまたは100μmの深さで第4の局所CS極大値を有する、層の深さ242まで延在する第2の圧縮領域240を有する。1つ以上の実施の形態において、そのガラス系基板は基板のヤング率値を有する。1つ以上の実施の形態において、コーティング260が第1の表面228上にあり、コーティング260は、基板のヤング率値より大きいコーティングのヤング率値を有する。コーティング260は、コーティング厚tcoを有する。
第2の実施の形態において、ガラス系基板210は、第一面212と第二面214を有するガラス系コア基板211を含み、このガラス系コア基板211はガラス系の第1のクラッド基板221およびガラス系の第2のクラッド基板241の間に挟まれており、共有結合によって、第1のクラッド基板221は第一面212に結合され、第2のクラッド基板241は第二面214に結合されている。コア基板および第1のクラッド基板221と第2のクラッド基板241を備える、図2に示されたガラス系物品は、積層板積層体と称されることもある。1つ以上の実施の形態によれば、共有結合は、共有対または結合対としても知られている、電子対の共有を含む化学結合である分子結合である結合を称する。1つ以上の実施の形態によれば、共有結合は、σ結合、π結合、金属間結合、アゴスチック相互作用、曲がった結合、および三中心二電子結合を含むことがある。1つ以上の実施の形態において、共有結合は、Si-O-Si結合を含む。
第3の実施の形態において、第2の実施の形態のガラス系物品は、コア基板が第1のガラス組成物から作られ、第1のクラッド基板221および第2のクラッド基板241の各々が第2のガラス組成物から作られ、第1のガラス組成物が第2のガラス組成物とは異なるようなものである。第4の実施の形態において、第3の実施の形態のガラス系物品は、第1のガラス組成物が第1のイオン拡散性を有し、第2のガラス組成物の各々が第2のイオン拡散性を有し、第1のイオン拡散性と第2のイオン拡散性が異なるようなものである。第5の実施の形態において、第3と第4の実施の形態のガラス系物品は、第1のガラス組成物が第1の熱膨張係数(CTE)を有し、第2のガラス組成物の各々が第2の熱膨張係数(CTE)を有し、第1のCTEと第2のCTEが異なるようなものである。第6の実施の形態において、第5の実施の形態のガラス系物品は、第2のCTEが、第1のクラッド基板と第2のクラッド基板に圧縮応力を与えるように第1のCTEより低いようなものである。
第7の実施の形態において、第3から第6の実施の形態のガラス系物品は、コア基板211が第1の応力プロファイルを有し、第1のクラッド基板221および第2のクラッド基板241の各々が第2の応力プロファイルを有し、第1の応力プロファイルが第2の応力プロファイルと異なるようなものである。第8の実施の形態において、第3から第7の実施の形態のガラス系物品は、第1のガラス組成物が第1のヤング率値を有し、第2のガラス組成物が第2のヤング率値を有し、第1のヤング率値と第2のヤング率値が異なり、コーティングのヤング率値が第2のヤング率値より大きいようなものである。第9の実施の形態において、第8の実施の形態のガラス系物品は、第2のヤング率値が第1のヤング率値より大きいようなものである。第10の実施の形態において、第8の実施の形態のガラス系物品は、第2のヤング率値が第1のヤング率値より小さいようなものである。
第11の実施の形態において、第1から第10の実施の形態のいずれかのガラス系物品は、そのガラス系物品が、第1の表面228からの深さに対する圧縮応力を有して、全ての点が比較的急な正接を有する第1の部分、および全ての点が、比較的急な正接と比べて比較的浅い正接を有する第2の部分を含む応力プロファイルを提供するようなものである。第12の実施の形態において、第11の実施の形態のガラス系物品は、比較的浅い正接に対する急な正接の比が2より大きいようなものである。第13の実施の形態において、第11の実施の形態のガラス系物品は、急な正接が10MPa/マイクロメートルから20MPa/マイクロメートルの範囲の絶対値を有し、浅い正接が0.5MPa/マイクロメートルから2MPa/マイクロメートルの範囲の絶対値を有するようなものである。第14の実施の形態において、第1から第13の実施の形態のいずれかのガラス系物品は、コーティングが、約80ナノメートルから10マイクロメートルの範囲のコーティング厚(tco)を有するようなものである。
第15の実施の形態において、第1から第14の実施の形態のいずれかのガラス系物品は、基板が60GPaから80GPaの範囲にあるヤング率値を有し、コーティングが70GPaから400GPaの範囲にあるヤング率値を有するようなものである。第16の実施の形態において、第1から第15の実施の形態のいずれかのガラス系物品は、コーティングのヤング率値が100GPaから300GPaの範囲にあるようなものである。第17の実施の形態において、第1から第16の実施の形態のいずれかのガラス系物品は、コーティングが、Al、Mn、AlO、Si、SiO、SiAl、ダイヤモンド、ダイヤモンド状炭素、Si、Si、ZrO、TiO、およびその組合せから選択される耐引掻性コーティングであるようなものである。
第18の実施の形態において、第1から第17の実施の形態のいずれかのガラス系物品は、物品が、コーティングに始まる傷からのガラス系物品の破損を防ぐための曲げ強度を提供するのに十分な第1の表面での第1の最大圧縮応力を持つ圧縮応力プロファイルを有するようなものである。第19の実施の形態において、第18の実施の形態のガラス系物品は、第1の最大圧縮応力が、800MPaから1200MPaの範囲にある、例えば、900MPa、1000MPa、または1100MPaであるようなものである。
ここで図3を参照すると、本開示の第20の実施の形態は、第1の表面115および第2の表面135を有する強化済みガラス系コア基板110を備えた被覆ガラス系物品100に関する。1つ以上の実施の形態における強化済みガラス系コア基板110は、化学強化、または熱強化、または化学強化と熱強化されている。積層ガラス系物品100は、第1の表面に直接結合して第1のコア・クラッド界面125を提供する第3の表面122を有する化学強化されたガラス系の第1のクラッド基板120をさらに備える。積層ガラス系物品100は、第2の表面135に直接結合して第2のコア・クラッド界面145を提供する第4の表面142を有する化学強化されたガラス系の第2のクラッド基板140をさらに備える。1つ以上の実施の形態において、コア基板、第1のクラッド基板および第2のクラッド基板は、それらが共に組み立てられたときに、積層板積層体と称されることがある。1つ以上の実施の形態によれば、コア基板110は、コア基板110と第1のクラッド基板120との間に高分子なく、またコア基板110と第2のクラッド基板140との間に高分子なく、第1のクラッド基板120および第2のクラッド基板140に結合されている。それゆえ、1つ以上の実施の形態によれば、「直接結合された」とは、第1のクラッド基板120および第2のクラッド基板140をコア基板110に結合する、接着剤、エポキシ、グルーなどの追加の結合材料がない結合を称する。いくつかの実施の形態において、第1のクラッド基板120および第2のクラッド基板140の各々は、共有結合によってコア基板110に直接結合されている。第1のクラッド基板120が、厚さtc1を有すると示され、第2のクラッド基板140が、厚さtc2を有すると示され、コア基板110が厚さtを有する。コア基板110は第1のガラス組成物から作られ、第1のクラッド基板120および第2のクラッド基板140の各々は第2のガラス組成物から作られ、第1のガラス組成物は第2のガラス組成物と異なり、第1のガラス組成物は第1のヤング率値を有し、第2のガラス組成物は第2のヤング率値を有し、このガラス系物品は、第1のクラッド基板上に第1のコーティング160を、必要に応じて、第2のクラッド基板140上に第2のコーティング180をさらに備え、第1のコーティング160は、第1のコーティングのヤング率値を有するように選択された材料から作られ、第1のコーティングのヤング率値は第2のヤング率値より大きい。
第1のクラッド基板120が、厚さtc1を有すると示され、第2のクラッド基板140が、厚さtc2を有すると示され、コア基板110が厚さtを有する。それゆえ、積層ガラス系物品100の厚さは、tc1、tc2、およびtの合計である。第1のクラッド基板120は第5の表面128を有し、第2のクラッド基板140は第6の表面148を有し、第5の表面128と第6の表面148は基板の厚さを規定する。
第21の実施の形態において、第20の実施の形態の被覆ガラス系物品は、第2のクラッド基板140上に第2のコーティング180をさらに備え、第2のコーティング180は、第2のコーティングのヤング率値を有するように選択された材料から作られ、その第2のコーティングのヤング率値は第2のヤング率値より大きい。第22の実施の形態において、第20または第21の実施の形態の被覆ガラス系物品は、強化済みコア基板110が化学強化されており、第1のクラッド基板120が、深い傷からの破損に抵抗するように最適化された応力プロファイルを有するようなものである。第23の実施の形態において、第22の実施の形態の被覆ガラス系物品100は、第1のクラッド基板120が第5の表面128を有し、ガラス系物品100が、第1のコーティングに始まる傷からのガラス系物品の破損を防ぐための曲げ強度を提供するのに十分な第5の表面での第1の最大圧縮応力を持つ圧縮応力プロファイルを有するようなものである。第24の実施の形態において、その第1の最大圧縮応力は、500MPaから1200MPaの範囲にある。第25の実施の形態において、その第1の最大圧縮応力は、800MPaから1200MPaの範囲にある、例えば、900、1000、または1100MPaである。
第26の実施の形態において、第20から第25の実施の形態の被覆ガラス系物品は、第5の表面128および第6の表面148が、被覆前に約0.1ミリメートルから3ミリメートルの範囲の厚さを規定するようなものである。第27の実施の形態において、第20から第26の実施の形態の被覆ガラス系物品は、第1のコーティング160が5ナノメートルから5マイクロメートルの範囲の厚さを有するようなものである。第28の実施の形態において、第20から第26の実施の形態の被覆ガラス系物品は、第1のコーティング160が10ナノメートルから2マイクロメートルの範囲の厚さを有するようなものである。
第29の実施の形態において、第20から第28の実施の形態の被覆ガラス系物品は、第1のコーティングが、シリカ、インジウムスズ酸化物、酸窒化アルミニウム、多孔質シリカ、ガラスセラミックまたはセラミックからなる群より選択されるようなものである。第30の実施の形態において、第20から第29の実施の形態の被覆ガラス系物品は、ガラス系基板がイオン交換可能なアルカリアルミノケイ酸塩ガラス組成物から作られるようなものであり、第31の実施の形態において、そのガラス組成物は、イオン交換可能なアルカリアルミノホウケイ酸塩ガラス組成物である。第32の実施の形態において、第20から第30の実施の形態の被覆ガラス系物品は、第1のクラッド基板の厚さが、25から150マイクロメートルの範囲の亀裂の安定な亀裂成長を促進するように選択されるようなものである。
第33の実施の形態は、被覆ガラス系物品を製造する方法において、第1のクラッド基板のヤング率値を有するガラス系の第1のクラッド基板を強化済みのガラス系コア基板の第一面に結合させる工程;ガラス系の第2のクラッド基板をその強化済みのガラス系コア基板の第二面に共有結合させる工程;第1のクラッド基板および第2のクラッド基板を化学強化する工程;およびコーティングのヤング率値を有するコーティングを第1のクラッド基板に施す工程であって、コーティングのヤング率値が第1のクラッド基板のヤング率値より大きい工程を有してなる方法に関する。第34の実施の形態において、第33の実施の形態は、ガラス系コア基板が化学強化されており、第1のクラッド基板を化学強化する工程が、第1のクラッド基板をコア基板に結合させる工程の後に行われ、第2のクラッド基板を化学強化する工程が、第2のクラッド基板をコア基板に結合させる工程の後に行われるようなものである。第35の実施の形態において、第33または第34の実施の形態は、コア基板は第1の結合面およびその第1の結合面と反対の第2の結合面を有し、第1のクラッド基板は第3の結合面を有し、第2のクラッド基板は第4の結合面を有し、前記方法は、コア基板、第1のクラッド基板および第2のクラッド基板を洗浄して、第1の結合面、第2の結合面、第3の結合面および第4の結合面上にヒドロキシル基を提供する工程;および第1の結合面を第3の結合面に接触するように配置し、第2の結合面を第4の結合面と接触するように配置して、積層板積層体を提供する工程をさらに含むようなものである。第36の実施の形態において、第35の実施の形態は、その積層板積層体を加熱する工程を含み、第37の実施の形態において、積層板積層体を加熱する工程は、第1の結合面と第3の結合面との間に共有結合を、第2の結合面と第4の結合面との間に共有結合を形成するのに十分な時間に亘り十分な温度に加熱する工程を含み、その共有結合が、高分子または接着剤を含まずに形成される。第38の実施の形態において、積層板積層体を加熱する工程は、積層板積層体を少なくとも30分の期間に亘り少なくとも約400℃の温度に加熱する工程を含む。第39の実施の形態において、第33から第38の実施の形態は、第1のクラッド基板および第2のクラッド基板を化学強化する工程を含む。
本開示の実施の形態による未被覆のガラス系基板の2つの例示のプロファイルが、図5Aに示されている。この図に与えられた応力プロファイルは、有限要素モデル化および破壊力学を使用してシミュレーションした。そのシミュレーションにおいて、残留応力プロファイルをガラス系物品に適用し、亀裂を明白に加え、4点曲げを、ガラス系物品の引張面に表面亀裂がある構造に適用し、集中メッシュ手法を使用して、応力拡大係数を計算した。次に、傷サイズの関数として平面歪みにおけるプレートの強度をプロットした。800μmの基板上に50μmのクラッドを結合させることによって生じた2つの可能性のあるプロファイルが、図5Aに示されている。
コア基板の初期のイオン交換プロファイルは、結合工程と第2のイオン交換工程により、表面でのコアガラス基板のCSの大きさが減少するが、深さは増加するという理解に基づいて選択されている。どの理論にも束縛されないが、一回のイオン交換(例えば、ナトリウムイオンのカリウムイオンによる)は、所望の応力プロファイル特徴を与えるが、そのプロファイルの追加の最適化を行ってもよいと予測される。結合および積層板積層体のイオン交換の最中に生じる、コア基板の初期のイオン交換プロファイルの変化を最小にすべきである実施の形態において、ひいては、カリウムイオンの拡散性が低いコアガラス系基板が選択される。コア基板においてより深い圧縮深さを得ることが求められる代わりの実施の形態において、ひいては、コアガラス系基板には、カリウムイオンの拡散性が高いガラスが選択される。ある実施の形態において、拡散性の高いガラスは、リチウムを含有する。クラッド基板のための拡散性の高いガラスは、積層板積層体のイオン交換の時間を減少させるように選択される。1つ以上の実施の形態により得られた応力プロファイルは、広範囲の機器の曲げと時間が一致する落下事象中に導入される深い損傷を阻み、その損傷のほとんどを捕獲するのに的確な深さにもあるように十分な大きさを有する。1つ以上の実施の形態において、コア応力プロファイルの圧縮深さを、いくつかの実施の形態において、クラッド基板の圧縮深さを増加させるために、追加の熱処理を施すことができ
このように、1つ以上の実施の形態によれば、前記ガラス系物品は、ガラス系物品の応力プロファイルを調節し、それによって、高度の応力プロファイルの調節可能性を提供する様々な方法を与える。ガラス系物品の最終的な応力プロファイルを調節するために変更できるパラメータとしては、コアガラス基板の応力プロファイルの形状、熱処理臨界、およびクラッド基板の厚さが挙げられる。1つ以上の実施の形態において、クラッド基板の厚さにより、埋もれたCSの始まりが決まる。1つ以上の実施の形態において、積層ガラス積層体のイオン交換は、落下による破壊に対する十分な抵抗および曲げ強度を提供するように調整される。その上、1つ以上の実施の形態によれば、イオン交換スパイクを表面に施して、所望の曲げ強度を与えることができる。積層ガラスのイオン交換は、耐引掻性を与えるためにも調整して差し支えない。
図5Bは、図5Aの2つのサンプルについて残留強度予測を示し、図5Aに示された応力プロファイルは、2つの可能性のあるほぼ放物線状の深い圧縮深さ(DOC)プロファイルと比べた場合、50から200μmの傷について増加した強度を有することが分かる。コアガラス基板のイオン交換プロファイル1(実線)およびプロファイル2(短い破線)は、50μmのクラッドを有する積層物品のプロファイル1(長い破線)および50μmのクラッドを有する積層物品のプロファイル2(濃さが増加した実線)より低い強度を有すると示されている。積層物品の増加した強度プロファイルは、いくつかの傷深さに関して現在入手できるイオン交換プロファイル強度の2倍を超える。
コアガラス基板上の2つの異なる応力プロファイルに関する、75μm、100μm、よび125μmのクラッド基板により作成されたプロファイルが、図6Aに示されており、未被覆ガラス系物品について、残留強度予測が図6Bに示されている。イオン交換プロファイル1およびイオン交換プロファイル2と付された線は、クラッド基板を施して積層板積層体を形成し、その積層板積層体をイオン交換する前のコアガラス基板の応力プロファイルである。クラッド基板の厚さを増加させると、一般に、100μmと200μmの間の傷に関する最大強度が低下するが、200μm超の全ての傷について、強度の増加をもたらすことが分かる。それゆえ、積層ガラス系物品の応力プロファイルは、粗面への落下事象中に導入されるかもしれない傷に対して最大の強度保護を提供するために細かく調節することができる。全てのシミュレーションについて、1.0mmの全厚を維持するために、クラッド厚が増加するについて、コア厚が減少した。
1つ以上の実施の形態において、コア基板およびクラッド基板に異なる組成物を使用すると、積層ガラス系物品の応力特性を、粗面との衝突に関する落下保護など、特定の用途のために性能を最適化するように調整することができる。コア基板およびクラッド基板の組成物は、互いに独立しており、それらは、CTEおよび弾性特性などの幅広い機械的性質を提供することができる。コア基板およびクラッド基板のCTEを変えると、冷却からもたらされる残留応力差が与えられ、これにより、コアまたはクラッドのいずれかに圧縮が生じる。例えば、クラッド基板とコア基板との間のCTE差による応力は、ガラス中に蓄積される弾性エネルギーを減少させつつ、同じ性能を与える。1つ以上の実施の形態において、コア基板およびクラッド基板のヤング率を変えることもできる。図7A~Bから9A~Bにより、未被覆のガラス系物品の例が与えられる。
図7Aにおいて、2つの75μm厚のクラッド基板により作られた、1.0mmの全厚の例示のプロファイルを、2つのイオン交換プロファイルと比較する。クラッド基板のヤング率を70GPaから80GPaに増加させ、コア基板のヤング率を70GPaから60GPaに減少させると、コア/クラッド界面を越える全ての傷の強度が著しく増加する。図7Bに示されるように、ヤング率の不一致のために、コアとクラッドの両方が70GPaのヤング率を有する場合と比べて、コアで終端した傷について残留強度が増加したことが分かった。本開示で挙げられたヤング率値は、「Dynamic Young's Modulus, Shear Modulus, and Poisson's Ratio by Sonic Resonance」と題するASTM E1875-13に述べられた一般タイプの音響共鳴技術によって測定された値を称する。
図8Aは、2つの可能性のあるイオン交換プロファイルを比較する、2つの100μm厚のクラッド基板により作られた、1.0mmの全厚の例示のプロファイルを示している。図8Bに示されるように、残留強度のプロットは、コア基板とクラッド基板のヤング率を変える効果を示している。この例示の場合、コア基板のヤング率は60GPaであるのに対し、クラッド基板のヤング率は80GPaであった。ヤング率の不一致のために、コア基板およびクラッド基板の両方が70GPaのヤング率を有する場合と比べて、コアで終端する傷について、残留強度が増加することが分かった。
図9Aにおいて、2つの125μm厚のクラッド基板により作られた、1.0mmの全厚の例示のプロファイルを、2つの可能性のあるイオン交換プロファイルと比較する。図9Bに示されるように、コア基板のヤング率は60GPaであるのに対し、クラッド基板のヤング率は80GPaであった。ヤング率の不一致のために、コア基板およびクラッド基板の両方が70GPaのヤング率を有する場合と比べて、コアで終端する傷について、残留強度が増加した。図は、本開示の実施の形態によれば、完成した積層ガラス物品の応力プロファイルを調節し、最適化する方法に加え、深い損傷による積層ガラス物品の損傷抵抗を増加させるための追加の機構が提供されることを示している。
コア基板とクラッド基板との間の界面でのイオンの移動性は、図では、考慮されていない。コア内のイオンは、ことによるとクラッド中に拡散し、その逆も同様である可能性がある。図のプロファイルのいくつかは、少なくともいくつかの亀裂長さについてサブクリティカル亀裂進展を生じ得る少量の張力をクラッドの界面で有する。その上、張力は、残留強度において明白な下落を生じた。クラッド基板のより長くより深いイオン交換は、これらの問題の各々に対処する。何故ならば、より長くより深いイオン交換により、張力が除去されるからである。
その上、コアとクラッドの組成、並びにイオン交換パラメータを注意深く選択することによって、図10Aに示されるもののようなプロファイルが、1.0mmの全厚および各々が厚さ100μmの2つのクラッド基板を有する積層ガラス系物品について、埋もれたピークプロファイルの一例を与える。埋もれたピークは、単一基板の二重イオン交換により生じた埋もれたピークのプロファイルとは異なり、非常に深い、例えば、25μm超、30μm超、35μm超、40μm超、45μm超、50μm超、60μm超、70μm超、80μm超、90μm超、100μm超、125μm超、または150μm超であり得る。残留強度のプロットが、図10Bに示されており、先に示された例と類似の結果を示している。しかしながら、このプロットは、亀裂成長が、100マイクロメートルより小さい亀裂についての増加する強度に関連付けられた上昇するR曲線挙動を示しており、これにより、安定な亀裂成長、並びによりきつい強度の信頼性分布がもたらされる。それゆえ、積層過程は、独特な特徴を有するそのような操作された応力プロファイルを作るためのプラットホームを提供する。埋もれたピークのプロファイルは、175μmまで比較プロファイルを上回る強度の利点を有し、イオン交換のパラメータおよびクラッドの厚さにより、用途に合うように、差の大きさおよび深さを調節することができる。
その上、積層ガラス系物品を形成するためのここに記載された過程を使用して、積層ガラス系物品にセンサまたは他の特徴を組み込むことができ、このことは、携帯電話およびタブレットなどの電子機器用のカバーガラスの製造に有用である。センサは、ガラスの表面の近くにあることで恩恵を受けるであろうが、より薄いカバーガラスは、強度を損ない得る。したがって、カバーガラスにセンサを組み込むことは、カバーの強度を損なわずに、ガラス表面の近くにセンサを配置する目的を達成することができる。そのようにするために、タッチセンサはガラス基板上に堆積される。センサが基板上に一旦堆積されたら、センサの表面上にシリカが堆積される。あるいは、センサの材料が、400℃の結合温度でクラッドとの強力な共有結合を作るのに十分なケイ素・酸素結合を有する場合には、ひいては、センサ上のケイ素堆積工程は必要ない。次に、構成要素の全ては、片面にセンサとクラッドが結合され、他方の面にはクラッドのみが結合されているが、ここに記載されたように、共有結合を形成するための積層板積層体の加熱過程によって、互いに結合される。そのような過程は、センサが約400℃の温度に耐えられる場合に有益である。センサに加え、光学ライトガイドおよび調光層などの任意の他の機能層をこのようにして保護しても差し支えない。
1つ以上の実施の形態によれば、積層ガラス系物品を製造するための代わりの方法(CTE差方法と称される)は、積層過程の後に、深いイオン交換過程を含む。ある実施の形態において、積層ガラス系物品は、米国特許出願公開第2016/0114564A1号明細書に記載されているような、積層フュージョンプロセスを使用して製造される。そのようなプロセスにおいて、積層ガラス物品を形成するための積層フュージョンドロー装置は、下側アイソパイプの上に配置された上側アイソパイプを備える。この上側アイソパイプは、溶融装置から溶融ガラスクラッド組成物が供給される樋を備える。同様に、この下側アイソパイプは、溶融装置から溶融ガラスコア組成物が供給される樋を備える。ここに記載された実施の形態において、溶融ガラスコア組成物は、溶融ガラスクラッド組成物の平均クラッド熱膨張係数CTEクラッドより低い平均コア熱膨張係数CTEコアを有する。この積層ガラス系物品について、クラッドのCTEはコアのものより高く、よって、クラッドは、室温に冷却された後に張力下にある。次に、積層ガラス系物品はイオン交換される。未被覆ガラス系物品に関する、そのような過程によって作られたプロファイルの一例が図11に示されており、それには、積層ガラスおよび深いイオン交換の応力プロファイルが示されている。菱形の曲線の応力プロファイルを有する積層ガラスが調製される。クラッドは張力下にあり、コアは圧縮下にあり、これは、従来の積層ガラスとは反対である。この積層過程の後に、深いイオン交換過程が行われる。このイオン交換過程からの残留応力は、正方形の曲線である。最終的な残留応力は、積層とイオン交換からの2つの応力の合計である。積層について、クラッドのCTEはコアのものより高く、よって、クラッドは、室温に冷却された後に張力下にある。
図11において、最終製品の残留応力は、積層応力とイオン交換応力の合計であると考えられた。この実施の形態において、クラッドの厚さは0.12mmであり、積層ガラスの厚さは1.0mmである。圧縮層の深さは、166μm辺りから200μm超に増加している。これは、30μm超の増加であり、深い傷に関する材料の残留強度を改善することができる。
1つ以上の実施の形態によれば、ここに記載されたような積層ガラス系物品は、携帯電話およびタブレットなどの携帯型電子機器用の薄いカバーガラスとして使用することができる。クラッド基板の厚さが65μmから80μmであり、全厚が0.4mmの積層ガラス系物品の応力プロファイルが、未被覆ガラス系物品について、図12にプロットされている。実線の曲線はイオン交換による(非積層)残留応力であり、破線の曲線は、積層応力とイオン交換応力の線形和による最終的な残留応力である。圧縮層の深さは、おおよそ65μmから80μmに増加している。
図12の応力プロファイルの残留強度が図13にプロットされており、これは、積層サンプルに関する傷サイズによる非単調残留強度を示している。これは、実線により示される非積層ガラスの残留強度と比べられる。この場合、残留強度は、傷深さが80μmより深い場合に大きい。深い傷、例えば、100μmの傷が、好ましくない事象、例えば、硬い表面に落とされたときに、積層カバーガラスに導入された場合、このことは有益である。このガラスを破壊するために、2倍の曲げ応力、200MPa対100MPaがかかるであろう。積層板の場合に中央張力が減少し、中央張力が非積層板の場合と一致する前に、圧縮応力の大きさと層の深さのいくつかの組合せを増加させられることを意味し、これにより深い損傷性能が改善される。このことが一旦行われたら、積層板プロファイルの性能の利点は、非積層板プロファイルに対してさらに増加する。
クラッド基板が50μm厚であり、全厚が0.3mmである、より薄い未被覆ガラス系物品について、別の実施の形態が図14および図15に示されている。深い傷での残留強度および圧縮層の深さにおける恩恵は、先に述べた0.4mmのガラスと似ている。圧縮層の深さは、おおよそ60μmから75μmに増加している。圧縮層の深さはおおよそ20%増加しており、70μmより深い傷では、残留強度がより良好である。一定のクラッド厚および張力について、エネルギーバランスは、中央圧縮はコアの厚さと反比例することを示しているので、コアの厚さが増加するにつれて、提案された代わりの方法の恩恵は減少する。
図16Aは、本開示の実施の形態による被覆ガラス系物品の応力プロファイルである。比較のために、3つの異なる可能性のあるイオン交換プロファイルが示されている。プロファイル1(実線)およびプロファイル3(点線)が比較プロファイルである。コーティングプロファイルを適用する恩恵は、プロファイル2(破線)から明白であり、これは、ヤング率の高い(クラッド基板のヤング率より大きい)コーティングにより、ガラス基板の表面での圧縮応力が増加することを示している。プロファイル3を図5Bの未被覆プロファイルと比較すると、ヤング率の高いコーティングは、ガラス物品の表面でCSを増加させ、曲げ強度が高くなることが明白である。クラッド基板のプロファイルは1.0mmの基板を前提とするのに対し、標準的なイオン交換プロファイルは、0.8mmのクラッド基板の厚さを前提とする。図16Bは、図16Aにおける応力プロファイルの残留強度プロットを示しており、高い曲げ強度(高い最大臨界歪み)および50μmと180μmの間の傷に関する深い傷抵抗の両方を有するプロファイルを作成できることを示している。図16Bは、コーティングからの亀裂を防ぐために、表面で鋭い圧縮応力が必要であり、これにより、曲げ強度が改善されることを示す。
図17Aにおいて、プロファイル1およびプロファイル2は比較プロファイルであり、プロファイル3は、クラッドの熱拡散がコアより高い、被覆された積層ガラス系物品の応力プロファイルを示す。図17Bは、これらのプロファイルに関して得られた残留強度を示しており、これは、2つの可能性のあるほぼ放物線の深い圧縮深さ(DOC)のプロファイルと比較された、180μmより小さい傷に関するプロファイル3に関する著しい利点を示している。図17A~17Bにおいて、コーティングは、2μmの厚さおよび225GPaのモジュラスを有する単層であると仮定した。被覆ガラス基板は、2つの異なるモード:粗面落下中の損傷導入、および滑面落下中の曲げ破損で破損することが知られている。未被覆のガラスについて、損傷導入のない曲げ破損は、短い傷(20μm未満)について非常に高い強度保持率のために、滅多に観察されない。しかしながら、硬質コーティングの施用後のガラスに関連する強度低下のために、滑面への機器の落下は、致命破損モードであり得る。その曲げ破損モードは、最大限界強度(または歪み)により制御され、これが、図17Bから分かる。最大限界歪みは、最初の5から20μmに亘る残留応力の大きさと分布の両方の関数である。単なるピークの大きさではなく、分布全体に亘るより大きい大きさが有益である。図17Aおよび17Bに示された50μmのクラッドプロファイル2は有利な曲げ強度を有するのに対し、50μmのクラッドのプロファイル1は、表面でのより高い応力のために、従来のイオン交換プロファイルよりも悪い。したがって、本開示の実施の形態によれば、同じプロファイルから曲げ強度および深い損傷抵抗を有することが可能である。
1つ以上の実施の形態によれば、ガラス系基板の片面における強度の増減は、研磨式リング・オン・リング試験を使用して決定できる。材料の強度は、破壊が生じる応力として定義される。この研磨式リング・オン・リング試験は、平らなガラス試料を試験するための表面強度測定であり、「Standard Test Method for Monotonic Equibiaxial Flexural Sterngth of Advanced Ceramics at Ambient Temperature」と題するASTM C1499-09(2013)が、ここに記載された研磨式リング・オン・リング試験の方法論の基礎を成す。ASTM C1499-09の内容が、ここに全て引用される。1つの実施の形態において、ガラス試料は、リング・オン・リング試験の前に、「Standard Test Methods for Strength of Glass by Flexure (Determination of Modulus of Rupture)」と題するASTM C158-02(2012)の「abrasion Procedures」と題するAnnex A2に記載された方法および装置を使用して、ガラス試料に送達される90グリットの炭化ケイ素(SiC)粒子で研磨される。ASTM C158-02の内容および特に、Annex 2の内容が、ここに全て引用される。
リング・オン・リング試験の前に、ガラス系物品の表面を、ASTM C158-02の図A2.1に示された装置を使用して、試料の表面欠陥条件を標準化および/または制御するために、ASTM C158-02、Annex 2に記載されたように研磨する。研磨材を、概して、304kPa(44psi)の空気圧を使用して、103kPa(15psi)の荷重でガラス系物品の表面に吹き付ける。気流を確立した後、5cmの研磨材を漏斗に入れ、研磨材の導入後、5秒間に亘り試料を砂吹き機で磨く。
研磨式リング・オン・リング試験について、図18に示されたような少なくとも1つの研磨面を有するガラス系物品410を、これも図18に示されたように、異なるサイズの2つの同心のリングの間に配置して、等二軸曲げ強度(すなわち、2つの同心のリングの間の湾曲に曝されたときに材料が維持できる最大応力)を決定する。研磨式リング・オン・リング構成400において、研磨されたガラス系物品410は、直径Dを有する支持リング420により支持されている。ロードセル(図示せず)によって、直径Dを有する荷重リング430を通じて、そのガラス系物品の表面に力Fが印加される。
荷重リングと支持リングの直径比D/Dは、約0.2から約0.5の範囲にあるであろう。いくつかの実施の形態において、D/Dは約0.5である。荷重および支持リング430、420は、支持リングの直径Dの0.5%以内に同心状に揃えるべきである。試験に使用されるロードセルは、選択された範囲内の任意の荷重で±1%以内まで正確であるべきである。いくつかの実施の形態において、試験は、23±2℃の温度および40±10%の相対湿度で行われる。
器具の設計について、荷重リング430の突出面の半径rは、h/2≦r≦3h/2であり、式中、hはガラス系物品410の厚さである。荷重および支持リング430、420は、典型的に、硬度HRc>40の硬化鋼から作られている。研磨式リング・オン・リング器具は市販されている。
研磨式リング・オン・リング試験の目的の破壊メカニズムは、荷重リング430内の表面430aから発生するガラス系物品410の割れを観察することである。この領域-すなわち、荷重リング430と支持リング420との間-の外で生じる割れは、データ解析から除外する。しかしながら、ガラス系物品410の薄さと高強度のために、サンプルの厚さhの1/2を超える大きい撓みが観察されることがある。したがって、荷重リング430の下から生じる割れの百分率が高いと観察することは、珍しいことではない。リングの内側と下側の両方での応力の発生(歪みゲージ分析により収集)および各サンプルにおける破損の始点を知らずには、応力は正確に計算できない。したがって、研磨式リング・オン・リング試験は、測定反応としての破損時の最大荷重に焦点を当てる。
ガラス系物品の強度は、表面傷の存在に依存する。しかしながら、ガラスの強度は実際には統計に基づくので、存在する既定のサイズの傷の傾向は正確に予測できない。したがって、確率分布を、得られたデータの統計的表示として一般に使用することができる。
1つ以上の実施の形態により記載されたガラス系物品は、様々な最終用途を有し得る。1つ以上の実施の形態において、そのようなガラス系物品としては、建築用板ガラス、自動車のフロントガラスおよび板ガラスが挙げらる。1つ以上の実施の形態によれば、ガラス系物品の互いに反対の表面は、所望の強度および信頼性を有するように設計し、合わせることができる。同様の検討事項が、建築構造に使用される建築用板ガラスに当てはまる。
1つ以上の実施の形態によれば、欠陥寸法は、以下のようにフラクトグラフィーを使用して決定することができる。欠陥寸法は、4点曲げ試験(ASTM C1161:Standard Test Method for Flexural Strength of Advanced Ceramics at Ambient Temperature)またはリング・オン・リング試験(ASTM C1499-15)を使用して壊された試料について、欠陥寸法(原寸法)を決定するために、ASTM基準:C1322-15(Standard Practice for Fractography and Characterization of Fracture Origns in Advanced Ceramics)を使用することによって、フラクトグラフィーを用いて決定することができる。これにより、対象とする用途におけるガラスシートの欠陥寸法分布が確立される。破壊試験に使用される試料が多いほど、試験からの欠陥寸法分布データの信頼が良好になる。あるいは、1つ以上の実施の形態によれば、欠陥寸法は、強度試験および破壊機構解析を用いて決定することができる。ある実施の形態において、強度データは、適切な強度試験(エッジ強度に関する4点曲げおよび内部強度に関するリング・オン・リング)を使用して実行可能なだけ多くの試料を使用して得られる。適切な破壊解析モデル(解析または有限要素解析)を使用して、強度試験において試料の破損を生じたに違いない欠陥寸法を予測することができる。これにより、特定の欠陥寸法、形状、および位置が推測され、それゆえ、この手法は、フラクトグラフィー手法ほど正確ではないが、欠陥個体数を確立するのがより容易である。
強化されたガラス系基板は、様々な異なる過程を使用して提供することができる。例えば、例示のガラス系基板形成方法としては、フロートガラス法、およびフュージョンドロー法やスロットドロー法などのダウンドロー法が挙げられる。フロートガラス法により調製されるガラス系基板は、滑らかな表面および均一な厚さにより特徴付けられ、溶融金属、典型的に、スズの床上に溶融ガラスを浮かせることによって製造される。例示の過程において、溶融スズ床の表面上に供給された溶融ガラスが、浮遊するガラスリボンを形成する。そのガラスリボンがスズ浴に沿って流動するにつれて、ガラスリボンがスズからローラ上に持ち上げられる固体のガラス系基板に固化するまで、温度が徐々に低下する。一旦浴から離れたら、ガラス系基板は、さらに冷却し、徐冷して、内部応力を減少させることができる。
ダウンドロー法により、比較的無垢な表面を有する均一な厚さを持つガラス系基板が製造される。そのガラス系基板の平均曲げ強度は表面傷の量とサイズにより制御されるので、接触が最小であった無垢な表面は、より高い初期強度を有する。次いで、この高強度のガラス系基板をさらに強化(例えば、化学的に)すると、得られた強度は、ラップ仕上げされ、研磨された表面を有するガラス系基板の強度よりも高くなり得る。ダウンドロー法により製造されたガラス系基板は、約2mm未満の厚さまで延伸されることがある。その上、ダウンドロー法により製造されたガラス系基板は、費用のかかる研削および研磨を使用せずに、最終用途に使用できる非常に平らで滑らかな表面を有する。
フュージョンドロー法は、例えば、溶融ガラス原材料を受け容れるための通路を有する延伸槽を使用する。この通路は、通路の両側で通路の長さに沿って上部で開いた堰を有する。この通路が溶融材料で満たされると、溶融ガラスは堰を溢れる。この溶融ガラスは、重力のために、2つの流動するガラス膜として、延伸槽の外面を流下する。この延伸槽のこれらの外面は、延伸槽の下のエッジで接合するように、下方かつ内方に延在する。2つの流動するガラス膜は、このエッジで接合して、融合し、1つの流動するガラス系基板を形成する。このフュージョンドロー法は、通路を越えて流れる2つのガラス膜が互いに融合するので、得られるガラス系基板の外面のいずれも、装置のどの部分とも接触しないという利点を提示する。それゆえ、フュージョンドロー法により製造されたガラス系基板の表面特性は、そのような接触によって影響を受けない。
スロットドロー法は、フュージョンドロー法とは異なる。スロットドロー法において、溶融原材料が延伸槽に供給される。この延伸槽の底部には、開いたスロットであって、そのスロットの長さに延在するノズルを有するスロットがある。溶融ガラスが、スロット/ノズルを通って流れ、連続基板として、徐冷領域へと下方に延伸される。
いくつかの実施の形態において、ガラス系基板に使用される組成物に、NaSO、NaCl、NaF、NaBr、KSO、KCl、KF、KBr、およびSnOを含む群から選択される少なくとも1種類の清澄剤が0~2モル%配合されることがある。
ガラス系基板は、一旦形成されたら、強化して、強化されたガラス系基板を形成して強化基板を提供することができる。ガラスセラミック基板も、ガラス系基板と同様の様式で強化できることに留意のこと。ここに用いられているように、「強化基板」という用語は、例えば、ガラス系またはガラス基板の表面にあるより小さいイオンをより大きいイオンでイオン交換することによって、化学強化されたガラス系基板またはガラス基板を称することができる。しかしながら、先に述べたように、強化ガラス基板を形成するために、熱的焼入れまたは熱強化など、当該技術分野で公知の熱的強化方法も利用してよい。いくつかの実施の形態において、それらの基板は、化学強化過程および熱的強化過程の組合せを使用して強化されることがある。
強化されたガラス系基板において、ガラスの表面に圧縮応力(CS)が、そして中央には張力(中央張力またはCT)がある応力プロファイルが存在する。1つ以上の実施の形態によれば、そのガラスは、熱的に強化されても、化学強化されても、または熱的強化と化学強化の組合せが施されても差し支えない。ここに用いられているように、「熱的に強化された」とは、基板の強度を改善するために、熱処理された基板を称し、「熱的に強化された」は、焼入れ基板および熱強化された基板、例えば、焼入れガラスおよび熱強化ガラスを含む。焼入れガラスは、加速冷却過程を含み、これにより、ガラスにより高い表面圧縮および/またはエッジ圧縮が生じる。表面圧縮の程度に影響する要因としては、空気クエンチ温度、体積、および少なくとも約68.9MPa(10,000ポンド毎平方インチ(psi))の表面圧縮を生じる他の変数が挙げられる。焼入れガラスは、典型的に、徐冷または未処理ガラスよりも4から5倍強力である。熱強化ガラスは、焼入れガラスよりも遅い冷却によって製造され、これにより、表面での圧縮強度が低くなり、熱強化ガラスは、徐冷または未処理ガラスの約2倍ほど強力である。
前記コアおよびクラッド基板に使用してよいガラスの例としては、アルカリアルミノケイ酸塩ガラス組成物またはアルカリアルミノホウケイ酸塩ガラス組成物が挙げられるが、他のガラス組成物も考えられる。そのようなガラス組成物は、イオン交換可能であると特徴付けられる。ここに用いられているように、「イオン交換可能」とは、その組成物から作られた基板が、その基板の表面またはその近くに位置する陽イオンを、サイズがより大きいか小さい同じ価数の陽イオンと交換することができることを意味する。ガラス組成物の一例は、SiO、B、およびNaOを含み、ここで、(SiO+B)≧約66モル%、およびNaO≧約9モル%である。適切なガラス組成物は、いくつかの実施の形態において、KO、MgO、およびCaOの内の少なくとも1つをさらに含む。特定の実施の形態において、基板に使用されるガラス組成物は、61~75モル%のSiO、7~15モル%のAl、0~12モル%のB、9~21モル%のNaO、0~4モル%のKO、0~7モル%のMgO、および0~3モル%のCaOを含み得る。
前記基板に適した別の例示のガラス組成物は、60~70モル%のSiO、6~14モル%のAl、0~15モル%のB、0~15モル%のLiO、0~20モル%のNaO、0~10モル%のKO、0~8モル%のMgO、0~10モル%のCaO、0~5モル%のZrO、0~1モル%のSnO、0~1モル%のCeO、50ppm未満のAs、および50ppm未満のSbを含み、ここで、12モル%≦(LiO+NaO+KO)≦20モル%、および0モル%≦(MgO+CaO)≦10モル%である。
前記基板に適したさらに別の例示のガラス組成物は、63.5~66.5モル%のSiO、8~12モル%のAl、0~3モル%のB、0~5モル%のLiO、8~18モル%のNaO、0~5モル%のKO、1~7モル%のMgO、0~2.5モル%のCaO、0~3モル%のZrO、0.05~0.25モル%のSnO、0.05~0.5モル%のCeO、50ppm未満のAs、および50ppm未満のSbを含み、ここで、14モル%≦(LiO+NaO+KO)≦18モル%、および2モル%≦(MgO+CaO)≦7モル%である。
特定の実施の形態において、前記基板に適したアルカリアルミノケイ酸塩ガラス組成物は、アルミナ、少なくとも1種類のアルカリ金属およびいくつかの実施の形態において、50モル%超のSiO、他の実施の形態において、少なくとも58モル%のSiO、そしてさらに他の実施の形態において、少なくとも60モル%のSiOを含み、比((Al+B)/Σ改質剤)>1であり、この比において、成分はモル%で表され、改質剤はアルカリ金属酸化物である。このガラス組成物は、特定の実施の形態において、58~72モル%のSiO、9~17モル%のAl、2~12モル%のB、8~16モル%のNaO、および0~4モル%のKOを含み、比((Al+B)/Σ改質剤)>1である。
さらに別の実施の形態において、前記基板は、64~68モル%のSiO、12~16モル%のNaO、8~12モル%のAl、0~3モル%のB、2~5モル%のKO、4~6モル%のMgO、および0~5モル%のCaOを含む。
代わりの実施の形態において、前記基板は、2モル%以上のAlおよび/またはZrO、もしくは4モル%以上のAlおよび/またはZrOを含むアルカリアルミノケイ酸塩ガラス組成物を含むことがある。
ここに記載された強化基板は、イオン交換過程によって化学強化されることがある。イオン交換過程において、一般に、ガラスまたはガラスセラミック基板を所定の期間に亘り溶融塩浴中に浸漬することによって、ガラスまたはガラスセラミック基板の表面またはその近くにあるイオンが、その塩浴からのより大きい金属イオンと交換される。1つの実施の形態において、溶融塩浴の温度は約400~430℃であり、その所定の期間は約4から約12時間である。より大きいイオンをそのガラスまたはガラスセラミック基板中に含ませると、その基板の表面に近い領域またはその表面の領域およびそれと隣接した領域に圧縮応力を生じることによって、基板が強化される。その圧縮応力と釣り合うために、基板の中央領域すなわちその表面からある距離にある領域内に、対応する引張応力が誘発される。この強化過程を利用したガラスまたはガラスセラミック基板は、化学強化またはイオン交換されたガラスまたはガラスセラミック基板とより詳しく記載されることがある。
一例において、強化されるガラスまたはガラスセラミック基板中のナトリウムイオンは、硝酸カリウム塩浴などの溶融浴からのカリウムイオンにより交換されるが、ルビジウムまたはセシウムなど、原子半径がより大きい他のアルカリ金属イオンが、ガラス中のより小さいアルカリ金属イオンを置換しても差し支えない。特定の実施の形態によれば、ガラスまたはガラスセラミック中のより小さいアルカリ金属イオンが、Agイオンにより置換されて、抗菌効果を提供することができる。同様に、以下に限られないが、硫酸塩、リン酸塩、ハロゲン化物などの他のアルカリ金属塩をイオン交換過程に使用してもよい。
強化されたガラス系基板において、ガラスの表面に圧縮応力(CS)が、そして中央には張力(中央張力またはCT)がある応力プロファイルが存在する。ガラス網目構造が緩和できる温度より低い温度でより小さいイオンがより大きいイオンで置換されると、強化基板の表面に亘りイオン分布が生じ、これにより、応力プロファイルがもたらされる。入ってくるイオンの体積がより大きいと、強化基板の表面に圧縮応力(CS)が、中央に張力(中央張力またはCT)が生じる。圧縮応力(表面CSを含む)は、有限会社折原製作所(日本国)により製造されているFSM-6000などの市販の計器を使用して表面応力計(FSM)により測定される。表面応力測定は、ガラスの複屈折に関連する、応力光学係数(SOC)の精密測定に依存する。次に、SOCは、その内容がここに全て引用される、「Standard Test Method for Measurement of Glass Stress-Optical Coefficient」と題する、ASTM基準C770-16に記載された手順C(ガラスディスク法)にしたがって測定される。1つ以上の実施の形態において、コアおよび/またはクラッドに使用されるガラス系基板は、750MPa以上、例えば、800MPa以上、850MPa以上、900MPa以上、1000MPa以上、1150MPa以上、または1200MPaの表面圧縮応力を有し得る。
ここに用いられているように、DOCは、ここに記載された化学強化されたアルカリアミノケイ酸塩ガラス物品中の応力が圧縮から引張に変化する深さを意味する。DOCは、イオン交換処理に応じて、FSMまたは散乱光偏光器(SCALP)により測定することができる。ガラス物品における応力が、ガラス物品中にカリウムイオンを交換することによって生じる場合、DOCを測定するために、FSMが使用される。応力が、ガラス物品中にナトリウムイオンを交換することによって生じる場合、DOCを測定するために、SCALPが使用される。ガラス物品における応力が、ガラス中にカリウムイオンとナトリウムイオンの両方を交換することによって生じる場合、DOCはSCALPにより測定される。何故ならば、ナトリウムの交換深さはDOCを表し、カリウムイオンの交換深さは、圧縮応力の大きさの変化(圧縮から引張への応力の変化ではない)を表すと考えられるからである;そのようなガラス物品におけるカリウムイオンの交換深さは、FSMにより測定される。
屈折近視野(RNF)法またはSCALPを使用して、応力プロファイルを測定してもよい。応力プロファイルを測定するために、RNF法が使用される場合、SCALPにより与えられる最大CT値がRNF法に利用される。詳しくは、RNFにより測定される応力プロファイルは、SCALP測定により与えられる最大CT値に対して力平衡され、較正される。このRNF法は、ここに全てが引用される、「Systems and methods for measuring a profile characteristic of a glass sample」と題する米国特許第8854623号明細書に記載されている。詳しくは、RNF法は、基準ブロックに隣接してガラス物品を配置する工程、1Hzと50Hzの間の率で直交偏光の間で切り換えられる偏光切替光線を生成する工程、その偏光切替光線の出力量を測定する工程、および偏光切替基準信号を生成する工程を含み、直交偏光の各々の出力の測定量は互いの50%以内にある。この方法は、偏光切替光線を、ガラス試料中の異なる深さについて、ガラス試料および基準ブロックに透過させ、次いで、リレー光学系を使用して、透過した偏光切替光線を信号光検出器に中継する工程をさらに含み、その信号光検出器は偏光切替検出器信号を生成する。この方法は、検出器信号を基準信号で割って、正規化検出器信号を形成する工程、およびその正規化検出器信号からガラス試料のプロファイル特徴を決定する工程も含む。
ガラス組成物の例が先に挙げられている。特定の実施の形態において、米国特許第9156724号(「’724特許」)明細書に開示されたガラス組成物を使用して、ガラス基板を形成してもよい。「’724特許」には、鋭い衝突による損傷に耐性があり、高速イオン交換が可能なアルカリアルミノケイ酸塩ガラスが開示されている。そのようなアルカリアルミノケイ酸塩ガラスの例は、少なくとも4モル%のPを含み、イオン交換されたときに、少なくとも約3kgf(約29.4N)、少なくとも約4kgf(約39.2N)、少なくとも約5kgf(約49N)、少なくとも約6kgf(約58.8N)、または少なくとも約7kgf(約68.6N)のビッカース亀裂発生閾値を有する。1つ以上の特定の実施の形態において、第1の強化基板は、少なくとも約4モル%のPおよび0モル%から約4モル%のBを含むアルカリアルミノケイ酸塩ガラスから作られ、そのアルカリアルミノケイ酸塩ガラスはLiOを含まず、1.3<[P+RO/M]<2.3、式中、M=Al+B、ROはアルカリアルミノケイ酸塩ガラス中に存在する一価陽イオン酸化物の合計である。特定の実施の形態において、そのようなアルカリアルミノケイ酸塩ガラスは、1モル%未満のKO、例えば、0モル%のKOを含む。特定の実施の形態において、そのようなアルカリアルミノケイ酸塩ガラスは、1モル%未満のB、例えば、0モル%のBを含む。特定の実施の形態において、そのようなアルカリアルミノケイ酸塩ガラスは、少なくとも約10μmの層の深さまでイオン交換されており、そのアルカリアルミノケイ酸塩ガラスは、ガラスの表面から層の深さまで延在する圧縮層を有し、その圧縮層は、少なくとも約300MPaの圧縮応力下にある。特定の実施の形態において、そのようなアルカリアルミノケイ酸塩ガラスは、NaO、KO、RbO、CsO、MgO、CaO、SrO、BaO、およびZnOからなる群より選択される一価と二価の陽イオン酸化物を含む。非常に特定の実施の形態において、そのようなアルカリアルミノケイ酸塩ガラスは、約40モル%から約70モル%のSiO、約11モル%から約25モル%のAl、約4モル%から約15モル%のP、および約13モル%から約25モル%のNaOを含む。直ぐ上に記載されたガラス組成物から製造されたガラス基板をイオン交換して、ここに記載された請求項に述べられたプロファイルを提供することができる。
1つ以上の実施の形態において、米国特許出願公開第2015/0239775号明細書に記載されたガラス組成物を使用して、ここに記載されたような被覆ガラス系物品を提供するために被覆できるガラス基板を製造してもよい。米国特許出願公開第2015/0239775号明細書には、表面から比較的浅い深さまで延在し、急勾配を有する第1の部分、およびその浅い深さから圧縮深さまで延在する第2の部分の2つの線形部分を含む圧縮応力プロファイルを有するガラス物品が記載されている。
イオン交換過程は、典型的に、ガラス中のより小さいイオンと交換されるべきより大きいイオンを含有する溶融塩浴中にガラス系物品を浸漬することによって行われる。以下に限られないが、浴の組成と温度、浸漬時間、1つの塩浴(または複数の塩浴)中のガラスの浸漬回数、多数の塩浴の使用、徐冷、洗浄などの追加の工程を含む、イオン交換過程のパラメータは、一般に、ガラスの組成および強化操作により生じるガラスの所望の層の深さと圧縮応力により決定されることが当業者に認識されるであろう。一例として、アルカリ金属を含有するガラスのイオン交換は、以下に限られないが、より大きいアルカリ金属イオンの硝酸塩、硫酸塩、および塩化物などの塩を含有する少なくとも1つの溶融浴中の浸漬により行うことができる。溶融塩浴の温度は、典型的に、約380℃から約450℃の範囲にある一方で、浸漬時間は、約15分から約40時間に及ぶ。しかしながら、先に記載したものと異なる温度および浸漬時間も使用してよい。
それに加え、複数の浸漬の間に洗浄工程および/または徐冷工程が行われる、多数のイオン交換浴中にガラスが浸漬されるイオン交換過程の非限定例が、異なる濃度の複数の塩浴中の浸漬を含む多数の連続したイオン交換処理によって、ガラスが強化される、2008年7月11日に出願された米国仮特許出願第61/079995号からの優先権を主張する、「Glass with Compressive Surface for Consumer Applications」と題する、2013年10月22日に発行されたDouglas C. Allan等による米国特許第8561429号明細書、およびガラスが、流出イオンにより希釈された第1の浴中のイオン交換と、その後の、第1の浴より小さい濃度の流出イオンを有する第2の浴中の浸漬とにより強化される、2008年7月29日に出願された米国仮特許出願第61/084398号からの優先権を主張する、「Dual Stage Ion Exchange for Chemical Strengthening of Glass」と題する、2012年11月20日に発行された、Christopher M. Lee等による米国特許第8312739号明細書に記載されている。米国特許第8561429号、および同第8312739号の各明細書が、ここに全て引用される。
圧縮応力は、例えば、ガラス系物品の外側領域中の複数の第1の金属イオンが、その外側領域が複数の第2の金属イオンを含むようにその複数の第2の金属イオンと交換される、本明細書中に先に記載されたイオン交換過程によって、ガラス系物品を化学強化することによって生じる。第1の金属イオンの各々は第1のイオン半径を有し、第2の金属イオンの各々は第2のイオン半径を有する。第2のイオン半径は第1のイオン半径より大きく、外側領域内のより大きい第2のアルカリ金属イオンの存在により、外側領域に圧縮応力が生じる。
第1の金属イオンおよび第2の金属イオンの少なくとも一方は、アルカリ金属のイオンである。第1のイオンは、リチウム、ナトリウム、カリウム、およびルビジウムのイオンであることがある。第2の金属イオンは、第2のアルカリ金属イオンが第1のアルカリ金属イオンのイオン半径よりも大きいイオン半径を有するという条件で、ナトリウム、カリウム、ルビジウム、およびセシウムの内の1つのイオンであることがある。
ここに開示された被覆ガラス系物品は、ディスプレイを備えた物品(またはディスプレイ物品)(例えば、携帯電話、タブレット、コンピュータ、ナビゲーションシステムなどを含む家庭用電化製品)、建築物品、輸送物品(例えば、自動車、列車、航空機、船舶など)、電化製品、またはある程度の透明性、耐引掻性、耐摩耗性またはその組合せを必要とする任意の物品などの別の物品に組み込まれることがある。ここに開示された被覆ガラス系物品のいずれかを組み込んだ例示の物品が、図19Aおよび19Bに示されている。詳しくは、図19Aおよび19Bは、前面1904、背面1906、および側面1908を有する筐体1902;その筐体内に少なくとも部分的に内部にあるまたは完全に中にある電気部品(図示せず)であって、少なくとも、制御装置、メモリ、および筐体の前面にまたはそれに隣接したディスプレイ1910を含む電気部品;およびディスプレイ上にあるように、筐体の前面またはその上にあるカバー基板1912を備えた家庭用電子機器1900を示している。いくつかの実施の形態において、カバー基板1912は、ここに開示された被覆ガラス系物品のいずれを含んでもよい。
先の記載は様々な実施の形態に関するが、本開示の他の実施の形態とさらに別の実施の形態も、その基本的な範囲から逸脱せずに考案することができ、その範囲は、以下の特許請求の範囲によって決定される。
以下、本発明の好ましい実施形態を項分け記載される。
実施形態1
被覆ガラス系物品において、
約0.1ミリメートルから3ミリメートルの範囲の基板厚(t)を規定する、第1の表面および該第1の表面と反対の第2の表面を有するガラス系基板であって、該ガラス系基板は、該ガラス系基板の該第1の表面で第1の圧縮応力CS極大値を、該第1の表面から少なくとも25μmの深さで第2の局所CS極大値を有する、圧縮深さ(DOC)まで延在する圧縮領域を有し、基板のヤング率値を有するガラス系基板、および
前記第2の表面上のコーティングであって、前記基板のヤング率値より大きいコーティングのヤング率値を有するコーティング、
を備えた、被覆ガラス系物品。
実施形態2
前記ガラス系基板は、第一面と第二面を有するガラス系コア基板を含み、該ガラス系コア基板はガラス系の第1のクラッド基板およびガラス系の第2のクラッド基板の間に挟まれており、共有結合によって、該第1のクラッド基板は前記第一面に結合され、該第2のクラッド基板は前記第二面に結合されている、実施形態1に記載の被覆ガラス系物品。
実施形態3
前記コア基板が第1のガラス組成物から作られ、前記第1のクラッド基板および前記第2のクラッド基板の各々が第2のガラス組成物から作られ、該第1のガラス組成物が該第2のガラス組成物とは異なる、実施形態2に記載の被覆ガラス系物品。
実施形態4
前記第1のガラス組成物が第1のイオン拡散性を有し、前記第2のガラス組成物の各々が第2のイオン拡散性を有し、該第1のイオン拡散性と該第2のイオン拡散性が異なる、実施形態3に記載の被覆ガラス系物品。
実施形態5
前記第1のガラス組成物が第1の熱膨張係数(CTE)を有し、前記第2のガラス組成物の各々が第2の熱膨張係数(CTE)を有し、該第1のCTEと該第2のCTEが異なる、実施形態3または4に記載の被覆ガラス系物品。
実施形態6
前記第2のCTEが、前記第1のクラッド基板と前記第2のクラッド基板に圧縮応力を与えるように前記第1のCTEより低い、実施形態5に記載の被覆ガラス系物品。
実施形態7
前記コア基板が第1の応力プロファイルを有し、前記第1のクラッド基板および前記第2のクラッド基板の各々が第2の応力プロファイルを有し、該第1の応力プロファイルが該第2の応力プロファイルと異なる、実施形態3から6いずれか1つに記載の被覆ガラス系物品。
実施形態8
前記第1のガラス組成物が第1のヤング率値を有し、前記第2のガラス組成物が第2のヤング率値を有し、該第1のヤング率値と該第2のヤング率値が異なり、前記コーティングのヤング率値が該第2のヤング率値より大きい、実施形態3から7いずれか1つに記載の被覆ガラス系物品。
実施形態9
前記第2のヤング率値が前記第1のヤング率値より大きい、実施形態8に記載の被覆ガラス系物品。
実施形態10
前記第2のヤング率値が前記第1のヤング率値より小さい、実施形態8に記載の被覆ガラス系物品。
実施形態11
前記ガラス系物品が、前記第1の表面からの深さに対する圧縮応力を有して、全ての点が比較的急な正接を有する第1の部分、および全ての点が、前記比較的急な正接と比べて比較的浅い正接を有する第2の部分を含む応力プロファイルを提供する、実施形態1から10いずれか1つに記載の被覆ガラス系物品。
実施形態12
前記比較的浅い正接に対する前記急な正接の比が2より大きい、実施形態11に記載の被覆ガラス系物品。
実施形態13
前記急な正接が10MPa/マイクロメートルから20MPa/マイクロメートルの範囲の絶対値を有し、前記浅い正接が0.5MPa/マイクロメートルから2MPa/マイクロメートルの範囲の絶対値を有する、実施形態11または12に記載の被覆ガラス系物品。
実施形態14
前記コーティングが、約80ナノメートルから10マイクロメートルの範囲のコーティング厚(t)を有する、実施形態11から13いずれか1つに記載の被覆ガラス系物品。
実施形態15
前記基板のヤング率値が60GPaから80GPaの範囲にあり、前記コーティングのヤング率値が70GPaから400GPaの範囲にある、実施形態1から14いずれか1つに記載の被覆ガラス系物品。
実施形態16
前記コーティングのヤング率値が100GPaから300GPaの範囲にある、実施形態1から15いずれか1つに記載の被覆ガラス系物品。
実施形態17
前記コーティングが、Al、Mn、AlO、Si、SiO、SiAl、ダイヤモンド、ダイヤモンド状炭素、Si、Si、ZrO、TiO、およびその組合せから選択される耐引掻性コーティングである、実施形態1から16いずれか1つに記載の被覆ガラス系物品。
実施形態18
前記物品が、前記コーティングに始まる傷からの前記ガラス系物品の破損を防ぐための曲げ強度を提供するのに十分な前記第1の表面での第1の最大圧縮応力を持つ圧縮応力プロファイルを有する、実施形態1から17いずれか1つに記載の被覆ガラス系物品。
実施形態19
前記第1の最大圧縮応力が、800MPaから1200MPaの範囲にある、実施形態18に記載の被覆ガラス系物品。
実施形態20
被覆ガラス系物品において、
第1の表面および第2の表面を有する強化済みガラス系コア基板、
前記第1の表面に直接結合して第1のコア・クラッド界面を提供する第3の表面を有する化学強化されたガラス系の第1のクラッド基板、および
前記第2の表面に直接結合して第2のコア・クラッド界面を提供する第4の表面を有する化学強化されたガラス系の第2のクラッド基板、
を備え、
前記コア基板は、該コア基板と前記第1のクラッド基板との間に高分子なく、また該コア基板と前記第2のクラッド基板との間に高分子なく、該第1のクラッド基板および該第2のクラッド基板に結合されており、該コア基板は第1のガラス組成物から作られ、該第1のクラッド基板および該第2のクラッド基板の各々は第2のガラス組成物から作られ、該第1のガラス組成物は該第2のガラス組成物と異なり、該第1のガラス組成物は第1のヤング率値を有し、該第2のガラス組成物は第2のヤング率値を有し、前記ガラス系物品は、前記第1のクラッド基板上に第1のコーティングを備え、該第1のコーティングは、第1のコーティングのヤング率値を有するように選択された材料から作られ、該第1のコーティングのヤング率値は前記第2のヤング率値より大きい、被覆ガラス系物品。
実施形態21
前記第2のクラッド基板上に第2のコーティングをさらに備え、該第2のコーティングは、第2のコーティングのヤング率値を有するように選択された材料から作られ、該第2のコーティングのヤング率値は前記第2のヤング率値より大きい、実施形態20に記載の被覆ガラス系物品。
実施形態22
前記強化済みコア基板が化学強化されており、前記第1のクラッド基板が、深い傷からの破損に抵抗するように最適化された応力プロファイルを有する、実施形態20または21に記載の被覆ガラス系物品。
実施形態23
前記第1のクラッド基板が第5の表面を有し、前記ガラス系物品が、前記第1のコーティングに始まる傷からの該ガラス系物品の破損を防ぐための曲げ強度を提供するのに十分な該第5の表面での第1の最大圧縮応力を持つ圧縮応力プロファイルを有する、実施形態22に記載の被覆ガラス系物品。
実施形態24
前記第1の最大圧縮応力が、500MPaから1200MPaの範囲にある、実施形態23に記載の被覆ガラス系物品。
実施形態25
前記第1の最大圧縮応力が、800MPaから1200MPaの範囲にある、実施形態24に記載の被覆ガラス系物品。
実施形態26
前記第2のクラッド基板が第6の表面を有し、前記第5の表面および該第6の表面が、被覆前に約0.1ミリメートルから3ミリメートルの範囲の厚さを規定する、実施形態23から25いずれか1つに記載の被覆ガラス系物品。
実施形態27
前記第1のコーティングが5ナノメートルから5マイクロメートルの範囲の厚さを有する、実施形態23から26いずれか1つに記載の被覆ガラス系物品。
実施形態28
前記第1のコーティングが10ナノメートルから2マイクロメートルの範囲の厚さを有する、実施形態27に記載の被覆ガラス系物品。
実施形態29
前記第1のコーティングが、シリカ、インジウムスズ酸化物、酸窒化アルミニウム、多孔質シリカ、ガラスセラミックまたはセラミックからなる群より選択される、実施形態23から28いずれか1つに記載の被覆ガラス系物品。
実施形態30
前記ガラス系基板がイオン交換可能なアルカリアルミノケイ酸塩ガラス組成物から作られる、実施形態23から29いずれか1つに記載の被覆ガラス系物品。
実施形態31
前記ガラス系基板がイオン交換可能なアルカリアルミノホウケイ酸塩ガラス組成物から作られる、実施形態30に記載の被覆ガラス系物品。
実施形態32
前記第1のクラッド基板の厚さが、25から150マイクロメートルの範囲の亀裂の安定な亀裂成長を促進するように選択される、実施形態20から31いずれか1つに記載の被覆ガラス系物品。
実施形態33
被覆ガラス系物品を製造する方法において、
第1のクラッド基板のヤング率値を有するガラス系の第1のクラッド基板を強化済みのガラス系コア基板の第一面に結合させる工程、
ガラス系の第2のクラッド基板を前記強化済みのガラス系コア基板の第二面に共有結合させる工程、
前記第1のクラッド基板および前記第2のクラッド基板を化学強化する工程、および
コーティングのヤング率値を有するコーティングを前記第1のクラッド基板に施す工程であって、該コーティングのヤング率値が前記第1のクラッド基板のヤング率値より大きい工程、
を有してなる方法。
実施形態34
前記ガラス系コア基板が化学強化されており、前記第1のクラッド基板を化学強化する工程が、該第1のクラッド基板を前記コア基板に結合させる工程の後に行われ、前記第2のクラッド基板を化学強化する工程が、該第2のクラッド基板を前記コア基板に結合させる工程の後に行われる、実施形態33に記載の方法。
実施形態35
前記コア基板は第1の結合面および該第1の結合面と反対の第2の結合面を有し、前記第1のクラッド基板は第3の結合面を有し、前記第2のクラッド基板は第4の結合面を有し、
前記方法は、前記コア基板、前記第1のクラッド基板および前記第2のクラッド基板を洗浄して、前記第1の結合面、前記第2の結合面、前記第3の結合面および前記第4の結合面上にヒドロキシル基を提供する工程、および
前記第1の結合面を前記第3の結合面に接触するように配置し、前記第2の結合面を前記第4の結合面と接触するように配置して、積層板積層体を提供する工程、
をさらに含む、実施形態34に記載の方法。
実施形態36
前記積層板積層体を加熱する工程をさらに含む、実施形態35に記載の方法。
実施形態37
前記積層板積層体を加熱する工程は、前記第1の結合面と前記第3の結合面との間に共有結合を、前記第2の結合面と前記第4の結合面との間に共有結合を形成するのに十分な時間に亘り十分な温度に加熱する工程を含み、前記共有結合が、高分子または接着剤を含まずに形成される、実施形態36に記載の方法。
実施形態38
前記積層板積層体を少なくとも30分の期間に亘り少なくとも約400℃の温度に加熱する工程をさらに含む、実施形態36に記載の方法。
実施形態39
前記第1のクラッド基板および前記第2のクラッド基板を化学強化する工程をさらに含む、実施形態38に記載の方法。
実施形態40
家庭用電子機器において、
前面、背面、および側面を有する筐体、
前記筐体内に少なくとも部分的に内部にある電気部品であって、少なくとも、制御装置、メモリ、および前記筐体の前面にまたはそれに隣接したディスプレイを含む電気部品、および
実施形態1から19いずれか1つに記載の被覆ガラス系物品、
を備えた家庭用電子機器。
実施形態41
家庭用電子機器において、
前面、背面、および側面を有する筐体、
前記筐体内に少なくとも部分的に内部にある電気部品であって、少なくとも、制御装置、メモリ、および前記筐体の前面にまたはそれに隣接したディスプレイを含む電気部品、および
実施形態20から32いずれか1つに記載の被覆ガラス系物品、
を備えた家庭用電子機器。
10、210 ガラス系基板
50 圧縮応力領域内の亀裂
55 外面
60 圧縮応力領域
80 中央張力領域
90 中央張力領域中に貫通する亀裂
100 被覆ガラス系物品
110 コア基板
115、228 第1の表面
120、221 第1のクラッド基板
122 第3の表面
125 第1のコア・クラッド界面
135、248 第2の表面
140、241 第2のクラッド基板
142 第4の表面
145 第2のコア・クラッド界面
160 第1のコーティング
180 第2のコーティング
200、410 ガラス系物品
211 ガラス系コア基板
212 第一面
214 第二面
215、242 層の深さ
220 圧縮領域
240 第2の圧縮領域
260 コーティング
400 リング・オン・リング機械式試験装置
420 底部リング
430 上部リング
1900 家庭用電子機器
1902 筐体
1904 前面
1906 背面
1908 側面
1910 ディスプレイ
1912 カバー基板

Claims (15)

  1. 被覆ガラス系物品において、
    約0.1ミリメートルから3ミリメートルの範囲の基板厚(t)を規定する、第1の表面および該第1の表面と反対の第2の表面を有するガラス系基板であって、該ガラス系基板は、該ガラス系基板の該第1の表面で第1の圧縮応力CS極大値を、該第1の表面から少なくとも25μmの深さで第2の局所CS極大値を有する、圧縮深さ(DOC)まで延在する圧縮領域を有し、基板のヤング率値を有するガラス系基板、および
    前記第1の表面上のコーティングであって、前記基板のヤング率値より大きいコーティングのヤング率値を有するコーティング、
    を備え、
    前記被覆ガラス系物品は、前記第1の表面からの深さに対する圧縮応力を有して、全ての点が比較的急な正接を有する第1の部分、および全ての点が、前記比較的急な正接と比べて比較的浅い正接を有する第2の部分を含む応力プロファイルを提供し、前記比較的急な正接が、10MPa/マイクロメートルから20Mpa/マイクロメートルの範囲の絶対値を有する、被覆ガラス系物品。
  2. 前記ガラス系基板は、第一面と第二面を有するガラス系コア基板を含み、該ガラス系コア基板はガラス系の第1のクラッド基板およびガラス系の第2のクラッド基板の間に挟まれており、共有結合によって、該第1のクラッド基板は前記第一面に結合され、該第2のクラッド基板は前記第二面に結合されている、請求項1記載の被覆ガラス系物品。
  3. 前記比較的浅い正接に対する前記比較的急な正接の比が2より大きい、請求項2記載の被覆ガラス系物品。
  4. 記比較的浅い正接が0.5MPa/マイクロメートルから2MPa/マイクロメートルの範囲の絶対値を有する、請求項1から3いずれか1項記載の被覆ガラス系物品。
  5. 前記コーティングが、Al 、AlO、Si、SiO、SiAl、ダイヤモンド、ダイヤモンド状炭素、Si、Si、ZrO、TiO、およびその組合せから選択される耐引掻性コーティングである、請求項1から4いずれか1項記載の被覆ガラス系物品。
  6. 前記物品が、前記コーティングに始まる傷からの前記ガラス系物品の破損を防ぐための曲げ強度を提供するのに十分な前記第1の表面での第1の最大圧縮応力を持つ圧縮応力プロファイルを有する、請求項1から5いずれか1項記載の被覆ガラス系物品。
  7. 被覆ガラス系物品において、
    第1の表面および第2の表面を有する強化済みガラス系コア基板、
    前記第1の表面に直接結合して第1のコア・クラッド界面を提供する第3の表面および前記第3の表面の反対側に第4の表面を有する化学強化されたガラス系の第1のクラッド基板、
    前記第2の表面に直接結合して第2のコア・クラッド界面を提供する第5の表面を有する化学強化されたガラス系の第2のクラッド基板、および、
    前記第1のクラッド基板上に第1のコーティング、
    を備え、
    前記化学強化されたガラス系の第1のクラッド基板は、該化学強化されたガラス系の第1のクラッド基板の前記第3の表面で第1の圧縮応力CS極大値を、前記第4の表面から少なくとも25μmの深さで第2の局所CS極大値を有する、圧縮深さ(DOC)まで延在する圧縮領域を有し、
    前記コア基板は、該コア基板と前記第1のクラッド基板との間に高分子なく、また該コア基板と前記第2のクラッド基板との間に高分子なく、該第1のクラッド基板および該第2のクラッド基板に結合されており、該コア基板は第1のガラス組成物から作られ、該第1のクラッド基板および該第2のクラッド基板の各々は第2のガラス組成物から作られ、該第1のガラス組成物は該第2のガラス組成物と異なり、該第1のガラス組成物は第1のヤング率値を有し、該第2のガラス組成物は第2のヤング率値を有し
    前記第1のコーティングは、第1のコーティングのヤング率値を有するように選択された材料から作られ、該第1のコーティングのヤング率値は前記第2のヤング率値より大きい、被覆ガラス系物品。
  8. 前記ガラス系物品は、前記第5の表面からの深さに対する圧縮応力を有して、全ての点が比較的急な正接を有する第1の部分、および全ての点が、前記比較的急な正接と比べて比較的浅い正接を有する第2の部分を含む応力プロファイルを提供し、前記比較的急な正接が、10MPa/マイクロメートルから20Mpa/マイクロメートルの範囲の絶対値を有する、請求項7記載の被覆ガラス系物品。
  9. 前記第2のクラッド基板上に第2のコーティングをさらに備え、該第2のコーティングは、第2のコーティングのヤング率値を有するように選択された材料から作られ、該第2のコーティングのヤング率値は前記第2のヤング率値より大きい、請求項7または8記載の被覆ガラス系物品。
  10. 前記強化済みコア基板が化学強化されており、前記第1のクラッド基板が、深い傷からの破損に抵抗するように最適化された応力プロファイルを有する、請求項7から9いずれか1項記載の被覆ガラス系物品。
  11. 前記第1のクラッド基板が第5の表面を有し、前記ガラス系物品が、前記第1のコーティングに始まる傷からの該ガラス系物品の破損を防ぐための曲げ強度を提供するのに十分な該第5の表面での第1の最大圧縮応力を持つ圧縮応力プロファイルを有する、請求項10記載の被覆ガラス系物品。
  12. 前記第1のコーティングが、シリカ、インジウムスズ酸化物、酸窒化アルミニウム、多孔質シリカ、ガラスセラミックまたはセラミックからなる群より選択される、請求項11記載の被覆ガラス系物品。
  13. 家庭用電子機器において、
    前面、背面、および側面を有する筐体、
    前記筐体内に少なくとも部分的に内部にある電気部品であって、少なくとも、制御装置、メモリ、および前記筐体の前面にまたはそれに隣接したディスプレイを含む電気部品、および
    請求項1から12いずれか1項記載の被覆ガラス系物品、
    を備えた家庭用電子機器。
  14. 被覆ガラス系物品を製造する方法において、
    第1のクラッド基板のヤング率値を有するガラス系の第1のクラッド基板を強化済みのガラス系コア基板の第一面に結合させる工程、
    ガラス系の第2のクラッド基板を前記強化済みのガラス系コア基板の第二面に共有結合させる工程、
    前記第1のクラッド基板および前記第2のクラッド基板を化学強化する工程であって、該ガラス系第1のクラッド基板は、該ガラス系第1のクラッド基板の表面で第1の圧縮応力CS極大値を、該表面から少なくとも25μmの深さで第2の局所CS極大値を有する、圧縮深さ(DOC)まで延在する圧縮領域を有する工程、および
    コーティングのヤング率値を有するコーティングを前記第1のクラッド基板に施す工程であって、該コーティングのヤング率値が前記第1のクラッド基板のヤング率値より大きい工程、
    を有してなる方法。
  15. 前記被覆ガラス系物品は、該被覆ガラス系物品の表面からの深さに対する圧縮応力を有して、全ての点が比較的急な正接を有する第1の部分、および全ての点が、前記比較的急な正接と比べて比較的浅い正接を有する第2の部分を含む応力プロファイルを提供し、前記比較的急な正接が、10MPa/マイクロメートルから20Mpa/マイクロメートルの範囲の絶対値を有する、請求項14記載の方法。
JP2019559001A 2017-01-18 2018-01-16 応力プロファイルが操作された被覆ガラス系物品およびその製造方法 Active JP7127058B2 (ja)

Applications Claiming Priority (3)

Application Number Priority Date Filing Date Title
US201762447562P 2017-01-18 2017-01-18
US62/447,562 2017-01-18
PCT/US2018/013779 WO2018136388A1 (en) 2017-01-18 2018-01-16 Coated glass-based articles with engineered stress profiles and methods of manufacture

Publications (2)

Publication Number Publication Date
JP2020514242A JP2020514242A (ja) 2020-05-21
JP7127058B2 true JP7127058B2 (ja) 2022-08-29

Family

ID=61683884

Family Applications (1)

Application Number Title Priority Date Filing Date
JP2019559001A Active JP7127058B2 (ja) 2017-01-18 2018-01-16 応力プロファイルが操作された被覆ガラス系物品およびその製造方法

Country Status (7)

Country Link
US (1) US11254607B2 (ja)
EP (1) EP3571170B1 (ja)
JP (1) JP7127058B2 (ja)
KR (1) KR102501762B1 (ja)
CN (1) CN110446691B (ja)
TW (1) TWI806849B (ja)
WO (1) WO2018136388A1 (ja)

Families Citing this family (19)

* Cited by examiner, † Cited by third party
Publication number Priority date Publication date Assignee Title
US11097974B2 (en) 2014-07-31 2021-08-24 Corning Incorporated Thermally strengthened consumer electronic glass and related systems and methods
US12338159B2 (en) 2015-07-30 2025-06-24 Corning Incorporated Thermally strengthened consumer electronic glass and related systems and methods
JP6923555B2 (ja) 2016-01-12 2021-08-18 コーニング インコーポレイテッド 薄厚熱強化及び化学強化ガラス系物品
NL2020896B1 (en) 2018-05-08 2019-11-14 Corning Inc Water-containing glass-based articles with high indentation cracking threshold
TWI785156B (zh) 2017-11-30 2022-12-01 美商康寧公司 具有高熱膨脹係數及對於熱回火之優先破裂行為的非離子交換玻璃
WO2020102147A2 (en) * 2018-11-16 2020-05-22 Corning Incorporated Laminated glass articles comprising a hydrogen-containing glass core layer and methods of forming the same
TWI891613B (zh) 2018-11-16 2025-08-01 美商康寧公司 用於透過蒸氣處理而強化之玻璃成分及方法
CN113727954A (zh) 2019-04-23 2021-11-30 康宁股份有限公司 具有确定的应力分布曲线的玻璃层叠物及其制作方法
US12122711B2 (en) 2019-05-16 2024-10-22 Corning Incorporated Steam strengthenable glass compositions with low phosphorous content
CN117361875A (zh) 2019-05-16 2024-01-09 康宁股份有限公司 具有蒸汽处理雾度抗性的玻璃组合物及其方法
WO2020231959A1 (en) 2019-05-16 2020-11-19 Corning Incorporated Glasses with modified young's modulus profile
WO2021025981A1 (en) 2019-08-06 2021-02-11 Corning Incorporated Glass laminate with buried stress spikes to arrest cracks and methods of making the same
GB202012825D0 (en) 2020-05-12 2020-09-30 Corning Inc Fusion formable and steam strengthenable glass compositions with platinum compatibility
WO2022066574A1 (en) * 2020-09-25 2022-03-31 Corning Incorporated Stress profiles of glass-based articles having improved drop performance
CN121517104A (zh) * 2020-09-25 2026-02-13 康宁股份有限公司 具有改善的掉落性能的玻璃基制品的应力分布曲线
US20230173895A1 (en) * 2021-12-06 2023-06-08 Corning Incorporated Glass with unique fracture behavior for vehicle windshield
CN116278241A (zh) * 2023-02-16 2023-06-23 湖南兆湘光电高端装备研究院有限公司 一种耐刮擦层压玻璃制品及其制备方法和应用
TWI890424B (zh) * 2024-01-23 2025-07-11 欣興電子股份有限公司 基板結構及其製作方法
US12362237B1 (en) * 2024-04-05 2025-07-15 Wolfspeed, Inc. Fill-in planarization system and method

Citations (8)

* Cited by examiner, † Cited by third party
Publication number Priority date Publication date Assignee Title
JP2014521582A (ja) 2011-07-25 2014-08-28 コーニング インコーポレイテッド 積層及びイオン交換により強化されたガラス積層品及びその作製方法
JP2015511573A (ja) 2012-02-29 2015-04-20 コーニング インコーポレイテッド 非誤差関数圧縮応力プロファイルによるイオン交換ガラス
WO2016037787A1 (de) 2014-09-12 2016-03-17 Schott Ag Beschichtetes chemisch vorgespanntes flexibles dünnes glas
WO2016057590A1 (en) 2014-10-07 2016-04-14 Corning Incorporated Glass article with determined stress profile and method of producing the same
JP2016177992A (ja) 2015-03-20 2016-10-06 コニカミノルタ株式会社 有機エレクトロルミネッセンス素子の製造方法及び有機エレクトロルミネッセンス素子
JP2016533316A (ja) 2013-09-13 2016-10-27 コーニング インコーポレイテッド 耐破壊性を有する多層基体、および耐破壊性を有する多層基体を含む物品
JP2016538224A (ja) 2013-11-25 2016-12-08 コーニング インコーポレイテッド ガラスにおいてある応力プロファイルを達成するための方法
JP2016540720A (ja) 2014-01-29 2016-12-28 コーニング インコーポレイテッド 屈曲可能なガラススタックアセンブリ、物品およびその製造方法

Family Cites Families (16)

* Cited by examiner, † Cited by third party
Publication number Priority date Publication date Assignee Title
JP2011527661A (ja) 2008-07-11 2011-11-04 コーニング インコーポレイテッド 民生用途のための圧縮面を有するガラス
EP2321230A4 (en) 2008-07-29 2012-10-10 Corning Inc TWO-STAGE ION EXCHANGE FOR GLASS CHEMICAL REINFORCEMENT
US8439808B2 (en) 2008-09-08 2013-05-14 Brian H Hamilton Bicycle trainer with variable resistance to pedaling
TWM359148U (en) 2009-01-05 2009-06-11 Samya Technology Co Ltd Universal battery charger
CN103338926B (zh) 2010-11-30 2016-03-02 康宁股份有限公司 表面和中心区域处于压缩状态的玻璃
US8765262B2 (en) 2011-11-16 2014-07-01 Corning Incorporated Ion exchangeable glass with high crack initiation threshold
US8854623B2 (en) 2012-10-25 2014-10-07 Corning Incorporated Systems and methods for measuring a profile characteristic of a glass sample
US9212081B2 (en) * 2012-11-21 2015-12-15 Corning Incorporated Methods of cutting a laminate strengthened glass substrate
TWI647194B (zh) * 2013-06-14 2019-01-11 美商.康寧公司 具抗刮損表面之積層玻璃製品
US11079309B2 (en) * 2013-07-26 2021-08-03 Corning Incorporated Strengthened glass articles having improved survivability
US9517968B2 (en) 2014-02-24 2016-12-13 Corning Incorporated Strengthened glass with deep depth of compression
US10579106B2 (en) * 2015-07-21 2020-03-03 Corning Incorporated Glass articles exhibiting improved fracture performance
US11059744B2 (en) * 2016-06-14 2021-07-13 Corning Incorporated Glasses having improved drop performance
US10934209B2 (en) * 2016-10-13 2021-03-02 Corning Incorporated Glass-based articles having improved fracture performance
CN110446604B (zh) 2017-01-18 2022-09-23 康宁股份有限公司 具有工程应力分布的基于玻璃的制品及制造方法
TWI749160B (zh) 2017-01-31 2021-12-11 美商康寧公司 具有工程應力分佈的塗層玻璃基底製品及包含其之消費性電子產品

Patent Citations (8)

* Cited by examiner, † Cited by third party
Publication number Priority date Publication date Assignee Title
JP2014521582A (ja) 2011-07-25 2014-08-28 コーニング インコーポレイテッド 積層及びイオン交換により強化されたガラス積層品及びその作製方法
JP2015511573A (ja) 2012-02-29 2015-04-20 コーニング インコーポレイテッド 非誤差関数圧縮応力プロファイルによるイオン交換ガラス
JP2016533316A (ja) 2013-09-13 2016-10-27 コーニング インコーポレイテッド 耐破壊性を有する多層基体、および耐破壊性を有する多層基体を含む物品
JP2016538224A (ja) 2013-11-25 2016-12-08 コーニング インコーポレイテッド ガラスにおいてある応力プロファイルを達成するための方法
JP2016540720A (ja) 2014-01-29 2016-12-28 コーニング インコーポレイテッド 屈曲可能なガラススタックアセンブリ、物品およびその製造方法
WO2016037787A1 (de) 2014-09-12 2016-03-17 Schott Ag Beschichtetes chemisch vorgespanntes flexibles dünnes glas
WO2016057590A1 (en) 2014-10-07 2016-04-14 Corning Incorporated Glass article with determined stress profile and method of producing the same
JP2016177992A (ja) 2015-03-20 2016-10-06 コニカミノルタ株式会社 有機エレクトロルミネッセンス素子の製造方法及び有機エレクトロルミネッセンス素子

Also Published As

Publication number Publication date
WO2018136388A1 (en) 2018-07-26
TW201837006A (zh) 2018-10-16
CN110446691B (zh) 2022-07-08
US20190367408A1 (en) 2019-12-05
JP2020514242A (ja) 2020-05-21
EP3571170A1 (en) 2019-11-27
EP3571170B1 (en) 2022-08-31
KR102501762B1 (ko) 2023-02-20
KR20190104605A (ko) 2019-09-10
TWI806849B (zh) 2023-07-01
CN110446691A (zh) 2019-11-12
US11254607B2 (en) 2022-02-22

Similar Documents

Publication Publication Date Title
JP7127058B2 (ja) 応力プロファイルが操作された被覆ガラス系物品およびその製造方法
JP7129997B2 (ja) 応力プロファイルが操作されたガラス系物品およびその製造方法
US11028014B2 (en) Coated glass-based articles with engineered stress profiles
EP3849951A1 (en) Glass-based articles with improved fracture resistance
US11968794B2 (en) Glass-based articles having crack resistant stress profiles
US11560332B2 (en) Glass-based articles with engineered stress profiles and methods of manufacture

Legal Events

Date Code Title Description
A521 Request for written amendment filed

Free format text: JAPANESE INTERMEDIATE CODE: A523

Effective date: 20191004

A621 Written request for application examination

Free format text: JAPANESE INTERMEDIATE CODE: A621

Effective date: 20210118

A977 Report on retrieval

Free format text: JAPANESE INTERMEDIATE CODE: A971007

Effective date: 20211029

A131 Notification of reasons for refusal

Free format text: JAPANESE INTERMEDIATE CODE: A131

Effective date: 20211201

A601 Written request for extension of time

Free format text: JAPANESE INTERMEDIATE CODE: A601

Effective date: 20220301

A521 Request for written amendment filed

Free format text: JAPANESE INTERMEDIATE CODE: A523

Effective date: 20220502

TRDD Decision of grant or rejection written
A01 Written decision to grant a patent or to grant a registration (utility model)

Free format text: JAPANESE INTERMEDIATE CODE: A01

Effective date: 20220720

A61 First payment of annual fees (during grant procedure)

Free format text: JAPANESE INTERMEDIATE CODE: A61

Effective date: 20220817

R150 Certificate of patent or registration of utility model

Ref document number: 7127058

Country of ref document: JP

Free format text: JAPANESE INTERMEDIATE CODE: R150

R250 Receipt of annual fees

Free format text: JAPANESE INTERMEDIATE CODE: R250