JP7121925B2 - 連結装置、連結走行装置及び自律走行装置 - Google Patents

連結装置、連結走行装置及び自律走行装置 Download PDF

Info

Publication number
JP7121925B2
JP7121925B2 JP2018167985A JP2018167985A JP7121925B2 JP 7121925 B2 JP7121925 B2 JP 7121925B2 JP 2018167985 A JP2018167985 A JP 2018167985A JP 2018167985 A JP2018167985 A JP 2018167985A JP 7121925 B2 JP7121925 B2 JP 7121925B2
Authority
JP
Japan
Prior art keywords
claw
self
connection
propelled robot
carriage
Prior art date
Legal status (The legal status is an assumption and is not a legal conclusion. Google has not performed a legal analysis and makes no representation as to the accuracy of the status listed.)
Active
Application number
JP2018167985A
Other languages
English (en)
Other versions
JP2020040459A (ja
Inventor
一範 渡辺
Current Assignee (The listed assignees may be inaccurate. Google has not performed a legal analysis and makes no representation or warranty as to the accuracy of the list.)
Ricoh Co Ltd
Original Assignee
Ricoh Co Ltd
Priority date (The priority date is an assumption and is not a legal conclusion. Google has not performed a legal analysis and makes no representation as to the accuracy of the date listed.)
Filing date
Publication date
Application filed by Ricoh Co Ltd filed Critical Ricoh Co Ltd
Priority to JP2018167985A priority Critical patent/JP7121925B2/ja
Publication of JP2020040459A publication Critical patent/JP2020040459A/ja
Application granted granted Critical
Publication of JP7121925B2 publication Critical patent/JP7121925B2/ja
Active legal-status Critical Current
Anticipated expiration legal-status Critical

Links

Images

Landscapes

  • Handcart (AREA)
  • Platform Screen Doors And Railroad Systems (AREA)

Description

本発明は、連結装置、連結走行装置及び自律走行装置に関するものである。
従来、退避位置から連結位置へと移動することによって連結対象に連結する連結部材を備える連結装置が知られている。
例えば、特許文献1には、連結対象であるカゴ台車に連結部材である爪部材を引掛けて連結する連結装置が記載されている。
特許文献1に記載の連結装置では、連結部材が、退避位置から連結位置まで移動しようとした際に、連結部材が連結対象に載置された荷物等の連結対象以外の物体に接触することがあり、改良の余地があった。
上述した課題を解決するために、本発明は、退避位置から連結位置へと移動することによって連結対象に連結する連結部材を備える連結装置において、前記退避位置から前記連結位置へと前記連結部材が移動する移動経路上の物体の有無を検知する検知手段を備え、前記連結部材が前記退避位置から前記連結位置へと移動する際に前記検知手段の検知領域に前記物体が存在しても、前記検知手段が前記物体の有無を判断しないタイミングを有することを特徴とするものである。
本発明によれば、連結部材が連結対象以外の物体に接触することを防止することが可能となる、という優れた効果がある。
実施形態の自走ロボットとカゴ台車との説明図。 ID表示パネルの説明図、(a)は、ID表示パネルが配置されたカゴ台車の斜視図、(b)は、カラーコードの一例の説明図、(c)は、濃淡バーコードの一例の説明図。 物流倉庫の一例の説明図。 本実施形態の搬送システムを模式的に示す説明図。 自走ロボットが仮置きエリアから保管エリアにカゴ台車を搬送する動作の流れを示すフローチャート。 第二保管エリアの拡大図。 搬送システムの変形例を模式的に示す説明図。 連結装置の説明図、(a)は連結爪が開いた状態の斜視図、(b)は連結爪が閉じた状態の斜視図、(c)は上面図。 連結装置における回動部材とともに固定板材に対して回動する部分の説明図、(a)は斜視図、(b)は上面図。 回動部材に対する磁石の固定方法の説明する連結装置の断面説明図。 連結爪の動作を説明する連結装置の断面説明図、(a)は連結爪が閉じた状態の断面図、(b)は連結爪が開いた状態の断面図。 連結爪の先端形状の説明図、(a)は先端の曲がった部分が一枚の形状の説明図、(b)は先端の曲がった部分が二枚の形状の説明図。 連結爪が閉じた状態の実施例1の連結装置の斜視図。 連結爪が開いた状態の実施例1の連結装置の斜視図。 図14に示す状態の連結装置10の側面図、(a)は連結装置全体の説明図、(b)は連結爪の先端近傍の拡大説明図。 z軸のプラス方向から連結爪及び接触検知センサを見た説明図。 実施例1の連結装置が、カゴ台車に連結した状態を示す側面図。 カゴ台車の荷物にレバーが接触した状態の実施例1の連結装置の側面図。 実施例1の連結装置における連結動作のフローチャート。 実施例2の連結装置が備える連結爪の先端近傍の拡大斜視図。
以下、図面を参照して本発明を適用可能な自律移動装置の実施形態の一例について説明する。
図1は、実施形態の自律移動装置である自走ロボット1と、連結対象であるカゴ台車2との説明図である。
本実施形態は、カゴ台車2のような被牽引台車に自動で接続して、牽引することで、所望の搬送先へ被牽引台車を自動搬送する自走ロボット1のような自律移動装置と、この自走ロボット1を用いた搬送システムに関する実施形態である。
自走ロボット1は、搬送物を積載するカゴ台車2に自動で連結する機能を持った自律移動装置である。これにより、自走ロボット1には積載が可能な構成を持たせることなく、簡易な移動装置によってカゴ台車2を牽引させることで、カゴ台車2に積載された多数の搬送物を搬送させることができる。
自走ロボット1は、装置本体であるロボット本体部100、磁気センサ3、コントローラ4、カメラ5、電力源(バッテリー)6、動力モータ7、モータドライバ8、測域センサ9、連結装置10、駆動車輪71及び従動車輪72等を備える。
磁気センサ3及び測域センサ9は、自走ロボット1の周辺環境を認識する環境認識手段である。
本実施形態の搬送システムでは、自走ロボット1の走行可能な経路の床面に磁気テープを設置し、磁気センサ3を用いて磁気テープを検出することにより自走ロボット1が走行可能な経路上に位置していることを認識することができる。床面にテープを設置する誘導方式としては、磁気テープを用いる構成に限らず、光学テープを用いる構成としてもよい。光学テープを用いる場合は、磁気センサ3の代わりに反射センサやイメージセンサなどが利用できる。
また、本実施形態の搬送システムでは、二次元あるいは三次元地図と測域センサ9の検出結果との照合によって自己位置を認識する自律走行を行うことができる。測域センサ9は物体にレーザー光を照射し、その反射光を受光して物体までの距離を測定するレーザー測域センサである。検出結果と二次元あるいは三次元地図との照合によって自己位置の認識に用いるセンサとしては、ステレオカメラやデプスカメラなども利用できる。
自走ロボット1は、磁気センサ3や測域センサ9の検出結果に基づいてコントローラ4がモータドライバ8を介して動力モータ7の駆動を制御し、動力モータ7が駆動車輪71を回動駆動することで自走ロボット1が自律走行を行う。
カゴ台車2は、カゴ部20を保持する底板22と、四角形状の底板22の四隅に配置されたキャスター23と、カゴ部20の側面に配置されたID表示パネル21とを備える。
所定の場所に置かれたカゴ台車2には認識用のマーカーが表示されたID表示パネル21が取り付けられている。マーカーは、二次元のカラーコード等を用いて、カゴ台車2の識別番号情報、搬送先情報、搬送の優先度情報がコード化されている。
ID表示パネル21は、カゴ台車2に取り付けられており、搬送位置などの情報もしくはテーブル参照によって認識できるID情報を読み取れるようになっている。マーカーのIDの表示方法は一般的なバーコードやQRコード(登録商標)が使える。また、IDとしてカラーコードや、濃淡バーコードによって単位面積当たりの情報量を増やすことで、より遠くから認識できるようになる。
自走ロボット1には、マーカー読取装置が設置されている。マーカー読取装置はID認識手段であるカメラ5と復号部とからなる。本実施形態ではコントローラ4が復号部としての機能を有する。カメラ5の撮影画像からマーカーの特徴の画像認識によってマーカーのコードを認識する。復号部では認識したマーカーのコード情報をデコードすることで、カゴ台車2の認識番号情報、搬送先情報、優先度情報を得る。
本実施形態では、カゴ台車2に設置されたマーカーとして、カラーコードを用いているため、カメラ5を用いて読み取っている。IDを表示するマーカーがバーコードやQRコードの場合は、ID認識手段としてバーコードリーダが使用できる。マーカーが濃淡バーコードの場合はレーザー測域センサの反射強度情報をIDコードに用いることができる。
自走ロボット1は、環境認識手段として、周辺環境との距離を取得する測域センサ9を備える。測域センサ9としては、レーザーレンジファインダ(LRF)等を用いることができる。コントローラ4は、測域センサ9によって位置を認識したID表示パネル21と測域センサ9との距離情報からID表示パネル21の位置座標を算出する。算出したID表示パネル21の位置座標を用いて、コントローラ4が動力モータ7の駆動制御を行うことで、カゴ台車2におけるID表示パネル21正面の所定の位置に自走ロボット1を位置決めする。
カゴ台車2との連結動作を制御するために、カゴ台車2に設置されたID表示パネル21の位置を認識するID表示パネル位置認識手段としては、ID認識手段でID表示パネル21の位置も読み取れる場合には兼用することが出来る。例えば、ID表示パネル21のマーカーのIDとして濃淡バーコードをID認識手段としてレーザー測域センサで読み取る場合は、レーザー測域センサによってID表示パネル21の位置を検出しながらID表示パネル21のIDを読み取ることができる。また、マーカーのIDとしてカラーコードを用いる場合もカメラ5で、ID表示パネル21の位置を検出しながらID表示パネル21のIDを読み取ることができる。
また、濃淡バーコードは、レーザーレンジファインダによる検知が可能であり、レーザーレンジファインダは、高精度なID表示パネル21の位置検出手段及び自律走行のための環境認識センサとしても使用できる。
図2にID表示パネル21の例を示す説明図である。
図2(a)は、カゴ台車2にIDがカラーコードからなるマーカーを表示するID表示パネル21が配置された例の斜視図である。図2(b)はカラーコードの一例の説明図であり、図2(c)は濃淡バーコードの一例の説明図である。
QRコードやカラーコードはバーコードと異なり、カメラを使った読み取りを行うことで、コードのID情報とともにカメラによって撮像された撮像画像に基づいてカメラに対するID表示パネル21の位置情報を同時に取得することができる。このため、読み取る対象物(本実施形態ではID表示パネル21)が置かれている位置を認識することができる。
IDが濃淡バーコードの場合は、レーザー測域センサで読み取ることができる。図2(c)に示す濃淡バーコードは、黒色の濃度の異なる複数種類の線状マークを用いており、それぞれの濃度に対してコード番号が割り当てられている。濃淡バーコードを用いる構成では、コントローラ4に、各濃度の線状マークに対応した反射光の受光強度に対してコード番号を記憶しておき、レーザー測域センサの受光強度に応じて、コード番号を認識する。
レーザー測域センサは、レーザー光の照射部を水平方向に回動し、レーザー光の照射方向を周期的に変化させてレーザー光で周囲を走査し、照射したレーザー光の反射光によってレーザー光を反射した物体までの距離情報を取得することができる。また、レーザー光の照射方向に基づいてレーザー光を反射した物体の位置についてのレーザー測域センサからの角度情報を取得することができる。さらに、反射光の受光強度の変化に基づいて濃淡バーコードを見つけることができる。
濃淡バーコードを見つけたときに、濃淡バーコードの距離情報と角度情報とに基づいて、濃淡バーコードが付されたID表示パネル21とレーザー測域センサとの相対的な位置情報を得ることが出来る。このため、濃淡バーコードをレーザー測域センサで読み取る構成では、レーザー測域センサで取得した情報を、連結時の自走ロボット1の位置決めに用いるフィードバック情報として用いることができる。
自走ロボット1を用いた本実施形態の搬送システムは、物流倉庫などにおける、カゴ台車などのキャスター付き搬送対象を搬送する作業を自動化するものである。
自走ロボット1による搬送動作は、次の(1)~(3)の三つの作業に分割される。
(1)仮置きエリアでの搬送対象の探索および連結。
(2)走行エリアの走行。
(3)保管エリアでの保管場所探索と荷卸し。
図3は、本実施形態の搬送システムを適用することが想定される物流倉庫1000の一例の説明図である。図3に示す物流倉庫1000では、作業者Mが、トラック2000からプラットフォーム1001に荷卸しされた荷物を整列しておき、他の作業者Mがこの荷物をエレベータ1002の前のエリアに搬送して、他階に移送する。この物流倉庫1000では、上記(1)の仮置きエリアは、プラットフォーム1001で荷卸しされた荷物を整列しておく場所が想定される。上記(3)の保管エリアは、エレベータ1002で他階へ移送する場合のエレベータ前エリアが想定される。また、上記(2)の走行エリアは図3中の矢印によって仮置きエリアと保管エリアとの往復経路を示す場所が想定される。
自走ロボット1は、本線動作は床面に設置された磁気テープや光学テープのラインをセンサで認識するライン認識による誘導方式で移動する。また、ラインの横にある番地マークを検出してエリアを判断する。また、ID表示パネル21は搬送エリアの情報と優先順位の情報が含まれている。
図4は、本実施形態の搬送システムを模式的に示す説明図である。
図4に示す搬送システムは、走行エリア50と、仮置きエリアAと、第一保管エリアBと、第二保管エリアCとを備える。走行エリア50には自走ロボット1の誘導用の磁気テープまたは光学テープがライン状に設けられ、自走ロボット1が走行する本線51が設けられている。本線51上には自走ロボット1のスタート位置Sがある。また、走行エリア50における仮置きエリアA、第一保管エリアB及び第二保管エリアCの入り口には、本線51の近傍に番地マーク52が配置されている。
図5は、自走ロボット1が仮置きエリアAから保管エリア(BまたはC)にカゴ台車2を搬送する動作の流れを示すフローチャートである。
まず、本線51上に移動体である自走ロボット1を配置してライン認識できている状態でスタートさせることで、自走ロボット1は本線51に沿った走行を開始する(S1)。本線51を走行中はラインの位置を見て指定速度で走行する。仮置きエリアAの番地マーク52を探索しながら走行し、仮置きエリアAの番地マーク52を検出したら(S2で「Yes」)停止する。
仮置きエリアAの番地マーク52を検出して(S2で「Yes」)停止すると、仮置きエリアAへの進入動作を開始する(S3)。
自走ロボット1は、本線51が設けられた走行エリア50から仮置きエリアAに進入すると、走行しながら、仮置きされているカゴ台車2のID表示パネル21のマーカーを読み取り、カゴ台車2のリストを生成する。このとき、ID、XY座標及び搬送先を記録し、優先順位があれば一緒に記録する。そして、仮置きエリアAの終端の番地マークで走行停止し、生成したカゴ台車2のリストから搬送対象を選定し(S4)、選定した搬送対象のカゴ台車2との連結動作を開始する(S5)。
連結動作では、リスト上のXY座標を元に指定されたカゴ台車2の列まで移動する。ID表示パネル21との相対位置情報を使って、カゴ台車2の手前まで移動する。その後、カゴ台車2に近接したら連結装置10によってカゴ台車2と連結する。搬送対象のカゴ台車2との連結を検知すると(S6で「Yes」)、本線51に戻り(S7)、本線51を走行し(S8)、搬送中のカゴ台車2を保管する保管エリア(BまたはC)の番地マーク52を検出したら(S9で「Yes」)停止する。
保管エリア(BまたはC)の番地マーク52を検出して(S9で「Yes」)停止すると、保管エリア(BまたはC)への進入動作を開始する(S10)。
自走ロボット1は、本線51が設けられた走行エリア50から保管エリア(BまたはC)に進入すると、走行しながら、保管されているカゴ台車2のID表示パネル21のマーカーを読み取り、カゴ台車2のリストを生成する。このとき、IDとXY座標、搬送先、および優先順位があれば一緒に記録する。次に、保管エリア(BまたはC)の終端の番地マークで走行停止し、生成したカゴ台車2のリストから空き番地を探す(S11)。そして、空き番地の中から搬送中のカゴ台車2を車庫入れする番地を選定し(S12)、選定した空き番地への車庫入れ動作を開始する(S13)。
車庫入れ動作では、リスト上のXY座標を元に指定された空き番地の車庫の列まで移動する。その後、指定された空き番地に着いたら搬送中のカゴ台車2との連結を解除する。
連結を解除したら保管エリア(BまたはC)から本線51に戻り、再び仮置きエリアAの探索を開始する。
図6は、第二保管エリアCの拡大図である。図6では、X軸方向が「列方向」であり、Y軸方向が「行方向」である。
仮置きエリアA、保管エリア(BまたはC)は本線51から外れた位置に配置する。エリア内を探索走行するための走行ライン53と停止マーク54とを付けておく。カゴ台車2を置く位置(駐車場55)には、枠線やマークを付けておき、人が置き易くする。自走ロボット1は、仮置きエリアAまたは保管エリア(BまたはC)に進入したら停止マーク54を検知するまで走行ライン53上をライン誘導によって走行する。
このとき、仮置きエリアAでは最初に見つけたカゴ台車2に対して連結する動作を行っても良い。保管エリア(BまたはC)では最初に見つけた空き番地の駐車場55に駐車するように制御しても良い。
自走ロボット1は、移動しながら測域センサ9を使って置いてあるカゴ台車2を探索しリスト化し、停止マーク54を見つけたら停止して、連結対象のカゴ台車2または車庫入れを行う番地(駐車場55)を選定する。
連結の場合は、リスト化されたXY座標に移動を始めるが、番地の列方向に移動してから、90[°]旋回して、真っ直ぐに連結対象のカゴ台車2に接近していくと、連結動作がし易い。連結に際しては、ID表示パネル21との相対位置情報を用いて自走ロボット1の走行を制御することで、精度の高い位置決めができる。また、環境地図を使った自律走行を行っている場合には、連結対象のカゴ台車2を環境地図のデータ上に配置して、その座標を元に走行制御しても良い。
車庫入れ動作の場合は、駐車場55の番地のXY座標に位置決めするように環境認識をしながら移動しても良いし、位置決め用のラインを敷設して、ラインによる位置決めを行っても良い。
図7は、本実施形態の自走ロボット1を用いることができる搬送システムの変形例を模式的に示す説明図である。
変形例の搬送システムでは、仮置きエリアAと保管エリアDとが本線51のすぐ横にある構成である。変形例では、自走ロボット1は、本線51を走行したまま、仮置きエリアAや保管エリアDのエリア内の探索を行う。仮置きエリアA内に搬送対象となるカゴ台車2を見つけたら、本線51上からカゴ台車2への連結動作に移行する。また、保管エリアDに対しても、本線51上から空き番地を探索して、車庫入れ動作を行う。
変形例の構成では、一台の自走ロボット1が動作中のときは、他の自走ロボット1が通行不可になるが、仮置きエリアAと保管エリアDとの専有面積を狭くすることができ、作業時間も短縮することができる。
物流倉庫や工場では、搬送物を積載する台車として、カゴ台車と呼ばれる四輪が自在キャスターで構成される汎用の台車がよく用いられる。一般に、自律移動装置による自動連結は、連結位置の認識と自律移動装置の位置決めとによって行われる。
具体的には、連結する対象にマーカーを取り付けて、自律移動装置に取り付けた距離情報の取得装置によってマーカーを認識し、マーカーの位置座標を算出することで、連結位置の認識を行う。そして、認識した連結位置で停止するように、自律移動装置の駆動を制御して位置決めを行う。
その後、アームのような連結機構を動作させて連結する。例えば、充電ステーションのような対象場所に自律移動装置を連結する場合に用いることができる。しかし、前述のような自在キャスターを備える台車に対して連結する場合は、自律移動装置のより正確な位置決めが必要となる。これは、台車に対して位置決めを行う途中で、自律移動装置が台車に接触する場合が考えられるからである。自律移動装置の位置決めと連結機構の動作が完了する前に接触すると、自律移動装置が台車を押してしまうことにより、台車が自律移動装置から離れていってしまう。
上述した充電ステーションのように動かない対象物への位置決めであれば、位置決めの前に自律移動装置が連結対象に接触するような制御でもよい。しかし、頻繁にカゴ台車の搬送作業を行う現場など、キャスターを解除状態で置く運用を行うような台車に対して、同様の動作を行うと、上述した理由により容易には連結できないという問題が生じる。
カゴ台車2のような回転自在なキャスター23を有する台車は、上述したように、連結が完了する前に自走ロボット1が接触すると自走ロボット1から離れる方向に移動する可能性がある。このため、自走ロボット1の連結装置10をカゴ台車2に近接させ、かつ接触しないように自走ロボット1を精密に位置決め制御することが求められる。本実施形態の自走ロボット1の連結装置10では、自走ロボット1が接触したときにカゴ台車2が移動してしまわないように仮保持する機構を備えている。
自走ロボット1には、搬送対象のカゴ台車2を保持するための連結装置10が取り付けられている。以下、自走ロボット1が備える連結装置10の詳細について説明する。
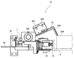
図8は、連結装置10の説明図であり、図8(a)は連結爪12が開いた状態の連結装置10の斜視図であり、図8(b)は連結爪12が閉じた状態の連結装置10の斜視図であり、図8(c)は連結装置10の上面図である。
連結装置10は、固定板材30、回動部材11、引掛け部材である連結爪12及び吸着部材である磁石13等を備える。
固定板材30は自走ロボット1のロボット本体部100に対して連結装置10を固定する部材であり、固定ネジ穴30aでロボット本体部100のフレームにネジ止めすることで固定する。
回動部材11は、上下方向に延在する回動軸111を中心に固定板材30に対して回動可能な部材である。図9は、図8に示す連結装置10について、回動部材11に固定され、回動部材11とともに固定板材30に対して回動する部分に斜線を付した連結装置10の説明図である。図9(a)は斜視図であり、図9(b)は上面図である。回動部材11は、図9(b)中の矢印「G」で示すように回動軸111を中心に回動可能である。固定板材30は回動範囲規制部材32を備え、回動する回動部材11の前端(自走ロボット1の前後方向についての回動部材11の前側端)である回動部材前端部11eが回動範囲規制部材32に突き当たる位置で、回動部材11の回動範囲を規制する。
本実施形態では仮保持する機構として磁石13の磁力を利用して仮保持した後に、連結爪12による本固定を行う。また、磁石13を回動部材11に配置して磁石13を用いた仮固定機構が回動可能な構成となっている。この構成によって、自走ロボット1がカゴ台車2に対して傾いた状態で近接した場合にも、回動部材11が回動して、二つの連結爪12をカゴ台車2の横フレームに対して平行にすることができる。これにより、連結爪12とカゴ台車2の横フレームとの位置関係を連結可能な位置関係とすることが容易となる。
固定板材30は板金からなり、回動軸111を保持する軸保持部31を備える。固定板材30をロボット本体部100に固定することで、回動部材11は回動軸111を中心にロボット本体部100に対して回動可能となっている。連結爪12及び磁石13は、回動部材11に取り付けられている。連結爪12は、カゴ台車2のフレームに引掛けて固定するためのものである。磁石13はカゴ台車2のフレームに吸着させるためのものである。
一般的にカゴ台車2のフレームはスチール材でできており、本実施形態で用いるカゴ台車2は、スチール材のように磁石13が付くことができるものからなる。連結爪12は、連結していない状態では、連結動作の際にカゴ台車2のフレームに引掛らないように、図8(a)に示すように上方に退避させてある。
連結爪12と磁石13との両方を用いるのは、以下の理由による。
すなわち、連結爪12だけでは連結動作のタイミングが計れずに自走ロボット1の高精度な位置決めが必要になり、磁石13だけでは搬送対象であるカゴ台車2の重量が大きい場合に搬送中に離れることがあるためである。
カゴ台車2のID表示パネル21の正面の所定の位置への自走ロボット1の位置決めと連結動作は、次の三つのステップによって行う。
第一のステップとして、自走ロボット1をカゴ台車2に対して一定の距離でかつ略正対した姿勢になるように駆動する。
第二のステップとして、略正対した姿勢のままでカゴ台車に向かって速度を落として進む。
第三のステップとして、カゴ台車2のフレームに対する磁石13の吸着が確認された後に自走ロボット1を停止させると共に、連結爪12を動作させて固定する。
自走ロボット1は、磁石13がフレームに吸着した際にフレームと接触する磁石13の表面と同一平面に物体が接触したことを検知することが可能な接触式スイッチであるマイクロスイッチ14を備えている。このマイクロスイッチ14によってカゴ台車2のフレームに対する磁石13の吸着を確認することができる。
ID表示パネル21の位置座標を求めるためのマーカーの読取においては、測域センサ9による検出の誤差及び算出の誤差が含まれる。また、自走ロボット1を駆動する際の車輪のスリップ等による誤差も生じる。このため、自走ロボット1がカゴ台車2に対して傾きと位置ずれを持った状態になることが通常で、完全に正対させることは困難である。
本実施形態では、第二のステップで磁石13がカゴ台車2に吸着するときに、速度を落として進むだけで良いので、自走ロボット1をカゴ台車2との接続位置で精度良く停止させるような高精度な位置決め動作が不要になる。このため、位置ずれに対して寛容となる。また、自走ロボット1がカゴ台車2に対して傾きを持って近づいた場合でも、回動部材11が回動することによって磁石13をカゴ台車2のフレーム面に対して平行にすることができ、確実に吸着させることができる。このような構成によって、高精度な位置決めを必要とすることなく、自走ロボット1とカゴ台車2とを確実に連結することが可能となる。
磁石13としては、電磁石を用いることが好ましい。電磁石は電力の供給によりON-OFFの制御を行うため、吸着と解除とが自在である。このため、上述した位置決めと連結動作とを行う上記第二のステップのときに電力を「ON」とするなど、必要なときにだけ吸着させることができる。
電磁石としては永電磁式の電磁石を用いることもできる。永電磁式の電磁石は、電力がOFFのときは永久磁石として吸着でき、電力がONのときに解除を行うことができる。永電磁式の電磁石を用いると、停電や断線が生じた場合でも磁力が無くならないため、より確実にカゴ台車2の保持を行うことができる。いずれの電磁石を用いた場合も、自走ロボット1によって所定の場所に搬送したカゴ台車2を、簡単な操作で自動的に切り離し解除するようなシステムとして運用することが可能となる。
磁石13として、永久磁石を用いる構成の場合、所定の場所に搬送したカゴ台車2を切り離すために、カゴ台車2を押圧して、自走ロボット1から離間させる離間機構を設けても良い。
次に、回動部材11に取り付ける磁石13について説明する。
磁石13としては、回動部材11に複数個配置することが好ましい。これは以下の理由による。
すなわち、カゴ台車2における連結対象となるフレームは、一般的に高さ方向に短く、幅方向に長い。これに対し汎用の磁石は円筒型また角型のものが多いので、例えば小型の磁石を二個横方向に並べて使うことで、横長のフレームに対して磁力を作用させる面を大きくでき、大型の磁石を一個用いるよりも安価で確実に吸着させることができる。
図10は、回動部材11に対する磁石13の固定方法の説明する連結装置10の断面説明図である。図10は、図8(c)中のE-E断面における断面図である。
図10に示す断面では、回動部材11はL字型の断面となっており、水平方向に延在する回動部材11の後側(連結時の連結対象側、図10中の右側)の端部で折れ曲がり、鉛直下方に延在する回動部材磁石取付部11aを形成している。
回動部材磁石取付部11aは、図10中の左右方向に貫通する貫通孔を備える。連結装置10は、磁石13を保持する磁石保持部材131を備える。磁石保持部材131は、回動部材磁石取付部11aの貫通孔を貫通する磁石保持シャフト131bと、磁石保持シャフト131bを挟んで磁石13とは反対側に配置され、後述する第一バネ132が突き当たる磁石保持突き当て部131aとを備える。
連結装置10は、磁石保持シャフト131bが内側に位置するように配置された第一バネ132と第二バネ133とを備える。第一バネ132は回動部材磁石取付部11aの前側(連結時の連結対象とは反対側、図10中の左側)の面と、磁石保持突き当て部131aの後側(連結時の連結対象側、図10中の右側)の面とに突き当たるように配置されている。第二バネ133は回動部材磁石取付部11aの後側(連結時の連結対象側、図10中の右側)の面と、磁石13の前側(連結時の連結対象とは反対側、図10中の左側)の面とに突き当たるように配置されている。
また、連結装置10は、磁石保持シャフト131bを介して回動部材磁石取付部11aに保持された磁石13が下方に移動して磁石保持シャフト131bが傾くことを防止する構成として磁石13の下面を保持する磁石下面保持部を備える。
このような構成により、磁石保持突き当て部131aと回動部材磁石取付部11aとの間、及び、回動部材磁石取付部11aと磁石13との間を第一バネ132及び第二バネ133等の弾性部材を用いて接続することができる。
自走ロボット1がカゴ台車2に対して傾いた状態で連結しようとしている場合に、磁石13の吸着力によって回動部材11が回動する前に、磁石13の角が片当たりすることでカゴ台車2のフレームを突いてしまう可能性がある。これに対して、本実施形態の連結装置では、弾性部材によって片当たりした磁石13の向きを変えることができるので、より確実に吸着させることができる。
カゴ台車2のフレームに引掛けて保持した状態の連結爪12は、磁石13よりもカゴ台車2側へ突き出た構成であるため、図10に示すように、磁石13と連結爪12との間には隙間がある。自走ロボット1によるカゴ台車2の牽引時は、主に連結爪12によってカゴ台車を牽引する。このとき、上述した第一バネ132が収縮し、第二バネ133が伸びることで牽引中も磁石13がカゴ台車2のフレームから離れないようにすることができる。これによって搬送中に磁石13がカゴ台車2のフレームに対して吸着したり、離間したりすることに起因して搬送が不安定になることを防ぐことが可能となる。
図11は、連結爪12の動作を説明する連結装置10の断面説明図である。図11は、図8(c)中のF-F断面における断面図である。
図11(a)は、連結後の連結爪12が閉じた状態(図8(b)の状態)を示し、図11(b)は、連結前の連結爪12が開いた状態(図8(a)の状態)を示している。
連結爪12の動作を行う構成としては、カゴ台車2のフレーム等のカゴ台車2の一部に引掛けて、カゴ台車2を牽引または押圧することができる構成であればよい。本実施形態の連結装置10では、連結爪12の動作を行う構成として、直動シリンダによる機構を用いる。
回動部材11上に連結爪回動軸保持部材であるベアリングホルダ113を設置して、連結爪12が固定された連結爪シャフト120を保持する。連結爪12は、連結爪シャフト120の回動動作によって、連結爪12の先端(図11中の右側端部)が上下動するような回動動作が行われる。
連結動作を行う際には、まず、連結爪12の先端がカゴ台車2のフレームに引掛らないように上方に退避させておき、磁石13による吸着後に連結爪シャフト120の回動によって連結爪12の先端がカゴ台車2のフレーム高さに掛かるように下ろす。
連結を解除する動作を行う際には、同様に連結爪シャフト120を連結動作とは逆方向に回動させることで連結爪12の先端を上げる。
直動シリンダとしては、汎用の電動シリンダ121を用い、電動シリンダ121の非移動部は回動部材11に設けた直動シリンダ保持部材122上に固定される。
電動シリンダ121における移動部であって、電動シリンダ121の駆動によって上下方向に移動するシリンダ部123の先端は図11中の下側端部であり、シリンダ部123は所定の長さの範囲で伸縮させることができる。
シリンダ部123の先端には上下動接続部材124が固定されており、上下動接続部材124の下端には、シリンダ部123の上下動を連結爪シャフト120に伝達する上下動伝達部材125を備える。本実施形態の上下動伝達部材125は図11中の紙面に直交する回動軸を中心に回動可能なローラ状の部材である。
連結爪シャフト120には、上下動伝達部材125の下端部が接触し、上下動伝達部材125の上下動が伝達される上下動伝達板材127が固定されている。さらに、上下動伝達板材127の上には、凸形状の内壁面に上下動伝達部材125の上端部が接触するように配置された凸状板材126が固定されている。
図11(a)に示す状態から電動シリンダ121の駆動によりシリンダ部123が縮むと、上下動伝達部材125が上方に移動し、その上端が接触する凸状板材126を上方に押し上げる。これにより、凸状板材126が固定された上下動伝達板材127が上方に引き上げられ、上下動伝達板材127が固定された連結爪シャフト120が図11中の反時計回り方向に回転する。この回転によって連結爪シャフト120に固定された連結爪12も連結爪シャフト120を中心に図11中の反時計回り方向に回転して、図11(b)に示すように連結爪12が開いた状態となる。
図11(b)に示す状態から電動シリンダ121の駆動によりシリンダ部123が伸びると、上下動伝達部材125が下方に移動し、その下端が接触する上下動伝達板材127を下方に押し下げる。これにより、上下動伝達板材127が固定された連結爪シャフト120が図11中の時計回り方向に回転する。この回転によって連結爪シャフト120に固定された連結爪12も連結爪シャフト120を中心に図11中の時計回り方向に回転して、図11(a)に示すように連結爪12が閉じた状態となる。
このように、簡易な構成によって直動シリンダである電動シリンダ121の伸縮駆動を連結爪12の回動運動に変換することが出来る。このような直動シリンダによる連結爪12の動作機構を用いることで、カゴ台車2の共通の形である跳ね上げ式の底板22とフレームとの間に連結爪12(引掛け部材)を差し込めるので、幅広い種類のカゴ台車2に対して無改造で対応することが可能である。
次に、連結爪12の先端形状について説明する。
図12は、連結爪12の先端形状の説明図であり、図12(a)は上述した実施形態の連結装置10で用いた先端の曲がった部分が一枚の形状の説明図であり、図12(b)は先端の曲がった部分が二枚の形状の説明図である。
図12(a)のように、先端の曲がった部分が一枚の形状では、自走ロボット1が連結爪12によってカゴ台車2を主に牽引によって引っ張る場合に十分な構成である。
一方、図12(b)に示す先端の曲がった部分が二枚の形状では、二枚の曲がった部分の間にカゴ台車2のフレームを挟み込んで保持することができる。このため、自走ロボット1がカゴ台車2を牽引する場合だけでなく、自走ロボット1がカゴ台車2を所定の位置に押し入れるような動作を伴う場合に、より安定した動作を行うのに適した構成である。
引掛け部材としては連結爪12のような爪部材に限るものではない。本実施形態では、先端が直角に曲がった爪部材という簡易な構成で連結対象と連結する構成を実現することが出来る。
固定板材30に設けられた回動範囲規制部材32は、回動部材11が自走ロボット1のロボット本体部100に対して回転し過ぎないように、回動範囲を限定するためのものである。これによって、連結時やカゴ台車2の牽引時に、回動部材11とロボット本体部100、カゴ台車2と自走ロボット1との接触を防止することが可能となり、接触に起因する損傷を防ぐことが可能となる。
また、本実施形態の自走ロボット1は、ロボット本体部100に対して、バンパー固定部41を設け、このバンパー固定部41から自走ロボット1の後方(図8(c)中の上方)に向けて延在するバンパー40を備える。バンパー40は、バンパー固定部41に一端が固定された棒状のバンパーシャフト40bと、バンパーシャフト40bの他端側に固定されたバンパー突当てゴム40aとを有する。
バンパー40の先端にバンパー突当てゴム40aのようなゴム材等の弾性部材を用いることで、カゴ台車2の牽引搬送時に、カゴ台車2とバンパー40とが接触することに起因する音の発生やカゴ台車2のフレームの損傷を防ぐことができる。
本実施形態では、連結時にバンパー40の先端が磁石13よりも先にカゴ台車2に接触しないように、磁石13よりもバンパー40が出っ張らない配置としている。また、連結爪12によるカゴ台車2との連結後に、バンパー40を伸ばすように駆動する構成としても良い。これにより、自走ロボット1による牽引搬送中のカゴ台車2の挙動をより安定させることができる。
このようなバンパー40を配置することで、カゴ台車2と自走ロボット1との接触を防止し、接触に起因する損傷を防ぐことが可能となる。
図8に示すように、本実施形態の連結装置10では、横方向における外側からバンパー40、連結爪12、磁石13の順に配置している。すなわち、横方向の中心から外側に向けて二つ磁石13を配置し、その外側に二つの連結爪12、さらに外側に二つのバンパー40を配置する構成である。これら三つの横方向の配置の順番としてはどのような順番であってもよい。
図1及び図2に示すように、カゴ台車2のカゴ部20は、複数の横フレームと複数の縦フレームとを組み合わせたカゴ状であり、連結装置10は、連結爪12をカゴ部20の横フレームに引掛ける構成である。
このため、連結装置10の連結爪12としては、カゴ台車2の連結面の中心に対して、二つの連結爪12がカゴ部20の縦フレームに干渉しない間隔となるように配置する。そして、上述したID表示パネル21をカゴ台車2の連結面における横方向の中心となる位置に設置し、このID表示パネル21の位置を測域センサ9を用いて認識することで、二つの連結爪12を縦フレームに干渉させずに連結させることが可能となる。
自律移動装置と連結対象とを連結する構成として、磁石13のような吸着手段を備えず、連結爪12のような引掛け部材のみで連結する構成では次のような不具合がある。すなわち、自動で連結しようとしたときに、自律移動装置が連結対象に完全に正対して静止した状態で引掛け部材による連結固定動作ができないと、確実に連結できないという不具合が生じる。
これに対して、本実施形態の自走ロボット1では、連結対象であるカゴ台車2に対して完全に正対して静止した状態でなくても、引掛け部材である連結爪12による連結固定動作を行うことができる。
自律移動装置の高精度な位置決めを必要としない構成として、パラレルリンク機構を用いた自動連結方法が考えられるが、複雑な機構と高精度なパラレルリンク機構の制御が必要となる。これに対して、本実施形態の自走ロボット1では、磁石13と連結爪12という簡易な構成で自動連結を行うことができる。
上述した実施形態では、動力モータ7及び駆動車輪71等の移動手段と、連結対象であるカゴ台車2と連結する連結装置10を備える連結走行装置が、移動手段をコントローラ4で制御する自律走行装置としての自走ロボット1である場合について説明した。連結装置10を備える連結走行装置としては、自律走行装置のように自動で走行するものに限らず、人間が運転する車等の走行装置であってもよい。
また、連結走行装置としては、連結した連結対象を牽引する構成に限らず、連結対象を押して移動させたり、持ち上げて移動させたりする構成であってもよい。
〔実施例1〕
次に、上述した実施形態の連結装置10に本発明を適用した一つ目の実施例(以下、「実施例1」と呼ぶ)について説明する。
図13及び図14は、実施例1の連結装置10の斜視図であり、図13は、連結爪12が閉じた状態の説明図である。図14は、連結爪12が開いた状態の説明図である。
実施例1の連結装置10は、検知手段である接触検知センサ201を備える。図13及び図14では、便宜的に電動シリンダ121及び直動シリンダ保持部材122を取り外した状態の連結装置10を示している。
図13及び図14に示すように、接触検知センサ201はブラケット203を介して連結爪12に固定されている。接触検知センサ201はブラケット203にネジで固定され、ブラケット203は連結爪12に対してネジで固定されている。接触検知センサ201は、一つの連結爪12に対して一つずつ配置されており、本実施形態の連結装置10は連結爪12を二つ備えるため、接触検知センサ201も二つ備えている。
図15は、図14に示す状態の連結装置10の側面図であり、図15(a)は連結装置10全体の説明図、図15(b)は連結爪12の先端近傍の拡大説明図である。
接触検知センサ201は、センサの筐体からレバー204が連結爪12の先端側に向けて突き出しており、連結爪12に対してレバー204が図15(a)中の矢印「I」方向に所定の量変位するとスイッチが入るようになっている。
図15(b)に示すように、レバー204の先端は連結爪12の先端よりも図15中の時計回り方向の先行側に飛び出している。ここで図15中の時計回りで先行側とは、連結爪12が開いた状態から閉じる状態まで回転する方向(図15中の矢印「H」で示す連結爪12の連結時動作方向)における先行側である。
図15(b)に示すように、L字型の連結爪12の先端部と平行な方向(連結時動作方向)をx軸、回転軸である連結爪シャフト120と平行な方向をy軸、x軸とy軸との両方と直行する方向をz軸とする。このように三次元の軸を設定すると、レバー先端204aが爪先端12aよりもx軸のプラス側に位置している。
図16は、図15(b)に示す三次元の軸のz軸のプラス方向から連結爪12及び接触検知センサ201を見た説明図である。図16中の矢印「W」は、連結爪12の幅を示している。図16に示すように、レバー204の左右方向(連結爪シャフト120に平行な方向)の位置は、連結爪12の幅の範囲内であれば任意の位置でよい。このように配置することで、連結爪12が連結爪シャフト120を中心に回転したとしても、連結爪12の先端側に位置し、連結時移動方向に移動する連結爪12の障害物となり得る物体の有無を検知することが可能となる。
図17は、実施例1の連結装置10が、カゴ台車2に連結した状態を示す側面図である。自走ロボット1がカゴ台車2に接続する前は、図15(a)に示すように連結装置10の連結爪12が開いた状態である。そして、自走ロボット1がカゴ台車2に接続すると、図17に示すように連結装置10の連結爪12は閉じた状態となる。
具体的にはカゴ台車2が接触式スイッチであるマイクロスイッチ14に当接し、マイクロスイッチ14が入ったことを起点として、電動シリンダ121が動作を開始することで連結爪シャフト120が回転し始め、連結爪12がカゴ台車2のフレームに当接する。
本実施形態の自走ロボット1では、連結対象であるカゴ台車2と連結する際には、連結装置10とカゴ台車2との相対的な位置を合わせて、引掛け部材である連結爪12をカゴ台車に引掛ける。このとき、カゴ台車2の上に荷物などの積載物が積載されており、連結爪12が移動する経路上に積載物があると、開いた状態の連結爪12が閉じる連結動作の過程において、連結動作で連結爪12がカゴ台車2に連結する前に連結爪12が積載物に接触する。連結爪12が積載物に接触すると、連結爪12が積載物に突き当たってしまい、カゴ台車2のフレーム等の狙いの位置に連結爪12をひっかけることができず、カゴ台車2と連結できないことが懸念される。
また、連結爪12はカゴ台車2を引っ張るため、ある程度の強度が必要で、板金などの金属材料が用いられる。板金のエッジは面とりなどが施されるとはいえ、連結爪12が積載物に接触すると、積載物の材質や状態によっては、連結爪12が接触することで積載物を損傷し、積載物の外観品質を落とすことが懸念される。
さらに、連結爪12と積載物が接触した状態では、連結爪12が所定の位置まで回転できずにカゴ台車2のフレームに連結爪12を引掛けることができない。そのままではカゴ台車2と自走ロボット1とが連結できず、自走ロボット1のみで動いてしまうことになり、所望の機能が達成できない。
図18は、積載物である荷物206が積載されたカゴ台車2に対して連結動作を行った際に、カゴ台車2の荷物206にレバー204が接触した状態を示す連結装置10の側面図である。連結爪12の回転動作の経路上に荷物206があると連結爪12は荷物206に接触する可能性がある。しかし、実施例1の連結装置10は、接触検知センサ201を上述したように配置することで、連結爪12の回転経路上に荷物206があったとしても、図18に示すように連結爪12よりも先にレバー204のレバー先端204aが荷物206に接触する。そして、レバー先端204aが荷物206に接触した状態でさらに連結爪12が連結位置の方向に回転し続けると、レバー204が連結爪12に対して連結爪12の回転方向とは逆方向(図15(a)中の矢印「I」方向)に移動する。そして、レバー204が所定の量変位すると、接触検知センサ201から出力される「ON/OFF」信号が切り替わる。この信号の切り替わりが入力されたコントローラ4は、接触検知センサ201が障害物を検知したと判断して連結爪12の回転動作を停止する。
ここで爪先端12aに対するレバー先端204aのz軸プラス方向への突き出し量は、次の点に考慮する必要がある。すなわち、接触検知センサ201のスイッチが入り、スイッチが入った状態から電動シリンダ121が停止し、連結爪12が固定されている連結爪シャフト120の回転が止まるまでの間に、爪先端12aが荷物206に接触しないよう考慮する必要がある。
図19は、実施例1の連結装置10における連結動作のフローチャートである。マイクロスイッチ14がカゴ台車2のフレームに接触してマイクロスイッチ14が「ON」になると(S21)、連結動作を開始する。連結動作を開始すると、電動シリンダ121の正転動作を開始する(S22)。ここで正転動作とは、連結爪12が連結時動作方向(図15中の矢印「H」の方向)に回転するように、連結爪シャフト120を回転させる動作である。電動シリンダ121の正転動作を開始した後、レバー204が荷物206に接触すると、「OFF」の状態だった接触検知センサ201からのON/OFF信号が「ON」に切り替わる(S23で「Yes」)。
接触検知センサ201が「ON」になると、電動シリンダ121を停止する(S27)ことで連結爪12の回転を停止する。停止した後は、連結爪シャフト120が正転動作のときとは逆回転するように電動シリンダ121の逆転動作を開始する(S28)。電動シリンダ121の逆転動作を開始した後、連結爪12が図14及び図15に示す退避位置に戻る(S29で「Yes」)と、周囲の作業者(ロボット使用者などを含む)にエラー状態を伝える(S31)。本実施形態の自走ロボット1では、操作パネルやモニタにエラー表示を行うことで、周囲の作業者にエラー状態を伝える。
作業者が荷物206を移動させた後、エラー解除を自走ロボット1に入力することで動作を復帰させる。連結爪12が移動する経路上に荷物206が無い状態は、マイクロスイッチ14が「ON」になり(S21)、電動シリンダ121の正転動作を開始した後(S22)、接触検知センサ201は「ON」にならず、所定時間が経過する(S24で「Yes」)。電動シリンダ121の正転動作を開始してから所定時間経過すると電動シリンダ121を停止し(S25)、自走ロボット1にカゴ台車2が接続されたとして自走ロボット1の移動を開始する(S26)。
ここで、レバー204の長さについて、レバー204があまりにも爪先端12aから出ていると、連結爪12がカゴ台車2のフレームに当る前に、レバー204がカゴ台車2の底面やフレームに接触する場合がある。この場合、連結爪12が移動する経路上に荷物206が無いにもかかわらずカゴ台車2を障害物と誤検知してしまう可能性がある。
そのため連結爪12が回転を始め、ある一定時間経過した後は接触検知センサ201の信号は無視することで誤検知を防ぐことができる。接触検知センサ201の信号を無視するタイミングとしては、回転を始めてから一定時間経過後でもよいし、連結爪12の回転状態や連結爪シャフト120の回転状態の検出結果に基づいた所定の回転量回転後でもよい。連結爪12をカゴ台車2のフレームに引っ掛ける連結動作の中で接触検知センサ201の信号を無視するタイミングを設けることで誤検知を防ぐことができる。
〔実施例2〕
次に、上述した実施形態の連結装置10に本発明を適用した二つ目の実施例(以下、「実施例2」と呼ぶ)について説明する。
図20は、実施例2の連結装置10が備える連結爪12の先端近傍の拡大斜視図である。
上述した実施例1の連結装置10は、検知手段として接触式の接触検知センサ201を備える構成であるであるのに対して、実施例2の連結装置10は、検知手段として非接触式の非接触検知センサ210を備える構成である。実施例2の連結装置10は、実施例1の接触式の検知手段を非接触式の検知手段に置き換えた点以外は実施例1の連結装置10と共通するため、相違点について説明する。
実施例2の非接触検知センサ210は、光学式の非接触式のセンサである。非接触検知センサ210は、センサの筐体に投光部211と受光部212とを備え、投光部211により出射されたレーザー光が、非検出物の表面で反射し、その反射光を受光部212が検知する構成となっている。
実施例2では、非接触検知センサ210として検知距離(図20中の矢印「L1」)が100[mm]程度のものを用いているが、これに限るものではない。そして、実施例2では、爪先端12aよりも矢印「L2」分(20[mm])だけ、先行側を検知できるように、非接触検知センサ210をブラケット203を介して連結爪12に取り付けている。
実施例2の連結装置10の動作の原理は、接触式センサを備える上述した実施例1の連結装置10と同様である。すなわち、カゴ台車2との接触を検知するセンサ(14)のスイッチが入ったことを基準(トリガ)にして連結爪12の回転を始める。このとき、爪先端12aよりも「L2(20[mm])」先の荷物206の有無を検知しながら回転を続ける。荷物206が無ければ連結爪12がカゴ台車2のフレームに当接し、連結状態となる。一方、非接触検知センサ210によって荷物206があることを検知すると、連結爪12の回転を停止し、連結爪12が退避位置に戻る。その後の動作は実施例1と同様である。
実施例2のように、非接触検知センサ210を用いる構成であっても、連結爪12が回転してきたときに、非接触検知センサ210がカゴ台車2の下面やフレームを荷物206と誤検知する場合がある。このため、非接触検知センサ210の検知範囲が連結爪12の爪先端12aの近傍となるようにブラケット203を取り付けることが望ましい。また、実施例1と同様に、連結爪12が回転し始めてから一定時間経過後の非接触検知センサ210からの信号の変化を無視する構成としてもよい。
図8乃至図11を用いて説明した実施形態の連結装置10は、引掛け部材である連結爪12を備えるとともに、吸着部材である磁石13を備える構成である。そして、連結対象であるカゴ台車2のフレームを磁石13によって吸着することで、カゴ台車2と容易に連結できる構成である。また、連結装置10は、複数の磁石13と上下動可能な連結爪12と、これらを保持し、固定板材30に対して回動可能な回動部材11を有する。連結装置10を備える自走ロボット1とカゴ台車2とが相対的に傾いていたとしても、回動部材11が回動することで、複数の磁石13をカゴ台車2のフレームに吸着させることができ、自走ロボット1とカゴ台車2との連結を容易にする構成となっている。また、自走ロボット1は、動力モータ7や駆動車輪71を有するとともに、連結装置10を備える連結移動装置であって、この連結移動装置が制御手段であるコントローラ4を有することで自律走行する自律走行装置である。
実施例1及び実施例2の連結装置10は、上述した実施形態の連結装置10に対して、連結爪12をカゴ台車2に引っ掛ける連結動作の際の移動の経路上に、荷物206が有るかないかを判断するために検知手段を設けた構成である。このような検知手段の検知結果に基づいて、制御手段であるコントローラ4が、連結爪12の駆動源である電動シリンダ121の駆動を制御する。具体的には、連結爪12を引掛ける連結動作を行う際に、連結爪12の移動方向前方側に荷物206等の障害物を検知手段が検知すると、電動シリンダ121の駆動を停止し、連結動作を停止する。これにより、連結装置10の連結動作時に発生し得る連結障害の解消と、引掛け部材である連結爪12による搬送物である荷物206の損傷を回避することができる。
実施例1及び実施例2の連結装置10は、検知手段を連結爪12に固定している。このため、電動シリンダ121の駆動によって回動する連結爪12がどの位置にあっても検知手段が連結爪12とともに移動し、連結動作の際の連結爪12の移動方向の先行側に位置する障害物となり得る荷物206を検知することができる。また、連結爪12に固定された検知手段は、連結爪12の移動に伴い、連結装置10における検知領域が変化し、連結動作の際の連結爪12の移動方向の先行側の位置を検知領域とすることができる。よって、連結爪12がどの位置にあっても連結動作の際の連結爪12の移動方向の先行側に位置する障害物となり得る荷物206を検知することができる。
実施例1及び実施例2の連結装置10を備える自走ロボット1は、連結爪12によってカゴ台車2等の連結対象と確実に連結でき、連結対象上の荷物206等の搬送物に対して外観品質を落とすことの無いように搬送物を連結対象によって搬送できる。
以上に説明したものは一例であり、次の態様毎に特有の効果を奏する。
(態様1)
退避位置から連結位置へと移動することによってカゴ台車2等の連結対象に連結する連結爪12等の連結部材を備える連結装置10等の連結装置において、退避位置から連結位置へと連結部材が移動する経路上の荷物206等の物体の有無を検知する接触検知センサ201または非接触検知センサ210等の検知手段を備えることを特徴とするものである。
これによれば、連結部材が移動する経路上にある物体に連結部材が接触する前に、検知手段によって物体を検知することができる。このため、検知結果に基づいて連結部材の連結位置への移動を停止する制御等、検知した物体に連結部材が接触することを防止する制御が可能となり、連結部材が連結対象以外の物体に接触することを防止することが可能となる。
(態様2)
態様1において、検知手段が、連結部材に設置されていることを特徴とするものである。
これによれば、連結部材がどの位置にあっても連結部材が移動する経路上にある物体の有無を検知することが可能となる。
(態様3)
態様1または2において、連結部材の移動に伴い、検知手段による連結装置における検知領域が変化することを特徴とするものである。
これによれば、連結部材がどの位置にあっても連結部材が移動する経路上にある物体の有無を検知することが可能となる。
(態様4)
態様1乃至3の何れかの態様において、検知手段の検知領域は、退避位置から連結位置へと移動する前記連結部材の移動方向前方であることを特徴とするものである。
これによれば、退避位置から連結位置へと移動する連結動作の際に、連結部材の前方に位置する物体の有無を検知できる。これにより、連結部材の連結動作の際の障害物となり得る物体を予め検知することが可能となる。
(態様5)
態様1乃至4の何れかの態様において、検知手段が、移動経路上に物体を検知した場合は、連結位置への連結部材の移動を停止し、連結部材が前記退避位置に移動することを特徴とするものである。
これによれば、連結部材の移動経路上に物体がある場合であっても、それを検知した際に連結部材を退避位置に戻すことで、作業者等によって移動経路上の物体を移動させ易くなる。移動経路上の物体を移動させることで、再度の連結動作によって、連結装置と連結対象との連結が可能となる。
(態様6)
態様1乃至5の何れかの態様において、連結部材が退避位置から連結位置へと移動する際に検知手段の検知領域に物体が存在しても、検知手段が物体の有無を判断しないタイミングを有することを特徴とすることを特徴とするものである。
これによれば、カゴ台車2の底板等の連結対象の一部が検知手段の検知領域に位置する状態を、連結部材の経路上に、連結部材の移動の妨げとなる物体があると誤検知することを防止できる。
(態様7)
動力モータ7及び駆動車輪71等の移動手段と、カゴ台車2等の連結対象と連結する連結手段と、を備える自走ロボット1等の連結走行装置において、連結手段として、態様1乃至6の何れかの態様に係る連結装置10等の連結装置を備えることを特徴とするものである。
これによれば、荷物206等の連結対象に載置された物体に連結部材が接触することを防止することが可能な連結走行装置を実現することができる。また、連結部材が移動する経路上に物体が存在するときには、連結部材の連結位置への移動を停止し、作業者等に経路上の物体を移動させることで、経路上の物体によって連結が行えないままの状態となることを防止できる。よって、連結走行装置と連結対象とを確実に連結することが可能となる。
(態様8)
動力モータ7及び駆動車輪71等の移動手段と、カゴ台車2等の連結対象と連結する連結手段とを有する連結移動手段と、移動手段を制御するコントローラ4等の制御手段とを備える自走ロボット1等の自律走行装置において、連結移動手段として、態様7に係る連結走行装置の構成を備えることを特徴とするものである。
これによれば、連結対象に載置された物体に連結部材が接触することを防止することが可能な自律走行装置を実現することができる。また、検知手段が連結部材の移動経路上の物体を検知しない間は、作業者が介在しなくても自律走行装置と連結対象とを連結でき、自律走行によって連結対象を搬送することが可能となる。
1 自走ロボット
2 カゴ台車
3 磁気センサ
4 コントローラ
5 カメラ
7 動力モータ
8 モータドライバ
9 測域センサ
10 連結装置
11 回動部材
11a 回動部材磁石取付部
11e 回動部材前端部
12 連結爪
12a 爪先端
13 磁石
14 マイクロスイッチ
20 カゴ部
21 表示パネル
22 底板
23 キャスター
30 固定板材
30a 固定ネジ穴
31 軸保持部
32 回動範囲規制部材
40 バンパー
40a ゴム
40b バンパーシャフト
41 バンパー固定部
50 走行エリア
51 本線
52 番地マーク
53 走行ライン
54 停止マーク
55 駐車場
71 駆動車輪
72 従動車輪
100 ロボット本体部
111 回動軸
113 ベアリングホルダ
120 連結爪シャフト
121 電動シリンダ
122 直動シリンダ保持部材
123 シリンダ部
124 上下動接続部材
125 上下動伝達部材
126 凸状板材
127 上下動伝達板材
131 磁石保持部材
131a 磁石保持突き当て部
131b 磁石保持シャフト
132 第一バネ
133 第二バネ
201 接触検知センサ
203 ブラケット
204 レバー
204a レバー先端
206 荷物
210 非接触検知センサ
211 投光部
212 受光部
1000 物流倉庫
1001 プラットフォーム
1002 エレベータ
2000 トラック
A 仮置きエリア
B 第一保管エリア
C 第二保管エリア
D 保管エリア
M 作業者
S スタート位置
特開2005-178504号公報

Claims (7)

  1. 退避位置から連結位置へと移動することによって連結対象に連結する連結部材を備える連結装置において、
    前記退避位置から前記連結位置へと前記連結部材が移動する移動経路上の物体の有無を検知する検知手段を備え
    前記連結部材が前記退避位置から前記連結位置へと移動する際に前記検知手段の検知領域に前記物体が存在しても、前記検知手段が前記物体の有無を判断しないタイミングを有することを特徴とする連結装置。
  2. 請求項1の連結装置において、
    前記検知手段が、前記連結部材に設置されていることを特徴とする連結装置。
  3. 請求項1または2の連結装置において、
    前記連結部材の移動に伴い、前記検知手段による前記連結装置における検知領域が変化することを特徴とする連結装置。
  4. 請求項1乃至3の何れか一項に記載の連結装置において、
    前記検知手段の検知領域は、前記退避位置から前記連結位置へと移動する前記連結部材の移動方向前方であることを特徴とする連結装置。
  5. 請求項1乃至4の何れか一項に記載の連結装置において、
    前記検知手段が、前記移動経路上に前記物体を検知した場合は、前記連結位置への前記連結部材の移動を停止し、前記連結部材が前記退避位置に移動することを特徴とする連結装置
  6. 動手段と、
    連結対象と連結する連結手段と、を備える連結走行装置において、
    前記連結手段として、請求項1乃至の何れか一項に記載の連結装置を備えることを特徴とする連結走行装置。
  7. 移動手段と、連結対象に連結する連結手段とを有する連結移動手段と、
    前記移動手段を制御する制御手段とを備える自律走行装置において、
    前記連結移動手段として、請求項に記載の連結走行装置を備えることを特徴とする自律走行装置。
JP2018167985A 2018-09-07 2018-09-07 連結装置、連結走行装置及び自律走行装置 Active JP7121925B2 (ja)

Priority Applications (1)

Application Number Priority Date Filing Date Title
JP2018167985A JP7121925B2 (ja) 2018-09-07 2018-09-07 連結装置、連結走行装置及び自律走行装置

Applications Claiming Priority (1)

Application Number Priority Date Filing Date Title
JP2018167985A JP7121925B2 (ja) 2018-09-07 2018-09-07 連結装置、連結走行装置及び自律走行装置

Publications (2)

Publication Number Publication Date
JP2020040459A JP2020040459A (ja) 2020-03-19
JP7121925B2 true JP7121925B2 (ja) 2022-08-19

Family

ID=69797259

Family Applications (1)

Application Number Title Priority Date Filing Date
JP2018167985A Active JP7121925B2 (ja) 2018-09-07 2018-09-07 連結装置、連結走行装置及び自律走行装置

Country Status (1)

Country Link
JP (1) JP7121925B2 (ja)

Families Citing this family (1)

* Cited by examiner, † Cited by third party
Publication number Priority date Publication date Assignee Title
WO2025032824A1 (ja) * 2023-08-10 2025-02-13 株式会社Fuji 無人搬送車

Citations (2)

* Cited by examiner, † Cited by third party
Publication number Priority date Publication date Assignee Title
US20160158942A1 (en) 2014-12-09 2016-06-09 Bizzy Robots, Inc. Robotic Touch Perception
JP2018090084A (ja) 2016-12-02 2018-06-14 株式会社リコー 連結装置、連結走行装置及び自律走行装置

Patent Citations (2)

* Cited by examiner, † Cited by third party
Publication number Priority date Publication date Assignee Title
US20160158942A1 (en) 2014-12-09 2016-06-09 Bizzy Robots, Inc. Robotic Touch Perception
JP2018090084A (ja) 2016-12-02 2018-06-14 株式会社リコー 連結装置、連結走行装置及び自律走行装置

Also Published As

Publication number Publication date
JP2020040459A (ja) 2020-03-19

Similar Documents

Publication Publication Date Title
JP6792819B2 (ja) 連結装置、連結走行装置及び自律走行装置
JP7004248B2 (ja) 連結装置、連結移動装置及び自律移動装置
CA3172332A1 (en) Method for controlling an automatic guided vehicle and control system adapted to execute the method
CA3223654A1 (en) Autonomous trailer maneuvering
US20230150139A1 (en) Adaptive mobile robot behavior based on payload
JP7112803B1 (ja) 搬送システム、及び搬送制御方法
EP3656702A1 (en) Mobile industrial robot with security system for pallet docketing
JP7318244B2 (ja) 自律移動装置、プログラムおよび自律移動装置による搬送対象物の選択方法
JP7207046B2 (ja) 自律移動装置、誘導システムおよび自律移動装置の移動方法
JP7121925B2 (ja) 連結装置、連結走行装置及び自律走行装置
US20230202817A1 (en) Control method for mobile object, mobile object, and computer-readable storage medium
JP7474419B2 (ja) 連結装置、連結移動装置、自律移動装置及び誘導システム
JP7400315B2 (ja) 識別部材、識別部材を用いた自律走行装置と搬送対象物の連結システム及び識別部材を用いた自律走行装置と搬送対象物の連結方法
JP2020191008A (ja) 自律移動装置および自律移動装置における搬送情報読取方法
JP2024128140A (ja) 移動体の制御方法、移動体、移動制御システム及びプログラム
JP7365573B2 (ja) 連結装置、連結移動装置及び自律移動装置
JP7595744B2 (ja) 移動システム及び管理装置
JP7135883B2 (ja) 移動体走行システム
US20240338038A1 (en) Load handling system and load handling method
JP7360619B2 (ja) 連結装置、連結移動装置及び自律移動装置
JP7575836B1 (ja) 搬送装置
EP4628428A1 (en) Automated guided vehicle
JP7509490B1 (ja) 連結装置
JP7702771B1 (ja) 連結装置
JP7627535B1 (ja) 走行制御方法、走行制御システム及びプログラム

Legal Events

Date Code Title Description
A621 Written request for application examination

Free format text: JAPANESE INTERMEDIATE CODE: A621

Effective date: 20210616

A977 Report on retrieval

Free format text: JAPANESE INTERMEDIATE CODE: A971007

Effective date: 20220428

A131 Notification of reasons for refusal

Free format text: JAPANESE INTERMEDIATE CODE: A131

Effective date: 20220506

A521 Request for written amendment filed

Free format text: JAPANESE INTERMEDIATE CODE: A523

Effective date: 20220606

TRDD Decision of grant or rejection written
A01 Written decision to grant a patent or to grant a registration (utility model)

Free format text: JAPANESE INTERMEDIATE CODE: A01

Effective date: 20220708

A61 First payment of annual fees (during grant procedure)

Free format text: JAPANESE INTERMEDIATE CODE: A61

Effective date: 20220721

R151 Written notification of patent or utility model registration

Ref document number: 7121925

Country of ref document: JP

Free format text: JAPANESE INTERMEDIATE CODE: R151