JP6991908B2 - 筒状体 - Google Patents

筒状体 Download PDF

Info

Publication number
JP6991908B2
JP6991908B2 JP2018054407A JP2018054407A JP6991908B2 JP 6991908 B2 JP6991908 B2 JP 6991908B2 JP 2018054407 A JP2018054407 A JP 2018054407A JP 2018054407 A JP2018054407 A JP 2018054407A JP 6991908 B2 JP6991908 B2 JP 6991908B2
Authority
JP
Japan
Prior art keywords
belt
tubular body
cast iron
ductile cast
guide roller
Prior art date
Legal status (The legal status is an assumption and is not a legal conclusion. Google has not performed a legal analysis and makes no representation as to the accuracy of the status listed.)
Active
Application number
JP2018054407A
Other languages
English (en)
Other versions
JP2019167183A (ja
Inventor
親平 堤
仁志 柳谷
光二 中本
Current Assignee (The listed assignees may be inaccurate. Google has not performed a legal analysis and makes no representation or warranty as to the accuracy of the list.)
Kurimoto Ltd
Original Assignee
Kurimoto Ltd
Priority date (The priority date is an assumption and is not a legal conclusion. Google has not performed a legal analysis and makes no representation as to the accuracy of the date listed.)
Filing date
Publication date
Application filed by Kurimoto Ltd filed Critical Kurimoto Ltd
Priority to JP2018054407A priority Critical patent/JP6991908B2/ja
Publication of JP2019167183A publication Critical patent/JP2019167183A/ja
Application granted granted Critical
Publication of JP6991908B2 publication Critical patent/JP6991908B2/ja
Active legal-status Critical Current
Anticipated expiration legal-status Critical

Links

Images

Landscapes

  • Structure Of Belt Conveyors (AREA)
  • Rollers For Roller Conveyors For Transfer (AREA)
  • Pulleys (AREA)

Description

この発明は、その表面に三元アブレシブ摩耗が生じ得る環境で用いられる筒状体、特に、ベルトコンベヤに用いられるプーリやローラ等の筒状体、及び、その筒状体を用いたベルトコンベヤに関するものである。
ベルトコンベヤは、化学プラントや発電所、製鉄所、下水処理場、ゴミ処理場、その他各種の施設において、原料や燃料、処理済の材料、廃棄物等の各種搬送物の搬送に用いられている。
一般に、ベルトコンベヤは、駆動プーリと従動プーリとの間に無端状の帯状部材からなるゴム製ベルトを巻き付け、駆動プーリを回転させることにより、そのベルトを駆動プーリと従動プーリとの間で周回運動させて搬送物を搬送している。
また、駆動プーリと従動プーリとの間には、適宜、搬送側のベルトに対してキャリアローラ(搬送側案内ローラ)を、リターン側のベルトに対してリターンローラ(リターン側案内ローラ)を、というように、各位置のベルトに接触する案内ローラが配置される。
駆動プーリや従動プーリ、案内ローラ等の各筒状体は、ベルトの幅方向に沿って配置され、その筒状体の軸心に、ベアリングを介して配置された回転軸周りに回転可能である。駆動プーリは、モータ等の駆動力によって回転し、駆動プーリの外面とベルトの表面との間の摩擦によってベルトを周回運動させる。また、従動プーリ、案内ローラは、ベルトの周回運動に合わせて、ベルトとの摩擦によってそれぞれ回転軸回りに回転する(例えば、特許文献1参照)。
駆動プーリや従動プーリ、案内ローラ等の各筒状体の素材には、ベルトに触れる筒状の外枠の部分に鋼管が用いられる場合が多い。また、ベルトコンベヤではなく、ローラコンベヤに関する技術であるが、例えば、特許文献2には、筒状体の外枠に鋳鉄を用いる技術が開示されている。
特開2016-132533号公報 特開昭61-159551号公報
ところで、駆動プーリや従動プーリ、案内ローラ等の各筒状体には、ベルトの表面との摺接等によって摩耗を生じやすい。さらに、搬送物が、特に砂利やガラス等の硬質物を含む場合は、各筒状体とベルトとの間に硬質物が介在することによって、ベルトの表面に三元アブレシブ摩耗と呼ばれる摩耗を生じやすい。
ここで、アブレシブ摩耗とは、互いに接触する部材間に介在する異物により、その表面が削り取られる摩耗現象のことをいう。この摩耗現象は、互いに接触する部材の対向面同士の硬さの差が大きく、また、硬い方の部材の面に粗い突起が存在する場合や、あるいは、対向面間に硬質物からなる異物が介在した場合に生じやすいといわれている。対向面同士の硬さの差を原因とする摩耗を二元アブレシブ摩耗、対向面間の突起や異物の介在を原因とする摩耗を三元アブレシブ摩耗という。
駆動プーリや従動プーリ、案内ローラ等の各筒状体に三元アブレシブ摩耗が生じると、ベルトコンベヤの稼働を停止して、筒状体やその他部材の交換を行う必要がある。このような作業は長時間を要し、また、相当な手間とコストを要するので、筒状体に生じる三元アブレシブ摩耗をできる限り抑制したいという要請がある。
なお、ベルトコンベヤのプーリやローラの摩耗対策として、ベルトに接触する表面に、焼き入れ処理により硬度を高めた鋼管や、その表面に硬質クロムメッキを施した鋼管等が使用されている例もあるが、上述の三元アブレシブ摩耗の抑制には至っていないのが現状である。
また、ベルトコンベヤのプーリやローラだけでなく、機械部品の摺動部等においても、他の部材と接触しながら軸周り回転する筒状体の表面に生じる三元アブレシブ摩耗を抑制したいという要請がある。
そこで、この発明は、ベルトコンベヤのプーリやローラ等、軸周り回転する筒状体の表面に生じる三元アブレシブ摩耗を抑制することである。
上記の課題を解決するために、この発明は、他の部材と接触しながら軸周り回転することでその表面に三元アブレシブ摩耗が生じ得る筒状体をダクタイル鋳鉄製としたのである。
ここで、前記他の部材は、ベルトコンベヤの無端状のコンベヤベルトであり、前記筒状体は前記コンベヤベルトの表面に接触するものである構成を採用することができる。
また、前記筒状体は、前記コンベヤベルトの表面に接触する駆動プーリ、従動プーリ及び案内ローラの一部又は全部とすることができる。
前記筒状体を構成するダクタイル鋳鉄は、黒鉛粒数が300個/mm以上、黒鉛粒径が15μm以下、黒鉛粒が占める面積率が8%以上12%未満である構成を採用することができる。
これらの各態様からなる筒状体を、駆動プーリ、従動プーリ及び案内ローラの一部又は全部に用いたベルトコンベヤを採用することができる。
この発明は、筒状体をダクタイル鋳鉄製としたので、その筒状体の表面に生じる三元アブレシブ摩耗を抑制することができる。
この発明の筒状体を用いたベルトコンベヤの横断面図 この発明の筒状体を用いたベルトコンベヤの縦断面図 筒状体の使用状態を示す斜視図 実験例を示し、(a)は実験装置を示す模式図、(b)は実験結果を示すグラフ図 実験例を示し、(a)は実験装置を示す模式図、(b)は実験結果を示すグラフ図
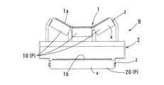
この発明の実施形態及び実験例を、図1~図5に基づいて説明する。図1及び図2は、この発明のダクタイル鋳鉄製の筒状体(ベルトコンベヤ用筒状体)Pを、無端状のコンベヤベルト1の表面に接触する駆動プーリ30、従動プーリ40、案内ローラ20,21として使用したベルトコンベヤBを示している。
また、図3は、その駆動プーリ30、従動プーリ40、案内ローラ20,21を構成する筒状体Pの例を示している。駆動プーリ30、従動プーリ40、案内ローラ20,21を構成する各筒状体Pは、それぞれ設置される部位に応じてその径や軸方向長さが異なるが、図3では、その一例を示している。
ベルトコンベヤBの装置の構成は、フレーム2に対して軸周り回転自在に支持された駆動プーリ30、従動プーリ40、案内ローラ20,21間に、無端状の帯状部材であるコンベヤベルト1が掛け渡されたものである。モータ等の駆動力によって、駆動プーリ30が軸周り回転すると、ベルト1は、駆動プーリ30と従動プーリ40と間で、図2中の矢印の方向に周回運動する。以下、コンベヤベルト1を単にベルト1と称し、搬送物が載置される上方のベルト1を搬送側ベルト1a、その下方に位置するリターン側のベルト1をリターン側ベルト1bと称する。
搬送側ベルト1aの下部には、搬送方向に沿って所要の間隔で搬送側案内ローラ10が設けられ、その搬送側案内ローラ10で、搬送物が載置されたベルト1を支えている。また、ベルト1の幅方向に沿って搬送側案内ローラ10は複数直列して設けられている。実施形態では、3つの搬送側案内ローラ10が幅方向へ直列して配置されている。また、幅方向端部に位置する搬送側案内ローラ10は、幅方向端部側へ向かって上り勾配に配置されており、搬送側ベルト1aのせり上がり、及び、搬送物がベルト1からこぼれ落ちることを防止している。
リターン側ベルト1bの下部には、搬送方向に沿って所要の間隔でリターン側案内ローラ20が設けられ、そのリターン側案内ローラ20で、従動プーリ40側へ戻っていくベルト1を支えている。また、駆動プーリ30のすぐ下流側、従動プーリ40のすぐ上流側には、リターン側ベルト1bを所定の高さに案内する反転部案内ローラ21が配置されている。
この実施形態のベルトコンベヤBは以上の構成であり、ベルト1が走行している状態で、従動プーリ40側に設けたシュートから搬送物がベルト1上に載置され、その搬送物が、駆動プーリ30側に搬送される。搬送物は、駆動プーリ30の直下に設けたホッパーに落下して次工程へ送り出される。
ここで、この発明では、ベルト1の表面に接触する筒状体P、すなわち、駆動プーリ30、従動プーリ40、及び、案内ローラ10,20,21の少なくとも外周部xを、それぞれダクタイル鋳鉄製としている。
筒状体Pは、図3に示すように、ベルト1の表面に接触する外周部xをダクタイル鋳鉄製(ダクタイル鋳鉄管)とし、その円筒状の外周部xの軸方向両端の内側に、ベアリングを介在した支持部yを固定し、その支持部yに回転軸zを取り付けている。支持部yや回転軸zの素材は、外周部xと同じダクタイル鋳鉄であってもよいが、この部分にはベルト1が接触することがないので、ダクタイル鋳鉄以外の他の鋳鉄や、普通鋼等のその他金属、あるいは、強度が確保されるならば樹脂素材でも充分である。
回転軸zはフレーム2に支持され、外周部xは回転軸zの軸周りに回転自在である。なお、別の形態としては、回転軸zをフレーム2に対して軸周り回転自在に支持してもよい。この場合は、支持部yのベアリングを省略して、回転軸zと外周部xとが一体に回転する構成とすることができる。
ダクタイル鋳鉄製とする筒状体Pは、駆動プーリ30、従動プーリ40及び搬送側案内ローラ10、リターン側案内ローラ20、反転部案内ローラ21の全部であってよいが、その一部のみとしてもよい。例えば、搬送側案内ローラ10、リターン側案内ローラ20、反転部案内ローラ21のみをダクタイル鋳鉄製とし、駆動プーリ30、従動プーリ40を他の素材としてもよい。あるいは、駆動プーリ30、従動プーリ40のみをダクタイル鋳鉄製とし、搬送側案内ローラ10、リターン側案内ローラ20、反転部案内ローラ21を他の素材としてもよい。
筒状体Pを構成するダクタイル鋳鉄は、黒鉛粒数が300個/mm以上、黒鉛粒径が15μm以下、黒鉛粒が占める面積率が8%以上12%未満であるものが望ましいことが、発明者が行った実験により確認できている。その実験結果を、図4及び図5に示す。
図4は、二元アブレシブ摩耗に対する耐摩耗性能の実験例である。図4(a)に示すように、回転ロール1’を軸周り回転自在に支持し、その回転ロール1’の外周に、筒状体Pに相当する試料P’を荷重a加えて当接させて、その試料P’を、矢印bのように往復動させる試験である。回転ロール1’の外周がベルト1に相当し、試料P’が筒状体Pに相当する。
回転ロール1’は試料P’に対して滑りながら軸周り回転する。実験では回転ロール1’は、試料P’の一往復毎に図中の矢印c方向に0.9度回転する。これにより、一往復毎に、常に回転ロール1’の表面の新しい部分が、試料P’に接することとなる。試験条件は、試験機がスガ式摩耗試験機、試料P’の往復回数は400回、試料P’の形状は40×50×4mm、回転ロール1’の外周にはアルミサンドペーパ#100からなる研磨紙を貼り付けている。荷重aは、1.0kgf(約9.80665N)である。
実験結果を、図4(b)に示す。試料P’として、フェライト系ダクタイル鋳鉄(FCD)、パーライト系ダクタイル鋳鉄(FCD)、S45C(焼き入れ材)、普通鋼(SS400)を用いている。
図5は、三元アブレシブ摩耗に対する耐摩耗性能の実験例である。図5(a)に示すように、回転ロール1’を軸周り回転自在に支持し、その回転ロール1’の外周に、筒状体Pに相当する試料P’を荷重a加えて当接させて、その回転ロール1’を、矢印eのように回転運動させる試験である。回転ロール1’は外周にゴムが貼り付けられたラバーロールであり、そのラバーロールの外周がベルト1に相当する。また、試料P’が筒状体Pに相当する。
試料P’は、軸周り回転する回転ロール1’の外面に摺接する。その摺接面間に、矢印fで示すように摩耗粒子を落下させている。試験条件は、試験機が同じくスガ式摩耗試験機、試料P’の形状は20×20×55mm、摩耗粒子は6号硅砂、粒子の落下速度は300g/min、粒子重量は15kgである。回転ロール1’の回転数は134rpm、試験時間は50min、荷重aは同じく1.0kgf(約9.80665N)である。
実験結果を、図5(b)に示す。試料P’として、同じく、フェライト系ダクタイル鋳鉄(FCD)、パーライト系ダクタイル鋳鉄(FCD)、S45C(焼き入れ材)、普通鋼(SS400)を用いている。
上記の実験により、金型遠心鋳造法によって製造されるフェライト系ダクタイル鋳鉄管や、同じく金型遠心鋳造法によって製造されるパーライト系ダクタイル鋳鉄管の場合、三元アブレシブ摩耗が生じ得る環境下では、その素材の硬度は比較的低いにもかかわらず、S45Cの焼き入れ材と同等の耐摩耗性を発揮することが確認できた(図5(b)参照)。
また、二元アブレシブ摩耗が生じ得る環境下では、硬度が比較的高いS45C焼き入れ材が優れた耐摩耗性能を発揮するのに対し、フェライト系ダクタイル鋳鉄管は、SS400等の普通鋼よりも耐摩耗性が低い結果を示している(図4(b)参照)。
このことから、二元アブレシブ摩耗ではなく、特に、三元アブレシブ摩耗が生じ得る環境下において、ダクタイル鋳鉄の耐摩耗性能に関する優位性が顕著であることが確認できた。
このダクタイル鋳鉄からなる筒状体Pを、三元アブレシブ摩耗が生じ得る環境下であるベルトコンベヤBの搬送側案内ローラ10や、リターン側案内ローラ20、反転部案内ローラ21に用いることにより、ベルト1との接触(摺接)による三元アブレシブ摩耗に対し、優れた耐摩耗性能を発揮できることとなる。
筒状体Pを構成するダクタイル鋳鉄(ダクタイル鋳鉄管)は、金型遠心鋳造法によって製造することができる。金型遠心鋳造法によって製造されるダクタイル鋳鉄管は、フェライト系ダクタイル鋳鉄や、パーライト系ダクタイル鋳鉄からなるものであり、これらは、通常のダクタイル鋳鉄と比較して、金属組織中に多数の微細な球状黒鉛が分布している。このため、アブレシブ摩耗が生じ得る環境下において、基地組織中の黒鉛が塑性流動することにより固体潤滑の役割を果たし、摩耗を抑制する効果を発揮しているのではないか、と考えられる。このため、黒鉛は、より粒径の小さいものを数多く分布させることが好ましいといえる。
金型遠心鋳造法によって製造されたフェライト系ダクタイル鋳鉄管やパーライト系ダクタイル鋳鉄管は、上述のように、単位面積当たりの黒鉛粒数が300個/mm以上、黒鉛粒径(平均粒径)が15μm以下、黒鉛粒が占める面積率が8%以上12%未満となっている。したがって、この条件が、三元アブレシブ摩耗に対する耐摩耗性に特に有効であるといえる。
また、フェライト系ダクタイル鋳鉄管や、パーライト系ダクタイル鋳鉄管の場合、他の金属素材を用いた場合のように焼き入れ等の特殊な熱処理を施す必要がないため、筒状体Pを、安価に製造することが可能である。
フェライト系ダクタイル鋳鉄管とパーライト系ダクタイル鋳鉄管に関し、特に、強度が要求されるようなベルトコンベヤBの仕様、使用環境でない場合は、フェライト系ダクタイル鋳鉄管を採用し、強度が要求されるようなベルトコンベヤBの仕様、使用環境の場合は、パーライト系ダクタイル鋳鉄管を用いることが望ましい。
なお、通常のダクタイル鋳鉄では、単位面積当たりの黒鉛粒数が200個/mm前後、黒鉛粒径が25μm前後、黒鉛粒が占める面積率が8%以上12%未満程度である。このような通常のダクタイル鋳鉄であっても、三元アブレシブ摩耗に対するある程度の耐摩耗性を発揮することは可能である。
この実施形態では、筒状体Pを、円筒状の外周部xと、その外周部xの内径部に位置する支持部y、支持部yから軸方向外側へ突出する回転軸zで構成しており、筒状体Pは中空の部材となっているが、筒状体Pはこのような中空の部材を備えた構成に限定されず、例えば、円筒状の外周部xの内径部に他の部材が配置されて中空部が存在しない、いわゆる中実の部材である場合も含まれる。
また、ベルトコンベヤのプーリやローラだけでなく、機械部品の摺動部等においても、他の部材と接触しながら軸周り回転することで、その表面に三元アブレシブ摩耗が生じ得る種々の筒状体Pについて、その素材をダクタイル鋳鉄とすることで、三元アブレシブ摩耗を抑制する効果が期待できる。
1 コンベヤベルト(ベルト)
1a 搬送側ベルト
1b リターン側ベルト
2 フレーム
10 搬送側案内ローラ
20 リターン側案内ローラ
21 反転部案内ローラ
30 駆動プーリ
40 従動プーリ
B ベルトコンベヤ
P 筒状体
x 外周部
y 支持部
z 回転軸

Claims (5)

  1. 他の部材と接触しながら軸周り回転することでその表面に三元アブレシブ摩耗が生じ得る筒状体(P)をダクタイル鋳鉄製としたことを特徴とする筒状体。
  2. 前記他の部材は、ベルトコンベヤ(B)の無端状のコンベヤベルト(1)であり、前記筒状体(P)は前記コンベヤベルト(1)の表面に接触するものである請求項1に記載の筒状体。
  3. 前記筒状体(P)は、前記コンベヤベルト(1)の表面に接触する駆動プーリ(30)、従動プーリ(40)及び案内ローラ(10,20,21)の一部又は全部である
    請求項2に記載の筒状体。
  4. 前記筒状体(P)を構成するダクタイル鋳鉄は、黒鉛粒数が300個/mm以上、黒鉛粒径が15μm以下、黒鉛粒が占める面積率が8%以上12%未満である
    請求項1から3のいずれか一つに記載の筒状体。
  5. 請求項1から4のいずれか一つに記載の筒状体を、駆動プーリ(30)、従動プーリ(40)及び案内ローラ(10,20,21)の一部又は全部に用いたベルトコンベヤ。
JP2018054407A 2018-03-22 2018-03-22 筒状体 Active JP6991908B2 (ja)

Priority Applications (1)

Application Number Priority Date Filing Date Title
JP2018054407A JP6991908B2 (ja) 2018-03-22 2018-03-22 筒状体

Applications Claiming Priority (1)

Application Number Priority Date Filing Date Title
JP2018054407A JP6991908B2 (ja) 2018-03-22 2018-03-22 筒状体

Publications (2)

Publication Number Publication Date
JP2019167183A JP2019167183A (ja) 2019-10-03
JP6991908B2 true JP6991908B2 (ja) 2022-01-13

Family

ID=68107095

Family Applications (1)

Application Number Title Priority Date Filing Date
JP2018054407A Active JP6991908B2 (ja) 2018-03-22 2018-03-22 筒状体

Country Status (1)

Country Link
JP (1) JP6991908B2 (ja)

Families Citing this family (1)

* Cited by examiner, † Cited by third party
Publication number Priority date Publication date Assignee Title
JP7615998B2 (ja) 2021-10-01 2025-01-17 株式会社ダイフク 搬送コンベヤ及び当該搬送コンベヤを備えた搬送装置

Citations (1)

* Cited by examiner, † Cited by third party
Publication number Priority date Publication date Assignee Title
JP2006175494A (ja) 2004-12-24 2006-07-06 Mie Katan Kogyo Kk ダクタイル鋳鉄のフェライト地鋳物の製造方法

Family Cites Families (2)

* Cited by examiner, † Cited by third party
Publication number Priority date Publication date Assignee Title
JPS5652174Y2 (ja) * 1978-12-26 1981-12-05
JPS61159551A (ja) * 1985-01-07 1986-07-19 Mitsubishi Heavy Ind Ltd 搬送用ロ−ラ

Patent Citations (1)

* Cited by examiner, † Cited by third party
Publication number Priority date Publication date Assignee Title
JP2006175494A (ja) 2004-12-24 2006-07-06 Mie Katan Kogyo Kk ダクタイル鋳鉄のフェライト地鋳物の製造方法

Also Published As

Publication number Publication date
JP2019167183A (ja) 2019-10-03

Similar Documents

Publication Publication Date Title
KR20060029215A (ko) 힌지 컨베이어 체인용 체인 핀
GB1571233A (en) Arrangement for conveying and rotating material
JP6991908B2 (ja) 筒状体
US20040140160A1 (en) Self-lubricating overhead conveyor system
US4193493A (en) Roller conveyor
KR20120139652A (ko) 부시 베어링
KR200233688Y1 (ko) 컨베이어용 롤러
CN113993797B (zh) 用于输送带系统的运载滚轮
KR101770037B1 (ko) 컨베이어용 프릭션 롤러
HUP0900592A2 (en) Rubber spiral-straight guider-cleaner for rubber conveyor belts
US20050023112A1 (en) Track system for tow-line conveyors
KR101703692B1 (ko) 플로팅 실
RU2097296C1 (ru) Ролик ленточного конвейера
JP6683970B2 (ja) 仕分装置
CN117446418B (zh) 一种转轮、刮板以及物料输送装置
KR101956477B1 (ko) 컨베이어용 프릭션 롤러
US1636051A (en) Conveyer mechanism and particularly conveyer pulley supports
Sapate et al. Metallurgical investigation of failure of coal mill drag chain pin
JP6403110B2 (ja) 自動調芯プーリを備えたベルトコンベア
RU72948U1 (ru) Подшипниковый узел ролика ленточного конвейера
RU224905U1 (ru) Устройство для очистки конвейерной ленты
CN203806536U (zh) 板式给矿机的链板组件
CN222934606U (zh) 一种螺纹多楔带头滚筒
RU2487827C2 (ru) Ролик ленточного конвейера
CN202163858U (zh) 无轴承托辊结构

Legal Events

Date Code Title Description
A621 Written request for application examination

Free format text: JAPANESE INTERMEDIATE CODE: A621

Effective date: 20201217

A977 Report on retrieval

Free format text: JAPANESE INTERMEDIATE CODE: A971007

Effective date: 20210927

TRDD Decision of grant or rejection written
A01 Written decision to grant a patent or to grant a registration (utility model)

Free format text: JAPANESE INTERMEDIATE CODE: A01

Effective date: 20211109

A61 First payment of annual fees (during grant procedure)

Free format text: JAPANESE INTERMEDIATE CODE: A61

Effective date: 20211208

R150 Certificate of patent or registration of utility model

Ref document number: 6991908

Country of ref document: JP

Free format text: JAPANESE INTERMEDIATE CODE: R150