JP6991823B2 - スラストころ軸受及びスラストころ軸受用軌道輪 - Google Patents

スラストころ軸受及びスラストころ軸受用軌道輪 Download PDF

Info

Publication number
JP6991823B2
JP6991823B2 JP2017197082A JP2017197082A JP6991823B2 JP 6991823 B2 JP6991823 B2 JP 6991823B2 JP 2017197082 A JP2017197082 A JP 2017197082A JP 2017197082 A JP2017197082 A JP 2017197082A JP 6991823 B2 JP6991823 B2 JP 6991823B2
Authority
JP
Japan
Prior art keywords
roller bearing
thrust roller
raceway
raceway ring
thrust
Prior art date
Legal status (The legal status is an assumption and is not a legal conclusion. Google has not performed a legal analysis and makes no representation as to the accuracy of the status listed.)
Active
Application number
JP2017197082A
Other languages
English (en)
Other versions
JP2018105500A (ja
Inventor
浩平 水田
力 大木
宏樹 藤原
Current Assignee (The listed assignees may be inaccurate. Google has not performed a legal analysis and makes no representation or warranty as to the accuracy of the list.)
NTN Corp
Original Assignee
NTN Corp
Priority date (The priority date is an assumption and is not a legal conclusion. Google has not performed a legal analysis and makes no representation as to the accuracy of the date listed.)
Filing date
Publication date
Application filed by NTN Corp filed Critical NTN Corp
Priority to CN201780080556.8A priority Critical patent/CN110114586A/zh
Priority to PCT/JP2017/042587 priority patent/WO2018123397A1/ja
Publication of JP2018105500A publication Critical patent/JP2018105500A/ja
Application granted granted Critical
Publication of JP6991823B2 publication Critical patent/JP6991823B2/ja
Active legal-status Critical Current
Anticipated expiration legal-status Critical

Links

Images

Landscapes

  • Rolling Contact Bearings (AREA)

Description

本発明は、スラストころ軸受及びスラストころ軸受用軌道輪に関する。
自動車用変速機、トルクコンバータ、あるいは自動車用エアコンのコンプレッサ等の電装部品の回転部分に設置されるスラストころ軸受が知られている(特許文献1を参照)。スラストころ軸受は、この回転部分に加わるスラスト荷重を支持するために使用される。特許文献1に記載されたスラストころ軸受は、回転軸方向に配置される軌道輪と、軌道輪の軌道面上を転動する複数のころと、複数のころを保持する保持器とを備える。
特開2003-83333号公報
しかしながら、特許文献1に開示されたスラストころ軸受では、ころの転動面の周速度と軌道輪の軌道面の周速度との間の差に起因して、ころは軌道輪に対して滑る。ころが軌道輪に対して滑ることによって、熱が発生する。この熱は、ころが転動するスラストころ軸受用軌道輪の軌道面に表面起点剥離を生じさせる。
本発明は、上記の課題を鑑みてなされたものであり、その目的は、ころが軌道輪に対して滑ることによって発生する熱を低減することができるように構成されたスラストころ軸受及びスラストころ軸受用軌道輪を提供することである。
本発明のスラストころ軸受は、第1のスラストころ軸受用軌道輪と、第2のスラストころ軸受用軌道輪と、第1のスラストころ軸受用軌道輪と第2のスラストころ軸受用軌道輪との間に、第1のスラストころ軸受用軌道輪及び第2のスラストころ軸受用軌道輪の周方向に沿って配置された複数の第1のころとを備える。第1のスラストころ軸受用軌道輪及び第2のスラストころ軸受用軌道輪は、各々、第1のころが転動する軌道面を含む。第1のスラストころ軸受用軌道輪の軌道面及び第2のスラストころ軸受用軌道輪の軌道面の少なくとも1つは、第1のころに接触する第1のフルクラウニング部を有する。スラストころ軸受の径方向の断面における第1のフルクラウニング部の第1の表面の形状は、第1の単一円弧である。
本発明のスラストころ軸受用軌道輪は、複数の第1のころが転動する軌道面を備える。軌道面は、第1のころに接触する第1のフルクラウニング部を有する。スラストころ軸受用軌道輪の径方向の断面における第1のフルクラウニング部の第1の表面の形状は、第1の単一円弧である。
本発明のスラストころ軸受は、第1のころがスラストころ軸受用軌道輪(第1のスラストころ軸受用軌道輪、第2のスラストころ軸受用軌道輪)に対して滑ることによって発生する熱を低減することができる。
本発明のスラストころ軸受用軌道輪は、第1のころがスラストころ軸受用軌道輪(第1のスラストころ軸受用軌道輪、第2のスラストころ軸受用軌道輪)に対して滑ることによって発生する熱を低減することができる。
実施の形態1のスラストころ軸受並びに第1及び第2のスラストころ軸受用軌道輪の概略斜視図である。 実施の形態1の第1のスラストころ軸受用軌道輪の概略断面図である。 実施の形態1の第2のスラストころ軸受用軌道輪の概略断面図である。 実施の形態1の第1のころの概略拡大断面図である。 実施の形態1のスラストころ軸受並びに第1及び第2のスラストころ軸受用軌道輪の概略部分拡大断面図である。 実施の形態1のスラストころ軸受並びに第1及び第2のスラストころ軸受用軌道輪の概略部分拡大断面図である。 実施例と比較例1のスラストころ軸受の回転速度と温度上昇率との関係を表すグラフを示す図である。 実施例のスラストころ軸受における、第1のころの第1転動面上の位置と、当該位置での単位長さ当たりの発熱量との関係を表すグラフを示す図である。 実施例のスラストころ軸受における、第1のころの第1転動面上の位置と、第1のころの第1転動面と第1のスラストころ軸受用軌道輪の軌道面との間の接触面圧との関係を表すグラフを示す図である。 比較例1のスラストころ軸受における、第1のころの第1転動面上の位置と、当該位置での単位長さ当たりの発熱量との関係を表すグラフを示す図である。 比較例1のスラストころ軸受における、第1のころの第1転動面上の位置と、第1のころの第1転動面と第1のスラストころ軸受用軌道輪の軌道面との間の接触面圧との関係を表すグラフを示す図である。 実施の形態1のスラストころ軸受の、第1フルクラウニング部の曲率半径と、中心接触面圧と、エッジ接触面圧との関係を表すグラフを示す図である。 実施の形態2のスラストころ軸受並びに第1及び第2のスラストころ軸受用軌道輪の概略部分拡大断面図である。 実施の形態2の変形例のスラストころ軸受並びに第1及び第2のスラストころ軸受用軌道輪の概略部分拡大断面図である。 実施の形態3のスラストころ軸受並びに第1及び第2のスラストころ軸受用軌道輪の概略部分拡大断面図である。 実施の形態3の第1のころの概略拡大断面図である。 実施の形態3の第2のころの概略拡大断面図である。
以下、図面を参照して、本発明の実施の形態について説明する。なお、以下の図面において同一または相当する部分には同一の参照番号を付し、その説明は繰返さない。
(実施の形態1)
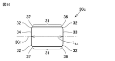
図1から図6を参照して、実施の形態1に係るスラストころ軸受1及びスラストころ軸受用軌道輪(第1のスラストころ軸受用軌道輪10、第2のスラストころ軸受用軌道輪20)を説明する。スラストころ軸受1は、第1のスラストころ軸受用軌道輪10と、第2のスラストころ軸受用軌道輪20と、複数の第1のころ30とを主に備える。スラストころ軸受1は、第1のころ30を保持する保持器40をさらに備えてもよい。第1のスラストころ軸受用軌道輪10は、第1のころ30を介して、回転軸8を中心に、第2のスラストころ軸受用軌道輪20に対して回転する。本明細書において、内側は、回転軸8に近い側として定義され、外側は、回転軸8から遠い側として定義される。本明細書において、径方向は、回転軸8に直交する方向として定義される。
第1のスラストころ軸受用軌道輪10は、環状の板部材である。第1のスラストころ軸受用軌道輪10は、第1のころ30が転動する軌道面11と、軌道面11とは反対側の第1の主面15とを有する。
第1のスラストころ軸受用軌道輪10の軌道面11は、第1のスラストころ軸受用軌道輪10の第1のフルクラウニング部12の第1の表面12sを含む。第1のスラストころ軸受用軌道輪10の軌道面11は、第1の外側平坦部13と、第1の内側平坦部14とをさらに含んでもよい。第1のフルクラウニング部12に対して外側に、第1の外側平坦部13が設けられてもよい。第1のフルクラウニング部12に対して内側に、第1の内側平坦部14が設けられてもよい。
第1の主面15は、平らであってもよい。平らな第1の主面15は、第1のスラストころ軸受用軌道輪10がハウジング(図示せず)に隙間なく取り付けられることを可能にする。そのため、スラスト荷重がスラストころ軸受1に負荷されるとき、スラストころ軸受1は、スラスト荷重を適切に受けることができる。
第2のスラストころ軸受用軌道輪20は、環状の板部材である。第2のスラストころ軸受用軌道輪20は、第1のころ30が転動する軌道面21と、軌道面21とは反対側の第2の主面25とを有する。
第2のスラストころ軸受用軌道輪20の軌道面21は、第2のスラストころ軸受用軌道輪20の第1のフルクラウニング部22の第1の表面22sを含む。第2のスラストころ軸受用軌道輪20の軌道面21は、第2の外側平坦部23と、第2の内側平坦部24とをさらに含んでもよい。第1のフルクラウニング部22に対して外側に、第2の外側平坦部23が設けられてもよい。第1のフルクラウニング部22に対して内側に、第2の内側平坦部24が設けられてもよい。
第2の主面25は、平らであってもよい。平らな第2の主面25は、第2のスラストころ軸受用軌道輪20がハウジング(図示せず)に隙間なく取り付けられることを可能にする。そのため、スラスト荷重がスラストころ軸受1に負荷されるとき、スラストころ軸受1は、スラスト荷重を適切に受けることができる。
本実施の形態では、第1のスラストころ軸受用軌道輪10の軌道面11及び第2のスラストころ軸受用軌道輪20の軌道面21は、各々、第1のフルクラウニング部22を有している。第1のスラストころ軸受用軌道輪10の軌道面11及び第2のスラストころ軸受用軌道輪20の軌道面21の少なくとも1つが、第1のころ30に接触する第1のフルクラウニング部22を有してもよい。第1のスラストころ軸受用軌道輪10の軌道面11及び第2のスラストころ軸受用軌道輪20の軌道面21の一方のみに第1のフルクラウニング部が設けられており、第1のスラストころ軸受用軌道輪10の軌道面11及び第2のスラストころ軸受用軌道輪20の軌道面21の他方には第1のフルクラウニング部が設けられていなくてもよい。本明細書において、クラウニング部は、軌道面11,21に形成された膨らみを意味する。本明細書において、フルクラウニング部は、ころ(第1のころ30)の面取り部(面取り部32)を除くころ(第1のころ30)の転動面(第1転動面31)の全てに対向するクラウニング部を意味する。
第1のスラストころ軸受用軌道輪10の第1のフルクラウニング部12は、第1のスラストころ軸受用軌道輪10の周方向に環状に延在している。第1のスラストころ軸受用軌道輪10の第1のフルクラウニング部12は、スラストころ軸受1の径方向における、第1のスラストころ軸受用軌道輪10の軌道面11の中央部に設けられてもよい。第1のスラストころ軸受用軌道輪10の第1のフルクラウニング部12は、第1の外側平坦部13及び第1の内側平坦部14から第1のころ30の第1転動面31に向けて膨出してもよい。第1のスラストころ軸受用軌道輪10の第1のフルクラウニング部12は、第1の外側平坦部13および第2の内側平坦部24に滑らかに連なるように形成されてもよい。
第2のスラストころ軸受用軌道輪20の第1のフルクラウニング部22は、第2のスラストころ軸受用軌道輪20の周方向に環状に延在している。第2のスラストころ軸受用軌道輪20の第1のフルクラウニング部22は、スラストころ軸受1の径方向における、第2のスラストころ軸受用軌道輪20の軌道面21の中央部に設けられてもよい。第2のスラストころ軸受用軌道輪20の第1のフルクラウニング部22は、第2の外側平坦部23及び第2の内側平坦部24から第1のころ30の第1転動面31に向けて膨出してもよい。第2のスラストころ軸受用軌道輪20の第1のフルクラウニング部22は、第1の外側平坦部13および第2の内側平坦部24に滑らかに連なるように形成されてもよい。
図5及び図6を参照して、スラストころ軸受1の径方向の断面(第1のスラストころ軸受用軌道輪10の径方向の断面、第2のスラストころ軸受用軌道輪20の径方向の断面)における、第1のフルクラウニング部12,22の第1の表面12s,22sの形状は、第1の単一円弧である。第1のスラストころ軸受用軌道輪10の第1のフルクラウニング部12は、点O1を中心とする単一の曲率半径r1を有する円の一部の形状を有する。第2のスラストころ軸受用軌道輪20の第1のフルクラウニング部22は、点O2を中心とする単一の曲率半径r2を有する円の一部の形状を有する。
本実施の形態では、第2のスラストころ軸受用軌道輪20の第1のフルクラウニング部22の曲率半径r2は、第1のスラストころ軸受用軌道輪10の第1のフルクラウニング部12の曲率半径r1に等しい。第2のスラストころ軸受用軌道輪20の第1のフルクラウニング部22の曲率半径r2は、第1のスラストころ軸受用軌道輪10の第1のフルクラウニング部12の曲率半径r1と異なってもよい。
図6を参照して、第1のころ30の第1ころ回転軸30rが延在する方向(スラストころ軸受1の径方向)における第1のころ30の第1転動面31の中心31cは、スラストころ軸受1の径方向における第1のスラストころ軸受用軌道輪10の第1のフルクラウニング部12の中心12cに接触してもよい。第1のころ30の第1ころ回転軸30rが延在する方向(スラストころ軸受1の径方向)における第1のころ30の第1転動面31の中心31cは、スラストころ軸受1の径方向における第2のスラストころ軸受用軌道輪20の第1のフルクラウニング部22の中心22cに接触してもよい。
第1のフルクラウニング部12を含む第1のスラストころ軸受用軌道輪10及び第1のフルクラウニング部22を含む第2のスラストころ軸受用軌道輪20の製造方法の一例は、以下の工程を備えてもよい。略一定の厚さを有する環状の板部材が準備される。第1のフルクラウニング部12,22が残るように環状の板部材の部分を削ることによって、第1のフルクラウニング部12,22が形成される。
第1のフルクラウニング部12を含む第1のスラストころ軸受用軌道輪10及び第1のフルクラウニング部22を含む第2のスラストころ軸受用軌道輪20の製造方法の別の例は、以下の工程を備えてもよい。略一定の厚さを有する環状の板部材が準備される。環状の板部材の一部を肉盛りすることによって、第1のフルクラウニング部12,22が形成される。
第1のころ30は、第1のスラストころ軸受用軌道輪10と第2のスラストころ軸受用軌道輪20との間に、第1のスラストころ軸受用軌道輪10及び第2のスラストころ軸受用軌道輪20の周方向に沿って配置されている。第1のころ30は、円筒ころまたは針状ころであってもよい。第1のころ30は、各々、第1のスラストころ軸受用軌道輪10及び第2のスラストころ軸受用軌道輪20の軌道面11,21、特に、第1のフルクラウニング部12,22に接触する第1転動面31を有する。第1のころ30はクラウニング部を有していない。そのため、スラストころ軸受1のコストが低減され得る。
図4を参照して、第1のころ30は、スラストころ軸受1の径方向に沿う第1ころ回転軸30rを中心に回転しながら、スラストころ軸受用軌道輪(第1のスラストころ軸受用軌道輪10及び第2のスラストころ軸受用軌道輪20)の軌道面11,21上を転動する。第1のころ30は、第1のころ長さL1を有する。第1のころ長さL1は、第1ころ回転軸30rにおける、第1のころ30の第1外側端面33と第1のころ30の第1内側端面34との間の距離として定義される。第1のころ30の第1転動面31の第1外側端部36は、第1外側端面33側の第1転動面31の端部である。第1のころ30の第1転動面31の第1内側端部37は、第1内側端面34側の第1転動面31の端部である。第1のころ30は、第1のころ30の第1外側端面33と第1転動面31との間並びに第1のころ30の第1外側端面33と第1転動面31との間に、面取り部32を含んでもよい。
保持器40は、周方向に間隔をあけて配置される複数のポケット45を有する。第1のころ30は、それぞれ、ポケット45に収容される。保持器40は、第1のころ30が互いに接触しないように、第1のころ30を保持する。
本実施の形態のスラストころ軸受1の動作状態を説明する。スラストころ軸受1の動作状態において、保持器40のポケット45に収容された第1のころ30は、スラストころ軸受用軌道輪(第1のスラストころ軸受用軌道輪10及び第2のスラストころ軸受用軌道輪20)の軌道面11,21上を転動する。具体的には、第1のころ30は、第1のスラストころ軸受用軌道輪10に設けられた第1のフルクラウニング部12上と、第2のスラストころ軸受用軌道輪20に設けられた第1のフルクラウニング部22上とを転動する。第1のスラストころ軸受用軌道輪10は、第1のころ30を介して、回転軸8を中心に、第2のスラストころ軸受用軌道輪20に対して回転する。
本実施形態の実施例を説明する。
図7に、第2のスラストころ軸受用軌道輪20に対する第1のスラストころ軸受用軌道輪10の回転速度と、本実施例のスラストころ軸受1の温度上昇率と、比較例1のスラストころ軸受の温度上昇率との関係を示す。第2のスラストころ軸受用軌道輪20に対する第1のスラストころ軸受用軌道輪10の回転速度は、1分間当たりの、第2のスラストころ軸受用軌道輪20に対する第1のスラストころ軸受用軌道輪10の回転数として定義される。
本実施例のスラストころ軸受1では、第1のスラストころ軸受用軌道輪10の第1のフルクラウニング部12は、520mmの曲率半径r1を有し、かつ、第2のスラストころ軸受用軌道輪20の第1のフルクラウニング部22は、520mmの曲率半径r2を有している。比較例1のスラストころ軸受では、本実施形態のスラストころ軸受1から、第1のフルクラウニング部12,22が省略されている。
本実施例のスラストころ軸受1及び比較例1のスラストころ軸受では、第1のころ30は、第1のころ30の第1ころ回転軸30rに沿って5.4mmの第1のころ長さを有する。本実施例のスラストころ軸受1及び比較例1のスラストころ軸受には、3kNのスラスト荷重が印加されている。本実施例のスラストころ軸受1及び比較例1のスラストころ軸受では、ISO VG32の粘度を有する潤滑油が使用されている。本実施例のスラストころ軸受1及び比較例1のスラストころ軸受の温度上昇率は、第1の主面15及び第2の主面25の温度上昇率である。
図7に示されるように、本実施例のスラストころ軸受1の温度上昇率及び比較例1のスラストころ軸受の温度上昇率は、いずれも、第2のスラストころ軸受用軌道輪20に対する第1のスラストころ軸受用軌道輪10の回転速度が増加するにつれて、増加する。しかし、本実施例のスラストころ軸受1は、比較例1のスラストころ軸受よりも低いスラストころ軸受1の温度上昇率を有している。表1に示されるように、本実施例のスラストころ軸受1の発熱量は、比較例1のスラストころ軸受の発熱量よりも少ない。
Figure 0006991823000001
比較例1のスラストころ軸受に比べて、本実施例のスラストころ軸受1が、スラストころ軸受1の発熱量を減少させ、かつ、スラストころ軸受1の温度上昇率を低減することができる理由を、以下説明する。
図8は、本実施例における、スラストころ軸受1の径方向における第1のころ30の第1転動面31上の位置dと、位置dでの単位長さ当たりの発熱量h1との関係を示す。本明細書において、位置dでの単位長さ当たりの発熱量は、第1転動面31と軌道面11,21とが線接触する長さで規格化された、位置dにおける第1転動面31と軌道面11,21との間で発生する熱量として定義される。図9は、本実施例における、スラストころ軸受1の径方向における第1のころ30の第1転動面31上の位置dと、位置dでの、第1のころ30の第1転動面31と軌道面11,21との間の接触面圧P1との関係を示す。図6を参照して、スラストころ軸受1の径方向における第1のころ30の第1転動面31上の中心31cの位置は、d=0として定義される。第1のころ30の中心31cに対して外側にある第1のころ30の第1転動面31上の位置dは、正の位置(d>0)と定義される。第1のころ30の中心31cに対して内側にある第1のころ30の第1転動面31上の位置dは、負の位置(d<0)と定義される。
第1のころ30の中心31cにおいて、第1のころ30の第1転動面31は、スラストころ軸受用軌道輪(第1のスラストころ軸受用軌道輪10、第2のスラストころ軸受用軌道輪20)の軌道面11,21に線接触している。第1のころ30の中心31cでは、第2のスラストころ軸受用軌道輪20の軌道面21に対する第1のスラストころ軸受用軌道輪10の軌道面11の周速度は、第1のころ30の第1転動面31の周速度に等しい。第1のころ30の中心31cでは、第1のころ30の第1転動面31は、軌道面11,21に対して滑らない。そのため、第1のころ30の中心31cでは、第1のころ30の第1転動面31と軌道面11,21との間の差動滑りに起因する熱は発生しない。第1のころ30の中心31cにおける単位長さ当たりの発熱量h1は、0[W/mm]である。
これに対して、第1のころ30の位置dが第1のころ30の中心31cから離れるにつれて、第1のころ30の第1転動面31は、軌道面11,21に対してより多く滑る。具体的には、第1のころ30の第1転動面31の周速度は、第1のころ30の第1転動面31上の位置dによらず、一定である。これに対し、第2のスラストころ軸受用軌道輪20の軌道面21に対する第1のスラストころ軸受用軌道輪10の軌道面11の周速度は、スラストころ軸受1の回転軸8からスラストころ軸受1の外側に向かうにつれて増加する。第1のころ30の位置dが第1のころ30の中心31cから離れるにつれて、第1のスラストころ軸受用軌道輪10の軌道面11の周速度と第1のころ30の第1転動面31の周速度との間の差が大きくなる。そのため、第1のころ30の位置dが第1のころ30の中心31cから離れるにつれて、第1のころ30の第1転動面31と軌道面11,21との間の差動滑りは大きくなる。この差動滑りが大きくなるにつれて、第1のころ30の第1転動面31と軌道面11,21との間で発生する熱が増加する。以下、この熱は、周速度差の増加に起因する熱と定義される。
第1のころ30の第1転動面31と軌道面11,21との間の接触面圧P1が増加(減少)するにつれて、この差動滑りによって第1のころ30の第1転動面31との軌道面11,21との間で発生する熱が増加(減少)する。以下、この増加(減少)された熱は、接触面圧に起因する熱と定義される。
本実施例では、スラストころ軸受用軌道輪(第1のスラストころ軸受用軌道輪10、第2のスラストころ軸受用軌道輪20)の軌道面11,21は、第1のころ30に接触する第1のフルクラウニング部12,22を有する。スラストころ軸受1の径方向の断面(スラストころ軸受用軌道輪(第1のスラストころ軸受用軌道輪10、第2のスラストころ軸受用軌道輪20)の径方向の断面)における第1のフルクラウニング部12,22の第1の表面12s,22sの形状は第1の単一円弧である。第1のフルクラウニング部12,22の第1の表面12s,22sの形状は第1の単一円弧であるため、第1のころ30の位置dが第1のころ30の中心31cから離れるにつれて、第1のフルクラウニング部12,22の第1の表面12s,22sは、第1のころ30の第1転動面31から離れる形状を有している。そのため、図9に示されるように、第1のころ30の位置dが第1のころ30の中心31cから離れるにつれて、第1のころ30の第1転動面31と軌道面11,21との間の接触面圧P1が減少し、接触面圧P1に起因する熱は減少する。
スラスト荷重がスラストころ軸受1に印加されて、第1のスラストころ軸受用軌道輪10、第2のスラストころ軸受用軌道輪20及び第1のころ30が弾性変形する。そのため、図8及び図9に示される領域Aでは、第1のころ30の第1転動面31は、スラストころ軸受用軌道輪(第1のスラストころ軸受用軌道輪10、第2のスラストころ軸受用軌道輪20)の軌道面11,21に線接触している。領域Aでは、接触面圧の減少に起因する熱の減少の影響よりも、周速度差の増加に起因する熱の増加の影響が大きい。したがって、領域Aでは、第1のころ30の位置dが第1のころ30の中心31cから離れるにつれて、第1のころ30の位置dにおける単位長さ当たりの発熱量h1は増加する。
図8及び図9に示される領域Bにおいても、領域Aと同様に、第1のころ30の第1転動面31は、軌道面11,21に線接触している。しかし、第1のフルクラウニング部12,22の第1の表面12s,22sの形状は第1の単一円弧であるため、領域Bでは、領域Aよりもさらに、第1のころ30の第1転動面31と軌道面11,21との間の接触面圧P1が減少する。領域Bでは、周速度差の増加に起因する熱の増加の影響よりも、接触面圧の減少に起因する熱の減少の影響が大きくなる。したがって、領域Bでは、第1のころ30の位置dが第1のころ30の中心31cから離れるにつれて、第1のころ30の位置dにおける単位長さ当たりの発熱量h1は減少する。
第1のフルクラウニング部12,22の第1の表面12s,22sの形状は第1の単一円弧である。第1のフルクラウニング部12,22の第1の表面12s,22sは、第1のころ30の位置dが第1のころ30の中心31cから離れるにつれて、第1のころ30の第1転動面31から離れる形状を有している。そのため、図8及び図9に示される領域Cでは、第1のスラストころ軸受用軌道輪10、第2のスラストころ軸受用軌道輪20及び第1のころ30が弾性変形しても、第1のころ30の第1転動面31は、軌道面11,21に線接触しない。
領域Cでは、第1のころ30の第1転動面31とスラストころ軸受用軌道輪(第1のスラストころ軸受用軌道輪10、第2のスラストころ軸受用軌道輪20)の軌道面11,21との間の差動滑りは発生しない。領域Cでは、第1のころ30の第1転動面31とスラストころ軸受用軌道輪(第1のスラストころ軸受用軌道輪10、第2のスラストころ軸受用軌道輪20)の軌道面11,21との間の接触面圧P1はゼロとなる。領域Cでは、第1のころ30の位置dにおける単位長さ当たりの発熱量h1はゼロとなる。本実施例の第1のフルクラウニング部12,22は、後述する比較例1におけるエッジロードが発生することを防ぐことができる。
図10は、比較例1における、スラストころ軸受1の径方向における第1のころ30の第1転動面31上の位置dと、位置dでの単位長さ当たりの発熱量h2との関係を示す。図11は、比較例1における、スラストころ軸受1の径方向における第1のころ30の第1転動面31上の位置dと、位置dでの、第1のころ30の転動面とスラストころ軸受用軌道輪の軌道面との間の接触面圧P2との関係を示す。
比較例1では、スラストころ軸受用軌道輪の軌道面は平坦であって、第1のフルクラウニング部12,22を有さない。スラスト荷重がスラストころ軸受用軌道輪に印加されて、スラストころ軸受用軌道輪及び第1のころ30は弾性変形する。そのため、第1のころ30の第1転動面31は、スラストころ軸受用軌道輪の軌道面に線接触している。
図11に示されるように、第1のころ30の位置dが第1のころ30の中心31cから離れるにつれて、第1のころ30の第1転動面31とスラストころ軸受用軌道輪の軌道面との間の接触面圧P2が増加する。特に、比較例1では、第1のころ30の第1転動面31の端部(第1外側端部36、第1内側端部37)において、第1のころ30の第1転動面31とスラストころ軸受用軌道輪の軌道面との間の接触面圧P2が急激に増加する。比較例1では、第1のころ30の第1転動面31の端部(第1外側端部36、第1内側端部37)とスラストころ軸受用軌道輪の軌道面との間に、大きなエッジロードが発生する。
そのため、比較例1では、第1のころ30の位置dが第1のころ30の中心31cから離れるにつれて、周速度差に起因する熱が増加するとともに、接触面圧P2に起因する熱も増加する。図10に示されるように、比較例1では、第1のころ30の位置dが第1のころ30の中心31cから離れるにつれて、第1のころ30の第1転動面31とスラストころ軸受用軌道輪の軌道面との間に発生する熱が急激に増加する。
このようにして、本実施例のスラストころ軸受1は、比較例1のスラストころ軸受1に比べて、第1のころ30の第1転動面31とスラストころ軸受用軌道輪(第1のスラストころ軸受用軌道輪10、第2のスラストころ軸受用軌道輪20)の軌道面11,21との間で発生する熱を減少させることができる。本実施例のスラストころ軸受1は、比較例1のスラストころ軸受に比べて、スラストころ軸受1の温度上昇を抑制することができる。
表2に示されるように、本実施例のスラストころ軸受1は、比較例2及び比較例3のスラストころ軸受よりも、第1のころ30の第1転動面31がスラストころ軸受用軌道輪(第1のスラストころ軸受用軌道輪10、第2のスラストころ軸受用軌道輪20)の軌道面11,21に対して滑ることによって発生する熱を低減することができる。
Figure 0006991823000002
比較例2のスラストころ軸受では、スラストころ軸受用軌道輪の軌道面は、本実施例のスラストころ軸受1の第1のフルクラウニング部12,22に代えて、対数フルクラウニング部を有している。スラストころ軸受の径方向の断面(スラストころ軸受用軌道輪の径方向の断面)における対数フルクラウニング部の表面の形状は、対数曲線である。比較例3のスラストころ軸受では、スラストころ軸受用軌道輪の軌道面は、本実施例のスラストころ軸受1の第1のフルクラウニング部12,22に代えて、部分クラウニング部を有している。部分クラウニング部は、ころ(第1のころ30)の転動面(第1転動面31)の一部のみに対向するクラウニング部を意味する。
スラスト荷重がスラストころ軸受1に印加されて、第1のスラストころ軸受用軌道輪10、第2のスラストころ軸受用軌道輪20及び第1のころ30が弾性変形する。第1のころ30の第1転動面31は、軌道面11,21に線接触する。第1のフルクラウニング部12,22の第1の表面12s,22sの形状は第1の単一円弧であるため、本実施例は、比較例2及び比較例3よりも、第1のころ30の第1転動面31が軌道面11,21に線接触する長さを減少させることができる。そのため、本実施例のスラストころ軸受1は、第1のころ30の第1転動面31がスラストころ軸受用軌道輪(第1のスラストころ軸受用軌道輪10、第2のスラストころ軸受用軌道輪20)の軌道面11,21に対して滑ることによって発生する熱を低減することができる。
図12は、本実施の形態における、第1のフルクラウニング部12,22の曲率半径r1,r2と、中心接触面圧と、エッジ接触面圧との関係を表す。エッジ接触面圧は、第1のころ30の第1転動面31の端部(第1外側端部36、第1内側端部37)における、第1のころ30の第1転動面31と本実施の形態のスラストころ軸受用軌道輪(第1のスラストころ軸受用軌道輪10、第2のスラストころ軸受用軌道輪20)の軌道面11,21との間の接触面圧として定義される。中心接触面圧は、第1のころ30の中心31cにおける、第1のころ30の第1転動面31と本実施の形態のスラストころ軸受用軌道輪(第1のスラストころ軸受用軌道輪10、第2のスラストころ軸受用軌道輪20)の軌道面11,21との間の接触面圧として定義される。
エッジ接触面圧が大きくなると、第1のころ30の第1転動面31の端部(第1外側端部36、第1内側端部37)と軌道面11,21との接触部において、スラストころ軸受用軌道輪(第1のスラストころ軸受用軌道輪10、第2のスラストころ軸受用軌道輪20)が破損してしまう。このようなスラストころ軸受用軌道輪(第1のスラストころ軸受用軌道輪10、第2のスラストころ軸受用軌道輪20)の破損を防止するために、エッジ接触面圧は、2.6GPa以下であってもよく、2.49GPa以下であってもよく、2.15GPa以下であってもよく、1.6GPa以下であってもよい。このようなスラストころ軸受用軌道輪(第1のスラストころ軸受用軌道輪10、第2のスラストころ軸受用軌道輪20)の破損を防止するために、本実施の形態の第1のフルクラウニング部12,22の曲率半径r1,r2は、2100mm以下であってもよく、2000nm以下であってもよく、1600mm以下であってもよく、1200mm以下であってもよい。
本実施の形態のスラストころ軸受用軌道輪(第1のスラストころ軸受用軌道輪10、第2のスラストころ軸受用軌道輪20)の軌道面11,21は、第1のフルクラウニング部12,22を有している。そのため、図9及び図11に示されるように、本実施の形態の中心接触面圧(P1(d=0))は、比較例1の中心接触面圧(P2(d=0))よりも大きい。
本実施の形態の中心接触面圧が大きくなると、第1のころ30の中心31cと本実施の形態のスラストころ軸受用軌道輪(第1のスラストころ軸受用軌道輪10、第2のスラストころ軸受用軌道輪20)の軌道面11,21との接触部において、本実施の形態のスラストころ軸受用軌道輪(第1のスラストころ軸受用軌道輪10、第2のスラストころ軸受用軌道輪20)が破損してしまう。このようなスラストころ軸受用軌道輪(第1のスラストころ軸受用軌道輪10、第2のスラストころ軸受用軌道輪20)の破損を防止するために、本実施の形態の中心接触面圧は、2.0GPa以下であってもよく、1.8GPa以下であってもよく、1.7GPa以下であってもよく、1.67GPa以下であってもよい。このようなスラストころ軸受用軌道輪(第1のスラストころ軸受用軌道輪10、第2のスラストころ軸受用軌道輪20)の破損を防止するために、本実施の形態の第1のフルクラウニング部12,22の曲率半径r1,r2は、250mm以上であってもよく、445mm以上であってもよく、600mm以上であってもよく、720mm以上であってもよい。
本実施の形態のスラストころ軸受1及びスラストころ軸受用軌道輪(第1のスラストころ軸受用軌道輪10、第2のスラストころ軸受用軌道輪20)の効果を説明する。
本実施の形態のスラストころ軸受1は、第1のスラストころ軸受用軌道輪10と、第2のスラストころ軸受用軌道輪20と、第1のスラストころ軸受用軌道輪10と第2のスラストころ軸受用軌道輪20との間に、第1のスラストころ軸受用軌道輪10及び第2のスラストころ軸受用軌道輪20の周方向に沿って配置された複数の第1のころ30とを備える。第1のスラストころ軸受用軌道輪10及び第2のスラストころ軸受用軌道輪20は、各々、第1のころ30が転動する軌道面11,21を含む。第1のスラストころ軸受用軌道輪10の軌道面11及び第2のスラストころ軸受用軌道輪20の軌道面21の少なくとも1つは、第1のころ30に接触する第1のフルクラウニング部12,22を有する。スラストころ軸受1の径方向の断面における第1のフルクラウニング部12,22の第1の表面12s,22sの形状は、第1の単一円弧である。
第1の表面12s,22sの形状が第1の単一円弧である第1のフルクラウニング部12,22は、周速度差に起因する熱及び接触面圧に起因する熱を減少させることができる。本実施の形態のスラストころ軸受1は、第1のころ30の第1転動面31がスラストころ軸受用軌道輪(第1のスラストころ軸受用軌道輪10、第2のスラストころ軸受用軌道輪20)の軌道面11,21に対して滑ることによって発生する熱を低減することができる。本実施の形態のスラストころ軸受1は、この熱に起因してスラストころ軸受用軌道輪(第1のスラストころ軸受用軌道輪10、第2のスラストころ軸受用軌道輪20)の軌道面11,21に表面起点剥離が発生することを防止することができる。
第1の表面12s,22sの形状が第1の単一円弧である第1のフルクラウニング部12,22は、第1のころ30の端部(第1外側端部36、第1内側端部37)とスラストころ軸受用軌道輪(第1のスラストころ軸受用軌道輪10、第2のスラストころ軸受用軌道輪20)の軌道面11,21との間に発生するエッジロードを減少させることができる。本実施の形態のスラストころ軸受1は、このエッジロードに起因してスラストころ軸受用軌道輪(第1のスラストころ軸受用軌道輪10、第2のスラストころ軸受用軌道輪20)が損傷を受けることを防止することができる。
本実施の形態のスラストころ軸受1では、第1の単一円弧は、250mm以上2100mm以下の曲率半径r1,r2を有する。そのため、スラストころ軸受用軌道輪(第1のスラストころ軸受用軌道輪10、第2のスラストころ軸受用軌道輪20)が破損することが防がれ得る。
本実施の形態のスラストころ軸受用軌道輪(第1のスラストころ軸受用軌道輪10、第2のスラストころ軸受用軌道輪20)は、複数の第1のころ30が転動する軌道面11,21を備える。軌道面11,21は、第1のころ30に接触する第1のフルクラウニング部12,22を有する。スラストころ軸受用軌道輪(第1のスラストころ軸受用軌道輪10、第2のスラストころ軸受用軌道輪20)の径方向の断面における第1のフルクラウニング部12,22の第1の表面12s,22sの形状は、第1の単一円弧である。
第1の表面12s,22sの形状が第1の単一円弧である第1のフルクラウニング部12,22は、周速度差に起因する熱及び接触面圧に起因する熱を減少させることができる。本実施の形態のスラストころ軸受用軌道輪(第1のスラストころ軸受用軌道輪10、第2のスラストころ軸受用軌道輪20)は、第1のころ30がスラストころ軸受用軌道輪(第1のスラストころ軸受用軌道輪10、第2のスラストころ軸受用軌道輪20)の軌道面11,21に対して滑ることによって発生する熱を低減することができる。本実施の形態のスラストころ軸受用軌道輪(第1のスラストころ軸受用軌道輪10、第2のスラストころ軸受用軌道輪20)は、この熱に起因してスラストころ軸受用軌道輪(第1のスラストころ軸受用軌道輪10、第2のスラストころ軸受用軌道輪20)の軌道面11,21に表面起点剥離が発生することを防止することができる。
第1の表面12s,22sの形状が第1の単一円弧である第1のフルクラウニング部12,22は、第1のころ30の端部(第1外側端部36、第1内側端部37)とスラストころ軸受用軌道輪(第1のスラストころ軸受用軌道輪10、第2のスラストころ軸受用軌道輪20)の軌道面11,21との間に発生するエッジロードを減少させることができる。本実施の形態のスラストころ軸受用軌道輪(第1のスラストころ軸受用軌道輪10、第2のスラストころ軸受用軌道輪20)は、このエッジロードに起因してスラストころ軸受用軌道輪(第1のスラストころ軸受用軌道輪10、第2のスラストころ軸受用軌道輪20)が損傷を受けることを防止することができる。
本実施の形態のスラストころ軸受用軌道輪(第1のスラストころ軸受用軌道輪10、第2のスラストころ軸受用軌道輪20)では、第1の単一円弧は、250mm以上2100mm以下の曲率半径r1,r2を有する。そのため、スラストころ軸受用軌道輪(第1のスラストころ軸受用軌道輪10、第2のスラストころ軸受用軌道輪20)が破損することが防がれ得る。
(実施の形態2)
図13を参照して、実施の形態2に係るスラストころ軸受1a及びスラストころ軸受用軌道輪(第1のスラストころ軸受用軌道輪10a、第2のスラストころ軸受用軌道輪20a)を説明する。本実施の形態のスラストころ軸受1a及びスラストころ軸受用軌道輪(第1のスラストころ軸受用軌道輪10a、第2のスラストころ軸受用軌道輪20a)は、実施の形態1のスラストころ軸受1及びスラストころ軸受用軌道輪(第1のスラストころ軸受用軌道輪10、第2のスラストころ軸受用軌道輪20)と同様の構成を備えるが、主に以下の点で異なる。
本実施の形態のスラストころ軸受1aでは、第1のころ30aは、円錐ころである。円錐ころである第1のころ30aは、第1内側端部37から第1外側端部36に向かうにつれて、次第に大きくなる直径を有する。
本実施の形態のスラストころ軸受1aでは、第1のスラストころ軸受用軌道輪10aの軌道面11a,21aは、図2及び図5に示される第1の外側平坦部13及び第1の内側平坦部14を含んでいない。第1のスラストころ軸受用軌道輪10aは、軌道面11aに対して外側に位置する第1の外側鍔部51と、軌道面11aに対して内側に位置する第1の内側鍔部52とを含んでいる。第1の外側鍔部51及び第1の内側鍔部52は、スラストころ軸受1aの径方向における第1のころ30aの位置を規制する。第1の外側鍔部51及び第1の内側鍔部52の少なくとも1つは第1のころ30aに接触して、第1のころ30aをガイドしてもよい。
本実施の形態のスラストころ軸受1aでは、第2のスラストころ軸受用軌道輪20aの軌道面11a,21aは、図3及び図5に示される第2の外側平坦部23及び第2の内側平坦部24を含んでいない。第2のスラストころ軸受用軌道輪20aは、軌道面21aに対して外側に位置する第2の外側鍔部56と、軌道面21aに対して内側に位置する第2の内側鍔部57とを含んでいる。第2の外側鍔部56及び第2の内側鍔部57は、スラストころ軸受1aの径方向における第1のころ30aの位置を規制する。第2の外側鍔部56及び第2の内側鍔部57の少なくとも1つは第1のころ30aに接触して、第1のころ30aをガイドしてもよい。
図14を参照して、本実施の形態の変形例に係るスラストころ軸受1b及びスラストころ軸受用軌道輪(第1のスラストころ軸受用軌道輪10a、第2のスラストころ軸受用軌道輪20)を説明する。本実施の形態の変形例のスラストころ軸受1b及びスラストころ軸受用軌道輪(第1のスラストころ軸受用軌道輪10a、第2のスラストころ軸受用軌道輪20)は、本実施の形態のスラストころ軸受1a及びスラストころ軸受用軌道輪(第1のスラストころ軸受用軌道輪10a、第2のスラストころ軸受用軌道輪20a)と同様の構成を備えるが、主に以下の点で異なる。
本実施の形態の変形例の第2のスラストころ軸受用軌道輪20は、実施の形態1の第2のスラストころ軸受用軌道輪20と同様の構成を有している。本実施の形態の変形例の第2のスラストころ軸受用軌道輪20の軌道面21は、第2の外側平坦部23及び第2の内側平坦部24を含んでいる。本実施の形態の変形例の第2のスラストころ軸受用軌道輪20は、図13に示される第2の外側鍔部56及び第2の内側鍔部57を含んでいない。
本実施の形態の変形例の保持器40bは、スラストころ軸受1bの内側から外側に向かうにつれて第2のスラストころ軸受用軌道輪20の軌道面21から離れるように傾斜する傾斜部43を含んでいる。第1のころ30aを収容するポケット45は、傾斜部43に配置されている。
本実施の形態及びその変形例のスラストころ軸受1a,1bの効果は、実施の形態1のスラストころ軸受1の効果に加えて、以下の効果を奏する。
円錐ころである第1のころ30aは、第1内側端部37から第1外側端部36に向かうにつれて、次第に大きくなる直径を有する。第1内側端部37から第1外側端部36に向かうにつれて、第1のころ30aの第1転動面31の周速度は増加する。円錐ころである第1のころ30aは、スラストころ軸受1a,1bの径方向(第1のころ30aの第1ころ回転軸が延在する方向)において、第1のころ30aの第1転動面31の周速度と、第1のスラストころ軸受用軌道輪10aの軌道面11aの周速度との間の差を減少させることができる。
そのため、本実施の形態及びその変形例のスラストころ軸受1a,1bは、スラストころ軸受用軌道輪(第1のスラストころ軸受用軌道輪10a、第2のスラストころ軸受用軌道輪20,20a)の軌道面11a,21,21aに対する第1のころ30aの滑りを減少させて、この滑りによって発生する熱を低減することができる。本実施の形態のスラストころ軸受1a,1bは、この熱に起因してスラストころ軸受用軌道輪(第1のスラストころ軸受用軌道輪10a、第2のスラストころ軸受用軌道輪20,20a)の軌道面11a,21,21aに表面起点剥離が発生することを防止することができる。
(実施の形態3)
図15から図17を参照して、実施の形態3に係るスラストころ軸受1c及びスラストころ軸受用軌道輪(第1のスラストころ軸受用軌道輪10c、第2のスラストころ軸受用軌道輪20c)を説明する。本実施の形態のスラストころ軸受1c及びスラストころ軸受用軌道輪(第1のスラストころ軸受用軌道輪10c、第2のスラストころ軸受用軌道輪20c)は、実施の形態1のスラストころ軸受1及びスラストころ軸受用軌道輪(第1のスラストころ軸受用軌道輪10、第2のスラストころ軸受用軌道輪20)と同様の構成を備えるが、主に以下の点で異なる。
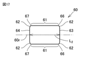
図15に示されるように、本実施の形態のスラストころ軸受1cは、複列のころ(第1のころ30c、第2のころ60)を備える。具体的には、本実施の形態のスラストころ軸受1cは、第1のスラストころ軸受用軌道輪10cと第2のスラストころ軸受用軌道輪20cとの間に、複数の第2のころ60をさらに備える。第2のころ60は、第1のスラストころ軸受用軌道輪10c及び第2のスラストころ軸受用軌道輪20cの周方向に沿って配置される。第2のころ60は、第1のころ30cに対して内側に配置される。第2のころ60は、スラストころ軸受用軌道輪(第1のスラストころ軸受用軌道輪10c、第2のスラストころ軸受用軌道輪20c)の軌道面11c,21c上を転動する。
本実施の形態では、第1のスラストころ軸受用軌道輪10cの軌道面11cは、第2のころ60に接触する第2のフルクラウニング部16を有し、かつ、第2のスラストころ軸受用軌道輪20cの軌道面21cは、第2のころ60に接触する第2のフルクラウニング部26を有する。第1のスラストころ軸受用軌道輪10cの軌道面11c及び第2のスラストころ軸受用軌道輪20cの軌道面21cの少なくとも1つが、第2のころ60に接触する第2のフルクラウニング部16,26を有してもよい。第2のフルクラウニング部16は第1のフルクラウニング部12に対して内側に位置し、かつ、第2のフルクラウニング部26は第1のフルクラウニング部22に対して内側に位置する。
第1のスラストころ軸受用軌道輪10cは、第2のフルクラウニング部16に対して外側に、第1の内側平坦部14を有してもよい。第1のスラストころ軸受用軌道輪10cは、第2のフルクラウニング部16に対して内側に、第3の平坦部17を有してもよい。第2のフルクラウニング部16は、第1の内側平坦部14及び第3の平坦部17から第1のころ30の第1転動面31に向けて膨出してもよい。第2のフルクラウニング部16は、第1の内側平坦部14及び第3の平坦部17に滑らかに連なるように形成されてもよい。
第2のスラストころ軸受用軌道輪20cは、第2のフルクラウニング部26に対して外側に、第2の内側平坦部24を有してもよい。第2のスラストころ軸受用軌道輪20cは、第2のフルクラウニング部26に対して内側に、第4の平坦部27を有してもよい。第2のフルクラウニング部26は、第2の内側平坦部24及び第4の平坦部27から第1のころ30の第1転動面31に向けて膨出してもよい。第2のフルクラウニング部26は、第2の内側平坦部24及び第4の平坦部27に滑らかに連なるように形成されてもよい。
軌道面11cは、第1のフルクラウニング部12の第1の表面12sと、第2のフルクラウニング部16の第2の表面16sとを含む。軌道面11cは、第1のフルクラウニング部12に対して外側に、第1の外側平坦部13をさらに含んでもよい。軌道面21cは、第1のフルクラウニング部22の第1の表面22sと、第2のフルクラウニング部26の第2の表面26sとを含む。軌道面21cは、第1のフルクラウニング部22に対して外側に、第2の外側平坦部23をさらに含んでもよい。
スラストころ軸受1cの径方向の断面(第1のスラストころ軸受用軌道輪10cの径方向の断面、第2のスラストころ軸受用軌道輪20cの径方向の断面)における第2のフルクラウニング部16,26の第2の表面16s,26sの形状は、第2の単一円弧である。第2のフルクラウニング部16,26の曲率半径は、第1のフルクラウニング部12,22の曲率半径に等しくてもよい。第2のフルクラウニング部16,26の曲率半径は、第1のフルクラウニング部12,22の曲率半径と異なってもよい。
第2のころ60の端部(第2外側端部66、第2内側端部67)とスラストころ軸受用軌道輪(第1のスラストころ軸受用軌道輪10c、第2のスラストころ軸受用軌道輪20c)の軌道面11c,21cとの接触部においてスラストころ軸受用軌道輪(第1のスラストころ軸受用軌道輪10c、第2のスラストころ軸受用軌道輪20c)が破損することを防ぐために、本実施の形態の第2のフルクラウニング部16,26の曲率半径は、2100mm以下であってもよく、2000nm以下であってもよく、1600mm以下であってもよく、1200mm以下であってもよい。本実施の形態のスラストころ軸受用軌道輪(第1のスラストころ軸受用軌道輪10c、第2のスラストころ軸受用軌道輪20c)のこのような破損を防ぐために、本実施の形態の第2のフルクラウニング部16,26の曲率半径は、250mm以上であってもよく、445mm以上であってもよく、600mm以上であってもよく、720mm以上であってもよい。
本実施の形態の第1のころ30cは、実施の形態1の第1のころ30と同様の構成を有するが、以下の点で異なる。本実施の形態の第1のころ30cの第1のころ長さL1c(図16参照)は、実施の形態1の第1のころ30の第1のころ長さL1(図4参照)よりも短い。
図17を参照して、第2のころ60は、第2のころ長さL2を有する。第2のころ長さL2は、第2ころ回転軸60rにおける、第2のころ60の第2外側端面63と第2のころ60の第2内側端面64との間の距離として定義される。第2のころ60は、スラストころ軸受1cの径方向に沿う第2ころ回転軸60rを中心に回転しながら、スラストころ軸受用軌道輪(第1のスラストころ軸受用軌道輪10c、第2のスラストころ軸受用軌道輪20c)の軌道面11c,21c上を転動する。第2のころ60の第2転動面61の第2外側端部66は、第2外側端面63側の第2転動面61の端部である。第2のころ60の第2転動面61の第2内側端部67は、第2内側端面64側の第2転動面61の端部である。第2のころ60は、第2のころ60の第2外側端面63と第2転動面61との間並びに第2のころ60の第2内側端面64と第2転動面61との間に、面取り部62を含んでもよい。
本実施の形態の第2のころ60は、実施の形態1の第1のころ30と同様の構成を有するが、以下の点で異なる。本実施の形態の第2のころ60の第2のころ長さL2(図17参照)は、実施の形態1の第1のころ30の第1のころ長さL1(図4参照)よりも短い。本実施の形態の第1のころ30cの第1のころ長さL1cと第2のころ60の第2のころ長さL2との和は、実施の形態1の第1のころ長さL1よりも短くてもよい。第2のころ60は、第1のころ30cと同じ構成を有してもよい。
本実施の形態のスラストころ軸受1c及びスラストころ軸受用軌道輪(第1のスラストころ軸受用軌道輪10c、第2のスラストころ軸受用軌道輪20c)の効果は、実施の形態1のスラストころ軸受1及びスラストころ軸受用軌道輪(第1のスラストころ軸受用軌道輪10、第2のスラストころ軸受用軌道輪20)の効果に加えて、以下の効果を奏する。
本実施の形態のスラストころ軸受1cは、第1のスラストころ軸受用軌道輪10cと第2のスラストころ軸受用軌道輪20cとの間に、第1のスラストころ軸受用軌道輪10c及び第2のスラストころ軸受用軌道輪20cの周方向に沿って配置された複数の第2のころ60をさらに備える。第2のころ60は、第1のスラストころ軸受用軌道輪10cの軌道面11c及び第2のスラストころ軸受用軌道輪20cの軌道面21c上を転動する。第1のスラストころ軸受用軌道輪10cの軌道面11c及び第2のスラストころ軸受用軌道輪20cの軌道面21cの少なくとも1つは、第2のころ60に接触する第2のフルクラウニング部16,26を有する。第2のフルクラウニング部16,26は第1のフルクラウニング部12,22に対して内側に位置する。スラストころ軸受1cの径方向の断面における第2のフルクラウニング部16,26の第2の表面16s,26sの形状は、第2の単一円弧である。
本実施の形態のスラストころ軸受1cは、第1のスラストころ軸受用軌道輪10cと第2のスラストころ軸受用軌道輪20cとの間に、第1のころ30cと第2のころ60とを含んでいる。第2のフルクラウニング部16,26に接触する第2のころ60は、第1のフルクラウニング部12,22に接触する第1のころ30cに対して内側に配置される。第2のころ60の第2転動面61の周速度は、第1のころ30cの第2転動面61の周速度よりも低くなり得る。
本実施の形態における第1のスラストころ軸受用軌道輪10cの軌道面11cの周速度と第1のころ30cの第1転動面31の周速度との間の第2の差は、実施の形態1における第1のスラストころ軸受用軌道輪10の軌道面11の周速度と第1のころ30の第1転動面31の周速度との間の第1の差よりも減少する。本実施の形態における第1のスラストころ軸受用軌道輪10cの軌道面11cの周速度と第2のころ60の第2転動面61の周速度との間の第3の差は、実施の形態1における第1のスラストころ軸受用軌道輪10の軌道面11の周速度と第1のころ30の第1転動面31の周速度との間の第1の差よりも減少する。
そのため、実施の形態1の第1のころ30の第1転動面31に比べて、本実施の形態の第1のころ30cの第1転動面31及び第2のころ60の第2転動面61は、軌道面11c,21cに対してより少なく滑る。本実施の形態のスラストころ軸受1cは、第1のころ30cの第1転動面31及び第2のころ60の第2転動面61が軌道面11c,21cに対して滑ることによって発生する熱を低減することができる。本実施の形態のスラストころ軸受1cは、この熱に起因してスラストころ軸受用軌道輪(第1のスラストころ軸受用軌道輪10c、第2のスラストころ軸受用軌道輪20c)の軌道面11c,21cに表面起点剥離が発生することを防止することができる。
第2の表面16s,26sの形状が第2の単一円弧である第2のフルクラウニング部16,26は、第2のころ60の端部(第2外側端部66、第2内側端部67)における、第2のころ60の第2転動面61とスラストころ軸受用軌道輪(第1のスラストころ軸受用軌道輪10c、第2のスラストころ軸受用軌道輪20c)の軌道面11c,21cとの間の接触面圧を減少させることができる。第2の表面16s,26sの形状が第2の単一円弧である第2のフルクラウニング部16,26は、第2のころ60の端部(第2外側端部66、第2内側端部67)とスラストころ軸受用軌道輪(第1のスラストころ軸受用軌道輪10c、第2のスラストころ軸受用軌道輪20c)の軌道面11c,21cとの間に発生するエッジロードを減少させることができる。本実施の形態のスラストころ軸受1cは、このエッジロードに起因してスラストころ軸受用軌道輪(第1のスラストころ軸受用軌道輪10c、第2のスラストころ軸受用軌道輪20c)が損傷を受けることを防止することができる。
本実施の形態のスラストころ軸受1cでは、第1のころ30cだけでなく第2のころ60も、スラスト荷重を受ける。そのため、本実施の形態のスラストころ軸受1cは、より大きなスラスト荷重に耐えることができる。
本実施の形態のスラストころ軸受1cでは、第2の単一円弧は、250mm以上2100mm以下の曲率半径を有してもよい。そのため、スラストころ軸受用軌道輪(第1のスラストころ軸受用軌道輪10c、第2のスラストころ軸受用軌道輪20c)が破損することが防がれ得る。
本実施の形態のスラストころ軸受用軌道輪(第1のスラストころ軸受用軌道輪10c、第2のスラストころ軸受用軌道輪20c)は、軌道面11c,21cを転動する複数の第2のころ60に接触する第2のフルクラウニング部16,26をさらに有する。第2のフルクラウニング部16,26は第1のフルクラウニング部12,22に対して内側に位置する。スラストころ軸受用軌道輪(第1のスラストころ軸受用軌道輪10c、第2のスラストころ軸受用軌道輪20c)の径方向の断面における第2のフルクラウニング部16,26の第2の表面16s,26sの形状は第2の単一円弧である。
本実施の形態のスラストころ軸受用軌道輪(第1のスラストころ軸受用軌道輪10c、第2のスラストころ軸受用軌道輪20c)は、第1のフルクラウニング部12,22と、第1のフルクラウニング部12,22に対して内側に位置する第2のフルクラウニング部16,26とを含んでいる。第2のフルクラウニング部16,26に接触する第2のころ60は、第1のころ30cに対して内側に配置され得る。そのため、第2のころ60の第2転動面61の周速度は、第1のころ30aの第1転動面31の周速度よりも低くなり得る。
本実施の形態における第1のスラストころ軸受用軌道輪10cの軌道面11cの周速度と第1のころ30cの第1転動面31の周速度との間の第2の差は、実施の形態1における第1のスラストころ軸受用軌道輪10の軌道面11の周速度と第1のころ30の第1転動面31の周速度との間の第1の差よりも減少する。本実施の形態における第1のスラストころ軸受用軌道輪10cの軌道面11cの周速度と第2のころ60の第2転動面61の周速度との間の第3の差は、実施の形態1における第1のスラストころ軸受用軌道輪10の軌道面11の周速度と第1のころ30の第1転動面31の周速度との間の第1の差よりも減少する。
そのため、実施の形態1の第1のころ30の第1転動面31に比べて、本実施の形態の第1のころ30cの第1転動面31及び第2のころ60の第2転動面61は、軌道面11c,21cに対してより少なく滑る。本実施の形態のスラストころ軸受用軌道輪(第1のスラストころ軸受用軌道輪10c、第2のスラストころ軸受用軌道輪20c)は、第1のころ30cの第1転動面31及び第2のころ60の第2転動面61がスラストころ軸受用軌道輪(第1のスラストころ軸受用軌道輪10c、第2のスラストころ軸受用軌道輪20c)の軌道面11c,21cに対して滑ることによって発生する熱を低減することができる。本実施の形態のスラストころ軸受用軌道輪(第1のスラストころ軸受用軌道輪10c、第2のスラストころ軸受用軌道輪20c)は、この熱に起因してスラストころ軸受用軌道輪(第1のスラストころ軸受用軌道輪10c、第2のスラストころ軸受用軌道輪20c)の軌道面11c,21cに表面起点剥離が発生することを防止することができる。
第2の表面16s,26sの形状が第2の単一円弧である第2のフルクラウニング部16,26は、第2のころ60の端部(第2外側端部66、第2内側端部67)における、第2のころ60の第2転動面61と軌道面11c,21cとの間の接触面圧を減少させることができる。第2の表面16s,26sの形状が第2の単一円弧である第2のフルクラウニング部16,26は、第2のころ60の端部(第2外側端部66、第2内側端部67)と軌道面11c,21cとの間に発生するエッジロードを減少させることができる。本実施の形態のスラストころ軸受用軌道輪(第1のスラストころ軸受用軌道輪10c、第2のスラストころ軸受用軌道輪20c)は、このエッジロードに起因してスラストころ軸受用軌道輪(第1のスラストころ軸受用軌道輪10c、第2のスラストころ軸受用軌道輪20c)が損傷を受けることを防止することができる。
本実施の形態のスラストころ軸受用軌道輪(第1のスラストころ軸受用軌道輪10c、第2のスラストころ軸受用軌道輪20c)では、第2の単一円弧は、250mm以上2100mm以下の曲率半径を有してもよい。そのため、スラストころ軸受用軌道輪(第1のスラストころ軸受用軌道輪10c、第2のスラストころ軸受用軌道輪20c)が破損することが防がれ得る。
今回開示された実施の形態はすべての点で例示であって制限的なものではないと考えられるべきである。例えば、実施の形態2及びその変形例の第1の外側鍔部51、第1の内側鍔部52、第2の外側鍔部56及び第2の内側鍔部57の少なくとも1つが、実施の形態1及び実施の形態3のスラストころ軸受1cに設けられてもよい。本発明の範囲は上記した説明ではなくて特許請求の範囲によって示され、特許請求の範囲と均等の意味および範囲内でのすべての変更が含まれることが意図される。
1,1a,1b,1c スラストころ軸受、8 回転軸、10,10a,10c 第1のスラストころ軸受用軌道輪、11,11a,11c 軌道面、12,22 第1のフルクラウニング部、12c,22c 中心、12s,22s 第1の表面、13 第1の外側平坦部、14 第1の内側平坦部、15 第1の主面、16,26 第2のフルクラウニング部、16s,26s 第2の表面、17 第3の平坦部、20,20a,20c 第2のスラストころ軸受用軌道輪、21,21a,21c 軌道面、23 第2の外側平坦部、24 第2の内側平坦部、25 第2の主面、27 第4の平坦部、30,30a,30c 第1のころ、30r 第1ころ回転軸、31 第1転動面、31c 中心、32,62 面取り部、33 第1外側端面、34 第1内側端面、36 第1外側端部、37 第1内側端部、40,40b 保持器、43 傾斜部、45 ポケット、51 第1の外側鍔部、52 第1の内側鍔部、56 第2の外側鍔部、57 第2の内側鍔部、60 第2のころ、60r 第2ころ回転軸、61 第2転動面、63 第2外側端面、64 第2内側端面、66 第2外側端部、67 第2内側端部。

Claims (11)

  1. スラストころ軸受であって、
    第1のスラストころ軸受用軌道輪と、
    第2のスラストころ軸受用軌道輪と、
    前記第1のスラストころ軸受用軌道輪と前記第2のスラストころ軸受用軌道輪との間に、前記第1のスラストころ軸受用軌道輪及び前記第2のスラストころ軸受用軌道輪の周方向に沿って配置された複数の第1のころとを備え、
    前記第1のスラストころ軸受用軌道輪及び前記第2のスラストころ軸受用軌道輪は、各々、前記第1のころが転動する軌道面と、前記軌道面とは反対側の主面とを含み、
    前記第1のスラストころ軸受用軌道輪の前記軌道面及び前記第2のスラストころ軸受用軌道輪の前記軌道面の少なくとも1つは、前記第1のころに接触する第1のフルクラウニング部を有し、前記スラストころ軸受の径方向の断面における前記第1のフルクラウニング部の第1の表面の形状は第1の単一円弧であ
    前記主面は平らである、スラストころ軸受。
  2. 前記第1の単一円弧は、250mm以上2100mm以下の曲率半径を有する、請求項1に記載のスラストころ軸受。
  3. 前記第1のころの軸方向における前記第1のころの転動面の中心は、前記径方向における前記第1のフルクラウニング部の中心に接触する、請求項1または2に記載のスラストころ軸受。
  4. 前記第1のころは、円筒ころまたは針状ころである、請求項1から請求項3のいずれか1項に記載のスラストころ軸受。
  5. 前記第1のころは、円錐ころである、請求項1から請求項3のいずれか1項に記載のスラストころ軸受。
  6. 前記第1のスラストころ軸受用軌道輪と前記第2のスラストころ軸受用軌道輪との間に、前記第1のスラストころ軸受用軌道輪及び前記第2のスラストころ軸受用軌道輪の前記周方向に沿って配置された複数の第2のころをさらに備え、
    前記第2のころは、前記第1のスラストころ軸受用軌道輪の前記軌道面及び前記第2のスラストころ軸受用軌道輪の前記軌道面上を転動し、
    前記第1のスラストころ軸受用軌道輪の前記軌道面及び前記第2のスラストころ軸受用軌道輪の前記軌道面の少なくとも1つは、前記第2のころに接触する第2のフルクラウニング部を有し、前記第2のフルクラウニング部は前記第1のフルクラウニング部に対して内側に位置し、前記径方向の前記断面における前記第2のフルクラウニング部の第2の表面の形状は第2の単一円弧である、請求項1から請求項5のいずれか1項に記載のスラストころ軸受。
  7. 前記第2の単一円弧は、250mm以上2100mm以下の曲率半径を有する、請求項6に記載のスラストころ軸受。
  8. スラストころ軸受用軌道輪であって、
    複数の第1のころが転動する軌道面と、
    前記軌道面とは反対側の主面とを備え、
    前記軌道面は、前記第1のころに接触する第1のフルクラウニング部を有し、前記スラストころ軸受用軌道輪の径方向の断面における前記第1のフルクラウニング部の第1の表面の形状は第1の単一円弧であ
    前記主面は平らである、スラストころ軸受用軌道輪。
  9. 前記第1の単一円弧は、250mm以上2100mm以下の曲率半径を有する、請求項8に記載のスラストころ軸受用軌道輪。
  10. 前記軌道面は、前記軌道面を転動する複数の第2のころに接触する第2のフルクラウニング部を有し、
    前記第2のフルクラウニング部は前記第1のフルクラウニング部に対して内側に位置し、前記径方向の前記断面における前記第2のフルクラウニング部の第2の表面の形状は第2の単一円弧である、請求項8または請求項9に記載のスラストころ軸受用軌道輪。
  11. 前記第2の単一円弧は、250mm以上2100mm以下の曲率半径を有する、請求項10に記載のスラストころ軸受用軌道輪。
JP2017197082A 2016-12-26 2017-10-10 スラストころ軸受及びスラストころ軸受用軌道輪 Active JP6991823B2 (ja)

Priority Applications (2)

Application Number Priority Date Filing Date Title
CN201780080556.8A CN110114586A (zh) 2016-12-26 2017-11-28 推力滚子轴承以及推力滚子轴承用轨道圈
PCT/JP2017/042587 WO2018123397A1 (ja) 2016-12-26 2017-11-28 スラストころ軸受及びスラストころ軸受用軌道輪

Applications Claiming Priority (2)

Application Number Priority Date Filing Date Title
JP2016251597 2016-12-26
JP2016251597 2016-12-26

Publications (2)

Publication Number Publication Date
JP2018105500A JP2018105500A (ja) 2018-07-05
JP6991823B2 true JP6991823B2 (ja) 2022-01-13

Family

ID=62787725

Family Applications (1)

Application Number Title Priority Date Filing Date
JP2017197082A Active JP6991823B2 (ja) 2016-12-26 2017-10-10 スラストころ軸受及びスラストころ軸受用軌道輪

Country Status (2)

Country Link
JP (1) JP6991823B2 (ja)
CN (1) CN110114586A (ja)

Families Citing this family (3)

* Cited by examiner, † Cited by third party
Publication number Priority date Publication date Assignee Title
DE102020122667B4 (de) 2020-08-31 2024-12-12 Schaeffler Technologies AG & Co. KG Lageranordnung
DE102021106627A1 (de) 2021-03-18 2022-09-22 Schaeffler Technologies AG & Co. KG Axialwälzlager und Betätigungseinrichtung für eine Bremseinheit
DE102021113825A1 (de) 2021-05-28 2022-12-01 Schaeffler Technologies AG & Co. KG Axialscheibenanordnung

Citations (4)

* Cited by examiner, † Cited by third party
Publication number Priority date Publication date Assignee Title
JP2000027871A (ja) 1998-06-17 2000-01-25 Torrington Co:The 改良効率・低騒音発生ロ―ラスラスト軸受
JP2011027213A (ja) 2009-07-28 2011-02-10 Ntn Corp 複列ころ軸受
JP2011094716A (ja) 2009-10-30 2011-05-12 Nsk Ltd スラストころ軸受
JP2012007709A (ja) 2010-06-28 2012-01-12 Nsk Ltd スラストころ軸受

Family Cites Families (6)

* Cited by examiner, † Cited by third party
Publication number Priority date Publication date Assignee Title
JPS6014926B2 (ja) * 1977-06-01 1985-04-16 日本精工株式会社 非対称クラウニング軌道を有する円すいころ軸受
JPS5934019A (ja) * 1982-08-14 1984-02-24 Nippon Seiko Kk 複列スラスト円すいころ軸受
JP3628033B2 (ja) * 1993-10-21 2005-03-09 日本精工株式会社 レース付スラストころ軸受
JP2007170448A (ja) * 2005-12-19 2007-07-05 Ntn Corp スラストころ軸受の軌道輪およびスラストころ軸受
CN203516458U (zh) * 2013-01-31 2014-04-02 日本精工株式会社 圆柱滚子轴承
CN204828283U (zh) * 2015-08-17 2015-12-02 无锡沃尔德轴承有限公司 高载荷长寿命轴承

Patent Citations (4)

* Cited by examiner, † Cited by third party
Publication number Priority date Publication date Assignee Title
JP2000027871A (ja) 1998-06-17 2000-01-25 Torrington Co:The 改良効率・低騒音発生ロ―ラスラスト軸受
JP2011027213A (ja) 2009-07-28 2011-02-10 Ntn Corp 複列ころ軸受
JP2011094716A (ja) 2009-10-30 2011-05-12 Nsk Ltd スラストころ軸受
JP2012007709A (ja) 2010-06-28 2012-01-12 Nsk Ltd スラストころ軸受

Also Published As

Publication number Publication date
JP2018105500A (ja) 2018-07-05
CN110114586A (zh) 2019-08-09

Similar Documents

Publication Publication Date Title
EP2620663B1 (en) Rolling bearing
CN103097753A (zh) 滚动轴承用保持架以及滚动轴承
JP3744663B2 (ja) ラジアル玉軸受用保持器及びラジアル玉軸受
US20110222807A1 (en) Tandem angular ball bearing
US10570962B2 (en) Sealed bearing
JP6991823B2 (ja) スラストころ軸受及びスラストころ軸受用軌道輪
JP2008185107A (ja) 玉軸受
JP5894491B2 (ja) 転がり軸受
JP5929544B2 (ja) 転がり軸受及び工作機械用主軸装置
CN106050904A (zh) 球形滚子轴承装置
JP2011094716A (ja) スラストころ軸受
JP4626183B2 (ja) 転がり軸受、およびそれを用いたハイブリッド自動車または燃料電池自動車用トランスミッション
WO2014115821A1 (ja) 円すいころ軸受
CN108071683B (zh) 圆锥滚子轴承及动力传递装置
JP2005098316A (ja) 円錐ころ軸受
EP1950434B1 (en) Tapered roller bearing
JP5810627B2 (ja) タンデムアンギュラ型玉軸受及びタンデムアンギュラ型玉軸受用外輪側組立品
WO2018123397A1 (ja) スラストころ軸受及びスラストころ軸受用軌道輪
JP2008232221A (ja) スラスト針状ころ軸受
WO2006109353A1 (ja) スラストころ軸受
CN203743200U (zh) 多列球轴承
WO2007049450A1 (ja) 円すいころ軸受
KR101585798B1 (ko) 저토크 복합 베어링
JP2008075723A (ja) スラスト針状ころ軸受
JP2014005847A (ja) 転がり軸受及び工作機械用主軸装置

Legal Events

Date Code Title Description
A621 Written request for application examination

Free format text: JAPANESE INTERMEDIATE CODE: A621

Effective date: 20200928

A131 Notification of reasons for refusal

Free format text: JAPANESE INTERMEDIATE CODE: A131

Effective date: 20210727

A521 Request for written amendment filed

Free format text: JAPANESE INTERMEDIATE CODE: A523

Effective date: 20210915

TRDD Decision of grant or rejection written
A01 Written decision to grant a patent or to grant a registration (utility model)

Free format text: JAPANESE INTERMEDIATE CODE: A01

Effective date: 20211116

A61 First payment of annual fees (during grant procedure)

Free format text: JAPANESE INTERMEDIATE CODE: A61

Effective date: 20211208

R150 Certificate of patent or registration of utility model

Ref document number: 6991823

Country of ref document: JP

Free format text: JAPANESE INTERMEDIATE CODE: R150

R250 Receipt of annual fees

Free format text: JAPANESE INTERMEDIATE CODE: R250

R250 Receipt of annual fees

Free format text: JAPANESE INTERMEDIATE CODE: R250