JP6940331B2 - カッティング装置 - Google Patents

カッティング装置 Download PDF

Info

Publication number
JP6940331B2
JP6940331B2 JP2017160886A JP2017160886A JP6940331B2 JP 6940331 B2 JP6940331 B2 JP 6940331B2 JP 2017160886 A JP2017160886 A JP 2017160886A JP 2017160886 A JP2017160886 A JP 2017160886A JP 6940331 B2 JP6940331 B2 JP 6940331B2
Authority
JP
Japan
Prior art keywords
time
holder
cutter
electromagnetic force
voice coil
Prior art date
Legal status (The legal status is an assumption and is not a legal conclusion. Google has not performed a legal analysis and makes no representation as to the accuracy of the status listed.)
Active
Application number
JP2017160886A
Other languages
English (en)
Other versions
JP2019038058A (ja
Inventor
山本 真也
真也 山本
藤本 潔
潔 藤本
昌和 五十嵐
昌和 五十嵐
Current Assignee (The listed assignees may be inaccurate. Google has not performed a legal analysis and makes no representation or warranty as to the accuracy of the list.)
Roland DG Corp
Original Assignee
Roland DG Corp
Priority date (The priority date is an assumption and is not a legal conclusion. Google has not performed a legal analysis and makes no representation as to the accuracy of the date listed.)
Filing date
Publication date
Application filed by Roland DG Corp filed Critical Roland DG Corp
Priority to JP2017160886A priority Critical patent/JP6940331B2/ja
Priority to US16/110,013 priority patent/US10486443B2/en
Publication of JP2019038058A publication Critical patent/JP2019038058A/ja
Application granted granted Critical
Publication of JP6940331B2 publication Critical patent/JP6940331B2/ja
Active legal-status Critical Current
Anticipated expiration legal-status Critical

Links

Images

Classifications

    • BPERFORMING OPERATIONS; TRANSPORTING
    • B41PRINTING; LINING MACHINES; TYPEWRITERS; STAMPS
    • B41JTYPEWRITERS; SELECTIVE PRINTING MECHANISMS, i.e. MECHANISMS PRINTING OTHERWISE THAN FROM A FORME; CORRECTION OF TYPOGRAPHICAL ERRORS
    • B41J11/00Devices or arrangements  of selective printing mechanisms, e.g. ink-jet printers or thermal printers, for supporting or handling copy material in sheet or web form
    • B41J11/66Applications of cutting devices
    • B41J11/70Applications of cutting devices cutting perpendicular to the direction of paper feed
    • BPERFORMING OPERATIONS; TRANSPORTING
    • B26HAND CUTTING TOOLS; CUTTING; SEVERING
    • B26DCUTTING; DETAILS COMMON TO MACHINES FOR PERFORATING, PUNCHING, CUTTING-OUT, STAMPING-OUT OR SEVERING
    • B26D1/00Cutting through work characterised by the nature or movement of the cutting member or particular materials not otherwise provided for; Apparatus or machines therefor; Cutting members therefor
    • B26D1/01Cutting through work characterised by the nature or movement of the cutting member or particular materials not otherwise provided for; Apparatus or machines therefor; Cutting members therefor involving a cutting member which does not travel with the work
    • B26D1/04Cutting through work characterised by the nature or movement of the cutting member or particular materials not otherwise provided for; Apparatus or machines therefor; Cutting members therefor involving a cutting member which does not travel with the work having a linearly-movable cutting member
    • B26D1/06Cutting through work characterised by the nature or movement of the cutting member or particular materials not otherwise provided for; Apparatus or machines therefor; Cutting members therefor involving a cutting member which does not travel with the work having a linearly-movable cutting member wherein the cutting member reciprocates
    • B26D1/065Cutting through work characterised by the nature or movement of the cutting member or particular materials not otherwise provided for; Apparatus or machines therefor; Cutting members therefor involving a cutting member which does not travel with the work having a linearly-movable cutting member wherein the cutting member reciprocates for thin material, e.g. for sheets, strips or the like
    • BPERFORMING OPERATIONS; TRANSPORTING
    • B26HAND CUTTING TOOLS; CUTTING; SEVERING
    • B26DCUTTING; DETAILS COMMON TO MACHINES FOR PERFORATING, PUNCHING, CUTTING-OUT, STAMPING-OUT OR SEVERING
    • B26D5/00Arrangements for operating and controlling machines or devices for cutting, cutting-out, stamping-out, punching, perforating, or severing by means other than cutting
    • B26D5/08Means for actuating the cutting member to effect the cut
    • B26D5/086Electric, magnetic, piezoelectric, electro-magnetic means
    • BPERFORMING OPERATIONS; TRANSPORTING
    • B26HAND CUTTING TOOLS; CUTTING; SEVERING
    • B26DCUTTING; DETAILS COMMON TO MACHINES FOR PERFORATING, PUNCHING, CUTTING-OUT, STAMPING-OUT OR SEVERING
    • B26D5/00Arrangements for operating and controlling machines or devices for cutting, cutting-out, stamping-out, punching, perforating, or severing by means other than cutting
    • B26D5/20Arrangements for operating and controlling machines or devices for cutting, cutting-out, stamping-out, punching, perforating, or severing by means other than cutting with interrelated action between the cutting member and work feed
    • BPERFORMING OPERATIONS; TRANSPORTING
    • B41PRINTING; LINING MACHINES; TYPEWRITERS; STAMPS
    • B41JTYPEWRITERS; SELECTIVE PRINTING MECHANISMS, i.e. MECHANISMS PRINTING OTHERWISE THAN FROM A FORME; CORRECTION OF TYPOGRAPHICAL ERRORS
    • B41J11/00Devices or arrangements  of selective printing mechanisms, e.g. ink-jet printers or thermal printers, for supporting or handling copy material in sheet or web form
    • B41J11/66Applications of cutting devices
    • B41J11/70Applications of cutting devices cutting perpendicular to the direction of paper feed
    • B41J11/706Applications of cutting devices cutting perpendicular to the direction of paper feed using a cutting tool mounted on a reciprocating carrier
    • BPERFORMING OPERATIONS; TRANSPORTING
    • B65CONVEYING; PACKING; STORING; HANDLING THIN OR FILAMENTARY MATERIAL
    • B65HHANDLING THIN OR FILAMENTARY MATERIAL, e.g. SHEETS, WEBS, CABLES
    • B65H35/00Delivering articles from cutting or line-perforating machines; Article or web delivery apparatus incorporating cutting or line-perforating devices, e.g. adhesive tape dispensers
    • B65H35/04Delivering articles from cutting or line-perforating machines; Article or web delivery apparatus incorporating cutting or line-perforating devices, e.g. adhesive tape dispensers from or with transverse cutters or perforators
    • B65H35/06Delivering articles from cutting or line-perforating machines; Article or web delivery apparatus incorporating cutting or line-perforating devices, e.g. adhesive tape dispensers from or with transverse cutters or perforators from or with blade, e.g. shear-blade, cutters or perforators
    • BPERFORMING OPERATIONS; TRANSPORTING
    • B65CONVEYING; PACKING; STORING; HANDLING THIN OR FILAMENTARY MATERIAL
    • B65HHANDLING THIN OR FILAMENTARY MATERIAL, e.g. SHEETS, WEBS, CABLES
    • B65H2801/00Application field
    • B65H2801/36Plotting

Landscapes

  • Life Sciences & Earth Sciences (AREA)
  • Forests & Forestry (AREA)
  • Engineering & Computer Science (AREA)
  • Mechanical Engineering (AREA)
  • Control Of Cutting Processes (AREA)
  • Handling Of Sheets (AREA)

Description

本発明は、記録紙や板状体等の切断対象物の切断に好適なカッティング装置に関する。
従来から、記録紙や板状体等の切断対象物を切断するカッティング装置が知られている。特許文献1には、切断対象物に対して二次元的に相対移動可能に構成されたキャリッジと、キャリッジに搭載され、上下方向に移動可能なカッターと、を備えたカッティング装置が記載されている。
特許文献1に記載のカッティング装置では、カッターは、キャリッジに搭載されたボイスコイルモータによって上下方向に移動する。即ち、ボイスコイルモータのコイルに電流を供給すると電磁力が発生して、カッターを保持するホルダーが上下方向に移動するように構成されている。
特開2011−218456号公報
ところで、切断対象物を切断する前には、ボイスコイルモータに電流が流れていない。このため、カッターを保持するホルダーは、ホルダーに接続された弾性体によって上方に付勢されている。即ち、カッターは切断対象物から離間している。一方、切断対象物を切断するときには、ボイスコイルモータに電流を流し、弾性体の付勢力に抗してホルダーを下方に移動させる。これにより、カッターが切断対象物に接触する。ボイスコイルモータに流れる電流は、通常、徐々に大きくなるように設定されており、ホルダーは徐々に下方に移動するように構成されている。
ここで、ホルダーは、上下方向に延びる支柱に対して摺動自在に設けられているが、初期動作時には、ホルダーと支柱との間の摺動抵抗によってホルダーがスムーズに下方に移動できない場合があり得る。また、ホルダーを上方に付勢する弾性体のばね定数にはバラツキがあり、弾性体の付勢力が強い場合には、ホルダーがスムーズに下方に移動できない場合があり得る。切断対象物の切断は、ボイスコイルモータに電流が流れ始めてから所定の時間の経過後に開始されるが、上述のようにホルダーがスムーズに動かない場合には、例えば、カッターが切断対象物に接触する前に、切断対象物の切断が開始されてしまい、切断対象物の一部が切断されない事態が発生し得る。また、ホルダーがスムーズに動かない結果、ボイスコイルモータに流れる電流値がある程度大きくなったときに突然ホルダーが下方に移動してしまうと、カッター下降時の勢いが強すぎる結果、切断対象物上でカッターがバウンドしてしまい、切断対象物の品質を低下させてしまう虞がある。
本発明はかかる点に鑑みてなされたものであり、その目的は、カッターを保持するホルダーをスムーズに下方に移動させることができるカッティング装置を提供することである。
本発明に係るカッティング装置は、切断対象物を切断し、上下方向に移動可能なカッターと、前記カッターに対して上下方向の力を加えるボイスコイルモータを有するカッター移動機構と、前記カッター移動機構が設けられ、主走査方向に移動可能なキャリッジと、前記主走査方向と交差する方向である副走査方向に前記切断対象物を移動させる移動装置と、前記ボイスコイルモータ、前記キャリッジおよび前記移動装置を制御する制御装置と、を備えている。前記カッター移動機構は、前記キャリッジに設けられたベース部材と、前記ベース部材に設けられ、上下方向に延びる支柱と、前記支柱の上端に設けられたプレートと、前記プレートより下方に配置され、前記ボイスコイルモータに取り付けられ、前記カッターを保持し、前記支柱に対して上下方向に摺動自在に設けられたホルダーと、一端が前記ホルダーに接続され、他端が前記プレートに接続され、前記ホルダーを上方に向けて付勢する弾性体と、を備えている。前記制御装置は、前記ボイスコイルモータに流れる電流値を制御することによって、前記ホルダーに対して第1の電磁力を下向きに第1の時間だけ加えた後に、前記ホルダーに対して前記第1の電磁力を上向きに前記第1の時間より短い第2の時間だけ加え、さらに、前記ホルダーに対して前記第1の電磁力より小さい第2の電磁力を下向きに前記第2の時間より長い第3の時間だけ加えあるいは前記ボイスコイルモータへの電流の供給を前記第3の時間だけ停止し、その後に前記ホルダーに対して前記第1の電磁力以下の電磁力であって前記切断対象物を切断する際に加えられる第3の電磁力を下向きに前記第1の時間より長い第4の時間だけ加え、前記カッターを前記切断対象物に接触させるカッター移動制御部と、前記ボイスコイルモータに電流を流し始めてから所定の時間の経過後に、前記キャリッジおよび前記移動装置を制御することによって、前記切断対象物の切断を開始するカッティング制御部と、を備えている。前記第1の時間は、前記ホルダーに対して前記第1の電磁力を下向きに加えたときに、前記カッターが前記切断対象物と接触しない長さに設定されている。
本発明のカッティング装置によると、カッター移動制御部は、まず、ホルダーに対して第1の電磁力を下向きに第1の時間だけ加える。ここで、第1の電磁力は比較的大きな力であるため、ホルダーに対して第1の電磁力を下向きに加えることによって、ホルダーと支柱との間の摺動抵抗やホルダーとプレートとに接続された弾性体に抗して、スムーズにホルダーを下方に移動させることができる。さらに、第1の時間は、カッターが切断対象物と接触しない長さに設定されているため、切断対象物上でカッターがバウントすることが防止される。カッター移動制御部は、次に、ホルダーに対して第1の電磁力を上向きに第1の時間より短い第2の時間だけ加える。これにより、高速で下方に移動するホルダーの速度を落とすことができ、カッターが高速の状態で切断対象物と接触することを抑制することができる。さらに、カッター移動制御部は、ホルダーに対して第1の電磁力より小さい第2の電磁力を下向きに第2の時間より長い第3の時間だけ加える。あるいは、カッター移動制御部は、ボイスコイルモータへの電流の供給を第3の時間だけ停止する。これにより、ホルダーは徐々に下方に移動する。その後、カッター移動制御部は、切断対象物を切断する際に加えられる第3の電磁力を下向きに第1の時間より長い第4の時間だけ加え、カッターを切断対象物に接触させる。これにより、カッターを切断対象物に安定的に接触させることができ、カッターが切断対象物上でバウンドすることを抑制することができる。また、カッティング制御部は、ボイスコイルモータに電流を流し始めてから所定の時間の経過後に、切断対象物の切断を開始するが、ホルダーが支柱に対してスムーズに下方に移動する場合には、所定の時間が経過する前に、カッターが切断対象物に接触するため、切断対象物の切断が確実に行われる。
本発明によれば、カッターを保持するホルダーをスムーズに下方に移動させることができるカッティング装置を提供することができる。
一実施形態に係るカッティング装置の斜視図である。 印刷ヘッドユニットおよびカッティングヘッドユニットが連結された状態を示す正面図である。 印刷ヘッドユニットおよびカッティングヘッドユニットが分離された状態を示す正面図である。 一実施形態に係るカッティングヘッドを示す斜視図である。 一実施形態に係るカッティングヘッドを示す正面図であり、カッターが初期位置に位置する状態を示す図である。 一実施形態に係るカッティングヘッドを示す正面図であり、カッターがカッティング位置に位置する状態を示す図である。 一実施形態に係るカッターを示す正面図である。 一実施形態に係るカッティングヘッドの断面図である。 一実施形態に係る制御装置のブロック図である。 ボイスコイルモータに流れる電流値と時間との関係を示すグラフである。 カッターの位置と時間との関係を示すグラフである。
以下、図面を参照しながら、本発明の実施形態に係るカッティング装置について説明する。本実施形態に係るカッティング装置は、切断対象物に印刷を行いかつ切断対象物を切断するプリント&カット機である。なお、ここで説明される実施形態は、当然ながら特に本発明を限定することを意図したものではない。また、同じ作用を奏する部材・部位には同じ符号を付し、重複する説明は適宜省略または簡略化する。
図1は、本実施形態に係るカッティング装置10を示す斜視図である。図1に示すように、カッティング装置10は、切断対象物5に印刷を行う。カッティング装置10は、切断対象物5を切断する。本実施形態の切断対象物5は、例えば、アクリル樹脂等から形成された樹脂板である。切断対象物5は、少なくともカッティングが可能な媒体であれば足り、特に限定されない。切断対象物5は、アルミや鉄等から形成された金属板、ガラス板、木材板および段ボール等の厚みおよび重量が比較的重い板状体であってもよいし、記録紙、樹脂製のシート等のシート状のものであってもよい。本明細書において「カッティング」および「切断」とは、切断対象物5の厚み方向の全体を切断する場合と、切断対象物5の厚み方向の一部を切断する場合とが含まれる。
以下の説明では、左、右、上、下とは、カッティング装置10の正面にいる作業者から見た左、右、上、下をそれぞれ意味することとする。また、カッティング装置10から上記作業者に近づく方を前方、遠ざかる方を後方とする。図面中の符号F、Rr、L、R、U、Dは、それぞれ前、後、左、右、上、下を表す。図面中の符号Yは主走査方向を表す。本実施形態では、主走査方向Yは、左右方向である。主走査方向Yは、例えば、切断対象物5の幅方向である。図面中の符号Xは副走査方向を表す。副走査方向Xは主走査方向Yと交差する方向(例えば、平面視で垂直に交差する方向)である。本実施形態では、副走査方向Xは前後方向である。ただし、上記方向は便宜的に定めたものに過ぎず、限定的に解釈すべきものではない。
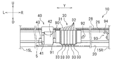
図1に示すように、カッティング装置10は、本体部12と、左サイドカバー16Lおよび右サイドカバー16Rと、上カバー17と、中央壁18と、プラテン20と、グリットローラ22と、ピンチローラ24と、ガイドレール26と、ベルト28と、印刷ヘッドユニット30と、カッティングヘッドユニット40と、を備えている。
本体部12は、スタンド14に支持されている。本体部12は、主走査方向Yに延びている。左サイドカバー16Lは、本体部12の左端に設けられている。右サイドカバー16Rは、本体部12の右端に設けられている。上カバー17は、本体部12の上方に設けられている。上カバー17は、左サイドカバー16Lと右サイドカバー16Rとを接続する。本体部12には上下方向に延びる中央壁18が設けられている。中央壁18は、主走査方向Yに延びている。中央壁18は、左サイドカバー16Lと右サイドカバー16Rとを連結する。
図1に示すように、本体部12には、切断対象物5が載置されるプラテン20が設けられている。プラテン20には、円筒状のグリットローラ22が設けられている。グリットローラ22は、その上面部を露出させた状態でプラテン20に埋設されている。グリットローラ22は、フィードモータ38(図8参照)によって駆動される。グリットローラ22は、切断対象物5を副走査方向Xに移動させる移動装置の一例である。グリットローラ22の上方には、複数のピンチローラ24が配置されている。ピンチローラ24は、グリットローラ22に対向している。ピンチローラ24は、切断対象物5の厚さに応じて上下方向の位置を設定可能に構成されている。ピンチローラ24とグリットローラ22との間に切断対象物5を挟み込む。グリットローラ22およびピンチローラ24は、切断対象物5を狭持しながら切断対象物5を副走査方向Xに移動可能に構成されている。
図1に示すように、ガイドレール26は、中央壁18に設けられている。ガイドレール26は、プラテン20の上方に配置されている。ガイドレール26は、プラテン20と平行に配置されている。ガイドレール26は、主走査方向Yに延びている。ガイドレール26には、印刷ヘッドユニット30のキャリッジ31(図2A参照)およびカッティングヘッドユニット40のキャリッジ41(図2A参照)が係合している。
図1に示すように、ベルト28は、中央壁18の壁面に平行して配置されている。ベルト28は、主走査方向Yに延びている。ベルト28は、無端状のベルトである。ベルト28の右端および左端には、プーリ(図示せず)が巻き掛けられている。一方のプーリには、当該プーリを駆動するキャリッジモータ39(図8参照)に接続されている。キャリッジモータ39が回転すると上記プーリが回転し、ベルト28が主走査方向Yに走行する。
図2Aに示すように、印刷ヘッドユニット30は、キャリッジ31と、キャリッジ31に搭載されたインクヘッド32と、を備えている。インクヘッド32は、インクを吐出するノズル33を備えている。ここでは、5つのインクヘッド32がキャリッジ31に搭載されている。5つのインクヘッド32は、互いに異なる5つの色、例えば、イエローインク、マゼンタインク、シアンインク、ブラックインク、ホワイトインクを吐出する。ただし、インクヘッド32の個数は5個に限定されない。また、インクヘッド32が吐出するインクの色も何ら限定されない。
図1に示すように、カッティングヘッドユニット40は、印刷ヘッドユニット30の左方に配置されている。なお、カッティングヘッドユニット40は、印刷ヘッドユニット30の右方に配置されていてもよい。図3に示すように、カッティングヘッドユニット40は、キャリッジ41と、カバー42(図2A参照)と、カッター43と、カッター移動機構44とを備えている。図2Aに示すように、キャリッジ41は、ベルト28に固定されている。ベルト28が走行すると、キャリッジ41は、ガイドレール26に沿って主走査方向Yに移動する。カバー42は、キャリッジ41に着脱自在に設けられている。カバー42は、カッター移動機構44のボイスコイルモータ50(図3参照)を覆うように配置されている。カバー42は、カッター43を覆わないように配置されている。
カッター43は、切断対象物5を切断する。カッター43は、カッター移動機構44に設けられている。カッター43は、上下方向に移動可能に構成されている。図2Aに示すように、カッター43は、キャリッジ41の左方に設けられている。カッター43は、キャリッジ41の右方に設けられていてもよい。図6に示すように、カッター43は、棒状に延びる。カッター43は、カッター移動機構44(図3参照)に着脱自在に支持される本体ケース43aと、本体ケース43a内に配置され、本体ケース43aの下端から外部に露出する刃43bとを備えている。切断対象物5(図1参照)は、カッター43の刃43bにより切断される。上述したように、カッター43は、キャリッジ41により主走査方向Yに移動する。従って、カッター43の刃43bは、主走査方向Yに移動する。
カッター移動機構44は、カッター43を切断対象物5に対して接近および離反する方向に移動させる。本実施形態では、カッター移動機構44は、カッター43を上下方向に移動させる。図3に示すように、カッター移動機構44は、キャリッジ41に設けられている。即ち、カッター43およびカッター移動機構44は、キャリッジ41に設けられ、主走査方向Yに往復移動する。キャリッジ41は、カッター43およびカッター移動機構44を主走査方向Yに移動させる。
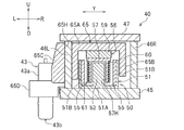
図3に示すように、カッター移動機構44は、ベース部材45と、左支柱46Lと、右支柱46Rと、プレート47と、ボイスコイルモータ50と、ホルダー65と、ばね68とを備えている。ベース部材45は、矩形状に形成されている。ベース部材45は、キャリッジ41に設けられている。左支柱46Lおよび右支柱46Rは、ベース部材45に設けられている。左支柱46Lおよび右支柱46Rは、上下方向に延びる。左支柱46Lは、ボイスコイルモータ50より左方に配置されている。右支柱46Rは、ボイスコイルモータ50より右方に配置されている。本実施形態では、右支柱46Rは、左支柱46Lより前方に配置されているが、右支柱46Rは、左支柱46Lより後方に配置されてもよい。なお、左支柱46Lがボイスコイルモータ50より前方に配置されかつ右支柱46Rがボイスコイルモータ50より後方に配置されてもよいし、左支柱46Lがボイスコイルモータ50より後方に配置されかつ右支柱46Rがボイスコイルモータ50より前方に配置されてもよい。
図3に示すように、プレート47は、矩形状に形成されている。図4に示すように、プレート47は、ホルダー65より上方に配置されている。プレート47は、左支柱46Lの上端および右支柱46Rの上端に設けられている。プレート47は、左支柱46Lおよび右支柱46Rに連結されている。プレート47には、プレート47の下面47Bから下方に向けて突出する突出体48が設けられている。本実施形態では、プレート47には、突出体48を挿入する挿入孔47Hが形成されている。突出体48は、突出体48の下端がプレート47の下面47Bより下方に位置するように、挿入孔47Hに挿入されている。これにより、プレート47とホルダー65とが直接接触することが抑制される。また、挿入孔47Hには、ねじ溝が形成されている。突出体48の外周面には、ねじ溝が形成されている。これにより、突出体48の下端のプレート47の下面47Bからの突出量を調整することができる。
図4に示すように、ばね68は、一端68Aがプレート47に接続され、他端68Bがホルダー65に接続されている。本実施形態では、ばね68の一端68Aは、ホルダー65の後述する第3部分65Cに接続されている。ばね68の他端68Bは、プレート47に接続されている。ばね68は、ホルダー65をプレート47に向かう方向に付勢している。本実施形態では、ばね68は、ホルダー65に対して上向きの付勢力を与えている。ばね68は、弾性体の一例である。
ボイスコイルモータ50は、カッター43に対して上下方向の力を加える。図7に示すように、ボイスコイルモータ50は、ベース部材45の上に配置されている。ボイスコイルモータ50は、プレート47の下方に配置されている。ボイスコイルモータ50は、ハウジング51と、突出部材53と、磁石55と、コイルボビン56と、コイル61とを備えている。
図7に示すように、ハウジング51は、有底円筒状に形成されている。ハウジング51は、円形状の底部51Aと、底部51Aの縁から上方に延びる側部51Bを備えている。突出部材53は、ハウジング51内に設けられている。突出部材53は、底部51Aから上方に延びる。突出部材53は、底部51Aの略中央から上方に延びる。突出部材53は、円柱形状に形成されている。突出部材53は、ハウジング51と一体に形成されている。ハウジング51および突出部材53は、例えば、鉄製である。
図7に示すように、磁石55は、ハウジング51内に配置されている。磁石55は、突出部材53と離間した位置に配置されている。磁石55は、ハウジング51の側部51Bに沿って配置されている。
図7に示すように、コイルボビン56は、本体部57と、頭部59とを備えている。本体部57は、突出部材53と磁石55との間に配置されている。本体部57は、上下方向に延びる。本体部57には、突出部材53が挿入される挿入孔57Hが形成されている。挿入孔57Hは、下方に向けて開口している。頭部59は、本体部57の上端部に設けられている。頭部59の直径は、本体部57の直径より大きい。コイルボビン56は、突出部材53に沿って上下方向に移動可能に構成されている。本体部57および頭部59は、非磁性体から形成されている。本体部57および頭部59は、例えば、樹脂材料から形成されている。
図7に示すように、コイル61は、本体部57に巻かれた巻線60からなる。コイル61にはリード線62(図3参照)が接続されている。リード線62を通じてコイル61に電流を供給すると、コイル61に電磁力(例えば駆動力)が発生し、コイルボビン56が下方に移動する。コイル61に供給する電流値を大きくすると、コイル61に発生する電磁力が大きくなる。すなわち、ボイスコイルモータ50の出力が大きくなる。
図7に示すように、ホルダー65は、ボイスコイルモータ50に取り付けられている。本実施形態では、ホルダー65は、コイルボビン56の頭部59に取り付けられている。ホルダー65は、頭部59に取り付けられている第1部分65Aと、第1部分65Aの右端から下方に延びる第2部分65Bと、第1部分65Aの左端から下方に延びる第3部分65Cと、第3部分65Cの下端から左方に延び、カッター43を支持する第4部分65Dとを備えている。第2部分65Bは、ボイスコイルモータ50より右方に配置されている。図3に示すように、ホルダー65は、第2部分65Bから右方に延びる第1軸66Aおよび第2軸67Aを備えている。第1軸66Aは、第2軸67Aより上方に配置されている。第1軸66Aは、第2軸67Aより前方に配置されている。第1軸66Aには、第1軸66A周りに回転する第1ローラ66Bが設けられている。第2軸67Aには、第2軸67A周りに回転する第2ローラ67Bが設けられている。第1ローラ66Bおよび第2ローラ67Bは、右支柱46Rに対して摺動自在に設けられている。図7に示すように、第3部分65Cは、ボイスコイルモータ50より左方に配置されている。第3部分65Cには、左支柱46Lが挿入される挿入孔65Hが形成されている。第4部分65Dは、カッター43の本体ケース43aを着脱自在に形成されている。ホルダー65は、左支柱46Lおよび右支柱46Rに対して上下方向に摺動自在に設けられている。即ち、ホルダー65が、上下方向に移動するとき、左支柱46Lと第3部分65Cに形成された挿入孔65Hとの間、および右支柱46Rと第1ローラ66Bおよび第2ローラ67Bとの間に摺動抵抗が生じる。
図4に示すように、ホルダー65の上面には、緩衝体49が設けられている。詳細には、緩衝体49は、ホルダー65の第3部分65Cに設けられている。なお、緩衝体49は、ホルダー65の第1部分65Aに設けられていてもよい。緩衝体49は、ホルダー65に埋設されている。緩衝体49は、突出体48と対向する位置に設けられている。緩衝体49は、突出体48と接触可能な位置に配置されている。緩衝体49は、例えば、ゴムから形成されている。
図2Aに示すように、印刷ヘッドユニット30のキャリッジ31の左側部分には、磁石によって構成される連結部材90が設けられている。この連結部材90は、カッティングヘッドユニット40のキャリッジ41に設けられた連結部材91に対し、着脱自在に連結する。本実施形態では、連結部材90、91は、磁力を利用するものである。ただし、連結部材90、91は磁力を利用するものに限られず、係合部材等の他の構成を備えたものであってもよい。キャリッジ31の右側部分には、L字状に形成された受け金具92が設けられている。
図2Aに示すように、プラテン20の左端部には、左サイドフレーム15Lが配置されている。プラテン20の右端部には、右サイドフレーム15Rが配置されている。右サイドフレーム15Rには、印刷ヘッドユニット30を待機位置にロックするためのロック装置93が設けられている。ロック装置93は、受け金具92に引っ掛けられる受け金具94と、受け金具94をロック位置(図2B参照)と非ロック位置(図2A参照)との間で移動させるロック用ソレノイド95(図8参照)とを備えている。ロック用ソレノイド95は、後述する制御装置70によって制御される。
図2Aに示すように、印刷ヘッドユニット30による印刷を行う際には、受け金具94が非ロック位置に設定される。カッティングヘッドユニット40のキャリッジ41が右方に移動し、連結部材90と連結部材91とが接触すると、キャリッジ41とキャリッジ31とが連結される。その結果、印刷ヘッドユニット30は、カッティングヘッドユニット40と共に主走査方向Yに移動可能となる。一方、カッティングヘッドユニット40によるカッティングの際には、図2Bに示すように、印刷ヘッドユニット30が待機位置に位置付けられ、ロック装置93の受け金具94がロック位置に設定される。これにより、印刷ヘッドユニット30の移動が阻止される。キャリッジ41が左方へ移動すると、連結部材90と連結部材91とが離反し、キャリッジ41とキャリッジ31との連結が解除される。その結果、印刷ヘッドユニット30が待機位置に待機した状態で、カッティングヘッドユニット40が主走査方向Yに移動可能となる。
図1に示すように、右サイドカバー16Rの前部には、操作パネル19が設けられている。操作パネル19には、印刷やカッティングの状態を表示する表示部と、ユーザーによって操作される入力キー等が設けられている。操作パネル19は、カッティング装置10の各種の動作を制御する制御装置70に接続されている。
図8に示すように、制御装置70は、切断対象物5への印刷や切断対象物5の切断を制御する装置である。制御装置70の構成は特に限定されない。制御装置70は、例えばマイクロコンピュータである。マイクロコンピュータのハードウェアの構成は特に限定されないが、例えば、ホストコンピュータなどの外部機器から印刷データなどを受信するインターフェイス(I/F)と、制御プログラムの命令を実行する中央演算処理装置(CPU:central processing unit)と、CPUが実行するプログラムを格納したROM(read only memory)と、プログラムを展開するワーキングエリアとして使用されるRAM(random access memory)と、プログラムや各種データを格納するメモリなどの記憶装置と、を備えている。図1に示すように、制御装置70は、カッティング装置10の内部に設けられている。制御装置70は、インターフェース80を介して、外部のコンピュータ81に有線または無線による通信が可能に接続されている。コンピュータ81には、印刷およびカッティングのためのデータが保存されている。制御装置70は、コンピュータ81からデータを受け、フィードモータ38、キャリッジモータ39、ロック装置93のロック用ソレノイド95、ボイスコイルモータ50およびインクヘッド32を制御する。図8に示すように、コンピュータ81には、キーボードやマウス等からなる入力装置82と、液晶ディスプレイ等からなる表示装置83と、が接続されている。
図8に示すように、制御装置70は、記憶部71と、印刷制御部72と、カッター移動制御部74と、カッティング制御部76と、を備えている。上述した制御装置70の各部の機能は、プログラムによって実現されている。このプログラムは、例えばCDやDVDなどの記録媒体から読み込まれる。なお、このプログラムは、インターネットを通じてダウンロードされるものであってもよい。また、制御装置70の各部の機能は、プロセッサおよび/または回路などによって実現可能なものであってもよい。
記憶部71は、画像を印刷するための印刷データと、当該画像に対するカット線であってカッター43により切断されるカット線を示すカットデータとを記憶する。これらのデータは、例えば、外部のコンピュータ81から送信される。
印刷制御部72は、インクヘッド32によって切断対象物5の表面に画像を印刷する制御を実行する。本実施形態では、印刷制御部72は、キャリッジモータ39を駆動することによりキャリッジ41を介してインクヘッド32を主走査方向Yに移動させつつ、インクヘッド32の各ノズル33からインクを吐出させる。これにより、一走査ラインの印刷が行われる。インクヘッド32の主走査方向Yの移動が完了すると、フィードモータ38を駆動することにより、次の走査ラインの位置まで切断対象物5を副走査方向Xに移動する。切断対象物5の副走査方向Xの移動が済むと、再びキャリッジモータ39を駆動すると共にインクヘッド32を駆動し、次の走査ラインの印刷を行う。以下、印刷の終了まで同様の動作を繰り返す。
カッター移動制御部74は、ボイスコイルモータ50を制御することによってカッター43を上下方向に移動させる。即ち、カッター移動制御部74は、ボイスコイルモータ50に流れる電流値を制御することによって、ホルダー65に対して上下方向の電磁力を加える。これにより、カッター43に上下方向の力を加えることができる。
図9に示すように、カッター移動制御部74は、まず時刻t1のときに、ボイスコイルモータ50に正の電流値D4の電流を第1の時間だけ流す。ここで、ボイスコイルモータ50に正の電流値の電流を流すと、ホルダー65(即ちカッター43)に下向きの力が加わる。これにより、カッター移動制御部74は、ホルダー65に対して第1の電磁力を下向きに第1の時間だけ加える。このとき、ホルダー65を介してカッター43が下方に移動する。ボイスコイルモータ50に流れる電流値は、例えば、10mA〜250mAである。即ち、ホルダー65に対して加えることが可能な電磁力は、例えば、30gf〜500gfである。電流値D4は、例えば、ボイスコイルモータ50に流すことができる最大の電流値の40%〜100%(例えば100%)である。電流値D4は、例えば、ボイスコイルモータ50に流すことができる最大の電流値である。即ち、第1の電磁力は、ボイスコイルモータ50がホルダー65に対して加えることが可能な最大電磁力である。本実施形態では、第1の電磁力は、500gfである。なお、第1の時間(即ち時刻t2−時刻t1)は、ホルダー65に対して第1の電磁力を下向きに加えたときに、カッター43が切断対象物5に接触しない長さに設定されている。第1の時間は、例えば、予め実験的に算出して記憶部71に記憶しておく。第1の時間は、切断対象物5の厚さによって異なる。第1の時間は、例えば、10msである。図10に示すように、時刻t1〜時刻t2の間にカッター43は、初期位置P0(図4も参照)から第1の位置P1まで勢いよく下方に移動する。
図9に示すように、その後、カッター移動制御部74は、時刻t2のときに、ボイスコイルモータ50に負の電流値D1の電流を第2の時間だけ流す。ここで、ボイスコイルモータ50に負の電流値の電流を流すと、ホルダー65(即ちカッター43)が上向きの力が加わる。これにより、カッター移動制御部74は、ホルダー65に対して第1の電磁力を上向きに第2の時間(即ち時刻t3−時刻t2)だけ加える。このとき、カッター43が下方に移動する速度は減速される。本実施形態では、電流値D1の絶対値と電流値D4の絶対値とは同じである。第2の時間は、第1の時間より短い。第2の時間は、第1の時間の半分以下(例えば10分の1以下)である。第2の時間は、例えば、1msである。図10に示すように、時刻t2〜時刻t3の間にカッター43は、第1の位置P1から第2の位置P2まで勢いを落としながら下方に移動する。
図9に示すように、その後、カッター移動制御部74は、時刻t3のときに、ボイスコイルモータ50への電流の供給を停止する。ここでは、カッター移動制御部74は、第3の時間(時刻t4−時刻t3)だけ電流の供給を停止する。このとき、カッター43は、時刻t1〜時刻t2に加えられた第1の電磁力よりも小さい電磁力によって下方に移動し続ける。第3の時間は、第2の時間より長い。第3の時間は、例えば、第1の時間と同じである。なお、カッター移動制御部74は、時刻t3のときに、ボイスコイルモータ50への電流の供給を停止しているがこれに限定されない。例えば、カッター移動制御部74は、時刻t3のときに、ボイスコイルモータ50に正の電流値DXの電流を第3の時間だけ流してもよい。これにより、カッター移動制御部74は、ホルダー65に対して第2の電磁力を下向きに第3の時間だけ加える。電流値DXは、例えば、電流値D4の10分の1以下(例えば20分の1以下)である。このとき、カッター43が下方に移動する速度は加速される。図10に示すように、時刻t3〜時刻t4の間にカッター43は、第2の位置P2から第3の位置P3まで緩やかに下方に移動する。
図9に示すように、その後、カッター移動制御部74は、時刻t4のときに、ボイスコイルモータ50に負の電流値D2の電流を第5の時間だけ流す。これにより、カッター移動制御部74は、第4の電磁力を上向きに第5の時間(即ち時刻t5−時刻t4)だけ加える。このとき、カッター43が下方に移動する速度は減速される。ここで、第4の電磁力は、ホルダー65に対して切断対象物5を切断する際に加えられる第3の電磁力より小さい。本実施形態では、電流値D2は、例えば、ボイスコイルモータ50に流すことができる最大の電流値の1%〜20%(例えば10%)である。電流値D2は、例えば、ボイスコイルモータ50に流すことができる最小の電流値である。即ち、第4の電磁力は、ボイスコイルモータ50がホルダー65に対して加えることが可能な最小電磁力である。本実施形態では、第4の電磁力は、30gfである。第5の時間は、第1の時間より短い。第5の時間は、第1の時間の半分以下(例えば、10分の1以下)である。第5の時間は、例えば、第2の時間と同じである。第5の時間は、例えば、1msである。図10に示すように、時刻t4〜時刻t5の間にカッター43は、第3の位置P3から第4の位置P4まで勢いを落としながら下方に移動する。
図9に示すように、その後に、カッター移動制御部74は、時刻t5のときに、ボイスコイルモータ50に正の電流値D3の電流を第4の時間だけ流す。これにより、カッター移動制御部74は、ホルダー65に対して第3の電磁力を下向きに第4の時間(即ち時刻t6−時刻t5)だけ加える。このとき、カッター43が下方に移動する速度は加速される。第3の電磁力は、ホルダー65に対して切断対象物5を切断する際に加えられる電磁力である。第3の電磁力は、第1の電磁力以下である。第3の電磁力は、30gf〜500gfである。本実施形態では、第3の電磁力は、250gfである。第4の時間は、第1の時間より長い。第4の時間は、第1の時間の2倍以上(例えば、4倍以上10倍以下程度)である。第4の時間は、例えば、60msである。図10に示すように時刻t5〜時刻t51の間にカッター43は、第4の位置P4からカッティング位置PC(図5も参照)まで加速しながら下方に移動する。そして、時刻t51において、カッター43は、切断対象物5に接触する。なお、カッター43は、時刻t5〜時刻t51までの間に加速しながら下方に移動するが、このときカッター43は切断対象物5に十分に近いため、カッター43が切断対象物5上でバウンドすることは抑制される。時刻t51〜時刻t6まで待つことによって、カッター43が切断対象物5に対して安定する。時刻t51〜時刻t6までの長さは、時刻t1〜時刻t51までの長さより長い。
カッティング制御部76は、カッター43によって切断対象物5を切断する制御を実行する。カッティング制御部76は、ボイスコイルモータ50に電流を流し始めてから所定の時間の経過後に、カッティングヘッドユニット40のキャリッジ41およびグリットローラ22を制御する。カッティング制御部76は、図9に示す例では、時刻t6のときに、切断対象物5の切断を開始する。ここで、所定の時間は、図9に示す例では、時刻t6−時刻t1で表され、ボイスコイルモータ50に電流を流し始めてから、カッター43が切断対象物5に対して安定するまでの時間である。ホルダー65が左支柱46Lおよび右支柱46Rに対してスムーズに下方に移動するときには、カッター43が初期位置P0からカッティング位置PCまでの移動に要する時間は、上記所定の時間より短い。本実施形態では、カッティング制御部76は、キャリッジモータ39を駆動すると共にフィードモータ38を駆動することにより、切断対象物5に対しカッター43を2次元的に相対移動させる。これにより、切断対象物5を任意のカット線に沿って切断することができる。
以上のように、本実施形態のカッティング装置10によると、カッター移動制御部74は、まず、ホルダー65に対して第1の電磁力を下向きに第1の時間だけ加える。ここで、第1の電磁力は比較的大きな力(例えばホルダー65に対して加えることが可能な最大電磁力)であるため、ホルダー65に対して第1の電磁力を下向きに加えることによって、ホルダー65と左支柱46Lおよび右支柱46Rとの間の摺動抵抗やホルダー65とプレート47とに接続されたばね68に抗して、スムーズにホルダー65を下方に移動させることができる。さらに、第1の時間は、カッター43が切断対象物5と接触しない長さに設定されているため、切断対象物5上でカッター43がバウントすることが防止される。カッター移動制御部74は、次に、ホルダー65に対して第1の電磁力を上向きに第1の時間より短い第2の時間だけ加える。これにより、高速で下方に移動するホルダー65の速度を落とすことができ、カッター43が高速の状態で切断対象物5と接触することを抑制することができる。さらに、カッター移動制御部74は、ホルダー65に対して第1の電磁力より小さい第2の電磁力を下向きに第2の時間より長い第3の時間だけ加える。これにより、ホルダー65は徐々に下方に移動する。その後、カッター移動制御部74は、切断対象物5を切断する際に加えられる第3の電磁力を下向きに第1の時間より長い第4の時間だけ加え、カッター43を切断対象物5に接触させる。これにより、カッター43を切断対象物5に安定的に接触させることができ、カッター43が切断対象物5上でバウンドすることを抑制することができる。また、カッティング制御部76は、ボイスコイルモータ50に電流を流し始めてから所定の時間の経過後に、切断対象物5の切断を開始するが、ホルダー65が左支柱46Lおよび右支柱46Rに対してスムーズに下方に移動する場合には、所定の時間が経過する前に、カッター43が切断対象物5に接触するため、切断対象物5の切断が確実に行われる。
本実施形態のカッティング装置10では、ホルダー65は、コイルボビン56の頭部59に取り付けられている。これにより、ボイスコイルモータ50で発生する電磁力をホルダー65に容易に加えることができる。
本実施形態のカッティング装置10では、カッター移動制御部74がボイスコイルモータ50への電流の供給を停止した後に、ホルダー65に対して第3の電磁力より小さい第4の電磁力を上向きに第3の時間より短い第5の時間だけ加える。これにより、徐々に下方に移動するホルダー65の速度をさらに落とすことができ、カッター43を切断対象物5に緩やかに接触させることができる。この結果、カッター43が切断対象物5上でバウンドすることを抑制することができる。
本実施形態のカッティング装置10によると、第1の電磁力はボイスコイルモータ50がホルダー65に対して加えることができる最大電磁力であり、第4の電磁力はボイスコイルモータ50がホルダー65に対して加えることができる最小電磁力である。これにより、ホルダー65の初期動作時には、確実にホルダー65を下方に移動させることができる。また、徐々に下方に移動するホルダー65の速度を適度に落とすことができ、カッターを切断対象物5により緩やかに接触させることができる。この結果、カッター43が切断対象物5上でバウンドすることを抑制することができる。
本実施形態のカッティング装置10によると、第2の時間は、第1の時間の半分以下である。これにより、ホルダー65の下降する速度を適度に減速することができると共に、ホルダー65の初期動作からカッター43が切断対象物5に接触するまでの時間が長くなることを抑制することができる。
本実施形態のカッティング装置10によると、ホルダー65の上面には、プレート47の下面47Bから下方に向けて突出する突出体48と対向する位置に、突出体48と接触可能な緩衝体49が設けられている。これにより、ホルダー65とプレート47とが直接接触することが抑制され、これらの部材の接触による異音の発生を防止することができる。なお、ホルダー65とプレート47との接触に代えて、突出体48と緩衝体49とが接触することになるが、緩衝体49は突出体48の衝突を和らげることができるため、異音の発生を抑制することができる。
本実施形態のカッティング装置10によると、緩衝体49はゴムから形成されている。ゴムは衝突音を吸収する性質を有するため、ゴムから形成された緩衝体49に突出体48が衝突したときの異音の発生をよりよく抑制することができる。なお、ボイスコイルモータ50に電流が流れていないときには、ばね68の付勢力によって緩衝体49と突出体48とが接触した状態となっている。緩衝体49がゴムから形成されている場合には、突出体48が緩衝体49に張り付いてしまうことがあり、緩衝体49から突出体48を引き剥がすのに通常よりも大きな力が必要となることがある。しかしながら、本実施形態のカッティング装置10では、カッター移動制御部74は、まず、比較的大きな力である第1の電磁力をホルダー65に加えるため、緩衝体49から突出体48を容易に引き剥がすことができ、ホルダー65をスムーズに下方に移動させることができる。
本実施形態のカッティング装置10は、切断対象物4に対し印刷を行うインクヘッド32を備えている。このため、切断対象物5に印刷を行った後、すぐに切断対象物5を切断することができる。
以上、本発明の好適な実施形態について説明した。しかし、上述の各実施形態は例示に過ぎず、本発明は他の種々の形態で実施することができる。
上述した実施形態では、カッティング装置10は、印刷ヘッドユニット30を備えていたが、これに限定されない。カッティング装置10は、カッティングヘッドユニット40のみを備えており、印刷ヘッドユニット30を備えていなくてもよい。
上述した実施形態では、時刻t4のときに、カッター移動制御部74は、ボイスコイルモータ50に負の電流値D2の電流を第5の時間だけ流していたが、これに限定されない。カッター移動制御部74は、時刻t3〜時刻t4において、ボイスコイルモータ50への電流の供給を停止したとき、あるいは、ボイスコイルモータ50に正の電流値DXの電流をした後に、ボイスコイルモータ50に正の電流値D3の電流を第4の時間だけ流してもよい。即ち、ボイスコイルモータ50に負の電流値D2の電流を流さなくてもよい。
上述した実施形態では、カッター移動制御部74は、時刻t2のときに、ボイスコイルモータ50に負の電流値D1の電流を流しているが、これに限定されない。カッター移動制御部74は、時刻t2のときに、ボイスコイルモータ50に負の電流値D1の100%以下の電流値、例えば、負の電流値D1の70%〜95%程度の電流値を流してもよい。
10 カッティング装置
40 カッティングヘッドユニット
41 キャリッジ
43 カッター
44 カッター移動機構
46L 左支柱、46R 右支柱
47 プレート
50 ボイスコイルモータ
65 ホルダー
68 ばね(弾性体)
70 制御装置
74 カッター移動制御部
76 カッティング制御部

Claims (7)

  1. 切断対象物を切断し、上下方向に移動可能なカッターと、
    前記カッターに対して上下方向の力を加えるボイスコイルモータを有するカッター移動機構と、
    前記カッター移動機構が設けられ、主走査方向に移動可能なキャリッジと、
    前記主走査方向と交差する方向である副走査方向に前記切断対象物を移動させる移動装置と、
    前記ボイスコイルモータ、前記キャリッジおよび前記移動装置を制御する制御装置と、を備え、
    前記カッター移動機構は、
    前記キャリッジに設けられたベース部材と、
    前記ベース部材に設けられ、上下方向に延びる支柱と、
    前記支柱の上端に設けられたプレートと、
    前記プレートより下方に配置され、前記ボイスコイルモータに取り付けられ、前記カッターを保持し、前記支柱に対して上下方向に摺動自在に設けられたホルダーと、
    一端が前記ホルダーに接続され、他端が前記プレートに接続され、前記ホルダーを上方に向けて付勢する弾性体と、
    前記プレートの下面から下方に向けて突出する突出体と、を備え、
    前記支柱は、上下方向に延びる第1の支柱と、前記第1の支柱の側方に配置され、上下方向に延びる第2の支柱と、を備え、
    前記プレートは、前記第1の支柱の上端および前記第2の支柱の上端に設けられ、
    前記ホルダーの上面には、前記突出体と対向する位置に、前記突出体と接触可能な緩衝体が設けられ、
    前記制御装置は、
    前記ボイスコイルモータに流れる電流値を制御することによって、前記ホルダーに対して第1の電磁力を下向きに第1の時間だけ加えた後に、前記ホルダーに対して前記第1の電磁力を上向きに前記第1の時間より短い第2の時間だけ加え、さらに、前記ホルダーに対して前記第1の電磁力より小さい第2の電磁力を下向きに前記第2の時間より長い第3の時間だけ加えあるいは前記ボイスコイルモータへの電流の供給を前記第3の時間だけ停止し、その後に前記ホルダーに対して前記第1の電磁力以下の電磁力であって前記切断対象物を切断する際に加えられる第3の電磁力を下向きに前記第1の時間より長い第4の時間だけ加え、前記カッターを前記切断対象物に接触させるカッター移動制御部と、
    前記ボイスコイルモータに電流を流し始めてから所定の時間の経過後に、前記キャリッジおよび前記移動装置を制御することによって、前記切断対象物の切断を開始するカッティング制御部と、を備え、
    前記第1の時間は、前記ホルダーに対して前記第1の電磁力を下向きに加えたときに、前記カッターが前記切断対象物と接触しない長さに設定されている、カッティング装置。
  2. 前記ボイスコイルモータは、
    底部を有する有底円筒状のハウジングと、
    前記ハウジング内に設けられ、前記底部から上方に延びる突出部材と、
    前記ハウジング内かつ前記突出部材と離間した位置に配置された磁石と、
    前記突出部材と前記磁石との間に配置され、下方に向けて開口し前記突出部材が挿入される挿入孔が形成された本体部と、前記本体部の上端部に設けられた頭部と、を有し、前記突出部材に沿って上下方向に移動可能なコイルボビンと、
    前記本体部に巻かれた巻線からなるコイルと、を備え、
    前記ホルダーは、前記コイルボビンの前記頭部に取り付けられている、請求項1に記載のカッティング装置。
  3. 前記カッター移動制御部は、前記ボイスコイルモータを制御することによって、前記ホルダーに対して前記第1の電磁力を下向きに前記第1の時間だけ加えた後に、前記ホルダーに対して前記第1の電磁力を上向きに前記第2の時間だけ加え、さらに、前記ホルダーに対して前記第2の電磁力を下向きに前記第3の時間だけ加えあるいは前記ボイスコイルモータへの電流の供給を前記第3の時間だけ停止した後に、前記ホルダーに対して前記第3の電磁力より小さい第4の電磁力を上向きに前記第3の時間より短い第5の時間だけ加え、その後に前記ホルダーに対して前記第3の電磁力を下向きに前記第4の時間だけ加え、前記カッターを前記切断対象物に接触させる、請求項1または2に記載のカッティング装置。
  4. 前記第1の電磁力は、前記ボイスコイルモータが前記ホルダーに対して加えることが可能な最大電磁力であり、
    前記第4の電磁力は、前記ボイスコイルモータが前記ホルダーに対して加えることが可能な最小電磁力である、請求項3に記載のカッティング装置。
  5. 前記第2の時間は、前記第1の時間の半分以下である、請求項1から4のいずれか一項に記載のカッティング装置。
  6. 前記緩衝体は、ゴムから形成されている、請求項1から5のいずれか一項に記載のカッティング装置。
  7. 前記切断対象物に対し印刷を行うインクヘッドを備えている、請求項1からのいずれか一項に記載のカッティング装置。
JP2017160886A 2017-08-24 2017-08-24 カッティング装置 Active JP6940331B2 (ja)

Priority Applications (2)

Application Number Priority Date Filing Date Title
JP2017160886A JP6940331B2 (ja) 2017-08-24 2017-08-24 カッティング装置
US16/110,013 US10486443B2 (en) 2017-08-24 2018-08-23 Cutting device

Applications Claiming Priority (1)

Application Number Priority Date Filing Date Title
JP2017160886A JP6940331B2 (ja) 2017-08-24 2017-08-24 カッティング装置

Publications (2)

Publication Number Publication Date
JP2019038058A JP2019038058A (ja) 2019-03-14
JP6940331B2 true JP6940331B2 (ja) 2021-09-29

Family

ID=65436591

Family Applications (1)

Application Number Title Priority Date Filing Date
JP2017160886A Active JP6940331B2 (ja) 2017-08-24 2017-08-24 カッティング装置

Country Status (2)

Country Link
US (1) US10486443B2 (ja)
JP (1) JP6940331B2 (ja)

Family Cites Families (11)

* Cited by examiner, † Cited by third party
Publication number Priority date Publication date Assignee Title
DD153349A1 (de) * 1980-10-01 1982-01-06 Lothar Beier Zeichenkopf fuer kartiergeraete
JPS57148696A (en) * 1981-03-10 1982-09-14 Toyo Electric Mfg Co Ltd Writing device for automatic drawing machine
JPS5929293U (ja) * 1982-08-20 1984-02-23 横河電機株式会社 記録ペンのアツプダウン機構
US4677572A (en) * 1984-07-23 1987-06-30 Sanders Associates, Inc. Pen turret control system
JPH0829637B2 (ja) * 1986-06-30 1996-03-27 武藤工業株式会社 自動作画装置における筆記具昇降装置
JPH0761759B2 (ja) * 1988-02-05 1995-07-05 大日本スクリーン製造株式会社 自動製図機の描画具駆動装置
JP2724343B2 (ja) * 1989-05-23 1998-03-09 武藤工業株式会社 自動作画装置における筆記具昇降制御方法
JPH04260307A (ja) * 1991-02-14 1992-09-16 Toppan Printing Co Ltd ソレノイド装置
JPH0596496A (ja) * 1991-10-07 1993-04-20 Roland D G Kk カツテイング装置
JP5486991B2 (ja) * 2010-04-05 2014-05-07 ローランドディー.ジー.株式会社 カッティング装置
JP5800518B2 (ja) * 2011-02-16 2015-10-28 キヤノン株式会社 用紙切断装置及び記録装置

Also Published As

Publication number Publication date
US20190061386A1 (en) 2019-02-28
US10486443B2 (en) 2019-11-26
JP2019038058A (ja) 2019-03-14

Similar Documents

Publication Publication Date Title
JP2009241370A (ja) 印刷装置
JP5282499B2 (ja) 画像形成装置及び用紙搬送装置
JP6940331B2 (ja) カッティング装置
US6994482B2 (en) Wire dot printer head and wire dot printer
US8267508B2 (en) Ink jet printer
JP5463085B2 (ja) インクジェットプリンタ
US20050201801A1 (en) Wire dot printer head and wire dot printer
JP6003156B2 (ja) 画像形成装置
JP2019166786A (ja) 画像形成装置
JP5304550B2 (ja) キャリッジ及び記録装置
JP2017177551A (ja) 印刷装置
JP2015150749A (ja) プリンタ
JP2006275121A (ja) ベルト駆動装置
JP7786957B2 (ja) インクジェットプリンタにおける媒体の浮き検出装置
JP2009172829A (ja) プリント装置
JP4775646B2 (ja) プリンタ
JP2006247998A (ja) ギャップ調整機構、このギャップ調整機構を備えるプリンタおよびギャップ調整方法
JP2006248070A (ja) ギャップ調整機構、このギャップ調整機構を備えるプリンタおよびギャップ調整方法
JP2006248094A (ja) 記録装置、記録装置の制御方法および制御プログラム
JP2009023173A (ja) 記録装置および液体噴射装置
JP2007276139A (ja) インクジェットプリンタおよびその定期フラッシング方法
JP2025053829A (ja) インク撹拌装置およびそれを備えたインクジェットプリンタ
JP2022042181A (ja) カッティングヘッド付きインクジェットプリンタ
JP2009202556A (ja) 画像形成装置
JP2010064390A (ja) 印刷装置

Legal Events

Date Code Title Description
A621 Written request for application examination

Free format text: JAPANESE INTERMEDIATE CODE: A621

Effective date: 20200716

A977 Report on retrieval

Free format text: JAPANESE INTERMEDIATE CODE: A971007

Effective date: 20210423

A131 Notification of reasons for refusal

Free format text: JAPANESE INTERMEDIATE CODE: A131

Effective date: 20210511

A521 Request for written amendment filed

Free format text: JAPANESE INTERMEDIATE CODE: A523

Effective date: 20210628

TRDD Decision of grant or rejection written
A01 Written decision to grant a patent or to grant a registration (utility model)

Free format text: JAPANESE INTERMEDIATE CODE: A01

Effective date: 20210831

A61 First payment of annual fees (during grant procedure)

Free format text: JAPANESE INTERMEDIATE CODE: A61

Effective date: 20210902

R150 Certificate of patent or registration of utility model

Ref document number: 6940331

Country of ref document: JP

Free format text: JAPANESE INTERMEDIATE CODE: R150

R250 Receipt of annual fees

Free format text: JAPANESE INTERMEDIATE CODE: R250

S111 Request for change of ownership or part of ownership

Free format text: JAPANESE INTERMEDIATE CODE: R313111

R360 Written notification for declining of transfer of rights

Free format text: JAPANESE INTERMEDIATE CODE: R360

R360 Written notification for declining of transfer of rights

Free format text: JAPANESE INTERMEDIATE CODE: R360

R371 Transfer withdrawn

Free format text: JAPANESE INTERMEDIATE CODE: R371

S111 Request for change of ownership or part of ownership

Free format text: JAPANESE INTERMEDIATE CODE: R313111

R350 Written notification of registration of transfer

Free format text: JAPANESE INTERMEDIATE CODE: R350

R250 Receipt of annual fees

Free format text: JAPANESE INTERMEDIATE CODE: R250