JP6897937B2 - Flexible printed wiring board manufacturing method, plate jigs, flexible printed wiring board piece handling tools, and flexible printed wiring board manufacturing equipment - Google Patents

Flexible printed wiring board manufacturing method, plate jigs, flexible printed wiring board piece handling tools, and flexible printed wiring board manufacturing equipment Download PDF

Info

Publication number
JP6897937B2
JP6897937B2 JP2018551064A JP2018551064A JP6897937B2 JP 6897937 B2 JP6897937 B2 JP 6897937B2 JP 2018551064 A JP2018551064 A JP 2018551064A JP 2018551064 A JP2018551064 A JP 2018551064A JP 6897937 B2 JP6897937 B2 JP 6897937B2
Authority
JP
Japan
Prior art keywords
printed wiring
wiring board
flexible printed
plate
tray
Prior art date
Legal status (The legal status is an assumption and is not a legal conclusion. Google has not performed a legal analysis and makes no representation as to the accuracy of the status listed.)
Active
Application number
JP2018551064A
Other languages
Japanese (ja)
Other versions
JPWO2018092447A1 (en
Inventor
元貴 吉村
元貴 吉村
藤田 卓
卓 藤田
史生 村上
史生 村上
Current Assignee (The listed assignees may be inaccurate. Google has not performed a legal analysis and makes no representation or warranty as to the accuracy of the list.)
Sumitomo Electric Printed Circuits Inc
Original Assignee
Sumitomo Electric Printed Circuits Inc
Priority date (The priority date is an assumption and is not a legal conclusion. Google has not performed a legal analysis and makes no representation as to the accuracy of the date listed.)
Filing date
Publication date
Application filed by Sumitomo Electric Printed Circuits Inc filed Critical Sumitomo Electric Printed Circuits Inc
Publication of JPWO2018092447A1 publication Critical patent/JPWO2018092447A1/en
Application granted granted Critical
Publication of JP6897937B2 publication Critical patent/JP6897937B2/en
Active legal-status Critical Current
Anticipated expiration legal-status Critical

Links

Images

Classifications

    • HELECTRICITY
    • H05ELECTRIC TECHNIQUES NOT OTHERWISE PROVIDED FOR
    • H05KPRINTED CIRCUITS; CASINGS OR CONSTRUCTIONAL DETAILS OF ELECTRIC APPARATUS; MANUFACTURE OF ASSEMBLAGES OF ELECTRICAL COMPONENTS
    • H05K1/00Printed circuits
    • H05K1/02Details
    • HELECTRICITY
    • H05ELECTRIC TECHNIQUES NOT OTHERWISE PROVIDED FOR
    • H05KPRINTED CIRCUITS; CASINGS OR CONSTRUCTIONAL DETAILS OF ELECTRIC APPARATUS; MANUFACTURE OF ASSEMBLAGES OF ELECTRICAL COMPONENTS
    • H05K3/00Apparatus or processes for manufacturing printed circuits

Landscapes

  • Engineering & Computer Science (AREA)
  • Microelectronics & Electronic Packaging (AREA)
  • Manufacturing & Machinery (AREA)
  • Supply And Installment Of Electrical Components (AREA)
  • Manufacturing Of Printed Wiring (AREA)
  • Screen Printers (AREA)

Description

本発明は、フレキシブルプリント配線板の製造方法、板状治具、フレキシブルプリント配線板個片のハンドリング用具及びフレキシブルプリント配線板の製造設備に関する。
本出願は、2016年11月17日出願の日本出願第2016−224140号に基づく優先権を主張し、前記日本出願に記載された全ての記載内容を援用するものである。
The present invention relates to a method for manufacturing a flexible printed wiring board, a plate jig, a tool for handling individual pieces of the flexible printed wiring board, and a manufacturing facility for the flexible printed wiring board.
This application claims priority based on Japanese Application No. 2016-224140 filed on November 17, 2016, and incorporates all the contents described in the Japanese application.

電子機器には、フレキシブルプリント配線板が使用されることが少なくない。近年の電子機器の小型化に伴って、電子機器内部に小型のフレキシブルプリント配線板が用いられることが多くなっている。 Flexible printed wiring boards are often used in electronic devices. With the recent miniaturization of electronic devices, small flexible printed wiring boards are often used inside electronic devices.

このようなフレキシブルプリント配線板は、大判のベースフィルム上に所望のフレキシブルプリント配線板の導電パターンを複数配列して形成し、パンチ加工によって個々のフレキシブルプリント配線板を打ち抜くことで、複数同時に製造することができる(特開平6−132618号公報参照)。 Such a flexible printed wiring board is manufactured by arranging a plurality of conductive patterns of a desired flexible printed wiring board on a large-sized base film and punching each flexible printed wiring board by punching to simultaneously manufacture a plurality of such flexible printed wiring boards. (See JP-A-6-132618).

なお、本明細書では、打ち抜かれる個々のフレキシブルプリント配線板をフレキシブルプリント配線板個片と呼び、ベースフィルム上に複数のフレキシブルプリント配線板個片の導電パターンが形成されたものをフレキシブルプリント配線板シートと呼ぶ。 In this specification, each flexible printed wiring board to be punched is referred to as a flexible printed wiring board piece, and a flexible printed wiring board having a conductive pattern of a plurality of flexible printed wiring board pieces formed on a base film is called a flexible printed wiring board piece. Called a sheet.

特開平6−132618号公報Japanese Unexamined Patent Publication No. 6-132618

本発明の一態様に係るフレキシブルプリント配線板の製造方法は、はね出しのための板状治具が配置されるダイとこのダイに対応するパンチとを用い、1枚のフレキシブルプリント配線板シートから複数のフレキシブルプリント配線板個片を切り離す切り離し工程と、上記板状治具を持ち上げることにより複数のフレキシブルプリント配線板個片をはね出すはね出し工程と、上記複数のフレキシブルプリント配線板個片を位置決めする保持構造を有するトレーに、はね出した上記複数のフレキシブルプリント配線板個片を移載する移載工程とを備えるフレキシブルプリント配線板の製造方法であって、上記板状治具が、複数のフレキシブルプリント配線板個片の平面方向の移動を防止する複数のガイドと、この複数のガイドにより位置決めされる複数のフレキシブルプリント配線板個片を上記トレーの保持構造に正対するよう上記トレーに対して位置決めする位置決め部とを有し、上記移載工程が、上記板状治具に上記トレーを重ね合わせる重ね合わせ工程と、上記板状治具及びトレーを上下反転させる反転工程とを有する。 The method for manufacturing a flexible printed wiring board according to one aspect of the present invention uses a die on which a plate-shaped jig for projecting is arranged and a punch corresponding to the die, and one flexible printed wiring board sheet. A separation step of separating a plurality of flexible printed wiring board pieces from the above, a splashing process of ejecting a plurality of flexible printed wiring board pieces by lifting the plate-shaped jig, and the plurality of flexible printed wiring board pieces. A method for manufacturing a flexible printed wiring board, which comprises a transfer step of transferring a plurality of the plurality of flexible printed wiring board pieces that have been ejected to a tray having a holding structure for positioning the pieces. However, the plurality of guides for preventing the movement of the plurality of flexible printed wiring board pieces in the plane direction and the plurality of flexible printed wiring board pieces positioned by the plurality of guides face the holding structure of the tray. It has a positioning unit for positioning with respect to the tray, and the transfer step includes a stacking step of stacking the tray on the plate-shaped jig and an inversion step of flipping the plate-shaped jig and the tray upside down. Have.

また、本発明の別の態様に係る板状治具は、ダイ及びパンチを用いて1枚のフレキシブルプリント配線板シートから切り離される複数のフレキシブルプリント配線板個片を、ダイからはね出すために用いられる板状治具であって、上記複数のフレキシブルプリント配線板個片の平面方向の移動を防止する複数のガイドと、上記複数のフレキシブルプリント配線板個片を保持するトレーに対して位置決めする位置決め部とを備える。 Further, the plate-shaped jig according to another aspect of the present invention is for ejecting a plurality of flexible printed wiring board pieces separated from one flexible printed wiring board sheet from the die by using a die and a punch. It is a plate-shaped jig used, and is positioned with respect to a plurality of guides for preventing the movement of the plurality of flexible printed wiring board pieces in the plane direction and a tray for holding the plurality of flexible printed wiring board pieces. It is provided with a positioning unit.

図1は、本発明の一実施形態のフレキシブルプリント配線板の製造設備を示す模式的断面図である。FIG. 1 is a schematic cross-sectional view showing a manufacturing facility for a flexible printed wiring board according to an embodiment of the present invention. 図2は、本発明の一実施形態の板状治具にフレキシブルプリント配線板シートを載置した状態を示す模式的平面図である。FIG. 2 is a schematic plan view showing a state in which a flexible printed wiring board sheet is placed on a plate-shaped jig according to an embodiment of the present invention. 図3は、本発明の一実施形態のフレキシブルプリント配線板の製造方法の一工程を示す模式的断面図である。FIG. 3 is a schematic cross-sectional view showing one step of the method for manufacturing a flexible printed wiring board according to an embodiment of the present invention. 図4は、本発明の一実施形態のフレキシブルプリント配線板の製造方法の図3の次の工程を示す模式的断面図である。FIG. 4 is a schematic cross-sectional view showing the next step of FIG. 3 of the method for manufacturing a flexible printed wiring board according to an embodiment of the present invention. 図5は、本発明の一実施形態のフレキシブルプリント配線板の製造方法の図4の次の工程を示す模式的断面図である。FIG. 5 is a schematic cross-sectional view showing the next step of FIG. 4 of the method for manufacturing a flexible printed wiring board according to an embodiment of the present invention. 図6は、本発明の一実施形態のフレキシブルプリント配線板の製造方法の図5の次の工程を示す模式的断面図である。FIG. 6 is a schematic cross-sectional view showing the next step of FIG. 5 of the method for manufacturing a flexible printed wiring board according to an embodiment of the present invention. 図7は、本発明の一実施形態のフレキシブルプリント配線板の製造方法の図6の次の工程を示す模式的断面図である。FIG. 7 is a schematic cross-sectional view showing the next step of FIG. 6 of the method for manufacturing a flexible printed wiring board according to an embodiment of the present invention. 図8は、本発明の一実施形態のフレキシブルプリント配線板の製造方法の図7の次の工程を示す模式的断面図である。FIG. 8 is a schematic cross-sectional view showing the next step of FIG. 7 of the method for manufacturing a flexible printed wiring board according to an embodiment of the present invention.

[本発明が解決しようとする課題]
上記公報に開示される方法によってフレキシブルプリント配線板シートから複数のフレキシブルプリント配線板個片を打ち抜くと、ダイに複数のフレキシブルプリント配線板個片が残される。これら複数のフレキシブルプリント配線板個片は、ダイから一つ一つ取り上げられて、次工程に送られる。
[Problems to be Solved by the Present Invention]
When a plurality of flexible printed wiring board pieces are punched out from the flexible printed wiring board sheet by the method disclosed in the above publication, a plurality of flexible printed wiring board pieces are left on the die. These plurality of flexible printed wiring board pieces are picked up one by one from the die and sent to the next process.

フレキシブルプリント配線板個片を大量に生産する場合は、複数のフレキシブルプリント配線板個片を取り上げて次工程に搬送する装置を設置することができるが、フレキシブルプリント配線板個片の製造量が十分に大きくない場合には、オペレーターが手作業でフレキシブルプリント配線板個片を取り上げることになる。 When mass-producing flexible printed wiring board pieces, it is possible to install a device that picks up a plurality of flexible printed wiring board pieces and transports them to the next process, but the production amount of the flexible printed wiring board pieces is sufficient. If it is not too large, the operator will manually pick up the flexible printed wiring board pieces.

複数のフレキシブルプリント配線板個片を1つずつ取り上げる作業は繁雑であるため、ダイの上にプレート(板状治具)を配置しておき、打ち抜き加工後にプレートを持ち上げることで複数のフレキシブルプリント配線板個片を同時に取り上げる方法も考えられる。 Since the work of picking up multiple flexible printed wiring board pieces one by one is complicated, a plate (plate-shaped jig) is placed on the die and the plate is lifted after punching to multiple flexible printed wiring boards. A method of picking up individual plate pieces at the same time is also conceivable.

しかしながら、ダイの上に配置されるプレートを利用しても、取り上げた複数のフレキシブルプリント配線板個片を次工程に供給する際には、1つずつ手作業で位置決めする必要がある。 However, even if the plates arranged on the die are used, it is necessary to manually position the plurality of flexible printed wiring board pieces taken up one by one when supplying them to the next process.

本発明は、上述のような事情に基づいてなされたものであり、フレキシブルプリント配線板個片のハンドリングが容易なフレキシブルプリント配線板の製造方法、板状治具、フレキシブルプリント配線板個片のハンドリング用具及びフレキシブルプリント配線板の製造設備を提供することを課題とする。 The present invention has been made based on the above circumstances, and is a method for manufacturing a flexible printed wiring board in which individual flexible printed wiring board pieces can be easily handled, a plate jig, and handling of individual flexible printed wiring board pieces. An object of the present invention is to provide a manufacturing facility for tools and flexible printed wiring boards.

[本発明の効果]
本発明の一態様に係るフレキシブルプリント配線板の製造方法は、フレキシブルプリント配線板個片のハンドリングが容易である。また、本発明の別の態様に係る板状治具は、フレキシブルプリント配線板個片を容易にハンドリングできる。
[Effect of the present invention]
The method for manufacturing a flexible printed wiring board according to one aspect of the present invention facilitates handling of individual flexible printed wiring boards. Further, the plate-shaped jig according to another aspect of the present invention can easily handle individual flexible printed wiring board pieces.

[本発明の実施形態の説明]
本発明の一態様に係るフレキシブルプリント配線板の製造方法は、はね出しのための板状治具が配置されるダイとこのダイに対応するパンチとを用い、1枚のフレキシブルプリント配線板シートから複数のフレキシブルプリント配線板個片を切り離す切り離し工程と、上記板状治具を持ち上げることにより複数のフレキシブルプリント配線板個片をはね出すはね出し工程と、上記複数のフレキシブルプリント配線板個片を位置決めする保持構造を有するトレーに、はね出した上記複数のフレキシブルプリント配線板個片を移載する移載工程とを備えるフレキシブルプリント配線板の製造方法であって、上記板状治具が、複数のフレキシブルプリント配線板個片の平面方向の移動を防止する複数のガイドと、この複数のガイドにより位置決めされる複数のフレキシブルプリント配線板個片を上記トレーの保持構造に正対するよう上記トレーに対して位置決めする位置決め部とを有し、上記移載工程が、上記板状治具に上記トレーを重ね合わせる重ね合わせ工程と、上記板状治具及びトレーを上下反転させる反転工程とを有する方法である。
[Explanation of Embodiments of the Present Invention]
The method for manufacturing a flexible printed wiring board according to one aspect of the present invention uses a die on which a plate-shaped jig for projecting is arranged and a punch corresponding to the die, and one flexible printed wiring board sheet. A separation step of separating a plurality of flexible printed wiring board pieces from the above, a splashing process of ejecting a plurality of flexible printed wiring board pieces by lifting the plate-shaped jig, and the plurality of flexible printed wiring board pieces. A method for manufacturing a flexible printed wiring board, which comprises a transfer step of transferring a plurality of the plurality of flexible printed wiring board pieces that have been ejected to a tray having a holding structure for positioning the pieces. However, the plurality of guides for preventing the movement of the plurality of flexible printed wiring board pieces in the plane direction and the plurality of flexible printed wiring board pieces positioned by the plurality of guides face the holding structure of the tray. It has a positioning unit for positioning with respect to the tray, and the transfer step includes a stacking step of stacking the tray on the plate-shaped jig and an inversion step of flipping the plate-shaped jig and the tray upside down. It is a method to have.

当該フレキシブルプリント配線板の製造方法は、複数のフレキシブルプリント配線板個片の平面方向の移動を防止する複数のガイドと、この複数のガイドにより位置決めされる複数のフレキシブルプリント配線板個片を上記トレーの保持構造に正対するよう上記トレーに対して位置決めする位置決め部とを有する板状治具を用いて複数のフレキシブルプリント配線板個片をはね出すので、はね出し後も複数のフレキシブルプリント配線板個片の位置関係が保持される。さらに、当該フレキシブルプリント配線板の製造方法は、上記移載工程において、上記板状治具に上記トレーを重ね合わせてから、上記板状治具及びトレーを上下反転させることで、複数のフレキシブルプリント配線板個片の位置関係を保持したままトレー上に配置することができる。このため、当該フレキシブルプリント配線板の製造方法では、フレキシブルプリント配線板個片を個々に位置決めする必要がないので、フレキシブルプリント配線板個片のハンドリングが容易である。 In the method for manufacturing the flexible printed wiring board, a plurality of guides for preventing the movement of the plurality of flexible printed wiring board pieces in the plane direction and a plurality of flexible printed wiring board pieces positioned by the plurality of guides are placed in the tray. Since a plurality of flexible printed wiring board pieces are ejected using a plate-shaped jig having a positioning portion for positioning with respect to the tray so as to face the holding structure of the above, a plurality of flexible printed wirings are ejected even after the ejection. The positional relationship between the plate pieces is maintained. Further, in the method of manufacturing the flexible printed wiring board, in the transfer step, the tray is superposed on the plate jig, and then the plate jig and the tray are turned upside down to perform a plurality of flexible prints. It can be arranged on the tray while maintaining the positional relationship of the individual wiring board pieces. Therefore, in the method for manufacturing the flexible printed wiring board, it is not necessary to individually position the flexible printed wiring board pieces, so that the flexible printed wiring board pieces can be easily handled.

本発明の別の態様に係る板状治具は、ダイ及びパンチを用いて1枚のフレキシブルプリント配線板シートから切り離される複数のフレキシブルプリント配線板個片を、ダイからはね出すために用いられる板状治具であって、上記複数のフレキシブルプリント配線板個片の平面方向の移動を防止する複数のガイドと、上記複数のフレキシブルプリント配線板個片を保持するトレーに対して位置決めする位置決め部とを備える。 The plate-shaped jig according to another aspect of the present invention is used to eject a plurality of flexible printed wiring board pieces separated from one flexible printed wiring board sheet by using a die and a punch. A plate-shaped jig, which is a positioning unit for positioning with respect to a plurality of guides for preventing the movement of the plurality of flexible printed wiring board pieces in the plane direction and a tray for holding the plurality of flexible printed wiring board pieces. And.

当該板状治具は、上記複数のフレキシブルプリント配線板個片の平面方向の移動を防止する複数のガイドと、上記複数のフレキシブルプリント配線板個片を保持するトレーに対して位置決めする位置決め部とを備えるので、ダイ上で切り離された複数のフレキシブルプリント配線板個片の相対位置を変えることなく、トレーに移し替えることができる。このため、当該板状治具を用いることで、複数のフレキシブルプリント配線板個片を容易にハンドリングできる。 The plate-shaped jig includes a plurality of guides for preventing the movement of the plurality of flexible printed wiring board pieces in the plane direction, and a positioning unit for positioning the tray for holding the plurality of flexible printed wiring board pieces. Therefore, it can be transferred to the tray without changing the relative positions of the plurality of flexible printed wiring board pieces separated on the die. Therefore, by using the plate-shaped jig, a plurality of flexible printed wiring board pieces can be easily handled.

本発明のまた別の態様に係るフレキシブルプリント配線板個片のハンドリング用具は、当該板状治具と、この板状治具に位置決め可能なトレーとを備えるフレキシブルプリント配線板個片のハンドリング用具であって、上記トレーが、上記位置決め部と嵌合する嵌合部と、上記複数のガイドが挿入される複数の凹部と、上記複数のフレキシブルプリント配線板個片を位置決めする保持構造とを有する。 The flexible printed wiring board piece handling tool according to another aspect of the present invention is a flexible printed wiring board piece handling tool including the plate jig and a tray that can be positioned on the plate jig. The tray has a fitting portion for fitting with the positioning portion, a plurality of recesses into which the plurality of guides are inserted, and a holding structure for positioning the plurality of flexible printed wiring board pieces.

当該フレキシブルプリント配線板個片のハンドリング用具は、当該板状治具と、この板状治具に位置決め可能なトレーとを備えることによって、上述のように、複数のフレキシブルプリント配線板個片を容易にハンドリングできる。また、当該フレキシブルプリント配線板個片のハンドリング用具は、上記トレーが、上記位置決め部と嵌合する嵌合部と、上記複数のガイドが挿入される複数の凹部と、上記複数のフレキシブルプリント配線板個片を位置決めする保持構造とを有することによって、当該板状治具と上記トレーの間に複数のフレキシブルプリント配線板個片を保持し、上下反転させて上記トレー上に相対位置を変えずに複数のフレキシブルプリント配線板個片を移載することができる。 As described above, the handling tool for the flexible printed wiring board piece can easily handle a plurality of flexible printed wiring board pieces by providing the plate jig and a tray that can be positioned on the plate jig. Can be handled. In addition, the handling tool for the flexible printed wiring board piece includes a fitting portion in which the tray fits with the positioning portion, a plurality of recesses into which the plurality of guides are inserted, and the plurality of flexible printed wiring boards. By having a holding structure for positioning the individual pieces, a plurality of flexible printed wiring board individual pieces are held between the plate-shaped jig and the tray, and the pieces are turned upside down without changing their relative positions on the tray. Multiple flexible printed wiring board pieces can be transferred.

本発明のさらに別の態様に係るフレキシブルプリント配線板の製造設備は、当該フレキシブルプリント配線板個片のハンドリング用具と、上記板状治具が嵌合する凹部を有するダイと、このダイに対応するパンチとを備える。 The equipment for manufacturing a flexible printed wiring board according to still another aspect of the present invention corresponds to a handling tool for each piece of the flexible printed wiring board, a die having a recess into which the plate-shaped jig is fitted, and the die. Equipped with a punch.

当該フレキシブルプリント配線板の製造設備は、当該フレキシブルプリント配線板個片のハンドリング用具と、上述の板状治具が嵌合する凹部を有するダイとを備えるので、板状治具がダイ上で打ち抜かれた複数のフレキシブルプリント配線板個片を正確に受け取ることができる。 Since the manufacturing equipment for the flexible printed wiring board includes a handling tool for each piece of the flexible printed wiring board and a die having a recess for fitting the above-mentioned plate jig, the plate jig is driven on the die. It is possible to accurately receive a plurality of flexible printed wiring board pieces that have been pulled out.

ここで、「はね出し」とは、打ち抜き加工によって形成されたワークを打ち抜き加工装置から取り出すことを意味する。 Here, "splashing" means taking out the work formed by the punching process from the punching process device.

[本発明の実施形態の詳細]
以下、本発明の各実施形態について図面を参照しつつ詳説する。
[Details of Embodiments of the present invention]
Hereinafter, each embodiment of the present invention will be described in detail with reference to the drawings.

[フレキシブルプリント配線板の製造設備]
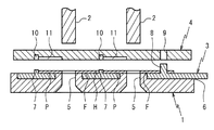
図1に、本発明の一実施形態に係るフレキシブルプリント配線板の製造設備を示す。当該製造設備は1枚のフレキシブルプリント配線板シートSから複数のフレキシブルプリント配線板個片Pを打ち抜き加工によって切り離すダイ1及びパンチ2と、切り離されたフレキシブルプリント配線板個片Pをダイ1からはね出すために用いられる板状治具3と、この板状治具3に位置決め可能なトレー4とを備える。
[Flexible printed wiring board manufacturing equipment]
FIG. 1 shows a manufacturing facility for a flexible printed wiring board according to an embodiment of the present invention. The manufacturing equipment includes a die 1 and a punch 2 for separating a plurality of flexible printed wiring board pieces P from one flexible printed wiring board sheet S by punching, and a separated flexible printed wiring board piece P from the die 1. A plate-shaped jig 3 used for projecting and a tray 4 that can be positioned on the plate-shaped jig 3 are provided.

板状治具3は、それ自体が本発明の別の実施形態である。また、上記板状治具3とトレー4とは、本発明の別の実施形態に係るフレキシブルプリント配線板個片のハンドリング用具を構成する。なお、図では、板状治具3との対応を示すためにトレー4をダイ1の上に示しているが、トレー4は、板状治具3をダイ1から取り出した状態で、板状治具3に重ね合わされてもよい。 The plate jig 3 itself is another embodiment of the present invention. Further, the plate-shaped jig 3 and the tray 4 constitute a handling tool for a piece of a flexible printed wiring board according to another embodiment of the present invention. In the figure, the tray 4 is shown on the die 1 to show the correspondence with the plate jig 3, but the tray 4 has a plate shape with the plate jig 3 taken out from the die 1. It may be superimposed on the jig 3.

<フレキシブルプリント配線板シート>
フレキシブルプリント配線板シートSは、図2に示すように、複数のフレキシブルプリント配線板個片Pの導電パターン(不図示)が形成され、各フレキシブルプリント配線板個片Pの外縁を複数回に分けて打ち抜くことで、複数のフレキシブルプリント配線板個片Pを切り離すよう形成される。
<Flexible printed wiring board sheet>
As shown in FIG. 2, in the flexible printed wiring board sheet S, a conductive pattern (not shown) of a plurality of flexible printed wiring board pieces P is formed, and the outer edge of each flexible printed wiring board piece P is divided into a plurality of times. It is formed so as to separate a plurality of flexible printed wiring board pieces P by punching.

当該フレキシブルプリント配線板の製造設備において複数のフレキシブルプリント配線板個片Pを切り離す直前のフレキシブルプリント配線板シートSは、複数のフレキシブルプリント配線板個片Pと、フレキシブルプリント配線板個片Pの数箇所から延出する小さい接続部Cと、この接続部Cを介して複数のフレキシブルプリント配線板個片Pと接続され、複数のフレキシブルプリント配線板個片Pを保持する枠部Fとを有する。換言すると、このフレキシブルプリント配線板シートSは、接続部Cの部分を除いて各フレキシブルプリント配線板個片Pの外縁を画定する複数の打抜穴Hが形成されている。 In the flexible printed wiring board manufacturing facility, the flexible printed wiring board sheet S immediately before separating the plurality of flexible printed wiring board pieces P is the number of the plurality of flexible printed wiring board pieces P and the number of the flexible printed wiring board pieces P. It has a small connecting portion C extending from a portion and a frame portion F connected to a plurality of flexible printed wiring board individual pieces P via the connecting portion C and holding a plurality of flexible printed wiring board individual pieces P. In other words, the flexible printed wiring board sheet S is formed with a plurality of punched holes H that define the outer edge of each flexible printed wiring board piece P except for the connection portion C.

<ダイ>
ダイ1は、それぞれパンチ2が挿通される複数のパンチ穴5と、板状治具3が嵌合する位置決め凹部6を有する。
<Die>
Each die 1 has a plurality of punch holes 5 into which punches 2 are inserted, and positioning recesses 6 into which plate-shaped jigs 3 are fitted.

パンチ穴5は、フレキシブルプリント配線板シートSの接続部Cに重なるよう配設される。つまり、パンチ穴5は、フレキシブルプリント配線板シートSの接続部Cを打ち抜くことにより、各フレキシブルプリント配線板個片Pを切り離すことができるような形状及び配置で形成される。 The punch holes 5 are arranged so as to overlap the connection portion C of the flexible printed wiring board sheet S. That is, the punch holes 5 are formed in a shape and arrangement so that the individual flexible printed wiring board pieces P can be separated by punching the connection portion C of the flexible printed wiring board sheet S.

位置決め凹部6の板状治具3との嵌合形状、つまり平面視での外形形状は、特に限定されない。また、位置決め凹部6は、板状治具3の上に載置されるフレキシブルプリント配線板シートSにパンチ穴5のエッジを当接させるよう、パンチ穴5の近傍領域を残して形成される。 The fitting shape of the positioning recess 6 with the plate jig 3, that is, the outer shape in a plan view is not particularly limited. Further, the positioning recess 6 is formed so as to bring the edge of the punch hole 5 into contact with the flexible printed wiring board sheet S placed on the plate jig 3, leaving a region in the vicinity of the punch hole 5.

<パンチ>
パンチ2は、パンチ穴5に嵌合する形状を有し、不図示の駆動機構によってパンチ穴5に抜挿される。
<Punch>
The punch 2 has a shape that fits into the punch hole 5, and is inserted into and removed from the punch hole 5 by a drive mechanism (not shown).

<板状治具>
板状治具3は、ダイ1及びパンチ2を用いて1枚のフレキシブルプリント配線板シートSから切り離される複数のフレキシブルプリント配線板個片Pを、ダイ1からはね出すために用いられる。つまり、板状治具3を持ち上げることによって、複数のフレキシブルプリント配線板個片Pを同時にダイ1から取り上げることができる。
<Plate jig>
The plate-shaped jig 3 is used to eject a plurality of flexible printed wiring board pieces P separated from one flexible printed wiring board sheet S by using a die 1 and a punch 2 from the die 1. That is, by lifting the plate-shaped jig 3, a plurality of flexible printed wiring board pieces P can be picked up from the die 1 at the same time.

板状治具3は、部分的にダイ1の位置決め凹部6に嵌合するが、ダイ1から取り上げることが容易となるよう、部分的には位置決め凹部6から突出するよう形成されることが好ましい。 The plate jig 3 is partially fitted in the positioning recess 6 of the die 1, but is preferably formed so as to partially protrude from the positioning recess 6 so that it can be easily picked up from the die 1. ..

板状治具3は、各フレキシブルプリント配線板個片Pの平面方向の移動を防止する複数のガイド7と、トレー4に対して位置決めする位置決め部8とを備える。 The plate-shaped jig 3 includes a plurality of guides 7 for preventing the movement of each flexible printed wiring board piece P in the plane direction, and a positioning portion 8 for positioning with respect to the tray 4.

(ガイド)
ガイド7は、フレキシブルプリント配線板シートSを載置する面に突設される。このガイド7は、板状治具3上にフレキシブルプリント配線板シートSを載置したとき、フレキシブルプリント配線板シートSの打抜穴Hに挿入されてフレキシブルプリント配線板個片Pに隣接して配置される。
(guide)
The guide 7 is projected from the surface on which the flexible printed wiring board sheet S is placed. When the flexible printed wiring board sheet S is placed on the plate jig 3, the guide 7 is inserted into the punched hole H of the flexible printed wiring board sheet S and is adjacent to the flexible printed wiring board piece P. Be placed.

板状治具3は、各フレキシブルプリント配線板個片Pの周囲にそれぞれ複数のガイド7を配置するよう構成され、各フレキシブルプリント配線板個片Pをいずれの平面方向にも実質的に移動できないよう保持する。なお、複数のガイド7は、各フレキシブルプリント配線板個片Pとの間に、後工程で支障のない程度にフレキシブルプリント配線板個片Pの移動を許容する隙間を有してもよい。 The plate jig 3 is configured to arrange a plurality of guides 7 around each flexible printed wiring board piece P, and each flexible printed wiring board piece P cannot be substantially moved in any plane direction. Hold on. The plurality of guides 7 may have a gap between the flexible printed wiring board pieces P and the flexible printed wiring board pieces P to allow the movement of the flexible printed wiring board pieces P to the extent that there is no problem in the subsequent process.

ガイド7の平均高さの下限としては、フレキシブルプリント配線板シートSの平均厚さの7倍が好ましく、10倍がより好ましい。一方、ガイド7の平均高さの上限としては、フレキシブルプリント配線板シートSの平均厚さの50倍が好ましく、20倍がより好ましい。ガイド7の平均高さが上記下限に満たない場合、フレキシブルプリント配線板個片Pの保持が不確実となるおそれがある。逆に、ガイド7の平均高さが上記上限を超える場合、トレー4の形状が不必要に制約されるおそれがある。 The lower limit of the average height of the guide 7 is preferably 7 times, more preferably 10 times, the average thickness of the flexible printed wiring board sheet S. On the other hand, the upper limit of the average height of the guide 7 is preferably 50 times, more preferably 20 times, the average thickness of the flexible printed wiring board sheet S. If the average height of the guide 7 is less than the above lower limit, the holding of the flexible printed wiring board piece P may be uncertain. On the contrary, when the average height of the guide 7 exceeds the above upper limit, the shape of the tray 4 may be unnecessarily restricted.

ガイド7の平面寸法としては、特に限定されず、十分な強度が得られかつフレキシブルプリント配線板シートSと干渉しない(打抜穴Hに挿入できる)ものとすればよい。 The plane dimension of the guide 7 is not particularly limited, and may be such that sufficient strength can be obtained and the guide 7 does not interfere with the flexible printed wiring board sheet S (it can be inserted into the punched hole H).

ガイド7は、板材の表面のガイド7以外の部分を例えば機械加工、エッチング等で他の部分を除去することにより形成してもよく、金属組成物等の部材を部分的に付設することによって形成してもよい。上記部材を部分的に付設する方法としては、例えば別途機械加工やエッチング加工した上記部材を上記板材の表面に配置する方法等を適用することができる。 The guide 7 may be formed by removing other parts of the surface of the plate material other than the guide 7 by, for example, machining, etching, etc., or by partially attaching a member such as a metal composition. You may. As a method of partially attaching the member, for example, a method of arranging the separately machined or etched member on the surface of the plate can be applied.

(位置決め部)
位置決め部8は、トレー4との位置決めに使用できるものであればどのようなものであってもよいが、図示する実施形態では、フレキシブルプリント配線板シートSを載置する面に突設されたピンである。また、本実施形態の位置決め部8は、板状治具3に対してフレキシブルプリント配線板シートSを位置決めするピンを兼ねている。
(Positioning part)
The positioning portion 8 may be any as long as it can be used for positioning with the tray 4, but in the illustrated embodiment, the positioning portion 8 is provided so as to project from the surface on which the flexible printed wiring board sheet S is placed. It is a pin. Further, the positioning portion 8 of the present embodiment also serves as a pin for positioning the flexible printed wiring board sheet S with respect to the plate-shaped jig 3.

<トレー>
トレー4は、ダイ1から複数のフレキシブルプリント配線板個片Pを取り上げた板状治具3から複数のフレキシブルプリント配線板個片Pが互いの位置関係を変えることなく、表裏を逆にして移載される。
<Tray>
The tray 4 is transferred from the plate-shaped jig 3 in which the plurality of flexible printed wiring board pieces P are picked up from the die 1 with the plurality of flexible printed wiring board pieces P turned upside down without changing the positional relationship with each other. Will be posted.

このため、トレー4は、板状治具3の位置決め部8と嵌合する嵌合部9と、板状治具3の複数のガイド7が挿入される複数の収容凹部10と、複数のフレキシブルプリント配線板個片Pを位置決めする保持構造11とを有する。 Therefore, the tray 4 has a fitting portion 9 that fits with the positioning portion 8 of the plate jig 3, a plurality of accommodating recesses 10 into which a plurality of guides 7 of the plate jig 3 are inserted, and a plurality of flexible portions. It has a holding structure 11 for positioning the printed wiring board piece P.

(嵌合部)
嵌合部9は、板状治具3の位置決め部8の構成に対応するものであればよいが、本実施形態では、板状治具3の位置決め部(ピン)8が嵌合する位置決め穴である。この嵌合部9と板状治具3の位置決め部8との嵌合により、板状治具3上で複数のガイド7により位置決めされる複数のフレキシブルプリント配線板個片Pをトレー4の保持構造11に正対するよう、板状治具3とトレー4とを位置決めすることができる。
(Fitting portion)
The fitting portion 9 may be any one corresponding to the configuration of the positioning portion 8 of the plate jig 3, but in the present embodiment, the positioning hole into which the positioning portion (pin) 8 of the plate jig 3 is fitted. Is. By fitting the fitting portion 9 and the positioning portion 8 of the plate-shaped jig 3, the tray 4 holds a plurality of flexible printed wiring board pieces P positioned by the plurality of guides 7 on the plate-shaped jig 3. The plate jig 3 and the tray 4 can be positioned so as to face the structure 11.

(収容凹部)
収容凹部10は、板状治具3のガイド7を受け入れることによって、板状治具3とトレー4とでフレキシブルプリント配線板個片Pを挟み込むことができるようにする。これにより、複数のフレキシブルプリント配線板個片Pの配置を変えずに板状治具3からトレー4に移載することがより確実となる。
(Accommodation recess)
By accepting the guide 7 of the plate-shaped jig 3, the accommodating recess 10 enables the flexible printed wiring board piece P to be sandwiched between the plate-shaped jig 3 and the tray 4. This makes it more reliable to transfer the plurality of flexible printed wiring board pieces P from the plate-shaped jig 3 to the tray 4 without changing the arrangement.

(保持構造)
保持構造11は、フレキシブルプリント配線板個片Pの平面方向の移動を実質的に防止できるものであればよく、図示する実施形態では、フレキシブルプリント配線板個片Pが嵌合する凹部である。
(Holding structure)
The holding structure 11 may be any as long as it can substantially prevent the flexible printed wiring board piece P from moving in the plane direction, and in the illustrated embodiment, it is a recess into which the flexible printed wiring board piece P fits.

<利点>
以上のように、当該フレキシブルプリント配線板の製造設備、当該フレキシブルプリント配線板個片のハンドリング用具(板状治具3とトレー4とのセット)及び板状治具3は、板状治具3がフレキシブルプリント配線板シートSから切り離された複数のフレキシブルプリント配線板個片Pを相対位置を変えずに保持してダイ1から取り出し、そのままの位置関係で一括してトレー4に移し替えることができるので、フレキシブルプリント配線板個片Pのハンドリングが容易である。
<Advantage>
As described above, the manufacturing equipment for the flexible printed wiring board, the handling tool for the flexible printed wiring board piece (a set of the plate jig 3 and the tray 4), and the plate jig 3 are the plate jig 3. Can hold a plurality of flexible printed wiring board pieces P separated from the flexible printed wiring board sheet S without changing their relative positions, take them out of the die 1, and transfer them to the tray 4 in the same positional relationship. Therefore, it is easy to handle the flexible printed wiring board piece P.

[フレキシブルプリント配線板の製造方法]
本発明の別の実施形態に係るフレキシブルプリント配線板の製造方法は、図1の製造設備を用いて行うことができる。
[Manufacturing method of flexible printed wiring board]
The method for manufacturing a flexible printed wiring board according to another embodiment of the present invention can be performed using the manufacturing equipment shown in FIG.

具体的には、当該フレキシブルプリント配線板の製造方法は、はね出しのための板状治具3が配置されるダイ1とこのダイ1に対応するパンチ2とを用い、1枚のフレキシブルプリント配線板シートSから複数のフレキシブルプリント配線板個片Pを切り離す工程<切り離し工程>と、板状治具3を持ち上げることにより複数のフレキシブルプリント配線板個片Pをはね出す工程<はね出し工程>と、複数のフレキシブルプリント配線板個片Pを位置決めする保持構造11を有するトレー4に、はね出した複数のフレキシブルプリント配線板個片Pを移載する工程<移載工程>とを備える。 Specifically, the method for manufacturing the flexible printed wiring board uses a die 1 on which a plate-shaped jig 3 for projecting is arranged and a punch 2 corresponding to the die 1, and one flexible printed circuit board is used. A step of separating a plurality of flexible printed wiring board pieces P from the wiring board sheet S <separation step> and a step of ejecting a plurality of flexible printed wiring board pieces P by lifting the plate jig 3 <splashing Step> and a step <transfer step> of transferring the plurality of protruding flexible printed wiring board pieces P to the tray 4 having the holding structure 11 for positioning the plurality of flexible printed wiring board pieces P. Be prepared.

<切り離し工程>
切り離し工程では、図3に示すように、板状治具3の上にフレキシブルプリント配線板シートSを位置決め配置し、フレキシブルプリント配線板シートSを保持する板状治具3をダイ1の位置決め凹部6に嵌合させる。この状態で、パンチ2をダイ1のパンチ穴5に挿入することで、フレキシブルプリント配線板シートSの接続部Cを打ち抜いて除去することができ、複数のフレキシブルプリント配線板個片Pが切り離される。
<Separation process>
In the disconnection step, as shown in FIG. 3, the flexible printed wiring board sheet S is positioned and arranged on the plate jig 3, and the plate jig 3 holding the flexible printed wiring board sheet S is positioned and recessed in the die 1. Fit to 6. In this state, by inserting the punch 2 into the punch hole 5 of the die 1, the connection portion C of the flexible printed wiring board sheet S can be punched out and removed, and the plurality of flexible printed wiring board pieces P are separated. ..

このとき、板状治具3の上には、複数のフレキシブルプリント配線板個片Pと共に枠部Fも残されているが、図4に示すように、最初に枠部Fを取り除いて板状治具3上には複数のフレキシブルプリント配線板個片Pのみを残してもよく、次のはね出し工程後に枠部Fを取り除いてもよい。 At this time, the frame portion F is also left on the plate-shaped jig 3 together with the plurality of flexible printed wiring board pieces P, but as shown in FIG. 4, the frame portion F is first removed to form a plate shape. Only a plurality of flexible printed wiring board pieces P may be left on the jig 3, and the frame portion F may be removed after the next ejection step.

<はね出し工程>
はね出し工程では、図5に示すように、複数のフレキシブルプリント配線板個片Pが載置されている板状治具3を持ち上げて、複数のフレキシブルプリント配線板個片Pを載せたまま板状治具3をダイ1から取り外す。このとき、各フレキシブルプリント配線板個片Pがガイド7によって保持されているので、フレキシブルプリント配線板個片Pの相対配置を変えることなく板状治具3を移動することが容易である。
<Splashing process>
In the splashing step, as shown in FIG. 5, the plate-shaped jig 3 on which the plurality of flexible printed wiring board pieces P are placed is lifted, and the plurality of flexible printed wiring board pieces P are left on the plate-shaped jig 3. Remove the plate jig 3 from the die 1. At this time, since each flexible printed wiring board piece P is held by the guide 7, it is easy to move the plate-shaped jig 3 without changing the relative arrangement of the flexible printed wiring board pieces P.

<移載工程>
移載工程は、板状治具3にトレー4を重ね合わせる工程(重ね合わせ工程)と、板状治具3及びトレー4を上下反転させる工程(反転工程)とを有する。
<Transfer process>
The transfer step includes a step of stacking the tray 4 on the plate-shaped jig 3 (stacking step) and a step of flipping the plate-shaped jig 3 and the tray 4 upside down (reversing step).

(重ね合わせ工程)
重ね合わせ工程では、図6に示すように、複数のフレキシブルプリント配線板個片Pを保持する板状治具3の上に、トレー4を重ね合わせる。このとき、板状治具3の位置決め部8をトレー4の嵌合部9に嵌合させることにより、板状治具3のガイド7が収容凹部10に収容され、板状治具3上のフレキシブルプリント配線板個片Pが保持構造11に挿入されるよう板状治具3とトレー4とを正対させる。
(Overlapping process)
In the stacking step, as shown in FIG. 6, the tray 4 is superposed on the plate-shaped jig 3 that holds the plurality of flexible printed wiring board pieces P. At this time, by fitting the positioning portion 8 of the plate-shaped jig 3 into the fitting portion 9 of the tray 4, the guide 7 of the plate-shaped jig 3 is accommodated in the accommodating recess 10, and the plate-shaped jig 3 is placed on the plate-shaped jig 3. The plate-shaped jig 3 and the tray 4 are made to face each other so that the flexible printed wiring board piece P is inserted into the holding structure 11.

(反転工程)
反転工程では、図7に示すように、複数のフレキシブルプリント配線板個片Pを挟み込んでいる板状治具3及びトレー4を上下反転させる。このとき、板状治具3のガイド7及びトレー4の保持構造11は、複数のフレキシブルプリント配線板個片Pの相対位置が変化することをより確実に防止する。これにより、図8に示すように、板状治具3を取り外してトレー4の保持構造11にそれぞれフレキシブルプリント配線板個片Pを正確に配置した状態とすることができ、次工程において、例えば素子の実装等、フレキシブルプリント配線板個片Pに対する加工を適切に行うことができる。
(Reversal process)
In the reversing step, as shown in FIG. 7, the plate-shaped jig 3 and the tray 4 sandwiching the plurality of flexible printed wiring board pieces P are turned upside down. At this time, the guide 7 of the plate jig 3 and the holding structure 11 of the tray 4 more reliably prevent the relative positions of the plurality of flexible printed wiring board pieces P from changing. As a result, as shown in FIG. 8, the plate-shaped jig 3 can be removed so that the flexible printed wiring board pieces P are accurately arranged on the holding structure 11 of the tray 4, and in the next step, for example, It is possible to appropriately process the flexible printed wiring board piece P, such as mounting an element.

[その他の実施形態]
今回開示された実施の形態は全ての点で例示であって制限的なものではないと考えられるべきである。本発明の範囲は、上記実施形態の構成に限定されるものではなく、請求の範囲によって示され、請求の範囲と均等の意味及び範囲内での全ての変更が含まれることが意図される。
[Other Embodiments]
It should be considered that the embodiments disclosed this time are exemplary in all respects and not restrictive. The scope of the present invention is not limited to the configuration of the above-described embodiment, but is indicated by the claims and is intended to include all modifications within the meaning and scope equivalent to the claims.

当該板状治具は、フレキシブルプリント配線板個片を保持するガイドのみによってフレキシブルプリント配線板シートを位置決めするものであってもよい。また、当該板状治具は、トレーに対する位置決め部とは別にフレキシブルプリント配線板を位置決めする構成を備えてもよい。 The plate-shaped jig may be used to position the flexible printed wiring board sheet only by a guide that holds the flexible printed wiring board pieces. Further, the plate-shaped jig may have a configuration for positioning the flexible printed wiring board separately from the positioning portion for the tray.

当該板状治具は、そのまま次工程でフレキシブルプリント配線板個片を保持する治具として使用してもよい。また、当該板状治具から位置決めのための構造やフレキシブルプリント配線板個片を保持する構造を有しない平板にフレキシブルプリント配線板個片を移載してもよい。 The plate-shaped jig may be used as it is as a jig for holding the flexible printed wiring board piece in the next process. Further, the flexible printed wiring board piece may be transferred from the plate jig to a flat plate having no structure for positioning or a structure for holding the flexible printed wiring board piece.

当該板状治具のガイドは、フレキシブルプリント配線板個片の形状に合わせて屈曲した側面を有するものであってもよい。 The guide of the plate-shaped jig may have a side surface bent according to the shape of the flexible printed wiring board piece.

当該板状治具の位置決め部は、トレーの凸部に嵌合する凹部であってもよい。また、当該板状治具の位置決め部は、当該板状治具とトレーとを位置決めするさらなる治具等の構成要素による位置決めに供されるよう構成されてもよい。 The positioning portion of the plate-shaped jig may be a concave portion that fits into the convex portion of the tray. Further, the positioning portion of the plate-shaped jig may be configured to be provided for positioning by a component such as a further jig for positioning the plate-shaped jig and the tray.

当該フレキシブルプリント配線板個片のハンドリング用具において、トレーの保持構造は、上述の実施形態に限定されず、例えば板状治具のガイドのようにフレキシブルプリント配線板個片の周囲に配置される突起等、任意の構成とすることができる。 In the handling tool for the flexible printed wiring board piece, the tray holding structure is not limited to the above-described embodiment, and the protrusions arranged around the flexible printed wiring board piece, for example, like a guide of a plate jig. Etc., any configuration can be used.

フレキシブルプリント配線板の製造方法、板状治具、フレキシブルプリント配線板個片のハンドリング用具及びフレキシブルプリント配線板の製造設備において、フレキシブルプリント配線板シートは、複数種類のフレキシブルプリント配線板個片が形成されているものであってもよい。 In the manufacturing method of the flexible printed wiring board, the plate jig, the handling tool of the flexible printed wiring board piece, and the manufacturing equipment of the flexible printed wiring board, the flexible printed wiring board sheet is formed of a plurality of types of flexible printed wiring board pieces. It may be the one that has been done.

1 ダイ
2 パンチ
3 板状治具
4 トレー
5 パンチ穴
6 位置決め凹部
7 ガイド
8 位置決め部
9 嵌合部
10 収容凹部
11 保持構造
C 接続部
F 枠部
H 打抜穴
P フレキシブルプリント配線板個片
S フレキシブルプリント配線板シート
1 Die 2 Punch 3 Plate-shaped jig 4 Tray 5 Punch hole 6 Positioning recess 7 Guide 8 Positioning part 9 Fitting part 10 Storage recess 11 Holding structure C Connection part F Frame part H Punched hole P Flexible printed wiring board piece S Flexible printed wiring board sheet

Claims (4)

はね出しのための板状治具が配置されるダイとこのダイに対応するパンチとを用い、1枚のフレキシブルプリント配線板シートから複数のフレキシブルプリント配線板個片を切り離す切り離し工程と、
上記板状治具を持ち上げることにより複数のフレキシブルプリント配線板個片をはね出すはね出し工程と、
上記複数のフレキシブルプリント配線板個片を位置決めする保持構造を有するトレーに、はね出した上記複数のフレキシブルプリント配線板個片を移載する移載工程と
を備えるフレキシブルプリント配線板の製造方法であって、
上記板状治具が、複数のフレキシブルプリント配線板個片の平面方向の移動を防止する複数のガイドと、この複数のガイドにより位置決めされる複数のフレキシブルプリント配線板個片を上記トレーの保持構造に正対するよう上記トレーに対して位置決めする位置決め部とを有し、
上記移載工程が、上記板状治具に上記トレーを重ね合わせる重ね合わせ工程と、上記板状治具及びトレーを上下反転させる反転工程とを有するフレキシブルプリント配線板の製造方法。
Using a die on which a plate-shaped jig for ejection is arranged and a punch corresponding to this die, a separation process for separating a plurality of flexible printed wiring board pieces from one flexible printed wiring board sheet, and a separation process.
By lifting the above-mentioned plate-shaped jig, a plurality of flexible printed wiring board pieces are ejected.
A method for manufacturing a flexible printed wiring board, which comprises a transfer step of transferring the plurality of flexible printed wiring board pieces that have been ejected to a tray having a holding structure for positioning the plurality of flexible printed wiring board pieces. There,
The plate-shaped jig holds a plurality of guides for preventing the movement of the plurality of flexible printed wiring board pieces in the plane direction, and a plurality of flexible printed wiring board pieces positioned by the plurality of guides in the tray. It has a positioning part for positioning with respect to the tray so as to face the tray.
A method for manufacturing a flexible printed wiring board, wherein the transfer step includes a stacking step of stacking the tray on the plate jig and an inversion step of flipping the plate jig and the tray upside down.
ダイ及びパンチを用いて1枚のフレキシブルプリント配線板シートから切り離される複数のフレキシブルプリント配線板個片を、ダイからはね出すために用いられる板状治具であって、
上記複数のフレキシブルプリント配線板個片の平面方向の移動を防止する複数のガイドと、
上記複数のフレキシブルプリント配線板個片を保持するトレーに対して位置決めする位置決め部と
を備える板状治具。
A plate-shaped jig used to eject a plurality of flexible printed wiring board pieces separated from one flexible printed wiring board sheet using a die and a punch from the die.
A plurality of guides for preventing the movement of the plurality of flexible printed wiring board pieces in the plane direction, and
A plate-shaped jig provided with a positioning portion for positioning with respect to a tray that holds the plurality of flexible printed wiring board pieces.
請求項2に記載の板状治具と、この板状治具に位置決め可能なトレーとを備えるフレキシブルプリント配線板個片のハンドリング用具であって、
上記トレーが、
上記位置決め部と嵌合する嵌合部と、
上記複数のガイドが挿入される複数の凹部と、
上記複数のフレキシブルプリント配線板個片を位置決めする保持構造と
を有するフレキシブルプリント配線板個片のハンドリング用具。
A tool for handling individual pieces of a flexible printed wiring board including the plate-shaped jig according to claim 2 and a tray that can be positioned on the plate-shaped jig.
The above tray
A fitting part that fits with the positioning part and
Multiple recesses into which the above multiple guides are inserted, and
A tool for handling flexible printed wiring board pieces having a holding structure for positioning the plurality of flexible printed wiring board pieces.
請求項3に記載のフレキシブルプリント配線板個片のハンドリング用具と、
上記板状治具が嵌合する凹部を有するダイと、
このダイに対応するパンチと
を備えるフレキシブルプリント配線板の製造設備。
The handling tool for the flexible printed wiring board piece according to claim 3,
A die with a recess into which the plate jig fits, and
Flexible printed wiring board manufacturing equipment with punches for this die.
JP2018551064A 2016-11-17 2017-10-03 Flexible printed wiring board manufacturing method, plate jigs, flexible printed wiring board piece handling tools, and flexible printed wiring board manufacturing equipment Active JP6897937B2 (en)

Applications Claiming Priority (3)

Application Number Priority Date Filing Date Title
JP2016224140 2016-11-17
JP2016224140 2016-11-17
PCT/JP2017/035977 WO2018092447A1 (en) 2016-11-17 2017-10-03 Flexible printed wiring board production method, plate-shaped jig, tool for handling individual flexible printed wiring board pieces, and flexible printed wiring board production equipment

Publications (2)

Publication Number Publication Date
JPWO2018092447A1 JPWO2018092447A1 (en) 2019-10-17
JP6897937B2 true JP6897937B2 (en) 2021-07-07

Family

ID=62146148

Family Applications (1)

Application Number Title Priority Date Filing Date
JP2018551064A Active JP6897937B2 (en) 2016-11-17 2017-10-03 Flexible printed wiring board manufacturing method, plate jigs, flexible printed wiring board piece handling tools, and flexible printed wiring board manufacturing equipment

Country Status (3)

Country Link
JP (1) JP6897937B2 (en)
CN (1) CN109964545B (en)
WO (1) WO2018092447A1 (en)

Family Cites Families (18)

* Cited by examiner, † Cited by third party
Publication number Priority date Publication date Assignee Title
JPS4881063A (en) * 1972-01-31 1973-10-30
JPH05277872A (en) * 1992-03-30 1993-10-26 Toshiba Corp Flexible circuit board punching and conveying device
JP2662477B2 (en) * 1992-06-03 1997-10-15 住友電気工業株式会社 Flexible printed wiring board and method of manufacturing the same
WO2001011612A1 (en) * 1999-08-06 2001-02-15 Mitsubishi Chemical Corporation Tray for conveying magnetic head for magnetic disk
JP3783528B2 (en) * 2000-05-30 2006-06-07 松下電工株式会社 Cutting method of molded circuit board
JP2003053696A (en) * 2001-08-15 2003-02-26 Uht Corp Punching device for flexible workpiece
JP2004034161A (en) * 2002-06-28 2004-02-05 Uht Corp Method for cutting flexible printed wiring board
JP3794693B2 (en) * 2003-02-07 2006-07-05 松下電器産業株式会社 Substrate holder, substrate holder manufacturing method, and mold manufacturing method
JP3654892B2 (en) * 2003-05-30 2005-06-02 松下電器産業株式会社 Holding tool and manufacturing method of holding tool
KR100615074B1 (en) * 2004-10-18 2006-08-22 주식회사 써키트 플렉스 Punching method of FPC with unconnected compound hard toolings
CN100420553C (en) * 2005-11-02 2008-09-24 富展电子(上海)有限公司 Die cutting method of flexible circuit board
JP2008053277A (en) * 2006-08-22 2008-03-06 Nec Corp Apparatus and method of cutting off board
JP2008159968A (en) * 2006-12-26 2008-07-10 Fuji Electric Fa Components & Systems Co Ltd Multi-sided printed board
CN101686604B (en) * 2008-09-24 2011-05-18 比亚迪股份有限公司 Flexible printed circuit whole board punching method
JP5581260B2 (en) * 2011-04-21 2014-08-27 日本メクトロン株式会社 Method for replacing unit wiring board of collective substrate and collective substrate
CN104227781B (en) * 2014-09-23 2016-04-20 东莞市华恒工业自动化集成有限公司 A kind of automatic punching machine equipment and processing method thereof
CN104828599B (en) * 2015-04-28 2017-06-20 歌尔股份有限公司 A kind of point board device automatically
JP3213228U (en) * 2017-08-14 2017-10-26 住友電工プリントサーキット株式会社 Transfer jig and jig set

Also Published As

Publication number Publication date
JPWO2018092447A1 (en) 2019-10-17
CN109964545A (en) 2019-07-02
CN109964545B (en) 2021-08-10
WO2018092447A1 (en) 2018-05-24

Similar Documents

Publication Publication Date Title
CN108698178B (en) Robot Arm Control System
JP6833865B2 (en) Screen printing machine
JP6897937B2 (en) Flexible printed wiring board manufacturing method, plate jigs, flexible printed wiring board piece handling tools, and flexible printed wiring board manufacturing equipment
TWI353203B (en)
JP6901066B2 (en) Flexible printed wiring board manufacturing method and flexible printed wiring board manufacturing equipment
JP2003025284A (en) High speed cnc punching device
JP6754896B2 (en) Parts gripper
JP6738898B2 (en) Board-to-board working machine
CN106793512A (en) Flexible board cover film quick lamination device
JP7075498B2 (en) Working machine
JP2010003933A (en) Flexible printed circuit board and method of holding the same in electronic apparatus
JP4517210B2 (en) Pallet for stacking workpieces such as ceramic green sheets, green sheet laminated crimped bodies, printed wiring boards, etc.
JP4808727B2 (en) Drilling device
WO2014129195A1 (en) Component mounting device, and component mounting method
JP2708886B2 (en) Hole processing method for sheet
TWI798960B (en) Method for fixing printed circuit board of groove processing device and groove processing device
JP5427830B2 (en) Drilling device, punching die and exchanging method of punching die
JP7620411B2 (en) Work equipment
JPH10261867A (en) Manufacturing method and device of multilayer ceramic board
KR20090082972A (en) Jig for Circuit Board Module
JP6714730B2 (en) Working machine and soldering method
JP4910912B2 (en) Circuit board outer die
JP4175623B2 (en) Mold for processing base plate and method for manufacturing processed plate
JP2021048400A (en) Positional displacement prevention jig and press jig
JP2002036223A (en) Manufacturing method of laminated ceramic electronic component

Legal Events

Date Code Title Description
A625 Written request for application examination (by other person)

Free format text: JAPANESE INTERMEDIATE CODE: A625

Effective date: 20200521

TRDD Decision of grant or rejection written
A01 Written decision to grant a patent or to grant a registration (utility model)

Free format text: JAPANESE INTERMEDIATE CODE: A01

Effective date: 20210511

A61 First payment of annual fees (during grant procedure)

Free format text: JAPANESE INTERMEDIATE CODE: A61

Effective date: 20210602

R150 Certificate of patent or registration of utility model

Ref document number: 6897937

Country of ref document: JP

Free format text: JAPANESE INTERMEDIATE CODE: R150

R250 Receipt of annual fees

Free format text: JAPANESE INTERMEDIATE CODE: R250

R250 Receipt of annual fees

Free format text: JAPANESE INTERMEDIATE CODE: R250