JP6889874B1 - ロープウェイシステム及び自走式ロープウェイ装置 - Google Patents

ロープウェイシステム及び自走式ロープウェイ装置 Download PDF

Info

Publication number
JP6889874B1
JP6889874B1 JP2021002544A JP2021002544A JP6889874B1 JP 6889874 B1 JP6889874 B1 JP 6889874B1 JP 2021002544 A JP2021002544 A JP 2021002544A JP 2021002544 A JP2021002544 A JP 2021002544A JP 6889874 B1 JP6889874 B1 JP 6889874B1
Authority
JP
Japan
Prior art keywords
support
rope
ropeway
end portion
rail
Prior art date
Legal status (The legal status is an assumption and is not a legal conclusion. Google has not performed a legal analysis and makes no representation as to the accuracy of the status listed.)
Active
Application number
JP2021002544A
Other languages
English (en)
Other versions
JP2022107881A (ja
Inventor
高匡 須知
高匡 須知
Current Assignee (The listed assignees may be inaccurate. Google has not performed a legal analysis and makes no representation or warranty as to the accuracy of the list.)
Zip Infrastructure
Original Assignee
Zip Infrastructure
Priority date (The priority date is an assumption and is not a legal conclusion. Google has not performed a legal analysis and makes no representation as to the accuracy of the date listed.)
Filing date
Publication date
Application filed by Zip Infrastructure filed Critical Zip Infrastructure
Priority to JP2021002544A priority Critical patent/JP6889874B1/ja
Application granted granted Critical
Publication of JP6889874B1 publication Critical patent/JP6889874B1/ja
Publication of JP2022107881A publication Critical patent/JP2022107881A/ja
Active legal-status Critical Current
Anticipated expiration legal-status Critical

Links

Images

Landscapes

  • Platform Screen Doors And Railroad Systems (AREA)

Abstract

【課題】 市街地などの既存の複雑な領域であっても導入しやすい簡便且つ安価な自走式ロープウェイシステムを提供する。
【解決手段】 自走式ロープウェイシステムは、自走式ロープウェイ装置の進行方向において離隔されて設置された2つの支柱1の間の区間であり且つ接合部がない一連の支索11によって構成される区間である単位支索区間を複数連接するための中継器10を備え、中継器10は、前の単位支索区間を構成する支索11支索端部13に鋳止めされた状態で、支索端部13が支索固定具12に固定されるとともに、次の単位支索区間を構成する支索11が他の支索端部13に鋳止めされた状態で、他の支索端部13が支索固定具12に固定され、さらに、2つの支索端部13が設けられた領域を包含する領域にわたって、支索固定具12に支索端部走行用レール14が形成されている。
【選択図】 図2

Description

本発明は、空中に架設されたワイヤロープやチェーンなどの支索に吊下された形態でロープウェイ装置が走行するロープウェイシステム、及びこのロープウェイシステムが備える自走式ロープウェイ装置に関する。
現在のロープウェイシステムは、主に山間部における輸送手段として広く普及している。
例えば、特許文献1には、容器状のフレームの片側側面にデイスク式やドラム式の制動付きの溝付き車輪、側面を上下する溝付きの空回りする車輪、人体がぶら下がる取っ手を設定し、移動する場合制動付きの溝付き車輪と溝付きの空回りする車輪で支索の上面、下面を挟み、制動付きの溝付き車輪の制動を緩めるロープ式移動装置が開示されている。
また、特許文献2には、ワイヤロープを挟むように対向して設けた複数組の1対のローラと、ワイヤロープに対して斜めに設けたガイドに沿って一方のローラをワイヤロープへ付勢させる付勢手段と、各ローラを回転させる駆動手段とで構成した、ワイヤロープ走行装置が開示されている。
特開2016−168858号公報 特開2010−52467号公報
現在、人間の大量輸送手段として鉄道があるが、一部の国・地域において、ロープウェイシステムを利用することが試みられている。このようなロープウェイシステムは、建設費用が安価で済むことから、鉄道に代わるインフラストラクチャとして実現されれば、次世代のMaaS(Mobility as a Service)における輸送手段としてのポテンシャルが高いと考えられる。
しかしながら、そのようなロープウェイシステムを、市街地をはじめとする様々な領域における輸送手段として実現するための具体的な技術的考察は、いまだ行われていないのが現状である。
本発明は、このような実情に鑑みてなされたものであり、市街地などの既存の複雑な領域であっても導入しやすい簡便且つ安価な自走式ロープウェイシステム、並びに、ロープウェイシステムに用いられる中継器、分岐器、カーブ構造、及び自走式ロープウェイ装置を提供することを目的とする。
上述した目的を達成する本発明にかかるロープウェイシステムは、空中に架設された支索に吊下された形態でロープウェイ装置が走行するロープウェイシステムにおいて、ロープウェイ装置と、ロープウェイ装置の進行方向において離隔されて設置された2つの支柱間の区間であり且つ接合部がない一連の支索によって構成される区間である単位支索区間を複数連接するための中継器と、を備える。ロープウェイ装置は、客室を構成するチャンバの天面に設けられた駆動輪と、駆動輪に対応して設けられる受動輪であって、駆動輪の外周に設けられた溝と受動輪の外周に設けられた溝とによって支索を挟持して走行するように構成された受動輪と、を備える。中継器は、支柱に設けられ、支索を固定するための支索固定具を備え、前の単位支索区間を構成する支索の終端部分が所定の支索端部に鋳止めされた状態で、支索端部が支索固定具に固定されるとともに、次の単位支索区間を構成する支索の始端部分が他の支索端部に鋳止めされた状態で、他の支索端部が支索固定具に固定され、さらに、支索端部及び他の支索端部が設けられた領域を包含する領域にわたって、支索固定具に支索端部走行用レールが形成されており、支索端部走行用レールの上面の曲率半径は、支索の曲率半径と同一に形成されている。そして、駆動輪は、支索端部走行用レールの上面を介して、支索端部を越えて次の単位支索区間を構成する支索へと進行することを特徴としている。
また、上述した目的を達成する本発明にかかるロープウェイシステムは、空中に架設された支索に吊下された形態でロープウェイ装置が走行するロープウェイシステムにおいて、ロープウェイ装置と、ロープウェイ装置を異なる進行方向に分岐するための分岐器と、を備える。ロープウェイ装置は、客室を構成するチャンバの天面に設けられた駆動輪と、駆動輪に対応して設けられる受動輪であって、駆動輪の外周に設けられた溝と受動輪の外周に設けられた溝とによって支索を挟持して走行するように構成された受動輪と、を備える。分岐器は、ロープウェイ装置の進行方向において離隔されて設置された2つの支柱間の区間であり且つ接合部がない一連の支索によって構成される区間を単位支索区間としたとき、支柱に設けられ、支索を固定するための支索固定具を備え、前の単位支索区間を構成する支索の終端部分が所定の支索端部に鋳止めされた状態で、支索端部が支索固定具に固定されるとともに、次の単位支索区間を構成する支索の始端部分が他の支索端部に鋳止めされた状態で、他の支索端部が支索固定具に固定され、さらに、支索端部及び他の支索端部が設けられた領域を包含する領域にわたって、支索固定具に支索端部走行用レールが形成されており、支索端部走行用レールの上面の曲率半径は、支索の曲率半径と同一に形成されている。そして、駆動輪は、支索端部走行用レールの上面を介して、支索端部を越えて次の単位支索区間を構成する支索へと進行することを特徴としている。
さらに、上述した目的を達成する本発明にかかるロープウェイシステムは、空中に架設された支索に吊下された形態でロープウェイ装置が走行するロープウェイシステムにおいて、ロープウェイ装置と、ロープウェイ装置が支索に沿ってカーブすることを可能にするカーブ構造と、を備える。ロープウェイ装置は、客室を構成するチャンバの天面に設けられた駆動輪と、駆動輪に対応して設けられる受動輪であって、駆動輪の外周に設けられた溝と受動輪の外周に設けられた溝とによって支索を挟持して走行するように構成された受動輪と、を備える。カーブ構造は、ロープウェイ装置の進行方向において離隔されて設置された2つの支柱間の区間であり且つ接合部がない一連の支索によって構成される区間である単位支索区間を複数連接するための中継器と、カーブの始端及び終端に設けられた各中継器の間に延在し、所望の曲率に湾曲したカーブレールと、を備える。中継器は、支柱に設けられ、支索を固定するための支索固定具を備え、前の単位支索区間を構成する支索の終端部分が所定の支索端部に鋳止めされた状態で、支索端部が支索固定具に固定されるとともに、次の単位支索区間を構成する支索の始端部分が他の支索端部に鋳止めされた状態で、他の支索端部が支索固定具に固定され、さらに、支索端部及び他の支索端部が設けられた領域を包含する領域にわたって、支索固定具に支索端部走行用レールが形成されており、支索端部走行用レールの上面の曲率半径は、支索の曲率半径と同一に形成されている。そして、駆動輪は、支索端部走行用レールの上面を介して、支索端部を越えて次の単位支索区間を構成する支索へと進行することを特徴としている。
さらにまた、上述した目的を達成する本発明にかかる自走式ロープウェイ装置は、空中に架設された支索に吊下された形態で自走する自走式ロープウェイ装置において、客室を構成するチャンバの天面に設けられた駆動輪と、駆動輪に対応して設けられる受動輪であって、駆動輪の外周に設けられた溝と受動輪の外周に設けられた溝とによって支索を挟持して走行するように構成された受動輪と、駆動輪を回転駆動させる駆動モータに給電するバッテリと、を備え、駆動輪及び受動輪は、上述した中継器、分岐器、又はカーブ構造のうち少なくとも1つにおける支索端部を越えて次の単位支索区間を構成する支索へと進行することを特徴としている。
このような本発明にかかるロープウェイシステム及び自走式ロープウェイ装置は、前の単位支索区間を構成する支索が所定の支索端部に鋳止めされた状態で、支索端部が支索固定具に固定されるとともに、支索固定具に支索端部走行用レールが形成され、支索端部走行用レールの終端には、次の単位支索区間を構成する支索が連絡しており、支索端部走行用レールの上面の曲率半径が支索の曲率半径と同一に形成されていることから、ロープウェイ装置の駆動輪及び受動輪によって支索端部走行用レールの上面を介して支索端部を越えて次の単位支索区間を構成する支索へと進行する。
本発明においては、簡便且つ安価な構成のもとに、安定したロープウェイ装置の走行を実現することができ、市街地などの既存の複雑な領域であっても容易に導入することができる。
本発明の実施の形態として示す自走式ロープウェイシステムにおける中継器部分の概略図である。 中継器の要部を拡大して示す図である。 中継器の要部の側面図及び断面図である。 本発明の実施の形態として示す自走式ロープウェイシステムにおける分岐器部分の概略図である。 分岐器における支柱側リニアガイド固定具を取り外した様子を示す図である。 分岐器における支柱側リニアガイド固定具を取り外した様子を拡大して示す図である。 分岐器の横断面図である。 本発明の実施の形態として示す自走式ロープウェイシステムにおけるカーブ構造部分の概略図である。 カーブ構造の要部を拡大して示す図である。 本発明の実施の形態として示す自走式ロープウェイシステムにおける自走式ロープウェイ装置の概略図である。
以下、本発明を適用した具体的な実施の形態について図面を参照しながら詳細に説明する。
この実施の形態は、空中に架設されたワイヤロープやチェーンなどの支索に吊下された形態で自走式ロープウェイ装置が自走する自走式ロープウェイシステムである。
この自走式ロープウェイシステムは、詳細は後述するが、空中に架設されたワイヤロープなどの支索を自走式ロープウェイ装置の駆動輪と受動輪とによって挟持して互いに押し付ける構造を基本としている。以下では、自走式ロープウェイ装置が進行する方向を「進行方向」と称し、この進行方向に直交する鉛直方向を「上下方向」と称し、進行方向に直交する面内方向を「左右方向」と称するものとする。
このような自走式ロープウェイシステムを市街地などの既存の複雑な領域に導入するためには、単位支索区間を複数連接するための中継器と、異なる進行方向に分岐するための分岐器と、自走式ロープウェイ装置が支索に沿って滑らかにカーブすることを可能にするカーブ構造と、を如何に構成するかが重要となる。以下では、この3つの要素について詳細に説明する。
まず、中継器について説明する。
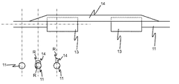
図1に、中継器部分の概略図を示す。中継器10は、地面などの基礎面に敷設された基礎2から立設される支柱1に構成される。支柱1は、2つの基礎2からそれぞれ立設される2本の脚部1aと、これら脚部1aの間をつなぐ水平部1bとを有するコ字状に形成されている。また、支柱1は、必要に応じて、図7に示すように、傾きを防止するために、脚部1aから延出された支柱固定用ロープ3を基礎面に固定することによって補強されていてもよい。自走式ロープウェイシステムにおいては、自走式ロープウェイ装置の進行方向において離隔されて設置された前後2つの支柱1の間の区間を単位支索区間、すなわち、接合部がない一連の支索11によって構成される区間とし、この単位支索区間を複数連接することによって任意距離のシステムを実現する。
前後2つの支柱1の間には、支索11が架設されている。支索11は、支柱1の水平部1bの左右方向両側に2本ずつ、計4本設けられる。このうち、片側2本の支索11は、所定の進行方向用であり、他側2本の支索11は、反対の進行方向用である。支索11は、支柱1、特に脚部1aから離隔した位置に架設されている。ここでは図示しないが、自走式ロープウェイ装置は、その駆動輪と受動輪とによって支索11を上下方向に挟持して互いに押し付けながら走行する。
さらに、支柱1の水平部1bには、その左右方向両側に、支索11を固定するための支索固定具12が設けられる。この支索固定具12は、支索11毎に設けられ、図1の場合には、4本の支索11に対応して4つの支索固定具12が設けられる。特に、支索固定具12は、支柱1の脚部1aから所定距離離隔した位置に設けられる。すなわち、中継器10は、支柱1の脚部1aから所定距離離隔した位置に設けられる。
中継器10においては、前の単位支索区間から次の単位支索区間への支索11の連接形態に工夫を凝らさないと、滑らかな走行を実現することが困難となる。
そこで、中継器10は、図2に示すように、筒状の支索端部13に形成された筒孔に、前の単位支索区間を構成する支索11の終端部分を挿入して所定の金属を流し込むことによって支索11を支索端部13に鋳止めした状態で、支索端部13を支索固定具12にネジなどによって機械的に固定するとともに、次の単位支索区間を構成する支索11の始端部分を他の支索端部13に鋳止めした状態で、他の支索端部13を支索固定具12に固定し、さらに、2つの支索端部13が設けられた領域を包含する領域にわたって、支索固定具12に支索端部走行用レール14を形成している。
ここで、支索端部走行用レール14は、図3に示すように、支索端部13に鋳止めされた支索11よりも若干上方に形成されている。また、支索端部13は、支索11を鋳止めする構成のため、支索11よりも曲率半径が大きくなることから、そのままでは自走式ロープウェイ装置の1対の駆動輪及び受動輪によって通過することができない。そこで、支索端部走行用レール14の上面の曲率半径を支索11の曲率半径Rと同一に形成している。これにより、自走式ロープウェイ装置は、支索端部13の設置領域付近であっても、1対の駆動輪及び受動輪によって滑らかに走行することができる。なお、支索固定具12及び支索端部走行用レール14には、前後の支索11による張力が伝達されていることはいうまでもない。
このような構成により、自走式ロープウェイ装置は、その駆動輪及び受動輪によって支索端部13を越えて支索端部走行用レール14に沿って走行し、次の単位支索区間を構成する支索11へとシームレスに進行することができる。したがって、自走式ロープウェイシステムにおいては、このような簡便且つ安価な構成のもとに、走行中のがたつきを低減した滑らかな走行を実現することができる。
つぎに、分岐器について説明する。
分岐器は、自走式ロープウェイ装置を異なる進行方向に分岐するためのポインタである。図4に、分岐器部分の概略図を示す。分岐器20は、中継器10と同様に、支柱1に上述した支索固定具12を設けることによって形成される。なお、支索固定具12の周辺における支索11の固定については、中継器10と同様に、図4では図示しない筒状の支索端部13に形成された筒孔に、前の単位支索区間を構成する支索11の終端部分を挿入して所定の金属を流し込むことによって支索11を支索端部13に鋳止めした状態で、支索端部13を支索固定具12にネジなどによって機械的に固定するとともに、次の単位支索区間を構成する支索11の始端部分を他の支索端部13に鋳止めした状態で、他の支索端部13を支索固定具12に固定し、さらに、2つの支索端部13が設けられた領域を包含する領域にわたって、支索固定具12に支索端部走行用レール14を形成したものである。
分岐器20は、分岐器20を駆動するための分岐器駆動用モータ21と、この分岐器駆動用モータ21から延出する分岐器駆動力伝達軸22と、後述するリニアガイドを支持固定するための支柱側リニアガイド固定具23とを備える。
分岐器駆動用モータ21は、分岐器20、より具体的には後述するリニアガイドを駆動するための駆動力を発生する駆動源である。分岐器駆動用モータ21の回転は、分岐器駆動力伝達軸22を介してリニアガイドに伝達される。
支柱側リニアガイド固定具23は、進行方向前後に位置する2本1組の支柱1にわたって当該支柱1の水平部1bに設けられており、図4では図示しないリニアガイドを支柱1の側から支持固定する。
図5及び図6に、支柱側リニアガイド固定具23を取り外した様子を示し、図7に、分岐器20の横断面図を示す。分岐器20は、分岐器駆動力伝達軸22を介して伝達される駆動力に応じて平行移動するリニアガイド24と、リニアガイド24を支持固定するための分岐器側リニアガイド固定具25と、分岐器20内における進行方向が直進のレールである分岐器内直進レール26と、分岐器20内における進行方向が直進から分岐したレールである分岐器内分岐レール27と、分岐器20内における各レールを支持する分岐器内レール支持面28とを備える。
リニアガイド24は、図5及び図6に示すように、分岐器側リニアガイド固定具25によって下方から支持固定されるとともに、図7に示すように、支柱側リニアガイド固定具23によって支柱1の側から支持固定されており、分岐器駆動力伝達軸22を介して伝達される分岐器駆動用モータ21の駆動力に応じて、左右方向(図7では、紙面に対して鉛直方向)へと平行移動する。分岐器20内では、分岐器内直進レール26及び分岐器内分岐レール27の2本のレールが延在しており、リニアガイド24の平行移動に応じて、分岐器内直進レール26及び/又は分岐器内分岐レール27が移動することにより、いずれか一方のレールのみが次の進行方向のレールとして切り替え選択されることになる。
このような構成により、自走式ロープウェイ装置は、リニアガイド24の平行移動に応じて切り替え選択された分岐器内直進レール26又は分岐器内分岐レール27のいずれか一方にのみ沿って走行することができる。なお、分岐器20によるレールの切り替え選択制御、すなわち分岐器駆動用モータ21の制御は、図示しないコントローラによって行われる。自走式ロープウェイ装置は、分岐器20上で一旦停止し、吊下されているレールが平行移動することによって走行すべき方向に切り替えられる。自走式ロープウェイシステムにおいては、このような簡便且つ安価な構成のもとに、進行方向の分岐を容易に実現することができる。
つぎに、カーブ構造について説明する。
図8に、カーブ構造部分の概略図を示す。カーブ構造30は、1つの単位支索区間を構成するため、カーブの始端及び終端には上述した中継器10を用いる。そして、始端及び終端の各中継器10の間には、所望の曲率に湾曲したカーブレール31が延在している。
カーブレール31は、図9に示すように、カーブレール固定具32によって支持固定されている。なお、支索固定具12における支索11の固定については、中継器10及び分岐器20と同様に、筒状の支索端部13に形成された筒孔に、カーブレール31に沿った支索11の終端部分を挿入して所定の金属を流し込むことによって支索11を支索端部13に鋳止めした状態で、支索端部13を支索固定具12にネジなどによって機械的に固定するとともに、次の単位支索区間を構成する支索11の始端部分を他の支索端部13に鋳止めした状態で、他の支索端部13を支索固定具12に固定し、さらに、2つの支索端部13が設けられた領域を包含する領域にわたって、支索固定具12に支索端部走行用レール14を形成したものである。
このような構成により、自走式ロープウェイ装置は、カーブレール31に沿って滑らかに走行した後、支索端部13を越えて支索端部走行用レール14に沿って走行し、次の単位支索区間を構成する支索11へとシームレスに進行することができる。したがって、自走式ロープウェイシステムにおいては、このような簡便且つ安価な構成のもとに、走行中のがたつきを低減した滑らかな走行が可能なカーブ構造30を実現することができる。
最後に、このような自走式ロープウェイシステムにおける走行車両としての自走式ロープウェイ装置について説明する。
図10に、自走式ロープウェイ装置の概略図を示す。自走式ロープウェイ装置40は、客室を構成するチャンバ46の天面において上下方向に並設された駆動輪41の外周に設けられた溝と受動輪42の外周に設けられた溝とによって支索11を上下方向に挟持して走行するように構成される。ここでは、駆動輪41及び受動輪42の対は、左右の支索11に対応して左右方向に2対設けられ、且つ、進行方向にも2対設けられている。
駆動輪41には、自走式ロープウェイ装置40に対して着脱可能とされる交換式バッテリソケット47からの給電によって駆動する駆動モータ43が連結されており、駆動輪41は、この駆動モータ43の駆動に応じて回転駆動する。なお、駆動モータ43は、例えば、その優れた動作の滑らかさを享受するために、近年電気自動車などに用いられるインホイールモータを用いることができるが、コスト重視の場合には、通常の電気モータを用いてもよい。
一方、受動輪42には、駆動源は設けられおらず、代わりに、受動圧調整リニアアクチュエータ44が連結されている。受動輪42は、この受動圧調整リニアアクチュエータ44の作用によって駆動輪41に押し付けられ、駆動輪41の回転駆動にともなって連れ回るように構成される。すなわち、駆動輪41と受動輪42との間の距離は可変とされ、受動圧調整リニアアクチュエータ44の作用によってその距離を調整することができるようになっている。なお、受動圧調整リニアアクチュエータ44による押圧力は、駆動輪41及び受動輪42が支索11から外れることがない程度であり且つ支索11を圧潰しない程度に設定される。
これらの駆動輪41、受動輪42、駆動モータ43及び受動圧調整リニアアクチュエータ44は、チャンバ46の天面に設けられた駆動部固定具45によって支持固定されている。自走式ロープウェイ装置40は、このような駆動輪41と受動輪42とによって支索11を上下方向に挟持して互いに押し付けながら走行するように構成される。なお、駆動輪41及び受動輪42の対は、図10に示すように、上側が駆動輪41且つ下側が受動輪42といったように全て同じ方向に対向していてもよいが、支索11の圧潰を最低限にするために、進行方向に設けられた2対のうち、一方の対については、上側が駆動輪41且つ下側が受動輪42とし、他方の対については、下側が駆動輪41且つ上側が受動輪42とするといったように交互配置としてもよい。
このような自走式ロープウェイ装置40は、図示しない駅舎に停車しているときに、駅舎に設けられた給電設備から給電される給電用アダプタ48を備え、この給電用アダプタ48によって交換式バッテリソケット47への充電を行うように構成される。そして、自走式ロープウェイ装置40は、交換式バッテリソケット47からの電力によって駆動モータ43を駆動することによって自走する。したがって、自走式ロープウェイシステムにおいては、支索11にはいかなる給電設備も不要であり、大幅な安価化を奏することができる。
なお、駅舎については特に図示しないが、人間が昇降可能な程度のスペースがあればよく、例えば、既存の建物の屋根やバルコニーそのものの他、建物の壁に設置した簡易的な設備などで十分に足りる。この点でも、自走式ロープウェイシステムは、極めて簡便且つ安価に構築することができ、市街地などの既存の複雑な領域にも容易に導入することができる。
なお、本発明は、上述した実施の形態に限定されるものではない。
例えば、上述した実施の形態では、自走式ロープウェイ装置40が駆動輪41と受動輪42とによって支索11を上下方向に挟持して互いに押し付けながら走行するものとして説明したが、本発明は、駆動輪41及び受動輪42を左右方向に並設し、支索11を左右方向に挟持して互いに押し付けながら走行するものであってもよい。また、駆動輪41及び受動輪42の対は、中掴み構造/外掴み構造のいずれであってもよい。
また、上述した実施の形態では、支索11が図1に示したように進行方向あたり片側2本ずつ設けるものとして説明したが、本発明においては、支索11が、支柱1の水平部1bの左右方向両側に少なくとも1本ずつ設けられるのであれば、その本数に限定されるものではない。ただし、支索11は、安全上及び走行安定性の理由から、片側2本ずつ設けるのが好ましい。
さらに、上述した実施の形態では、駆動輪41及び受動輪42の対が、図10に示すように、左右の支索11に対応して左右方向に2対設けられ、且つ、進行方向にも2対設けられるものとして説明したが、本発明においては、駆動輪41及び受動輪42の対として、例えば、支索11の本数が1本である場合には、進行方向に2対設けるか、又は、自走式ロープウェイ装置40の平面視中央付近に1対のみ設けるといったように、支索11の本数や必要な安定性を考慮して決めればよい。
さらにまた、上述した実施の形態では、支索固定具12に固定された支索端部13に、前の単位支索区間を構成する支索11が鋳止めされることにより、支索11を支索固定具12に固定しているが、支索固定具12として、例えば、鉄製基材上にゴムライナーを載置し、ゴムライナーに支索11を支持するための支持溝を刻設して構成されたものとし、支索11を、支索固定具12に完全に固定するのではなく、支索固定具12のゴムライナーに刻設された支持溝に載置するのみでもよい。
さらにまた、上述した実施の形態では、自走式であるものとして説明したが、中継器、分岐器、及びカーブ構造自体は、非自走式のロープウェイ装置が走行する場合にも適用可能であり、本発明は、そのような非自走式のロープウェイ装置が走行するロープウェイシステムも包含する。
また、上述した実施の形態では、駆動輪41と受動輪42との間の距離を調整する手段として受動圧調整リニアアクチュエータ44を用いるものとして説明したが、本発明は、バネなどの緩衝手段によって簡易的に構成してもよく、駆動輪41と受動輪42との間の距離を調整する距離調整手段であれば、いかなる形態のものであっても適用することができる。
さらに、上述した実施の形態では、駅舎に設けられた給電設備から給電用アダプタ48を介して給電されるものとして説明したが、本発明は、鉄道のように外部トロリー線による給電を行うようにしてもよい。
このように、本発明は、その趣旨を逸脱しない範囲で適宜変更が可能であることはいうまでもない。
1 支柱
1a 脚部
1b 水平部
2 基礎
3 支柱固定用ロープ
10 中継器
11 支索
12 支索固定具
13 支索端部
14 支索端部走行用レール
20 分岐器
21 分岐器駆動モータ
22 分岐器動力伝達軸
23 支柱側リニアガイド固定具
24 リニアガイド
25 分岐器側リニアガイド固定具
26 分岐器内直進レール
27 分岐器内分岐レール
30 カーブ構造
31 カーブレール
32 カーブレール固定具
40 自走式ロープウェイ装置
41 駆動輪
42 受動輪
43 駆動モータ
44 受動圧調整リニアアクチュエータ
45 駆動部固定具
46 チャンバ
47 交換式バッテリソケット
48 給電用アダプタ
R 曲率半径

Claims (6)

  1. 空中に架設された支索に吊下された形態でロープウェイ装置が走行するロープウェイシステムにおいて、
    前記ロープウェイ装置と、
    前記ロープウェイ装置の進行方向において離隔されて設置された2つの支柱間の区間であり且つ接合部がない一連の前記支索によって構成される区間である単位支索区間を複数連接するための中継器と、を備え、
    前記ロープウェイ装置は、
    客室を構成するチャンバの天面に設けられた駆動輪と、
    前記駆動輪に対応して設けられる受動輪であって、前記駆動輪の外周に設けられた溝と前記受動輪の外周に設けられた溝とによって前記支索を挟持して走行するように構成された受動輪と、を備え、
    前記中継器は、
    前記支柱に設けられ、前記支索を固定するための支索固定具を備え、
    前の単位支索区間を構成する前記支索の終端部分が所定の支索端部に鋳止めされた状態で、前記支索端部が前記支索固定具に固定されるとともに、次の単位支索区間を構成する前記支索の始端部分が他の支索端部に鋳止めされた状態で、前記他の支索端部が前記支索固定具に固定され、さらに、前記支索端部及び前記他の支索端部が設けられた領域を包含する領域にわたって、前記支索固定具に支索端部走行用レールが形成されており、
    前記支索端部走行用レールの上面の曲率半径は、前記支索の曲率半径と同一に形成されており、
    前記駆動輪は、前記支索端部走行用レールの上面を介して、前記支索端部を越えて次の単位支索区間を構成する前記支索へと進行すること
    を特徴とするロープウェイシステム。
  2. 空中に架設された支索に吊下された形態でロープウェイ装置が走行するロープウェイシステムにおいて、
    前記ロープウェイ装置と、
    前記ロープウェイ装置を異なる進行方向に分岐するための分岐器と、を備え、
    前記ロープウェイ装置は、
    客室を構成するチャンバの天面に設けられた駆動輪と、
    前記駆動輪に対応して設けられる受動輪であって、前記駆動輪の外周に設けられた溝と前記受動輪の外周に設けられた溝とによって前記支索を挟持して走行するように構成された受動輪と、を備え、
    前記分岐器は、
    前記ロープウェイ装置の進行方向において離隔されて設置された2つの支柱間の区間であり且つ接合部がない一連の前記支索によって構成される区間を単位支索区間としたとき、前記支柱に設けられ、前記支索を固定するための支索固定具を備え、
    前の単位支索区間を構成する前記支索の終端部分が所定の支索端部に鋳止めされた状態で、前記支索端部が前記支索固定具に固定されるとともに、次の単位支索区間を構成する前記支索の始端部分が他の支索端部に鋳止めされた状態で、前記他の支索端部が前記支索固定具に固定され、さらに、前記支索端部及び前記他の支索端部が設けられた領域を包含する領域にわたって、前記支索固定具に支索端部走行用レールが形成されており、
    前記支索端部走行用レールの上面の曲率半径は、前記支索の曲率半径と同一に形成されており、
    前記駆動輪は、前記支索端部走行用レールの上面を介して、前記支索端部を越えて次の単位支索区間を構成する前記支索へと進行すること
    を特徴とするロープウェイシステム。
  3. 前記分岐器は、
    分岐器駆動用モータの駆動力に応じて平行移動するリニアガイドと、
    当該分岐器内における進行方向が直進のレールである分岐器内直進レールと、
    当該分岐器内における進行方向が直進から分岐したレールである分岐器内分岐レールと、を備え、
    前記リニアガイドの平行移動に応じて、前記分岐器内直進レール又は前記分岐器内分岐レールのうちいずれか一方のレールのみが次の進行方向のレールとして切り替え選択されること
    を特徴とする請求項2に記載のロープウェイシステム。
  4. 空中に架設された支索に吊下された形態でロープウェイ装置が走行するロープウェイシステムにおいて、
    前記ロープウェイ装置と、
    前記ロープウェイ装置が前記支索に沿ってカーブすることを可能にするカーブ構造と、を備え、
    前記ロープウェイ装置は、
    客室を構成するチャンバの天面に設けられた駆動輪と、
    前記駆動輪に対応して設けられる受動輪であって、前記駆動輪の外周に設けられた溝と前記受動輪の外周に設けられた溝とによって前記支索を挟持して走行するように構成された受動輪と、を備え、
    前記カーブ構造は、
    前記ロープウェイ装置の進行方向において離隔されて設置された2つの支柱間の区間であり且つ接合部がない一連の前記支索によって構成される区間である単位支索区間を複数連接するための中継器と、
    カーブの始端及び終端に設けられた各中継器の間に延在し、所望の曲率に湾曲したカーブレールと、を備え、
    前記中継器は、
    前記支柱に設けられ、前記支索を固定するための支索固定具を備え、
    前の単位支索区間を構成する前記支索の終端部分が所定の支索端部に鋳止めされた状態で、前記支索端部が前記支索固定具に固定されるとともに、次の単位支索区間を構成する前記支索の始端部分が他の支索端部に鋳止めされた状態で、前記他の支索端部が前記支索固定具に固定され、さらに、前記支索端部及び前記他の支索端部が設けられた領域を包含する領域にわたって、前記支索固定具に支索端部走行用レールが形成されており、
    前記支索端部走行用レールの上面の曲率半径は、前記支索の曲率半径と同一に形成されており、
    前記駆動輪は、前記支索端部走行用レールの上面を介して、前記支索端部を越えて次の単位支索区間を構成する前記支索へと進行すること
    を特徴とするロープウェイシステム。
  5. 空中に架設された支索に吊下された形態で自走する自走式ロープウェイ装置において、
    客室を構成するチャンバの天面に設けられた駆動輪と、
    前記駆動輪に対応して設けられる受動輪であって、前記駆動輪の外周に設けられた溝と前記受動輪の外周に設けられた溝とによって前記支索を挟持して走行するように構成された受動輪と、
    前記駆動輪を回転駆動させる駆動モータに給電するバッテリと、を備え、
    前記駆動輪及び前記受動輪は、請求項1に記載の中継器、請求項2若しくは請求項3に記載の分岐器、又は請求項4に記載のカーブ構造のうち少なくとも1つにおける前記支索端部を越えて次の単位支索区間を構成する前記支索へと進行すること
    を特徴とする自走式ロープウェイ装置。
  6. 前記受動輪に連結され、前記駆動輪と前記受動輪との間の距離を調整する距離調整手段を備え、
    前記受動輪は、前記距離調整手段の作用によって前記駆動輪に押し付けられること
    を特徴とする請求項5に記載の自走式ロープウェイ装置。
JP2021002544A 2021-01-12 2021-01-12 ロープウェイシステム及び自走式ロープウェイ装置 Active JP6889874B1 (ja)

Priority Applications (1)

Application Number Priority Date Filing Date Title
JP2021002544A JP6889874B1 (ja) 2021-01-12 2021-01-12 ロープウェイシステム及び自走式ロープウェイ装置

Applications Claiming Priority (1)

Application Number Priority Date Filing Date Title
JP2021002544A JP6889874B1 (ja) 2021-01-12 2021-01-12 ロープウェイシステム及び自走式ロープウェイ装置

Publications (2)

Publication Number Publication Date
JP6889874B1 true JP6889874B1 (ja) 2021-06-18
JP2022107881A JP2022107881A (ja) 2022-07-25

Family

ID=76429561

Family Applications (1)

Application Number Title Priority Date Filing Date
JP2021002544A Active JP6889874B1 (ja) 2021-01-12 2021-01-12 ロープウェイシステム及び自走式ロープウェイ装置

Country Status (1)

Country Link
JP (1) JP6889874B1 (ja)

Cited By (3)

* Cited by examiner, † Cited by third party
Publication number Priority date Publication date Assignee Title
CN114812679A (zh) * 2022-04-22 2022-07-29 北京小龙潜行科技有限公司 用于养殖场监测的轨道机器人、系统和方法
CN115323841A (zh) * 2022-10-10 2022-11-11 成都西交华创科技有限公司 一种基于高温超导磁悬浮交通系统的道岔及其转向方法
WO2024204474A1 (ja) 2023-03-29 2024-10-03 中国電力株式会社 移動体管理システム

Family Cites Families (11)

* Cited by examiner, † Cited by third party
Publication number Priority date Publication date Assignee Title
JPS6296170A (ja) * 1986-07-18 1987-05-02 株式会社日立製作所 モノレ−ル式搬送車用軌道の分岐装置
JPH0428607A (ja) * 1990-05-22 1992-01-31 Juki Corp 搬送装置における路線切換装置及びその制御方法
JP3020404B2 (ja) * 1994-03-08 2000-03-15 神鋼鋼線工業株式会社 線状体の端末ソケット加工方法
JPH08113144A (ja) * 1994-10-17 1996-05-07 Meidensha Corp 有軌道車の分岐・合流装置
MX2007002349A (es) * 2007-02-27 2007-07-11 Gordon Thomas Quattlebaum Sistema autopropulsado de transporte por cable para personas utilizado para la observacion panoramica aerea del medio ambiente.
BRPI0908636A2 (pt) * 2008-05-23 2019-03-06 C. Tilley Martin sistema de transporte de cabos e método de transferência de um vagonete conduzido por cabos de um primeiro segmento de cabo guia para um segundo segmento de cabo guia.
US20100147180A1 (en) * 2008-12-12 2010-06-17 Donald Ray Perry Elevated cableway for observation of nature
KR20130057429A (ko) * 2010-03-19 2013-05-31 고든 토마스 콰틀바움 다방향 운송 시스템
US10461513B2 (en) * 2014-04-08 2019-10-29 Wall Industries Inc. Apparatus for moving a line cart along a cable
JP2016130121A (ja) * 2015-01-13 2016-07-21 山本 正夫 吊り移動滑車
CN107344554B (zh) * 2017-08-15 2023-07-14 广东自来物智能科技有限公司 穿梭机驱动机构

Cited By (5)

* Cited by examiner, † Cited by third party
Publication number Priority date Publication date Assignee Title
CN114812679A (zh) * 2022-04-22 2022-07-29 北京小龙潜行科技有限公司 用于养殖场监测的轨道机器人、系统和方法
CN114812679B (zh) * 2022-04-22 2024-04-30 北京小龙潜行科技有限公司 用于养殖场监测的轨道机器人、系统和方法
CN115323841A (zh) * 2022-10-10 2022-11-11 成都西交华创科技有限公司 一种基于高温超导磁悬浮交通系统的道岔及其转向方法
WO2024204474A1 (ja) 2023-03-29 2024-10-03 中国電力株式会社 移動体管理システム
EP4692835A1 (en) 2023-03-29 2026-02-11 The Chugoku Electric Power Co., Inc. Moving body management system

Also Published As

Publication number Publication date
JP2022107881A (ja) 2022-07-25

Similar Documents

Publication Publication Date Title
JP6889874B1 (ja) ロープウェイシステム及び自走式ロープウェイ装置
JP4418112B2 (ja) モノレール・システム
US5845581A (en) Monorail system
JP4446659B2 (ja) モノレール・システム
KR101532641B1 (ko) 궤도차량용 주행장치
CN106255631B (zh) 连续移动式空中索道
JP2004535321A5 (ja)
JP5336491B2 (ja) 車両用の案内及び地上での電気エネルギー取り込み装置、ならびにそのような装置を備える都市交通車両
CN105155366B (zh) 替换梁道岔结构及道岔转辙的方法
CN105416096A (zh) 门架型平交道口移动式电车线
JP2012528965A (ja) 懸垂式車両用の軌道及びボギー台車
CN109625000B (zh) 一种适合山地和景区运行的悬挂式轨道列车
JPH10297487A (ja) 鉄道車両用軌間可変台車
CN215971482U (zh) 一种架空轨道固定式道岔和prt交通轨道
CN105040533A (zh) 枢轴型道岔结构及道岔转辙的方法
CN212687158U (zh) 一种新型地铁环网电缆放线车
RU2464188C2 (ru) Подвесная транспортная система
JPH05131920A (ja) 軌条走行併用ハイブリツド型循環式索道
US6129028A (en) Electrically powered transit car
EP1726503A2 (en) Monorail system
KR20230169760A (ko) 이동식 강체전차선 구동장치
JP2534127B2 (ja) 開閉式屋根
JP4566379B2 (ja) 浮上式移動体
CN213323328U (zh) 一种无轨电动平车
US382347A (en) Elevated street-raj lway system

Legal Events

Date Code Title Description
A521 Request for written amendment filed

Free format text: JAPANESE INTERMEDIATE CODE: A523

Effective date: 20210113

A621 Written request for application examination

Free format text: JAPANESE INTERMEDIATE CODE: A621

Effective date: 20210115

A871 Explanation of circumstances concerning accelerated examination

Free format text: JAPANESE INTERMEDIATE CODE: A871

Effective date: 20210115

A975 Report on accelerated examination

Free format text: JAPANESE INTERMEDIATE CODE: A971005

Effective date: 20210128

A131 Notification of reasons for refusal

Free format text: JAPANESE INTERMEDIATE CODE: A131

Effective date: 20210210

A521 Request for written amendment filed

Free format text: JAPANESE INTERMEDIATE CODE: A523

Effective date: 20210310

A131 Notification of reasons for refusal

Free format text: JAPANESE INTERMEDIATE CODE: A131

Effective date: 20210331

A521 Request for written amendment filed

Free format text: JAPANESE INTERMEDIATE CODE: A523

Effective date: 20210407

TRDD Decision of grant or rejection written
A01 Written decision to grant a patent or to grant a registration (utility model)

Free format text: JAPANESE INTERMEDIATE CODE: A01

Effective date: 20210421

A61 First payment of annual fees (during grant procedure)

Free format text: JAPANESE INTERMEDIATE CODE: A61

Effective date: 20210506

R150 Certificate of patent or registration of utility model

Ref document number: 6889874

Country of ref document: JP

Free format text: JAPANESE INTERMEDIATE CODE: R150

S531 Written request for registration of change of domicile

Free format text: JAPANESE INTERMEDIATE CODE: R313531

R350 Written notification of registration of transfer

Free format text: JAPANESE INTERMEDIATE CODE: R350

R250 Receipt of annual fees

Free format text: JAPANESE INTERMEDIATE CODE: R250