JP6875552B2 - 端部操作機器、端部操作装置、輸送装置及び組み立てケース - Google Patents

端部操作機器、端部操作装置、輸送装置及び組み立てケース Download PDF

Info

Publication number
JP6875552B2
JP6875552B2 JP2019560289A JP2019560289A JP6875552B2 JP 6875552 B2 JP6875552 B2 JP 6875552B2 JP 2019560289 A JP2019560289 A JP 2019560289A JP 2019560289 A JP2019560289 A JP 2019560289A JP 6875552 B2 JP6875552 B2 JP 6875552B2
Authority
JP
Japan
Prior art keywords
sheath
elastic
limiting
connecting pipe
passage
Prior art date
Legal status (The legal status is an assumption and is not a legal conclusion. Google has not performed a legal analysis and makes no representation as to the accuracy of the status listed.)
Active
Application number
JP2019560289A
Other languages
English (en)
Other versions
JP2020518390A (ja
Inventor
梅 韓
梅 韓
祥森 孔
祥森 孔
百明 時
百明 時
Current Assignee (The listed assignees may be inaccurate. Google has not performed a legal analysis and makes no representation or warranty as to the accuracy of the list.)
Hangzhou Ags Medtech Co ltd
Original Assignee
Hangzhou Ags Medtech Co ltd
Priority date (The priority date is an assumption and is not a legal conclusion. Google has not performed a legal analysis and makes no representation as to the accuracy of the date listed.)
Filing date
Publication date
Application filed by Hangzhou Ags Medtech Co ltd filed Critical Hangzhou Ags Medtech Co ltd
Publication of JP2020518390A publication Critical patent/JP2020518390A/ja
Application granted granted Critical
Publication of JP6875552B2 publication Critical patent/JP6875552B2/ja
Active legal-status Critical Current
Anticipated expiration legal-status Critical

Links

Images

Classifications

    • AHUMAN NECESSITIES
    • A61MEDICAL OR VETERINARY SCIENCE; HYGIENE
    • A61BDIAGNOSIS; SURGERY; IDENTIFICATION
    • A61B17/00Surgical instruments, devices or methods
    • A61B17/12Surgical instruments, devices or methods for ligaturing or otherwise compressing tubular parts of the body, e.g. blood vessels or umbilical cord
    • A61B17/122Clamps or clips, e.g. for the umbilical cord
    • A61B17/1227Spring clips
    • AHUMAN NECESSITIES
    • A61MEDICAL OR VETERINARY SCIENCE; HYGIENE
    • A61BDIAGNOSIS; SURGERY; IDENTIFICATION
    • A61B17/00Surgical instruments, devices or methods
    • A61B17/12Surgical instruments, devices or methods for ligaturing or otherwise compressing tubular parts of the body, e.g. blood vessels or umbilical cord
    • A61B17/122Clamps or clips, e.g. for the umbilical cord
    • AHUMAN NECESSITIES
    • A61MEDICAL OR VETERINARY SCIENCE; HYGIENE
    • A61BDIAGNOSIS; SURGERY; IDENTIFICATION
    • A61B17/00Surgical instruments, devices or methods
    • A61B17/12Surgical instruments, devices or methods for ligaturing or otherwise compressing tubular parts of the body, e.g. blood vessels or umbilical cord
    • A61B17/128Surgical instruments, devices or methods for ligaturing or otherwise compressing tubular parts of the body, e.g. blood vessels or umbilical cord for applying or removing clamps or clips
    • A61B17/1285Surgical instruments, devices or methods for ligaturing or otherwise compressing tubular parts of the body, e.g. blood vessels or umbilical cord for applying or removing clamps or clips for minimally invasive surgery
    • AHUMAN NECESSITIES
    • A61MEDICAL OR VETERINARY SCIENCE; HYGIENE
    • A61BDIAGNOSIS; SURGERY; IDENTIFICATION
    • A61B17/00Surgical instruments, devices or methods
    • A61B17/28Surgical forceps
    • A61B17/29Forceps for use in minimally invasive surgery
    • AHUMAN NECESSITIES
    • A61MEDICAL OR VETERINARY SCIENCE; HYGIENE
    • A61BDIAGNOSIS; SURGERY; IDENTIFICATION
    • A61B17/00Surgical instruments, devices or methods
    • A61B17/12Surgical instruments, devices or methods for ligaturing or otherwise compressing tubular parts of the body, e.g. blood vessels or umbilical cord
    • A61B17/122Clamps or clips, e.g. for the umbilical cord
    • A61B17/1222Packages or dispensers therefor
    • AHUMAN NECESSITIES
    • A61MEDICAL OR VETERINARY SCIENCE; HYGIENE
    • A61BDIAGNOSIS; SURGERY; IDENTIFICATION
    • A61B17/00Surgical instruments, devices or methods
    • A61B2017/00477Coupling
    • AHUMAN NECESSITIES
    • A61MEDICAL OR VETERINARY SCIENCE; HYGIENE
    • A61BDIAGNOSIS; SURGERY; IDENTIFICATION
    • A61B17/00Surgical instruments, devices or methods
    • A61B2017/00526Methods of manufacturing
    • A61B2017/0053Loading magazines or sutures into applying tools
    • AHUMAN NECESSITIES
    • A61MEDICAL OR VETERINARY SCIENCE; HYGIENE
    • A61BDIAGNOSIS; SURGERY; IDENTIFICATION
    • A61B17/00Surgical instruments, devices or methods
    • A61B17/12Surgical instruments, devices or methods for ligaturing or otherwise compressing tubular parts of the body, e.g. blood vessels or umbilical cord
    • A61B2017/12004Surgical instruments, devices or methods for ligaturing or otherwise compressing tubular parts of the body, e.g. blood vessels or umbilical cord for haemostasis, for prevention of bleeding

Landscapes

  • Health & Medical Sciences (AREA)
  • Surgery (AREA)
  • Life Sciences & Earth Sciences (AREA)
  • Heart & Thoracic Surgery (AREA)
  • Molecular Biology (AREA)
  • Veterinary Medicine (AREA)
  • Engineering & Computer Science (AREA)
  • Biomedical Technology (AREA)
  • Public Health (AREA)
  • Medical Informatics (AREA)
  • Nuclear Medicine, Radiotherapy & Molecular Imaging (AREA)
  • Animal Behavior & Ethology (AREA)
  • General Health & Medical Sciences (AREA)
  • Reproductive Health (AREA)
  • Vascular Medicine (AREA)
  • Ophthalmology & Optometry (AREA)
  • Surgical Instruments (AREA)
  • Quick-Acting Or Multi-Walled Pipe Joints (AREA)
  • Infusion, Injection, And Reservoir Apparatuses (AREA)

Description

本発明は、医療機器分野に属し、具体的に、端部操作機器、端部操作装置、輸送装置及び組み立てケースに関する。
臨床においては、常に、内視鏡をクリップ機械と組み合わせて利用して押さえつけて止血する方法で治療を行う。現在、臨床で使用されている端部操作装置は、クリップと装置の分離式(「分離式端部操作装置」と略称される)又はクリップと装置の一体式(「一体式端部操作装置」と略称される)に分けられる。
分離式端部操作装置のクリップ部分は、使い捨てのものである。この装置部分は、繰り返し使用可能なものであるため、コストを節約し、医療ゴミを減少することができ、安価で環境にやさしいが、臨床的に使用されている分離式端部操作装置は使用時に操作しにくく、クリップ部分が閉じると再び開くことができず、繰り返し開閉できない。一体式端部操作装置は繰り返し開閉を実現できるが、そのクリップ部分及び装置部分がいずれも使い捨てのものであるため、コストがより高く、医療ゴミも多い。
従って、繰り返し開閉を実現でき、コストがより低く、装置部分を繰り返し使用できて、クリップ部分及び装置部分をより容易且つ安全に取り付けることのできる端部操作装置を必要としている。
これに基づき、本発明は従来技術の欠点を解決するために、端部操作装置のクリップを繰り返し操作でき、輸送装置を繰り返し使用できる端部操作機器、端部操作装置、輸送装置及び組み立てケースを提供する。
その技術案は以下のとおりである。
端部操作機器であって、クリップ及び弾性部を備え、前記弾性部に外嵌孔が設けられ、前記弾性部に制限凸部が設けられる端部操作装置と、シース及び心軸を備え、前記シースに通路が設けられ、前記心軸が前記シースの通路内に設けられ、前記心軸の遠位端に接続先端が設けられ、前記シースに制限凹部が設けられる輸送装置と、を備え、前記シースが前記弾性部の外部に被装される場合、前記接続先端が前記外嵌孔に伸び込み又は前記外嵌孔を離れることができ、前記接続先端が前記外嵌孔に伸び込まれる場合、前記弾性部が外向きに拡張し、前記制限凸部が前記制限凹部に伸び込まれ、前記接続先端が前記外嵌孔を離れる場合、前記弾性部が反発し、前記制限凸部が前記制限凹部を離れる。
一実施例では、前記制限凸部が少なくとも2つである。
一実施例では、前記端部操作装置が更に接続管を備え、前記クリップが前記接続管に取り付けられ、前記接続管に通路が設けられ、前記弾性部が弾性リングを備え、前記弾性リングが前記接続管の通路内に設けられ、前記弾性リングに前記外嵌孔及び前記制限凸部が設けられ、前記外嵌孔が前記接続管の通路に連通しており、前記接続管の管壁に制限孔が設けられ、前記制限孔が前記制限凸部に対応する。
一実施例では、前記弾性リングに欠け口が設けられる。
一実施例では、前記クリップの近位端が前記接続管の通路に伸び込まれ、前記クリップの近位端に係着孔が設けられ、前記係着孔が前記接続管の通路に連通しており、前記接続先端の遠位端に係着部が設けられ、前記係着部が前記係着孔に係合され、前記係着部が凹溝部及び膨大部を備え、前記凹溝部が前記膨大部と前記接続先端との間に位置し、前記膨大部の最大幅が前記凹溝部の最小幅より大きく、前記膨大部の最大幅が前記係着孔の最小幅より大きい。
一実施例では、前記膨大部の遠位端に案内部が設けられ、前記案内部の横断面が近位端から遠位端へ徐々に減少する。
一実施例では、前記クリップが少なくとも2つの挟持片を備え、前記挟持片の近位端に後部挟持部が設けられ、少なくとも2つの前記後部挟持部の間に隙間が設けられ、少なくとも2つの前記後部挟持部の間の隙間が前記係着孔をなす。
一実施例では、前記端部操作装置が更に接続管を備え、前記クリップが前記接続管に取り付けられ、前記接続管に通路が設けられ、前記弾性部がハーフリングを備え、前記ハーフリングが前記接続管の通路内に設けられ、前記ハーフリングの一方側に前記制限凸部が設けられ、前記ハーフリングの他方側と前記接続管の内壁との間が前記外嵌孔をなす。
一実施例では、前記制限凸部の側面に制限部が設けられ、前記制限部が前記接続管の通路内に位置する。
一実施例では、前記弾性リングが少なくとも2つのハーフリングを備え、少なくとも2つの前記ハーフリングの間が前記外嵌孔に囲まれ、前記ハーフリングに前記制限凸部が設けられる。
端部操作機器であって、接続管及び前記接続管に取り付けられるクリップを備え、前記接続管に通路が設けられ、前記接続管の内壁に制限凹部が設けられる端部操作装置と、シース及び心軸を備え、前記シースに通路が設けられ、前記心軸が前記シースの通路内に設けられ、前記心軸の遠位端に接続先端が設けられ、前記シースの遠位端に弾性部が設けられ、前記弾性部に外嵌孔が設けられ、前記外嵌孔が前記シースの通路に連通しており、前記弾性部に制限凸部が設けられる輸送装置と、を備え、前記弾性部が前記接続管の通路に伸び込まれる場合、前記接続先端が前記外嵌孔に伸び込み又は前記外嵌孔を離れることができ、前記接続先端が前記外嵌孔に伸び込まれる場合、前記弾性部を押し出して外向きに拡張させ、前記制限凸部が前記制限凹部に伸び込まれ、前記接続先端が前記外嵌孔を離れる場合、前記弾性部が反発し、前記制限凸部が前記制限凹部を離れる。
一実施例では、前記制限凸部が少なくとも2つである。
一実施例では、前記弾性部が弾性リングを備え、前記弾性リングが前記シースの遠位端に設けられ、前記弾性リングが前記シースの通路内に設けられ、前記弾性リングに前記外嵌孔及び前記制限凸部が設けられ、前記シースの管壁に制限孔が設けられ、前記制限孔が前記制限凸部に対応する。
一実施例では、前記弾性リングに欠け口が設けられる。
一実施例では、前記クリップの近位端が前記接続管の通路に伸び込まれ、前記クリップの近位端に係着孔が設けられ、前記係着孔が前記接続管の通路に連通しており、前記接続先端の遠位端に係着部が設けられ、前記係着部が前記係着孔に係合され、前記係着部が凹溝部及び膨大部を備え、前記凹溝部が前記膨大部と前記接続先端との間に位置し、前記膨大部の最大幅が前記凹溝部の最小幅より大きく、前記膨大部の最大幅が前記係着孔の最小幅より大きい。
一実施例では、前記膨大部の遠位端に案内部が設けられ、前記案内部の横断面が近位端から遠位端へ徐々に減少する。
一実施例では、前記クリップが少なくとも2つの挟持片を備え、前記挟持片の近位端に後部挟持部が設けられ、少なくとも2つの前記後部挟持部の間に隙間が設けられ、少なくとも2つの前記後部挟持部の間の隙間が前記係着孔をなす。
一実施例では、前記弾性部がハーフリングを備え、前記ハーフリングが前記接続管の通路内に設けられ、前記ハーフリングの一方側に前記制限凸部が設けられ、前記ハーフリングの他方側と前記接続管の内壁との間が前記外嵌孔をなす。
一実施例では、前記制限凸部の側面に制限部が設けられ、前記制限部が前記シースの通路内に位置する。
一実施例では、前記弾性リングが少なくとも2つのハーフリングを備え、少なくとも2つの前記ハーフリングの間が前記外嵌孔に囲まれ、前記ハーフリングに前記制限凸部が設けられる。
端部操作装置であって、クリップ及び前記クリップにドッキングされる弾性部を備え、前記弾性部に外嵌孔が設けられ、前記弾性部に制限凸部が設けられ、前記弾性部が前記外嵌孔から与えた押出力を受けると、前記弾性部が外向きに拡張し、前記弾性部の受けた前記外嵌孔から与えた押出力が解除されると、前記弾性部が反発する。
一実施例では、前記制限凸部が少なくとも2つである。
一実施例では、前記端部操作装置が更に接続管を備え、前記クリップが前記接続管に取り付けられ、前記接続管に通路が設けられ、前記弾性部が弾性リングを備え、前記弾性リングが前記接続管の通路内に設けられ、前記弾性リングに前記外嵌孔及び前記制限凸部が設けられ、前記外嵌孔が前記接続管の通路に連通しており、前記接続管の管壁に制限孔が設けられ、前記制限孔が前記制限凸部に対応する。
一実施例では、前記弾性リングに欠け口が設けられる。
一実施例では、前記クリップの近位端が前記接続管の通路に伸び込まれ、前記クリップの近位端に係着孔が設けられ、前記係着孔が前記接続管の通路に連通している。
一実施例では、前記クリップが2つの挟持片を備え、前記挟持片の近位端に後部挟持部が設けられ、2つの前記後部挟持部の間に隙間が設けられ、2つの前記後部挟持部の間の隙間が前記係着孔をなす。
一実施例では、前記端部操作装置が更に接続管を備え、前記クリップが前記接続管に取り付けられ、前記接続管に通路が設けられ、前記弾性部がハーフリングを備え、前記ハーフリングの一方側に前記制限凸部が設けられ、前記ハーフリングの他方側と前記接続管の内壁との間が前記外嵌孔をなす。
一実施例では、前記制限凸部の側面に制限部が設けられ、前記制限部が前記接続管の通路内に位置する。
一実施例では、前記弾性リングが少なくとも2つのハーフリングを備え、少なくとも2つの前記ハーフリングの間が前記外嵌孔に囲まれ、前記ハーフリングに前記制限凸部が設けられる。
端部操作装置であって、接続管及び前記接続管に取り付けられるクリップを備え、前記接続管に通路が設けられ、前記接続管の内壁に制限凹部が設けられる。
一実施例では、前記クリップの近位端が前記接続管の通路に伸び込まれ、前記クリップの近位端に係着孔が設けられ、前記係着孔が前記接続管の通路に連通している。
一実施例では、前記クリップが2つの挟持片を備え、前記挟持片の近位端に後部挟持部が設けられ、2つの前記後部挟持部の間に隙間が設けられ、2つの前記後部挟持部の間の隙間が前記係着孔をなす。
一実施例では、前記弾性部がハーフリングを備え、前記ハーフリングが前記接続管の通路内に設けられ、前記ハーフリングの一方側に前記制限凸部が設けられ、前記ハーフリングの他方側と前記接続管の内壁との間が前記外嵌孔をなす。
輸送装置であって、シース及び心軸を備え、前記シースに通路が設けられ、前記心軸が前記シースの通路内に設けられ、前記心軸の遠位端に接続先端が設けられ、前記シースの内壁に制限凹部が設けられる。
一実施例では、前記接続先端の遠位端に係着部が設けられ、前記係着部が凹溝部及び膨大部を備え、前記凹溝部が前記膨大部と前記接続先端との間に位置し、前記膨大部の最大幅が前記凹溝部の最小幅より大きい。
一実施例では、前記膨大部の遠位端に案内部が設けられ、前記案内部の横断面が近位端から遠位端へ徐々に減少する。
輸送装置であって、シース及び心軸を備え、前記シースに通路が設けられ、前記心軸が前記シースの通路内に設けられ、前記心軸の遠位端に接続先端が設けられ、前記シースの遠位端に弾性部が設けられ、前記弾性部に外嵌孔が設けられ、前記外嵌孔が前記シースの通路に連通しており、前記弾性部に制限凸部が設けられ、前記接続先端が前記外嵌孔に伸び込み又は前記外嵌孔を離れることができ、前記接続先端が前記外嵌孔に伸び込まれる場合、前記弾性部が外向きに拡張し、前記接続先端が前記外嵌孔を離れる場合、前記弾性部が反発する。
一実施例では、前記シースの管壁に制限孔が設けられ、前記弾性部が弾性リングを備え、前記弾性リングが前記シースの通路内に設けられ、前記弾性リングに前記外嵌孔及び前記制限凸部が設けられ、前記制限孔が前記制限凸部に対応する。
一実施例では、前記接続先端の遠位端に係着部が設けられ、前記係着部が凹溝部及び膨大部を備え、前記凹溝部が前記膨大部と前記接続先端との間に位置し、前記膨大部の最大幅が前記凹溝部の最小幅より大きい。
一実施例では、前記膨大部の遠位端に案内部が設けられ、前記案内部の横断面が近位端から遠位端へ徐々に減少する。
一実施例では、前記制限凸部の側面に制限部が設けられ、前記制限部が前記シースの通路内に位置する。
一実施例では、前記制限凸部が少なくとも2つである。
一実施例では、前記弾性リングに欠け口が設けられる。
一実施例では、前記弾性リングが少なくとも2つのハーフリングを備え、少なくとも2つの前記ハーフリングの間が前記外嵌孔に囲まれ、前記ハーフリングに前記制限凸部が設けられる。
請求項21〜29のいずれか1項に記載の端部操作装置及び請求項34〜36のいずれか1項に記載の輸送装置を組み立て、又は請求項30〜33のいずれか1項に記載の端部操作装置及び請求項37〜44のいずれか1項に記載の輸送装置を組み立てるための組み立てケースであって、ケース本体を備え、前記ケース本体に端部操作装置収納室及びシース収納室が設けられ、前記端部操作装置収納室が前記端部操作装置を収納することに用いられ、前記シース収納室が前記シースを収納することに用いられ、前記シース収納室の一端が前記端部操作装置収納室に連通しており、他端に開口部が設けられる。
一実施例では、前記端部操作装置収納室がクリップ収納室及び前記クリップ収納室に連通している接続管収納室を含み、前記クリップ収納室が前記クリップを収納することに用いられ、前記接続管収納室が前記接続管を収納することに用いられる。
一実施例では、前記クリップ収納室と前記接続管収納室との間に位置決め凸部が設けられ、前記位置決め凸部が前記接続管の遠位端に当接されることに用いられる。
一実施例では、前記クリップ収納室が広がり状態にある前記クリップを収納する。
一実施例では、前記ケース本体が、互いに接続される収納部分及び締め付け部分を備え、前記収納部分に前記端部操作装置収納室が設けられ、前記締め付け部分に前記シース収納室が設けられ、前記締め付け部分が押出力を受けると、前記シース収納室が変形してシースを締め付けることに用いられる。
一実施例では、前記締め付け部分が少なくとも2つの挟持弁を備え、少なくとも2つの前記挟持弁の間が前記シース収納室に囲まれ、前記挟持弁が押出力を受けると、少なくとも2つの前記挟持弁が接近する方向へ集まってシースを締め付けることに用いられる。
本発明の有益な効果は以下のとおりである。
第1組(第1〜第10が第1組の解決手段である)
第1.
端部操作機器は端部操作装置及び輸送装置を備える。端部操作装置がクリップ及び弾性部を備え、弾性部に外嵌孔が設けられ、弾性部の外周面に制限凸部が設けられ、クリップが結紮に使用される。
輸送装置がシース及び心軸を備え、シースに通路が設けられ、心軸がシースの通路内に設けられ、心軸がシース内で近位端又は遠位端へ移動できる。本明細書に記載の「近位端」、「遠位端」とは、端部操作機器の長さ方向(輸送装置によって端部操作装置を人体に送り込んで結紮しようとするため、輸送装置が常に長線形である)又は端部操作機器が人体に入る方向に沿って、操作者の所在箇所に向かう一方側が「近位端」であり、人体に伸び込んで治療する箇所に向かう一方側が「遠位端」であることを意味する。「近位端」は近位端の端面及び近位端端面近傍の一部を含み、「遠位端」は遠位端の端面及び遠位端端面近傍の一部を含む。ある部分の「近位端」又は「遠位端」とは、ある部分が操作者の所在箇所に向かう一方側はある部分の「近位端」であり、ある部分が人体に伸び込んで治療する箇所に向かう一方側はある部分の「遠位端」であることを意味する。ある部分の「近位端」は該部分の近位端の端面及び近位端端面近傍の一部を含み、ある部分の「遠位端」は該部分の遠位端の端面及び遠位端端面近傍の一部を含む。
シースの内壁に制限凹部が設けられ、端部操作装置を輸送装置に接続するために弾性部が制限凹部にフィットされ、シースが弾性部の外部に被装される場合、接続先端が外嵌孔に伸び込み又は外嵌孔を離れることができ、接続先端が外嵌孔に伸び込まれる場合、弾性部が外向きに拡張し、制限凸部が制限凹部に伸び込まれ、この時、制限凸部が制限凹部に制限され、シースと端部操作装置とが一体に接続され、接続先端が外嵌孔を離れる場合、弾性部が反発し、制限凸部が制限凹部を離れ、シースと端部操作装置との接続関係が解除される。
接続先端が外嵌孔に伸び込み又は外嵌孔を離れると、シースと端部操作装置とを接続し又はシースと端部操作装置との接続を解除するように制御することができ、端部操作装置及び輸送装置が付属の弾性部及び接続先端を使用すれば、1つの輸送装置に対して複数の端部操作装置を用いてもよく、輸送装置を繰り返し使用でき、同じ型番の端部操作装置も異なる輸送装置を用いてもよく、これにより、端部操作機器の適用性、汎用性を大幅に向上させる。
弾性部の弾性は、接続先端が外嵌孔を離れた後、弾性部を反発させ、制限凸部を制限凹部から離れさせることにより、端部操作装置とシースとの接続関係を解除することに用いられ、弾性部は弾性材料に限らず、非弾性材料を用いてもよく、弾性部を反発させ、制限凸部を制限凹部から離れさせることのできるものを用いればよい。
第2.
制限凸部が少なくとも2つであり、制限凹部が1つであってもよいし、制限凸部にフィットされる複数であってもよく、各制限凸部が対応する制限凹部に伸び込まれ、複数の接続点が得られ、これにより、端部操作装置とシースとの接続関係を強化する。その受け力を均一にするために、複数の制限凸部が対称的に設置されることが好ましい。
第3.
端部操作装置が更に接続管を備え、クリップが接続管に取り付けられ、接続管に通路が設けられ、弾性部が弾性リングを備え、弾性リングが接続管の通路内に設けられ、弾性リングに外嵌孔及び制限凸部が設けられ、外嵌孔が接続管の通路に連通しており、接続管の管壁に制限孔が設けられ、制限孔が制限凸部に対応する。
シースが接続管の外部に被装される場合、シースが弾性リングの外部に被装され、遠位端へ心軸を押動することにより、接続先端が遠位端へ移動するように駆動し、接続先端が外嵌孔内に伸び込まれ、弾性リングが外向きに拡張し、制限凸部が制限孔を通り抜けて制限凹部に伸び込まれるようにし、接続管をシースに接続させる。
第4.
弾性リングに欠け口が設けられる。欠け口は弾性リングが押し出されて拡張する幅を増加して、制限凸部と制限凹部との接続を強化することができるとともに、接続先端を外嵌孔内に容易に被装することもできる。
第5.
クリップの近位端が接続管の通路に伸び込まれ、クリップの近位端に係着孔が設けられ、係着孔が接続管の通路に連通しており、接続先端の遠位端に係着部が設けられ、係着部が係着孔に係合され、係着部が凹溝部及び膨大部を備え、凹溝部が膨大部と接続先端との間に位置し、膨大部の最大幅が凹溝部の最小幅より大きく、膨大部の最大幅が係着孔の最小幅より大きい。
膨大部の最大幅は横断面における最大幅を指し、例えば、膨大部が円柱体である横断面が円形である場合、膨大部の最大幅が円形の直径であり、膨大部の横断面が長方形である場合、膨大部の最大幅が長方形の対角線の長さである。
膨大部の最大幅が凹溝部の最大幅より大きいため、膨大部及び凹溝部が「段差」をなし、膨大部が遠位端へ移動するように押動することにより膨大部が係着孔を通り抜ける場合、凹溝部が凹溝部内に係止され、これにより、接続先端とクリップとの係止接続を完了する。この時、心軸が遠位端へ移動するように押動すると、クリップが遠位端へ移動するように駆動することになり、クリップが接続管から伸び出した長さが十分になると、クリップが開くことになり、心軸が近位端へ移動するように引くと、クリップが近位端へ移動するように駆動することになり、クリップが接続管の通路に入った長さが十分になると、クリップが閉じることになる。
クリップが閉じた後、心軸を近位端へ移動するように引き続けると、クリップが近位端へ移動するように駆動することになり、前記係着部が前記係着孔を離れると、前記クリップと前記心軸との接続が解除される。係着孔のエッジが膨大部に押し出されて変形、破壊又は破断する可能性があるが、この時、接続先端とクリップとの分離が完了しているため、実際の使用に影響を与えることがない。
好ましくは、適切な係着孔の形状及び直径、膨大部の形状及び幅、係着孔周辺の材料を設計することにより、膨大部と係着孔を非破壊的に繰り返し係着又は接触係着させることができる。
第6.
膨大部の遠位端に案内部が設けられ、案内部の横断面が近位端から遠位端へ徐々に減少する。案内部の横断面は案内部の垂直又は略垂直な膨大部において遠位端へ移動する方向における断面を指し、案内部の横断面が徐々に減少することにより案内部の外表面に案内斜面を形成させ、膨大部が係着孔にスムーズに伸び込むように案内することができる。
第7.
クリップが少なくとも2つの挟持片を備え、挟持片の近位端に後部挟持部が設けられ、少なくとも2つの後部挟持部の間に隙間が設けられ、少なくとも2つの後部挟持部の間の隙間が係着孔をなす。挟持片自体が係着孔をなすため、構造が簡単である。一般的に挟持片が扁平なシート状であり、好ましくは、挟持片の近位端を扁平面に垂直又は略垂直な方向に沿って曲げてLフックをなし、2つの挟持片のLフックの間の隙間が係着孔をなし、2つの挟持片のLフックが係着孔に対して対称的に設置され、2つの挟持片のLフックが係着孔のエッジである。このような方式で扁平状の挟持片に係着孔を設置すれば、構造が簡単になり、生産効率が高くなる。
第8.
クリップが更に接続ピンを備え、挟持片の近位端にロック凸部及び接続孔が設けられ、接続ピンが接続孔に穿設され、少なくとも2つの挟持片が接続管に押さえつけられて閉じると、少なくとも2つの挟持片の近位端が接続ピンに沿って摺動して、離れる方向に沿って弾けることになり、ロック凸部がロック凹部に伸び込まれる。挟持片の近位端が接続管の遠位端に接近すると、挟持片の遠位端が離れることになり、この時、挟持片が開かれており、挟持片の近位端が接続管の近位端に接近すると、挟持片の遠位端が接続管に押さえつけられて閉じて、挟持片の近位端が離れる方向へ開くことになり、ロック凸部がロック凹部に伸び込まれ、これにより、挟持片を接続管にロックして、挟持片が接続管に対して移動しないようにして、挟持片を閉じ状態に維持し、結紮後にクリップが開くことを防止する。
好ましくは、挟持片自体に弧度が設けられ、挟持片の弧度によって挟持片が自動的に開き又は閉じることができる。
好ましくは、接続管の遠位端に阻止部が設けられ、阻止部が2つの前記挟持片の間に位置し、阻止部が接続ピンを止めることができ、それにより挟持片が接続管の遠位端の開口部から脱出することを防止する。
第9.
制限凸部の側面に制限部が設けられ、制限部が接続管の通路内に位置する。弾性部が押し出されて外向きに拡張する場合、制限部が制限凹部の外部に当接され、又は制限部が制限孔近傍に当接されることにより、弾性部が過度に開くことを防止することができる。
第10.
弾性リングが少なくとも2つのハーフリングからなり、少なくとも2つのハーフリングが外嵌孔に囲まれ、ハーフリングに制限凸部が設けられる。ハーフリングが接続管の通路内に直接被装されることにより、制限凸部を制限孔に位置合わせさせてもよい。ハーフリングが1/2輪、1/3輪又は他の形状の輪であってもよく、接続ポートで外嵌孔から取り外す際に自動的に反発することにより、端部操作装置とシースとの接続を解除させればよい。
第2組(第11〜第12が第2組の解決手段である)
第11.
端部操作機器は上記第1と同様である。しかしながら、相違点は端部操作機器が端部操作装置及び輸送装置を備えることにある。
端部操作装置が接続管及び接続管に取り付けられるクリップを備え、クリップが結紮に使用され、接続管に通路が設けられ、接続管の内壁に制限凹部が設けられ、
輸送装置がシース及び心軸を備え、シースに通路が設けられ、心軸がシースの通路内に設けられ、心軸の遠位端に接続先端が設けられ、シースの遠位端に弾性部が設けられ、弾性部に外嵌孔が設けられ、外嵌孔がシースの通路に連通しており、弾性部の外周面に制限凸部が設けられ、
弾性部が接続管の通路に伸び込まれる場合、接続先端が外嵌孔に伸び込み又は外嵌孔を離れることができ、接続先端が外嵌孔に伸び込まれる場合、弾性部を押し出して外向きに拡張させ、制限凸部が制限凹部に伸び込まれ、接続先端が外嵌孔を離れる場合、弾性部が反発し、制限凸部が制限凹部を離れる。接続先端が外嵌孔に伸び込み又は外嵌孔を離れると、シースと接続管とを接続し又はシースと接続管との接続を解除するように制御することができ、端部操作装置及び輸送装置が付属の接続管、弾性部及び接続先端を使用すれば、1つの輸送装置に対して複数の端部操作装置を用いてもよく、輸送装置を繰り返し使用でき、同じ型番の端部操作装置も異なる輸送装置を用いてもよく、これにより、端部操作機器の適用性、汎用性を大幅に向上させる。
弾性部の弾性は、接続先端が外嵌孔を離れた後、弾性部を反発させ、制限凸部を制限凹部から離れさせることにより、接続管とシースとの接続関係を解除することに用いられ、弾性部は弾性材料に限らず、非弾性材料を用いてもよく、弾性部を反発させ、制限凸部を制限凹部から離れさせることのできるものを用いればよい。
第12.
制限凸部が少なくとも2つであり、制限凹部が1つであってもよいし、制限凸部にフィットされる複数であってもよく、各制限凸部が対応する制限凹部に伸び込まれ、複数の接続点が得られ、これにより、端部操作装置とシースとの接続関係を強化する。その受け力を均一にするために、複数の制限凸部が対称的に設置されることが好ましい。
第13.
シースの遠位端に弾性リングが設けられ、弾性リングがシースの通路内に設けられ、弾性リングが弾性部であり、弾性リングに外嵌孔及び制限凸部が設けられ、シースの管壁に制限孔が設けられ、制限孔が制限凸部に対応する。弾性部が接続管に伸び込まれる場合、接続管が弾性リングの外部に被装され、遠位端へ心軸を押動することにより、接続先端が遠位端へ移動するように駆動し、接続先端が外嵌孔に伸び込まれ、弾性リングが外向きに拡張し、制限凸部が制限孔を通り抜けて制限凹部に伸び込まるようにし、接続管をシースに接続させる。
第14.
弾性リングに欠け口が設けられる。欠け口は弾性リングが押し出されて拡張する幅を増加して、制限凸部と制限凹部との接続を強化することができるとともに、接続先端を外嵌孔内に容易に被装することもできる。
第15.
クリップの近位端が接続管の通路に伸び込まれ、クリップの近位端に係着孔が設けられ、係着孔が接続管の通路に連通しており、接続先端の遠位端に係着部が設けられ、係着部が係着孔に係合され、係着部が凹溝部及び膨大部を備え、凹溝部が膨大部と接続先端との間に位置し、膨大部の最大幅が凹溝部の最小幅より大きく、膨大部の最大幅が係着孔の最小幅より大きい。膨大部の最大幅は横断面における最大幅を指し、例えば、膨大部が円柱体である横断面が円形である場合、膨大部の最大幅が円形の直径であり、膨大部の横断面が長方形である場合、膨大部の最大幅が長方形の対角線の長さである。
膨大部の最大幅が凹溝部の最大幅より大きいため、膨大部と凹溝部とが「段差」をなし、膨大部が遠位端へ移動するように押動することにより膨大部が係着孔を通り抜ける場合、凹溝部が凹溝部内に係止され、これにより、接続先端とクリップとの係止接続を完了する。この時、心軸が遠位端へ移動するように押動すると、クリップが遠位端へ移動するように駆動することになり、クリップが接続管から伸び出した長さが十分になると、クリップが開くことになり、心軸が近位端へ移動するように引くと、クリップが近位端へ移動するように駆動することになり、クリップが接続管の通路に入った長さが十分になると、クリップが閉じることになる。
クリップが閉じた後、心軸を近位端へ移動するように引き続けると、クリップが近位端へ移動するように駆動することになり、前記係着部が前記係着孔を離れると、前記クリップと前記心軸との接続が解除される。係着孔のエッジが膨大部に押し出されて変形、破壊又は破断する可能性があるが、この時、接続先端とクリップとの分離が完了しているため、実際の使用に影響を与えることがない。
好ましくは、適切な係着孔の形状及び直径、膨大部の形状及び幅、係着孔周辺の材料を設計することにより、膨大部と係着孔を非破壊的に繰り返し係着又は接触係着させることができる。
第16.
膨大部の遠位端に案内部が設けられ、案内部の横断面が近位端から遠位端へ徐々に減少する。案内部の横断面は案内部の垂直又は略垂直な膨大部において遠位端へ移動する方向における断面を指し、案内部の横断面が徐々に減少することにより案内部の外表面に案内斜面を形成させ、膨大部が係着孔にスムーズに伸び込むように案内することができる。
第17.
クリップが少なくとも2つの挟持片を備え、挟持片の近位端に後部挟持部が設けられ、少なくとも2つの後部挟持部の間に隙間が設けられ、少なくとも2つの後部挟持部の間の隙間が係着孔をなす。挟持片自体が係着孔をなすため、構造が簡単である。一般的に挟持片が扁平なシート状であり、好ましくは、挟持片の近位端を扁平面に垂直又は略垂直な方向に沿って曲げてLフックをなし、2つの挟持片のLフックの間の隙間が係着孔をなし、2つの挟持片のLフックが係着孔に対して対称的に設置され、2つの挟持片のLフックが係着孔のエッジである。このような方式で扁平状の挟持片に係着孔を設置すれば、構造が簡単になり、生産効率が高くなる。
第18.
クリップが更に接続ピンを備え、挟持片の近位端にロック凸部及び接続孔が設けられ、接続ピンが接続孔に穿設され、少なくとも2つの挟持片の遠位端が接続管に押さえつけられて閉じると、少なくとも2つの挟持片の近位端が接続ピンに沿って摺動して、離れる方向に沿って弾けることになり、ロック凸部がロック凹部に伸び込まれる。
挟持片の近位端が接続管の遠位端に接近すると、挟持片の遠位端が離れることになり、この時、挟持片が開かれており、挟持片の近位端が接続管の近位端に接近すると、挟持片の遠位端が接続管に押さえつけられて閉じ、挟持片の近位端が離れる方向へ開くことになり、ロック凸部がロック凹部に伸び込まれ、これにより、挟持片を接続管にロックして、挟持片が接続管に対して移動しないようにして、挟持片を閉じ状態に維持し、結紮後にクリップが開くことを防止する。
好ましくは、挟持片自体に弧度が設けられ、挟持片の弧度によって挟持片が自動的に開き又は閉じることができる。
好ましくは、接続管の遠位端に阻止部が設けられ、阻止部が2つの前記挟持片の間に位置し、阻止部が挟持片を止めることができ、それにより挟持片が接続管の遠位端から脱出することを防止する。
第19.
制限凸部の側面に制限部が設けられ、制限部がシースの通路内に位置する。弾性部が押し出されて外向きに拡張する場合、制限部が制限凹部の外部に当接され、又は制限部が制限孔近傍に当接されることにより、弾性部が過度に開くことを防止することができる。
第20.
弾性リングが少なくとも2つのハーフリングからなり、少なくとも2つのハーフリングが外嵌孔に囲まれ、ハーフリングに制限凸部が設けられる。ハーフリングが接続管の通路内に直接被装されることにより、制限凸部を制限孔に位置合わせさせてもよい。ハーフリングが1/2輪、1/3輪又は他の形状の輪であってもよく、接続ポートで外嵌孔から取り外す際に自動的に反発することにより、端部操作装置とシースとの接続を解除させればよい。
第21.
請求項11〜15に記載の端部操作装置は上記第1組の解決手段の端部操作装置と同様であり各構造の有益な効果が同様であるため、ここで詳細な説明は省略する。
第23.
端部操作装置及び輸送装置を組み立て、ケース本体を備え、ケース本体に端部操作装置収納室及びシース収納室が設けられ、端部操作装置収納室が端部操作装置を収納することに用いられ、シース収納室がシースを収納することに用いられ、シース収納室の一端が端部操作装置収納室に連通しており、他端に開口部が設けられる。端部操作装置を端部操作装置収納室内に設け(端部操作装置全体を端部操作装置収納室内に設け、又は端部操作装置の一部例えば端部操作装置の近位端を端部操作装置収納室内に設けることを含む)、シースの遠位端をシース収納室内に設け(シース全体をシース収納室内に設け、又はシースの一部例えばシースの遠位端をシース収納室内に設けることに限らない)、シース収納室の開口部からシースを押し出してシースを弾性部の外部に被装させ、又は接続管を弾性部の外部に被装し、シース収納室でシースが端部操作装置の近位端にドッキングされるように案内し、シースを端部操作装置に接続することに役立つ。
第24.
端部操作装置収納室がクリップ収納室及びクリップ収納室に連通している接続管収納室を含み、クリップ収納室がクリップを収納することに用いられ、接続管収納室が接続管を収納することに用いられる。
第25.
クリップ収納室と接続管収納室との間に位置決め凸部が設けられ、位置決め凸部が接続管の遠位端に当接されることに用いられる。接続管がクリップ収納室へ摺動することを回避し、接続管に支持を提供し、移動接続部分で端部操作装置とシースとの接続を完了し、端部操作装置とシースとが分離する際に接続管が移動することを回避する。
第26.
クリップ収納室が広がり状態にあるクリップを収納する。クリップの係着孔が外嵌孔の先端に位置し、接続先端が外嵌孔を通り抜けた後、係着部が係着孔に係着されることが可能になり、従って、クリップが事前に広がり状態を呈し、この時、係着孔が接続管の遠位端に接近し、まず接続先端を弾性部の外嵌孔に挿入し、端部操作装置をシースに接続させ、接続先端を遠位端へ移動し続けさせ、係着部を係着孔に係止接続させ、この時、心軸がクリップに接続されるため、心軸が近位端へ移動するように引くことにより、クリップを接続管内に収納するように駆動し、次にシース収納室の開口部から輸送装置、端部操作装置を同時に取り出すことができ、この時、端部操作装置と輸送装置との接続が既に完了し、心軸とクリップとの接続が既に完了しているため、心軸を操作すると、クリップを操作して結紮させることができ、ここまで、端部操作装置と輸送装置との組み立てを完了する。
第27.
ケース本体が、互いに接続される収納部分及び締め付け部分を備え、収納部分に端部操作装置収納室が設けられ、締め付け部分にシース収納室が設けられ、締め付け部分が押出力を受けると、シース収納室が変形してシースを締め付けることに用いられる。使用時、手で締め付け部分を締め付けて、シースを安定させ、シース及び接続管を常にドッキング位置に位置させることができ、シースを接続管にドッキングすることに役立つ。
第28.
締め付け部分が少なくとも2つの挟持弁を備え、少なくとも2つの挟持弁の間がシース収納室に囲まれ、挟持弁が押出力を受けると、少なくとも2つの挟持弁が接近する方向へ集まってシースを締め付けることに用いられる。締め付け部分が挟持弁で締め付け機能を実現する。挟持弁が開かれる場合、シースをシース収納室内に挿入し、次に挟持弁に押出力を与え、挟持弁にシースを締め付けさせる。
本発明の実施例1の端部操作機器全体の構造図である。 本発明の実施例1の端部操作装置と輸送装置とが接続されていない状態における構造図である。 図2におけるA−A断面図である。 図2における丸印で囲めている部分の拡大図である。 本発明の実施例1の端部操作装置と輸送装置とが接続されている状態における構造図である。 図5におけるB−B断面図である。 本発明の実施例1の接続先端とクリップとが接続されている状態における構造図である。 本発明の実施例1のクリップが閉じた状態における構造図である。 本発明の実施例1のクリップが閉じた後に端部操作装置と輸送装置との接続関係が解除される構造図である。 本発明の実施例1の弾性リングの構造図である。 本発明の実施例1の弾性リングの断面の構造図である。 本発明の実施例1の接続管及び弾性リングの構造図である。 本発明の実施例1の接続管及び弾性リングの断面図である。 本発明の実施例1の接続先端の構造図である。 本発明の実施例1の挟持片の構造図である。 本発明の実施例1のクリップの構造図である。 本発明の実施例1の組み立てケースの構造図である。 本発明の実施例1の組み立て方法の構造図1である。 図18の上面図である。 本発明の実施例1の組み立て方法の構造図2である。 本発明の実施例1の組み立て方法の構造図3である。 本発明の実施例1の組み立て方法の構造図4である。 本発明の実施例1の組み立て方法の構造図5である。 本発明の実施例2の接続管の構造図である。 本発明の実施例2の接続管及びクリップの構造図である。 本発明の実施例2の端部操作装置及び輸送装置の構造図である。 本発明の実施例3の端部操作装置及び輸送装置の構造図である。 本発明の実施例3の接続管の構造図である。 本発明の実施例3の輸送装置の構造図である。 本発明の実施例4の弾性リングの構造図である。 本発明の実施例4のシース遠位端の構造図である。 本発明の実施例5の弾性リングの構造図1である。 本発明の実施例5の弾性リングの構造図2である。 本発明の実施例5の弾性リングの構造図3である。 本発明の実施例5の弾性リングの構造図4である。 本発明の実施例6の弾性リングの構造図である。 本発明の実施例7の弾性リングの構造図である。 本発明の実施例8の弾性リングの構造図1である。 本発明の実施例8の弾性リングの構造図2である。 本発明の実施例9の弾性リングの構造図である。 本発明の実施例11の接続管とシースとが接続されていない状態における構造図である。 本発明の実施例11の接続管とシースとが接続されている状態における構造図である。 本発明の実施例12の弾性リングの構造図である。
以下、本発明を更に詳しく説明するが、本発明の実施形態はこれに限らない。
実施例1
図1に示すように、端部操作機器が端部操作装置100、輸送装置200及び制御装置300を備える。
図2〜図16に示すように、端部操作装置100はクリップ、接続管120及び弾性部450を備え、クリップが接続管120に取り付けられ、接続管120に通路が設けられ、クリップの近位端は接続管120の遠位端から接続管120の通路を出入りすることができ、クリップは近位端が接続される2つの挟持片110を備え、挟持片110の遠位端に結紮歯113が設けられ、接続管120の遠位端に阻止部123が設けられ、阻止部123は2つの挟持片110の間に位置し、挟持片110又は接続ピン130を阻止することができ、挟持片110が接続管120の遠位端から脱出することを防止する。挟持片110の遠位端が接続管120の遠位端に接近すると、挟持片110が接続管120に押さえつけられて閉じることになる。
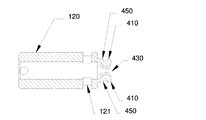
弾性部450は弾性リング400を備え、弾性リング400に外嵌孔430が設けられ、弾性リング400の外周面に制限凸部410が設けられ、弾性リング400が接続管120の通路内に設けられ、弾性リング400に外嵌孔430及び制限凸部410が設けられ、外嵌孔430が接続管120の通路に連通しており、接続管120の管壁に制限孔121が設けられ、制限孔121が制限凸部410に対応し、制限凸部410が制限孔121を通り抜け又は離れることができる。
輸送装置200はシース210及び心軸220を備え、シース210に通路が設けられ、心軸220がシース210の通路内に設けられ、心軸220の遠位端に接続先端230が設けられ、シース210がシース本体及びエンドカバー250を備え、エンドカバー250に制限段差270が設けられ、制限段差270がシース本体の遠位端端面とともに制限凹部240をなす。
制御装置300がハンドル310及び摺動部320を備え、ハンドル310がシース210に接続され、摺動部320が心軸220に接続され、摺動部320がハンドル310に対して摺動することができ、遠位端又は近位端へ摺動部320を摺動することにより、心軸220がシース210に対して遠位端又は近位端へ移動するように駆動することができる。
シース210が弾性リング400の外部に被装される場合、接続先端230が外嵌孔430に伸び込み又は外嵌孔430を離れることができ、接続先端230が外嵌孔430に伸び込まれる場合、弾性リング400が外向きに拡張し、制限凸部410が制限凹部240に伸び込まれ、接続管120をシース210に接続させ、接続先端230が外嵌孔430を離れる場合、弾性リング400が反発し、制限凸部410が制限凹部240を離れ、接続管120とシース210との接続関係を解除させる。
弾性リング400が外嵌孔430から与えた押出力を受ける(図10に示される力Fの方向)と、弾性リング400が外向きに(図10に示される実線矢印の方向)拡張し、弾性リング400の受けた外嵌孔430から与えた押出力が解除されると、弾性リング400が反発する(図10に示される点線矢印の方向)。弾性リング400に欠け口440が設けられる。欠け口440は弾性リング400が押し出されて拡張する幅を増加させ、制限凸部410と制限凹部240との接続を強化することができるとともに、接続先端230を外嵌孔430内に容易に被装させることもできる。弾性リング400の横断面の形状を制限せず、図11に示される(a)〜(h)のような形状を用いることが好ましい。
本実施例では、制限凹部240がシース210の内壁における溝であり、シース210がシース本体及びシース本体の遠位端に設けられるエンドカバー250を備え、エンドカバー250に制限段差270が設けられ、エンドカバー250を設置することにより制限凹部240を製造すれば、製造プロセスが簡単になるが、これに限らず、シース210の側壁に止まり孔、貫通孔又は溝を開けることにより、制限凹部240をなし、又は、シース210の内壁にシース210の中心軸へ突起する段差を設置し、段差とシース210の内壁との間に制限凹部240をなすことにより、制限凸部410がシース210の遠位端から滑り出すのを制限してもよい。
本実施例では、図9、図10、図12に示すように、接続管120の近位端に位置決めリング150が設けられ、接続管120の内壁に段差が設けられ、段差及び位置決めリング150によって弾性リング400を接続管120の近位端に固定する。しかしながら、これに限らず、弾性リング400を接続管120の通路内に直接置くことにより弾性リング400の制限凸部410を制限孔121に伸び込ませ、又は接続管120内に弾性リング400を取り付ける位置決め構造を設置してもよい。
制限凸部410の側面に制限部420が設けられ、制限部420が接続管120の通路内に位置する。弾性リング400が押し出されて外向きに拡張する場合、制限部420が制限凹部240の外部に当接され、又は制限部420が制限孔121近傍に当接されることにより、弾性リング400が過度に開くことを防止することができる。
挟持片110の近位端に後部挟持部112が設けられ、2つの後部挟持部112の間に隙間が設けられ、2つの後部挟持部112の間の隙間が係着孔115をなし、係着孔115が接続管120の通路に連通している。挟持片110自体が係着孔115をなすため、構造が簡単である。一般的に挟持片110が扁平なシート状であり、好ましくは、挟持片110の近位端を扁平面に垂直又は略垂直な方向に沿って曲げてLフックをなし、図16に示すように、2つの挟持片110のLフックの間の隙間が係着孔115をなし、2つの挟持片110のLフックが係着孔115に対して対称的に設置され、2つの挟持片110のLフックが係着孔115のエッジである。このような方式で扁平状の挟持片110に係着孔115を設置すれば、構造が簡単になり、生産効率が高くなる。
接続先端230の遠位端に係着部が設けられ、係着部が係着孔115に係合され、係着部が凹溝部232及び膨大部231を備え、凹溝部232が膨大部231と接続先端230との間に位置し、膨大部231の最大幅(図14に示されるD1)が凹溝部232の最小幅(図14に示されるD2)より大きく、膨大部231の最大幅が係着孔115の最小幅より大きい。
クリップは更に接続ピン130を備え、挟持片110の近位端にロック凸部111及び接続孔114が設けられ、接続ピン130が接続孔114内に穿設され、2つの挟持片110が接続管120に押さえつけられて閉じると、2つの挟持片110の近位端が接続ピン130に沿って摺動して、離れる方向(例えば、図16における矢印で示す方向)へ弾けることになり、ロック凸部111がロック凹部122に伸び込まれる。
挟持片110の近位端が接続管120の遠位端に接近すると、挟持片110の遠位端が離れることになり、この時、挟持片110が開かれており、挟持片110の近位端が接続管120の近位端に接近すると、挟持片110の遠位端が接続管120に押さえつけられて閉じて、挟持片110の近位端が離れる方向へ開くことになり、ロック凸部111がロック凹部122に伸び込まれ、これにより、挟持片110を接続管120にロックして、挟持片110が接続管120に対して移動しないようにして、挟持片110を閉じ状態に維持して、結紮後にクリップが開くことを防止する。好ましくは、挟持片110自体に弧度が設けられ、挟持片110の弧度によって挟持片110が自動的に開き又は閉じることができる。
図4、図14に示すように、膨大部231の遠位端に案内部233が設けられ、案内部233の横断面が近位端から遠位端へ徐々に減少する。案内部233の横断面は案内部233の垂直又は略垂直な膨大部231において遠位端へ移動する方向における断面を指し、案内部233の横断面が徐々に減少することにより案内部233の外表面に案内斜面を形成させ、膨大部231が係着孔115にスムーズに伸び込むように案内することができる。
クリップが閉じた後、心軸220を近位端へ移動するように引き続けると、クリップが近位端へ移動するように駆動することになり、前記係着部が前記係着孔115を離れると、前記クリップと前記心軸220との接続が解除される。係着孔115のエッジが膨大部231に押し出されて変形、破壊又は破断する可能性があるが、この時、接続先端230とクリップとの分離が完了しているため、実際の使用に影響を与えることがない。
好ましくは、適切な係着孔115の形状及び直径、膨大部231の形状及び幅、係着孔115周辺の材料を設計することにより、膨大部231と係着孔115を非破壊的に繰り返し係着又は接触係着させることができる。
本実施例では、端部操作装置100及び輸送装置200を繰り返し脱着でき、端部操作装置100が人体を結紮した後、端部操作装置100が輸送装置200を離れ、輸送装置200を再利用でき、端部操作装置100と輸送装置200を別々に製造して、端部操作装置100と輸送装置200を組み立てて使用してもよく、図17〜図23には端部操作装置100と輸送装置200を組み立てる方法を示し、本実施例では組み立てケース500を利用して組み立てることにより、組み立て効率を向上させ、操作を容易にし、組み立て効率を向上させることができるだけでなく、医療スタッフの使用にも役立つ。
図17に示すように、組み立てケース500がケース本体を備え、ケース本体が接続される収納部分510及び締め付け部分520を備え、収納部分510に端部操作装置収納室が設けられ、端部操作装置収納室がクリップ収納室511及びクリップ収納室511に連通している接続管収納室を含み、クリップ収納室511がクリップを収納することに用いられ、接続管収納室が接続管120を収納することに用いられる。
クリップ収納室511が広がり状態にあるクリップを収納する。
クリップ収納室511と接続管収納室との間に位置決め凸部513が設けられ、位置決め凸部513が接続管120の遠位端に当接されることに用いられる。
締め付け部分520にシース収納室が設けられ、シース収納室がシース210を収納することに用いられ、シース収納室の一端が端部操作装置収納室に連通しており、他端に開口部が設けられる。
締め付け部分520が押出力(例えば、図19における矢印方向)を受けると、シース収納室の最小幅が小さくなる。
図19に示すように、締め付け部分520が少なくとも2つの挟持弁522を備え、少なくとも2つの挟持弁522の間がシース収納室に囲まれ、挟持弁522が押出力を受けると、少なくとも2つの挟持弁522が接近する方向へ集まることになり、シース収納室の最小幅が小さくなる。
組み立てる時、
(1)図18、図19に示すように、端部操作装置100を端部操作装置収納室内に置き、クリップを広がり状態でクリップ収納室511内に収納し、接続管120を接続管収納室に収納し、接続管120の遠位端を位置決め凸部513に当接させる。
(2)シース210をシース収納室の近位端の開口部から挿入し、シース210を接続管120の近位端の外部に被装させ、この時、シース210を弾性リング400の外部に被装し、図20に示すように、締め付け部の挟持弁522(例えば、図20における矢印に示される)を押し出して、後続操作のために、挟持弁522にシース210の位置を固定させる。
(3)図21に示すように、摺動部320を押動して心軸220が遠位端へ移動するように駆動し、接続先端230を外嵌孔430に伸び込ませ、押し出して図21に示される矢印方向に沿って外向きに拡張するように制限し、制限凸部410が制限孔121を通り抜けて制限凹部240に伸び込まれるようにし、シース210を接続管120に接続させ、次に心軸220を遠位端へ移動させ、係着部の膨大部231が係着孔115を通り抜けるようにし、係着孔115のエッジが凹溝部232に引っかかって、心軸220をクリップに接続させ、この時、心軸220を移動すると、クリップが遠位端又は近位端へ移動するように駆動することができる。
(4)図21に示すように、心軸220が近位端へ移動するように引くことにより、クリップが近位端へ移動するように駆動し、クリップを徐々に接続管120内に収め、クリップを閉じ、この時、挟持片110はクリップがクリップ収納室511から脱出することを阻止せず、次に、端部操作装置100、輸送装置200が組み立てケース500のシース収納室の近位端の開口部から脱出するまで、近位端へ心軸220を引き続け、
ここまでで、組み立てが完了する。
クリップ収納室511が開放してもよいし、開放しなくてもよく、殺菌の観点から考慮すれば、出荷時に端部操作装置100がクリップ収納室511内に密封されることが好ましい。
実施例2
実施例2と実施例1との相違点は以下のとおりである。
図24〜図26に示すように、弾性リング400と接続管120とが一体であり、接続管120が管状であり、接続管120の近位端の管壁に弾性リング400を製造し、接続管120の通路が外嵌孔430であり、接続先端230が外嵌孔430に伸び込まれる場合、弾性リング400における制限凸部410が外向きに押し出されてシース210の制限凹部240に伸び込まれ、シース210を接続管120に接続させ、接続先端230が外嵌孔430を離れる場合、弾性リング400が弾性アームの作用を果たし、自動的に反発し、制限凸部410を制限凹部240から離れさせ、接続端とシース210との接続関係が解除される。
本実施例では、端部操作装置100と輸送装置200との組み立ては実施例1と同様であり、実施例1の組み立てケース500を用いてもよい。
実施例3
実施例3と実施例1との相違点は以下のとおりである。
弾性リング400及び制限凹部240の位置が変化し、図27〜図29に示すように、シース210に弾性リング400が設けられるが、接続管120に制限凹部240が設けられる。
本実施例では、接続管120の内壁に制限凹部240が設けられる。
シース210の遠位端に弾性リング400が設けられ、弾性リング400がシース210の通路内に設けられ、弾性リング400が弾性リング400であり、弾性リング400に外嵌孔430及び制限凸部410が設けられ、シース210の管壁に制限孔121が設けられ、制限孔121が制限凸部410に対応する。
弾性リング400が接続管120の通路に伸び込まれる場合、接続先端230が外嵌孔430に伸び込み又は外嵌孔430を離れることができ、接続先端230が外嵌孔430に伸び込まれる場合、弾性リング400を押し出して外向きに拡張させ、制限凸部410が制限凹部240に伸び込まれ、接続先端230が外嵌孔430を離れる場合、弾性リング400が反発し、制限凸部410が制限凹部240を離れる。
本実施例では、端部操作装置100と輸送装置200との組み立ては実施例1と同様であり、実施例1の組み立てケース500を用いてもよい。
実施例4
実施例4と実施例1との相違点は以下のとおりである。
弾性リング400の構造が変化し、本実施例では、弾性リング400の構造が変化し、本実施例では、図30、図31に示すように、欠け口440が設けられる1つの弾性リング400において3つの制限凸部410が中心対称的に設けられ、2つの隣接する制限凸部410の間の突起が制限部420であり、受け力を均一にするために、対称的にし、弾性リング400の環状そのものに制限凸部410が突起するだけでなく、制限部420も突起し、構造が簡単である。
接続先端が外嵌孔内に被装されていない場合、3つの制限凸部410からなる全体の直径D3が制限凹部のエッジのシースにおける直径D5より小さく、D3<D5であり、シースが接続管に対して自在に摺動し、接続先端が外嵌孔内に被装されていない場合、3つの制限凸部410からなる全体の直径がD3からD4に外向きに拡張し、D4>D5であり、制限凸部が制限凹部に伸び込まれ、それにより接続管に対するシースの摺動を制限する。
実施例5
実施例5と実施例1との相違点は以下のとおりである。
弾性リング400の構造が変化し、本実施例では、図32に示すように、制限輪が楕円形であり、制限凸部410が楕円形の短軸に沿って外向きに突起し、接続先端230が制限孔121に挿入される場合、図32に示される力Fの方向に沿って、楕円形の短軸方向から外へ弾性リング400を押し出し、制限凸部410を外向きに拡張させる。制限凸部410が外向きに拡張−反発する際に、より長いストロークを有してもよい。
32、図33に示すように、1つの制限凸部410を設置してもよいし、図33、図34に示すように、2つの制限凸部410を設置してもよい。
33、図35に示すように、弾性リング400に欠け口440を設置してもよいし、図32、図34に示すように、閉じた輪であってもよい。
実施例6
実施例6と実施例1との相違点は以下のとおりである。
弾性リング400の構造が変化し、本実施例では、図36に示すように、弾性リング400及び制限凸部410が同じ平面に位置せず、1つ又は2つ以上の制限凸部410が弾性リング400の同じ側に設けられる。
実施例7
実施例7と実施例1との相違点は以下のとおりである。
弾性リング400の構造が変化し、本実施例では、図37に示すように、弾性リング400の一方側に2つ又は3つ以上のJフックが設けられ、Jフックの一端が弾性リング400に接続され、他端が自由端であり、自由端が制限凸部410であり、接続先端230が外嵌孔430に挿入される場合、接続先端230が弾性リング400及びJフックを同時に押し出して、制限凸部410を外向きに拡張させ、接続先端230を外嵌孔430から取り出した後、弾性リング400及びJフックが反発して、制限凸部410を内向きに反発させる。弾性リング400が円形リングであってもよいし、楕円形リングであってもよい。
実施例8
実施例8と実施例1との相違点は以下のとおりである。
38、図39に示すように、Jフックが内向きに凹んでおり、2つのJフックの間の隙間が外嵌孔430をなし、接続先端230が外嵌孔430に挿入される場合、接続先端230が弾性リング400を通り抜けるがそれを押し出さず、接続先端230がJフックを押し出して、制限凸部410を外向きに拡張させ、接続先端230を外嵌孔430から取り出した後、Jフックが反発して、制限凸部410を内向きに反発させる。
実施例9
実施例9と実施例1との相違点は以下のとおりである。
40に示すように、弾性リング400が少なくとも2つのハーフリング460からなり、少なくとも2つのハーフリング460が外嵌孔430に囲まれ、ハーフリング460に制限凸部410が設けられる。
ハーフリング460が接続管120の通路内に直接被装されることにより、制限凸部410を制限孔121に位置合わせさせてもよい。ハーフリング460が1/2輪、1/3輪又は他の形状の輪であってもよく、接続ポートで外嵌孔430から取り出す際に自動的に反発して、端部操作装置100とシース210との接続を解除させればよい。
実施例10
実施例10と実施例9との相違点は以下のとおりである。
弾性部が1つのハーフリングを備え、ハーフリングが図40における左側又は右側のハーフリングを参照してもよく、ハーフリングが接続管の通路内に設けられ、ハーフリングの一方側に制限凸部が設けられ、ハーフリングの他方側と接続管の内壁との間が外嵌孔をなす。
実施例11
実施例11と実施例1との相違点は以下のとおりである。
図41、図42に示すように、シース210に弾性部450が設けられ、弾性部450とシース210とが一体であり(本実施例に限らず、分離式であってもよい)、接続管120の外壁に制限凹部240が設けられ、弾性部450の内壁に制限凸部410が設けられる。
弾性部450に外嵌孔430が設けられ、外嵌孔430がシース210の通路に連通しており、接続先端230を遠位端へ移動させ、接続先端230が外嵌孔430に伸び込まれる場合、弾性部450の制限凸部410が外向きに押し出されて開かれ、接続管120及び制限凸部410が外嵌孔430を通り抜けることができ、接続管120の近位端を接続孔に伸び込ませ、次に接続先端230が遠位端へ移動し、接続先端230が外嵌孔430を通り抜けた後、弾性部450の受けた接続先端230が外嵌孔430から与えた外向きの押出力がなくなり、弾性部450が反発し、制限凸部410が制限凹部240に伸び込まれ、制限凸部410が制限凹部240にフィットされることにより接続管120をシース210に接続させ、この時、輸送装置200を操作すると、端部操作装置が移動するように駆動することができる。接続管120とシース210との接続関係を解除する必要がある場合、接続先端230を近位端へ移動させ、接続先端230が外嵌孔430に伸び込まれる場合、接続先端230が外嵌孔430の内壁から弾性部450へ外向きの押出力を与え、弾性部450が拡張され、接続管120及び制限凸部410が外嵌孔430を通り抜けることができ、この時、接続管120の近位端とシース210の遠位端とを分離すると、接続管120とシース210との接続関係が解除され、次に接続先端230が近位端へ移動し続け、接続先端230が外嵌孔430から離れ、弾性部450が反発し、シース210及び弾性部450が次回の接続管120との接続に用意される。
本実施例では、接続管120に制限凹部240及び制限凸部410が同時に設けられ、弾性部450に制限凹部240及び制限凸部410が同時に設けられ、制限凹部240と制限凸部410とが係止して接続を完了する。しかしながら、これに限らず、接続管120に制限凹部240が設けられ、弾性部450に制限凸部410が設けられ、又は、接続管120に制限凸部410が設けられ、弾性部450に制限凹部240が設けられてもよい。
実施例12
実施例12と実施例5との相違点は以下のとおりである。
図43に示すように、弾性リング400と制限凸部410とが分離式である。制限凸部410が係止、溶接、接着又は他の接続方式で弾性リング400に取り付けられる。
以上の実施例の各技術的特徴を任意に組み合わせてもよく、説明を簡潔にするために、上記実施例の各技術的特徴のすべての可能な組み合わせを説明しないが、矛盾しない限り、これらの技術的特徴の組み合わせは、いずれも本明細書に記載の範囲に含まれると見なされるべきである。
以上の実施例は本発明のいくつかの実施形態を説明するためのものであり、その説明がより具体的且つ詳細であるが、本発明の範囲を制限するためのものではない。説明すべきことは、当業者であれば、本発明の構想を逸脱せずに、更に種々の変形や改良を行うことができ、これらの変形や改良はいずれも本発明の保護範囲に属する。従って、本発明の保護範囲は特許請求の範囲に準じるべきである。
100 端部操作装置
110 挟持片
111 ロック凸部
112 後部挟持部
113 結紮歯
114 接続孔
115 係着孔
120 接続管
121 制限孔
122 ロック凹部
123 阻止部
130 接続ピン
140 位置決め溝
150 位置決めリング
200 輸送装置
210 シース
220 心軸
230 接続先端
231 膨大部
232 凹溝部
233 案内部
240 制限凹部
250 エンドカバー
270 制限段差
300 制御装置
310 ハンドル
320 摺動部
400 弾性リング
410 制限凸部
420 制限部
430 外嵌孔
440 欠け口
450 弾性部
460 ハーフリング
500 組み立てケース
510 収納部分
511 クリップ収納室
512 接続管収納室
513 位置決め凸部
520 締め付け部分
521 シース収納室
522 挟持弁

Claims (20)

  1. 端部操作機器であって、
    クリップ、弾性部及び接続管を備え、前記弾性部に外嵌孔が設けられ、前記弾性部に制限凸部が設けられ、前記クリップが前記接続管に取り付けられ、前記接続管に通路が設けられる端部操作装置と、
    シース及び心軸を備え、前記シースに通路が設けられ、前記心軸が前記シースの通路内に設けられ、前記心軸の遠位端に接続先端が設けられ、前記シースに制限凹部が設けられる輸送装置と、を備え、
    前記シースが前記弾性部の外部に被装される場合、前記接続先端が前記外嵌孔に伸び込み又は前記外嵌孔を離れることができ、前記接続先端が前記外嵌孔に伸び込まれる場合、前記弾性部が外向きに拡張し、前記制限凸部が前記制限凹部に伸び込まれ、前記接続先端が前記外嵌孔を離れる場合、前記弾性部が反発し、前記制限凸部が前記制限凹部を離れることを特徴とする端部操作機器。
  2. 前記弾性部が接続管の近位端の管壁に設けられ、弾性部と接続管が一体であることを特徴とする請求項1に記載の端部操作機器。
  3. 前記弾性部が弾性リングを備え、前記弾性リングが前記接続管の通路内に設けられ、前記弾性リングに前記外嵌孔及び前記制限凸部が設けられ、前記外嵌孔が前記接続管の通路に連通しており、前記接続管の管壁に制限孔が設けられ、前記制限孔が前記制限凸部に対応することを特徴とする請求項1に記載の端部操作機器。
  4. 前記弾性リングに欠け口が設けられることを特徴とする請求項3に記載の端部操作機器。
  5. 前記クリップの近位端が前記接続管の通路に伸び込まれ、前記クリップの近位端に係着孔が設けられ、前記係着孔が前記接続管の通路に連通しており、前記接続先端の遠位端に係着部が設けられ、前記係着部が前記係着孔に係合され、前記係着部が凹溝部及び膨大部を備え、前記凹溝部が前記膨大部と前記接続先端との間に位置し、前記膨大部の最大幅が前記凹溝部の最小幅より大きく、前記膨大部の最大幅が前記係着孔の最小幅より大きく、前記膨大部の遠位端に案内部が設けられ、前記案内部の横断面が近位端から遠位端へ徐々に減少することを特徴とする請求項1に記載の端部操作機器。
  6. 端部操作機器であって、
    接続管及び前記接続管に取り付けられるクリップを備え、前記接続管に通路が設けられ、前記接続管の内壁に制限凹部が設けられる端部操作装置と、
    シース及び心軸を備え、前記シースに通路が設けられ、前記心軸が前記シースの通路内に設けられ、前記心軸の遠位端に接続先端が設けられ、前記シースの遠位端に弾性部が設けられ、前記弾性部に外嵌孔が設けられ、前記外嵌孔が前記シースの通路に連通しており、前記弾性部に制限凸部が設けられる輸送装置と、を備え、
    前記弾性部が前記接続管の通路に伸び込まれる場合、前記接続先端が前記外嵌孔に伸び込み又は前記外嵌孔を離れることができ、前記接続先端が前記外嵌孔に伸び込まれる場合、前記弾性部を押し出して外向きに拡張させ、前記制限凸部が前記制限凹部に伸び込まれ、前記接続先端が前記外嵌孔を離れる場合、前記弾性部が反発し、前記制限凸部が前記制限凹部を離れることを特徴とする端部操作機器。
  7. 前記弾性部がシースの遠位端の管壁に設けられ、弾性部とシースが一体であることを特徴とする請求項6に記載の端部操作機器。
  8. 前記弾性部が弾性リングを備え、前記弾性リングが前記シースの遠位端に設けられ、前記弾性リングが前記シースの通路内に設けられ、前記弾性リングに前記外嵌孔及び前記制限凸部が設けられ、前記シースの管壁に制限孔が設けられ、前記制限孔が前記制限凸部に対応することを特徴とする請求項6に記載の端部操作機器。
  9. 前記弾性リングに欠け口が設けられることを特徴とする請求項8に記載の端部操作機器。
  10. 前記クリップの近位端が前記接続管の通路に伸び込まれ、前記クリップの近位端に係着孔が設けられ、前記係着孔が前記接続管の通路に連通しており、前記接続先端の遠位端に係着部が設けられ、前記係着部が前記係着孔に係合され、前記係着部が凹溝部及び膨大部を備え、前記凹溝部が前記膨大部と前記接続先端との間に位置し、前記膨大部の最大幅が前記凹溝部の最小幅より大きく、前記膨大部の最大幅が前記係着孔の最小幅より大きく、前記膨大部の遠位端に案内部が設けられ、前記案内部の横断面が近位端から遠位端へ徐々に減少することを特徴とする請求項6に記載の端部操作機器。
  11. クリップと、前記クリップにドッキングされる弾性部と、接続管とを備え、前記弾性部に外嵌孔が設けられ、前記弾性部に制限凸部が設けられ、前記クリップが前記接続管に取り付けられ、前記接続管に通路が設けられ、
    前記弾性部が前記外嵌孔の内側から与えた押出力を受けると、前記弾性部が外向きに拡張し、前記弾性部の受けた前記外嵌孔から与えた押出力が解除されると、前記弾性部が反発することを特徴とする端部操作装置。
  12. 前記弾性部が接続管の近位端の管壁に設けられ、弾性部と接続管が一体であることを特徴とする請求項11に記載の端部操作装置。
  13. 前記弾性部が弾性リングを備え、前記弾性リングが前記接続管の通路内に設けられ、前記弾性リングに前記外嵌孔及び前記制限凸部が設けられ、前記外嵌孔が前記接続管の通路に連通しており、前記接続管の管壁に制限孔が設けられ、前記制限孔が前記制限凸部に対応することを特徴とする請求項11に記載の端部操作装置。
  14. 前記弾性リングに欠け口が設けられることを特徴とする請求項13に記載の端部操作装置。
  15. 前記クリップの近位端が前記接続管の通路に伸び込まれ、前記クリップの近位端に係着孔が設けられ、前記係着孔が前記接続管の通路に連通しており、前記クリップが2つの挟持片を備え、前記挟持片の近位端に後部挟持部が設けられ、2つの前記後部挟持部の間に隙間が設けられ、2つの前記後部挟持部の間の隙間が前記係着孔をなすことを特徴とする請求項11に記載の端部操作装置
  16. シース及び心軸を備え、前記シースに通路が設けられ、前記心軸が前記シースの通路内に設けられ、前記心軸の遠位端に接続先端が設けられ、前記シースの遠位端に弾性部が設けられ、前記弾性部に外嵌孔が設けられ、前記外嵌孔が前記シースの通路に連通しており、前記弾性部に制限凸部が設けられ、
    前記接続先端が前記外嵌孔に伸び込み又は前記外嵌孔を離れることができ、前記接続先端が前記外嵌孔に伸び込まれる場合、前記弾性部が外向きに拡張し、前記接続先端が前記外嵌孔を離れる場合、前記弾性部が反発することを特徴とする輸送装置。
  17. 前記弾性部がシースの遠位端の管壁に設けられ、弾性部とシースが一体であることを特徴とする請求項16に記載の輸送装置。
  18. 前記シースの管壁に制限孔が設けられ、前記弾性部が弾性リングを備え、前記弾性リングが前記シースの通路内に設けられ、前記弾性リングに前記外嵌孔及び前記制限凸部が設けられ、前記制限孔が前記制限凸部に対応することを特徴とする請求項16に記載の輸送装置。
  19. 前記弾性リングに欠け口が設けられることを特徴とする請求項18に記載の輸送装置。
  20. 前記接続先端の遠位端に係着部が設けられ、前記係着部が凹溝部及び膨大部を備え、前記凹溝部が前記膨大部と前記接続先端との間に位置し、前記膨大部の最大幅が前記凹溝部の最小幅より大きく、前記膨大部の遠位端に案内部が設けられ、前記案内部の横断面が近位端から遠位端へ徐々に減少することを特徴とする請求項16に記載の輸送装置。
JP2019560289A 2017-05-04 2017-05-04 端部操作機器、端部操作装置、輸送装置及び組み立てケース Active JP6875552B2 (ja)

Applications Claiming Priority (1)

Application Number Priority Date Filing Date Title
PCT/CN2017/083092 WO2018201406A1 (zh) 2017-05-04 2017-05-04 端部执行器械、端部执行装置、输送装置、及装配盒

Publications (2)

Publication Number Publication Date
JP2020518390A JP2020518390A (ja) 2020-06-25
JP6875552B2 true JP6875552B2 (ja) 2021-05-26

Family

ID=64016870

Family Applications (1)

Application Number Title Priority Date Filing Date
JP2019560289A Active JP6875552B2 (ja) 2017-05-04 2017-05-04 端部操作機器、端部操作装置、輸送装置及び組み立てケース

Country Status (6)

Country Link
US (1) US11259815B2 (ja)
EP (1) EP3603536A4 (ja)
JP (1) JP6875552B2 (ja)
CN (4) CN110799130B (ja)
AU (1) AU2017412462B2 (ja)
WO (1) WO2018201406A1 (ja)

Families Citing this family (17)

* Cited by examiner, † Cited by third party
Publication number Priority date Publication date Assignee Title
JP6875552B2 (ja) * 2017-05-04 2021-05-26 杭州安杰思医学科技股▲ふん▼有限公司Hangzhou AGS MedTech Co.,Ltd. 端部操作機器、端部操作装置、輸送装置及び組み立てケース
WO2018227592A1 (zh) * 2017-06-16 2018-12-20 杭州安杰思医学科技有限公司 结扎装置、解锁方法、及结扎器械
US11076885B2 (en) * 2017-10-30 2021-08-03 Ocean Medical, Llc Catheter removal instruments and methods
CN118557249A (zh) * 2018-12-11 2024-08-30 奥林巴斯株式会社
CN217066505U (zh) * 2018-12-27 2022-07-29 奥林巴斯株式会社 医疗设备
EP3725244A1 (en) * 2019-04-17 2020-10-21 Micro-Tech (Nanjing) Co., Ltd. Medical device for causing the hemostasis of a blood vessel
EP3975879B1 (en) * 2019-05-28 2024-10-30 Boston Scientific Scimed, Inc. Hemostasis clip deployment
CN112137672B (zh) * 2019-06-28 2024-11-29 南微医学科技股份有限公司 用于通过内窥镜的组织夹闭装置
CN110292411B (zh) * 2019-08-06 2024-04-16 南微医学科技股份有限公司 一种组织夹闭装置
CN110638487A (zh) * 2019-10-25 2020-01-03 安瑞医疗器械(杭州)有限公司 一种内镜下使用的可旋转刮勺
CN110613495B (zh) * 2019-10-29 2025-09-16 南微医学科技股份有限公司 一种医用止血夹
CN114554981B (zh) * 2019-11-13 2023-08-22 杭州安杰思医学科技股份有限公司 一种端部执行器械
US12446878B2 (en) 2019-11-14 2025-10-21 Hangzhou Ags Medtech Co., Ltd. Multi-processing device for an endoscope and use method thereof
CN111658058B (zh) * 2020-06-29 2022-09-13 安瑞医疗器械(杭州)有限公司 配合内窥镜使用的夹子装置及其夹持部
CN113967048A (zh) * 2020-07-24 2022-01-25 拓普微创医疗科技常州有限公司 套扎件
US12426882B2 (en) * 2022-03-01 2025-09-30 Olympus Medical Systems Corp. Clip unit, clip delivery device, and loading method of clip unit
EP4545018A4 (en) * 2023-03-10 2026-02-11 Jiangsu Vedkang Medical Science And Tech Co Ltd HEMOSTATIC CLIP SET AND HEMOSTATIC CLIP INCLUDING IT

Family Cites Families (41)

* Cited by examiner, † Cited by third party
Publication number Priority date Publication date Assignee Title
US5797939A (en) 1989-12-05 1998-08-25 Yoon; Inbae Endoscopic scissors with longitudinal operating channel
US6911032B2 (en) 1999-11-18 2005-06-28 Scimed Life Systems, Inc. Apparatus and method for compressing body tissue
US7094245B2 (en) 2001-10-05 2006-08-22 Scimed Life Systems, Inc. Device and method for through the scope endoscopic hemostatic clipping
US7727247B2 (en) * 2002-08-21 2010-06-01 Olympus Corporation Living tissue ligation device
JP4242614B2 (ja) 2002-08-21 2009-03-25 オリンパス株式会社 生体組織の結紮装置
EP3878381A3 (en) 2003-09-30 2021-11-10 Boston Scientific Scimed, Inc. Through the scope tension member release clip
JP4273040B2 (ja) * 2004-05-24 2009-06-03 Hoya株式会社 内視鏡用クリップ装置
CN100475165C (zh) 2004-12-07 2009-04-08 奥林巴斯株式会社 用于内窥镜的处理装置系统和包括处理装置的壳
JP4758173B2 (ja) * 2004-12-24 2011-08-24 オリンパス株式会社 結紮装置
US8157837B2 (en) 2006-03-13 2012-04-17 Pneumrx, Inc. Minimally invasive lung volume reduction device and method
EP2020925B1 (en) * 2006-06-01 2013-07-10 Cook Medical Technologies LLC Release mechanisms for a clip device
US8162959B2 (en) * 2007-05-03 2012-04-24 Boston Scientific Scimed, Inc. Single stage hemostasis clipping device
JP5246394B2 (ja) 2007-11-28 2013-07-24 住友ベークライト株式会社 クリップ、クリップユニット及びクリップ装置
WO2009136397A2 (en) * 2008-05-05 2009-11-12 Niti Surgical Solutions Ltd Endoscopic compression clip and system and method for use thereof
US9173669B2 (en) 2008-09-12 2015-11-03 Pneumrx, Inc. Enhanced efficacy lung volume reduction devices, methods, and systems
EP2467069A1 (en) 2009-08-19 2012-06-27 Boston Scientific Scimed, Inc. Multifunctional core for two-piece hemostasis clip
JP5588711B2 (ja) * 2010-03-30 2014-09-10 富士フイルム株式会社 結紮装置
EP2615987B1 (en) 2010-09-14 2014-05-14 Boston Scientific Scimed, Inc. Release mechanism for hemostasis clip
JP5343113B2 (ja) * 2011-09-15 2013-11-13 富士フイルム株式会社 クリップユニット及びこれを用いる結紮装置
WO2013067662A1 (zh) 2011-11-11 2013-05-16 Zhu Jian 一种夹持或结扎装置
EP2591736A1 (en) * 2011-11-14 2013-05-15 Anrei Medical (HZ) Co., Ltd. Clip apparatus for ligature of living tissue
CN102525593B (zh) * 2012-01-20 2015-02-25 东南大学 一种夹子控制单元及与其配合使用的夹子单元
CN202477780U (zh) 2012-01-20 2012-10-10 东南大学 一种夹子控制单元及与其配合使用的夹子单元
EP2846710B1 (en) 2012-05-09 2016-07-13 Boston Scientific Scimed, Inc. Bushing arm deformation mechanism
CN202699217U (zh) * 2012-05-28 2013-01-30 杭州安杰思医学科技有限公司 带推送器可重复开合的止血夹
CN202699219U (zh) * 2012-07-05 2013-01-30 安瑞医疗器械(杭州)有限公司 一种组织止血夹持装置
US20140088616A1 (en) 2012-09-24 2014-03-27 Boston Scientific Scimed, Inc. Release mechanism for hemostatic clip
US10524786B2 (en) * 2013-05-14 2020-01-07 Mubashir H. Khan Spring-closing endoscopic clip where the spring action can also reverse the clip prior anytime before full ejection
CN103315792B (zh) * 2013-06-29 2015-06-03 安瑞医疗器械(杭州)有限公司 一种夹持装置及其夹钳部
CN203506934U (zh) * 2013-09-04 2014-04-02 杭州启明医疗器械有限公司 用于介入器械输送的鞘芯及具有该鞘芯的输送系统
WO2016063679A1 (ja) 2014-10-24 2016-04-28 株式会社カネカ 内視鏡用クリップ装置および体内留置用クリップの取り付け方法
CN107405046B (zh) * 2015-03-31 2019-07-19 住友电木株式会社 内窥镜用夹具装置及夹具
WO2017015033A1 (en) 2015-07-20 2017-01-26 Boston Scientific Scimed, Inc. Reloadable mechanical device for ligating living tissue and achieving hemostasis
CN107072667B (zh) 2015-10-23 2020-04-07 杭州安杰思医学科技股份有限公司 结扎装置
JP6274233B2 (ja) 2016-02-23 2018-02-07 住友ベークライト株式会社 クリップカートリッジシステム
EP3487422B1 (en) 2016-08-22 2021-11-03 Boston Scientific Limited Hemostasis reloadable clipping device with sleeve engagement
CN106419992B (zh) * 2016-10-28 2023-10-24 上海威尔逊光电仪器有限公司 一种夹持装置及其操作方法
WO2018097972A1 (en) 2016-11-22 2018-05-31 Boston Scientific Limited Hemostasis reloadable clip release mechanism
AU2017372846B2 (en) 2016-12-06 2020-02-06 Boston Scientific Scimed, Inc. Compressive coupler for reloadable hemostasis clipping device
JP6875552B2 (ja) * 2017-05-04 2021-05-26 杭州安杰思医学科技股▲ふん▼有限公司Hangzhou AGS MedTech Co.,Ltd. 端部操作機器、端部操作装置、輸送装置及び組み立てケース
WO2018227592A1 (zh) * 2017-06-16 2018-12-20 杭州安杰思医学科技有限公司 结扎装置、解锁方法、及结扎器械

Also Published As

Publication number Publication date
CN108784773B (zh) 2020-05-22
CN111419327B (zh) 2022-03-18
CN110799130A (zh) 2020-02-14
CN116942242A (zh) 2023-10-27
EP3603536A4 (en) 2020-07-29
EP3603536A1 (en) 2020-02-05
US11259815B2 (en) 2022-03-01
AU2017412462A1 (en) 2019-11-21
WO2018201406A1 (zh) 2018-11-08
CN110799130B (zh) 2023-09-15
CN111419327A (zh) 2020-07-17
US20200060685A1 (en) 2020-02-27
AU2017412462B2 (en) 2021-03-25
CN108784773A (zh) 2018-11-13
JP2020518390A (ja) 2020-06-25

Similar Documents

Publication Publication Date Title
JP6875552B2 (ja) 端部操作機器、端部操作装置、輸送装置及び組み立てケース
US12076023B2 (en) Hemostatic clipping devices and methods
JP4126569B2 (ja) 端面−側面吻合術を容易化するための装置
ES2881527T3 (es) Grapa quirúrgica de liberación por resorte
CN109640841B (zh) 带套管接合的止血可再装载夹持装置
US11350947B2 (en) Ligation device, unlocking method and ligation instrument
EP1882451B1 (en) Clip apparatus for ligaturing living tissue
US9545258B2 (en) Tissue aperture securing and sealing apparatuses and related methods of use
EP2327364B1 (en) Ligation apparatus
EP3298971B1 (en) Clip device
US20020177861A1 (en) Clip device of endoscope
JP2019524281A (ja) 外科用結紮クリップ
CN112137672A (zh) 用于通过内窥镜的组织夹闭装置
CN107072668A (zh) 软组织夹
CN107847684B (zh) 透析针
CN208355513U (zh) 结扎装置及结扎器械
WO2021083297A1 (zh) 介入器械释放控制机构、释放方法以及介入器械输送系统
JPH024384A (ja) クランプ
CN202699219U (zh) 一种组织止血夹持装置
US10426243B2 (en) Hair fastener
JP2000287981A (ja) 生体腔内留置クリップ
CN210644111U (zh) 用于通过内窥镜的组织夹闭装置
CN114901158A (zh) 内窥镜用多发处理装置及其使用方法
KR20200085011A (ko) 내시경용 클립장치
CN215960105U (zh) 适用于荷包缝合的医用钛夹

Legal Events

Date Code Title Description
A521 Request for written amendment filed

Free format text: JAPANESE INTERMEDIATE CODE: A523

Effective date: 20191101

A621 Written request for application examination

Free format text: JAPANESE INTERMEDIATE CODE: A621

Effective date: 20191101

A977 Report on retrieval

Free format text: JAPANESE INTERMEDIATE CODE: A971007

Effective date: 20201020

A131 Notification of reasons for refusal

Free format text: JAPANESE INTERMEDIATE CODE: A131

Effective date: 20201027

A601 Written request for extension of time

Free format text: JAPANESE INTERMEDIATE CODE: A601

Effective date: 20210115

A521 Request for written amendment filed

Free format text: JAPANESE INTERMEDIATE CODE: A523

Effective date: 20210305

TRDD Decision of grant or rejection written
A01 Written decision to grant a patent or to grant a registration (utility model)

Free format text: JAPANESE INTERMEDIATE CODE: A01

Effective date: 20210406

A61 First payment of annual fees (during grant procedure)

Free format text: JAPANESE INTERMEDIATE CODE: A61

Effective date: 20210422

R150 Certificate of patent or registration of utility model

Ref document number: 6875552

Country of ref document: JP

Free format text: JAPANESE INTERMEDIATE CODE

Ref document number: 6875552

Country of ref document: JP

Free format text: JAPANESE INTERMEDIATE CODE: R150

R250 Receipt of annual fees

Free format text: JAPANESE INTERMEDIATE CODE: R250

R250 Receipt of annual fees

Free format text: JAPANESE INTERMEDIATE CODE: R250