JP6830382B2 - 食品容器 - Google Patents

食品容器 Download PDF

Info

Publication number
JP6830382B2
JP6830382B2 JP2017052732A JP2017052732A JP6830382B2 JP 6830382 B2 JP6830382 B2 JP 6830382B2 JP 2017052732 A JP2017052732 A JP 2017052732A JP 2017052732 A JP2017052732 A JP 2017052732A JP 6830382 B2 JP6830382 B2 JP 6830382B2
Authority
JP
Japan
Prior art keywords
food container
wall
wall portion
extruded
thickness
Prior art date
Legal status (The legal status is an assumption and is not a legal conclusion. Google has not performed a legal analysis and makes no representation as to the accuracy of the status listed.)
Active
Application number
JP2017052732A
Other languages
English (en)
Other versions
JP2018154365A (ja
Inventor
青木 健一郎
健一郎 青木
直史 溝邊
直史 溝邊
Current Assignee (The listed assignees may be inaccurate. Google has not performed a legal analysis and makes no representation or warranty as to the accuracy of the list.)
Sekisui Kasei Co Ltd
Original Assignee
Sekisui Kasei Co Ltd
Priority date (The priority date is an assumption and is not a legal conclusion. Google has not performed a legal analysis and makes no representation as to the accuracy of the date listed.)
Filing date
Publication date
Application filed by Sekisui Kasei Co Ltd filed Critical Sekisui Kasei Co Ltd
Priority to JP2017052732A priority Critical patent/JP6830382B2/ja
Publication of JP2018154365A publication Critical patent/JP2018154365A/ja
Application granted granted Critical
Publication of JP6830382B2 publication Critical patent/JP6830382B2/ja
Active legal-status Critical Current
Anticipated expiration legal-status Critical

Links

Images

Landscapes

  • Containers Having Bodies Formed In One Piece (AREA)

Description

本発明は、食品容器に関する。
冷凍食品を皿等の食器に開けて、電子レンジで加熱して調理するときに、冷凍食品が収容されている容器から冷凍食品を容易に取り出せないことがよくある。
このような場合、容器に外力を加えて強引に冷凍食品を取り出すことになるが、その結果、冷凍食品が変形してしまったり、切断されてしまったりして、料理の外観を損ねてしまう。また、冷凍食品を取り出した後の容器内に、冷凍食品の一部が残ってしまうこともある。
そこで、特許文献1には、容器の底面を破断して凹陥部内に外気を導入することにより収容された豆腐を取り出すことができる容器が開示されている。
実開平2−135419号公報
しかしながら、特許文献1の技術は、容器の一部を破断して収容物を取り出すため、収容物が破損してしまったり、指が直接収容物に触れてしまったりすることがある。
そこで、本発明は、容器の一部を破断することなく、収容空間に収容された収容物を容易に取り出すことができる食品容器を目的とする。
上記課題を解決するために、本発明は以下の手段を提供する。
[1]底壁と前記底壁の周縁から立ち上がる側壁とを備え、前記側壁の上端で囲まれた開口部が形成され、内部に収容空間が形成された容器において、前記底壁には、任意の領域を囲み、前記底壁の一方の面に突出する段部と、前記段部の突出端間に形成された押出壁部とを備え、前記押出壁部を前記収容空間方向に押圧したときに、前記押出壁部が前記収容空間内に撓むことを特徴とする、食品容器。
[2]平面視において、前記段部は前記押出壁部の周縁を周回していることを特徴とする、[1]に記載の食品容器。
[3]前記押出壁部と前記段部との境界は、前記押出壁部の厚み及び前記段部の厚みよりも薄肉に形成されたヒンジ部を備えることを特徴とする、[1]又は[2]に記載の食品容器。
[4]前記底壁には、前記側壁の下端と前記段部の基端との間に低位壁部が形成され、前記低位壁部には、前記段部の突出方向に隆起する隆起部が形成されていることを特徴とする、[1]〜[3]のいずれかに記載の食品容器。
[5]前記段部は、前記収容空間方向に突出し、前記押出壁部は、その周縁から中心に向かうに従い、前記開口部から離れる方向に膨出することを特徴とする、[1]〜[4]に記載の食品容器。
[6]前記側壁の上端には、外方へ張り出す把持部が設けられていることを特徴とする、[1]〜[5]のいずれかに記載の食品容器。
[7]前記押出壁部は、平面視円形であることを特徴とする、[1]〜[6]のいずれかに記載の食品容器。
本発明の食品容器によれば、収容空間に収容された収容物を容易に取り出すことができる。
本発明の一実施形態にかかる食品容器の斜視図である。 本発明の一実施形態にかかる食品容器の平面図である。 本発明の一実施形態にかかる食品容器の側面図である。 本発明の一実施形態にかかる食品容器のA−A’断面図である。 本発明の押出壁部を押圧した状態における食品容器のA−A’断面図である。 図4の領域Sの拡大図である。 本発明の別の実施形態にかかる図4の領域Sの拡大図である。
本発明の食品容器は、底壁と側壁とを備える。
以下、本発明の一実施形態にかかる食品容器について、図面を用いて説明する。
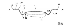
図1〜5に示すように、食品容器1は、平面視略正方形の底壁10と底壁10の周縁から立ち上がる側壁20とを備える。食品容器1には、側壁20の上端で囲まれた開口部30が形成されている。食品容器1の内部には、収容空間40が形成されている。
側壁20は上端に向かうに従い、外側に広がるように形成されている。側壁20の上端で囲まれた開口部30は、平面視略正方形である。
側壁20の上端には、外方へ張り出す把持部21が設けられている。把持部21は、開口部30を周回する。把持部21の外周は、各辺の中央付近が外方へ張り出すように形成されている。把持部21の外端には、底壁10方向に屈曲し、次いで外方に延びる段差22が形成されている。
図2〜5に示すように、底壁10には、開口部30の方向に突出する段部12が形成されている。段部12は、底壁10の領域Pを囲んでいる。段部12の突出端間には、押出壁部11が形成されている。段部12の突出端とは、段部12のうち開口部30の方向に突出した端部のことをいい、段部12の突出端間とは、これらの突出端で囲まれた領域のことをいう。
押出壁部11は、平面視円形である。
押出壁部11と段部12の境界には、開口部30方向に突出する凸条15が形成されている。凸条15は、押出壁部11の周縁を周回する。押出壁部11は、その周縁から中心に向かうに従い、開口部30から離れる方向に膨出している。
図6に示すように、凸条15は、段部12の上端から開口部30方向に立ち上がり、次いで、底壁10方向に折り返されてなる。この凸条15の突端は、押出壁部11の厚みT1及び段部12の厚みT2よりも薄肉に形成されたヒンジ部Hとされている。ヒンジ部Hは、押出壁部11の周縁に沿って周回するように形成されている。ヒンジ部Hは、平面視円形である。
また、例えば、図7に示すように、凸条15は、押出壁部11の先端と段部12の先端との間が薄肉に形成されて、ヒンジ部Hとされていてもよい。
底壁10には、側壁20の下端と段部12の基端との間に低位壁部13が形成されている。低位壁部13は、段部12の基端を囲むように平面視略正方形に形成されている。
低位壁部13の各辺の中央付近には、段部12の突出方向に隆起する隆起部14が1個ずつ計4個形成されている。隆起部14は、平面視において、低位壁部13の周回方向を長手とする略長方形である。隆起部14は、低位壁部13における周回方向の両端から中央に向かうに従い、開口部30方向に膨出している。隆起部14の高さは、ヒンジ部Hよりも低く形成されている。
食品容器1の大きさは、収容される収容物の大きさに応じて適宜決定され、例えば、開口部30の大きさは、縦5〜30cm×横5〜30cmとされる。側壁20の高さは、1〜5cm程度とされる。
図6〜7に示すように、押出壁部11の厚みT1は、食品容器1の強度を勘案して、例えば、0.2〜2.0mmの範囲で適宜決定される。厚みT1は、ノギスで測定された任意の10点の値の平均値である。
段部12の厚みT2は、押出壁部11の厚みT1と同様である。段部12の厚みT2と押出壁部11の厚みT1とは同じでもよいし異なってもよい。厚みT2は、厚みT1と同様に測定される。
ヒンジ部Hの厚みT3は、押出壁部11の厚みT1及び段部12の厚みT2よりも薄く、例えば、0.1〜1.5mmの範囲で適宜決定される。厚みT3は、厚みT1と同様に測定される。厚みT3は、ヒンジ部Hの収容空間40側の上面の基準面と、開口部30から離れる方向の下面の基準面までの距離である。
低位壁部13、側壁20、把持部21、段差22の厚みTは、食品容器1の強度を勘案して、例えば、0.2〜2.0mmの範囲で適宜決定される。厚みTは、厚みT1と同様に測定される。厚みTは、厚みT1と同様である。厚みTと厚みT1とは、同じでもよいし異なってもよい。
本発明の食品容器1(以下、単に「容器」ともいう。)の材質は、特に限定されず、弾性を有する材質であればよい。食品容器1の材質としては、例えば、発泡樹脂、非発泡樹脂、ゴム、厚紙等が挙げられ、食品の剥がれやすさの観点から、発泡樹脂であることが好ましい。
食品容器1の材質が発泡樹脂の場合、食品容器1は、熱可塑性樹脂発泡シート(以下、単に「発泡シート」ともいう。)が加熱成形されてなるものであることが好ましい。熱可塑性樹脂としては、ポリエチレン系樹脂、ポリプロピレン系樹脂、ポリスチレン系樹脂、ポリエチレンテレフタレート系樹脂等が挙げられる。中でも、耐冷凍性及び断熱性の向上を図る観点からは、ポリプロピレン系樹脂が好ましい。
ポリプロピレン系樹脂としては、プロピレンの単独重合体(ホモポリプロピレン)又はその他の単量体との共重合体、或いはこれらの混合物等が挙げられる。
ポリプロピレン系樹脂としては、プロピレンに基づく構成単位が、前記ポリプロピレン系樹脂の全構成単位に対して50質量%以上含まれるものが好ましく、70質量%以上含まれるものがより好ましく、80質量%以上含まれるものがさらに好ましい。また、100質量%であってもよい。
前記その他の単量体としては、例えば、エチレン、1−ブチレン、1−ペンチン、1−ヘキセン等のプロピレン以外のα‐オレフィンが好ましい。
前記共重合体としては、例えば、プロピレンとその他の単量体とのブロック共重合体、プロピレンとその他の単量体とのランダム共重合体が挙げられる。
前記その他の単量体は、1種類でもよいし、2種類以上でもよい。
前記共重合体としては、例えば、エチレン−プロピレンブロック共重合体、エチレン−プロピレンランダム共重合体、プロピレン−ブテンブロック共重合体、プロピレン−ブテンランダム共重合体、エチレン−プロピレン−ブテン三元共重合体等のプロピレン系共重合体等が挙げられる。
発泡シートを構成する熱可塑性樹脂には、エチレン−α‐オレフィン共重合体が含まれることが好ましい。
前記エチレン−α‐オレフィン共重合体を構成するα‐オレフィンは、プロピレンであってもよいし、プロピレン以外のα‐オレフィンであってもよい。
前記熱可塑性樹脂の総質量に対する、前記エチレン−α‐オレフィン共重合体の含有量は、1〜30質量%が好ましく、1〜20質量%がより好ましく、1〜15質量%がさらに好ましい。
上記範囲の下限値以上であると、発泡シートに構造的な柔軟性を与え、当該発泡シートからなる容器の耐冷凍性をより高めることができる。
上記範囲の上限値以下であると、発泡シート及び当該発泡シートからなる容器の耐熱性が劣化することを抑制することができる。
発泡シートを構成する熱可塑性樹脂には、上記ポリプロピレン系樹脂以外の樹脂が添加されてもよい。
ポリプロピレン系樹脂以外の樹脂としては、例えば、ポリエチレン系樹脂、ポリブタジエン系樹脂、オレフィン系熱可塑性エラストマー、スチレン系熱可塑性エラストマー等、が挙げられる。
発泡シートには、上記熱可塑性樹脂以外に、発泡剤、気泡調整剤、架橋剤、充填剤、難燃剤、難燃助剤、滑剤(炭化水素、脂肪酸系、脂肪酸アミド系、エステル系、アルコール系、金属石鹸、シリコーン油、低分子ポリエチレン等のワックス等)、展着剤(流動パラフィン、ポリエチレングリコール、ポリブテン等)、着色剤等の添加剤が含まれてもよい。これらのなかでも、発泡剤、気泡調整剤が含まれることが好ましい。
前記発泡剤としては、公知の発泡剤が挙げられ、例えば、プロパン、ノルマルブタン、イソブタン、ノルマルペンタン、イソペンタン、ネオペンタン、シクロペンタン、シクロペンタジエン、ヘキサン等の炭化水素、アセトン、メチルエチルケトン等のケトン類、メタノール、エタノール、イソプロピルアルコール等のアルコール類、ジメチルエーテル、ジエチルエーテル、ジプロピルエーテル、メチルエチルエーテル、石油エーテル等のエーテル化合物、二酸化炭素、窒素、アンモニア、水等が挙げられる。
また、前記発泡剤として、アゾジカルボンアミド、ジニトロソペンタメチレンテトラミン、炭酸水素ナトリウム、クエン酸等の有機酸又はその塩と炭酸水素ナトリウム(重曹)との混合物等の分解性の発泡剤が用いられてもよい。
これらの発泡剤は、いずれか1種が単独で用いられてもよいし、2種以上が組み合わされて用いられてもよい。
前記発泡剤としては、炭化水素が好ましい。炭化水素のなかでも、ノルマルブタン、イソブタン、ノルマルペンタン、イソペンタンまたはこれらの混合物が好ましい。
前記気泡調整剤としては、例えば、タルク、炭酸水素ナトリウム、炭酸水素アンモニウム、炭酸カルシウム、クレー、アゾジカルボンアミド、ジニトロソペンタメチレンテトラミン、炭酸水素ナトリウム、クエン酸等の有機酸又はその塩と炭酸水素ナトリウム(重曹)との混合物等の分解性の発泡剤等が挙げられる。なかでも、クエン酸等の有機酸又はその塩と炭酸水素ナトリウム(重曹)との混合物が好ましい。
気泡調整剤は、いずれか1種が単独で用いられてもよいし、2種以上が組み合わされて用いられてもよい。
発泡シートは、発泡樹脂層のみからなる単層構造であってもよいし、発泡樹脂層の少なくとも一方の面に非発泡樹脂層等が設けられた積層構造であってもよい。
前記発泡シートの厚みは、0.3〜3.0mmが好ましく、0.5〜2.5mmがより好ましく、0.7〜2.0mmがさらに好ましい。
上記範囲の下限値以上であると、断熱性をより向上させることができる。
上記範囲の上限値以下であると、発泡倍率を制御し易く、均質な容器を容易に製造することができる。
ここで、前記発泡シートの厚みは、その幅方向(TD方向)に50mm間隔でシックネスゲージによって測定した厚みの算術平均値である。
前記発泡シートの坪量は、100〜600g/mが好ましく、150〜500g/mがより好ましく、200〜400g/mがさらに好ましい。
上記範囲の下限値以上であると、断熱性をより向上させることができる。
上記範囲の上限値以下であると、発泡倍率を制御し易く、均質な容器を容易に製造することができる。
前記発泡シートの厚み及び坪量は、上記の好適な厚みと坪量の任意の組み合わせであることが好ましい。
上記の組み合わせであると、容器の強度と軽量性を両立することができる。
本発明において、発泡シートの製造方法は特に限定されず、例えば公知の押出法が適用される。
押出法としては、例えば、発泡シートを構成する上述の熱可塑性樹脂、添加剤及び発泡剤を溶融混練して溶融樹脂を得る工程と、前記溶融樹脂を金型に供給しダイから押出して、発泡シートの形成を行う工程を有する方法が挙げられる。
押出法における前記溶融樹脂には、前記熱可塑性樹脂100質量部に対して、発泡剤が0.1〜10質量部、気泡調整剤が0.01〜5質量部含まれることが好ましい。
本発明の食品容器1は、一体として成形されることが好ましい。一体として成形されることで、食品容器1を効率的に大量に製造することが可能となる。
本発明にかかる容器を製造する方法は特に限定されず、例えば、公知の熱成型法が適用される。
本発明の食品容器1は、耐冷凍性及び断熱性に優れているため、冷凍食品用の容器として好適である。
食品容器1の収容空間40側の表層には、離型性のフィルムが積層されていることが好ましい。離型性のフィルムが積層されていることにより、収容空間40に収容された食品をより取り出しやすくすることができる。
次に、食品容器1の使用方法を説明する。
食品容器1の収容空間40に食品を収容し、冷凍させる。冷凍された食品は、食品容器1を逆さまにしても剥離せず、落下しにくい。
収容空間40に食品が収容された食品容器1を冷凍庫から取り出す。移し替えたい食器の上に食品容器1を位置する。開口部30を食器に向け、把持部21の対向する2か所を両手で掴み、押出壁部11を指で収容空間40方向に押圧する。押圧された押出壁部11は、外力が加えられることにより、図5に示すごとく、ヒンジ部Hを軸として収容空間40側に撓んで変位する。その結果、食品が押出壁部11から、押し上げられるようにして底壁10から剥がれる。そして、収容空間40に収容された食品を食器の上にあける。その食器を電子レンジに入れて加熱し、食品を解凍する。
食品が取り出しにくい時は、押出壁部11を繰り返し押圧することで、収容空間40に収容された食品を取り出すことが可能となる。
本発明の食品容器1は、一回の使用で使い捨ててもよく、使用後に洗浄することで複数回使用してもよい。
本実施形態において、側壁20は上端に向かうに従い、外側に広がるように形成されている。そのため、押出壁部11を押圧したときに、収容空間40に収容された収容物をより容易に取り出すことができる。
本実施形態において、把持部21が設けられているため、食品容器1は剛直となり、ねじり等の外力によって変形しにくくなる。その結果、押出壁部11を押圧したときに、押出壁部11のみが撓みやすくなり、収容空間40に収容された収容物をより容易に取り出すことができる。
また、把持部21を有することにより、側壁20や底壁10に触れることなく食品容器1を持ち運ぶことができる。
本実施形態において、開口部30は平面視略正方形であるため、収容空間40に収容された収容物を、皿や丼等の別の食器に移し替えるときに、収容物をこぼしにくくなっている。また、開口部30が平面視略正方形であるため、側壁20の角に収容物が残存しにくくなっている。
本実施形態において、押出壁部11は平面視円形である。この形態をとることにより、押出壁部11を押圧するときに押出壁部11の周縁に加えられる外力は均等になる。また、押出壁部11が大きく撓んで変位することが可能となり、収容空間40に収容された収容物をより容易に取り出すことができる。
本実施形態において、低位壁部13及び隆起部14を有することにより、押出壁部11を押圧したときに、収容空間40に収容された収容物と、食品容器1とが接触している部分との間に空気が導入されやすくなる。隆起部14は、平面視において、中央に向かうに従い外方へ張り出しており、段部12及び側壁20に入り込んでいる。また、隆起部14は、中央に向かうに従い、開口部30方向に膨出している。すなわち、隆起部14は、押出し方向(開口部30方向)に向かうに従い、平面視上の断面積が小さく形成されている。その結果、隆起部14は、収容物と、段部12、低位壁部13及び側壁20との間への空気の導入をアシストし、収容空間40に収容された収容物をより容易に取り出すことができる。隆起部14の高さは、ヒンジ部Hよりも低く形成されているため、押出壁部11を押圧したときに、隆起部14は、ヒンジ部Hと追随せず、押出壁部11のみが変位することで、収容物を取り出しやすくなっている。
段部12は、収容空間40方向に突出し、押出壁部11は、その周縁から中心に向かうに従い、開口部30から離れる方向に膨出している。この形態をとることにより、押出壁部11をより押圧しやすくなっている。
加えて、収容空間40に収容された収容物の押出壁部11と接する部分に均等に外力が加えられる。その結果、収容空間40に収容された収容物をより容易に取り出すことができる。また、収容空間40に収容された収容物をより多く収容することができる。
本実施形態において、ヒンジ部Hは薄肉に形成されているため、押出壁部11を小さい外力で容易に変位させることができる。
本発明は、上述の実施形態に限定されるものではない。
上述の実施形態では、平面視において段部12は、押出壁部11の周縁を周回しているが、段部12は、周回せず、円弧状であってもよく、一つの線分を一点で折り曲げたくの字状であってもよい。但し、周回している方が、収容物をより容易に取り出すことができるため好ましい。
上述の実施形態では、ヒンジ部Hは、段部12の厚みT2及び押出壁部11の厚みT1よりも薄肉に形成されているが、ヒンジ部Hの厚みT3は、T1及びT2と同じであってもよく、T1及びT2よりも肉厚であってもよい。但し、厚みT3が薄い方が、押出壁部11をより大きく撓ませることができるため好ましい。
上述の実施形態では、側壁20は上端に向かうに従い、外側に広がるように形成されているが、側壁20は、底壁10の周縁から垂直に立ち上がるように形成されていてもよい。
上述の実施形態では、開口部30は、略正方形であるが、開口部30は、5角形や6角形であってもよく、円形や星形であってもよい。
上述の実施形態では、押出壁部11は平面視円形であるが、押出壁部11は、平面視多角形であってもよい。但し、平面視円形の方が、収容物に均等に外力を加えることができるため、好ましい。
また、上述の実施形態では、押出壁部11は、一つであるが、押出壁部11は、二つ以上であってもよい。
上述の実施形態では、側壁20の下端と段部12の下端との間に低位壁部13が形成されているが、食品容器1は、低位壁部13を有していなくてもよい。但し、低位壁部13を有している方が、収容物をより容易に取り出すことができるため好ましい。
上述の実施形態では、低位壁部13には、段部12の突出方向に隆起する隆起部14が形成されているが、食品容器1は、隆起部14を有していなくてもよい。但し、隆起部14を有している方が、収容物をより容易に取り出すことができるため好ましい。
また、上述の実施形態では、隆起部14は4個であるが、隆起部14は、1個であってもよく、2個や3個であってもよい。また、隆起部14は、5個以上であってもよい。但し、隆起部14が4個の方が、収容物に均等に外力を加えることができ、収容物をより容易に取り出すことができるため好ましい。上述の実施形態では、隆起部14は、低位壁部13の各辺の中央付近に形成されているが、隆起部14は、低位壁部13のすべての角部または対向する一対の角部に形成されてもよい。
上述の実施形態では、段部12は、収容空間40方向に突出しているが、段部12は、収容空間40とは反対方向に突出していてもよい。但し、収容空間40方向に突出している方が、食品容器1を安定して平置きできるため好ましい。
また、上述の実施形態では、押出壁部11は、その周縁から中心に向かうに従い、開口部30から離れる方向に膨出しているが、押出壁部11は、その周縁から中心に向かうに従い、開口部30の方向に膨出していてもよい。但し、押出壁部11が、その周縁から中心に向かうに従い、開口部30から離れる方向に膨出している方が、押出壁部11をより大きく撓ませることができるため、好ましい。
上述の実施形態では、側壁20の上端には、外方へ張り出す把持部21が設けられているが、食品容器1は、把持部21を有していなくてもよい。
また、把持部21は段差22を有していなくてもよい。但し、把持部21や段差22を有している方が、食品容器1の剛直さを保つことができるため好ましい。
1 食品容器
10 底壁
11 押出壁部
12 段部
13 低位壁部
14 隆起部
15 凸条
20 側壁
21 把持部
22 段差
30 開口部
40 収容空間
H ヒンジ部
T1 押出壁部の厚み
T2 段部の厚み
T3 ヒンジ部の厚み

Claims (7)

  1. 底壁と前記底壁の周縁から立ち上がる側壁とを備え、前記側壁の上端で囲まれた開口部が形成され、内部に収容空間が形成された容器において、
    前記底壁には、任意の領域を囲み、前記底壁の一方の面に突出する段部と、前記段部の突出端間に形成された押出壁部とを備え、
    前記押出壁部を前記収容空間方向に押圧したときに、前記押出壁部が前記収容空間内に撓み、
    平面視において、前記段部は前記押出壁部の周縁を周回し、
    前記押出壁部と前記段部との境界は、前記押出壁部の厚み及び前記段部の厚みよりも薄肉に形成されたヒンジ部を備え、
    前記底壁には、前記側壁の下端と前記段部の基端との間に低位壁部が形成され、
    前記低位壁部には、前記段部の突出方向に隆起する隆起部が形成され、
    前記隆起部の高さは、前記ヒンジ部よりも低く形成されていることを特徴とする、食品容器。
  2. 前記段部は、前記収容空間方向に突出し、
    前記押出壁部は、その周縁から中心に向かうに従い、前記開口部から離れる方向に膨出することを特徴とする、請求項1に記載の食品容器。
  3. 前記側壁の上端には、外方へ張り出す把持部が設けられていることを特徴とする、請求項1又は2に記載の食品容器。
  4. 前記押出壁部は、平面視円形であることを特徴とする、請求項1〜のいずれか一項に記載の食品容器。
  5. 発泡樹脂製である、請求項1〜のいずれか一項に記載の食品容器。
  6. 前記隆起部は、中央に向かうに従い、前記開口部方向に膨出している、請求項1〜5のいずれか一項に記載の食品容器。
  7. 前記収容空間側の表層に、離型性のフィルムが積層されている、請求項1〜6のいずれか一項に記載の食品容器。
JP2017052732A 2017-03-17 2017-03-17 食品容器 Active JP6830382B2 (ja)

Priority Applications (1)

Application Number Priority Date Filing Date Title
JP2017052732A JP6830382B2 (ja) 2017-03-17 2017-03-17 食品容器

Applications Claiming Priority (1)

Application Number Priority Date Filing Date Title
JP2017052732A JP6830382B2 (ja) 2017-03-17 2017-03-17 食品容器

Publications (2)

Publication Number Publication Date
JP2018154365A JP2018154365A (ja) 2018-10-04
JP6830382B2 true JP6830382B2 (ja) 2021-02-17

Family

ID=63717692

Family Applications (1)

Application Number Title Priority Date Filing Date
JP2017052732A Active JP6830382B2 (ja) 2017-03-17 2017-03-17 食品容器

Country Status (1)

Country Link
JP (1) JP6830382B2 (ja)

Family Cites Families (5)

* Cited by examiner, † Cited by third party
Publication number Priority date Publication date Assignee Title
JPS5767989U (ja) * 1980-10-09 1982-04-23
JPS5840017Y2 (ja) * 1980-11-14 1983-09-08 ダスキンフランチヤイズ株式会社 芳香剤容器
US5429833A (en) * 1993-07-02 1995-07-04 Redex Packaging Corporation Recloseable modified atmosphere clamshell package
JP3027141B2 (ja) * 1998-06-16 2000-03-27 パンケミカル株式会社 伸張式合成樹脂容器の構造
JP2013067404A (ja) * 2011-09-22 2013-04-18 Sekisui Plastics Co Ltd 包装用トレイ

Also Published As

Publication number Publication date
JP2018154365A (ja) 2018-10-04

Similar Documents

Publication Publication Date Title
US20240384054A1 (en) Insulated container
US10899532B2 (en) Insulated container
US10954059B2 (en) Insulated container
TWI632183B (zh) 用於絕緣容器之高分子材料
US20130140320A1 (en) Containers and Overwraps Comprising Thermoplastic Polymer Material, and Related Methods for Making the Same
EP2931627B1 (en) Brim of an insulated container
US20140120288A1 (en) Polymeric material for an insulated container
JP6830382B2 (ja) 食品容器
JP2009544540A (ja) カバーが上に載せられる可撓なインナーシールを備えている特には食品のためのパッケージ
JP3901865B2 (ja) 食品用の断熱容器
JPH11240546A (ja) 包装用容器
JP2017218179A (ja) 深絞り成形包装容器及びその製造方法
JP2003081242A (ja) 容 器
JP7109043B2 (ja) 発泡樹脂シート製包装容器の容器本体となる樹脂成形品の歪み抑制構造及びその構造を用いた容器本体となる樹脂成形品
US10513589B2 (en) Polymeric material for an insulated container
US20080042311A1 (en) Method of forming a polymeric foam container
JPH09226851A (ja) 食品容器及び蓋
JP6066611B2 (ja) 容器
RU155071U1 (ru) Контейнер одноразового использования для пищевых продуктов
JP3190910U (ja) 食品用包装容器
JP3208547U (ja) 吸水性発泡容器
JP2021183032A (ja) 樹脂容器
JP2002019760A (ja) 食品用の断熱容器
JP4255275B2 (ja) ポリプロピレン系樹脂発泡成形体
JPH10287352A (ja) 容器用断熱蓋

Legal Events

Date Code Title Description
A521 Written amendment

Free format text: JAPANESE INTERMEDIATE CODE: A821

Effective date: 20170321

A621 Written request for application examination

Free format text: JAPANESE INTERMEDIATE CODE: A621

Effective date: 20190708

A977 Report on retrieval

Free format text: JAPANESE INTERMEDIATE CODE: A971007

Effective date: 20200605

A131 Notification of reasons for refusal

Free format text: JAPANESE INTERMEDIATE CODE: A131

Effective date: 20200623

A521 Written amendment

Free format text: JAPANESE INTERMEDIATE CODE: A523

Effective date: 20200821

TRDD Decision of grant or rejection written
A01 Written decision to grant a patent or to grant a registration (utility model)

Free format text: JAPANESE INTERMEDIATE CODE: A01

Effective date: 20210105

A61 First payment of annual fees (during grant procedure)

Free format text: JAPANESE INTERMEDIATE CODE: A61

Effective date: 20210126

R150 Certificate of patent or registration of utility model

Ref document number: 6830382

Country of ref document: JP

Free format text: JAPANESE INTERMEDIATE CODE: R150