JP6791663B2 - 充填装置 - Google Patents

充填装置 Download PDF

Info

Publication number
JP6791663B2
JP6791663B2 JP2016127936A JP2016127936A JP6791663B2 JP 6791663 B2 JP6791663 B2 JP 6791663B2 JP 2016127936 A JP2016127936 A JP 2016127936A JP 2016127936 A JP2016127936 A JP 2016127936A JP 6791663 B2 JP6791663 B2 JP 6791663B2
Authority
JP
Japan
Prior art keywords
speed
sheet
chute
shutter
contents
Prior art date
Legal status (The legal status is an assumption and is not a legal conclusion. Google has not performed a legal analysis and makes no representation as to the accuracy of the status listed.)
Active
Application number
JP2016127936A
Other languages
English (en)
Other versions
JP2018002186A (ja
Inventor
茂生 木下
茂生 木下
久純 福井
久純 福井
和孝 市川
和孝 市川
Current Assignee (The listed assignees may be inaccurate. Google has not performed a legal analysis and makes no representation or warranty as to the accuracy of the list.)
Maruho Hatsujyo Kogyo Co Ltd
Original Assignee
Maruho Hatsujyo Kogyo Co Ltd
Priority date (The priority date is an assumption and is not a legal conclusion. Google has not performed a legal analysis and makes no representation as to the accuracy of the date listed.)
Filing date
Publication date
Application filed by Maruho Hatsujyo Kogyo Co Ltd filed Critical Maruho Hatsujyo Kogyo Co Ltd
Priority to JP2016127936A priority Critical patent/JP6791663B2/ja
Publication of JP2018002186A publication Critical patent/JP2018002186A/ja
Application granted granted Critical
Publication of JP6791663B2 publication Critical patent/JP6791663B2/ja
Active legal-status Critical Current
Anticipated expiration legal-status Critical

Links

Images

Landscapes

  • Basic Packing Technique (AREA)

Description

本発明は、搬送方向に連続的に搬送されるシートに設けられた複数のポケット内に内容物を充填するための充填装置に関する。
特許文献1等の通り、プラスチック等のシートに設けられた複数のポケット内に、錠剤やカプセル剤等の固形薬剤、粒状の固形食品等の内容物を充填して、その後、アルミニウム箔等のカバーでポケットを覆う包装装置がある。包装装置は、搬送方向に連続的に搬送されるシートのポケット内に内容物を充填するための充填装置を備える。
特許文献2等の通り、充填装置は、搬送されるシートのポケット内に内容物を落下して充填するためのシュート部を備える。ポケットは、シートの搬送方向に連続的に直列されて、この直列が、搬送方向の直角方向に並列される。そのため、シュート部は、搬送方向の直角方向に並列された複数の案内路を備える。案内路の出口は、ポケットの開口に対応して配置され、案内路を通った内容物が、案内路の出口から落下してポケット内に充填される。
ところで、生産性を向上するために、内容物をポケット内に充填する速度を上げるという要望がある。その要望を満足するためには、シートの搬送速度を上げることが考えられる。その結果、内容物がポケット内に充填される速度が上がる。しかし、単にシートの搬送速度を上げるだけでは、ポケットの速度が速すぎるために、シュート部から落下する内容物がポケットから飛び出したり、内容物が割れたりする等の問題が生じる。
特開2008−150089号公報 特開平8−81040号公報
そこで、本発明が解決しようとする課題は、上記の問題点に鑑みて、内容物がポケットから飛び出したり割れたりすることなく、内容物をポケット内に充填する速度を上げることができる充填装置を提供することにある。
上記の課題を解決するために、本発明に係る充填装置は、
搬送方向に搬送されるシートに設けられた複数のポケット内に内容物を充填するための充填装置であって、
シートを搬送方向に第1速度で連続的に搬送するための搬送機構と、
搬送方向に沿って所定間隔を置いて配置されると共に、搬送されるシートのポケット内に内容物を案内して落下するための複数のシュート部と、
各々のシュート部を搬送方向及び搬送方向の逆方向に往復移動するための移動機構と、
各々のシュート部の出口を開閉するためのシャッタ部と、を備え、
全て又は一部のシャッタ部が開きシャッタ部が開かれたシュート部が、第1速度よりも遅い第2速度で、搬送方向に第1位置から第2位置へ進み、その後、シャッタ部の全部又は一部が閉じ、シャッタ部が閉じられたシュート部が、第3速度で、搬送方向の逆方向に第2位置から第1位置へ戻る動作を行い、動作を繰り返すことで、ポケット内に内容物が連続的に充填される。
好ましくは、
第2速度は、第1速度の1/2である。
好ましくは、
第3速度は、第1速度よりも速い。
好ましくは、
各々のシュート部及び各々のシャッタ部は、それぞれが同じタイミングで動作を行う。
好ましくは、
各々のシュート部及び各々のシャッタ部は、それぞれが異なるタイミングで動作を行う。
本発明に係る充填装置は、内容物がポケットから飛び出したり割れたりすることなく、内容物をポケット内に充填する速度を上げることができる。
包装装置を示す側面図。 シュート部を示す斜視図。 充填装置を示す側面図。 第1実施形態の動作を説明するための図。 第2実施形態の動作を説明するための図。 第3実施形態の動作を説明するための図。 第4実施形態の動作を説明するための図。 第5実施形態の動作を説明するための図。 図8に続く図。
以下、図面に基づいて、本発明に係る充填装置の一実施形態を説明する。
[全体構成]
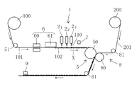
図1の通り、包装装置は、錠剤やカプセル剤等の固形薬剤、粒状の固形食品等の内容物110を包装する。包装装置は、プラスチック等のシート101がロール状に巻き取られてなるシートロール部100を備える。
包装装置は、シート101に設けられた複数のポケット102内に内容物を充填するための充填装置1を備える。充填装置1は、シート101を搬送方向Xに搬送するために搬送機構5を備える。搬送機構5は、駆動ローラ50及び従動ローラ51を備える。各ローラ50,51は、シートロール部100からシート101を巻き出して、シート101を第1速度V1で停止することなく連続的に搬送する。
包装装置は、シート101にポケット102を成形するためのポケット成形装置6を備える。ポケット成形装置6は、加熱装置60と成形装置61とを備える。加熱装置60は、シート101を加熱して軟らかくする。成形装置61は、凹部又は凸部を有する金型(不図示)を、加熱装置60で加熱されたシート101に押し当てて、シート101にポケット102を形成する。ポケット102は、シート101の搬送方向Xに連続的に直列されて、この直列が、搬送方向Xの直角方向Yに等間隔を置いて並列される(図2)。
充填装置1は、搬送方向Xに沿って配列された複数のシュート部2,2,2を備える。
図2の通り、シュート部2(2,2,2)は、直角方向Yに等間隔を置いて配列された筒状の案内路20を備える。各案内路20は、上下方向Zに延設されており、ポケット102に対応して配置される。案内路20を通じる内容物110は、搬送されるシート101のポケット102内に落下して充填される。
シュート部2は、各案内路20に接続されたコイルスプリング21と、コイルスプリング21に接続されたパーツフィーダ22と、を備える。コイルスプリング21は、上下方向Zに延設されて、可撓性を有する。パーツフィーダ22は、複数の内容物110が収納されており、振動部(不図示)で振動される。パーツフィーダ22が振動することで、収納された内容物110が、コイルスプリング21内に導かれて落下する。
図1の通り、包装装置は、検査装置7を備える。検査装置7は、内容物110が各ポケット102内に確実に充填されているか否か、内容物110の形状や色等の異常の有無、異物がポケット102内に混入されているか否か等を検査する。後述する切断装置9で、シート101は所定長さごとに打ち抜かれるが、検査装置7で不良と判定されたポケット102を含むシート101は、排出装置(不図示)で排出される。
包装装置は、アルミニウム箔等のカバー201がロール状に巻き取られてなるカバーロール部200を備える。包装装置は、駆動ローラ80及び従動ローラ81を備える。各ローラ80,81は、カバーロール部200からカバー201を巻き出して、カバー201を搬送する。シート101及びカバー201は、ローラ50,80で重ねられて挟まれて搬送される。ローラ50,80は、熱源(不図示)を備えており、重ねられたシート101及びカバー201を加熱して密着する。
包装装置は、切断装置9を備える。切断装置9は、カバー201で覆われたシート101を所定長さごとに打ち抜く。打抜かれたシート101は、落下して後処理装置(不図示)に搬送される。
図3の通り、充填装置1は、シュート部2を搬送方向X及びその逆方向に往復移動するための移動機構3を備える。移動機構3は、シュート部2に支持されたステッピングモータ30と、モータ30に接続されたピニオン31と、を備える。また、移動機構3は、包装装置のフレームに固定されたラック32を備える。ラック32は、搬送方向Xに延設される。ラック32及びピニオン31は係合している。モータ30の正逆回転の出力によって、シュート部2は、ラック32及びピニオン31を介して、搬送方向X及びその逆方向に往復移動する。
充填装置1は、シュート部2の案内路20の出口20aを開閉するためのシャッタ部4を備える。シャッタ部4は、シュート部2に支持されたアクチュエータ部40で往復移動する。シャッタ部4が出口20aを開けると、内容物110がポケット102内に充填可能となり、シャッタ部4が出口20aを閉じると、内容物110がポケット102内に充填不能となる。
[第1実施形態]
図4(a)の通り、本実施形態では、第1、第2及び第3シュート部2,2,2が等距離Pを置いて配置される。シート101の距離Pの間で、所定の複数のポケット102が配置されている。シート101は、一定の第1速度V1で連続的に搬送される。
図4(a)〜(d)は、それぞれ、シート101が距離Pだけ進んだ状態を示す。
シャッタ部4が開いた状態で、各シュート部2,2,2は、第1速度V1の1/2の第2速度V2(=1/2×V1)で、シート101の搬送方向Xに、第1位置(図4(a))から中間位置(図4(b))を経て第2位置(図4(c))に進む。ここで、各シュート部2,2,2が第1位置及び第2位置に配置されるとき、各シュート部2,2,2の案内路20の出口20aの直下にポケット102が配置される。
そのため、シュート部2,2,2が第1位置(図4(a))から中間位置(図4(b))に進む間では、シャッタ部4が開いた状態で、シート101は距離Pだけ進み、各シュート部2,2,2は距離1/2Pだけ進むので、シート101の距離1/2Pのポケット102に内容物110が充填される(図4(b)の太線部分)。
また、シュート部2,2,2が第1位置(図4(a))から第2位置(図4(c))に進む間では、シャッタ部4が開いた状態で、シート101は距離2Pだけ進み、各シュート部2,2,2は距離Pだけ進むので、シート101の距離Pのポケット102に内容物110が充填される(図4(c)の太線部分)。
その後、シャッタ部4が閉じた状態で、各シュート部2,2,2は、第1速度V1より速い第3速度V3(>V1)で、搬送方向Xの逆方向に、第2位置(図4(c))から第1位置(図4(d))に戻る。
シュート部2,2,2が第2位置(図4(c))から第1位置(図4(d))に戻る間では、シート101は距離Pだけ進み、各シュート部2,2,2は距離Pだけ戻る。
なお、シート101と各シュート部2,2,2とが同一距離Pだけ移動するにも拘らず、第3速度V3が第1速度V1よりも速い理由は、第2位置(図4(c))でシャッタ部4を閉じる間、及び、第1位置(図4(d))でシャッタ部4を開く間、各シュート部2,2,2が短時間だけ停止して、時間ロスが生じるからである。
その後は、上記した通り、シャッタ部4が開いた状態で、シュート部2,2,2が第1位置(図4(a))から第2位置(図4(c))へ進み、その後、シャッタ部4が閉じた状態で、シュート部2,2,2が第2位置(図4(c))から第1位置(図4(d))へ戻る動作を1サイクルとして、この動作を繰り返し行うことで、ポケット102内に内容物110が連続的に充填される。そして、各シュート部2,2,2及びそのシャッタ部4は、それぞれ同じタイミングで同一動作を行う。
なお、シュート部2,2,2がポケット102内に内容物110を充填する間では、シート101の第1速度V1とシュート部2,2,2の第2速度V2(=1/2×V1)との相対速度は1/2×V1(=V1−V2=V1−1/2×V1)となる。そのため、シート101の第1速度V1が、従来の最大搬送速度V’の2倍であっても(V1=2×V’)、相対速度1/2×V1(=1/2×2×V’=V’)は、従来の最大搬送速度V’と同一である。
即ち、シート101の第1速度V1を従来の最大搬送速度V’の2倍にしても、シュート部2とシート101との相対速度が従来の最大相対速度V’と同一である。そのため、内容物110がポケット102から飛び出したり割れたりすることなく、内容物110をポケット102に充填する速度を2倍できる。
各シュート部2,2,2がそれぞれ同じタイミングで同一動作を行うので、移動機構3を各シュート部2,2,2に対して共通にできる。また、そのために、各シュート部2,2,2を一体とすることができる。
また、各シャッタ部4がそれぞれ同じタイミングで開閉を行うので、アクチュエータ部40を各シャッタ部4に対して共通にできる。また、そのために、各シャッタ部4を一体とすることができる。
[第2実施形態]
重複説明を避けるため、上記実施形態と同じ点は説明を省略することがある。
図5(a)の通り、本実施形態では、第1、第2及び第3シュート部2,2,2が等距離2×Pを置いて配置される。シート101は、一定の第1速度V1で連続的に搬送される。
図5(a)〜(j)は、それぞれ、シート101が距離Pだけ進んだ状態を示す。
第1シュート部2は、シャッタ部4が開いた状態で、第1速度V1の1/2の第2速度V2(=1/2×V1)で、シート101の搬送方向Xに、第1位置(図5(a))から中間位置(図5(b))を経て第2位置(図5(c))に進む。
その後、第1シュート部2は、シャッタ部4が閉じた状態で、第1速度V1より速い第3速度V3(>V1)で、搬送方向Xの逆方向に、第2位置(図5(c))から第1位置(図5(d))に戻る。
その後は、第1シュート部2は、シャッタ部4が開いた状態で、第1位置(図5(d))から第2位置(図5(f))へ進み、その後、シャッタ部4が閉じた状態で、第2位置(図5(f))から第1位置(図5(g))へ戻る動作を1サイクルとして、この動作を繰り返し行う。
次に、第2シュート部22は、シャッタ部4が開いた状態で、第2速度V2で、搬送方向Xに、第1位置(図5(d))から中間位置(図5(e))を経て第2位置(図5(f))に進む。
その後、第2シュート部22は、シャッタ部4が閉じた状態で、第3速度V3で、搬送方向Xの逆方向に、第2位置(図5(f))から第1位置(図5(g))に戻る。
その後は、第2シュート部22は、シャッタ部4が開いた状態で、第1位置(図5(g))から第2位置(図5(i))へ進み、その後、シャッタ部4が閉じた状態で、第2位置(図5(i))から第1位置(図5(j))へ戻る動作を1サイクルとして、この動作を繰り返し行う。
次に、第3シュート部2は、シャッタ部4が開いた状態で、第2速度V2で、搬送方向Xに、第1位置(図5(g))から中間位置(図5(h))を経て第2位置(図5(i))に進む。
その後、第3シュート部2は、シャッタ部4が閉じた状態で、第3速度V3で、搬送方向Xの逆方向に、第2位置(図5(i))から第1位置(図5(j))に戻る。
その後は、第3シュート部2は、シャッタ部4が開いた状態で、第1位置(図5(j))から第2位置(図5(i))へ進み、その後、シャッタ部4が閉じた状態で、第2位置(図5(i))から第1位置(図5(j))へ戻る動作を1サイクルとして、この動作を繰り返し行う。
上記の通り、各シュート部2,2,2及びそのシャッタ部4は、動作の初期段階では、それぞれ異なるタイミングで同一動作を行い、その後の段階では、それぞれ同じタイミングで同一動作を行い、この動作を繰り返し行うことで、ポケット102内に内容物110が連続的に充填される。
[第3実施形態]
重複説明を避けるため、上記実施形態と同じ点は説明を省略することがある。
図6(a)の通り、本実施形態では、第1、第2及び第3シュート部2,2,2が等距離3×Pを置いて配置される。シート101は、一定の第1速度V1で連続的に搬送される。
図6(a)〜(l)は、それぞれ、シート101が距離Pだけ進んだ状態を示す。
第1シュート部2は、シャッタ部4が開いた状態で、第1速度V1の1/2の第2速度V2(=1/2×V1)で、シート101の搬送方向Xに、第1位置(図6(a))から中間位置(図6(b))を経て第2位置(図6(c))に進む。
その後、第1シュート部2は、シャッタ部4が閉じた状態で、第1速度V1より速い第3速度V3(>V1)で、搬送方向Xの逆方向に、第2位置(図6(c))から第1位置(図6(d))に戻る。
その後は、第1シュート部2は、シャッタ部4が開いた状態で、第1位置(図6(d))から第2位置(図6(f))へ進み、その後、シャッタ部4が閉じた状態で、第2位置(図6(f))から第1位置(図6(g))へ戻る動作を1サイクルとして、この動作を繰り返し行う。
次に、第2シュート部22は、シャッタ部4が開いた状態で、第2速度V2で、搬送方向Xに、第1位置(図6(e))から中間位置(図6(f))を経て第2位置(図6(g))に進む。
その後、第2シュート部22は、シャッタ部4が閉じた状態で、第3速度V3で、搬送方向Xの逆方向に、第2位置(図6(g))から第1位置(図6(h))に戻る。
その後は、第2シュート部22は、シャッタ部4が開いた状態で、第1位置(図6(h))から第2位置(図6(j))へ進み、その後、シャッタ部4が閉じた状態で、第2位置(図6(j))から第1位置(図6(k))へ戻る動作を1サイクルとして、この動作を繰り返し行う。
次に、第3シュート部2は、シャッタ部4が開いた状態で、第2速度V2で、搬送方向Xに、第1位置(図6(i))から中間位置(図6(j))を経て第2位置(図6(k))に進む。
その後、第3シュート部2は、シャッタ部4が閉じた状態で、第3速度V3で、搬送方向Xの逆方向に、第2位置(図6(k))から第1位置(図6(l))に戻る。
その後は、第3シュート部2は、シャッタ部4が開いた状態で、第1位置(図6(l))から第2位置(図6(k))へ進み、その後、シャッタ部4が閉じた状態で、第2位置(図6(k))から第1位置(図6(l))へ戻る動作を1サイクルとして、この動作を繰り返し行う。
上記の通り、各シュート部2,2,2及びそのシャッタ部4は、それぞれ異なるタイミングで同一動作を行い、この動作を繰り返し行うことで、ポケット102内に内容物110が連続的に充填される。
[第4実施形態]
重複説明を避けるため、上記実施形態と同じ点は説明を省略することがある。
図7(a)の通り、本実施形態では、第1及び第2シュート部2,2が距離2×Pを置いて配置される。シート101は、一定の第1速度V1で連続的に搬送される。
図7(a)〜(i)は、それぞれ、シート101が距離Pだけ進んだ状態を示す。
第1シュート部2は、シャッタ部4が開いた状態で、第1速度V1の1/3の第2速度V2(=1/3×V1)で、シート101の搬送方向Xに、第1位置(図7(a))から中間位置(図7(b)及び(c))を経て第2位置(図7(d))に進む。
その後、第1シュート部2は、シャッタ部4が閉じた状態で、第1速度V1より速い第3速度V3(>V1)で、搬送方向Xの逆方向に、第2位置(図7(d))から第1位置(図7(e))に戻る。
その後は、第1シュート部2は、シャッタ部4が開いた状態で、第1位置(図7(e))から第2位置(図7(h))へ進み、その後、シャッタ部4が閉じた状態で、第2位置(図7(h))から第1位置(図7(i))へ戻る動作を1サイクルとして、この動作を繰り返し行う。
次に、第2シュート部22は、シャッタ部4が開いた状態で、第2速度V2で、搬送方向Xに、第1位置(図7(e))から中間位置(図7(f)及び(g))を経て第2位置(図7(h))に進む。
その後、第2シュート部22は、シャッタ部4が閉じた状態で、第3速度V3で、搬送方向Xの逆方向に、第2位置(図7(h))から第1位置(図7(i))に戻る。
その後は、第2シュート部22は、シャッタ部4が開いた状態で、第1位置(図7(i))から第2位置(図7(h))へ進み、その後、シャッタ部4が閉じた状態で、第2位置(図7(h))から第1位置(図7(i))へ戻る動作を1サイクルとして、この動作を繰り返し行う。
上記の通り、各シュート部2,2及びそのシャッタ部4は、それぞれ異なるタイミングで同一動作を行い、この動作を繰り返し行うことで、ポケット102内に内容物110が連続的に充填される。
なお、シュート部2,2がポケット102内に内容物110を充填する間では、シート101の第1速度V1とシュート部2,2の第2速度V2(=1/3×V1)との相対速度は2/3×V1(=V1−V2=V1−1/3×V1)となる。そのため、シート101の第1速度V1が、従来の最大速度V’の3/2倍であっても(V1=3/2×V’)、相対速度2/3×V1は、従来の最大速度V’と同一である。
即ち、シート101の第1速度V1を従来の最大搬送速度V’の3/2倍にしても、シュート部2とシート101との相対速度が従来の最大相対速度V’と同一なので、内容物110がポケット102から飛び出したり割れたりすることがない。
[第5実施形態]
重複説明を避けるため、上記実施形態と同じ点は説明を省略することがある。
図8(a)の通り、本実施形態では、第1及び第2シュート部2,2が距離3×Pを置いて配置される。シート101は、一定の第1速度V1で連続的に搬送される。
図8(a)〜(k)及び図9(a)〜(b)は、それぞれ、シート101が距離Pだけ進んだ状態を示す。
第1シュート部2は、シャッタ部4が開いた状態で、第1速度V1の1/4の第2速度V2(=1/4×V1)で、シート101の搬送方向Xに、第1位置(図8(a))から中間位置(図8(b)〜(d))を経て第2位置(図8(e))に進む。
その後、第1シュート部2は、シャッタ部4が閉じた状態で、第1速度V1より遅い第3速度V3(<V1)で、搬送方向Xの逆方向に、第2位置(図8(e))から中間位置(図8(f))を経て第1位置(図8(g))に戻る。
その後は、第1シュート部2は、シャッタ部4が開いた状態で、第1位置(図8(g))から第2位置(図8(k))へ進み、その後、シャッタ部4が閉じた状態で、第2位置(図8(k))から第1位置(図9(b))へ戻る動作を1サイクルとして、この動作を繰り返し行う。
次に、第2シュート部22は、シャッタ部4が開いた状態で、第2速度V2で、搬送方向Xに、第1位置(図8(g))から中間位置(図8(h)〜(j))を経て第2位置(図8(k))に進む。
その後、第2シュート部22は、シャッタ部4が閉じた状態で、第3速度V3で、搬送方向Xの逆方向に、第2位置(図8(k))から中間位置(図9(a))を経て第1位置(図9(b))に戻る。
その後は、第2シュート部22は、シャッタ部4が開いた状態で、第1位置(図9(b))から第2位置(図8(k))へ進み、その後、シャッタ部4が閉じた状態で、第2位置(図8(k))から第1位置(図9(b))へ戻る動作を1サイクルとして、この動作を繰り返し行う。
上記の通り、各シュート部2,2及びそのシャッタ部4は、それぞれ異なるタイミングで同一動作を行い、この動作を繰り返し行うことで、ポケット102内に内容物110が連続的に充填される。
なお、シュート部2,2がポケット102内に内容物110を充填する間では、シート101の第1速度V1とシュート部2,2の第2速度V2(=1/4×V1)との相対速度は3/4×V1(=V1−V2=V1−1/4×V1)となる。そのため、シート101の第1速度V1が、従来の最大速度V’の4/3倍であっても(V1=4/3×V’)、相対速度3/4×V1は、従来の最大速度V’と同一である。
即ち、シート101の第1速度V1を従来の最大搬送速度V’の4/3倍にしても、シュート部2とシート101との相対速度が従来の最大相対速度V’と同一なので、内容物110がポケット102から飛び出したり割れたりすることがない。
また、第5実施形態では、第1〜第4実施形態よりも、シュート部2の第2速度V2及び第3速度V3が遅いので、移動機構3及びシャッタ部4の駆動の負荷を小さくできる。
以上、本発明の好ましい実施形態を説明したが、本発明の構成はこれらの実施形態に限定されるものではない。
・各シュート部は、等間隔でなく異なる間隔を置いて配置されてもよい。
・各シュート部及び各シャッタ部は、それぞれが異なるタイミング、第2速度及び第3速度で動作を行ってもよい。
・移動機構3は、サーボモータを用いたボールねじ機構など、様々な公知技術を採用できる。
・搬送機構5は、少なくとも内容物がポケット102内に充填される間で、連続的にシート101を搬送すればよく、その他の区間、例えば、シート101にポケット102が成形される間、又は、カバー201がシート101に密着される間では、間欠的にシート101を搬送してもよい。
1 充填装置
2 シュート部
3 移動機構
4 シャッタ部
5 搬送機構
101 シート
102 ポケット
110 内容物
X 搬送方向
V1 第1速度
V2 第2速度
V3 第3速度

Claims (5)

  1. 搬送方向に搬送されるシートに設けられた複数のポケット内に内容物を充填するための充填装置であって、
    前記シートを前記搬送方向に第1速度で連続的に搬送するための搬送機構と、
    前記搬送方向に沿って所定間隔を置いて配置されると共に、搬送される前記シートの前記ポケット内に前記内容物を案内して落下するための複数のシュート部と、
    各々の記シュート部を前記搬送方向及び前記搬送方向の逆方向に往復移動するための移動機構と、
    各々の記シュート部の出口を開閉するためのシャッタ部と、を備え、
    全て又は一部の前記シャッタ部が開き前記シャッタ部が開かれた前記シュート部が、前記第1速度よりも遅い第2速度で、前記搬送方向に第1位置から第2位置へ進み、その後、開かれた前記シャッタ部が閉じ、前記シャッタ部が閉じられた前記シュート部が、第3速度で、前記搬送方向の逆方向に前記第2位置から前記第1位置へ戻る動作を行い、前記動作を繰り返すことで、前記ポケット内に前記内容物が連続的に充填される
    ことを特徴とする充填装置。
  2. 前記第2速度は、前記第1速度の1/2である
    ことを特徴とする請求項1に記載の充填装置。
  3. 前記第3速度は、前記第1速度よりも速い
    ことを特徴とする請求項1又は2に記載の充填装置。
  4. 各々の記シュート部及び各々の記シャッタ部は、それぞれが同じタイミングで前記動作を行う
    ことを特徴とする請求項1〜3のいずれかに記載の充填装置。
  5. 各々の記シュート部及び各々の記シャッタ部は、それぞれが異なるタイミングで前記動作を行う
    ことを特徴とする請求項1〜3のいずれかに記載の充填装置。
JP2016127936A 2016-06-28 2016-06-28 充填装置 Active JP6791663B2 (ja)

Priority Applications (1)

Application Number Priority Date Filing Date Title
JP2016127936A JP6791663B2 (ja) 2016-06-28 2016-06-28 充填装置

Applications Claiming Priority (1)

Application Number Priority Date Filing Date Title
JP2016127936A JP6791663B2 (ja) 2016-06-28 2016-06-28 充填装置

Publications (2)

Publication Number Publication Date
JP2018002186A JP2018002186A (ja) 2018-01-11
JP6791663B2 true JP6791663B2 (ja) 2020-11-25

Family

ID=60947508

Family Applications (1)

Application Number Title Priority Date Filing Date
JP2016127936A Active JP6791663B2 (ja) 2016-06-28 2016-06-28 充填装置

Country Status (1)

Country Link
JP (1) JP6791663B2 (ja)

Also Published As

Publication number Publication date
JP2018002186A (ja) 2018-01-11

Similar Documents

Publication Publication Date Title
EP2788260B1 (de) Vorrichtung zum herstellen, handhaben und füllen von beuteln
US9902566B2 (en) Conveyor for an article handling unit, in particular for a folding unit for producing packages of pourable food products
CN101636319B (zh) 连接装置和使用该装置的计量装置、包装装置以及计量包装系统
US7752828B2 (en) Loading apparatus and related method for loading edible items into trays
JP5114211B2 (ja) 経路上でパッケージをグループ分けする装置
CN103635394B (zh) 用相关密封包制造可倾倒食品的折叠包装体的折叠单元
TWI587789B (zh) Food billet extension device and food billet extension method
EP2586719A1 (en) Folding unit and method for producing pourable food product packages
JP3256751B2 (ja) 固形物の搬送装置
US20180346159A1 (en) Form-fill-seal machine
JP2012166833A (ja) 包装機
EP2923959A1 (en) Folding unit for producing packages of food products pourable into a tube of packaging material from sealed packs
JP6791663B2 (ja) 充填装置
BRPI0701643A (pt) máquina automática para acondicionar uma série de produtos editoriais em filme plástico, acondicionamento para uma série de produtos editoriais, e, método para acondicionar uma série de de produtos editoriais em filme plástico
WO2017169432A1 (ja) 物品搬送装置
JP5064556B2 (ja) 豆腐生地の反転処理装置
JP2001130513A (ja) 搬送物の整列搬送システム
JP5818040B1 (ja) 内容物が挿入された袋体の整列装置
CN104590860B (zh) 一种大肉片定量投放设备
KR100682410B1 (ko) 우유팩 이송용 파렛타이즈 시스템
CN108001734B (zh) 物料理料方法
JP3194251U (ja) 横型多段式鍛造機の打痕防止装置
DE102019134111A1 (de) Vereinzelungsvorrichtung und Verfahren zum Vereinzeln von Packungen und Bearbeitungsvorrichtung zum Bearbeiten von Verpackungen
JPH06122404A (ja) 箱詰め装置
CN213168866U (zh) 一种物流包贴码机的挡位装置

Legal Events

Date Code Title Description
A621 Written request for application examination

Free format text: JAPANESE INTERMEDIATE CODE: A621

Effective date: 20190626

A977 Report on retrieval

Free format text: JAPANESE INTERMEDIATE CODE: A971007

Effective date: 20200515

A131 Notification of reasons for refusal

Free format text: JAPANESE INTERMEDIATE CODE: A131

Effective date: 20200603

A521 Request for written amendment filed

Free format text: JAPANESE INTERMEDIATE CODE: A523

Effective date: 20200709

TRDD Decision of grant or rejection written
A01 Written decision to grant a patent or to grant a registration (utility model)

Free format text: JAPANESE INTERMEDIATE CODE: A01

Effective date: 20201028

A61 First payment of annual fees (during grant procedure)

Free format text: JAPANESE INTERMEDIATE CODE: A61

Effective date: 20201105

R150 Certificate of patent or registration of utility model

Ref document number: 6791663

Country of ref document: JP

Free format text: JAPANESE INTERMEDIATE CODE: R150

R250 Receipt of annual fees

Free format text: JAPANESE INTERMEDIATE CODE: R250

R250 Receipt of annual fees

Free format text: JAPANESE INTERMEDIATE CODE: R250

R250 Receipt of annual fees

Free format text: JAPANESE INTERMEDIATE CODE: R250