JP6771237B2 - 遊技機 - Google Patents

遊技機 Download PDF

Info

Publication number
JP6771237B2
JP6771237B2 JP2019079775A JP2019079775A JP6771237B2 JP 6771237 B2 JP6771237 B2 JP 6771237B2 JP 2019079775 A JP2019079775 A JP 2019079775A JP 2019079775 A JP2019079775 A JP 2019079775A JP 6771237 B2 JP6771237 B2 JP 6771237B2
Authority
JP
Japan
Prior art keywords
frame
door
housing
engaging
opening
Prior art date
Legal status (The legal status is an assumption and is not a legal conclusion. Google has not performed a legal analysis and makes no representation as to the accuracy of the status listed.)
Active
Application number
JP2019079775A
Other languages
English (en)
Other versions
JP2019136528A (ja
Inventor
田中 友也
友也 田中
Original Assignee
株式会社オリンピア
Priority date (The priority date is an assumption and is not a legal conclusion. Google has not performed a legal analysis and makes no representation as to the accuracy of the date listed.)
Filing date
Publication date
Application filed by 株式会社オリンピア filed Critical 株式会社オリンピア
Priority to JP2019079775A priority Critical patent/JP6771237B2/ja
Publication of JP2019136528A publication Critical patent/JP2019136528A/ja
Application granted granted Critical
Publication of JP6771237B2 publication Critical patent/JP6771237B2/ja
Active legal-status Critical Current
Anticipated expiration legal-status Critical

Links

Images

Landscapes

  • Slot Machines And Peripheral Devices (AREA)

Description

本発明は、筐体の正面開口部を開閉する前扉と、筐体に正面開口部から交換可能に装填される交換ユニットと、前記正面開口部を閉じた状態に前扉を施錠する施錠ユニットとを備えた遊技機に関する。
正面開口部を有する筐体と、正面開口部を開閉する前扉と、筐体に正面開口部から交換可能に装填される交換ユニットと、正面開口部を閉じた状態に前扉を施錠する施錠ユニットとを備えた遊技機の一例として特許文献1に記載のものが知られている。
この遊技機では、筐体の内部に、前記正面開口部を上下二つの開口部に仕切る仕切部材を取り付け、前記前扉を、前記仕切部材より上側の開口上部を開閉自在に塞ぐ上扉と、前記仕切部材の下側の開口下部を開閉自在に塞ぐ下扉とによって構成している。
また、開口上部から筐体内に交換ユニットを装填するようになっており、この交換ユニットの一側部に上扉が開閉可能に設けられている。
また、上扉にロック機構(施錠ユニット)が設けられる一方で、筐体または交換ユニットの他側部に、施錠ユニットの係止片が係脱可能に係止される突出片が設けられ、係止片が突出片に係止することで上扉を閉鎖状態に施錠するようになっている。
この施錠状態を解錠する場合、施錠ユニットの解除つまみ(操作部材)を下に引っ張ることによって、係止片から突出片が外れ、解錠するようになっている。
特開2003−47690号公報
ところで近年では、前扉に液晶表示ユニット等の演出部材やその他の部材が搭載されることがあり、このため、前扉の重量が増加してきている。
このような状況下で、上述したように、前扉に施錠ユニットを設けるとさらに前扉の重量が増加してしまい、前扉を交換ユニットに開閉可能に取り付けるヒンジ等に負担がかかるばかりか、開閉の際に前扉が下方に撓んでスムーズに開閉し難くなる場合もある。
また、施錠された前扉を解錠するために操作部材を下方に引っ張ると、その力が前扉にかかりヒンジ等に負担がさらにかかるとともに、開閉の際に前扉がさらに下方に撓んでスムーズに開閉し難くなる場合もある。
本発明は、前記事情に鑑みてなされたもので、施錠ユニットを設けたことによる前扉の重量増を防止することによって、ヒンジ等への負担を抑制できるとともに、前扉の開閉をスムーズに行える遊技機を提供することを目的とする。
前記目的を達成するために、本発明の遊技機は、正面側に開口する正面開口部を有する筐体と、前記正面開口部の少なくとも一部を開閉する前扉と、前記筐体に前記正面開口部から交換可能に装填される交換ユニットと、前記正面開口部を閉じた状態に前記前扉を施錠する施錠ユニットとを備えた遊技機において、
前記交換ユニットの一側部に前記前扉が設けられ、
前記交換ユニットの前記一側部と反対側の他側部またはこの他側部側にある前記筐体の側壁部に、前記施錠ユニットが設けられていることを特徴とする。
本発明においては、一側部に前扉が設けられた交換ユニットの他側部またはこの他側部側にある前記筐体の側壁部に施錠ユニットが設けられているので、施錠ユニットを設けたことによる前扉の重量増を防止することがきる。このため、前扉を支持するヒンジ等への負担を抑制できるとともに、前扉の開閉をスムーズに行える。
本発明の前記構成において、前記施錠ユニットは操作部材を有し、
この操作部材を下方に引っ張ることによって、施錠されている前記前扉が解錠されてもよい。
このような構成によれば、前扉を解錠する際に操作部材を下方に引っ張っても、その力が前扉にかかることがない。したがって、前扉を支持するヒンジ等に負担がかかることがなく、前扉の開閉をスムーズに行える。
また、本発明の前記構成において、前記施錠ユニットは、前記交換ユニットの他側部に設けられおり、
前記施錠ユニットは、前記筐体に係脱可能に係合する係合部材を備えていてもよい。
このような構成によれば、施錠ユニットが交換ユニットの他側部に設けられているので、施錠ユニットを筐体の側壁に設ける場合と異なり、交換ユニットの交換に伴う前扉と施錠ユニットとの微妙なズレが生じることがない。このため、施錠ユニットによって前扉を確実に施錠できる。
また、施錠ユニットが筐体に係脱可能に係合する係合部材を備えているので、交換ユニットを筐体に装填する場合に係合部材が筐体に係合することによって、交換ユニットを筐体に確実に固定でき、また、係合部材が筐体から外れることによって、交換ユニットを筐体から容易に取り外すことができる。
また、本発明の前記構成において、前記前扉は、前記正面開口部の開口上部を開閉する上扉を有し、
前記交換ユニットは、前記開口上部から前記筐体に装填されるように構成され、
前記交換ユニットの一側部に前記上扉が設けられ、
前記施錠ユニットは、前記開口上部を閉じた状態に前記上扉を施錠するように構成されていてもよい。
このような構成によれば、上扉に液晶表示ユニット等の演出部材やその他の部材が搭載されている場合に、施錠ユニットを設けたことによる上扉の重量増を防止することがきる。このため、上扉を支持するヒンジ等への負担を抑制できるとともに、上扉の開閉をスムーズに行える。
本発明によれば、交換ユニットの他側部またはこの他側部側にある筐体の側壁部に施錠ユニットが設けられているので、施錠ユニットを設けたことによる前扉の重量増を防止することがきる。このため、前扉を支持するヒンジ等への負担を抑制できるとともに、前扉の開閉をスムーズに行える。
本発明の実施の形態に係る遊技機の一例を示すもので、その斜視図である。 同、前扉を開いた状態の斜視図である。 同、表示ユニットの斜視図である。 同、表示ユニットの分解斜視図である。 同、表示ユニットのケーシング下部の斜視図である。 同、保護パネル固定部材を示すもので、(a)は斜め上方から見た斜視図、(b)は斜め下方から見た斜視図である。 同、表示ユニットの組立方法を説明するためのもので、(a)はケーシングに液晶表示装置を挿入した状態を示す斜視図、(b)はケーシングに枠体を挿入した状態を示す斜視図、(c)はケーシング中の液晶表示装置に保護パネルを設けた状態を示す斜視図、(d)は液晶表示装置、枠体および保護パネルが挿入されたケーシングに保護パネル固定部材を挿入しようとしている状態を示す斜視図である。 同、表示ユニットの要部の断面図である。 同、ケーシングに保護パネル固定部材を係止する方法を説明するためのもので、(a)はケーシングに保護パネル固定部材を挿入する前の状態を示す斜視図、(b)はケーシングに保護パネル固定部材を挿入した状態を示す斜視図、(c)はケーシングに保護パネル固定部材を係止した状態を示す斜視図である。 同、表示ユニットを裏面側から見た斜視図である。 同、上扉の表示ユニットを取り付けるための取付部の上部を示す斜視図である。 同、上扉の表示ユニットを取り付けるための取付部の下部を示す斜視図である。 同、筐体の正面図である。 同、筐体の斜視図である。 同、筐体に交換ユニットを挿入した状態を示す斜視図である。 同、交換ユニットを斜め左側から見た斜視図である。 同、交換ユニットを斜め右側から見た斜視図である。 同、交換ユニットを筐体に固定した状態を示す要部の平断面図である。 同、入力装置を示す斜視図である。 同、入力装置を示す分解斜視図である。 同、入力装置の各部材の背面側を示す分解斜視図である。 同、入力装置の他の例を示す分解斜視図である。 同、入力装置の他の例を示し、各部材の背面側を示す分解斜視図である。 同、閉じた可動演出装置を備える上扉を示す斜視図である。 同、開いた可動演出装置を備える上扉を示す斜視図である、 同、可動演出装置の分解斜視図である。 同、可動演出装置の移動体と回転軸とねじりばねとを示す斜視図である。 同、可動演出装置のヒンジ部材とねじりばねと回転軸とを示す斜視図である。 同、軸支持板と回転軸とねじりばねとを示す斜視図である。 同、モータユニットと移動体とリンク部材を示す斜視図である。 同、閉検知用フォトセンサおよび開検知用フォトセンサを示す斜視図である。 同、閉検知用フォトセンサを示す斜視図である。 同、開検知用フォトセンサを示す斜視図である。 (a)(b)は、同、移動体の動作を説明するための図である。 同、移動体の動作を説明するための図である。 (a)(b)は、同、移動体の動作速度を説明するための図である。 同、演出ボタンユニットの斜視図である。 同、演出ボタンユニットを示す断面図である。 同、演出ボタンユニットを裏面側から見た斜視図である。 同、演出ボタンユニットを示すもので、液晶表示パネルが引き込まれた状態を示す断面図である。 同、ロック機構を示す要部の側面図である。 同、カムおよびヒュージボタンの動作を説明するための図である。 同、カムおよびヒュージボタンの動作の工程を示す図であり、(a)はカムが原点位置ある状態を示す図、(b)はカムがセンサ非検知位置にある状態を示す図、(c)はカムがロック解除位置にある状態を示す図、(d)はカムがヒュージボタン動作開始位置にある状態を示す図、(e)はカムがヒュージボタン可動限界位置にある状態を示す図である。 同、駆動機構を示すもので、(a)は要部の斜視図、(b)はカムとその周辺を示す側面図、(c)はカムと検出センサを示す斜視図である。 同、ロック機構を示すもので、ロックが解除された状態を示す要部の側面図である。 同、ロック機構を示すもので、ロック解除後に液晶表示パネルが押下された状態を示す要部の側面図である。 同、液晶表示パネルを押圧するように促す場合を説明するためのもので、(a)は上の表示画面に文字を表示した場合の斜視図、(b)は上下の表示画面に文字を跨ぐようにして表示した場合の斜視図、(c)は下の表示画面に文字を表示した場合の斜視図である。 同、ロック機構を示すもので、ロック解除後に液晶表示パネルが引き込まれた状態を示す要部の側面図である。 同、発光装置を示す斜視図である。 同、発光装置を示す分解斜視図である。 同、発光装置の前枠部を示す分解斜視図である。 同、発光装置のシャッタ部を示す分解斜視図である。 同、発光装置のシャッタ部のソレノイドとクランクを示す斜視図である。 同、発光装置のシャッタ部の開閉する複数のフィン部材とスライダを示す斜視図である。 同、発光装置のシャッタ部の開閉する複数のフィン部材とスライダとクランクを示す斜視図である。 同、発光装置の発光部を示す分解斜視図である。 同、証紙カバーを示すもので、(a)は証紙カバーを裏面側から見た斜視図、(b)は証紙カバーを斜め側面側から見た斜視図である。 同、証紙カバーの取付構造を示す要部の断面斜視図である。 同、下扉を裏面側から見た要部の斜視図である。 同、内部カバーを示すもので、(a)は内部カバーを一方向から見た斜視図、(b)は内部カバーを他方向から見た斜視図である。 同、下扉の証紙カバーを取り付ける部分を示す要部の斜視図である。 同、証紙カバーを遊技機に取り付ける方法を説明するためのもので、(a)は証紙カバーを遊技機に取り付ける前の状態を示す要部の平面断面、(b)は証紙カバーを遊技機に取り付けた状態を示す要部の平断面図、(c)は内部カバーを取り付けた状態を示す要部の平断面図である。 同、筐体側枠体を有する筐体と扉側枠とを示す斜視図である。 同、筐体側枠体を示す斜視図である。 同、右補強フレームの要部を示す断面斜視図である。 同、左補強フレームと左フレームの要部を示すもので、(a)は上扉が開いている状態を示す断面斜視図、(b)は上扉が閉じている状態を示す断面斜視図である。 同、上扉の下フレームと下扉の上フレームとを示す要部の断面斜視図である。 同、上扉の下フレームと下扉の上フレームとを示す要部の斜視図である。 同、上扉側枠体と下扉側枠体の要部を示すもので、表側から見た斜視図である。 同、上扉側枠体と下扉側枠体の要部を示すもので、裏側から見た斜視図である。 同、上扉側枠体と下扉側枠体の要部を示すもので、下扉側枠体が開いている状態を示す斜視図である。 同、筐体の取手部を示す要部の斜視図である。 同、閉塞部材と取手部材の分解斜視図である。 同、閉塞部材と取手部材を示す斜視図である。 同、筐体側枠体を有する筐体と扉側枠とを示す斜視図である。 同、上扉のベース部材を背面側から見た斜視図である。 同、ベース部材に表示ユニットを取り付けた状態を示す背面図である。 同、ベース部材の開口部の左上角部を示す斜視図である。 同、ベース部材の開口部の右上角部を示す斜視図である。 同、ベース部材の開口部の左下角部を示す斜視図である。 同、ベース部材の開口部の右下角部を示す斜視図である。 同、表示ユニットの左上角部にあるユニット取付部を示す斜視図である。 同、表示ユニットの左下角部にあるユニット取付部を示す斜視図である。 同、ベース部材に表示ユニットを取り付けた状態を示す側断面図である。 同、図74の要部の拡大断面図である。 同、ベース部材に表示ユニットを取り付けた状態を示す背面図である。 同、ベース部材を示す背面図である。 同、ベース部材に表示ユニットを取り付けた状態を示す側断面図である。 同、図78の要部の拡大断面図である。 同、枠体を示す斜視図である。 同、横フレームを示す斜視図である。 同、縦フレームの上端部を示す斜視図である。 同、枠体の左上角部を下から見た斜視図である。 同、枠体の要部を示す分解斜視図である。 同、枠体の要部を示す断面斜視図である。 同、縦フレームを示す断面斜視図である。 同、補強部材を示す斜視図である。 同、上扉と交換ユニットの要部を示す斜視図である。 同、上扉を開いた状態の要部を示す斜視図である。 同、施錠ユニットを示す左側面図である。 同、施錠ユニットを示す右側面図である。 同、前係合部材を開いた状態を示す左側面図である。 同、後係合部材を開いた状態を示す左側面図である。 同、筐体を示す斜視図である。 同、前扉のストッパによって操作部材の上方への移動が規制されている状態を示す要部の斜視図である。 同、上扉に設けられた係合部を示す要部の斜視図である。 同、筐体を示す斜視図である。 同、開口枠部材を示す斜視図である。 同、開口枠部材を示す分解斜視図である。 同、右側面の押出形材を示す斜視図である。 同、押出形材の凹凸面の拡大図である。 同、押出部材の斜視図である。 同、押出部材の斜視図である。 同、ホッパーユニットが収容された筐体要部を示す正面図である。 同、ホッパーユニットを示す斜視図である。 同、開口枠部材と箱体(筐体の本体)のを示す斜視図である。 同、ホッパーユニットが収容された筐体要部を示す正面概略図である。 同、ホッパーユニットの左のスライダと、筐体の左のガイドレールを示す正面図である。 同、ホッパーユニットの右のスライダと、筐体の右のガイドレールを示す正面図である。 同、スライダとガイドレールを示す斜視図である。 同、ガイドレールを示す正面図である。 同、ガイドレールを示す斜視図である。 同、スライダを示す斜視図である。 同、開口部材の底部の上面と、箱体の底部の上面と、スライダの底面との関係を説明するための図である。 同、開口部材の底部の上面と、箱体の底部の上面と、スライダの底面との関係を説明するための図である。
以下、本発明の実施の形態について図面を参照して説明する。本実施の形態は本発明を遊技機の一つであるスロットマシンに適用した場合を例にとって説明するが、本発明はスロットマシンに限ることなく、その他の遊技機に適用してもよい。
なお、以下の説明においては、基本的に「前後」とは、スロットマシンの前側に遊技者が居る場合に、遊技者側が「前」で、スロットマシン側が「後」を意味し、「上下」とはスロットマシンの上面側が「上」で、下面側が「下」を意味し、「左右」とはスロットマシンを遊技する遊技者の左手側が「左」を意味し、右手側が「右」を意味する。
まず、発明が適用されるスロットマシンMの概略構成について説明する。
図1はスロットマシンMを示す斜視図である。このスロットマシンMは、筐体1を備えており、この筐体1は、底板、左右の側板、天板および背板を備え、当該筐体1の正面側に開口する正面開口部を有する箱形に形成されている。なお、底板の上面には、各部品に電力を供給するための電源装置を内蔵した電源ユニット4、メダルを貯留するとともにメダルを払い出す払い出し装置としてのホッパーユニット5等が設けられている。
また、筐体1の正面には、筐体1の正面開口部を開閉可能に閉塞する前扉3が設けられており、この前扉3は、前記開口上部を開閉可能に閉塞する上扉30と、前記開口下部を開閉可能に閉塞する下扉40とを備えている。
筐体1の左右の側板には、図2および図65に示すように、後述する交換ユニット2が設置されて当該交換ユニット2を支持する支持部930,935が設けられている。
前記筐体1内には、交換ユニット2が着脱可能に設けられている。交換ユニット2は、種々の部品を設置あるいは固定するための支持体としての枠体21と、この枠体21に固定されたリールユニット22および基板ユニット24とから構成されている。ここで、リールユニット22は、周囲に複数の図柄を表示した3個の回転リール22aと、回転リール22aを回転させるための駆動モータ(ステッピングモータ)を有している。また、基板ユニットは、CPU、ROM、RAM、I/O等の電子部品を備えた基板を、基板ケースに収納したものである。そして、基板ユニットは、スロットマシンMの遊技を制御するための遊技制御装置として機能する。
図1に示すように、上扉30の上部の向かって右側には、小型の表示窓31が設けられ、この表示窓31の奥には、前記3個の回転リール22aが横一列に設けられている。各回転リール22aの外周面には複数種類の図柄が配列されており、回転リール22aが停止すると表示窓31を通して1リール当たり3個の図柄が表示される。スロットマシンMでは、横3本と斜め2本とからなる計5本の入賞有効ラインが設定されている。
そして、3個の回転リール22aが停止したときに入賞有効ライン上に停止した図柄の組み合わせによって当選役が入賞したか否かが表示される。
また、上扉30の中央部には、大型の表示窓32が設けられている。この表示窓32は上扉30に設けられた表示ユニット200(図2参照)の表示面を見るために設けられたものであり、この表示ユニット200では、その表示面に前記回転リール22aに応じた画像による回転リールが表示されるとともに、遊技機における演出用の画像が表示されるようになっている。
また、上扉30の表示窓32の上部および左右両側部には、報知や演出などを行うためのランプ33a,33b,33cが設けられている。
また、上扉30は筐体1内に設けられた交換ユニット2にヒンジ100を介して回動可能に連結されることで、筐体1の開口上部を開閉するようになっている。また、下扉40は筐体にヒンジ100を介して回動可能に連結されることで、筐体1の開口下部を開閉するようになっている。
なお、このスロットマシンMは、分離型筐体タイプの構造を有するものであり、遊技店における機種の交換時に、上扉30が回動自在に取り付けられた交換ユニットを交換するようになっており、機種の交換時に筐体1、下扉40および筐体1内の電源ユニットやホッパ装置等は、遊技店の島設備に取り付けられたままで、交換されないようになっている。また、スロットマシンMは、分離型筐体タイプに限られるものではなく、機種交換時にスロットマシン全体を交換するものであってもよい。この場合に、前扉3を上扉30と下扉40に分けない一体の構造としてもよい。また、上扉30と下扉40とに分ける場合に、上扉30を、筐体1の側板にヒンジ100を介して回動自在に取り付けてもよい。
下扉40は筐体1の開口下部を開閉可能に閉塞するための扉である。下扉40は、外枠に中枠を嵌め込んで構成されている。
下扉40の一方の縦方向の側縁部に下扉側蝶番が設けられている。そして、この下扉側蝶番を、筐体1の一方の側板に設けられた筐体側蝶番と係合させることで、下扉40は、筐体1の一方の側板に回動自在に取り付けられている。また、上扉30の下端部には、下扉40の前面より後方側で下扉40の上端より下側に突出する係合部が設けられ、下扉40が閉じた状態で、上扉30を開放することができない構造になっている。
また、下扉40の上部には、スロットマシンMを操作するための操作部50が設けられている。操作部50には、クレジットされたメダルを払い出すための精算スイッチ52、ゲームを開始させるためのスタートレバー53、回転リールの回転を停止させるためのストップスイッチ54、メダルを投入するためのメダル投入口42、メダル投入口42の下方のメダル通路内で発生したメダル詰まりを解消するリジェクトボタン55、最大数の3枚のメダルをゲームに投資するときに操作されるMAXベットスイッチボタン56等が設けられる他、遊技の演出等を選択するための操作盤57や、表示ユニット58が設けられている。操作盤57は操作部50の幅方向(左右方向)の略中央部に配置され、メダル投入口42およびリジェクトボタン55を挟んで、右側に表示ユニット58が配置されている。なお、操作盤57には、演出等の選択用の十字キー、決定ボタン、キャンセルボタン等を有している。
また、下扉40の下部には、スロットマシン内部よりメダルを排出するためのメダル払い出し口と、メダル払い出し口から排出されたメダルを溜めておくためのメダル受け皿43とが形成されている。また、操作部50とメダル受け皿43との間には液晶表示パネル45が取り付けられている。また、この液晶表示パネル45の左右両側にはそれぞれ報知や演出などを行うためのランプ33dが設けられている。
次に前記表示ユニット200について説明する。
表示ユニット200は、図3に示すように、全体的に略矩形板状に形成されたものであり、図4に示すように、ケーシング201と、液晶表示装置(表示装置)202と、枠体203と、保護パネル204と、保護パネル固定部材205,205とを備えて構成されている。
ケーシング201は、その前面に開口部を有する矩形の箱状に形成され、その上壁部の上面および下壁部の下面には、それぞれ上扉30にケーシング201を固定するための固定部208,208が左右に離間して設けられている。固定部208には、それぞれ2つの取付穴が形成され、2つの取付穴のうち適当なものを選択し、この選択した取付穴にネジを挿通して、上扉30に設けられたネジ孔にねじ込むことによって、ケーシング201が上扉30の所定の取付部に取り付けられるようになっている。なお、前記2つの取付穴が設けられた面のうち一方の面は鉛直面とほぼ平行な面となっており、他方の面は鉛直面に対して所定角度だけ傾斜した傾斜面となっている。したがって、ケーシング201を上扉30に取り付ける場合、前記平行な面を上扉30の所定の部分に取り付けると、ケーシング201はほぼ鉛直面と平行となり、傾斜面を上扉30の所定の部分に取り付けると、ケーシング201は傾斜した状態となる。
また、ケーシング201の上壁部の上面および下壁部の下面には、それぞれ被嵌合部209が固定部208に隣接して設けられている。被嵌合部209はケーシング201の上壁部の上面に2つ、下壁部の下面に2つ合計4つ設けられている。
また、図5に示すように、ケーシング201の上壁部の下面および下壁部の上面には、それぞれ被係止部201a,201bが左右に離間して設けられている。なお、図5ではケーシング201の下壁部の上面に設けられた被係止部201a,201bを図示している。また、上壁部の下面に設けられる被係止部201a,201bは、下壁部の上面に設けられる被係止部201a,201bと配置が左右逆転している。
被係止部201a,201bは保護パネル固定部材205が係止されるもので、ケーシング201の下壁部の長手方向に沿って延びるようにして設けられている。また、被係止部201a,201bの端部には、ストッパ部201c,201cが被係止部201a,201bに対して直角に設けられている。このストッパ部201c,201cは、被係止部201a,201bに保護パネル固定部材205の後述する係止爪205e,205fが係止した際に、係止爪205e,205fの先端部に当接して、当該係止爪205e,205fが被係止部201a,201bから外れるのを防止するためのものである。
液晶表示装置202は、図4に示すように、その前面に表示面が設けられ、この表示面に遊技機における演出用の画像が表示されるようになっている。そして、液晶表示装置202は、ケーシング201に表示面をケーシング201の開口部に向けて挿入されるようになっている。
枠体203は液晶表示装置202の表示面の外周部を囲む矩形枠状に形成され、その上辺部と下辺部とには、それぞれ嵌合部210,210が左右に離間して設けられている。この嵌合部210は、ケーシング201に液晶表示装置202を挿入して、この液晶表示装置202に枠体203を載せる際に、ケーシング201に設けられている被嵌合部209に嵌合することによって、ケーシング201に対する枠体203の位置決めを行うものである。
保護パネル204は、枠体203の開口から露出している液晶表示装置202の表示面を覆う矩形平板状に形成された透明板であり、枠体203の外周縁に設けられた環状の立上り部203aの内側に嵌め込まれるようになっている。
保護パネル固定部材205は、枠体203に設けられた保護パネル204を固定するものであり、以下のように構成されている。
すなわち、保護パネル固定部材205は、図6(a),(b)に示すように、断面略コ字形に形成された左右に長尺な部材であり、保護パネル204の前面外周部に当接する当接部205aと、この当接部205aに略直角に設けられて、ケーシング201に設けられた被係止部に係止する係止部205bとを備えている。
当接部205aはその裏面側が保護パネル204の前面外周部に当接されるようになっており、図6(b)に示すように、当接部205aの裏面には、保護パネル204に当接する断面円弧状の凸部205c,205cが左右に離間して形成されている。凸部205c,205cは、保護パネル204の製造誤差を吸収しつつ、当該保護パネル204の前面外周部に当接して当該前面外周部を2点で押圧することによって、保護パネル204の前面外周部を強固に押え付けるようになっている。
また、図6(a)に示すように、保護パネル固定部材205の当接部205aの表面には、凹部205k,205kが左右に離間して設けられている。この凹部205k,205kは、後述するように、保護パネル固定部材205を保護パネル204の表面に沿って移動操作させる際に、作業者が指を挿入して当該操作をする際に利用されるものである。
また、係止部205bは、矩形板状の係止部本体205dと、この係止部本体205dの一方の端部に設けられた係止爪205eと、他方の端部に設けられた係止爪205fとを備えている。
係止爪205eは被係止部201aに係止するものであり、係止爪205eと係止部本体205dとの間には、係止部205bを後述する隙間Sに挿入する際に、係止爪205eが被係止部201aに干渉しないようにするための開口部205gが設けられ、この開口部205gの底部から係止爪205eの側部まで延びる溝205hが設けられている。
そして、係止爪205eがケーシング201に設けられた被係止部201aに係止し、係止爪205fがケーシング201に設けられた被係止部201bに係合(当接)するようになっている。
次に前記構成の表示ユニット200の組立方法について説明する。
まず、図7(a)に示すように、ケーシング201に液晶表示装置202をその表示面を前面側に向けて挿入したうえで、ケーシング201の左右の側壁部から固定ネジ202aを挿通して液晶表示装置202の側部にねじ込むことによって固定する。
この状態において液晶表示装置202の前面は、ケーシング201の上壁部、下壁部および左右側壁部の前端よりケーシング201の底側に位置している。つまり、ケーシング201の上壁部、下壁部および左右側壁部の前端は、液晶表示装置202の前面より前方に突出している。
また、ケーシング201の上壁部の中央上壁部と液晶表示装置202の上面との間、およびケーシング201の下壁部の中央下壁部と液晶表示装置202の下面との間には所定の隙間S1が設けられている。
次に、図7(b)に示すように、ケーシング201に枠体203を挿入し、この枠体203を液晶表示装置202の外周部に設ける。この際、枠体203の嵌合部210をケーシング201の被嵌合部209に嵌合するとによって、枠体203をケーシング201に対して位置決めする。この状態において、枠体203の外周縁に設けられた環状の立上り部203aの先端は、ケーシング201の上壁部、下壁部および左右側壁部の前端とほぼ面一となる。
また、ケーシング201の上壁部の中央上壁部と枠体203の上面との間、およびケーシング201の下壁部の中央下壁部と枠体203の下面との間には所定の隙間S2が設けられている。この隙間S2および前記隙間S1の隙間長さはほぼ等しくなっている。
そして、この隙間S2と前記隙間S1とは、ケーシング201の深さ方向に連続した隙間Sとなり、この隙間Sはケーシング201の底部に設けられた被係止部201a,201bまで延びている。
次に、図7(c)に示すように、枠体203の環状の立上り部203aの内側に保護パネル204を挿入して設けることで、枠体203の開口から露出している液晶表示装置202の表示面を覆う。この状態おいて保護パネル204の前面と、枠体203の立上り部の前端とはほぼ面一となる。
次に、図7(d)に示すように、前記隙間Sに保護パネル固定部材205を挿入して、その当接部205aを保護パネル204の外周面に当接するとともに、係止部205bの係止爪205e,205fをケーシング201の被係止部201a,201bに係止(当接)することによって、図3および図8に示すように、ケーシング201、液晶表示装置202、枠体203および保護パネル204が一体化する。
係止爪205e,205fを被係止部201a,201bに係止する場合、以下のようにして行う。なお、図9では、保護パネル固定部材205を示す都合上、液晶表示装置202および枠体203は図示を省略している。
すなわち、図9(a)に示すように、保護パネル固定部材205を前記隙間Sに向けて挿入することで、図9(b)に示すように、保護パネル固定部材205の係止部205bが隙間Sに挿入されて行き、係止部205bの係止爪205e,205fがケーシング201の底部近傍まで届く。この際、保護パネル固定部材205の開口部205gによって係止爪205eは被係止部201aと干渉しない。
次に、図9(c)に示すように、保護パネル固定部材205の係止部205bが隙間S(図9(a)参照)に挿入された状態で、保護パネル固定部材205の当接部205aを保護パネル(図示略)の表面に沿って移動させることで、係止爪205e,205fが被係止部201a,201bに向けて移動して、当該被係止部201a,201bに係止する。これによって、図8に示すように、ケーシング201、液晶表示装置202、枠体203および保護パネル204が一体化される。この際、保護パネル固定部材205の溝205h(図6(b)参照)に被係止部201aが相対的に挿入されるので、係止爪205eが被係止部201aにスムーズに係止する。
このようにして組み立てられた表示ユニット200は上扉30の所定の取付部220に取り付けられる。
すなわち、図10に示すように、表示ユニット200は板状のベース部材325に保持されたうえで、このベース部材325が図2に示すように、上扉30に固定されるとともに、上述したように、ケーシング201に設けられた固定部208をネジによって上扉30に固定することによって、当該上扉30の取付部220に取り付けられる。
図11および図12に示すように、上扉30の略中央部には、表示ユニット200の取付部220が設けられており、この取付部220は略矩形枠状に形成されており、この取付部220に表示ユニット200が取り付けられるようになっている。なお、図10および図11では、保護パネル固定部材205を示す都合上、表示ユニット200は図示を省略している。
図10および図11に示すように、取付部220の上辺部および下辺部には、それぞれ規制阻害部221が設けられている。この規制阻害部221は、取付部220の上辺部および下辺部にそれぞれ立設された立壁221によって構成されている。
図10および図11において、保護パネル固定部材205は、その係止部205bの係止爪205e,205fが前記隙間Sに挿入されてケーシング201の被係止部201a,202bに係止している状態を示している。
このような状態で、表示ユニット200が、取付部220に取り付けられた際、保護パネル固定部材205が、保護パネル204の固定を解除する方向に移動しようとすると、上下の保護パネル固定部材205の当接部205aが規制阻害部221に当接して、それ以上の移動を規制する。したがって、保護パネル固定部材205が緩んで、その係止爪205e,205fがケーシング201の被係止部201a,201bから外れることがない。
一方、保護パネル固定部材205の係止部205bが前記隙間Sに挿入されているが、その係止爪205e,205fがケーシング201の被係止部に係止していない状態において、表示ユニット200を取付部220に取り付けようとすると、保護パネル固定部材205の当接部205aが、規制阻害部221と表示ユニット200の厚さ方向において重なるように配置されているので、当該規制阻害部221に当接部205aが当たって、表示ユニット200の取付部220への取付けを阻害する。
以上のように、本実施の形態によれば、保護パネル固定部材205の当接部205aが保護パネル204の外周部に当接したうえで、保護パネル固定部材205の係止部205bの係止爪205e,205fが、ケーシング201に設けられた被係止部201a,201bに係止することによって、ケーシング201、液晶表示装置202、枠体203および保護パネル204が一体化されているので、保護パネル204の取付けおよび枠体203の取付けの際にネジ止め作業が不要となる。
また、保護パネル固定部材205の係止部205bの係止爪205e,205fが、ケーシング201に設けられた被係止部201a,201bに係止するので、従来に比して、保護パネル固定部材205の押えの深度方向(外ケースの深さ方向)への長さが長くなって、保護パネル固定部材205による保護パネル204の押圧力が高まる。
したがって、保護パネル固定部材205によって保護パネル204を強固に固定できるとともに、表示ユニット200の組み立ての際にネジ止め作業が不要となる。
また、保護パネル固定部材205の係止部205bが、ケーシング201と、枠体203および液晶表示装置202との間の隙間Sに挿入された状態で、保護パネル固定部材205の当接部205aを移動させることで、係止部205bを被係止部201a,201bに向けて移動させ、係止爪205e,205fを被係止部201a,201bに係止できるので、保護パネル固定部材205による保護パネル204の固定を容易に行える。
また、保護パネル固定部材205の係止部205bが隙間Sに挿入されて係止爪205e,205fが被係止部201a,201bに係止している状態の表示ユニット200を取付部220に取り付けると、規制阻害部221によって、当接部205aの移動が規制されるので、当接部205aが移動して係止部205bの係止爪205e,205fが被係止部201a,201bから外れてしまうことがない。
また、係止部205bが隙間Sに挿入されて係止爪205e,205fが被係止部201a,201bに係止していない状態の表示ユニット200を取り付けようとすると、規制阻害部221によって、表示ユニット200の取付部220への取付けが阻害される。
したがって、遊技機の取付部220に取り付けられた表示ユニット200から保護パネル204が外れるのを防止できるとともに、保護パネル204が固定されていない表示ユニット200が取付部221に取付けられるのを未然に防止できる。
また、本実施の形態では、上述したように、正面側に開口する正面開口部を有する筐体1に前記正面開口部から挿脱可能に挿入されることで交換可能な交換ユニット2を備えている。
この筐体1の内側の側壁と交換ユニット2との間には、図13に示すように、当該交換ユニット2を挿入するための隙間Sが設けられている。
そして、筐体1の対向する側壁のうち、左側の側壁に固定部304が設けられ、この固定部304に交換ユニット2が接触状態で、固定手段によって固定されている。
すなわち、図14に示すように、筐体1は樹脂で形成された箱状の筐体本体300と、この筐体本体300の開口縁部に固定された補強枠301とを備えている。この補強枠301はアルミフレームで構成されたものであり、上下の補強フレーム302,303と、左右の補強フレーム304,305を矩形枠状に組み立てることによって形成されている。
そして、左側の補強フレーム304が交換ユニット2を固定するための固定部304とされている。補強フレーム304は、図14および図18に示すように、平行に配置された2枚の帯板状の板金304a,304aと、これら板金304a,304aを繋ぐ複数の連結部304bとによって一体的に構成されている。板金304a,304a間には、アルミ製のネジ受板304dが挿入されている。ネジ受板304dは、筐体1の内側を向く板金304aに当接するとともに、連結部304bに形成された係止部304cによって当該板金304aに当接した状態で係止されている。
このような補強フレーム(固定部)304には、図15に示すように、交換ユニット2が接触状態で、固定手段310によって固定されている。なお、固定手段310は上下に離間して2つあるが、それ以上設けてもよい。
すなわちまず、交換ユニット2は、図2、図16および図17に示すように、種々の部品を設置あるいは固定するための支持体としての枠体21と、この枠体21に固定されたリールユニット22および基板ユニット24と、枠体21に設けられたフレームベース23とから構成されている。枠体21は樹脂製であり、フレームベース23は金属製である。
また、枠体21に向かって左側の側面、つまり枠体21の補強フレーム304側に向く側面には、板金で形成された補強板25が固定されている。この補強板25の両端部には、それぞれ蝶番受26が固定されている。枠体21の左側壁には開口部が設けられ、この開口部に蝶番受26が挿入されることで、当該蝶番受26は枠体21の左側壁の内壁面から露出している。
また、補強板25の表面は、枠体21の左側面から若干突出しており、これによって、補強板25の表面が前記補強フレーム(固定部)304に確実に接触するようになっている。
このような交換ユニット2は、図15に示すように、筐体1の左右の側壁間に前記隙間Sをもって挿入され、当該交換ユニット2の補強板25を筐体1の補強フレーム(固定部)304に当接したうえで、固定手段310によって補強フレーム(固定部)304に固定されている。この状態において、補強板25と補強フレーム304は面接触している。
固定手段310は、図18に示すように、金属製のねじ310aと、前記補強フレーム304に設けられたネジ受板35に設けられたねじ孔310bとを備えている。そして、この固定手段310では、ねじ310aを交換ユニット2の枠体21および補強板25を挿通したうえで、ねじ孔310bにねじ込むことによって、交換ユニット2を補強フレーム(固定部)304に固定している。
ねじ310aは金属製のねじ本体と、このねじ本体の頭部に固定された絶縁性のつまみ部310cとからなるノブボルト310aによって構成されている。したがって、作業者は、ノブボルト(ねじ)310aのつまみ部310cを把持して、このノブボルト310aを交換ユニット2の枠体21および補強板25を挿通したうえで、ねじ孔310bにねじ込むことによって、交換ユニット2を補強フレーム(固定部)304に容易に固定することができる。
また、前記交換ユニット2には上扉30が設けられている。すなわち、前記交換ユニット2の補強板25には上述したように蝶番受26が固定されており、この蝶番受26には、図2に示すように、蝶番27を介して上扉30が筐体1の上側の開口部を開閉可能に取り付けられている。このため、上扉30の荷重は交換ユニット2の補強板25に伝達される。したがって、上扉30の荷重を蝶番27、蝶番受26を介して補強板25、つまり交換ユニット2によって支持することができる。
また、補強板25が固定手段310によって筐体1の補強フレーム(固定部)304に固定されている。したがって、固定手段310は上扉30の荷重を補強板25を介して補強フレーム(固定部)304に伝達するようになっている。これによって、上扉30の荷重を筐体1の補強された補強フレーム304によって確実に支持することができる。
なお、本実施の形態では、上扉30を交換ユニット2に設けたが、当該上扉30を筐体1の補強フレーム304に設けてもよい。この場合、補強フレーム304に蝶番受26を固定し、この蝶番受26に蝶番27を介して上扉30を取り付ければよい。
また、補強フレーム304と交換ユニット2が一体となっていることにより、固定手段310は上扉30の荷重を交換ユニット2に伝達するようになっている。これによって、上扉30の荷重を筐体1の補強された補強フレーム304だけではなく、交換ユニット2でも支持できようになるので、上扉30を確実に支持することができる。
このように本実施の形態によれば、筐体1の左側壁の内壁面にアルミで形成された補強フレーム(固定部)304が設けられ、この補強フレーム304に交換ユニット2が接触状態で、固定手段310によって固定されているので、筐体1の側壁と交換ユニット2との間に、交換ユニット2を挿入するための隙間Sを設けても、交換ユニット2を補強フレーム304に固定手段310によって強固に固定できる。
したがって、交換ユニット2のガタツキや撓みを防止できる。
また、例えば上扉30の開閉によって当該上扉30の荷重が左右方向に移動して交換ユニット2を撓ませようとする力が作用しても、上扉30の荷重を支持する補強板25が固定手段310により補強フレーム304に固定されているので、交換ユニット2の撓みが抑制される。このため、従来のように筐体1の中央部に棚板を設けて交換ユニット2を補強する必要がなくなり、この棚板がなくなることに伴い、交換ユニット2を上下に大きくすることができる。このため、交換ユニット2に設ける基板ユニット24やリールユニット22等の設置位置の自由度が高まる。
また、筐体1の側壁に設けられた補強フレーム304に交換ユニット2の補強板25が接触状態で固定さており、補強フレーム304と補強板25とは金属で構成されているので、筐体1と交換ユニット2とは金属接触することになる。したがって、交換ユニット2に生じる静電気を筐体1からアースをとって容易に除去できる。
また、交換ユニット2の補強板25と補強フレーム304とは面接触しているので、交換ユニット2を補強フレーム304に対して強固に固定できるとともに、交換ユニット2に生じる静電気を補強フレーム304を介して筐体1に容易かつ確実に逃がすことができる。
さらに、固定手段310が、交換ユニット2の金属で形成された部位(補強板25)に挿通される金属製のねじ310aと、金属製(アルミ製)の補強フレーム304のネジ受板304dに設けられて、ねじ310aがねじ込まれるねじ孔310bとを備えているので、ねじ310aをねじ孔310bにねじ込むことによって、補強フレーム304に交換ユニット2を容易に着脱可能に固定することできるとともに、ねじ310aとねじ孔310bが設けられる補強フレーム304とが金属製となっているので、交換ユニット2に生じる静電気をねじ310a、ねじ孔310b、補強フレーム304を介して筐体1からアースをとって容易に除去できる。
また、上述したように、補強板25に上扉30が蝶番受26、蝶番27を介して取付けられているので、上扉30の荷重を蝶番27、蝶番受26を介して補強板25によって支持することができる。
さらに、固定手段310は、上扉30の荷重を交換ユニット2の補強板25を介して筐体1の補強フレーム304に伝達するので、上扉30を当該補強フレーム304によって確実に支持することができる。
なお、本実施の形態では、筐体1の補強フレーム304(固定部)に交換ユニット2の補強板25を接触状態で固定手段310によって固定したが、これに代えて、筐体1の補強フレーム(固定部)304に交換ユニット2の補強板25を非接触状態で固定手段310によって固定してもよい。
この場合、補強板25と補強フレーム304とが所定の隙間だけ離間することになるが、前記固定手段310のねじ310aの長さをその分長くすることによって、当該ねじ310aをねじ孔310bにねじ込むことができるので、交換ユニット2を補強フレーム304に確実に固定することができる。また、固定手段310の数を増やすことで、固定強度を上げることもできる。
また、上扉30を交換ユニット2に設けた場合、固定手段310は上扉30の荷重を上扉30が設けられていない筐体1の補強フレーム304に伝達するようになっている。これによって、上扉30の荷重を筐体1の補強された補強フレーム304によって確実に支持することができる。また、上扉30を筐体1の補強フレーム304に設けた場合、補強フレーム304と交換ユニット2が一体となっていることにより、固定手段310は上扉30の荷重を交換ユニット2に伝達するようになっている。これによって、上扉30の荷重を筐体1の補強された補強フレーム304だけではなく、交換ユニット2でも支持できるようになるので、上扉30を確実に支持することができる。
したがって、筐体1の側壁と交換ユニット2との間に交換ユニット2を挿入するための隙間を設けても、交換ユニット2を補強フレーム304に固定手段310によって強固に固定できる。
よって、交換ユニットのガタツキや撓みを防止できる。
また、固定手段310を構成するねじ310aをねじ孔310bにねじ込むことによって、補強フレーム304に交換ユニット2を容易に着脱可能に固定することできるとともに、ねじ310aと、ねじ孔310bが設けられる補強フレーム304のネジ受板304dがとが金属製となっているので、交換ユニット2に生じる静電気をねじ310a、ねじ孔310b、補強フレーム304を介して筐体1からアースをとって容易に除去できる。
次に、演出の種類の選択や、会員登録等における文字の選択と入力等を行う入力装置401について説明する。
入力装置401は、図1に示すように、下扉40の上部にスロットマシンMを操作するための操作部50の操作盤57として設けられるものであり、操作盤57において複数のキー(スイッチ手段)によるオン・オフの入力を可能とするものである。
本実施の形態の入力装置401は、図19、図20および図21に示すように、遊技者に押される被押圧部材であるキーとして、十字キー402と、決定キー403と、キャンセルキー404とを備えるとともに、入力装置401の主に上面側を構成する上ケース405と、入力装置401の主に下面側を構成する下ケース406と、これら上ケース405および下ケース406から構成されるケース内に配置される第1基板407と、第1基板407より上側に配置される第2基板408と、さらにその上のインナーカバー409とを備える。
十字キー402は、上キー411、下キー412、左キー413および右キー414を備え、これらを囲むように設けられた外周部材410の内周側に各キー411,412.413.414が接続された状態となっている。十字キー402の各キー411,412,413,414は、外周部材410で一体になった形状であるが、各キー411,412,413,414をそれぞれ個別に押圧して変位させることができる。各キー411,412,413,414が外周部材410に接合されているため、それぞれのキー411,412,413,414を操作した場合に、他のキー411,412,413,414が多少動く可能性があるが、スイッチの操作に影響がでないようになっている。特に、各キー411,412,413,414の外側に環状の外周部材410が配置され、その内側に各キー411,412,413,414が配置されているので、例えば4つのキー411,412,413,414をそれらの内側で十字状の部材等により繋いだ場合に比較して、各キー411,412,413,414の動きが他のキー411,412,413,414に伝達されにくい構造となっている。これは、外側で各キー411,412,413,414を繋いだ方が内側で繋ぐより繋ぐ部材が長くなり、内側で繋ぐ場合と外側で繋ぐ場合とで同じ部材を使った場合に、各キー411,412,413,414を外側で繋いだ方が各キー411,412,413,414同士の動きが伝達されにくくなる。
上述の決定キー403、キャンセルキー404、上キー411、下キー412、左キー413および右キー414は、遊技者の指に押されて引き込むように変位し、この変位に基づいて、後述の決定スイッチ415、キャンセルスイッチ416、上スイッチ417、下スイッチ418、左スイッチ419および右スイッチ420をオン・オフするようになっている。これらスイッチ415,416,417,418,419,は、タクティルプッシュスイッチ、タクティールスイッチ、タクトスイッチ等と呼ばれるタクタイルスイッチであり、操作時のクリック感で、遊技者が、スイッチがオンまたはオフとなるのを体感できるようになっている。
決定キー403、キャンセルキー404、上キー411、下キー412、左キー413および右キー414は、略円柱状で、基端部に抜け止め用に径が大きくされた大径部を備えており、上ケース405に上下に貫通して設けられたキー孔421、422、423、424,425,426に、下面側から決定キー403、キャンセルキー404、上キー411、下キー412、左キー413および右キー414がそれぞれ挿入されている。上ケース405の下面には、各キー孔421、422、423、424,425,426のそれぞれの位置に、各キー孔421、422、423、424,425,426に連通する円筒状の円筒壁が設けられている。
これらキー403、404、411、412、413、は、各キー孔421、422、423、424,425,426の位置にそれぞれ設けられた円筒壁内で上下方向に案内された状態で移動可能で、かつ、上述の大径部により、各キー403、404、411、412、413、が上ケース405の上側に抜けないようになっている。また、これらキー403、404、411、412、413、の下側には、第1基板407、第2基板408、インナーカバー409等が配置され、これらキー403、404、411、412、413、が上ケース405の下側に抜けるのを防止している。
上ケース405は、入力装置401の上面を構成する略半円形状の上面板427と、その周囲の周壁428とを備え、この上面板427に、キー孔421、422、423、424,425,426が設けられている。この上面板427の下側に各キー403、404、411、412、413、414とインナーカバー409を介して第2基板408が配置されている。
略半円形の板体である第2基板408には、図20に示すように上面側に、決定キー403に押されてオンとなる決定スイッチ415と、キャンセルキー404に押されてオンとなるキャンセルスイッチ416が設けられている。これら決定スイッチ415、キャンセルスイッチ416は、上述のタクタイルスイッチであり、押圧されるとオンとなり、この状態から押圧が解除されるとオフとなる。
決定キー403と決定スイッチ415は、間にインナーカバー409を介して、上下に重なる位置に配置されている。また、キャンセルキー404とキャンセルスイッチ416は、間にインナーカバー409を介して、上下に重なる位置に配置されている。
また、決定キー403は、円筒状の本体部の軸方向に対して略直交する方向に延出する延出片429を備えており、この延出片429が間にインナーカバー409を介して決定スイッチ415と上下に重なっている。
また、第2基板408には、十字キー402の上キー411、下キー412、左キー413および右キー414にそれぞれ対応して、それぞれ貫通孔431が設けられている。また、第2基板408には、決定キー403、キャンセルキー404、上キー411、下キー412、左キー413、右キー414の位置にそれぞれ上下に略重なるようにLED432が搭載されている。
これらのLED432は、各キー403、404、411、412、413、414を下面側から照らして、これらを光らせるためのものである。各キー403、404、411、412、413、414は、それぞれ各スイッチ415,416,417,418,419,と上下に重なるように配置されることから、各キー403、404、411、412、413、414に対してLED432が少しずれて配置されている。ただし、決定キー403は、延出片29が設けられ、当該延出片29が決定スイッチ415と上下に重なって配置されているので、決定キー403用のLED432は、決定キー403の本体に対してずれることなく、上下に重なって配置されている。したがって、各LED432が互いにほぼ同様の構成で、かつ、各キー403、404、411、412、413、が互いに略同様の構成の場合に、決定キー403が最も明るく光る構造となり、決定キー403を他のキー404、411、412、413、414より目立つ構成とすることができる。さらに、第2基板408には、決定キー403と上下に重なる位置から少しずれた位置に、決定キー403を照らすもう一つのLED432が設けられており、1つのLED432を光らせた場合と、2つのLED432を光らせた場合とで、決定キー403の明るさを変形可能となっており、例えば、決定キー403の操作が有効か無効かを遊技者に報知可能となっている。
なお、十字キー402の各キー411,412,413,414に押される各スイッチ417,418,419,420は、第1基板407に設けられている。したがって、第2基板408の貫通孔431の部分で、各キー411,412,413,414に各スイッチ417,418,419,420がインナーカバー409を介して押されるようになっている。したがって、十字キー402の各キー411,412,413,414を照らすLED432は、貫通孔431の近傍(縁部分)に設けられている。
第1基板407には、上述の十字キー402の各キー411,412,413,414に押される各スイッチ417,418,419,420が、各キー411,412,413,414と上下に重なる位置に配意されている。なお、第1基板407は、半円状ではなく、第2基板408より小さい長方形状とされている。また、第1基板407および第2基板408には、それぞれ配線を接続するためのコネクタ441、442が設けられている。
第2基板408と、上ケース405、十字キー402、決定キー403およびキャンセルキー404との間には、インナーカバー409が配置されている。インナーカバー409は、第2基板408と略同じ半円状に形成された面状部材である。インナーカバー409は、シート状のラバーであり、かつ、ゴム状の合成樹脂製のものであり、可撓性を有するとともに、弾性を有するものである。また、インナーカバー409は、合成樹脂としての絶縁性を有するものであり、導体ではない。また、第1基板407と、第2基板408との間には、これらの間での漏れ電流を防止するために、間隔が設けられている。
インナーカバー409は、例えば、必ずしも透き通った透明ではなくてもよいが、光を透過する性質を有するものであり、例えば、LED等の光源の光を透過する。
インナーカバー409の十字キー402の各キー411,412,413,414と重なるとともに、第2基板408の各貫通孔431と重なり、かつ、第1基板407の十字キー402用の各スイッチ417,418,419,420と重なるそれぞれの位置には、スイッチ417,418,419,420をそれぞれ押圧するための貫通部材434が設けられている。図21に示すように、インナーカバー409の下面側には、第2基板408の各貫通孔431をそれぞれ貫通した状態に円柱状の貫通部材434が設けられている。
インナーカバー409の下面側の貫通部材434の位置を上面側から見ると、貫通部材434の直径より広い範囲に渡り上側に少しだけ膨出した膨出部435が設けられているとともに、これらの膨出部435より外側に対して、貫通部材434の部分を除いて膨出部435の厚みが薄くなっており、この膨出部435の貫通部材434より外側となる部分の弾性変形により、貫通部材434がその軸方向に上下動可能となっている。
下ケース406は、上ケース405と嵌合して入力装置401のケースを構成するもので、略半円状の底板436を備え、この底板436の周囲を囲む周壁437を有する。下ケース406の周壁437と、上ケース405の周壁428とが嵌合しているとともに、上ケース405と、下ケース406がねじで接合されている。
このような入力装置においては、第1基板407上に十字キー402用の4つのスイッチ417,418,419,420が搭載されており、第1基板407にこれらスイッチ417,418,419,420用に配線が設けられて、これらスイッチ417,418,419,420がコネクタ441に配線されている。同様に第2基板408に決定スイッチ415と、キャンセルスイッチ416が搭載されるとともに、各キー402,403,404を照らすLED432が搭載され、これらがコネクタ442に配線されている。したがって、第1基板407および第2基板408は、プリント配線基板や電子回路基板等と呼ばれる電気配線(電子回路)を有する基板である。
このような入力装置401においては、例えば、決定キー403またはキャンセルキー404を遊技者が押すと、決定キー403またはキャンセルキー404が上ケース405のキー孔421,422の円筒壁内で、下側に移動する。この際に、インナーカバー409を介して、決定スイッチ415またはキャンセルスイッチ416が押されて、コネクタ442を介して決定スイッチ415またはキャンセルスイッチ416に接続された回路がオフからオンとなる。また、遊技者が決定キー403またはキャンセルキー404から指を離すと、決定スイッチ415またはキャンセルスイッチ416が元の状態に復帰することにより、決定キー403またはキャンセルキー404が下から上に移動し、上述の回路がオンからオフに戻ることになる。
また、十字キー402のいずれかのキー411,412,413,414を遊技者が押すと、押されたキー411.412.413.414がインナーカバー409の貫通部材434を上下方向の下側に移動させ、貫通部材434が十字キー402のスイッチ417,418,419,420のいずかを押して作動させることになる。貫通部材434と、この貫通部材434を備える面状部材としてのインナーカバー409が、被押圧部材である十字キー402の変位を第1基板407のスイッチ手段としてのスイッチ417,418,419,420に第2基板408を貫通して伝達する伝達手段である。
以上のように、入力装置401の基板を2つに分けているので、例えば、第1基板407を遊技の当たりはずれを含む進行を制御する制御装置を構成するメイン基板(主制御装置)に接続し、第2基板408を遊技の演出を制御するサブ基板(副制御装置)に接続するような場合に、大本の入力用の基板の段階で、メイン基板用とサブ基板用とに分けているので、メイン基板への接続の配線と、サブ基板への接続の配線とを基板の段階で2つに分離することが可能となり、組立時やメンテナンス時等において、接続先の違いにより基板毎に分離された配線により作業性の向上を図ることができる。また、第1基板407の配線と第2基板408の配線の接続先とが同じ基板となる場合であっても、例えば、スイッチの種類、例えば、十字キー用等の方向指示用のスイッチと、決定キーやキャンセルキー等の意思等を指示するためのスイッチとで基板を分けたり、主に、照明用のLEDを搭載した基板と、主にスイッチを搭載した基板とで分けたりすることで、組み立て時の基板の管理を容易にしたり、組み立てを容易にしたりすることが可能となる。
しかし、このように基板を2つ以上に分けた場合に、入力装置等において、スペース効率が悪化し、装置の大型化を招く虞があるが、上述のように2つの基板を重ねて配置することで、スペース効率の悪化を防止し、基板が複数となっても小型化を図ることが可能となる、この際には、上述のように上側の第2基板408を貫通して第1基板407上のスイッチ417,418,419,420等を操作可能となっている必要がある。
また、遊技機では、不特定多数の人が1つの入力装置401に接触することになり、例えば、静電気を帯電した状態の複数の人が順次入力装置401を操作する可能性が有る。そのため、例えば、第1基板407および第2基板408に静電気に基づく高い電圧が印加され、これら第1基板407や、第2基板408の回路や電子部品に問題が生じたり、第1基板407や第2基板408の接続先の回路に問題が生じたりする可能性があるが、第1基板407より、遊技者が操作する各キー402,403,404側(上側)に配置される第2基板408のこれらキー402,403,404側に絶縁性のインナーカバー409が配置されている。これにより、第1基板407およびその下側の第2基板408が静電気の影響を受けるのを抑制することができる。
特に、遊技者が接触する各キー403、404、411、412、413、が直接、第1基板407および第2基板408の各スイッチ415,416,417,418,419,を押すのではなく、インナーカバー409を介して押すので、静電気による影響を抑制することができる。また、第1基板407は、直接インナーカバー409に覆われているわけではないが、インナーカバー409の貫通部材を介して、第1基板407に搭載されたスイッチ417,418,419,420が押されるので、第1基板407においても静電気が抑止される。
次に、上述の入力装置401とスイッチ415,416,417,418,419,の構造が異なる他の実施の形態の入力装置401について説明する。なお、他の実施の形態の入力装置401は、基本的にスイッチの構造が異なるとともに、インナーカバーが1枚から2枚に増えたことが異なる。なお、以下の説明では、主に上記実施の形態と異なる構成を説明し、同様の構成要素については、図22および図23に、図20および図21と同様の符号を付してその説明を省略する。
図22および図23に示すように、他の実施の形態では、スイッチとして、第1基板407および第2基板408の上面に形成された2つの電極443(導体箔パターン)と、2つのインナーカバー409a、409bに設けられた導電性樹脂部445,446を用いるようになっている。なお、2つの電極443は、離れており、2つの電極443が同時に1つの導電性樹脂部445,446に接触すると回路が閉、すなわち、オンとなり、2つの電極443から1つの導電性樹脂部445,446から離れると回路が開、すなわち、オフとなる。したがって、導電性樹脂部445,446と、第1基板407および第2基板408の導体箔パターン(電極443)とからスイッチ手段が構成されている。
第1基板407の上面を覆うように第2インナーカバー409bが第1基板407に重ねて配置され、第2基板408の上面を覆うように第1インナーカバー409aが第2基板408に重ねて配置されている。
第1インナーカバー409aは、上述のインナーカバー409と略同様の部材からなるとともに、略同様の形状を有するものである。第1インナーカバー409aは、第2基板408の上面側で各キー403、404、411、412、413、の直ぐ下に配置されている。第1インナーカバー409aの決定キー403と重なる部分と、キャンセルキー404と重なる部分には、それぞれ上面側で凸となり、下面側で凹となる導電性樹脂部445が設けられている。第1インナーカバー409aは、第2基板408の上面に略当接した状態に配置されるが、導電性樹脂部445では、第1インナーカバー409aの下面の凹部が第2基板408側に配置されるため、下面側が凹部の導電性樹脂部445と、第2基板408の上面の2つの電極443とが離れた状態でオフとなっている。この状態で決定キー403またはキャンセルキー404を押すと、これらキー403、404のいずれかが導電性樹脂部445を第2基板408の上面に押し付け、2つの電極443の間を導通させてオンとなる。
また、第1インナーカバー409aの十字キー402の各キー411,412,413,414の位置に対応する部分には、上記実施の形態のインナーカバー409と同様に、下面側に4つの貫通部材434が設けられ、上面側に4つの膨出部435が設けられており、貫通部材434が第2基板408の4つの貫通孔431をそれぞれ貫通した状態に配置されている。
第2インナーカバー409bは、上述のインナーカバー409と同様のものであるが、形状が半円状ではなく、第1基板407の形状に類似する略長方形となっている。第2インナーカバー409bには、前記十字キー402の各キー411,412,413,414の位置に対応し、第2基板408の各貫通孔431の位置に対応し、第1インナーカバー409aの膨出部435および貫通部材434の位置に対応し、さらに第1基板407の上面の一対ずつの電極443の位置に対応して上述の導電性樹脂部446が設けられている。
各キー411,412,413,414が押されて下に移動すると、第1インナーカバー409aの貫通部材434が貫通孔431内を下に移動して、第1基板407を覆い、第1基板407と重なる第2インナーカバー409bの下面側で凹部の導電性樹脂部446が下側に押されることで、下面側に凸となり、第1基板407の一対の電極443を短絡させてスイッチをオンとする。
このような他の実施の形態の入力装置401においても、上述の実施の形態と同様に、基板を複数枚に分けるとともに、重ねて配置し、かつ、上側の基板を貫通する部材で下側の基板上のスイッチを操作することにより、上述の実施の形態の入力装置401と同様の作用効果を奏する。また、スイッチとして、機械式の小型スイッチを用いるのではなく、基板に形成された導体箔からなる電極443と、対となる電極443を導通する導電性樹脂部445,446とから構成することにより、コストの低減を図ることができる。
また、第2インナーカバー409bが第1基板407の上面を覆い、第1インナーカバー409aが第2基板408の上面を覆うことにより、上述の実施の形態の場合よりも、より静電気の影響を受け辛い構造となっている。特に、第1基板407と第2基板408との間に第2インナーカバー409bがあることにより、より静電気の進入を防止し易い構造となっている。
なお、さらなる静電気防止のための構造を形成することが可能であり、第1基板407と、第2基板408の周縁部等の回路が形成されていない部分に、スルーホールを設け、このスルーホールをアースする方法や、第1基板407や第2基板408で電子部品が搭載されておらず配線パターンがない部分に導体箔の領域を設け、当該導体箔をアースに接続する構造を用いてもよい、これらの構造により、さらに静電気の影響を抑制することができる。
次に、本実施の形態の遊技機の可動演出装置501を説明する。図24および図25に示すように、この可動演出装置501は、遊技機の前扉3の上扉30の左右側部から遊技者側に突出して設けられ、遊技者が触れられる状態に設けられている。
可動演出装置501は、前扉3の上下の中央部から上側、すなわち、前扉3の上扉30の左右側部に設けられ、回転により開閉する扉状の移動体502を右上、右下、左上、左下の4か所に備えている。なお、各移動体502は、図25に示すように、発光する照明手段503を備えており、右上および左上の照明手段503が上述のランプ33bに対応し、右下および左下の照明手段503が上述のランプ33cに対応する。
右側の上下に配置される移動体502と、左側の上下に配置される移動体502とでは、構成が略同様であるが、左右の形状が逆になっており、互いに鏡像の関係になっている。なお、右側の上下の移動体502は互いに同様の構成で同様の形状とされ、左側の上下の移動体502は互いに同様の構成で同様の形状とされている。
右側の移動体502は、右側縁部に上下方向に沿って配置される後述の回転軸505を中心に左側縁部が円弧移動するように回転移動することで開閉する。同様に、左側の移動体502は、左側縁部に上下方向に沿って配置される後述の回転軸505を中心に右側縁部が円弧移動するように回転移動することで開閉する。この扉状の移動体502を備える可動演出装置501は、発光する演出装置として、扉の内側となる面に光を照射する照明手段503を備えている。
以下に、可動演出装置501の右側の半分について説明し、左側の半分の説明を省略する。なお、可動演出装置501の右側半分と左側半分とでは、左右が逆になる以外は、同様の構造を有するものとなっている。
図26に示すように、可動演出装置501の右側半分は、上下一対の移動体502と、移動体502を回転駆動する上下一対のモータユニット510を有するとともに、リフレクタやフレキシブル基板やLEDを搭載するプリント配線基板等からなる付属部材群511を有する駆動支持板512と、移動体502を回転自在とする上下一対の回転軸505を支持する軸支持板522と、閉じた扉状の移動体502より内側に配置されて例えば付属部材群511中のLEDの光が透過する内側レンズ板514と、移動体502(前側)を除く可動演出装置501を覆うカバー541とを備える。
移動体502は、閉じた状態で隠され、開いた状態で露出する上述の照明手段503を備えており、照明手段503には、LEDが搭載されたLED基板や、LEDの光を透過させて光量や光の方向や色を調整するレンズ部材等を備える。なお、LED基板のLEDは、LEDを点灯させるための駆動回路や、点灯と消灯を制御するための制御回路等に電気的に接続されるとともに、LED基板が電子回路を構成しており、静電気が入力した場合に、移動体502内にある電子回路や、この電子回路に接続された移動体502外の制御回路等の電子回路が、静電気による影響を受ける虞がある。また、可動演出装置501は、移動体502も含めて遊技者が触れられる位置にあり、遊技者から静電気が入力可能な状態となっている。
そこで、移動体を回転自在に支持する回転軸505を備えた導電性の軸支持板(導体)522に接触した状態で、アースされたアース部材515が樹脂製(絶縁性)の駆動支持板512にビス止めされている。また、メッキされて表面が導電性となった樹脂製の装飾部材543に、アースされたアース部材542がビス止めされている。なお、アース部材515、542は、例えば、最終的に島設備の電気系統のアースに接続されるようになっている。また、軸支持板522のアース部材515は、移動体502から静電気を逃がすようになっている。なお、静電電機は、後述のように移動体502のヒンジ部材506からねじりばね530を介して軸支持板522に至りアース部材515を通って外部に逃がされることになるが、絶縁性の駆動支持板512に支持される付属部材群511の中には、静電気の影響を受け易い部材もあるので、付属部材群511は、上述のような静電気を逃がす放電経路からは距離をおいて配置され、静電気を逃がす際に付属部材群511に電気が流れないようにしている。
また、図27および図28に示すように移動体502には、移動体502を扉状に開閉自在とするヒンジ部材506を備えている。ヒンジ部材506は、図29に示すように軸支持板522に支持された回転軸505回りに移動体502を回転可能とするものである。ヒンジ部材506は、各移動体502に備えられ上述のLED基板や各種レンズ部材を有する照明手段503や移動体502の照明手段503の反対側を覆うカバー等を回転自在に支持するようになっている。
ヒンジ部材506の上部および下部には、回転軸505の上部または下部が貫通した状態に配置される支持枠507を備え、各支持枠507内には、回転軸505に回転自在に支持される軸受部材が設けられ、支持枠507に固定された軸受部材により回転軸505を回転自在に受けていることから、移動体502は、回転軸505に回転移動自在に支持された状態となっている。このヒンジ部材506は、例えば、金属板等の導体から構成されている。
また、ヒンジ部材506の上部には、回転軸505に対して平行で、軸心の位置が偏心したリンクピン508が設けられている。リンクピン508は、ヒンジ部材506に固定され、かつ、モータユニット510にリンク部材516を介して接続されており、リンクピン508を回転軸505回りに所定角度範囲で回転往復移動させるようになっている。これにより、移動体502は、回転往復移動し、図25に示すように照明手段503が照明可能に開放された開状態と、図24に示すように照明手段503が隠れた閉状態とで開閉するようになっている。
図29Aに示すように、モータユニット510には、アクチュエータとしてのモータ(ステッピングモータ)551と、モータ551の回転軸に取り付けられたウォームギヤを構成するウォーム552と、ウォーム552に噛み合うウォームホイル553と、ウォームホイル553の回転を伝達するとともに伝達を解除可能なクラッチ554と、クラッチ554を介してウォームホイル553の回転が伝達されるカム555とを備えている。
ウォームギヤは、モータ551の回転の軸方向を略直角に曲げてカム555に伝達するようになっている。また、クラッチ554は、離接自在で接触した状態で回転を伝達する2つの部材からなり、これら部材が付勢部材としてのばねにより互いに押し付けられて回転を伝達する。但し、移動体502の開閉において、所定の開位置より移動体502が開方向に過剰に移動して回転角度が所定角度以上となると、2つの部材が離れて、モータ551に対して移動体502Dの回転移動が自由になる。この際に移動体502は、後述のようにねじりばね530により閉方向に付勢されており、移動体502は、閉方向に戻る。
カム555には、ウォームホイル553の回転軸に対して偏心した位置にリンク部材516の一端部が回転自在に軸支された状態となっている。リンク部材516の他端部が、上述の移動体502の回転中心に対して偏心した位置に配置されたリンクピン508に回転自在に軸支された状態となっている。これによって、モータ551の回転により、リンク部材516を介して移動体502を開閉駆動できるようになっている。
図29に示すように、回転軸505は、遊技機側に固定される軸支持板522に支持されるようになっている。軸支持板522には、上側の回転軸505と、下側の回転軸505とが上下に並んで支持されるようになっている。軸支持板522には、各回転軸505に対応して、上下一対ずつの円筒状の支持筒部524が設けられている。
回転軸505の支持筒部524に支持される部分には、図26に示すように、ブッシュ525が設けられている。すなわち、各回転軸505は、略円筒状の一対のブッシュ525に貫通した状態となっている。これらブッシュ525は、基本的に軸支持板522の支持筒部524と、当該支持筒部524に挿入された状態の回転軸505との間に配置されて、これらの隙間を埋めて支持筒部524に回転軸505を支持するようになっている。なお、ブッシュ525を軸受として作用するものとして、ブッシュ525に対して回転軸505を回転自在としてもよい。また、ブッシュ525は、軸支持板522の支持筒部524と回転軸505との間に配置されて緩衝作用を示すものであってもよい。例えば、遊技者が移動体502を掴んで無理に動かした場合に、回転軸505や軸支持板522の変形を抑制するようになっている。なお、このようなブッシュ525は、緩衝作用のための柔軟性を有する樹脂製であり、回転軸505と、軸支持板522とが導体である金属製であっても、回転軸505と軸支持板522との間に配置されブッシュ525が絶縁性の樹脂なので静電気が流れるのを抑制しており、例えば、金属製の回転軸505を介して移動体502側から回転軸505を支持する固定側に静電気を逃がすことはできない。
回転軸505の中央部には、回転軸505が貫通した状態のねじりばね530が設けられている。ねじりばね530は、コイル部分と当該コイル部分の一端側と他端側からそれぞれコイル部分の軸方向と交差する方向に延出する端部とを備えている。このねじりばね530のコイル部分を回転軸505が貫通した状態となっている。このねじりばね530は、例えば、一方の端部が軸支持板522に接触するとともに、他方の端部がヒンジ部材506に接触し、これら軸支持板522と、ヒンジ部材506との間で、ねじりばね530が圧縮された状態に配置されている。
また、ねじりばね530は、軸支持板522に対してヒンジ部材506を備える移動体502を当該移動体502を閉側に回転するように付勢している。これにより、移動体502は、ねじりばね530の付勢力により閉方向に付勢されており、モータユニット510は、このねじりばね530の付勢力に抗して移動体502を閉状態から開状態に移動し、かつ、この付勢力に支援された状態で移動体502を開状態から閉状態に移動する。また、ねじりばね530の付勢力により閉状態の移動体502を閉状態に維持するようになっている。
移動体502は、開閉する場合の開となる開位置と、閉となる閉位置が決まっており、この開位置と閉位置との間で回転往復移動するようになっている。例えば、内部に駆動支持板512や軸支持板522等を備えて前側が開放した箱状に形成されているカバー541には、移動体502の回転移動範囲を規制するストッパが設けられている。例えば、閉じた移動体502が回転移動して開位置に達する際にストッパに接触してそれ以上開方向に移動体502が回転しないように回転を阻止される。また、同様に開いた移動体502が回転移動して閉位置に達する際にストッパに接触してそれ以上閉方向に回転しないようになっている。
これにより、遊技者は、移動体502を当該移動体502の回転可能範囲を越えて回転移動させることが抑制され、移動体502が回転可能範囲を越えて回転することにより破損するのを抑制できる。また、カバー541の下端部には、装飾用にメッキされた装飾部材543が取り付けられている。
このような可動演出装置501においては、遊技機の前扉3の左右側部の遊技者が触れる位置に移動体502や、メッキされた装飾部材543が取り付けられたカバー541等があるので、これらに遊技者から静電気が入力する虞がある。この場合に、移動体502を軸支持板522に対して付勢している付勢手段としてのねじりばね530が移動体502と軸支持板522に常時接触した状態となっており、導電性のねじりばね530が移動体502とアースされた軸支持板522とを常時電気的に接続した状態となっている。
これにより、移動体502に入力した静電気をアースされた導電性の軸支持板522に逃がすことができる。すなわち、遊技者から移動体502に入力した静電気は、移動体502のヒンジ部材506からねじりばね530を通って、アース接続されて位置が固定された導体としての軸支持板522に至り、さらにアース接続されたアース部材515を通って外部に逃がされる。また、ねじりばね530等のばねは、その付勢力により、例えば、2つの部材に常時接触させる構成とすることが容易であり、移動体502の移動により軸支持板522との電気的接合が途絶えるようなことがない。これにより、移動体502の回路や当該回路に接続されている回路が静電気により破損するのを確実に抑止できる。すなわち、電気的接触が解除されて静電気の影響を受けてしまうような事態の発生を抑制できる。
また、基本的にねじりばね530は、移動体502の往復動の戻りの移動を補助するとともに、閉状態を保持するために用いられるものであり、アースのために新たに部品を配置する必要がなく、スペース効率の悪化を防止できる。また、ねじりばね530等のばねは、基本的に動かないように配置される電線等に比較して、金属疲労を起こし難く、移動する移動体502に接続される電線よりも高い耐久性を期待できる。
上述のように移動体502は、図示しない閉位置と開位置とに配置されたストッパに規制された範囲で、原点位置となる閉位置から所定の開位置まで移動可能で、開位置から原点としての閉位置まで移動可能であり、ステッピングモータ551の回転時のステップ数を制御することにより開閉を制御可能である。さらに、図29B、図29Cおよび図29Dに示すように、本実施の形態では、移動体502が原点となる閉位置にある状態と、開位置にある状態とを検知する2つのフォトセンサ561、571とを備えている。
移動体502が閉位置にあることを検知する閉検知用フォトセンサ571は、図29Bおよび図29Cに示すように、上下一対の移動体502を支持する側の駆動支持板512に固定的に取り付けられ、移動体502の移動に対して固定された状態となっている。閉検知用フォトセンサ571には、凹部572が設けられ、この凹部572には、フォトセンサ571の発光素子から受光素子に向かう光が通った状態となっている。また、移動体502には、照明手段503のカバー565に、上述の凹部572に挿入可能な遮断突起573が設けられている。この遮断突起573は、移動体502が原点位置近傍から原点位置(閉位置)にある場合に、フォトセンサ571の凹部572に挿入された状態となり、上述の光線を遮断して、フォトセンサ571を遮光状態とし、原点位置から所定角度以上回転すると、遮断突起573がフォトセンサ571の凹部572から外れて、フォトセンサ571で発光素子から受光素子まで光を通す通光状態となる。
図29Bおよび図29Dに示すように、移動体502が開位置にあることを検知する開検知用フォトセンサ561は、モータユニット510の固定されたモータ551側に配置されて、移動体502の移動に対して位置が固定されている。開検知用フォトセンサ561には、凹部562が設けられ、この凹部562には、フォトセンサ561の発光素子から受光素子に向かう光が通った状態となっている。また、上述のカム555には、凹部562の光を遮断する遮蔽板563が設けられている。カム555は、移動体502を開閉駆動するために回転するようになっており、遮蔽板563は、カム555の回転に対応して、移動体502が所定の開位置の範囲内にある場合に遮蔽板563が開検知用フォトセンサ561の凹部562に挿入された状態となり、フォトセンサ561の上述の光を遮断するようになっている。
これら移動体502の開閉移動と、フォトセンサ561、571からの制御装置への信号との関係は、図29E(a)、(b)および図29Fに示すようになっている。すなわち、移動体502の移動は、フォトセンサ561、571の検知に対応して、原点位置(閉検知用フォトセンサ571は遮光状態)から閉検知用フォトセンサ571が光を通す通光状態となる動作番号(1)の動作と、閉検知用フォトセンサ571が通光状態となってから、通光状態の開検知用フォトセンサ561が遮光状態となる動作番号(2)の動作と、開検知用フォトセンサ561が遮光状態となってから所定の開位置までさらに開側に移動体502が移動する動作番号(3)の動作とがある。なお、移動体502を所定の開位置よりさらに開側に移動するとクラッチ554が作動し(動作番号(4))、移動体502は、ねじりばね530の付勢力により原点位置に戻るようになっている。なお、移動体502の開閉移動範囲は、上述のようにストッパで規制されており、移動体502が原点位置より閉側に移動しないようになっているとともに、上述のクラッチ554の作動位置よりさらに開側に移動しないようになっている。
また、原点位置からの移動体502の回転角度(D1〜D4)と。モータのステップ数(S1〜S4)は、動作番号(1)の動作でD1、S1となり、動作番号(2)の動作でD1+D2、S1+S2となり、動作番号(3)の動作でD1+D2+D3、S1+S2+S3となり、動作番号(4)のクラッチの作動開始となる角度およびステップ数は、D1+D2+D4と、S1+S2+S4となる。
なお、回転角度D1、D3、D4は、例えば、数度から十数度等の角度であり、回転角度D2は、例えば、回転角度D1と回転角度D3またなD4と合わせて90度程度の角度である。また、動作番号(1)から(3)の操作を閉から開への回転(正回転)の動作として説明したが、開から閉への回転(逆回転)の動作も行われる。なお、CWが時計回りまたは正回転であり、CCWが逆時計回りまたは逆回転である。
また、移動体502の開閉動作では、モータ551の回転速度の制御も行われるようになっており、図29G(a)、(b)に示すように、閉から開への動作においては、開検知用フォトセンサ561が開検知するまで増速傾向で制御し、開検知用フォトセンサ561が開検知してから減速傾向で制御する。なお、図29G(a)、(b)において、速度は、ステッピングモータ551の制御用にPPS(パルス数/秒)で示している。モータ551の正回転時の回転速度V1〜V4は、V1<V2でV3>V4である。なお、ここでさらにV1=V4で。V2=V3であってもよい。
また、図29Gに示すように、逆回転時のモータ551の開から閉への動作の速度制御では、閉検知用フォトセンサ571が閉検知するまで増速傾向で制御し、閉検知用フォトセンサ571が閉検知してから減速傾向で制御する。ここで、モータ551の逆回転時の回転速度V11〜V15は、V11<V12<V13でV14>V15である。なお、ここでさらにV11=V15で。V12=V14であってもよい。
このような可動演出装置501においては、移動体502が閉から開側に移動する際に、照明手段503が発光可能になるように制御されている。これにより、移動体502が閉じた状態では、照明手段503のLEDが消灯するように制御される。本実施の形態では、上扉30の上部の向かって右側に、小型の表示窓31が設けられ、この表示窓31の奥には、3個の回転リール22aが横一列に設けられている。これにより、向かって右側の移動体502が閉じた状態でその照明手段503が点灯した場合に、照明手段503の明かりが回転リール22aに当てられた状態となる虞がある。回転リール22aに、その照明用の明かり以外の明かりが当たり、この明かりが点灯したり、消灯したり、点滅したり、色が変わったりすると、回転リール22aの視認性に影響を与え、回転リール22aの外表面に描かれた図柄が視認しづらくなったり、誤認し易い状態となったりする虞がある。
したがって、移動体502が閉じた場合に、照明手段503が消灯することにより、回転リール22aの視認性の問題の発生を防止できる。ただし、移動体502は、遊技者が触れることが可能な位置にあり、遊技者が開となって照明手段503が点灯した状態の移動体502を無理に閉じさせてしまう虞がある。この場合に、回転リール22aに照明手段503の明かりが当たってしまうことになる。
そこで、可動演出装置501の移動体502または移動体502が支持される部分に上述のような移動体502の開閉を検知するフォトセンサ561、571を使用することが好ましい。この場合に、移動体502が閉じた状態、すなわち、閉検知用フォトセンサ571により移動体502が閉じたことを検知している場合には、照明手段503を消灯させるように照明手段503のLEDの点灯と消灯を制御する制御回路(例えば、サブ基板)を備えるものとしてもよい。この場合、回転リール22aが回転しているリール回転期間だけ、移動体502が閉じた場合に照明手段503を消灯させるように照明手段503のLEDの点灯と消灯を制御することが好ましい。このようにすれば、リール回転期間以外では、移動体502が閉じた状態でも、照明手段503のLEDの点灯や点滅等の間接照明による演出が可能である。リール回転期間には、全リール停止後の次遊技を行うための遊技メダル等の受付を一定時間行わないとする演出用待ち時間でるウェイト時間中も含まれる。この場合には、遊技者が移動体502を無理に閉じさせた場合であっても、リール回転期間中は、移動体502の照明手段503が消灯し、回転している回転リール22aの視認性が悪化するのを防止できる。
なお、センサは、フォトセンサと遮蔽部材の組み合わせに限られるものでなく、移動体502の移動や、モータユニット510の回転等を検知して移動体502の開閉を検知するものであってもよいし、移動体502の開閉による明るさの変化を検知して移動体502の開閉を検知するものであってもよい。
また、本実施の形態では、遊技機の前面下部に、当該前面下部を略覆うようにして面状部材が設けられている。
すなわち、図1に示すように、遊技機の前面下部は下扉40によって構成されており、この下扉40には、当該下扉の面積より若干小さい面積を有する面状部材としての液晶表示パネル45が設けられている。
具体的には、液晶表示パネル45は、下扉40において従来の化粧パネル等の下パネルが設けられていた部位、つまり下扉40の操作部50とメダル受け皿43との間に設けられている。
この液晶表示パネル45は、その表示画面に演出用の映像を映し出す演出用部材であるとともに、他の演出用部材による演出を行う際に押下される演出ボタンでもある。他の演出用部材用の演出ボタンとは、例えば前記表示ユニット200の表示画面に演出用の映像を映し出す場合の演出ボタンや、前記ランプ33a,33b,33c,33dの点灯、点滅等による演出を行う場合の演出ボタンのことを言う。
なお、以下の説明では液晶表示パネル45のことをヒュージボタン45と記述する場合もある。
このような液晶表示パネル(面状部材)45は可動となっている。
すなわちまず、図30〜図32に示すように、液晶表示パネル45の裏側にはベース部600が設けられており、このベース部600に、液晶表示パネル45を駆動させるための駆動機構が以下のようにして設けられている。
すなわちまず、図30および図31に示すように、ベース部600の上端部には、ブラケット600a,600aが左右に離間して設けられており、このブラケット600a,600aに回動軸600bが回転可能に支持されている。この回動軸600bに保持部600cが設けられており、この保持部600cによって液晶表示パネル45が保持されている。したがって、液晶表示パネル45はその一辺部に設けられた回動軸600bを軸として回動することによって、ベース部600に接近離間するように可動となっている。
また、図32および図35(a)に示すように、ベース部600の下部でかつ幅方向中央部に支持部601が設けられ、この支持部601にカムシャフト602aが軸回りに回転自在に支持されている。このカムシャフト602aの左右両端部には、カム602が取り付けられ、このカム602はカムシャフト602aとともに正逆方向に回転するようになっている。なお、図32において裏面から見て左側のカム602はベース部600と液晶表示パネル45との間に位置しているため、隠れている。
また、カムシャフト602aの右端部にはカム602より内側(図32および図35(a)で左側)において、カムギヤ603が取り付けられている。また、ベース部600には、モータ取付部604が設けられており、このモータ取付部604の一方の面にステッピングモータ605が取り付けられている。このステッピングモータ605の駆動軸はモータ取付部604を貫通して、その他方の面に突出しており、この突出した駆動軸にギヤ606が取り付けられている。そして、このギヤ606がカムギヤ603に噛合している。したがって、ステッピングモータ605の駆動軸が正逆方向に所定角度回転することによって、ギヤ606、カムギヤ603、カムシャフト602aを介してカム602が正逆方向に所定角度だけ回転するようになっている。
図35(a)〜(c)に示すように、左側のカム602には薄板状の遮蔽板602cが設けられている。この遮蔽板602cはカム602の周方向に所定長さを有する円弧板状のものである。
一方、左側のカム602の外周側には、検知センサ607が後述するロック受け部616に対してカム606の径方向反対側に配置され、この検知センサ607は前記ベース部600の所定の位置に取り付けられている。なお、図35(a)ではベース部600は省略してある。
検知センサ607はフォトセンサで構成されており、発光部607aと受光部607bとを有している。このような検知センサ607は、カム602が回転することによって、発光部607aと受光部607bとの間に遮蔽板602cが進入して位置し、または発光部607aと受光部607bとの間に位置している遮蔽板602cが発光部607aと受光部607bとの間から周方向に外れるように、配置されている。
そして、検知センサ607は、発光部607aと受光部607bとの間に遮蔽板602cが位置する場合、発光部607aからの光が遮蔽板602cによって遮られることで、遮蔽板602cが発光部607aと受光部607bとの間に位置していることを検出するようになっている。そして、検出センサ607が遮蔽板602cの位置を検出した場合、図35(b)に示すように、後述するロック部615の係合部615aがロック受け部616の被係合部616aに係合することでロック状態となっている。
また、液晶表示パネル(ヒュージボタン)45は、液晶パネル支持部材610に取り付けられている。この液晶パネル支持部材610は平断面視略コ字形に形成されており、その左右両側のカバー部と、これらカバー部を繋ぐ連結板とを備え、この連結板の表面に液晶表示パネル45が取り付けられている。
この液晶パネル支持部材610の連結板の左右両側の裏面の下部には、図31、図32、図33および図35(a)等に示すように、それぞれレバー部材611が当該裏面と略直角に設けられ、このレバー部材611の先端部にピン611aがレバー部材611と略直角に設けられている。このピン611aは前記カム602に係合可能となっている。
また、ベース部600と液晶パネル支持部材610との間には付勢部材612が設けられている。この付勢部材612はコイルスプリング612で構成されている。なお、コイルスプリング612は左右に離間して2つ設けられており、図32に示すように、ベース部600に設けられた保持孔612a,612aに挿入されている。なお、図32では保持孔612a,612aを裏側から見ている。
そして、図31に示す初期状態では、ピン611aはカム602に係合しておらず、付勢部材(コイルスプリング)612は伸張した状態となっている。
一方、図33に示すように、カム602が時計回りに回転して、そのカム面602bがピン611aに係合し、さらにカム602が回転することによって、レバー部材611がベース部600側に引き寄せられ、これによって、液晶表示パネル45が回動軸600bを軸として付勢部材612を弾性的に縮小させながら時計回りに回動するようになっている。
したがって、この状態でカム602を反対方向(反時計回り)に回転させると、付勢部材612の付勢力によって液晶パネル支持部材610を介して液晶表示パネル45が押圧され、これによって、液晶表示パネル45は回動軸600bを軸としてベース部600から離間する方向に回動する。
よって、カム602が正逆方向に連続して回転することによって、液晶表示パネル45は回動軸600bを軸としてベース部600に対して接離方向に回動するようになっている。このように液晶表示パネル45が回動軸600bを軸として正逆方向に回転するので、演出効果を高めることができる。
また、本実施の形態では、液晶表示パネル45の回動を規制するロック機構を備えている。
すなわち、図34Aおよび図35に示すように、カム602には、ロック部615がカム602と一体的に設けられている。ロック部615はカム602の回転中心(カムシャフト602a)からカム602の外周側に向けて延び、その先端部に略円筒状の係合部615aが設けられている。
一方、液晶パネル支持部材610の裏面にはロック受け部616が当該裏面から突出するようにして設けられ、このロック受け部616の先端部に被係合部616aが設けられている。被係合部616aは円筒面状に形成されており、この被係合部616aにロック部615の係合部615aが係合可能となっている。
カム602の回転中心、ロック部615の係合部615aの中心、およびロック受け部616の被係合部616aの中心は、前記回動軸600bを中心とした円弧上に位置しており、これによって、液晶表示パネル45が遊技者によって押圧された際の負荷をこれらに均等に分散させるようになっている。
また、ロック受け部616の被係合部616aの一方の端部側にはロック部615の係合部615aが被係合部616aから図34Aにおいて上側に外れるのを防止するためのロックサポート部616bが設けられている。
つまり、ロック部615の係合部615aがロック受け部616の被係合部616aから、図36に示すように、下側(時計方向)に回転して外れることによって、液晶表示パネル45の回動を規制するロックが解除されるが、逆に液晶表示パネル45が押圧されることで、係合部615aが被係合部616aから上側に外れると、ロック部615を下側(時計方向)に回転させてロックを解除しようとする際に、ロック部615がロック受け部616に干渉して、ロックの解除ができなくなるので、このような事態を防止するために、ロックサポート部616bが設けられている。
また、液晶パネル支持部材610の裏面には図32および図35等に示すように、振動モータユニット620が取り付けられている。この振動モータユニット620は、軸に振動子を取付け、回転により振動を発生させる振動モータを有しており、この振動モータによって液晶パネル支持部材610を振動させることで、液晶表示パネル(ヒュージボタン)45が振動するようになっている。
そして、例えば、遊技の演出を行う場合に、遊技者にヒュージボタン45を押下するように促す際等に、液晶表示パネル(ヒュージボタン)45が振動するようになっている。
次に、液晶表示パネル45を演出ボタンとして使用する方法について説明する。
まず、初期状態では、図34Aに示すように、ロック部615の係合部615aがロック受け部616の被係合部616aに係合しており、この状態では、液晶表示パネル45はその回動軸600bを軸とした押圧方向の回動が阻止されたロック状態となっている。
次に、液晶表示パネル45を演出ボタンとして機能させる場合、図36に示すように、ステッピングモータ605、ギヤ606、カムギヤ603、カムシャフト602aを介してカム602を正方向(時計回り)に所定角度だけ回転させる。すると、ロック部615が回転してその係合部615aがロック受け部616の被係合部616aから外れ、液晶表示パネル45が押圧操作可能となる。つまり、液晶表示パネル45のロックが解除される。
次に、遊技者が液晶表示パネル45を押圧すると、図37に示すように、液晶表示パネル45が回動軸600bを軸として、前記付勢部材612の付勢力に抗して時計回りに回転する。遊技者が液晶表示パネル45から手を離すと、液晶表示パネル45は付勢部材612の付勢力によって反時計回りに回転して元の位置に戻る。
この際、ロック部615の係合部615aがロック受け部616の被係合部616aから外れているので、液晶表示パネル45のロックは解除された状態となっており、この状態では、液晶表示パネル45を何回でも押圧することができる。
しかし、カム602によってロック部615を反時計回りに回転させて、その係合部615aをロック受け部616の被係合部616aに係合させることで、ロックを行えるので、このロック状態では液晶表示パネル45を演出ボタンとして押圧することはできなくなる。
また、演出開始時等に遊技者に液晶表示パネル(ヒュージボタン)45を押圧するように促すために、図37A(a)に示すように、上扉30に設けられて、遊技者の正面に位置する表示ユニット200の画面に例えば「PHSU」という文字を表示させて、遊技者の注意を喚起したうえで、この文字を図37A(b)に示すように下方に移動させるとともに、当該文字を表示ユニット200の画面から液晶表示パネル45の画面に下方に向けて移動するようにスクロールし、図37A(c)に示すように、当該画面の中央部に「PHSU」という文字を表示させる。
このようにすることで、例えば液晶表示パネル(ヒュージボタン)45を振動させても遊技者がそれに気付かない場合等でも、目視によってヒュージボタン45を押圧するタイミングを知ることができ、確実にヒュージボタン45を押圧できる。
また、液晶表示パネル45を、回動軸600bを軸としてベース部600に対して接離方向に連続して回動するような演出を行う場合、図31に示す初期状態から、カム602をステッピングモータ605によってギヤ606、カムギヤ603、カムシャフト602aを介して時計方向に所定角度だけ回転させることによって、ロック部615の係合部615aがロック受け部616の被係合部616aから外れてロックが解除され(図36参照)、図33および図38に示すように、レバー部材611をベース部600側に引き寄せることで、液晶表示パネル45が回動軸600bを軸として付勢部材612を弾性的に縮小させながら時計回りに回転し、次に、カム602を反対方向(反時計回り)に所定角度だけ回転させることによって、液晶表示パネル45が付勢部材612によって押圧されて、当該液晶表示パネル45は回動軸600bを軸としてベース部600から離間する方向に回転する。
したがって、カム602が正逆方向を連続して回転させることによって、液晶表示パネル45は回動軸600bを軸としてベース部600に対して接離方向に回動するので、当該液晶表示パネル45による演出効果を高めることができる。
次に、ステッピングモータ605および検出センサ607による、カム602およびヒュージボタン45の動作について図34Bおよび図34Cを参照して説明する。
図34Bは動作を説明するための図、図34Cは当該動作の工程を示す図である。
図34Bに示す動作番号「1」,「2」,「3」,「4」は、それぞれ図34C中の工程順を示す「1」,「2」,「3」,「4」に対応している。
まず、図34Bに示す動作番号「1」は、原点位置からセンサ非検知位置までの動作である。原点位置とは、図34C(a)に示すように、ロック部615がロック受け部616に係合することにより、ヒュージボタン45が押圧方向の回動が阻止されたロック状態となっている場合のカム602の周方向の原点位置である。この原点位置では、検出センサ607が遮蔽板602cの位置を検出している。
この原点位置からステッピングモータ605を所定のステップ数S1だけ回転させることで、図34C(b)に示すように、カム602が原点位置からセンサ非検知位置まで所定角度α1だけ回転する(動作番号「1」)。このとき、遮蔽板602cが検出センサ607から外れ、当該検出センサ607によって検出されなくなり、遮蔽板602cはこれ以降も検出されない。
次に、センサ非検知位置からステッピングモータ605を所定のステップ数S2だけ回転させることで、図34C(c)に示すように、カム602がセンサ非検知位置からロック解除位置まで所定角度だけ回転する(動作番号「2」)ことによって、原点位置から所定角度α2だけ回転する。
ロック解除位置とは、図34C(c)に示すように、カム602とともにロック部615が回転してロック受け部616から外れ、ヒュージボタン45が押圧操作可能となるような位置である。なお、このロック解除位置では、遊技者がヒュージボタン45を押圧操作できる。
次に、ロック解除位置からステッピングモータ605を所定のステップ数S3だけ回転させることで、図34C(d)に示すように、カム602がロック解除位置からヒュージボタン動作開始位置まで所定角度だけ若干回転する(動作番号「3」)ことによって、原点位置から所定角度α3だけ回転する。
ヒュージボタン動作開始位置とは、図34C(d)に示すように、カム602のカム面602bがレバー611のピン611aに係合した場合の位置である。
次に、ヒュージボタン動作開始位置からステッピングモータ605を所定のステップ数S4だけ回転させることで、図34C(e)に示すように、カム602がヒュージボタン動作開始位置からヒュージボタン可動限界位置まで所定角度だけ回転する(動作番号「4」)ことによって、原点位置から所定角度α4だけ回転する。
ヒュージボタン可動限界位置とは、図34C(e)に示すように、ヒュージボタン動作開始位置からさらにカム602が回転することによって、カム面602bによってピン611aが左側に押されて、レバー部材611が左側に押され、ヒュージボタン45が前記回動軸600b(図33参照)を軸として時計回りに最も回動した場合の位置である。
なお、図34Bにおいて、原点位置からセンサ非検知位置までは、検出センサ607はセンサ遮光状態となって、検出センサ607が遮蔽板602cの位置を検出し、センサ非検知位置からヒュージボタン可動限界位置までは、検出センサ607はセンサ通光状態となって遮蔽板602cの位置を検出しない。
また、原点位置からヒュージボタン可動限界位置に向けてカム602が回転する場合はカム602の回転方向は時計回りであり、ヒュージボタン可動限界位置から原点位置に向けてカム602が回転する場合は、カム602の回転方向は反時計回りである。
なお、図34Bにおいて、「CCW」はステッピングモータ605の出力軸が反時計回りに、「CW」はステッピングモータ605の出力軸が時計回りに回転することを示しているが、カム602はギヤ606およびカムギヤ603によって、ステッピングモータ605の出力軸と反対方向に回転されるとともに減速される。
また、ステッピングモータ605によるヒュージボタン45の速度制御とステップ数について下記表のように設定するが、これは一つの制御例であり、これに限ることはない。
また、以下の各表において、ステッピングモータ605の速度およびステップ数は、以下のような大小関係となっている。
速度:V1<V2<V3
ステップ数:S5<S6<S7<S8<S9<S10
(1)ヒュージボタン45を原点位置からロック解除位置まで回転させる場合
Figure 0006771237
ここで、S6+S9+S6=S1+S2 である。
(2)ヒュージボタン45をロック解除位置からヒュージボタン可動限界位置まで回転ささせる場合
Figure 0006771237
ここで、S6+S8+S6=S3+S4 である。
(3)ヒュージボタン45をヒュージボタン可動限界位置からロック解除位置まで回転ささせる場合
Figure 0006771237
ここで、S5+S9+S5=S3+S4 である。
(4)ヒュージボタン45をロック解除位置からロック位置(原点位置)まで回転ささせる場合
Figure 0006771237
ここで、S5+S10+S6+S5=S1+S2 である。
本実施の形態によれば、遊技機の前面下部に設けられている液晶表示パネル45が可動となっているので、この液晶表示パネル45を、ステッピングモータ605、ギヤ606、カムギヤ603、カムシャフト602a、カム602、付勢部材612等によって構成された駆動機構によって動かしたり、遊技者が演出ボタンとして押圧して動かすことによって、演出効果を高めることができる。
また、液晶表示パネル45に演出用の映像を映し出すことによって、液晶表示パネル45自体で演出効果を得ることができるともに、この液晶表示パネル45が上述したように可動することで、演出効果をさらに高めることができる。
さらに、液晶表示パネル45が演出ボタンとしても機能するので、この液晶表示パネル45を遊技者が演出ボタンとして押下することによって、この液晶表示パネル45による演出の他、他の演出部材(例えば、表示ユニット200やランプ33a,33b,33c,33d等)による演出も行えるので、演出効果をさらに高めることができる。
また、液晶表示パネル45はその上辺部に設けられている回動軸600bを軸として回動するので、比較的大型の液晶表示パネル45を容易に可動なものとすることができる。つまり、大型の液晶表示パネル45を出没させたり、上下左右に移動させたりするには、比較的大きな力を必要とするが、回動軸600bを軸として回動させることによって、比較的小さな力で液晶表示パネル45を動かすことができる。
また、液晶表示パネルの回動を規制するロック部615およびロック受け部616を有するロック機構を備えているので、液晶表示パネル45を演出ボタンとして押下することを許可しない場合は、ロック機構によって液晶表示パネル45の回動を規制することによって、液晶表示パネル45の押下を阻止することができる。
なお、本実施の形態では、遊技機の前面下部に設ける面状部材として、液晶表示パネル45を使用した場合を例にとって説明したが、本発明はこれに限ることなく、面状部材は従来使用していた化粧パネル等であってもよい。
また、本実施の形態では、演出ボタンとして使用される液晶表示パネル45を遊技機の前面下部を略覆うようにして設けたが、これに限ることはない。例えば、下扉45の一部に演出ボタンとしての液晶表示パネルを設けてもよいし、その他の部分に演出ボタンとしての液晶表示パネルを設けてもよい。
さらに、液晶表示パネル45はその上辺部を軸として回動するように構成したが、下辺部や左右の一方の辺部を軸として回動するように構成してもよい。また、液晶表示パネルを一辺部を軸として回動するように構成するのではなく、出没可能に構成してもよい。
次に、本実施の形態の遊技機の発光装置について説明する。
図24および図25に示す発光装置701(33a)は、演出用のものであって、例えば、上扉30(前扉3)の上部に略遊技者に向かって光を発射するように配置されたもので、例えば、モールス通信用に光の発射と一部遮断とを切り替えるシャッタを備えるサーチライトを模したものであり、図24に示す発光装置701が後述のシャッタ720を開けて光を発射する状態であり、図25に示す発光装置701がシャッタ720を閉じて光を遮断する状態である。
この発光装置は、図39および図40に示すように、前枠710と、シャッタ720と、光源740と、後ベース760とを備えるものである。前枠710は、発光装置701の前部を構成するものである。なお、発光装置701において、遊技機で遊技する遊技者を向く面が前面であり、この遊技者が発光装置を見た場合の視線の方向が前後方向となる。
前枠710は、発光装置701の最前部を構成する部材であり、円環状のリング711と、光を透過する下リングレンズ712および上リングレンズ713と、発光素子としてのLEDが搭載された下リング基板714および上リング基板715と、シャッタ720の前側を覆う透明な前レンズ716とを備える。
前枠710は、発光装置701の最前部を装飾するための部材であり、一部がLEDにより発光可能となっている。リング711は、その内側が発光装置701の光源740の光を通す円状の開口とされるとともに、前枠710の一部を装飾的に光らせるために円環状の本体部分に複数の貫通孔が形成されている。下リングレンズ712および上リングレンズ713は、透光性を有し、略半円の円弧状の部材であり、下リングレンズ712と上リングレンズ713とを組み合わせると、リング711に近い略円環状の形状となる。下リング基板714および上リング基板715は、LEDを搭載し、略半円の円弧状の部材であり、下リング基板714と上リング基板715とを組み合わせると、リング711に近い略円環状の形状となる。
下リングレンズ712および上リングレンズ713は、リング711と下リング基板714および上リング基板715との間に配置され、下リング基板714および上リング基板715に搭載されたLEDの光をリング711に形成された貫通孔に導いて、リング711に形成された複数の貫通孔部分を光らせるようになっている。なお、下リングレンズ712および上リングレンズ713には、リング11の各貫通孔内に挿入される部分があり、この部分がLEDの光により光るように見えることになる。
前レンズ716は、下リングレンズ712および上リングレンズ713、下リング基板714および上リング基板715に遮られることなく、開放した状態のリング711の内側を閉塞する略円状の透明板を備える。この透明板により、遊技者がシャッタ720および光源740に振れるのを防止するようになっている。
図42から図45に示すように、シャッタ720は、このシャッタ720の外周部を構成し、直径より軸方向長さが短い略円筒状の外ベース721aと、外ベース721aの内側に配置される内ベース721bと、内ベース721bに回転自在に支持される複数のフィン722と、フィン722を回転により開状態と閉状態との間で移動させるためのスライダ723と、スライダ723を前後動自在に保持するスライダ支持部材724と、駆動軸733を前後方向に直交する左右方向に進退自在な一対のソレノイド727と、ソレノイド727の左右方向の動作を前後方向に変換してスライダ723に伝達するクランク725と、クランク725を回転自在に保持するクランク支持部材726と、ソレノイド727を支持するソレノイド支持部材728とを備える。外ベース721aは、前枠710と、後ベース760とともに、発光装置701のケースを構成するものである。略円筒状の内ベース721bは、略円筒状の外ベース721aの内側に配置され、外ベース721aと内ベース721bとで二重の筒となっている。
内ベース721bは、複数(本実施の形態では8つ)のフィン722の回転軸731の両端部を回転自在に支持している。内ベース721bの後縁部には、左右に回転軸731を回転自在に支持する凹部が設けられ、凹部内の回転軸731は、光源740の前縁部により凹部から抜けないように抑えられている。また、内ベース721bに、スライダ支持部材724、クランク支持部材726、ソレノイド支持部材728が支持されている。
8つのフィン722は、その位置によって羽730の形状と、回転軸731の長さが異なっている。8つの羽730は、1つの円板を平行な7つの分割線で略等間隔に8つに分断した形状に近似しており、8つのフィン722が閉じた状態では、図44に示すように、全ての羽730を合わせた形状が略円板状となる。また、回転軸731は、上2つおよび下2つと、これらを除く上下の間の中央部分の4つとで長さが異なり、上下の4つより、中央部の4つの方が長くなっている。
また、図44に示すように、回転軸731の向かって右側の端部には、回転軸731に対して偏心している偏心軸732が設けられている。この偏心軸732をスライダ723により前後に回転移動させることにより、回転軸731を回転させ、各羽730が略円板状となるように上下方向を向いた閉状態(前後方向に略直交する閉状態)と、各羽730が前後方向を向いて前からシャッタ720より後を視認可能な開状態とのいずれの状態となるように開閉することができる。
スライダ723は、上述の8つのフィン722の偏心軸732が挿入される長孔738が上下に8つ並んで設けられている。長孔738は、前後より上下に長く形成され、偏心軸732の上下方向の変位を許容しながら、偏心軸732を前後に移動させることで、回転軸731を回転させて上述のようにフィン722を開閉させるようになっている。なお、スライダ723の長孔738が設けられる部分では、8つの長孔が上下に互いに間隔をあけて並んで配置されるが、フィン722の回転軸731の長さに対応して、上下2つずつの回転軸731の右端部の偏心軸732が挿入される上下2つずつの4つの長孔738が設けられた部分よりも、中央部の4つの回転軸731の右端部の偏心軸732が挿入される中央部の4つの長孔738が設けられた部分の方が羽730の中央より離れた状態となっている。また、スライダ723は、長孔738より後側に、上下方向に沿って上下に突出する一対の連結軸739を有する。
図43および図45に示すように、クランク725は、上下方向に沿うとともに、上下にそれぞれ突出する一対の回転支持軸737を備え、この回転支持軸737回りに回転自在となっている。また、クランク725は、スライダ723の連結軸739に連結する連結受部736を備える。連結受部736は、連結軸739の軸回りに回転自在に連結されている。
また、ソレノイド支持部材728に支持されたソレノイド727の駆動軸733の先端部にソレノイド727の駆動方向(左右方向)に直交する上下方向に沿った連結軸734を備えている。クランク725には、ソレノイド727の連結軸734に連結される一対の連結受部735が設けられ、これら連結受部735が、連結軸734の軸回りに回転可能にこの連結軸734に連結している。ソレノイド727の駆動軸733が左右方向に移動すると、駆動軸733の連結軸734に連結している連結受部735が左右方向に回転移動し、クランク725がその上下に沿った回転支持軸737回りに回転し、当該クランク725の連結受部736が前後方向に略沿うように回転移動し、当該連結受部736に連結されたスライダ723の連結軸739を前後方向に移動させる。これによりスライダ723が前後に移動し、フィン722の偏心軸732を前後に回転移動させ、これによりフィン722が回縁軸731回りに回転し、羽730を開閉する。
また、フィン722の羽730は、その後側にある後述のLED基板745に搭載された縦横に並ぶLED746の光の一部を遮光する半遮光手段となっている。この羽730は、透過率が必ずしも高くないが、光の透過性を有し、LED746の光の一部を透過するが、一部を遮断するようになっている。ここでは、羽730は、透明な樹脂を、例えば、サングラスのレンズの一種のように着色して板状に形成したものであり、所謂スモークレンズとなっている。また、フィン722の羽730は、上述のように開閉するので、閉じた状態では、LED746の光の一部を遮断し、開いた状態では、LED746が開放され、羽730に光の一部を遮断されることなく、遊技者に向けて比較的強い光を照射可能となる。
図46に示すように、光源740は、後ベース760に支持されるとともに、発光素子としてのLED746が縦横に間隔をあけて並んで配置されたLED基板(発光素子基板)745と、後ベース760に支持されるとともに、LED基板745上の各LED746が配置された領域を縦横に並ぶ各区画742に区切る区画板(区分手段)741と、各区画742毎に配置される拡散レンズ744を有するレンズ群743とを備える。拡散レンズ744は、区画板741に支持される。また、LED基板745の前面に区画板741が配置され、当該区画板741の各区画742を構成する開口部内に拡散レンズ744が配置されている。
LED基板745に搭載される各LED746は、比較的高輝度のLED746であるが、遊技者が直接見ても問題が無い輝度に設定されている。ただし、複数の点灯しているLED746を同時に注視した場合に、遊技者によっては、眩しいと思う可能性がある。LED基板745上で、複数のLED746が縦横に略等間隔に並んで配置されている。すなわち、LED746は、縦横にマトリックス状に配置されており、各LED746の点灯と消灯により、ドットマトリクス表示が可能となっている。例えば、数字等のテキストやマークや、それ以外に簡単な画像の表示が可能となっている。
区画板741は、各区画742を仕切る上下方向(縦方向)に沿って延在するとともに左右方向に等間隔に配置された複数の壁体と、左右方向(横方向)に延在するとともに上下方向に等間隔に配置された複数の壁体とを有し、これら壁体が交差して井桁格子状に配置されている。これにより区画板741は壁体に仕切られた区画742としての複数の開口を備えている。各区画742は、LED基板745の各LED746の位置に対応して設けられている。各LED746は、縦横に等間隔で配置されているのに対して、各区画742は、当該区画の上下左右の略中央にLED746が配置されるように形成されている。これにより、各LED746は、区画742を形成する上述の格子状の区画壁に囲まれた状態となっている。なお、区画壁は、LED746より前に延出して設けられており、各LED746から上下左右に拡散する光は、区画742を構成する区画壁の内面に当たり、左右上下方向への出射が阻害される。これにより、点灯しているLED746の光が、前後方向に加えて上下左右に出射されて、点灯しているLED746の近傍の消灯している他のLED746に当たって消灯しているLED746から反射光が生じ、消灯しているLED746が光っているように見えるのを防止できる。
すなわち、区画板741の厚み内(区画壁の高さ内)では、点灯している各LED746の光が区画742の外に漏れるのを防止し、各ドットが光っているか消えているかを明確にするようになっている。
また、区画板741の四角状の各区画742内には、各区画を略埋めてしまう大きさの拡散レンズ744が配置されており、各区画742内でLED746の光を区画742内に拡散させ、区画742内のLED746が点状に光るのではなく、各区画742全体が面状に光るように見せている。これによりドットマトリクス表示を見易いものとしている。
このような発光装置701においては、シャッタ720を開放した状態では、半遮光手段としての羽730を介さずに各拡散レンズ744を透過した光が略遊技者に向かって照射されることになる。この場合に、拡散レンズ744により、LED746の光が多少減衰するが比較的強い光が遊技者を照らすことになり、遊技者にサーチライトの光のように強い光が当てられたと思わせ、インパクトのある演出を行うことができる。
また、LED746が縦横にマトリックス状に配置されていることから、これらLED746を用いてドットマトリクス表示等のディスプレイとしての表示を行った場合に、比較的高輝度のLED746を注視することになり、眩しくて表示を読み取れなかったり、外部からの光に対するLED746の反射光により消灯しているLED746と、点灯しているLED746の判別が難しくなったりすることで、ディスプレイとしての表示が見づらくなる。
それに対して、発光装置701をディスプレイとして使用する場合には、シャッタ720を閉じた状態とし、各LED746の光を上述のスモークレンズ状の羽730を介して遊技者が見るようにすることで、点灯している高輝度LED746を直接見る場合の眩しさを和らげ、表示を見易いものとすることができる。すなわち、サーチライトを模した発光装置701のLED746として、高輝度LED746を用いることにより、全体的にディスプレイとして明るすぎる状態からスモークレンズ状の羽730を閉状態とすることによりディスプレイとして適切な輝度にして、ディスプレイ表示を見易くすることができる。
また、上述のように区画板741により、各LED746を区画742に分けて、各区画742毎に光るようにするとともに、各区画742に拡散レンズ744を配置して、各区画742の全体が光るようにすることで、ドットマトリクス表示を見易くすることができる。
また、本実施の形態では、下扉40の側面に露出する証紙カバー800を備えている。
すなわち、図1および図2に示すように、下扉40の向って右側の側面には証紙カバー800が設けられている。
この証紙カバー800は、図47に示すように、証紙カバー本体801と、係止部802と、操作部803とを備えている。
証紙カバー本体801は、ベース板804と、このベース板804の表面側を覆うようにして取り付けられた透明なカバー805とによって構成されており、ベース板804の表面に図示しない証紙が設けられ、当該証紙はカバー805によって覆われている。
また、ベース板804の裏面側に、2本の係止部802,802が上下に離間してベース板804と一体的に設けられている。
係止部802はベース板804の裏面から湾曲して延出するように設けられた板状部材で形成されており、その先端部に係止爪802aが形成されている。この係止爪802aは後述する被係止部811に係止するものである。
操作部803は係止部802の先端部に、係止爪802aとはほぼ逆方向に延出するようにして設けられた板状部材で形成されており、その表面には作業者の指等を引っ掛け易くする突条803a,803aが形成されている。
また、カバー805の上端面には係止孔805a,805aが左右に離間して設けられており、ベース板804の一方の側端面には4つの係止爪805bが上下に離間して設けられている。
また、図48に示すように、下扉40の内部には証紙カバー800が取り付けられる被取付部810が設けられている。この被取付部810は、下扉40の内部に設けられた内壁810によって構成されている。この内壁810は、下扉40の右側の側面に設けられた開口部40aの左右縁部から下扉40の内側に延びる左右の壁部810a,810bと、壁部810a,810bの奥側の端部を繋ぐ壁部810cと、前側の端部を繋ぐ壁部810dとで平面視略ロ字形に形成されている。
壁部810cには、被係止部811が形成されており、この被係止部811に証紙カバー800の係止部802の係止爪802aが係止している。被係止部811の先端部には、証紙カバー本体801と直交する方向に対して傾斜する傾斜面が形成されており、この傾斜面に係止爪802aに形成された傾斜面が係止することによって、証紙カバー800の取り外し方向(証紙カバー本体801と直交する方向で外側向きの方向)への移動が規制されている。
また、被取付部810の壁部810bには、図48および図49に示すように、内部開口部810eが設けられており、この内部開口部810eは内部カバー815によって閉塞されている。
内部開口部810eは矩形状に形成され、上下に離間して2つ設けられている。
内部カバー815は、図50に示すように、略矩形板状の内部カバー本体815aと、この内部カバー本体815aの裏面側から突出する取外し阻止部815b,815bと、内部カバー本体815aの表面側に設けられた把持部815cと、この把持部815cを挟む位置でかつ内部カバー本体815aの表面側に設けられたストッパ815d,815dとから構成されている。
取外し阻止部815bは、前記内部開口部810eに挿通されて、証紙カバー800が下扉40から外側に外れるのを阻止するものであり、取外し阻止部815bには、証紙カバー800の操作部803に係合する係合部815fが設けられている。係合部815fは、図48に示すように、操作部803の裏面に係合することによって、操作部803が
証紙カバー800の取り外し方向に移動するのを阻止するようになっている。
このように取外し阻止部815bの係合部815fが、証紙カバー800の操作部803に係合することによって、操作部803が係合部815fおよび前記被係止部811によって取外し方向への移動が阻止されることによって、証紙カバー800が下扉40から外側に外れるのを阻止されるようになっている。
前記把持部815cは、内部カバー815を内部開口部810eに取り付け、取外しする際に作業者によって把持される部分であり、図50に示すように、略U字形に形成され、一方の片が内部カバー本体815aから立ち上がり、折り曲げられたうえで、他方の片が内部カバー本体815a側に向けて延びている。この他方の片の端部に爪815e,815eが形成されている。
一方、下扉40の内部にある壁部816には、図49に示すように、立壁816a,816bが平行離間して設けられており、立壁816bには係止孔816c,816cが形成されている。なお、壁部816は前記壁部810bと一体的に形成されたもので、下扉40のベース板を構成している。
そして、把持部815cは、その他方の片の先端部を立壁816a,816bの間に挿入するとともに、当該他方の片に形成された爪815e,815eを係止孔816c,816cに挿入して係止することによって、壁部816に固定されている。
前記ストッパ815dは、内部カバー本体815aによって内部開口部810eが閉塞された際に、内部カバー815の緩みを止めるものであり、把持部815cを挟んで2つ設けられている。また、ストッパ815dは内部カバー本体815aから突出しており、このストッパ815dは壁部816に当接する当接部815gを有している。
そして、内部カバー815が内部開口部810eに取り付けられた際に、当接部815gが壁部816に当接することによって、内部カバー815が壁部816の表面に交差する方向へガタついて緩むのを防止している。
また、図51に示すように、下扉40の側面には、開口部40aが設けられおり、この開口部40aに前記被取付部810の壁部810dが面している。この壁部810dには、立壁810fが開口部40aの開口縁に沿って矩形枠状に設けられている。立壁810fは証紙カバー本体801が開口部40aに挿入されて壁部810dに設けられた際に、証紙カバー本体801の裏面に当接するようになっている。
また、壁部810dの縦方向に沿う一方の縁部には、4つの係止孔810gが上下に所定間隔で設けられており、この係止孔810gにはベース板804の係止爪805bが係止するようになっている。また、壁部810dの上縁部には、図示しない2つの係止爪が左右に離間して設けられており、当該係止爪には証紙カバー800の係止孔805aが係止するようになっている。
さらに、壁部810dには、2つの挿通孔810hが上下に離間して設けられており、当該挿通孔810hには証紙カバー800の係止部802が挿通されるようになっている。
次に、証紙カバー800を下扉40の側面に取り付ける方法について説明する。
まず、図52(a)に示すように、下扉40によって筐体の開口下部を開き、かつ、内部カバー815を内部開口部810eから取り外した状態で、証紙カバー本体801の裏面側が下扉40の側面に設けられた開口部40aに向かうようにして、証紙カバー800を取付けていく。
また、証紙カバー800の係止部802および操作部803を壁部810dに設けられた挿通孔810h(図51参照)に挿通していく。
次に、図52(b)に示すように、証紙カバー本体801を開口部40aに装着するとともに、証紙カバー本体801の係止爪805bを開口部40aに設けられた係止孔810gに係止するとともに証紙カバー800の係止爪802aを、壁部810cに形成されている被係止部811に係止することによって、証紙カバー本体801を開口部40aに固定する。
次に、図51(c)に示すように、内部カバー815を内部開口部810eに取り付ける。この場合、内部カバー815の把持部815c(図50参照)を把持して、取外し阻止部815bを内部開口部810eに挿通し、この取外し阻止部815bの係合部815fを証紙カバー800の操作部803に裏面に係合する。
これによって、操作部803は、係合部815fおよび被係止部811によって取外し方向への移動が阻止されるので、証紙カバー800が下扉40から外側に外れるのを阻止される。
また、内部カバー815を内部開口部810eに取り付ける場合、把持部815cの他方の片の先端部を立壁816a,816b(図49参照)の間に挿入するとともに、当該他方の片に形成された爪815e,815eを立壁816bの係止孔816c,816cに挿入して係止することによって、内部カバー815を壁部816に固定する。
さらに、内部カバー815が内部開口部810eに取り付けられると、ストッパ815dの当接部815gが壁部816に当接することによって、内部カバー815が壁部816の表面に交差する方向へガタついて緩むのを防止される。
最後に下扉40によって筐体1の開口下部を閉じることで、証紙カバー800の取付けを終了する。
一方、証紙カバー800を取り外す場合、下扉40によって筐体1の開口下部を開いたうえで、内部カバー815の把持部815cを摘んで爪815e,815eを係止孔816c,816cから外したうえで、内部開口部810eから抜き出す。
これによって、内部開口部810eが開口するので、当該内部開口部810eに作業者の指や工具等を挿入して、当該指や工具等によって証紙カバー800の操作部803を下扉40の開口部40a側に向けて押圧すると、証紙カバー800の係止爪802aが壁部810cの被係止部811から外れる。係止爪802aが被係止部811から外れると、証紙カバー本体801が開口部40aから突出するので、この証紙カバー本体801を把持して開口部40aから取り出すことによって、証紙カバー800を下扉40の側面から取り外す。
以上の本実施の形態によれば、証紙カバー本体801と開口部40aとの間の隙間から不正器具を挿入されても、証紙カバー800の係止部802の係止爪802aが被取付部810の被係止部811に係止され、被取付部810の内部開口部810eが内部カバー815の内部カバー本体815aによって閉塞され、証紙カバー800の操作部803に、内部カバー815の取外し阻止部815bが、証紙カバー800が下扉40から外側に外れるのを阻止するように係合されているので、証紙カバー800が取り外されることがない。
また、筐体の内側、つまり下扉40の裏側から内部カバー815を取り外し、証紙カバー800の操作部803を作業者の指等で操作して、係止部802の係止爪802aを被係止部811から外すことによって、証紙カバー800を被取付部810から容易に取り外すことができる。
また、被取付部810の証紙カバー本体801が取り付けられる面に、証紙カバー本体801に裏面に当接する立壁810fが設けられ、証紙カバー800が被取付部810に取り付けられている状態において、立壁810fが証紙カバー本体801の裏面に当接しているので、証紙カバー本体801と被取付部810との間の隙間から不正器具を挿入しても、当該不正器具は立壁810fと証紙カバー本体801との間から挿入し難くなり、より確実に不正器具の遊技機内部への挿入を防止できる。
また、内部カバー本体815aに、当該内部カバー本体815aによって内部開口部810eが閉塞された際に、内部カバー815の緩みを止めるストッパ815dが設けられているので、内部カバー815が緩んでガタツクことがない。したがって、内部カバー815の取外し阻止部815bが確実に証紙カバー800の操作部803に係合されるので、証紙カバー800が下扉から外側に外れるのを確実に阻止できる。
なお、本実施の形態では、証紙カバー800を下扉40の側面に取り付ける場合を例にとって説明したが、本発明にこれに限ることなく、例えば、証紙カバー800を下扉40の前面に取り付ける場合や、筐体1の側面に取り付ける場合にも適用できる。
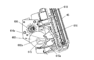
また、本実施の形態では、図1、図2および図53に示すように、正面側に開口する正面開口部を有する箱形の筐体1と、この筐体1に設けられたヒンジ100を中心に回動することにより、この筐体1の前記正面開口部を開閉自在に塞ぐ前扉3とを備えている。ヒンジ100は上述したように、蝶番受26とこの蝶番受26に連結された蝶番27とを備えている。ヒンジ100は上下に4個配置されており、上側2個のヒンジ100の蝶番受26は前記交換ユニット2の補強板25に固定され、下側2個のヒンジ100の蝶番受26は後述する左補強フレーム304に固定されている。
また、上側2個のヒンジ100の蝶番27に上扉30の側端部が取り付けられ、下側2個のヒンジ100の蝶番27に下扉40の側端部が取り付けられている。
なお、図53では、上扉30および下扉40の全体を示すのではなく、上扉30の外周枠を構成する上扉側枠体911と、下扉40の外周枠を構成する下扉側枠体921を示ししている。
上扉側枠体911の図53中左側の2つの角部および下扉側枠体921の左側の2つの角部には、それぞれヒンジ100の蝶番27が取り付けられる取付部905が設けられている。
また、図53および図54に示すように、筐体1の正面開口部の外周縁部に補強枠(筐体側枠体)301が設けられている。補強枠301は、上述したように、上下の補強フレーム302,303と、左右の補強フレーム304,305を矩形枠状に組み立てることによって形成されている。また、補強枠301の4つの角部には、それぞれL形の角フレーム306が設けられており、この角フレーム306によって補強枠301の角部からの不正侵入を防止している。
また、左補強フレーム304の上下方向中央部には、矩形状に切欠部304fが形成さされており、この切欠部304fには、上扉30および下扉40によって筐体1の正面開口部を塞いだ際に、後述する上扉側枠体911の下フレーム913の端部および下扉側枠体921の下フレーム923の端部が入り込むようになっている。
左補強フレーム304は、図55に示すように、前扉側を向く部位が断面略コ字形に形成されたコ字形フレーム900を有しており、このコ字形フレーム900の外側の片の先端部には正面開口部の内側に突出する第1突出片901が設けられている。この第1突出片901は左補強フレーム304の長さ方向に沿って延在して設けられている。
また、図54に示すように、右側の補強フレーム305および上下の補強フレーム302,303はそれぞれ、左補強フレーム304と同様に、前扉側を向く部位が断面略コ字形に形成されたコ字形フレーム900を有しており、このコ字形フレーム900の外側の片の先端部には正面開口部の内側に突出する第1突出片901が、各フレーム305,302,303の長さ方向に延在して設けられている。
筐体側枠体301の角部には角フレーム306が設けられているので、コ字形フレーム900は筐体側枠体301の周方向に沿って連続して設けられている。
また、図53に示すように、前扉3の外周縁部には、マグネシウムで形成された扉側枠体910が設けられている。この扉側枠体910は前扉3の上半分を構成する上扉30の外周縁部に設けられた上扉側枠体911と、前扉3の下半分を構成する下扉40の外周縁部に設けられた下扉側枠体921とから構成されている。
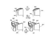
上扉側枠体911は、上下のフレーム912,913と左右のフレーム914,915とによって矩形枠状に形成されている。このような上扉側枠体911のヒンジ100側の側端部に、筐体1の正面開口部の外側に突出する第2突出片916が設けられている。
すなわち、左フレーム914は、図56に示すように、断面略コ字形に形成されており、この断面略コ字形の左フレーム914は、図56(b)に示すように、上扉30が閉じられた状態において、筐体1の内部側に向けて開口している。左フレーム914の外側の片には、前記第2突出片916が筐体1の正面開口部の外側に突出して設けられている。この第2突出片916は左フレーム914の長さ方向(図56では紙面に直交する方向)に沿って設けられている。
そして、図56(b)に示すように、前扉30によって筐体1の正面開口部を塞いだ際に、前扉30のヒンジ側の側端部、すなわち左フレーム914が前記正面開口部のヒンジ側の側端縁部、すなわち左補強フレーム304のコ字形フレーム900の内側に配置されるようになっている。
また、図56(a)に示すように上扉30が開いた状態(a)からヒンジ100を中心に回動して、図56(b)に示すように筐体1の正面開口部を塞いだ状態(b)において、第1突出片901の内側に第2突出片916が重なっている。
また、下扉側枠体921は、上扉側枠体911と同様に図53に示すように、上下のフレーム922,923と左右のフレーム924,925とによって矩形枠状に形成されている。このような下扉側枠体921のヒンジ100側の側端部、つまり、左フレーム924に、図56に示すように、筐体1の正面開口部の外側に突出する第2突出片916が設けられている。
そして、図56(a),(b)に示すように、下扉40がヒンジ100を中心に回動して、筐体1の正面開口部を塞いだ状態において、第1突出片901の内側に第2突出片916が重なっている。
また、上扉側枠体911の下辺部を構成する下フレーム(下辺枠材)913は、図57に示すように、上片913aと下片913bとこれらを繋ぐ中間片913cとを有しており、上片913aおよび下片913bは筐体1の内側(図57において右側)に向けて突出している。また、中間片913cは下片913bから略直角に立ち上がる立上片とこの立上片の先端で内側に折り曲げられ、上片913aまで延びる延在片とから構成されている。
また、下フレーム913は、下片913bから上扉30の表面側(図57において左側)に突出する下辺突出片913eを有している。この下辺突出片913eは下片913bの延長上に当該下片913bと一体的に形成されている。
また、下扉側枠体921の上辺部を構成する上フレーム(上辺枠材)922は、上片922aと下片922bとこれらを繋ぐ中間片922cとを有しており、上片922aが下扉40の裏面側に突出する上辺突出片922aとされている。
そして、上扉30と下扉40とがヒンジ100を中心に回動して、筐体1の正面開口部を塞いだ状態において、下辺突出片913eの上側に上辺突出片922aが重なっている。
また、図58に示すように、下扉側枠体921の上フレーム922の右端部は右フレーム925より外側に張り出しており、上扉30と下扉40とがヒンジ100を中心に回動して、筐体1の正面開口部を塞いだ状態において、上フレーム922の右端部(図58では下扉側枠体921および上扉側枠体911を裏側から見ているので、左端部)は、上扉側枠体911の下フレーム913の右端部に外側から重なっている。
また、上扉30および下扉40によって筐体1の正面開口部を塞いだ状態では、上扉側枠体911の上フレーム912の外側の片および右フレーム915の外側の片が、筐体側枠体301の上補強フレーム302のコ字形フレーム900および右補強フレーム305のコ字形フレーム900に入り込んでおり、これによって、上フレーム912および右フレーム915の一部が上補強フレーム302および右補強フレーム305に重なっており、上フレーム912および右フレーム915と、上補強フレーム302および右補強フレーム305との間の隙間からの不正侵入を防止している。
同様に、下扉側枠体921の下フレーム923の外側の片および右フレーム925の外側の片が、筐体側枠体301の下補強フレーム303のコ字形フレーム900および右補強フレーム305のコ字形フレーム900に入り込んでおり、これによって、下フレーム923および右フレーム925の一部が下補強フレーム303および右補強フレーム305に重なっており、下フレーム923および右フレーム925と、下補強フレーム303および右補強フレーム305との間の隙間からの不正侵入を防止している。
また、図59に示すように、上扉30と下扉40とがヒンジ100を中心に回動して、筐体1の正面開口部を塞いだ状態において、ヒンジ100を中心とする回動側における上扉30の下フレーム913と下扉40の上フレーム922との間には、隙間Sが生じている。
すなわち、図61に示すように、下フレーム913の下辺突出片913eは下フレーム913の長さ方向に沿って形成されているが、前記回動側では下フレーム913の裏側に向けて90度折曲されており、この折曲された下辺突出片913eより左フレーム914側は開口部となっている。そして、図59および図60に示すように、下扉40の上フレーム922の上辺突出片922aが、上扉30の下フレーム913の下辺突出片913eの上側に重なった場合に、上辺突出片922aの上側に前記隙間Sが生じる。
なお、図61ではヒンジ100の図示を省略している。
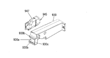
この隙間Sを内側から塞ぐために、閉塞部材930が筐体1および筐体側枠体(補強枠)301に設けられている。
すなわちまず、図59〜図62に示すように、筐体1の左内壁面および左補強フレーム304に閉塞部材930が固定されている。
閉塞部材930は、図63に示すように、略直方体状に形成されており、その先端部には、閉塞面930aが設けられ、この閉塞面930aの上縁部と下縁部に突条930b,930bが設けられ、閉塞面930aの右側の縁部に壁部930cが設けられている。
そして、閉塞部材930はその先端側の閉塞面930aを前記隙間Sに対向させ、突条930b,930bおよび壁部930cによって隙間Sを囲むようにして、筐体1の左内壁面および左補強フレーム304に略水平に固定されている。
また、閉塞部材930は、前記交換ユニット2を筐体1に正面開口部から挿入する際のガイド部材となっている。
すなわち、交換ユニット2は、図53に示すように、左側に支持部931を有しており、この支持部931が閉塞部材930の上面に載置されている。
また、図65に示すように、筐体1の右内壁面には、支持部材935が閉塞部材930と等しい高さで固定されている。この支持部材935は略直方体状に形成され、閉塞部材930と似た形状をしているが、閉塞部材930に設けられている閉塞面930a、突条930b,930b、壁部930c等が設けられていない。
また、交換ユニット2は、右側に支持部932を有しており、この支持部932が支持部材935の上面に載置されている。交換ユニット2の支持部931,932は左右対称的に設けられており、当該支持部931,932が閉塞部材930および支持部材935によって支持されている。
そして、交換ユニット2を筐体1の正面開口部から挿入する際は、交換ユニット2の支持部931,932を、筐体1に設けられた閉塞部材930および支持部材935の上面に載置したうえで、この上面をガイド面として交換ユニット2を筐体1の奥側に押し込むことによって、スムーズに筐体1に挿入することができる。
また、図62に示すように、筐体1の左側壁には孔940が貫通して設けられており、この孔940に取手部材945が挿入されている。
取手部材945は、図63および図64に示すように、内部が中空とされるとともに、正面側に挿入口946が設けられ、この挿入口946から作業者の指が挿入されるようになっている。
取手部材945は上方に向かって突出する突出部947を有しており、この突出部947の内部の空洞は挿入口946と連通している。したがって、挿入口946から挿入された指を突出部947の内部の空洞に挿入することによって、取手部材945を確実に保持することができるようになっている。
一方、前記閉塞部材930の裏面には、図64に示すように、取手部材945の突出部947を収納するための取手収納部930dが設けられている。
そして、取手部材945は筐体1の左側壁の孔940から挿入口946を左側壁に開口した状態で、筐体1の内部に挿入され、さらに、突出部947が取手収納部930dに収納されている。
なお、図示は省略するが、前記支持部材935の裏面にも、取手部材945の突出部947を収納するための取手収納部が設けられており、取手部材945は筐体1の右側壁の孔940から挿入口946を右側壁に開口した状態で、筐体1の内部に挿入され、さらに、突出部947が取手収納部に収納されている。
本実施の形態によれば、前扉3を構成する上扉30がヒンジ100を中心に回動して、筐体1の正面開口部の上部を塞いだ状態において、筐体側枠体301のヒンジ側の側端縁部を構成する左補強フレーム304に正面開口部の内側に突出するようにして設けられた第1突出片901の内側に、上扉側枠体911のヒンジ側の側端部を構成する左フレーム914に正面開口部の外側に突出するようにして設けられた第2突出片916が重なっているので、上扉30の上扉側枠体911と、筐体1の筐体側枠体301との間に生じる隙間から不正行為に使用される異物の侵入、つまり当該隙間からの不正行為を防止できる。
同様に、前扉3を構成する下扉40がヒンジ100を中心に回動して、筐体1の正面開口部の下部を塞いだ状態において、筐体側枠体301のヒンジ側の側端縁部を構成する左補強フレーム304に正面開口部の内側に突出するようにして設けられた第1突出片901の内側に、下扉側枠体921のヒンジ側の側端部を構成する左フレーム924に正面開口部の外側に突出するようにして設けられた第2突出片916が重なっているので、下扉40の下扉側枠体921と、筐体1の筐体側枠体301との間に生じる隙間から不正行為に使用される異物の侵入、つまり当該隙間からの不正行為を防止できる。
なお、本実施の形態では、前扉3を上扉30と下扉40との2つの扉によって構成したが、前扉3を一体的に構成してもよい。この場合でも前扉3の扉側枠体910と、筐体1の筐体側枠体301との間に生じる隙間から不正行為に使用される異物の侵入、つまり当該隙間からの不正行為を防止できる。
また、上扉30と下扉40とがヒンジ100を中心に回動して、筐体1の正面開口部を塞いだ状態において、上扉30の表面側に突出する下辺突出片913eの上側に、下扉40の裏面側に突出する上辺突出片922aが重なっているので、上扉30と下扉40との間に生じる隙間から不正行為に使用される異物の侵入、つまり当該隙間からの不正行為を防止できる。
さらに、ヒンジ100を中心とする回動側における上扉30と下扉40との間に生じる隙間Sを筐体1および筐体側枠体301に設けられた閉塞部材930によって内側から塞いでいるので、この隙間Sから不正行為に使用される異物の侵入、つまり当該隙間からの不正行為を防止できる。
また、閉塞部材930が交換ユニット3を筐体1に挿入する際のガイド部材となっているので、交換ユニット3を筐体1にその正面開口部から容易に挿入し、または抜き出すことができる。
また、筐体1の側壁に設けられた孔940に取手部材945が挿入され、閉塞部材930には、取手部材945の突出部947を収納するための取手収納部930dが設けられているので、孔940に取手部材945が挿入されると、この挿入された取手部材945の突出部947が取手収納部930dに収納されるので、筐体1内に取手部材挿入用の空間を別途設ける必要がなく、筐体内の空間の有効利用を図ることができる。
また、筐体側枠体301がアルミニウムによって形成され、扉側枠体910がマグネシウムで形成されているので、筐体側枠体301や扉側枠体910に不正侵入を防止するためのコ字形フレーム900、第1突出片901、第2突出片916、下辺突出片913e、上辺突出片922a等を押し出し成形によって容易に形成できる。
また、本実施の形態では、図66および図67に示すように、前記表示ユニット200が、筐体1(図2参照)の正面開口部の開口上部を開閉可能に閉塞する上扉30のベース部材1100に取り付けられている。
ベース部材1100は略矩形板状に形成されており、図66において上部左側に矩形状の開口部1101が設けられ、この開口部1101より下方に大きな矩形状の開口部1102がベース部材1100の下部側に寄せて設けられている。
開口部1101は回転リール22a(図2参照)用の窓であり、開口部1102は表示ユニット200用の窓である。
なお、図66はベース部材1100の背面側(裏面側)から見た斜視図であり、図77は同背面図である。
表示ユニット200はその表示画面200a(図74および図75参照)を開口部1102に臨ませた状態で、以下のようにしてベース部材1100に取り付けられている。
すなわちまず、図66に示すように、ベース部材1100の裏面側には、開口部1102の上縁部の左右の端部と、開口部1102の下縁部の左右の端部にそれぞれボス1103が突出して設けられている。
ベース部材1100を裏側から見て開口部1102の上縁部の左端部にあるボス1103は、図68に示すように、円筒状に形成されており、その右側に隣接して裏面視(背面視)十字状の係合部1104が突出して形成されている。ボス1103の先端面は係合部1104の先端面より突出している。
また、開口部1102の上縁部の右端部にあるボス1103は、図69に示すように、円筒状に形成されており、その左側に隣接して上下に延びる裏面視(背面視)直線状の係合部1105が突出して形成されている。ボス1103の先端面は係合部1105の先端面より突出している。
また、開口部1102の下縁部の左端部にあるボス1103は、図70に示すように、円筒状に形成されており、その左側に隣接して上下に延びる裏面視(背面視)直線状の係合部1106が突出して形成されている。ボス1103の先端面は係合部1106の先端面より突出している。
また、開口部1102の下縁部の右端部にあるボス1103は、図71に示すように、円筒状に形成されており、その右側に隣接して上下に延びる裏面視(背面視)直線状の係合部1106が突出して形成されている。ボス1103の先端面は係合部1106の先端面より突出している。
4つのボス1103の先端面はほぼ面一に設けられており、これら先端面が後述するユニット取付部208を取り付けるための取付面1103aとなっている。
また、4つの係合部1104,1105,1106,1106の先端面はほぼ面一に設けられている。
図3に示すように、表示ユニット200のケーシング201には4つの固定部208が設けられており、この固定部208が表示ユニット200を前記取付面1103aに取り付けるためのユニット取付部208とされている。
ユニット取付部208は、ケーシング201の上縁部の左右両端部と、下縁部の左右両端部にそれぞれ設けられ、合計4個ある。
ケーシング201の上縁部の左右両端部に設けられるユニット取付部208A,208Bは左右対称的に形成されているので、以下では左端部に設けられているユニット取付部208Aについて説明し、ユニット取付部208Bの説明は省略する。
また、ケーシング201の下縁部の左右両端部に設けられるユニット取付部208C,208Dは左右対称的に形成されているので、以下では左端部に設けられているユニット取付部208Cについて説明し、ユニット取付部208Dの説明は省略する。
図72に示すように、ユニット取付部208Aは、ケーシング201の上面から突出する略矩形箱状に形成され、その内部に仕切壁1110が設けられることによって、左右に隣接した凹部を有している。左右の凹部の底面が前記取付面1103aに選択的に当接固定される矩形状の当接固定面1111a,1111bとされている。
当接固定面1111a,1111bは表示ユニット200の表示画面200aに対する角度が異なっており、本実施の形態では当接固定面1111aは表示画面200aとほぼ平行(角度が0°)となっており、当接固定面1111bは表示画面200aに対して所定角度だけ、上方に向かうにしたがって漸次表示ユニット200の裏面側に傾くように傾斜している。
また、当接固定面1111aには取付孔1112aがユニット取付部208Aを貫通して設けられ、同様に当接固定面1111bには取付孔1112bがユニット取付部208Aを貫通して設けられている。
また、当接固定面1111aには被係合部1113aが設けられ、当接固定面1111bには被係合部1113bが設けられている。被係合部1113aは、底面に当接固定面1111aを有する凹部の内壁面で構成され、被係合部1113bは底面に当接固定面1111bを有する凹部の内壁面で構成されている。
また、図73に示すように、ユニット取付部208Cは、ケーシング201の下面から突出する略矩形箱状に形成され、その内部に仕切壁1120が設けられることによって、左右に隣接した凹部を有している。左右の凹部の底面が前記取付面1103aに選択的に当接固定される矩形状の当接固定面1121a,1121bとされている。
当接固定面1121a,1121bは表示ユニット200の表示画面200aに対する角度が異なっており、本実施の形態では当接固定面1121aは表示画面200aに対して所定角度だけ、下方に向かうにしたがって漸次表示ユニット200の表面側に傾くように傾斜しおり、当接固定面1121bは表示画面200aとほぼ平行(角度が0°)となっている。
また、当接固定面1121aには取付孔1122aがユニット取付部208Cを貫通して設けられ、同様に当接固定面1121bには取付孔1122bがユニット取付部208Cを貫通して設けられている。
また、当接固定面1121aには被係合部1123aが設けられ、当接固定面1121bには被係合部1123bが設けられている。被係合部1123aは、底面に当接固定面1121aを有する凹部の内壁面で構成され、被係合部1123bは底面に当接固定面1121bを有する凹部の内壁面で構成されている。
このような構成の表示ユニット200の上端部は、図74および図75に示すように、ユニット取付部208A,208Bのそれぞれの2つの当接固定面1111a,1111bのうち、選択された当接固定面1111aをボス1103の先端の取付面1103aに当接したうえで、取付孔1112aにタッピングネジ1130を挿通し、ボス1103の内筒面に雌ネジを形成するようにしてねじ込むことによって、固定されている。
また、図示は省略するが、表示ユニット200の下端部は、ユニット取付部208C,208Dのそれぞれの2つの当接固定面1121a,1121bのうち、選択された当接固定面1121bをボス1103の先端の取付面1103aに当接したうえで、取付孔1122bにタッピングネジ1130を挿通し、ボス1103の内筒面に雌ネジを形成するようにしてねじ込むことによって、固定されている。
このようにしてベース部材1100に取り付けられた表示ユニット200は、図74に示すように、表示画面200aが斜め上方を向くようにして設けられている。つまり、ベース部材1100は鉛直面に対して所定角度だけ斜め上方を向くようにして上扉30に備えられており、ボス1103はベース部材1100に対してほぼ垂直に立設されているので、このボス1103の先端の取付面1103aに当接されたユニット取付部208の当接固定面1111a,1121bは斜め上方を向くように傾斜する。このため、表示ユニット200の表示画面200aが斜め上方を向くように傾斜する。
また、表示ユニット200の上端部では、ユニット取付部208Aの選択された一つの当接固定面1111a以外の当接固定面1111bに設けられた被係合部1113bに係合部1105が係合され、ユニット取付部208Bの選択された一つの当接固定面1111a以外の当接固定面1111bに設けられた被係合部1113bに係合部1104が係合されている。
ユニット取付部208Bの被係合部1113bに係合された係合部1104は十字状に形成されているので、当該係合部1104が被係合部1113bの対向する内壁面に当接し、これによって、ユニット取付部208Bの上下左右方向の位置決めがなされる。
また、ユニット取付部208Aの被係合部1113bに係合された係合部1105は上下の直線状に形成されているので、当該係合部1105が被係合部1113bの上下に対向する内壁面に当接し、これによって、ユニット取付部208Bの上下の位置決めがなされる。
また、表示ユニット200の下端部では、ユニット取付部208Cの選択された一つの当接固定面1121b以外の当接固定面1121aに設けられた被係合部1123aに係合部1106が係合され、ユニット取付部208Dの選択された一つの当接固定面1121b以外の当接固定面1121aに設けられた被係合部1123aに係合部1106が係合されている。
ユニット取付部208C,208Dの被係合部1123a,1123aに係合された係合部1106,1106は上下の直線状に形成されているので、当該係合部1106,1106が被係合部1123aの上下に対向する内壁面に当接し、これによって、ユニット取付部208C,208Dの上下の位置決めがなされる。
このように4つのユニット取付部208A〜208Dの位置決めがなされることで、表示ユニット200のベース部材1100に対する位置決めがなされる。そして、この位置決めがなされるとともに、上述したように、当接固定面1111a,1121bが取付面1103aに当接固定された状態で、取付孔1112a,1122bにタッピングネジ1130を挿通し、ボス1103の内筒面に雌ネジを形成するようにしてねじ込むことによって、表示ユニット200がベース部材1100に取り付けられている。
このように表示ユニット200は、図67に示すように、ベース部材1100の下部側に寄せて設けられるが、図76に示すように、ベース部材1100の上部側に寄せて設ける場合、図77に示すように、表示ユニット200用の開口部1102がベース部材1100の上部側に寄せて設けられている。なお、図76および図77はベース部材1100を裏面視した裏面図(背面図)である。
そして、ベース部材1100の裏面視において、開口部1102の上縁部の左右の端部と、開口部1102の下縁部の左右の端部にそれぞれボス1103が突出して設けられている。
ベース部材1100の裏面視において、開口部1102の上縁部の左端部にあるボス1103の左側に隣接して裏面視十字状の係合部1104が突出して形成されている。
また、ベース部材1100の裏面視において、開口部1102の上縁部の右端部にあるボス1103の右側に隣接して上下に延びる裏面視直線状の係合部1105が突出して形成されている。
このように、図77に示すベース部材1100では、図66に示すベース部材1100に対してボス1103と係合部1104との左右の位置関係、ボス1103と係合部1105との左右の位置関係が逆になっている。
また、図77に示すベース部材1100では、開口部1102の下縁部の左右の端部に設けられたボス1103の横には、図66に示すベース部材1100の開口部1102の下縁部に設けられている係合部1106は設けられてない。
表示ユニット200の上端部では、図78および図79に示すように、ユニット取付部208A,208Bのそれぞれの2つの当接固定面1111a,1111bのうち、選択された当接固定面1111bをボス1103の先端の取付面1103aに当接したうえで、取付孔1112bにタッピングネジ1130を挿通し、ボス1103の内筒面に雌ネジを形成するようにしてねじ込むことによって、ユニット取付部208A,208Bをベース部材1100に固定する。
また、図示は省略するが、表示ユニット200の下端部は、ユニット取付部208C,208Dのそれぞれの2つの当接固定面1121a,1121bのうち、選択された当接固定面1121aをボス1103の先端の取付面1103aに当接したうえで、取付孔1122aにタッピングネジ1130を挿通し、ボス1103の内筒面に雌ネジを形成するようにしてねじ込むことによって、固定する。
このようにしてベース部材1100に取り付けられた表示ユニット200は、図78に示すように、表示画面200aが斜め下方を向くようにして設けられる。つまり、ベース部材1100は鉛直面に対して所定角度だけ斜め上方を向くようにして上扉30に備えられており、ボス1103はベース部材1100に対してほぼ垂直に立設されているが、このボス1103の先端の取付面1103aに当接されたユニット取付部208の当接固定面1111b,1121aは上方に向かうほど表示ユニット200の裏面側に傾くように傾斜している。このため、表示ユニット200の表示画面200aが斜め下方を向くように傾斜する。
また、表示ユニット200の上端部では、ユニット取付部208Aの選択された一つの当接固定面1111b以外の当接固定面1111aに設けられた被係合部1113aに係合部1105が係合され、ユニット取付部208Bの選択された一つの当接固定面1111b以外の当接固定面1111aに設けられた被係合部1113aに係合部1104が係合される。
これよって、ユニット取付部208Bの上下左右方向の位置決めがなされるとともに、ユニット取付部208Bの上下の位置決めがなされる。
なお、開口部1102の下部側には係合部1106が設けられていないので、表示ユニット200の下端部では、ユニット取付部208C,208Dの選択された一つの当接固定面1121a以外の当接固定面1121bに設けられた被係合部1123bに係合部1106が係合されることはないが、上述したように、ユニット取付部208A,208Bが位置決めされているので問題ない。
以上のように、本実施の形態によれば、表示ユニット200のユニット取付部208(208A〜208D)が表示画面200aに対する角度の異なる2つの当接固定面1111a(1121a),1111b(1121b)を有しているので、当該2つの当接固定面1111a(1121a),1111b(1121b)からベース部材1100の取付面1103aに当接固定する当接固定面を選択することによって、ベース部材1100への表示ユニット200の取付角度を容易に変更することができる。
また、ベース部材1100の取付面1103aに当接固定された当接固定面1111a(1121a),1111b(1121b)以外の当接固定面1111b(1121b),1111a(1121a)に設けられた被係合部1113a,1113b,1123a,1123bにベース部材1100に設けられた係合部1104,1105,1106が係合されているので、表示ユニット200の位置決めを容易かつ確実に行うことができる。
なお、本実施の形態では、表示ユニット200のユニット取付部208は、表示画面200aに対する角度が異なる2つの当接固定面1111a(1121a),1111b(1121b)を有していたが、ユニット取付部の当接固定面は2つに限ることなく、3つ以上であってもよい。
また、ユニット取付部208は、表示ユニット200の上縁部と下縁部にそれぞれ2つずつ設けたが、当該上縁部と下縁部にそれぞれ少なくとも1つ以上設ければよい。
さらに、本実施の形態では、表示ユニットを上下に傾ける場合を例にとって説明したが、本発明では表示ユニットを左右に傾ける場合にも適用できる。この場合、例えば当接固定面を左右に傾ければよい。
また、本実施の形態では、ベース部材1100に、裏面視十字状の係合部1104、上下に延びる裏面視直線状(縦棒形状)の係合部1105,1106を突出して形成したが、係合部1104,1105,1106はこれらに限ることなく、様々なバリエーションを採用できる。
例えば、係合部の形状としては、ベース部材1100の裏面視において、上述した十字状、縦棒形状に加えてまたは代えて、横棒形状(マイナス形状)、斜め棒形状(スラッシュ形状)や、その他の形状としてもよく、また、全ての係合部を同一の形状としたり、異なる形状の係合部を適宜組み合わせてもよい(例えば、縦棒形状の係合部を1箇所、横棒形状の係合部を1箇所設けたり、これに十字状の係合部を2箇所加えて設けたりする等などである。)。要は、ユニット取付部208の被係合部1113a,1113b,1123a,1123bに係合可能な係合部の形状、個数を適宜設定すればよい。
また、図66に示すように、開口部1102の下縁部に係合部1106,1106を設けたが、この係合部1106,1106を設けなくてもよいし、逆に、図77に示すように、開口部1102の下縁部に、ボス1103,1103に隣接して係合部1106,1106を設けてもよい。
また、本実施の形態では、図14に示すように、正面側に開口する箱形の筐体1を備えている。
この筐体1は、正面開口部を有する筐体本体300と、正面開口部の開口縁部に設けられた金属製の矩形枠状の補強枠(枠体)301とを備えている。
枠体301はアルミフレームで構成されたものであり、図80に示すように、矩形枠状に組み立てられる4つの帯板状の補強フレーム(フレーム)1200と、枠体301の角部に設けられるとともに、隣り合う補強フレーム1200,1200の端部どうしを連結する角フレーム(連結フレーム)306とを備えている。
補強フレーム1200としては、枠体301の上下のフレーム(横フレーム)302,303と、左右のフレーム(縦フレーム)304,305とがある。上下の横フレーム302,303は上下対称に構成されており、左右の縦フレーム304,305は左右対称に構成されている。
したがって、以下では上の横フレーム302と左の縦フレーム304について説明し、下の横フレーム303と右の縦フレーム305とについての説明は省略する。
なお、以下の説明では、上下の横フレーム302,303、左右の縦フレーム304,305を単にフレーム302,303,304,305と記す場合もある。
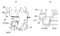
横フレーム302は、図81に示すように、平行に配置された上下一対の帯板状の板金302a,302aと、当該板金302a,302aの前端縁を連結する断面コ字形のコ字形フレーム302bと、板金302a,302aの後端縁を連結するとともに、筐体本体300の開口縁部の上縁部に係合する係合フレーム302cとを備え、押し出し成形によって一体的に形成されている。
コ字形フレーム302bと係合フレーム302cの上端縁部はそれぞれ上の板金302aより上方に突出している。そして、上の板金302aの上面の長手方向(板金302aの長手方向)の両端部でかつコ字形フレーム302bの突出した部分と係合フレーム302cの突出した部分との間に、連結フレーム(連結部材)306の一片306aが当接される当接面307が設けられている。この当接面307には4つの貫通孔307aが前後左右に離間して設けられている。また、下の板金302aの端部には、4つの貫通孔307aと同軸に4つの貫通孔307aが設けられている(図84参照)。
縦フレーム304は、図82および図86に示すように、平行に配置された左右一対の帯板状の板金304a,304aと、当該板金304a,304aの前端縁を連結する断面コ字形のコ字形フレーム304bと、板金304a,304aの後端縁を連結するとともに、筐体本体300の開口縁部の左縁部に係合する係合フレーム304eとを備え、押し出し成形によって一体的に形成されている。
板金304a,304a間には、ネジ受板(長尺補強部材)304dが挿入されている。長尺補強部材304dは、縦フレーム304の長手方向に延在するものであり、筐体1の内側(図82および図86において右側)の板金304aに当接するとともに、コ字形フレーム304bと係合フレーム304eとの対向する面にそれぞれ形成された係止部304c,304cによって当該板金304aに当接した状態で係止されている。
コ字形フレーム304bと係合フレーム304eの先端縁部はそれぞれ左の板金304aより突出している。そして、左の板金304aの側面の長手方向(板金304aの長手方向)両端部でかつコ字形フレーム304bの突出した部分と係合フレーム304eの突出した部分との間に、連結フレーム306の他片306bが当接される当接面308が設けられている。この当接面308には4つの貫通孔308aが前後上下に離間して設けられている。また、内側(図82および図86において右側)の板金304aの端部には、前記4つの貫通孔と同軸に4つの貫通孔308aが設けられている。
前記上の横フレーム302と左の縦フレーム304とは突き当てによって接合されている。すなわち、図83および図84に示すように、横フレーム302の下の板金302aの端部下面に、縦フレーム304の内側の板金304aの上端面を突き当てることによって接合されている。また、横フレーム302の上の板金302aの端部と縦フレーム304の外側の板金304aの上端部とは当接しておらず、隙間が生じている。
この隙間を塞ぐとともに、横フレーム302と縦フレーム304とを連結するために、連結フレーム306が設けられている
すなわち、連結フレーム306は、図84に示すように、略L字形の金属板によって形成されており、一片306aが横フレーム302の前記当接面307(図81参照)に当接され、他片306bが縦フレーム304の当接面308(図82参照)に当接されている。
連結フレーム306の一片306aにはねじ孔を有する4つのボス309が設けられ、他片306bにはねじ孔を有する4つのボス310が設けられている。4つのボス309は横フレーム302の当接面307に設けられた4つの貫通孔307aに挿入され、4つのボス310は縦フレーム304の当接面308に設けられた4つの4つの貫通孔308aに挿入されている。
そして、図83〜図86に示すように、ねじ311を横フレーム302の下面側から下の板金302aを通してボス309に設けられたねじ孔にねじ込むとともに、縦フレーム304の内側から内側の板金304aおよび長尺補強部材304dに設けられた貫通孔を通してボス310に設けられたねじ孔にねじ込むことによって、連結フレーム306が横フレーム302の当接面307と縦フレーム304の当接面308に固定されている。
このようにして、横フレーム302の左端部と縦フレーム304の上端部とが連結フレーム306によって接合固定されている。この連結フレーム306によって横フレーム302の上の板金302aの端部と縦フレーム304の外側の板金305aの上端部との間の隙間が塞がれている。
また、図83〜図85に示すように、上の横フレーム302の左端部の下面には、横フレーム302の板金302aより機械的強度が高い補強部材315が設けられている。
この補強部材315は図87に示すように、断面略L字形に形成され、その一片315aは他片315bより短辺方向の長さが十分に長くなっている。一片315aには長孔315cと、2つの孔が一部重なったような異形孔315dとが一片315aの長手方向に離間して設けられている。また、図83に示すように、補強部材315の長辺方向の長さは横フレーム302の板金302aの短辺の長さより短くなっている。
このような補強部材315は、その長手方向の一端が横フレーム302の板金302aの前端より僅かに奥側に位置するようにして、一片315aが横フレーム302の下面(下の板金302a)に当接されるともに、他片315bが縦フレーム304の内面(内側の板金304a)に当接されている。そして、ねじ311を一片315aの長孔315cと異形孔315dに挿通したうえで、下の板金302aを通して連結フレーム306のボス309に設けられたねじ孔にねじ込むことで、補強部材315が横フレーム302の下面に固定されている。
この状態において、補強部材315の角部は、直角に隣り合う横フレーム302と縦フレーム304の端部どうしで構成される2つのフレーム302,304の内側の角部に重ねられている。
なお、上の横フレーム302と右の縦フレーム305との接合構造、下の横フレーム303と左の縦フレーム304との接合構造および下の横フレーム303と右の縦フレーム305との接合構造は、上述した連結フレーム306と補強部材315による上の横フレーム302と左の縦フレーム304との接合構造と同様となっているので、つまり、枠体301の4つの角部の接合構造は同様となっているので、その説明を省略する。
このような構成の枠体301は、図83および図85に示すように、横フレーム302の係合フレーム302cと縦フレーム304の係合フレーム304eを、筐体本体300の開口縁部300aに設けられた、断面コ字形の被係合部300bと当該開口縁部300aの内面300cに係合させるとともに、ねじ(図示略)を筐体本体300にねじ込むことによって、当該筐体本体300の開口縁部300aに固定されている。
つまり、係合フレーム302cは、図81に示すように、下の板金302aと面一に設けられ、かつ当該板金302aの長手方向に沿って延在する当接板部302dと、上の板金302aと面一に設けられ、かつ当該板金302aの長手方向に沿って延在する係合板部302eとから構成されている。当接板部302dの短辺方向の長さは、係合板部302eの短辺方向の長さより(約2倍程度)長くなっている。また、係合板部302eの先端縁部はコ字形状に折曲されている。
そして、図85(a)に示すように、当接板部302dが前記開口縁部300aの内面300cに当接されるとともに、係合板部302eが開口縁部300aの被係合部300bに挿入されて係合されたうえで、ねじ(図示略)を筐体本体300にねじ込むことによって、係合フレーム302c、つまり横フレーム302が筐体本体300の左右方向に沿う開口縁部300aに固定されている。
また、係合フレーム304eは、図82に示すように、右の板金304aと面一に設けられ、かつ当該板金304aの長手方向(図82において上下方向)に沿って延在する当接板部304fと、左の板金304aと面一に設けられ、かつ当該板金304aの長手方向に沿って延在する係合板部304gとから構成されている。当接板部304fの短辺方向の長さは係合板部304gの短辺方向の長さより(約2倍程度)長くなっている。また、係合板部304gの先端縁部はコ字形状に折曲されている。
そして、図85(b)に示すように、当接板部304fが前記開口縁部300aの内面300cに当接されるとともに、係合板部304gが開口縁部300aの被係合部300bに挿入されて係合されたうえで、ねじ(図示略)を筐体本体300にねじ込むことによって、係合フレーム304e、つまり縦フレーム304が筐体本体300の上下方向に沿う開口縁部300aに固定されている。
本実施の形態によれば、横フレーム302,303の端部に、当該横フレーム302,303より強度が高い補強部材315が設けられ、横フレーム302,303と縦フレーム304,305を矩形枠状に組み立てるとともに、隣り合うフレーム302,304の端部どうし、隣り合うフレーム302,305の端部どうし、隣り合うフレーム303,304の端部どうし、隣り合うフレーム303,305の端部どうしをそれぞれ連結フレーム306によって連結する場合に、補強部材315から横フレーム302,303の端部を通して連結フレーム306,306にねじ311がねじ込まれているので、ねじ311の締付け力による横フレーム302,303の端部の変形を補強部材315によって抑制できる。
したがって、補強部材315によって、横フレーム302,303の内側の板金302aの端部の強度を高めることができるので、ねじ311の締付け力が当該板金302aの端部に作用しても、この板金302aの端部が撓み難くなる。このため、横フレーム302,303の内側の板金302aの端部と縦フレーム304,305の内側の板金304aの端部との間に隙間が生じ難くなり、この隙間からの不正行為を未然に防止できる。
なお、補強部材315は、横フレーム302,303の内側の板金302aより強度が高いものとしたが、前記隙間が生じないようにするには、横フレーム302,303の内側の板金302aと補強部材315とを合計した強度がねじ311の締付け力に耐えることができればよいので、補強部材315は、当該補強部材315と横フレーム302,303の内側の板金302aとの合計で、ねじ811の締付け力に耐え得る程度の強度(剛性)を有していればよい。
また、補強部材315は断面L字形に形成され、当該補強部材315の当該L字形の角部が隣り合うフレーム302,304(302,305、303,304、303,305)の端部どうしで形成される内側の角部に重ねられているので、フレーム302,304(302,305、303,304、303,305)の端部間に万が一隙間が生じても、この隙間からの細いピアノ線等による不正侵入を補強部材315の角部によって防御できる。
さらに、補強部材315は断面L字形に形成されているので、補強部材315が比較的薄くても剛性が高く、ねじ311の締付け力によって変形し難くなり、横フレーム302,303の端部の変形を抑制できる。
また、隣り合うフレーム302,304(302,305、303,304、303,305)のうち、横フレーム302,303に補強部材315が設けられ、縦フレーム304,305に長尺補強部材304dが設けられ、縦フレーム304,305の端部から長尺補強部材304dの端部を通して連結フレーム306にねじ311がねじ込まれているので、ねじ311の締付け力による横フレーム302,303の端部の変形を補強部材315によって抑制できるとともに、縦フレーム304,305の端部の変形を長尺補強部材304dによって抑制できる。
また、縦フレーム304,305に当該縦フレーム304,305の長手方向に沿って長尺な長尺補強部材304dが設けられているので、縦フレーム304,305に種々の部材、例えば、図2に示すように、交換ユニット2や上扉30用の蝶番受26等の部材を取り付ける場合に、当該部材を長尺補強部材304dにねじ止め等することによって、当該部材を強固に支持できる。
なお、本実施の形態では、補強部材315を断面略L字形に形成したが、矩形板状に形成してもよい。また、縦フレーム304,305の内部にそれぞれ長尺補強部材304dが設けられているため、縦フレーム304,305には補強部材315を設ける必要はないが、縦フレーム304,305の内部に長尺補強部材304dが設けられていない場合、縦フレーム304,305の上下端部にそれぞれ補強部材315を設けるのが好ましい。
また、本実施の形態では、枠体301を、図80に示すように、矩形枠状に組み立てられる4つの帯板状の補強フレーム(フレーム)1200と、枠体301の角部に設けられるとともに、隣り合う補強フレーム1200,1200の端部どうしを連結する角フレーム(連結フレーム)306とを備えた構成としが、枠体は、角フレーム(連結フレーム)306を有さない構成とする場合もある。
この場合、補強部材からフレーム1200の端部を通して筐体本体300にねじをねじ込むことになるが、この場合においても、横フレーム1200の内側の板金が補強部材によって補強されるので、横フレーム1200の内側の板金の端部と縦フレーム1200の内側の板金の端部との間に隙間が生じ難くなり、この隙間からの不正行為を未然に防止できる。
また、本実施の形態の遊技機は、上述したように、図2に示すように、正面側に開口する正面開口部を有する筐体1と、前記正面開口部を開閉する前扉3と、筐体1に正面開口部から交換可能に装填される交換ユニット2と、図88および図89に示すように、当該交換ユニット2に設けられて、前記正面開口部を閉じた状態に前記前扉3の上扉30を施錠する施錠ユニット1300とを備えている。
図88および図89に示すように、交換ユニット2の一側部(図88および図89において左側部)に上扉30がヒンジ100を介して回動可能に連結されることで、筐体1の開口上部を開閉するようになっている。なお、図88および図89では、上扉30は矩形状のフレーム30aを図示しており、その他の部材は図示を省略してある。
また、交換ユニット2の一側部と反対側の他側部(図88および図89において右側部)には、施錠ユニット1300が設けられている。
フレーム30aは遊技機前面と略平行な面を有する矩形環状の前面壁30bと、この前面壁30bから遊技機後方に突出する矩形環状の突出壁30cとを備えている。突出壁30cは、図96に示すように、外周側を構成する外周部分30eと内周側を構成する内周部分30fとを有しており、内周部分30fの後端に、後述する係合部30d、係合凸部1322、およびストッパ1320が設けられた板金30gが取り付けられている。
この施錠ユニット1300は、図90に示すように、上扉30に係脱可能に係合する前係合部材1301と、筐体1に係脱可能に係合する後係合部材1302と、下方および上方に移動可能な操作部材1303と、この操作部材1303の下方への移動により前係合部材1301と上扉30との係合を解除し、操作部材1303の上方への移動により、後係合部材1302と筐体1との係合を解除する係合解除機構1304とを備えている。
前係合部材1301、後係合部材1302および係合解除機構1304は、取付フレーム1305に設けられており、この取付フレーム1305が交換ユニット2の側面に、前係合部材1301を前側に向けて取り付けられている。
取付フレーム1305は、図90および図91に示すように、上下に長尺な部材であり、上下に長尺な長方形板状の基板1305aと、この基板1305aの図90における左右(図88における前後)左右の長辺部および上側の短辺部にそれぞれ基板1305aに対して直角にかつ基板1305aの左側面側(図88および89において左側面側)に立設された壁1305b,1305cと、一方の壁1305bおよび壁1305cの先端部にそれぞれ基板1305aと平行に設けられたフランジ部1305d,1305eとから構成されている。フランジ部1305dは、図90において左側の壁1305bの先端部から外方(左方)に向けて突出するとともに、基板1305aの長辺方向に沿って設けられている。フランジ部1305eは、図90において上側の壁1305cの先端部から上方に向けて突出するとともに、基板1305aの短辺方向に沿って設けられている。そして、フランジ部1305d,1305eを交換ユニット2の側面に当接してねじ止めすることによって、取付フレーム1305が交換ユニット2の側面に取り付けられている。
前係合部材1301は、取付フレーム1305の上下端部にそれぞれ設けられている。また、前係合部材1301は、基板1305aに支点1301a回りに正逆方向に回転可能に取り付けられており、先端部には係合爪1301bが設けられている。係合爪1301bは上扉30に係脱可能に係合するものである。また、基板1305aとフランジ部1305dが設けられていない側(前側)の壁1305b(図90において右側の壁1305b)とにまたがって、これら基板1305aと壁1305bの交差部1305h(図91参照)の上下端部にそれぞれ縦長のスリット状の開口部1306(図91参照)が設けられており、この開口部1306を貫通して前係合部材1301の先端部が図90において右側に突出して設けられている。
そして、前係合部材1301の突出している先端部が開口部1306の上端に当接している場合に、当該係合爪1301bは上扉30に係合している。
前係合部材1301は、図90において、支点1301aを軸として時計回り(正方向)に回転することによって、係合爪1301bと上扉30との係合が解除されるようになっている。
また、前係合部材1301はばね1307によって、図90において反時計回り(逆方向)に付勢されている。すなわち、ばね1307はねじりばねであり、その一端部が基板1305aに設けられた係止部1305fに係止され、他端部が前係合部材1301に設けられた係止部1301cに係止されている。ばね1307はその一端部と他端部とが近付くように圧縮された状態で、係止部1305f,1301cに係止されており、また、係止部1301cは支点1301aより図90において下側でかつ係合爪1301bと反端側(左側)に設けられている。これによって、ばね1307は前係合部材1301を図90において反時計回りに付勢している。
また、前係合部材1301には、支点1301aと係合爪1301bとの間において、つまり支点1301aより係合爪1031b側に、凸部1301dが、図90における紙面前方向(遊技機に取り付けた状態における遊技者から向かって左方向)に突出して設けられており、この凸部1301dが操作部材1303に設けられた開口部1303aに挿入されている。そして、前係合部材1301がばね1307によって図90において反時計回り(逆方向)に付勢されているが、凸部1301dが開口部1303aの上端部に当接することで、前係合部材1301のそれ以上の反時計回り(逆方向)の回動が阻止されている。
なお、前係合部材1301の上端部(係合爪1301bでない部分)が、開口部1306の開口を形成する上端に当たって、前係合部材1301のそれ以上の反時計回り(逆方向)の回動が阻止されるように構成してもよい。
後係合部材1302は、取付フレーム1305の上端部に上側の前係合部材1301より下方位置において設けられている。また、後係合部材1302は、基板1305aに支点1302a回りに正逆方向に回転可能に取り付けられており、先端部には係合爪1302bが設けられている。係合爪1302bは筐体1の内側面に設けられた係合部1310(図94参照)に係脱可能に係合するものである。また、基板1305aとフランジ部1305dが設けられている側(後側)の壁1305b(図90において左側の壁1305b)とにまたがって、これら基板1305aと壁1305bの交差部1305iに縦長のスリット状の開口部1311(図91参照)が設けられており、この開口部1311を貫通して後係合部材1302の先端部が壁1305bから図90において左側に突出して設けられている。
そして、後係合部部材1311の突出している先端部が開口部1311の下端に当接している場合に、当該係合爪1302bは係合部1310に係合している。
係合部1310は、図94に示すように、矩形板状の取付板1310bとこの取付板131bの長手方向に沿う先端縁部に当該取付板1310bと直角に設けられた矩形板状の先端部1310aとを有する、平断面視において断面L形の金具で構成されている。
そして、この係合部1310は、筐体1の内側面(図94において向かって右側の内側面)の上部に取付板1310bをその長辺を上下に向け、かつ先端部1310aを手前側(筐体1の奥側と反対側)に向けて、取り付けられている。そして、係合部1310の先端部1310aに前記後係合部材1302の係合爪1302bが係合するようになっている。なお、先端部1310aは筐体1の内側面に対してほぼ直角(図94中左方向)に立ち上がっており、先端縁が上下方向に沿っている。
後係合部材1302は、図90に示すように、支点1302aを軸として、時計回り(正方向)に回転することによって、係合爪1302bと係合部1310との係合が解除されるようになっている。
また、後係合部材1302はばね1312によって図90において反時計回り(逆方向)に付勢されている。すなわち、ばね1312はねじりばねであり、その一端部が基板1305aに設けられた係止部1305gに係止され、他端部が後係合部材1302に設けられた係止部1302cに係止されている。ばね1312はその一端部と他端部とが近付くように圧縮された状態で、係止部1305g,1302cに係止されており、また、係止部1302cは支点1302aより図90において上側でかつ係合爪1302bと反端側(右側)に設けられている。これによって、ばね1312は後係合部材1302を図90において反時計回りに付勢している。
また、後係合部材1302には、支点1302aと係合爪1302bとの間において、つまり支点1302aより係合爪1032b側に、凸部1302dが、図90における紙面前方向(遊技機に取り付けた状態における遊技者から向かって左方向)に突出して設けられており、この凸部1302dが操作部材1303に設けられた開口部1303aに挿入されている。そして、後係合部材1302がばね1312によって図90において反時計回り(逆方向)に付勢されているが、凸部1302dが操作部材1303の後述する後操作部材1314の上端に当接することで、後係合部材1302のそれ以上の反時計回り(逆方向)の回動が阻止されている。
なお、後係合部材1302の上端部(係合爪1302bでない部分)が、開口部1311の上端に当たって、後係合部材1302のそれ以上の反時計回り(逆方向)の回動が阻止されるように構成してもよい。
操作部材1303は、取付フレーム1305の長手方向に沿って延在する長尺部材であり、上下に移動可能となるように取付フレーム1305に取り付けられている。
また、操作部材1303は、前係合部材1301をばね1307の付勢力に抗して回転させる前操作部材1313と、この前操作部材1313の長手方向中央部より上方側において当該前操作部材1313に重ねて配置されて、後係合部材1302をばね1312の付勢力に抗して回転させる後操作部材1314とを備えている。
前操作部材1313は取付フレーム1305の上端部から下端部に向けて延在する長尺な板状のプレートで構成されており、当該前操作部材1313の下端部には、作業者が操作部材1303を操作する際に把持する把持部1313aが設けられている。
前操作部材1313は上下に移動可能となるように取付フレーム1305に取り付けられている。すなわち、取付フレーム1305の上下端部にそれぞれピン1315が立設されており、このピン1315を前操作部材1313の上下端部にそれぞれ設けられた長孔1313bに上下に摺動可能に挿通することによって、前操作部材1313が上下に移動可能となっている。
また、前操作部材1313はそれに設けられた長孔1313bの下端にピン1315が当接することで上方向への移動が規制され、長孔1313bの上端にピン1315が当接することで下方への移動が規制されるようになっている。
前記開口部1303aは前操作部材1313に設けられ、この開口部1303aに前係合部材1301の凸部1301dが挿入され、図90に示す状態において、凸部1301dは開口部1303aの上端部に当接している。
したがって、作業者が把持部1313aを把持して、前操作部材1313を下方(第1方向)に移動させることによって、開口部1303aの上端によってそれぞれの凸部1301dが下方に押されることで、前係合部材1301がばね1307の付勢力に抗して図90において時計回りに回転して、前係合部材1301と上扉30との係合を解除できるようになっている。
後操作部材1314は、前操作部材1313より短い板状のプレートで構成されており、その上下端部には上下に長尺な長孔1314aがそれぞれ設けられている。また、後操作部材1314には、長孔1314a,1314aの間において上下に長尺なガイド孔1314b,1314bがそれぞれ設けられている。
一方、前操作部材1313には、ピン1316,1316が上下に離間して立設されているとともに、ピン1316,1316間においてスライダ1317,1317が上下に離間して設けられている。
そして、ピン1316およびスライダ1317を長孔1314aおよびガイド孔1314bにそれぞれ上下に摺動可能に挿通することによって、後操作部材1314が上下に移動可能となっている。
また、後操作部材1314はそれに設けられた長孔1314aの下端にピン1316が当接することで上方向への単独での移動が規制され、長孔1314aの上端にピン1316が当接することで下方への単独での移動が規制されるが、ピン1316は前操作部材1314に設けられているので、前操作部材1313が上方に移動してそのピン1316が長孔1313aの上端に当接すると、それ以降は前操作部材1313に押されて上方に移動し、前操作部材1313が下方に移動してそのピン1316が長孔1313aの下端に当接すると、それ以降は前操作部材1313に押されて下方に移動するようになっている。
図90に示す状態において、ピン1316は長孔1314aの上端部に当接している。したがって、この状態において、前操作部材1313を上方に移動させると、後操作部材1314がピン1316によって上方に押されて、当該後操作部材1314が上方に移動するようになっている。
後係合部材1302の凸部1302dは、後操作部材1314の上端に当接しているので、作業者が把持部1313aを把持して、前操作部材1313を上方に移動させることによって、後係合部材1302がばね1312の付勢力に抗して図90において時計回りに回転して、後係合部材1302と筐体1の係合部1310との係合を解除できるようになっている。
また、図89および図95に示すように、上扉30には、前係合部材1301が上扉30に係合している状態において、操作部材の上方への移動を阻止するストッパ1320が設けられている。
すなわち、上扉30のフレーム30aの右辺を形成する前面壁30bに設けられた板金30gには、上扉30の裏面側から右斜め後方(図96の前左方)へ突出する矩形板状のストッパ1320が設けられている。
一方、操作部材1303の前操作部材1313の下端部には、当該前操作部材1313の表面から図95中左方(図90中前方)へ突出する矩形板状の突出部1321が設けられている。
また、図2および図96に示すように、上扉30のフレーム30aの右辺を形成する前面壁30bに設けられた板金30gには、係合部30d,30dが上下に離間して設けられている。この係合部30dは内周部分30fから図96中左方に突出する矩形板状のプレートによって形成されており、その下縁側から前係合部材1301の係合爪1301が係合部30dの前方となる面に係合することによって、係合部30dに前係合部材1301,1301の係合爪1301bが係合するようになっている。
また、図89に示すように、上扉30のフレーム30aの右辺を形成する縦部材にはストッパ1320より上方位置において、係合凸部1322が上扉30の裏面側から後方に突出して設けられ、一方、施錠ユニット1300の上下方向の中央部より下側に、係合凹部1323が設けられている。
そして、上扉30が閉じている状態において、つまり前係合部材1301の係合爪1301bが上扉30の係合部30dに係合している状態において、係合凸部1322が係合凹部1323に係合するとともに、ストッパ1320が突出部1321に上方から当接している。この当接している状態において、ストッパ1320は平面視において突出部1321と交差している。このように、上扉30が閉じている状態では、ストッパ1320によって前操作部材1313の上方への移動が阻止されるとともに、係合凸部1322が係合凹部1323に係合することによって、上扉30の上下左右と後方への移動が規制されている。
また、施錠ユニット1300は、後係合部材1302と筐体1の係合部1310との係合を解除した状態を保持する保持機構1330を備えている。
すなわち、図90に示すように、取付フレーム1305の基板1305aの上下方向略中央部には、前レバー1331が支点1331a(図91参照)回りに正逆方向に回転可能に設けられている。また、基板1305aとフランジ部1305dが設けられていない側(前側)の壁1305b(図90において右側の壁1305b)とにまたがって、これら基板1305aと壁1305bの交差部1305h(図91参照)に縦長のスリット状の開口部1332(図91参照)が設けられており、この開口部1332を貫通して前レバー1311の先端部1331bが壁1305bから図90において右側に突出している。
また、前レバー1331に設けられた係止部1331cと、後操作部材1314に設けられた係止部1314cとにスプリング1333が掛けられている。
また、後操作部材1314の下端部には係合凹部1334,1335が上下二段に設けられており、当該係合凹部1334,1335に、前レバー1331に設けられた凸部1331dが係合可能となっている。また、係合凹部1335は係合凹部1334より前後方向(図90において左右方向)への深さが深くなっている。
凸部1331dは、支点1331a(図91参照)より図90において左側において、図90における紙面前方向(遊技機に取り付けた状態における遊技者から向かって左方向)に突出して設けられている。
図90に示す状態、すなわち、後係合部材1302と筐体1の係合部1310とが係合している状態において、前レバー1331の凸部1331dは上段の係合凹部1334の後部(図90中左方)に係合している。また、図93に示す状態、すなわち、後係合部材1302と筐体1の係合部1310との係合を解除した状態において、後操作部材1314が上方(第2方向)に移動しているので、この後操作部材1314によって、スプリング1333が上方に引張られることで、前レバー1331が図93において反時計回りに回転する。これによって、前レバー1331の凸部1331dが反時計回りに回転するので、上段の係合凹部1334から外れて下段の係合凹部1335に係合する。
この状態において、前レバー1331はスプリング1333によって図93において反時計回りに付勢されているので、凸部1331dの係合凹部1335への係合状態が保持される。したがって、後操作部材1314は上昇した位置で保持されるので、後係合部材1302の凸部1302d下方への移動が阻止され、これによって、後係合部材1302と筐体1の係合部1310との係合を解除した状態が保持される。
なお、本実施の形態では、上述したように、前レバー1331の凸部1331dが反時計回りにして、上段の係合凹部1334から外れて下段の係合凹部1335に係合するようにしたが、これに代えて、凸部1331dが係合凹部1335を形成する上端部分や、後端(図90において右端)に当接したり、あるいは前レバー1331が前記開口部1332の上端に当接するようにしてもよい。
また、図90に示すように、施錠ユニット1300は、上扉30を閉じることで、保持機構1330による保持状態を解除して、後係合部材1302を筐体1の係合部1310に係合させる保持解除係合機構1340を備えている。
すなわち、前レバー1331の先端部1331bの先端1331eは円弧面状に形成されており、この円弧面状の先端1331eに上扉30のフレーム30aの右辺を形成する前面壁30bの裏面(後方の面)が当たると、この前面壁30bによって前レバー1331の先端1331eが下方に向かう力を受ける。このため、前レバー1331はスプリング1333の付勢力に抗して、図90において時計回りに回転し、これによって、凸部1331dが係合凹部1335から外れて、係合凹部1334に係合する。すると、後操作部材1314は下方に移動可能となるので、後係合部材1302がばね1312およびスプリング1333の付勢力によって、図90において反時計回りに回転するとともに、後操作部材1314が下方に移動して、後係合部材1302の係合爪1302bが筐体1の係合部1310に係合することになる。また、このとき凸部1331dが係合凹部1334に係合する。
本実施の形態の遊技機では、図88および図90に示す状態、すなわち前扉3の上扉30が筐体1の正面開口部の上部を閉じている状態で、作業者が操作部材1303の把持部1313aを把持して、下方に引張って、前操作部材1313を下方に移動させると、係合解除機構1304によって、前係合部材1301と上扉30との係合が解除される。
すなわち、図90に示した状態において、前操作部材1313を下方に移動させると、図92に示すように、前係合部材1301の凸部1301dが前操作部材1313の開口部1303aの上端によって下方に押される。これによって、前係合部材1301が図92において時計回りに回転して、その先端部の1301bが上扉30の係合部30dから外れて、前係合部材1301と上扉30との係合が解除される。
この状態では、図95に示すように、ストッパ1320が前操作部材1313の突出部1321に上から当接していることによって前操作部材1313の上方への移動が阻止されている。
次に、作業者が上扉30を開くと、ストッパ1320が突出部1321から外れて、前操作部材1313は上方への移動が可能となるので、作業者が把持部1313aを把持して前操作部材1313を上方に移動させる。
すると、図93に示すように、前操作部材1313のピン1316が後操作部材1314の長孔1314aの上端に当接しているので、このピン1316によって、後操作部材1314が上方に押される。後操作部材1314が上方に押されて移動すると、当該後操作部材1314の上端によって後係合部材1302の凸部1302dが上方に押される。これによって、後係合部材1302はばね1312の付勢力に抗して、図93において時計回りに回転するので、後係合部材1302の係合爪1302bが筐体1の係合部1310から外れて、交換ユニット2が筐体1から取り出し可能となる。
一方、保持機構1330によって、後係合部材1302と筐体1の係合部1310との係合を解除した状態が保持される。
すなわち、図93に示すように、後係合部材1302と筐体1の係合部1310との係合を解除する際に、後操作部材1314がスプリング1333の付勢力に抗して上方に移動する。
そして、この後操作部材1314によって、スプリング1333が上方に引張られることで、前レバー1331が反時計回りに回転する。これによって、前レバー1331の凸部1331dが図93において反時計回りに回転するので、この凸部1331dが上段の係合凹部1334から外れて下段の係合凹部1335に係合する。なお、前レバー1331が反時計回りに回転して開状態(後係合部材1302の開放状態)の位置に来たときでも、前レバー1331が少し上方に移動するにもかかわらず、スプリング1333は、後操作部材1314が上昇したことによってテンションがかかった状態となる。
この状態において、前レバー1331はスプリング1333によって図93において反時計回りに付勢されているので、凸部1331dの係合凹部1335への係合状態が保持される。したがって、後操作部材1314は上昇した位置で保持されるので、後係合部材1302と筐体1の係合部1310との係合を解除した状態が保持される。
その後、作業者が交換ユニット2を筐体1から引き出すことによって取り外す。
筐体1から取り外され、調整等がなされた交換ユニット2、または新たな交換ユニット2を筐体1に再び取り付ける場合、当該交換ユニット2を筐体1の奥側に押し込む。
そして、後係合部材1302が開いている状態、つまり、図93に示すように、前レバー1331が上方に回転しており、当該前レバー1331の凸部1331dが後操作部材1314の係合凹部1335に係合している状態の交換ユニット2の場合、当該交換ユニット2を筐体1の奥側の所定に位置に設ける。
この状態において、後係合部材1302の係合爪1302bは筐体1の係合部1310より上方位置にあり、当該係合部1310と係合していない。
次に、上扉30を閉める。すると、上扉30のフレーム30aの右辺を形成する前面壁30bが前レバー1331の先端1331eに当たる。これによって、前レバー1331の先端1331eが下方に向かう力を受けるので、前レバー1331はスプリング1333の付勢力に抗して、図93において時計回りに回転し、これによって、凸部1331dが係合凹部1335から外れて、係合凹部1334に係合するとともに、後操作部材1314はスプリング1333によって下方に引張られる。そして、後係合部材1302がばね1312の付勢力によって、反時計回りに回転して、後係合部材1302の係合爪1302bが筐体1の係合部1310に係合する。
また、上扉30を閉め始めると、前係合部材1301の係合爪1301bの傾斜面に、上扉30の係合部30dの先端(下端)が当たる。係合爪1301bの傾斜面は奥側に向かうほど上方に傾斜しているので、この傾斜面に係合部30dの先端(下端)が当たると、係合部30dによって係合爪1301bがばね1307の付勢力に抗して開き(図93において時計回りに回転し)、さらに上扉30を閉めることによって、係合爪1301bが係合部30dの先端(下端)を越えると、係合爪1301bがばね1307の付勢力によって、閉じ(図93において反時計回りに回転し)、係合部30dに係合する。これによって、上扉30が閉じた状態でロックされる。
一方、後係合部材1302が閉じている状態、つまり、図90に示すように、前レバー1331が下方に回転しており、当該前レバー1331の凸部1331dが後操作部材1314の係合凹部1334に係合している状態の交換ユニット2の場合、当該交換ユニット2を筐体1の奥側に押し込むと、後係合部材1302の係合爪1302bの傾斜面に、筐体1の係合部1310の先端部1310aが当たる。係合爪1302bの傾斜面は奥側に向かうほど上方に傾斜しているので、この傾斜面に係合部1310の先端部1310aが当たると、係合部1310によって係合爪1302bがばね1312の付勢力に抗して開き(図90において時計回りに回転し)、さらに筐体1を押し込むことによって、係合爪1302bが係合部1310の先端部1310aを越えると、係合爪1302bがばね1312の付勢力によって、閉じ(図90において反時計回りに回転し)、係合部1310に係合する。係合した後は、ばね1312の付勢力によって係合爪1302bが係合部1310に安定して係止する。
その後、上扉30を閉じると、上述したように、係合爪1301bが係合部30dに係合し、上扉30が閉じた状態でロックされる。
このように、交換ユニット2を筐体1の奥側に押し込み、上扉30を閉めることによって、交換ユニット2を筐体1に固定できるとともに、上扉30を閉じた状態で固定(ロック)できる。
以上のように本実施の形態によれば、左側部(一側部)に上扉30が設けられた交換ユニット2の右側部(他側部)に施錠ユニット1300が設けられているので、施錠ユニット1300を設けたことによる上扉30の重量増を防止することがきる。このため、上扉30を支持するヒンジ100等への負担を抑制できるとともに、上扉30の開閉をスムーズに行える。
また、施錠ユニット1300は操作部材1303を有し、この操作部材1303を下方に引っ張ることによって、施錠されている上扉30が解錠されるが、操作部材1303を下方に引っ張っても、その力が上扉30にかかることがない。したがって、上扉30を支持するヒンジ100等に負担がかかることがなく、上扉30の開閉をスムーズに行える。
また、上扉30を開放する際に、解錠状態が維持されるまでは、操作部材1303を下に押し下げながら上扉30を手前に引かなければならず、このとき、上扉30に施錠ユニット1300が設けられているとヒンジ100に負担がかかってしまうが、本実施の形態ではヒンジ100に負担がかからなくて済む。
さらに、施錠ユニット1300が交換ユニット2の右側部(他側部)に設けられているので、施錠ユニット1300を筐体1の側壁に設ける場合と異なり、交換ユニット2の交換に伴う上扉30と施錠ユニット1300との微妙なズレが生じることがない。このため、施錠ユニット1300によって上扉30を確実に施錠できる。
また、施錠ユニット1300が筐体1に係脱可能に係合する後係合部材(係合部材)1302を備えているので、交換ユニット2を筐体1に装填する場合に後係合部材1302が筐体1に係合することによって、交換ユニット2を筐体1に確実に固定でき、また、後係合部材1302が筐体1から外れることによって、交換ユニット2を筐体1から容易に取り外すことができる。
すなわち、作業者が操作部材1303の前操作部材1313を下方に移動させると、係合解除機構1304によって、前係合部材1301の係合爪1301bと上扉30の係合部30dとの係合が解除されるので、上扉30を開くことができ、次いで、作業者が前操作部材1313を上方に移動させることで、後操作部材1314を上方に移動させると、係合解除機構1304によって、後係合部材1302と筐体1の係合部1310との係合が解除されるので、交換ユニット2を筐体1から取り外すことが可能となる。
このように、操作部材1303の下方への移動によって、上扉30を開くことができ、操作部材1303の上方のへの移動によって、交換ユニット2を筐体1から取り外すことが可能となるので、交換ユニット2の取り外し作業を容易に行うことができる。
また、上扉30に、前係合部材1301が上扉30の係合部30dに係合している状態において、操作部材1303の上方への移動を阻止するストッパ1320が設けられているので、上扉30を開くために、前係合部材1301と係合部30dとの係合を解除する際に、間違えて操作部材1303を上方へ移動させて、後係合部材1302と筐体1との係合を解除することがない。
したがって、上扉30を開いた後、操作部材1303を上方へ移動させて、後係合部材1302と筐体1との係合を解除することができる。
さらに、施錠ユニット1300は、後係合部材1302の係合爪1302bと筐体1の係合部1310との係合を解除した状態を保持する保持機構1330を備えているので、操作部材1303の上方のへの移動によって、後係合部材1302の係合爪1302bと筐体1の係合部1310との係合が解除されて、交換ユニット2を筐体1から取り外すことが可能となっている際に、保持機構1330によって、後係合部材1302と筐体1との係合を解除した状態が保持されるので、把持部1313aを上に押し上げる操作をしながら交換ユニット2を引き抜かなくてもよく、交換ユニット2を筐体1から確実に取り外すことができる。
加えて、施錠ユニット1300は、上扉30を閉じることで、保持機構1330による保持状態を解除して、後係合部材1302の係合爪1302bを筐体1の係合部1310に係合させる保持解除係合機構1340を備えているので、交換ユニット2を筐体1に装填したうえで、上扉30を閉じると保持解除係合機構1340によって、後係合部材1302の係合爪1302bと筐体1の係合部1310との係合を解除した保持状態が解除されて、後係合部材1302の係合爪1302bを筐体1の係合部1310に係合させるので、保持状態のままで設置して放置したとしても交換ユニット2が筐体1に固定されていない状態で放置されることがなく、交換ユニット2を確実に筐体1に固定できる。
なお、本実施の形態では、操作部材1303を下方に移動させることによって、前係合部材と前扉との係合を解除し、操作部1303を上方に移動させることにより、後係合部材と筐体との係合を解除するようにしたが、本発明では、その逆、つまり操作部材1303を上方に移動させることによって、前係合部材と前扉との係合を解除し、操作部1303を下方に移動させることにより、後係合部材と筐体との係合を解除するようにしてもよい。また、操作部材1303の移動方向は上下に限らず、横方向やその他の方向としてもよい。
また、本実施の形態では、前扉3を上扉30と下扉40に分けた構造としたが、前扉3を一体のものとしてもよい。この場合、施錠ユニット1300の前係合部材1302を前扉3に係脱可能にすればよい。
また、本実施の形態では、交換ユニット2のヒンジ100が設けられている一側部と反対側の他側部に施錠ユニット1300を設けたが、これに代えて、交換ユニット2の一側部と反対側の他側部側にある筐体1の側壁部に設けてもよい。
次に、本実施の形態の筐体1の開口枠部材1402(補強枠301)の表面の凹凸形状について説明する。
図97に示す筐体1は、遊技者側に向かって開口する箱体1401(筐体本体300)と、箱体1401の開口の部分に設けられる開口枠部材1402(補強枠301)とを備える。箱体1401は、合成樹脂製のものであり、上面より底面が前後方向に広く、上部の前縁より下部の前縁が前に出るように遊技者側の開口部が斜めとなっている。なお、筐体1は、図14に示す筐体1と同じものである。
図98および図99に示すように、開口枠部材1402は、筐体1の開口部分の左側部となる左の押出形材1403(左の補強フレーム304)と、開口部分の右側部となる右の押出形材1404(右の補強フレーム305)と、開口部分の上部となる上の押出形材1405(上の補強フレーム302)と、開口部分の下部となる押出形材1406(下の補強フレーム303)とを備える。これら押出形材1403〜1406は、箱体1401(筐体本体300)に固定されて面一形状で四角枠状に組まれ、四角枠の各角部で接合されている。
また、開口枠部材1402の左の押出形材1403には、上述のように上扉30が回転自在に接続されるとともに、リールユニット22等を有する交換ユニット2が接続されている。なお、この遊技機としてのスロットマシンMでは、機種を変更する際に、スロットマシンM全体を交換するのではなく、上扉30を有する交換ユニット2を交換するようになっており、機種の交換時に筐体1、下扉40および筐体1内の電源ユニットやホッパ装置等は、遊技店の島設備に取り付けられたままで、交換されないようになっている。したがって、本実施の形態では、筐体1が長期に用いられ、開口枠部材1402が傷着くような場合が多くなる。
また、開口枠部材1402は、アルマイト処理されていないアルミ(アルミニウム、各種アルミニウム合金を含む)製であり、表面を含む全体が導電性を有し、島設備に遊技機を設置した際に、開口枠部材1402がアースされ、開口枠部材1402に接触する遊技機の各部材は、開口枠部材1402を介してアースされるようになっている。
開口枠部材1402は、箱体1401の斜めの開口部分に対応して、上の押出形材1405より下の押出形材1406が前に配置されるように斜めとなる形状であり、左右の押出形材1403.1404は上より下が前となるように斜めに配置されている。これら押出形材1403〜1406は、アルミを押出成形したものであり、成形後に穴あけや切断等が行われた部分を除いて、長さ方向(押出成形時の押出方向)のいずれの位置でも断面形状が同じになっている。
左右の押出形材1403、1404は、長手方向に直交する方向に沿った断面の断面形状が左右逆となっているが、それ以外は同じ形状となっている。以下に、図100〜図103を用いて右の押出形材1404を説明するが、左の押出形材1403も左右が逆なことを除いて右の押出形材1404と同様の形状となっている。押出形材1404は、例えば、アルミサッシなどに用いられる押出形材と同様に複雑な断面形状をしており、必要な強度を保持しながら、軽量化や材料の削減による低コスト化が図られている。図100および図102に示すように、開口枠部材1402に用いた場合に外側となる面が凹凸面1410となっている。
図101および図103に示すように凹凸面1410は、上下方向に直線状(帯状)の溝1411(凹部)を等間隔に多数配置したものであり、これら溝1411同士の間が直線状(帯状)の突条1412(凸部)となっている。これら溝1411と突条1412とは、押出形材1404の幅の間に多数配置されることで、細く線状に近い状態に見え、押出形材1404の凹凸面1410を鏡面より粗面に近い状態として、傷が付いても傷が鏡面より目立たないようにしている。凹凸面1410は、成形(例えば、押出成形等)により形成された凹部である溝1411と、それらの間に成形により形成れた凸部である突条1412とにより構成されたものであり、これら溝1411と突条1412からなる凹凸による模様が開口枠部材1402の意匠性を高めている。
本実施の形態において、図103に示すように、溝1411は、その底面が平面状で、突条1412は、その断面形状が略半円状となっている。なお、溝1411および突条1412の断面形状は、これに限られるものではなく、三角形、四角形等の多角形や、楕円やそれ以外の外形が曲線となる形状であってもよい。なお、凸部である突条1412には、凹凸模様が形成される部分の凹凸を略平均化して平坦な面とした仮想平面(言い換えれば、凹凸による模様を無くした表面となる仮想平面)と平行な連続する平面がなく、仮想平面に対して交差する方向に沿った平面および曲面のうちの少なくとも一方を有することが好ましい。すなわち、凸部が突条1412の場合に、突条1412が断面四角形で仮想平面に平行な平面が連続して長くある状態よりも、突条1412が断面三角形で、仮想平面に平行な連続する平面がなく、仮想平面に交差する方向に沿った平面(斜面)を有するか、上述のように断面半円形で突条1412の表面が曲面となっていることが好ましい。これにより、凹凸面1410に長い連続した傷が付くのを防止できるとともに、断続的な傷ができる場合に、断続する各傷部分の長さを短くし、断続する各傷を点に近い形状にできる。これにより、傷をより目立ち難くすることができる。また、言い方を変えれば、各凸部の先端部が平面でないか、または、先端面が同一平面内にない形状であることが好ましい。このような形状は、例えば、各凸部の先端面が仮想平面と平行でない場合や、凸部の先端面が平面でなく、曲面の場合や、凸部の先端部分が尖っている形状を含むものである。
本実施の形態では、突条1412の断面を三角形状ではなく半円状としている。押出成形において、断面三角形の頂点部分(先端部分)を鋭く尖った形状とすることは難しく、先端を丸めた形状とすることになる。また、断面三角形とし、先端部をできるだけ尖った形状とすると、先端部が脆弱な構造となり、傷付き易くなる。本実施の形態では、図103に示す突条の断面を、三角形状ではなく成形し易い略半円状としている。
また、溝1411および突条1412は、押出形材1404を押出成形する際に、金型(ダイス)の内面に形成された凹凸により形成されるもので、押出成形時の押出方向に沿って設けられている。したがって、溝1411および突条1412は、押出形材1404の成形後に後加工(表面加工)したものではなく、成形時に形成されたものである。したがって、ダイス以外のコストは基本的に必要なく、ヘアライン研磨加工等に比較して低コストに実施可能である。
また、本実施の形態の押出形材1403〜1406には、成形後の表面加工が行われておらず、アルマイト処理も行われていない。したがって、押出形材1403〜1406からなる開口枠部材1402は、アルマイト処理をした場合に比較して表面が傷つき易くなっているが、アルマイト処理を行わないことによりコストの削減が図られている。
このような押出形材1403、1404を備える開口枠部材1402にあっては、上述のように表面に溝1411と突条1412を設けて表面を粗面または粗面に近い状態としているので、表面に傷がついても、鏡面に比較して傷が目立たない状態となる。また、溝1411と突条1412を多数形成することにより、ヘアライン研磨処理をした場合と異なる外観ではあるが、ヘアライン加工処理を施した場合と同様に外観の見栄えを向上することができる。
なお、筐体1を島設備に設置した場合に、筐体1の開口枠部材1402が島設備から露出した状態となるが、開口枠部材1402の全てではなく前側の部分が露出する。また、開口枠部材1402は、上部より下部が前に出るように斜めに配置されるので、左右の押出形材1403、1404の外面側において、下になるほど露出部分が多くなる。また、上の押出形材1405は、露出部分が少なくなる。また、下の押出形材1406は、上の押出形材1405に比較して前に突出することになるが外面が底面となる。下扉40を閉めても、下の押出形材1406の外面が露出する場合があるが、いずれにしろ下の押出形材1406の外面は、遊技時の遊技者から見えないので、凹凸による模様(溝、突条等)がない。また、上の押出形材1405は、上扉30を閉めた状態で外面となる上面が少しだけ露出した状態となるが、遊技時に遊技者からは見えないので凹凸による模様(澪、突条等)がない。なお、開口枠部材1402の遊技者から見えない部分に凹凸による模様を設けてもよい。
なお、開口枠部材1402は、押出成形された押出形材1403〜1406が枠状に組まれたものでなくともよく、例えば、ロール成形やプレス成形された枠形成用部材を枠状に組んでもよい。また、プレス成形された枠形成用部材を枠状に組むのではなく、開口枠部材1402を一体にプレス成形して設けてもよい。
プレス成形により形成された凹凸による模様は、互いに平行で直線的な溝1411と突条1412とによるものでなくてもよく、様々な凹凸模様を形成可能である。但し、凹凸面1410と、プレス方向の関係によって形成可能な凹凸模様が制限される。また、凹凸による模様は、規則的であってもよいし、不規則的であってもよく、例えば、各溝1411の幅が一定であってもランダムであってもよい。ロール成形による凹凸の模様も成形方向によって制限されるが、例えば、溝1411や突条1412のような連続的なものではなく、断続的なもの、例えば、断続的に突起や凹みが等間隔で設けられるような模様であってもよい。
次に、本実施の形態の遊技機のホッパーユニット5のアース構造について説明する。筐体1内部のホッパーユニット5の部分を示す図104と、ホッパーユニット5を示す図104Aと、筐体1内部のホッパーユニット5の部分の概略図である図105に示すように、この筐体1の内部には、ホッパーユニット5が配置されている。図104Bに示すように、上述の筐体1は、導電性であるアルミ製の開口枠部材1402と、合成樹脂製の箱体1401とからなっている。開口枠部材1402は遊技者側に開口する箱体1401の開口縁1530に取り付けられる。
ホッパーユニット5は、ホッパー装置として、スロットマシンMに投入されたメダル(遊技媒体)や、補給されたメダルを貯留するメダル貯留部1501と、その下側でメダル貯留部1501に貯留されたメダルを役の入賞やクレジットされたメダルの返却に応じた数で払い出すメダル払出装置1502とを備える。また、ホッパーユニット5は、その底部の左右側部にそれぞれ後述の左右のガイドレール(ガイド部材)1504に案内されて筐体1の底部上面をスライド移動する導電性のスライダ(導電部材)1503を備える。
筐体1の底部には、ホッパーユニット5を設定された配置位置に配置する場合の左右のスライダ1503の位置に対応して、左右のガイドレール1504が設けられている。
左右のスライダ1503は、図105に示すように、ホッパーユニット5の下端部から左または右に突出するとともに、スロットマシンMの前後方向に沿って配置されている。また、図106および図107に示すように、スライダ1503は、ホッパーユニット5の下側に突出した状態となって、ホッパーユニット5の最も下側の部分を構成しており、ホッパーユニット5の左右の脚となっている。
また、図108および図110に示すように、スライダ1503は、略水平に配置され、筐体1の底部上面に接触するベース板部1505と、ベース板部1505の左右いずれかの側縁部から上に立ち上がる固定部1506とを備えている。ベース板部1505と固定部1506とは、互いに直角に配置されている。また、固定部1506の前後方向の中央部分に傾斜部1507が設けられ、傾斜部1507がベース板部1505に対して直角より少し開いくように傾斜した状態とされている。スライダ1503は、ホッパーユニット5の下端部の左右いずれかの側板部分にビス止めされている。このビス止め部分において、ホッパーユニット5のアースを必要とする部分とスライダ1503がアース接続されている。
図108、図109および図109Aに示すように、ガイドレール1504は、箱体1401の底部に固定される略水平で板状のベース部1511と、ベース部1511に略垂直な接続部1512を介して接続されるレール本体部1513と、レール本体部1513の後端部から下方に延出して、箱体1401に設けられたスリットに挿入されるストッパ1514とを備える。右のガイドレール1504では、細板状で長尺なベース部1511をその長手方向を前後方向に沿わせて箱体1401の底部に固定した状態で、レール本体部1513がベース部1511の左側に隣接して前後方向に延在するとともに、箱体1401(筐体1)の底部の上面との間に間隔をあけて配置されている。
左のガイドレール1504では、細板状で長尺なベース部1511をその長手方向を前後方向に沿わせて箱体1401の底部に固定した状態で、レール本体部1513がベース部1511の右側に隣接して前後方向に延在するとともに、箱体1401(筐体1)の底部の上面との間に間隔をあけて配置されている。筐体1(箱体1401、開口枠部材1402)の底部の上面とレール本体部1513との間に、スライダ1503のベース板部1505が挿入されるようになっている。
筐体1の底部の上面とレール本体部1513との間の間隔は、スライダ1503のベース板部1505の厚さより広く、筐体1の底部の上面とレール本体部1513との間にスライダ1503のベース板部1505を挿入した際に、ベース板部1505とレール本体部1513との間にクリアランス1515(図105に矢印で図示)としての隙間があいている。これにより、筐体1の底部の上面とレール本体部1513との間にスライダ1503のベース板部1505を容易に挿入することができるとともに、ガイドレール1504に沿ってスライダ1503を容易にスライド移動することができる。左右のガイドレール1504は、左右の接続部1512により、左右のスライダ1503の左右方向への移動を規制し、左右のレール本体部1513によりスライダ1503の上方への移動を規制している。さらに、ホッパーユニット5を筐体1内に設置する際に、ガイドレール1504に沿ってスライダ1503を後方に移動すると、スライダ1503がガイドレール1504のストッパ1514に当たり、スライダ1503の後方への移動が規制される。ガイドレール1504は、ホッパーユニット5の筐体1内への設置時または取出時に、ホッパーユニット5の前後方向への移動を案内するとともに、ホッパーユニット5の設置時にホッパーユニット5をその設置位置に保持するようになっている。ホッパーユニット5は、設置時にガイドレール1504とスライダ1503との係合により、上方への移動と左右方向への移動と後方への移動が規制されている。また、前扉3(下扉40)を閉めることで、ホッパーユニット5の前方への移動が規制される。
スライダ1503およびガイドレール1504は、板金を加工したものであり、例えば、鉄やステンレスやアルミ等の金属製で導電性を有するものである。
筐体1の底部は、筐体1の本体となる合成樹脂製の箱体1401の底部と、箱体1401の開口部分に配置され、かつ、アルミ製で導電性の開口枠部材1402の下の押出形材1406とから構成される。
箱体1401の底部のガイドレール1504に沿ってスライダ1503が配置される部分では、図111および図112に示すように、底部の上面が後部から前方に向かうにつれて低くなる傾斜面1517となっている。これにより、箱体1401と開口枠部材1402との接合部において、開口枠部材1402の下部を構成する押出形材1406の上面1521の高さに対して、箱体1401の底部の開口枠部材1402との接合部分の上面1522の高さが低くなっている。この開口枠部材1402の底部の上面1521の高さに対して、箱体1401の開口枠部材1402の接合部となる前縁部の底部の上面1522の高さは、許容される製造誤差以上に低くなっている。したがって、箱体1401の底部の前縁部の上面1522の高さが製造誤差により高くなり、開口枠部材1402の底部の上面1521の高さが製造誤差により低くなっても、開口枠部材1402の底部の上面1521の高さは、箱体1401の底部の前縁部の上面1522の高さより高くなっている。
なお、図111は、開口枠部材1402の押出形材1406と箱体1401の底部とスライダ1503のベース板部1505との断面部分だけを抜き出した図であり、図112は、ホッパーユニット5の重心と支点とを説明するために開口枠部材1402の押出形材1406と箱体1401の底部の断面形状等を簡略化して図示したものである。
ここで、箱体1401の底部の開口枠部材1402との接合部分とは、図111において、開口枠部材1402の底部の上面1521と、箱体1401の底部の前縁部の上面1522とが上下に重なった部分である。
また、箱体1401の底部上面のスライダ1503が配置される部分では、スライダ1503の後端部が接触する接触部分の上面1523の高さが開口枠部材1402の底部の上面1521の高さと同じになるように設計され、それより前側で箱体1401の底部の上面が上述のように前に向かうにつれて低くなる傾斜面1517となっている。
スライダ1503の前端部分は、導電性の開口枠部材1402(押出形材1406)の底部の上面に載って図112に示す接触部分1525で接触した状態となっている。ここで、筐体1の底部上において、スライダ1503のベース板部1505は、その前端部が開口枠部材1402の底部の上面に接触し、その後端部が箱体1401の底部の上述の傾斜面1517の最も高い位置と同じ高さとなる傾斜面1517の後側の上面に接触した状態となっている。
また、図112に示すように、スライダ1503を含むホッパーユニット5の重心1510の位置は、スライダ1503の後端部の箱体1の底部との接触位置(接触部分の前縁1520)より前側、すなわち、開口枠部材1402側となっている。言い換えれば、ホッパーユニット5の重心1510の位置より、スライダ1503の後端部の箱体1401の底部との接触位置が開口枠部材1402から離れている。すなわち、接触位置が重心1510の位置より後側となっている。
ここで、図111および図112に示すように、箱体1401のスライダ1503が配置される部分には、箱体1401の前縁に向かって低くなる傾斜面1517となっているとともに、この傾斜面1517の後側で箱体1401の底部の上面とスライダ1503のベース板部1505とが接触しており、接触部分の前縁1520を支点として、スライダ1503は、開口枠部材1402が無いと仮定した場合に、スライダ1503は、前側が下がるように回転移動可能な状態となっている。
本実施の形態において、開口枠部材1402の底部の上面(第1上面)の高さと、箱体1401の底部の上述の傾斜面1517より後側のスライダ1503と接触する上面(第2上面)の高さとが設計上同じとなっている。実際に遊技機を製造した場合には、製造誤差により第1上面より第2上面が高くなるか、低くなる可能性がある。
このような遊技機にあっては、開口枠部材1402の底部の上面(第1上面)の高さが、箱体1401の底部の上述の傾斜面1517より後側のスライダ1503と接触する上面(第2上面)の高さより高い場合と、第1上面の高さと第2上面の高さとが同じ場合に、スライダ1503のベース板部1505の平面状の底面が第1上面と第2上面との両方に接触することになるか、少なくとも第1上面にスライダ1503が接触することになり、スライダ1503と開口枠部材1402とが導通する。
開口枠部材1402の底部の第1上面の高さが、箱体1401の底部の第2上面の高さより低い場合には、ホッパーユニット5が筐体1内に設置された状態において、ホッパーユニット5の重心1510の位置より、スライダ1503の第2上面との接触位置が開口枠部材1402から離れた位置にあるので、スライダ1503は、第2上面との接触位置の前縁部分を支点として、ホッパーユニット5の重量に基づいて、前側が下がるように回転移動し、開口枠部材1402と、スライダ1503の前縁部が接触することになる。実際には、ホッパーユニット5を筐体1に設置した際に、第1上面と第2上面とが同じ高さでも、第1上面の方が第2上面より高くても、第2上面の方が第1上面より高くても、導電性のスライダ1503は、必ず導電性の開口枠部材1402に接触することになる。
したがって、上述のように箱体1401や開口枠部材1402の形状に製造誤差があってもアースされた開口枠部材1402にホッパーユニット5の導電部材であるスライダ1503が必ず接触することになる。これにより、ホッパーユニット5に静暖気が溜まるのを抑制し、ホッパーユニット5に関係する電子回路等に静電気の悪影響がおよぶのを抑制することができる。
1 筐体
2 交換ユニット
3 前扉
30 上扉
40 下扉
913e 下辺突出片
922a 上辺突出片
930 閉塞部材
930d 取手収納部
945 取手部材

Claims (1)

  1. 正面側に開口する正面開口部を有する箱形の筐体と、ヒンジにより回動可能にされ、前記筐体の前記正面開口部を開閉可能な前扉と、前記筐体の側壁に設けられた取手部材と、閉状態にある前記前扉の開放を規制する施錠手段と、を備え、
    前記前扉、前記正面開口部の上側部分を開閉可能な上扉と、前記正面開口部の下側部分を開閉可能な下扉とを有し、
    前記筐体は、ヒンジ側に閉塞部材を有し、
    前記閉塞部材は、前記上扉と前記下扉との間に生じるヒンジ側の隙間からの異物の不正侵入を防止する第1閉塞部と、前記取手部材の少なくとも一部を収納する第2閉塞部と、を有し、
    前記第1閉塞部は、ヒンジ側から施錠手段側へ向けての異物の不正侵入を防止する壁部を有し、
    前記第1閉塞部と第2閉塞部は、一体成形されていることを特徴とする遊技機。
JP2019079775A 2019-04-19 2019-04-19 遊技機 Active JP6771237B2 (ja)

Priority Applications (1)

Application Number Priority Date Filing Date Title
JP2019079775A JP6771237B2 (ja) 2019-04-19 2019-04-19 遊技機

Applications Claiming Priority (1)

Application Number Priority Date Filing Date Title
JP2019079775A JP6771237B2 (ja) 2019-04-19 2019-04-19 遊技機

Related Parent Applications (1)

Application Number Title Priority Date Filing Date
JP2015159625A Division JP2017035393A (ja) 2015-08-12 2015-08-12 遊技機

Publications (2)

Publication Number Publication Date
JP2019136528A JP2019136528A (ja) 2019-08-22
JP6771237B2 true JP6771237B2 (ja) 2020-10-21

Family

ID=67692595

Family Applications (1)

Application Number Title Priority Date Filing Date
JP2019079775A Active JP6771237B2 (ja) 2019-04-19 2019-04-19 遊技機

Country Status (1)

Country Link
JP (1) JP6771237B2 (ja)

Family Cites Families (5)

* Cited by examiner, † Cited by third party
Publication number Priority date Publication date Assignee Title
JP3616770B2 (ja) * 2001-06-05 2005-02-02 株式会社オリンピア スロットマシン
JP4174991B2 (ja) * 2002-01-21 2008-11-05 株式会社三洋物産 遊技機
JP2004097369A (ja) * 2002-09-06 2004-04-02 Heiwa Corp 分離型スロットマシン
JP4726947B2 (ja) * 2004-02-20 2011-07-20 株式会社オリンピア 分離型スロットマシン
JP4868349B2 (ja) * 2005-10-17 2012-02-01 サミー株式会社 遊技機

Also Published As

Publication number Publication date
JP2019136528A (ja) 2019-08-22

Similar Documents

Publication Publication Date Title
JP5294460B2 (ja) 遊技機
JP2001276378A (ja) 弾球遊技機
JP2017035393A (ja) 遊技機
JP2008023366A (ja) 弾球遊技機
JP6771237B2 (ja) 遊技機
JP2017023431A (ja) 遊技機
JP4129699B2 (ja) 遊技機
JP5306748B2 (ja) 遊技機
JP6589167B2 (ja) 遊技機
JP6614839B2 (ja) 遊技機
JP2017035391A (ja) 遊技機
JP2017035394A (ja) 遊技機
JP2017035392A (ja) 遊技機
JP2017029469A (ja) 遊技機
JP2009074281A (ja) 車両用ドアハンドル装置
JP2017023429A (ja) 遊技機
JP2010063637A (ja) 遊技機
JP4759318B2 (ja) 遊技機
JP2017023426A (ja) 表示ユニットおよび遊技機
JP2017023427A (ja) 遊技機
JP2017023434A (ja) 遊技機
JP6635509B2 (ja) 照明付き車両用ドアハンドルプロテクターとその照明構造
JP6153978B2 (ja) 遊技機
JP2017023432A (ja) 遊技機
JP5916665B2 (ja) 遊技機

Legal Events

Date Code Title Description
A621 Written request for application examination

Free format text: JAPANESE INTERMEDIATE CODE: A621

Effective date: 20190419

A871 Explanation of circumstances concerning accelerated examination

Free format text: JAPANESE INTERMEDIATE CODE: A871

Effective date: 20190419

A521 Request for written amendment filed

Free format text: JAPANESE INTERMEDIATE CODE: A523

Effective date: 20190604

A975 Report on accelerated examination

Free format text: JAPANESE INTERMEDIATE CODE: A971005

Effective date: 20190604

A131 Notification of reasons for refusal

Free format text: JAPANESE INTERMEDIATE CODE: A131

Effective date: 20200421

A521 Request for written amendment filed

Free format text: JAPANESE INTERMEDIATE CODE: A523

Effective date: 20200519

TRDD Decision of grant or rejection written
A01 Written decision to grant a patent or to grant a registration (utility model)

Free format text: JAPANESE INTERMEDIATE CODE: A01

Effective date: 20200915

A61 First payment of annual fees (during grant procedure)

Free format text: JAPANESE INTERMEDIATE CODE: A61

Effective date: 20200918

R150 Certificate of patent or registration of utility model

Ref document number: 6771237

Country of ref document: JP

Free format text: JAPANESE INTERMEDIATE CODE: R150

R250 Receipt of annual fees

Free format text: JAPANESE INTERMEDIATE CODE: R250

R250 Receipt of annual fees

Free format text: JAPANESE INTERMEDIATE CODE: R250

R250 Receipt of annual fees

Free format text: JAPANESE INTERMEDIATE CODE: R250