JP6754336B2 - 動画広告生成方法、動画広告生成装置及び動画広告生成プログラム - Google Patents

動画広告生成方法、動画広告生成装置及び動画広告生成プログラム Download PDF

Info

Publication number
JP6754336B2
JP6754336B2 JP2017156114A JP2017156114A JP6754336B2 JP 6754336 B2 JP6754336 B2 JP 6754336B2 JP 2017156114 A JP2017156114 A JP 2017156114A JP 2017156114 A JP2017156114 A JP 2017156114A JP 6754336 B2 JP6754336 B2 JP 6754336B2
Authority
JP
Japan
Prior art keywords
moving image
area
operated
setting
video
Prior art date
Legal status (The legal status is an assumption and is not a legal conclusion. Google has not performed a legal analysis and makes no representation as to the accuracy of the status listed.)
Active
Application number
JP2017156114A
Other languages
English (en)
Other versions
JP2019036805A (ja
Inventor
敦 光岡
敦 光岡
真吾 大城
真吾 大城
Current Assignee (The listed assignees may be inaccurate. Google has not performed a legal analysis and makes no representation or warranty as to the accuracy of the list.)
Individual
Original Assignee
Individual
Priority date (The priority date is an assumption and is not a legal conclusion. Google has not performed a legal analysis and makes no representation as to the accuracy of the date listed.)
Filing date
Publication date
Application filed by Individual filed Critical Individual
Priority to JP2017156114A priority Critical patent/JP6754336B2/ja
Publication of JP2019036805A publication Critical patent/JP2019036805A/ja
Application granted granted Critical
Publication of JP6754336B2 publication Critical patent/JP6754336B2/ja
Active legal-status Critical Current
Anticipated expiration legal-status Critical

Links

Images

Landscapes

  • Television Signal Processing For Recording (AREA)
  • Signal Processing For Digital Recording And Reproducing (AREA)
  • User Interface Of Digital Computer (AREA)

Description

本発明は、動画広告生成方法、動画広告生成装置及び動画広告生成プログラムに関する。
ユーザからの視認性に基づく適切なタイミングで広告の挙動を制御するウェブ広告の表示技術が開示されている(例えば、特許文献1参照)。
特開2011−128204号公報
近年動画内で使用されている商品について、広告を表示することがしばしば行われている。このような広告は、動画の再生直後に表示されたり、動画とともに表示されるバナーとして表示されたりすることが多い。
しかしながら、このような方法では広告のリアルタイム性に欠け、広告効果を十分に発揮できない。
そこで、本発明は、動画と共に用いられる広告の新たな手法を提供することを一つの目的とする。
本発明によれば、
動画を読み込むステップと、
前記動画の第1時刻における第1位置と第2時刻における第2位置との選択を受け付けるステップと、
操作を受け付けることが可能な被操作領域を前記第1位置から前記第2位置に移動する経路を設定するステップと、
前記被操作領域と所定のコンテンツとを関連付けるステップと、を含む、
動画広告生成方法が得られる。
本発明によれば、動画と共に用いられる動画の新たな手法を提供することができる。
本発明の実施の形態による動画の再生構造を模式的に表した図である。 本発明の実施の形態による動画の再生構造を模式的に表した他の図である。 本実施の形態によるサブ動画が保有しているデータの例である。 本実施の形態によるメイン動画とサブ動画の分岐構造を表した模式図である。 本発明の第1の実施の形態による動画表示システムのイメージ図である。 動画表示装置のハードウェア構成を示すブロック図である。 動画表示システムの処理を示すブロック図である。 動画表示システムの画面例である。 動画表示システムの他の画面例である。 被操作領域の移動速度に関するV−Tグラフである。 本発明の第2の実施の形態による動画表示システムの画面表示例である。 動画表示システムの画面例である。 動画表示システムの他の画面例である。 動画表示システムの他の画面例である。
本発明の実施形態の内容を列記して説明する。本発明の実施の形態による動画広告生成方法、動画表示サーバ及び動画表示プログラムは、以下のような構成を備える。
[項目1]
第1動画及び第2動画を読み込むステップと、
前記第1動画の第1時刻における第1位置の選択を受け付けるステップと、
操作を受け付けることが可能な被操作領域を前記第1位置に設定するステップと、
前記被操作領域が操作された際に前記第2動画を再生可能にするステップと、
を含む、
動画広告生成方法。
[項目2]
請求項1に記載の動画広告生成方法であって、
前記第1動画の第2時刻における第2位置の選択を受け付けるステップと、
前記被操作領域を前記第1位置から第2位置へ移動可能にするステップと、
を更に含む
動画広告生成方法。
[項目3]
請求項2に記載の動画広告生成方法であって、
前記第1時刻と前記第2時刻との間である第3時刻における第3位置の選択操作を受け付けるステップと、
前記被操作領域を前記第1位置、前記第3位置及び前記第2位置の順に移動可能にするステップと、を含む、
動画広告生成方法。
[項目4]
請求項1乃至請求項3のいずれかに記載の動画広告生成方法であって、
前記第2動画の表示中において、所定の装置がされた場合に、前記第1動画を前記第1時刻から再生可能にするステップを更に含む、
動画広告生成方法。
[項目5]
請求項1又は請求項2に記載の動画広告生成方法であって、
前記被操作領域の前記第1位置から前記第2位置への移動速度の設定を更に受け付けるステップを含む、
動画広告生成方法。
[項目6]
請求項1乃至請求項5のいずれかに記載の動画広告生成方法であって、
前記被操作領域に少なくとも一のアイコンを関連付ける操作を受け付けるステップを含む、
動画広告生成方法。
[項目7]
メイン動画及び複数のサブ動画を読み込むステップと、
前記メイン動画の所定時刻において複数の位置の選択を受け付けるステップと、
操作を受け付けることが可能な被操作領域を複数の前記位置に設定するステップと、
複数の前記位置の夫々に対して、複数の前記サブ動画の夫々を関連づける操作を受けることによって、当該被操作領域が操作された際に関連付けられた前記サブ動画を再生可能にするステップと、
を含む、
動画広告生成方法。
[項目8]
第1動画及び第2動画を読み込む手段と、
前記第1動画の第1時刻における第1位置の選択を受け付ける手段と、
操作を受け付けることが可能な被操作領域を前記第1位置に設定する手段と、
前記被操作領域が操作された際に前記第2動画を再生可能にする手段と、
を含む、
動画広告生成装置。
[項目9]
コンピュータを、
第1動画及び第2動画を読み込む手段、
前記第1動画の第1時刻における第1位置の選択を受け付ける手段、
操作を受け付けることが可能な被操作領域を前記第1位置に設定する手段、
前記被操作領域が操作された際に前記第2動画を再生可能にする手段、として機能させる
動画広告生成プログラム。
<実施の形態の詳細>
(第1の実施の形態)
以下、本発明の第1の実施の形態による動画広告生成方法によって実現される動画広告生成システムついて、図面を参照しながら説明する。
<概要>
本発明による動画表示システムは、動画内に表示される商品等について被操作領域を設定(詳細は後述する)し、ユーザによって当該被操作領域が選択されると別の動画が再生されるものである。例えば、ある動画内に登場する商品について、当該動画の再生中にその商品(に関連付けられた選択可能領域)を選択することによって、当該商品の説明に関する動画が再生される、といったユーザ体験を提供することができる。
本実施の形態においては、被操作領域は、固定被操作領域と移動被操作領域の2種類が用意されている。
固定被操作領域は、例えば、その位置が固定されている看板等に対して設定されるものである。当該動画が再生されている間、ユーザによってその看板が選択されると、当該看板に関する動画が同じビュー内で再生される(即ち、再生される動画が切り替わる)。
一方、移動被操作領域は、動画内の移動物(例えば「人」等)に対して設定され得るものであり、当該移動物に追随して移動する。したがって、ユーザが当該移動物を選択した場合いつでも当該移動物に関する動画が同じビュー内で再生される(即ち、再生される動画が切り替わる)こととなる。
<動画広告>
本実施の形態による動画広告生成システムは、メイン動画mov1とサブ動画mov1−1、mov1−2をデータとして含む広告の生成を行う。メイン動画は、ユーザに対して最初に再生(表示)される動画である。サブ動画は、メイン動画再生中に当該メイン動画内の被操作領域(固定操作領域又は移動被操作領域:詳しくは、後述する)がユーザに操作された際に再生される動画である。
図示されるように、メイン動画mov1は、開始時刻(t=0)から終了時刻(t=5000)までの長さをもった動画である。なお、tの単位は任意である。本実施の形態においては、メイン動画のt=400の時点で2つの被操作領域が設定され、当該メイン動画に重ねて表示される。ユーザによって当該被操作領域のいずれかが選択されると、選択された被操作領域に応じたサブ動画mov1−1、mov1−2が再生される。
図1に示した例は、メイン動画mov1と、サブ動画mov1−1、mov1−2の2階層で構成される所謂親:子関係にあったが、図2に示されるように、メイン動画mov1に設定された被操作領域にサブ動画mov2が関連付けられ、更に、サブ動画mov2に設定された被操作領域に別のサブ動画mov3が関連付けられるといった、3階層で構成される親:子:孫関係としてもよい。
このような多階層を構成する場合、各動画は、図3に示されるように、少なくとも自己の識別番号「movie#」、関連付けられている被操作領域が設定されている親動画の「Parent#」、当該親動画に設定された被操作領域が複数説挺されている場合等にはいずれの被操作領域であるかを特定する「area#」の3つに関する情報を保持している。
なお、動画広告が上述したような多階層で構成される場合には、図4に示されるようなメイン動画とサブ動画との関連性が一覧できるツリー状の分岐構造が視認できるマップをユーザに提供することとしてもよい。
<移動操作領域>
続いて、上述したサブ動画再生のきっかけとなる被操作領域(固定被操作領域及び移動被操作領域)の設定利し方について説明する。
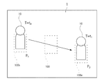
図5を参照して、被操作領域についてより詳細に説明する。図示されるように、画面5内には、時刻T=tにおいて画面左の位置Pに位置しかつ時刻T=tにおいて画面右の位置Pまで移動する人物10が表示されている。時刻T=tにおいて被操作領域100が人物10の衣服(人物10の胴体の部分)に設定されており、時刻T=tにおいて被操作領域100が人物10の衣服に設定されている。
本実施の形態においては、人物10が位置Pから位置Pまで移動すると、被操作領域100も当該人物10の移動に合わせて位置Pから位置Pまで人物10に追随して移動する。したがって、ユーザは、移動する人物10の衣服を当該人物10が移動中であっても常に選択可能となる。被操作領域100を選択すると、図示しないポップアップメニューが表示され、当該衣服の詳細な情報が画面1に表示される。
<ハードウェア構成>
本実施の形態による動画表示システムは、図6に示される動画表示装置(以下、単に「装置」という)2によって具現化される。
装置2は、システムを通じてサービスを提供するための情報処理装置であり、例えばワークステーションやパーソナルコンピュータのような汎用コンピュータとしてもよいし、PDAやスマートフォン等のような携帯端末、あるいはクラウド・コンピューティングによって論理的に実現されてもよい。図2に示されるように、装置2は、プロセッサ20、メモリ21、ストレージ22、送受信部23、及び入出力部24を少なくとも備え、これらはバス25を通じて相互に電気的に接続される。
プロセッサ20は、装置2の動作を制御し、各要素間におけるデータの送受信の制御、及びアプリケーションの実行に必要な処理等を行う演算装置である。例えばプロセッサ20はCPU及び/又はGPU(Graphical Processing Unit)等であり、ストレージ22に格納されメモリ21に展開されたプログラム等を実行することによって、必要な各情報処理を実施する。
メモリ21は、典型的には、揮発性メモリ(例えばRAM)、不揮発性メモリ(例えばROMやフラッシュメモリ等)及び/又はこれらの組合せからなる1次記憶装置である。メモリ21は、典型的には、デバイスドライバ、オペレーティングシステム(OS)プログラム、1又は2以上のアプリケーションプログラム及びプログラムデータ等の全部又は一部を保持し、プロセッサの利用に供される。メモリ21はプロセッサ20のワークエリア等として使用され、また、装置2の起動時に実行されるBIOS、及び各種設定情報等が格納される。
ストレージ22には、典型的には、ハードディスクドライブ(HDD)や光学式ディスクドライブ、ソリッドステートデバイス(SSD)等からなる。ストレージデバイスは、プロセッサモジュールの2次記憶装置として機能し、OS、アプリケーションプログラム、プログラムデータ及び各種のデータベースを記憶する。これらのプログラム及びデータの全部又は一部は、外部記憶装置に記憶されても良い。
送受信部23は、装置2をネットワークに接続し、外部のデータベース(詳しくは、後述する)との通信を行う。入出力部24は、マウスやキーボード等の情報入力機器、及びディスプレイ等の出力機器である。バス25は、上記各要素に共通に接続され、例えば、アドレス信号、データ信号及び各種制御信号を伝達する。
<機能構成>
図7に示されるように、本実施の形態による動画表示システムは、動画を読み込むステップ(ステップS301)と、当該動画内の時刻T=tにおける任意の位置に開始地点を設定するステップ(ステッテプS302)と、当該動画内の時刻T=tにおける任意の位置に終了地点を設定するステップ(ステップS303)と、被選択領域(後述する)の開始地点から終了地点までの速度を決定(演算)するステップ(ステップS304)とを含んでいる。
図8を参照して、動画内の任意の位置に被操作領域を設定するステップを説明する。動画の時刻T=tにおいては、画面1内の左側に人物10が表示されている。ユーザは、マウス等のインターフェースを利用して、開始地点を設定する。本実施の形態による開始地点の設定は、人物10の胴体部分に領域100sを設定することによって行う。
領域100sは、所定の面積を有する閉じた領域であり、ドラッグアンドドロップを行った領域と同一又は所定の倍率を乗じた面積を有する。本実施の形態による開始地点は当該面積の中心(重心)に設定されるが、任意の一点であればよい。
本実施の形態による領域100sは矩形形状であるが、多角形形状、円形状、その他の任意の形状であってもよい。本実施の形態による開始地点に対応する領域100sは、ユーザからの操作を受け付けることが可能な領域であり、より具体的には、ユーザからマウス等によってクリック操作することが可能な領域である。
続いて、図8及び図9に示されるように、図示される動画においては、時刻T=tから時刻T=tにかけて人物が画面1内を左から右にまっすぐ移動する(図4の点線で表した矢印を参照)。動画の時刻T=tにおいては、画面1内の右側に人物10が表示されている。
開始地点の選択と同様に、ユーザは、マウス等のインターフェースを利用して、終了地点を設定する。本実施の形態による終了地点の設定は、人物10の胴体部分に領域100eを設定することによって行う。領域100eは、領域100sと同様に、所定の面積を有する閉じた領域であり、ドラッグアンドドロップを行った領域と同一又は所定の倍率を乗じた面積を有する。本実施の形態による終了地点は当該面積の中心(重心)に設定されるが、任意の一点であればよい。本実施の形態による領域100eは矩形形状であるが、多角形形状、円形状、その他の任意の形状であってもよい。本実施の形態による終了地点に対応する領域100sは、ユーザからの操作を受け付けることが可能な領域であり、より具体的には、ユーザからマウス等によってクリック操作することが可能な領域である。
図5、図8及び図9に示されるように、開始地点及び終了地点が設定されると、それらの間を所定の速度で被操作領域100が開始地点と終了地点までの間をt−t時間かけて移動する。即ち、開始被操作領域100と終了被操作領域100’の設定が終了すると、装置2(図2参照)は、画面1内におけるT=tにおける開始地点とT=tにおける終了地点とに基づいて、被操作領域100を所定の速度で移動させる。
なお、被操作領域100の速度は図10のV−Tグラフに示されるように、一定でなくてもよい。
被操作領域100は、透明領域であるが、クリック可能であることがわかるように所定のアイコン等を表示することとしてもよい。
本実施の形態においては、ユーザによって被操作領域がクリックされた場合、所定の動画が表示されることとしてもよいし、所定のリンク先に遷移させることとしてもよい。なお、このようにしてユーザに提供される情報は、動画内の被操作領域100が設定されている商品(又はサービス)に関するものである。例えば、本実施の形態においては、動画内の人物10が着ている「服」などである。
(第2の実施の形態)
上述した第1の実施の形態による動画表示システムにおいては、非接触領域100が開始地点から終了地点まで直線的に移動するものであった(図1参照)。本発明の第2の実施の形態による動画表示システムは、図11に示されるように、人物10が位置Pから位置Pを経由して位置Pまでカーブを描いて移動する動画に対して非接触領域を設定するものである。これにより、被操作領域100は当該人物10の位置P、位置P、位置Pまで人物10に追随して移動する。
図10に示されるように、人物10は、時刻T=tにおいて画面1の左側にある位置Pに位置し、図示される矢印に従って右の方向へ移動し、時刻T=tにおいて画面1の中央にある位置Pに位置し、図示される矢印に従って下方へ移動、時刻T=tにおいて画面1の右下にある位置Pに位置するように移動する。
第1の実施の形態と同様に、図8乃至図10を参照して、動画内の任意の位置に被操作領域を設定するステップを説明する。図8に示されるように、動画の時刻T=tにおいては、画面1内の左側に人物10が表示されている。ユーザは、マウス等のインターフェースを利用して、開始地点を設定する。
本実施の形態においても開始地点の設定は、人物10の胴体部分に領域100sを設定することによって行う。領域100sは、所定の面積を有する閉じた領域であり、ドラッグアンドドロップを行った領域と同一又は所定の倍率を乗じた面積を有する。本実施の形態による開始地点は当該面積の中心(重心)に設定されるが、任意の一点であればよい。本実施の形態による領域100sは矩形形状であるが、多角形形状、円形状、その他の任意の形状であってもよい。本実施の形態による開始地点に対応する領域100sは、ユーザからの操作を受け付けることが可能な領域であり、より具体的には、ユーザからマウス等によってクリック操作することが可能な領域である。
次に、図9に示されるように、時刻T=tから時刻T=tにかけて人物が画面1内を左から中央に移動する(図8の矢印を参照)。動画の時刻T=tにおいては、画面1内の中央に人物10’が表示されている。開始地点の選択と同様に、ユーザは、マウス等のインターフェースを利用して、中間地点を設定する。本実施の形態による中間地点の設定は、人物10’の胴体部分に領域100mを設定することによって行う。領域100mは、領域100sと同様に、所定の面積を有する閉じた領域であり、ドラッグアンドドロップを行った領域と同一又は所定の倍率を乗じた面積を有する。本実施の形態による終了地点は当該面積の中心(重心)に設定されるが、任意の一点であればよい。本実施の形態による領域100mは矩形形状であるが、多角形形状、円形状、その他の任意の形状であってもよい。本実施の形態による終了地点に対応する領域100mは、ユーザからの操作を受け付けることが可能な領域であり、より具体的には、ユーザからマウス等によってクリック操作することが可能な領域である。
続いて、図13に示されるように、図示される動画においては、時刻T=tから時刻T=tにかけて人物が画面1内を中央から右下に移動する。動画の時刻T=tにおいては、画面1内の右下側に人物10’’が表示されている。開始地点の選択と同様に、ユーザは、マウス等のインターフェースを利用して、中間地点を設定する。本実施の形態による終了地点の設定は、人物10’’の胴体部分に領域100eを設定することによって行う。領域100eは、領域100sと同様に、所定の面積を有する閉じた領域であり、ドラッグアンドドロップを行った領域と同一又は所定の倍率を乗じた面積を有する。本実施の形態による終了地点は当該面積の中心(重心)に設定されるが、任意の一点であればよい。本実施の形態による領域100eは矩形形状であるが、多角形形状、円形状、その他の任意の形状であってもよい。本実施の形態による終了地点に対応する領域100eは、ユーザからの操作を受け付けることが可能な領域であり、より具体的には、ユーザからマウス等によってクリック操作することが可能な領域である。
図11乃至図14に示されるように、開始地点、中間地点及び終了地点が設定されると、それらの間を所定の速度で被操作領域100が開始地点から中間地点を経て終了地点までt−t時間かけて移動する。即ち、開始被操作領域100と中間被操作領域100’、終了被操作領域100’’の設定が終了すると、装置2(図2参照)は、画面1内におけるT=tにおける開始地点とT=tにおける終了地点とに基づいて、被操作領域100の速度vを決定する。
<変形例>
上述した実施の形態においては、移動体に追随する被操作領域について説明したが、例えば、画面内において位置を変えずに表示されているものに対して、所定時間の間被操作領域を設定することとしてもよい。この場合、動画の所定位置に被操作領域を設定し、設定の開始時刻(アイコンの表示時刻)と設定の終了時刻(アイコンの非表示時刻)とを受け付けることとすればよい。
上述した実施の形態は、本発明の理解を容易にするための例示に過ぎず、本発明を限定して解釈するためのものではない。本発明は、その趣旨を逸脱することなく、変更、改良することができると共に、本発明にはその均等物が含まれることは言うまでもない。
20 プロセッサ
21 メモリ
22 ストレージ
23 送受信部
24 入出力部
25 バス

Claims (9)

  1. 第1動画及び第2動画を読み込むステップと、
    矩形、多角形、円形を含む形状の領域のドラッグアンドドロップにより、前記第1動画の第1時刻における、操作を受け付けることが可能な被操作領域の第1位置の設定を受け付けるステップと、
    前記領域のドラッグアンドドロップにより、前記第1動画の第2時刻における前記被操作領域の第2位置の設定を受け付けるステップと、
    前記被操作領域を前記第1位置に設定するステップと、
    前記第1位置および前記第2位置のみが設定された場合に、前記第1動画が表示されたときに前記被操作領域を前記第1位置から前記第2位置へ連続的に移動するように設定するステップと、
    前記第1動画が表示されたときに前記被操作領域が操作された際に前記第1動画と切り替えて前記第2動画再生されるように設定するステップと、
    を含む、
    動画広告生成方法。
  2. 請求項1に記載の動画広告生成方法であって、
    前記第1時刻と前記第2時刻との間である第3時刻における第3位置の設定操作を受け付けるステップと、
    前記第1動画が表示されたときに前記被操作領域を前記第1位置、前記第3位置及び前記第2位置の順に移動するように設定するステップと、を含む、
    動画広告生成方法。
  3. 請求項1または2に記載の動画広告生成方法であって、
    前記第2動画の表示中において、所定の操作がされた場合に、前記第1動画前記第1時刻から再生されるように設定するステップを更に含む、
    動画広告生成方法。
  4. 請求項1に記載の動画広告生成方法であって、
    前記被操作領域の前記第1位置から前記第2位置への移動速度の設定を更に受け付けるステップを含む、
    動画広告生成方法。
  5. 第1動画及び第2動画を読み込むステップと、
    前記第1動画の第1時刻における第1位置の設定を受け付けるステップと、
    前記第1動画の第2時刻における第2位置の設定を受け付けるステップと、
    操作を受け付けることが可能な被操作領域を前記第1位置に設定するステップと、
    前記第1位置および前記第2位置のみが設定された場合に、前記第1動画が表示されたときに前記被操作領域を前記第1位置から前記第2位置へ連続的に移動するように設定するステップと、
    前記第1動画が表示されたときに前記被操作領域が操作された際に前記第1動画と切り替えて前記第2動画再生されるように設定するステップと、
    前記動画に重畳させて前記被操作領域の位置に表示させる少なくとも一のアイコンを、前記被操作領域に関連付ける操作を受け付けるステップと、を含む、
    動画広告生成方法。
  6. 第1動画及び第2動画を読み込む手段と、
    矩形、多角形、円形を含む形状の領域のドラッグアンドドロップにより、前記第1動画の第1及び第2時刻における、操作を受け付けることが可能な被操作領域の第1及び第2位置の設定を受け付ける手段と、
    前記被操作領域を前記第1位置に設定する手段と、
    前記第1位置および前記第2位置のみが設定された場合に、前記第1動画が表示されたときに前記被操作領域を前記第1位置から前記第2位置へ連続的に移動するように設定するとともに、前記第1動画が表示されたときに前記被操作領域が操作された際に前記第1動画と切り替えて前記第2動画が再生されるように設定する手段と、
    を含む、
    動画広告生成装置。
  7. 第1動画及び第2動画を読み込む手段と、
    前記第1動画の第1及び第2時刻における第1及び第2位置の設定を受け付ける手段と、
    操作を受け付けることが可能な被操作領域を前記第1位置に設定する手段と、
    前記第1位置および前記第2位置のみが設定された場合に、前記第1動画が表示されたときに前記被操作領域を前記第1位置から前記第2位置へ連続的に移動するように設定するとともに、前記第1動画が表示されたときに前記被操作領域が操作された際に前記第1動画と切り替えて前記第2動画再生されるように設定する手段と、
    前記動画に重畳させて前記被操作領域の位置に表示させる少なくとも一のアイコンを前記被操作領域に関連付ける操作を受け付ける手段と、を含む、
    動画広告生成装置。
  8. コンピュータを、
    第1動画及び第2動画を読み込む手段、
    矩形、多角形、円形を含む形状の領域のドラッグアンドドロップにより、前記第1動画の第1及び第2時刻における、操作を受け付けることが可能な被操作領域の第1及び第2位置の設定を受け付ける手段、
    前記被操作領域を前記第1位置に設定する手段、
    前記第1位置および前記第2位置のみが設定された場合に、前記第1動画が表示されたときに前記被操作領域を前記第1位置から前記第2位置へ連続的に移動するように設定するとともに、前記第1動画が表示されたときに前記被操作領域が操作された際に前記第1動画と切り替えて前記第2動画再生されるように設定する手段、として機能させる
    動画広告生成プログラム。
  9. コンピュータを、
    第1動画及び第2動画を読み込む手段、
    前記第1動画の第1及び第2時刻における第1及び第2位置の設定を受け付ける手段、
    操作を受け付けることが可能な被操作領域を前記第1位置に設定する手段、
    前記第1位置および前記第2位置のみが設定された場合に、前記第1動画が表示されたときに前記被操作領域を前記第1位置から前記第2位置へ連続的に移動するように設定するとともに、前記第1動画が表示されたときに前記被操作領域が操作された際に前記第1動画と切り替えて前記第2動画再生されるように設定する手段、
    前記動画に重畳させて前記被操作領域の位置に表示させる少なくとも一のアイコンを前記被操作領域に関連付ける操作を受け付ける手段、として機能させる
    動画広告生成プログラム。

JP2017156114A 2017-08-10 2017-08-10 動画広告生成方法、動画広告生成装置及び動画広告生成プログラム Active JP6754336B2 (ja)

Priority Applications (1)

Application Number Priority Date Filing Date Title
JP2017156114A JP6754336B2 (ja) 2017-08-10 2017-08-10 動画広告生成方法、動画広告生成装置及び動画広告生成プログラム

Applications Claiming Priority (1)

Application Number Priority Date Filing Date Title
JP2017156114A JP6754336B2 (ja) 2017-08-10 2017-08-10 動画広告生成方法、動画広告生成装置及び動画広告生成プログラム

Publications (2)

Publication Number Publication Date
JP2019036805A JP2019036805A (ja) 2019-03-07
JP6754336B2 true JP6754336B2 (ja) 2020-09-09

Family

ID=65637981

Family Applications (1)

Application Number Title Priority Date Filing Date
JP2017156114A Active JP6754336B2 (ja) 2017-08-10 2017-08-10 動画広告生成方法、動画広告生成装置及び動画広告生成プログラム

Country Status (1)

Country Link
JP (1) JP6754336B2 (ja)

Family Cites Families (6)

* Cited by examiner, † Cited by third party
Publication number Priority date Publication date Assignee Title
JP2004080447A (ja) * 2002-08-19 2004-03-11 Star Collaboration Kk コンテンツ再生装置、コンテンツ再生装置の動作制御方法及びコンテンツ再生制御用プログラム
JP2004157907A (ja) * 2002-11-08 2004-06-03 Okayama Prefecture 動画像を再生するコンピュータにリンクを表示させるプログラム
JP2007174255A (ja) * 2005-12-22 2007-07-05 Hitachi Ltd 録画再生装置
JP5229459B2 (ja) * 2007-04-22 2013-07-03 俊彦 岡部 リンク情報付きコンテンツの送受信システム、表示装置、中継装置、方法、プログラム及び記録媒体
JP2010098730A (ja) * 2008-09-22 2010-04-30 Toshihiko Okabe リンク情報の提供装置、表示装置、システム、方法、プログラム、記録媒体及びリンク情報の送受信システム
JP5522789B2 (ja) * 2010-06-09 2014-06-18 日本放送協会 リンク機能付動画再生装置およびリンク機能付動画再生プログラム

Also Published As

Publication number Publication date
JP2019036805A (ja) 2019-03-07

Similar Documents

Publication Publication Date Title
DK180787B1 (en) Devices, methods, and graphical user interfaces for interacting with user interface objects corresponding to applications
US9552129B2 (en) Interactive visual representation of points of interest data
US8957866B2 (en) Multi-axis navigation
CN111339032B (zh) 管理具有多页面的文件夹的设备、方法和图形用户界面
WO2020151547A1 (zh) 展示页面的交互控制方法及装置
JP2017523515A (ja) アイコンサイズ変更
JP2005316955A (ja) ポータブル装置用の高度なナビゲーション技術
CN103019536A (zh) 演示期间交互地缩放内容
EP4679293A1 (en) Content sharing method and apparatus, device, computer readable storage medium, and product
JP6059315B1 (ja) 情報表示プログラム、情報表示方法、情報表示装置および配信装置
US20160239171A1 (en) Information display apparatus, distribution apparatus, information display method, and non-transitory computer readable storage medium
US11182959B1 (en) Method and system for providing web content in virtual reality environment
WO2022111569A1 (zh) 页面切换显示方法、装置、存储介质及电子设备
US9588679B2 (en) Virtual viewport and fixed positioning with optical zoom
CN113268182A (zh) 应用图标的管理方法和电子设备
JP6389996B1 (ja) 広告表示方法、広告表示サーバ及び広告表示プログラム
JP6754336B2 (ja) 動画広告生成方法、動画広告生成装置及び動画広告生成プログラム
US20230123119A1 (en) Terminal, control method therefor, and recording medium in which program for implementing method is recorded
KR101833806B1 (ko) 영상 컨텐츠에 광고상품을 등록하는 방법 및 이를 실행하는 서버
JP2015187885A (ja) 配信装置、端末装置、配信方法および配信プログラム
JP7497642B2 (ja) 情報処理装置及びプログラム
KR102092156B1 (ko) 표시 장치의 영상 인코딩 방법
JP5767350B1 (ja) 配信装置、端末装置、配信方法および配信プログラム
JP6431227B1 (ja) 情報表示プログラム、情報表示装置、情報表示方法および配信装置
JP6491261B2 (ja) 情報表示プログラム、情報表示方法、情報表示装置、及び配信装置

Legal Events

Date Code Title Description
A711 Notification of change in applicant

Free format text: JAPANESE INTERMEDIATE CODE: A711

Effective date: 20180418

A521 Request for written amendment filed

Free format text: JAPANESE INTERMEDIATE CODE: A821

Effective date: 20180411

A521 Request for written amendment filed

Free format text: JAPANESE INTERMEDIATE CODE: A523

Effective date: 20180510

A621 Written request for application examination

Free format text: JAPANESE INTERMEDIATE CODE: A621

Effective date: 20180731

A871 Explanation of circumstances concerning accelerated examination

Free format text: JAPANESE INTERMEDIATE CODE: A871

Effective date: 20180731

A975 Report on accelerated examination

Free format text: JAPANESE INTERMEDIATE CODE: A971005

Effective date: 20180824

A131 Notification of reasons for refusal

Free format text: JAPANESE INTERMEDIATE CODE: A131

Effective date: 20180830

A521 Request for written amendment filed

Free format text: JAPANESE INTERMEDIATE CODE: A523

Effective date: 20181001

A02 Decision of refusal

Free format text: JAPANESE INTERMEDIATE CODE: A02

Effective date: 20181115

A521 Request for written amendment filed

Free format text: JAPANESE INTERMEDIATE CODE: A523

Effective date: 20190215

A911 Transfer to examiner for re-examination before appeal (zenchi)

Free format text: JAPANESE INTERMEDIATE CODE: A911

Effective date: 20190225

A521 Request for written amendment filed

Free format text: JAPANESE INTERMEDIATE CODE: A523

Effective date: 20190228

A912 Re-examination (zenchi) completed and case transferred to appeal board

Free format text: JAPANESE INTERMEDIATE CODE: A912

Effective date: 20190426

A521 Request for written amendment filed

Free format text: JAPANESE INTERMEDIATE CODE: A523

Effective date: 20200127

A521 Request for written amendment filed

Free format text: JAPANESE INTERMEDIATE CODE: A523

Effective date: 20200206

RD02 Notification of acceptance of power of attorney

Free format text: JAPANESE INTERMEDIATE CODE: A7422

Effective date: 20200225

A521 Request for written amendment filed

Free format text: JAPANESE INTERMEDIATE CODE: A523

Effective date: 20200529

A61 First payment of annual fees (during grant procedure)

Free format text: JAPANESE INTERMEDIATE CODE: A61

Effective date: 20200821

R150 Certificate of patent or registration of utility model

Ref document number: 6754336

Country of ref document: JP

Free format text: JAPANESE INTERMEDIATE CODE: R150

S531 Written request for registration of change of domicile

Free format text: JAPANESE INTERMEDIATE CODE: R313531

R350 Written notification of registration of transfer

Free format text: JAPANESE INTERMEDIATE CODE: R350

R250 Receipt of annual fees

Free format text: JAPANESE INTERMEDIATE CODE: R250

S531 Written request for registration of change of domicile

Free format text: JAPANESE INTERMEDIATE CODE: R313531

R350 Written notification of registration of transfer

Free format text: JAPANESE INTERMEDIATE CODE: R350

R250 Receipt of annual fees

Free format text: JAPANESE INTERMEDIATE CODE: R250

R250 Receipt of annual fees

Free format text: JAPANESE INTERMEDIATE CODE: R250