JP6719368B2 - 3次元空間可視化装置、3次元空間可視化方法およびプログラム - Google Patents

3次元空間可視化装置、3次元空間可視化方法およびプログラム Download PDF

Info

Publication number
JP6719368B2
JP6719368B2 JP2016231269A JP2016231269A JP6719368B2 JP 6719368 B2 JP6719368 B2 JP 6719368B2 JP 2016231269 A JP2016231269 A JP 2016231269A JP 2016231269 A JP2016231269 A JP 2016231269A JP 6719368 B2 JP6719368 B2 JP 6719368B2
Authority
JP
Japan
Prior art keywords
interference
data
space
dimensional
measurement
Prior art date
Legal status (The legal status is an assumption and is not a legal conclusion. Google has not performed a legal analysis and makes no representation as to the accuracy of the status listed.)
Active
Application number
JP2016231269A
Other languages
English (en)
Other versions
JP2018088139A (ja
Inventor
裕治 河口
裕治 河口
誠 畠山
誠 畠山
哲央 遠藤
哲央 遠藤
翔平 松本
翔平 松本
Current Assignee (The listed assignees may be inaccurate. Google has not performed a legal analysis and makes no representation or warranty as to the accuracy of the list.)
Toshiba Corp
Toshiba Energy Systems and Solutions Corp
Original Assignee
Toshiba Corp
Toshiba Energy Systems and Solutions Corp
Priority date (The priority date is an assumption and is not a legal conclusion. Google has not performed a legal analysis and makes no representation as to the accuracy of the date listed.)
Filing date
Publication date
Application filed by Toshiba Corp, Toshiba Energy Systems and Solutions Corp filed Critical Toshiba Corp
Priority to JP2016231269A priority Critical patent/JP6719368B2/ja
Publication of JP2018088139A publication Critical patent/JP2018088139A/ja
Application granted granted Critical
Publication of JP6719368B2 publication Critical patent/JP6719368B2/ja
Active legal-status Critical Current
Anticipated expiration legal-status Critical

Links

Images

Landscapes

  • Length Measuring Devices By Optical Means (AREA)

Description

本発明の実施形態は、3次元空間可視化装置、3次元空間可視化方法およびプログラムに関する。
近年、例えば3Dレーザスキャナなどの非接触の3次元計測装置や画像を用いた3次元空間の再構成技術の開発が進んでおり、例えば既設の大型かつ複雑な構造の施設(建造物)内部をスキャンして得たアズビルトデータをさまざまな用途に利用することが考えられている。例えば機器の改造・追設工事計画や機器の搬入計画などの立案などもその一例である。
ところで、既設の原子力プラントなどの建屋のように大型で人が立ち入れない場所の通路や屋内空間を、3Dレーザスキャナなどの計測装置によって計測する場合、ある基準位置に3Dレーザスキャナをセッティングしてその位置からビームを照射してデータを得ることから、1回の計測で計測対象の空間全体の3次元形状を計測することは難しい。
そこで、従来の技術として、複数の位置から計測したデータを重ね合わせることで、計測対象の空間の3次元データを取得する技術が考えられている。
この他、3Dレーザスキャナなどから取得したデータと計測位置の情報を基に、計測対象となる空間を計測済みの空間と未計測の空間に分類して可視化する空間可視化技術がある。
一方、上記の3次元計測装置などにより取得した3次元データから3次元CADモデルを形成することで、大型かつ複雑な構造の施設にある設備のエンジニアリングデータを作成する技術がある。
例えば各種プラント機器の設計仕様データを自動的に取得するとともに、設計3次元CADモデルを簡便に修正することが可能な3次元CAD作成システムがある。
特開2014−137244号公報 特開2015−34711号公報 特開2012−68047号公報 特開2016−133818号公報
上述したように、原子力プラントのような大型かつ複雑な構造の施設において、人が立ち入ることが難しい環境下では、実際の設備の形状だけでなく、新たに設備を設置するスペースや周囲の作業性、遠隔操作ロボットのアクセス性を把握する必要があり、設置などに利用できる空間の位置を効率的かつ早期に特定することが重要である。
しかしながら、上記の従来の技術では、どの位置が計測済みで何も物が置かれていない空間であるか、つまり空きスペースを特定するためには、測定したデータと、調査対象範囲のすべての設備のエンジニアリング情報とを組み合わせて、既設の物の位置を含めた正確な空間データを作成する必要があり、莫大な作業時間を要するという課題がある。
また、未計測の空間については、作業者が、構造物の形状を推定することで補うため、作業者の経験とスキルによって、求めたデータの品質にばらつきが生じる。
加えて、その補正作業の経緯がデータに残らないため、モデルと実体が異なった場合に、推定した形状の修正作業やそれに伴う改造・追設工事計画、機器の搬入計画などの見直しが発生する。
本発明が解決しようとする課題は、建造物内への機器の設置・搬入計画の過程において、計測済の空間や未計測の空間の情報から物の収まりや通過可否を利用者が容易に判定できる3次元空間可視化装置、3次元空間可視化方法およびプログラムを提供することにある。
実施形態の3次元空間可視化装置は、配置部、干渉判定部を備える。配置部は物が存在する計測対象空間内のある基準位置からスキャンして計測された3次元の計測部位を示す形状データと、この形状データに基づき前記計測対象空間内で前記物に隠れて計測されていない未計測エリアを識別して得られた未計測エリアデータとを基に計測対象空間内に表現した計測部位と未計測エリア、を含む3次元画像上に任意のオブジェクトを配置するための画面を表示する。干渉判定部は3次元画像に配置されたオブジェクトと、3次元画像の計測部位および未計測エリアの少なくとも一方との干渉の有無を判定する。
本発明によれば、建造物内への機器の設置・搬入計画の過程において、計測済の空間や未計測の空間の情報から物の収まりや通過可否を利用者が容易に判定できる3次元空間可視化装置、3次元空間可視化方法およびプログラムを提供できる。
第1実施形態の3次元空間干渉判定システムの構成を示す図である。 図1の3次元空間干渉判定システムの動作を示すフローチャートである。 計測済空間と未計測エリアとを区別して表した3次元画像の一例を示す図である。 図3Aの3次元画像を座標Z0で切り取った断面図である。 計測済空間の計測データ上に直方体形状のオブジェクトを配置して生成した3次元画像の一例を示す図である。 図4Aの3次元画像を座標Z0で切り取った断面図である。 干渉空間を3次元画像で表した一例を示す図である。 図5Aの3次元画像を座標Z0で切り取った断面図である。 干渉部位を3次元画像で表した一例を示す図である。 図6Aの3次元画像を座標Z0で切り取った断面図である。 オブジェクトおよび未計測エリアを含めて干渉空間を3次元画像で表した一例を示す図である。 図7Aの3次元画像を座標Z0で切り取った断面図である。 第2実施形態の3次元空間干渉判定システムの構成を示す図である。 図8の3次元空間干渉判定システムの動作を示すフローチャートである。 設定した調査範囲を3次元画像で表した一例を示す図である。 図10Aの3次元画像を座標Z0〜Z1の位置で切り取った断面図である。 調査範囲を座標Z1〜Z2の位置に設定して3次元画像で表した一例を示す図である。 図10Aの3次元画像を座標Z1〜Z2の位置で切り取った断面図である。 第3実施形態の3次元空間干渉判定システムの構成を示す図である。 図12の3次元空間干渉判定システムの動作を示すフローチャートである。 オブジェクトの移動経路を設定した状況を示す図である。 図14Aの3次元画像を座標Z0の位置で切り取った断面図である。 移動経路上を移動するオブジェクトの移動軌跡と干渉の様子を示す図である。 図15Aの3次元画像を座標Z0の位置で切り取った断面図である。 第4実施形態の3次元空間干渉判定システムの構成を示す図である。 図16の3次元空間干渉判定システムの動作を示すフローチャートである。
以下、図面を参照して、実施形態を詳細に説明する。
(第1実施形態)
第1実施形態の3次元空間干渉判定システムの構成を示すブロック図である。図2は図1の3次元空間干渉判定システムの動作を示すフローチャートである。
第1実施形態の3次元空間干渉判定システム10は、3次元計測装置11、データ処理部としてのパソナルコンピュータ12(以下「PC12」と称す)、入出力装置としてのパラメータ入力部13や表示装置14などを備える。
3次元計測装置11は、非接触計測により、対象構造物の表面(例えば建造物の屋内(通路や部屋)であれば内壁面)の位置および形状の3次元データ(アズビルトデータ)を計測する装置である。
例えば非接触計測する装置が3Dレーザ計測装置の場合、空間のある位置(基準位置)に3Dレーザ計測装置を配置する。そして3Dレーザ計測装置は、対象構造物に向かってレーザを走査する。次に3Dレーザ計測装置は対象構造物で反射したレーザを受光して基準位置からの距離を計測し、レーザの出力方向と距離から対象構造物の表面点の3次元座標を算出する。
すなわち、3次元計測装置11は、非接触計測により自身が設置されている基準位置を基に対象構造物の表面上までの距離を測定し、それらの形状データ(例えば、点群データ)を得る。
3次元計測装置11としては、上記3Dレーザ以外にも光から電波までの指向性を持つ電磁波測定装置、および超音波測定装置、ステレオビジョン測定装置などの機器を用いることができる。
パラメータ入力部13は、例えばキーボードやマウス、外部入力インターフェース装置などであり、ユーザの操作によって、例えばオブジェクトの配置や点群データを閲覧する際のデータを見る視点位置および角度、配置するオブジェクトの種類、位置および姿勢のパラメータ、キー操作や画面のボタンクリックによる指示などが入力された場合、その入力指示および入力データを受け付けてPC12に入力する。
つまりパラメータ入力部13は、3次元画像を切り取る断面の方向および位置を設定する断面設定部として機能する。表示装置14は、PC12から出力された画面や画像を表示する。具体的には画像生成部107により生成された画像などを表示する。
PC12は、形状データ取得部100、データ蓄積部101、座標統合部102、未計測エリア識別部103、オブジェクト配置部104、干渉判定部106、画像生成部107などを備える。
データ蓄積部101は、例えばハードディスクドライブ装置やメモリなどであり、形状データ蓄積部101a、空間データ蓄積部101b、オブジェクトデータ蓄積部101c、干渉空間データ蓄積部101dなどの記憶領域を有する。この他、データ蓄積部101は、上記各部がデータの処理を行う上での作業領域(一時記憶領域など)として機能する。
形状データ蓄積部101aには、形状データ取得部100により取得された形状データが蓄積(記憶)される。形状データは、レーザ計測により測定された空間の範囲(壁面)を示す点群データであり、例えば物が置かれていない箱形の室内では、箱形の形状を示すものとなる。この形状データは座標統合部102により必要に応じて読み出される。
空間データ蓄積部101bには、未計測エリア識別部103により識別された、計測が実施されていない空間のデータ(未計測エリアデータd2)が蓄積(記憶)される。未計測エリアとは、例えば室内に物が置かれている状況でレーザ計測を行った結果、レーザ照射点(基準位置)から物の陰になり計測されない領域である。
オブジェクトデータ蓄積部101cには、機器や設備の形状を表現した3次元オブジェクトデータd3(オブジェクト情報)が複数記憶されている。
干渉空間データ蓄積部101dには、干渉判定部106により計測済空間や未計測エリアなどとして判定された3次元空間の形状データに相当する3次元画像とオブジェクトとの干渉状況を示す干渉空間データが蓄積(記憶)される。
形状データ取得部100は、例えば柱や配管などの物が存在する計測対象空間内のある基準位置31(図3A、図3B参照)からスキャンして計測された3次元の計測部位を示す形状データ(図3Aの計測データ32や計測済空間など)を取得する。すなわち形状データ取得部100は、このPC12の外部、つまり3次元計測装置11から入力される形状データd1を取得する。
形状データd1は3次元計測装置11が設置される位置を基準として得られる点群データであり、3次元計測装置11の位置が変われば同じ壁面を計測した点群データであっても各点の座標が異なる。座標統合部102は、その点群データの座標系を、3次元計測装置11の位置によらない同一の座標系(グローバル座標系)に統合(変換)し、統合形状データとする。
すなわち座標統合部102は、物が存在する計測対象空間内のある基準位置からスキャンして計測された3次元の計測部位を示すローカル座標系の形状データを、一つのグローバル座標系に統合して統合形状データを生成する。
なお、計測対象空間内の異なる計測位置での複数の点群データが得られた場合、各々の基準位置で計測されたローカル座標系の複数の点群データを統合し、一つのグローバル座標系の統合形状データを生成する。
未計測エリア識別部103は、統合形状データにおける計測位置と点群データとの位置関係から、計測が実施されていない空間(未計測エリア)(図3A参照)を識別し、識別した未計測エリアのデータd2を空間データ蓄積部101bに記憶する。
すなわち未計測エリア識別部103は、座標統合部102により統合された統合形状データに基づき、計測対象空間内で柱や配管などの物に隠れて計測されていない未計測エリアを識別し未計測エリアデータを生成する。
オブジェクト配置部104は、生成された未計測エリアデータと計測データ32を基に計測対象空間内に計測部位と未計測エリアを表現し、これら計測部位と未計測エリアを含む3次元画像に任意のオブジェクト41を配置するための画面(図4Aなど、参照)を表示する。ここでオブジェクト41とは、配置対象の物(ロッカーや棚など)の形状を示す3次元または2次元の図形である。
オブジェクト配置部104は、画面における干渉の判定対象となる対象構造物(部屋や通路に後付されたロッカーや棚、柱、配管や補強部材、今後設置する機材など)の配置操作に応じて、対応する3次元オブジェクトをオブジェクトデータ蓄積部101cから読み出して点群データ中に配置する。
干渉判定部106は、3次元画像に配置されたオブジェクト41と、3次元画像の計測データ32(計測部位)および未計測エリア33の少なくとも一方との干渉の有無を判定する。つまり干渉判定部106は、ユーザが配置したオブジェクトと他のデータ(測定済空間のデータや未測定空間のデータなど)との干渉を判定する。
干渉判定部106は干渉空間データ生成部106aを有する。干渉空間データ生成部106aは、干渉判定部106が干渉ありと判定した干渉部位に相当する干渉空間データを生成し干渉空間データ蓄積部に101dに蓄積(記憶)する。
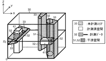
干渉判定部106は、オブジェクト41と計測データ32(計測部位)との第1干渉部位51の有無、およびオブジェクト41と未計測エリア33との第2干渉部位52の有無をそれぞれ識別する(図5B参照)。
干渉空間データ生成部106aは、干渉判定部106により干渉ありと判定された第1干渉部位51に相当する第1干渉空間データと第2干渉部位52に相当する第2干渉空間データとをそれぞれ生成し、干渉空間データ蓄積部101dに蓄積(記憶)する。
画像生成部107は、データ蓄積部101から計測済の形状データ(計測データ32)、未計測空間のデータ(未計測エリア33のデータ)、オブジェクトデータ(配置した機器、設備の図形データ)、干渉空間データ(干渉部位51、52のデータ)などを読み出して、これらのデータを基に3次元画像30を生成し、生成した3次元画像30に干渉部位51、52を重ね合わせた画像を生成し表示部14へ出力する。つまり画像生成部107は点群データや干渉判定結果などの表示画像を生成する。
画像生成部107は、干渉空間データを基に、3次元画像30に干渉部位51、52(図5A参照)を重ね合わせた画像を生成し表示部14へ出力する。なおこの例(図5A)の干渉部位51は小さいため図5Bを参照。
画像生成部107は、干渉空間データを基に、オブジェクト41に干渉部位52(図6A参照)を重ねた画像を生成し出力する。なお3次元画像30の計測部位や未計測エリアにオブジェクト41との干渉部位51、52が重なる場合、画像生成部107は、その両方に干渉部位51、52を重ねた画像を生成し出力する。
この際、画像生成部107は、干渉部位52をオブジェクト41とは異なる表示形態にしてオブジェクト41と重ねた画像を生成し表示部14へ出力する。異なる表示形態とは例えば干渉部位52の模様や塗りつぶしの色を元のオブジェクト41の模様や塗りつぶしの色と異ならせることをいう。
画像生成部107は、第1干渉部位51と第2干渉部位52とを異なる表示形態で3次元画像30に重ね合わせた画像を生成し出力する(図5B、図6B参照)。
次に、図2のフローチャートおよび図3A乃至図7Bを参照してこの3次元空間干渉判定システムの動作を説明する。
この3次元空間干渉判定システム10の場合、計測対象となる計測対象空間内の複数の計測位置に3次元計測装置11を配置し、各位置において3次元計測装置11が計測を行い、形状データd1を取得し(ステップS1)、形状データ蓄積部101aに保存する。
次に、座標統合部102は、形状データ蓄積部101aに保存された各々の形状データd1を読み出し、異なるローカル座標系で表された形状データの座標系を同一の座標系(グローバル座標系)に変換し(ステップS2)、1つの形状データに統合する。統合された形状データd2は、一旦、形状データ蓄積部101aに保存される。
続いて、未計測エリア識別部103は、計測が実施されていない未計測エリア33を識別する(ステップS3)。
詳細に説明すると、未計測エリア識別部103は、統合された形状データを形状データ蓄積部101aから読み出し、読み出した形状データのうち、計測位置と計測データ32の間を計測済みで構造物が存在しない空間、その他の空間を計測が実施されていない未計測エリア33として識別する。
複数の計測位置において未計測エリア33を識別した結果の積集合(AND演算)をとることで、最終的な計測空間内の未計測エリア33を得ることができる。
図3A、図3Bは、計測位置と付した位置で形状計測を行ったときに、計測位置と計測データ32の位置関係から未計測エリア33を識別し、未計測エリア33に相当する3次元データを生成し表示した例である。また、図3Bの平面図は、図3Aに示す3次元画像(空間画像)を任意の位置で切断したときの断面(平面)を示す例である。
なお図3Aの左上に方向線を示しているが、断面に垂直な方向(法線方向)をX軸方向、Y軸方向、Z軸方向とし、Z軸方向の断面はXY平面、Y軸方向の断面はXZ平面、X軸方向の断面はYZ平面などと定義する。
断面位置(図3AではZ軸の座標Z=Z0)は、ユーザの入力により自由に変更でき、XY平面上に存在する構造物の計測データ32(図の太い実線部)、未計測エリア33などを表示できる。
図3Bに示す断面図中に示した破線矢印は、計測位置から照射されるレーザの一例であり、未計測エリア識別部103は、レーザの照射方向について計測位置から計測データ32間を計測済み空間、計測データ32以降の空間を未計測エリア33と識別する。
そして、未計測エリア識別部103は、識別した未計測エリア33、および計測済み空間に関する空間データd2を空間データ蓄積部101bに保存する(ステップS4)。
画像生成部107は、データ蓄積部101に記憶されている各データ(計測済空間、未計測エリア33、干渉空間、オブジェクト41などのデータ)を読み出し、3次元計測装置11から取得した形状データに重ね合わせ、または形状データとは別個にして、3次元画像または2次元画像を生成し、表示部14へ出力することで表示部14の画面に表示する(ステップS5)。
3次元画像の場合、ユーザの入力により、視点の位置・姿勢、点群データの表示倍率といったパラメータを自由に変更することができる。また、2次元画像は、上面図、側面図、断面図など形状データを2次元的に表現した画像を生成でき、ユーザの入力により視点位置や断面平面、断面位置などのパラメータをパラメータ入力部13より入力および設定することで、3次元画像から切り取る断面を自由に変更することができる。また、識別した未計測エリア33などの空間データも合わせて表示する。
オブジェクト情報が格納されているオブジェクトデータ蓄積部101cに記憶されている機器や設備の形状を表現したオブジェクトデータ郡(集まり)の中から、ユーザが干渉を確認したい所望のオブジェクト41を選択し配置する位置を指定することで、オブジェクト配置部104は、指定されたオブジェクトデータd3を読み込み、形状データの中に配置する(ステップS6)。
配置するオブジェクト41の種類の選択や配置位置、姿勢の設定はユーザの入力操作によって行われる。また、オブジェクトデータd3は記憶されているデータに限らず、ユーザの入力によって任意の形状の3次元データを作成し、ユーザ固有のオブジェクトデータとしてオブジェクトデータ蓄積部101cに登録し、形状データとの干渉判定に利用してもよい。
図4は直方体形状のオブジェクトデータを形状データの中に配置したときの配置例(表示画像の一例)を示している。図4に示すように、オブジェクト41は、一つとは限らず、複数配置してもよい。
干渉判定部106は、オブジェクト配置部104により配置されたオブジェクト41について、測定済空間のデータと未測定空間のデータとの干渉判定を行い(ステップS7)、干渉空間データを生成する。
干渉判定は、3次元のオブジェクトデータ内に形状データが存在する(重なる)か否かを判定する。オブジェクト41の3次元データの外形内に形状データが含まれる場合、その位置(空間)データを生成し、干渉空間データとする。
また干渉判定部106は、形状データとの干渉だけでなく、未計測エリア33との干渉判定を行う。この場合もオブジェクト41に含まれる未計測エリア33を検出することで、干渉の判定を行い、未計測エリア33との干渉空間データを生成する。
ここで、オブジェクト41と未計測エリア33との干渉判定動作(手順)を詳細に説明する。
計測対象空間を予め設定した所定の大きさの複数のブロック(例えば、一辺10mmの立方体)に分割する。ブロックの大きさや形状についてはこの例に限定されるものではなく、対象空間の大きさなどに応じて適宜設定してよい。
干渉判定部106は、各ブロックが未計測エリア33に含まれているか否かを判定した結果に応じて、対象のブロックに属性を付与し、未計測エリア33の情報を各ブロックの属性値として持たせる。
次に、干渉判定部106は、配置したオブジェクト41の一部を含むブロックを抽出し、各ブロックの属性を確認する。オブジェクト41を含むブロックのうち、未計測エリア33の情報を持つものは、そのブロック内で未計測エリア33と干渉するものと判定する。
これにより、干渉判定部106は、オブジェクト41と未計測エリア33が干渉するブロックを検出し、未計測エリア33との干渉空間データを生成する。この他、未計測エリア33とオブジェクト41の共通部分を直接抽出してもよく、また干渉空間データを生成してもよい。
ここから元の処理手順に戻ると、画像生成部107は、ステップS7の処理で干渉判定部106が干渉判定を行った結果、生成した未計測エリア33を点群データ上に重ね合わせて互いの干渉画像を生成し(ステップS8)、表示部14へ出力することで、該画像を表示部14の画面に表示する。
図5A、図5Bは干渉空間データの生成例(表示画像の一例)であり、図5Aは3次元画像、図5Bは平面画像の生成例である。
なお、パラメータ入力部13により3次元画像を切り取る断面の方向および位置が設定されることで、画像生成部107は、パラメータ入力部13により設定された断面の方向および位置を基に、図5Bに示すようなZ軸方向の設定位置Z0(任意の位置)で3次元画像を切り取った2次元の画像、つまり断面画像(平面画像)を表示する。
また、図5B(断面図)に示すように、オブジェクト41と計測データ32との干渉部51と、オブジェクト41と未計測エリア33との干渉部52とを、例えばその部分の色や模様、その他表示形態を変えることで、干渉状況の違いを区別して表示する。
干渉空間データに対応するオブジェクト41の干渉部位を特定し、オブジェクト41全体とその一部の干渉部位との表示形式を変更して表示した場合の表示例(一例)を図6A、図6Bに示す。
図7A、図7Bは、オブジェクト41を配置した計測済空間の空間データに、未計測エリア33の空間データをさらに重ね合わせて表示した場合の表示例(一例)である。
最後に、画像生成部107は、干渉空間データを干渉空間データ蓄積部101bに保存する(ステップS9)。
以上説明したようにこの第1実施形態によれば、表示された画像を見ることで、計測対象空間に配置したオブジェクト41のうち、計測データ32と干渉する部分、および未計測エリア33と干渉する部分を視覚的に確認できるようになり、機器の干渉を確認しながら、物の収まり具合や通過可否を判定できる。
また、作業前の現場確認時に注意して確認する部分を未計測部分との干渉部に限定でき、現場確認が必要な場合も現場作業工程を短縮できる。
(第2実施形態)
図8は第2実施形態の3次元空間干渉判定システムの構成を示すブロック図である。図9は図8の3次元空間干渉判定システムの動作を示すフローチャートである。なお第2実施形態の構成を説明するにあたり第1実施形態と同じ構成には同一の符号を付しその説明は省略する。
図8に示すように、第2実施形態の場合、PC12は調査範囲設定部109を備える。調査範囲設定部109は、調査範囲を設定するための画面を表示部14に表示する。表示された画面の入力欄にユーザが平面の法線方向(X軸,Y軸,Z軸のいずれか)、調査範囲の始点・終点位置を入力し、確定操作を行うことで、入力された調査範囲がデータ蓄積部101に設定される。
調査範囲設定部109は、パラメータ入力部13により入力および設定された断面と直交する方向に調査範囲を設定する。
調査範囲が設定されている場合、干渉空間データ生成部106aは、調査範囲内の干渉部位を、設定された方向に沿って、始点・終点位置に範囲で干渉空間データの和集合を取った干渉空間データを生成する。画像生成部107は、調査範囲内の3次元画像の範囲でオブジェクト41と形状データ(計測部位32)との干渉部位51およびオブジェクト41と未計測エリア33との干渉部位52を重ね合わせた画像を生成する。
続いて、図9のフローチャートおよび図10A乃至図11Bを参照して第2実施形態の3次元空間干渉判定システムの動作を説明する。なお第2実施形態の動作を説明するにあたり第1実施形態と同じ動作には同一の符号を付しその説明は省略する。
この第2実施形態では、図9のステップS1からステップS7までの処理ステップは、第1実施形態と同じであり、ここまでの処理によって、形状データとオブジェクト41との干渉判定が行われる。
続いて、計測対象範囲について、任意の法線方向の平面を設定し、その法線方向を調査方向とする。
次に、その平面の法線方向に沿って調査範囲を設定する。ユーザの入力により、平面の法線方向、調査範囲の始点・終点位置を設定することで、調査範囲が設定される(ステップS10)。
設定した調査範囲について、調査方向に沿って、設定された始点・終点位置の範囲で、干渉空間データの積集合をとり、干渉空間データを表示する(ステップS8)。なお3次元画像については、設定した調査範囲を包含する直方体を表示することを選んでもよい。
図10AはZ軸方向を調査方向とし、Z0≦Z≦Z1を調査範囲に設定したときの3次元画像の表示例、図10Bは図10Aの3次元画像を座標Z0〜Z1の位置で切り取った断面の一例を示す図である。
図11AはZ軸方向を調査方向とし、Z1≦Z≦Z2を調査範囲に設定したときの3次元画像の表示例、図11Bは図11Aの3次元画像を座標Z1〜Z2の位置で切り取った断面の一例を示す図である。
以上のようにこの第2実施形態によれば、第1実施形態の効果に加えて、調査範囲設定部109が設定した調査範囲内の空間における干渉空間の可視化を行うことで、注目領域の機器の干渉を確認しながら配置可否や通過可否を視覚的に判定できる。
(第3実施形態)
図12は第3実施形態の3次元空間干渉判定システムの構成を示すブロック図である。なお第3実施形態の構成を説明するにあたり第1および第2実施形態と同じ構成には同一の符号を付しその説明は省略する。
図12に示すように、第3実施形態の場合、PC12はオブジェクト経路設定部110を備える。
オブジェクト経路設定部110は、計測対象空間内に配置したオブジェクト41を移動させる移動経路を設定する。
移動経路が設定されている場合、干渉判定部106は、オブジェクト41を移動させた移動経路上の任意の位置において、オブジェクト41と形状データ32(計測部位)との干渉の有無、およびオブジェクト41と未計測エリア33との干渉の有無を判定する。干渉空間データ生成部106aは、干渉判定部106により干渉ありと判定された干渉部位の移動位置毎または移動時間毎の干渉空間データ(時系列干渉空間データ)を生成する。
画像生成部107は、時系列干渉空間データから任意の位置または時刻における干渉空間データを抽出し、その位置または時刻でのオブジェクト41と形状データ32(計測部位)を重ね合わせた画像、および/またはオブジェクト41と未計測エリア33とを重ね合わせた画像を生成する。
画像生成部107は、移動経路上の各位置における時系列干渉空間データの和集合データを生成し、生成した和集合データと形状データ32(計測部位)を重ね合わせた画像、および/または生成した和集合データと未計測エリア33とを重ね合わせた画像を生成する。
続いて、図13のフローチャートと図14A乃至図15Bを参照してこの3次元空間干渉判定システムの動作を説明する。図13は図12の3次元空間干渉判定システムの動作を示すフローチャートである。図14A、図14Bはオブジェクト41の移動経路1401を設定した状況を示した図であり、図14Aはオブジェクト41の移動経路1401を表示した3次元画像、図14Bは図14Aの3次元画像を座標Z0の位置で切り取った断面の一例を示す図である。なお第3実施形態の動作を説明するにあたり第1実施形態または第2実施形態と同じ動作には同一の符号を付しその説明は省略する。
この第3実施形態では、ステップS1乃至ステップS5までの動作は第1実施形態と同じである。
そして、ユーザが、干渉を確認すべき所望のオブジェクト41を計測対象空間(形状データ)上に配置し(ステップS6)、経路設定ボタンなどをクリックすると、オブジェクト経路設定部110は、例えば図14Aに示すように、計測対象空間内でのオブジェクト41の中心点1406などを表示し、その中心点1406の位置を移動開始位置として設定する(ステップS11)。
ユーザの操作によってオブジェクト41を移動させると、オブジェクト経路設定部110は、移動に伴い移動開始位置からオブジェクト41の中心点1406が通過する通過ポイント1402の3次元位置情報を順に追加し、最終的な移動停止位置までの通過ポイント1402を設定する。通過ポイント1402は、その3次元座標をユーザの入力(点群画像のマウスクリックや数値入力)により設定する。
次に、オブジェクト経路設定部110は、通過ポイント1402間のオブジェクト41の位置を補完する。これは、例えば、通過ポイント1402間を直線で結び、その直線上を移動ステップ量ずつ、オブジェクト41を移動させたときの3次元座標を求めることで補完する。なお、通過ポイント1402間の補完は、直線の軌道だけでなく、曲線の軌道(移動)として設定してもよい。
以上により、オブジェクト41の移動開始位置から移動経路1401上を動くオブジェクト41の時系列の変化が伴う3次元位置情報(点の移動情報)を生成する。なお時系列の変化ではなく、通過ポイント1402の番号の順で移動方向を決めるようにしてもよい。
移動経路設定後、干渉判定部106は、オブジェクト41の時系列の3次元位置情報を基に、各時刻におけるオブジェクト41と計測データ32との干渉判定、およびオブジェクト41と未計測エリア33との干渉判定を行い、干渉ありと判定した干渉部位の移動位置毎または移動時間毎の干渉空間データ(時系列干渉空間データ)を生成する(ステップS7)。
画像生成部107は、時系列干渉空間データを計測データ32上に重ね合わせた画像を生成し、表示部14に出力することで表示する(ステップS8)。ここでは、時系列の干渉空間データから、任意の時刻(任意の通過位置)を選択して表示する。
この場合は、第1実施形態の図5Aから図7Bに示したように、その時刻のオブジェクト41や干渉空間データが表示されることになる。なお時系列の干渉空間データの和集合を求め、図15Aに示すように、移動経路上のオブジェクト41を3次元画像として表示してもよい。この表示方法では、移動経路全体において干渉がある部分を一度に確認することができる。図15Bには、図15Aに示したオブジェクト41の移動経路のうち、計測部位32や未測定エリア33との干渉が発生した部位51、52の平面を切り出して表示した例を示す。
干渉空間表示後の動作、つまりステップS9の干渉空間データ保存処理について第1実施形態と同様である。
以上説明したようにこの第3実施形態によれば、第1実施形態の効果に加えて、移動して配置する機器などのオブジェクト41の移動経路を設定するオブジェクト経路設定部110を設け、オブジォクト41が移動する各時刻の位置のオブジォクト41と計測データ32との干渉部位51、および未計測エリア33とオブジォクト41との干渉部位52を可視化することで、機器や設備の搬入・搬出計画や調査機器のアクセス経路の検討を視覚的に判断しながら実施することができる。
なお、この第3実施形態の構成に、さらに第2の実施形態に示した調査範囲設定部109を加えて調査範囲を設定した上で、調査範囲内の時系列の干渉空間データを表示するようにしてもよい。
(第4実施形態)
図16は第4実施形態の3次元空間干渉判定システムの構成を示すブロック図である。図17は図16の3次元空間干渉判定システムの動作を示すフローチャートである。この第4実施形態の構成は、第1の実施形態に示した構成から3次元計測装置11、座標統合部102、未計測エリア識別部103を省き、これら装置および各部から得られるデータ(形状データd1、未計測エリアデータd2)を予めPC12のデータ蓄積部101に蓄積しておき、PC12だけで処理を行うよう構成したものであり、PC12に未計測エリア取得部111を追加している。
この場合、データ取得部100は、データ蓄積部101の形状データ蓄積部101aから形状データd1を取得し、未計測エリア取得部111に渡す。未計測エリア取得部111は、データ蓄積部101の空間データ蓄積部101bから未計測エリアデータd2を取得し、未計測エリアデータd2と形状データd1とをオブジェクト配置部104へ渡す。
形状データd1は、未計測エリア取得部111を介さずにデータ取得部100から、直接、オブジェクト配置部104へ渡してもよい。すなわちデータ取得部100と未計測エリア取得部111は、形状データd1と未計測エリアデータd2とをデータ蓄積部101(蓄積部)から読み出す取得部として機能する。
また、この場合、オブジェクト配置部104は、物が存在する計測対象空間内のある基準位置からスキャンして計測された3次元の計測部位を示す形状データd1と、この形状データd1に基づき計測対象空間内で物に隠れて計測されていない未計測エリアを識別して得られた未計測エリアデータd2とを基に、計測対象空間内に表現した計測部位と未計測エリアを含む3次元画像に任意のオブジェクトを配置するための画面を表示する配置部として機能する。
この例では、形状データd1と未計測エリアデータd2を予め記憶しておくものとしたが、未計測エリア取得部111を削除し、未計測エリア識別部103を残し、未計測エリア識別部103が、形状データ蓄積部101aから取得した形状データd1を基に未計測エリアデータd2を生成するようにしてもよい。
以下、図17のフローチャートを参照してこの第4実施形態の3次元空間干渉判定システム10の動作を説明する。なお図17を参照して第4実施形態の動作を説明するにあたり、上記第1乃至第3実施形態と同じ説明には同一のステップ番号(符号)を付しその説明は省略する。
この第4実施形態の場合、形状データ取得部100は、予め対象空間をスキャンしてデータ蓄積部101の形状データ蓄積部101aに記憶しておいた形状データd1を読み出し取得する(図17のステップS1)。
続いて、未計測エリア取得部111は、未計測エリアデータd2を記憶する空間データ蓄積部101bから未計測エリアデータd2を取得し(ステップS13)、オブジェクト配置部104に渡す。オブジェクト配置部104は、各取得部により得られた形状データd1および未計測エリアデータd2を含む3次元画像を表示部14へ出力し、オブジェクト配置用の画面を表示する。
その後のステップS6からステップS9までの処理は、第1実施形態と同様に、機器の3次元オブジェクトデータを形状データ中に配置し、形状データ(計測済空間)および未計測エリア33との干渉を判定して表示する。
また、図16に示した第4実施形態の構成に、第2および第3実施形態に示した調査範囲設定部109および/またはオブジェクト経路設定部110などの構成を加えることで、設定した調査範囲の干渉データの閲覧やオブジェクト41の移動経路中の干渉範囲の確認を行うことができる。
以上説明したようにこの第4実施形態によれば、計測対象の空間を予め3次元計測装置にて計測しておき、その形状データd1や未計測エリアデータd2のうち少なくとも形状データd1を蓄積しておくことで、PC12単体でも第1から第3実施形態と同様に、3次元空間に配置したオブジェクトと計測済空間や未計測エリアとの干渉を判定し、それぞれの部分との干渉状況を色分け表示することで、対象空間の物の収まりや通過可否を利用者が容易に判定できるようになる。
本発明の実施形態を説明したが、この実施形態は、例として提示したものであり、発明の範囲を限定することは意図していない。この新規な実施形態は、その他の様々な形態で実施されることが可能であり、発明の要旨を逸脱しない範囲で、種々の省略、置き換え、変更を行うことができる。これら実施形態やその変形は、発明の範囲や要旨に含まれるとともに、特許請求の範囲に記載された発明とその均等の範囲に含まれる。
また上記実施形態に示したPC12の各構成要素を、コンピュータのハードディスク装置などのストレージにインストールしたプログラムで実現してもよく、また上記プログラムを、コンピュータ読取可能な電子媒体:electronic mediaに記憶しておき、プログラムを電子媒体からコンピュータに読み取らせることで本発明の機能をコンピュータが実現するようにしてもよい。電子媒体としては、例えばCD−ROM等の記録媒体やフラッシュメモリ、リムーバブルメディア:Removable media等が含まれる。さらに、ネットワークを介して接続した異なるコンピュータに構成要素を分散して記憶し、各構成要素を機能させたコンピュータ間で通信することで実現してもよい。
10…3次元空間干渉判定システム
11…3次元計測装置
12…PC
13…パラメータ入力部
14…表示部
100…形状データ取得部
101…データ蓄積部
101a…形状データ蓄積部
101b…空間データ蓄積部
101c…オブジェクトデータ蓄積部
101d…干渉空間データ蓄積部
102…座標統合部
103…未計測エリア識別部
104…オブジェクト配置部
106…干渉判定部
106a…干渉空間データ生成部
107…画像生成部
109…調査範囲設定部
110…オブジェクト経路設定部
111…未計測エリア取得部
d1…形状データ
d2…未計測エリアデータ
d3…3次元オブジェクトデータ

Claims (14)

  1. 物が存在する計測対象空間内のある基準位置からスキャンして計測された3次元の計測部位を示す形状データと、この形状データに基づき、前記計測対象空間内で前記物に隠れて計測されていない未計測エリアを識別して得られた未計測エリアデータとを基に前記計測対象空間内に表現した前記計測部位と未計測エリア、を含む3次元画像に任意のオブジェクトを配置するための画面を表示する配置部と、
    前記3次元画像に配置されたオブジェクトと、前記3次元画像の前記計測部位および前記未計測エリアの少なくとも一方との干渉の有無を判定する干渉判定部と
    を具備する3次元空間可視化装置。
  2. 前記形状データと前記未計測エリアデータを記憶した蓄積部と、
    前記形状データと前記未計測エリアデータとを前記蓄積部から読み出す取得部と
    を具備する請求項1記載の3次元空間可視化装置。
  3. 前記形状データを外部から取得する計測データ取得部と、
    前記形状データに基づき、前記未計測エリアを識別し前記未計測エリアデータを生成す
    る未計測エリア識別部と
    を具備する請求項1記載の3次元空間可視化装置。
  4. 前記干渉判定部は、干渉ありと判定した干渉部位に相当する干渉空間データを生成する
    干渉空間データ生成部を具備する請求項1および請求項3いずれか1項に記載の3次元空間可視化装置。
  5. 前記干渉空間データを基に、前記3次元画像および前記オブジェクトの少なくとも一方に前記干渉部位を重ね合わせた画像を生成し出力する画像生成部を具備する請求項4に記載の3次元空間可視化装置。
  6. 前記画像生成部は、
    前記干渉部位を、前記オブジェクトとは異なる表示形態にして前記オブジェクトと重ねた画像を生成し出力する請求項5に記載の3次元空間可視化装置。
  7. 物が存在する計測対象空間内のある基準位置からスキャンして計測された3次元の計測部位を示すローカル座標系の形状データを、一つのグローバル座標系に統合する座標統合部を具備する請求項1に記載の3次元空間可視化装置。
  8. 前記干渉判定部は、
    前記オブジェクトと前記計測部位との第1干渉部位の有無、および前記オブジェクトと前記未計測エリアとの第2干渉部位の有無をそれぞれ識別し、
    前記干渉空間データ生成部は、
    前記干渉判定部により干渉ありと判定された前記第1干渉部位に相当する第1干渉空間データと前記第2干渉部位に相当する第2干渉空間データとをそれぞれ生成する請求項4記載の3次元空間可視化装置。
  9. 前記3次元画像を切り取る断面の方向および位置を設定する断面設定部と、
    前記断面設定部により設定された断面と直交する方向に調査範囲を設定する調査範囲設定部とを備え、
    前記干渉空間データ生成部は、
    前記調査範囲内の前記干渉部位を前記方向に沿って、設定された位置の範囲で、前記干渉空間データの和集合を取った干渉空間データを生成し、
    前記画像生成部は、
    前記調査範囲内の3次元画像および前記オブジェクトの少なくとも一方に前記干渉部位を重ね合わせた画像を生成する請求項5または請求項6いずれか記載の3次元空間可視化装置。
  10. 前記計測対象空間内における前記オブジェクトの移動経路を設定する設定部を備え、
    前記干渉判定部は、
    前記オブジェクトを移動させた前記移動経路上の任意の位置において、前記オブジェクトと前記計測部位との干渉の有無、および前記オブジェクトと前記未計測エリアとの干渉の有無を判定し、
    前記干渉空間データ生成部は、
    前記干渉判定部により干渉ありと判定された干渉部位の移動位置毎または移動時間毎の時系列干渉空間データを生成する請求項4に記載の3次元空間可視化装置。
  11. 前記画像生成部は、
    前記時系列干渉空間データから任意の位置または時刻における干渉空間データを抽出し、その位置または時刻での前記オブジェクトと前記計測部位を重ね合わせた画像、および/または前記オブジェクトと前記未計測エリアとを重ね合わせた画像を生成する請求項10に記載の3次元空間可視化装置。
  12. 前記画像生成部は、
    前記移動経路上の各位置における前記時系列干渉空間データの和集合データを生成し、生成した前記和集合データと前記計測部位を重ね合わせた画像、および/または生成した前記和集合データと前記未計測エリアとを重ね合わせた画像を生成する請求項10記載の3次元空間可視化装置。
  13. 物が存在する計測対象空間内のある基準位置からスキャンして計測された3次元の計測部位を示す形状データと、この形状データに基づき、前記計測対象空間内で前記物に隠れて計測されていない未計測エリアを識別して得られた未計測エリアデータとを基に前記計測対象空間内に表現した前記計測部位と前記未計測エリア、を含む3 次元画像に任意のオブジェクトを配置するための画面を表示し、
    干渉判定部によって、前記3次元画像に配置されたオブジェクトと、前記3次元画像の前記計測部位および前記未計測エリアの少なくとも一方との干渉の有無を判定する3次元空間可視化方法。
  14. 物が存在する計測対象空間内のある基準位置からスキャンして計測された3次元の計測部位を示す形状データと、この形状データに基づき、前記計測対象空間内で前記物に隠れて計測されていない未計測エリアを識別して得られた未計測エリアデータとを基に前記計測対象空間内に表現した前記計測部位と前記未計測エリア、を含む3次元画像に任意のオブジェクトを配置するための画面を表示し、
    前記3次元画像に配置されたオブジェクトと、前記3次元画像の前記計測部位および前記未計測エリアの少なくとも一方との干渉の有無を判定する
    手順をコンピュータに実行させるためのプログラム。
JP2016231269A 2016-11-29 2016-11-29 3次元空間可視化装置、3次元空間可視化方法およびプログラム Active JP6719368B2 (ja)

Priority Applications (1)

Application Number Priority Date Filing Date Title
JP2016231269A JP6719368B2 (ja) 2016-11-29 2016-11-29 3次元空間可視化装置、3次元空間可視化方法およびプログラム

Applications Claiming Priority (1)

Application Number Priority Date Filing Date Title
JP2016231269A JP6719368B2 (ja) 2016-11-29 2016-11-29 3次元空間可視化装置、3次元空間可視化方法およびプログラム

Publications (2)

Publication Number Publication Date
JP2018088139A JP2018088139A (ja) 2018-06-07
JP6719368B2 true JP6719368B2 (ja) 2020-07-08

Family

ID=62494560

Family Applications (1)

Application Number Title Priority Date Filing Date
JP2016231269A Active JP6719368B2 (ja) 2016-11-29 2016-11-29 3次元空間可視化装置、3次元空間可視化方法およびプログラム

Country Status (1)

Country Link
JP (1) JP6719368B2 (ja)

Families Citing this family (5)

* Cited by examiner, † Cited by third party
Publication number Priority date Publication date Assignee Title
JP7282656B2 (ja) * 2019-11-11 2023-05-29 日立造船株式会社 移動過程提示装置、移動過程提示方法、移動過程提示プログラムおよび記録媒体
CN113496049B (zh) * 2020-04-03 2024-03-12 琦境科技(北京)有限公司 一种三维空间物品规划的方法和系统
JP7501891B2 (ja) * 2020-04-10 2024-06-18 日本電気通信システム株式会社 情報処理装置、設計方法、及びプログラム
US20240394958A1 (en) * 2021-10-04 2024-11-28 Nec Corporation Display device, display method, and nontransitory computer-readable medium
JP7440972B2 (ja) * 2022-06-23 2024-02-29 nat株式会社 室内レイアウト支援方法、システム及びプログラム

Family Cites Families (4)

* Cited by examiner, † Cited by third party
Publication number Priority date Publication date Assignee Title
JP2004178006A (ja) * 2002-11-22 2004-06-24 Ricoh Co Ltd 3次元形状処理装置、モデル干渉部表示方法、プログラム、及び記憶媒体
JP2005242531A (ja) * 2004-02-25 2005-09-08 Hitachi Ltd 3d−cadを活用した据付工事管理システム
JP4959518B2 (ja) * 2007-11-16 2012-06-27 株式会社Nykシステムズ 3次元cgオブジェクト干渉チェックプログラム
JP6377536B2 (ja) * 2015-01-15 2018-08-22 株式会社東芝 空間情報可視化装置、プログラムおよび空間情報可視化方法

Also Published As

Publication number Publication date
JP2018088139A (ja) 2018-06-07

Similar Documents

Publication Publication Date Title
EP3055648B1 (en) Method and system for 3d modeling using feature detection
JP6719368B2 (ja) 3次元空間可視化装置、3次元空間可視化方法およびプログラム
JP6377536B2 (ja) 空間情報可視化装置、プログラムおよび空間情報可視化方法
RU2643619C2 (ru) Способы и системы для контроля заготовки
Gao et al. An approach to combine progressively captured point clouds for BIM update
Kalasapudi et al. Toward automated spatial change analysis of MEP components using 3D point clouds and as-designed BIM models
JPWO2014192316A1 (ja) モデリング装置、3次元モデル生成装置、モデリング方法、プログラム、レイアウトシミュレータ
Bonduel et al. Scan-to-bim output validation: Towards a standardized geometric quality assessment of building information models based on point clouds
JP7300930B2 (ja) 測量データ処理装置、測量データ処理方法および測量データ処理用プログラム
JP6496583B2 (ja) 仮設足場計画支援システム
JP2018088065A (ja) 情報可視化システム、情報可視化方法、及びプログラム
JP2024012527A (ja) 情報表示装置、方法及びプログラム
US20250067893A1 (en) Identifying Objects behind an Opaque Surface Using Relational Information
JP5673489B2 (ja) 点群データの処理装置、処理方法、処理プログラム及び記録媒体
JP2016009432A (ja) 画像形成装置、画像形成システム及び画像形成プログラム
JP3708762B2 (ja) プラント運転監視方法とその装置
JP2015203675A (ja) 画像処理装置、画像処理システム、3次元計測器、画像処理方法及び画像処理プログラム
JP2021064267A (ja) 画像処理装置、及び画像処理方法
JP2013058106A (ja) 3次元cadデータ作成システムおよび3次元cadデータ作成方法
KR20180135695A (ko) 장비 설치 공간, 설치 경로, 설치 순서 확인 방법
US20220012379A1 (en) Systems and methods for modelling interactions of physical assets within a workspace
JP2021064264A (ja) 画像処理装置、及び画像処理方法
Rzonca et al. Lidarometry as a variant of integration of photogrammetric and laser scanning data
CN117456550B (zh) 基于mr的cad文件查看方法、装置、介质和设备
US20250180774A1 (en) Augmented-reality supported non-destructive testing

Legal Events

Date Code Title Description
A711 Notification of change in applicant

Free format text: JAPANESE INTERMEDIATE CODE: A712

Effective date: 20171107

Free format text: JAPANESE INTERMEDIATE CODE: A711

Effective date: 20171107

A621 Written request for application examination

Free format text: JAPANESE INTERMEDIATE CODE: A621

Effective date: 20190218

A977 Report on retrieval

Free format text: JAPANESE INTERMEDIATE CODE: A971007

Effective date: 20200210

A131 Notification of reasons for refusal

Free format text: JAPANESE INTERMEDIATE CODE: A131

Effective date: 20200303

A521 Written amendment

Free format text: JAPANESE INTERMEDIATE CODE: A523

Effective date: 20200414

TRDD Decision of grant or rejection written
A01 Written decision to grant a patent or to grant a registration (utility model)

Free format text: JAPANESE INTERMEDIATE CODE: A01

Effective date: 20200519

A61 First payment of annual fees (during grant procedure)

Free format text: JAPANESE INTERMEDIATE CODE: A61

Effective date: 20200616

R150 Certificate of patent or registration of utility model

Ref document number: 6719368

Country of ref document: JP

Free format text: JAPANESE INTERMEDIATE CODE: R150