JP6704635B2 - 容器供給装置 - Google Patents

容器供給装置 Download PDF

Info

Publication number
JP6704635B2
JP6704635B2 JP2016003022A JP2016003022A JP6704635B2 JP 6704635 B2 JP6704635 B2 JP 6704635B2 JP 2016003022 A JP2016003022 A JP 2016003022A JP 2016003022 A JP2016003022 A JP 2016003022A JP 6704635 B2 JP6704635 B2 JP 6704635B2
Authority
JP
Japan
Prior art keywords
container
pallet
supply
conveyor
containers
Prior art date
Legal status (The legal status is an assumption and is not a legal conclusion. Google has not performed a legal analysis and makes no representation as to the accuracy of the status listed.)
Active
Application number
JP2016003022A
Other languages
English (en)
Other versions
JP2017121965A (ja
Inventor
昭太 小松
昭太 小松
浩道 石坂
浩道 石坂
Current Assignee (The listed assignees may be inaccurate. Google has not performed a legal analysis and makes no representation or warranty as to the accuracy of the list.)
Key Trading Co Ltd
Original Assignee
Key Trading Co Ltd
Priority date (The priority date is an assumption and is not a legal conclusion. Google has not performed a legal analysis and makes no representation as to the accuracy of the date listed.)
Filing date
Publication date
Application filed by Key Trading Co Ltd filed Critical Key Trading Co Ltd
Priority to JP2016003022A priority Critical patent/JP6704635B2/ja
Publication of JP2017121965A publication Critical patent/JP2017121965A/ja
Application granted granted Critical
Publication of JP6704635B2 publication Critical patent/JP6704635B2/ja
Active legal-status Critical Current
Anticipated expiration legal-status Critical

Links

Images

Landscapes

  • Supplying Of Containers To The Packaging Station (AREA)

Description

本発明は、パレットの上面に形成された複数の収容部のそれぞれに容器を供給する容器供給装置に関する。
従来、複数個のカプセルを一単位として間欠的に製造する製造装置が知られている。例えば、特許文献1に記載されたカプセル入り製品(カプセル)の製造装置は、カプセル搬送用パレット(メインパレット)の上面に形成された50個のカプセル保持部のそれぞれにカプセルを嵌合させて供給し、化粧用パウダーを各カプセルに充填している。そして、この製造装置は、各カプセルの開口にアルミフィルム製の蓋材を貼り付けることによって、各カプセルに化粧用パウダーを密封している。換言すれば、この製造装置は、50個のカプセルを一単位としてカプセル搬送用パレットごとに間欠的に製造している。
この製造装置では、化粧用パウダーをカプセルに充填する前の準備作業として、まず、作業者の手作業によって、補助パレット(ダミーパレット)の上面に形成された複数のカプセル保持部のそれぞれにカプセルを嵌合させて供給している。次に、製造装置は、補助パレットに供給された複数のカプセルを吸引することによって吸引ヘッドにて保持した後、カプセル搬送用パレットに移し替えている。そして、製造装置は、カプセル搬送用パレットに移し替えられたカプセルに化粧用パウダーを充填している。
これに対して、特許文献2に記載された容器供給装置は、複数の容器(カプセル)をパレット(ダミーパレット)の上面に向かって供給させることによって、パレットの上面に形成された複数の収容部のそれぞれに自動的に供給している。
特開平6−191593号公報 特開2015−098347号公報
しかしながら、特許文献2に記載された容器供給装置は、パレットの上面に複数の容器を落下させることによって、パレットの収容部に容器を供給しているので、容器を供給すべき収容部の全てに容器を供給できない場合があり、ひいては製造効率が低下してしまうという問題がある。
本発明の目的は、パレットの収容部に容器を確実に供給することができ、製造効率を向上させることができる容器供給装置を提供することである。
本発明の容器供給装置は、パレットの上面に形成された複数の収容部のそれぞれに容器を供給する容器供給装置であって、パレットを所定方向に沿って搬送するパレット搬送手段と、パレット搬送手段にて搬送されるパレットの収容部を、容器を供給すべき供給用収容部と、容器を供給しなくてもよい予備用収容部とに区分けし、供給用収容部のうち、容器を供給されていない空の供給用収容部と、予備用収容部のうち、容器を供給されている予備用収容部とを検出する収容部検出手段と、収容部検出手段の検出結果に基づいて、予備用収容部に供給されている容器を空の供給用収容部に補充する容器補充手段と、複数の容器を仮置きする複数の仮置部を有する容器仮置手段とを備え、容器補充手段は、収容部検出手段の検出結果に基づいて、容器仮置手段の仮置部に仮置きされている容器を空の供給用収容部に補充し、パレット搬送手段にて搬送されるパレットの収容部に供給された容器を容器仮置手段の仮置部に仮置きすることを特徴とする。
このような構成によれば、容器供給装置は、収容部検出手段の検出結果に基づいて、予備用収容部に供給されている容器を空の供給用収容部に補充する容器補充手段を備えているので、パレットの供給用収容部に容器を確実に供給することができ、製造効率を向上させることができる。また、容器補充手段は、予備用収容部に供給されている容器を空の供給用収容部に補充するので、予備用収容部から供給用収容部まで容器を移動させればよく、例えば、パレットの外部から供給用収容部まで容器を移動させる場合と比較して、移動距離を短くすることができ、ひいては容器供給装置の製造効率を向上させることができる。
また、容器補充手段は、空の供給用収容部の数が予備用収容部に供給されている容器の数よりも多い場合であっても容器仮置手段の仮置部に仮置きされている容器を空の供給用収容部に補充することができる。したがって、容器供給装置は、パレットの供給用収容部に容器を確実に供給することができ、製造効率を向上させることができる。
さらに、容器補充手段は、パレット搬送手段にて搬送されるパレットの収容部に供給された容器を容器仮置手段の仮置部に仮置きするので、容器を新たに準備することなく、容器仮置手段の仮置部に仮置きすることができ、容器供給装置の製造効率を向上させることができる。
本発明の容器供給装置は、パレットの上面に形成された複数の収容部のそれぞれに容器を供給する容器供給装置であって、パレットを所定方向に沿って搬送するパレット搬送手段と、パレット搬送手段にて搬送されるパレットの収容部を、容器を供給すべき供給用収容部と、容器を供給しなくてもよい予備用収容部とに区分けし、供給用収容部のうち、容器を供給されていない空の供給用収容部と、予備用収容部のうち、容器を供給されている予備用収容部とを検出する収容部検出手段と、収容部検出手段の検出結果に基づいて、予備用収容部に供給されている容器を空の供給用収容部に補充する容器補充手段とを備え、容器補充手段は、収容部検出手段にて検出された空の供給用収容部の数が所定の閾値以上である場合には、容器を空の供給用収容部に補充せず、収容部検出手段の検出結果に基づいて、パレットの収容部に供給された容器を容器仮置手段の仮置部に仮置きすることを特徴とする。
このような構成によれば、容器供給装置は、収容部検出手段の検出結果に基づいて、予備用収容部に供給されている容器を空の供給用収容部に補充する容器補充手段を備えているので、パレットの供給用収容部に容器を確実に供給することができ、製造効率を向上させることができる。また、容器補充手段は、予備用収容部に供給されている容器を空の供給用収容部に補充するので、予備用収容部から供給用収容部まで容器を移動させればよく、例えば、パレットの外部から供給用収容部まで容器を移動させる場合と比較して、移動距離を短くすることができ、ひいては容器供給装置の製造効率を向上させることができる。
ここで、容器供給装置は、収容部検出手段にて検出された空の供給用収容部の数が多くなれば、容器補充手段にて容器を補充するのに時間を要してしまうことになる。したがって、容器供給装置は、パレット搬送手段にてパレットを搬送する速度を遅くしなければならないので、製造効率は低下してしまうことになる。
これに対して、本発明によれば、容器補充手段は、収容部検出手段にて検出された空の供給用収容部の数が所定の閾値以上である場合には、容器を空の供給用収容部に補充しないので、収容部検出手段にて検出された空の供給用収容部の数が多い場合であってもパレット搬送手段にてパレットを搬送する速度を速くすることができ、製造効率を更に向上させることができる。
なお、容器を空の供給用収容部に補充しなかったパレットは、パレットの上面に複数の容器を落下させること等によって、パレットの収容部に再び容器を供給すればよい。
さらに、容器補充手段は、収容部検出手段にて検出された空の供給用収容部の数が所定の閾値以上である場合には、容器を空の供給用収容部に補充しないようにするとともに、収容部検出手段の検出結果に基づいて、パレットの収容部に供給された容器を容器仮置手段の仮置部に仮置きするので、容器を空の供給用収容部に補充するのに要する時間を、容器を容器仮置手段の仮置部に仮置きするのに使うことができる。したがって、容器供給装置は、製造効率を更に向上させることができる。
本発明の容器供給装置は、パレットの上面に形成された複数の収容部のそれぞれに容器を供給する容器供給装置であって、パレットを所定方向に沿って搬送するパレット搬送手段と、パレット搬送手段にて搬送されるパレットの収容部を、容器を供給すべき供給用収容部と、容器を供給しなくてもよい予備用収容部とに区分けし、供給用収容部のうち、容器を供給されていない空の供給用収容部と、予備用収容部のうち、容器を供給されている予備用収容部とを検出する収容部検出手段と、収容部検出手段の検出結果に基づいて、予備用収容部に供給されている容器を空の供給用収容部に補充する容器補充手段とを備え、パレットの配置位置の上方に配設されるとともに、複数の容器を保持する保持手段と、容器供給装置の全体を制御する容器供給用制御手段とを備え、容器供給用制御手段は、パレットの配置位置にパレットを配置したときに、保持手段に保持された複数の容器をパレットの上面に向かって供給させることによって、このパレットの上面に形成された複数の収容部のそれぞれに容器を供給し、収容部検出手段は、保持手段に保持された複数の容器をパレットの上面に向かって供給させた後、供給用収容部のうち、容器を供給されていない空の供給用収容部と、予備用収容部のうち、容器を供給されている予備用収容部とを検出することを特徴とする。
このような構成によれば、容器供給装置は、収容部検出手段の検出結果に基づいて、予備用収容部に供給されている容器を空の供給用収容部に補充する容器補充手段を備えているので、パレットの供給用収容部に容器を確実に供給することができ、製造効率を向上させることができる。また、容器補充手段は、予備用収容部に供給されている容器を空の供給用収容部に補充するので、予備用収容部から供給用収容部まで容器を移動させればよく、例えば、パレットの外部から供給用収容部まで容器を移動させる場合と比較して、移動距離を短くすることができ、ひいては容器供給装置の製造効率を向上させることができる。
また、容器供給用制御手段は、パレットの配置位置にパレットを配置したときに、保持手段に保持された複数の容器をパレットの上面に向かって供給させることによって、パレットの上面に形成された複数の収容部のそれぞれに容器を供給するので、パレットの上面に落下した複数の容器は、転動しながらパレットの各収容部に入り込んでいくことになる。また、収容部検出手段は、保持手段に保持された複数の容器をパレットの上面に向かって供給させた後、供給用収容部のうち、容器を供給されていない空の供給用収容部と、予備用収容部のうち、容器を供給されている予備用収容部とを検出するので、容器供給装置は、パレットの供給用収容部に容器を確実に供給することができ、製造効率を向上させることができる。
本発明では、容器補充手段にて容器を空の供給用収容部に補充した後、供給用収容部に収容された容器を容器供給装置とは異なる他の装置に移載し、パレット搬送手段にて3以上の奇数個のパレットを循環させることによって、パレットの配置位置に2枚のパレットを配置し、容器供給用制御手段は、パレットの配置位置に2枚のパレットを配置したときに、保持手段に保持された複数の容器をパレットの上面に向かって供給させることによって、このパレットの上面に形成された複数の収容部のそれぞれに容器を供給することが好ましい。
このような構成によれば、容器供給装置は、パレット搬送手段にて3以上の奇数個のパレットを循環させることによって、パレットの配置位置に2枚のパレットを配置するので、パレット搬送手段にて循環させている1枚のパレットに着目すると、このパレットは、ひと回りごと交互に入れ替わりながら2枚分のパレットの配置位置に配置されていくことになる。したがって、容器供給装置は、例えば、一方のパレットの配置位置と、他方のパレットの配置位置とを比較した場合に、容器の供給効率に差があるような場合であっても容器の供給効率の差を均すことができ、製造効率を向上させることができる。
本発明では、パレットは、行方向および列方向に沿って格子点状に配列された複数の収容部を備え、収容部検出手段は、パレットの収容部を行方向および列方向のいずれかに沿って2つの領域に分割することによって、供給用収容部および予備用収容部に区分けることが好ましい。
このような構成によれば、供給用収容部および予備用収容部のそれぞれは、行方向および列方向に沿って格子点状に配列されることになるので、容器供給装置は、例えば、容器補充手段にて容器を空の供給用収容部に補充した後、供給用収容部に収容された容器を容器供給装置とは異なる他の装置に移載する場合には、供給用収容部に収容された容器を纏めて取り扱うことができ、容器供給装置を含む製造装置全体の製造効率を向上させることができる。
本発明では、パレット搬送手段の上流側に設けられた第1の容器補充手段と、パレット搬送手段の下流側に設けられた第2の容器補充手段とを備え、第1の容器補充手段および第2の容器補充手段は、収容部検出手段の検出結果に基づいて、互いに分担して容器を空の供給用収容部に補充することが好ましい。
このような構成によれば、第1の容器補充手段および第2の容器補充手段は、収容部検出手段の検出結果に基づいて、互いに分担して容器を空の供給用収容部に補充するので、例えば、第1の容器補充手段にて空の供給用収容部の半分に容器を補充し、第2の容器補充手段にて空の供給用収容部の残り半分に容器を補充することによって、パレットの供給用収容部に効率よく容器を供給することができる。換言すれば、容器供給装置は、パレット搬送手段にてパレットを搬送する速度を速くすることができ、製造効率を更に向上させることができる。
カプセルを示す斜視図 カプセルの製造装置を示す図 メインコンベアに用いられるメインパレットの上面図 メインコンベアを示す図 本発明の一実施形態に係る容器供給装置に用いられるダミーパレットの上面図および断面図 ダミーパレットに容器を供給する容器供給装置の上面図 容器供給装置の側面図 容器供給用ホッパーの近傍を拡大した側面図 容器供給用ホッパーの近傍を拡大した上面図 容器供給用ホッパーを更に拡大して見た図 ダミーパレットの収容部と、ガイド部材との関係を示す図 容器貯留槽および容器搬送手段を示す側面図 容器供給装置の容器供給用配置台の周辺を上方から見た状態を示す模式図 上流側パレットコンベアの周辺を示す拡大図 下流側パレットコンベアの周辺を示す拡大図 容器供給装置の容器補充機構の上面図および側面図 姿勢修正手段を側方から見た状態を示す模式図 姿勢修正手段にて容器の姿勢を修正している状態を示す図 CCDカメラにて検出されるダミーパレットの収容部の状態を示す図 予備用収容部に供給されている容器を空の供給用収容部に補充している状態を示す図 仮置台の仮置部に収容されている容器を空の供給用収容部に補充している状態を示す図 容器供給装置の概略構成を示す機能ブロック図 バケットの内部に複数の容器を投入している状態を示す図 バケットを上昇させた状態を示す図 ガイド部材を容器保持位置に回動させた状態を示す図 容器供給用ホッパーの本体部をレール部材に沿って移動させた状態を示す図 ダミーパレットをダミーパレットの搬出待機位置から搬送した状態を示す模式図 ダミーパレットを容器供給用配置台に向かって押し出した状態を示す模式図 ダミーパレットを容器供給用配置台から引き出した状態を示す模式図 空の供給用収容部の数が8個である場合に容器を第1のアームロボットにて空の供給用収容部に補充している状態を示す図 空の供給用収容部の数が8個である場合に容器を第2のアームロボットにて空の供給用収容部に補充している状態を示す図 空の供給用収容部の数が10個である場合に容器を第1のアームロボットにて仮置台の仮置部に仮置きしている状態を示す図 空の供給用収容部の数が10個である場合に容器を第2のアームロボットにて仮置台の仮置部に仮置きしている状態を示す図 容器供給装置にて実行される容器搬送供給処理のフローチャートを示す図 容器供給装置にて実行されるパレット搬送処理のフローチャートを示す図 容器供給装置にて実行される容器補充処理のフローチャートを示す図 容器クリーニング装置の上面図および側面図 容器移載装置の上面図および側面図 循環パレットコンベアの上面図および側面図 清掃用ヘッドを下降させた状態を示す側面図 清掃用ヘッドをスライドさせた状態を示す側面図 充填装置の上面図 充填装置の側面図 計量充填機構および充填用ホッパーの断面模式図 計量ユニットのシャッタを閉じた状態を示す図 計量板の計量穴に粉粒体を充填している状態を示す図 容器に粉粒体を充填している状態を示す図 充填チェック装置を示す模式図 フィルム供給装置、フィルムダイカット装置、およびフィルム移載装置の側面図 フィルム供給装置、フィルムダイカット装置、およびフィルム移載装置の上面図 フィルムダイカット装置にてカットしたフィルムを示す図 吸引ヘッドの要部を示す断面図 シール装置の側面図 フィルム分離装置の側面図 折り曲げプレートの貫通孔を示す拡大断面図 フィルム分離装置の上面図 カプセル移載機構の移載ヘッドの形状を示す模式図 スクラップ排出装置の側面図 スクラップ保持台の外観を示す斜視図 カプセル仕分装置の上面図 カプセルおよびケースを示す斜視図 ケースを保持するケース用台座を示す斜視図 ケース搬送コンベアの上面図 ケース用振動手段を側面側から見た模式図 カプセル仕分装置の側面図 カプセル仕分装置の概略構成を示す機能ブロック図 カプセル仕分処理のフローチャートを示す図 第1収納判定部にてケースにカプセルを収納したと判定した状態を示す図 ケース搬送コンベアにて第1のケースを搬出している状態を示す図 第1のケースを第2レーンから第3レーンに移載している状態を示す図 第2収納判定部にてケースにカプセルを収納したと判定した状態を示す図 ケース搬送コンベアにて第2のケースを搬出している状態を示す図 第1のケースおよび第2のケースを第2レーンから第3レーンに移載している状態を示す図
以下、本発明の一実施形態を図面に基づいて説明する。
本発明の一実施形態に係る容器供給装置を適用するカプセルの製造装置は、内容物としての粉粒体を容器に充填し、この容器の開口にフィルム状の蓋材を貼り付けることによって、粉粒体を容器に密封したカプセルを製造する装置である。
以下、カプセルの製造装置の各構成要素について順に説明し、本発明の一実施形態に係る容器供給装置については後に詳細に説明する。まず、前述したカプセルについて説明する。
なお、本実施形態では、カプセルの製造装置は、粉粒体を容器に充填しているが、粉体や液体などの他の内容物を容器に充填するように構成してもよい。
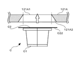
図1は、カプセルを示す斜視図である。
カプセルCは、図1に示すように、粉粒体Pを充填する容器C1と、この容器C1の開口部に貼り付けることによって、粉粒体Pを密封するフィルム状の蓋材C2とを備えている。
容器C1は、有底筒状に形成されるとともに、頂部から底部に向かうにしたがって僅かに縮径するように形成された断面六角形状の胴体C11と、頂部に形成されたフランジC12とを有している。
蓋材C2は、容器C1の開口部を覆う六角形状の基部C21と、この基部C21の対向する2辺のそれぞれに形成された矩形状の耳部C22とを有している。
なお、本実施形態では、容器C1は、断面六角形状の胴体C11を有しているが、断面四角形状などの他の断面形状の胴体を有していてもよい。また、容器C1は、フランジC12を有しているが、これを有していなくてもよい。さらに、蓋材C2は、矩形状の2つの耳部C22を有しているが、1つ、または3つ以上の耳部を有していてもよく、耳部を有していなくてもよい。要するに、本発明では、容器および蓋材は、どのような形状であってもよい。
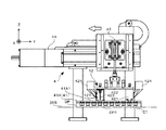
図2は、カプセルの製造装置を示す図である。具体的には、図2は、カプセルの製造装置1を鉛直上方側から見た模式図である。なお、図2では、鉛直上方向を+Z軸方向とし、このZ軸と直交する2軸をX,Y軸として説明する。以下の図面においても同様である。
カプセルの製造装置1は、図2に示すように、複数の容器C1を収容したメインパレットMPを所定方向(+X軸方向)に搬送することによって、複数の容器C1を搬送するメインコンベア2を備えている。
また、カプセルの製造装置1は、容器供給装置3と、容器クリーニング装置4と、容器移載装置5と、充填装置6と、充填チェック装置7と、フィルム供給装置8と、フィルムダイカット装置9と、フィルム移載装置10と、シール装置11と、フィルム分離装置12と、スクラップ排出装置13と、カプセル仕分装置14とを備え、これらの装置は、メインコンベア2の上流側から下流側に向かって配設されている。
なお、メインコンベア2および各装置3〜14は、ガラス板を嵌め込まれたフレームFLにて密閉された領域の内部に収納されている。作業者は、メインコンベア2および各装置3〜14の近傍にそれぞれ配設された扉を開くことによって、メインコンベア2および各装置3〜14のメンテナンス等を実施できる。
容器供給装置3は、メインパレットMPと略同様の形状に形成されたダミーパレットDPに複数の容器C1を供給する。この容器供給装置3およびダミーパレットDPについては後に詳述する。
容器クリーニング装置4は、容器供給装置3にてダミーパレットDPに供給された複数の容器C1を清掃することによって、容器C1に付着している粉塵などの異物を除去する。この容器クリーニング装置4については後に詳述する。
容器移載装置5は、容器供給装置3にてダミーパレットDPに供給された複数の容器C1を移載してメインパレットMPに収容する。この容器移載装置5にて複数の容器C1を移載されたメインパレットMPは、メインコンベア2にて搬送される。
充填装置6は、メインコンベア2にて搬送されてきたメインパレットMPに収容された容器C1に粉粒体Pを充填する。
充填チェック装置7は、充填装置6にて容器C1に粉粒体Pが充填されたか否かを確認する。
フィルム供給装置8は、フィルムダイカット装置9に蓋材C2を切り出すためのフィルムを供給する。
フィルムダイカット装置9は、フィルム供給装置8にて供給されたフィルムに蓋材C2を切り出すためのミシン目を形成するとともに、このフィルムをメインパレットMPと対応する大きさに切断する。
フィルム移載装置10は、フィルムダイカット装置9にて切断されたフィルムをメインコンベア2にて搬送されてきたメインパレットMPに移載する。このとき、フィルム移載装置10は、フィルムに形成された蓋材C2の位置と、メインパレットMPに収容された容器C1の開口部の位置とを合せるようにしてフィルムを移載する。
シール装置11は、フィルム移載装置10にてメインパレットMPに移載されたフィルムに形成された蓋材C2と、メインパレットMPに収容された容器C1の開口部とをシールして接着することによって、カプセルCに粉粒体Pを密封する。
フィルム分離装置12は、フィルムに形成された蓋材C2と、メインパレットMPに収容された容器C1の開口部とをシール装置11にてシールして接着した後、フィルムから蓋材C2を分離する。
スクラップ排出装置13は、フィルム分離装置12にて蓋材C2を分離した後の残ったフィルム(スクラップ)をメインパレットMPから回収して排出する。
カプセル仕分装置14は、フィルム分離装置12にて蓋材C2を分離した後のカプセルCをメインパレットMPから取り出し、所定の個数ごとに仕分けてケースに収納する。
このように、カプセルの製造装置1は、複数個のカプセルCを一単位としてメインパレットMPごとに間欠的に製造している。
以下、カプセルの製造装置1を構成する各装置について順に説明する。
〔メインコンベア〕
図3は、メインコンベアに用いられるメインパレットの上面図である。
メインコンベア2は、複数の容器C1を収容したメインパレットMPを所定方向(+X軸方向)に搬送することによって、複数の容器C1を搬送する。まず、このメインコンベア2に用いられるメインパレットMPについて説明する。
メインパレットMPは、図3に示すように、矩形板状に形成された金属製のパレットである。このメインパレットMPは、上下面を貫通して形成されるとともに、容器C1を上面側から挿入して収容する複数の断面六角形状の収容部MP1を有している。換言すれば、収容部MP1は、容器C1の胴体C11と同様の断面形状に形成された穴であり、1つの容器C1を内部に収容することができる。
具体的には、メインパレットMPは、長手方向(行方向)に沿って等間隔に10個の収容部MP1を配列しているとともに、短手方向(列方向)に沿って等間隔に5個の収容部MP1を配列している。換言すれば、メインパレットMPは、格子点状に50個の収容部MP1を有している。
なお、本実施形態では、メインパレットMPは、格子点状に50個の収容部MP1を有しているが、50とは異なる2以上の個数の収容部を有していればよい。また、本実施形態では、収容部は、格子点状に配列されているが、格子点状に配列していなくてもよく、その並び方は規則性を有していなくてもよい。
ここで、容器C1の胴体C11の外径は、収容部MP1の内径よりも僅かに小さく形成されている。また、容器C1のフランジC12の外径は、収容部MP1の内径よりも僅かに大きく形成されている。
したがって、メインパレットMPの収容部MP1の内部に容器C1を収容すると、フランジC12は収容部MP1の外部に突出し、胴体C11は収容部MP1の内部に収容される。換言すれば、容器C1は、頂部を鉛直上方側に位置させるとともに、底部を鉛直下方側に位置させた一定の姿勢を取るようにして収容部MP1に収容され、これとは逆の姿勢を取るようにして収容部MP1に収容されることはない。
そして、前述したように、容器C1は、有底筒状に形成されるとともに、頂部から底部に向かうにしたがって僅かに縮径するように形成された断面六角形状の胴体C11を有しているので、収容部MP1に入り込みやすくなっている。
また、メインパレットMPは、長手方向の端部のそれぞれに形成されるとともに、上方に向かって突出する2つの円柱状のピンMP2と、図3左下側および図3右上側の端部のそれぞれに上下面を貫通して形成された2つの断面円形の貫通孔MP3と、−X軸方向側の側面に貼り付けられた2つの円盤状のウレタンゴムMP4とを有している。これらの部位については後に詳述する。
図4は、メインコンベアを示す図である。具体的には、図4は、メインコンベア2を鉛直上方側から見た模式図である。
メインコンベア2は、図4に示すように、複数の容器C1を収容したメインパレットMPを所定方向(+X軸方向)に搬送することによって、複数の容器C1を搬送する往路用コンベア21と、往路用コンベア21と平行に配設されるとともに、複数の容器C1を回収したメインパレットMPを所定方向と反対方向(−X軸方向)に搬送することによって、メインパレットMPを往路用コンベア21の上流側に搬送する復路用コンベア22とを備えている。
往路用コンベア21は、メインパレットMPの長手方向の両端部にそれぞれ当接するように設けられた複数のローラ21Aと、各ローラ21Aを回転させるモータ21Bとを備えている。この往路用コンベア21は、モータ21Bにて各ローラ21Aを回転させることによって、各ローラ21Aに載置されたメインパレットMPを+X軸方向に搬送する。
復路用コンベア22は、メインパレットMPの長手方向の両端部にそれぞれ当接するように設けられた複数のローラ22Aと、各ローラ22Aを回転させるモータ22Bとを備えている。この復路用コンベア22は、モータ22Bにて各ローラ22Aを回転させることによって、各ローラ22Aに載置されたメインパレットMPを−X軸方向に搬送する。
また、復路用コンベア22は、メインパレットMPを搬送する途中に設けられるとともに、メインパレットMPを清掃するパレット清掃機構22Cを備えている。このパレット清掃機構22Cは、メインパレットMPを挟むようにしてメインパレットMPの鉛直上方側および鉛直下方側の2箇所にそれぞれ設けられたパレット清掃用吸引機22C1(鉛直上方側のパレット清掃用吸引機22C1のみ図示)と、各パレット清掃用吸引機22C1の内部に取り付けられるとともに、モータ(図示略)にて回転させられることによって、メインパレットMPの上面および下面に付着した粉粒体Pや異物などを擦り落とすブラシ(図示略)とを備えている。そして、パレット清掃機構22Cは、復路用コンベア22にて搬送されてきたメインパレットMPの上面および下面に付着した粉粒体Pや異物などをブラシにて擦り落とし、各パレット清掃用吸引機22C1にて吸引して除去することによって、メインパレットMPを清掃する。
また、メインコンベア2は、復路用コンベア22にて往路用コンベア21の上流側に搬送されてきたメインパレットMPを往路用コンベア21に送り出す往路用送出機構23と、往路用コンベア21にて復路用コンベア22の上流側に搬送されてきたメインパレットMPを復路用コンベア22に送り出す復路用送出機構24とを備えている。
往路用送出機構23は、X軸まわりに回転自在に設けられるとともに、メインパレットMPの中央部に当接するように設けられた複数のローラ23Aと、メインパレットMPの+Y軸方向側の側面に当接する送出用プレート23Bと、送出用プレート23BをY軸方向に沿って移動させる移動機構23Cと、メインパレットMPを搬送する途中に設けられた容器検出手段23Dと、往路用送出機構23の終点位置に設けられた静電気除去手段23Eとを備えている。この往路用送出機構23は、移動機構23Cにて送出用プレート23Bを−Y軸方向に移動させることによって、各ローラ23Aに載置されたメインパレットMPを往路用コンベア21に送り出す。
容器検出手段23Dは、メインパレットMPの短手方向に沿って設けられるとともに、メインパレットMPの収容部MP1に収容された容器C1の有無を検する5つのセンサ23D1を備えている。各センサ23D1は、メインパレットMPの収容部MP1に収容された容器C1の鉛直上方に配設されるとともに、メインパレットMPの収容部MP1に収容された各列の容器C1と対応する位置に配設されている。なお、本実施形態では、各センサ23D1は、透過型のレーザセンサを採用している。
静電気除去手段23Eは、往路用送出機構23にて往路用コンベア21に送り出されたメインパレットMPの鉛直上方に配設されるとともに、このメインパレットMPに収容された複数の容器C1の静電気を除去する。なお、本実施形態では、静電気除去手段23Eは、ブロアタイプの静電気除去装置を採用している。
復路用送出機構24は、X軸まわりに回転自在に設けられるとともに、メインパレットMPの中央部に当接するように設けられた複数のローラ24Aと、メインパレットMPの−Y軸方向側の側面に当接する送出用プレート24Bと、送出用プレート24BをY軸方向に沿って移動させる移動機構24Cとを備えている。この復路用送出機構24は、移動機構24Cにて送出用プレート24Bを+Y軸方向に移動させることによって、各ローラ24Aに載置されたメインパレットMPを復路用コンベア22に送り出す。
したがって、メインコンベア2は、メインパレットMPを往路用コンベア21にて+X軸方向に搬送した後、復路用送出機構24にて復路用コンベア22に送り出し、復路用コンベア22にて−X軸方向に搬送した後、往路用送出機構23にて往路用コンベア21に再び送り出すので、メインパレットMPをZ軸まわりに回転させるように巡回させて搬送する。
〔容器供給装置〕
本発明の容器供給装置3は、ダミーパレットDP(パレット)の収容部に容器C1を確実に供給することができ、製造効率を向上させることができる。
以下、本発明の一実施形態に係る容器供給装置3について説明する。
図5は、本発明の一実施形態に係る容器供給装置に用いられるダミーパレットの上面図および断面図である。具体的には、図5(A)は、ダミーパレットDPの上面図であり、図5(B)は、ダミーパレットDPを長手方向に沿って切断したAA断面図である。
容器供給装置3は、ダミーパレットDPに容器C1を供給する装置である。まず、この容器供給装置3に用いられるダミーパレットDPについて説明する。
ダミーパレットDPは、図5に示すように、四隅を面取りした矩形板状に形成された樹脂製のベースDPBと、ベースDPBの上面にネジ留めされて取り付けられたステンレス鋼製のプレートDPLとを有している。また、このプレートDPLの上面には、表面を滑らかにするための表面処理を施している。したがって、本実施形態では、ダミーパレットDPの上面には、表面を滑らかにするための表面処理が施されている。
ここで、表面を滑らかにするための表面処理としては、例えば、ニダックス(登録商標)処理を採用することができるが、表面を滑らかにするための表面処理であれば、これ以外の処理を採用してもよい。
なお、本実施形態では、ダミーパレットDPの上面には、表面を滑らかにするための表面処理が施されているが、表面処理が施されていなくてもよい。
ベースDPBは、上下面を貫通して形成されるとともに、容器C1を上面側から挿入して収容する複数の断面六角形状の収容部DP1を有している。換言すれば、収容部DP1は、容器C1の胴体C11と同様の断面形状に形成された穴であり、1つの容器C1を内部に収容することができる。
具体的には、ベースDPBは、長手方向(行方向)に沿って等間隔に10個の収容部DP1を配列しているとともに、短手方向(列方向)に沿って等間隔に6個の収容部DP1を配列している。換言すれば、ベースDPBは、格子点状に60個の収容部DP1を有している。
なお、本実施形態では、ベースDPBは、格子点状に60個の収容部DP1を有しているが、60とは異なる2以上の個数の収容部を有していればよい。また、本実施形態では、収容部は、格子点状に配列されているが、格子点状に配列していなくてもよく、その並び方は規則性を有していなくてもよい。
ここで、容器C1の胴体C11の外径は、収容部DP1の内径よりも僅かに小さく形成されている。また、容器C1のフランジC12の外径は、収容部DP1の内径よりも僅かに大きく形成されている。
したがって、ベースDPBの収容部DP1の内部に容器C1を収容すると、フランジC12は収容部DP1の外部に突出し、胴体C11は収容部DP1の内部に収容される。換言すれば、容器C1は、頂部を鉛直上方側に位置させるとともに、底部を鉛直下方側に位置させた一定の姿勢を取るようにして収容部DP1に収容され、これとは逆の姿勢を取るようにして収容部DP1に収容されることはない。
また、前述したように、容器C1は、有底筒状に形成されるとともに、頂部から底部に向かうにしたがって僅かに縮径するように形成された断面六角形状の胴体C11を有しているので、収容部DP1に入り込みやすくなっている。
プレートDPLは、ベースDPBの収容部DP1と対応する位置にそれぞれ形成された断面円形状の貫通孔DP2を有している。各貫通孔DP2は、ダミーパレットDPの下面側から上面側に向かうにしたがって拡径するように形成されている。
したがって、ダミーパレットDPの収容部DP1は、貫通孔DP2を備え、この貫通孔DP2は、ダミーパレットDPの上面側に向かうにしたがって拡開する拡開部として機能する。
なお、本実施形態では、ダミーパレットDPの収容部DP1は、貫通孔DP2を備え、この貫通孔DP2は、ダミーパレットDPの下面側から上面側に向かうにしたがって拡径するように形成されているが、拡径するように形成されていなくてもよい。
また、ダミーパレットDPは、長手方向の端部のそれぞれに形成されるとともに、ベースDPBおよびプレートDPLの上下面を貫通する2つの断面円形状の貫通孔DP3を有している。これらの部位については後に詳述する。
図6は、ダミーパレットに容器を供給する容器供給装置の上面図である。具体的には、図6は、+Z軸方向側から容器供給装置3を見た図である。
容器供給装置3は、図6に示すように、X軸方向に沿って互いに平行となるように配設されるとともに、ダミーパレットDPの上面に形成された複数の収容部DP1のそれぞれに容器C1を供給する2つの容器供給機構3A,3Bと、容器供給機構3A,3Bを囲むように配設されるとともに、ダミーパレットDPを容器供給機構3A,3Bに対して搬入・搬出するパレット搬送手段36と、容器供給機構3A,3Bにて容器C1を供給できなかった収容部DP1に容器C1を補充する容器補充機構37とを備えている。
図7は、容器供給装置の側面図である。具体的には、図7は、−Y軸方向側から容器供給装置3を見た図である。
容器供給機構3A,3Bは、同一の構成を備え、図7に示すように、ダミーパレットDPを配置するための容器供給用配置台31と、この容器供給用配置台31を振動させることによって、ダミーパレットDPを振動させるパレット振動手段としての小型電磁フィーダ32と、容器供給用配置台31(ダミーパレットDPの配置位置)の上方に配設されるとともに、複数の容器C1を保持する容器供給用ホッパー33とを備えている。
なお、以下の説明では、容器供給機構3Aの容器供給用配置台31を容器供給用配置台31Aとし、小型電磁フィーダ32を小型電磁フィーダ32Aとし、容器供給用ホッパー33を容器供給用ホッパー33Aとする。また、容器供給機構3Bの容器供給用配置台31を容器供給用配置台31Bとし、小型電磁フィーダ32を小型電磁フィーダ32Bとし、容器供給用ホッパー33を容器供給用ホッパー33Bとする。
また、容器供給機構3A,3Bは、容器供給用ホッパー33の下方に設けられるとともに、複数の容器C1を貯留する貯留手段としての容器貯留槽34と、容器貯留槽34に貯留された複数の容器C1を搬送することによって、容器供給用ホッパー33に保持させる容器搬送手段35とを備えている。
なお、本実施形態では、パレット振動手段として小型電磁フィーダ32を採用しているが、電磁式とは異なる他の方式の振動発生器を採用してもよい。要するに、本発明では、パレット振動手段は、ダミーパレットを振動させることができればよい。
図8は、容器供給用ホッパーの近傍を拡大した側面図である。図9は、容器供給用ホッパーの近傍を拡大した上面図である。具体的には、図8は、−Y軸方向側から容器供給用ホッパー33の近傍を拡大して見た図であり、図9は、+Z軸方向側から容器供給用ホッパー33の近傍を拡大して見た図である。
容器供給用配置台31は、図8に示すように、容器貯留槽34側(紙面左側)に向かうにしたがって下降するように傾斜し、2枚のダミーパレットDPを短手方向に沿って配置する。
具体的には、各ダミーパレットDPは、紙面表裏方向を長手方向とし、紙面左右方向を短手方向として容器供給用配置台31に配置される。
なお、本実施形態では、容器供給用配置台31は、2枚のダミーパレットDPを配置するように構成されているが、1枚のダミーパレットDPを配置するように構成されていてもよく、3枚以上の複数のダミーパレットDPを配置するように構成されていてもよい。
ここで、容器供給用配置台31Aおよび容器供給用配置台31Bは、図9に示すように、Y軸方向に沿って隣接して設けられている。換言すれば、第1の領域としての容器供給用配置台31Aに配置されたダミーパレットDPと、第2の領域としての容器供給用配置台31Bに配置されたダミーパレットDPとは、容器供給用配置台31Aおよび容器供給用配置台31Bの隣接方向に沿って隣接して配置されている。
なお、本実施形態では、隣接とは、2つの部材が隣り合う状態を言うものとし、2つの部材が当接していない状態を含むものとする。また、隣接方向とは、2つの部材が隣り合う方向を言うものとする。したがって、容器供給用配置台31Aおよび容器供給用配置台31Bの隣接方向はY軸方向となる。
また、本実施形態では、容器供給用ホッパー33Aは、容器供給用配置台31Aの上方に配設されるとともに、複数の容器C1を保持する第1の保持手段として機能する。また、本実施形態では、容器供給用ホッパー33Bは、容器供給用配置台31Bの上方に配設されるとともに、複数の容器C1を保持する第2の保持手段として機能する。
また、容器供給装置3は、容器供給用配置台31Aに配置されたダミーパレットDPと、容器供給用配置台31Bに配置されたダミーパレットDPとの間に昇降自在に設けられることによって、複数の容器C1の移動を規制する規制手段としての仕切り板3Cを備えている。
仕切り板3Cは、ダミーパレットDPの上面に形成された複数の収容部DP1のそれぞれに容器C1を供給するときに下降し、容器供給用配置台31Aおよび容器供給用配置台31Bのそれぞれに配置されたダミーパレットDPの端部に当接して複数の容器C1の移動を規制する。また、仕切り板3Cは、ダミーパレットDPを容器供給機構3A,3Bに対して搬入・搬出するときに上昇し、容器供給用配置台31Aおよび容器供給用配置台31Bのそれぞれに配置されたダミーパレットDPの端部から離間する。
小型電磁フィーダ32は、図8に示すように、容器供給用配置台31の下方に配設されるとともに、容器供給用配置台31に配置された2枚のダミーパレットDPを振動させる。
容器供給用ホッパー33は、容器供給用配置台31に配置されたダミーパレットDPの短手方向と平行に配設されるとともに、容器供給用配置台31の傾斜と同様に傾斜して容器供給用配置台31の上方に配設されたレール部材33Rに取り付けられている。この容器供給用ホッパー33は、複数の容器C1を容器供給用配置台31に配置されたダミーパレットDPに向かって落下させる。
レール部材33Rは、図8および図9に示すように、容器供給用配置台31Aおよび容器供給用配置台31Bのそれぞれに配置された2枚のダミーパレットDPの長手方向の両側にそれぞれ設けられている。また、レール部材33Rは、上端部(紙面右側端部)に取り付けられるとともに、容器供給用配置台31に配置されたダミーパレットDPの上面に沿って容器貯留槽34側に空気を吐出するコンプレッサ33Cを備えている。
コンプレッサ33Cは、図9に示すように、容器供給用配置台31Aに配置されたダミーパレットDPの上面に沿って容器貯留槽34側(紙面左側)に空気を吐出することによって、複数の容器C1を容器貯留槽34に落下させる第1の空気吐出部としてのコンプレッサ33CAと、容器供給用配置台31Bに配置されたダミーパレットDPの上面に沿って容器貯留槽34側(紙面左側)に空気を吐出することによって、複数の容器C1を容器貯留槽34に落下させる第2の空気吐出部としてのコンプレッサ33CBとを備えている。ここで、コンプレッサ33CBにて吐出される空気は、コンプレッサ33CAにて吐出される空気よりも弱くなるように設定されている。
コンプレッサ33CAおよびコンプレッサ33CBは、ダミーパレットDPの上面に沿って容器貯留槽34側に空気を吐出するように分岐した4つの吐出口33Dを有し、各吐出口33Dから吐出される空気の強さは、それぞれ調整可能に構成されている。
なお、本実施形態では、コンプレッサ33CAおよびコンプレッサ33CBは、4つの吐出口33Dを有しているが、これとは異なる数の吐出口を有していてもよい。また、本実施形態では、各吐出口33Dから吐出される空気の強さは、それぞれ調整可能に構成されているが、調整可能に構成されていなくてもよい。
図10は、容器供給用ホッパーを更に拡大して見た図である。
容器供給用ホッパー33は、図10に示すように、レール部材33Rに沿って進退自在に設けられたスライダ331と、スライダ331に取り付けられるとともに、複数の容器C1を保持する本体部332と、本体部332に取り付けられるガイド部材333とを備えている。
スライダ331は、レール部材33Rの上面を転動する車輪(図示略)を備え、その内部に設けられたモータ(図示略)の駆動力によって車輪を回転させてレール部材33Rに沿って移動し、本体部332は、このスライダ331の移動に伴ってレール部材33Rに沿って移動する。したがって、レール部材33Rおよびスライダ331は、容器供給用ホッパー33を所定方向(ダミーパレットDPの短手方向)に沿って移動させる容器供給用移動手段として機能する。
なお、本実施形態では、容器供給装置3は、容器供給用移動手段を備えているが、これを備えていなくてもよい。
本体部332は、底面を構成するホッパーコンベア332Aと、本体部332の紙面右側の側面を除く3つの側面を構成するカバー332Bとを備え、ホッパーコンベア332Aおよびカバー332Bにて形成される空間内に複数の容器C1を保持する。
ホッパーコンベア332Aは、本体部332に取り付けられたモータ332A1の駆動力によって搬送路を本体部332の上流側(紙面左側)から下流側(紙面右側)に向かって移動させる。これによって、本体部332に収容された複数の容器C1は、本体部332の上流側から下流側に向かって移動することになる。
ここで、カバー332Bは、本体部332の下流側の側面を構成していないので、ホッパーコンベア332Aの搬送路を本体部332の上流側から下流側に向かって移動させると、複数の容器C1は、ホッパーコンベア332Aにて搬送された後、本体部332の下流側から落下していくことになる。
ガイド部材333は、本体部332に紙面表裏方向の軸を中心として回動自在に取り付けられるとともに、本体部332に設けられたシリンダ(図示略)の駆動力によって回動する。具体的には、ガイド部材333は、先端を上方に位置させた容器保持位置(図中二点鎖線)と、先端を下方に位置させたガイド位置(図中実線)との2つの位置のいずれかに回動して停止する。
なお、本実施形態では、容器供給用ホッパー33は、ガイド部材333を備えているが、これを備えていなくてもよい。要するに、本発明では、保持手段は、複数の容器をダミーパレットの上面に向かって供給させることができればよい。
容器保持位置では、ガイド部材333は、先端側に向かうにしたがって上昇するように傾斜しているので、ホッパーコンベア332Aおよびカバー332Bと協働することによって有底筒状の空間を形成し、複数の容器C1を本体部332の下端側から落下させないようにする。換言すれば、ガイド部材333を容器保持位置に回動して停止させた状態では、ガイド部材333は、本体部332の下流側の側面を構成する。
ガイド位置では、ガイド部材333は、先端側に向かうにしたがって下降するように傾斜しているので、複数の容器C1は、ホッパーコンベア332Aにて搬送された後、ガイド部材333の上面を滑って本体部332の下流側から落下していくことになる。
なお、本実施形態では、ガイド部材333は、先端を上方に位置させた容器保持位置と、先端を下方に位置させたガイド位置との2つの位置のいずれかに回動して停止することができるように構成されているが、回動することができるように構成されていなくてもよい。この場合には、ガイド部材333は、ガイド位置に固定されていればよい。
図11は、ダミーパレットの収容部と、ガイド部材との関係を示す図である。具体的には、図11(A)は、ダミーパレットDPおよびガイド部材333を上方側から見た図であり、図11(B)は、図11(A)の紙面左右方向に沿ってガイド部材333を切断した断面を示す図である。また、図11(A)は、ガイド部材333をガイド位置に回動して停止させた状態を示す図である。
ガイド部材333は、図10および図11に示すように、本体部332に取り付けられた基端部からダミーパレットDP側の先端部に向かうにしたがって下降するように傾斜するレール状に形成された10個のレール部333Aを有し、各レール部333Aを一体的に形成して1つの部材としている。
各レール部333Aは、ダミーパレットDPの長手方向に沿って等間隔に配列された10個の収容部DP1と対応させて設けられている。また、各レール部333Aは、ダミーパレットDPの各収容部DP1の中心に向かって容器C1を滑らせて案内するV字状の溝部333A1を有している。具体的には、各レール部333Aは、ダミーパレットDPの短手方向と平行な方向に沿って設けられるとともに、その溝部333A1は、その最深部を収容部DP1の中心の鉛直上方に位置させるように形成されている(図中一点鎖線)。したがって、ガイド部材333は、ダミーパレットDPの収容部DP1の中心に向かって容器C1を落下させるようにガイドする。
なお、本実施形態では、ガイド部材333は、本体部332に取り付けられた基端部からダミーパレットDP側の先端部に向かうにしたがって下降するように傾斜するレール状に形成されるとともに、ダミーパレットDPの各収容部DP1の中心に向かって容器C1を滑らせて案内するV字状の溝部333A1を有しているが、例えば、トンネル状などの他の形状に形成されていてもよい。要するに、ガイド部材は、ダミーパレットの収容部の中心に向かって容器を落下させるようにガイドすればよい。
また、各レール部333Aは、容器C1を案内する方向に沿ってダミーパレットDP側の先端から突出して設けられるとともに、溝部333A1の両側に設けられる一対の突出片333A2を備えている。この一対の突出片333A2の間隔は、ダミーパレットDP側の先端に向かうにしたがって広くなっている。そして、その先端の間隔は、容器C1の胴体C11の外径よりも広く、容器C1のフランジC12の外径よりも狭くなっている。
なお、本実施形態では、一対の突出片333A2の間隔は、ダミーパレットDP側の先端に向かうにしたがって広くなっているが、基端から先端まで一定の間隔であってもよい。
また、本実施形態では、ガイド部材333は、一対の突出片333A2を備えているが、これを備えていなくてもよい。
図12は、容器貯留槽および容器搬送手段を示す側面図である。具体的には、図12は、容器貯留槽34および容器搬送手段35を−Y軸方向側から見た図である。
容器貯留槽34は、図12に示すように、容器C1を投入するために鉛直上方側に形成された開口を覆う貯留カバー341と、容器供給用ホッパー33にてダミーパレットDPの上面に落下させた複数の容器C1のうち、ダミーパレットDPの収容部DP1に収容されなかった複数の容器C1を回収する回収口342と、回収口342の下方に形成されるとともに、その内部に貯留している容器C1を搬出する搬出口343とを備えている。
容器搬送手段35は、容器貯留槽34の紙面右側に設けられるとともに、容器貯留槽34に貯留された複数の容器C1を搬送することによって、容器供給用ホッパー33に保持させるバケット機構351と、容器貯留槽34からバケット機構351まで複数の容器C1を搬送するベルトコンベア352とを備えている。
なお、本実施形態では、容器搬送手段35は、バケット機構351と、ベルトコンベア352とを備えているが、これとは異なる構成であってもよい。要するに、容器搬送手段は、貯留手段に貯留された複数の容器を搬送することによって、第1の保持手段および第2の保持手段に保持させることができればよい。
バケット機構351は、バケット351Aと、昇降機351Bと、保持用コンベア351Cとを備えている。
バケット351Aは、容器貯留槽34側に向かうにしたがって下降するように傾斜するとともに、開閉自在に構成された底面部351A1を有する有底角筒状に形成されている。バケット351Aは、この底面部351A1を閉塞することによって、その内部に複数の容器C1を格納し、この底面を開放することによって、その内部に格納された複数の容器C1を送出する。ここで、図12は、バケット351Aの底面部351A1を開放した状態を示している。
昇降機351Bは、バケット351Aを鉛直上下方向に沿って昇降させることによって、容器貯留槽34の高さ位置(具体的には、ベルトコンベア352の搬送路の上面よりもバケット351Aの上方側の開口が下になる位置)と、容器供給用ホッパー33の高さ位置との間を往復する。ここで、図12は、昇降機351Bにてバケット351Aを容器供給用ホッパー33の高さ位置に上昇させた状態を示している。
保持用コンベア351Cは、バケット351Aにて送出された複数の容器C1を搬送路351C1に載置し、この搬送路351C1をモータ351C2にて上流側(紙面右側)から下流側(紙面左側)に向かって移動させて複数の容器C1を搬送することによって、容器供給用ホッパー33に保持させる。具体的には、搬送路351C1に載置された複数の容器C1は、保持用コンベア351Cの下流側から容器供給用ホッパー33に向かって落下する。
なお、本実施形態では、バケット機構351は、保持用コンベア351Cを備え、この保持用コンベア351Cは、複数の容器C1を搬送することによって、容器供給用ホッパー33に保持させていた。これに対して、バケット機構351は、例えば、複数の容器C1を押し出す等の他の機構によって、容器供給用ホッパー33に保持させてもよい。
また、保持用コンベア351Cは、搬送路351C1の鉛直上方側に所定の間隔を隔てて設けられた矩形板状のゲート351C3を備えている。このゲート351C3は、搬送路351C1の全幅にわたって配設されている。換言すれば、保持用コンベア351Cは、複数の容器C1を導入する所定面積の入口を有している。
なお、本実施形態では、保持用コンベア351Cは、矩形板状のゲート351C3を備えているが、これを有していなくてもよい。
ゲート351C3は、その上方側の端部にY軸方向に沿ってピン351C4を挿入することによって、保持用コンベア351Cに取り付けられているので、Y軸まわりに搖動自在となっている。したがって、ゲート351C3は、複数の容器C1の通過に際し、その下端を搖動させることができる。
なお、本実施形態では、ゲート351C3は、複数の容器C1の通過に際し、その下端を搖動させることができるように保持用コンベア351Cに取り付けられているが、その下端を搖動させることができるように取り付けられていなくてもよい。
図13は、容器供給装置の容器供給用配置台の周辺を上方から見た状態を示す模式図である。具体的には、図13は、容器供給装置の容器供給用配置台31A,31Bの周辺を+Z軸方向側から見た状態を模式的に示す図である。
容器供給装置3は、図13に示すように、ダミーパレットDPを搬送することによって、容器供給用配置台31に対して搬入・搬出する前述のパレット搬送手段36を備えている。このパレット搬送手段36は、容器供給用配置台31の+Y軸方向側に配設された上流側パレットコンベア361およびプッシャー362と、容器供給用配置台31の−Y軸方向側に配設されたプラー363および下流側パレットコンベア364と、容器供給用配置台31の+X軸方向側に配設された循環パレットコンベア365とを備えている。
上流側パレットコンベア361は、容器供給用配置台31Aと隣り合って+Y軸方向側に設けられたダミーパレットDPの搬入待機位置W1にダミーパレットDPを搬送する。
プッシャー362は、上流側パレットコンベア361にてダミーパレットDPの搬入待機位置W1に搬送されたダミーパレットDPを容器供給用配置台31Aに向かって押し出す。
プラー363は、容器供給用配置台31Bと隣り合って−Y軸方向側に設けられたダミーパレットDPの搬出待機位置W2まで容器供給用配置台31Bに配置された2枚のダミーパレットDPを引き出す。
下流側パレットコンベア364は、ダミーパレットDPの搬出待機位置W2から循環パレットコンベア365にダミーパレットDPを搬送する。
循環パレットコンベア365は、下流側パレットコンベア364の終点位置に到着したダミーパレットDPを上流側パレットコンベア361の始点位置まで搬送することによって、ダミーパレットDPを循環させる。
なお、パレット搬送手段36は、上流側パレットコンベア361と、プッシャー362と、プラー363と、下流側パレットコンベア364と、循環パレットコンベア365とを備えた前述の構成とは異なる構成であってもよい。例えば、パレット搬送手段は、作業者の手作業によって、ダミーパレットを搬送してもよい。要するに、パレット搬送手段は、ダミーパレットを所定方向に沿って搬送することができればよい。
図14は、上流側パレットコンベアの周辺を示す拡大図である。具体的には、図14(A)は、上流側パレットコンベア361の周辺を+Z軸方向側から見た図であり、図14(B)は、上流側パレットコンベア361の周辺を+Y軸方向側から見た図である。
上流側パレットコンベア361は、図13および図14に示すように、ダミーパレットDPの搬入待機位置W1に向かって(−X軸方向に向かって)移動する搬送路361Aと、搬送路361Aの移動方向と平行に設けられるとともに、搬送路361Aの両側に設けられた一対のガイドレール361Bとを備えている。この一対のガイドレール361Bの間隔は、ダミーパレットDPの長手方向の長さよりも僅かに長く設定されている。ここで、ダミーパレットDPの搬入待機位置W1では、搬送路361Aは、容器供給用配置台31と同様に傾斜している(図14(B)参照)。
プッシャー362は、図14に示すように、ダミーパレットDPの側面に当接する当接部362Aと、当接部362AをY軸方向に沿って進退させる進退機構362Bとを備えている。このプッシャー362は、進退機構362Bにて当接部362Aを−Y軸方向側に向かって進出させることによって、上流側パレットコンベア361にてダミーパレットDPの搬入待機位置W1に搬送されたダミーパレットDPを容器供給用配置台31Aに向かって押し出す。
図15は、下流側パレットコンベアの周辺を示す拡大図である。具体的には、図15(A)は、下流側パレットコンベア364の周辺を+Z軸方向側から見た図であり、図15(B)は、下流側パレットコンベア364の周辺を−Y軸方向側から見た図である。
プラー363は、図15に示すように、ダミーパレットDPに形成された2つの貫通孔DP3(図5参照)のうち、−Y軸方向側に形成された貫通孔DP3に挿入するピン363Aと、ピン363AをY軸方向に沿って進退させる進退機構363Bとを備えている。このプラー363は、進退機構363Bにてピン363Aを+Y軸方向側に向かって進出させた後、ダミーパレットDPの貫通孔DP3に挿入し、進退機構363Bにてピン363Aを−Y軸方向側に向かって後退させることによって、ダミーパレットDPの搬出待機位置W2まで容器供給用配置台31Bに配置された2枚のダミーパレットDPを引き出す。
下流側パレットコンベア364は、図13および図15に示すように、ダミーパレットDPの搬出待機位置W2から紙面右方向に向かって移動する搬送路364Aと、プラー363にてダミーパレットDPの搬出待機位置W2まで引き出されたダミーパレットDPを搬送路364Aに向かって押し出すプッシャー364Bと、搬送路364Aの移動方向と平行に設けられるとともに、搬送路364Aの両側に設けられた一対のガイドレール364Cとを備えている。この一対のガイドレール364Cの間隔は、ダミーパレットDPの長手方向の長さよりも僅かに長く設定されている。ここで、ダミーパレットDPの搬出待機位置W2では、搬送路364Aは、容器供給用配置台31と同様に傾斜している(図15(B)参照)。
また、下流側パレットコンベア364は、図15に示すように、ダミーパレットDPの搬出待機位置W2の状態を容器供給用配置台31と同様に傾斜させた状態と、水平にした状態とに切り替える切替機構364Dを備えている。
切替機構364Dは、ダミーパレットDPの搬出待機位置W2を有する台座364D1と、台座364D1をY軸まわりに回動自在に支持する台座支持部364D2とを備えている。この切替機構364Dは、モータ(図示略)の駆動力によって台座364D1をY軸まわりに回動させることによって、ダミーパレットDPの搬出待機位置W2の状態を容器供給用配置台31と同様に傾斜させた状態と、水平にした状態とに切り替える。
循環パレットコンベア365は、図13に示すように、ダミーパレットDPを載置するとともに、+Y軸方向に向かって移動することによって、下流側パレットコンベア364の終点位置から上流側パレットコンベア361の始点位置まで搬送する搬送路365Aと、搬送路365Aの終点位置に到着したダミーパレットDPの+X軸方向側の側面に当接するプレート365Bと、プレート365BをX軸方向に沿って進退させる進退機構365Cとを備えている。この循環パレットコンベア365は、進退機構365Cにてプレート365Bを−X軸方向に向かって進出させることによって、上流側パレットコンベア361の始点位置に到着したダミーパレットDPを上流側パレットコンベア361に送り出す。
図16は、容器供給装置の容器補充機構の上面図および側面図である。具体的には、図16(A)は、容器補充機構37を+Z軸方向側から見た上面図であり、図16(B)は、容器補充機構37を−Y軸方向側から見た側面図である。
容器供給装置3は、図16に示すように、容器供給機構3A,3Bにて容器C1を供給できなかった収容部DP1に容器C1を補充する前述の容器補充機構37を備えている。
下流側パレットコンベア364は、ダミーパレットDPの貫通孔DP3に挿入するピン(図示略)と、このピンを+X軸方向側に向かって移動させる移動機構(図示略)とを備えている。この下流側パレットコンベア364は、ダミーパレットDPの貫通孔DP3にピンを挿入し、このピンを移動機構にて移動させることによって、ダミーパレットDPを搬送する。具体的には、下流側パレットコンベア364は、ダミーパレットDPの1枚分の距離ごとにピンの移動および停止を繰り返して間欠的に移動させることによって、ダミーパレットDPを+X軸方向側に向かって間欠的に搬送する。
容器補充機構37は、第1異常検出センサ371および第2異常検出センサ372と、姿勢修正手段373と、CCDカメラ374と、仮置台375と、第1のアームロボット376と、第2のアームロボット377とを備えている。
以下、仮置台375の−X軸方向側に位置するダミーパレットDPの停止位置をDPS1,DPS2とし、仮置台375の+X軸方向側に位置するダミーパレットDPの停止位置をDPS3とする。
なお、図16(A)では、姿勢修正手段373およびCCDカメラ374の図示は省略し、図16(B)では、第1異常検出センサ371、第2異常検出センサ372、第1のアームロボット376および第2のアームロボット377の図示は省略している。また、第1のアームロボット376および第2のアームロボット377は、前述した図6にも図示している。
第1異常検出センサ371は、図16(A)に示すように、下流側パレットコンベア364の−X軸方向側に配設されている。この第1異常検出センサ371は、ダミーパレットDPの上面に沿って+Y軸方向側に光を出射することによって、下流側パレットコンベア364にて停止位置DPS1に搬送されて停止したダミーパレットDPの収容部DP1に供給された容器C1の浮きを検出する。
第2異常検出センサ372は、第1異常検出センサ371の+X軸方向側に配設されている。この第2異常検出センサ372は、第1異常検出センサ371と同様に、ダミーパレットDPの上面に沿って+Y軸方向側に光を出射することによって、下流側パレットコンベア364にて停止位置DPS2に搬送されて停止したダミーパレットDPの収容部DP1に供給された容器C1の浮きを検出する。
図17は、姿勢修正手段を側方から見た状態を示す模式図である。
姿勢修正手段373は、図16および図17に示すように、下流側パレットコンベア364にて停止位置DPS1に搬送されて停止したダミーパレットDPの収容部DP1に対して下面側から挿入することによって、ダミーパレットDPの収容部DP1に収容された容器C1に当接して押し上げる複数の棒状体373A1を有するプレート373Aと、プレート373Aを昇降させるシリンダ373Bとを備えている。この姿勢修正手段373は、下流側パレットコンベア364にて搬送されるダミーパレットDPの収容部DP1に供給された容器C1の姿勢を修正する。
図18は、姿勢修正手段にて容器の姿勢を修正している状態を示す図である。具体的には、図18(A)は、プレート373Aを上昇させた状態を示す図であり、図18(B)は、プレート373Aを下降させた状態を示す図である。
姿勢修正手段373は、図18(A)に示すように、シリンダ373Bにてプレート373Aを上昇させることによって、ダミーパレットDPの収容部DP1に収容された容器C1に複数の棒状体373A1を当接させて押し上げる(図中上向矢印参照)。この際、シリンダ373Bは、ダミーパレットDPの上面に対して棒状体373A1の上面を鉛直下方側に位置させるようにプレート373Aを上昇させる。換言すれば、シリンダ373Bは、ダミーパレットDPの上面から棒状体373A1を突出させない程度にプレート373Aを上昇させる。
その後、姿勢修正手段373は、図18(B)に示すように、シリンダ373Bにてプレート373Aを下降させる(図中下向矢印参照)。ここで、前述したように、容器C1は、有底筒状に形成されるとともに、頂部から底部に向かうにしたがって僅かに縮径するように形成された断面六角形状の胴体C11を有しているので、姿勢修正手段373は、プレート373Aを下降させることによって、ダミーパレットDPの収容部DP1に供給された容器C1の姿勢を修正することができる。
したがって、本実施形態では、姿勢修正手段373は、ダミーパレットDPの上面側からダミーパレットDPの収容部DP1に供給された容器C1の姿勢を、ダミーパレットDPの下面側からダミーパレットDPの収容部DP1に棒状体373A1を挿入して容器C1の底面に当接させて修正する。
CCDカメラ374は、図16(B)に示すように、下流側パレットコンベア364の鉛直上方に配設されている。このCCDカメラ374は、下流側パレットコンベア364にて停止位置DPS2に搬送されて停止したダミーパレットDPを撮像することによって、ダミーパレットDPの収容部DP1の状態を検出する。
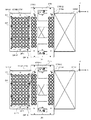
図19は、CCDカメラにて検出されるダミーパレットの収容部の状態を示す図である。
具体的には、CCDカメラ374は、図19に示すように、下流側パレットコンベア364にて搬送されるダミーパレットDPの収容部DP1を、容器C1を供給すべき供給用収容部DP1Fと、容器C1を供給しなくてもよい予備用収容部DP1Sとに区分けしている。
ここで、CCDカメラ374は、ダミーパレットDPの収容部DP1を長手方向(行方向)に沿って2つの領域に分割することによって、供給用収容部DP1Fおよび予備用収容部DP1Sに区分けている。具体的には、CCDカメラ374は、ダミーパレットDPの収容部DP1を長手方向に沿って2つの領域に分割することによって、長手方向(行方向)に沿って等間隔に10個の収容部DP1を配列しているとともに、短手方向(列方向)に沿って等間隔に5個の収容部DP1を配列している供給用収容部DP1Fと、長手方向(行方向)に沿って等間隔に10個の収容部DP1を配列しているとともに、短手方向(列方向)に沿って等間隔に1個の収容部DP1を配列している予備用収容部DP1Sとに区分けている。
なお、本実施形態では、CCDカメラ374は、ダミーパレットDPの収容部DP1を行方向に沿って2つの領域に分割することによって、供給用収容部DP1Fおよび予備用収容部DP1Sに区分けているが、列方向に沿って2つの領域に分割することによって、供給用収容部DP1Fおよび予備用収容部DP1Sに区分けてもよい。また、CCDカメラ374は、行方向および列方向とは異なる条件に基づいて、供給用収容部DP1Fおよび予備用収容部DP1Sに区分けてもよい。
そして、CCDカメラ374は、容器供給用ホッパー33Aおよび容器供給用ホッパー33Bに保持された複数の容器C1をダミーパレットDPの上面に向かって供給させた後、供給用収容部DP1Fのうち、容器C1を供給されていない空の供給用収容部DP1Fと、予備用収容部DP1Sのうち、容器C1を供給されている予備用収容部DP1Sとを検出する。このように、本実施形態では、CCDカメラ374は、収容部検出手段として機能している。
例えば、図19では、左上隅の収容部DP1を1行目1列目とすると、CCDカメラ374は、供給用収容部DP1Fのうち、容器C1を供給されていない空の供給用収容部DP1Fとして、2行目3列目、3行目7列目、および4行目2列目の3つの供給用収容部DP1Fを検出する。また、CCDカメラ374は、予備用収容部DP1Sのうち、容器C1を供給されている予備用収容部DP1Sとして、6行目4列目および6行目8列目以外の8つの予備用収容部DP1Sを検出する。
仮置台375は、図16に示すように、CCDカメラ374の+X軸方向側に位置し、下流側パレットコンベア364の鉛直上方に配設されるとともに、複数の容器C1を仮置きする複数の仮置部375Aを有している。なお、ダミーパレットDPは、仮置台375の鉛直下方側を通過する。
したがって、本実施形態では、仮置台375は、複数の容器C1を仮置きする複数の仮置部375Aを有する容器仮置手段として機能する。
なお、本実施形態では、容器供給装置3は、仮置台375を備えているが、これを備えていなくてもよい。
具体的には、仮置台375は、第1のアームロボット376側に設けられた第1仮置領域375A1と、第2のアームロボット377側に設けられた第2仮置領域375A2とを備えている。
なお、仮置台375は、第1仮置領域375A1および第2仮置領域375A2の間に形成された断面矩形状の3つの貫通孔を有し、第1仮置領域375A1および第2仮置領域375A2を明確に区切っている。
第1仮置領域375A1は、長手方向(行方向)に沿って等間隔に10個の仮置部375Aを配列しているとともに、短手方向(列方向)に沿って等間隔に2個の仮置部375Aを配列している。換言すれば、第1仮置領域375A1は、格子点状に20個の仮置部375Aを有している。
第2仮置領域375A2は、長手方向(行方向)に沿って等間隔に10個の仮置部375Aを配列しているとともに、短手方向(列方向)に沿って等間隔に2個の仮置部375Aを配列している。換言すれば、第2仮置領域375A2は、格子点状に20個の仮置部375Aを有している。
なお、本実施形態では、第1仮置領域375A1および第2仮置領域375A2は、格子点状に20個の仮置部375Aを有しているが、20とは異なる2以上の個数の仮置部を有していればよい。また、本実施形態では、仮置部は、格子点状に配列されているが、格子点状に配列していなくてもよく、その並び方は規則性を有していなくてもよい。
ここで、仮置台375の仮置部375Aの形状は、ダミーパレットDPの収容部DP1の形状と同一に形成されている。
したがって、仮置台375の仮置部375Aの内部に容器C1を収容すると、フランジC12は仮置部375Aの外部に突出し、胴体C11は仮置部375Aの内部に収容される。換言すれば、容器C1は、頂部を鉛直上方側に位置させるとともに、底部を鉛直下方側に位置させた一定の姿勢を取るようにして仮置部375Aに収容され、これとは逆の姿勢を取るようにして仮置部375Aに収容されることはない。
また、前述したように、容器C1は、有底筒状に形成されるとともに、頂部から底部に向かうにしたがって僅かに縮径するように形成された断面六角形状の胴体C11を有しているので、仮置部375Aに入り込みやすくなっている。
第1のアームロボット376は、図6および図16(A)に示すように、ロボット本体376Aと、容器C1を保持するためにロボット本体376Aの先端に設けられたハンド376B(図20および図21参照)とを備え、仮置台375の−Y軸方向側に配設されている。
ロボット本体376Aは、ハンド376Bを移動させることによって、第1仮置領域375A1の仮置部375Aのそれぞれと、下流側パレットコンベア364にて停止位置DPS2に搬送されて停止したダミーパレットDPの収容部DP1のそれぞれとを往来する。
第2のアームロボット377は、図6および図16(A)に示すように、ロボット本体377Aと、容器C1を保持するためにロボット本体377Aの先端に設けられたハンド377B(図20および図21参照)とを備え、第1のアームロボット376の+X軸方向側に配設されている。
ロボット本体377Aは、ハンド377Bを移動させることによって、第2仮置領域375A2の仮置部375Aのそれぞれと、下流側パレットコンベア364にて停止位置DPS3に搬送されて停止したダミーパレットDPの収容部DP1のそれぞれとを往来する。
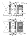
図20は、予備用収容部に供給されている容器を空の供給用収容部に補充している状態を示す図である。具体的には、図20(A)は、ハンド376B,377Bを予備用収容部DP1Sに供給されている容器C1の位置に移動させた状態を示す図であり、図20(B)は、ハンド376B,377Bを空の供給用収容部DP1Fの位置に移動させた状態を示す図である。なお、図20では、ハッチングを付して容器C1を図示している。
第1のアームロボット376は、CCDカメラ374の検出結果に基づいて、図20(A)に示すように、下流側パレットコンベア364にて停止位置DPS2に搬送されて停止したダミーパレットDPの予備用収容部DP1Sに供給されている容器C1をハンド376Bにて保持する。そして、第1のアームロボット376は、CCDカメラ374の検出結果に基づいて、図20(B)に示すように、ハンド376Bを移動させることによって、この容器C1を下流側パレットコンベア364にて停止位置DPS2に搬送されて停止したダミーパレットDPの空の供給用収容部DP1Fに補充する(図中左向矢印参照)。
また、第2のアームロボット377は、CCDカメラ374の検出結果に基づいて、図20(A)に示すように、下流側パレットコンベア364にて停止位置DPS3に搬送されて停止したダミーパレットDPの予備用収容部DP1Sに供給されている容器C1をハンド377Bにて保持する。そして、第2のアームロボット377は、CCDカメラ374の検出結果に基づいて、図20(B)に示すように、ハンド377Bを移動させることによって、この容器C1を下流側パレットコンベア364にて停止位置DPS3に搬送されて停止したダミーパレットDPの空の供給用収容部DP1Fに補充する(図中左向矢印参照)。
このように、本実施形態では、第1のアームロボット376および第2のアームロボット377は、CCDカメラ374の検出結果に基づいて、予備用収容部DP1Sに供給されている容器C1を空の供給用収容部DP1Fに補充する容器補充手段として機能する。また、第1のアームロボット376は、下流側パレットコンベア364の上流側に設けられた第1の容器補充手段として機能し、第2のアームロボット377は、下流側パレットコンベア364の上流側に設けられた第2の容器補充手段として機能する。
なお、本実施形態では、容器供給装置3は、2台のアームロボット376,377を備えているが、1台であってもよく、3台以上であってもよい。要するに、容器供給装置は、少なくとも1つの容器補充手段を備えていればよい。
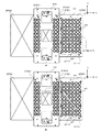
図21は、仮置台の仮置部に収容されている容器を空の供給用収容部に補充している状態を示す図である。具体的には、図21(A)は、ハンド376B,377Bを仮置台375の仮置部375Aに収容されている容器C1の位置に移動させた状態を示す図であり、図21(B)は、ハンド376B,377Bを空の供給用収容部DP1Fの位置に移動させた状態を示す図である。なお、図21では、ハッチングを付して容器C1を図示している。
第1のアームロボット376は、図21(A)に示すように、第1仮置領域375A1の仮置部375Aに仮置きされている容器C1をハンド376Bにて保持する。そして、第1のアームロボット376は、CCDカメラ374の検出結果に基づいて、図21(B)に示すように、ハンド376Bを移動させることによって、この容器C1を下流側パレットコンベア364にて停止位置DPS2に搬送されて停止したダミーパレットDPの空の供給用収容部DP1Fに補充する(図中左向矢印参照)。
また、第2のアームロボット377は、図21(A)に示すように、第2仮置領域375A2の仮置部375Aに仮置きされている容器C1をハンド377Bにて保持する。そして、第2のアームロボット377は、CCDカメラ374の検出結果に基づいて、図21(B)に示すように、ハンド377Bを移動させることによって、この容器C1を下流側パレットコンベア364にて停止位置DPS3に搬送されて停止したダミーパレットDPの空の供給用収容部DP1Fに補充する(図中右向矢印参照)。
このように、本実施形態では、第1のアームロボット376および第2のアームロボット377は、CCDカメラ374の検出結果に基づいて、仮置台375の仮置部375Aに仮置きされている容器C1を空の供給用収容部DP1Fに補充する容器補充手段として機能する。
図22は、容器供給装置の概略構成を示す機能ブロック図である。
さらに、容器供給装置3は、図22に示すように、この容器供給装置3の全体を制御する容器供給用制御手段38を備えている。
容器供給用制御手段38は、CPU(Central Processing Unit)や、メモリなどによって構成され、このメモリに記憶された所定のプログラムに従って情報処理を実行する。この容器供給用制御手段38は、容器搬送部381と、容器供給部382と、パレット搬送部383と、容器補充部384とを備えている。
容器搬送部381は、容器投入部381Aと、投入停止部381Bと、容器移動部381Cとを備え、容器搬送手段35を制御して容器貯留槽34に貯留された複数の容器C1を搬送することによって、容器供給用ホッパー33に保持させる。
以下、容器搬送部381を構成する各部381A〜381Cの機能について詳細に説明する。
図23は、バケットの内部に複数の容器を投入している状態を示す図である。
容器投入部381Aは、図23に示すように、バケット351Aを容器貯留槽34の高さ位置に移動させた後(図中下向矢印)、バケット351Aの底面部351A1を閉塞する。そして、容器投入部381Aは、ベルトコンベア352に搬送路の移動を開始させることによって(図中右向矢印)、ベルトコンベア352にて搬送される複数の容器C1をバケット351Aの内部に投入する。
ここで、ベルトコンベア352は、容器貯留槽34に貯留された複数の容器C1を導入する所定面積の入口(容器貯留槽34の搬出口343)を有しているので、バケット351Aに投入される単位時間あたりの容器C1の数量を一定にすることができる。
投入停止部381Bは、ベルトコンベア352に搬送路の移動を開始させた後、所定の時間が経過したときに、ベルトコンベア352に搬送路の移動を停止させる。換言すれば、投入停止部381Bは、バケット351Aの内部に一定量の複数の容器C1を投入したときに、ベルトコンベア352に搬送路の移動を停止させることによって、複数の容器C1のバケット351Aへの投入を停止する。
ここで、投入停止部381Bは、容器供給機構3Bのバケット351Aへの複数の容器C1の投入を停止した後、容器供給機構3Aのバケット351Aへの複数の容器C1の投入を停止する。換言すれば、容器供給機構3Aのバケット351Aに投入される複数の容器C1の数量は、容器供給機構3Bのバケット351Aに投入される複数の容器C1の数量よりも多い。
なお、本実施形態では、投入停止部381Bは、ベルトコンベア352に搬送路の移動を開始させた後、所定の時間が経過したときに、ベルトコンベア352に搬送路の移動を停止させることによって、複数の容器C1のバケット351Aへの投入を停止していた。これに対して、例えば、投入停止部は、センサにて複数の容器C1がバケット351Aの床面に接触したことを検知した後、所定の時間が経過したときに、ベルトコンベア352に搬送路の移動を停止させることによって、複数の容器C1のバケット351Aへの投入を停止してもよい。また、例えば、投入停止部は、バケットに投入された複数の容器の重量を計測し、所定の重量に達したときに、ベルトコンベア352に搬送路の移動を停止させることによって、複数の容器C1のバケットへの投入を停止してもよい。要するに、本発明では、投入停止部は、バケットの内部に一定量の複数の容器を投入したときに、ベルトコンベアに搬送路の移動を停止させることによって、複数の容器のバケットへの投入を停止すればよい。
図24は、バケットを上昇させた状態を示す図である。
投入停止部381Bにて複数の容器C1のバケット351Aへの投入を停止した後、容器移動部381Cは、図24に示すように、昇降機351Bにてバケット351Aを容器供給用ホッパー33の高さ位置に上昇させる(図中上向矢印)。
そして、容器移動部381Cは、図12に示すように、バケット351Aの底面部351A1を開放することによって、バケット351Aに格納された複数の容器C1を保持用コンベア351Cの搬送路351C1に載置する。
また、容器移動部381Cは、モータ351C2を駆動することによって、搬送路351C1を上流側から下流側に向かって移動させて複数の容器C1を搬送することによって、複数の容器C1を容器供給用ホッパー33に保持させる。
前述したように、容器供給機構3Aのバケット351Aに投入される複数の容器C1の数量は、容器供給機構3Bのバケット351Aに投入される複数の容器C1の数量よりも多いので、容器供給用ホッパー33Aにて供給される複数の容器C1の数量は、容器供給用ホッパー33Bにて供給される複数の容器C1の数量よりも多い。
ここで、保持用コンベア351Cは、複数の容器C1を導入する所定面積の入口(ゲート351C3)を備えているので、容器供給用ホッパー33に落下する単位時間あたりの容器C1の数量を一定にすることができる。
なお、ゲート351C3は、複数の容器C1の通過に際し、その下端を搖動させることができるように配設されているので、複数の容器C1が変形してしまうことを抑制することができる。
このように、容器搬送部381は、容器搬送手段35を制御して容器貯留槽34に貯留された複数の容器C1を搬送することによって、容器供給用ホッパー33に保持させる。また、本実施形態では、容器搬送手段35は、容器供給用ホッパー33に一定量の複数の容器C1を保持させている。
容器供給部382は、図24に示すように、ホッパー駆動部382Aと、パレット振動部382Bと、空気吐出部382Cとを備え、小型電磁フィーダ32および容器供給用ホッパー33を制御してダミーパレットDPの上面に形成された複数の収容部DP1のそれぞれに容器C1を供給する。
以下、容器供給部382を構成する各部382A〜382Cの機能について詳細に説明する。
図25は、ガイド部材を容器保持位置に回動させた状態を示す図である。
ホッパー駆動部382Aは、図25に示すように、ガイド部材333をガイド位置から容器保持位置に回動させることによって(図中上向矢印)、保持用コンベア351Cの下流側から容器供給用ホッパー33に向かって落下してきた複数の容器C1を容器供給用ホッパー33に保持させる。
そして、ホッパー駆動部382Aは、図8に示すように、ガイド部材333を容器保持位置からガイド位置に回動させるとともに、ホッパーコンベア332A(図10参照)の搬送路を本体部332の上端側から下端側に向かって移動させる。これによって、複数の容器C1は、ガイド部材333の上面を滑って本体部332の下端側から落下していくことになる。
図26は、容器供給用ホッパーの本体部をレール部材に沿って移動させた状態を示す図である。
また、ホッパー駆動部382Aは、図26に示すように、複数の容器C1を本体部332の下端側から落下させているときに、スライダ331をレール部材33Rに沿って移動させることによって、本体部332をレール部材33Rに沿って容器貯留槽34側に移動させる。
この際、容器供給用配置台31Aに配置されたダミーパレットDPと、容器供給用配置台31Bに配置されたダミーパレットDPとの間の容器C1の移動は、前述した仕切り板3Cにて規制されている。
ここで、レール部材33Rは、容器供給用配置台31に配置されたダミーパレットDPの短手方向と平行に配設されているので、ダミーパレットDPは、レール部材33Rおよびスライダ331にて本体部332を移動させる方向(所定方向)に沿って並ぶように形成された複数の収容部DP1を有している。
そして、ホッパー駆動部382Aは、レール部材33Rおよびスライダ331にて本体部332を移動させているときに、本体部332に保持された複数の容器C1をダミーパレットDPの上面に向かって供給させている。
パレット振動部382Bは、ホッパー駆動部382Aにて複数の容器C1を本体部332の下端側から落下させているときに、小型電磁フィーダ32にて容器供給用配置台31を振動させることによって、ダミーパレットDPを振動させる。
したがって、容器供給部382は、小型電磁フィーダ32にてダミーパレットDPを振動させているときに、容器供給用ホッパー33に保持された複数の容器C1をダミーパレットDPの上面に向かって供給させる。
ここで、小型電磁フィーダ32は、容器供給用配置台31に配置されたダミーパレットDPを振動させる第1の振動強度と、第1の振動強度よりも弱く容器供給用配置台31に配置されたダミーパレットDPを振動させる第2の振動強度とを有している。
また、小型電磁フィーダ32Bの第1の振動強度は、小型電磁フィーダ32Aの第1の振動強度よりも弱く、小型電磁フィーダ32Bの第2の振動強度は、小型電磁フィーダ32Aの第2の振動強度よりも弱い。
そして、パレット振動部382Bは、容器供給用ホッパー33に保持された複数の容器C1をダミーパレットDPの上面に向かって供給させているときに小型電磁フィーダ32を第1の振動強度から第2の振動強度に切り替える。換言すれば、パレット振動部382Bは、容器供給用ホッパー33に保持された複数の容器C1をダミーパレットDPの上面に向かって供給させているときに小型電磁フィーダ32の振動を弱くする。
なお、本実施形態では、小型電磁フィーダ32は、第1の振動強度と、第1の振動強度よりも弱く容器供給用配置台31に配置されたダミーパレットDPを振動させる第2の振動強度とを有し、パレット振動部382Bは、容器供給用ホッパー33に保持された複数の容器C1をダミーパレットDPの上面に向かって供給させているときに小型電磁フィーダ32を第1の振動強度から第2の振動強度に切り替えていたが、このように切り替えなくてもよい。
容器供給部382にてダミーパレットDPの上面に落下させた複数の容器C1は、ダミーパレットDPの振動によって転動しながらダミーパレットDPの各収容部DP1に入り込んでいくことになる。
これに対して、容器供給用配置台31は、容器貯留槽34側に向かうにしたがって下降するように傾斜しているので、容器供給部382にてダミーパレットDPの上面に落下させた複数の容器C1のうち、ダミーパレットDPの収容部DP1に収容されなかった複数の容器C1は、容器貯留槽34に自由落下していくことになる。したがって、本実施形態では、容器供給用配置台31は、容器貯留槽34側に向かうにしたがって下降するようにダミーパレットDPを傾斜させることによって、複数の容器C1を容器貯留槽34に落下させる落下手段として機能する。
空気吐出部382Cは、ホッパー駆動部382Aにて複数の容器C1を本体部332の下端側から落下させた後、コンプレッサ33Cに空気を吐出させる。これによれば、容器供給部382にてダミーパレットDPの上面に落下させた複数の容器C1のうち、ダミーパレットDPの収容部DP1に収容されなかった複数の容器C1は、吹き飛ばされて容器貯留槽34に落下していくことになる。
このコンプレッサ33Cの各吐出口33Dから吐出される空気の強さは、ダミーパレットDPの部位ごとに予め調整されて最適化されている。例えば、容器C1を吹き飛ばしにくいダミーパレットDPの部位に対応する吐出口33Dから吐出される空気の強さを強く調整し、容器C1を吹き飛ばしやすいダミーパレットDPの部位に対応した吐出口33Dから吐出される空気の強さを弱く調整するといったごとくである。
したがって、本実施形態では、コンプレッサ33Cは、ダミーパレットDPの上面に沿って容器貯留槽34側に空気を吐出することによって、複数の容器C1を容器貯留槽34に落下させる落下手段として機能する。
ここで、小型電磁フィーダ32は、第2の振動強度よりも弱く容器供給用配置台31に配置されたダミーパレットDPを振動させる第3の振動強度を有している。
また、小型電磁フィーダ32Bの第3の振動強度は、小型電磁フィーダ32Aの第3の振動強度よりも弱い。
このように、本実施形態では、小型電磁フィーダ32Aは、容器供給用配置台31Aに配置されたダミーパレットDPを振動させる第1のパレット振動手段として機能し、小型電磁フィーダ32Bは、容器供給用配置台31Bに配置されたダミーパレットDPを小型電磁フィーダ32Aよりも弱く振動させる第2のパレット振動手段として機能する。
そして、パレット振動部382Bは、コンプレッサ33Cにて複数の容器C1を容器貯留槽34に落下させるときに小型電磁フィーダ32を第2の振動強度から第3の振動強度に切り替える。換言すれば、パレット振動部382Bは、コンプレッサ33Cにて複数の容器C1を容器貯留槽34に落下させるときに小型電磁フィーダ32の振動を更に弱くする。
なお、本実施形態では、小型電磁フィーダ32は、第2の振動強度と、第2の振動強度よりも弱く容器供給用配置台31に配置されたダミーパレットDPを振動させる第3の振動強度とを有し、パレット振動部382Bは、コンプレッサ33Cにて複数の容器C1を容器貯留槽34に落下させるときに小型電磁フィーダ32を第2の振動強度から第3の振動強度に切り替えていたが、このように切り替えなくてもよい。
また、本実施形態では、容器貯留槽34側に向かうにしたがって下降するようにダミーパレットDPを傾斜させることによって、複数の容器C1を容器貯留槽34に落下させる容器供給用配置台31と、ダミーパレットDPの上面に沿って容器貯留槽34側に空気を吐出することによって、複数の容器C1を容器貯留槽34に落下させるコンプレッサ33Cとを落下手段として採用しているが、いずれか一方のみを採用してもよい。また、落下手段は、例えば、ダミーパレットを振動させることなどによって、複数の容器を貯留手段に落下させるようにしてもよい。要するに、本発明では、落下手段は、第1の保持手段および第2の保持手段にてダミーパレットの上面に向かって供給させた複数の容器のうち、ダミーパレットの収容部に収容されなかった複数の容器を貯留手段に落下させることができればよい。
このように、容器供給用制御手段38は、容器搬送手段35にて複数の容器C1を容器供給用ホッパー33に保持させた後、容器供給用ホッパー33に保持された複数の容器C1をダミーパレットDPの上面に向かって供給させるとともに、落下手段にて複数の容器C1を容器貯留槽34に落下させることによって、複数の容器C1を循環させて再利用している。
また、前述したように、容器搬送手段35は、容器供給用ホッパー33に一定量の複数の容器C1を保持させているので、複数の容器C1を循環させる一回のサイクルに際して容器供給用ホッパー33に一定量の複数の容器C1を保持させている。
なお、本実施形態では、容器搬送手段35は、複数の容器C1を循環させる一回のサイクルに際して容器供給用ホッパー33に一定量の複数の容器C1を保持させているが、一定量の複数の容器C1を保持させなくてもよい。
パレット搬送部383は、図22に示すように、パレット搬出部383Aと、パレット押出部383Bと、パレット引出部383Cと、パレット搬入部383Dとを備え、パレット搬送手段36を制御してダミーパレットDPを搬送することによって、容器供給用配置台31に対してダミーパレットDPを搬入・搬出する。
以下、パレット搬送部383を構成する各部383A〜383Dの機能について詳細に説明する。
図27は、ダミーパレットをダミーパレットの搬出待機位置から搬送した状態を示す模式図である。
パレット搬出部383Aは、ダミーパレットDPの搬出待機位置W2にダミーパレットDPが配置されると、図27に示すように、このダミーパレットDPをプッシャー364Bにて搬送路364Aに向かって押し出すことによって、搬送路364Aに2枚のダミーパレットDPを載置する。そして、パレット搬出部383Aは、下流側パレットコンベア364の搬送路364A上にダミーパレットDPが載置されると、下流側パレットコンベア364にダミーパレットDPを搬送させる(図中右向矢印)。
なお、下流側パレットコンベア364は、ガイドレール364CにてダミーパレットDPをガイドすることによって、ダミーパレットDPの短手方向と、搬送路364Aの移動方向とを平行とするようにしてダミーパレットDPを搬送する。
その後、パレット搬出部383Aは、下流側パレットコンベア364の終点位置にダミーパレットDPが配置されると、このダミーパレットDPを循環パレットコンベア365にて上流側パレットコンベア361の始点位置まで搬送し、上流側パレットコンベア361の始点位置にダミーパレットDPが配置されると、このダミーパレットDPをプレート365Bにて上流側パレットコンベア361に向かって送り出す。
図28は、ダミーパレットを容器供給用配置台に向かって押し出した状態を示す模式図である。
パレット押出部383Bは、図28に示すように、上流側パレットコンベア361にて搬入待機位置W1まで搬送された2枚のダミーパレットDPをプッシャー362にて容器供給用配置台31Aに向かって押し出すことによって、容器供給用配置台31Aに2枚のダミーパレットDPを配置する。また、パレット押出部383Bは、プッシャー362にてダミーパレットDPを容器供給用配置台31Aに搬入することによって、容器供給用配置台31Aに先に配置されていたダミーパレットDPを押し出して容器供給用配置台31Bに送出する。
したがって、プッシャー362は、ダミーパレットDPを容器供給用配置台31Aおよび容器供給用配置台31Bの隣接方向(Y軸方向)に沿って移動させることによって容器供給用配置台31AにダミーパレットDPを搬入するパレット搬入手段として機能する。また、プッシャー362は、容器供給用配置台31Aに配置されたダミーパレットDPを容器供給用配置台31Aおよび容器供給用配置台31Bの隣接方向(Y軸方向)に沿って移動させることによって容器供給用配置台31Bに送出するパレット送出手段として機能する。
なお、本実施形態では、プッシャー362をパレット搬入手段として採用しているが、これ以外の構成を採用してもよい。要するに、パレット搬入手段は、第1の領域および第2の領域の隣接方向に沿って移動させることによって第1の領域にパレットを搬入することができればよい。
また、本実施形態では、プッシャー362をパレット送出手段として採用しているが、これ以外の構成を採用してもよい。要するに、パレット送出手段は、第1の領域に配置されたパレットを、第1の領域および第2の領域の隣接方向に沿って移動させることによって第2の領域に送出することができればよい。
さらに、本実施形態では、プッシャー362は、パレット搬入手段およびパレット送出手段の機能を兼ね備え、一体に構成されていたが、パレット搬入手段およびパレット送出手段は、別々に構成されていてもよい。
図29は、ダミーパレットを容器供給用配置台から引き出した状態を示す模式図である。
パレット引出部383Cは、図29に示すように、容器供給用配置台31Bに配置された2枚のダミーパレットDPをプラー363にて引き出すことによって、ダミーパレットDPの搬出待機位置W2にダミーパレットDPを配置する。
したがって、プラー363は、容器供給用配置台31Bに配置されたダミーパレットDPを容器供給用配置台31Aおよび容器供給用配置台31Bの隣接方向(Y軸方向)に沿って移動させることによって搬出するパレット搬出手段として機能する。
なお、本実施形態では、プラー363をパレット搬出手段として採用しているが、これ以外の構成を採用してもよい。要するに、パレット搬出手段は、第2の領域に配置されたパレットを、第1の領域および第2の領域の隣接方向に沿って移動させることによって搬出することができればよい。
パレット搬入部383Dは、循環パレットコンベア365にて上流側パレットコンベア361の搬送路361A上にダミーパレットDPが載置されると、図13に示すように、上流側パレットコンベア361にダミーパレットDPの搬入待機位置W1までダミーパレットDPを搬送させる。
なお、上流側パレットコンベア361は、ガイドレール361BにてダミーパレットDPをガイドすることによって、ダミーパレットDPの短手方向と、搬送路361Aの移動方向とを平行とするようにしてダミーパレットDPを搬送する。
容器補充部384は、図22に示すように、容器姿勢修正部384Aと、容器補充判定部384Bと、容器補充実行部384Cとを備え、容器補充機構37を制御して容器供給機構3A,3Bにて容器C1を供給できなかった空の収容部DP1に容器C1を補充する。
以下、容器補充部384を構成する各部384A〜384Cの機能について詳細に説明する。
容器姿勢修正部384Aは、下流側パレットコンベア364にて停止位置DPS1に搬送されて停止したダミーパレットDPの収容部DP1に供給された容器C1の浮きを第1異常検出センサ371にて検出すると、図18に示すように、このダミーパレットDPの収容部DP1に供給された容器C1の姿勢を姿勢修正手段373にて修正する。
したがって、本実施形態では、第1異常検出センサ371は、下流側パレットコンベア364にて搬送されるダミーパレットDPの収容部DP1に供給された容器C1の姿勢の異常を検出する異常検出手段として機能する。また、本実施形態では、姿勢修正手段373は、第1異常検出センサ371にて容器C1の姿勢の異常を検出したダミーパレットDPの収容部DP1に供給された容器C1の姿勢を修正する。
なお、本実施形態では、姿勢修正手段373は、第1異常検出センサ371にて容器C1の姿勢の異常を検出したダミーパレットDPの収容部DP1に供給された容器C1の姿勢を修正しているが、全てのダミーパレットDPの収容部DP1に供給された容器C1の姿勢を修正してもよい。この場合には、容器補充機構37は、第1異常検出センサ371を備えていなくてもよい。
容器補充判定部384Bは、CCDカメラ374にて検出された空の供給用収容部DP1Fの数が10個以上であるか否かを判定する。換言すれば、容器補充判定部384Bは、CCDカメラ374にて検出された空の供給用収容部DP1Fの数が所定の閾値以上であるか否かを判定する。
なお、本実施形態では、所定の閾値は、供給用収容部DP1Fの数(50個)の20%(10個)に設定しているが、これ以外の数に設定してもよい。
容器補充実行部384Cは、容器補充判定部384Bにて空の供給用収容部DP1Fの数が10個以上でないと判定された場合には、このダミーパレットDPが下流側パレットコンベア364にて停止位置DPS2に搬送されて停止したときに、CCDカメラ374の検出結果に基づいて、予備用収容部DP1Sに供給されている容器C1または第1仮置領域375A1の仮置部375Aに仮置きされている容器C1を第1のアームロボット376にて空の供給用収容部DP1Fに補充する(図20および図21参照)。
また、容器補充実行部384Cは、容器補充判定部384Bにて空の供給用収容部DP1Fの数が10個以上でないと判定された場合には、このダミーパレットDPが下流側パレットコンベア364にて停止位置DPS3に搬送されて停止したときに、CCDカメラ374の検出結果に基づいて、予備用収容部DP1Sに供給されている容器C1または第2仮置領域375A2の仮置部375Aに仮置きされている容器C1を第2のアームロボット377にて空の供給用収容部DP1Fに補充する(図20および図21参照)。
ここで、第1のアームロボット376および第2のアームロボット377は、CCDカメラ374の検出結果に基づいて、互いに分担して容器C1を空の供給用収容部DP1Fに補充する。
なお、本実施形態では、第1のアームロボット376および第2のアームロボット377は、互いに分担して容器C1を空の供給用収容部DP1Fに補充しているが、分担しなくてもよい。
図30は、空の供給用収容部の数が8個である場合に容器を第1のアームロボットにて空の供給用収容部に補充している状態を示す図である。具体的には、図30(A)は、容器を第1のアームロボットにて空の供給用収容部に補充する前の状態を示す図であり、図30(B)は、容器を第1のアームロボットにて空の供給用収容部に補充した後の状態を示す図である。
例えば、CCDカメラ374にて検出された空の供給用収容部DP1Fの数が8個である場合には、第1のアームロボット376は、図30(A)および図30(B)に示すように、CCDカメラ374の検出結果に基づいて、下流側パレットコンベア364にて停止位置DPS2に搬送されて停止したダミーパレットDPの予備用収容部DP1Sに供給されている容器C1または第1仮置領域375A1の仮置部375Aに仮置きされている容器C1を空の供給用収容部DP1Fに補充する(図30(B)左向矢印参照)。
具体的には、第1のアームロボット376は、図30(B)に示すように、CCDカメラ374にて検出された空の供給用収容部DP1Fの数(8個)の半分に相当する4個の容器C1を空の供給用収容部DP1Fに補充する。
なお、本実施形態では、第1のアームロボット376は、CCDカメラ374にて検出された空の供給用収容部DP1Fの数の半分に相当する個数の容器C1を空の供給用収容部DP1Fに補充しているが、半分に相当する個数でなくてもよい。
ここで、第1のアームロボット376は、下流側パレットコンベア364にて停止位置DPS2に搬送されて停止したダミーパレットDPの予備用収容部DP1Sに供給されている容器C1の数と、仮置台375(第1仮置領域375A1および第2仮置領域375A2)の仮置部375Aに仮置きされている容器C1の数とに基づいて、ダミーパレットDPの予備用収容部DP1Sに供給されている容器C1または第1仮置領域375A1の仮置部375Aに仮置きされている容器C1のうち、どちらの容器C1を空の供給用収容部DP1Fに補充するかを決定している。具体的には、第1のアームロボット376は、下流側パレットコンベア364のダミーパレットDPの搬送速度を速くしてダミーパレットDPを滞留させることのないように、容器C1を空の供給用収容部DP1Fに補充する方法を決定している。
なお、図30の例では、第1のアームロボット376は、ダミーパレットDPの予備用収容部DP1Sに供給されている4個の容器C1を空の供給用収容部DP1Fに補充すると決定している。
図31は、空の供給用収容部の数が8個である場合に容器を第2のアームロボットにて空の供給用収容部に補充している状態を示す図である。具体的には、図31(A)は、容器を第2のアームロボットにて空の供給用収容部に補充する前の状態を示す図であり、図31(B)は、容器を第2のアームロボットにて空の供給用収容部に補充した後の状態を示す図である。
次に、第2のアームロボット377は、図31(A)および図31(B)に示すように、CCDカメラ374の検出結果に基づいて、下流側パレットコンベア364にて停止位置DPS3に搬送されて停止したダミーパレットDPの予備用収容部DP1Sに供給されている容器C1または第2仮置領域375A2の仮置部375Aに仮置きされている容器C1を空の供給用収容部DP1Fに補充する(図31(B)左向矢印参照)。
ここで、第2のアームロボット377は、CCDカメラ374にて検出された空の供給用収容部DP1Fの数(8個)の残り半分に相当する4個の容器C1を空の供給用収容部DP1Fに補充する。
なお、本実施形態では、第2のアームロボット377は、CCDカメラ374にて検出された空の供給用収容部DP1Fの数の残り半分に相当する個数の容器C1を空の供給用収容部DP1Fに補充しているが、残り半分に相当する個数でなくてもよい。
ここで、第2のアームロボット377は、下流側パレットコンベア364にて停止位置DPS3に搬送されて停止したダミーパレットDPの予備用収容部DP1Sに供給されている容器C1の数と、仮置台375(第1仮置領域375A1および第2仮置領域375A2)の仮置部375Aに仮置きされている容器C1の数とに基づいて、ダミーパレットDPの予備用収容部DP1Sに供給されている容器C1または第2仮置領域375A2の仮置部375Aに仮置きされている容器C1のうち、どちらの容器C1を空の供給用収容部DP1Fに補充するかを決定している。具体的には、第2のアームロボット377は、下流側パレットコンベア364のダミーパレットDPの搬送速度を速くしてダミーパレットDPを滞留させることのないように、容器C1を空の供給用収容部DP1Fに補充する方法を決定している。
なお、図31の例では、第2のアームロボット377は、ダミーパレットDPの予備用収容部DP1Sに供給されている4個の容器C1を空の供給用収容部DP1Fに補充すると決定している。
なお、本実施形態では、第1のアームロボット376および第2のアームロボット377は、CCDカメラ374の検出結果に基づいて、1枚のダミーパレットDPの空の供給用収容部DP1Fに互いに分担して容器C1を補充しているが、ダミーパレットDPごとに分担して容器C1を補充するようにしてもよい。具体的には、例えば、容器供給装置は、パレット搬送手段にて搬送される上流側のパレットに対して第1の容器補充手段にて容器を補充し、パレット搬送手段にて搬送される下流側のパレットに対して第2の容器補充手段にて容器を補充し、その後、パレット搬送手段にて2枚分の距離ごとにパレットを間欠的に搬送するようにしてもよい。
これに対して、容器補充実行部384Cは、容器補充判定部384Bにて空の供給用収容部DP1Fの数が10個以上であると判定された場合には、このダミーパレットDPが下流側パレットコンベア364にて停止位置DPS2に搬送されて停止したときに、容器C1を空の供給用収容部DP1Fに補充せずに、CCDカメラ374の検出結果に基づいて、このダミーパレットDPの収容部DP1に供給された容器C1を第1仮置領域375A1の仮置部375Aに仮置きする。
また、容器補充実行部384Cは、容器補充判定部384Bにて空の供給用収容部DP1Fの数が10個以上であると判定された場合には、このダミーパレットDPが下流側パレットコンベア364にて停止位置DPS3に搬送されて停止したときに、容器C1を空の供給用収容部DP1Fに補充せずに、CCDカメラ374の検出結果に基づいて、このダミーパレットDPの収容部DP1に供給された容器C1を第2仮置領域375A2の仮置部375Aに仮置きする。
図32は、空の供給用収容部の数が10個である場合に容器を第1のアームロボットにて仮置台の仮置部に仮置きしている状態を示す図である。具体的には、図32(A)は、容器を第1のアームロボットにて仮置台の仮置部に仮置きする前の状態を示す図であり、図32(B)は、容器を第1のアームロボットにて仮置台の仮置部に仮置きした後の状態を示す図である。
例えば、CCDカメラ374にて検出された空の供給用収容部DP1Fの数が10個である場合には、第1のアームロボット376は、図32(A)および図32(B)に示すように、容器C1を空の供給用収容部DP1Fに補充せずに、CCDカメラ374の検出結果に基づいて、下流側パレットコンベア364にて停止位置DPS2に搬送されて停止したダミーパレットDPの収容部DP1に供給された容器C1を第1仮置領域375A1の仮置部375Aに仮置きする(図32(B)右向矢印参照)。
なお、第1のアームロボット376は、下流側パレットコンベア364のダミーパレットDPの搬送速度を速くしてダミーパレットDPを滞留させることのないように、第1仮置領域375A1の仮置部375Aに仮置きする容器C1の数を決定している。
ここで、図32の例では、第1のアームロボット376は、ダミーパレットDPの収容部DP1に供給されている4個の容器C1を第1仮置領域375A1の仮置部375Aに仮置きすると決定している。
図33は、空の供給用収容部の数が10個である場合に容器を第2のアームロボットにて仮置台の仮置部に仮置きしている状態を示す図である。具体的には、図33(A)は、容器を第2のアームロボットにて仮置台の仮置部に仮置きする前の状態を示す図であり、図33(B)は、容器を第2のアームロボットにて仮置台の仮置部に仮置きした後の状態を示す図である。
次に、第2のアームロボット377は、図33(A)および図33(B)に示すように、容器C1を空の供給用収容部DP1Fに補充せずに、CCDカメラ374の検出結果に基づいて、下流側パレットコンベア364にて停止位置DPS3に搬送されて停止したダミーパレットDPの収容部DP1に供給された容器C1を第2仮置領域375A2の仮置部375Aに仮置きする(図33(B)左向矢印参照)。
なお、第2のアームロボット377は、下流側パレットコンベア364のダミーパレットDPの搬送速度を速くしてダミーパレットDPを滞留させることのないように、第2仮置領域375A2の仮置部375Aに仮置きする容器C1の数を決定している。
ここで、図33の例では、第2のアームロボット377は、ダミーパレットDPの収容部DP1に供給されている4個の容器C1を第2仮置領域375A2の仮置部375Aに仮置きすると決定している。
このように、本実施形態では、第1のアームロボット376および第2のアームロボット377は、CCDカメラ374の検出結果に基づいて、下流側パレットコンベア364にて搬送されるダミーパレットDPの収容部DP1に供給された容器C1を仮置台375の仮置部375Aに仮置きする。
なお、本実施形態では、第1のアームロボット376および第2のアームロボット377は、ダミーパレットDPの予備用収容部DP1Sに供給されている容器C1を優先して仮置台375の仮置部375Aに仮置きしているが、供給用収容部DP1Fに供給されている容器C1を仮置台375の仮置部375Aに仮置きしてもよい。
図34は、容器供給装置にて実行される容器搬送供給処理のフローチャートを示す図である。
容器供給装置3にてダミーパレットDPに容器C1を供給する場合には、容器供給用制御手段38は、メモリに記憶された所定のプログラムに従って、図34に示すように、ステップS1〜S4を実行する。
以下、ステップS1〜S4の詳細について、前述した図面を参照して説明する。
まず、容器投入部381Aは、図23に示すように、バケット351Aを容器貯留槽34の高さ位置に移動させた後、バケット351Aの底面部351A1を閉塞する。そして、容器投入部381Aは、ベルトコンベア352に搬送路の移動を開始させることによって(図中右向矢印)、ベルトコンベア352にて搬送される複数の容器C1をバケット351Aの内部に投入する(S1:容器投入ステップ)。
次に、投入停止部381Bは、ベルトコンベア352に搬送路の移動を開始させた後、所定の時間が経過したときに、ベルトコンベア352に搬送路の移動を停止させることによって、複数の容器C1のバケット351Aへの投入を停止する(S2:投入停止ステップ)。
投入停止部381Bにて複数の容器C1のバケット351Aへの投入を停止した後、容器移動部381Cは、図24に示すように、昇降機351Bにてバケット351Aを容器供給用ホッパー33の高さ位置に上昇させる。その後、容器移動部381Cは、図12に示すように、バケット351Aの底面部351A1を開放することによって、バケット351Aに格納された複数の容器C1を保持用コンベア351Cの搬送路351C1に載置する。
また、容器移動部381Cは、モータ351C2を駆動することによって、搬送路351C1を上流側から下流側に向かって移動させて複数の容器C1を搬送することによって、複数の容器C1を容器供給用ホッパー33に保持させる(S3:容器移動ステップ)。
この際、ホッパー駆動部382Aは、図25に示すように、ガイド部材333をガイド位置から容器保持位置に回動させることによって(図中上向矢印)、保持用コンベア351Cの下流側から容器供給用ホッパー33に向かって落下してきた複数の容器C1を容器供給用ホッパー33に保持させる。
次に、ホッパー駆動部382Aは、図8に示すように、ガイド部材333を容器保持位置からガイド位置に回動させるとともに、ホッパーコンベア332A(図10参照)の搬送路を本体部332の上端側から下端側に向かって移動させる。これによって、複数の容器C1は、ガイド部材333の上面を滑って本体部332の下端側から落下していくことになる(S4:容器供給ステップ)。
そして、ホッパー駆動部382Aは、図26に示すように、複数の容器C1を本体部332の下端側から落下させているときに、スライダ331をレール部材33Rに沿って移動させることによって、本体部332をレール部材33Rに沿って容器貯留槽34側に移動させる。
なお、前述したように、パレット振動部382Bは、ホッパー駆動部382Aにて複数の容器C1を本体部332の下端側から落下させているときに、小型電磁フィーダ32にて容器供給用配置台31を振動させることによって、ダミーパレットDPを振動させる。ここで、パレット振動部382Bは、容器供給用ホッパー33に保持された複数の容器C1をダミーパレットDPの上面に向かって供給させているときに小型電磁フィーダ32を第1の振動強度から第2の振動強度に切り替える。
また、前述したように、空気吐出部382Cは、ホッパー駆動部382Aにて複数の容器C1を本体部332の下端側から落下させた後、コンプレッサ33Cに空気を吐出させる。ここで、パレット振動部382Bは、コンプレッサ33Cにて複数の容器C1を容器貯留槽34に落下させるときに小型電磁フィーダ32を第2の振動強度から第3の振動強度に切り替える。
最後に、ホッパー駆動部382Aは、ホッパーコンベア332Aの搬送路の移動を停止させるとともに、スライダ331をレール部材33Rに沿って移動させることによって、本体部332をレール部材33Rに沿ってバケット機構351側に移動させて元に戻す。
その後、容器供給用制御手段38は、前述したステップS1を再び実行することによって、ステップS1〜S4を繰り返し実行し、容器供給装置3にてダミーパレットDPに複数の容器C1を供給する。
図35は、容器供給装置にて実行されるパレット搬送処理のフローチャートを示す図である。
パレット搬送手段36にてダミーパレットDPを搬送することによって、容器供給用配置台31に対して搬入・搬出する場合には、容器供給用制御手段38は、メモリに記憶された所定のプログラムに従って、図35に示すように、ステップS11〜S14を実行する。
以下、ステップS11〜S14の詳細について、前述した図面を参照して説明する。
まず、パレット搬出部383Aは、ダミーパレットDPの搬出待機位置W2にダミーパレットDPが配置されると、図27に示すように、このダミーパレットDPをプッシャー364Bにて搬送路364Aに向かって押し出すことによって、搬送路364Aに2枚のダミーパレットDPを載置する。その後、パレット搬出部383Aは、プッシャー364Bを搬送路364Aから離間させるように移動させて元に戻す。
そして、パレット搬出部383Aは、下流側パレットコンベア364の搬送路364A上にダミーパレットDPが載置されると、下流側パレットコンベア364にダミーパレットDPを搬送させる(S11:パレット搬出ステップ)。
次に、パレット押出部383Bは、図28に示すように、上流側パレットコンベア361にて搬入待機位置W1まで搬送された2枚のダミーパレットDPをプッシャー362にて容器供給用配置台31Aに向かって押し出すことによって、容器供給用配置台31Aに2枚のダミーパレットDPを配置する(S12:パレット押出ステップ)。また、パレット押出部383Bは、プッシャー362にてダミーパレットDPを容器供給用配置台31Aに搬入することによって、容器供給用配置台31Aに先に配置されていたダミーパレットDPを押し出して容器供給用配置台31Bに送出する。その後、パレット押出部383Bは、プッシャー362を容器供給用配置台31Aから離間させるように移動させて元に戻す。
次に、パレット引出部383Cは、図29に示すように、容器供給用配置台31Bに配置された2枚のダミーパレットDPをプラー363にて引き出すことによって、ダミーパレットDPの搬出待機位置W2にダミーパレットDPを配置する(S13:パレット引出ステップ)。その後、パレット引出部383Cは、プラー363を容器供給用配置台31Bから離間させるように移動させて元に戻す。
そして、パレット搬入部383Dは、上流側パレットコンベア361の搬送路361A上にダミーパレットDPが載置されると、図13に示すように、上流側パレットコンベア361にダミーパレットDPの搬入待機位置W1までダミーパレットDPを搬送させる(S14:パレット搬入ステップ)。
その後、容器供給用制御手段38は、前述したステップS11を再び実行することによって、ステップS11〜S14を繰り返し実行し、パレット搬送手段36にてダミーパレットDPを搬送する。
ここで、ステップS11〜S14は、前述したステップS1〜S4と時間的に並行して実行される。
具体的には、ステップS11〜S14は、容器供給ステップS4を実行した後、次のサイクルの容器移動ステップS3を実行する前のタイミングにおいて実行される。
したがって、容器供給用制御手段38は、プッシャー362にて容器供給用配置台31Aに2枚のダミーパレットDPを配置したとき、およびプッシャー362にて容器供給用配置台31Aに配置された2枚のダミーパレットDPを容器供給用配置台31Bに送出したときに、容器供給用ホッパー33に保持された複数の容器C1をダミーパレットDPの上面に向かって供給させることによって、ダミーパレットDPの上面に形成された複数の収容部DP1のそれぞれに容器C1を供給する。
図36は、容器供給装置にて実行される容器補充処理のフローチャートを示す図である。
容器供給機構3A,3Bにて容器C1を供給できなかった空の収容部DP1に容器補充機構37にて容器C1を補充する場合には、容器供給用制御手段38は、メモリに記憶された所定のプログラムに従って、図36に示すように、ステップS21〜S26を実行する。
以下、ステップS21〜S26の詳細について、前述した図面を参照して説明する。
まず、容器姿勢修正部384Aは、下流側パレットコンベア364にて停止位置DPS1に搬送されて停止したダミーパレットDPの収容部DP1に供給された容器C1の浮きを第1異常検出センサ371にて検出する(S21:第1異常検出ステップ)。
そして、容器姿勢修正部384Aは、ダミーパレットDPの収容部DP1に供給された容器C1の浮きを第1異常検出センサ371にて検出した場合には、図18に示すように、このダミーパレットDPの収容部DP1に供給された容器C1の姿勢を姿勢修正手段373にて修正する(S22:容器姿勢修正ステップ)。
容器姿勢修正ステップS22を実行した後、またはダミーパレットDPの収容部DP1に供給された容器C1の浮きを第1異常検出センサ371にて検出しなかった場合には、ダミーパレットDPは、下流側パレットコンベア364にて停止位置DPS2に搬送される。
次に、容器供給用制御手段38は、下流側パレットコンベア364にて停止位置DPS2に搬送されて停止したダミーパレットDPをCCDカメラ374にて撮像することによって、ダミーパレットDPの収容部DP1の状態を検出し、この情報をメモリに記憶する。
具体的には、容器供給用制御手段38は、下流側パレットコンベア364にて停止位置DPS2に搬送されて停止したダミーパレットDPをCCDカメラ374にて撮像することによって、供給用収容部DP1Fのうち、容器C1を供給されていない空の供給用収容部DP1Fと、予備用収容部DP1Sのうち、容器C1を供給されている予備用収容部DP1Sとを検出し、これらの情報をメモリに記憶する。
その後、容器供給用制御手段38は、仮置台375(第1仮置領域375A1および第2仮置領域375A2)の仮置部375Aに容器C1があるか否かを判定する(S23:仮置台容器判定ステップ)。
ここで、容器供給用制御手段38は、CCDカメラ374にて検出された空の供給用収容部DP1Fの数と、予備用収容部DP1Sに供給されている容器C1の数と、仮置台375の仮置部375Aに仮置きされている容器C1の数とに基づいて、CCDカメラ374にて検出された空の供給用収容部DP1Fの全てに容器C1を補充できる場合に、仮置台375の仮置部375Aに容器C1があると判定する。換言すれば、容器供給用制御手段38は、予備用収容部DP1Sに供給されている容器C1の数と、仮置台375の仮置部375Aに仮置きされている容器C1の数との合計が空の供給用収容部DP1Fの数を超えている場合に、仮置台375の仮置部375Aに容器C1があると判定する。
なお、本実施形態では、容器供給用制御手段38は、容器補充機構37を初期状態に復帰させたときに、仮置台375の仮置部375Aの全てに容器C1を仮置きし、この情報をメモリに記憶している。
仮置台容器判定ステップS23にて仮置台375の仮置部375Aに容器C1があると判定された場合には、容器補充判定部384Bは、メモリに記憶した情報に基づいて、CCDカメラ374にて検出された空の供給用収容部DP1Fの数が10個以上であるか否かを判定する(S24:容器補充判定ステップ)。
容器補充実行部384Cは、容器補充判定部384Bにて空の供給用収容部DP1Fの数が10個以上でないと判定された場合には、容器C1を第1のアームロボット376および第2のアームロボット377にて空の供給用収容部DP1Fに補充する(S25:容器補充実行ステップ)。
容器補充実行ステップS25では、容器補充実行部384Cは、このダミーパレットDPが下流側パレットコンベア364にて停止位置DPS2に搬送されて停止したときに、図30に示すように、CCDカメラ374の検出結果に基づいて、予備用収容部DP1Sに供給されている容器C1または第1仮置領域375A1の仮置部375Aに仮置きされている容器C1を第1のアームロボット376にて空の供給用収容部DP1Fに補充する。
また、容器補充実行部384Cは、このダミーパレットDPが下流側パレットコンベア364にて停止位置DPS3に搬送されて停止したときに、図31に示すように、CCDカメラ374の検出結果に基づいて、予備用収容部DP1Sに供給されている容器C1または第2仮置領域375A2の仮置部375Aに仮置きされている容器C1を第2のアームロボット377にて空の供給用収容部DP1Fに補充する。
これに対して、仮置台容器判定ステップS23にて仮置台375の仮置部375Aに容器C1がないと判定された場合、または容器補充判定部384Bにて空の供給用収容部DP1Fの数が10個以上であると判定された場合には、容器補充実行部384Cは、容器C1を空の供給用収容部DP1Fに補充せずに、CCDカメラ374の検出結果に基づいて、このダミーパレットDPの収容部DP1に供給された容器C1を仮置台375(第1仮置領域375A1および第2仮置領域375A2)の仮置部375Aに仮置きする(S26:容器仮置実行ステップ)。
なお、本実施形態では、仮置台容器判定ステップS23にて仮置台375の仮置部375Aに容器C1がないと判定された場合、または容器補充判定部384Bにて空の供給用収容部DP1Fの数が10個以上であると判定された場合に容器C1を仮置台375の仮置部375Aに仮置きしていたが、仮置台容器判定ステップS23にて仮置台375の仮置部375Aに容器C1があると判定された場合に実行される容器補充実行ステップS25の合間に容器C1を仮置台375の仮置部375Aに仮置きしてもよい。
容器仮置実行ステップS26では、容器補充実行部384Cは、このダミーパレットDPが下流側パレットコンベア364にて停止位置DPS2に搬送されて停止したときに、図32に示すように、容器C1を空の供給用収容部DP1Fに補充せずに、CCDカメラ374の検出結果に基づいて、このダミーパレットDPの収容部DP1に供給された容器C1を第1仮置領域375A1の仮置部375Aに仮置きする。
また、容器補充実行部384Cは、このダミーパレットDPが下流側パレットコンベア364にて停止位置DPS3に搬送されて停止したときに、図33に示すように、容器C1を空の供給用収容部DP1Fに補充せずに、CCDカメラ374の検出結果に基づいて、このダミーパレットDPの収容部DP1に供給された容器C1を第2仮置領域375A2の仮置部375Aに仮置きする。
容器補充実行ステップS25または容器仮置実行ステップS26を実行した後、容器供給用制御手段38は、このダミーパレットDPを下流側パレットコンベア364にて循環パレットコンベア365に搬送する。
その後、容器供給用制御手段38は、前述したステップS21を再び実行することによって、ステップS21〜S26を繰り返し実行し、容器供給機構3A,3Bにて容器C1を供給できなかった空の収容部DP1に容器補充機構37にて容器C1を補充する。
なお、容器供給用制御手段38は、下流側パレットコンベア364にて停止位置DPS2に搬送されて停止したダミーパレットDPの収容部DP1に供給された容器C1の浮きを第2異常検出センサ372にて検出する。また、ダミーパレットDPの収容部DP1に供給された容器C1の浮きを第2異常検出センサ372にて検出した場合には、容器供給用制御手段38は、前述したステップS1〜S4、ステップS11〜S14、およびステップS21〜S26の繰り返しを停止する。
また、容器供給用制御手段38は、容器供給装置3に設けられたストップボタン(図示略)が押下されたときに、前述したステップS1〜S4、ステップS11〜S14、およびステップS21〜S26の繰り返しを停止する。また、容器供給用制御手段38は、容器供給装置3に設けられたリセットボタン(図示略)が押下されたときに、容器供給用ホッパー33、容器搬送手段35、パレット搬送手段36、および容器補充機構37を初期状態に復帰させる。
また、本実施形態では、容器供給装置3は、ダミーパレットDPを振動させるパレット振動手段としての小型電磁フィーダ32を備えていたが、これを備えていなくてもよい。
また、本実施形態では、容器供給装置3は、容器貯留槽34と、容器搬送手段35と、落下手段とを備え、複数の容器C1を容器供給用ホッパー33に保持させた後、容器供給用ホッパー33に保持された複数の容器C1をダミーパレットDPの上面に向かって供給させるとともに、落下手段にて複数の容器C1を容器貯留槽34に落下させることによって、複数の容器C1を循環させて再利用していたが、再利用しなくてもよい。
〔容器クリーニング装置および容器移載装置〕
図37は、容器クリーニング装置の上面図および側面図である。具体的には、図37(A)は、+Z軸方向側から容器クリーニング装置4を見た図であり、図37(B)は、+X軸方向側から容器クリーニング装置4を見た図である。
容器クリーニング装置4は、容器供給装置3にてダミーパレットDPに供給された複数の容器C1を清掃することによって、容器C1に付着している粉塵などの異物を除去する。
容器クリーニング装置4は、図37に示すように、ダミーパレットDPの鉛直上方側に配設された脱落防止手段41と、脱落防止手段41を介してダミーパレットDPに収容された複数の容器C1を清掃する清掃手段としての清掃用ヘッド42と、この清掃用ヘッド42を鉛直上下方向に移動させる鉛直移動機構43と、この鉛直移動機構43を水平方向に移動させる水平移動機構44とを備えている。したがって、本実施形態では、鉛直移動機構43および水平移動機構44は、清掃用ヘッド42を移動させる清掃用移動機構として機能する。
図38は、容器移載装置の上面図および側面図である。具体的には、図38(A)は、+Z軸方向側から容器移載装置5を見た図であり、図38(B)は、−Y軸方向側から容器移載装置5を見た図である。
容器移載装置5は、容器供給装置3にてダミーパレットDPに供給された複数の容器C1を移載してメインパレットMPに収容する。この容器移載装置5にて複数の容器C1を移載されたメインパレットMPは、前述したように、メインコンベア2にて搬送される。
なお、容器移載装置5は、容器供給装置3にて容器仮置実行ステップS26を実行していた場合には、容器C1を空の供給用収容部DP1Fに補充していないので、そのダミーパレットDPに供給された複数の容器C1は移載しない。
容器移載装置5は、図38に示すように、容器供給装置3にてダミーパレットDPに供給された複数の容器C1をメインパレットMPに移載する容器移載用ヘッド51と、この容器移載用ヘッド51を鉛直上下方向に移動させる鉛直移動機構52と、この鉛直移動機構52を水平方向に移動させる水平移動機構53とを備えている。したがって、本実施形態では、鉛直移動機構52および水平移動機構53は、容器移載用ヘッド51を移動させる容器移載用移動機構として機能する。
容器移載用ヘッド51は、容器供給装置3にてダミーパレットDPの供給用収容部DP1Fに供給された複数の容器C1のそれぞれに対応するように設けられるとともに、複数の容器C1を吸引して保持する複数のサクションカップ51Aを有している。換言すれば、容器移載用ヘッド51は、長手方向(行方向)に沿って等間隔に10個のサクションカップ51Aを配列して有しているとともに、短手方向(列方向)に沿って等間隔に5個のサクションカップ51Aを配列して有している。
水平移動機構53は、鉛直移動機構52を水平方向に移動させることによって、容器供給装置3の鉛直上方と、メインコンベア2の鉛直上方とを往来する。
図39は、循環パレットコンベアの上面図および側面図である。具体的には、図39(A)は、+Z軸方向側から循環パレットコンベア365を見た図であり、図39(B)は、+X軸方向側から循環パレットコンベア365を見た図である。
循環パレットコンベア365は、前述した搬送路365A、プレート365B、および進退機構365Cの他、図39に示すように、上流側パレットコンベア361の始点位置に設けられるとともに、ダミーパレットDPを配置するダミー用配置台365Dを備えている。また、循環パレットコンベア365は、搬送路365Aの鉛直上方に配設された前述の脱落防止手段41を備えている。
搬送路365Aは、ダミーパレットDPの−Y軸方向側の側面に当接する当接部365A1を有するベルトコンベアを備え、このベルトコンベアをダミーパレットDPの1枚分の距離ごとに移動および停止を繰り返して間欠的に移動させることによって、ダミーパレットDPを+Y軸方向側に向かって間欠的に搬送する。
ダミー用配置台365Dは、ダミーパレットDPの長手方向の端部にそれぞれ形成された貫通孔DP3(図5参照)に挿入する2つのピン365D1と、各ピン365D1を昇降させるシリンダ365D2とを備えている。
脱落防止手段41は、図37および図39に示すように、循環パレットコンベア365にてダミーパレットDPを搬送する方向と直交する方向(X軸方向)に沿って延在する9個のレール部41A1を内部に有する矩形枠状のプレート41Aと、プレート41Aを昇降させる昇降機構41Bとを備えている。
したがって、本実施形態では、脱落防止手段41は、ダミーパレットDPの収容部DP1の行方向および列方向のうち、ダミーパレットDPの収容部DP1の少ない方向(列方向)に沿って延在するレール状に形成されている。
なお、パレットの収容部の行方向および列方向の数が同一の場合には、脱落防止手段は、パレットの収容部の行方向および列方向のうち、いずれかの方向に沿って延在するレール状に形成されていればよい。
また、本実施形態では、脱落防止手段41は、ダミーパレットDPの収容部DP1の行方向および列方向のうち、ダミーパレットDPの収容部DP1の少ない方向に沿って延在するレール状に形成されているが、ダミーパレットDPの収容部DP1の多い方向に沿って延在するレール状に形成されていてもよい。
プレート41Aは、ダミーパレットDPの収容部DP1に収容された容器C1の上端から鉛直上方側に離間した位置に配設されている。また、各レール部41A1は、ダミーパレットDPの長手方向に沿って所定の間隔で配設されているとともに、その間隔は、容器C1の開口の間隔と略同一に設定されている。
昇降機構41Bは、プレート41Aを上昇させることによって、ダミーパレットDPから離間させることができ、プレート41Aを下降させることによって、ダミーパレットDPに近接させることができる。換言すれば、脱落防止手段41は、昇降機構41Bにてプレート41Aを下降させることによって、ダミーパレットDPに収容された複数の容器C1の開口縁を押さえることができ、複数の容器C1の脱落を防止することができる。
清掃用ヘッド42は、図37に示すように、脱落防止手段41にて開口縁を押さえられた複数の容器C1を覆う2つの清掃用カバー421と、各清掃用カバー421を保持するプレート422と、各清掃用カバー421の内部に収納されるとともに、脱落防止手段41にて開口縁を押さえられた複数の容器C1のそれぞれにエアを吹き付けるノズル423と、清掃用カバー421にて覆われた複数の容器C1を吸引する容器クリーニング用吸引機424とを備えている。この清掃用ヘッド42は、脱落防止手段41にて開口縁を押さえられた複数の容器C1を清掃する。
なお、図37では、2つの清掃用カバー421のうち、−Y軸方向側の清掃用カバー421の側面(+X軸方向側の側面)を取り外すことによって、清掃用カバー421の内部を図示している。
ここで、2つの清掃用カバー421は、これらの間に4列の容器C1を挟むように離間してプレート422に保持されている。
以下、容器クリーニング装置4および容器移載装置5の機能について順に説明する。
まず、容器クリーニング装置4の機能について、図37に示す容器クリーニング装置4の状態を初期状態として説明する。
図40は、清掃用ヘッドを下降させた状態を示す側面図である。
容器クリーニング装置4は、図40に示すように、ダミーパレットDPが循環パレットコンベア365にて脱落防止手段41の鉛直下方に搬送されて停止すると、昇降機構41Bにてプレート41Aを下降させることによって、ダミーパレットDPに近接させるとともに、鉛直移動機構43にて清掃用ヘッド42を下降させることによって、脱落防止手段41の上面に清掃用カバー421を当接させる(図中下向矢印参照)。
次に、容器クリーニング装置4は、脱落防止手段41にて開口縁を押さえられた複数の容器C1のそれぞれにノズル423にてエアを吹き付けるとともに、清掃用カバー421にて覆われた複数の容器C1を容器クリーニング用吸引機424にて吸引することによって、容器C1に付着している粉塵などの異物を除去する。
したがって、本実施形態では、容器クリーニング装置4は、清掃用ヘッド42にて複数の容器C1を清掃するときにダミーパレットDPを静止させている。
図41は、清掃用ヘッドをスライドさせた状態を示す側面図である。
また、容器クリーニング装置4は、図41に示すように、水平移動機構44にて清掃用ヘッド42を−Y軸方向側に向かって容器C1の1列分の距離をスライドさせた後(図中左向矢印参照)、脱落防止手段41にて開口縁を押さえられた複数の容器C1のそれぞれにノズル423にてエアを吹き付けるとともに、清掃用カバー421にて覆われた複数の容器C1を容器クリーニング用吸引機424にて吸引することによって、容器C1に付着している粉塵などの異物を除去する。
そして、容器クリーニング装置4は、水平移動機構44にて清掃用ヘッド42のスライドと、容器C1に付着している粉塵などの異物の除去とを繰り返し、全ての容器C1に付着している粉塵などの異物を除去した後、鉛直移動機構43にて清掃用ヘッド42を上昇させることによって、脱落防止手段41の上面から清掃用カバー421を離間させるとともに、昇降機構41Bにてプレート41Aを上昇させることによって、ダミーパレットDPから離間させる。
その後、ダミーパレットDPは、循環パレットコンベア365にてダミー用配置台365Dに向かって搬送される。
次に、容器移載装置5の機能について、図38および図39を参照して説明する。
容器移載装置5は、水平移動機構53にて容器移載用ヘッド51を移動させることによって、ダミー用配置台365Dの鉛直上方に位置させる。
ここで、容器供給装置3は、ダミーパレットDPが循環パレットコンベア365にてダミー用配置台365Dに搬送されて停止すると、シリンダ365D2にて各ピン365D1を上昇させてダミーパレットDPの各貫通孔DP3に挿入することによって、ダミーパレットDPを上昇させて位置決めする。
したがって、本実施形態では、ダミー用配置台365Dは、ダミーパレットDPの複数の穴部(貫通孔DP3)に対して挿抜自在に設けられた複数のピン365D1を有し、各ピン365D1をダミーパレットDPの各貫通孔DP3にそれぞれ挿入することによって、ダミーパレットDPを位置決めしている。
なお、本実施形態では、ダミー用配置台365Dは、シリンダ365D2にて2つのピン365D1を上昇させてダミーパレットDPの2つの貫通孔DP3に挿入することによって、ダミーパレットDPを上昇させて位置決めしているが、3つ以上の複数のピンを上昇させてダミーパレットの3つ以上の複数の穴部に挿入することによって、ダミーパレットを上昇させて位置決めしてもよい。また、ダミー用配置台365Dは、ダミーパレットDPを上昇させることなく位置決めしてもよく、ダミーパレットDPを静止させる挟持機構などの他の機構を採用することによって、ダミーパレットDPを位置決めしてもよい。
次に、容器移載装置5は、鉛直移動機構52にて容器移載用ヘッド51を下降させた後、容器移載用ヘッド51に複数の容器C1の吸引を開始させることによって、ダミーパレットDPに収容されている複数の容器C1を吸引して保持する。この際、容器移載装置5は、ダミーパレットDPの供給用収容部DP1Fに合わせて容器移載用ヘッド51を下降させる。
そして、容器移載装置5は、鉛直移動機構52にて容器移載用ヘッド51を上昇させることによって、ダミーパレットDPの供給用収容部DP1Fに収容されている複数の容器C1をダミーパレットDPから取り外す。
ここで、容器供給装置3は、進退機構365Cにてプレート365Bを−X軸方向に進出させることによって、ダミー用配置台365Dに配置されたダミーパレットDPを上流側パレットコンベア361に送り出す。
なお、ダミーパレットDPは、予備用収容部DP1Sに収容されている容器C1を残したまま上流側パレットコンベア361に送り出されていくことになる。
また、容器移載装置5は、容器供給装置3にて容器仮置実行ステップS26を実行していた場合には、容器C1を空の供給用収容部DP1Fに補充していないので、そのダミーパレットDPに供給された複数の容器C1は移載しない。換言すれば、この場合には、容器移載用ヘッド51は、ダミーパレットDPに収容されている複数の容器C1を吸引して保持しないので、ダミーパレットDPは、収容部DP1(供給用収容部DP1Fおよび予備用収容部DP1S)に収容されている容器C1を残したまま上流側パレットコンベア361に送り出されていくことになる。
次に、容器移載装置5は、水平移動機構53にて容器移載用ヘッド51を移動させることによって、メインコンベア2の復路用コンベア22の終点位置(図4参照)の鉛直上方に位置させる。
ここで、メインコンベア2は、鉛直方向に沿って突没自在に設けられるとともに、鉛直上方側に向かって突出させることによって、メインコンベア2にて搬送されているメインパレットMPの搬送方向側の側面に当接してメインパレットMPを静止させる2つのストッパST1(図4参照)を備えている。
メインコンベア2は、その側方に配設された光電センサ(図示略)にてメインパレットMPを検知したときに前段のストッパST1を鉛直上方側に向かって突出させることによって、ストッパST1にメインパレットMPを当接させて所定の位置に待機させる。そして、メインコンベア2は、各ストッパST1を協働させることによって、メインパレットMPを1枚ずつ復路用コンベア22の終点位置に配置する。
なお、前述したように、メインパレットMPは、−X軸方向側の側面に貼り付けられた2つの円盤状のウレタンゴムMP4を有しているので、前段のストッパST1に当接して所定の位置に待機しているメインパレットMPと、後続のメインパレットMPとの衝突時の衝撃を緩和することができる。
そして、メインコンベア2は、メインパレットMPを復路用コンベア22の終点位置に配置した後、シリンダ(図示略)にて2つのピン(図示略)を上昇させてメインパレットMPの各貫通孔MP3(図3参照)のそれぞれに挿入することによって、ダミー用配置台365Dと同様にメインパレットMPを上昇させて位置決めする。
したがって、本実施形態では、メインコンベア2は、メインパレットMPの複数の穴部(貫通孔MP3)に対して挿抜自在に設けられた複数のピンを有し、各ピンをメインパレットMPの各貫通孔MP3にそれぞれ挿入することによって、メインパレットMPを位置決めしている。
なお、本実施形態では、メインコンベア2は、シリンダにて2つのピンを上昇させてメインパレットMPの2つの貫通孔MP3に挿入することによって、メインパレットMPを上昇させて位置決めしているが、3つ以上の複数のピンを上昇させてメインパレットの3つ以上の複数の穴部に挿入することによって、メインパレットを上昇させて位置決めしてもよい。また、メインコンベア2は、メインパレットMPを上昇させることなく位置決めしてもよく、メインパレットMPを静止させる挟持機構などの他の機構を採用することによって、メインパレットMPを位置決めしてもよい。
したがって、本実施形態では、ダミー用配置台365Dおよび復路用コンベア22の終点位置は、ダミーパレットDPおよびメインパレットMPをダミーパレットDPおよびメインパレットMPの短手方向に沿って並べて配置する容器移載用配置台として機能する。そして、鉛直移動機構52および水平移動機構53は、容器移載用ヘッド51をダミーパレットDPおよびメインパレットMPの短手方向に沿って移動させる。
次に、容器移載装置5は、鉛直移動機構52にて容器移載用ヘッド51を下降させることによって、複数の容器C1の下端部を胴体C11の半分程度までメインパレットMPの各収容部MP1に収容し、容器移載用ヘッド51に複数の容器C1の吸引を停止させて解放することによって、複数の容器C1を落下させてメインパレットMPに複数の容器C1を収容して移載する。
ここで、前述したように、容器C1は、有底筒状に形成されるとともに、頂部から底部に向かうにしたがって僅かに縮径するように形成された断面六角形状の胴体C11を有しているので、上端部側から下端部側に向かうにしたがって縮径するように形成されている。また、ダミーパレットDPの収容部DP1の大きさは、メインパレットMPの収容部MP1の大きさよりも大きくなるように設定されている。したがって、容器移載装置5は、容器C1の下端部をメインパレットMPの収容部MP1に収容する際に収容しやすくなる。
また、容器移載装置5は、複数の容器C1の下端部を胴体C11の半分程度までメインパレットMPの各収容部MP1に収容し、容器移載用ヘッド51に複数の容器C1の吸引を停止させて解放するので、複数の容器C1の破損を抑制することができる。
なお、本実施形態では、容器C1は、上端部側から下端部側に向かうにしたがって縮径するように形成されているが、これとは異なる形状に形成されていてもよい。
また、本実施形態では、ダミーパレットDPの収容部DP1の大きさは、メインパレットMPの収容部MP1の大きさよりも大きくなるように設定されているが、メインパレットMPの収容部MP1の大きさと同じであってもよく、メインパレットMPの収容部MP1の大きさよりも小さくてもよい。
その後、容器移載装置5は、鉛直移動機構52にて容器移載用ヘッド51を上昇させた後、水平移動機構53にて容器移載用ヘッド51を移動させることによって、ダミー用配置台365Dの鉛直上方に位置させて元に戻す。
このように、本実施形態では、容器供給装置3は、第1のアームロボット376および第2のアームロボット377にて容器C1を空の供給用収容部DP1Fに補充した後、供給用収容部DP1Fに収容された容器C1を容器供給装置3とは異なる他の装置(メインコンベア2)に移載している。また、容器供給装置3は、パレット搬送手段36にて奇数個のダミーパレットDPを循環させることによって、ダミーパレットDPの配置位置に2枚のダミーパレットDPを配置している。
なお、本実施形態では、容器供給装置3は、パレット搬送手段36にて奇数個のダミーパレットDPを循環させることによって、ダミーパレットDPの配置位置に2枚のダミーパレットDPを配置しているが、パレット搬送手段36にて循環させるダミーパレットDPの数は奇数個でなくてもよく、ダミーパレットDPの配置位置に配置するダミーパレットDPの数は2枚でなくてもよい。
〔充填装置〕
図42は、充填装置の上面図である。図43は、充填装置の側面図である。具体的には、図42は、+Z軸方向側から充填装置6を見た図であり、図43は、−Y軸方向側から充填装置6を見た図である。
充填装置6は、図42および図43に示すように、メインコンベア2の下流側に設けられた計量充填機構61と、メインコンベア2の上流側に設けられた充填用ホッパー62と、充填用ホッパー62をメインコンベア2の搬送方向に沿って進退させることによって搖動させる進退機構63と、充填用ホッパー62の進退方向の両側にそれぞれ設けられた2つの充填用吸引機64とを備えている。この充填装置6は、メインコンベア2にて搬送されてきたメインパレットMPに収容された容器C1に粉粒体Pを充填する。
図44は、計量充填機構および充填用ホッパーの断面模式図である。具体的には、図44は、XZ平面に沿って計量充填機構61および充填用ホッパー62を切断した断面を示す模式図である。
また、充填装置6は、図44に示すように、計量充填機構61の鉛直下方側に設けられるとともに、メインコンベア2の所定の位置にメインパレットMPを位置決めする位置決め機構65を備えている。
計量充填機構61は、メインパレットMPの上方に配設された計量ユニット66と、計量ユニット66の上方に配設されるとともに、充填用ホッパー62と隣り合うようにして配設された押出ユニット67とを備えている。
計量ユニット66は、押出ユニット67の下方に固定された矩形板状の計量板661と、計量板661の下方に取り付けられるとともに、モータ(図示略)の駆動力によってスライドする矩形板状のシャッタ662と、シャッタ662の下方に取り付けられた矩形板状のガイド板663とを備えている。
計量板661は、メインパレットMPの収容部MP1のそれぞれに対応するように形成された複数の計量穴661Aを有している。
シャッタ662は、メインコンベア2の往路用コンベア21の搬送方向と直交する方向(Y軸方向)に沿ってスライド自在に取り付けられている。このシャッタ662は、計量板661の計量穴661Aのそれぞれに対応するように形成された貫通孔662Aを有している。貫通孔662Aの内径は、計量板661の計量穴661Aの内径よりも大きくなっている。
ガイド板663は、計量板661の計量穴661Aのそれぞれに対応するように形成された貫通孔663Aを有している。貫通孔663Aの内径は、シャッタ662の貫通孔662Aと略同径となっている。
したがって、計量ユニット66は、計量板661と、シャッタ662と、ガイド板663とを重ね合せて構成されている。また、計量ユニット66は、シャッタ662をスライドさせてシャッタ662を開閉することによって、各計量穴661Aと、各貫通孔662A,663Aとを連通させている状態と、連通させていない状態とを切り替えることができる。
押出ユニット67は、計量板661に対して昇降自在に設けられた昇降板671と、計量板661の計量穴661Aのそれぞれに対応するように昇降板671に設けられた複数の押出ピン672と、昇降板671を昇降させる押出用シリンダ673とを備えている。この押出ユニット67は、押出用シリンダ673にて昇降板671を下降させることによって、計量ユニット66の各計量穴661Aを貫通する位置まで各押出ピン672を下降せることができる。
充填用ホッパー62は、図42〜図44に示すように、計量板661の上面に摺動自在に載置されるとともに、粉粒体Pを内部に貯留する角筒状の貯留槽621と、貯留槽621の鉛直上方側に重ね合せて配設されるとともに、粉粒体Pを投入する開口を鉛直上方側に有する有底筒状の投入槽622と、充填用ホッパー62の鉛直上方側に設けられた充填用カバー623とを備えている。なお、図42および図43は、充填用カバー623の図示を省略している。
投入槽622は、鉛直下方側に形成された有底角筒状の下筒622Aと、下筒622Aの鉛直上方側に形成されるとともに、上方に開口を有する上筒622Bと有している。この投入槽622は、アクリル樹脂製であり、その内部に投入した粉粒体Pを視認できるように透明となっている。
下筒622Aは、その底面に複数の円形の穴部622A1を有している。そして、各穴部622A1は、貯留槽621の内部に向かって突出する円筒状の突出部622A2を有している(図42および図44参照)。
具体的には、下筒622Aは、長手方向に沿って等間隔に5個の穴部622A1を配列しているとともに、短手方向に沿って等間隔に2個の穴部622A1を配列している。換言すれば、下筒622Aは、格子点状に10個の穴部622A1を有している。
したがって、本実施形態では、投入槽622は、底面に形成された10個の穴部622A1と、各穴部622A1と連通するとともに、貯留槽621の内部に向かって突出する円筒状の突出部622A2とを有している。
なお、本実施形態では、下筒622Aは、格子点状に10個の穴部622A1を有しているが、10個とは異なる数の穴部を有していてもよい。要するに、投入槽は、底面に形成された少なくとも1つの穴部を有していればよい。また、本実施形態では、穴部は、格子点状に配列されているが、格子点状に配列していなくてもよく、その並び方は規則性を有していなくてもよい。さらに、本実施形態では、投入槽622は、突出部622A2を有し、この突出部622A2は、円筒状に形成されていた。これに対して、投入槽は、突出部を有していなくてもよく、突出部は、角筒状などの他の断面形状を有する筒状に形成されていてもよい。
上筒622Bは、鉛直上方側に向かうにしたがってメインコンベア2の往路用コンベア21の搬送方向(X軸方向)に幅広となるように形成されている。
ここで、前述したように、充填装置6は、充填用ホッパー62をメインコンベア2の搬送方向に沿って進退させることによって搖動させる進退機構63を備えているので、充填用ホッパー62の開口は、鉛直上方側に向かうにしたがって充填用ホッパー62の搖動方向に幅広となるように形成されている。
なお、本実施形態では、充填用ホッパー62の開口は、鉛直上方側に向かうにしたがって充填用ホッパー62の搖動方向に幅広となるように形成されているが、このように形成されていなくてもよい。
また、本実施形態では、充填用ホッパー62は、貯留槽621および投入槽622の2つの槽を重ねて構成されるとともに、投入槽622は、穴部622A1および突出部622A2を有していた。これに対して、充填用ホッパーは、1つの槽にて構成されていてもよく、穴部および突出部を有していなくてもよい。要するに、充填用ホッパーは、粉粒体を内部に貯留できればよい。
充填用カバー623は、図44に示すように、上筒622Bの開口を覆うようにして配設されている。この充填用カバー623は、進退機構63にて充填用ホッパー62を搖動させたときに充填用ホッパー62の開口と常に連通する位置に設けられるとともに、粉粒体Pを投入する投入口623Aを備えている。
なお、本実施形態では、充填用カバー623は、前述したフレームFL(図2参照)に嵌め込まれたガラス板である。また、投入口623Aは、その開口を閉塞するための蓋(図示略)を有している。作業者は、この蓋を取り外すことによって、投入口623Aを介して充填用ホッパー62に粉粒体Pを投入することができる。
進退機構63は、図42および図43に示すように、充填用ホッパー62および押出ユニット67を載置するベース631と、ベース631を摺動自在に支持するとともに、メインコンベア2の搬送方向に沿って延在するレール632とを備え、モータ(図示略)の駆動力によってベース631をレール632に沿って進退させる。
したがって、進退機構63は、レール632に沿ってベース631を進退させることによって、ベース631に載置された充填用ホッパー62および押出ユニット67をメインコンベア2の搬送方向に沿って進退させる。
充填用吸引機64は、充填用ホッパー62および押出ユニット67の進退方向の両側(+X軸方向側および−X軸方向側)にそれぞれ設けられるとともに、計量板661の上面に漏れた粉粒体Pなどを吸引する。
なお、本実施形態では、充填装置6は、2つの充填用吸引機64を備えているが、1つの充填用吸引機を備えていてもよく、3つ以上の複数の充填用吸引機を備えていてもよい。また、充填装置は、充填用吸引機を備えていなくてもよい。
位置決め機構65は、図44に示すように、メインパレットMPに形成された各貫通孔MP3(図3参照)に挿入する2つのピン651と、各ピン651を支持しているプレートを昇降させるシリンダ652とを備えている。また、位置決め機構65は、鉛直方向に沿って突没自在に設けられるとともに、鉛直上方側に向かって突出させることによって、メインコンベア2にて搬送されているメインパレットMPの搬送方向側の側面に当接してメインパレットMPを静止させる2つのストッパST2(図4参照)を備えている。
以下、図44に示した充填装置6の状態を初期状態として充填装置6の機能について詳細に説明する。
まず、充填装置6は、シリンダ652にてピン651を下降させるとともに、押出用シリンダ673にて昇降板671を上昇させることによって、複数の押出ピン672を上昇させて初期状態とする。また、充填装置6は、この初期状態では、進退機構63にてベース631を進退させることによって、計量板661の計量穴661Aの鉛直上方に押出ユニット67を移動させている。
図45は、計量ユニットのシャッタを閉じた状態を示す図である。
次に、充填装置6は、メインコンベア2の側方に配設された光電センサ(図示略)にてメインパレットMPを検知したときに前段のストッパST2を鉛直上方側に向かって突出させることによって、ストッパST2にメインパレットMPを当接させてメインコンベア2にて搬送されているメインパレットMPを所定の位置に待機させる。そして、メインコンベア2は、各ストッパST2を協働させることによって、メインパレットMPを1枚ずつ位置決め機構65の鉛直上方に配置する。
充填装置6は、メインコンベア2にて搬送されてきたメインパレットMPが後段のストッパST2に当接し、位置決め機構65の鉛直上方に配置されると、図45に示すように、シリンダ652にてピン651を上昇させてメインパレットMPの各貫通孔MP3のそれぞれに挿入することによって、メインパレットMPを上昇させて位置決めする(図中上向矢印)。これによって、メインパレットMPに収容された複数の容器C1の開口部は、ガイド板663の貫通孔663Aに近接する。
次に、充填装置6は、シャッタ662をスライドさせてシャッタ662を閉じることによって、各計量穴661Aと、各貫通孔662A,663Aとを連通させていない状態に切り替える。ここで、各計量穴661Aと、シャッタ662とによって仕切られた凹状の空間は、カプセルCに充填すべき粉粒体Pの内容量と対応している。
その後、充填装置6は、進退機構63にてベース631を進退させることによって、計量板661の計量穴661Aの鉛直上方に充填用ホッパー62を移動させる(図中右向矢印)。これによって、充填用ホッパー62の貯留槽621内に貯留された粉粒体Pは、計量板661の計量穴661Aに充填される。具体的には、充填装置6は、貯留槽621から粉粒体Pを落下させて被充填部としての計量穴661Aに充填する。
したがって、貯留槽621の内部に貯留された粉粒体Pは、計量穴661Aに充填されることによって、減少していくことになる。そして、貯留槽621は、投入槽622に投入された粉粒体Pが穴部622A1および突出部622A2を介して落下することによって、粉粒体Pを内部に貯留する。ここで、投入槽622に投入された粉粒体Pが貯留槽621に落下する水平位置は、計量穴661Aの水平位置とは異なっている。換言すれば、投入槽に投入された粉粒体が貯留槽に落下する水平位置は、貯留槽にて粉粒体を被充填部に充填する水平位置とは異なっている。
なお、本実施形態では、投入槽に投入された粉粒体が貯留槽に落下する水平位置は、貯留槽にて粉粒体を被充填部に充填する水平位置とは異なっているが、同じ位置であってもよい。
図46は、計量板の計量穴に粉粒体を充填している状態を示す図である。
その後、充填装置6は、図46に示すように、進退機構63にてベース631を進退させることによって、計量板661の計量穴661Aの鉛直上方に再び押出ユニット67を移動させる(図中左向矢印)。これによって、計量板661の計量穴661Aに充填された粉粒体Pは、充填用ホッパー62の貯留槽621の下端にて擦り切られるので、充填装置6は、各計量穴661Aと、シャッタ662とによって仕切られた凹状の空間に一定量の粉粒体Pを充填することができる。
ここで、充填装置6は、充填用ホッパー62から粉粒体Pを落下させたときに各計量穴661Aに充填されずに漏れた粉粒体Pを各充填用吸引機64に吸引させる(図42および図43参照)。
このように、進退機構63は、充填用ホッパー62を水平方向に沿って搖動させる搖動手段として機能し、貯留槽621から粉粒体Pを落下させて計量穴661Aに充填するときに充填用ホッパー62を搖動させる。
図47は、容器に粉粒体を充填している状態を示す図である。
次に、充填装置6は、図47に示すように、シャッタ662をスライドさせてシャッタ662を開けることによって、各計量穴661Aと、各貫通孔662A,663Aとを連通させている状態に切り替える。これによって、計量板661の計量穴661Aに充填された粉粒体Pは、メインパレットMPに収容された複数の容器C1に落下して充填される。
さらに、充填装置6は、押出用シリンダ673にて昇降板671を下降させることによって、複数の押出ピン672にて計量板661の計量穴661Aに充填された粉粒体PをメインパレットMPに収容された複数の容器C1に押し出す(図中下向矢印)。
なお、本実施形態では、充填装置6は、複数の押出ピン672にて計量板661の計量穴661Aに充填された粉粒体Pを押し出していた。これに対して、例えば、充填装置6は、粉粒体Pの粒径が大きい場合には、シャッタ662の開閉のみによって、粉粒体Pを複数の容器C1に落下させて充填してもよい。また、例えば、充填装置6は、粉粒体Pの粒径が小さい場合には、複数の押出ピン672を振動させることによって、粉粒体Pを複数の容器C1に落下させやすくして充填してもよい。
その後、充填装置6は、シリンダ652にてピン651を下降させるとともに、ストッパST2を鉛直下方側に向かって没入させることによって、メインコンベア2にメインパレットMPを搬送させる。次に、充填装置6は、押出用シリンダ673にて昇降板671を上昇させることによって、複数の押出ピン672を上昇させて再び初期状態とする。
〔充填チェック装置〕
図48は、充填チェック装置を示す模式図である。具体的には、図48は、充填チェック装置7を+X軸方向側から見た模式図である。
充填チェック装置7は、図48に示すように、メインコンベア2にて搬送されてきたメインパレットMPの上面を撮像するCCDカメラ71を備えている。
この充填チェック装置7は、前述した充填装置6の位置決め機構65と同様の機構を有している。具体的には、充填チェック装置7は、メインパレットMPに形成された各貫通孔MP3(図3参照)に挿入する2つのピン(図示略)と、各ピンを支持しているプレートを昇降させるシリンダ(図示略)とを備えている。また、充填チェック装置7は、鉛直方向に沿って突没自在に設けられるとともに、鉛直上方側に向かって突出させることによって、メインコンベア2にて搬送されているメインパレットMPの搬送方向側の側面に当接してメインパレットMPを静止させるストッパ(図示略)を備えている。
充填チェック装置7は、メインコンベア2の側方に配設された光電センサ(図示略)にてメインパレットMPを検知したときにストッパを鉛直上方側に向かって突出させる。そして、充填チェック装置7は、メインコンベア2にて搬送されてきたメインパレットMPがストッパに当接し、CCDカメラ71の鉛直下方に配置されると、シリンダにてピンを上昇させてメインパレットMPの各貫通孔MP3のそれぞれに挿入することによって、メインパレットMPを上昇させて位置決めする。
そして、充填チェック装置7は、CCDカメラ71にメインパレットMPの上面を撮像させるとともに、CCDカメラ71にて撮像した画像に所定の処理を施すことによって、メインパレットMPに収容された容器C1に粉粒体Pが充填されているか否かを確認する。
その後、充填チェック装置7は、シリンダにてピンを下降させるとともに、ストッパを鉛直下方側に向かって没入させることによって、メインコンベア2にメインパレットMPを搬送させる。
〔フィルム供給装置〕
図49は、フィルム供給装置、フィルムダイカット装置、およびフィルム移載装置の側面図である。図50は、フィルム供給装置、フィルムダイカット装置、およびフィルム移載装置の上面図である。具体的には、図49は、−X軸方向側からフィルム供給装置8、フィルムダイカット装置9、およびフィルム移載装置10を見た図であり、図50は、+Z軸方向側からフィルム供給装置8、フィルムダイカット装置9、およびフィルム移載装置10を見た図である。
なお、図49および図50は、後述するフィルムダイカット装置9およびフィルム移載装置10の説明においても参照する。
フィルム供給装置8は、図49および図50に示すように、シート状のフィルム(アルミフィルム)SR1を紙管に巻き付けたシートロールSRを保持するホルダ81と、シートロールSRから引き出されたフィルムSR1を掛け回してガイドする複数のガイドローラ82とを備えている。このフィルム供給装置8は、フィルムダイカット装置9に蓋材C2を切り出すためのフィルムSR1を供給する。
各ガイドローラ82は、フィルムSR1をガイドすべくホルダ81からフィルムダイカット装置9に向かって順に配設されている。具体的には、ホルダ81に保持させたシートロールSRのフィルムSR1は、ガイドローラ821〜826の順に掛け回されてガイドされることによって、フィルムダイカット装置9に供給される。
フィルムダイカット装置9は、図49および図50に示すように、フィルム供給装置8にて供給されたフィルムSR1を載置するフィルム台91と、フィルム台91の鉛直上方に設けられたプレスヘッド92と、プレスヘッド92を昇降させる昇降機93と、フィルム供給装置8にて供給されたフィルムSR1をフィルム供給装置8から引き出すエアハンド94とを備えている。
図51は、フィルムダイカット装置にてカットしたフィルムを示す図である。
フィルムダイカット装置9は、図51に示すように、フィルム供給装置8にて供給されたフィルムSR1に蓋材C2を切り出すためのミシン目SR11を形成する。また、フィルムダイカット装置9は、メインパレットMPの長手方向の端部にそれぞれ形成された2つのピンMP2と対応する位置にパンチ穴SR12を形成する。そして、フィルムダイカット装置9は、このフィルムSR1の短手方向に沿ってカットラインSR13をカットすることによって、メインパレットMPと対応する大きさに切断する。
プレスヘッド92は、ミシン目SR11を形成するダイカット刃と、パンチ穴SR12を形成するパンチと、カットラインSR13をカットするカッターとを備え(図示略)、図49および図50に示すように、フィルム台91に載置されたフィルムSR1に押し付けることによって、フィルムSR1にミシン目SR11およびパンチ穴SR12を形成するとともに、このフィルムSR1をメインパレットMPと対応する大きさに切断する。
昇降機93は、プレスヘッド92を下降させることによって、プレスヘッド92をフィルム台91に載置されたフィルムSR1に押し付ける。
エアハンド94は、フィルムSR1の短手方向(X軸方向)の両側にそれぞれ設けられるとともに、フィルムSR1を挟持する一対の挟持部941と、各挟持部941をフィルムSR1の長手方向に沿って配設されたレール上を移動させる移動機構942とを備えている。
以下、フィルムダイカット装置9の機能について詳細に説明する。
まず、フィルムダイカット装置9は、フィルム供給装置8にて供給されたフィルムSR1をエアハンド94の一対の挟持部941に挟持させた後、各挟持部941を移動機構942にてフィルムSR1の長手方向に沿って移動させることによって、フィルムSR1を引き出してフィルム台91に載置する。具体的には、フィルムダイカット装置9は、メインパレットMPの一枚分の長さ(メインパレットMPの長手方向の長さ)を引き出す。
ここで、移動機構942は、終点の手前の位置までは各挟持部941を所定の速度で移動させる。その後、移動機構942は、各挟持部941を終点の手前の位置までの速度よりも遅い速度で終点まで移動させる。換言すれば、移動機構942は、終点の近傍では、各挟持部941をそれまでよりも低速で移動させる。これによれば、移動機構942は、フィルムSR1と、フィルム台91との位置合わせを容易に行うことができる。
次に、フィルムダイカット装置9は、昇降機93にてプレスヘッド92を下降させることによって、プレスヘッド92をフィルム台91に載置されたフィルムSR1に押し付ける。これによって、フィルムダイカット装置9は、フィルムSR1にミシン目SR11およびパンチ穴SR12を形成するとともに、このフィルムSR1のカットラインSR13をカットする。
ここで、エアハンド94の一対の挟持部941にてフィルム台91から引き出されていたフィルムSR1は、カットラインSR13をカットすることによって、メインパレットMPの1枚分に相当する長さに切断されることになる(以下、この状態に加工されたフィルムSR1をカットフィルムCFとする)。なお、このカットフィルムCFは、この前工程にて形成されたミシン目SR11およびパンチ穴SR12を既に有している。
そして、フィルムダイカット装置9は、フィルムSR1をエアハンド94の一対の挟持部941に解放させるとともに、昇降機93にてプレスヘッド92を上昇させた後、各挟持部941を移動機構942にてフィルムSR1の長手方向に沿ってフィルム台91の近傍まで移動させて元に戻す。
〔フィルム移載装置〕
フィルム移載装置10は、図49および図50に示すように、フィルムダイカット装置9にて切断されたフィルム(カットフィルムCF)を吸引して保持する吸引ヘッド101と、吸引ヘッド101を鉛直方向および水平方向に沿って移動させる移動機構102とを備えている。
図52は、吸引ヘッドの要部を示す断面図である。具体的には、図52は、吸引ヘッド101の一部をYZ平面に沿って切断した断面図である。
吸引ヘッド101は、図52に示すように、メインパレットMPの長手方向の端部にそれぞれ形成された2つのピンMP2と対応する位置に設けられた穴部101Aと、穴部101Aに挿入されるとともに、カットフィルムCFを吸引する面から突出して設けられる突出部101Bと、穴部101Aの内部に収納されるとともに、突出部101Bを鉛直下方に向かって付勢するバネ101Cとを備えている。
突出部101Bは、バネ101Cの付勢力に抗して穴部101Aに向かって押し込むことによって、その先端を吸引ヘッド101のカットフィルムCFを吸引する面に対して沈み込ませることができる長さに設定されている。
以下、フィルム移載装置10の機能について詳細に説明する。
まず、フィルム移載装置10は、移動機構102にて吸引ヘッド101を移動させてカットフィルムCFの上方に位置させるとともに、吸引ヘッド101を下降させた後、吸引ヘッド101に吸引を開始させてカットフィルムCFを保持する。このとき、突出部101Bは、カットフィルムCFに形成された各パンチ穴SR12に挿入されるので、吸引ヘッド101は、カットフィルムCFを所定の位置に保持することができる。
次に、フィルム移載装置10は、移動機構102にて吸引ヘッド101を移動させてメインコンベア2にて搬送されてきたメインパレットMPの鉛直上方に位置させる。
ここで、フィルム移載装置10は、前述した充填装置6の位置決め機構65と同様の機構を有している。具体的には、フィルム移載装置10は、メインパレットMPに形成された各貫通孔MP3(図3参照)に挿入する2つのピン(図示略)と、各ピンを支持しているプレートを昇降させるシリンダ(図示略)とを備えている。また、フィルム移載装置10は、鉛直方向に沿って突没自在に設けられるとともに、鉛直上方側に向かって突出させることによって、メインコンベア2にて搬送されているメインパレットMPの搬送方向側の側面に当接してメインパレットMPを静止させるストッパST3(図4参照)を備えている。
フィルム移載装置10は、メインコンベア2の側方に配設された光電センサ(図示略)にてメインパレットMPを検知したときにストッパST3を鉛直上方側に向かって突出させる。そして、フィルム移載装置10は、メインコンベア2にて搬送されてきたメインパレットMPがストッパST3に当接し、吸引ヘッド101の鉛直下方に配置されると、シリンダにてピンを上昇させてメインパレットMPの各貫通孔MP3のそれぞれに挿入することによって、メインパレットMPを上昇させて位置決めする。
そして、フィルム移載装置10は、吸引ヘッド101を下降させることによって、メインパレットMPの各ピンMP2に突出部101Bを当接させる。その後、フィルム移載装置10は、移動機構102にて吸引ヘッド101を更に下降させることによって(図中下向矢印)、メインパレットMPの各ピンMP2を穴部101Aに押し込む。
次に、フィルム移載装置10は、カットフィルムCFと、メインパレットMPとを近づけた状態において、吸引ヘッド101に吸引を停止させてカットフィルムCFを解放する。これによって、フィルム移載装置10は、カットフィルムCFをメインコンベア2にて搬送されてきたメインパレットMPに移載する。
その後、フィルム移載装置10は、シリンダにてピンを下降させるとともに、ストッパST3を鉛直下方側に向かって没入させることによって、メインコンベア2にメインパレットMPを搬送させる。
したがって、フィルム移載装置10は、カットフィルムCFに形成された蓋材C2の位置と、メインパレットMPに収容された容器C1の開口部の位置とを合せるようにしてカットフィルムCFを移載することができる。
〔シール装置〕
図53は、シール装置の側面図である。具体的には、図53は、シール装置11を+X軸方向側から見た図である。
シール装置11は、図53に示すように、フィルム移載装置10にてメインパレットMPに移載されたカットフィルムCFに形成された蓋材C2と、メインパレットMPに収容された容器C1の開口部とをシールして接着するシール機構111と、メインコンベア2の所定の位置にメインパレットMPを位置決めし、メインパレットMPの収容部MP1に収容された容器C1を押し上げる押上機構112とを備え、カプセルCに粉粒体Pを密封する。
なお、図53では、図面を簡略化するために、メインパレットMPの各ピンMP2およびカットフィルムCFの図示を省略している。
シール機構111は、容器C1の開口部に蓋材C2をシールして接着するために下面を高温に保った熱板111A1を有するシールヘッド111Aと、熱板111A1の下面を覆うフッ素樹脂製のシート111Bと、シールヘッド111Aを昇降させる昇降機111Cとを備えている。
シート111Bは、その両端を巻き取る一対のリール111B1を備え、いずれか一方のリール111B1からいずれか他方のリール111B1に巻き取ることによって、熱板111A1の下面を覆う部位を新しくすることができる。
昇降機111Cは、シールヘッド111Aを鉛直上下方向に沿ってスライド自在に支持するスライドシャフト111C1と、スライドシャフト111C1に沿ってシールヘッド111Aをスライドさせて昇降させるエアシリンダ111C2とを備えている。
押上機構112は、メインパレットMPに形成された各貫通孔MP3に挿入する2つのピン112Aと、メインパレットMPの収容部MP1のそれぞれに対応して設けられるとともに、メインパレットMPの収容部MP1に対して下面側から挿入することによって、メインパレットMPの収容部MP1に収容された容器C1に当接して押し上げる複数の棒状体112Bと、各ピン112Aおよび各棒状体112Bを支持しているプレートを昇降させるシリンダ112Cとを備えている。また、押上機構112は、鉛直方向に沿って突没自在に設けられるとともに、鉛直上方側に向かって突出させることによって、メインコンベア2にて搬送されているメインパレットMPの搬送方向側の側面に当接してメインパレットMPを静止させるストッパST4(図4参照)を備えている。
以下、シール装置11の機能について詳細に説明する。
まず、シール装置11は、シリンダ112Cにて各ピン112Aおよび各棒状体112Bを下降させる。そして、シール装置11は、昇降機111Cにてシールヘッド111Aを上昇させて初期状態とする。
次に、シール装置11は、メインコンベア2の側方に配設された光電センサ(図示略)にてメインパレットMPを検知したときにストッパST4を鉛直上方側に向かって突出させる。そして、シール装置11は、メインコンベア2にて搬送されてきたメインパレットMPがストッパST4に当接し、押上機構112の鉛直上方に配置されると、シリンダ112Cにて各ピン112Aを上昇させてメインパレットMPの各貫通孔MP3のそれぞれに挿入することによって、メインパレットMPを上昇させて位置決めするとともに、各棒状体112Bを上昇させてメインパレットMPの各収容部MP1に収容された容器C1を押し上げる。
したがって、本実施形態では、押上機構112は、メインパレットMPの下方側に設けられるとともに、メインパレットMPの収容部MP1に対して下面側から棒状体112Bを挿入することによって、容器C1を押し上げるシール用押上機構として機能する。
また、本実施形態では、押上機構112は、メインパレットMPの複数の穴部(貫通孔MP3)に対して挿抜自在に設けられた複数のピン112Aを有し、各ピン112AをメインパレットMPの各貫通孔MP3のそれぞれに挿入することによって、メインパレットMPを位置決めしている。
なお、本実施形態では、押上機構112は、シリンダ112Cにて2つのピン112Aを上昇させてメインパレットMPの2つの貫通孔MP3に挿入することによって、メインパレットMPを上昇させて位置決めしているが、3つ以上の複数のピンを上昇させてメインパレットの3つ以上の複数の穴部に挿入することによって、メインパレットを上昇させて位置決めしてもよい。また、押上機構112は、メインパレットMPを上昇させることなく位置決めしてもよく、メインパレットMPを静止させる挟持機構などの他の機構を採用することによって、メインパレットMPを位置決めしてもよい。
ここで、前述したように、メインパレットMPの各ピンMP2は、カットフィルムCFに形成された各パンチ穴SR12に挿入されているので、カットフィルムCFの移動を規制することができる。換言すれば、本実施形態では、メインパレットMPの各ピンMP2は、メインパレットMPの上に載置されたカットフィルムCFの移動を規制するシール用規制機構として機能する。
なお、本実施形態では、シール装置11は、シール用規制機構としてメインパレットMPの各ピンMP2を採用していたが、例えば、カットフィルムCFの周縁部をメインパレットMPに向かって押し付ける枠体などをシール用規制機構として採用してもよい。要するに、シール用規制機構は、パレットの上に載置されたフィルムの移動を規制することができればよく、パレットおよびシール装置の少なくともいずれか一方に設けられていればよい。また、本実施形態では、シール装置11は、シール用規制機構を備えているが、これを備えていなくてもよい。
次に、シール装置11は、昇降機111Cにてシールヘッド111Aを下降させることによって、蓋材C2を介して容器C1の開口部および熱板111A1を密着させる。これによって、シール装置11は、容器C1の開口部に蓋材C2をシールして接着する。具体的には、シール装置11は、カットフィルムCFの下面に塗布されている熱融解性の接着剤を熱板111A1の高温にて融解させることによって、容器C1の開口部に蓋材C2をシールして接着する。
したがって、本実施形態では、シール装置11は、押上機構112にて容器C1を押し上げた後、シール機構111にて熱板111A1を下降させることによって、容器C1の開口部に蓋材C2をシールして接着している。
その後、シール装置11は、シリンダ112Cにてピン112Aおよび棒状体112Bを下降させるとともに、ストッパST4を鉛直下方側に向かって没入させることによって、メインコンベア2にメインパレットMPを搬送させる。次に、シール装置11は、昇降機111Cにてシールヘッド111Aを上昇させて再び初期状態とする。
〔フィルム分離装置〕
図54は、フィルム分離装置の側面図である。具体的には、図54は、フィルム分離装置12を+X軸方向側から見た図である。
フィルム分離装置12は、図54に示すように、シール装置11にてシールされた蓋材C2をカットフィルムCFから分離するフィルム分離機構121と、カプセルCを吸引して保持することによって、カプセルCをメインパレットMPから取り出してカプセル仕分装置14に移載するカプセル移載機構122とを備えている。
なお、図54では、図面を簡略化するために、メインパレットMPの各ピンMP2およびカットフィルムCFの図示を省略している。
フィルム分離機構121は、メインコンベア2にて搬送されてきたメインパレットMPの鉛直上方側に設けられるとともに、蓋材C2の耳部C22を折り曲げる折り曲げプレート121A(図4参照)と、メインコンベア2の所定の位置にメインパレットMPを位置決めし、メインパレットMPの収容部MP1に収容されたカプセルCを押し上げて蓋材C2をカットフィルムCFから分離する押上機構121Bとを備えている。
折り曲げプレート121Aは、メインパレットMPに収容されたカプセルCのそれぞれに対応するように形成された複数の貫通孔121A1を有している。
図55は、折り曲げプレートの貫通孔を示す拡大断面図である。具体的には、図55は、折り曲げプレート121Aの貫通孔121A1をYZ平面に沿って切断した拡大断面図である。
折り曲げプレート121Aの貫通孔121A1は、容器C1の開口部と同様の六角形状に形成されている。また、この貫通孔121A1は、図55に示すように、カプセルC側に向かうにしたがって拡径する傾斜部121A2を有し、容器C1の開口部の外径よりも僅かに大きい内径に形成されている。
押上機構121Bは、図54に示すように、メインパレットMPに形成された各貫通孔MP3に挿入する2つのピン121B1と、メインパレットMPの収容部MP1のそれぞれに対応して設けられるとともに、メインパレットMPの収容部MP1に対して下面側から挿入することによって、メインパレットMPの収容部MP1に収容された容器C1に当接して押し上げる複数の棒状体121B2と、各ピン121B1および各棒状体121B2を支持しているプレートを昇降させるシリンダ121B3とを備えている。また、押上機構121Bは、鉛直方向に沿って突没自在に設けられるとともに、鉛直上方側に向かって突出させることによって、メインコンベア2にて搬送されているメインパレットMPの搬送方向側の側面に当接してメインパレットMPを静止させるストッパST5(図4参照)を備えている。
図56は、フィルム分離装置の上面図である。具体的には、図56は、フィルム分離装置12を+Z軸方向側から見た図である。
カプセル移載機構122は、図54および図56に示すように、メインパレットMPに収容されたカプセルCのそれぞれに対応するように設けられるとともに、メインコンベア2にて搬送されてきたメインパレットMPに収容されたカプセルCを吸引して保持する複数のサクションカップ122Aと、複数のサクションカップ122Aを支持する複数の移載ヘッド122Bと、複数の移載ヘッド122BをメインパレットMPの長手方向に沿って互いに近接隔離自在に保持するヘッド保持機構122Cと、ヘッド保持機構122Cを鉛直方向に移動させる鉛直移動機構122Dと、ヘッド保持機構122Cを水平方向に移動させることによって、メインコンベア2の鉛直上方と、カプセル仕分装置14の鉛直上方とを往来する水平移動機構122Eとを備えている。
図57は、カプセル移載機構の移載ヘッドの形状を示す模式図である。具体的には、図57は、複数の移載ヘッド122Bを+Z軸方向側から見た図である。
複数の移載ヘッド122Bは、図57に示すように、メインパレットMPに収容されたカプセルCのそれぞれに対応するように設けられるとともに、メインコンベア2にて搬送されてきたメインパレットMPに収容されたカプセルCのうち、16個のカプセルCを吸引して保持するサクションカップ122Aを支持する3つの移載ヘッド122B1〜3と、2個のカプセルCを吸引して保持するサクションカップ122Aを支持する1つの移載ヘッド122B4とを備えている。
そして、複数の移載ヘッド122Bは、図57(A)に示すように、ヘッド保持機構122Cにて互いに近接させることによって、複数のサクションカップ122Aの位置をメインパレットMPに収容されたカプセルCのそれぞれに対応させることができる。
また、複数の移載ヘッド122Bは、図57(B)に示すように、ヘッド保持機構122Cにて互いに隔離させることによって(図中矢印参照)、50個のカプセルCを16個の集団と、2個の集団とに分割してカプセル仕分装置14に移載する。
以下、フィルム分離装置12の機能について詳細に説明する。
まず、フィルム分離装置12は、シリンダ121B3にてピン121B1を下降させる。そして、フィルム分離装置12は、ヘッド保持機構122Cにて複数の移載ヘッド122Bを互いに近接させるとともに、水平移動機構122Eにて水平方向に移動させることによって、ヘッド保持機構122Cを折り曲げプレート121Aの鉛直上方に移動させて初期状態とする。
次に、フィルム分離装置12は、メインコンベア2の側方に配設された光電センサ(図示略)にてメインパレットMPを検知したときにストッパST5を鉛直上方側に向かって突出させる。そして、フィルム分離装置12は、メインコンベア2にて搬送されてきたメインパレットMPがストッパST5に当接し、押上機構121Bの鉛直上方に配置されると、シリンダ121B3にてピン121B1を上昇させてメインパレットMPの各貫通孔MP3のそれぞれに挿入することによって、メインパレットMPを上昇させて位置決めするとともに、棒状体121B2を上昇させてメインパレットMPの収容部MP1に収容されたカプセルCを押し上げる。
したがって、本実施形態では、押上機構121Bは、メインパレットMPの複数の穴部(貫通孔MP3)に対して挿抜自在に設けられた複数のピン121B1を有し、各ピン121B1をメインパレットMPの各貫通孔MP3のそれぞれに挿入することによって、メインパレットMPを位置決めしている。
なお、本実施形態では、押上機構121Bは、シリンダ121B3にて2つのピン121B1を上昇させてメインパレットMPの2つの貫通孔MP3に挿入することによって、メインパレットMPを上昇させて位置決めしているが、3つ以上の複数のピンを上昇させてメインパレットの3つ以上の複数の穴部に挿入することによって、メインパレットを上昇させて位置決めしてもよい。また、押上機構121Bは、メインパレットMPを上昇させることなく位置決めしてもよく、メインパレットMPを静止させる挟持機構などの他の機構を採用することによって、メインパレットMPを位置決めしてもよい。
また、フィルム分離装置12は、押上機構121Bにて各カプセルCを押し上げると同時に各サクションカップ122Aに吸引を開始させることによって、折り曲げプレート121Aの貫通孔121A1を通過させて複数の移載ヘッド122Bにて各カプセルCを保持する。これによって、フィルム分離装置12は、シール装置11にてシールされた蓋材C2をカットフィルムCFから分離する。
したがって、本実施形態では、押上機構121Bは、メインパレットMPの下方側に設けられるとともに、メインパレットMPの収容部MP1に対して下面側から棒状体121B2を挿入することによって、容器C1を押し上げて蓋材C2をカットフィルムCFから分離する分離用押上機構として機能する。
また、本実施形態では、折り曲げプレート121Aは、メインパレットMPの上方側に設けられるとともに、カットフィルムCFの蓋材C2とは異なる部位を押さえることによって、カットフィルムCFの上昇を規制する分離用規制機構として機能する。
なお、本実施形態では、分離用規制機構は、折り曲げプレート121Aを採用しているが、これとは異なる機構を採用してもよい。例えば、分離用規制機構は、フィルムの四隅を押さえることによって、フィルムの上昇を規制してもよい。要するに、分離用規制機構は、パレットの上方側に設けられるとともに、フィルムの蓋材とは異なる部位を押さえることによって、フィルムの上昇を規制することができればよい。
さらに、本実施形態では、移載ヘッド122Bは、折り曲げプレート121Aの上方側に設けられるとともに、押上機構121Bにて押し上げられたカプセルCを吸引して保持することによって、メインパレットMPからカプセルCを引き上げる引上機構として機能する。
なお、本実施形態では、移載ヘッド122Bは、折り曲げプレート121Aの上方側に設けられているが、これとは異なる位置に設けられていてもよい。換言すれば、移載ヘッド122Bは、押上機構121Bにて各カプセルCを押し上げると同時に各サクションカップ122Aに吸引を開始させることによって、折り曲げプレート121Aの貫通孔121A1を通過させて各カプセルCを保持しているが、押上機構121Bにて各カプセルCを押し上げると同時に各サクションカップ122Aに吸引を開始させなくてもよい。
ここで、折り曲げプレート121Aの貫通孔121A1は、カプセルC側に向かうにしたがって拡径する傾斜部121A2を有しているので、各カプセルCは、この傾斜部121A2にて蓋材C2の耳部C22を折り曲げられながら折り曲げプレート121Aの貫通孔121A1を通過することになる。
したがって、本実施形態では、折り曲げプレート121Aは、移載ヘッド122Bにて引き上げられたカプセルCを通過させることによって、カプセルCに沿って蓋材C2を折り曲げる貫通孔121A1を有している。
なお、本実施形態では、折り曲げプレート121Aは、カプセルCに沿って蓋材C2を折り曲げる貫通孔121A1を有しているが、このような貫通孔121A1を有していなくてもよい。
次に、フィルム分離装置12は、鉛直移動機構122Dにてヘッド保持機構122Cを鉛直上方に移動させた後、水平移動機構122Eにてヘッド保持機構122Cをカプセル仕分装置14の鉛直上方に移動させる。
そして、フィルム分離装置12は、ヘッド保持機構122Cにて複数の移載ヘッド122Bを互いに隔離させるとともに、鉛直移動機構122Dにてヘッド保持機構122Cを鉛直下方に移動させた後、各サクションカップ122Aに吸引を停止させることによって、各カプセルCを解放してカプセル仕分装置14に移載する。
その後、フィルム分離装置12は、シリンダ121B3にてピン121B1および棒状体121B2を下降させるとともに、ストッパST5を鉛直下方側に向かって没入させることによって、メインコンベア2にメインパレットMPを搬送させる。次に、フィルム分離装置12は、鉛直移動機構122Dにてヘッド保持機構122Cを鉛直上方に移動させた後、水平移動機構122Eにてヘッド保持機構122Cを折り曲げプレート121Aの鉛直上方に移動させて再び初期状態とする。
〔スクラップ排出装置〕
図58は、スクラップ排出装置の側面図である。具体的には、図58は、スクラップ排出装置13を−Y軸方向側から見た図である。
スクラップ排出装置13は、図58に示すように、シール装置11にてシールされた蓋材C2をカットフィルムCFから分離した後のスクラップSC(図51参照)を吸着する吸着板131と、吸着板131を鉛直方向および水平方向に移動させる移動機構132と、吸着板131にて吸着されたスクラップSCを保持するスクラップ保持台133とを備えている。
吸着板131は、スクラップSCの四隅のそれぞれに対応するように取り付けられた4つの吸着パッド131Aを有している。
移動機構132は、吸着板131を鉛直方向に移動させるリフトシリンダ132Aと、吸着板131を水平方向に移動させることによって、メインコンベア2の鉛直上方と、スクラップ保持台133の鉛直上方とを往来するロッドレスシリンダ132Bとを備えている。なお、図58では、メインコンベア2の図示を省略している。
図59は、スクラップ保持台の外観を示す斜視図である。
スクラップ保持台133は、図59に示すように、鉛直上方側に向かって突出する2本のポール133Aを備えている。このスクラップ保持台133は、吸着板131にて吸着されたスクラップSCに形成された穴SC1に各ポール133Aを挿入することによって、スクラップSCを保持する。
以下、スクラップ排出装置13の機能について詳細に説明する。
まず、スクラップ排出装置13は、移動機構132にて水平方向に移動させることによって、吸着板131をメインコンベア2の鉛直上方に移動させて初期状態とする。
ここで、メインコンベア2は、吸着板131の鉛直下方にメインパレットMPを配置した後、シリンダ(図示略)にて2つのピン(図示略)を上昇させてメインパレットMPの各貫通孔MP3のそれぞれに挿入することによって、メインパレットMPを上昇させて位置決めする。
したがって、本実施形態では、メインコンベア2は、メインパレットMPの複数の穴部(貫通孔MP3)に対して挿抜自在に設けられた複数のピンを有し、各ピンをメインパレットMPの各貫通孔MP3のそれぞれに挿入することによって、メインパレットMPを位置決めしている。
なお、本実施形態では、メインコンベア2は、シリンダにて2つのピンを上昇させてメインパレットMPの2つの貫通孔MP3に挿入することによって、メインパレットMPを上昇させて位置決めしているが、3つ以上の複数のピンを上昇させてメインパレットの3つ以上の複数の穴部に挿入することによって、メインパレットを上昇させて位置決めしてもよい。また、メインコンベア2は、メインパレットMPを上昇させることなく位置決めしてもよく、メインパレットMPを静止させる挟持機構などの他の機構を採用することによって、メインパレットMPを位置決めしてもよい。
次に、スクラップ排出装置13は、移動機構132にて吸着板131を鉛直下方に移動させることによって、吸着板131をカットフィルムCFの近傍に位置させるとともに、吸着板131の吸着パッド131Aに吸着を開始させることによって、蓋材C2をカットフィルムCFから分離した後のスクラップSCを保持する。そして、スクラップ排出装置13は、移動機構132にて吸着板131を鉛直上方に移動させることによって、吸着板131にて保持されているスクラップSCをメインパレットMPから離間させた後、移動機構132にて水平方向に移動させることによって、吸着板131をスクラップ保持台133の鉛直上方に移動させる。
次に、スクラップ排出装置13は、吸着板131の吸着パッド131Aに吸着を停止させることによって、蓋材C2をカットフィルムCFから分離した後のスクラップSCを解放してスクラップ保持台133に保持させる。
その後、スクラップ排出装置13は、シリンダにてピンを下降させることによって、メインコンベア2にメインパレットMPを搬送させる。次に、スクラップ排出装置13は、移動機構132にて水平方向に移動させることによって、吸着板131をメインコンベア2の鉛直上方に移動させて再び初期状態とする。
〔カプセル仕分装置〕
図60は、カプセル仕分装置の上面図である。具体的には、図60は、カプセル仕分装置14を+Z軸方向側から見た図である。
カプセル仕分装置14は、図60に示すように、フィルム分離装置12にて移載されたカプセルCを分割して搬送するカプセル分割コンベア141と、カプセル分割コンベア141の搬送方向の下流側(紙面下側)に設けられるとともに、カプセルCを収納するためのケースCSを搬送するケース搬送コンベア142と、カプセル分割コンベア141およびケース搬送コンベア142の間に設けられたカプセルシューター143とを備えている。このカプセル仕分装置14は、フィルム分離装置12にて移載されたカプセルCを所定の個数ごとに仕分けてケースCSに収納する。具体的には、カプセル仕分装置14は、カプセルCを32個ごとに仕分けてケースCSに収納する。
なお、図60では、ハッチングを付してケースCSを図示している。以下の図面においても同様である。
図61は、カプセルおよびケースを示す斜視図である。
ケースCSは、図61に示すように、断面楕円形状の有底筒状に形成された収納部CS1と、収納部CS1の開口を閉塞する楕円形状の蓋部CS2と、収納部CS1に対して蓋部CS2を開閉自在に接続するヒンジ部CS3とを備えている。このケースCSは、前述したように、32個のカプセルCを収納して蓋部CS2を閉塞することができる大きさに形成されている。
図62は、ケースを保持するケース用台座を示す斜視図である。
ケース用台座CSPは、図62に示すように、直方体状に形成された台座部CSP1と、台座部CSP1の略中央位置に形成された凹部CSP2とを有している。この凹部CSP2は、ケースCSの底面と同一の断面形状を有し、ケースCSの底面よりも僅かに大きい断面形状に形成されている。また、凹部CSP2の深さは、ケースCSの半分程度を挿入できるように設定されている。
したがって、ケース用台座CSPは、この凹部CSP2にケースCSを底面側から挿入することによって、ケースCSを保持することができる。
カプセル分割コンベア141は、図60に示すように、カプセルCを載置するとともに、カプセルCを所定の搬送方向(図中下方向)に沿って搬送する搬送路141Aと、その搬送方向に沿って設けられた5つのガイドレール141B1〜141B5と、搬送路141Aの下流側に設けられた光電センサ141Cとを備えている。
ガイドレール141B1〜141B4は、フィルム分離装置12のヘッド保持機構122Cにて複数の移載ヘッド122Bを互いに隔離させたときに各移載ヘッド122B1〜122B3にて保持されている16個のカプセルCを搬送路141Aに載置できる広さの幅となるように設けられている。
また、ガイドレール141B5は、ガイドレール141B4に対し、フィルム分離装置12のヘッド保持機構122Cにて複数の移載ヘッド122Bを互いに隔離させたときに移載ヘッド122B4にて保持されている2個のカプセルCを搬送路141Aに載置できる広さの幅となるように設けられている。
したがって、カプセル分割コンベア141は、メインパレットMPの1枚分に相当する50個のカプセルCをガイドレール141B1〜141B5にて分割することによって、16個の集団と、2個の集団とに分けて搬送することができる。換言すれば、本実施形態では、カプセル分割コンベア141は、一単位のカプセルC(メインパレットMPの1枚分に相当する50個のカプセルC)を分割することによって、第1の集団(16個の集団)と、第1の集団とは個数の異なる第2の集団(2個の集団)とに分けて搬送する分割搬送手段として機能する。
なお、一単位のカプセルCの数、第1の集団および第2の集団のカプセルの数、ケースCSに収納するカプセルCの数は、本実施形態とは異なる数であってもよい。
また、フィルム分離装置12のヘッド保持機構122Cは、互いに近接隔離自在に構成された複数の部位(移載ヘッド122B1〜122B4)を有し、複数の部位を近接させて一単位のカプセルCを保持するとともに、複数の部位を隔離させて一単位のカプセルCを複数の集団に分割して解放することによって、一単位のカプセルCを所定の個数ごとに仕分ける仕分用保持機構として機能する。
換言すれば、本実施形態では、カプセル仕分装置14は、フィルム分離装置12のカプセル移載機構122を含んで構成されている。
光電センサ141Cは、フィルム分離装置12にて移載されたカプセルCのうち、最初の1行目のカプセルCを検出することによって、メインパレットMPの1枚分に相当する50個のカプセルCを搬送したか否かを検出する。したがって、本実施形態では、光電センサ141Cは、一単位のカプセルCを搬送したか否かを検出するカプセル用検出手段として機能する。
図63は、ケース搬送コンベアの上面図である。具体的には、図63は、ケース搬送コンベア142を+Z軸方向側から見た図である。
ケース搬送コンベア142は、図60および図63に示すように、ケース用台座CSPを介してケースCSを載置するとともに、ケースCSを所定の搬送方向(+Y軸方向)に沿って搬送する搬送路を有する第1レーン142Aおよび第2レーン142Bと、ケース用台座CSPを介してケースCSを載置するとともに、ケースCSを所定の搬送方向(−Y軸方向)に沿って搬送する搬送路を有する第3レーン142Cとを備えている。
なお、本実施形態では、第1レーン142Aの上流側と、第3レーン142Cの下流側とは、互いに連結して構成されている。したがって、第3レーン142Cにて−Y軸方向に搬送されてきたケース用台座CSPは、そのまま第1レーン142Aにて+Y軸方向に搬送されることになる。また、第1レーン142Aおよび第3レーン143Cの連結部位は、箱体142Dにて覆われている。
また、ケース搬送コンベア142は、第1レーン142Aの下流側に設けられたストッパ144Aと、第2レーン142Bの下流側に設けられたストッパ144Bと、第1レーン142Aに載置されたケース用台座CSPを第2レーン142Bに移載するケース移載機構145と、第2レーン142Bに載置されたケース用台座CSPを第3レーン142Cに移載するケース移載機構146と、第1レーン142Aにて搬送されてきたケース用台座CSPをケース移載機構145の手前に静止させるストッパ147と、第1レーン142Aに載置されたケース用台座CSPを鉛直上下方向に沿って振動させるケース用振動手段148(図64参照)とを備えている。
ここで、ケース搬送コンベア142は、カプセル分割コンベア141の鉛直下方に所定の間隔を隔てて配設されているとともに、カプセル分割コンベア141の搬送方向と直交する方向に沿ってケースCSを搬送するように配設されている。
ストッパ144Aは、第1レーン142Aの下流側に位置し、ケース搬送コンベア142に固定されている。このストッパ144Aは、第1レーン142Aにて搬送されてきたケース用台座CSPに当接し、第1レーン142Aの搬送路の移動に逆らって第1レーン142Aの終点位置にケース用台座CSPを静止させる。また、このケース用台座CSPの後に第1レーン142Aにて搬送されてきたケース用台座CSPは、このケース用台座CSPに当接し、第1レーン142Aの搬送路の移動に逆らって順に静止していくことになる。本実施形態では、ストッパ144Aは、第1レーン142Aの搬送路の移動に逆らって第1レーン142Aの終点位置に合計4つのケース用台座CSPを静止させる。
ストッパ144Bは、第2レーン142Bの下流側に位置し、ケース搬送コンベア142に固定されている。このストッパ144Bは、第2レーン142Bにて搬送されてきたケース用台座CSPに当接し、第2レーン142Bの搬送路の移動に逆らって第2レーン142Bの終点位置にケース用台座CSPを静止させる。また、このケース用台座CSPの後に第2レーン142Bにて搬送されてきたケース用台座CSPは、このケース用台座CSPに当接し、第2レーン142Bの搬送路の移動に逆らって順に静止していくことになる。
なお、本実施形態では、ケース搬送コンベア142は、第1レーン142Aの所定の位置にケース用台座CSPを静止させるストッパ144Aと、第2レーン142Bの所定の位置にケース用台座CSPを静止させるストッパ144Bとを備えているが、例えば、ケース搬送コンベア142の搬送路を停止させることなどの他の方法によって、所定の位置にケース用台座CSPを静止させるようにしてもよい。
ケース移載機構145は、X軸方向に沿って突没自在に配設された2つのプッシャー145Aと、第1レーン142Aを挟んでプッシャー145Aの反対側に配設されたガイドレール145Bとを備えている。
なお、本実施形態では、第1レーン142Aの上流側に設けられたプッシャー145Aをプッシャー145A1とし、第1レーン142Aの下流側に設けられたプッシャー145Aをプッシャー145A2として説明する。
プッシャー145A1は、ストッパ144Aにて第1レーン142Aの終点位置に静止した4つのケース用台座CSPのうち、上流側の3つのケース用台座CSPを第2レーン142Bに向かって押し出すことによって、第2レーン142Bに移載する。
プッシャー145A2は、ストッパ144Aにて第1レーン142Aの終点位置に静止した4つのケース用台座CSPのうち、下流側の1つのケース用台座CSPを第2レーン142Bに向かって押し出すことによって、第2レーン142Bに移載する。
ガイドレール145Bは、Z軸方向に沿って突没自在に配設されている。このガイドレール145Bは、各プッシャー145Aにてケース用台座CSPを押し出すときに下降し、それ以外のときに上昇する。
ケース移載機構146は、X軸方向に沿って進退自在に配設されたプレート146Aを備え、このプレート146Aをストッパ144Bにて第2レーン142Bの終点位置に静止した4つのケース用台座CSPに当接させて押し出すことによって、第3レーン142Cに移載する。
ストッパ147は、X軸方向に沿って進退自在に配設されている。このストッパ147は、各プッシャー145Aにてケース用台座CSPを押し出した後に−X軸方向側に向かって後退し、ケース用台座CSPを第1レーン142Aの終点位置に搬入する。また、ストッパ147は、4つのケース用台座CSPを第1レーン142Aの終点位置に搬入した後に+X軸方向側に向かって進出し、ケース用台座CSPをケース移載機構145の手前に静止させる。
図64は、ケース用振動手段を側面側から見た模式図である。具体的には、図64は、ケース用振動手段を+X軸方向側から見た模式図である。
ケース用振動手段148は、図64に示すように、鉛直上下方向に沿って昇降自在に設けられるとともに、ケース用台座CSPの底面に当接して昇降することによって、ケース用台座CSPを鉛直上下方向に沿って振動させる振動機構148Aと、振動機構148Aの内部に取り付けられるとともに、振動機構148Aを振動させるバイブレータ148Bとを備えている。
振動機構148Aは、第1レーン142Aを構成するローラの隙間を介してケース用台座CSPの底面に当接するピン148A1と、このピン148A1を昇降させる昇降機(図示略)とを備えている。
なお、本実施形態では、ケース用振動手段148は、ケース用台座CSPを鉛直上下方向に沿って振動させるように構成されているが、水平左右方向に沿って振動させるように構成されていてもよい。また、ケース用振動手段148は、振動機構148Aと、バイブレータ148Bとを備えているが、いずれか一方のみを備えていてもよく、ケース用台座CSPを振動させることができれば、これら以外の機械要素を備えていてもよい。さらに、ケース搬送コンベア142は、ケース用振動手段148を備えているが、ケース用台座CSPを振動させなくても良い場合には、ケース用振動手段148を備えていなくてもよい。
図65は、カプセル仕分装置の側面図である。具体的には、図65は、カプセル仕分装置14を−Y軸方向側から見た図である。
カプセルシューター143は、図60および図65に示すように、先端側に向かうにしたがって鉛直下方側に傾斜するようにしてカプセル分割コンベア141に取り付けられている。このカプセルシューター143は、カプセル分割コンベア141にて搬送された各集団のそれぞれに対応して設けられたガイド部143Aを備えている(図60参照)。
各ガイド部143Aは、カプセル分割コンベア141にて搬送された第1の集団のそれぞれに対応して設けられた3つのガイド部143A1と、カプセル分割コンベア141にて搬送された第2の集団に対応して設けられた1つのガイド部143A2とを備えている。
各ガイド部143A1は、基端から先端に向かうにしたがって断面積を小さくするようにして形成された角筒状の部材である。各ガイド部143A1は、第1レーン142Aの搬送路にケース用台座CSPを介して載置されたケースCSの収納部CS1の開口にカプセルCを投入すべく、その先端の開口面積をケースCSの開口面積よりも小さくするように設定されている。
各ガイド部143A1は、図60および図63に示すように、ケース搬送コンベア142の搬送方向に沿って隣接して配設されているとともに、ケース搬送コンベア142のストッパ144Aにて静止させられている上流側の3つのケースCSと対応する位置に配設されている。また、各ガイド部143A1の先端と、ケースCSの開口とは、カプセルCの大きさよりも小さい間隔を隔てて配設されている。
ガイド部143A2は、基端から先端まで断面積を同じくするようにして形成された角筒状の部材である。各ガイド部143A2は、第1レーン142Aの搬送路にケース用台座CSPを介して載置されたケースCSの収納部CS1の開口にカプセルCを投入すべく、その基端から先端までの開口面積をケースCSの開口面積よりも小さくするように設定されている。
ガイド部143A2は、ケース搬送コンベア142のストッパ144Aにて静止させられている下流側の1つのケースCSと対応する位置に配設されている。また、ガイド部143A2の先端と、ケースCSの開口とは、カプセルCの大きさよりも小さい間隔を隔てて配設されている。
なお、本実施形態では、各ガイド部143Aの先端と、ケースCSの開口とは、カプセルCの大きさよりも小さい間隔を隔てて配設されているが、これより大きい間隔を隔てて配設されていてもよい。
したがって、カプセル分割コンベア141にて搬送された第1の集団は、カプセルシューター143を滑るようにして落下し、ケースCSの開口面積よりも小さい開口面積に設定された各ガイド部143A1の先端を介してケース搬送コンベア142の搬送路に載置された上流側の3つのケースCSに落下して収納される。
また、カプセル分割コンベア141にて搬送された第2の集団は、カプセルシューター143を滑るようにして落下し、ケースCSの開口面積よりも小さい開口面積に設定されたガイド部143A2の先端を介してケース搬送コンベア142の搬送路に載置された下流側の1つのケースCSに落下して収納される。
このように、本実施形態では、カプセルシューター143は、カプセル分割コンベア141にて搬送された各集団をケース搬送コンベア142にて搬送されるケースCSに案内する案内手段として機能する。
なお、本実施形態では、カプセル仕分装置14は、カプセルシューター143を備えているが、案内手段は、これとは異なる構成であってもよい。要するに、案内手段は、分割搬送手段と、ケース搬送コンベアとの間に設けられるとともに、分割搬送手段にて搬送された各集団をケース搬送コンベアにて搬送されるケースに案内することができればよい。また、仕分装置は、案内手段を備えていなくてもよい。
図66は、カプセル仕分装置の概略構成を示す機能ブロック図である。
カプセル仕分装置14は、前述したカプセル分割コンベア141、ケース搬送コンベア142、およびカプセルシューター143の他、図66に示すように、カプセル仕分装置14の全体を制御する仕分用制御手段149を備えている。
仕分用制御手段149は、CPU(Central Processing Unit)や、メモリなどによって構成され、このメモリに記憶された所定のプログラムに従って情報処理を実行する。この仕分用制御手段149は、第1収納判定部149Aと、第2収納判定部149Bと、搬出実行部149Cと、振動実行部149Dとを備えている。
第1収納判定部149Aは、ストッパ144Aにて第1レーン142Aの終点位置に静止させた上流側の3つのケースCS(以下、第1のケースCS10とする)に32個のカプセルCを収納したか否かを判定する。具体的には、第1収納判定部149Aは、光電センサ141Cにて一単位(50個)のカプセルCを搬送したことを検出した回数を計数し、2回となったか否かを判定することによって、ケースCSに32個のカプセルCを収容したか否かを判定する。
第2収納判定部149Bは、ストッパ144Aにて第1レーン142Aの終点位置に静止させた下流側の1つのケースCS(以下、第2のケースCS20とする)に32個のカプセルCを収納したか否かを判定する。具体的には、第2収納判定部149Bは、光電センサ141Cにて一単位(50個)のカプセルCを搬送したことを検出した回数を計数し、16回となったか否かを判定することによって、ケースCSに32個のカプセルCを収容したか否かを判定する。
なお、本実施形態では、第1収納判定部149Aおよび第2収納判定部149Bは、光電センサ141Cにて一単位(50個)のカプセルCを搬送したことを検出した回数を計数することによって、ケースCSに32個のカプセルCを収納したか否かを判定しているが、例えば、カプセルCおよびケースCSの全体の重量を計測することなどの他の方法によって、ケースCSに32個のカプセルCを収納したか否かを判定してもよい。要するに、第1収納判定部および第2収納判定部は、ケース搬送コンベアにて搬送されるケースに所定の個数のカプセルを収納したか否かを判定することができればよい。
搬出実行部149Cは、第1収納判定部149Aにて第1のケースCS10に32個のカプセルCを収納したと判定した場合に、プッシャー145A1およびガイドレール145Bを協働させることよって、第1レーン142Aの搬送路にケース用台座CSPを介して載置された第1のケースCS10を第2レーン142Bに移載する。また、搬出実行部149Cは、第2収納判定部149Bにて第2のケースCS20に32個のカプセルCを収納したと判定した場合に、プッシャー145A2およびガイドレール145Bを協働させることよって、第1レーン142Aの搬送路にケース用台座CSPを介して載置された第2のケースCS20を第2レーン142Bに移載する。
振動実行部149Dは、振動機構148Aのピン148A1をケース用台座CSPの底面に当接させるとともに、振動機構148Aをバイブレータ148Bにて振動させる。
また、振動実行部149Dは、光電センサ141Cにて一単位(50個)のカプセルCを搬送したことを検出した場合に、ケース用台座CSPを振動機構148Aにて鉛直上下方向に沿って振動させる。
したがって、本実施形態では、振動機構148Aは、カプセル仕分装置14にてケースCSに複数個のカプセルCを投入した後、ケース用台座CSPを鉛直上下方向に沿って振動させる。また、本実施形態では、バイブレータ148Bは、カプセル仕分装置14にてケースCSに複数個のカプセルCを投入しているとき、およびカプセル仕分装置14にてケースCSに複数個のカプセルCを投入した後、振動機構148Aを振動させる。
以下、カプセル仕分装置14の機能について詳細に説明する。
図67は、カプセル仕分処理のフローチャートを示す図である。
カプセル仕分装置14にてカプセルCを所定の個数ごとに仕分けてケースCSに収納する場合には、仕分用制御手段149は、メモリに記憶された所定のプログラムに従って、図67に示すように、ステップS31〜S36を実行する。
以下、ステップS31〜S36の詳細について、図面を参照して説明する。
まず、仕分用制御手段149は、各プッシャー145Aを−X軸方向に後退させるとともに、ストッパ147を−X軸方向に後退させて初期状態とし、第1レーン142AにてケースCSを搬送する。
第1レーン142Aにて搬送されてきたケース用台座CSPは、ストッパ144Aに当接し、第1レーン142Aの終点位置に静止する。
そして、仕分用制御手段149は、ストッパ144Aにて4つのケース用台座CSPが第1レーン142Aの終点位置に静止すると、ストッパ147を+X軸方向側に進出させることによって、後続のケース用台座CSPをケース移載機構145の手前に静止させる(図63参照)。
したがって、本実施形態では、第1レーン142Aは、カプセル移載機構122にて仕分けられた各集団を収納する複数のケースCSを載置するとともに、複数のケースCSを所定の搬送方向に沿って移動させて搬入する搬入路として機能する。
また、振動実行部149Dは、ストッパ144Aにて4つのケース用台座CSPが第1レーン142Aの終点位置に静止すると、振動機構148Aのピン148A1をケース用台座CSPの底面に当接させるとともに、振動機構148Aをバイブレータ148Bにて振動させる。
その後、カプセル分割コンベア141にて搬送された各集団は、カプセルシューター143を滑るようにして落下し、ガイド部143Aに導かれて第1レーン142Aに載置された第1のケースCS10に落下して収納される。具体的には、カプセル分割コンベア141にて搬送された第1の集団は、カプセルシューター143を滑るようにして落下し、ガイド部143A1に導かれて第1レーン142Aに載置された3つの第1のケースCS10に落下して収納される。また、カプセル分割コンベア141にて搬送された第2の集団は、カプセルシューター143を滑るようにして落下し、ガイド部143A2に導かれて第1レーン142Aに載置された第2のケースCS20に落下して収納される。
次に、第1収納判定部149Aは、第1のケースCS10に32個のカプセルCを収納したか否かを判定する(S31:第1収納判定ステップ)。換言すれば、第1収納判定部149Aは、第1の集団を収納する第1のケースCS10を搬出可能であるか否かを判定する。
図68は、第1収納判定部にてケースにカプセルを収納したと判定した状態を示す図である。
搬出実行部149Cは、第1収納判定部149Aにて第1のケースCS10に32個のカプセルCを収納したと判定した場合に、図68に示すように、プッシャー145A1を+X軸方向側に進出させるとともに、ガイドレール145Bを下降させることによって、第1レーン142Aに載置された第1のケースCS10を第2レーン142Bに移載する。
図69は、ケース搬送コンベアにて第1のケースを搬出している状態を示す図である。
その後、搬出実行部149Cは、図69に示すように、プッシャー145A1を−X軸方向側に後退させるとともに、第2レーン142Bに載置された第1のケースCS10を搬出する(S32:第1のケース搬出実行ステップ)。換言すれば、搬出実行部149Cは、カプセル分割コンベア141にて一単位のカプセルCを2回搬送した場合(16個の第1の集団を2回搬送して32個のカプセルCを第1のケースCS10に収納した場合)に第1のケースCS10を搬出する。
また、搬出実行部149Cは、第1のケースCS10を第2レーン142Bに移載した後、ストッパ147を−X軸方向側に後退させることによって、第1レーン142Aの終点位置に第1のケースCS10を新たに静止させる。
図70は、第1のケースを第2レーンから第3レーンに移載している状態を示す図である。
仕分用制御手段149は、ストッパ144Bにてケース用台座CSPが第2レーン142Bの終点位置に静止すると、図70に示すように、プレート146Aをケース用台座CSPに当接させて押し出すことによって、第2レーン142Bに載置されたケース用台座CSPを第3レーン142Cに移載する。そして、仕分用制御手段149は、第3レーン142Cに載置されたケース用台座CSPを搬送する。
なお、作業者は、ストッパ144Bにてケース用台座CSPが第2レーン142Bの終点位置に静止すると、ケース用台座CSPに収納された第1のケースCS10を取り出して目視検査した後、後の工程に送出する。
したがって、本実施形態では、第2レーン142Bは、第1レーン142Aを介して搬入された複数のケースCSを載置するとともに、複数のケースCSを所定の搬送方向に沿って移動させて搬出する搬出路として機能する。
なお、本実施形態では、第1レーン142Aおよび第2レーン142Bは、複数のケースCSを同一の搬送方向に沿って移動させているが、複数のケースを異なる搬送方向に沿って移動させてもよい。
次に、第2収納判定部149Bは、第2のケースCS20に32個のカプセルCを収納したか否かを判定する(S33:第2収納判定ステップ)。換言すれば、第2収納判定部149Bは、第2の集団を収納する第2のケースCS20を搬出可能であるか否かを判定する。
図71は、第2収納判定部にてケースにカプセルを収納したと判定した状態を示す図である。
搬出実行部149Cは、第2収納判定部149Bにて第2のケースCS20に32個のカプセルCを収納したと判定した場合に、図71に示すように、プッシャー145A2を+X軸方向側に進出させるとともに、ガイドレール145Bを下降させることによって、第1レーン142Aに載置された第2のケースCS20を第2レーン142Bに移載する。
図72は、ケース搬送コンベアにて第2のケースを搬出している状態を示す図である。
その後、搬出実行部149Cは、図72に示すように、プッシャー145A2を−X軸方向側に後退させるとともに、第2レーン142Bに載置された第2のケースCS20を搬出する(S34:第2のケース搬出実行ステップ)。換言すれば、搬出実行部149Cは、カプセル分割コンベア141にて一単位のカプセルCを16回搬送した場合(2個の第2の集団を16回搬送して32個のカプセルCを第2のケースCS20に収納した場合)に第2のケースCS20を搬出する。
また、搬出実行部149Cは、第2のケースCS20を第2レーン142Bに移載した後、ストッパ147を−X軸方向側に後退させることによって、第1レーン142Aの終点位置に第2のケースCS20を新たに静止させる。
なお、前述したように、搬出実行部149Cは、カプセル分割コンベア141にて一単位のカプセルCを2回搬送した場合に第1の集団を収納した第1のケースCS10を搬出するので、第2の集団を収納した第2のケースCS20を搬出するときには、同時に第1の集団を収納した第1のケースCS10を搬出することになる。
図73は、第1のケースおよび第2のケースを第2レーンから第3レーンに移載している状態を示す図である。
仕分用制御手段149は、ストッパ144Bにてケース用台座CSPが第2レーン142Bの終点位置に静止すると、図73に示すように、プレート146Aをケース用台座CSPに当接させて押し出すことによって、第2レーン142Bに載置されたケース用台座CSPを第3レーン142Cに移載する。そして、仕分用制御手段149は、第3レーン142Cに載置されたケース用台座CSPを搬送する。
なお、作業者は、ストッパ144Bにてケース用台座CSPが第2レーン142Bの終点位置に静止すると、ケース用台座CSPに収納された第1のケースCS10および第2のケースCS20を取り出して目視検査した後、後の工程に送出する。
振動実行部149Dは、第2収納判定ステップS33にて第2のケースCS20に32個のカプセルCを収納していないと判定した場合、または第2のケース搬出実行ステップS34を実行した後、光電センサ141Cにて一単位(50個)のカプセルCを搬送したことを検出したか否かを判定する(S35:カプセル検出ステップ)。
そして、振動実行部149Dは、光電センサ141Cにて一単位(50個)のカプセルCを搬送したことを検出したと判定した場合に、ケース用台座CSPを振動機構148Aにて鉛直上下方向に沿って振動させることによって、第1のケースCS10および第2のケースCS20を振動させる(S36:振動実行ステップ)。換言すれば、振動実行部149Dは、カプセル分割コンベア141にて一単位のカプセルCを搬送し、これらを第1のケースCS10および第2のケースCS20に収納する度に第1のケースCS10および第2のケースCS20を振動させる。
なお、本実施形態では、振動実行部149Dは、光電センサ141Cにて一単位(50個)のカプセルCを搬送したことを検出したと判定した場合に、第1のケースCS10および第2のケースCS20を振動させていた。これに対して、振動実行部は、これとは異なる場合に、ケースを振動させてもよい。
その後、仕分用制御手段149は、前述したステップS31を再び実行することによって、ステップS31〜S36を繰り返し実行し、カプセルCを所定の個数ごとに仕分けてケースCSに収納する。
なお、仕分用制御手段149は、カプセル仕分装置14に設けられたストップボタン(図示略)が押下されたときに、前述したステップS31〜S36の繰り返しを停止する。また、仕分用制御手段149は、カプセル仕分装置14に設けられたリセットボタン(図示略)が押下されたときに、ストッパ147、プッシャー145A、およびガイドレール145Bを初期状態に復帰させる。
このような本実施形態によれば、以下の作用・効果を奏することができる。
(1)容器供給用制御手段38は、プッシャー362にて容器供給用配置台31AにダミーパレットDPを搬入したときに、容器供給用ホッパー33Aに保持された複数の容器C1をダミーパレットDPの上面に向かって供給させることによって、ダミーパレットDPの上面に形成された複数の収容部DP1のそれぞれに容器C1を供給することができる。また、容器供給用制御手段38は、プッシャー362にてダミーパレットDPを容器供給用配置台31Bに送出したときに、容器供給用ホッパー33Bに保持された複数の容器C1をダミーパレットDPの上面に向かって供給させることによって、ダミーパレットDPの上面に形成された複数の収容部DP1のそれぞれに容器C1を供給することができる。その後、容器供給用制御手段38は、プラー363にて容器供給用配置台31Bに配置されたダミーパレットDPを搬出することができる。これによれば、容器供給装置3は、同一のダミーパレットDPの上面に複数の容器C1を2回落下させることができるので、ダミーパレットDPの上面に複数の容器C1を1回落下させる場合と比較してダミーパレットDPの収容部DP1に複数の容器C1を入り込みやすくすることができる。したがって、容器供給装置3は、ダミーパレットDPに複数の容器C1を十分に供給することができ、製造効率を向上させることができる。
(2)プッシャー362およびプラー363は、ダミーパレットDPを容器供給用配置台31Aおよび容器供給用配置台31Bの隣接方向に沿って移動させるので、ダミーパレットDPの1枚分の距離だけダミーパレットDPを移動させることによって、ダミーパレットDPの搬入、送出、および搬出の各工程を実行することができる。したがって、容器供給装置3は、複数の容器C1を供給するサイクルを短くすることができ、製造効率を向上させることができる。
(3)容器供給用配置台31Aに配置されたダミーパレットDPおよび容器供給用配置台31Bに配置されたダミーパレットDPは、容器供給用配置台31Aおよび容器供給用配置台31Bの隣接方向に沿って隣接して配置されているので、各ダミーパレットDPを隙間なく配置することができる。したがって、容器供給装置3は、ダミーパレットDPから容器供給用配置台31Aおよび容器供給用配置台31Bへの容器C1の落下を抑制することができる。
(4)プッシャー362は、ダミーパレットDPを容器供給用配置台31Aに搬入することによって、容器供給用配置台31Aに先に配置されていたダミーパレットDPを押し出して容器供給用配置台31Bに送出するので、ダミーパレットDPの搬入および送出の各工程を短縮して実行することができる。したがって、容器供給装置3は、複数の容器C1を供給するサイクルを短くすることができ、製造効率を向上させることができる。
(5)容器供給用ホッパー33Aにて供給される複数の容器C1の数量は、容器供給用ホッパー33Bにて供給される複数の容器C1の数量よりも多いので、プッシャー362にて容器供給用配置台31AにダミーパレットDPを搬入したときに、換言すれば、複数の収容部DP1に容器C1を供給していないときに、容器供給用ホッパー33Aに保持された多量の複数の容器C1をダミーパレットDPの上面に向かって供給させることによって、ダミーパレットDPの上面に形成された複数の収容部DP1のそれぞれに容器C1を供給することができる。そして、プッシャー362にてダミーパレットDPを容器供給用配置台31Bに送出したときに、換言すれば、容器供給用ホッパー33Aにて複数の収容部DP1に容器C1を供給した後、容器供給用ホッパー33Bに保持された少量の複数の容器C1をダミーパレットDPの上面に向かって供給させることによって、ダミーパレットDPの上面に形成された複数の収容部DP1のそれぞれに容器C1を供給することができる。したがって、容器供給装置3は、ダミーパレットDPに複数の容器C1を効率的に供給することができる。
(6)容器供給装置3は、容器供給用配置台31Aに配置されたダミーパレットDPと、容器供給用配置台31Bに配置されたダミーパレットDPとの間に複数の容器C1の移動を規制する仕切り板3Cを備えるので、容器供給用ホッパー33Aにて供給される複数の容器C1と、容器供給用ホッパー33Bにて供給される複数の容器C1との混合を防止することができる。したがって、容器供給装置3は、容器供給用ホッパー33Aにて供給される複数の容器C1の数量と、容器供給用ホッパー33Bにて供給される複数の容器C1の数量とを確実に管理することができるので、ダミーパレットDPに複数の容器C1を効率的に供給することができる。
(7)容器供給装置3は、容器貯留槽34と、容器搬送手段35と、容器供給用ホッパー33と、落下手段とを備え、複数の容器C1を循環させて再利用するので、ダミーパレットDPの上面に落下した複数の容器C1のうち、ダミーパレットDPの収容部DP1に入り込まなかった容器C1は、繰り返しダミーパレットDPの上面に落下することになり、いずれはダミーパレットDPの収容部DP1に入り込んでいくことになる。したがって、容器供給装置3は、ダミーパレットDPに複数の容器C1を自動的に供給することができ、製造効率を向上させることができる。
(8)容器搬送手段35は、複数の容器C1を搬送路351C1に載置して搬送することによって、容器供給用ホッパー33に保持させる保持用コンベア351Cを備えるので、保持用コンベア351Cの搬送路351C1の移動量を調整することによって、容器供給用ホッパー33に保持させる複数の容器C1の数量を調整することができる。したがって、容器供給装置3は、容器搬送手段35の構成を簡素にすることができる。
(9)保持用コンベア351Cは、複数の容器C1を導入する所定面積の入口を有するので、単位時間あたりの複数の容器C1の搬送量を一定にすることができる。したがって、保持用コンベア351Cは、容器供給用ホッパー33に保持させる複数の容器C1の数量を確実に調整することができる。
(10)容器供給装置3は、小型電磁フィーダ32にてダミーパレットDPを振動させているときに、容器供給用ホッパー33に保持された複数の容器C1をダミーパレットDPの上面に向かって供給させるので、ダミーパレットDPの上面に落下した複数の容器C1は、ダミーパレットDPの振動によって転動しながらダミーパレットDPの各収容部DP1に入り込んでいくことになる。したがって、容器供給装置3は、ダミーパレットDPの収容部DP1に複数の容器C1を更に入り込みやすくすることができる。
(11)容器供給装置3は、容器供給用ホッパー33に保持された複数の容器C1をダミーパレットDPの上面に向かって供給させているときに小型電磁フィーダ32を第1の振動強度から第2の振動強度に切り替えるので、ダミーパレットDPの収容部DP1に既に入り込んだ複数の容器C1を脱落しにくくすることができる。
(12)容器供給装置3は、コンプレッサ33Cにて複数の容器C1を容器貯留槽34に落下させるときに小型電磁フィーダ32を第2の振動強度から第3の振動強度に切り替えるので、ダミーパレットDPの収容部DP1に既に入り込んだ複数の容器C1を脱落しにくくすることができる。
(13)コンプレッサ33CAは、空気を吐出することによって、容器供給用ホッパー33Aにて供給された多量の複数の容器C1を容器貯留槽34に落下させることができ、コンプレッサ33CBは、コンプレッサ33CAよりも弱く空気を吐出することによって、容器供給用ホッパー33Bにて供給された少量の複数の容器C1を容器貯留槽34に落下させることができる。したがって、コンプレッサ33Cは、複数の容器を効率よく容器貯留槽34に落下させることができる。
(14)コンプレッサ33CAおよびコンプレッサ33CBは、複数の吐出口33Dから吐出される空気の強さを複数の吐出口33Dごとに調整することができるので、ダミーパレットDPの部位ごとに空気の強さを調整することができる。したがって、コンプレッサ33Cは、複数の容器C1を効率よく容器貯留槽34に落下させることができる。
(15)ダミーパレットDPの収容部DP1は、貫通孔DP2を備え、この貫通孔DP2は、ダミーパレットDPの上面側に向かうにしたがって拡開しているので、複数の容器C1を更に入り込みやすくすることができる。
(16)容器供給装置3は、CCDカメラ374の検出結果に基づいて、予備用収容部DP1Sに供給されている容器C1を空の供給用収容部DP1Fに補充する第1のアームロボット376および第2のアームロボット377を備えているので、ダミーパレットDPの供給用収容部DP1Fに容器C1を確実に供給することができ、製造効率を向上させることができる。
(17)第1のアームロボット376および第2のアームロボット377は、予備用収容部DP1Sに供給されている容器C1を空の供給用収容部DP1Fに補充するので、予備用収容部DP1Sから供給用収容部DP1Fまで容器C1を移動させればよく、例えば、ダミーパレットDPの外部から供給用収容部DP1Fまで容器C1を移動させる場合と比較して、移動距離を短くすることができ、ひいては容器供給装置3の製造効率を向上させることができる。
(18)供給用収容部DP1Fおよび予備用収容部DP1Sのそれぞれは、行方向および列方向に沿って格子点状に配列されることになるので、容器供給装置3は、例えば、第1のアームロボット376および第2のアームロボット377にて容器C1を空の供給用収容部DP1Fに補充した後、供給用収容部DP1Fに収容された容器C1を容器供給装置3とは異なるメインコンベア2に移載する場合には、供給用収容部DP1Fに収容された容器C1を纏めて取り扱うことができ、容器供給装置3を含むカプセルの製造装置1全体の製造効率を向上させることができる。
(19)第1のアームロボット376および第2のアームロボット377は、空の供給用収容部DP1Fの数が予備用収容部DP1Sに供給されている容器C1の数よりも多い場合であっても仮置台375の仮置部375Aに仮置きされている容器C1を空の供給用収容部DP1Fに補充することができる。したがって、容器供給装置3は、ダミーパレットDPの供給用収容部DP1Fに容器C1を確実に供給することができ、製造効率を向上させることができる。
(20)第1のアームロボット376および第2のアームロボット377は、パレット搬送手段36にて搬送されるダミーパレットDPの収容部DP1に供給された容器C1を仮置台375の仮置部375Aに仮置きするので、容器C1を新たに準備することなく、仮置台375の仮置部375Aに仮置きすることができ、容器供給装置3の製造効率を向上させることができる。
(21)第1のアームロボット376および第2のアームロボット377は、CCDカメラ374の検出結果に基づいて、互いに分担して容器C1を空の供給用収容部DP1Fに補充するので、例えば、第1のアームロボット376にて空の供給用収容部DP1Fの半分に容器C1を補充し、第2のアームロボット377にて空の供給用収容部DP1Fの残り半分に容器C1を補充することによって、ダミーパレットDPの供給用収容部DP1Fに効率よく容器C1を供給することができる。換言すれば、容器供給装置3は、パレット搬送手段36にてダミーパレットDPを搬送する速度を速くすることができ、製造効率を更に向上させることができる。
(22)第1のアームロボット376および第2のアームロボット377は、CCDカメラ374にて検出された空の供給用収容部DP1Fの数が所定の閾値以上である場合には、容器C1を空の供給用収容部DP1Fに補充しないので、CCDカメラ374にて検出された空の供給用収容部DP1Fの数が多い場合であってもパレット搬送手段36にてダミーパレットDPを搬送する速度を速くすることができ、製造効率を更に向上させることができる。
(23)第1のアームロボット376および第2のアームロボット377は、CCDカメラ374にて検出された空の供給用収容部DP1Fの数が所定の閾値以上である場合には、容器C1を空の供給用収容部DP1Fに補充しないようにするとともに、CCDカメラ374の検出結果に基づいて、ダミーパレットDPの収容部DP1に供給された容器C1を仮置台375の仮置部375Aに仮置きするので、容器C1を空の供給用収容部DP1Fに補充するのに要する時間を、容器C1を仮置台375の仮置部375Aに仮置きするのに使うことができる。したがって、容器供給装置3は、製造効率を更に向上させることができる。
(24)CCDカメラ374は、姿勢修正手段373にて容器C1の姿勢を修正した後、ダミーパレットDPの収容部DP1の状態を検出するので、ダミーパレットDPの収容部DP1の状態の誤検出を抑制することができ、容器供給装置3の製造効率を向上させることができる。
(25)姿勢修正手段373は、第1異常検出センサ371にて容器C1の姿勢の異常を検出したダミーパレットDPの収容部DP1に供給された容器C1の姿勢を修正するので、容器供給装置3の製造効率を更に向上させることができる。
(26)姿勢修正手段373は、ダミーパレットDPの下面側からダミーパレットDPの収容部DP1に棒状体373A1を挿入して容器C1の底面に当接させることによって、ダミーパレットDPの収容部DP1に供給された容器C1の姿勢を修正するので、姿勢修正手段373の構成を簡素にすることができる。
(27)CCDカメラ374は、容器供給用ホッパー33に保持された複数の容器C1をダミーパレットDPの上面に向かって供給させた後、供給用収容部DP1Fのうち、容器C1を供給されていない空の供給用収容部DP1Fと、予備用収容部DP1Sのうち、容器C1を供給されている予備用収容部DP1Sとを検出するので、容器供給装置3は、ダミーパレットDPの供給用収容部DP1Fに容器C1を確実に供給することができ、製造効率を向上させることができる。
(28)容器供給装置3は、パレット搬送手段36にて奇数個のダミーパレットDPを循環させることによって、ダミーパレットDPの配置位置に2枚のダミーパレットDPを配置するので、パレット搬送手段36にて循環させている1枚のダミーパレットDPに着目すると、このダミーパレットDPは、ひと回りごと交互に入れ替わりながら2枚分のダミーパレットDPの配置位置に配置されていくことになる。したがって、容器供給装置3は、例えば、一方のダミーパレットDPの配置位置と、他方のダミーパレットDPの配置位置とを比較した場合に、容器C1の供給効率に差があるような場合であっても容器C1の供給効率の差を均すことができ、製造効率を向上させることができる。
(29)容器クリーニング装置4は、複数の容器C1の脱落を防止する脱落防止手段41を備え、脱落防止手段41にて開口縁を押さえられた複数の容器C1を清掃するので、ダミーパレットDPに収容された容器C1を脱落させることなく、異物を確実に除去することができる。
(30)脱落防止手段41は、ダミーパレットDPの収容部DP1の行方向および列方向のうち、ダミーパレットDPの収容部DP1の少ない方向に沿って延在するレール状に形成されているので、ダミーパレットDPの収容部DP1の多い方向に沿って延在するレール状に形成した場合と比較して複数の容器C1を効率的よく清掃することができる。
(31)容器クリーニング装置4は、清掃用ヘッド42にて複数の容器C1を清掃するときにダミーパレットDPを静止させるので、ダミーパレットDPを静止させない場合と比較して複数の容器C1を効率的よく清掃することができる。
(32)カプセルの製造装置1は、間欠的にパレットを搬送する容器供給装置3と、連続的にパレットを搬送するメインコンベア2とを混在させたシステムであって、容器クリーニング装置4は、容器供給装置3の循環パレットコンベア365に組み込まれている。したがって、カプセルの製造装置1は、メインコンベア2のメインパレットMPを静止させることなく、清掃用ヘッド42にて複数の容器C1を清掃するときにダミーパレットDPを静止させることができる。
(33)清掃用ヘッド42は、ノズル423にて複数の容器C1にエアを吹き付けるとともに、容器クリーニング用吸引機424にて複数の容器C1を吸引するので、ノズル423にてエアを吹き付けることによって、容器C1に付着している粉塵などの異物を除去し、これらの異物を容器クリーニング用吸引機424にて吸引することができる。
(34)容器クリーニング用吸引機424は、清掃用カバー421にて覆われた複数の容器C1を吸引し、ノズル423は、清掃用カバー421の内部に収納されているので、清掃用ヘッド42は、異物を外部に飛散させることなく、確実に除去することができる。
(35)容器移載装置5は、複数の容器C1の下端部を胴体C11の半分程度までメインパレットMPの各収容部MP1に収容し、容器移載用ヘッド51に複数の容器C1を解放させることによって、複数の容器C1を落下させてメインパレットMPに収容するので、メインパレットMPの収容部MP1に容器C1が接触してしまうことを抑制することができる。したがって、容器移載装置5は、容器C1の変形を抑制することができ、製造効率を向上させることができる。
(36)複数の容器C1のそれぞれは、上端部側から下端部側に向かうにしたがって縮径するように形成されているので、容器移載装置5は、複数の容器C1の下端部をメインパレットMPの各収容部MP1に収容する際に収容しやすくなる。したがって、容器移載装置5は、メインパレットMPの収容部MP1に容器C1が接触してしまうことを更に抑制することができる。
(37)水平移動機構53は、容器移載用ヘッド51をダミーパレットDPおよびメインパレットMPの短手方向に沿って移動させるので、容器移載用ヘッド51をダミーパレットDPおよびメインパレットMPの長手方向に沿って移動させる場合と比較して移動距離を短くすることができ、容器移載装置5の設置に必要となるスペースを小さくすることができる。
(38)ダミー用配置台365Dおよび復路用コンベア22の終点位置は、複数のピンをダミーパレットDPおよびメインパレットMPの複数の穴部にそれぞれ挿入することによって、ダミーパレットDPおよびメインパレットMPを位置決めするので、ダミーパレットDPおよびメインパレットMPを確実に位置決めすることができる。
(39)ダミー用配置台365Dおよび復路用コンベア22の終点位置は、複数のピンをダミーパレットDPおよびメインパレットMPの複数の穴部にそれぞれ挿入することによって、ダミーパレットDPおよびメインパレットMPを上昇させるので、複数のピンのみによって、ダミーパレットDPおよびメインパレットMPを支持する。したがって、ダミー用配置台365Dおよび復路用コンベア22の終点位置は、ダミーパレットDPおよびメインパレットMPを確実に位置決めすることができる。
(40)ダミーパレットDPの収容部DP1の大きさは、メインパレットMPの収容部MP1の大きさよりも大きいので、容器供給装置3にてダミーパレットDPの上面に形成された複数の収容部DP1のそれぞれに容器C1を嵌合させて供給する際に供給しやすくすることができる。したがって、カプセルの製造装置1は、製造効率を向上させることができる。
(41)メインコンベア2は、メインパレットMPの収容部MP1に収容された容器C1の有無を検する容器検出手段23Dを備え、清掃用ヘッド42にて清掃された複数の容器C1の脱落の有無を確認することができるので、メインパレットMPに収容された複数の容器C1の脱落を確実に防止することができる。
(42)メインコンベア2は、メインパレットMPに収容された複数の容器C1の静電気を除去する静電気除去手段23Eを備え、メインパレットMPに収容された複数の容器C1の静電気を除去することができるので、清掃用ヘッド42にて清掃された複数の容器C1に再び粉塵などの異物が付着してしまうことを抑制することができる。
(43)充填用カバー623の投入口623Aは、進退機構63にて充填用ホッパー62を搖動させたときに充填用ホッパー62の開口と常に連通する位置に設けられているので、充填用ホッパー62の搖動を停止させることなく、充填用カバー623の投入口623Aを介して充填用ホッパー62に粉粒体Pを投入することができる。
(44)充填用ホッパー62の開口は、鉛直上方側に向かうにしたがって充填用ホッパー62の搖動方向に幅広となるように形成されるので、充填装置6は、進退機構63にて各計量穴661Aの存在している領域の幅よりも大きく充填用ホッパー62を搖動させることができる。したがって、充填装置6は、設計自由度を向上させることができる。
(45)充填装置6は、充填用ホッパー62から粉粒体Pを落下させたときに各計量穴661Aに充填されずに漏れた粉粒体Pを充填用吸引機64にて吸引することができるので、各計量穴661Aの周辺に粉粒体Pが溜まってしまうことを抑制することができる。
(46)貯留槽621は、投入槽622に投入された粉粒体Pが穴部622A1を介して落下することによって、粉粒体Pを内部に貯留するので、各計量穴661Aに充填して減少した粉粒体Pは、投入槽622に投入された粉粒体Pが穴部622A1を介して落下することによって、常に貯留槽621に補充されていくことになる。したがって、充填装置6は、貯留槽621の内部に貯留された粉粒体Pの嵩高を常に一定にすることができるので、粉粒体Pの充填圧を一定にすることができ、一定量の粉粒体Pを各計量穴661Aに充填することができる。
(47)シール装置11は、カットフィルムCFの自重に逆らって押上機構112にて容器C1を押し上げることによって、カットフィルムCFに形成された蓋材C2の皺を伸ばすことができる。その後、シール装置11は、シール機構111にて熱板111A1を下降させることによって、容器C1の開口部に蓋材C2をシールして接着するので、蓋材C2の皺を伸ばして容器C1の開口部にシールすることができる。
(48)メインパレットMPは、各ピンMP2を備えているので、シール装置11は、メインパレットMPの上に載置されたカットフィルムCFの移動を規制する各ピンMP2に逆らって押上機構112にて容器C1を押し上げることによって、カットフィルムCFに形成された蓋材C2の皺を伸ばすことができる。したがって、シール装置11は、蓋材C2の皺を更に伸ばして容器C1の開口部にシールすることができる。
(49)シール装置11は、複数のピン112AをメインパレットMPの複数の貫通孔MP3にそれぞれ挿入することによって、メインパレットMPを位置決めするので、メインパレットMPを確実に位置決めすることができる。
(50)シール装置11は、複数のピン112AをメインパレットMPの複数の貫通孔MP3にそれぞれ挿入することによって、メインパレットMPを上昇させるので、複数のピン112Aのみによって、メインパレットMPを支持する。したがって、シール装置11は、メインパレットMPを確実に位置決めすることができる。
(51)メインパレットMPは、上下面を貫通して形成されるとともに、容器C1を上面側から挿入して収容する収容部MP1を備え、フィルム分離装置12は、カットフィルムCFの上昇を規制する折り曲げプレート121Aと、容器C1を押し上げて蓋材C2をカットフィルムCFから分離する押上機構121Bとを備えるので、メインパレットMPの構造を簡素にすることができ、カットフィルムCFから蓋材C2を分離することができる。
(52)フィルム分離装置12は、容器C1を押し上げてカットフィルムCFから蓋材C2を分離する押上機構121Bと、メインパレットMPから容器C1を引き上げる移載ヘッド122Bとを協働させることができるので、カットフィルムCFから蓋材C2を確実に分離することができる。
(53)フィルム分離装置12は、押上機構121Bにて容器C1を押し上げてカットフィルムCFから蓋材C2を分離し、移載ヘッド122BにてメインパレットMPから容器C1を引き上げる過程で容器C1に沿って蓋材C2を折り曲げることができるので、製造効率を向上させることができる。
(54)カプセル移載機構122は、複数の部位を近接させて一単位のカプセルCを保持し、複数の部位を隔離させて一単位のカプセルCを複数の集団に分割して解放することによって、一単位のカプセルCを所定の個数ごとに仕分けることができる。したがって、カプセル仕分装置14は、一単位とは異なる数をまとめてケースCSに収納する場合であっても人手に頼ることなく効率よくカプセルCを仕分けることができる。
(55)カプセル仕分装置14は、第1収納判定部149Aにて第1のケースCS10に所定の個数のカプセルCを収納したと判定した場合に第1の集団を収納する第1のケースCS10を搬出させるとともに、第2収納判定部149Bにて第2のケースCS20に所定の個数のカプセルCを収納したと判定した場合に第2の集団を収納する第2のケースCS20を搬出させる搬出実行部149Cを備えているので、第1の集団を収納する第1のケースCS10と、第2の集団を収納する第2のケースCS20とを独立して搬出させることができる。したがって、カプセル仕分装置14は、所定の個数のカプセルCを未だ収納していないケースCSに先駆けて所定の個数のカプセルCを収納したケースCSを搬出することができる。
(56)第1レーン142Aおよび第2レーン142Bは、ケースCSを保持するケース用台座CSPを介してケースCSを載置するので、第1レーン142Aおよび第2レーン142Bと、ケースCSとの接触を抑制することができる。したがって、カプセル仕分装置14は、ケースCSの破損を抑制することができ、複数個のカプセルを一単位として間欠的に製造するカプセルの製造装置1の製造効率を向上させることができる。
(57)カプセル仕分装置14は、ケース用台座CSPを鉛直上下方向に沿って振動させるケース用振動手段148を備えているので、ケースCSに収納された複数のカプセルCを均すことができる。したがって、カプセル仕分装置14は、複数のカプセルCをケースCSに効率よく収納することができる。
(58)ケース用振動手段148は、ケース用台座CSPを鉛直上下方向に沿って振動させているので、ケース用台座CSPを水平左右方向に沿って振動させる場合と比較してケースCSを倒れにくくすることができる。したがって、ケース用振動手段148は、ケースCSや、その内部に収納されたカプセルCに大きな振動を与えることができるので、蓋材C2の剥がれに起因する粉粒体Pの漏れを確認することができ、カプセルCの不良を見つけやすくすることができる。
(59)ケース用振動手段148は、ケース用台座CSPを鉛直上下方向に沿って振動させる振動機構148Aと、振動機構148Aを全体的に振動させるバイブレータ148Bとを備えているので、ケースCSに収納された複数のカプセルCを効率よく均すことができる。したがって、カプセル仕分装置14は、複数のカプセルCをケースCSに更に効率よく収納することができる。
(60)ケース用振動手段148は、カプセル仕分装置14にてケースCSに複数個のカプセルCを投入しているときにバイブレータ148BのみによってケースCSを小さく振動させることができる。また、ケース用振動手段148は、カプセル仕分装置14にてケースCSに複数個のカプセルCを投入した後、振動機構148Aおよびバイブレータ148BによってケースCSを大きく振動させることができる。したがって、ケース用振動手段148は、カプセル仕分装置14にてケースCSに複数個のカプセルCを投入しているときにケースCSの外にカプセルCを漏れにくくすることができ、カプセル仕分装置14にてケースCSに複数個のカプセルCを投入した後、ケースCSに収納された複数のカプセルCを確実に均すことができる。
〔実施形態の変形例〕
なお、本発明は、前記実施形態に限定されるものではなく、本発明の目的を達成できる範囲での変形、改良等は本発明に含まれるものである。
例えば、前記実施形態では、容器供給装置3は、複数個のカプセルCを一単位として間欠的に製造するカプセルの製造装置1に用いられていたが、これ以外の製造装置に採用してもよい。
以上のように、本発明は、パレットの上面に形成された複数の収容部のそれぞれに容器を供給する容器供給装置に好適に利用できる。
1 カプセルの製造装置
2 メインコンベア
3 容器供給装置
3C 仕切り板(規制手段)
4 容器クリーニング装置
5 容器移載装置
6 充填装置
7 充填チェック装置
8 フィルム供給装置
9 フィルムダイカット装置
10 フィルム移載装置
11 シール装置
12 フィルム分離装置
13 スクラップ排出装置
14 カプセル仕分装置
23D 容器検出手段
23E 静電気除去手段
31 容器供給用配置台
31A 容器供給用配置台(第1の領域)
31B 容器供給用配置台(第2の領域)
32 小型電磁フィーダ
32A 小型電磁フィーダ(第1のパレット振動手段)
32B 小型電磁フィーダ(第2のパレット振動手段)
33 容器供給用ホッパー
33A 容器供給用ホッパー(第1の保持手段)
33B 容器供給用ホッパー(第2の保持手段)
33C コンプレッサ(落下手段)
33CA コンプレッサ(第1の空気吐出部)
33CB コンプレッサ(第2の空気吐出部)
33D 吐出口
34 容器貯留槽(貯留手段)
35 容器搬送手段
36 パレット搬送手段
37 容器補充機構
38 容器供給用制御手段
41 脱落防止手段
42 清掃用ヘッド(清掃手段)
51 容器移載用ヘッド
52 鉛直移動機構(容器移載用移動機構)
53 水平移動機構(容器移載用移動機構)
61 計量充填機構
62 充填用ホッパー
63 進退機構(搖動手段)
64 充填用吸引機
65 位置決め機構
111 シール機構
112 押上機構
112A ピン
112B 棒状体
121 フィルム分離機構
121A 折り曲げプレート
121A1 貫通孔
121B 押上機構
121B1 ピン
121B2 棒状体
122 カプセル移載機構
122B 移載ヘッド(仕分用保持機構)
141 カプセル分割コンベア
142 ケース搬送コンベア
142A 第1レーン(搬入路)
142B 第2レーン(搬出路)
143 カプセルシューター
148 ケース用振動手段
148A 振動機構
148B バイブレータ
149 仕分用制御手段
149A 第1収納判定部
149B 第2収納判定部
149C 搬出実行部
149D 振動実行部
351C 保持用コンベア
351D 振分手段
361 上流側パレットコンベア
362 プッシャー(パレット搬入手段)
363 プラー(パレット搬出手段)
364 下流側パレットコンベア
365D ダミー用配置台(容器移載用配置台)
621 貯留槽
622 投入槽
622A1 穴部
623A 投入口
371 第1異常検出センサ(異常検出手段)
372 第2異常検出センサ
373 姿勢修正手段
373A1 棒状体
374 CCDカメラ(収容部検出手段)
375 仮置台(容器仮置手段)
375A 仮置部
376 第1のアームロボット(第1の容器補充手段)
377 第2のアームロボット(第2の容器補充手段)
421 清掃用カバー
423 ノズル
424 容器クリーニング用吸引機
C カプセル
C1 容器
C2 蓋材
CF カットフィルム
CS ケース
CSP ケース用台座
DP ダミーパレット
DP1 収容部
MP メインパレット
MP1 収容部
MP2 ピン(シール用規制機構)
MP3 貫通孔

Claims (6)

  1. パレットの上面に形成された複数の収容部のそれぞれに容器を供給する容器供給装置であって、
    前記パレットを所定方向に沿って搬送するパレット搬送手段と、
    前記パレット搬送手段にて搬送される前記パレットの収容部を、容器を供給すべき供給用収容部と、容器を供給しなくてもよい予備用収容部とに区分けし、前記供給用収容部のうち、容器を供給されていない空の供給用収容部と、前記予備用収容部のうち、容器を供給されている予備用収容部とを検出する収容部検出手段と、
    前記収容部検出手段の検出結果に基づいて、前記予備用収容部に供給されている容器を空の前記供給用収容部に補充する容器補充手段と
    前記複数の容器を仮置きする複数の仮置部を有する容器仮置手段とを備え、
    前記容器補充手段は、前記収容部検出手段の検出結果に基づいて、前記容器仮置手段の仮置部に仮置きされている容器を空の前記供給用収容部に補充し、前記パレット搬送手段にて搬送される前記パレットの収容部に供給された容器を前記容器仮置手段の仮置部に仮置きすることを特徴とする容器供給装置。
  2. パレットの上面に形成された複数の収容部のそれぞれに容器を供給する容器供給装置であって、
    前記パレットを所定方向に沿って搬送するパレット搬送手段と、
    前記パレット搬送手段にて搬送される前記パレットの収容部を、容器を供給すべき供給用収容部と、容器を供給しなくてもよい予備用収容部とに区分けし、前記供給用収容部のうち、容器を供給されていない空の供給用収容部と、前記予備用収容部のうち、容器を供給されている予備用収容部とを検出する収容部検出手段と、
    前記収容部検出手段の検出結果に基づいて、前記予備用収容部に供給されている容器を空の前記供給用収容部に補充する容器補充手段とを備え
    前記容器補充手段は、前記収容部検出手段にて検出された空の前記供給用収容部の数が所定の閾値以上である場合には、容器を空の前記供給用収容部に補充せず、前記収容部検出手段の検出結果に基づいて、前記パレットの収容部に供給された容器を前記容器仮置手段の仮置部に仮置きすることを特徴とする容器供給装置。
  3. パレットの上面に形成された複数の収容部のそれぞれに容器を供給する容器供給装置であって、
    前記パレットを所定方向に沿って搬送するパレット搬送手段と、
    前記パレット搬送手段にて搬送される前記パレットの収容部を、容器を供給すべき供給用収容部と、容器を供給しなくてもよい予備用収容部とに区分けし、前記供給用収容部のうち、容器を供給されていない空の供給用収容部と、前記予備用収容部のうち、容器を供給されている予備用収容部とを検出する収容部検出手段と、
    前記収容部検出手段の検出結果に基づいて、前記予備用収容部に供給されている容器を空の前記供給用収容部に補充する容器補充手段とを備え
    前記パレットの配置位置の上方に配設されるとともに、前記複数の容器を保持する保持手段と、
    前記容器供給装置の全体を制御する容器供給用制御手段とを備え、
    前記容器供給用制御手段は、前記パレットの配置位置に前記パレットを配置したときに、前記保持手段に保持された前記複数の容器を前記パレットの上面に向かって供給させることによって、当該パレットの上面に形成された複数の収容部のそれぞれに容器を供給し、
    前記収容部検出手段は、前記保持手段に保持された前記複数の容器を前記パレットの上面に向かって供給させた後、前記供給用収容部のうち、容器を供給されていない空の供給用収容部と、前記予備用収容部のうち、容器を供給されている予備用収容部とを検出することを特徴とする容器供給装置。
  4. 請求項に記載された容器供給装置において、
    前記容器補充手段にて容器を空の前記供給用収容部に補充した後、前記供給用収容部に収容された容器を前記容器供給装置とは異なる他の装置に移載し、前記パレット搬送手段にて3以上の奇数個のパレットを循環させることによって、前記パレットの配置位置に2枚の前記パレットを配置し、
    前記容器供給用制御手段は、前記パレットの配置位置に2枚の前記パレットを配置したときに、前記保持手段に保持された前記複数の容器を前記パレットの上面に向かって供給させることによって、当該パレットの上面に形成された複数の収容部のそれぞれに容器を供給することを特徴とする容器供給装置。
  5. 請求項1から請求項4のいずれかに記載された容器供給装置であって、
    前記パレットは、行方向および列方向に沿って格子点状に配列された複数の収容部を備え、
    前記収容部検出手段は、前記パレットの収容部を行方向および列方向のいずれかに沿って2つの領域に分割することによって、前記供給用収容部および前記予備用収容部に区分けることを特徴とする容器供給装置。
  6. 請求項1から請求項のいずれかに記載された容器供給装置において、
    前記パレット搬送手段の上流側に設けられた第1の前記容器補充手段と、
    前記パレット搬送手段の下流側に設けられた第2の前記容器補充手段とを備え、
    前記第1の容器補充手段および前記第2の容器補充手段は、前記収容部検出手段の検出結果に基づいて、互いに分担して容器を空の前記供給用収容部に補充することを特徴とする容器供給装置。
JP2016003022A 2016-01-08 2016-01-08 容器供給装置 Active JP6704635B2 (ja)

Priority Applications (1)

Application Number Priority Date Filing Date Title
JP2016003022A JP6704635B2 (ja) 2016-01-08 2016-01-08 容器供給装置

Applications Claiming Priority (1)

Application Number Priority Date Filing Date Title
JP2016003022A JP6704635B2 (ja) 2016-01-08 2016-01-08 容器供給装置

Related Child Applications (1)

Application Number Title Priority Date Filing Date
JP2019231024A Division JP6875754B2 (ja) 2019-12-23 2019-12-23 容器供給装置

Publications (2)

Publication Number Publication Date
JP2017121965A JP2017121965A (ja) 2017-07-13
JP6704635B2 true JP6704635B2 (ja) 2020-06-03

Family

ID=59306368

Family Applications (1)

Application Number Title Priority Date Filing Date
JP2016003022A Active JP6704635B2 (ja) 2016-01-08 2016-01-08 容器供給装置

Country Status (1)

Country Link
JP (1) JP6704635B2 (ja)

Family Cites Families (6)

* Cited by examiner, † Cited by third party
Publication number Priority date Publication date Assignee Title
US5372473A (en) * 1992-11-20 1994-12-13 Fleetwood Systems, Inc. Automatic tray loading, unloading and compensating system
JP2740812B2 (ja) * 1992-12-24 1998-04-15 鐘紡株式会社 カプセル入り製品の製造装置
JPH09169435A (ja) * 1995-12-21 1997-06-30 Suzuki Motor Corp 製品容器の移送装置
JP5577633B2 (ja) * 2009-06-30 2014-08-27 澁谷工業株式会社 物品移載装置
EP2916885B1 (de) * 2012-11-12 2016-11-30 Schott Ag Verfahren und vorrichtung zur behandlung oder verarbeitung von behältern für substanzen für medizinische, pharmazeutische oder kosmetische anwendungen
JP6234789B2 (ja) * 2013-11-20 2017-11-22 紀伊産業株式会社 容器供給装置

Also Published As

Publication number Publication date
JP2017121965A (ja) 2017-07-13

Similar Documents

Publication Publication Date Title
JP6584109B2 (ja) 粉粒体の充填装置
CN105383736B (zh) 带管口的袋的供给装置
JP2001139148A (ja) 容器を順次荷空けするための方法および装置
CN105383735A (zh) 带管口的袋的供给装置
JP2017065748A (ja) 容器クリーニング装置
JP6622539B2 (ja) 容器供給装置
JP2020001929A (ja) 容器供給装置
JP6875754B2 (ja) 容器供給装置
JP6762502B2 (ja) 容器供給装置
JP2000118681A (ja) トレイ搬送装置及び方法
JP6704635B2 (ja) 容器供給装置
JP6567306B2 (ja) シール装置
JP6624673B2 (ja) 容器供給装置
JP6749615B2 (ja) 容器供給装置
JP6678418B2 (ja) 仕分装置
JP6516526B2 (ja) 容器クリーニング装置
JP6433354B2 (ja) 容器移載装置
JP6584107B2 (ja) 容器供給装置
JP6571959B2 (ja) 仕分装置
JP6628478B2 (ja) 粉粒体の充填装置
JP6525656B2 (ja) カプセルの製造装置
JP6584110B2 (ja) フィルム分離装置
JP6410628B2 (ja) 仕分装置
JP6495040B2 (ja) カプセルの製造装置
KR100894083B1 (ko) 카턴공급장치

Legal Events

Date Code Title Description
A621 Written request for application examination

Free format text: JAPANESE INTERMEDIATE CODE: A621

Effective date: 20181210

A977 Report on retrieval

Free format text: JAPANESE INTERMEDIATE CODE: A971007

Effective date: 20191009

A131 Notification of reasons for refusal

Free format text: JAPANESE INTERMEDIATE CODE: A131

Effective date: 20191023

A521 Written amendment

Free format text: JAPANESE INTERMEDIATE CODE: A523

Effective date: 20191223

TRDD Decision of grant or rejection written
A01 Written decision to grant a patent or to grant a registration (utility model)

Free format text: JAPANESE INTERMEDIATE CODE: A01

Effective date: 20200512

A61 First payment of annual fees (during grant procedure)

Free format text: JAPANESE INTERMEDIATE CODE: A61

Effective date: 20200512

R150 Certificate of patent or registration of utility model

Ref document number: 6704635

Country of ref document: JP

Free format text: JAPANESE INTERMEDIATE CODE: R150