JP6676552B2 - 高強度薄鋼板のmag溶接用ワイヤ及びこれを使用したパルスmag溶接方法 - Google Patents
高強度薄鋼板のmag溶接用ワイヤ及びこれを使用したパルスmag溶接方法 Download PDFInfo
- Publication number
- JP6676552B2 JP6676552B2 JP2017001306A JP2017001306A JP6676552B2 JP 6676552 B2 JP6676552 B2 JP 6676552B2 JP 2017001306 A JP2017001306 A JP 2017001306A JP 2017001306 A JP2017001306 A JP 2017001306A JP 6676552 B2 JP6676552 B2 JP 6676552B2
- Authority
- JP
- Japan
- Prior art keywords
- pulse
- welding
- wire
- mag welding
- thin steel
- Prior art date
- Legal status (The legal status is an assumption and is not a legal conclusion. Google has not performed a legal analysis and makes no representation as to the accuracy of the status listed.)
- Active
Links
- 238000003466 welding Methods 0.000 title claims description 92
- 229910000831 Steel Inorganic materials 0.000 title claims description 41
- 239000010959 steel Substances 0.000 title claims description 41
- 238000000034 method Methods 0.000 title claims description 14
- 239000012535 impurity Substances 0.000 claims description 5
- 229910052751 metal Inorganic materials 0.000 description 67
- 239000002184 metal Substances 0.000 description 67
- 239000011324 bead Substances 0.000 description 51
- 239000002893 slag Substances 0.000 description 12
- 230000000694 effects Effects 0.000 description 11
- 239000000203 mixture Substances 0.000 description 7
- 230000015572 biosynthetic process Effects 0.000 description 5
- 239000000463 material Substances 0.000 description 5
- 230000000052 comparative effect Effects 0.000 description 4
- 238000005336 cracking Methods 0.000 description 3
- 230000007547 defect Effects 0.000 description 3
- 230000007704 transition Effects 0.000 description 3
- 239000000956 alloy Substances 0.000 description 2
- 229910045601 alloy Inorganic materials 0.000 description 2
- 229910052748 manganese Inorganic materials 0.000 description 2
- 238000002844 melting Methods 0.000 description 2
- 230000008018 melting Effects 0.000 description 2
- 230000035515 penetration Effects 0.000 description 2
- 125000006850 spacer group Chemical group 0.000 description 2
- 239000000126 substance Substances 0.000 description 2
- RYGMFSIKBFXOCR-UHFFFAOYSA-N Copper Chemical compound [Cu] RYGMFSIKBFXOCR-UHFFFAOYSA-N 0.000 description 1
- 239000003795 chemical substances by application Substances 0.000 description 1
- 229910052802 copper Inorganic materials 0.000 description 1
- 239000010949 copper Substances 0.000 description 1
- 238000004132 cross linking Methods 0.000 description 1
- 230000007423 decrease Effects 0.000 description 1
- 230000006866 deterioration Effects 0.000 description 1
- 230000007613 environmental effect Effects 0.000 description 1
- 238000011156 evaluation Methods 0.000 description 1
- 239000000446 fuel Substances 0.000 description 1
- 229910052742 iron Inorganic materials 0.000 description 1
- 239000012768 molten material Substances 0.000 description 1
- 229910052750 molybdenum Inorganic materials 0.000 description 1
- 239000011148 porous material Substances 0.000 description 1
- 238000000926 separation method Methods 0.000 description 1
- 230000035939 shock Effects 0.000 description 1
- 239000007787 solid Substances 0.000 description 1
- 230000000087 stabilizing effect Effects 0.000 description 1
Images
Landscapes
- Arc Welding In General (AREA)
Description
(1) 厚さ1.2〜3.2mmである高強度薄鋼板のMAG溶接用ワイヤにおいて、ワイヤ全質量に対する質量%でC:0.20超〜0.50%、Si:0.05〜0.20%、Mn:1.5〜2.5%、Mo:0.3〜0.6%を含有し、P:0.03%以下、S:0.03%以下であり、残部はFe及び不可避不純物からなることを特徴とする高強度薄鋼板のMAG溶接用ワイヤである。
400≦Ip(A)×Tp(msec) ≦800・・・・・(1)
Cは、溶接金属の強度を確保する元素である。またアークを安定化し、溶滴を細粒化する効果がある。本発明においては溶滴の細粒化と広幅ビードを得ることを目的に脱酸元素であるSiの含有量を低くしており、溶融金属の脱酸は主にCによって行う。Cが0.20%以下では、アークが不安定となりビード幅が不均一となる。また、スパッタ発生量が多く溶融金属の垂れが生じる。一方、Cが0.50%を超えると、溶融金属の粘性が劣り耐垂れ性を確保できない。また、スパッタ発生量が増加するばかりでなく、溶接金属を著しく硬化させ耐割れ性が劣化する。したがって、Cは0.20超〜0.50%とする。
Siは、溶融金属の粘性及び表面張力を適正化させる効果が大きい元素である。また、溶滴を細粒化すると共に広幅ビードが得られ、アーク電圧を低くした場合においても溶滴が短絡し難く電圧条件の拡大に寄与できる。Siが0.05%未満では、溶融金属の粘性が劣り溶融金属が垂れ、十分な耐ギャップ性が得られない。また、溶滴が大きくなってビード幅が狭くなる。一方、Siが0.20%を超えると、溶滴が大きくなって短絡しやすくなりスパッタ発生の要因になる。また、溶融池の溶融金属が溶接速度に追従できずハンピングビードになりやすい。さらに、スラグが多く生成してビード外観を劣化させる。したがって、Siは0.05〜0.20%とする。
Mnは、脱酸剤として作用するとともに溶融金属の粘性及び表面張力を適正化させる効果がある。Mnが1.5%未満では、その効果が得られず、溶融金属の粘性及び表面張力が劣化するため、溶融金属が垂れ、十分な耐ギャップ性が得られない。一方、Mnが2.5%を超えると、溶滴が大きくなり短絡しやすくスパッタ発生の要因となる。したがって、Mnは1.5〜2.5%とする。
Moは、溶接金属の組織を微細化して強度を向上させる元素である。またMoを添加することにより、溶滴形成性が良くなり、溶滴移行が安定してスパッタ発生量が少なくなる。Moが0.3%未満では、上記効果が得られない。一方、Moが0.6%を超えると、溶接金属が硬化して耐割れ性が劣化する。また、溶滴形成性が悪く、溶滴移行が不安定でスパッタ発生量が多くなる。したがって、Moは0.3〜0.6%とする。
Pは不純物であり、Pの増加により溶接金属の割れを引き起こすので0.03%以下とする。好ましくは、Pは0.015%以下である。
Sは不純物であり、Sの増加により溶接金属の割れを引き起こすので0.03%以下とする。好ましくは、Sは0.010%以下である。
AlとTiは、微量の添加でも脱酸元素として作用してブローホール等の気孔発生を抑制する。また、溶接金属と母材とのなじみを改善する効果がある。しかし、AlとTiの1種又は2種以上の合計が0.15%超になると、ビード形状を凸状態にし、ビード幅が狭くなるとともに、スラグが多く生成してビード外観を劣化させる。したがって、AlとTiの1種又は2種以上の合計:0.15%以下とすることが望ましい。なお、脱酸作用及び母材とのなじみを改善する効果を得るためにはAlとTiの1種又は2種以上の合計を0.02〜0.12添加することが好ましい。但し、このAlとTiの含有量が上述した条件を逸脱するものであっても、本発明所期の効果は発揮しえる。
パルスピーク電流(Ip)が400A未満では、電磁ピンチ効果による溶滴の離脱がスムーズに行われなくなり、アークが不安定となり、ビード幅が狭くなることから、十分な耐ギャップ性が得られない。一方、パルスピーク電流(Ip)が600Aを超えると、アーク力により溶融地が垂れ易くなる。したがって、パルスピーク電流(Ip)は400〜600Aとする。
パルスベース電流(Ib)は、ベース期間でアークを保持できる電流値が必要となる。パルスベース電流(Ib)が30A未満では、アークが不安定となり、80Aを超えると溶滴の離脱が速やかに行われず、アークが不安定となり、スパッタ発生量が多くなる。したがって、パルスベース電流(Ib)は30〜80Aとする。
下記式(1)で示すパルス電流(Ip)とパルスピーク時間(Tp)の積(Ip×Tp)で得られる値を限定することによって、ピーク時間の短い領域でアーク電圧が高い場合においても、溶滴の短絡がピーク時及びベース時に適度に生じて溶融金属の垂れが生じ難く、広幅ビードが得られる。パルスピーク電流(Ip)とパルスピーク時間(Tp)の積(Ip×Tp)が400未満では、ピーク電流期間で溶滴を形成するためのエネルギーが不足し十分な溶滴の形成ができず、ビード幅が狭くなることから十分な耐ギャップ性が得られない。またIp×Tpが400未満では、溶融金属が垂れやすくなる。一方、パルスピーク電流(Ip)とパルスピーク時間(Tp)の積が800を超えると、過度に成長した溶滴が短絡しやすくなり再点弧時のアーク力で溶融地が吹き飛ばされることからスパッタ発生量が多くなるとともに溶融金属が垂れやすく、十分な耐ギャプ性が得られない。従ってIp×Tpは、下記式(1)で示される範囲とする。
400≦Ip(A)×Tp(msec)≦800 ・・・・(1)
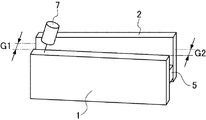
2 後板
3 溶接金属
4 アンダーカット
5 スペーサ
6、61、62 ワイヤ狙い位置
7 溶接トーチ
W ビード幅
θ トーチ角度
G ギャップ
Claims (3)
- 厚さ1.2〜3.2mmである高強度薄鋼板のMAG溶接用ワイヤにおいて、
ワイヤ全質量に対する質量%で
C:0.20超〜0.50%、
Si:0.05〜0.20%、
Mn:1.5〜2.5%、
Mo:0.3〜0.6%を含有し、
P:0.03%以下、
S:0.03%以下であり、
残部はFe及び不可避不純物からなることを特徴とする高強度薄鋼板のMAG溶接用ワイヤ。 - ワイヤ全質量に対する質量%で、
AlとTiの1種又は2種以上の合計:0.15%以下をさらに含有することを特徴とする請求項1記載の高強度薄鋼板のMAG溶接用ワイヤ。 - 請求項1又は請求項2のいずれかに記載の高強度薄鋼板のMAG溶接用ワイヤを使用したパルスMAG溶接方法において、
パルスピーク電流(Ip):400〜600A、
パルスベース電流(Ib):30〜80Aとし、
前記パルスピーク電流(Ip)とパルスピーク時間(Tp)が下記式(1)を満足するパルスを付加して溶接することを特徴とするパルスMAG溶接方法。
400≦Ip(A)×Tp(msec) ≦800・・・・・(1)
Priority Applications (1)
| Application Number | Priority Date | Filing Date | Title |
|---|---|---|---|
| JP2017001306A JP6676552B2 (ja) | 2017-01-06 | 2017-01-06 | 高強度薄鋼板のmag溶接用ワイヤ及びこれを使用したパルスmag溶接方法 |
Applications Claiming Priority (1)
| Application Number | Priority Date | Filing Date | Title |
|---|---|---|---|
| JP2017001306A JP6676552B2 (ja) | 2017-01-06 | 2017-01-06 | 高強度薄鋼板のmag溶接用ワイヤ及びこれを使用したパルスmag溶接方法 |
Publications (2)
| Publication Number | Publication Date |
|---|---|
| JP2018111101A JP2018111101A (ja) | 2018-07-19 |
| JP6676552B2 true JP6676552B2 (ja) | 2020-04-08 |
Family
ID=62910734
Family Applications (1)
| Application Number | Title | Priority Date | Filing Date |
|---|---|---|---|
| JP2017001306A Active JP6676552B2 (ja) | 2017-01-06 | 2017-01-06 | 高強度薄鋼板のmag溶接用ワイヤ及びこれを使用したパルスmag溶接方法 |
Country Status (1)
| Country | Link |
|---|---|
| JP (1) | JP6676552B2 (ja) |
Families Citing this family (1)
| Publication number | Priority date | Publication date | Assignee | Title |
|---|---|---|---|---|
| JP2023087922A (ja) * | 2021-12-14 | 2023-06-26 | 日本製鉄株式会社 | アルミニウムめっき鋼板の溶接用ソリッドワイヤ、及び溶接継手の製造方法 |
Family Cites Families (3)
| Publication number | Priority date | Publication date | Assignee | Title |
|---|---|---|---|---|
| JPH07232294A (ja) * | 1994-02-23 | 1995-09-05 | Sumitomo Metal Ind Ltd | 亜鉛めっき鋼板用溶接ワイヤおよび溶接方法 |
| JP2801147B2 (ja) * | 1994-07-08 | 1998-09-21 | 株式会社神戸製鋼所 | 溶接方法 |
| JP2007301623A (ja) * | 2006-05-15 | 2007-11-22 | Nippon Steel & Sumikin Welding Co Ltd | 薄鋼板の横向重ね継手の高速ガスシールドアーク溶接方法 |
-
2017
- 2017-01-06 JP JP2017001306A patent/JP6676552B2/ja active Active
Also Published As
| Publication number | Publication date |
|---|---|
| JP2018111101A (ja) | 2018-07-19 |
Similar Documents
| Publication | Publication Date | Title |
|---|---|---|
| CN100509260C (zh) | 实芯焊丝 | |
| JP2009255125A (ja) | 純Arシールドガス溶接用MIGフラックス入りワイヤ及びMIGアーク溶接方法 | |
| JP4755576B2 (ja) | ガスシールドアーク溶接方法 | |
| JP2008290116A (ja) | 隅肉溶接継手および溶接方法 | |
| US9102013B2 (en) | Flux-cored welding wire for carbon steel and process for arc welding | |
| WO2022050014A1 (ja) | アーク溶接方法 | |
| JP4857015B2 (ja) | ガスシールドアーク溶接フラックス入りワイヤ及び溶接方法 | |
| JP5104037B2 (ja) | 隅肉溶接方法および隅肉溶接継手 | |
| JP6800770B2 (ja) | 薄鋼板のパルスmag溶接方法 | |
| JPWO2021125280A1 (ja) | ガスシールドアーク溶接用鋼ワイヤ、ガスシールドアーク溶接方法、およびガスシールドアーク溶接継手の製造方法 | |
| JP6683635B2 (ja) | 高強度薄鋼板のパルスmag溶接方法 | |
| JP5925703B2 (ja) | 薄鋼板のガスシールドアーク溶接用ソリッドワイヤ | |
| JP2010201448A (ja) | 異材接合用溶加材及び異材接合方法 | |
| WO2017098692A1 (ja) | 立向き狭開先ガスシールドアーク溶接方法 | |
| JP2007301623A (ja) | 薄鋼板の横向重ね継手の高速ガスシールドアーク溶接方法 | |
| JP6676552B2 (ja) | 高強度薄鋼板のmag溶接用ワイヤ及びこれを使用したパルスmag溶接方法 | |
| JP5236337B2 (ja) | 薄鋼板のパルスmag溶接用ソリッドワイヤ | |
| JP5037369B2 (ja) | パルスmag溶接用ソリッドワイヤ | |
| JP6676553B2 (ja) | 高強度薄鋼板のmag溶接用ワイヤ及びこれを使用したパルスmag溶接方法 | |
| JP6119948B1 (ja) | 立向き狭開先ガスシールドアーク溶接方法 | |
| JP4930048B2 (ja) | 重ね隅肉溶接継手の継手疲労強度を向上するプラズマアークハイブリッド溶接方法 | |
| JP6709177B2 (ja) | 薄鋼板のパルスmag溶接方法 | |
| JP5086881B2 (ja) | 薄鋼板の高速ガスシールドアーク溶接方法 | |
| JP5080748B2 (ja) | タンデムアーク溶接方法 | |
| WO2022230905A1 (ja) | アーク溶接継手およびアーク溶接方法 |
Legal Events
| Date | Code | Title | Description |
|---|---|---|---|
| A621 | Written request for application examination |
Free format text: JAPANESE INTERMEDIATE CODE: A621 Effective date: 20190606 |
|
| A977 | Report on retrieval |
Free format text: JAPANESE INTERMEDIATE CODE: A971007 Effective date: 20200212 |
|
| TRDD | Decision of grant or rejection written | ||
| A01 | Written decision to grant a patent or to grant a registration (utility model) |
Free format text: JAPANESE INTERMEDIATE CODE: A01 Effective date: 20200310 |
|
| A61 | First payment of annual fees (during grant procedure) |
Free format text: JAPANESE INTERMEDIATE CODE: A61 Effective date: 20200312 |
|
| R150 | Certificate of patent or registration of utility model |
Ref document number: 6676552 Country of ref document: JP Free format text: JAPANESE INTERMEDIATE CODE: R150 |
|
| R250 | Receipt of annual fees |
Free format text: JAPANESE INTERMEDIATE CODE: R250 |
|
| R250 | Receipt of annual fees |
Free format text: JAPANESE INTERMEDIATE CODE: R250 |
|
| R250 | Receipt of annual fees |
Free format text: JAPANESE INTERMEDIATE CODE: R250 |
