JP6633692B2 - 塗膜転写具 - Google Patents

塗膜転写具 Download PDF

Info

Publication number
JP6633692B2
JP6633692B2 JP2018111362A JP2018111362A JP6633692B2 JP 6633692 B2 JP6633692 B2 JP 6633692B2 JP 2018111362 A JP2018111362 A JP 2018111362A JP 2018111362 A JP2018111362 A JP 2018111362A JP 6633692 B2 JP6633692 B2 JP 6633692B2
Authority
JP
Japan
Prior art keywords
transfer
base member
reel
rotation
transfer head
Prior art date
Legal status (The legal status is an assumption and is not a legal conclusion. Google has not performed a legal analysis and makes no representation as to the accuracy of the status listed.)
Active
Application number
JP2018111362A
Other languages
English (en)
Other versions
JP2018154135A (ja
Inventor
悠 田村
悠 田村
中村 亮
亮 中村
Current Assignee (The listed assignees may be inaccurate. Google has not performed a legal analysis and makes no representation or warranty as to the accuracy of the list.)
Tombow Pencil Co Ltd
Original Assignee
Tombow Pencil Co Ltd
Priority date (The priority date is an assumption and is not a legal conclusion. Google has not performed a legal analysis and makes no representation as to the accuracy of the date listed.)
Filing date
Publication date
Application filed by Tombow Pencil Co Ltd filed Critical Tombow Pencil Co Ltd
Priority to JP2018111362A priority Critical patent/JP6633692B2/ja
Publication of JP2018154135A publication Critical patent/JP2018154135A/ja
Application granted granted Critical
Publication of JP6633692B2 publication Critical patent/JP6633692B2/ja
Active legal-status Critical Current
Anticipated expiration legal-status Critical

Links

Images

Landscapes

  • Adhesive Tape Dispensing Devices (AREA)

Description

本発明は、修正用または貼着用等の転写テープを備える塗膜転写具に関する。
一般に塗膜転写具は、筐体内の転写テープを巻装した供給リールから転写テープを引出して、筐体から突出する転写ヘッドにおいて転写テープの塗膜を被転写面に塗布した後に、転写テープを巻取リールに巻取るものである。
塗膜が被転写面に良好に塗布されるためには、転写ヘッドの前端の押圧部が、転写方向と直交する左右方向において、被転写面に均一に押圧される必要がある。しかし、実際の転写作業時には、筐体が左右に揺動したり、被転写面への押圧力が変化するために、転写ヘッドの押圧部における左右方向の押圧力が不均一となり、転写した塗膜の左右端に一部欠損がみられたり、塗膜の左右中央部に中抜けが生ずることがある。また、中抜けが生じない場合でも、塗膜が被転写面に密着していないために、転写後の塗膜にクラックや筆記時に塗膜のけずれが発生するといった問題がある。
これに対処するため、たとえば特許文献1では、転写ヘッドが多少の回動ができるとともに、ケースから脱落しないようにしたものがある。しかし、この特許文献1の場合は、転写ヘッドの押圧部の左右中央部が、左右端に対比して押圧力が弱くなる傾向があり、中抜けなどの前記問題を充分に解決することはできない。
また、特許文献2では、基部をケースに取付けた弾性変形可能な主体部片の先端に転写テープに対する押圧部片を設け、該押圧部片の後端に、前記転写テープを介して相対する案内部片を連設し、この案内部片と前記主体部片との間に後端側開口のスリットを設けた転写ヘッドが提示されている。
しかし、この特許文献2の場合は、主体部片を弾性変形可能とするためには、主体部片を肉薄とする必要があり、強度が劣ることや、弾性変形させるための転写荷重が必要であり、使い勝手上の問題がある。
また、特許文献3では、転写テープの進行方向と直交するスリットを設けた転写ヘッドが提示されている。しかし、この特許文献3の場合は、外れた転写テープがスリットに入り込み、使用者が転写テープを元に戻せず、使用不能になる虞がある。
特開2009−83403号公報 特開2001−89011号公報 特表2005−533730
本発明は、前記の現状に鑑みなされたものであり、転写ヘッドの押圧部における左右方向の押圧力が均一となり、被転写面に塗膜を均一に良好に転写することができるとともに、使用者が転写にかける荷重を直接的に転写ヘッドの押圧部片につたえることができ、転写荷重に対する応答性が良く、かつ転写テープが転写ヘッドから外れて使用不能になる虞のない塗膜転写具を提供することを目的とする。
本発明によると、前記課題は、次のような手段によって解決される。
(1)筐体内に転写テープを巻装した供給リールと、前記供給リールから引出された転写テープを被転写面に転写する前端が筐体から突出する転写ヘッドと、転写後の転写テープを巻取る巻取リールと、供給リールと巻取リールを連動させる動力伝達機構とを少なくとも備える塗膜転写具において、前記転写ヘッドが、この転写ヘッドを前記筐体内に収容された収容部材または筐体に取付ける取付部と、この取付部から前方に延設された本体部片と、この本体部片の前端に連設された押圧部片と、前記本体部片の左右に、本体部片とは左右方向に離間して配置され、前端部が前記押圧部片に固定されているテープガイドとより形成されているとともに、前記転写ヘッドが、前記本体部片の長さ方向の軸線まわりに所定範囲で回動自在に、筐体内に収容された前記収容部材または筐体に取付けられていることを特徴とする塗膜転写具とする。
このような構成とすることにより、前端部が押圧部片に固定されているテープガイドが、本体部片の左右に、本体部片とは左右方向に離間して配置されているとともに、転写ヘッドが、本体部片の長さ方向の軸線まわりに所定範囲で回動自在に取付けられているため、この両者の構成により、転写ヘッドの押圧部における左右方向の押圧力が均一となり、被転写面に塗膜を均一に良好に転写することができる。また、転写ヘッドが回動自在に取付けられているため、使用者が転写にかける荷重を直接的に転写ヘッドの押圧部片につたえることができ転写荷重に対する応答性がよく、軽い転写荷重で均一に塗膜を転写することができる。さらに、転写テープが転写ヘッドから外れて使用不能になる虞もない。
(2)前記(1)項において、転写ヘッドにおける少なくとも本体部片と押圧部片が、非弾性体として形成されているものとする。
このような構成とすることにより、転写荷重が、押圧部片における左右方向の中央に伝わりやすくなり、被転写面に塗膜を一層均一に良好に転写することができる。
(3)前記(1)項または(2)項において、前端に転写ヘッドが所定範囲で回動自在に取付けられ、後半部に供給リールの回転を直接に制止し得る回転制止部が設けられている、筐体内に収容された収容部材であるベース部材が、前記転写ヘッドと前記回転制止部間において、筐体の所定位置に設けられたベース部材用支軸に回動可能に支持されているとともに、前記ベース部材と前記筐体間に介在させた弾性復帰機構により、被転写面への転写ヘッドの押圧時には、ベース部材が回動することで供給リールの回転制止が解除され、転写ヘッドの押圧解除時には前記弾性復帰機構により、ベース部材が元の位置に復帰して供給リールの回転が制止されるようにした塗膜転写具とする。
このような構成とすることにより、筐体に設けられた支軸に回動可能に支持されているベース部材の前端に、使用者が転写にかける荷重を直接的に押圧部片につたえることができる前記(1)項または(2)項の転写ヘッドが取付けられているため、転写ヘッドの本体部片の弾性変形をまつまでもなく、転写作業の開始または終了直後にベース部材を回動させることができ、転写の初動性および糸引き現象の防止の効果を良好に発揮させることができる。
(4)前記(3)項において、ベース部材における回転制止部が、供給リールに一体的に形成されたフランジの円周縁に設けられた被係止歯に係止しうる係止爪であり、被転写面への転写ヘッドの押圧時には、ベース部材が回動することで前記被係止歯と前記係止爪との係止が解かれることにより、供給リールの回転制止が解除され、転写ヘッドの押圧解除時には、弾性復帰機構により、ベース部材が元の位置に復帰して、前記被係止歯に前記係止爪が係止されることにより、供給リールの回転が制止されるようにした塗膜転写具とする。
このような構成とすることにより、前記(3)項の効果が奏される塗膜転写具を容易に提供することができる。
本発明は、転写ヘッドの押圧部における左右方向の押圧力が均一となり、被転写面に転写時の中抜けや転写後の塗膜にクラックや筆記時における塗膜のけずれ等の発生を防止しうる良好な転写ができるとともに、転写荷重に対する応答性が良く、かつ転写テープが転写ヘッドから外れて使用不能になる虞のない塗膜転写具を提供することができる。
本発明の塗膜転写具の一実施形態を示す斜視図であり、(a)は上方斜視図、(b)は下方斜視図である。 図1に示す塗膜転写具の上方斜視分解図である。 同じく、図1に示す塗膜転写具の下方斜視分解図である。 転写ヘッドを拡大して示す図面であり、(a)は上方斜視図、(b)は下方斜視図、(c)は平面図、(d)は(c)におけるd−d線矢視縦断面図、(e)は右側面図、(f)は正面図、(g)は背面図である。 ベース部材に転写ヘッドを取付けた状態を示す図面であり、(a)は上方斜視図、(b)は右側面図、(c)は平面図、(d)は(b)におけるd−d線矢視横断面図、(e)は(d)におけるe−e線矢視縦端面図をベース部材が水平となる方向で示した拡大図、(f)は転写ヘッドが回動した状態の、(e)に対応する拡大縦端面図である。 転写ヘッドにおける本体部片と押圧部片を非弾性体として形成したときの非弾性体の程度を拡大して示す図面であり、図5(c)におけるVI−VI線矢視の拡大縦断面図である。 フランジを供給リールに組付ける形態を示す図面であり、(a)は組付け前の上方斜視図、(b)は組付け後の上方斜視図、(c)は(b)におけるc−c線矢視縦断面斜視図である。 (a)は塗膜転写具の使用前の状態を示す右側面図、(b)は使用時の状態を示す右側面図である。なお、(a),(b)においては、ベース部材を一部切欠いて係止爪を示してある。
以下、本発明を、実施形態に基づいて説明する。
図1は、本発明の塗膜転写具1の一実施形態を示す斜視図であり、(a)は上方斜視図、(b)は下方斜視図である。図2は、図1に示す塗膜転写具1の上方斜視分解図、図3は、同じく図1に示す塗膜転写具1の下方斜視分解図である。
図2、図3に示すように、塗膜転写具1は、左右1対の筐体部材2aからなる筐体2内に、転写テープ3を巻装した供給リール4と、この供給リール4から引出される転写テープ3を被転写面に転写する転写ヘッド5と、転写後の転写テープ3を巻取る巻取リール6と、供給リール4と巻取リール6を連動させる動力伝達機構とを少なくとも備えている。左右1対の筐体部材2aは、この筐体部材2aに立設された結合軸2bによって結合されて筐体2が構成される。なお、本実施形態では、筐体2は、透明として表わしてある。供給リール4は、供給リール用ギア7とともに、次のようにして、筐体部材2aに立設された供給リール用支軸8に枢支される。供給リール用ギア7は、端部に係止部7aを有する筒状の回転軸7bを備えており、この回転軸7bに、圧縮スプリング9、環状の第1スペーサ10、環状の弾性体ストッパ11、環状の第2スペーサ12の四者を順次、外嵌して前記係止部7aをもって抜け止めした後に、供給リール用ギア7の回転軸7bが、筐体2内に突設された供給リール用支軸8に回転可能に外嵌される。
環状の弾性体ストッパ11の外周面には、係止突起11aが設けられており、供給リール4の内周面には、前記係止突起11aが係止するリブ状被係止部4aが付設されており、前記係止突起11aが前記リブ状被係止部4aに係止することにより、弾性体ストッパ11は供給リール4と一体的に回転する。
供給リール用ギア7の回転軸7bは、上半部において外周面がほぼ等間隔に切削されて4箇所の平面部7cが形成されているとともに、第1スペーサ10と第2スペーサ12の内孔10a、12aは平面視において角部が弧状の四辺形状となっており、前記第1スペーサ10と第2スペーサ12を前記供給リール用ギア7の回転軸7bに回転不能に嵌合させることができ、これにより供給リール用ギア7と圧縮スプリング9と第1スペーサ10と第2スペーサ12が一体的に回転するようになっている。
このため転写作業により、供給リール4に巻装した転写テープ3が繰出されることによって、第1スペーサ10と弾性体ストッパ11間の摺動面、および弾性体ストッパ11と第2スペーサ12間の摺動面、および供給リール4と供給リール用ギア7間の摺動面に生ずる摩擦力が、動力伝達機構を介して巻取リール6の回転トルクとなっている。
また、巻取リール6は、筐体部材2aに立設された巻取リール用支軸13に枢支される。図3に示すように、巻取リール6には巻取リール用ギア14が付設されている。供給リール用ギア7と巻取リール用ギア14間には、小ギア15が設けられており、この小ギア15は、供給リール用ギア7と巻取リール用ギア14の両者に歯合している。
これらの供給リール用ギア7、小ギア15、巻取リール用ギア14からなる動力伝達機構16を介して、前記摩擦力により、巻取リール6は供給リール4と連動し、巻取リール6の回転トルクを発生するようになっている。
本発明の特徴は、転写ヘッド5の形態とその取付形態にある。
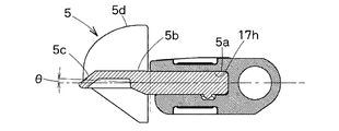
図4は、転写ヘッド5を拡大して示す図面であり、(a)は上方斜視図、(b)は下方斜視図、(c)は平面図、(d)は(c)におけるd−d線矢視縦断面図、(e)は右側面図、(f)は正面図、(g)は背面図である。
また、図5は、筐体2内に収容された収容部材であるベース部材17に転写ヘッド5を取付けた状態を示す図面であり、(a)は上方斜視図、(b)は右側面図、(c)は平面図、(d)は(b)におけるd−d線矢視横断面図、(e)は(d)におけるe−e線矢視縦端面図をベース部材17が鉛直となる方向で示した図面、(f)は転写ヘッド5が回動した状態の、前記(e)に対応する縦端面図である。
本発明における転写ヘッド5の形態は、図4に示すように、転写ヘッド5を筐体2内に収容された収容部材、すなわち本実施形態ではベース部材17または筐体2に取付ける取付部5aと、この取付部5aから前方に延設された本体部片5bと、この本体部片5bの前端に連設された押圧部片5cと、前記本体部片5bの左右に、本体部片5bとは左右方向に離間して配置され、前端部が前記押圧部片5cに固定されているテープガイド5dとより形成されていることが特徴である。転写ヘッド5における少なくとも本体部片5bと押圧部片5cは、非弾性体として形成されていることが好ましい。非弾性体として形成することにより、使用時における転写荷重が、押圧部片5cにおける左右方向の中央に伝わりやすくなり、被転写面に塗膜を一層均一に良好に転写することができる。
図6は、転写ヘッド5における本体部片5bと押圧部片5cを非弾性体として形成したときの非弾性体の程度を拡大して示す図面であり、図5(c)におけるVI−VI線矢視の拡大縦断面図である。
本発明における非弾性体とは、転写ヘッド5の押圧部片5cを被転写面に当接して、使用時における通常の転写荷重を負荷したときに、本体部片5bの取付端を基点とする、図6における変形角度θが、5度以下、さらには3度以下であることが好ましい。
また、本発明の転写ヘッド5の取付形態は、転写ヘッド5が、本体部片5bの長さ方向の軸線まわりに所定範囲で回動自在に、筐体2内に収容された前記収容部材(ベース部材17)または筐体2に取付けられていることが特徴である。
図5に示すように、ベース部材17は、側面視において、後端の下半部が斜めに切断された前後方向に長い板状体からなり、周縁の一部には補強用のリブ17aが設けられている。ベース部材17の前端近傍には、このベース部材17を、筐体部材2aに立設されたベース部材用支軸18に挿通させるための支軸用挿通孔17bが穿設され、その後方には、後記する不使用時における転写テープ3の緩みを防止するための巻取リール6の逆回転を制止するための、巻取リール6に付設された係止歯19(図2参照)を挿通させるための係止歯用挿通孔17cが設けられている。また、前記係止歯用挿通孔17cの近傍下部には、前記係止歯19に係止する弾性ラチェット爪17dが設けられている。さらに、図2、図3に示すように、ベース部材17の前端には、転写ヘッド5を取付けるための転写ヘッド取付部17eが設けられている。転写ヘッド取付部17eは、ベース部材17と一体に成形された取付部本体17fと、別体のカバー材17gとよりなる。取付部本体17fは、前方と側方一端が開口した開口部17hが設けられており、前記開口した側方一端側から開口部17h内に転写ヘッド5の取付部5aを嵌入した後に、カバー材17gを取付部本体17fに装着することにより、転写ヘッド5がベース部材17に取付けられる。
転写ヘッド5の取付部5aには、突起5eが付設されており、この突起5eが前記取付部本体17fとカバー材17gに設けられた縦溝17iに摺動自在に遊嵌され、転写ヘッド5は、所定範囲で回動自在、かつ脱落することのないように、ベース部材17の転写ヘッド取付部17eに取付けられる。
図5(e)は、転写ヘッド5が回動していない状態の端面図であり、図5(f)は、転写ヘッド5が回動して、取付部5aの角部が、ベース部材17の転写ヘッド取付部17eにおける開口部17hの内壁面に当接して回動の上限位置で規制されている端面図である。
このように、転写ヘッド5におけるテープガイド5dが、本体部片5bの左右に、本体部片5bとは左右方向に離間して配置されているとともに、転写ヘッド5が、本体部片5bの長さ方向の軸線まわりに所定範囲で回動自在に取付けられているため、この両者の構成により、転写ヘッド5の押圧部における左右方向の押圧力が均一となり、被転写面に塗膜を均一に良好に転写することができる。また、転写ヘッド5が回動自在に取付けられているため、使用者が転写にかける荷重を直接的に転写ヘッド5の押圧部片5cにつたえることができ転写荷重に対する応答性がよく、軽い転写荷重で均一に塗膜を転写することができる。
ベース部材17は、支軸用挿通孔17bに筐体部材2aに立設されたベース部材用支軸18を挿通させることにより、前記ベース部材用支軸18を回動中心として、所定の範囲で回動しうるようになっている。なお、係止歯用挿通孔17cは、ベース部材17の回動に支障とならないように、長孔に形成されている。ベース部材17における供給リール4と対面する側の後部には、図3に示すように、供給リール4の回転を制止するための回転制止部としての係止爪17jが設けられている。
一方、供給リール4には、前記係止爪17jが係止しうる被係止歯20a(図2参照)を円周縁に設けたフランジ20が一体的に取付けられている。このフランジ20は、供給リール4の成形時に一体的に形成されてもよい。本明細書においては、前記フランジ20が供給リール4に取付けられる場合も含めて、供給リール4にフランジ20が一体的に形成されると称する。また、一体的に形成とは、供給リール4とフランジ20とが一体として回転することをも意味する。
図7は、フランジ20を供給リール4に組付ける形態を示す図面であり、(a)は組付け前の上方斜視図、(b)は組付け後の上方斜視図、(c)は(b)におけるc−c線矢視縦断面斜視図である。
フランジ20の裏面には、切欠き20cを有する取付片20bが設けられている。この取付片20bの切欠き20cに、供給リール4のリブ状被係止部4aを係止させることにより、供給リール4とフランジ20とは一体として回転するように組付けされる。
図2に示すように、ベース部材17における支軸用挿通孔17bの周囲には、ベース部材17の係止爪17jを、フランジ20の被係止歯20aに係止させる方向にベース部材17を回動させるように付勢するための弾性復帰機構としてのばね部材21を固定するための半円周状のばね用ボス17kが設けられている。
図8(a)は塗膜転写具1の使用前の状態を示す右側面図、(b)は使用時の状態を示す右側面図である。なお、(a)、(b)においては、ベース部材17を一部切欠いて係止爪17jを示してある。
図8(a)、(b)に示すように、ばね部材21は、係止爪17jがフランジ20の被係止歯20aに係止する方向にベース部材17を回動させるように付勢させるために、ベース部材17と筐体2間に介在させて設けられている。塗膜転写具1の不使用時においては、(a)に示すように、係止爪17jがフランジ20の被係止歯20aに係止しており、フランジ20と一体的に回動する供給リール4は直接に回転が制止される。
一方、塗膜転写具1の使用時においては、(b)に示すように、転写ヘッド5の押圧部片5cが被転写面Sに押圧されることにより、ベース部材17がフランジ20の被係止歯20aと係止爪17jとの係止が解除される方向に回動して供給リール4が回転可能となり、供給リール4に巻装された転写テープ3の引出しができるようになる。また、転写ヘッド5の押圧解除と同時に、ばね部材21の弾性復帰力によりベース部材17が回動し元の位置に復帰して供給リール4の回転が制止される。
また、不使用時においては、(a)に示すように、ベース部材17の弾性ラチェット爪17dが、巻取リール6と一体的に回転する係止歯19と係止しており、転写テープ3の緩みを防止するための巻取リール6の逆回転が制止されている。
一方、使用時においては、(b)に示すように、ベース部材17の回動によって、弾性ラチェット爪17dと係止歯19との係止が解除され、巻取リール6の回転抵抗を軽減することができるとともに、弾性ラチェット爪17dが当接状態のときに生ずる音の発生を防止することができる。また、使用後は、転写テープ3の塗膜を保護するために、転写ヘッド5の下方が、ヘッドカバー22で被冠される。
さらに、ベース部材17の前端に取付けられた転写ヘッド5の前端から、ベース部材用支軸18までの距離L1は、前記ベース部材用支軸18から係止爪17jまでの距離L2よりも短くなるように設定してある。これにより、係止爪17jを被係止歯20aとの係止から解除するための転写ヘッド5の可動量を少なくすることができ、良好な使用感で塗膜転写具1を使用することができる。
本発明のより好ましい形態は、本実施形態に示すように、前端に転写ヘッド5が所定範囲で回動自在に取付けられ、後半部に供給リール4の回転を直接に制止し得る回転制止部17jが設けられている、筐体2内に収容された収容部材であるベース部材17が、前記転写ヘッド5と前記回転制止部17j間において、筐体2の所定位置に設けられたベース部材用支軸18に回動可能に支持されているとともに、前記ベース部材17と前記筐体2間に介在させた弾性復帰機構21により、被転写面Sへの転写ヘッド5の押圧時には、ベース部材17が回動することで供給リール4の回転制止が解除され、転写ヘッド5の押圧解除時には前記弾性復帰機構21により、ベース部材17が元の位置に復帰して供給リール4の回転が制止されるようにした塗膜転写具である。
このような構成とすることにより、筐体2内に回動可能に軸支されているベース部材17の前端に、転写時の荷重を直接的に押圧部片5cにつたえることができる転写ヘッド5が所定範囲で回動可能に取付けられているため、転写作業の開始または終了直後にベース部材17を回動させることが可能となり、転写の初動性および糸引き現象の防止の効果を良好に発揮させることができる。
1 塗膜転写具
2 筐体
2a 筐体部材2b 結合軸
3 転写テープ
4 供給リール
4a リブ状被係止部
5 転写ヘッド
5a 取付部
5b 本体部片
5c 押圧部片
5d テープガイド
5e 突起
6 巻取リール
7 供給リール用ギア
7a 係止部
7b 回転軸
7c 平面部
8 供給リール用支軸
9 圧縮スプリング
10 第1スペーサ
10a 内孔
11 弾性体ストッパ
11a 係止突起
12 第2スペーサ
12a 内孔
13 巻取リール用支軸
14 巻取リール用ギア
15 小ギア
16 動力伝達機構
17 ベース部材(収容部材)
17a リブ
17b 支軸用挿通孔
17c 係止歯用挿通孔
17d 弾性ラチェット爪
17e 転写ヘッド取付部
17f 取付部本体
17g カバー材
17h 開口部
17i 縦溝
17j 係止爪(回転制止部)
17k ばね用ボス
18 ベース部材用支軸
19 係止歯
20 フランジ
20a 被係止歯
20b 取付片
20c 切欠き
21 ばね部材(弾性復帰機構)
22 ヘッドカバー
S 被転写面

Claims (3)

  1. 筐体内に転写テープを巻装した供給リールと、前記供給リールから引出された転写テープを被転写面に転写する前端が筐体から突出する転写ヘッドと、転写後の転写テープを巻取る巻取リールと、供給リールと巻取リールを連動させる動力伝達機構とを少なくとも備える塗膜転写具において、
    前記巻取リールの逆回転を制止し得る巻取リール回転制止部を有するベース部材を、筺体の所定位置に設けられたベース部材用支軸に回動可能に支持すると共に、前記ベース部材と前記筺体との間に弾性復帰機構を介在させることにより、被転写面への前記転写ヘッドの押圧時には、前記ベース部材が回動することで前記巻取リールの回転制止が解除され、前記転写ヘッドの押圧解除時には、前記弾性復帰機構により、前記ベース部材が元の位置に復帰して前記巻取リールの逆回転が制止され
    前記ベース部材は、前記供給リールの回転を制止しうる供給リール回転制止部を有し、
    前記弾性復帰機構により、被転写面の前記転写ヘッドの押圧時には、前記ベース部材が回動することで前記供給リールの回転制止が解除され、前記転写ヘッドの押圧解除時には、前記弾性復帰機構により、前記ベース部材が元の位置に復帰して前記供給リールの回転が制止される、塗膜転写具。
  2. 前記ベース部材における前記巻取リール回転制止部が、前記巻取リールに付設された係止歯に係止しうるラチェット爪であり、被転写面への前記転写ヘッドの押圧時には、前記ラチェット爪と前記巻取リールの前記係止歯との係止が解除され、前記転写ヘッドの押圧解除時には、前記ラチェット爪と前記巻取リールの前記係止歯とが係止されて前記巻取リールの逆回転が制止される請求項1に記載の塗膜転写具。
  3. 前記ベース部材における前記供給リール回転制止部が、前記供給リールに一体的に形成されたフランジの円周縁に設けられた被係止歯に係止しうる係止爪であり、被転写面への前記転写ヘッドの押圧時には、前記ベース部材が回動することで前記被係止歯と前記係止爪との係止が解かれることにより、前記供給リールの回転制止が解除され、前記転写ヘッドの押圧解除時には、前記弾性復帰機構により、ベース部材が元の位置に復帰して、前記被係止歯に前記係止爪が係止されることにより、前記供給リールの回転が制止される請求項1または2に記載の塗膜転写具。
JP2018111362A 2018-06-11 2018-06-11 塗膜転写具 Active JP6633692B2 (ja)

Priority Applications (1)

Application Number Priority Date Filing Date Title
JP2018111362A JP6633692B2 (ja) 2018-06-11 2018-06-11 塗膜転写具

Applications Claiming Priority (1)

Application Number Priority Date Filing Date Title
JP2018111362A JP6633692B2 (ja) 2018-06-11 2018-06-11 塗膜転写具

Related Parent Applications (1)

Application Number Title Priority Date Filing Date
JP2016017807A Division JP6355661B2 (ja) 2016-02-02 2016-02-02 塗膜転写具

Publications (2)

Publication Number Publication Date
JP2018154135A JP2018154135A (ja) 2018-10-04
JP6633692B2 true JP6633692B2 (ja) 2020-01-22

Family

ID=63715470

Family Applications (1)

Application Number Title Priority Date Filing Date
JP2018111362A Active JP6633692B2 (ja) 2018-06-11 2018-06-11 塗膜転写具

Country Status (1)

Country Link
JP (1) JP6633692B2 (ja)

Families Citing this family (1)

* Cited by examiner, † Cited by third party
Publication number Priority date Publication date Assignee Title
CN116215124A (zh) * 2023-03-27 2023-06-06 泉州市一扬文化用品有限公司 一种静音修正带

Family Cites Families (4)

* Cited by examiner, † Cited by third party
Publication number Priority date Publication date Assignee Title
JPH05178525A (ja) * 1991-12-26 1993-07-20 Fujicopian Co Ltd 塗膜転写具
JPH111095A (ja) * 1997-06-12 1999-01-06 Tombow Pencil Co Ltd 塗布具の転写テープ送出、巻取り機構
JP2012139988A (ja) * 2011-01-04 2012-07-26 Toru Kamikado スクイージングヘッドを有する塗膜転写具
JP2014083777A (ja) * 2012-10-24 2014-05-12 Kokuyo S&T Co Ltd 転写具

Also Published As

Publication number Publication date
JP2018154135A (ja) 2018-10-04

Similar Documents

Publication Publication Date Title
JP6321537B2 (ja) 塗膜転写具
JP4737642B2 (ja) 粘着転写具
US9969590B2 (en) Horizontal-pull coating film transferring tool
US20170247792A1 (en) Coating film transfer tool
JP7363192B2 (ja) アタッチメント及び印刷装置
JP2011110786A (ja) 塗布膜転写具
JP5747143B2 (ja) 転写具
KR102266631B1 (ko) 횡인형 도막 전사구
JP6633692B2 (ja) 塗膜転写具
JP5528843B2 (ja) 塗布膜転写具
JP6355661B2 (ja) 塗膜転写具
JP6015266B2 (ja) 転写具及び転写具のリフィル
JP5515077B2 (ja) 転写具
JP6499008B2 (ja) 塗膜転写具
JPWO2019008687A1 (ja) 塗膜転写具
JP3778643B2 (ja) 塗膜転写具
JP2006205564A (ja) 塗膜転写具
JP7650046B2 (ja) 塗膜転写具
JP3106294U (ja) カバー機構及び転写具
JP2005081725A (ja) 塗膜転写具
JPH10264591A (ja) 塗布具
JP2021194888A (ja) 転写具
JP2020104376A (ja) 塗膜転写具
JPH0769590A (ja) 定荷重ばね装置
HK1129350A1 (en) Coating film transfer tool

Legal Events

Date Code Title Description
A521 Request for written amendment filed

Free format text: JAPANESE INTERMEDIATE CODE: A523

Effective date: 20180706

A521 Request for written amendment filed

Free format text: JAPANESE INTERMEDIATE CODE: A523

Effective date: 20180827

A621 Written request for application examination

Free format text: JAPANESE INTERMEDIATE CODE: A621

Effective date: 20180827

A521 Request for written amendment filed

Free format text: JAPANESE INTERMEDIATE CODE: A821

Effective date: 20180827

A977 Report on retrieval

Free format text: JAPANESE INTERMEDIATE CODE: A971007

Effective date: 20190515

A131 Notification of reasons for refusal

Free format text: JAPANESE INTERMEDIATE CODE: A131

Effective date: 20190604

A521 Request for written amendment filed

Free format text: JAPANESE INTERMEDIATE CODE: A523

Effective date: 20190722

TRDD Decision of grant or rejection written
A01 Written decision to grant a patent or to grant a registration (utility model)

Free format text: JAPANESE INTERMEDIATE CODE: A01

Effective date: 20191203

A61 First payment of annual fees (during grant procedure)

Free format text: JAPANESE INTERMEDIATE CODE: A61

Effective date: 20191212

R150 Certificate of patent or registration of utility model

Ref document number: 6633692

Country of ref document: JP

Free format text: JAPANESE INTERMEDIATE CODE: R150

R250 Receipt of annual fees

Free format text: JAPANESE INTERMEDIATE CODE: R250

R250 Receipt of annual fees

Free format text: JAPANESE INTERMEDIATE CODE: R250

R250 Receipt of annual fees

Free format text: JAPANESE INTERMEDIATE CODE: R250

R250 Receipt of annual fees

Free format text: JAPANESE INTERMEDIATE CODE: R250