JP6628131B2 - 把持装置とこれを用いた把持方法 - Google Patents

把持装置とこれを用いた把持方法 Download PDF

Info

Publication number
JP6628131B2
JP6628131B2 JP2015208803A JP2015208803A JP6628131B2 JP 6628131 B2 JP6628131 B2 JP 6628131B2 JP 2015208803 A JP2015208803 A JP 2015208803A JP 2015208803 A JP2015208803 A JP 2015208803A JP 6628131 B2 JP6628131 B2 JP 6628131B2
Authority
JP
Japan
Prior art keywords
gripping
bag
work
granules
core member
Prior art date
Legal status (The legal status is an assumption and is not a legal conclusion. Google has not performed a legal analysis and makes no representation as to the accuracy of the status listed.)
Active
Application number
JP2015208803A
Other languages
English (en)
Other versions
JP2017080825A (ja
Inventor
武芳 江口
武芳 江口
弘記 村上
弘記 村上
Current Assignee (The listed assignees may be inaccurate. Google has not performed a legal analysis and makes no representation or warranty as to the accuracy of the list.)
IHI Corp
Original Assignee
IHI Corp
Priority date (The priority date is an assumption and is not a legal conclusion. Google has not performed a legal analysis and makes no representation as to the accuracy of the date listed.)
Filing date
Publication date
Application filed by IHI Corp filed Critical IHI Corp
Priority to JP2015208803A priority Critical patent/JP6628131B2/ja
Publication of JP2017080825A publication Critical patent/JP2017080825A/ja
Application granted granted Critical
Publication of JP6628131B2 publication Critical patent/JP6628131B2/ja
Active legal-status Critical Current
Anticipated expiration legal-status Critical

Links

Images

Landscapes

  • Manipulator (AREA)

Description

本発明は、粒体を用いた把持装置とこれを用いた把持方法に関する。
搬送ロボットは、取出位置にあるワークを別の位置まで搬送する産業用ロボットであり、通常、ワーク(把持対象物)を把持する爪を用いたロボットハンドを有する。しかし、ワークの形状が不定形である場合、既存の爪では対応ができない場合がある。
そこで、ワークの形状によらずにワークを把持して移動するロボットハンドとして、粒体を用いたグリッパ(以下、「グリッパ」と呼ぶ)が提案されている(例えば特許文献1,2)。
特許文献1の「グリッピングおよびリリーシングの装置および方法」において、グリッパは、弾性膜で包まれた大量の粒状材料を含み、正圧および負圧の組み合わせにより、広範囲の対象物(ワーク)を急速に掴み、放すことができる。このグリッパは、受動的にワークの形状に一致し、次に、それを堅く掴むために真空に吸引し、その後、正圧を使用してワークを放し、変形可能な状態に戻る。
特許文献2の「グリッパ」は、受圧面を有する固定部材と、受圧面に密着して取り付けられ内部に粒体を充填させた中空バッグと、中空バッグ内の圧力を減圧しかつ大気圧に戻すことができる減圧装置と、を備える。さらに、粒体が減圧装置に入り込むことを防ぐためのフィルタを有する。フィルタは、減圧装置による中空バッグ内の減圧時又は加圧時において空気を透過可能であって、かつ、中空バッグ内部に突き出している。
特表2013−523478号公報 特開2012−218108号公報
上述した従来のグリッパは、粒体を充填した中空バッグをワーク(例えばピンキングの対象物)に押し付け、中空バッグ内を減圧して粒体を固化することによって、ワークを中空バッグに嵌合させて、ワークを移動可能にしていた。
しかし、従来のグリッパは、ワークを囲んでいない粒体が外力を受けて固化し、ワークを囲む部分が十分に固化しない可能性があった。例えば、密着可能な面の少ないワーク(例えば「凹凸が多く、表面が毛状で覆われた縫いぐるみ」)は、中空バッグの収縮時に、ワーク自体が低圧力を受けて収縮するので、そのまわりの粒体が十分に固化せずに把持できない可能性があった。
また、中空バッグをワークに押し付けて嵌合させる際に、内部の粒体が圧縮されて粒体間に摩擦力が生じると粒体の移動抵抗がワークに作用し、不均一な外力で壊れやすいワーク(例えば卵や豆腐)を損傷させる可能性があった。
すなわち、従来のグリッパのワーク(把持対象物)は、密着可能な面を持ち、かつ中空バッグを押付けても壊れないものに限定されていた。そのため、密着可能な面が少ないワークや、不均一な外力で壊れやすいワークの把持が難しかった。
本発明は、上述した問題点を解決するために創案されたものである。すなわち、本発明の目的は、密着可能な面が少ないワーク、又は、不均一な外力で壊れやすいワークを確実かつ安全に把持することができる把持装置とこれを用いた把持方法を提供することにある。
本発明によれば、受圧面を有する固定部材と、
前記受圧面の中心部に固定された中子部材と、
前記受圧面に前記中子部材を囲んで取り付けられ、気密性を有しかつ変形可能な中空の把持バッグと、
前記把持バッグの内部に空間を残して流動可能に収容された粒体と、
前記把持バッグの内部を減圧して収縮させ、かつ大気圧に戻すことができる減圧装置と、を備え、
前記中子部材は、前記把持バッグ内に突出しており、
前記粒体は、ワークの少なくとも一部を囲む総容積を占め
前記中子部材は、内圧で膨張可能な中空弾性バッグであり、
さらに、前記中子部材の内部を加圧しかつ大気圧に戻すことができる加圧装置を備える、把持装置が提供される。
前記把持バッグの内部に収容された通気性の中空粒体袋を備え、
前記中空粒体袋は、前記粒体を内部に収容する環状の袋体であり、該袋体の中央に前記ワークの少なくとも一部を収容可能な開口を有する。これにより、開口に位置するワークは環状の袋体により把持できる。
前記中子部材の形状は、球形、半球形、錐体形、接頭錐体形、又は棒状形である。これらの形状は、ワークの形状に応じて選択することで、最適な把持をすることができる。
前記把持バッグは、その外面に内側に凹む窪みを有する。この窪みにより、ワークは中子部材の存在する部分に配置でき、粒体は確実に把持ができるように移動でき、ワークを把持することができる。
また本発明によれば、上述した把持装置を用いた把持方法であって、
(A)前記把持バッグの内部を外部と連通させた状態で、前記中子部材の内部を加圧することで前記中子部材を膨張させて、前記ワークに適した大きさに前記中子部材を設定し、
)前記受圧面を下向きにし、前記把持バッグの内部を外部と連通させた状態で、前記中子部材の下端が前記ワークに近接するまで前記把持装置を移動させ、これにより前記把持バッグの内部で前記粒体を、前記ワークの少なくとも一部を囲むように移動し、
)次いで、前記把持バッグの内部を減圧して収縮させ、これにより粒体間の空隙を低減して互いに密着させ、粒体間の摩擦力で成形された前記粒体の塊により前記ワークを側面から把持する、把持方法が提供される。

これにより、(A)の粒体移動の際に、把持バッグの内部には空間があり、粒体は流動可能であるので、把持バッグの下面がワークを囲むように凹む際に、内部の粒体は圧縮されずに自由に流動することができる。また、中子部材はワークに接触しないので、ワークには粒体全体の一部の重さのみが作用する。
また、(B)の減圧の際に、中子部材の下端がワークに近接しており、ワークを囲まない粒体の比率が少ないので、ワークを囲む部分を十分に固化することができる。
本発明によれば、中子部材が、把持バッグ内に突出している。また粒体が、把持バッグの内部に空間を残して流動可能に収容されている。また粒体は、ワークの少なくとも一部を囲む総容積を占める。
従って、受圧面を下向きにし、把持バッグの内部を外部と連通させた状態で、中子部材の下端がワークに近接するまで把持装置を移動(下降)させることで、把持バッグの内部で粒体を、ワークの少なくとも一部を囲むように移動することができる。
次いで、把持バッグの内部を減圧して収縮させることで、粒体間の空隙を低減して互いに密着させ、粒体間の摩擦力で成形された粒体の塊(粒体塊)によりワークを側面から把持することができる。
またこの際、粒体の塊(粒体塊)はワークの少なくとも一部を囲んだ状態から全体として収縮するので、ワークとの接触面積が大きく、接触面の面圧は低い。さらに、この面圧は、減圧時の把持バッグの内圧と大気圧の差に比例するので、減圧時の内圧調節により可変に制御することができる。
従って、本発明の把持装置により、密着可能な面が少ないワーク、及び、不均一な外力で壊れやすいワークを確実かつ安全に把持することができる。
本発明の把持装置を備えた搬送ロボットの全体構成図である。 本発明の把持装置の第1実施形態の断面概念図である。 中子部材の別の実施形態を示す概念図である。 把持バッグの別の実施形態を示す断面概念図である。 第1実施形態の把持装置を用いた把持方法の断面概念図である。 第1実施形態の把持装置を用いた把持方法の別の断面概念図である。 第2実施形態の把持装置とこれを用いた把持方法の断面概念図である。 第3実施形態の把持装置とこれを用いた把持方法の断面概念図である。
以下、本発明の実施形態を添付図面に基づいて詳細に説明する。なお、各図において共通する部分には同一の符号を付し、重複した説明を省略する。
図1は、本発明の把持装置10を備えた搬送ロボット1の全体構成図である。
この図において、1は搬送ロボット、2a,2b,2cはロボットアーム、3はロボットの手先部、4はロボット支持台、5a,5b,5cは関節、6は接続部である。
また、この図において、Wは把持するワーク(把持対象物)、7はワーク用容器である。
本発明において、ワークWは形状が不定形である。この例では、把持対象物であるワークWはワーク用容器7の中に格納されているが、ワークWが直接、テーブル等に置かれていてもよい。
また、本発明において、ワークWは、密着可能な面が少なく、または滑りやすい「凹凸が多く、表面が毛状で覆われた縫いぐるみ」や、不均一な外力で壊れやすい卵(生卵、ゆで卵)を想定しているが、その他の対象物であってもよい。ここでいう不均一な力とは、ワークとの接触面積が小さいと接触面と非接触面の応力の差が大きく、接触境界部で過剰な応力が加わる場合の力である。
搬送ロボット1は、この例ではロボット支持台4の上面に固定された垂直多関節ロボットであるが、本発明はこれに限定されず、その他のロボット(スカラロボットや直交ロボット)であってもよい。
関節5a〜5cは、ロボットアーム2a〜2c及び搬送ロボット1の手先部3を連結しており、それぞれ回転軸C1〜C3(図2の紙面と垂直な軸)、C4(ロボットアーム2aの長手方向に延びる軸)周りに回転が可能である。
接続部6は、把持装置10とロボットの手先部3を接続するものである。
把持装置10は、搬送ロボット1の手先部3に搭載され、ロボットアーム2a〜2c及び関節5a〜5cを有する搬送ロボット1により、所定の作動範囲で3次元的に移動され、かつ自由な姿勢をとることができるようになっている。
図2は、本発明の把持装置10の第1実施形態の断面概略図である。
この図において、本発明の把持装置10は、固定部材12、中子部材14、把持バッグ16、粒体18、及び減圧装置20を備える。
固定部材12は、搬送ロボット1の接続部6に連結して固定された受圧面12aを有する。
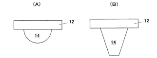
中子部材14は、受圧面12aの略中心部に固定されている。また、中子部材14は、把持バック面又は粒体そのものとの接触により粒体18を中子部材14から遠ざけるように、中央部が突出している。図2において、中子部材14の形状は、球形又は略球形である。
図3は、中子部材14の別の実施形態を示す概念図であり、図3(A)は半球形、図3(B)は接頭錐体形の中子部材14を示している。
この図に示すように、中子部材14の形状は、中央部が下方に突出した半球形、錐体形、接頭錐体形(接頭多角錐、接頭円錐)、又は棒状形であってもよい。
この例において、中子部材14は、把持バッグ16の内圧の変化により外形寸法が変化しない剛体である。
すなわち、中子部材14は、中実であるか、中実でなくとも把持バッグ16の内部と連通しておらず、かつ減圧下及び大気圧下で形状がほとんど変化しない材質(例えば、金属又はプラスチック)であるのがよい。
この構成により、中子部材14をワークWに近接させることで、ワークWを包み込むように、把持バッグ16の内部で粒体18を中子部材14から遠ざける方向に移動させることができる。
また、中子部材14は、内圧で膨張可能な中空弾性バッグであってもよい。
この構成により、中子部材14内の圧力を正圧に加圧することで中子部材14を膨張させて、ワークWに適した大きさにすることができる。またこの膨張により、把持バッグ16内の粒体18の移動を促進することができる。
図2において、把持バッグ16は、気密性を有しかつ変形可能な中空バッグであり、受圧面12aに中子部材14を囲んで取り付けられている。
図2において、把持バッグ16の形状は、この例では球形である。しかし、把持バッグ16の形状は、その他の形状、例えば、半球形、接頭錐体形(接頭多角錐、接頭円錐)であってもよい。
図4は、把持バッグ16の別の実施形態を示す概念図である。
この図に示すように、把持バッグ16の外面(例えば下面)に内側(図で上側)に凹む窪み16aを有してもよい。窪み16aは、好ましくは半球形の窪みであるが、例えば切断断面が楕円形又は矩形の窪みでもよい。
また窪み16aは、ワークWの少なくとも一部を囲むことができる大きさを有することが好ましい。
上述した窪み16aを設けることにより、中子部材14の外面(例えば下端)をワークWに近接させた際に、把持バッグ16を変形させずに、ワークWの少なくとも一部を窪み16a内に収容して、粒体18でワークWの少なくとも一部を囲むことができる。
把持バッグ16は、ワークWを把持する際に、ワークWの表面形状に沿って形状を変化させる可撓性及び柔軟性と、気体の通気を許さない気密性を有する素材である必要がある。また、摩擦によってもワークWを側面から把持することが可能である素材である必要がある。
例えば、把持バッグ16の素材は、天然ゴム、ラテックスゴム、弾性を有するプラスチック、ナイロンなどが望ましい。また、把持バッグ16の厚さは、例えば、0.1〜1.0mmであるのがよい。また、人間の指の指紋のように表面には微細なテクスチャー、文様や溝を形成しておいてもよい。
粒体18は、把持バッグ16の内部に空間を残して流動可能に収容されている。
粒体18は、把持バッグ16の内圧が大気圧であり、中子部材14の外面(例えば下端)がワークWに近接するときに、ワークWの少なくとも一部を囲む総容積を占める。
この総容積は、図2に示す状態、すなわち受圧面12aを下向きにし、把持バッグ16の内圧が大気圧であるときの把持バッグ16と中子部材14の間の空間の半分から4分の3を占め、その上部に粒体18の存在しない空間が残る程度であるのがよい。
また、粒体18の存在しない空間の容積は、好ましくはワークWの全容積の半分以上、さらに好ましくはワークWの全容積以上であるのがよい。
受圧面12aを下向きにした重力下の図2に示す状態において、中子部材14の下端と把持バッグ16の下端との高さ方向の間隔は、好ましくはワークWの全高の半分以上、さらに好ましくはワークWの全高以上であるのがよい。
また、この状態において、粒体18の上面は、中子部材14の下端とほぼ同じ高さ、又はそれより上に位置するのがよい。
この構成により、受圧面12aを下向きにし、把持バッグ16の内部を外部と連通させた状態で、中子部材14の下端がワークWに近接するまで、搬送ロボット1にて把持装置10を移動(下降)させることで、粒体18の存在しない上部空間の気体(例えば空気)を外部に排気することができる。
なお、把持バッグ16の内部と外部との間には、図示しないフィルタが設けられ、粒体18が把持バッグ16の外部に流出しないようになっている。
粒体18は、収縮時に元の形状に復帰する反発力を有することが好ましい。かかる粒体18は、例えば内部に独立気泡又は連続気泡を有する発泡樹脂(例えば発泡スチロール)である。ただし、中子部材14の剛性に比べて反発力を有しない方がよい。
この構成により、把持バッグ16の内部を減圧して収縮させ、かつ粒体間の空隙を低減してワークWを保持する形状に粒体18を密着させた際に、粒体自体の反発力によりワークWの把持力を高めることができる。
例えば、球形の発泡ビーズとガラスビーズを粒体18として用いた場合、減圧後の発泡ビーズが元の形に戻ろうとする反発力が加わるので、ガラスビーズの場合より把持力が高くなることが実験的に確認されている。
なお本発明はこの構成に限定されず、減圧下及び大気圧下で形状がほとんど変化しない材質(例えば、ガラスビーズ)であってもよい。
本発明において、「減圧」とは、把持バッグ16を収縮させ、これにより粒体間の空隙を低減して互いに密着させ、粒体間の摩擦力で成形された粒体18の塊によりワークWを側面から把持することができる負圧又は真空度にすることを意味する。
また粒体18は、大気圧下で自重により下方に移動する流動性を有することが好ましい。すなわち、粒体18は乾燥しており、乾燥状態における安息角が大気圧下で、好ましくは45度以下、さらに好ましくは30度以下であるのがよい。
この構成により、受圧面12aを下向きにし、把持バッグ16の内部を外部と連通させた状態で、中子部材14の下端がワークWに近接するまで、把持装置10を移動(下降)させることで、ワークWの周りに位置する把持バッグ16の一部がワークWの上部より低くなる。
従って、中子部材14により、粒体18の流動性を利用して、ワークWの少なくとも一部を囲むように把持装置10内部の粒体18を移動することができる。
なお、受圧面12aを下向きにし、ワークWに近接する際の中子部材14の下端位置は、ワークWの上端から所定間隔を隔てた位置であるのがよい。この「所定間隔」は、中子部材14と把持バッグ16との間に位置する粒体18を介して、ワークWに伝達される下向きの力が閾値以下になるように設定する。
この閾値は、ワークW(例えば不均一な外力で壊れやすい卵)を壊さない大きさであるのがよい。例えば、上記の所定間隔は、5〜50mmであり、下向きの力の閾値は、1〜2Nである。
また、粒体18は、把持バッグ16の収縮により互いに密着してワークWを保持する摩擦係数を有することが好ましい。
この構成により、把持バッグ16の内部を減圧して収縮させ、かつ粒体間の空隙を低減してワークWを保持する形状に粒体18を密着させることで、形状が保持された粒体18の塊(以下、「粒体塊」と呼ぶ)によりワークWを側面から把持することができる。
さらに、粒体18は、大気圧下で自重によりワークWを変形させない比重を有することが好ましい。
この構成により、受圧面12aを下向きにし、把持装置10を移動させることで、中子部材14により、ワークWの少なくとも一部を囲むように把持バッグ16の内部で粒体18を移動する際に、粒体18の比重によるワークWの変形を防止又は低減することができる。
この粒体移動の際に、中子部材14はワークWに接触しないので、ワークWには粒体全体の一部の重さのみが作用する。
すなわち粒体18の総重量を軽くすることにより、把持装置10をワークWの上に載せるだけで、粒体18を内部でワークWの周りに移動することができ、ワークWに作用する押付荷重を大幅に低減してその変形を防止又は低減することができる。
上述した粒体18は、例えば、発泡樹脂(例えば発泡スチロール)、ガラスビーズ、プラスチック、ポリマー粒子、中空樹脂ビーズ、内部に空洞を有する粒体、ガラス球、金属粒子、金属球、粉砕ゴム、砂、などである。
また、粒体18は、原料として炒った豆(例えばコーヒ豆)や乾燥した木片等を砕いたもの、コーヒ豆の出しがら、コーンスターチ、コーンミール、乾燥した粉砕トウモロコシの皮、米、おがくず、粉砕された木の実の殻、オート麦、塩、種、そば殻、などでもよい。
粒体18は、把持装置10をワークWの形状に倣わせる際に、流動しやすくするため、球形であることが好ましい。しかし、本発明はこれに限定されず、球形以外の形状(例えば、直方体、多面体、など)であってもよい。
粒体18の大きさは、把持バッグ16の内部を減圧して収縮させ、これにより粒体間の空隙を低減して互いに密着させ、粒体間の摩擦力で成形された粒体18の塊(粒体塊)によりワークWを側面から把持することができるのがよい。
すなわち、粒体18の最大径は、ワークWの幅、厚さ、長さのうちの最小値の例えば1/10以下であり、1/1000以上であるのがよい。
例えば、粒体18の長径は、好ましくは0.1mm以上、更に好ましくは、1〜5mmであるのがよい。
粒体18が球形の発泡ビーズである場合、その把持力は、発泡ビーズの直径が5mm、3mm、1mmの順で大きいことが実験的に確認されている。
また粒体18を相対的に大きくすることにより、把持バッグ内の空気比率を大きくすることができる。
減圧装置20は、把持バッグ16の内部を減圧することで把持バッグ16を収縮させてワークWの把持を行い、また把持バッグ16内の圧力を大気圧まで戻すことによってワークWの把持を解放する。
この例では、減圧装置20は接続部6内に設置されているが、これらの機能を損なわなければ他の場所でもよい。
図1、図2において、本発明の把持装置10は、さらに、制御装置26を備える。この制御装置26は、搬送ロボット1の3次元移動と把持装置10を制御する。
さらに、制御装置26は、以下の制御を実行する。
(A)受圧面12aを下向きにし、把持バッグ16の内部を外部と連通させた状態で、中子部材14の下端がワークWに近接するまで把持装置10を移動させ、これにより把持バッグ16の内部で粒体18を、ワークWの少なくとも一部を囲むように移動する。
(B)次いで、把持バッグ16の内部を減圧して収縮させ、これにより粒体間の空隙を低減して互いに密着させ、粒体間の摩擦力で成形された粒体18の塊(粒体塊)によりワークWを側面から把持する。
(C)ワークWを把持した状態で、把持バッグ16の内圧を大気圧に戻し、ワークWを解放する。
上述した構成により、受圧面12aを下向きにし、把持バッグ16の内部を外部と連通させた状態で、中子部材14の下端がワークWに近接するまで、把持装置10を移動(下降)させることで、ワークWの少なくとも一部を囲むように内部で粒体18を移動することができる。
「ワークWの少なくとも一部」とは、把持装置10でワークWを把持する際の、ワークWの平面視で、幅方向又は長さ方向の少なくとも2点であり、ワークWを把持して搬送できる部分を意味する。
図5は、第1実施形態の把持装置10を用いた把持方法の断面概念図である。この例において、ワークWは、密着可能な面が少なく、または滑りやすい「凹凸が多く、表面が毛状で覆われた縫いぐるみ」を想定している。
図6は、第1実施形態の把持装置10を用いた把持方法の別の断面概念図である。この例において、ワークWは、不均一な外力で壊れやすい卵(生卵、ゆで卵)を想定している。
図5、図6において、中子部材14は、把持バッグ16の内圧の変化により外形寸法が変化しない剛体である。
さらに、粒体18は、発泡樹脂(例えば発泡スチロール)であり、収縮時に元の形状に復帰する反発力を有する。
図5(A)は、図2に示した把持装置10が受圧面12aを下向きにし、ワークWの上部に位置する状態を示している。この状態において、把持バッグ16の内部は外部と図示しないフィルタを介して連通しており、上部空間の気体(例えば空気)を外部に排気できるようになっている。
ワークWが、外力で壊れやすい卵の場合も同様である。
また、この状態において、把持バッグ16は球形であるが、内部の粒体18の重量により、球形から変形してもよい。
図6(A)は、図5(B)に相当する。
本発明の把持方法では、図5(B)と図6(A)に示すように、受圧面12aを下向きにし、把持バッグ16の内部を外部と連通させた状態で、中子部材14の下端がワークWに近接するまで、把持装置10を移動させる。これにより、把持装置10の一部がワークWの周りに位置しワークWの上部より低くなる。
従って、中子部材14の下端をワークWに近接させることで、中央部が下方に突出した中子部材14により、粒体18の流動性を利用して、ワークWの少なくとも一部を囲むように把持バッグ16の内部で粒体18を移動する。なおこの際、ワークWと把持バッグ16とは密着していなくてもよい。
この粒体移動の際に、把持バッグ16の内部には空間があり、粒体18は流動可能であるので、把持バッグ16の下面がワークWを囲むように凹む際に、内部の粒体18は圧縮されずに自由に流動することができる。また、中子部材14はワークWに接触しないので、ワークWには粒体全体の一部の重さのみが作用する。従って、ワークWが、不均一な外力で壊れやすいもの(例えば卵)であっても、その破損を低減又は防止することができる。
図6(B)は図5(C)に相当する。
次いで、図5(C)と図6(B)に示すように、把持バッグ16の内部を減圧して収縮させる。これにより粒体間の空隙を低減して互いに密着させ、粒体間の摩擦力で成形された粒体18の塊(粒体塊)によりワークWを側面から把持する。
またこの例では、粒体自体の反発力によりワークWの把持力を高めることができる。
この減圧の際に、中子部材14の下端がワークWに近接しており、ワークWを囲まない粒体18の比率が少ないので、ワークWを囲む部分を十分に固化することができる。
またこの際、粒体18の塊(粒体塊)はワークWの少なくとも一部を囲んだ状態から全体として収縮するので、ワークWとの接触面積が大きく、接触面の面圧は低い。
さらに、この面圧は、減圧時の把持バッグ16の内圧と大気圧の差に比例するので、減圧時の内圧調節により可変に制御することができる。
またこの減圧時、把持バッグ16に凹凸ができるため、ワークWに引っかかりやすくなる。
さらに把持バッグ16が変形し、ワークWを包み込むため、密着する必要がなくなる。
従って、ワークWが、密着可能な面が少ないもの(例えば「縫いぐるみ」)であっても、或いは、外力で壊れやすいもの(例えば卵)であっても、ワークWを確実かつ安全に把持することができる。
図5(C)と図6(B)の状態で、本発明の把持装置10を用いてワークWを把持し、搬送ロボット1によりワークWを別の位置まで搬送することができる。
別の位置、すなわち搬送先では、図5(C)と図6(B)のワークWを把持した状態で、把持バッグ16の内圧を大気圧に戻し、ワークWを解放することができる。
図7は、第2実施形態の把持装置10とこれを用いた把持方法の説明図である。
図7(A)において、中子部材14は、内圧で膨張可能な中空弾性バッグである。
また、この例では、さらに、中子部材14の内部を加圧しかつ大気圧に戻すことができる加圧装置22を備える。
その他の構成は、第1実施形態と同様である。
加圧装置22は、中子部材14の内部を加圧することで中子部材14を膨張させ、かつ中子部材14内の圧力を大気圧まで戻すことによって中子部材14を元の大きさに戻すようになっている。この例で、上述した制御装置26は、加圧装置22も制御する。
なおこの例では、加圧装置22は接続部6内に設置されているが、これらの機能を損なわなければ他の場所でもよい。
図7(A)の状態は、図5(A)と同様である。
本発明の把持方法では、図7(B)に示すように、制御装置26により、把持バッグ16の内部を外部と連通させた状態で、中子部材14の内部を加圧することで中子部材14を膨張させる。
この膨張により、ワークWに適した大きさに中子部材14を設定することができる。
次いで、中子部材14の下端がワークWに近接するまで、把持装置10を移動(下降)させる。中子部材14の下端をワークWに近接させることで、中央部が下方に突出した中子部材14により、ワークWの少なくとも一部を囲むように把持バッグ16の内部で粒体18を移動する。
次に、図7(C)に示すように、把持バッグ16の内部を減圧して収縮させる。これにより粒体間の空隙を低減して互いに密着させ、粒体間の摩擦力で成形された粒体18の塊(粒体塊)によりワークWを側面から把持する。
図7(C)の状態で、本発明の把持装置10を用いてワークWを把持し、搬送ロボット1によりワークWを別の位置まで搬送する。また、別の位置、すなわち搬送先では、図7(C)のワークWを把持した状態で、把持バッグ16の内圧を大気圧に戻し、ワークWを解放する。
なおこの際に、中子部材14の内圧は、加圧状態を保持しても、大気圧に戻してもよい。
図8は、第3実施形態の把持装置10とこれを用いた把持方法の断面概念図である。
この例において、中子部材14は、把持バッグ16の内圧の変化により外形寸法が変化しない剛体である。
また、この例では、さらに、把持バッグ16の内部に収容された通気性の中空粒体袋24を備える。中空粒体袋24は、粒体18を内部に収容する環状(この例ではドーナツ形状)の袋体である。中空粒体袋24は、粒体18が通過できない織布又は網であるのがよい。また、中空粒体袋24は、伸縮性を有しているのがよい。
またこの例において、中空粒体袋24は、袋体の中央にワークWの少なくとも一部を収容可能な開口24aを有する。
開口24aは、好ましくは半球形の開口(面との接触部が円形となる口)であるが、面との接触部の形状が楕円形又は矩形の開口でもよい。
その他の構成は、第1実施形態と同様である。
図8(A)の状態は、図5(A)と同様である。
すなわち、図8(A)は、受圧面12aを下向きにし、把持装置10がワークWの上部に位置する状態を示している。この状態において、把持バッグ16の内部は外部と図示しないフィルタを介して連通しており、上部空間の気体(例えば空気)を外部に排気できるようになっている。
ワークWが、外力で壊れやすい卵の場合も同様である。
また、この状態において、把持バッグ16は球形であるが、内部の粒体18の重量により、球形から変形してもよい。
本発明の把持方法では、図8(B)に示すように、受圧面12aを下向きにし、把持バッグ16の内部を外部と連通させた状態で、中子部材14の下端がワークWに近接するまで、把持装置10を移動(下降)させる。中子部材14の下端をワークWに近接させることで、中央部が下方に突出した中子部材14により、ワークWの少なくとも一部を囲むように把持バッグ16の内部で粒体18を移動する。
この際、中空粒体袋24の開口24aに、ワークWを収容することで、中空粒体袋24の内部の粒体18を、ワークWの周りに容易に移動させることができる。
次いで、図8(C)に示すように、把持バッグ16の内部を減圧して収縮させる。これにより粒体間の空隙を低減して互いに密着させ、粒体間の摩擦力で成形された粒体18の塊(粒体塊)によりワークWを側面から把持する。
図8(C)の状態で、本発明の把持装置10を用いてワークWを把持し、搬送ロボット1によりワークWを別の位置まで搬送する。また、別の位置、すなわち搬送先では、図8(C)のワークWを把持した状態で、把持バッグ16の内圧を大気圧に戻し、ワークWを解放する。
上述した本発明によれば、中子部材14が、把持バッグ内に突出している。また粒体18が、把持バッグ16の内部に空間を残して流動可能に収容されている。また粒体18は、ワークWの少なくとも一部を囲む総容積を占める。
従って、受圧面12aを下向きにし、把持バッグ16の内部を外部と連通させた状態で、中子部材14の下端がワークWに近接するまで把持装置10を移動(下降)させることで、把持バッグ16の内部で粒体18を、ワークWの少なくとも一部を囲むように移動することができる。
この粒体移動の際に、把持バッグ16の内部には空間があり、粒体18は流動可能であるので、把持バッグ16の下面がワークWを囲むように凹む際に、内部の粒体18は圧縮されずに自由に流動することができ、かつ中子部材14はワークWに接触しないので、ワークWには粒体全体の一部の重さのみが作用する。
次いで、把持バッグ16の内部を減圧して収縮させることで、粒体間の空隙を低減して互いに密着させ、粒体間の摩擦力で成形された粒体18の塊(粒体塊)によりワークWを側面から把持することができる。
この減圧の際に、中子部材14の下端がワークWに近接しており、ワークWを囲まない粒体18の比率が少ないので、ワークWを囲む部分を十分に固化することができる。
またこの際、粒体18の塊(粒体塊)はワークWの少なくとも一部を囲んだ状態から全体として収縮するので、ワークWとの接触面積が大きく、接触面の面圧は低い。さらに、この面圧は、減圧時の把持バッグ16の内圧と大気圧の差に比例するので、減圧時の内圧調節により可変に制御することができる。
従って、本発明の搬送ロボット1の把持装置10により、密着可能な面がないワークW、及び、外力で壊れやすいワークWを確実かつ安全に把持することができる。
なお、本発明は上述した実施形態に限定されず、特許請求の範囲の記載によって示され、さらに特許請求の範囲の記載と均等の意味及び範囲内でのすべての変更を含むものである。
また、中子部材14は固定部材12に固定している説明をしているが、粒体より密度が小さく粒体中に沈みこまないものであれば固定しない部材でも同様の効果が見込まれる。
W ワーク(把持対象物)、C1,C2,C3,C4 回転軸、1 搬送ロボット、2a,2b,2c ロボットアーム、3 ロボットの手先部、4 ロボット支持台、5a,5b,5c 関節、6 接続部、7 ワーク用容器、10 把持装置、12 固定部材、12a 受圧面、14 中子部材、16 把持バッグ、16a 窪み、18 粒体、20 減圧装置、22 加圧装置、24 中空粒体袋、24a 開口、26 制御装置

Claims (5)

  1. 受圧面を有する固定部材と、
    前記受圧面の中心部に固定された中子部材と、
    前記受圧面に前記中子部材を囲んで取り付けられ、気密性を有しかつ変形可能な中空の把持バッグと、
    前記把持バッグの内部に空間を残して流動可能に収容された粒体と、
    前記把持バッグの内部を減圧して収縮させ、かつ大気圧に戻すことができる減圧装置と、を備え、
    前記中子部材は、前記把持バッグ内に突出しており、
    前記粒体は、ワークの少なくとも一部を囲む総容積を占め
    前記中子部材は、内圧で膨張可能な中空弾性バッグであり、
    さらに、前記中子部材の内部を加圧しかつ大気圧に戻すことができる加圧装置を備える、把持装置。
  2. 前記把持バッグの内部に収容された通気性の中空粒体袋を備え、
    前記中空粒体袋は、前記粒体を内部に収容する環状の袋体であり、該袋体の中央に前記ワークの少なくとも一部を収容可能な開口を有する、請求項1に記載の把持装置。
  3. 前記中子部材の形状は、球形、半球形、錐体形、接頭錐体形、又は棒状形である、請求項1に記載の把持装置。
  4. 前記把持バッグは、その外面に内側に凹む窪みを有する、請求項1に記載の把持装置。
  5. 請求項1に記載の把持装置を用いた把持方法であって、
    (A)前記把持バッグの内部を外部と連通させた状態で、前記中子部材の内部を加圧することで前記中子部材を膨張させて、前記ワークに適した大きさに前記中子部材を設定し、
    )前記受圧面を下向きにし、前記把持バッグの内部を外部と連通させた状態で、前記中子部材の下端が前記ワークに近接するまで前記把持装置を移動させ、これにより前記把持バッグの内部で前記粒体を、前記ワークの少なくとも一部を囲むように移動し、
    )次いで、前記把持バッグの内部を減圧して収縮させ、これにより粒体間の空隙を低減して互いに密着させ、粒体間の摩擦力で成形された前記粒体の塊により前記ワークを側面から把持する、把持方法。
JP2015208803A 2015-10-23 2015-10-23 把持装置とこれを用いた把持方法 Active JP6628131B2 (ja)

Priority Applications (1)

Application Number Priority Date Filing Date Title
JP2015208803A JP6628131B2 (ja) 2015-10-23 2015-10-23 把持装置とこれを用いた把持方法

Applications Claiming Priority (1)

Application Number Priority Date Filing Date Title
JP2015208803A JP6628131B2 (ja) 2015-10-23 2015-10-23 把持装置とこれを用いた把持方法

Publications (2)

Publication Number Publication Date
JP2017080825A JP2017080825A (ja) 2017-05-18
JP6628131B2 true JP6628131B2 (ja) 2020-01-08

Family

ID=58710289

Family Applications (1)

Application Number Title Priority Date Filing Date
JP2015208803A Active JP6628131B2 (ja) 2015-10-23 2015-10-23 把持装置とこれを用いた把持方法

Country Status (1)

Country Link
JP (1) JP6628131B2 (ja)

Families Citing this family (10)

* Cited by examiner, † Cited by third party
Publication number Priority date Publication date Assignee Title
JP7081781B2 (ja) * 2017-06-08 2022-06-07 国立大学法人東北大学 変形装置
JP6588949B2 (ja) * 2017-09-26 2019-10-09 株式会社東芝 把持ツール、把持システム、および樹脂部材の製造方法
EP3689558B1 (en) * 2017-09-29 2024-01-03 Nitta Corporation Gripping device and industrial robot
JP7081973B2 (ja) * 2018-04-27 2022-06-07 ニッタ株式会社 把持装置及び産業用ロボット
CN110576450B (zh) * 2018-06-07 2023-03-14 中国科学院沈阳自动化研究所 一种电驱动两自由度柔性机械手
JP7159951B2 (ja) * 2019-04-04 2022-10-25 株式会社ダイフク 物品把持装置
CN111113464A (zh) * 2020-01-21 2020-05-08 苏州迪天机器人自动化有限公司 一种抓取装置
JP7513563B2 (ja) * 2021-04-12 2024-07-09 ニッタ株式会社 把持装置及び産業用ロボット
KR102535215B1 (ko) * 2021-10-08 2023-05-26 한국기계연구원 측면 파지가 가능한 그리퍼
KR102705157B1 (ko) * 2022-03-04 2024-09-11 성균관대학교산학협력단 진공 흡착 장치

Family Cites Families (6)

* Cited by examiner, † Cited by third party
Publication number Priority date Publication date Assignee Title
JP2011183536A (ja) * 2010-03-11 2011-09-22 Ihi Corp 形状自在な吸着パッド
JP2013523478A (ja) * 2010-04-15 2013-06-17 コーネル・ユニバーシティー グリッピングおよびリリーシングの装置および方法
JP5843212B2 (ja) * 2011-02-28 2016-01-13 株式会社Ihi 形状自在な吸着グリッパとこれによる把持方法
JP5780388B2 (ja) * 2011-04-08 2015-09-16 株式会社Ihi グリッパ
CN203665546U (zh) * 2014-01-18 2014-06-25 黑龙江工程学院 基于小颗粒物真空状态转换的被动式通用机器手
WO2015123128A1 (en) * 2014-02-11 2015-08-20 Empire Robotics, Inc. Jamming grippers and methods of use

Also Published As

Publication number Publication date
JP2017080825A (ja) 2017-05-18

Similar Documents

Publication Publication Date Title
JP6628131B2 (ja) 把持装置とこれを用いた把持方法
WO2015006613A1 (en) End effector, apparatus, system and method for gripping and releasing articles and the like
CN102939189B (zh) 夹持与释放设备及方法
Amend et al. A positive pressure universal gripper based on the jamming of granular material
He et al. Soft fingertips with tactile sensing and active deformation for robust grasping of delicate objects
JP5843212B2 (ja) 形状自在な吸着グリッパとこれによる把持方法
Kultongkham et al. The design of a force feedback soft gripper for tomato harvesting
CN105818143B (zh) 基于主动包络和被动塑形的柔性多臂气动夹持器
JP5822110B2 (ja) 形状可変な吸着グリッパ
JP6831136B2 (ja) 電気−空気圧複合駆動柔軟指のイーグルクローを模擬した物流梱包用ロボットハンド
JP7393761B2 (ja) 吸着グリッパ
Arachchige et al. A novel variable stiffness soft robotic gripper
CN108381534A (zh) 一种具有弓字形连续弯曲内腔的柔性机械手
TW201742790A (zh) 食品塡裝裝置
JP2013240853A (ja) ハンド装置
CN107414882A (zh) 一种气动吞咽型柔性机械手
Nguyen et al. Fabric-based soft grippers capable of selective distributed bending for assistance of daily living tasks
JP5800127B2 (ja) 形状自在な吸着グリッパ
JP2011183536A (ja) 形状自在な吸着パッド
JP2015217439A (ja) ロボットハンド
Egli et al. Sensorized soft skin for dexterous robotic hands
CN209812365U (zh) 一种软硬混合约束纯二维双向张合的气动软体夹持器
Gai et al. A modular four-modal soft grasping device
JP6353152B2 (ja) 把持装置及び産業用ロボット
JP5780388B2 (ja) グリッパ

Legal Events

Date Code Title Description
A621 Written request for application examination

Free format text: JAPANESE INTERMEDIATE CODE: A621

Effective date: 20180829

A131 Notification of reasons for refusal

Free format text: JAPANESE INTERMEDIATE CODE: A131

Effective date: 20190724

A977 Report on retrieval

Free format text: JAPANESE INTERMEDIATE CODE: A971007

Effective date: 20190724

A521 Written amendment

Free format text: JAPANESE INTERMEDIATE CODE: A523

Effective date: 20190906

TRDD Decision of grant or rejection written
A01 Written decision to grant a patent or to grant a registration (utility model)

Free format text: JAPANESE INTERMEDIATE CODE: A01

Effective date: 20191108

A61 First payment of annual fees (during grant procedure)

Free format text: JAPANESE INTERMEDIATE CODE: A61

Effective date: 20191121

R151 Written notification of patent or utility model registration

Ref document number: 6628131

Country of ref document: JP

Free format text: JAPANESE INTERMEDIATE CODE: R151