JP6567775B2 - 車両用変速機 - Google Patents

車両用変速機 Download PDF

Info

Publication number
JP6567775B2
JP6567775B2 JP2018529476A JP2018529476A JP6567775B2 JP 6567775 B2 JP6567775 B2 JP 6567775B2 JP 2018529476 A JP2018529476 A JP 2018529476A JP 2018529476 A JP2018529476 A JP 2018529476A JP 6567775 B2 JP6567775 B2 JP 6567775B2
Authority
JP
Japan
Prior art keywords
gear
driven
drive
shaft
torque
Prior art date
Legal status (The legal status is an assumption and is not a legal conclusion. Google has not performed a legal analysis and makes no representation as to the accuracy of the status listed.)
Expired - Fee Related
Application number
JP2018529476A
Other languages
English (en)
Other versions
JPWO2018020982A1 (ja
Inventor
隆之 奥田
隆之 奥田
Current Assignee (The listed assignees may be inaccurate. Google has not performed a legal analysis and makes no representation or warranty as to the accuracy of the list.)
JATCO Ltd
Original Assignee
JATCO Ltd
Priority date (The priority date is an assumption and is not a legal conclusion. Google has not performed a legal analysis and makes no representation as to the accuracy of the date listed.)
Filing date
Publication date
Application filed by JATCO Ltd filed Critical JATCO Ltd
Publication of JPWO2018020982A1 publication Critical patent/JPWO2018020982A1/ja
Application granted granted Critical
Publication of JP6567775B2 publication Critical patent/JP6567775B2/ja
Expired - Fee Related legal-status Critical Current
Anticipated expiration legal-status Critical

Links

Images

Classifications

    • BPERFORMING OPERATIONS; TRANSPORTING
    • B60VEHICLES IN GENERAL
    • B60KARRANGEMENT OR MOUNTING OF PROPULSION UNITS OR OF TRANSMISSIONS IN VEHICLES; ARRANGEMENT OR MOUNTING OF PLURAL DIVERSE PRIME-MOVERS IN VEHICLES; AUXILIARY DRIVES FOR VEHICLES; INSTRUMENTATION OR DASHBOARDS FOR VEHICLES; ARRANGEMENTS IN CONNECTION WITH COOLING, AIR INTAKE, GAS EXHAUST OR FUEL SUPPLY OF PROPULSION UNITS IN VEHICLES
    • B60K6/00Arrangement or mounting of plural diverse prime-movers for mutual or common propulsion, e.g. hybrid propulsion systems comprising electric motors and internal combustion engines
    • B60K6/20Arrangement or mounting of plural diverse prime-movers for mutual or common propulsion, e.g. hybrid propulsion systems comprising electric motors and internal combustion engines the prime-movers consisting of electric motors and internal combustion engines, e.g. HEVs
    • B60K6/22Arrangement or mounting of plural diverse prime-movers for mutual or common propulsion, e.g. hybrid propulsion systems comprising electric motors and internal combustion engines the prime-movers consisting of electric motors and internal combustion engines, e.g. HEVs characterised by apparatus, components or means specially adapted for HEVs
    • B60K6/36Arrangement or mounting of plural diverse prime-movers for mutual or common propulsion, e.g. hybrid propulsion systems comprising electric motors and internal combustion engines the prime-movers consisting of electric motors and internal combustion engines, e.g. HEVs characterised by apparatus, components or means specially adapted for HEVs characterised by the transmission gearings
    • BPERFORMING OPERATIONS; TRANSPORTING
    • B60VEHICLES IN GENERAL
    • B60KARRANGEMENT OR MOUNTING OF PROPULSION UNITS OR OF TRANSMISSIONS IN VEHICLES; ARRANGEMENT OR MOUNTING OF PLURAL DIVERSE PRIME-MOVERS IN VEHICLES; AUXILIARY DRIVES FOR VEHICLES; INSTRUMENTATION OR DASHBOARDS FOR VEHICLES; ARRANGEMENTS IN CONNECTION WITH COOLING, AIR INTAKE, GAS EXHAUST OR FUEL SUPPLY OF PROPULSION UNITS IN VEHICLES
    • B60K6/00Arrangement or mounting of plural diverse prime-movers for mutual or common propulsion, e.g. hybrid propulsion systems comprising electric motors and internal combustion engines
    • B60K6/20Arrangement or mounting of plural diverse prime-movers for mutual or common propulsion, e.g. hybrid propulsion systems comprising electric motors and internal combustion engines the prime-movers consisting of electric motors and internal combustion engines, e.g. HEVs
    • B60K6/42Arrangement or mounting of plural diverse prime-movers for mutual or common propulsion, e.g. hybrid propulsion systems comprising electric motors and internal combustion engines the prime-movers consisting of electric motors and internal combustion engines, e.g. HEVs characterised by the architecture of the hybrid electric vehicle
    • B60K6/48Parallel type
    • BPERFORMING OPERATIONS; TRANSPORTING
    • B60VEHICLES IN GENERAL
    • B60KARRANGEMENT OR MOUNTING OF PROPULSION UNITS OR OF TRANSMISSIONS IN VEHICLES; ARRANGEMENT OR MOUNTING OF PLURAL DIVERSE PRIME-MOVERS IN VEHICLES; AUXILIARY DRIVES FOR VEHICLES; INSTRUMENTATION OR DASHBOARDS FOR VEHICLES; ARRANGEMENTS IN CONNECTION WITH COOLING, AIR INTAKE, GAS EXHAUST OR FUEL SUPPLY OF PROPULSION UNITS IN VEHICLES
    • B60K6/00Arrangement or mounting of plural diverse prime-movers for mutual or common propulsion, e.g. hybrid propulsion systems comprising electric motors and internal combustion engines
    • B60K6/20Arrangement or mounting of plural diverse prime-movers for mutual or common propulsion, e.g. hybrid propulsion systems comprising electric motors and internal combustion engines the prime-movers consisting of electric motors and internal combustion engines, e.g. HEVs
    • B60K6/50Architecture of the driveline characterised by arrangement or kind of transmission units
    • B60K6/54Transmission for changing ratio
    • B60K6/547Transmission for changing ratio the transmission being a stepped gearing
    • FMECHANICAL ENGINEERING; LIGHTING; HEATING; WEAPONS; BLASTING
    • F16ENGINEERING ELEMENTS AND UNITS; GENERAL MEASURES FOR PRODUCING AND MAINTAINING EFFECTIVE FUNCTIONING OF MACHINES OR INSTALLATIONS; THERMAL INSULATION IN GENERAL
    • F16HGEARING
    • F16H3/00Toothed gearings for conveying rotary motion with variable gear ratio or for reversing rotary motion
    • F16H3/02Toothed gearings for conveying rotary motion with variable gear ratio or for reversing rotary motion without gears having orbital motion
    • F16H3/08Toothed gearings for conveying rotary motion with variable gear ratio or for reversing rotary motion without gears having orbital motion exclusively or essentially with continuously meshing gears, that can be disengaged from their shafts
    • F16H3/087Toothed gearings for conveying rotary motion with variable gear ratio or for reversing rotary motion without gears having orbital motion exclusively or essentially with continuously meshing gears, that can be disengaged from their shafts characterised by the disposition of the gears
    • F16H3/093Toothed gearings for conveying rotary motion with variable gear ratio or for reversing rotary motion without gears having orbital motion exclusively or essentially with continuously meshing gears, that can be disengaged from their shafts characterised by the disposition of the gears with two or more countershafts
    • YGENERAL TAGGING OF NEW TECHNOLOGICAL DEVELOPMENTS; GENERAL TAGGING OF CROSS-SECTIONAL TECHNOLOGIES SPANNING OVER SEVERAL SECTIONS OF THE IPC; TECHNICAL SUBJECTS COVERED BY FORMER USPC CROSS-REFERENCE ART COLLECTIONS [XRACs] AND DIGESTS
    • Y02TECHNOLOGIES OR APPLICATIONS FOR MITIGATION OR ADAPTATION AGAINST CLIMATE CHANGE
    • Y02TCLIMATE CHANGE MITIGATION TECHNOLOGIES RELATED TO TRANSPORTATION
    • Y02T10/00Road transport of goods or passengers
    • Y02T10/60Other road transportation technologies with climate change mitigation effect
    • Y02T10/62Hybrid vehicles

Landscapes

  • Engineering & Computer Science (AREA)
  • Mechanical Engineering (AREA)
  • Chemical & Material Sciences (AREA)
  • Combustion & Propulsion (AREA)
  • Transportation (AREA)
  • General Engineering & Computer Science (AREA)
  • Hybrid Electric Vehicles (AREA)
  • Structure Of Transmissions (AREA)

Description

本発明は、エンジンの動力を変速して駆動輪に伝達する車両用変速機に関する。
従来、特許文献1には、平行に設置された複数のシャフトと、14個のギヤと、4つのシフト機構を備え、前進5速、後退1速を達成する変速機が開示されている。
近年、燃費向上を目的として最高変速段の変速比と最低変速段の変速比との間隔を広くすることが望まれている。変速段数を変更せず、最高変速段と最低変速段との変速比の間隔をあけてしまうと、変速段毎の変速比の変化が大きくなり、変速ショック等が増大するおそれがあった。一方、変速段数を増大させる場合、ギヤやシフト機構の数が増大し、軸方向寸法やコストアップを招くという問題があった。
特開2015−101248号公報
本発明は上記課題に着目してなされたもので、ギヤや締結装置の数を増大させることなく多段化を達成可能な車両用変速機を提供することを目的とする。
上記目的を達成するため、本発明の車両用変速機では、エンジンからのトルクが入力される駆動軸に設けられた複数の駆動ギヤと、従動軸に設けられ前記駆動ギヤと噛合する複数の従動ギヤと、前記駆動軸と前記駆動ギヤとの間及び/又は前記従動軸と前記従動ギヤとの間の動力伝達の断接を切り換える複数のシフト機構と、を備えた車両用変速機であって、前記駆動ギヤ及び/又は前記従動ギヤの同一軸上にあるギヤのうち、異なる列に配置された2つのギヤが一体に連結された第1二列間一体ギヤと、該第1二列間一体ギヤと異なる軸に配置された第2二列間一体ギヤとを有し、前記第1二列間一体ギヤの一方のギヤと、前記第2二列間一体ギヤの一方のギヤとが常時噛合することとした。
よって、一方の二列間一体ギヤのうち二列間一体ギヤ同士で噛み合っていないギヤに入力されたトルクを、他方の二列間一体ギヤのうち二列間一体ギヤ同士で噛み合っていないギヤから出力することで、一対のギヤの噛合いから得られる変速比と異なる変速比を得ることができ、軸方向寸法やコストアップを招くことなく多段化できる。
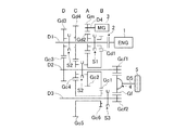
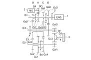
実施例1のハイブリッド車両用変速機の概略断面図である。 実施例1のハイブリッド車両用変速機の軸方向から見た軸の配置関係を表す概略図である。 実施例1のハイブリッド車両用変速機において適用可能なギヤ比を設定した際に得られる各変速段の段間比を表す図である。 実施例1のハイブリッド車両用変速機の1速時におけるトルクフロー及び2速へのアップシフト時におけるトルクフローを表す図である。 実施例1のハイブリッド車両用変速機の2速時におけるトルクフロー及び3速へのアップシフト時におけるトルクフローを表す図である。 実施例1のハイブリッド車両用変速機の3速時におけるトルクフロー及び3速へのアップシフト時におけるトルクフローを表す図である。 実施例1のハイブリッド車両用変速機の4速時におけるトルクフロー及び3速へのアップシフト時におけるトルクフローを表す図である。 実施例1のハイブリッド車両用変速機の5速時におけるトルクフロー及び3速へのアップシフト時におけるトルクフローを表す図である。 実施例1のハイブリッド車両用変速機の6速時におけるトルクフロー及び6速からモータトルクのみで走行する第2EVモードE2への遷移時におけるトルクフローを表す。 実施例1のハイブリッド車両用変速機の後退速時及びハイブリッド後退速時におけるトルクフローを表す。 実施例1のハイブリッド車両用変速機のEVモードを表す図である。 実施例2のハイブリッド車両用変速機の構成を表す概略断面図である。 実施例3のハイブリッド車両用変速機の構成を表す概略断面図である。 実施例4のハイブリッド車両用変速機の構成を表す概略断面図である。 実施例5のハイブリッド車両用変速機の構成を表す概略断面図である。 実施例6のハイブリッド車両用変速機の構成を表す概略断面図である。 実施例7のハイブリッド車両用変速機の構成を表す概略断面図である。 実施例8のハイブリッド車両用変速機の構成を表す概略断面図である。 実施例9のハイブリッド車両用変速機の構成を表す概略断面図である。 実施例10のハイブリッド車両用変速機の構成を表す概略断面図である。 実施例11のハイブリッド車両用変速機の構成を表す概略断面図である。 実施例12のハイブリッド車両用変速機の構成を表す概略断面図である。 実施例13のハイブリッド車両用変速機の構成を表す概略断面図である。 実施例14のハイブリッド車両用変速機の構成を表す概略断面図である。 実施例15のハイブリッド車両用変速機の構成を表す概略断面図である。 実施例16のハイブリッド車両用変速機の構成を表す概略断面図である。
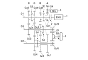
〔実施例1〕
図1は、実施例1のハイブリッド車両用変速機の概略断面図である。ハイブリッド車両用変速機は、エンジン1と変速機の間に配置されたクラッチ2と、エンジン1と同軸に配置された駆動軸D1と、駆動軸D1と平行に配置された第1従動軸D2と、第1従動軸D2と平行に配置された第2従動軸D3と、モータ3と同時に配置されたモータ軸D4と、駆動輪5に接続された出力軸D5と、を有する平行軸型常時噛み合い変速機である。
駆動軸D1には、エンジン側から順に、駆動軸D1と相対回転可能な第3駆動ギヤGd3と、駆動軸D1と相対回転可能な第4駆動ギヤGd4と、駆動軸D1と相対回転可能な第2駆動ギヤGd2と、駆動軸D1と相対回転可能な第1駆動ギヤGd1と、を有する。第3駆動ギヤGd3と第4駆動ギヤGd4との間には、両駆動ギヤと駆動軸D1との間の断接状態を切り替える第2シフト機構S2を有する。第2駆動ギヤGd2と第1駆動ギヤGd1との間には、両駆動ギヤと駆動軸D1との間の断接状態を切り替える第1シフト機構S1を有する。尚、シフト機構とは、例えばシンクロ機構によりドグ歯の噛合で締結する周知の構成でもよいし、単なるドグクラッチでもよく、特に限定しない。
第1従動軸D2には、エンジン側から順に、第1従動軸D2と常時一体に回転する第1出力ギヤGcf1と、第1従動軸D2と常時一体に回転すると共に第3駆動ギヤGd3と常時噛み合う第3従動ギヤGc3と、第1従動軸D2と相対回転可能であって第4駆動ギヤGd4と常時噛み合う第4従動ギヤGc4と、第1従動軸D2と相対回転可能であって第2駆動ギヤGd2と常時噛み合う第2従動ギヤGc2と、第1従動軸D2と相対回転可能であって第1駆動ギヤGd1と常時噛み合う第1従動ギヤGc1と、を有する。尚、第1従動ギヤGc1と第2従動ギヤGc2とは一体に連結され、第1二列間一体ギヤG21を構成する。第4従動ギヤGc4と第2従動ギヤGc2との間には、両従動ギヤと第1従動軸D2との間の断接状態を切り替える第4シフト機構S4を有する。
第2従動軸D3には、エンジン側から順に、第2従動軸D3と常時一体に回転する第2出力ギヤGcf2と、第2従動軸D3と相対回転可能であって第4従動ギヤGc4と常時噛み合う第5従動ギヤGc5と、第2従動軸D3と相対回転可能であって第2従動ギヤGc2と常時噛み合う第6従動ギヤGc6と、を有する。尚、第5従動ギヤGc5と第6従動ギヤGc6とは一体に連結され、第2二列間一体ギヤG22を構成する。第6従動ギヤGc6に隣接する位置には、第6従動ギヤGc6と第2従動軸D3との間の断接状態を切り替える第3シフト機構S3を有する。
モータ軸D4には、モータ軸D4と常時一体に回転すると共に第1駆動ギヤGd1と常時噛み合うモータギヤGmを有する。出力軸D5には、第1出力ギヤGcf1及び第2出力ギヤGcf2と常時噛み合うと共に出力軸D5と常時一体に回転するディファレンシャル機構4のファイナルギヤGfを有する。
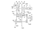
図2、実施例1のハイブリッド車両用変速機の軸方向から見た軸の配置関係を表す概略図である。モータ軸D4のモータギヤGmは、駆動軸D1の第1駆動ギヤGd1と常時噛み合う位置に配置されている。第1従動軸D2に配置された各種ギヤは、駆動軸D1,第2従動軸D3及び出力軸D5に配置された各種ギヤと常時噛み合う位置に配置されている。第2従動軸D3に配置された各種ギヤは、第2従動軸D3及び出力軸D5に配置された各種ギヤと常時噛み合う位置に配置されている。尚、各軸の位置関係は、この噛合い関係を担保する位置であれば、変速機の車両搭載条件等に基づいて適宜変更可能である。
実施例1のハイブリッド車両用変速機は、前進6速後退1速を達成すると共に、各変速段から変速する際、クラッチ2を切り離したとしても、モータ3から駆動輪5に常時トルクを伝達可能な構成とされている。以下、各変速段におけるエンジン1からのトルクフロー及びアップシフト時におけるモータ3からのトルクフローを説明する。
図4は実施例1のハイブリッド車両用変速機の1速時におけるトルクフロー及び2速へのアップシフト時におけるトルクフローを表す図である。図中の太い実線がトルク伝達に寄与するギヤを表し、ハッチングで示す矢印がトルクフローを表す。尚、図中の変速機上段や下段に記載された記号は、ギヤの配列と同じ順番で記載してある。
1速は、クラッチ2を締結し、第1シフト機構S1により駆動軸D1と第1駆動ギヤGd1との間を締結し、第4シフト機構S4により第1従動軸D2と第2従動ギヤGc2との間を締結する。第2従動ギヤGc2は第1二列間一体ギヤG21であり、第1従動軸D2と第2従動ギヤGc2との間の締結により、第1従動軸D2と第1従動ギヤGc1との間も締結される。これにより、エンジン1から出力されたトルクは、駆動軸D1→第1駆動ギヤGd1→第1従動ギヤGc1→第2従動ギヤGc2→第1従動軸D2→第1出力ギヤGcf1→ファイナルギヤGfを介して駆動輪5に伝達される。
アップシフト時は、1速の状態においてモータ3からトルクの出力を開始し、モータギヤGmと第1駆動ギヤGd1とを同期させる。モータトルクが駆動トルクとして第1従動ギヤGc1に伝達されると、駆動軸D1からのトルク伝達が不要となるため、クラッチ2を解放すると共に、第1シフト機構S1を解放することで、第1駆動ギヤGd1と駆動軸D1とを相対回転可能な状態とする。これにより、モータ3から出力されたトルクは、モータギヤGm→第1駆動ギヤGd1→第1従動ギヤGc1→第2従動ギヤGc2→第1従動軸D2→第1出力ギヤGcf1→ファイナルギヤGfを介して駆動輪5に出力される。言い換えると、モータトルクのみで走行する状態とする。以下、上記トルクフローでのモータ走行状態を、第1EVモードE1と記載する。そして、第1シフト機構S1により第2駆動ギヤGd2と駆動軸D1との間を締結し、クラッチ2を締結する。これにより、エンジン1から出力されたトルクは、駆動軸D1→第2駆動ギヤGd2→第2従動ギヤGc2→第1従動軸D2→第1出力ギヤGcf1→ファイナルギヤGfを介して駆動輪5に出力される。尚、まだモータトルクが発生している状態のときは、エンジントルクに加えてモータトルクも第1EVモードE1のトルクフローでトルクが付与される。これにより、トルク伝達が途切れることなく1速から2速へのアップシフトを達成できる。
図5は実施例1のハイブリッド車両用変速機の2速時におけるトルクフロー及び3速へのアップシフト時におけるトルクフローを表す図である。図中の太い実線がトルク伝達に寄与するギヤを表し、ハッチングで示す矢印がトルクフローを表す。
2速は、クラッチ2を締結し、第1シフト機構S1により駆動軸D1と第2駆動ギヤGd2との間を締結し、第4シフト機構S4により第1従動軸D2と第2従動ギヤGc2との間を締結する。第2従動ギヤGc2は第1二列間一体ギヤG21であり、第1従動軸D2と第2従動ギヤGc2との間の締結により、第1従動軸D2と第1従動ギヤGc1との間も締結される。これにより、エンジン1から出力されたトルクは、駆動軸D1→第2駆動ギヤGd2→第2従動ギヤGc2→第1従動軸D2→第1出力ギヤGcf1→ファイナルギヤGfを介して駆動輪5に伝達される。
アップシフト時は、2速の状態においてモータ3からトルクの出力を開始し、モータギヤGmと第1駆動ギヤGd1とを同期させる。モータトルクが駆動トルクとして第1従動ギヤGc1に伝達されると、駆動軸D1からのトルク伝達が不要となるため、クラッチ2を解放すると共に、第1シフト機構S1を解放することで、第2駆動ギヤGd2と駆動軸D1とを相対回転可能な状態とする。これにより、第1EVモードE1とする。そして、第2シフト機構S2により第4駆動ギヤGd4と駆動軸D1との間を締結し、クラッチ2を締結する。これにより、エンジン1から出力されたトルクは、駆動軸D1→第4駆動ギヤGd4→第4従動ギヤGc4→第5従動ギヤGc5→第6従動ギヤGc6→第2従動ギヤGc2→第1従動軸D2→第1出力ギヤGcf1→ファイナルギヤGfを介して駆動輪5に出力される。すなわち、第1従動軸D2上で相対回転可能な状態の第4従動ギヤGc4を介して、第2従動軸D3上の第2二列間一体ギヤG22にトルクを迂回させ、第1従動軸D2側に戻すことで、2つのギヤ列を使ったギヤ比を得る。尚、まだモータトルクが発生している状態のときは、エンジントルクに加えてモータトルクも第1EVモードE1のトルクフローでトルクが付与される。これにより、トルク伝達が途切れることなく2速から3速へのアップシフトを達成できる。
図6は実施例1のハイブリッド車両用変速機の3速時におけるトルクフロー及び4速へのアップシフト時におけるトルクフローを表す図である。図中の太い実線がトルク伝達に寄与するギヤを表し、ハッチングで示す矢印がトルクフローを表す。
3速は、クラッチ2を締結し、第2シフト機構S2により駆動軸D1と第4駆動ギヤGd4との間を締結し、第4シフト機構S4により第1従動軸D2と第2従動ギヤGc2との間を締結する。これにより、エンジン1から出力されたトルクは、駆動軸D1→第4駆動ギヤGd4→第4従動ギヤGc4→第5従動ギヤGc5→第6従動ギヤGc6→第2従動ギヤGc2→第1従動軸D2→第1出力ギヤGcf1→ファイナルギヤGfを介して駆動輪5に出力される。
アップシフト時は、3速の状態においてモータ3からトルクの出力を開始し、モータギヤGmと第1駆動ギヤGd1とを同期させる。モータトルクが駆動トルクとして第1従動ギヤGc1に伝達されると、駆動軸D1からのトルク伝達が不要となるため、クラッチ2を解放すると共に、第2シフト機構S2を解放することで、第4駆動ギヤGd4と駆動軸D1とを相対回転可能な状態とする。これにより、第1EVモードE1とする。そして、第2シフト機構S2により第3駆動ギヤGd3と駆動軸D1との間を締結し、クラッチ2を締結する。これにより、エンジン1から出力されたトルクは、駆動軸D1→第3駆動ギヤGd3→第3従動ギヤGc3→第1従動軸D2→第1出力ギヤGcf1→ファイナルギヤGfを介して駆動輪5に出力される。尚、まだモータトルクが発生している状態のときは、エンジントルクに加えてモータトルクも第1EVモードE1のトルクフローでトルクが付与される。これにより、トルク伝達が途切れることなく3速から4速へのアップシフトを達成できる。アップシフト後は、第4シフト機構S4を解放し、第2従動ギヤGc2と第1従動軸D2とを相対回転可能な状態とする。
図7は実施例1のハイブリッド車両用変速機の4速時におけるトルクフロー及び5速へのアップシフト時におけるトルクフローを表す図である。図中の太い実線がトルク伝達に寄与するギヤを表し、ハッチングで示す矢印がトルクフローを表す。
4速は、クラッチ2を締結し、第2シフト機構S2により駆動軸D1と第3駆動ギヤGd3との間を締結する。これにより、エンジン1から出力されたトルクは、駆動軸D1→第3駆動ギヤGd3→第3従動ギヤGc3→第1従動軸D2→第1出力ギヤGcf1→ファイナルギヤGfを介して駆動輪5に伝達される。
アップシフト時は、4速の状態においてモータ3からトルクの出力を開始し、モータギヤGmと第1駆動ギヤGd1とを同期させる。次に、第4シフト機構S4を締結し、第4従動ギヤGc4と第1従動軸D2との間を締結する。このとき、モータトルクは、第1従動軸D2上で相対回転可能な第1二列間一体ギヤG21を介して、第2従動軸D3上で相対回転可能な第2二列間一体ギヤG22を駆動し、第2二列間一体ギヤG22と噛合する第4従動ギヤGc4にトルクを伝達する。
これにより、モータ3から出力されたトルクは、モータギヤGm→第1駆動ギヤGd1→第1二列間一体ギヤG21の第1従動ギヤGc1→第1二列間一体ギヤG21の第2従動ギヤGc2→第2二列間一体ギヤG22の第6従動ギヤGc6→第2二列間一体ギヤG22の第5従動ギヤGc5→第4従動ギヤGc4→第1従動軸D2→第1出力ギヤGcf1→ファイナルギヤGfを介して駆動輪5に出力される。この状態でクラッチ2を解放し、モータトルクのみで走行する状態とする。以下、上記トルクフローでのモータ走行状態を、第2EVモードE2と記載する。尚、第2EVモードE2の変速比(入力回転数/出力回転数)は、第1EVモードE1の変速比に比べて低変速比であり、中高車速領域で有利な減速比となっている。
そして、第1シフト機構S1により第2駆動ギヤGd2と駆動軸D1との間を締結し、クラッチ2を締結する。これにより、エンジン1から出力されたトルクは、駆動軸D1→第2駆動ギヤGd2→第2従動ギヤGc2→第2二列間一体ギヤG22→第4従動ギヤGc4→第1従動軸D2→第1出力ギヤGcf1→ファイナルギヤGfを介して駆動輪5に出力される。尚、まだモータトルクが発生している状態のときは、エンジントルクに加えてモータトルクも第2EVモードE2のトルクフローでトルクが付与される。これにより、トルク伝達が途切れることなく4速から5速へのアップシフトを達成できる。
尚、4速からモータトルクのみで走行するEVモードへ遷移する際、第2EVモードE2への遷移に限らず、第1EVモードE1の遷移も可能である。具体的には第4シフト機構S4を作動させる際、第4従動ギヤGc4と第1従動軸D2とを締結するのに代えて、第2従動ギヤGc2と第1従動軸D2とを締結することで、第1EVモードE1に遷移できる。よって、4速の場合は、走行時の車速に加えて走行負荷等を考慮した上で遷移するモードを決定することで、運転者の加速要求や燃費性能の向上を図ることができる。
図8は実施例1のハイブリッド車両用変速機の5速時におけるトルクフロー及び6速へのアップシフト時におけるトルクフローを表す図である。図中の太い実線がトルク伝達に寄与するギヤを表し、ハッチングで示す矢印がトルクフローを表す。
5速は、クラッチ2を締結し、第1シフト機構S1により駆動軸D1と第2駆動ギヤGd2との間を締結し、第4シフト機構S4により第1従動軸D2と第4従動ギヤGc4との間を締結する。これにより、エンジン1から出力されたトルクは、駆動軸D1→第2駆動ギヤGd2→第2従動ギヤGc2→第2二列間一体ギヤG22→第4従動ギヤGc4→第1従動軸D2→第1出力ギヤGcf1→ファイナルギヤGfを介して駆動輪5に伝達される。
アップシフト時は、5速の状態においてモータ3からトルクの出力を開始し、モータギヤGmと第1駆動ギヤGd1とを同期させる。このとき、モータトルクは、第1従動軸D2上で相対回転可能な第1二列間一体ギヤG21を介して、第2従動軸D3上で相対回転可能な第2二列間一体ギヤG22を駆動し、第2二列間一体ギヤG22と噛合する第4従動ギヤGc4にトルクを伝達する。
これにより、モータ3から出力されたトルクは、モータギヤGm→第1駆動ギヤGd1→第1二列間一体ギヤG21の第1従動ギヤGc1→第1二列間一体ギヤG21の第2従動ギヤGc2→第2二列間一体ギヤG22の第6従動ギヤGc6→第2二列間一体ギヤG22の第5従動ギヤGc5→第4従動ギヤGc4→第1従動軸D2→第1出力ギヤGcf1→ファイナルギヤGfを介して駆動輪5に出力される。この状態で第1シフト機構S1を解放すると共に、クラッチ2を解放し、第2EVモードE2とする。
そして、第2シフト機構S2により第4駆動ギヤGd4と駆動軸D1との間を締結し、クラッチ2を締結する。これにより、エンジン1から出力されたトルクは、駆動軸D1→第4駆動ギヤGd4→第4従動ギヤGc4→第1従動軸D2→第1出力ギヤGcf1→ファイナルギヤGfを介して駆動輪5に出力される。尚、まだモータトルクが発生している状態のときは、エンジントルクに加えてモータトルクも第2EVモードE2のトルクフローでトルクが付与される。これにより、トルク伝達が途切れることなく5速から6速へのアップシフトを達成できる。
図9は実施例1のハイブリッド車両用変速機の6速時におけるトルクフロー及び6速からモータトルクのみで走行する第2EVモードE2への遷移時におけるトルクフローを表す。
6速は、第2シフト機構S2により第4駆動ギヤGd4と駆動軸D1との間を締結し、第4シフト機構S4により第4従動ギヤGc4と第1従動軸D2との間を締結し、クラッチ2を締結する。これにより、エンジン1から出力されたトルクは、駆動軸D1→第4駆動ギヤGd4→第4従動ギヤGc4→第1従動軸D2→第1出力ギヤGcf1→ファイナルギヤGfを介して駆動輪5に出力される。
第2EVモードE2への遷移時は、6速の状態においてモータ3からのトルクの出力を開始し、モータギヤGmと第1駆動ギヤGd1とを同期させる。このとき、モータトルクは、第1従動軸D2上で相対回転可能な第1二列間一体ギヤG21を介して、第2従動軸D3上で相対回転可能な第2二列間一体ギヤG22を駆動し、第2二列間一体ギヤG22と噛合する第4従動ギヤGc4にトルクを伝達する。
これにより、モータ3から出力されたトルクは、モータギヤGm→第1駆動ギヤGd1→第1二列間一体ギヤG21の第1従動ギヤGc1→第1二列間一体ギヤG21の第2従動ギヤGc2→第2二列間一体ギヤG22の第6従動ギヤGc6→第2二列間一体ギヤG22の第5従動ギヤGc5→第4従動ギヤGc4→第1従動軸D2→第1出力ギヤGcf1→ファイナルギヤGfを介して駆動輪5に出力される。この状態で第2シフト機構S2を解放すると共に、クラッチ2を解放し、第2EVモードE2とする。よって、トルク伝達が途切れることなく6速から第2EVモードE2に遷移できる。
図10は実施例1のハイブリッド車両用変速機の後退速時及びハイブリッド後退速時におけるトルクフローを表す。
後退速は、第1シフト機構S1により第1駆動ギヤGd1と駆動軸D1との間を締結し、第3シフト機構S3により第2二列間一体ギヤG22と第2従動軸D3との間を締結する。これにより、エンジン1から出力されたトルクは、駆動軸D1→第1駆動ギヤGd1→第1二列間一体ギヤG21→第2従動軸D3→第2出力ギヤGcf2→ファイナルギヤGfを介して駆動輪5に出力される。ハイブリッド後退速への遷移時は、後退速の状態においてモータ3からのトルクの出力を開始し、モータギヤGmから第1駆動ギヤGd1にトルクを付与することで、エンジントルクと同じトルクフローにより駆動輪5にモータトルクを出力できる。
次に、EVモードについて説明する。実施例1のハイブリッド車両用変速機は、モータトルクのみで走行可能なモードとして、第1EVモードE1と、第2EVモードE2に加え、2つのモードを有する。図11は、実施例1のハイブリッド車両用変速機のEVモードを表す図である。第3EVモードE3は、第1シフト機構S1により第1駆動ギヤGd1と駆動軸D1との間を締結し、第2シフト機構S2により第3駆動ギヤGd3と駆動軸D1との間を締結する。これにより、モータ3から出力されたトルクは、モータギヤGm→第1駆動ギヤGd1→駆動軸D1→第3駆動ギヤGd3→第3従動ギヤGc3→第1従動軸D2→第1出力ギヤGcf1→ファイナルギヤGfを介して駆動輪5に出力される。これにより、第3EVモードE3の変速比は、第2EVモードE2の変速比よりも低変速比であり、更に中高車速領域で有利な減速比が得られる。
後退EVモードERは、第3シフト機構S3により、第2二列間一体ギヤG22と第2従動軸D3との間を締結する。これにより、モータ3から出力されたトルクは、モータギヤGm→第1駆動ギヤGd1→第1二列間一体ギヤG21→第2二列間一体ギヤG22→第2従動軸D3→第2出力ギヤGcf2→ファイナルギヤGfを介して駆動輪5に出力される。
すなわち、実施例1のハイブリッド車両用変速機は、モータトルクのみを用いた前進3速後退1速の変速機として機能できる。
図3は実施例1のハイブリッド車両用変速機において適用可能なギヤ比を設定した際に得られる各変速段の段間比を表す図である。段間比とは、ある変速段と、この変速段に隣接する変速段との間のギヤ比の比率を表すものであり、例えば、1速のギヤ比をg1、2速のギヤ比をg2とすると、(g1/g2)で表される。横軸は、1速と2速の関係から順に、2速と3速、3速と4速、4速と5速、5速と6速の組み合わせを表し、縦軸は、それぞれの組み合わせにおける段間比を表す。図3に示すように、1速と2速の段間比は他の段間比に比べて大きいものの、その他の段間比はほぼ一定となっており、安定的に変速できる。また、多段化を達成しているため、レシオカバレッジ(1速/6速)も大きな値を得ることができるため、燃費性能の向上を図ることができる。
以上説明したように、実施例にあっては下記に列挙する作用効果が得られる。
(1)エンジン1からのトルクが入力される駆動軸D1に設けられた複数の駆動ギヤと、第1及び第2従動軸D2,D3(従動軸)に設けられ駆動ギヤと噛合する複数の従動ギヤと、駆動軸D1と駆動ギヤとの間及び/又は第1及び第2従動軸D2,D3と従動ギヤとの間の動力伝達の断接を切り換える複数のシフト機構S1〜S4と、を備えた車両用変速機であって、従動ギヤの同一軸上にあるギヤのうち、異なる列に配置された2つのギヤが一体に連結された第1二列間一体ギヤG21と、第1二列間一体ギヤG21と異なる軸に配置された第2二列間一体ギヤG22とを有し、第1二列間一体ギヤG21の一方のギヤと、第2二列間一体ギヤG22の一方のギヤとが常時噛合する。
よって、一方の二列間一体ギヤのうち二列間一体ギヤ同士で噛み合っていないギヤに入力されたトルクを、他方の二列間一体ギヤのうち二列間一体ギヤ同士で噛み合っていないギヤから出力することで、一対のギヤの噛合いから得られる変速比と異なる変速比を得ることができ、軸方向寸法やコストアップを招くことなく多段化できる。
(2)従動軸は、第1二列間一体ギヤG21と第1出力ギヤGcf1を有する第1従動軸D2と、第1従動軸D2と異なる軸心を有し第2出力ギヤGcf2と第2二列間一体ギヤG22を有する第2従動軸D3と、を有し、駆動ギヤ及び従動ギヤと異なる軸心に配置され、第1出力ギヤGcf1と常時噛合するとともに、第2出力ギヤGcf2と常時噛合するファイナルギヤGf(第3出力ギヤ)を有する出力軸D5を備えた。
よって、軸方向寸法やコストアップを招くことなく多段化を図ることができる。
(3)駆動軸D1及び第1及び第2従動軸D2,D3と異なる軸心に配置され、複数のギヤのいずれか一つと常時噛合するモータ3を有し、モータ3から出力されたトルクが第1及び第2二列間一体ギヤG21,G22のいずれか一方のみを介してトルク伝達する第1EVモードE1(第1モータ走行モード)と、第1及び第2二列間一体ギヤG21,G22の両方を介してトルク伝達する第2EVモードE2(第2モータ走行モード)と、を有する。
よって、異なるギヤ比のモータ走行モードを得ることができ、走行状態に応じたモードを選択することで燃費を向上できる。
尚、実施例1では、モータギヤGmを第1駆動ギヤGd1と常時噛み合う構成としたが、第1従動ギヤGc1,第2従動ギヤGc2,第2駆動ギヤGd2,第6従動ギヤGc6,第4従動ギヤGc4,第5従動ギヤGc5及び第4従動ギヤGc4のいずれのギヤに噛み合わせても、実施例1の作用効果が得られる。
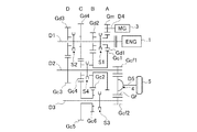
(実施例2)
次に実施例2について説明する。基本的な構成は実施例1と同じであるため、異なる点についてのみ説明する。図12は実施例2のハイブリッド車両用変速機の構成を表す概略断面図である。実施例1では、第3従動ギヤGc3を第1従動軸D2に配置した。これに対し、実施例2では、ギヤ列に変更を加えることなく、第3従動ギヤGc3を第2従動軸D3に配置し、第3駆動ギヤGd3と噛合い可能に構成されている点が異なる。尚、図12中の点線は、第3駆動ギヤGd3と第3従動ギヤGc3とが噛み合うことを示すものであり、以下の図面においても同様に使用する。このように、第3従動ギヤGc3の軸位置を変更しても、実施例1と同様の作用効果が得られる。
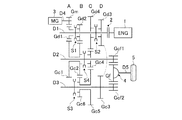
(実施例3)
次に実施例3について説明する。基本的な構成は実施例1と同じであるため、異なる点についてのみ説明する。図13は実施例3のハイブリッド車両用変速機の構成を表す概略断面図である。ここで、説明のため、実施例2を表す図12のA,B,C,Dをそれぞれギヤ列と定義する。図12中、A列は、モータギヤGm,第1駆動ギヤGd1,第1従動ギヤGc1が並ぶ列である。B列は、第2駆動ギヤGd2,第6従動ギヤGc6,第2従動ギヤGc2が並ぶ列である。C列は、第4駆動ギヤGd4,第5従動ギヤGc5,第4従動ギヤGc4が並ぶ列である。D列は、第3駆動ギヤGd3,第3従動ギヤGc3が並ぶ列である。実施例2では、エンジン側から順にエンジン側から順にD列→C列→B列→A列と並んでいた。これに対し、実施例3では、エンジン側から順にD列→C列→A列→B列と並ぶ点が異なる。この場合も実施例2と同様の作用効果が得られる。
(実施例4)
次に実施例4について説明する。基本的な構成は実施例3と同じであるため、異なる点についてのみ説明する。図14は実施例4のハイブリッド車両用変速機の構成を表す概略断面図である。実施例3では、第3従動ギヤGc3を第1従動軸D2に配置した。これに対し、実施例4では、ギヤ列に変更を加えることなく、第3従動ギヤGc3を第2従動軸D3に配置し、第3駆動ギヤGd3と噛合い可能に構成されている点が異なる。このように、第3従動ギヤGc3の軸位置を変更しても、実施例3と同様の作用効果が得られる。
(実施例5)
次に実施例5について説明する。基本的な構成は実施例3と同じであるため、異なる点についてのみ説明する。図15は実施例5のハイブリッド車両用変速機の構成を表す概略断面図である。実施例3では、エンジン側から順にD列→C列→B列→A列と並んでいた。これに対し、実施例5では、エンジン側から順にB列→A列→C列→D列と並ぶ点が異なる。この場合も実施例3と同様の作用効果が得られる。
(実施例6)
次に実施例6について説明する。基本的な構成は実施例5と同じであるため、異なる点についてのみ説明する。図16は実施例6のハイブリッド車両用変速機の構成を表す概略断面図である。実施例5では、第3従動ギヤGc3を第1従動軸D2に配置した。これに対し、実施例6では、ギヤ列に変更を加えることなく、第3従動ギヤGc3を第2従動軸D3に配置し、第3駆動ギヤGd3と噛合い可能に構成されている点が異なる。このように、第3従動ギヤGc3の軸位置を変更しても、実施例5と同様の作用効果が得られる。
(実施例7)
次に実施例7について説明する。基本的な構成は実施例5と同じであるため、異なる点についてのみ説明する。図17は実施例7のハイブリッド車両用変速機の構成を表す概略断面図である。実施例5では、エンジン側から順にB列→A列→C列→D列と並んでいた。これに対し、実施例5では、エンジン側から順にA列→B列→C列→D列と並ぶ点が異なる。この場合も実施例5と同様の作用効果が得られる。
(実施例8)
次に実施例8について説明する。基本的な構成は実施例7と同じであるため、異なる点についてのみ説明する。図18は実施例8のハイブリッド車両用変速機の構成を表す概略断面図である。実施例7では、第3従動ギヤGc3を第1従動軸D2に配置した。これに対し、実施例8では、ギヤ列に変更を加えることなく、第3従動ギヤGc3を第2従動軸D3に配置し、第3駆動ギヤGd3と噛合い可能に構成されている点が異なる。このように、第3従動ギヤGc3の軸位置を変更しても、実施例7と同様の作用効果が得られる。
(実施例9)
次に実施例9について説明する。基本的な構成は実施例1と同じであるため、異なる点についてのみ説明する。図19は実施例9のハイブリッド車両用変速機の構成を表す概略断面図である。実施例1では、上から順に駆動軸D1→第1従動軸D2→第2従動軸D3と配置した。これに対し、実施例9では、駆動軸D1→第2従動軸D3→第1従動軸D2と配置した点が異なる。すなわち、第1従動軸D2と第2従動軸D3との軸位置関係を入れ替えた点が異なる。これに伴い、ギヤ比の調整を行うため、各ギヤ比を調整した。尚、第3従動ギヤGc3は、第2従動軸D3に移動している。この場合も、実施例1と同様の作用効果が得られる。
(実施例10)
次に実施例10について説明する。基本的な構成は実施例9と同じであるため、異なる点についてのみ説明する。図20は実施例10のハイブリッド車両用変速機の構成を表す概略断面図である。実施例9では、第3従動ギヤGc3を第2従動軸D3に配置した。これに対し、実施例10では、ギヤ列に変更を加えることなく、第3従動ギヤGc3を第1従動軸D2に配置し、第3駆動ギヤGd3と噛合い可能に構成されている点が異なる。このように、第3従動ギヤGc3の軸位置を変更しても、実施例9と同様の作用効果が得られる。
(実施例11)
次に、実施例11について説明する。基本的な構成は実施例10と同じであるため、異なる点についてのみ説明する。図21は実施例11のハイブリッド車両用変速機の構成を表す概略断面図である。実施例10では、エンジン側から順にD列→C列→B列→A列と並んでいた。これに対し、実施例11では、エンジン側から順にD列→C列→A列→B列と並ぶ点が異なる。この場合も実施例10と同様の作用効果が得られる。
(実施例12)
次に実施例12について説明する。基本的な構成は実施例11と同じであるため、異なる点についてのみ説明する。図22は実施例12のハイブリッド車両用変速機の構成を表す概略断面図である。実施例11では、第3従動ギヤGc3を第1従動軸D2に配置した。これに対し、実施例12では、ギヤ列に変更を加えることなく、第3従動ギヤGc3を第2従動軸D3に配置し、第3駆動ギヤGd3と噛合い可能に構成されている点が異なる。このように、第3従動ギヤGc3の軸位置を変更しても、実施例11と同様の作用効果が得られる。
(実施例13)
次に、実施例13について説明する。基本的な構成は実施例10と同じであるため、異なる点についてのみ説明する。図23は実施例13のハイブリッド車両用変速機の構成を表す概略断面図である。実施例10では、エンジン側から順にD列→C列→B列→A列と並んでいた。これに対し、実施例13では、エンジン側から順にB列→A列→C列→D列と並ぶ点が異なる。この場合も実施例10と同様の作用効果が得られる。
(実施例14)
次に実施例14について説明する。基本的な構成は実施例13と同じであるため、異なる点についてのみ説明する。図24は実施例14のハイブリッド車両用変速機の構成を表す概略断面図である。実施例13では、第3従動ギヤGc3を第1従動軸D2に配置した。これに対し、実施例14では、ギヤ列に変更を加えることなく、第3従動ギヤGc3を第2従動軸D3に配置し、第3駆動ギヤGd3と噛合い可能に構成されている点が異なる。このように、第3従動ギヤGc3の軸位置を変更しても、実施例13と同様の作用効果が得られる。
(実施例15)
次に、実施例15について説明する。基本的な構成は実施例10と同じであるため、異なる点についてのみ説明する。図25は実施例15のハイブリッド車両用変速機の構成を表す概略断面図である。実施例10では、エンジン側から順にD列→C列→B列→A列と並んでいた。これに対し、実施例15では、エンジン側から順にA列→B列→C列→D列と並ぶ点が異なる。この場合も実施例10と同様の作用効果が得られる。
(実施例16)
次に実施例16について説明する。基本的な構成は実施例15と同じであるため、異なる点についてのみ説明する。図26は実施例16のハイブリッド車両用変速機の構成を表す概略断面図である。実施例15では、第3従動ギヤGc3を第1従動軸D2に配置した。これに対し、実施例16では、ギヤ列に変更を加えることなく、第3従動ギヤGc3を第2従動軸D3に配置し、第3駆動ギヤGd3と噛合い可能に構成されている点が異なる。このように、第3従動ギヤGc3の軸位置を変更しても、実施例15と同様の作用効果が得られる。
以上、実施例に基づいて本発明を説明したが、他の構成であっても本発明に含まれる。例えば、実施例1では、第1従動軸D2と第2従動軸D3とに二列間一体ギヤをそれぞれ配置した例を示したが、駆動軸D1と第1従動軸D2、もしくは駆動軸D1と第2従動軸D3に2列間一体ギヤをそれぞれ配置してもよい。また、実施例ではモータからトルクを出力する場合のみ示したが、走行状態に応じて適宜発電してもよい。
また、実施例1では、モータを備えたハイブリッド車両用変速機の構成を示したが、二列間一体ギヤを備えた構成であれば、エンジンのみを備えた車両用変速機として構成してもよい。

Claims (2)

  1. エンジンからのトルクが入力される駆動軸に設けられた複数の駆動ギヤと、
    従動軸に設けられ前記駆動ギヤと噛合する複数の従動ギヤと、
    前記駆動軸と前記駆動ギヤとの間及び/又は前記従動軸と前記従動ギヤとの間の動力伝達の断接を切り換える複数のシフト機構と、
    を備えた車両用変速機であって、
    前記駆動ギヤ及び/又は前記従動ギヤの同一軸上にあるギヤのうち、異なる列に配置された2つのギヤが一体に連結された第1二列間一体ギヤと、該第1二列間一体ギヤと異なる軸に配置された第2二列間一体ギヤとを有し、
    前記第1二列間一体ギヤの一方のギヤと、前記第2二列間一体ギヤの一方のギヤとが常時噛合し、
    前記従動軸は、前記第1二列間一体ギヤと第1出力ギヤを有する第1従動軸と、該第1従動軸と異なる軸心を有し第2出力ギヤと前記第2二列間一体ギヤを有する第2従動軸と、を有し、
    前記駆動ギヤ及び前記従動ギヤと異なる軸心に配置され、前記第1出力ギヤと常時噛合するとともに、前記第2出力ギヤと常時噛合する第3出力ギヤを有する出力軸を備えた、車両用変速機。
  2. 請求項1に記載の車両用変速機において、
    前記駆動軸及び前記従動軸と異なる軸心に配置され、前記複数のギヤのいずれか一つと常時噛合するモータを有し、
    前記モータから出力されたトルクが前記第1及び第2二列間一体ギヤのいずれか一方のみを介してトルク伝達する第1モータ走行モードと、前記第1及び第2二列間一体ギヤの両方を介してトルク伝達する第2モータ走行モードと、を有する、車両用変速機。
JP2018529476A 2016-07-25 2017-07-07 車両用変速機 Expired - Fee Related JP6567775B2 (ja)

Applications Claiming Priority (3)

Application Number Priority Date Filing Date Title
JP2016145064 2016-07-25
JP2016145064 2016-07-25
PCT/JP2017/024893 WO2018020982A1 (ja) 2016-07-25 2017-07-07 車両用変速機

Publications (2)

Publication Number Publication Date
JPWO2018020982A1 JPWO2018020982A1 (ja) 2019-04-04
JP6567775B2 true JP6567775B2 (ja) 2019-08-28

Family

ID=61016024

Family Applications (1)

Application Number Title Priority Date Filing Date
JP2018529476A Expired - Fee Related JP6567775B2 (ja) 2016-07-25 2017-07-07 車両用変速機

Country Status (2)

Country Link
JP (1) JP6567775B2 (ja)
WO (1) WO2018020982A1 (ja)

Family Cites Families (4)

* Cited by examiner, † Cited by third party
Publication number Priority date Publication date Assignee Title
JP3660528B2 (ja) * 1999-06-07 2005-06-15 本田技研工業株式会社 平行軸式変速機
JP4206312B2 (ja) * 2003-08-07 2009-01-07 本田技研工業株式会社 平行軸式変速機
JP4088566B2 (ja) * 2003-08-07 2008-05-21 本田技研工業株式会社 平行軸式変速機
JP2015209156A (ja) * 2014-04-28 2015-11-24 三菱自動車工業株式会社 変速装置

Also Published As

Publication number Publication date
JPWO2018020982A1 (ja) 2019-04-04
WO2018020982A1 (ja) 2018-02-01

Similar Documents

Publication Publication Date Title
US8887588B2 (en) Transmission
CN101970901B (zh) 车辆用双离合器式变速器
JP2006052832A (ja) ダブルクラッチ変速機
JP5022810B2 (ja) 6組の前進変速ギヤ対を有する変速機
JP5659553B2 (ja) ハイブリッド駆動装置
JP4855092B2 (ja) ダブルクラッチ型トランスミッション
CN107120390B (zh) 用于机动车辆的双离合变速器
JP2010203605A (ja) トランスミッション
KR101408453B1 (ko) 자동차용 다중 유압식 다판 클러치 변속기
JP2008069832A (ja) 自動車用駆動装置
JP5091514B2 (ja) 産業車両用変速機
JP2013072464A (ja) 自動変速機装置
JP2005054957A (ja) 平行軸式変速機
JP3660528B2 (ja) 平行軸式変速機
WO2018163949A1 (ja) ハイブリッド車両用トランスミッション
JP5276272B2 (ja) 産業車両用変速機
JP6078401B2 (ja) 車両の駆動装置
JP2009063139A (ja) 多段変速遊星歯車列
JP5329477B2 (ja) 変速機
JP2013160282A (ja) ツインクラッチ式変速機
JP6567775B2 (ja) 車両用変速機
WO2017110803A1 (ja) 車両用手動変速機
WO2015079838A1 (ja) 車両用手動変速機
JP4922257B2 (ja) トランスミッション
JP2014228027A (ja) 変速機

Legal Events

Date Code Title Description
A521 Request for written amendment filed

Free format text: JAPANESE INTERMEDIATE CODE: A523

Effective date: 20181109

A621 Written request for application examination

Free format text: JAPANESE INTERMEDIATE CODE: A621

Effective date: 20181109

TRDD Decision of grant or rejection written
A01 Written decision to grant a patent or to grant a registration (utility model)

Free format text: JAPANESE INTERMEDIATE CODE: A01

Effective date: 20190709

A61 First payment of annual fees (during grant procedure)

Free format text: JAPANESE INTERMEDIATE CODE: A61

Effective date: 20190731

R150 Certificate of patent or registration of utility model

Ref document number: 6567775

Country of ref document: JP

Free format text: JAPANESE INTERMEDIATE CODE: R150

LAPS Cancellation because of no payment of annual fees