JP6552100B2 - 有機エレクトロルミネッセンス装置 - Google Patents

有機エレクトロルミネッセンス装置 Download PDF

Info

Publication number
JP6552100B2
JP6552100B2 JP2015186898A JP2015186898A JP6552100B2 JP 6552100 B2 JP6552100 B2 JP 6552100B2 JP 2015186898 A JP2015186898 A JP 2015186898A JP 2015186898 A JP2015186898 A JP 2015186898A JP 6552100 B2 JP6552100 B2 JP 6552100B2
Authority
JP
Japan
Prior art keywords
light
layer
organic
electrode
wavelength
Prior art date
Legal status (The legal status is an assumption and is not a legal conclusion. Google has not performed a legal analysis and makes no representation as to the accuracy of the status listed.)
Active
Application number
JP2015186898A
Other languages
English (en)
Other versions
JP2017062902A (ja
Inventor
礼隆 遠藤
礼隆 遠藤
秀謙 尾方
秀謙 尾方
時由 梅田
時由 梅田
大江 昌人
昌人 大江
Current Assignee (The listed assignees may be inaccurate. Google has not performed a legal analysis and makes no representation or warranty as to the accuracy of the list.)
Sharp Corp
Original Assignee
Sharp Corp
Priority date (The priority date is an assumption and is not a legal conclusion. Google has not performed a legal analysis and makes no representation as to the accuracy of the date listed.)
Filing date
Publication date
Application filed by Sharp Corp filed Critical Sharp Corp
Priority to JP2015186898A priority Critical patent/JP6552100B2/ja
Publication of JP2017062902A publication Critical patent/JP2017062902A/ja
Application granted granted Critical
Publication of JP6552100B2 publication Critical patent/JP6552100B2/ja
Active legal-status Critical Current
Anticipated expiration legal-status Critical

Links

Images

Landscapes

  • Optical Filters (AREA)
  • Electroluminescent Light Sources (AREA)

Description

本発明は、有機エレクトロルミネッセンス装置に関する。
有機エレクトロルミネッセンス表示装置においては、色純度や光の取り出し効率を向上させる目的で、発光層から射出された光を一対の反射層の間で多重反射させて共振させる構造、いわゆる共振器構造が提案されている。共振器構造は、マイクロキャビティ構造と呼ばれることもある。発光層から射出された光が一対の反射層の間で共振すると、発光スペクトルが急峻になるとともに光強度が増大する、という効果が得られる。なお、エレクトロルミネッセンス(Electro-Luminescence)を以下、「EL」と略記する。
例えば下記の特許文献1には、一対の電極間に発光層を含む少なくとも1層の有機層を有する有機電界発光部と、有機電界発光部からの発光を吸収して異なる波長の光を放射する色変換層と、を基板上に備え、有機電界発光部と色変換層とが光反射層と半透過半反射層との間に挟持されたマイクロキャビティ構造内に配置された「発光素子」が開示されている。
特開2010−015785号公報
特許文献1の発光素子において、マイクロキャビティ構造が、共振波長が色変換層から放射される光のピーク波長に相当するように設計されている。したがって、例えば青色光を吸収して緑色光を発光する発光素子であれば、マイクロキャビティ構造は、緑色光を強め、青色光を強めないような光学距離を有している。特許文献1には、有機電界発光部で発光した青色光がマイクロキャビティ構造内で反射を繰り返すと記載されているが、青色光が反射を繰り返す間に減衰し、色変換層に吸収される青色光の強度が低下するため、発光効率が低い発光素子となる、という問題がある。
本発明の一つの態様は、上記の課題を解決するためになされたものであって、発光効率に優れた有機EL装置の提供を目的の一つとする。
上記の目的を達成するために、本発明の一つの態様の有機EL装置は、基材と、前記基材の第1面の側に設けられた第1電極と、前記基材の前記第1面の側に設けられた第2電極と、前記第1電極と前記第2電極との間に設けられ、前記第1電極および前記第2電極から電荷の注入により第1波長域の光を発する有機発光層を含む有機層と、前記基材の第1面の側に設けられ、前記第1波長域の光の少なくとも一部を吸収し、前記第1波長域と異なる第2波長域の光を発する波長変換層と、前記有機層および前記波長変換層と前記基材との間に設けられ、前記第1波長域の光の少なくとも一部および前記第2波長域の光の少なくとも一部を反射する第1反射層と、前記有機層および前記波長変換層の前記基材とは反対側に設けられ、前記第1波長域の光の少なくとも一部および前記第2波長域の光の一部を反射し、前記第2波長域の光の他の一部を透過する第2反射層と、を備える。前記第1反射層と前記第2反射層とによって共振器構造が構成され、前記第1反射層と前記第2反射層との間の光学距離は、前記第1波長域の光および前記第2波長域の光のいずれに対しても共振条件を満たす光学距離に略一致する。
本発明の一つの態様の有機EL装置は、前記第2反射層の前記有機層および前記波長変換層が設けられた側と反対側に、前記第1波長域の光の少なくとも一部を反射し、前記第2波長域の光の少なくとも一部を透過するバンドパスフィルターを備えていてもよい。
本発明の一つの態様の有機EL装置において、前記波長変換層は、前記第1電極と前記第2電極とで挟まれる部分の外側に設けられていてもよい。
本発明の一つの態様の有機EL装置において、前記第1電極および前記第2電極は光透過性を有していてもよい。
本発明の一つの態様の有機EL装置は、前記第1反射層と前記第1電極との間に、光透過性を有する光学距離調整層を備えていてもよい。
本発明の一つの態様の有機EL装置は、赤色光による表示を行う赤色サブ画素と、緑色光による表示を行う緑色サブ画素と、青色光による表示を行う青色サブ画素と、を含む複数の画素を備えていてもよい。
本発明の一つの態様の有機EL装置は、前記波長変換層の光射出側にカラーフィルターを備えていてもよい。
本発明の一つの態様の有機EL装置は、前記第2反射層の光射出側に光散乱層を備えていてもよい。
本発明の一つの態様によれば、優れた発光効率を有する有機EL装置を得ることができる。
第1実施形態の有機EL装置の断面図である。 第2実施形態の有機EL装置の断面図である。 第3実施形態の有機EL装置の断面図である。 第4実施形態の有機EL装置の断面図である。 第5実施形態の有機EL装置の断面図である。 第6実施形態の有機EL装置の断面図である。 第7実施形態の有機EL装置の断面図である。 第8実施形態の有機EL装置の断面図である。 第9実施形態の有機EL装置の断面図である。
[第1実施形態]
以下、本発明の第1実施形態について、図1を用いて説明する。
図1は、第1実施形態の有機EL装置の断面図である。
なお、以下の各図面においては各構成要素を見やすくするため、構成要素によって寸法の縮尺を異ならせて示すことがある。
図1に示すように、本実施形態の有機EL装置1は、第1基板2と、第1反射層3と、波長変換層4と、陽極5と、有機層6と、陰極7と、バンドパスフィルター8と、隔壁9と、第2基板10と、封止層11と、を備える。波長変換層4は、緑色波長変換層4Gと、赤色波長変換層4Rと、を含む。陽極5と有機層6と陰極7とは、所定の色光、例えば青色光を発光する発光部12を構成する。本実施形態の第1基板2は、特許請求の範囲の基材に対応する。個々の構成要件の詳細な構成については、後述する。
本実施形態の有機EL装置1は、表示装置として用いることを想定している。そのため、有機EL装置1は、マトリクス状に配列された複数の画素PXを有する。画素PXは、赤色の表示を行う赤色サブ画素13Rと、緑色の表示を行う緑色サブ画素13Gと、青色の表示を行う青色サブ画素13Bと、から構成されている。図1では、複数の画素のうち、赤色サブ画素13Rと緑色サブ画素13Gと青色サブ画素13Bとからなる一つの画素PXのみを代表して図示している。
ただし、有機EL装置1の用途は必ずしも表示装置に限ることはなく、例えば照明装置等の用途で用いられてもよい。また、有機EL装置1は、必ずしも複数の異なる色の光を射出するものでなくてもよく、単色の光を射出するものであってもよい。
第1基板2には、例えば、ガラス、石英等からなる無機材料基板、ポリエチレンテレフタレート、ポリカルバゾール、ポリイミド等を含むプラスティック基板、アルミナ等を含むセラミックス基板等の絶縁性基板、もしくは、アルミニウム(Al)、鉄(Fe)等を含む金属基板、または、基板上に酸化シリコン(SiO)、有機絶縁材料等を含む絶縁物を表面にコーティングした基板、Al等を含む金属基板の表面を陽極酸化等の方法で絶縁化処理を施した基板等を用いることができる。なお、本実施形態で使用できる第1基板2は、これらの基板に限定されるものではない。
例えば第1基板2の材料をガラスとした場合、高温プロセスによっても変形が起こらず、水分を透過させないため、有機層6の劣化が抑えられる点で好適である。第2基板10についても、第1基板2と同様の基板を用いることができる。ただし、第1基板2は光透過性を有していなくてもよいが、第2基板10は表示装置の観察者に向けて光を透過させなければならないため、光透過性を有する基板でなければならない。
図1では図示を省略したが、第1基板2の第2基板10と対向する側の面(図1における第1基板2の上側の面)に、TFT回路が設けられている。TFT回路は、発光部12のスイッチング用素子および駆動用素子として機能する。TFT回路の具体的な構成としては、公知のTFT回路を用いることができる。以下の説明においては、第1基板2の第2基板10と対向する側の面を、第1基板2の第1面2aと称する。
第1反射層3は、第1基板2の第1面2a(有機層6および波長変換層4と第1基板2との間)に設けられている。第1反射層3は、発光部12から発せられて第1基板2に向けて進む光を第2基板10側に向けて反射する。第1反射層3は、後述する陰極7とは異なり、光透過性を有する必要はない。そのため、第1反射層3には、光反射率が高い材料が好適に用いられる。本実施形態では、第1反射層3の材料として、例えば光を透過させないだけの膜厚を有するAl膜が用いられる。第1反射層3は、青色波長域の光の少なくとも一部、緑色波長域の光の少なくとも一部、および赤色波長域の光の少なくとも一部を反射する特性を有する必要がある。
本実施形態の青色波長域は、特許請求の範囲の第1波長域に対応する。本実施形態の緑色波長域および赤色波長域は、特許請求の範囲の第2波長域に対応する。
発光部12は、陽極5と、陰極7と、陽極5と陰極7との間に挟持された有機層6と、を備える。有機層6は、例えば正孔注入層15、正孔輸送層16、発光体層17、電子輸送層18、電子注入層19の5つの層が陽極5側から陰極7側に向けて順に積層された構成を有する。陽極5は、第1基板2の第1面2aの側に設けられている。陰極7は、第1基板2の第1面2aの側であって、有機層6および波長変換層4の第1基板2とは反対側に設けられている。発光部12は、波長変換層4に含有される蛍光体材料の励起光となる青色光を射出する。
本実施形態の陽極5は、特許請求の範囲の第1電極に相当する。本実施形態の陰極7は、特許請求の範囲の第2電極および第2反射層に相当する。すなわち、本実施形態の陰極7は、第2電極と第2反射層とを兼ねている。ただし、陰極7は、必ずしも第2電極と第2反射層とを兼ねていなくてもよい。発光部12は、陰極7とは別に第2反射層を備えていてもよい。一方、本実施形態の陽極5は、第1電極と第1反射層とを兼ねていないが、第1電極と第1反射層とを兼ねていてもよい。
有機層6は、本実施形態の構成に限定されず、少なくとも発光体層17を含んでいればよい。すなわち、有機層6は、発光体層17の単層構造であってもよいし、発光体層17と正孔輸送層16もしくは電子輸送層18等を含む多層構造であってもよい。有機層6は、例えば下記の9種類のうちのいずれかの構成を有することができるが、本発明の有機EL装置はこれらにより限定されるものではない。
(1)発光体層
(2)発光体層/正孔輸送層
(3)電子輸送層/発光体層
(4)電子輸送層/発光体層/正孔輸送層
(5)電子輸送層/発光体層/正孔輸送層/正孔注入層
(6)電子注入層/電子輸送層/発光体層/正孔輸送層/正孔注入層
(7)電子輸送層/正孔防止層/発光体層/正孔輸送層/正孔注入層
(8)電子注入層/電子輸送層/正孔防止層/発光体層/正孔輸送層/正孔注入層
(9)電子注入層/電子輸送層/正孔防止層/発光体層/電子防止層/正孔輸送層/正孔注入層
ここで、発光体層、正孔注入層、正孔輸送層、正孔防止層、電子防止層、電子輸送層および電子注入層の各層は、単層構造でも多層構造でもよい。
発光体層17は、以下に例示する有機発光材料のみから構成されていてもよく、発光性のドーパントおよびホスト材料の組み合わせから構成されていてもよく、任意に正孔輸送材料、電子輸送材料、添加剤(ドナー、アクセプター等)等を含んでいてもよく、これらの材料が高分子材料(結着用樹脂)または無機材料中に分散された構成であってもよい。発光効率および発光寿命の観点からは、ホスト材料中に発光性のドーパントが分散されたものが好ましい。
有機発光材料としては、有機EL用の公知の発光材料を挙げることができる。この種の発光材料は、低分子発光材料、高分子発光材料等に分類され、これらの具体的な化合物を以下に例示するが、本発明はこれらの材料に限定されるものではない。有機発光材料として、蛍光材料、燐光材料等に分類されるものを用いることができる。低消費電力化の観点で、発光効率の高い燐光材料を用いてもよい。
具体的な化合物を以下に例示するが、本発明はこれらの化合物に限定されるものではない。
低分子有機発光材料としては、例えば、4,4’−ビス(2,2’−ジフェニルビニル)−ビフェニル(DPVBi)等の芳香族ジメチリデン化合物、5−メチル−2−[2−[4−(5−メチル−2−ベンゾオキサゾリル)フェニル]ビニル]ベンゾオキサゾール等のオキサジアゾール化合物、3−(4−ビフェニルイル)−4−フェニル−5−t−ブチルフェニル−1,2,4−トリアゾール(TAZ)等のトリアゾール誘導体、1,4−ビス(2−メチルスチリル)ベンゼン等のスチリルベンゼン化合物、フルオレノン誘導体等の蛍光性有機材料等が挙げられる。
高分子発光材料としては、例えば、ポリ(2−デシルオキシ−1,4−フェニレン)(DO−PPP)、等のポリフェニレンビニレン誘導体、ポリ(9,9−ジオクチルフルオレン)(PDAF)等のポリスピロ誘導体が挙げられる。
発光体層21に任意に含まれる発光性のドーパントとしては、有機EL素子用の公知のドーパント材料を挙げることができる。このようなドーパント材料として、例えば、スチリル誘導体等の蛍光発光材料、ビス[(4,6−ジフルオロフェニル)−ピリジナト−N,C2’]ピコリネートイリジウム(III)(FIrpic)、ビス(4’,6‘−ジフルオロフェニルポリジナト)テトラキス(1−ピラゾイル)ボレートイリジウム(III)(FIr6)等の燐光発光有機金属錯体等が挙げられる。
ドーパントを使用する際のホスト材料としては、有機EL素子用の公知のホスト材料を挙げることができる。このようなホスト材料としては、上述した低分子発光材料、高分子発光材料、4,4’−ビス(カルバゾール)ビフェニル、9,9−ジ(4−ジカルバゾール−ベンジル)フルオレン(CPF)、3,6−ビス(トリフェニルシリル)カルバゾール(mCP)、(PCF)等のカルバゾール誘導体、4−(ジフェニルフォスフォイル)−N,N−ジフェニルアニリン(HM−A1)等のアニリン誘導体、1,3−ビス(9−フェニル−9H−フルオレン−9−イル)ベンゼン(mDPFB)、1,4−ビス(9−フェニル−9H−フルオレン−9−イル)ベンゼン(pDPFB)等のフルオレン誘導体等が挙げられる。
電荷は、正孔と電子とを含む。陽極5から発光体層17への正孔の注入および輸送をより効率良く行なう目的で、正孔注入層15および正孔輸送層16が用いられる。陰極7から発光体層17への電子の注入および輸送をより効率良く行なう目的で、電子注入層19および電子輸送層18が用いられる。これらの層は、以下に例示する電荷注入・輸送材料のみから構成されていてもよく、任意に添加剤(ドナー、アクセプター等)等を含んでいてもよく、これらの材料が高分子材料(結着用樹脂)または無機材料中に分散された構成であってもよい。
電荷注入・輸送材料としては、有機EL素子用、有機光導電体用の公知のものを使用することができる。このような電荷注入輸送材料は、正孔注入・輸送材料および電子注入・輸送材料に分類され、これらの具体的な化合物を以下に例示するが、本発明はこれらの材料に限定されるものではない。
正孔注入層15および正孔輸送層16の材料としては、例えば、酸化バナジウム(V)、酸化モリブデン(MoO)等の酸化物、無機p型半導体材料、ポルフィリン化合物、N,N’−ビス(3−メチルフェニル)−N,N’−ビス(フェニル)−ベンジジン(TPD)、N,N’−ジ(ナフタレン−1−イル)−N,N’−ジフェニル−ベンジジン(NPD)等の芳香族第三級アミン化合物、ヒドラゾン化合物、キナクリドン化合物、スチリルアミン化合物等の低分子材料、ポリアニリン(PANI)、ポリアニリン−樟脳スルホン酸(PANI−CSA)、3,4−ポリエチレンジオキシチオフェン/ポリスチレンサルフォネイト(PEDOT/PSS)、ポリ(トリフェニルアミン)誘導体(Poly−TPD)、ポリビニルカルバゾール(PVCz)、ポリ(p−フェニレンビニレン)(PPV)、ポリ(p−ナフタレンビニレン)(PNV)等の高分子材料等が挙げられる。
陽極5からの正孔の注入および輸送をより効率良く行なうという観点から、正孔注入層15の材料として、正孔輸送層16の材料との最高被占分子軌道(HOMO)のエネルギー障壁が小さい材料を用いることが好ましい。
正孔の注入性および輸送性をより向上させるため、材料にアクセプターをドープすることが好ましい。アクセプターとしては、有機EL素子用の公知のアクセプター材料を使用することができる。これらの具体的な化合物を以下に例示するが、本発明はこれらの材料に限定されるものではない。
アクセプター材料としては、Au、Pt、W,Ir、POCl3、AsF、Cl、Br、I、酸化バナジウム(V)、酸化モリブデン(MoO)等の無機材料、TCNQ(7,7,8,8,−テトラシアノキノジメタン)、TCNQF(テトラフルオロテトラシアノキノジメタン)、TCNE(テトラシアノエチレン)、HCNB(ヘキサシアノブタジエン)、DDQ(ジシクロジシアノベンゾキノン)等のシアノ基を有する化合物、TNF(トリニトロフルオレノン)、DNF(ジニトロフルオレノン)等のニトロ基を有する化合物、フルオラニル、クロラニル、ブロマニル等の有機材料が挙げられる。このうち、TCNQ、TCNQF、TCNE、HCNB、DDQ等のシアノ基を有する化合物は、キャリア濃度を効果的に増加させることができるため、より好ましい。
電子注入層19および電子輸送層18の材料としては、例えば、n型半導体である無機材料、オキサジアゾール誘導体、トリアゾール誘導体、チオピラジンジオキシド誘導体、ベンゾキノン誘導体、ナフトキノン誘導体、アントラキノン誘導体、ジフェノキノン誘導体、フルオレノン誘導体、ベンゾジフラン誘導体等の低分子材料;ポリ(オキサジアゾール)(Poly−OXZ)、ポリスチレン誘導体(PSS)等の高分子材料等が使用される。特に電子注入層19の材料には、フッ化リチウム(LiF)、フッ化バリウム(BaF)等のフッ化物、酸化リチウム(LiO)等の酸化物等が挙げられる。
陰極7からの電子の注入・輸送をより効率良く行なうという観点から、電子注入層19の材料としては、電子輸送層18の材料との最低空分子軌道(LUMO)のエネルギー障壁が小さい材料を用いることが望ましい。
電子の注入効率および電子の輸送性をより向上させるため、電子注入層19および電子輸送層18の材料に、ドナーをドープすることが好ましい。ドナーとしては、有機EL素子用の公知のドナー材料を使用することができる。これらの具体的な化合物を以下に例示するが、本発明はこれらの材料に限定されるものではない。
ドナー材料としては、アルカリ金属、アルカリ土類金属、希土類元素、Al、Ag、Cu、In等の無機材料、アニリン類、フェニレンジアミン類、ベンジジン類(N,N,N’,N’−テトラフェニルベンジジン、N,N’−ビス−(3−メチルフェニル)−N,N’−ビス−(フェニル)−ベンジジン、N,N’−ジ(ナフタレン−1−イル)−N,N’−ジフェニル−ベンジジン等)、トリフェニルアミン類(トリフェニルアミン、4,4’,4”−トリス(N,N−ジフェニル−アミノ)−トリフェニルアミン、4,4’,4”−トリス(N−3−メチルフェニル−N−フェニル−アミノ)−トリフェニルアミン、4,4’,4”−トリス(N−(1−ナフチル)−N−フェニル−アミノ)−トリフェニルアミン等)、トリフェニルジアミン類(N,N’−ジ−(4−メチル−フェニル)−N,N’−ジフェニル−1,4−フェニレンジアミン)等の芳香族3級アミンを骨格にもつ化合物、フェナントレン、ピレン、ペリレン、アントラセン、テトラセン、ペンタセン等の縮合多環化合物(ただし、縮合多環化合物は置換基を有してもよい)、TTF(テトラチアフルバレン)類、ジベンゾフラン、フェノチアジン、カルバゾール等の有機材料がある。このうち、芳香族3級アミンを骨格にもつ化合物、縮合多環化合物、アルカリ金属は、キャリア濃度を効果的に増加させることができるため、より好ましい。
正孔注入層15、正孔輸送層16、発光体層17、電子輸送層18および電子注入層19等を含む有機層6は、上述したこれらの層の材料を溶剤に溶解、分散させた発光層形成用塗液を用いて形成できる。このとき、スピンコーティング法、ディッピング法、ドクターブレード法、吐出コート法、スプレーコート法等の塗布法、インクジェット法、凸版印刷法、凹版印刷法、スクリーン印刷法、マイクログラビアコート法等の印刷法等による公知のウエットプロセス、上記の材料を抵抗加熱蒸着法、電子線(EB)蒸着法、分子線エピタキシー(MBE)法、スパッタリング法、有機気相蒸着(OVPD)法等の公知のドライプロセス、または、レーザー転写法等が用いられる。ウエットプロセスにより有機層6を形成する場合、発光層形成用塗液は、レベリング剤、粘度調整剤等の塗液の物性を調整するための添加剤を含んでいてもよい。
陽極5および陰極7を形成する電極材料としては、公知の電極材料を使用することができる。陽極5を形成する電極材料としては、有機層6への正孔の注入をより効率良く行なえる観点から、仕事関数が4.5eV以上の金(Au)、白金(Pt)、ニッケル(Ni)等の金属、および、インジウム(In)および錫(Sn)を含む酸化物(ITO)、錫(Sn)の酸化物(SnO)、インジウム(In)および亜鉛(Zn)を含む酸化物(IZO)等が透明電極材料として挙げられる。陰極7を形成する電極材料としては、有機層6への電子の注入をより効率良く行なえる観点から、仕事関数が4.5eV以下のリチウム(Li)、カルシウム(Ca)、セリウム(Ce)、バリウム(Ba)、アルミニウム(Al)等の金属、または、これらの金属を含有するMg:Ag合金、Li:Al合金等の合金が挙げられる。
陽極5および陰極7のうち、光を取り出す側に位置する電極は、発光体層17から発せられる光の少なくとも一部を透過させるものでなければならない。本実施形態では、発光体層17から発せられた光を第2基板10側、すなわち陰極7側から取り出す。本実施形態の陰極7は、青色波長域の光の少なくとも一部、緑色波長域の光の少なくとも一部、および赤色波長域の光の少なくとも一部を反射し、緑色波長域の光の他の一部、および赤色波長域の光の他の一部を透過する特性を有する。本実施形態では、陰極7の材料として、例えば所望の光透過率を確保できるだけの膜厚を有するMg:Ag合金膜が用いられる。
陽極5は、陰極7とは異なり、反射層を兼ねていない。そのため、陽極7は、光反射性を有する必要はなく、光透過率が高い材料が好適に用いられる。本実施形態では、陽極5の材料として、例えばIZO膜が用いられる。なお、陽極5−陰極7間の各層の積層順を本実施形態とは逆にして、陽極5側から光を取り出し、陰極7側で光を反射させる構成を採用してもよい。
本実施形態の有機EL装置1において、緑色サブ画素13Gに緑色波長変換層4Gが設けられ、赤色サブ画素13Rには赤色波長変換層4Rが設けられている。青色サブ画素13Gには波長変換層が設けられていない。発光部12から射出された青色光は、これら波長変換層4G,4Rに入射し、蛍光体材料の励起光として機能する。緑色サブ画素13Gの緑色波長変換層4Gに入射した青色光は、緑色光に波長変換されて射出される。赤色サブ画素13Rの赤色波長変換層4Rに入射した青色光は、赤色光に波長変換されて射出される。青色サブ画素13Bに入射した青色光は、波長変換されることなく射出される。
緑色波長変換層4Gは、第1反射層3と陽極5との間に設けられている。赤色波長変換層4Rは、第1反射層3と陽極5との間に設けられている。すなわち、緑色波長変換層4Gおよび赤色波長変換層4Rは、陽極5と陰極7とで挟まれる発光部12の外側に設けられている。
緑色波長変換層4Gおよび赤色波長変換層4Rは、以下に例示する蛍光体材料のみから構成されていてもよく、添加剤等を含んでいてもよく、これらの材料が高分子材料(結着用樹脂)または無機材料中に分散された構成であってもよい。本実施形態の緑色波長変換層4Gおよび赤色波長変換層4Rは、例えば透明樹脂中に複数の蛍光体粒子21G,21Rが分散された構成を有する。蛍光体粒子21G,21Rは、青色光の照射により緑色もしくは赤色の蛍光を生じる蛍光体材料で構成されている。透明樹脂には、例えばPMMA(ポリメチルメタクリレート)、PVA(ポリビニルアルコール)等の材料が用いられる。
緑色波長変換層4Gに含まれる蛍光体粒子21Gには、公知の蛍光体材料を使用することができる。このような蛍光体材料は、有機系蛍光体材料と無機系蛍光体材料に分類され、これらの具体的な化合物を以下に例示するが、本発明はこれらの材料に限定されるものではない。
有機系蛍光体材料の場合、青色光を緑色光に変換する蛍光色素として、クマリン系色素:2,3,5,6−1H、4H−テトラヒドロ−8−トリフロメチルキノリジン(9,9a、1−gh)クマリン(クマリン153)、3−(2′−ベンゾチアゾリル)―7−ジエチルアミノクマリン(クマリン6)、3−(2′−ベンゾイミダゾリル)―7−N,N−ジエチルアミノクマリン(クマリン7)、ナフタルイミド系色素:ベーシックイエロー51、ソルベントイエロー11、ソルベントイエロー116等が挙げられる。
無機系蛍光体材料の場合、青色光を緑色光に変換する蛍光材料として、(BaMg)Al1627:Eu2+,Mn2+、SrAl1425:Eu2+、(SrBa)Al12Si:Eu2+、(BaMg)SiO:Eu2+、YSiO:Ce3+,Tb3+、Sr−Sr:Eu2+、(BaCaMg)(PO)3Cl:Eu2+、SrSi−2SrCl:Eu2+、ZrSiO、MgAl1119:Ce3+,Tb3+、BaSiO:Eu2+、SrSiO:Eu2+、(BaSr)SiO:Eu2+等が挙げられる。
赤色波長変換層4Rに含まれる蛍光体粒子21Rには、公知の蛍光体材料を使用することができる。このような蛍光体材料は、有機系蛍光体材料と無機系蛍光体材料に分類され、これらの具体的な化合物を以下に例示するが、本発明はこれらの材料に限定されるものではない。
有機系蛍光体材料としては、青色光を赤色光に変換する蛍光色素として、シアニン系色素:4−ジシアノメチレン−2−メチル−6−(p−ジメチルアミノスチルリル)−4H−ピラン、ピリジン系色素:1−エチル−2−[4−(p−ジメチルアミノフェニル)−1,3−ブタジエニル]−ピリジニウム−パークロレート、およびローダミン系色素:ローダミンB、ローダミン6G、ローダミン3B、ローダミン101、ローダミン110、ベーシックバイオレット11、スルホローダミン101等が挙げられる。
無機系蛍光体材料としては、青色光を赤色光に変換する蛍光体として、YS:Eu3+、YAlO:Eu3+、Ca(SiO)6:Eu3+、LiY(SiO:Eu3+、YVO:Eu3+、CaS:Eu3+、Gd:Eu3+、GdS:Eu3+、Y(P,V)O:Eu3+、MgGeOF:Mn4+、MgGeO:Mn4+、KEu2.5(WO6.25、NaEu2.5(WO6.25、KEu2.5(MoO6.25、NaEu2.5(MoO6.25等が挙げられる。
緑色波長変換層4Gおよび赤色波長変換層4Rは、上記の蛍光体材料と樹脂材料とを溶剤に溶解、分散させた蛍光体層形成用塗液を用いて形成される。このとき、スピンコーティング法、ディッピング法、ドクターブレード法、吐出コート法、スプレーコート法等の塗布法、インクジェット法、凸版印刷法、凹版印刷法、スクリーン印刷法、マイクログラビアコート法等の印刷法等による公知のウエットプロセス、抵抗加熱蒸着法、電子線(EB)蒸着法、分子線エピタキシー(MBE)法、スパッタリング法、有機気相蒸着(OVPD)法等の公知のドライプロセス、または、レーザー転写法等が用いられる。
緑色サブ画素13Gにおいて、陰極7の有機層6とは反対側(陰極7の上方)にバンドパスフィルター8が設けられている。赤色サブ画素13Rにおいて、陰極7の有機層6とは反対側(陰極7の上方)にバンドパスフィルター8が設けられている。青色サブ画素13Gにはバンドパスフィルターが設けられていない。これらのバンドパスフィルター8は、例えば屈折率が異なる誘電体膜が交互に多数積層された誘電体多層膜により構成されている。
緑色サブ画素13Gのバンドパスフィルター8は、青色光を反射し、緑色光を透過する特性を有する。緑色サブ画素13Gのバンドパスフィルター8は、必ずしも青色光の全てを反射し、緑色光の全てを透過しなくてもよく、青色光の少なくとも一部を反射し、緑色光の少なくとも一部を透過すればよい。赤色サブ画素13Rのバンドパスフィルター8は、青色光を反射し、赤色光を透過する特性を有する。赤色サブ画素13Gのバンドパスフィルター8は、必ずしも青色光の全てを反射し、赤色光の全てを透過しなくてもよく、青色光の少なくとも一部を反射し、赤色光の少なくとも一部を透過すればよい。
第2基板10は、封止基板として機能する。第2基板10は、例えばガラス、石英等からなる無機材料基板、ポリエチレンテレフタレート、ポリカルバゾール、ポリイミド等を含むプラスティック基板等の光透過率が高い材料からなる基板が好適に用いられる。ただし、本実施形態で用いられる第2基板10は、これらの基板に限定されるものではない。
第2基板10と陰極7もしくはバンドパスフィルター8との間に、封止層11が設けられている。封止層11は、各サブ画素13B,13G,13Rの構成部材を封止し、水分等の浸入を防止する。封止層11は、任意の絶縁材料を用いて形成することができる。絶縁材料は、有機材料、無機材料のいずれであってもよい。
隔壁9は、隣り合うサブ画素間を区画するように、第2基板10側から見て格子状に設けられている。隔壁9の断面形状は、図1に示すように、第1基板2の側から第2基板10の側に向けて同一の幅を有していてもよいし、幅が変化していてもよい。すなわち、隔壁9の断面形状は、テーパ状であってもよい。隔壁9の材料には、光透過性材料もしくは遮光性材料が用いられてもよいし、光反射性材料が用いられてもよい。
蛍光は、蛍光体粒子21G,21Rを中心として等方的に発せられる。ここで、テーパ状の隔壁9に光反射性材料を用いた場合、蛍光体粒子21G,21Rから発せられた蛍光のうち、隔壁9に向かって進む光が隔壁9の側面で反射して方向を変え、第2基板10に向けて進む。これにより、蛍光の取り出し効率を高めることができる。この観点から、隔壁9の断面形状を第2基板の10側で狭く、第1基板2の側で広いテーパ状とし、隔壁9の材料に光反射性材料が用いられることが好ましい。その場合であっても、必ずしも隔壁9の全体が光反射性材料で構成されていなくてもよく、少なくとも隔壁9の側面が光反射性材料で構成されていればよい。
本実施形態の有機EL装置1は、マイクロキャビティ効果を発現する共振器構造を有する。マイクロキャビティ効果を発現するためには、例えば一対の反射層間に存在する層全体の厚さを、増強させたい光の波長に応じて設定する。共振器構造として、第2反射層として機能する陰極7と第1反射層3との間に、青色サブ画素13Bにおいては陽極5および有機層6が設けられ、緑色サブ画素13Gにおいては緑色波長変換層4G、陽極5および有機層6が設けられ、赤色サブ画素13Rにおいては赤色波長変換層4R、陽極5および有機層6が設けられている。これら陰極7と第1反射層3との間に存在する複数の膜の合計膜厚を、増強させたい光の波長に応じて設定する。これにより、発光体層17および波長変換層4から発せられた光が第1反射層3と陰極7との間で多重反射を繰り返し、共振することによって、所望の波長の光が増強される。
以下、本実施形態の有機EL装置1における共振器構造の光学距離について説明する。
特許文献1に記載の発光素子では、マイクロキャビティ構造が、波長変換層から射出された光を強め、励起光を強めないような光学距離を有していた。そのため、励起光が一対の反射層間で反射を繰り返す間に減衰し、波長変換層に吸収される励起光の強度が低下する、という問題があった。そこで、本実施形態の有機EL装置1では、マイクロキャビティ構造が、波長変換層4から射出された光を強めると同時に、発光部12から射出された励起光をも強めるような光学距離に設定されている点が、特許文献1の発光素子と異なる。これにより、励起光の強度が高い状態で波長変換層4に吸収されるため、発光効率に優れた有機EL装置を実現することができる。
具体的には、一対の反射層間の光学距離(本実施形態では第1反射層3と陰極7との間の光学距離)をLとする。有機EL装置1からの出力光を視認する際の視線の角度(画面の法線に対する角度)をθとする。共振波長をλとする。干渉の次数をm(m=1,2,3,…)とする。各反射層で光が反射する際の位相シフトの和をΦ(rad)とする。ここで、一対の反射層間の光学距離Lは、一対の反射層間に存在する層全体の光学膜厚である。言い換えると、一対の反射層間の光学距離Lは、一対の反射層間に存在する複数の層の屈折率と膜厚との積の総和である。例えば一対の反射層間に存在する層が3層であり、第1層の屈折率がn1、第1層の膜厚がd1、第2層の屈折率がn2、第2層の膜厚がd2、第3層の屈折率がn3、第3層の膜厚がd3であったとすると、光学距離Lは、L=n1×d1+n2×d2+n3×d3、と表される。角度θについては、有機EL装置1の正面方向を角度θ=0°とする。
このとき、下記の(1)式で示される共振条件が満たされれば、共振波長λの光が共振し、増幅される。2つの発光ピーク波長、例えば波長λ1および波長λ2の双方に対して共振条件を満たすためには、波長λ1、波長λ2のいずれを代入しても(1)式が成立するように、一対の反射層間の光学距離Lを設定すればよい。
Figure 0006552100
緑色サブ画素13Gにおいて、第1反射層3と陰極7との間の光学距離Lは、2つの異なる波長λ1,λ2の光である青色光と緑色光のいずれに対しても共振条件を満たす光学距離に略一致している。青色光の共振波長λ1を例えば442nmとし、緑色光の共振波長λ2を例えば510nmとしたとき、青色光と緑色光のいずれに対しても共振条件を満たす光学距離Lは、(1)式から、例えば1657.5nmとなる。
赤色サブ画素13Rにおいて、第1反射層3と陰極7との間の光学距離Lは、2つの異なる波長λ1,λ2の光である青色光と赤色光のいずれに対しても共振条件を満たす光学距離に略一致している。青色光の共振波長λ1を例えば442nmとし、赤色光の共振波長λ2を例えば598nmとしたとき、青色光と赤色光のいずれに対しても共振条件を満たす光学距離Lは、(1)式から、例えば2541.5nmとなる。
青色サブ画素13Bにおいて、第1反射層3と陰極7との間の光学距離Lは、青色光のみに対して共振条件を満たす光学距離に略一致している。青色光の共振波長λ1を例えば442nmとしたとき、青色光に対して共振条件を満たす光学距離Lは、(1)式から、例えば552.5nmとなる。
第1反射層3と陰極7との間に存在する各層の膜厚および光学膜厚(nd:屈折率と膜厚との積)を[表1]に示す。[表1]では、第1反射層3と陰極7との間の電子注入層を除く有機層6の部分はまとめて示した。
Figure 0006552100
(1)式中の位相シフトをΦ=2πとすると、緑色サブ画素13Gについては、[表1]に示すように、波長λ1=442nmにおいて、角度θ=0°、次数m=15、光学距離L=1657.5nmのとき、(1)式は成立する。また、波長λ2=510nmにおいて、角度θ=0°、次数m=13、光学距離L=1657.5nmのとき、(1)式は成立する。
赤色サブ画素13Rについては、[表1]に示すように、波長λ1=442nmにおいて、角度θ=0°、次数m=23、光学距離L=2541.5nmのとき、(1)式は成立する。また、波長λ2=598nmにおいて、角度θ=0°、次数m=17、光学距離L=2541.5nmのとき、(1)式は成立する。
青色サブ画素13Bについては、[表1]に示すように、波長λ=442nmにおいて、角度θ=0°、次数m=5、光学距離L=552.5nmのとき、(1)式は成立する。
陽極5から陰極7までの各層の構成材料および膜厚は、全てのサブ画素にわたって共通としている。そのため、本実施形態の場合、異なる色のサブ画素毎に最適な光学距離Lを異ならせるために、波長変換層4の膜厚を異ならせている。具体的には、緑色サブ画素13Gにおいては、緑色波長変換層4Gの膜厚を650nm(光学膜厚:nd=1105nm)としている。これに対して、赤色サブ画素13Rについては、赤色波長変換層4Rの膜厚を1170nm(光学膜厚:nd=1989nm)としている。
従来の波長変換方式の有機EL装置には、励起光を発光する有機EL発光部と波長変換層とが別々の基板に設けられた構成の有機EL装置が存在していた。この種の有機EL装置では、有機EL発光部から波長変換層までの距離が長くなり、有機EL発光部から射出される励起光のロスが多くなる。また、励起光のロスを補うために波長変換層を厚くする必要がある、という問題があった。
これに対して、本実施形態の有機EL装置1においては、発光部12が設けられた第1基板2上に波長変換層4が設けられ、発光部12と波長変換層4とが隣り合っているため、励起光のロスを十分に小さくすることができる。また、励起光のロスが少ないため、波長変換層4の膜厚が薄くて済む、という効果が得られる。
また、本実施形態の有機EL装置1においては、緑色サブ画素13Gもしくは赤色サブ画素13Rにおける第1反射層3−陰極7間の光学距離Lが、励起光である青色光と波長変換層4から射出される波長変換光の双方に対して共振条件を満たす光学距離に略一致している。そのため、発光部12から射出された青色光がマイクロキャビティ構造内で共振し、増強されて波長変換層4の蛍光体材料に吸収され、さらに波長変換層4からの波長変換光がマイクロキャビティ構造内で共振し、増強される。
マイクロキャビティ構造の光射出側には、各サブ画素に対応したバンドパスフィルター8が設けられているため、青色光はバンドパスフィルター8で反射され、マイクロキャビティ構造内に閉じ込められる。そのため、増強された青色光は、視認側に射出されることがなく、波長変換層4の励起光として十分に機能を果たす。一方、波長変換光はバンドパスフィルター8を透過し、増強された波長変換光は、視認側に射出される。このように、本実施形態によれば、発光効率に優れた有機EL装置1を実現することができる。
[第2実施形態]
以下、本発明の第2実施形態について、図2を用いて説明する。
図2は、第2実施形態の有機EL装置の断面図である。
第2実施形態の有機EL装置の基本構成は第1実施形態と同様であり、光散乱層を備えた点が第1実施形態と異なる。
図2において、第1実施形態で用いた図1と共通の構成要素には同一の符号を付し、詳細な説明は省略する。
図2に示すように、第2実施形態の有機EL装置31は、各サブ画素13B,13G,13Rにおける発光部12の光射出側に光散乱層32を備えている。すなわち、青色サブ画素13Bにおいて、光散乱層32は、陰極7の光射出側(図2における上方)に陰極7と接するように積層されている。緑色サブ画素13Gにおいて、光散乱層32は、バンドパスフィルター8の光射出側(図2における上方)にバンドパスフィルター8と接するように積層されている。赤色サブ画素13Rにおいて、光散乱層32は、バンドパスフィルター8の光射出側にバンドパスフィルター8と接するように積層されている。光散乱層32には、例えば基材の内部に基材の屈折率とは異なる屈折率の微粒子を分散させた部材、あるいは表面に微細な凹凸が設けられた部材、などが用いられる。
青色サブ画素13Bにおいて、光散乱層32は、発光部12から射出された青色光を透過しつつ散乱させる。緑色サブ画素13Gおよび赤色サブ画素13Rにおいて、光散乱層32は、バンドパスフィルター8から射出された波長変換光を透過しつつ散乱させる。
その他の構成は、第1実施形態の有機EL装置と同様である。
第2実施形態においても、発光効率に優れた有機EL装置を実現できる、といった第1実施形態と同様の効果が得られる。特に、第2実施形態の有機EL装置31は光散乱層32を備えたことにより、広い視野角にわたって明るい表示が可能な有機EL装置を実現できる。
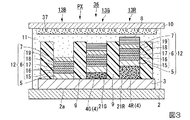
[第3実施形態]
以下、本発明の第3実施形態について、図3を用いて説明する。
図3は、第3実施形態の有機EL装置の断面図である。
第3実施形態の有機EL装置の基本構成は第1実施形態と同様であり、光散乱層を備えた点が第1実施形態と異なる。
図3において、第1実施形態で用いた図1と共通の構成要素には同一の符号を付し、詳細な説明は省略する。
第2実施形態の有機EL装置は、各サブ画素における発光部上に光散乱層が積層されていた。これに対し、図3に示すように、第3実施形態の有機EL装置36において、光散乱層37は、第2基板10の第1基板2との対向面に、第2基板10の略全域にわたって設けられている。光散乱層37の構成は、第2実施形態の有機EL装置と同様である。その他の構成は、第1実施形態の有機EL装置と同様である。
第3実施形態においても、発光効率に優れた有機EL装置を実現できる、といった第1実施形態と同様の効果が得られる。また、広い視野角にわたって明るい表示が可能な有機EL装置を実現できる、といった第2実施形態と同様の効果が得られる。さらに第3実施形態の場合、第2基板10の略全面に光散乱層37が形成されるため、有機EL装置の製造プロセスが簡単になる。
[第4実施形態]
以下、本発明の第4実施形態について、図4を用いて説明する。
図4は、第4実施形態の有機EL装置の断面図である。
第4実施形態の有機EL装置の基本構成は第1実施形態と同様であり、第2基板にカラーフィルターが付加された点が第1実施形態と異なる。
図4において、第1実施形態で用いた図1と共通の構成要素には同一の符号を付し、詳細な説明は省略する。
図4に示すように、第4実施形態の有機EL装置41においては、第2基板10の第1基板2に対向する側の面に、カラーフィルター42が設けられている。青色サブ画素13B、緑色サブ画素13Gおよび赤色サブ画素13Rに対応して、青色カラーフィルター42B、緑色カラーフィルター42Gおよび赤色カラーフィルター42Rがそれぞれ設けられている。また、第2基板10の第1基板2に対向する側の面には、各色のカラーフィルター42B,42G,42Rを区画する隔壁43が設けられている。
第4実施形態においても、発光効率に優れた有機EL装置を実現できる、といった第1実施形態と同様の効果が得られる。さらに第4実施形態の場合、青色サブ画素13Bにおいて、陰極7から射出された青色光は、青色カラーフィルター42Bを透過して視認側に射出される。緑色サブ画素13Gにおいて、バンドパスフィルター8から射出された緑色光は、緑色カラーフィルター42Gを透過して視認側に射出される。同様に、赤色サブ画素13Rにおいて、バンドパスフィルター8から射出された赤色光は、赤色カラーフィルター42Rを透過して視認側に射出される。このようにして、各サブ画素13B,13G,13Rから射出される光の色純度を高めることができる。
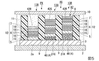
[第5実施形態]
以下、本発明の第5実施形態について、図5を用いて説明する。
図5は、第5実施形態の有機EL装置の断面図である。
第5実施形態の有機EL装置の基本構成は第1実施形態と同様であり、カラーフィルターを備えた点が第1実施形態と異なる。
図5において、第1実施形態で用いた図1と共通の構成要素には同一の符号を付し、詳細な説明は省略する。
第4実施形態の有機EL装置は、第2基板の一面にカラーフィルターが設けられていた。これに対し、図5に示すように、第5実施形態の有機EL装置46は、各サブ画素13B,13G,13Rにおける発光部12の光射出側に、カラーフィルター42を備えている。すなわち、青色カラーフィルター42Bは、青色サブ画素13Bの陰極7の光射出側(図5における上方)に、陰極7と接するように積層されている。緑色カラーフィルター42Gは、緑色サブ画素13Gのバンドパスフィルター8の光射出側(図5における上方)に、バンドパスフィルター8と接するように積層されている。赤色カラーフィルター42Rは、赤色サブ画素13Rのバンドパスフィルター8の光射出側に、バンドパスフィルター8と接するように積層されている。その他の構成は、第1実施形態の有機EL装置と同様である。
第5実施形態においても、発光効率に優れた有機EL装置を実現できる、といった第1実施形態と同様の効果が得られる。さらに、第4実施形態と同様、射出される光の色純度を高めることができる。
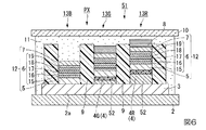
[第6実施形態]
以下、本発明の第6実施形態について、図6を用いて説明する。
図6は、第6実施形態の有機EL装置の断面図である。
第6実施形態の有機EL装置の基本構成は第1実施形態と同様であり、光学距離調整層を付加した点が第1実施形態と異なる。
図6において、第1実施形態で用いた図1と共通の構成要素には同一の符号を付し、詳細な説明は省略する。
図6に示すように、第6実施形態の有機EL装置51において、光学距離調整層52は、青色サブ画素13Bには設けられておらず、緑色サブ画素13Gと赤色サブ画素13Rとに設けられている。このように、光学距離調整層52は、必ずしも全てのサブ画素に設けられている必要はなく、一部のサブ画素には設けられていなくてもよい。
緑色サブ画素13Gおよび赤色サブ画素13Rにおいて、光学距離調整層52は、第1反射層3と陽極5との間に設けられている。具体的には、緑色サブ画素13Gの光学距離調整層52は、第1反射層3と緑色波長変換層4Gとの間に設けられている。赤色サブ画素13Rの光学距離調整層52は、第1反射層3と赤色波長変換層4Rとの間に設けられている。緑色サブ画素13Gの光学距離調整層52と赤色サブ画素13Rの光学距離調整層52とは、膜厚が互いに異なる。
光学距離調整層52は、第1反射層3と陰極7との間の光学距離を調整するために用いられる。例えば光学距離調整層52がなかったとしても、第1反射層3と陰極7との間に存在する他の層の膜厚を調整することにより、第1反射層3と陰極7との間の光学距離を調整することができる。例えば第1実施形態のように、波長変換層4の膜厚をサブ画素毎に調整することにより、第1反射層3と陰極7との間の光学距離を調整してもよい。しかしながら、光学距離調整層52以外の層は、要求される特性上の制約、もしくは製造プロセス上の制約等があり、膜厚を自由に調整するのが難しい場合がある。そのため、第6実施形態の有機EL装置51は、光学距離調整層52を備えている。
光学距離調整層52は、発光体層17から発せられた光を第1反射層3に向けて透過させ、第1反射層3で反射した光を発光体層17に向けて再度透過させる。そのため、光学距離調整層52には、光透過率が高く、膜厚が自由に調整しやすい材料が好適に用いられる。第6実施形態では、光学距離調整層52の材料として、例えば無機物(SiO、SiON、SiN等)や有機物(ポリカーボネート、ポリアクリレート、シリコーン樹脂等)の絶縁膜や透明導電性材料等のいずれを用いてもよい。
光学距離調整層52に用いられる無機絶縁材料としては、従来知られている種々の金属酸化物、金属窒化物、金属フッ化物などを用いることができる。
金属酸化物の具体例としては、MgO、SiO、SiO、Al、GeO、NiO、CaO、BaO、Fe、Y、TiO等が挙げられ、金属窒化物の具体例としては、AlN、SiN、SiN等が挙げられ、金属フッ化物の具体例としては、MgF、LiF、AlF、CaF等が挙げられる。また、これらの混合物であってもよい。
光学距離調整層52として有機化合物を用いてもよく、例えば被膜形成性ポリマーが好ましく用いられる。被膜形成性ポリマーとしては、ポリカーボネート、ポリアクリレート、シリコーン樹脂、ポリビニルブチラール等が挙げられる。光学距離調整層52として透明導電性材料を用いてもよく、透明電極を使用してもよい。例えば、インジウム(In)および錫(Sn)を含む酸化物(ITO)、錫(Sn)の酸化物(SnO)、インジウム(In)および亜鉛(Zn)を含む酸化物(IZO)等が透明電極材料として挙げられる。
光学距離調整層52の形成方法については、特に限定はなく、例えば真空蒸着法、スパッタリング法、反応性スパッタリング法、MBE(分子線エピタキシー)法、クラスターイオンビーム法、イオンプレーティング法、プラズマ重合法(高周波励起イオンプレーティング法)、プラズマCVD法、レーザーCVD法、熱CVD法、ガスソースCVD法、コーティング法、印刷法、または転写法を適用できる。
緑色サブ画素13Gにおいて、第1反射層3と陰極7との間の光学距離Lは、青色光と緑色光のいずれに対しても共振条件を満たす光学距離に略一致している。青色光の共振波長λ1を例えば442nmとし、緑色光の共振波長λ2を例えば510nmとしたとき、青色光と緑色光のいずれに対しても共振条件を満たす光学距離Lは、例えば1657.5nmである。
赤色サブ画素13Rにおいて、第1反射層3と陰極7との間の光学距離Lは、青色光と赤色光のいずれに対しても共振条件を満たす光学距離に略一致している。青色光の共振波長λ1を例えば442nmとし、赤色光の共振波長λ2を例えば598nmとしたとき、青色光と赤色光のいずれに対しても共振条件を満たす光学距離Lは、例えば2541.5nmである。
青色サブ画素13Bにおいて、第1反射層3と陰極7との間の光学距離Lは、青色光のみに対して共振条件を満たす光学距離に略一致している。青色光の共振波長λ1を例えば442nmとしたとき、青色光に対して共振条件を満たす光学距離Lは、例えば552.5nmである。
第1反射層3と陰極7との間に存在する各層の膜厚および光学膜厚(nd:屈折率と膜厚との積)を[表2]に示す。[表2]では、第1反射層3と陰極7との間の電子注入層を除く有機層6の部分はまとめて示した。
Figure 0006552100
(1)式の中の位相シフトをΦ=2πとすると、緑色サブ画素13Gについては、[表2]に示すように、波長λ1=442nmにおいて、角度θ=0°、次数m=15、光学距離L=1657.5nmのとき、(1)式は成立する。また、波長λ2=510nmにおいて、角度θ=0°、次数m=13、光学距離L=1657.5nmのとき、(1)式は成立する。
赤色サブ画素13Rについては、[表2]に示すように、波長λ1=442nmにおいて、角度θ=0°、次数m=23、光学距離L=2541.5nmのとき、(1)式は成立する。また、波長λ2=598nmにおいて、角度θ=0°、次数m=17、光学距離L=2541.5nmのとき、(1)式は成立する。
青色サブ画素13Bについては、[表2]に示すように、波長λ=442nmにおいて、角度θ=0°、次数m=5、光学距離L=552.5nmのとき、(1)式は成立する。
陽極5から陰極7までの各層の構成材料および膜厚は、全てのサブ画素13B,13G,13Rにわたって共通としている。また、第1実施形態では波長変換層4の膜厚を異ならせたが、第6実施形態では波長変換層4の膜厚を全てのサブ画素13B,13G,13Rにわたって共通にし、光学距離調整層52の膜厚をサブ画素13B,13G,13R毎に異ならせている。
具体的には、緑色波長変換層4Gの膜厚および赤色波長変換層4Rの膜厚をともに201nm(光学膜厚:nd=341.7nm)とし、緑色サブ画素13Gにおいては、光学距離調整層52の膜厚を350nm(光学膜厚:nd=1105nm)とし、赤色サブ画素13Rにおいては、光学距離調整層52の膜厚を756nm(光学膜厚:nd=1648nm)としている。
第6実施形態においても、発光効率に優れた有機EL装置を実現できる、といった第1実施形態と同様の効果が得られる。さらに、波長変換層4の膜厚をサブ画素に依らずに共通にしたことにより、波長変換層4の形成工程の簡略化を図ることができる。
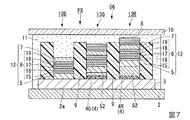
[第7実施形態]
以下、本発明の第7実施形態について、図7を用いて説明する。
図7は、第7実施形態の有機EL装置の断面図である。
第7実施形態の有機EL装置の基本構成は第1実施形態と同様であり、光学距離調整層を付加した点が第1実施形態と異なる。
図7において、第1実施形態で用いた図1と共通の構成要素には同一の符号を付し、詳細な説明は省略する。
第6実施形態の有機EL装置では、緑色サブ画素の光学距離調整層は第1反射層と緑色波長変換層との間に設けられ、赤色サブ画素の光学距離調整層は第1反射層と赤色波長変換層との間に設けられていた。これに対して、図7に示すように、第7実施形態の有機EL装置56においては、緑色サブ画素13Gの光学距離調整層52は、緑色波長変換層4Gと陽極5との間に設けられている。赤色サブ画素13Rの光学距離調整層52は、赤色波長変換層4Rと陽極5との間に設けられている。その他の構成は、第6実施形態の有機EL装置と同様である。
第7実施形態においても、発光効率に優れた有機EL装置を実現できる、といった第1実施形態と同様の効果が得られる。また、波長変換層4の形成工程の簡略化を図ることができる、といった第6実施形態と同様の効果が得られる。
[第8実施形態]
以下、本発明の第8実施形態について、図8を用いて説明する。
図8は、第8実施形態の有機EL装置の断面図である。
第8実施形態の有機EL装置の基本構成は第1実施形態と同様であり、波長変換層の位置が第1実施形態と異なる。
図8において、第1実施形態で用いた図1と共通の構成要素には同一の符号を付し、詳細な説明は省略する。
第1〜第7実施形態の有機EL装置において、波長変換層は、第1反射層と陽極との間に設けられていた。すなわち、波長変換層は、発光部の外側に設けられていた。これに対し、図8に示すように、第8実施形態の有機EL装置61において、波長変換層62は、正孔輸送性を有する材料で構成されている。波長変換層62は、緑色波長変換層62Gと、赤色波長変換層62Rと、を含む。波長変換層62は、陽極5と発光体層17との間に設けられている。すなわち、波長変換層62は、発光部12の内部(陽極5と陰極7との間)に設けられている。正孔輸送層16および正孔注入層15は、設けられていない。
その他の構成は、第1実施形態の有機EL装置と同様である。
波長変換層が正孔輸送性もしくは電子輸送性を有していない場合、波長変換層が発光部の内部に設けられていると、陽極と陰極との間の距離が大きくなるため、発光部の駆動電力が増大する、という問題が生じる。しかしながら、第8実施形態の場合、波長変換層62が正孔輸送性を有しているため、波長変換層62が正孔輸送層としての機能を果たすことができる。そのため、波長変換層62が発光部12の内部に設けられていても、特に駆動電力が増大する等の問題がなく、発光効率の向上を図ることができる。また、従来の正孔輸送層が不要となることで、有機EL装置の構造および製造プロセスの簡略化が図れる。
[第9実施形態]
以下、本発明の第9実施形態について、図9を用いて説明する。
図9は、第9実施形態の有機EL装置の断面図である。
第9実施形態の有機EL装置の基本構成は第1実施形態と同様であり、波長変換層の位置が第1実施形態と異なる。
図9において、第1実施形態で用いた図1と共通の構成要素には同一の符号を付し、詳細な説明は省略する。
図9に示すように、第9実施形態の有機EL装置66において、波長変換層67は、電子輸送性を有する材料で構成されている。波長変換層67は、緑色波長変換層67Gと、赤色波長変換層67Rと、を含む。波長変換層67は、発光体層17と陰極7との間に設けられている。すなわち、波長変換層67は、発光部12の内部(陽極5と陰極7との間)に設けられている。また、電子輸送層18および電子注入層19は設けられていない。
その他の構成は、第1実施形態の有機EL装置と同様である。
第9実施形態の場合、波長変換層67が電子輸送性を有しているため、波長変換層67が電子輸送層としての機能を果たすことができる。そのため、波長変換層67が発光部12の内部に設けられていても、特に駆動電力が増大する等の問題がなく、発光効率の向上を図ることができる。また、従来の電子輸送層が不要となることで、有機EL装置の構造および製造プロセスの簡略化が図れる。
なお、本発明の技術範囲は上記実施形態に限定されるものではなく、本発明の趣旨を逸脱しない範囲において種々の変更を加えることが可能である。
有機EL装置の各種構成要素の数、配置、形状、寸法、構成材料等の具体例については、上記実施形態に限らず、適宜変更が可能である。
本発明の有機EL装置は、各種の表示装置もしくは照明装置等に利用が可能である。
1,31,36,41,46,51,56,61,66…有機EL装置、2…第1基板(基材)、3…第1反射層、4,62,67…波長変換層、4G,62G,67G…緑色波長変換層、4R,62R,67R…赤色波長変換層、5…陽極(第1電極)、6…有機層、7…陰極(第2電極、第2反射層)、8…バンドパスフィルター、13B…青色サブ画素、13G…緑色サブ画素、13R…赤色サブ画素、32,37…光散乱層、42…カラーフィルター、42B…青色カラーフィルター、42G…緑色カラーフィルター、42R…赤色カラーフィルター、52…光学距離調整層。

Claims (8)

  1. 基材と、
    前記基材の第1面の側に設けられた第1電極と、
    前記基材の前記第1面の側に設けられた第2電極と、
    前記第1電極と前記第2電極との間に設けられ、前記第1電極および前記第2電極から電荷の注入により第1波長域の光を発する有機発光層を含む有機層と、
    前記基材の第1面の側に設けられ、前記第1波長域の光の少なくとも一部を吸収し、前記第1波長域と異なる第2波長域の光を発する波長変換層と、
    前記有機層および前記波長変換層と前記基材との間に設けられ、前記第1電極よりも前記基材側に設けられ、前記第1波長域の光の少なくとも一部および前記第2波長域の光の少なくとも一部を反射する第1反射層と、を備え、
    前記第2電極は、前記第1波長域の光の少なくとも一部および前記第2波長域の光の一部を反射し、前記第2波長域の光の他の一部を透過する第2反射層として機能し、
    前記第1反射層と前記第2反射層とによって共振器構造が構成され、
    前記第1反射層と前記第2反射層との間の光学距離は、前記第1波長域の光および前記第2波長域の光のいずれに対しても共振条件を満たす光学距離に略一致する、有機エレクトロルミネッセンス装置。
  2. 前記第2反射層の前記有機層および前記波長変換層が設けられた側と反対側に、前記第1波長域の光の少なくとも一部を反射し、前記第2波長域の光の少なくとも一部を透過するバンドパスフィルターを備えた、請求項1に記載の有機エレクトロルミネッセンス装置。
  3. 前記波長変換層は、前記第1電極と前記第2電極とで挟まれる部分の外側に設けられた、請求項1に記載の有機エレクトロルミネッセンス装置。
  4. 前記第1電極および前記第2電極は光透過性を有する、請求項1に記載の有機エレクトロルミネッセンス装置。
  5. 前記第1反射層と前記第1電極との間に、光透過性を有する光学距離調整層を備えた、請求項1に記載の有機エレクトロルミネッセンス装置。
  6. 赤色光による表示を行う赤色サブ画素と、緑色光による表示を行う緑色サブ画素と、青色光による表示を行う青色サブ画素と、を含む複数の画素を備えた、請求項1に記載の有機エレクトロルミネッセンス装置。
  7. 前記波長変換層の光射出側に設けられ、前記波長変換層に対して、前記基材が設けられる側とは反対側に設けられるカラーフィルターを備えた、請求項6に記載の有機エレクトロルミネッセンス装置。
  8. 前記第2反射層の光射出側に設けられ、前記第2電極に対して、前記基材が設けられる側とは反対側に設けられる光散乱層を備えた、請求項1に記載の有機エレクトロルミネッセンス装置。
JP2015186898A 2015-09-24 2015-09-24 有機エレクトロルミネッセンス装置 Active JP6552100B2 (ja)

Priority Applications (1)

Application Number Priority Date Filing Date Title
JP2015186898A JP6552100B2 (ja) 2015-09-24 2015-09-24 有機エレクトロルミネッセンス装置

Applications Claiming Priority (1)

Application Number Priority Date Filing Date Title
JP2015186898A JP6552100B2 (ja) 2015-09-24 2015-09-24 有機エレクトロルミネッセンス装置

Publications (2)

Publication Number Publication Date
JP2017062902A JP2017062902A (ja) 2017-03-30
JP6552100B2 true JP6552100B2 (ja) 2019-07-31

Family

ID=58429043

Family Applications (1)

Application Number Title Priority Date Filing Date
JP2015186898A Active JP6552100B2 (ja) 2015-09-24 2015-09-24 有機エレクトロルミネッセンス装置

Country Status (1)

Country Link
JP (1) JP6552100B2 (ja)

Families Citing this family (6)

* Cited by examiner, † Cited by third party
Publication number Priority date Publication date Assignee Title
JP2019102153A (ja) 2017-11-29 2019-06-24 株式会社ジャパンディスプレイ 発光素子、および表示装置
DE112019001693T5 (de) * 2018-03-30 2020-12-10 Sony Semiconductor Solutions Corporation Displayeinrichtung, verfahren zum herstellen einer displayeinrichtung und elektronikvorrichtung
CN112219452A (zh) * 2018-06-06 2021-01-12 株式会社半导体能源研究所 发光装置、显示装置及电子设备
AU2020233571B2 (en) * 2019-03-04 2025-05-22 Immunolight, Llc Energy augmentation structures for use with energy emitters and collectors
KR102785403B1 (ko) 2020-03-03 2025-03-21 삼성전자주식회사 발광 소자 및 이를 포함하는 디스플레이 장치
US20240357906A1 (en) * 2021-10-13 2024-10-24 Sharp Kabushiki Kaisha Light-emitting element and light-emitting device

Family Cites Families (3)

* Cited by examiner, † Cited by third party
Publication number Priority date Publication date Assignee Title
JP2008226718A (ja) * 2007-03-14 2008-09-25 Fuji Electric Holdings Co Ltd 有機el素子
JP2010015785A (ja) * 2008-07-02 2010-01-21 Fujifilm Corp 発光素子、多色表示装置及び発光素子の製造方法
JP2014165062A (ja) * 2013-02-26 2014-09-08 Sharp Corp 蛍光体基板および表示装置

Also Published As

Publication number Publication date
JP2017062902A (ja) 2017-03-30

Similar Documents

Publication Publication Date Title
US9182631B2 (en) Phosphor substrate, display device, and electronic apparatus
JP4654207B2 (ja) 表示装置
JP5538519B2 (ja) 発光素子、ディスプレイ及び表示装置
CN102835190B (zh) 荧光体基板及其制造方法和显示装置
US20150042933A1 (en) Fluorescent substrate and display device provided with same
JP6552100B2 (ja) 有機エレクトロルミネッセンス装置
JP2017037121A (ja) 色変換基板および表示装置
JP2015064391A (ja) 蛍光体基板、表示装置および電子機器
WO2011125363A1 (ja) 有機el素子、有機elディスプレイおよび有機el表示装置
WO2012108384A1 (ja) 蛍光体基板、およびこれを用いた表示装置、照明装置
WO2012090786A1 (ja) 発光デバイス、表示装置、及び照明装置
JP2016218151A (ja) 波長変換基板、発光装置並びにこれを備えた表示装置、照明装置および電子機器
KR20090092698A (ko) 미소공진기 색변환 el소자 및 이것을 이용한 유기 el디스플레이
US8823030B2 (en) Light-emitting device and lighting device
WO2013038971A1 (ja) 発光デバイス、表示装置、及び照明装置
WO2015174464A1 (ja) 有機エレクトロルミネッセンス表示装置
WO2012081568A1 (ja) 蛍光体基板、表示装置および照明装置
JP2017004639A (ja) 有機エレクトロルミネッセンス装置
JP2016143658A (ja) 発光素子および表示装置
WO2012043611A1 (ja) 有機el表示装置、及びその製造方法
WO2011102024A1 (ja) 表示装置
JP2013191464A (ja) 有機エレクトロルミネッセンス素子及びその製造方法、液晶表示装置。
WO2012081536A1 (ja) 発光デバイス、表示装置、電子機器及び照明装置
WO2013094645A1 (ja) 光学基板およびその製造方法、発光素子、液晶素子、表示装置、液晶装置および照明装置
WO2012043172A1 (ja) 蛍光体基板、およびこれを用いた表示装置、照明装置

Legal Events

Date Code Title Description
A621 Written request for application examination

Free format text: JAPANESE INTERMEDIATE CODE: A621

Effective date: 20180323

A977 Report on retrieval

Free format text: JAPANESE INTERMEDIATE CODE: A971007

Effective date: 20190109

A131 Notification of reasons for refusal

Free format text: JAPANESE INTERMEDIATE CODE: A131

Effective date: 20190115

A521 Request for written amendment filed

Free format text: JAPANESE INTERMEDIATE CODE: A523

Effective date: 20190206

TRDD Decision of grant or rejection written
A01 Written decision to grant a patent or to grant a registration (utility model)

Free format text: JAPANESE INTERMEDIATE CODE: A01

Effective date: 20190604

A61 First payment of annual fees (during grant procedure)

Free format text: JAPANESE INTERMEDIATE CODE: A61

Effective date: 20190701

R150 Certificate of patent or registration of utility model

Ref document number: 6552100

Country of ref document: JP

Free format text: JAPANESE INTERMEDIATE CODE: R150