JP6532769B2 - 工作機械及び工具の振れ修正方法 - Google Patents

工作機械及び工具の振れ修正方法 Download PDF

Info

Publication number
JP6532769B2
JP6532769B2 JP2015124945A JP2015124945A JP6532769B2 JP 6532769 B2 JP6532769 B2 JP 6532769B2 JP 2015124945 A JP2015124945 A JP 2015124945A JP 2015124945 A JP2015124945 A JP 2015124945A JP 6532769 B2 JP6532769 B2 JP 6532769B2
Authority
JP
Japan
Prior art keywords
tool
phase
spindle
shake
tool holder
Prior art date
Legal status (The legal status is an assumption and is not a legal conclusion. Google has not performed a legal analysis and makes no representation as to the accuracy of the status listed.)
Active
Application number
JP2015124945A
Other languages
English (en)
Other versions
JP2017007030A (ja
Inventor
康雅 守分
康雅 守分
聡 廣田
聡 廣田
Current Assignee (The listed assignees may be inaccurate. Google has not performed a legal analysis and makes no representation or warranty as to the accuracy of the list.)
Yasda Precision Tools KK
Original Assignee
Yasda Precision Tools KK
Priority date (The priority date is an assumption and is not a legal conclusion. Google has not performed a legal analysis and makes no representation as to the accuracy of the date listed.)
Filing date
Publication date
Application filed by Yasda Precision Tools KK filed Critical Yasda Precision Tools KK
Priority to JP2015124945A priority Critical patent/JP6532769B2/ja
Publication of JP2017007030A publication Critical patent/JP2017007030A/ja
Application granted granted Critical
Publication of JP6532769B2 publication Critical patent/JP6532769B2/ja
Active legal-status Critical Current
Anticipated expiration legal-status Critical

Links

Images

Landscapes

  • Automatic Tool Replacement In Machine Tools (AREA)
  • Machine Tool Sensing Apparatuses (AREA)
  • Automatic Control Of Machine Tools (AREA)

Description

本発明は、工具を装着した工具ホルダを主軸に自動着脱する着脱機構を備えた工作機械に関し、特に、主軸の回転軸に対する工具の振れを自動的に修正することができる工作機械及び工具の振れ修正方法に関する。
従来、工作機械の主軸に取り付けた工具の交換を行う自動工具交換装置において、主軸に取り付けた工具の芯振れを検出するための検出手段として、接触式の電気マイクロメータなどを備えたものが知られている(例えば、特許文献1参照)。特許文献1に記載の工作機械は、主軸に取り付けた工具の芯振れを検出し、工具が精度よく主軸に取り付けられていないと判断された場合には工具の再取り付けが行われ、工具が精度よく主軸に取り付けられていると判断された場合には加工を行う。
近年、マシニングセンタなどの工作機械では、工具の長寿命化や加工面精度の更なる向上が要求されている。しかし、一般的なマシニングセンタとして普及している工具を装着した工具ホルダを主軸に自動着脱する着脱機構を備えた工作機械では、工具を工具ホルダに装着する際に生じるズレ及び工具ホルダを主軸に装着する際に生じるズレが重畳されて工具の芯振れが大きくなることがある。
この工作機械で高度な面精度を要求される加工を行う場合には、工具ホルダに工具を装着した後、主軸に該工具ホルダを取り付け、工具の芯振れを検出するための検出手段を用いて工具の芯振れを確認している。検出した工具の芯振れが目標値より大きい場合には、a)工具を工具ホルダから取り外して工具の取り付け位相を変更するか、b)工具ホルダを主軸から取り外して工具ホルダの取り付け位相を変更し、再度工具の芯振れを確認している。検出した工具の芯振れが目標値に収まるまでこの手順を繰り返し、工具の芯振れが目標値に収まった状態で加工を行っている。
特開平1−222846号公報
特許文献1に記載の工作機械は、主軸に取り付けた工具の芯振れを検出し、この芯振れが一定の範囲を超えた場合に、工具が精度よく主軸に取り付けられていない状態であると判断し、精度が悪い状態での加工を行わないようにすることはできる。しかし、特許文献1に記載の工作機械は、自動工具交換装置による主軸への工具の装着不良を検出し、工具の再取り付けによって装着不良を解消するものに過ぎないので、工具の芯振れを更に小さくすることができるように、高精度に工具を主軸に装着することはできないという課題があった。
また、工具の芯振れを検出し、検出した工具の芯振れが目標値より大きい場合に、a)工具を工具ホルダから取り外して工具の取り付け位相を変更するか、b)工具ホルダを主軸から取り外して工具ホルダの取り付け位相を変更し、検出した工具の芯振れが目標値に収まるまでこの手順を繰り返すことによって工具の芯振れを更に小さくすることはできるが、工具の取り付けに多大な労力を要するという問題があった。また、この手法では、検出した工具の芯振れが目標値に収まるまで必要な手順を繰り返すだけなので、目標値を高く設定すると工具の取り付けに要する労力が大きくなり、目標値を低く設定すると工具の取り付け精度が低下するという問題があった。
そこで、本発明は、工具を装着した工具ホルダを主軸に自動着脱する着脱機構を備えた工作機械において、主軸の回転軸に対する工具の振れを自動的に修正して工具の高精度な取り付けを可能にする工作機械及び工具の振れ修正方法を提供するものである。
本発明は、上記課題を解決するために、工具を装着した工具ホルダを主軸に自動着脱する着脱機構を備えた工作機械であって、前記主軸の回転時に、前記主軸の回転軸に対する前記主軸、前記工具ホルダ及び前記工具で構成される回転系の振れを測定する振れセンサと、前記工具ホルダを前記主軸に対して異なる位相で装着する位相制御機構と、を有し、前記位相制御機構が、二以上の異なる位相において測定した前記回転系の振れを比較し、該振れが最小となる位相で前記工具ホルダを前記主軸に装着する振れ修正機構を備えた工作機械を提供するものである。
また、本発明の工作機械は、前記振れ修正機構が、前記主軸に対する前記工具ホルダの位相を変えて前記回転系の振れを測定する回数で360°を等分した所定角度ずつ前記工具ホルダの位相を変えて前記回転系の振れを測定するものである。
また、本発明の工作機械は、前記振れセンサが、前記工具の振れを測定する光学センサ又は/及び前記主軸の振動を測定する振動センサを含むものである。
また、本発明の工作機械は、前記光学センサで測定した前記工具の振れが最小となる位相と前記振動センサで測定した前記主軸の振動が最小となる位相が異なる場合に、前記振れ修正機構は、前記工具の振れ及び前記主軸の振動の双方が許容範囲内であるか否かを判断し、一の位相のみが該条件を満たすときには該位相を前記回転系の振れ及び振動が最小となる位相であると判断し、何れの位相も該条件を満たす又は何れの位相も該条件を満たさないときには前記工具の振れが最小となる位相を前記回転系の振れ及び振動が最小となる位相であると判断することを特徴とする。
また、本発明の工作機械は、前記振れ修正機構が、測定した前記回転系の振れに基づいて前記主軸の回転軸に対する前記工具ホルダ及び前記工具の偏芯方向を割り出し、前記回転系の振れが最小となる位相を予測する手段を備えたものである。
また、本発明の工作機械は、前記回転系の振れが前記工具の振れであることを特徴とする。
また、本発明の工作機械は、前記振れ修正機構が、二以上の異なる位相において測定した前記回転系の振れを比較して該振れが最小となる位相を判断又は予測する第一の測定手段と、前記第一の測定手段で前記振れが最小であると判断又は予測した位相を含む所定角度の範囲を前記第一の測定手段より細かい位相差で二以上の異なる位相において前記回転系の振れを測定し、該振れを比較して該振れが最小となる位相で前記工具ホルダを前記主軸に装着する第二の測定手段と、を備えたものである。
また、本発明は、上記の工作機械を用いた工具の振れ又は/及び前記主軸の振動の修正方法であって、前記工具ホルダを前記主軸に対して二以上の異なる位相で装着し、それぞれの位相において前記回転系の振れを測定する振れ測定工程と、それぞれの位相において測定した前記回転系の振れを比較する振れ比較工程と、前記回転系の振れが最小となる位相で前記工具ホルダを前記主軸に装着する振れ修正工程と、を有する振れ修正方法を提供するものである。
また、本発明の振れ修正方法は、前記振れ比較工程が、それぞれの位相において測定した前記回転系の振れを予め定めた振れの許容値と比較する工程を備え、前記振れ修正工程が、前記回転系の振れが前記許容値以下になった位相で前記工具ホルダを前記主軸に装着することを特徴とする。
また、本発明の振れ修正方法は、前記振れ比較工程が、それぞれの位相において測定した前記回転系の振れを予め定めた振れの許容値と比較する工程を備え、該工程で比較した前記回転系の振れが全ての位相において前記許容値を上回った場合に、前記工具ホルダから前記工具を取り外し、前記工具ホルダに対して前記工具の位相を変えて該工具を装着する工具位相変更工程を有し、前記回転系の振れが前記許容値以下になるまで前記工具位相変更工程と、前記振れ測定工程と、前記振れ比較工程と、を繰り返すことを特徴とする。
本発明の工作機械は、工具を装着した工具ホルダを主軸に自動着脱する着脱機構を備えた工作機械であって、前記主軸の回転時に、前記主軸の回転軸に対する前記主軸、前記工具ホルダ及び前記工具で構成される回転系の振れを測定する振れセンサと、前記工具ホルダを前記主軸に対して異なる位相で装着する位相制御機構と、を有し、前記位相制御機構が、二以上の異なる位相において測定した前記回転系の振れを比較し、該振れが最小となる位相で前記工具ホルダを前記主軸に装着する振れ修正機構を備えた構成を有することにより、主軸と工具ホルダの関係において工具又は回転系の振れが最小になる工具ホルダの位相を自動的に検出することができ、工具又は回転系の振れが最も小さくなる位相で工具ホルダを自動的に装着することができる効果がある。
また、本発明は、一般的なマシニングセンタとして普及している工具を装着した工具ホルダを主軸に自動着脱する着脱機構を備えた工作機械であっても、工具を工具ホルダに装着する際に生じるズレと、工具ホルダを主軸に装着する際に生じるズレとが打ち消し合う位相で工具ホルダを主軸に装着することができるから、工具の芯振れを抑制して高精度の加工が可能になる。
また、本発明の工作機械は、前記振れ修正機構が、前記主軸に対する前記工具ホルダの位相を変えて前記回転系の振れを測定する回数で360°を等分した所定角度ずつ前記工具ホルダの位相を変えて前記回転系の振れを測定することにより、工具又は回転系の振れが最も小さくなる位相を確実に検出することができる効果がある。
また、本発明の工作機械は、前記振れセンサが、前記工具の振れを測定する光学センサ又は/及び前記主軸の振動を測定する振動センサを含むことにより、光学センサで工具の振れを直接的に測定することができ、振動センサで工具の振れや回転系のアンバランスによる振動を測定することができる効果がある。
また、本発明の工作機械は、前記光学センサで測定した前記工具の振れが最小となる位相と前記振動センサで測定した前記主軸の振動が最小となる位相が異なる場合に、前記振れ修正機構は、前記工具の振れ及び前記主軸の振動の双方が許容範囲内であるか否かを判断し、一の位相のみが該条件を満たすときには該位相を前記回転系の振れ及び振動が最小となる位相であると判断し、何れの位相も該条件を満たす又は何れの位相も該条件を満たさないときには前記工具の振れが最小となる位相を前記回転系の振れ及び振動が最小となる位相であると判断することにより、工具の振れが小さく、且つ回転系の振動が小さい位相を検出することができるから、回転系のバランスを適切に保つことができ、主軸への負担を軽減して高精度の加工を行うことができる効果がある。
また、本発明の工作機械は、前記振れ修正機構が、測定した前記回転系の振れに基づいて前記主軸の回転軸に対する前記工具ホルダ及び前記工具の偏芯方向を割り出し、前記回転系の振れが最小となる位相を予測する手段を備えたことにより、少ない測定回数によって迅速に工具又は回転系の振れが最小になる工具ホルダの位相を検出することができる効果がある。
また、本発明の工作機械は、前記回転系の振れが前記工具の振れであることにより、工具の振れが最も小さくなる位相で工具ホルダを自動的に装着することができるから、工具の芯振れを抑制して高精度の加工を行うことができる効果がある。
また、本発明の工作機械は、前記振れ修正機構が、二以上の異なる位相において測定した前記回転系の振れを比較して該振れが最小となる位相を判断又は予測する第一の測定手段と、前記第一の測定手段で前記振れが最小であると判断又は予測した位相を含む所定角度の範囲を前記第一の測定手段より細かい位相差で二以上の異なる位相において前記回転系の振れを測定し、該振れを比較して該振れが最小となる位相で前記工具ホルダを前記主軸に装着する第二の測定手段と、を備えたことにより、工具又は回転系の振れが最小になる工具ホルダの位相を迅速且つ確実に検出することができるから、工具の振れ又は/及び主軸の振動の修正プロセスの効率向上と加工精度の向上を両立させることができる効果がある。
また、本発明は、上記の工作機械を用いた工具の振れ又は/及び前記主軸の振動の修正方法であって、前記工具ホルダを前記主軸に対して二以上の異なる位相で装着し、それぞれの位相において前記回転系の振れを測定する振れ測定工程と、それぞれの位相において測定した前記回転系の振れを比較する振れ比較工程と、前記回転系の振れが最小となる位相で前記工具ホルダを前記主軸に装着する振れ修正工程と、を有することにより、主軸と工具ホルダの関係において工具又は回転系の振れが最小になる工具ホルダの位相を自動的に検出することができ、工具又は回転系の振れが最も小さくなる位相で工具ホルダを自動的に装着することができる効果がある。
また、本発明の振れ修正方法は、前記振れ比較工程が、それぞれの位相において測定した前記回転系の振れを予め定めた振れの許容値と比較する工程を備え、前記振れ修正工程が、前記回転系の振れが前記許容値以下になった位相で前記工具ホルダを前記主軸に装着することにより、回転系の振れを許容値以下に抑えつつ、迅速に工具の振れを修正することができる効果がある。
また、本発明の振れ修正方法は、前記振れ比較工程が、それぞれの位相において測定した前記回転系の振れを予め定めた振れの許容値と比較する工程を備え、該工程で比較した前記回転系の振れが全ての位相において前記許容値を上回った場合に、前記工具ホルダから前記工具を取り外し、前記工具ホルダに対して前記工具の位相を変えて該工具を装着する工具位相変更工程を有し、前記回転系の振れが前記許容値以下になるまで前記工具位相変更工程と、前記振れ測定工程と、前記振れ比較工程と、を繰り返すことにより、更に工具又は回転系の振れを小さくすることができ、より高い精度の加工を行うことができる効果がある。
本発明に係る工作機械の一実施例を示す斜視図。 本発明に係る振れ修正方法の一実施例を示すフローチャート。 低速・高速回転での工具振れ原因の一例を示す断面図。 工具振れ修正後の状態を示す断面図。 低速・高速回転での工具振れ原因の他の例を示す断面図。 工具振れ修正後の状態を示す断面図。 低速・高速回転での工具振れ原因の他の例を示す断面図。 工具振れ修正後の状態を示す断面図。 高速回転での工具振れ原因の一例を示す断面図。 工具振れ修正後の状態を示す断面図。
本発明の実施の形態を図示する実施例に基づいて説明する。
本発明は、工具6を装着した工具ホルダ5を主軸3に自動着脱する着脱機構7を備えた工作機械1であって、前記主軸3の回転時に、前記主軸3の回転軸3aに対する前記主軸3、前記工具ホルダ5及び前記工具6で構成される回転系Rの振れを測定する振れセンサ10と、前記工具ホルダ5を前記主軸3に対して異なる位相で装着する位相制御機構と、を有し、前記位相制御機構が、二以上の異なる位相において測定した前記回転系Rの振れを比較し、該振れが最小となる位相で前記工具ホルダ5を前記主軸3に装着する振れ修正機構を備えている。ここで、回転系Rの振れには、工具6の振れと主軸3の振動が含まれる。
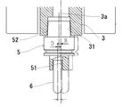
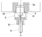
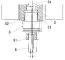
図3(a)に示すように、工具ホルダ5は回転軸を中心とした回転体形状を成し、工具ホルダ5の先端部には工具6を嵌合して装着する工具クランプ部51が形成され、工具ホルダ5の後端部には主軸3の主軸テーパー部31に嵌合して主軸3に装着されるホルダテーパー部52が形成されている。
本願の発明者らは、工作機械1における工具6の先端振れの主な要因を以下の4つに分類し、これらの振れが最小となるような主軸3に対する工具ホルダ5の位相を自動的に検出することにより、工具6又は回転系Rの振れが最も小さくなる位相で工具ホルダ5を自動的に装着することができると考えた。
工作機械1において、低速回転領域を含む主軸3の回転時における工具6の先端振れが発生する個別の要素としては、主軸3に起因するものとして、
(A)主軸中心の振れ回り(主軸の軸受回転精度などによる自転・公転軸のズレ)
(B)主軸中心と主軸テーパー部の芯ズレ
(C)主軸中心と主軸テーパー部の角度差
が挙げられ、工具ホルダ5に起因するものとして、
(D)ホルダテーパー部と工具クランプ部の芯ズレ
(E)ホルダテーパー部と工具クランプ部の角度差
が挙げられ、工具6に起因するものとして、
(F)工具の形状精度
が挙げられる。これら個別要素の組み合わせとして、主軸3の低速・高速回転時における工具6の先端振れの主な要因は以下の3つに分類される。
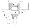
図3(a)に示すように、主軸3の回転軸3aである主軸中心と、主軸テーパー部31の形状中心である主軸テーパー中心が完全に一致しないことによる主軸中心と主軸テーパー部の芯ズレ(B)が生じる。また、工具ホルダ5において、ホルダテーパー部52の形状中心と工具クランプ部51の形状中心が完全に一致しないことによるホルダテーパー部と工具クランプ部の芯ズレ(D)が生じる。この主軸中心と主軸テーパー部の芯ズレ(B)と、ホルダテーパー部と工具クランプ部の芯ズレ(D)との組み合わせによって、工具6の先端振れが発生する。図3(a)に示すように、芯ズレ(B)と芯ズレ(D)が重畳される位相で工具ホルダ5が主軸3に装着されると工具6の先端振れが最大となり、図3(b)に示すように、芯ズレ(B)と芯ズレ(D)が打ち消し合う位相で工具ホルダ5が主軸3に装着されると工具6の先端振れが最小となる。なお、各ズレの大きさは、説明のために拡大して描画している。
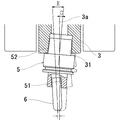
図4(a)に示すように、主軸3の回転軸3aである主軸中心と、主軸テーパー部31の形状中心である主軸テーパー中心の方向が完全に一致しないことによる主軸中心と主軸テーパー部の角度差(C)が生じる。また、工具ホルダ5において、ホルダテーパー部52の形状中心と工具クランプ部51の形状中心の方向が完全に一致しないことによるホルダテーパー部と工具クランプ部の角度差(E)が生じる。この主軸中心と主軸テーパー部の角度差(C)と、ホルダテーパー部と工具クランプ部の角度差(E)との組み合わせによって、工具6の先端振れが発生する。図4(a)に示すように、角度差(C)と角度差(E)が重畳される位相で工具ホルダ5が主軸3に装着されると工具6の先端振れが最大となり、図4(b)に示すように、角度差(C)と角度差(E)が打ち消し合う位相で工具ホルダ5が主軸3に装着されると工具6の先端振れが最小となる。
図5(a)に示すように、主軸3の回転軸3aと主軸中心が完全に一致しないことによる主軸中心の振れ回り(A)が生じる。また、工具6において、工具の形状精度によるズレ(F)が生じる。この主軸中心の振れ回り(A)と、工具の形状精度によるズレ(F)との組み合わせによって、工具6の先端振れが発生する。図5(a)に示すように、主軸中心の振れ回り(A)と工具の形状精度によるズレ(F)が重畳される位相で工具ホルダ5が主軸3に装着されると工具6の先端振れが最大となり、図5(b)に示すように、主軸中心の振れ回り(A)と工具の形状精度によるズレ(F)が打ち消し合う位相で工具ホルダ5が主軸3に装着されると工具6の先端振れが最小となる。
上記の主軸3の低速・高速回転時における工具6の先端振れに加えて、主軸3の高速回転時には、主軸3、工具ホルダ5及び工具6で構成される回転系Rのアンバランスによる遠心力の影響が大きくなり、全体の振れ回り量が増大する。回転系Rのアンバランスの要因としては、上記(A)〜(F)の形状的な精度の他に、主軸3、工具ホルダ5又は工具6の材料不均一などが影響し、工具6の先端振れが発生する。図6(a)に示すように、主軸3の回転軸3aに対する主軸3の重心3cのズレと工具ホルダ5及び工具6の重心5cのズレが重畳される位相で工具ホルダ5が主軸3に装着されるとアンバランスが最大となり、主軸3の振動の原因となる。一方、図6(b)に示すように、主軸3の回転軸3aに対する主軸3の重心3cのズレと工具ホルダ5及び工具6の重心5cのズレが打ち消し合う位相で工具ホルダ5が主軸3に装着されるとアンバランスが最小となる。
図1は、本発明に係る工作機械1の一実施例を示す斜視図である。
図1に示す実施例において、工作機械1はマシニングセンタであり、ワークを載置するテーブル2と、工具6を装着した工具ホルダ5を装着する主軸3と、主軸3を回転自在に支持する主軸ハウジング4と、を有する。テーブル2は、X軸方向及びY軸方向に駆動され、主軸ハウジング4はZ軸方向に駆動される。工作機械1は、主軸3の先端に工具ホルダ5を介して工具6が装着され、工具6を回転させながらワークに対してX,Y,Z軸方向に相対移動させ、ワークを所望の形状に加工する。また、工作機械1は、図示しないが、工具6の加工軌跡を数値制御する制御装置と、加工条件、工具交換、座標設定などの指示を入力する操作パネルと、加工情報や位置情報などを表示するモニターを備えている。なお、工作機械1は、図示の立形マシニングセンタに限られず、横形マシニングセンタの他、ボール盤、中ぐり盤、フライス盤、研削盤など各種の工作機械に本発明を適用することが可能である。
工作機械1は、主軸3の回転時に、主軸3の回転軸3aに対する主軸3、工具ホルダ5及び工具6で構成される回転系Rの振れを測定する振れセンサ10と、工具ホルダ5を主軸3に対して異なる位相で装着する位相制御機構と、を有している。位相制御機構は、制御装置によって制御され、主軸3の割り出し機能を利用して主軸3に対する工具ホルダ5の位相を制御する。位相制御機構は、二以上の異なる位相において測定した回転系Rの振れを比較し、該振れが最小となる位相で工具ホルダ5を主軸3に装着する振れ修正機構を備えている。
工作機械1は、工具6を装着した工具ホルダを主軸3に着脱させる着脱機構7を備えている。着脱機構7は、ATC(Auto Tool Changer)フィンガーなどで構成され、図示しないが、主軸3から取り外した工具ホルダ5を収容する工具マガジンを備えている。また、工作機械1は、位相制御機構を着脱機構7に設けてもよく、主軸3が割り出し機能を備えていない場合でも、工具ホルダ5を主軸3に対して異なる位相で装着することができる。位相制御機構は、例えばATCフィンガーに設けることができる。
位相制御機構は、着脱機構7が工具ホルダ5を把持して主軸3から取り外したときに、回転系Rの振れを測定する回数Nで360°を等分した所定角度(360°/N)だけ一定方向に主軸3を回転させ、着脱機構7が工具ホルダ5を主軸3に装着したときに、主軸3に対する工具ホルダ5の位相を所定角度(360°/N)だけ変えることができる。なお、工具ホルダ5が位置決めキーを有する場合には、前記所定角度は180°(N=2)となる。工具ホルダ5が位置決めキーを有さない場合は、測定回数Nを2以上の任意の自然数に設定することができる。
工作機械1は、振れセンサ10として、レーザセンサや画像センサなどによって工具6の振れを直接的に測定する光学センサ11と、加速度センサ、振動センサや音響センサなどによって主軸3の振動を測定する振動センサ12と、を備えている。図1に示す実施例において、光学センサ11はレーザセンサであり、テーブル2上の加工の妨げにならない場所に設置している。光学センサ11は、主軸3の停止時及び回転時に工具6をセンサ間の直交する方向に移動させて工具6の両側端を検出し、停止時と回転時の幅を比較することにより、回転時の工具6の振れ幅を検出する。光学センサ11は、加工精度に影響を与える工具6の先端部の振れを検出することが好ましい。図3乃至図6に示すように、工具6がボールエンドミルである場合には、先端のボール部の中心位置での振れを検出することが好ましい。
振動センサ12は、主軸ハウジング4に設置され、主軸3の振動を加速度、振幅の大きさ、音の大きさなどで測定する。振動センサ12の設置場所は、図1に示すように、主軸ハウジング4の表面に限らず、主軸ハウジング4の内部に設置してもよい。13は、Z軸方向の位置を検出する機械軸スケールであり、この機械軸スケールに振動検出機能を設けてもよい。振れセンサ10は、少なくとも光学センサ11を備えていることが好ましく、振動センサ12の他、複数の光学センサを備えていてもよい。
振れ修正機構は、工具6の振れ及び主軸3の振動に許容値を設定してもよい。実施例において、振れ修正機構は、光学センサ11で測定した工具6の振れが最小となる位相と振動センサ12で測定した主軸3の振動が最小となる位相が異なる場合に、工具6の振れ及び主軸3の振動の双方が許容範囲内であるか否かを判断し、一の位相のみが該条件を満たすときには該位相を回転系Rの振れが最小となる位相であると判断し、何れの位相も該条件を満たす又は何れの位相も該条件を満たさないときには工具6の振れが最小となる位相を回転系Rの振れが最小となる位相であると判断する。また、振れ修正機構は、振動センサ12で測定した主軸3の振動が許容値に収まる各位相において、光学センサ11で測定した工具6の振れが最小となる位相を回転系Rの振れが最小となる位相であると判断してもよい。
また、振れ修正機構は、測定した回転系Rの振れに基づいて主軸3の回転軸3aに対する工具ホルダ5及び工具6の偏芯方向を割り出し、回転系Rの振れが最小となる位相を予測する手段を備えていることが好ましい。振れ修正機構は、二以上の異なる位相において測定した回転系Rの振れを比較して該振れが最小となる位相を判断又は予測する第一の測定手段と、第一の測定手段で振れが最小であると判断又は予測した位相を含む所定角度の範囲を第一の測定手段より細かい位相差で二以上の異なる位相において回転系Rの振れを測定し、該振れを比較して該振れが最小となる位相で工具ホルダ5を主軸3に装着する第二の測定手段と、を備えた構成にすることもできる。
次に、本発明に係る工作機械1を用いた工具6の振れ修正方法について説明する。図2は、本発明に係る振れ修正方法の一実施例を示すフローチャートである。工具6の振れ修正方法は、工具ホルダ5を主軸3に対して二以上の異なる位相で装着し、それぞれの位相において工具6の振れを含む回転系Rの振れを測定する振れ測定工程と、それぞれの位相において測定した回転系Rの振れを比較する振れ比較工程と、回転系Rの振れが最小となる位相で工具ホルダ5を主軸3に装着する振れ修正工程と、を有する。
(1)制御装置は、工具6の振れを含む回転系Rの振れを測定する全計測回数をN(Nは2以上の自然数)に設定する。全計測回数は予め決められた回数に設定してもよく、操作者に回数の設定を求めてもよい。制御装置は、計測回(n)、主軸3の位相(angle)及び振れ・振動の大きさ(data)を初期値(0)に設定する。
(2)制御装置は、主軸3の位相(angle)が360°×n/Nとなる角度に主軸3の割り出しを行う。着脱機構7は、ATCフィンガーが工具マガジンから所望の工具6を装着した工具ホルダ5を取り出し、工具ホルダ5を主軸に装着する。ATCフィンガー及び工具マガジンが主軸3から退避すると、振れセンサ10が工具6の振れ及び主軸3の振動を測定する。
(3)制御装置は、計測回(n)が初期値(0)のとき、振れセンサ10が測定した計測値を振れ・振動の大きさ(data)として入力する。制御装置は、計測回(n)が初期値(0)以外のとき、振れセンサ10が測定した計測値と、振れ・振動の大きさとして既に入力されている値(data)とを比較し、計測値が小さいときには該計測値を振れ・振動の大きさ(data)として主軸3の位相(angle=360°×n/N)と共に上書きして入力する。一方、計測値が、振れ・振動の大きさとして既に入力されている値(data)と同じか大きいときには、制御装置はdataとして入力しない。
(4)制御装置は、計測回(n)に「1」を加え、計測回(n)と全計測回数Nとを比較する。
(5)計測回(n)が全計測回数Nに達していないとき、着脱機構7は、ATCフィンガー及び工具マガジンを主軸3へ移動させ、ATCフィンガーが主軸3から工具ホルダ5を取り外し、該工具ホルダ5を工具マガジンに移動させる。ATCフィンガー及び工具マガジンが主軸3から退避して、上記(2)以降の工程を繰り返す。
(6)計測回(n)が全計測回数Nに達したとき、制御装置は、主軸3の位相(angle)として入力されている角度が360°×(n−1)/Nであるときには、回転系Rの振れが最小となる位相で工具ホルダ5が主軸3に装着されていると判断し、主軸3への工具6の装着を終了する。
(7)計測回(n)が全計測回数Nに達したとき、制御装置が主軸3の位相(angle)として入力されている角度が360°×(n−1)/Nでないと判断したときには、着脱機構7は、ATCフィンガー及び工具マガジンを主軸3へ移動させ、ATCフィンガーが主軸3から工具ホルダ5を取り外し、該工具ホルダ5を工具マガジンに移動させる。ATCフィンガー及び工具マガジンが主軸3から退避すると、制御装置は、回転系Rの振れが最小となる主軸3の位相(angle)として入力されている角度に主軸3の割り出しを行う。着脱機構7は、ATCフィンガーが工具マガジンから工具ホルダ5を取り出し、回転系Rの振れが最小となる位相で工具ホルダ5を主軸に装着する。ATCフィンガー及び工具マガジンが主軸3から退避して、主軸3への工具6の装着を終了する。
本発明の振れ修正方法は、上記(1)〜(7)の工程によって、主軸3と工具ホルダ5の関係において工具6又は回転系Rの振れ又は振動が最小になる工具ホルダ5の位相を自動的に検出することができ、工具6又は回転系Rの振れ又は振動が最も小さくなる位相で工具ホルダ5を自動的に装着することができる。
本発明の振れ修正方法は、振れ比較工程が、それぞれの位相において測定した回転系Rの振れを予め定めた振れの許容値と比較する工程を備え、振れ修正工程が、回転系Rの振れ又は振動が該許容値以下になった位相で工具ホルダ5を主軸3に装着する構成にしてもよい。また、発明の振れ修正方法は、工具3の振れと主軸3の振動が共に許容値以下になった位相で工具ホルダ5を主軸3に装着するようにしてもよく、工具3の振れと主軸3の振動に優先順位をつける又は重み付けをして位相を決定するようにしてもよい。
本発明の振れ修正方法は、振れ比較工程が、それぞれの位相において測定した回転系Rの振れを予め定めた振れの許容値と比較する工程を備え、該工程で比較した回転系Rの振れが全ての位相において該許容値を上回った場合に、工具ホルダ5から工具6を取り外し、工具ホルダ5に対して工具6の位相を変えて該工具6を装着する工具位相変更工程を有し、回転系Rの振れが該許容値以下になるまで工具位相変更工程と、振れ測定工程と、振れ比較工程と、を繰り返す構成にしてもよい。工具位相変更工程は、機械で工具6の位相を変えるものでもよく、人手で工具6の位相を変えるものでもよい。
1 工作機械
2 テーブル
3 主軸
3a 回転軸
4 主軸ハウジング
5 工具ホルダ
6 工具
7 着脱機構
10 振れセンサ
11 光学センサ
12 振動センサ

Claims (6)

  1. 工具を装着した工具ホルダを主軸に自動着脱する着脱機構を備えた工作機械であって、
    前記主軸の回転時に前記工具の振れを測定する光学センサ及び前記主軸の振動を測定する振動センサを含み、前記主軸の回転軸に対する前記主軸、前記工具ホルダ及び前記工具で構成される回転系の振れを測定する振れセンサと、
    前記工具ホルダを前記主軸に対して異なる位相で装着する位相制御機構と、を有し、
    前記位相制御機構が、二以上の異なる位相において測定した前記回転系の振れを比較し、該振れが最小となる位相で前記工具ホルダを前記主軸に装着する振れ修正機構を備え
    前記光学センサで測定した前記工具の振れが最小となる位相と前記振動センサで測定した前記主軸の振動が最小となる位相が異なる場合に、
    前記振れ修正機構は、前記工具の振れ及び前記主軸の振動の双方が許容範囲内であるか否かを判断し、一の位相のみが該条件を満たすときには該位相を前記回転系の振れが最小となる位相であると判断し、何れの位相も該条件を満たす又は何れの位相も該条件を満たさないときには前記工具の振れが最小となる位相を前記回転系の振れが最小となる位相であると判断することを特徴とする工作機械。
  2. 工具を装着した工具ホルダを主軸に自動着脱する着脱機構を備えた工作機械であって、
    前記主軸の回転時に、前記主軸の回転軸に対する前記主軸、前記工具ホルダ及び前記工具で構成される回転系の振れを測定する振れセンサと、
    前記工具ホルダを前記主軸に対して異なる位相で装着する位相制御機構と、を有し、
    前記位相制御機構が、二以上の異なる位相において測定した前記回転系の振れを比較し、該振れが最小となる位相で前記工具ホルダを前記主軸に装着する振れ修正機構を備え、
    前記振れ修正機構が、二以上の異なる位相において測定した前記回転系の振れを比較して該振れが最小となる位相を判断又は予測する第一の測定手段と、前記第一の測定手段で前記振れが最小であると判断又は予測した位相を含む所定角度の範囲を前記第一の測定手段より細かい位相差で二以上の異なる位相において前記回転系の振れを測定し、該振れを比較して該振れが最小となる位相で前記工具ホルダを前記主軸に装着する第二の測定手段と、を備えた工作機械。
  3. 工具を装着した工具ホルダを主軸に自動着脱する着脱機構を備えた工作機械であって、
    前記主軸の回転時に、前記主軸の回転軸に対する前記主軸、前記工具ホルダ及び前記工具で構成される回転系の振れとして、前記工具の振れを測定する振れセンサと、
    前記工具ホルダを前記主軸に対して異なる位相で装着する位相制御機構と、を有し、
    前記位相制御機構が、二以上の異なる位相において測定した前記工具の振れを比較し、該振れが最小となる位相で前記工具ホルダを前記主軸に装着する振れ修正機構を備え、
    前記振れ修正機構が、測定した前記工具の振れに基づいて前記主軸の回転軸に対する前記工具の偏芯方向を割り出し、前記工具の振れが最小となる位相を予測する手段を備えた工作機械。
  4. 前記振れ修正機構が、前記主軸に対する前記工具ホルダの位相を変えて前記回転系の振れを測定する回数で360°を等分した所定角度ずつ前記工具ホルダの位相を変えて前記回転系の振れを測定する請求項1乃至3の何れか一項に記載の工作機械。
  5. 工具を装着した工具ホルダを主軸に自動着脱する着脱機構を備え、
    前記主軸の回転時に、前記主軸の回転軸に対する前記主軸、前記工具ホルダ及び前記工具で構成される回転系の振れを測定する振れセンサと、
    前記工具ホルダを前記主軸に対して異なる位相で装着する位相制御機構と、を有する工作機械を用いた工具の振れ又は/及び前記主軸の振動の修正方法であって、
    前記工具ホルダを前記主軸に対して二以上の異なる位相で装着し、それぞれの位相において前記回転系の振れを測定する振れ測定工程と、
    それぞれの位相において測定した前記回転系の振れを比較する振れ比較工程と、
    前記回転系の振れが最小となる位相で前記工具ホルダを前記主軸に装着する振れ修正工程と、を有し、
    前記比較工程が、前記測定工程において最初に測定した計測値を位相と共に記憶する工程と、前記測定工程において異なる位相で測定した計測値を記憶されている前記計測値と比較し、測定した該計測値が記憶されている前記計測値より小さいときに測定した該計測値を位相と共に置き換えて記憶する工程と、を備え、
    前記測定工程と前記比較工程を所定回数繰り返したときに、計測値と共に記憶されている位相を前記回転系の振れが最小となる位相であると判断する振れ修正方法。
  6. 前記振れ比較工程が、それぞれの位相において測定した前記回転系の振れを予め定めた振れの許容値と比較する工程を備え、
    該工程で比較した前記回転系の振れが全ての位相において前記許容値を上回った場合に、前記工具ホルダから前記工具を取り外し、前記工具ホルダに対して前記工具の位相を変えて該工具を装着する工具位相変更工程を有し、
    前記回転系の振れが前記許容値以下になるまで前記工具位相変更工程と、前記振れ測定工程と、前記振れ比較工程と、を繰り返すことを特徴とする請求項に記載の振れ修正方法。
JP2015124945A 2015-06-22 2015-06-22 工作機械及び工具の振れ修正方法 Active JP6532769B2 (ja)

Priority Applications (1)

Application Number Priority Date Filing Date Title
JP2015124945A JP6532769B2 (ja) 2015-06-22 2015-06-22 工作機械及び工具の振れ修正方法

Applications Claiming Priority (1)

Application Number Priority Date Filing Date Title
JP2015124945A JP6532769B2 (ja) 2015-06-22 2015-06-22 工作機械及び工具の振れ修正方法

Publications (2)

Publication Number Publication Date
JP2017007030A JP2017007030A (ja) 2017-01-12
JP6532769B2 true JP6532769B2 (ja) 2019-06-19

Family

ID=57761040

Family Applications (1)

Application Number Title Priority Date Filing Date
JP2015124945A Active JP6532769B2 (ja) 2015-06-22 2015-06-22 工作機械及び工具の振れ修正方法

Country Status (1)

Country Link
JP (1) JP6532769B2 (ja)

Families Citing this family (10)

* Cited by examiner, † Cited by third party
Publication number Priority date Publication date Assignee Title
JP6549646B2 (ja) 2017-07-06 2019-07-24 ファナック株式会社 工作機械および原点補正方法
JP6452898B1 (ja) * 2017-10-25 2019-01-16 三菱電機株式会社 主軸ユニット芯振れ検知装置
JP6615285B1 (ja) * 2018-07-20 2019-12-04 株式会社牧野フライス製作所 工具振れ調整方法および工作機械
CN111716149B (zh) 2019-03-19 2024-07-30 发那科株式会社 机床
JP7424759B2 (ja) * 2019-05-23 2024-01-30 ファナック株式会社 主軸異常検出装置
EP4552774B1 (en) * 2019-08-09 2026-03-25 Sumitomo Electric Industries, Ltd. Rotating tool, module and cutting system
GB201914730D0 (en) * 2019-10-11 2019-11-27 Renishaw Plc Apparatus and method
JP6868147B1 (ja) * 2020-08-04 2021-05-12 Dmg森精機株式会社 工作機械、検知方法、および、検知プログラム
JP7814139B2 (ja) * 2021-10-20 2026-02-16 芝浦機械株式会社 工具測定装置および工具測定方法
CN114273971B (zh) * 2021-12-09 2023-04-25 山东有荣机床有限公司 一种多轴加工中心用的铣刀修正装置

Family Cites Families (3)

* Cited by examiner, † Cited by third party
Publication number Priority date Publication date Assignee Title
JP2961612B2 (ja) * 1989-07-04 1999-10-12 豊田工機株式会社 工具取付装置
JP3377665B2 (ja) * 1995-12-15 2003-02-17 新潟県 エンドミル状工具による繊維質有機材料、硬脆性無機材料、ガラス質無機材料の切削加工法
JP2015051494A (ja) * 2013-09-09 2015-03-19 東芝機械株式会社 工具取り付け方法

Also Published As

Publication number Publication date
JP2017007030A (ja) 2017-01-12

Similar Documents

Publication Publication Date Title
JP6532769B2 (ja) 工作機械及び工具の振れ修正方法
US9511464B2 (en) Adjustment mechanism for rotation runout and dynamic balance of rotating tool
JP5962242B2 (ja) 研削加工装置
JP6921511B2 (ja) 自動工具交換装置付き工作機械及び自動測定方法
JP2017154202A (ja) エンドミルによる加工方法および加工装置
TWI781353B (zh) 工作機械以及控制裝置
CN112334748A (zh) 确定移动系统、特别是机床中的负载的质量和重心位置的方法
JP2020011366A (ja) 工具振れ調整方法および工作機械
WO2020203844A1 (ja) 産業機械、偏心特定装置、偏心特定方法、およびプログラム
US20140354267A1 (en) Method of compensating command value for rotation angle
EP1803530A2 (en) Tool displacement controlling and correcting device for machine tool
JP5170517B2 (ja) 回転体の回転バランス修正装置及び方法
CN111506015A (zh) 用于确定机床表面形状的方法
JP4415680B2 (ja) 研削装置および研削方法
WO2019082302A1 (ja) 主軸ユニット芯振れ検知装置
JP3540634B2 (ja) 回転型位置決め装置及び工具を使用する加工装置
KR102864295B1 (ko) 회전체 공작물의 언밸런싱 보정 장치 및 방법
CN111376106B (zh) 机床和工具库的原点检测方法
JP4940904B2 (ja) かつぎ量計測装置
JP2009291915A (ja) 工作機械
JP4609237B2 (ja) 不釣り合い修正方法およびその装置
JP7514800B2 (ja) 工作機械、及び、工作機械の軸合わせ方法
CN113093644A (zh) 控制装置、工作系统以及记录有程序的记录介质
JP7828266B2 (ja) 溝研削方法、溝研削装置及びプログラム
JP7590808B2 (ja) 回転体用の釣り合わせ装置および方法

Legal Events

Date Code Title Description
A621 Written request for application examination

Free format text: JAPANESE INTERMEDIATE CODE: A621

Effective date: 20180319

A977 Report on retrieval

Free format text: JAPANESE INTERMEDIATE CODE: A971007

Effective date: 20181213

A131 Notification of reasons for refusal

Free format text: JAPANESE INTERMEDIATE CODE: A131

Effective date: 20181218

A521 Request for written amendment filed

Free format text: JAPANESE INTERMEDIATE CODE: A523

Effective date: 20190215

TRDD Decision of grant or rejection written
A01 Written decision to grant a patent or to grant a registration (utility model)

Free format text: JAPANESE INTERMEDIATE CODE: A01

Effective date: 20190521

A61 First payment of annual fees (during grant procedure)

Free format text: JAPANESE INTERMEDIATE CODE: A61

Effective date: 20190522

R150 Certificate of patent or registration of utility model

Ref document number: 6532769

Country of ref document: JP

Free format text: JAPANESE INTERMEDIATE CODE: R150

R250 Receipt of annual fees

Free format text: JAPANESE INTERMEDIATE CODE: R250

R250 Receipt of annual fees

Free format text: JAPANESE INTERMEDIATE CODE: R250