JP6257953B2 - 電子カルテ作成装置及び電子カルテ作成システム - Google Patents

電子カルテ作成装置及び電子カルテ作成システム Download PDF

Info

Publication number
JP6257953B2
JP6257953B2 JP2013168018A JP2013168018A JP6257953B2 JP 6257953 B2 JP6257953 B2 JP 6257953B2 JP 2013168018 A JP2013168018 A JP 2013168018A JP 2013168018 A JP2013168018 A JP 2013168018A JP 6257953 B2 JP6257953 B2 JP 6257953B2
Authority
JP
Japan
Prior art keywords
electronic medical
display
confirmation
medical record
risk level
Prior art date
Legal status (The legal status is an assumption and is not a legal conclusion. Google has not performed a legal analysis and makes no representation as to the accuracy of the status listed.)
Active
Application number
JP2013168018A
Other languages
English (en)
Other versions
JP2014056570A (ja
Inventor
真哉 杉山
真哉 杉山
池田 智
智 池田
Current Assignee (The listed assignees may be inaccurate. Google has not performed a legal analysis and makes no representation or warranty as to the accuracy of the list.)
Canon Medical Systems Corp
Original Assignee
Toshiba Medical Systems Corp
Priority date (The priority date is an assumption and is not a legal conclusion. Google has not performed a legal analysis and makes no representation as to the accuracy of the date listed.)
Filing date
Publication date
Application filed by Toshiba Medical Systems Corp filed Critical Toshiba Medical Systems Corp
Priority to JP2013168018A priority Critical patent/JP6257953B2/ja
Priority to PCT/JP2013/071874 priority patent/WO2014027661A1/ja
Publication of JP2014056570A publication Critical patent/JP2014056570A/ja
Application granted granted Critical
Publication of JP6257953B2 publication Critical patent/JP6257953B2/ja
Active legal-status Critical Current
Anticipated expiration legal-status Critical

Links

Images

Classifications

    • GPHYSICS
    • G06COMPUTING OR CALCULATING; COUNTING
    • G06QINFORMATION AND COMMUNICATION TECHNOLOGY [ICT] SPECIALLY ADAPTED FOR ADMINISTRATIVE, COMMERCIAL, FINANCIAL, MANAGERIAL OR SUPERVISORY PURPOSES; SYSTEMS OR METHODS SPECIALLY ADAPTED FOR ADMINISTRATIVE, COMMERCIAL, FINANCIAL, MANAGERIAL OR SUPERVISORY PURPOSES, NOT OTHERWISE PROVIDED FOR
    • G06Q10/00Administration; Management
    • G06Q10/10Office automation; Time management
    • GPHYSICS
    • G16INFORMATION AND COMMUNICATION TECHNOLOGY [ICT] SPECIALLY ADAPTED FOR SPECIFIC APPLICATION FIELDS
    • G16HHEALTHCARE INFORMATICS, i.e. INFORMATION AND COMMUNICATION TECHNOLOGY [ICT] SPECIALLY ADAPTED FOR THE HANDLING OR PROCESSING OF MEDICAL OR HEALTHCARE DATA
    • G16H10/00ICT specially adapted for the handling or processing of patient-related medical or healthcare data
    • G16H10/60ICT specially adapted for the handling or processing of patient-related medical or healthcare data for patient-specific data, e.g. for electronic patient records
    • GPHYSICS
    • G16INFORMATION AND COMMUNICATION TECHNOLOGY [ICT] SPECIALLY ADAPTED FOR SPECIFIC APPLICATION FIELDS
    • G16HHEALTHCARE INFORMATICS, i.e. INFORMATION AND COMMUNICATION TECHNOLOGY [ICT] SPECIALLY ADAPTED FOR THE HANDLING OR PROCESSING OF MEDICAL OR HEALTHCARE DATA
    • G16H15/00ICT specially adapted for medical reports, e.g. generation or transmission thereof
    • GPHYSICS
    • G16INFORMATION AND COMMUNICATION TECHNOLOGY [ICT] SPECIALLY ADAPTED FOR SPECIFIC APPLICATION FIELDS
    • G16HHEALTHCARE INFORMATICS, i.e. INFORMATION AND COMMUNICATION TECHNOLOGY [ICT] SPECIALLY ADAPTED FOR THE HANDLING OR PROCESSING OF MEDICAL OR HEALTHCARE DATA
    • G16H50/00ICT specially adapted for medical diagnosis, medical simulation or medical data mining; ICT specially adapted for detecting, monitoring or modelling epidemics or pandemics
    • G16H50/30ICT specially adapted for medical diagnosis, medical simulation or medical data mining; ICT specially adapted for detecting, monitoring or modelling epidemics or pandemics for calculating health indices; for individual health risk assessment

Landscapes

  • Engineering & Computer Science (AREA)
  • Health & Medical Sciences (AREA)
  • Medical Informatics (AREA)
  • Public Health (AREA)
  • Business, Economics & Management (AREA)
  • Epidemiology (AREA)
  • General Health & Medical Sciences (AREA)
  • Primary Health Care (AREA)
  • Entrepreneurship & Innovation (AREA)
  • Human Resources & Organizations (AREA)
  • Strategic Management (AREA)
  • Data Mining & Analysis (AREA)
  • Economics (AREA)
  • Marketing (AREA)
  • Operations Research (AREA)
  • Quality & Reliability (AREA)
  • Tourism & Hospitality (AREA)
  • Physics & Mathematics (AREA)
  • General Business, Economics & Management (AREA)
  • General Physics & Mathematics (AREA)
  • Theoretical Computer Science (AREA)
  • Biomedical Technology (AREA)
  • Databases & Information Systems (AREA)
  • Pathology (AREA)
  • Medical Treatment And Welfare Office Work (AREA)

Description

本発明の実施の形態は、電子カルテ作成装置及び電子カルテ作成システムに関する。
近年、個々の患者のカルテの情報を電子化してデータベースに記憶させた電子カルテが普及している。この電子カルテは、例えば、当該電子カルテを作成する者が患者を診察してその都度作成される。
但し、電子カルテへの記入事項の全てが必ずしも新規な内容ではないこともある。その場合には、過去の処方や処置、検査結果、所見等を参考に同じ処方等が入力される場合もある。また、電子カルテに記入(記録)される情報量は多くなる傾向にあり、当該電子カルテを作成する者の手間が増えることになる。
そこで、この場合、例えば、必要な内容を転記することで、簡易に情報を引き継いで記入することとしている。或いは、「Do記載(Do表示)」と言われる以前のカルテの記載内容と繰り返して入力する際にその記載内容が同じであることを示す表示を利用することもある。
一方、例えば、記載内容が膨大な場合に処方等についてDo記載がなされると、電子カルテを作成する者による十分な確認がおろそかになる可能性もある。このような弊害をなくすべく、例えば、Do表示が適用された場合に、基礎とされた記述内容を画面上表示させる手段を持つことでDo表示の内容を簡易に確認することができるようにされている場合もある(以下の特許文献1参照)。
特開2000−200316号公報
しかしながら、上記特許文献1において開示されている発明では、次の点について配慮がなされていない。
すなわち、基礎とされた記述内容は全て表示対象となってしまい、表示される内容の重要度は考慮されない。従って、特に表示対象が多い場合には、特に確認を必要とする記述内容の確認を確実に行うことが困難となる場合が生ずる可能性がある。
本発明は上記課題を解決するためになされたものであり、本発明の目的は、電子カルテの作成においてDo表示がなされる場合に、表示される項目ごとにその確認の優先度を決定してその優先度に基づいて画面表示することによって、要確認項目のDo表示の確認を簡易かつ確実に行うことが可能な電子カルテ作成装置及び電子カルテ作成システムを提供することにある。
請求項1に記載の発明の特徴は、電子カルテ作成装置において、繰り返し処方またはオーダの対象となる記入項目の内容を記憶する記憶部と、記入項目の内容を表示する表示部と、表示された記入項目の内容について繰り返し処方またはオーダを行うか否かの入力を行うための入力部と、記入項目それぞれのリスクレベルを決定するリスクレベル決定部と、リスクレベル決定部において決定されたリスクレベルを基に確認条件を決定する決定部と、確認条件に応じて、要確認項目を繰り返し処方またはオーダすることの是非を確認するための画面表示の表示態様を決定するとともに、リスクレベル決定部によって要確認項目ごとに決定されたリスクレベルに応じた表示態様の表示を表示部に対して指示する表示態様決定部とを備える。
請求項12に記載の発明の特徴は、電子カルテ作成装置において、繰り返し処方またはオーダの対象となる医療オーダの記入項目の内容を記憶する記憶部と、記入項目の内容を表示する表示部と、表示された記入項目の内容について繰り返し処方またはオーダを行うか否かの入力を行うための入力部と、記入項目それぞれのリスクレベルを決定するリスクレベル決定部と、リスクレベル決定部において決定されたリスクレベルを基に確認条件を決定する決定部と、確認条件に応じて、要確認項目を繰り返し処方またはオーダすることの是非を確認するための画面表示の表示態様を決定するとともに、要確認項目ごとに表示部に対して決定された表示態様の表示を指示する表示態様決定部と、を備え、決定部は、リスクレベルに応じた表示態様の表示頻度を確認条件の1つとして決定する。
請求項15に記載の発明の特徴は、電子カルテ作成システムにおいて、これまでに作成された電子カルテを保存するサーバと、電子カルテの作成に当たって必要な医用画像を取得する医用画像診断装置と、繰り返し処方またはオーダの対象となる記入項目の内容を記憶する記憶部と、記入項目の内容を表示する表示部と、表示された記入項目の内容について繰り返し処方またはオーダを行うか否かの入力を行うための入力部と、記入項目それぞれのリスクレベルを決定するリスクレベル決定部と、リスクレベル決定部において決定されたリスクレベルを基に確認条件を決定する決定部と、確認条件に応じて、要確認項目を繰り返し処方またはオーダすることの是非を確認するための画面表示の表示態様を決定するとともに、リスクレベル決定部によって要確認項目ごとに決定されたリスクレベルに応じた表示態様の表示を表示部に対して指示する表示態様決定部とを備える電子カルテ作成装置とを備える。
請求項16に記載の発明の特徴は、電子カルテ作成システムにおいて、これまでに作成された電子カルテを保存するサーバと、電子カルテの作成に当たって必要な医用画像を取得する医用画像診断装置と、繰り返し処方またはオーダの対象となる医療オーダの記入項目の内容を記憶する記憶部と、記入項目の内容を表示する表示部と、表示された記入項目の内容について繰り返し処方またはオーダを行うか否かの入力を行うための入力部と、記入項目それぞれのリスクレベルを決定するリスクレベル決定部と、リスクレベル決定部において決定されたリスクレベルを基に確認条件を決定する決定部と、確認条件に応じて、要確認項目を繰り返し処方またはオーダすることの是非を確認するための画面表示の表示態様を決定するとともに、要確認項目ごとに表示部に対して決定された表示態様の表示を指示する表示態様決定部と、を備え、決定部は、リスクレベルに応じた表示態様の表示頻度を確認条件の1つとして決定することを特徴とする電子カルテ作成装置とを備える。
実施の形態における電子カルテ作成装置を含む電子カルテ作成システムの全体構成を示すブロック図である。 実施の形態における電子カルテ作成装置の内部構成を示すブロック図である。 実施の形態におけるDo表示部の内部構成を示すブロック図である。 実施の形態におけるDo表示から当該表示内容の確認に至る流れを示すフローチャートである。 実施の形態におけるDo表示から当該表示内容の確認に至る流れを示すフローチャートである。 実施の形態における要確認項目のリスクレベルを示すテーブルの一例である。 実施の形態におけるリスクレベルの確認条件を示すテーブルの一例である。 実施の形態における確認条件の一例を説明するための説明図である。 実施の形態における表示画面の一例を示す画面例である。 実施の形態における表示画面の一例を示す画面例である。 実施の形態における表示画面の一例を示す画面例である。
以下、本発明の実施の形態について図面を参照して詳細に説明する。
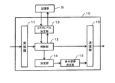
図1は、実施の形態における電子カルテ作成装置3を含む電子カルテ作成システムSの全体構成を示すブロック図である。電子カルテ作成システムSは、これまでに作成された電子カルテを保存するサーバ1と、電子カルテの作成に当たって必要な医用画像を取得する医用画像診断装置2と、電子カルテを作成する際に利用される電子カルテ作成装置3と、これらを互いに接続する通信ネットワークNから構成される。電子カルテ作成システムSは、それ自体独立したシステムとして構成されても良いが、例えば、病院情報管理システム(HIS:Hospital Information System)、放射線部門情報管理システム(RIS:Radiological Information System)、医用画像管理システム(PACS:Picture Archiving Communication System)といった医療機関内に構築された各種管理システムの全て、或いは、その一部を構成するようにされていても良い。
サーバ1は、電子カルテ作成装置3において作成された電子カルテを保存する装置である。なお、サーバ1は、電子カルテの保存だけではなく、例えば、後述する医用画像診断装置2において取得された患者の内部情報(医用画像)を保存するようにしても良い。
医用画像診断装置2は、患者を撮影してその内部情報を取得する医用画像取得(撮影)装置である。医用画像診断装置2としては、例えば、例えば、X線CT装置(computed tomography:コンピュータ断層撮影装置)や、磁気共鳴診断装置(MRI:magnetic resonance imaging)等が該当する。
電子カルテ作成装置3は、例えば、医師等が医用画像を利用して患者の診察を行ったり、或いは、医用画像の読影を行うことによって電子カルテを作成する際に使用されるワークステーションである。以下においては、特に限定することはないが、例えば、電子カルテを作成するアプリケーション等を電子カルテ作成装置3自身で保持して、当該アプリケーションを利用して電子カルテを作成しても良い。
或いは、シンクライアントシステムとして当該アプリケーションはサーバ1内に記憶されており、電子カルテを作成する際には、電子カルテ作成装置3がサーバ1にアクセスしてこのアプリケーションを利用することとしても良い。この場合、電子カルテ作成装置3は、サーバ1から電子カルテを作成するに必要な情報を少なくとも要求、表示させるだけの処理能力を備えていれば足りる。
なお、図1に示す医用画像システムSでは、通信ネットワークNにサーバ1、医用画像診断装置2、電子カルテ作成装置3がそれぞれ1つずつ接続されている。但し、通信ネットワークNに接続されるサーバ、医用画像診断装置、或いは、電子カルテ作成装置の数は単数、或いは複数のいずれでも良く、その数は任意である。
通信ネットワークNは、サーバ1と、医用画像診断装置2と、電子カルテ作成装置3とをそれぞれつなぎ、互いの間で、例えば医用画像情報のやりとりを可能とする。通信ネットワークNの例としては、LAN(Local Area Network)やインターネット等のネットワークを挙げることができる。また、この通信ネットワークNを介してやり取りされる情報に関する規格は、DICOM(Digital Imaging and Communication in Medicine)等、いずれの規格であっても良い。
図2は、本発明の実施の形態における電子カルテ作成装置3の内部構成を示すブロック図である。
電子カルテ作成装置3は、CPU(Central Processing Unit)3aと、ROM(Read Only Memory)3bと、RAM(Random Access Memory)3c及び入出力インターフェイス3dがバス3eを介して接続されている。入出力インターフェイス3dには、入力部3fと、表示部3gと、通信制御部3hと、記憶部3iと、リムーバブルディスク3jとが接続されている。また、Do表示を行う際に必要な処理を行うためにDo表示部10も併せて接続されている。
ここで、「「Do記載(Do表示)」とは、以前のカルテの記載されている処方やオーダを繰り返して処方、或いは、繰り返してオーダする際にその記載内容が同じであることを示す表示である。
CPU3aは、入力部3fからの入力信号に基づいてROM3bから電子カルテ作成装置3を起動するためのブートプログラムを読み出して実行し、記憶部3iに格納されている各種オペレーティングシステムを読み出す。またCPU3aは、入力部3fや入出力インターフェイス3dを介して、図3において図示していないその他の外部機器からの入力信号に基づいて各種装置の制御を行う。
さらにCPU3aは、RAM3cや記憶部3i等に記憶されたプログラム及びデータを読み出してRAM3cにロードするとともに、RAM3cから読み出されたプログラムのコマンドに基づいて、Do表示を行うに当たって要確認項目の確認処理やデータの計算、加工等、一連の処理を実現する処理装置である。
入力部3fは、電子カルテ作成装置3の操作者(例えば、医師)が各種の操作を入力するキーボード、ダイヤル等の入力デバイスにより構成されている。操作者の操作に基づいて入力部3fは入力信号を作成し、当該入力信号はバス3eを介してCPU3aに送信される。また、この他、マウス、カードリーダ、バーコードリーダ、タッチパネル、マイク、カメラ等も入力部3fの一種として挙げることができる。
表示部3gは、例えば液晶ディスプレイといった、モニタである。この表示部3gは、CPU3aからバス3eを介して出力信号を受信し、例えば電子カルテ作成装置3においてある画像の処理を行うに当たっての条件設定に必要な画像等、或いはCPU3aの処理結果等を表示する。またここでの表示部3gには、プリンタ、プロジェクタ、スピーカ、その他の電子カルテを作成する者の五感に訴えかける装置も含まれる。
通信制御部3hは、LANカードやモデム等の手段であり、電子カルテ作成装置3をインターネットやLAN等の通信ネットワークNに接続することを可能とする手段である。通信制御部3hを介して通信ネットワークと送受信したデータは入力信号または出力信号として、入出力インターフェイス3d及びバス3eを介してCPU3aに送受信される。
記憶部3iは、半導体や磁気ディスクで構成されており、CPU3aで実行される、例えば、Do表示を行うためのプログラムやデータが記憶されている。また、後述する、リスクレベルに関するテーブルや確認条件についても記憶されている。
リムーバブルディスク3jは、光ディスクやフレキシブルディスクのことである。ディスクドライブによって読み書きされた信号は、入出力インターフェイス3d及びバス3eを介してCPU3aに送受信される。なおDo表示の処理に必要なアプリケーションは、記憶部3i、或いは、外部記憶媒体を介してリムーバブルディスク3i内に記憶されている。
Do表示部10は、電子カルテを作成する者である医師が電子カルテを作成する際の1つの処理である、Do表示を行うための機能を備えている。従って、電子カルテを作成する者がDo表示を行うためのきっかけとなる処理を行ったことをトリガーとして、Do表示部10の機能が実行される。
図3は、本発明の実施の形態におけるDo表示部10の内部構成を示すブロック図である。Do表示部10は、例えば、電子カルテを作成する者からのDoを実行するための要求を受け付ける受信部11と、判断部12と、リスクレベル決定部13と、決定部14と、表示態様決定部15と、要確認項目の確認に当たっての要確認項目の確認画面を表示部3gに対して送信する送信部16とから構成される。
なお、これら各部の機能、働きについては、以下に説明するDo表示から当該表示内容の確認に至る流れを説明する際に併せて説明する。
次に、Do表示の仕方、すなわち、Do表示の対象となる項目を選択してから電子カルテを作成する者である医師が当該項目の確認を行い、結果としてDo表示がなされるまでを順を追って説明する。なお、ここでは繰り返し行われる処方またはオーダに関するDo表示のうち、繰り返して処方する場合を例に挙げて以下説明する。
図4、図5は、実施の形態におけるDo表示から当該表示内容の確認に至る流れを示すフローチャートである。
電子カルテを作成する者は、電子カルテを作成するに当たって、例えば、サーバ1からカルテのひな形等を読み出して利用する。また、患者の診察やカルテの作成の役に立てるため、これまで作成された当該患者に関するカルテを読み出して電子カルテ作成装置3の表示部3gに表示させることもある。これら電子カルテを作成する流れは既知のことであるので、ここでは説明を省略する。
医師がカルテを作成する中で、例えば、処置や所見の内容、或いは、薬剤の処方についてこれまで作成された過去のカルテと同じ内容を記載することはあり得ることである。その際に、過去のカルテから該当する内容をいわばコピーアンドペーストの要領で今回のカルテに反映させることも行われる。
この背景には、カルテへの記載内容が増加する傾向にあり、全てを診察の都度記載することとするとカルテを作成する医師への負担が大きくなる。一方で、電子カルテ作成装置3の性能向上や電子カルテ作成システムSが構築される等、カルテ自体が電子カルテとなることで、処方等を紙のカルテに記載するよりも記載する行為、つまりカルテを作成する行為自体が簡易かつ便利に行える状態が作出されるようになってきている。
従ってこのような状況の下、安易にDo表示が行えると、カルテの作成についての利便性の向上もさることながら、Do表示された内容に関してチェック(確認)が行き届かないことも考えられる。そこで電子カルテを作成する者である医師が如何に確実にDo表示をしようとする内容について確認を行うかが重要となる。
Do表示がなされる場合には、まず、電子カルテを作成する者によってDo表示を行う範囲(項目)が選択されるので、電子カルテ作成装置3では、当該選択された項目を把握する(ST1)。但し、この段階ではまだ実際にDo表示を行うか否か判別できない。電子カルテ作成システムSでは、例えば、Do表示を行うボタンをクリックする等、Do表示を行うに当たって電子カルテを作成する者に何らかの意思表示を求めるからである。そこで、電子カルテ作成装置3では、選択された項目がDo表示の対象となるか否かを判断する(ST2)。
なお、選択された項目についてDo表示がなされるか否かの判断をDo表示部10において行うか否かについては、任意に設定することができる。例えば、当該判断をDo表示部10において行う場合には、判断部12が選択された項目がDo表示の対象となるか否かを判断する。また、当該判断については電子カルテ作成装置3において行うとの設定の場合には、例えば、CPU3aにおいてその判断が行われることになる。以下においては、判断部12が選択された項目がDo表示の対象となるか否かを判断することを前提に説明を行う。
判断の結果、選択された項目についてDo表示がなされない場合には(ST2のNO)、医師は自ら電子カルテに処置や処方について記入することになる。従って、ここでは項目が選択されたことは把握したものの、Do表示はされない、ということで終了する。
一方、医師によってDo表示をする旨の意思表示がなされた場合には(ST2のYES)、選択された項目についてDo表示を行う為の準備が開始される。Do表示部10(判断部12)は選択された項目に関する情報を記憶部3iから取得する(ST3)。当該項目に関する情報には、例えば、当該項目に示される薬剤に関する情報や当該項目を要確認項目とするか否かについての情報が含まれている。
従って、判断部12は、これらの情報を基に、選択された項目(Do表示を行う予定の項目)が要確認項目であるか否かを判断する(ST4)。ここで「要確認項目」とは、選択された項目のうち処置、処方等に関する重要な項目であるため、Do表示を行うに当たって、何らかの形で電子カルテを作成する者(医師)の確認を必要とする項目のことである。
そのため、選択された項目であっても要確認項目と判断されなければ(ST4のNO)、医師の確認がなくともそのままDo表示しても問題がないことになる。この場合には、次の項目が要確認項目であるか否かが改めて判断される。
次に、選択された項目が要確認項目であると判断された場合には(ST4のYES)、判断部12は確認対象となる項目を特定するとともに、当該要確認項目に関するリスクレベルを決定する(ST5)。判断部12は、リスクレベル決定部13を介して項目ごとにリスクレベルを決定する。
すなわち、まず例えば、薬剤に関する名称、処方量といった項目に関する情報と、予め記憶部3iに記憶されている薬剤とその薬剤の標準的な処方量に関する情報とを比較する。また、薬剤の名称から当該薬剤の特性も併せて取得する。これらの情報を基にDo表示の対象となる薬剤及びその処方量に関するリスクレベルを把握する。
図6は、実施の形態における要確認項目のリスクレベルを示すテーブルの一例である。このテーブルによれば、縦軸に薬剤の特性が示されており、ここでは3つのレベルが示されている。リスクレベルを決定する際に薬剤の特性を把握するのは、その特性によってリスクレベルが大きく異なることになるからである。
なお、当該特性については、例えば、NDP(National Demonstration Project)において定義されている特性を利用する等して設定する。ここではDo表示の対象となる処置、処方等の確認を医師に促すことを目的としていることから、当該特性の定義に当たってはいずれの定義を用いても良い。さらに特性のレベルについては、図6に示すテーブルにおいては3段階に分けて説明しているが、レベルを何段階に分けるかは任意である。
また、図6に示すリスクレベルのテーブルにおいては、患者に処方した場合に重篤な結果を生じさせる可能性の低い薬剤については規定されていない。これは、ここでの実施の形態においては、このような薬剤については要確認項目には含まれないと判断されているからである。
従って、薬剤の特性をどのレベルまでリスクレベルを示すテーブルに規定するかは任意に設定することが可能である。そのため、重篤な結果を生じさせる可能性の低い薬剤についてもリスクレベルを判断し、それぞれ後述する確認条件を電子カルテを作成する者に判断させることとしても良い。
一方、横軸には当該薬剤の処方量に関する適正範囲が示されている。ここでは、適正範囲内にあることを中心に、処方量が適正範囲より大きな場合、小さな場合の3つのレベルが示されている。なお、一般的に考えれば薬剤の処方量が適正範囲程度であれば患者への処方に何らの問題もないが、ここでは薬剤の特性との関係でリスクレベルを設定していることから、処方量が適正範囲程度である場合についてもリスクレベルを設定している。
例えば、薬剤の特性として「成分そのものの毒性が強い薬剤」である場合には、処方量の如何に拘わらずリスクレベルは「A」と決定される。ここで図6に示すテーブルではリスクレベルを表わすものとして「A」、「B」、「C」の3つのレベルが示されており、「A」から「C」に向けてリスクレベルが低減する。例えば、薬剤の特性として「重篤な結果をもたらし得る薬物相互作用をもつ薬剤」である場合であって、処方量が「適正範囲より小さい」場合には、リスクレベルは「C」と決定される。この組み合わせは、リスクレベルがAである「成分そのものの毒性が強い薬剤」の場合よりもリスクレベルが低いと判断されるからである。
なお、薬剤によっては相互作用を持つ場合もある。この場合には、複数の薬剤の組み合わせをテーブルに規定しておきリスクレベルを決定しても良い。また薬剤の組み合わせについては、相互作用の他、Do表示の操作を行う時点で新たに処方される薬剤と、その時点ではまだ有効な期限を持つ、前回処方された薬剤との関係についても判断される。また、診療科が異なるとカルテも替わるので、その場合にもそれぞれの診療科で出された薬剤同士の取り合わせについても確認する必要がある。
また、後述する表示との関係で、例えば、中位のリスクレベルと決定された薬剤が複数ある場合に、これらのリスクレベルとまとめて上げて、より高位のリスクレベルと決定し直す処理も考えられる。これは、このような高位のリスクレベルであれば医師はより注意深く確認を行うことになるからである。また、同位のリスクレベルを示す薬剤等の数が多くなると、表示が散漫になり、結果として全ての項目を表示させているのと同じになってしまい、必要とする情報を医師に届けられなくなる。そこで、いくつかの表示パターンを示すことで、特に重大なリスクレベルを持つ要確認項目の確認を確実に行わせることとしている。このような設定は予め任意に行っておくことができる。
以上のリスクレベルの決定はリスクレベル決定部13においてなされる。また上述したように当該リスクレベルを規定したテーブルは本発明の実施の形態においては記憶部3iに記憶されていることから、リスクレベル決定部13から記憶部3iにアクセスして必要なリスクレベルを決定する。なお、リスクレベルを規定したテーブルは、ここでは電子カルテ作成装置3の記憶部3iに記憶されているが、例えば、Do表示部10内にデータベースを備え、このデータベース内に記憶させておいても良い。
リスクレベル決定部13は、一旦決定した要確認項目の薬剤に関するリスクレベルについて、さらに全体的なリスクレベルの調整が必要であるか否かを確認する(ST6)。ここで「全体的なリスクレベル」とは、リスクレベルを、例えば、電子カルテ作成システムSが構築されている医療機関だけではなく、当該医療機関が設置されている地域を含む広域に設置されている医療機関で共通して設定されているリスクレベルを想定している。また、例えば、当該医療機関を含む医療法人グループにおいて設定されているリスクレベルも考えられる。
仮にこのような全体的なリスクレベルが指定されている場合には、リスクレベル決定部13は一旦決定されたリスクレベルの調整を行う。例えば、「全体的なリスクレベル」として「半年間全てのリスクレベルを1レベル上げる」との指定がなされている場合には(ST6のYES)、当該指定に従ってリスクレベルの調整が行われる(ST7)。例えば、一旦決定されたリスクレベルが「B」の場合には、調整によって「A」となる。また、既にリスクレベルが「A」の場合には、例えば、リスクレベルを「AA」とする、或いは、「A」のまま据え置くといった対応が可能である。
一方、全体的なリスクレベルの調整がない場合(ST6のNO)、或いは、全体的なリスクレベルの調整が終了した場合(ST7)には、次に、個別的なリスクレベルの調整の有無を確認する(ST8)。
この「個別的なリスクレベル」とは、例えば、電子カルテを作成する者である医師の属性に基づくものである。すなわち、電子カルテを作成する医師については、例えば、経験年数や年齢等はそれぞれである。従って、医師が例えば、経験3年未満といった経験が少ない場合や高齢である場合等には、積極的にDo表示の確認をしてもらうべく、リスクレベルを上げることとする。
この「個別的なリスクレベル」によるリスクレベルの調整が必要であるか否かについては、例えば、電子カルテを作成する際に入力される医師を一意的に特定することのできる、例えば医師ID等を基に判断される。当該判断は、例えば判断部12が行い、結果がリスクレベル決定部13に送信される。リスクレベル決定部13では、当該結果に基づいて、個別的なリスクレベルの調整を行い(ST8のYES、ST9)、或いは、調整を行わない(ST8のNO)。
ここでは、例えば、当該個別的なリスクレベルの調整が必要な場合には、リスクレベルを必ず1つ上げる、といった設定が可能である。また、医師の属性に合わせてリスクレベルの変動を細かく設定して調整することも可能である。さらに場合によってはリスクレベルを下げるといった設定も考えられる。
以上説明したリスクレベルの決定、リスクレベルの調整については、いずれの処理が先でも、或いは、両者が並行して処理されても良い。
最終的にリスクレベル決定部13において個々の要確認項目についてリスクレベルが決定された場合には、決定部14において確認条件が決定される(図5のST10)。ここで、「確認条件」とは、要確認項目ごとに決定されたリスクレベルに基づいた、電子カルテを作成する者である医師が行う確認の条件のことである。
図7は、実施の形態におけるリスクレベルの確認条件を示すテーブルの一例である。当該テーブルには、「リスクレベル」と紐づけられる「確認条件」が規定されている。例えば、リスクレベルが「A」の場合、確認条件としては、「操作による確認が必要」とされる。すなわち、要確認項目のリスクレベルがAである場合、電子カルテを作成する医師は、Do表示を行うに当たって、当該Do表示の対象となる項目が適切であるか否か、予め定められている確認処理を行う必要がある。また、Do表示部10としては、表示態様決定部15において医師が確認を行うための操作を行うことができる画面表示を生成して表示部3g上に表示させることになる。
一方、リスクレベルが「B」の場合、「表示が3秒以上」との確認条件である。これは、表示部3g上に表示させる確認を行うための表示を「3秒以上」表示させることを意味している。表示する時間については、もちろん任意に設定することが可能である。
リスクレベルが「C」の場合、確認条件は「2回に1回の割合で確認すれば良い」となる。ここでの回数は、電子カルテを作成する回数である。従って、「2回に1回の割合での確認」とは、今回新たに電子カルテを作成する場合を例に挙げて説明すると、前々回の電子カルテ作成の際にリスクレベルCの要確認項目について確認されている場合には、前回、今回とDo表示されている内容については、今回改めて当該要確認項目の確認を必要とする。一方で、前回の電子カルテ作成の際に確認が行われている場合には、今回の電子カルテ作成においては確認しなくても足りる、ということである。
従って、この場合には、以前いつ当該要確認項目について確認処理が行われたか否かに関する情報が把握されていなければならない。例えば、当該情報は電子カルテ作成装置3の記憶部3iに記憶されていても良い。
なお、確認条件について、上述した条件の他、例えば、一定の期間が経過した場合には必ず確認するといった条件としたり、或いは、複数の確認条件を適宜組み合わせて利用するということも可能である。
例えば、「薬剤ごとに確認が必要とされる期間」と「Do表示がなされる期間(患者の診察が行われる間隔)」との確認条件が存在する場合を例に挙げて説明する。図8は、実施の形態における確認条件の一例を説明するための説明図である。
図8には数直線が上下2本示されており、上段の数直線αが「薬剤ごとに確認が必要とされる期間」を示しており、下段の数直線βが「Do表示がなされる期間(患者の診察が行われる間隔)」を示している。「薬剤ごとに確認が必要とされる期間」として、例えば、2週間ごとの確認が必要とされることを前提とする。そのため、数直線αでは、1目盛りが1週間を表わし、確認が必要とされる2週間ごとに三角形のマークが付されている。一方、患者の診察の間隔、すなわち、Do表示がなされる期間は「5日」であることを前提とする。従って、数直線βでは、Do表示がなされる期間の5日を1目盛りとして表わしている。また、数直線の始まりは、患者に対する診察が行われた時点を示している。こと時には、当然当該患者に対して初めて薬剤の処方がなされることになるため、電子カルテを作成する者である医師も新たに電子カルテに当該薬剤の処方を記入することになる。従って、この後の診察の際にDo表示がなされることになる。
上述したように、ここでは、「薬剤ごとに確認が必要とされる期間」を2週間ごととしている。従って、この期間の間に2度の診察(Do表示が行われる機会)があることになる。ただ、この2度の診察の際には最初に薬剤を処方してから「薬剤ごとに確認が必要とされる期間」の2週間を経過していないことから、確認の度合いを下げて対応することが可能である。一方、最初の診察から3度目(通算で4度目)の診察が行われる際には、「薬剤ごとに確認が必要とされる期間」の2週間を経過することになるため、このタイミングで電子カルテを作成する者は十分な確認を必要とする。このように複数の確認条件を適宜組み合わせて利用することで、電子カルテを作成する者はより必要かつ適切な確認を行うことができる。
また、上述した確認の頻度を、例えば、薬剤の種類や確認期間等によって適宜変更することによって、電子カルテを作成する者の確認対象に対する「確認の濃さ」を適切なものとすることができる。このことは、電子カルテを作成する者にとってみればメリハリの利いた確認を行うことになるため、より一層確実な確認を行うことにつながる。
要確認項目について、決定部14において確認条件が決定された場合には、さらに要確認項目が選択されているか否か確認する(ST11)。判断部12による判断の結果、まだリスクレベル、確認条件の決定がなされていない確認項目が残っている場合には(ST11のYES)、再度ステップST4に戻って上述した一連の処理が行われる(図4参照)。
一方、全ての項目についてリスクレベル、確認条件の決定がなされた場合には、要確認項目について表示態様決定部15において表示態様が決定されて、医師に対して確認の報知を行う(ST12)。ここでの報知については、表示部3g上に確認のための表示を挙げる方法の他、後述するように確認事項を医師に読み上げてもらう、電子カルテ作成装置3が確認事項を読み上げるといった音声による報知の方法も考えられる。従って、表示態様決定部15においては、音声による報知にも対応する。図5においては、表示部3g上に医師による確認処理を行う為の画面を表示させることを前提としてその流れを説明している。
図9は、実施の形態における表示画面の一例を示す画面例である。表示態様決定部15では、決定部14において決定された確認条件を基に、当該確認条件に合ったDo表示を行うか否かの確認を行うための表示(報知)の態様を決定する。
図9に示す当該画面例Xには、上段に患者に関する情報が表示される領域が設けられている。また、左側には診察によって得られた状況を入力する領域が、右側には処方する薬剤等が表示される領域が設けられている。ここでは、過去のカルテを基に薬剤についてDo表示された場合である。Do表示された薬剤が2種類表示されており、そのうち「アルケラン」について、電子カルテの作成者である医師に対してDo表示を行うか否かの確認を行う画面が電子カルテを作成する画面の上に表示されている。ここでは、抗がん剤である「アルケラン」を再度処方するか否か、つまりDo表示でカルテに記載するか否かの確認が行われている。
医師は、当該「アルケラン」をDo表示させるには、確認ボタンをクリックして当該表示を確認、承認する必要がある。
医師による確認処理が行われたか否かについては、判断部12において判断される(ST13)。例えば、医師によって図9に示すような画面上の確認ボタンがクリックされたか否かである。医師による確認がなされない場合には(ST13のNO)、例えば、さらに所定の時間待機した上で、さらに確認処理が行われたか否を確認する(ST14のNO)。なお、ここで確認処理が行われたか否かを判断するための待機時間を設けるか否かについては、任意に設定することができる。また待機時間についても同様に任意に設定することができる。
もし、所定の待機時間内に確認処理が行われなかった場合(ST14のYES)、要確認項目について医師の確認が取れなかったということになるため、Do表示を行う処理自体を中止する(ST15)。このまま確認が取れないままDo表示を行うことは、医師の承認無しに薬剤を処方することにつながるからである。具体的には、確定の処理が無効となる、或いは、例えば、Do表示を行うために選択された範囲を解除する、といった方法によってDo表示ができないように処理される。
医師による確認処理が行われた場合には(ST13のYES)、次の要確認項目があるか否かが確認される(ST16)。判断部12によって次の要確認項目があると判断された場合には(ST16のYES)、ステップST12に戻って続けて医師による確認処理を行う。なお、ここでは要確認項目ごとに医師の確認処理を要求しているが、例えば、要確認項目の数等の条件によっては、要確認項目をまとめて確認処理に回すことも考えられる。
また、要確認項目の表示の態様については、表示態様決定部15において、表示部3gにおける表示可能な領域の大きさを確認し、その領域を前提として表示態様を決定する。もし表示領域が大きい場合であって、Do表示を行う対象が、要確認項目も含めて全て表示可能であると判断した場合には、当該対象を全て表示させる。一方、表示領域が小さくDo表示の対象を全て表示させることが困難と判断できる場合には、要確認項目のみを抽出して当該要確認項目のみを表示させる。もちろん、表示領域の大きさに合わせて要確認項目のうちリスクレベルの高い項目のみを表示させる、といった態様を採ることも可能である。
また、一度に全てのDo表示を行う対象を表示することができなくとも、自動的に表示画面をスクロールさせて、要確認項目の表示がなされた場合にはそのスクロールを一時的に止めて、医師に対する確認画面を表示させるといった表示方法もある。さらには、要確認項目を別途リスト化して表示させる、要確認項目のみフォントや表示の色彩を変更して表示させる等の、医師の注意を引き確認を促す態様であればいずれの方法を採用しても良い。
次の要確認項目がない場合には(ST16のNO)、これで選択された項目中、全ての要確認項目について確認処理が行われたことになるため、確認処理が終了する(ST17)。この状態で、選択された項目の全てがDo表示されることになる(ST18)。
図10、図11は、実施の形態における表示画面の一例を示す別の画面例である。図10、図11においては、医師による確認処理が携帯情報端末(電子カルテ作成装置3A)の画面上で行われる場合を示している。
今後iPad(登録商標)に代表される、携帯情報端末の一層の普及が考えられる。また、医師がこれらの携帯情報端末を利用して様々な場所、場面で利用することも考えられる。従って、医師によるDo表示の確認もよりコンパクトな画面でも確実に行われなければならない。
例えば、図10の画面例Yでは、A及びBで示される領域に過去の処置、処方が記入されており、一方、C及びDで示される領域には、今回の処置、処方が記入されることになる。また、画面例Yの中段以下には、「処置Do」と記載されたタブと「処方Do」と記載されたタブとがそれぞれ2つずつ示されている。このタブを操作することによって、A及びBで示される領域に記載されている内容が、C及びDで示される領域にDo表示可能とされる。
図11には、Do表示を行うに当たっての確認画面が示されている。ここでは、薬剤の処方に関しての確認処理に関する画面である(画面最上段に「処方Do確認」とある)。当該画面例Zでは、2種類の薬剤について表示されており、そのうち「ボナロン」という薬剤についてDo表示するに当たっての確認画面が表示されている。ここでは、対象となる要確認項目を示す領域の色を変更して対象を明確にするとともに、「劇薬が1種類(色変更)含まれています。読み上げ確認をして下さい。」とのメッセージが表示されている。従って、この画面例Zでは、医師に要確認項目を言わせることによって、Do表示を行うか否かの確認を行っている。
医師が読み上げた後、「Do実行」の部分をタップすることで、確認処理がなされたことになる。なお、例えば、医師が読み上げた音声を電子カルテ作成装置3Aが把握し、確認処理を行った上で、「Do実行」を行っても良い。
以上説明した通り、電子カルテの作成に当たってDo表示を行う際に、単にDo表示を指示するだけではなく、表示される項目ごとにその確認の優先度を決定してその優先度に基づいて画面表示することによって、要確認項目のDo表示の確認を簡易かつ確実に行うことが可能な電子カルテ作成装置及び電子カルテ作成システムを提供することができる。
これによって、Do表示を行うことに起因する指示、伝達の誤りを減少させることができる。
本発明の実施形態を説明したが、この実施形態は、例として提示したものであり、発明の範囲を限定することを意図していない。この実施形態は、その他の様々な形態で実施されることが可能であり、発明の要旨を逸脱しない範囲で、種々の省略、置き換え、変更を行うことができる。
例えば、Do表示について、事前に様々な内容を確認するべく仮にDo表示を行う場合と、実際にDo表示されるべく確認の処理を行う場合とでリスクレベル及び当該リスクレベルに対応する確認条件を両者において変更する方法も採用しうる。この場合には電子カルテを作成する者に対して確認のステップが増えることになるため、はじめの段階ではリスクレベルを下げる方法も考えられる。
また、これまでの説明では、薬剤の処方を例に挙げて説明した。但し、当該薬剤の処方(オーダ)に限られず、例えば、注射オーダ、治療オーダ、或いは、検査オーダといった、各種の医療オーダに関してDo表示を行う場合にも適用することができる。なお、ここで「注射オーダ」とは、注射を行うという処置を行うオーダ、或いは、注射に入れられる薬剤のオーダを意味する。また、「治療オーダ」とは、診察(電子カルテが作成された)後に行われる治療のオーダである。さらに「検査オーダ」は、患者に対する検査のオーダを示している。
この実施形態やその変形は、発明の範囲や要旨に含まれると共に、特許請求の範囲に記載された発明とその均等の範囲に含まれる。
1 サーバ
2 医用画像診断装置
3 電子カルテ作成装置
10 Do表示部
11 受信部
12 判断部
13 リスクレベル決定部
14 決定部
15 表示態様決定部
16 送信部

Claims (16)

  1. 繰り返し処方またはオーダの対象となる記入項目の内容を記憶する記憶部と、
    前記記入項目の内容を表示する表示部と、
    表示された前記記入項目の内容について前記繰り返し処方またはオーダを行うか否かの入力を行うための入力部と、
    前記記入項目それぞれのリスクレベルを決定するリスクレベル決定部と、
    前記リスクレベル決定部において決定されたリスクレベルを基に確認条件を決定する決定部と、
    前記確認条件に応じて、要確認項目を前記繰り返し処方またはオーダすることの是非を確認するための画面表示の表示態様を決定するとともに、前記リスクレベル決定部によって前記要確認項目ごとに決定された前記リスクレベルに応じた前記表示態様の表示を前記表示部に対して指示する表示態様決定部と、
    を備えることを特徴とする電子カルテ作成装置。
  2. 前記リスクレベル決定部は、一般的な情報に基づいて予め定められている全体的なリスクレベルと、電子カルテを作成する者の属性に基づいて定められる個別的なリスクレベルとを基に、前記要確認項目に対する確認条件を設定することを特徴とする請求項に記載の電子カルテ作成装置。
  3. 前記要確認項目を確認したと判断した場合に、前記繰り返し処方またはオーダの実施を可能との判断を行う判断部を備えることを特徴とする請求項1または請求項に記載の電子カルテ作成装置。
  4. 前記表示態様決定部は、前記記入項目、或いは、前記要確認項目については前記リスクレベル決定部によって決定された前記リスクレベルも参考として、前記表示部への表示順序を決定することを特徴とする請求項1ないし請求項のいずれかに記載の電子カルテ作成装置。
  5. 前記表示態様決定部は、前記要確認項目の内容に応じて、前記電子カルテを作成する者に前記要確認項目を繰り返し処方またはオーダすることの確認を促す前記表示態様とする決定を行うことを特徴とする請求項1ないし請求項のいずれかに記載の電子カルテ作成装置。
  6. 前記判断部は、前記電子カルテを作成する者に対して前記要確認項目を繰り返し処方またはオーダすることの確認を促すに当たって、前記要確認項目の前記表示部における表示時間を基に前記要確認項目を繰り返し処方またはオーダすることについて確認されたと判断することを特徴とする請求項に記載の電子カルテ作成装置。
  7. 前記表示態様決定部は、前記要確認項目の内容に応じて、電子カルテを作成する者に前記要確認項目を繰り返し処方またはオーダすることについて操作による確認、承認を実際に行わせるための前記表示態様とする決定を行うことを特徴とする請求項1ないし請求項のいずれかに記載の電子カルテ作成装置。
  8. 前記判断部は、前記要確認項目の内容に関して、前記電子カルテを作成する者によって前記表示部に表示された確認ボタンがクリックされたことを示す情報を受け取った場合に、前記要確認項目を繰り返し処方またはオーダすることについて確認されたと判断することを特徴とする請求項に記載の電子カルテ作成装置。
  9. 前記判断部は前記要確認項目の内容に関して、前記電子カルテを作成する者による、繰り返し処方またはオーダされる前記要確認項目の読み上げがなされることによって、前記要確認項目を繰り返し処方またはオーダすることについて確認されたと判断することを特徴とする請求項に記載の電子カルテ作成装置。
  10. 前記表示態様決定部は、前記要確認項目の多寡に応じて前記画面表示の表示方法を選択することを特徴とする請求項1ないし請求項のいずれかに記載の電子カルテ作成装置。
  11. 前記表示態様決定部は、前記要確認項目の表示領域の大きさに応じて前記画面表示の表示方法を選択することを特徴とする請求項1ないし請求項10のいずれかに記載の電子カルテ作成装置。
  12. 繰り返し処方またはオーダの対象となる医療オーダの記入項目の内容を記憶する記憶部と、
    前記記入項目の内容を表示する表示部と、
    表示された前記記入項目の内容について前記繰り返し処方またはオーダを行うか否かの入力を行うための入力部と、
    前記記入項目それぞれのリスクレベルを決定するリスクレベル決定部と、
    前記リスクレベル決定部において決定されたリスクレベルを基に確認条件を決定する決定部と、
    前記確認条件に応じて、要確認項目を前記繰り返し処方またはオーダすることの是非を確認するための画面表示の表示態様を決定するとともに、要確認項目ごとに前記表示部に対して決定された前記表示態様の表示を指示する表示態様決定部と、を備え、
    前記決定部は、前記リスクレベルに応じた前記表示態様の表示頻度を前記確認条件の1つとして決定することを特徴とする電子カルテ作成装置。
  13. 前記表示頻度は、前記医療オーダの前記記入項目の内容に基づいて決定されることを特徴とする請求項12に記載の電子カルテ作成装置。
  14. 前記表示頻度は、前記医療オーダごとの確認間隔と前記医療オーダに基づく処置、或いは、処方がなされた日との関係から決定されることを特徴とする請求項12または請求項13に記載の電子カルテ作成装置。
  15. これまでに作成された電子カルテを保存するサーバと、
    前記電子カルテの作成に当たって必要な医用画像を取得する医用画像診断装置と、
    請求項1ないし請求項11のいずれかに記載の電子カルテ作成装置と、
    を備えることを特徴とする電子カルテ作成システム。
  16. これまでに作成された電子カルテを保存するサーバと、
    前記電子カルテの作成に当たって必要な医用画像を取得する医用画像診断装置と、
    請求項12ないし請求項14のいずれかに記載の電子カルテ作成装置と、
    を備えることを特徴とする電子カルテ作成システム。
JP2013168018A 2012-08-13 2013-08-13 電子カルテ作成装置及び電子カルテ作成システム Active JP6257953B2 (ja)

Priority Applications (2)

Application Number Priority Date Filing Date Title
JP2013168018A JP6257953B2 (ja) 2012-08-13 2013-08-13 電子カルテ作成装置及び電子カルテ作成システム
PCT/JP2013/071874 WO2014027661A1 (ja) 2012-08-13 2013-08-13 電子カルテ作成装置及び電子カルテ作成システム

Applications Claiming Priority (3)

Application Number Priority Date Filing Date Title
JP2012179304 2012-08-13
JP2012179304 2012-08-13
JP2013168018A JP6257953B2 (ja) 2012-08-13 2013-08-13 電子カルテ作成装置及び電子カルテ作成システム

Publications (2)

Publication Number Publication Date
JP2014056570A JP2014056570A (ja) 2014-03-27
JP6257953B2 true JP6257953B2 (ja) 2018-01-10

Family

ID=50613794

Family Applications (1)

Application Number Title Priority Date Filing Date
JP2013168018A Active JP6257953B2 (ja) 2012-08-13 2013-08-13 電子カルテ作成装置及び電子カルテ作成システム

Country Status (2)

Country Link
JP (1) JP6257953B2 (ja)
WO (1) WO2014027661A1 (ja)

Families Citing this family (1)

* Cited by examiner, † Cited by third party
Publication number Priority date Publication date Assignee Title
CN118366598B (zh) * 2024-06-20 2024-10-11 武汉盛博汇信息技术有限公司 一种电子病历模板更新方法、装置、电子设备及介质

Family Cites Families (9)

* Cited by examiner, † Cited by third party
Publication number Priority date Publication date Assignee Title
MX9702723A (es) * 1994-10-28 1998-04-30 Advanced Health Med E Systems Sistema de administracion de recetas.
JP2000200316A (ja) * 1998-12-29 2000-07-18 Sanyo Electric Co Ltd 電子カルテ装置
JP2002334153A (ja) * 2001-05-08 2002-11-22 Csi Co Ltd 電子カルテシステム
JP2003022412A (ja) * 2001-07-10 2003-01-24 Hitachi Systems & Services Ltd データ入力装置およびその方法
JP4866576B2 (ja) * 2005-07-11 2012-02-01 インフォコム株式会社 診療支援システム
JP2007037823A (ja) * 2005-08-04 2007-02-15 Matsushita Electric Ind Co Ltd 調剤支援システム
US20100161355A1 (en) * 2008-11-20 2010-06-24 Peter Stangel Single field entry electronic clinical chart note entry system
JP5245954B2 (ja) * 2009-03-18 2013-07-24 富士通株式会社 処方オーダ発行プログラム、処方オーダ発行装置及び方法
US20120109686A1 (en) * 2010-11-01 2012-05-03 Oxbow Intellectual Property, LLC Electronic medical record system and method

Also Published As

Publication number Publication date
WO2014027661A1 (ja) 2014-02-20
JP2014056570A (ja) 2014-03-27

Similar Documents

Publication Publication Date Title
JP6280056B2 (ja) 診療支援装置、診療支援装置の作動方法および作動プログラム、並びに診療支援システム
EP2704045A2 (en) Apparatus and method for providing medical support
US11216171B2 (en) Medical image management apparatus and recording medium
US20160188841A1 (en) Medical support apparatus, system and method for medical service
US20120131436A1 (en) Automated report generation with links
JP2013041588A (ja) 医学的プレゼンテーション・クリエータ
JP6257953B2 (ja) 電子カルテ作成装置及び電子カルテ作成システム
CA3083090A1 (en) Medical examination support apparatus, and operation method and operation program thereof
JP7259363B2 (ja) 患者管理装置、患者管理方法、プログラム
Kuzmak et al. Minimizing Digital Imaging and Communications in Medicine (DICOM) modality worklist patient/study selection errors
JP5662394B2 (ja) 医療支援装置及び医療支援方法
US20220180989A1 (en) Medical care support device
JP5546780B2 (ja) 医用画像読影依頼装置、及び医用画像読影依頼システム
JP2008229244A (ja) 医用画像システム
JP5302684B2 (ja) ルールベースコンテキスト管理のためのシステム
JP7718079B2 (ja) 撮影支援装置、撮影支援システム、撮影支援方法及びプログラム
US20230197247A1 (en) Radiographic interpretation management apparatus, storage medium, and radiographic interpretation management method
US11599319B2 (en) Display apparatus, display system, and storage medium
JP5825063B2 (ja) 医用情報処理装置
US20230245760A1 (en) Display apparatus, image management server, and recording medium
JP7752581B2 (ja) 表示制御装置、表示制御装置の作動方法、および表示制御装置の作動プログラム
US20180239876A1 (en) Optimal contrast injection protocol engine
US12082949B2 (en) Selection support system and storage medium
US20240071580A1 (en) Medical information processing apparatus, medical information processing system, medical information processing method, and recording medium
US20230290469A1 (en) Recording medium, information processing apparatus, healthcare worker terminal, information processing system and healthcare worker system

Legal Events

Date Code Title Description
RD01 Notification of change of attorney

Free format text: JAPANESE INTERMEDIATE CODE: A7421

Effective date: 20150703

A711 Notification of change in applicant

Free format text: JAPANESE INTERMEDIATE CODE: A711

Effective date: 20160527

A621 Written request for application examination

Free format text: JAPANESE INTERMEDIATE CODE: A621

Effective date: 20160614

A131 Notification of reasons for refusal

Free format text: JAPANESE INTERMEDIATE CODE: A131

Effective date: 20170829

A521 Written amendment

Free format text: JAPANESE INTERMEDIATE CODE: A523

Effective date: 20171024

TRDD Decision of grant or rejection written
A01 Written decision to grant a patent or to grant a registration (utility model)

Free format text: JAPANESE INTERMEDIATE CODE: A01

Effective date: 20171107

A61 First payment of annual fees (during grant procedure)

Free format text: JAPANESE INTERMEDIATE CODE: A61

Effective date: 20171206

R150 Certificate of patent or registration of utility model

Ref document number: 6257953

Country of ref document: JP

Free format text: JAPANESE INTERMEDIATE CODE: R150

S533 Written request for registration of change of name

Free format text: JAPANESE INTERMEDIATE CODE: R313533

R350 Written notification of registration of transfer

Free format text: JAPANESE INTERMEDIATE CODE: R350