JP6257348B2 - 固体撮像装置、撮像システム及び複写機 - Google Patents

固体撮像装置、撮像システム及び複写機 Download PDF

Info

Publication number
JP6257348B2
JP6257348B2 JP2014008802A JP2014008802A JP6257348B2 JP 6257348 B2 JP6257348 B2 JP 6257348B2 JP 2014008802 A JP2014008802 A JP 2014008802A JP 2014008802 A JP2014008802 A JP 2014008802A JP 6257348 B2 JP6257348 B2 JP 6257348B2
Authority
JP
Japan
Prior art keywords
photoelectric conversion
solid
imaging device
state imaging
conversion unit
Prior art date
Legal status (The legal status is an assumption and is not a legal conclusion. Google has not performed a legal analysis and makes no representation as to the accuracy of the status listed.)
Expired - Fee Related
Application number
JP2014008802A
Other languages
English (en)
Other versions
JP2015139054A (ja
Inventor
智 加藤
智 加藤
Current Assignee (The listed assignees may be inaccurate. Google has not performed a legal analysis and makes no representation or warranty as to the accuracy of the list.)
Canon Inc
Original Assignee
Canon Inc
Priority date (The priority date is an assumption and is not a legal conclusion. Google has not performed a legal analysis and makes no representation as to the accuracy of the date listed.)
Filing date
Publication date
Application filed by Canon Inc filed Critical Canon Inc
Priority to JP2014008802A priority Critical patent/JP6257348B2/ja
Priority to US14/601,025 priority patent/US20150206910A1/en
Publication of JP2015139054A publication Critical patent/JP2015139054A/ja
Application granted granted Critical
Publication of JP6257348B2 publication Critical patent/JP6257348B2/ja
Expired - Fee Related legal-status Critical Current
Anticipated expiration legal-status Critical

Links

Images

Classifications

    • HELECTRICITY
    • H04ELECTRIC COMMUNICATION TECHNIQUE
    • H04NPICTORIAL COMMUNICATION, e.g. TELEVISION
    • H04N1/00Scanning, transmission or reproduction of documents or the like, e.g. facsimile transmission; Details thereof
    • H04N1/024Details of scanning heads ; Means for illuminating the original
    • H04N1/028Details of scanning heads ; Means for illuminating the original for picture information pick-up
    • HELECTRICITY
    • H04ELECTRIC COMMUNICATION TECHNIQUE
    • H04NPICTORIAL COMMUNICATION, e.g. TELEVISION
    • H04N25/00Circuitry of solid-state image sensors [SSIS]; Control thereof
    • H04N25/70SSIS architectures; Circuits associated therewith
    • H04N25/703SSIS architectures incorporating pixels for producing signals other than image signals
    • H04N25/704Pixels specially adapted for focusing, e.g. phase difference pixel sets
    • HELECTRICITY
    • H10SEMICONDUCTOR DEVICES; ELECTRIC SOLID-STATE DEVICES NOT OTHERWISE PROVIDED FOR
    • H10FINORGANIC SEMICONDUCTOR DEVICES SENSITIVE TO INFRARED RADIATION, LIGHT, ELECTROMAGNETIC RADIATION OF SHORTER WAVELENGTH OR CORPUSCULAR RADIATION
    • H10F39/00Integrated devices, or assemblies of multiple devices, comprising at least one element covered by group H10F30/00, e.g. radiation detectors comprising photodiode arrays
    • H10F39/10Integrated devices
    • H10F39/12Image sensors
    • H10F39/18Complementary metal-oxide-semiconductor [CMOS] image sensors; Photodiode array image sensors
    • HELECTRICITY
    • H10SEMICONDUCTOR DEVICES; ELECTRIC SOLID-STATE DEVICES NOT OTHERWISE PROVIDED FOR
    • H10FINORGANIC SEMICONDUCTOR DEVICES SENSITIVE TO INFRARED RADIATION, LIGHT, ELECTROMAGNETIC RADIATION OF SHORTER WAVELENGTH OR CORPUSCULAR RADIATION
    • H10F39/00Integrated devices, or assemblies of multiple devices, comprising at least one element covered by group H10F30/00, e.g. radiation detectors comprising photodiode arrays
    • H10F39/80Constructional details of image sensors
    • H10F39/802Geometry or disposition of elements in pixels, e.g. address-lines or gate electrodes
    • HELECTRICITY
    • H10SEMICONDUCTOR DEVICES; ELECTRIC SOLID-STATE DEVICES NOT OTHERWISE PROVIDED FOR
    • H10FINORGANIC SEMICONDUCTOR DEVICES SENSITIVE TO INFRARED RADIATION, LIGHT, ELECTROMAGNETIC RADIATION OF SHORTER WAVELENGTH OR CORPUSCULAR RADIATION
    • H10F39/00Integrated devices, or assemblies of multiple devices, comprising at least one element covered by group H10F30/00, e.g. radiation detectors comprising photodiode arrays
    • H10F39/80Constructional details of image sensors
    • H10F39/813Electronic components shared by multiple pixels, e.g. one amplifier shared by two pixels

Landscapes

  • Engineering & Computer Science (AREA)
  • Multimedia (AREA)
  • Signal Processing (AREA)
  • Transforming Light Signals Into Electric Signals (AREA)
  • Facsimile Heads (AREA)

Description

本発明は、複写機、画像スキャナなどに用いられる固体撮像装置、撮像システム及び複写機に関する。
近年、固体撮像装置は、解像度向上に伴う画素数の増加に伴い、画素サイズの縮小が求められる傾向にある。画素サイズ縮小に対応するための技術として、特許文献1に示されるような画素共有化技術が知られている。特許文献1では、複数の画素(フォトダイオード)でフローティングディフュージョン以降の回路を共有化することにより、画素面積の縮小を図っている。
特開平9−46596号公報
しかし、複写機等に用いられるラインセンサに特許文献1の技術を適用した場合、以下のような課題が生じる。特許文献1では、一つの読み出し回路で複数の画素信号を読み出すため、フローティングディフュージョンを共有化した画素同士の読み出しのタイミングが異なる。つまり、複数の光電変換部の各々が蓄積した電荷あるいは電荷に基づく信号を保持するメモリを共有した画素間では電荷蓄積を終了するタイミングがずれる。これにより、撮像位置にずれが生じ、固定パターンノイズの悪化や色ずれに代表される解像度の劣化といった画質の低下を引き起こす。
本発明の目的は、電荷蓄積を終了するタイミングのずれに起因した固定パターンノイズや色ずれを低減することができる固体撮像装置、撮像システム及び複写機を提供することである。
本発明の固体撮像装置は、複数のセルとメモリとを有し、原稿に対して第1の方向で相対的に走査される固体撮像装置であって、前記複数のセルの各々は、光を電荷に変換して蓄積する第1の光電変換部と、前記第1の光電変換部に対して前記第1の方向に配置された、光を電荷に変換して蓄積する第2の光電変換部とを有し、前記メモリは、前記第1及び第2の光電変換部に対して共通に設けられ、前記第1及び第2の光電変換部の各々が蓄積した電荷もしくは前記電荷に基づく信号を保持し、前記第1及び第2の光電変換部の電荷蓄積を終了するタイミングのずれをbとし、前記第1及び第2の光電変換部が電荷蓄積を終了してから再び電荷蓄積を行って次に電荷蓄積を終了するまでの期間をaとし、nを1以上の整数とし、前記複数のセルのうちの一のセルの前記第1の光電変換部と、前記一のセルと前記第1の方向に対して直交する第2の方向で隣接する別のセルの前記第1の光電変換部との間隔をxとした場合に、前記一のセルの前記第1及び第2の光電変換部の前記第1の方向の間隔は、{n+(b/a)}×xであることを特徴とする。
第1及び第2の光電変換部の電荷蓄積を終了するタイミングのずれによって生じる固定パターンノイズや副走査方向の色ずれを低減することができる。
本発明の第1の実施形態による固体撮像装置の構成例を示す図である。 図1の画素セルの構成例を示す図である。 図1の画素セルのタイミングチャートである。 図1の画素領域のレイアウト構成例を示す図である。 図2とは異なる画素セルの構成例を示す図である。 図5の画素セルのタイミングチャートである。 図1の画素領域のレイアウト構成例を示す図である。 固体撮像装置の構成例を示す図である。 図8の画素領域の構成例を示す図である。 図8の画素領域のタイミングチャートである。 図8の画素領域のタイミングチャートである。 図8の画素領域のレイアウト構成例を示す図である。 本発明の第2の実施形態による固体撮像装置の構成例を示す図である。 図13の画素領域のレイアウト構成例を示す図である。 本発明の第3の実施形態による撮像システムの構成例を示す図である。
(第1の実施形態)
図1は、本発明の第1の実施形態による固体撮像装置の構成例を示す図である。画素アレイ100は、1次元に配列された複数の画素セル110を有し、入射光に応じた複数の画素信号を出力する。複数の電流源200は、それぞれ、複数の画素セル110内の増幅器を所定の動作点で動作させるための電流源である。信号処理回路300は、画素アレイ100から入力した画素信号を処理し、外部出力線400へ出力する。固体撮像装置は、例えば、複写機等に用いられるラインセンサであり、原稿に対して相対的に走査されることにより、2次元画像を生成することができる。複写機は、固体撮像装置と、固体撮像装置が出力する信号を処理する信号処理部とを備える。複写機は、固体撮像装置が出力する信号を信号処理部が処理した信号を用いて、印刷を行う。
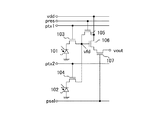
図2は、図1の画素セル110の構成例を示す回路図である。画素セル110の各々は、第1の光電変換部101、第2の光電変換部102、第1の転送トランジスタ103、第2の転送トランジスタ104、リセットトランジスタ105、増幅トランジスタ106、及び選択トランジスタ107を有する。光電変換部101及び102は、例えばフォトダイオードであり、光を電荷に変換して蓄積する。ここで、フォトダイオード101及び102は、相互に異なる分光感度特性を有する。フォトダイオード101及び102の電荷に基づく画素出力は、最終的にそれぞれ一つの画素信号として画像処理される。フローティングディフュージョンvfdは、電荷を蓄積する。第1の転送トランジスタ103は、パルスptx1に応じて、フォトダイオード101に蓄積されている電荷をフローティングディフュージョンvfdに転送する。第2の転送トランジスタ104は、パルスptx2に応じて、フォトダイオード102に蓄積されている電荷をフローティングディフュージョンvfdに転送する。リセットトランジスタ105は、パルスpresに応じて、フローティングディフュージョンvfdを電源電位(リセット電位)vddにリセットする。増幅トランジスタ106は、フローティングディフュージョンvfd電位を増幅して出力する。選択トランジスタ107は、パルスpselに応じて、増幅トランジスタ106の出力信号を出力端子voutに出力する。出力端子voutは、図1の電流源200及び信号処理回路300に接続される。
図3は、図2の画素セル110の制御方法を示すタイミングチャートである。時刻t1では、パルスpresがローレベルとなり、リセットトランジスタ105がオフし、フローティングディフュージョンvfdのリセットが解除される。時刻t2では、パルスptx1がハイレベルになり、転送トランジスタ103がオンし、フォトダイオード101からフローティングディフュージョンvfdへの電荷転送が開始される。時刻t3では、パルスptx1がローレベルとなり、転送トランジスタ103がオフし、フォトダイオード101からフローティングディフュージョンvfdへの電荷転送が終了する。なお、時刻t3は、フォトダイオード101の電荷蓄積期間の終了を意味する。時刻t3以前の期間は、フォトダイオード101が入射光を電荷に変換して蓄積する電荷蓄積期間である。増幅トランジスタ106は、フローティングディフュージョンvfdの電荷に応じた電圧を、選択トランジスタ107を介して出力端子voutに出力する。
時刻t4では、パルスpres及びptx1がハイレベルになり、リセットトランジスタ105及び転送トランジスタ103がオンし、フォトダイオード101及びフローティングディフュージョンvfdが電源電位vddにリセットされる。時刻t5では、パルスptx1がローレベルになり、転送トランジスタ103がオフし、フォトダイオード101のリセットが終了する。それと共に、固体撮像装置が原稿に対して相対的に走査され、フォトダイオード101の次行分の電荷蓄積期間が開始される。その後、パルスpresローレベルになり、リセットトランジスタ105がオフする。
時刻t6では、パルスptx2がハイレベルになり、転送トランジスタ104がオンし、フォトダイオード102からフローティングディフュージョンvfdへの電荷転送が開始される。時刻t7では、パルスptx2がローレベルになり、転送トランジスタ104がオフし、フォトダイオード102からフローティングディフュージョンvfdへの電荷転送が終了する。時刻t7は、フォトダイオード102の電荷蓄積期間の終了を意味する。時刻t7以前の期間は、フォトダイオード102が入射光を電荷に変換して蓄積する電荷蓄積期間である。増幅トランジスタ106は、フローティングディフュージョンvfdの電荷に応じた電圧を、選択トランジスタ107を介して出力端子voutに出力する。
時刻t8では、パルスpres及びptx2がハイレベルになり、リセットトランジスタ105及び転送トランジスタ104がオンし、フォトダイオード102及びフローティングディフュージョンvfdが電源電位vddにリセットされる。時刻t9では、パルスptx2がローレベルになり、転送トランジスタ103がオフし、フォトダイオード102のリセットが終了する。それと共に、固体撮像装置が原稿に対して相対的に走査され、フォトダイオード102の次行分の電荷蓄積期間が開始される。
その後、時刻t1以降の処理を繰り返す。上記の動作の1周期(例えば、時刻t3からその次の時刻t3までの期間)をaとする。すなわち、周期aは、フォトダイオード101及び102の電荷の読み出し周期である。また、フォトダイオード101の電荷蓄積終了時刻t3とフォトダイオード102の電荷蓄積終了時刻t7とのずれを、フォトダイオード101及び102の電荷蓄積を終了するタイミングのずれbとする。フォトダイオード101及び102の電荷蓄積を終了するタイミングのずれbは、フォトダイオード101の電荷蓄積開始時刻t5とフォトダイオード102の電荷蓄積開始時刻t9とのずれでもある。
図4は、図1の画素領域Aのレイアウト構成例を示す図であり、図1及び図2と同一部材には同一の参照番号を付してある。図4に示すように、副走査方向(第1の方向)は、固体撮像装置が原稿に対して相対的に走査する方向である。主走査方向(第2の方向)は、副走査方向に対して直交する方向(垂直方向)である。複数の画素セル110は、同一の半導体基板に設けられる。フォトダイオード101及び102は、副走査方向に配列(配置)されている。すなわち、フォトダイオード101及び102は、複数の画素セル110が配列される主走査方向に対して垂直方向である副走査方向に配列されている。ここで、主走査方向に配列される複数の画素セル110の間隔をxとし、副走査方向に配列されるフォトダイオード101及び102の間隔をyとする。複数の画素セル110は、主走査方向に間隔xで配列されている。間隔xは、フォトダイオードの主走査方向の間隔である。間隔yは、フォトダイオード101及び102の副走査方向の間隔である。間隔xは、画素セル110のフォトダイオード101の重心と、隣の画素セル110に含まれるフォトダイオード101の重心との距離としている。また、間隔yは、画素セル110のフォトダイオード101の重心と、同一の画素セル110に含まれるフォトダイオード102の重心との距離としている。
次に、固体撮像装置(ラインセンサ)を用いた画像読み取りの特性について説明する。ラインセンサは、フォトダイオード101及び102に対応する各画素の原画像上の撮像位置の物理的なずれ(一定間隔)yによって、フォトダイオード101及び102で撮像位置がずれる。したがって、一般的なラインセンサでは、フォトダイオード101及び102の出力画像に対して、撮像位置のずれを補正する機能を設けることがある。ラインセンサ又は原稿が副走査方向に移動中の場合、フォトダイオード101及び102の位置関係は常に一定に維持されているため、同一時刻における各画素の撮像位置は、間隔yに対応した分だけずれることになる。yが、主走査方向の画素ピッチxの整数倍(y=n×x、nは1以上の整数)であれば、後段の処理回路による補正で、n×x行分だけ行をずらした上で画像を合成すれば、撮像位置のずれを低減することができる。しかし、フォトダイオード101及び102の電荷蓄積を終了するタイミングのずれbにより、フォトダイオード101及び102の撮像位置にずれが生じた場合、このずれが上記補正で取りきれない成分として残る。具体的には、読み取り周期aでの撮像範囲が、主走査方向の画素ピッチxに対して1対1で対応するとすれば、フォトダイオード101及び102の撮像位置のずれは(b/a)×xで表すことができる。このずれだけフォトダイオード101及び102で撮像位置のずれが生じる。なお、ここでは、電荷蓄積期間は、パルスptx1、ptx2、presによって決まるものとする。すなわち、フォトダイオード101及び102の電荷蓄積を終了するタイミングのずれbは、転送トランジスタ103,104及びリセットトランジスタ105の動作タイミングのずれである。
そこで、本実施形態は、ずれ(b/a)×xだけ、副走査方向の画素ピッチyをずらす。これによって生じる撮像位置のずれにより、画素共有時の電荷蓄積を終了するタイミングのずれによって生じた撮像位置のずれを低減することで、画質を向上させる。すなわち、画素ピッチyを次式(1)で示す関係になるように設定する。
y={n+(b/a)}×x (1)
なお、実際のラインセンサを用いた複写機等の使用条件下では、上述した撮像位置のずれを生み出す要因として、レンズ等の光学部材の持つ収差等の影響も加わり、その影響分を考慮すると、式(1)には次式(2)のような変数cが付け加わる。
y={n+(b/a)+c}×x (2)
ここで、cの絶対値は、0.1以上0.15以下の値と想定される。しかし、本実施形態では、この変数cに応じてyを変えない。周期a及びずれbは、仕様により異なるが、例えば、a=100μs、b=20μsとすると、b/a=0.2となる。このb/aの補正により、画像ずれの影響を小さくする効果は大きい。
また、画素セル110は、図2の2画素共有の構成に限定されるものではなく、以降の実施形態においても同様である。例えば、図5、図6及び図7に示されるように、画素セル110が、3画素以上共有する構成においても同様の効果を得ることができる。
図5は、3画素共有の画素セル110の構成例を示す図である。3個のフォトダイオード111〜113は、3画素に対応する。3個の転送トランジスタ114〜116は、それぞれ、パルスptx1〜ptx3に応じて、フォトダイオード111〜113により光電変換された電荷をフローティングディフュージョンvfdに転送する。トランジスタ105〜107は、図2と同様である。
図6は、図5の画素セル110の制御方法を示すタイミングチャートである。フォトダイオード111及び112の電荷蓄積を終了するタイミングのずれをb12とし、フォトダイオード112及び113の電荷蓄積を終了するタイミングのずれをb23とする。読み取り周期はaである。
図7は、3画素共有の画素領域Aのレイアウト構成例を示す図であり、図1及び図5と同一部材には同一の参照番号を付してある。画素ピッチy12は、副走査方向に配列されるフォトダイオード111及び112の間隔である。画素ピッチy12は、副走査方向に配列されるフォトダイオード111及び112の間隔である。画素ピッチy23は、副走査方向に配列されるフォトダイオード112及び113の間隔である。画素ピッチy12及びy23は、それぞれ、式(2)と同様に、次式(3)及び(4)で表わされる。
y12={n+(b12/a)}×x (3)
y23={n+(b23/a)}×x (4)
また、画素の動作条件によっては、主走査方向の画素ピッチxの整数倍の副走査方向の画素ピッチy(y12、y23)をもつ画素セル110を含んでいてもよい。その例を図8〜図12を参照しながら説明する。
図8は、副走査方向に2個の画素セル110が並んだ場合の固体撮像装置の構成例を示す図である。複数の画素領域140は、主走査方向に配列される。画素領域140では、副走査方向に2個の画素セル110が配列されている。下側の画素セル110の出力端子は、電流源200及び信号処理回路300に接続される。信号処理回路300は、画素セル110から入力した画素信号を処理し、外部出力線400へ出力する。上側の画素セル110の出力端子は、電流源201及び信号処理回路301に接続される。信号処理回路301は、画素セル110から入力した画素信号を処理し、外部出力線401へ出力する。
図9は、図8の画素領域140の構成例を示す図である。上側の画素セル110では、2個の転送トランジスタ125及び126は、それぞれ、パルスptxm及びptxrに応じて、2個のフォトダイオード121及び122により光電変換された電荷をフローティングディフュージョンvfdmrに転送する。そして、出力端子voutmrから画素信号が出力される。下側の画素セル110では、2個の転送トランジスタ127及び128は、それぞれ、パルスptxg及びptxbに応じて、2個のフォトダイオード123及び124により光電変換された電荷をフローティングディフュージョンvfdgbに転送する。そして、出力端子voutgbから画素信号が出力される。ここで、フォトダイオード121をモノクロ画素のフォトダイオードPD_Mとし、フォトダイオード122、123、124をそれぞれ赤(R)、緑(G)、青(B)の3色に対応した分光感度特性を持つフォトダイオードPD_R、PD_G、PD_Bとする。本実施形態の固体撮像装置は、第1のモードと第2のモードを含むモード群の中から選択されたモードで動作する。第1のモードは、フォトダイオードPD_Mが画素信号を出力せず、フォトダイオードPD_R、PD_G、PD_Bのそれぞれが画素信号を出力するモードである。また、第2のモードは、フォトダイオードPD_R、PD_G、PD_Bのそれぞれが画素信号を出力せず、フォトダイオードPD_Mが画素信号を出力するモードである。
図10は、第1のモードとして、フォトダイオードPD_R、PD_G,PD_Bのみを読み出す場合の制御方法を示すタイミングチャートである。フォトダイオードPD_G及びPD_Bの関係は、上述したフォトダイオード101及び102の関係と同じである。これに対し、フォトダイオードPD_Mは、リセット動作以外では動かない。フォトダイオードPD_Rは、フォトダイオードPD_Gと同じ動作タイミングで動作する。
図11は、第2のモードとして、フォトダイオードPD_Mのみを読み出す場合の制御方法を示すタイミングチャートである。電荷の読み出しは、フォトダイオードPD_Mのみで行われる。それ以外のフォトダイオードPD_R,PD_G,PD_Bでは、リセット動作のみが行われる。
図12は、図8の画素領域Aのレイアウト構成例を示す図である。画素ピッチymrは、フォトダイオード121(PD_M)及びフォトダイオード122(PD_R)間の副走査方向の間隔である。画素ピッチyrgは、フォトダイオード122(PD_R)及びフォトダイオード123(PD_G)間の副走査方向の間隔である。画素ピッチygbは、フォトダイオード123(PD_G)及びフォトダイオード124(PD_B)間の副走査方向の間隔である。画素ピッチxは、フォトダイオード間の主走査方向の間隔である。
画素ピッチymrは、フォトダイオードPD_M及びPD_Rの画素信号が同一画像に使われない点から、撮像位置のずれを考慮する必要はないので、次式(5)のように、主走査方向の画素ピッチxの整数倍に設定できる。
ymr=n×x (5)
画素ピッチyrgも、図10より、フォトダイオードPD_R及びPD_Gの電荷蓄積タイミングが揃っている点から、次式(6)のように、主走査方向の画素ピッチxの整数倍にできる。
yrg=n×x (6)
画素ピッチygbは、図10より、フォトダイオードPD_G及びPD_Bの電荷蓄積を終了するタイミングのずれbに応じた分だけずらす必要があるため、式(2)と同様に、次式(7)のように、表すことができる。
ygb={n+(b/a)}×x (7)
以上のように、本実施形態では、画素の動作条件によっては、主走査方向の画素ピッチxの整数倍の副走査方向の画素ピッチをもつ画素セル110を含んでいてもよい。副走査方向の画素ピッチを適切に設定することにより、電荷蓄積を終了するタイミングのずれによって生じる固定パターンノイズを低減した良好な画像を取得することができる。
(第2の実施形態)
図13は、本発明の第2の実施形態による固体撮像装置の構成例を示す図である。以下、本実施形態が第1の実施形態と異なる点を説明する。画素セル110は、主走査方向に対して配列される2個の画素を共有している。また、副走査方向には、2個の画素セル110が配列されている。
図14は、図13の画素領域Aのレイアウト構成例を示す図であり、図2と同一部材には同一の参照番号を付している。なお、画素セル110の回路構成及び動作タイミングは、図2及び図3と同じである。複数の画素セル110は、副走査方向に配列される。同一画素セル(同一セル)110のフォトダイオード101及び102は、主走査方向に間隔xで配列される。間隔yは、フォトダイオード101及び102の副走査方向の間隔である。同一画素セル(同一セル)110のフォトダイオード101及びフォトダイオード102の副走査方向の間隔yは、式(2)式と同様の考え方により、次式(8)のように表すことができる。
y=(b/a)×x (8)
本実施形態の画素ピッチyは、第1の実施形態と違い、式(8)のように、式(1)の変数nが0の場合の画素ピッチになり、変数nが消える。第1及び第2の実施形態を考慮すると、式(1)の変数nは0以上の整数である。主走査方向に並ぶ2個の画素の共有を行った場合でも、式(8)のように画素ピッチyを設定することにより、電荷蓄積を終了するタイミングのずれによって生じる固定パターンノイズを低減した良好な画像を取得することが可能となる。本実施形態においても、レンズ等の光学部材の持つ収差等の影響を考慮し、式(8)に次式(9)のような変数cを付け加えてもよい。ここでも、cの絶対値は、0.1以上0.15以下の値と想定される。
y={(b/a)+c}×x (9)
なお、第1の実施形態と第2の実施形態では、第1及び第2の光電変換部が蓄積した電荷を保持するメモリがフローティングディフュージョンである例を示した。他の例として、メモリは第1及び第2の光電変換部が蓄積した電荷に基づいて増幅トランジスタ106が出力する信号を保持するものであっても良い。つまりメモリは、第1及び第2の光電変換部とに共通して設けられ、第1及び第2の光電変換部が蓄積した電荷もしくは電荷に基づく信号を保持する構成であれば良い。
なお、間隔xは、画素セル110のフォトダイオード101の重心と、隣の画素セル110に含まれるフォトダイオード101の重心との距離としていた。他の例として、画素セル110に含まれるフォトダイオード101の左端と、隣接する画素セル110に含まれるフォトダイオード101の左端との間隔を間隔xとしてもよい。同様に、画素セル110に含まれるフォトダイオード101の右端と、隣接する画素セル110に含まれるフォトダイオード101の右端との間隔を間隔xとしてもよい。
また、間隔yは、画素セル110のフォトダイオード101の重心と、同一の画素セル110に含まれるフォトダイオード102の重心との距離としていた。他の例として、画素セル110に含まれるフォトダイオード101の上端と、同じ画素セル110に含まれるフォトダイオード102の上端との間隔を間隔yとしてもよい。同様に、画素セル110に含まれるフォトダイオード101の下端と、同じ画素セル110に含まれるフォトダイオード102の下端との間隔を間隔yとしてもよい。
(第3の実施形態)
図15は、本発明の第3の実施形態による撮像システムの構成例を示す図である。撮像システム800は、例えば、光学部810、撮像装置1000、映像信号処理回路部830、記録・通信部840、タイミング制御回路部850、システムコントロール回路部860、及び再生・表示部870を含む。撮像装置1000としては、第1及び第2の実施形態で述べた固体撮像装置を用いることができる。
レンズなどの光学系である光学部810は、被写体からの光を撮像装置1000の画素アレイ100に結像させ、被写体の像を形成する。なお、光学部810は、削除可能である。撮像装置1000は、タイミング制御回路部850からの信号に基づくタイミングで、画素アレイ100に結像された光に応じた信号を出力する。撮像装置1000から出力された信号は、映像信号処理部である映像信号処理回路部830に入力される。映像信号処理回路部830は、プログラムなどによって定められた方法に従って、撮像装置1000の出力信号に対してアナログデジタル(AD)変換などの処理を行う。映像信号処理回路部830での処理によって生成された信号は、画像データとして記録・通信部840に出力される。記録・通信部840は、画像を形成するための信号を再生・表示部870に出力する。再生・表示部870には、動画や静止画像が再生・表示させる。記録・通信部840は、また、映像信号処理回路部830からの信号を入力し、システムコントロール回路部860とも通信を行うほか、不図示の記録媒体に、画像を形成するための信号を記録する動作も行う。
システムコントロール回路部860は、撮像システム800の動作を統括的に制御するものであり、光学部810、タイミング制御回路部850、記録・通信部840、及び再生・表示部870の駆動を制御する。また、システムコントロール回路部860は、例えば記録媒体である不図示の記憶装置を備え、ここに撮像システム800の動作を制御するのに必要なプログラムなどが記録される。また、システムコントロール回路部860は、例えばユーザの操作に応じて駆動モードを切り替える信号を供給する。具体的な例としては、読み出す行やリセットする行の変更、電子ズームに伴う画角の変更や、電子防振に伴う画角のずらしなどである。タイミング制御回路部850は、制御部であるシステムコントロール回路部860による制御に基づいて撮像装置1000及び映像信号処理回路部830の駆動タイミングを制御する。
なお、上記実施形態は、何れも本発明を実施するにあたっての具体化の例を示したものに過ぎず、これらによって本発明の技術的範囲が限定的に解釈されてはならないものである。すなわち、本発明はその技術思想、又はその主要な特徴から逸脱することなく、様々な形で実施することができる。
101 第1の光電変換部、102 第2の光電変換部、103 第1の転送トランジスタ、104 第2の転送トランジスタ、105 リセットトランジスタ、106 増幅トランジスタ、107 選択トランジスタ、110 画素セル

Claims (10)

  1. 複数のセルとメモリとを有し、原稿に対して第1の方向で相対的に走査される固体撮像装置であって、
    前記複数のセルの各々は、
    光を電荷に変換して蓄積する第1の光電変換部と、
    前記第1の光電変換部に対して前記第1の方向に配置された、光を電荷に変換して蓄積する第2の光電変換部とを有し、
    前記メモリは、前記第1及び第2の光電変換部に対して共通に設けられ、前記第1及び第2の光電変換部の各々が蓄積した電荷もしくは前記電荷に基づく信号を保持し、
    前記第1及び第2の光電変換部の電荷蓄積を終了するタイミングのずれをbとし、前記第1及び第2の光電変換部が電荷蓄積を終了してから再び電荷蓄積を行って次に電荷蓄積を終了するまでの期間をaとし、nを1以上の整数とし、前記複数のセルのうちの一のセルの前記第1の光電変換部と、前記一のセルと前記第1の方向に対して直交する第2の方向で隣接する別のセルの前記第1の光電変換部との間隔をxとした場合に、前記一のセルの前記第1及び第2の光電変換部の前記第1の方向の間隔は、{n+(b/a)}×xであることを特徴とする固体撮像装置。
  2. 前記第1及び第2の光電変換部の前記第1の方向の間隔は、{n+(b/a)+c}×xであり、cの絶対値が0.1以上0.15以下の値であることを特徴とする請求項1記載の固体撮像装置。
  3. 複数のセルとメモリとを有し、原稿に対して第1の方向で相対的に走査される固体撮像装置であって、
    前記複数のセルの各々は、
    光を電荷に変換して蓄積する第1の光電変換部と、
    前記第1の光電変換部に対して前記第1の方向とは直交する第2の方向に配置された、光を電荷に変換して蓄積する第2の光電変換部とを有し、
    前記メモリは、前記第1及び第2の光電変換部に対して共通に設けられ、前記第1及び第2の光電変換部の各々が蓄積した電荷もしくは前記電荷に基づく信号を保持し、
    前記第1及び第2の光電変換部の電荷蓄積を終了するタイミングのずれをbとし、前記第1及び第2の光電変換部が電荷蓄積を終了してから再び電荷蓄積を行って次に電荷蓄積を終了するまでの期間をaとし、同一セルの前記第1の光電変換部と前記第2の光電変換部との間隔をxとした場合に、前記同一セルの前記第1の光電変換部と前記第2の光電変換部との前記第1の方向の間隔は、(b/a)×xであることを特徴とする固体撮像装置。
  4. 前記同一セルの前記第1の光電変換部と前記第2の光電変換部との前記第1の方向の間隔は、{(b/a)+c}×xであり、cの絶対値が0.1以上0.15以下の値であることを特徴とする請求項3記載の固体撮像装置。
  5. 前記複数のセルの各々は、前記メモリとして、前記第1及び第2の光電変換部の各々が蓄積した電荷を保持するフローティングディフュージョンをさらに有することを特徴とする請求項1〜4のいずれか1項に記載の固体撮像装置。
  6. 前記複数のセルの各々は、前記フローティングディフュージョンをリセット電位にリセットするためのリセットトランジスタをさらに有することを特徴とする請求項5記載の固体撮像装置。
  7. 前記複数のセルの各々は、前記第1の光電変換部が蓄積した電荷を前記フローティングディフュージョンに転送する第1の転送トランジスタと、前記第2の光電変換部が蓄積した電荷を前記フローティングディフュージョンに転送する第2の転送トランジスタとをさらに有し、
    前記第1及び第2の光電変換部の電荷蓄積を終了するタイミングのずれは、前記第1の転送トランジスタが前記第1の光電変換部から前記フローティングディフュージョンへの前記電荷の転送を終了するタイミングと、前記第2の転送トランジスタが前記第2の光電変換部から前記フローティングディフュージョンへの前記電荷の転送を終了するタイミングとのずれであることを特徴とする請求項5又は6記載の固体撮像装置。
  8. 前記複数のセルは、同一の半導体基板に設けられることを特徴とする請求項1〜7のいずれか1項に記載の固体撮像装置。
  9. 請求項1〜8のいずれか1項に記載の固体撮像装置と、
    前記固体撮像装置の出力信号を処理する信号処理部と
    を有することを特徴とする撮像システム。
  10. 請求項1〜8のいずれか1項に記載の固体撮像装置と、
    前記固体撮像装置の出力信号を処理する信号処理部とを有し、
    前記信号処理部が処理した信号を用いて、印刷を行うことを特徴とする複写機。
JP2014008802A 2014-01-21 2014-01-21 固体撮像装置、撮像システム及び複写機 Expired - Fee Related JP6257348B2 (ja)

Priority Applications (2)

Application Number Priority Date Filing Date Title
JP2014008802A JP6257348B2 (ja) 2014-01-21 2014-01-21 固体撮像装置、撮像システム及び複写機
US14/601,025 US20150206910A1 (en) 2014-01-21 2015-01-20 Solid-state imaging device, imaging system, and copier

Applications Claiming Priority (1)

Application Number Priority Date Filing Date Title
JP2014008802A JP6257348B2 (ja) 2014-01-21 2014-01-21 固体撮像装置、撮像システム及び複写機

Publications (2)

Publication Number Publication Date
JP2015139054A JP2015139054A (ja) 2015-07-30
JP6257348B2 true JP6257348B2 (ja) 2018-01-10

Family

ID=53545516

Family Applications (1)

Application Number Title Priority Date Filing Date
JP2014008802A Expired - Fee Related JP6257348B2 (ja) 2014-01-21 2014-01-21 固体撮像装置、撮像システム及び複写機

Country Status (2)

Country Link
US (1) US20150206910A1 (ja)
JP (1) JP6257348B2 (ja)

Families Citing this family (2)

* Cited by examiner, † Cited by third party
Publication number Priority date Publication date Assignee Title
JP6042737B2 (ja) * 2013-01-31 2016-12-14 オリンパス株式会社 固体撮像装置および撮像装置
CN110444005A (zh) * 2019-08-08 2019-11-12 国网新疆电力有限公司电力科学研究院 低压电力线载波抄表系统抗干扰性能测试方法及系统

Family Cites Families (4)

* Cited by examiner, † Cited by third party
Publication number Priority date Publication date Assignee Title
JP4179329B2 (ja) * 2006-03-17 2008-11-12 セイコーエプソン株式会社 ラインセンサチップ、ラインセンサ、画像情報読取装置、ファクシミリ、スキャナ及び複写機
JP4858281B2 (ja) * 2006-05-16 2012-01-18 コニカミノルタホールディングス株式会社 固体撮像装置
JP2011239261A (ja) * 2010-05-12 2011-11-24 Konica Minolta Business Technologies Inc 固体撮像装置
JP2012060493A (ja) * 2010-09-10 2012-03-22 Canon Inc 画像読取装置

Also Published As

Publication number Publication date
JP2015139054A (ja) 2015-07-30
US20150206910A1 (en) 2015-07-23

Similar Documents

Publication Publication Date Title
US7982789B2 (en) Image sensing apparatus driving method, image sensing apparatus, and image sensing system
US9319614B2 (en) Image pickup device with a group of focus detection pixels associated with a dedicated readout circuit and image pickup apparatus including the image pickup device
US9036052B2 (en) Image pickup apparatus that uses pixels different in sensitivity, method of controlling the same, and storage medium
US20150189249A1 (en) Solid state imaging apparatus and imaging system using the same
US10477165B2 (en) Solid-state imaging apparatus, driving method therefor, and imaging system
JP6445866B2 (ja) 撮像装置、撮像システム、および撮像装置の駆動方法
JP6164867B2 (ja) 固体撮像装置、その制御方法、および制御プログラム
JP2007336519A (ja) 固体撮像装置
JP6872956B2 (ja) 撮像システム及び撮像システムの制御方法
JP5721518B2 (ja) 撮像素子及び撮像装置
US10362252B2 (en) Solid-state image sensor, image capturing apparatus and control method thereof, and storage medium
JP6265694B2 (ja) 固体撮像装置及び撮像システム
WO2011083541A1 (ja) 固体撮像装置および撮像装置
CN103634538A (zh) 图像感测装置
JP2023156437A (ja) 撮像素子
US20140320719A1 (en) Solid-state image device, method for driving same, and camera system
JP6257348B2 (ja) 固体撮像装置、撮像システム及び複写機
JP2025084925A (ja) 撮像素子
US9838591B2 (en) Imaging apparatus and imaging system for generating a signal for focus detection
JP2012019491A (ja) 固体撮像素子およびカメラシステム
JP6700850B2 (ja) 撮像素子の駆動制御回路
JP5511205B2 (ja) 撮像装置及び撮像方法
JP2019165274A (ja) 固体撮像素子及び撮像装置
JP2017157929A (ja) 固体撮像装置及び画像読取装置
JP2015173387A (ja) 撮像素子、その駆動方法、およびプログラム

Legal Events

Date Code Title Description
A621 Written request for application examination

Free format text: JAPANESE INTERMEDIATE CODE: A621

Effective date: 20170110

A977 Report on retrieval

Free format text: JAPANESE INTERMEDIATE CODE: A971007

Effective date: 20171012

TRDD Decision of grant or rejection written
A01 Written decision to grant a patent or to grant a registration (utility model)

Free format text: JAPANESE INTERMEDIATE CODE: A01

Effective date: 20171107

A61 First payment of annual fees (during grant procedure)

Free format text: JAPANESE INTERMEDIATE CODE: A61

Effective date: 20171205

R151 Written notification of patent or utility model registration

Ref document number: 6257348

Country of ref document: JP

Free format text: JAPANESE INTERMEDIATE CODE: R151

LAPS Cancellation because of no payment of annual fees