JP6242467B2 - 撮像装置、撮像システム - Google Patents

撮像装置、撮像システム Download PDF

Info

Publication number
JP6242467B2
JP6242467B2 JP2016234100A JP2016234100A JP6242467B2 JP 6242467 B2 JP6242467 B2 JP 6242467B2 JP 2016234100 A JP2016234100 A JP 2016234100A JP 2016234100 A JP2016234100 A JP 2016234100A JP 6242467 B2 JP6242467 B2 JP 6242467B2
Authority
JP
Japan
Prior art keywords
signal
digital
output
time
pixel
Prior art date
Legal status (The legal status is an assumption and is not a legal conclusion. Google has not performed a legal analysis and makes no representation as to the accuracy of the status listed.)
Expired - Fee Related
Application number
JP2016234100A
Other languages
English (en)
Other versions
JP2017077003A (ja
Inventor
櫻井 克仁
克仁 櫻井
橋本 誠二
誠二 橋本
篤 古林
篤 古林
Current Assignee (The listed assignees may be inaccurate. Google has not performed a legal analysis and makes no representation or warranty as to the accuracy of the list.)
Canon Inc
Original Assignee
Canon Inc
Priority date (The priority date is an assumption and is not a legal conclusion. Google has not performed a legal analysis and makes no representation as to the accuracy of the date listed.)
Filing date
Publication date
Application filed by Canon Inc filed Critical Canon Inc
Priority to JP2016234100A priority Critical patent/JP6242467B2/ja
Publication of JP2017077003A publication Critical patent/JP2017077003A/ja
Application granted granted Critical
Publication of JP6242467B2 publication Critical patent/JP6242467B2/ja
Expired - Fee Related legal-status Critical Current
Anticipated expiration legal-status Critical

Links

Images

Landscapes

  • Solid State Image Pick-Up Elements (AREA)
  • Transforming Light Signals Into Electric Signals (AREA)

Description

本発明は、複数の光電変換部を含む画素とアナログデジタル変換部とを有する撮像装置に関するものである。
従来、光電変換を行い、入射光に基づく信号を出力する画素が行列状に配された画素部と、画素の各列に対応してアナログデジタル変換部が設けられた列並列型のアナログデジタル変換部(以下、アナログデジタル変換部をADC(Analog Digital Converter)、列並列型のADCを列ADCと表記する)と、を有する撮像装置が知られている。列ADCにおいては、各列の回路部が画素から出力されるアナログ信号(以下、画素から出力されるアナログ信号を画素信号と表記する)をデジタル信号に変換するアナログデジタル変換(以下、AD変換と表記する)を行う。
特許文献1には、光信号を信号電荷に変換して蓄積する複数の光電変換部と、該複数の光電変換部の各々から信号電荷を受けて該信号電荷に対応する信号を出力する1つの増幅MOSトランジスタとを有する画素が設けられた撮像装置が記載されている。特許文献1に記載の画素1は、画素の出力するノイズレベルの第1の信号(以下、N信号と表記する。)と、少なくとも1つの光電変換部に蓄積される第1の信号電荷に基づいた第2の信号(以下、A+N信号と表記する。)と、第1の信号電荷にさらに別の光電変換部に蓄積される信号電荷が加算された信号電荷に基づく第3の信号(以下、A+B+N信号と表記する。)とを垂直信号線に出力する。A+N信号は、垂直信号線に電気的に接続された第1の容量と第2の容量にそれぞれ保持される。A+B+N信号は、垂直信号線8に電気的に接続された第3の容量に保持される。
特開2004−134867号公報
特許文献1に記載の撮像装置では、A+N信号とN信号との差分信号と、A+B+N信号とA+N信号との差分信号とを得るために、A+N信号を異なる2つの容量に保持させる必要があった。このため、2つの容量の容量値のばらつきにより、A+N信号とN信号との差分信号と、A+B+N信号とA+N信号との差分信号とが、精度よく得られない課題があった。
本発明は上記の課題を鑑みて為されたものであり、一の態様は、アナログ信号出力部と、比較器および信号保持部を有する回路部と、前記比較器にランプ信号を供給するランプ信号供給部と、クロックを計数するカウンタとを含む撮像装置であって、前記アナログ信号出力部は画素を含み、前記画素は、光電変換部を有し、前記アナログ信号出力部は、前記光電変換部で生成した信号電荷に基づく第1のアナログ信号と、前記信号電荷に前記光電変換部で生成した別の信号電荷を加算した信号電荷に基づく第2のアナログ信号と、をそれぞれ出力し、前記比較器は、前記比較器のリセットされた入力ノードの電位と前記ランプ信号との比較である第1の比較を行い、前記カウンタは、前記第1の比較において、前記ランプ信号の電位の変化の開始から前記第1の比較の結果が変化するまでの期間を、前記クロックを加算あるいは減算の一方で計数することで、第1のデジタル信号を生成し、
前記信号保持部が前記第1のデジタル信号を保持し、前記比較器は、前記第1のアナログ信号と前記ランプ信号との比較である第2の比較と、前記第2のアナログ信号と前記ランプ信号との比較である第3の比較とをそれぞれ行い、前記カウンタは、前記第2の比較において、前記ランプ信号の電位の変化の開始から前記第2の比較の結果が変化するまでの期間を、前記クロックを加算あるいは減算の他方で計数することで、第2のデジタル信号を生成し、前記カウンタは、前記第3の比較において、前記ランプ信号の電位の変化の開始から前記第3の比較の結果が変化するまでの期間を、前記クロックを加算あるいは減算の他方で計数することで、第3のデジタル信号を生成し、前記第2のデジタル信号と前記第3のデジタル信号の少なくとも一方の生成において、前記信号保持部から前記カウンタに前記第1のデジタル信号が入力されることによって、前記カウンタの前記クロックを加算あるいは減算の他方の計数の起点が前記第1のデジタル信号に対応する信号に設定されることを特徴とする撮像装置である。
また、別の態様は、アナログ信号出力部と、アナログデジタル変換部と、を含む撮像装置の駆動方法であって、前記アナログ信号出力部は画素を含み、前記画素は、光電変換部を有し、前記アナログ信号出力部は、前記アナログ信号出力部のノイズ信号の第1の信号と、前記光電変換部で生成した信号電荷に基づく第2の信号と、前記信号電荷に前記光電変換部で生成した別の信号電荷を加算した信号電荷に基づく第3の信号と、をそれぞれ出力し、前記アナログデジタル変換部が、前記第1、第2、第3の信号をデジタル信号に変換することを特徴とする撮像装置の駆動方法である。
また、一の態様は、画素を含むアナログ信号出力部の複数と、前記アナログ信号出力部に対応して設けられたアナログデジタル変換部と、マイクロレンズを複数有するマイクロレンズアレイと、を有する撮像装置と、前記撮像装置に光を集光する光学系と、を有する撮像システムの駆動方法であって、前記画素は、各々が1つの前記マイクロレンズに対応して設けられた、少なくともn個(nは2以上の自然数)の光電変換部の光電変換部を有し、前記駆動方法は、前記アナログ信号出力部が、前記アナログ信号出力部のノイズ信号である第1の信号と、前記n個の光電変換部のうちのm個(mはn>mの関係式を満たす自然数)の前記光電変換部の生成した信号電荷に基づく第2の信号と、前記n個の光電変換部の生成した信号電荷に基づく第3の信号と、をそれぞれ出力し、前記アナログデジタル変換部が、前記第1、第2、第3の信号をそれぞれデジタル信号に変換する工程と、前記撮像装置が、前記第2の信号を変換したデジタル信号と前記第1の信号を変換したデジタル信号との第1の差分信号と、前記第3の信号を変換したデジタル信号と前記第1の信号を変換したデジタル信号との第2の差分信号とを、前記第1の信号を変換した同一のデジタル信号によってそれぞれ生成する第1の工程と、前記第1の差分信号と前記第2の差分信号との差分である第3の差分信号を得て、前記第3の差分信号と前記第1の差分信号とによって焦点検出を行う第2の工程と、を有することを特徴とする撮像システムの駆動方法である。
本発明は、画素から出力されたノイズ信号を複数の容量に保持させずにA信号、A+B信号を得られることにより、より精度よくA信号、A+B信号を生成する撮像装置を提供することができる。
画素の等価回路の一例を示した図。 撮像装置の等価回路の一例を示した図。 撮像装置の動作の一例を示した図。 別の形態の撮像装置の等価回路を示した図。 別の形態の撮像装置の等価回路の一例と、動作の一例を示した図。 別の形態の撮像装置の一例を示した図。 別の形態のカウンタの等価回路の一例を示した図。 別の形態の撮像装置の動作の一例を示した図。 別の形態の撮像装置等価回路の一例を示した図。 別の形態のカウンタの等価回路の一例を示した図。 別の形態の撮像装置の動作の一例を示した図。 別の形態の画素の等価回路の一例を示した図。 別の形態の画素の断面の一例を示した図。 別の形態の撮像装置の動作の一例を示した図。 別の形態の撮像装置の動作の一例を示した図。 別の形態の画素の一例を示した図。 別の形態の画素の一例を示した図。 別の形態の画素の一例を示した図。 別の形態の画素の一例を示した図。 別の形態の画素の一例を示した図。 別の形態の画素の一例を示した図。 別の形態の画素の一例を示した図。 別の形態の画素の一例を示した図。 撮像システムを模式的に表したブロック図。
以下、図面を参照しながら本実施例の撮像装置について説明する。
図1Aは、本実施例に関わる画素の等価回路の一例を示したものである。1、51は光電変換部である。本実施例では光電変換部はフォトダイオードである。20、50は転送MOSトランジスタ、4はリセットMOSトランジスタ、5は増幅MOSトランジスタ、6は選択MOSトランジスタである。フォトダイオード1、51では光電変換により、入射光に基づいた信号電荷が生じる。転送MOSトランジスタ20のゲートに、後述する垂直走査回路(図1Bにて、VSC(Vertical Scanning Circuit)と記載した)2が供給する転送パルスPTX1をHighレベル(以降、Hレベルと表記する。同様に、LowレベルをLレベルと表記する。)とすると、フォトダイオード1が保持する信号電荷が増幅MOSトランジスタ5のゲートに転送される。増幅MOSトランジスタ5のゲートは、すなわち増幅MOSトランジスタ5の制御電極である。同様に、転送MOSトランジスタ50のゲートに、同様に垂直走査回路2が供給する転送パルスPTX2をHレベルとすると、フォトダイオード51が保持する信号電荷が増幅MOSトランジスタ5のゲートに転送される。リセットMOSトランジスタ4のゲートに垂直走査回路2が供給するリセットパルスPRESをHレベルとすると、増幅MOSトランジスタ5のゲートの電位がリセットされる。増幅MOSトランジスタ5は、ゲートに転送された信号電荷に基づいて、電気信号を選択MOSトランジスタ6に出力する。選択MOSトランジスタ6は、増幅MOSトランジスタ5が出力した信号を、垂直走査回路2からゲートに供給される選択パルスPSELがHレベルの時に垂直信号線7に出力する。この画素100から垂直信号線7に出力される信号が先述した画素信号に相当する。各列の垂直信号線7には、電流源8から電流が供給されている。本実施例のアナログ信号出力部は画素100を含んで構成される。
リセットパルスPRESをHレベルとした後にLレベルとし、増幅MOSトランジスタ5のゲートの電位に基づいて垂直信号線7に出力される信号をPN信号と表記する。PN信号は、増幅MOSトランジスタ5のゲートの電位がリセットレベルとしたことによって垂直信号線7に出力されるノイズ信号である。このPN信号は画素を含むアナログ信号出力部が出力する第1の信号である。また、フォトダイオード1からの信号電荷が転送された増幅MOSトランジスタ5のゲートの電位に基づいて、垂直信号線7に出力される信号をP(A+N)信号と表記する。P(A+N)信号は、複数のフォトダイオードのうちの1個のフォトダイオード1が生成した信号電荷に基づくPA信号がPN信号に重畳された信号である。本実施例において、P(A+N)信号はアナログ信号出力部が出力する第2の信号である。また、転送パルスPTX1、PTX2を、Hレベルとすることにより、フォトダイオード1、51のそれぞれに蓄積された信号電荷が増幅MOSトランジスタ5のゲートに転送される。この間、リセットパルスPRESがLレベルに保たれるため、増幅MOSトランジスタ5のゲートには、2個のフォトダイオードからの電荷が保持される。この時の増幅MOSトランジスタ5のゲートの電位に基づいて垂直信号線7に出力される信号をP(A+B+N)信号と表記する。P(A+B+N)信号は、複数のフォトダイオード1,51の生成した信号電荷に基づくP(A+B)信号がPN信号に重畳された信号である。本実施例において、P(A+B+N)信号はアナログ信号出力部が出力する第3の信号である。また、第1、第2、第3の信号はそれぞれアナログ信号である。以上が画素100についての説明である。
次に図1Bを参照しながら、本実施例のアナログデジタル変換部160について説明する。
比較器(図1Bにて、Comp(Comparator)と表記した。)9は、ランプ信号Vrampと画素100から垂直信号線7に出力される信号との比較を行い、比較結果に基づく信号である比較結果信号CMPをラッチ選択回路(図1Bにて、Latch Puls Gen.と表記した。)12に出力する。ランプ信号Vrampは、ランプ信号発生回路(図1Bにて、Ramp Gen.(Ramp Generator)と表記した。)10が生成する、時間に依存して電位が変化する参照信号である。ランプ信号発生回路10には、不図示のタイミングジェネレータからアナログデジタル変換部リセットパルスAD Resetが後述する第1のカウンタ18と共通して与えられている。ラッチ選択回路12は行列状に配された複数の画素100の列に対応して設けられている。ラッチ選択回路12は、ラッチ選択パルスPTn、PTa、PTbの信号値に応じて、比較結果信号CMPをLatch_n13−1、Latch_a13−2、Latch_b13−3のいずれかに出力する。例えば、ラッチ選択パルスPTnがHレベルであり、他のラッチ選択パルスPTa、PTbがLレベルであれば、ラッチ選択回路12は比較結果信号CMPをLatch_n13−1に出力する。同様に、ラッチ選択パルスPTaがHレベルであり、他のラッチ選択パルスPTn、PTbがLレベルであれば、比較結果信号CMPをLatch_a13−2に出力する。また、ラッチ選択パルスPTbがHレベルであり、他のラッチ選択パルスPTn、PTaがLレベルであれば、比較結果信号CMPをLatch_b13−3に出力する。以降、Latch_n13−1、Latch_a13−2、Latch_b13−3を総称して表す場合には、ラッチ回路13と表記する。ラッチ回路13はメモリ部であり、行列状に配された複数の画素100の列に対応して設けられている。Latch_n13−1は第1の信号であるPN信号を変換したデジタル信号を保持する第1の信号保持部である。Latch_a13−2はP(A+N)信号を変換したデジタル信号を保持する。Latch_b13−3は、P(A+B+N)信号を変換したデジタル信号を保持する。Latch_a13−2、Latch_b13−3は、第2の信号のP(A+N)信号、第3の信号のP(A+B+N)信号のそれぞれを変換したデジタル信号を保持する第2の信号保持部である。アナログデジタル変換部160は、複数の回路部21を含んで構成されている。複数の回路部21は、画素の各列に対応して設けられている。また、回路部21は、比較器9、ラッチ選択回路12、ラッチ回路13を含んで構成されている。
第1のカウンタ(図1Bにて、Counterと表記した)18には不図示のタイミングジェネレータからクロックパルス信号clkと、アナログデジタル変換部リセットパルスAD Resetが出力されている。第1のカウンタ18は、ランプ信号発生回路10が時間に依存したランプ信号Vrampの電位の変化を開始してから終了するまでの間、クロックパルス信号clkを計数したカウント信号を生成する。ラッチ回路13のLatch_n13−1、Latch_a13−2、Latch_b13−3はそれぞれ、比較器9から出力される比較結果信号CMPが変化した時のカウント信号を保持する。水平走査回路(図1Bにて、HSC(Horizontal Scanning Circuit)と表記した)14は各列のラッチ回路13を順次選択し、各列のラッチ回路13から、それぞれが保持したカウント信号を出力させる。この水平走査回路14によって出力させられたデジタルN信号とデジタルA+B+N信号は、差分信号出力部15−1に出力される。差分信号出力部15−1はデジタルA+B+N信号とデジタルN信号との差分信号である、デジタルA+B信号をOUT_b出力として出力する。また、デジタルN信号とデジタルA+N信号は差分信号出力部15−2に出力される。差分信号出力部15−2は、デジタルA+N信号とデジタルN信号との差分信号である、デジタルA信号をOUT_a出力として出力する。このデジタルA+B信号、デジタルA信号が本実施例における撮像装置が出力する信号である。
次に、図2を参照しながら、図1A、1Bで例示した撮像装置の動作について説明する。
時刻t11では、選択パルスPSEL、アナログデジタル変換部リセットパルスAD ResetをHレベルとしている。アナログデジタル変換部リセットパルスAD Resetは、図1Bのランプ信号発生回路10と第1のカウンタ18のそれぞれに供給される。アナログデジタル変換部リセットパルスAD ResetがHレベルの時、ランプ信号Vrampの電位はリセットレベルとなり、また、第1のカウンタ18のカウント信号は初期値にリセットされる。また、時刻t11にリセットパルスPRESをHレベルからLレベルとする。時刻t11にリセットが解除されて画素100から垂直信号線7に出力された信号が、PN信号である。
時刻t12に、アナログデジタル変換部リセットパルスAD ResetをHレベルからLレベルとする。そして、ランプ信号Vrampが時間に依存した電位の変化を開始する。また、第1のカウンタ18はクロックパルス信号clkの計数を開始し、カウント信号を各列のラッチ回路13に出力する。また、ラッチ選択パルスPTnをHレベルとする。
例えば、時刻t13にランプ信号Vrampと垂直信号線7の電位Vlineとの大小関係が逆転したとする。この時、比較器9は比較結果信号CMPをラッチ選択回路12に出力する。ラッチ選択パルスPTnがHレベルとなっているため、比較結果信号CMPはLatch_n13−1に出力される。Latch_n13−1は、比較結果信号CMPが出力された時のカウント信号を保持する。この時のカウント信号値は「4」であるので、Latch_n13−1には「4」のカウント信号が保持される。このLatch_n13−1に保持された「4」のカウント信号が、デジタルN信号である。本実施例では、便宜上10進数でカウント信号値を表しているが、実際には、Latch_n13−1が保持するカウント信号は10進数の「4」を2進数に変換した値である。以下、同様に本明細書ではカウント信号値については10進数で表すものとする。
時刻t14に、アナログデジタル変換部リセットパルスAD ResetをLレベルからHレベルとして、ランプ信号Vrampの時間に依存した電位の変化を終了する。また、ラッチ選択パルスPTnをHレベルからLレベルとする。
時刻t15に、転送パルスPTX1をLレベルからHレベルとする。これにより、フォトダイオード51に蓄積された電荷が増幅MOSトランジスタ5のゲートに転送され、垂直信号線7には、画素100からP(A+N)信号が出力される。
時刻t16に、アナログデジタル変換部リセットパルスAD ResetをHレベルからLレベルとする。そして、ランプ信号Vrampが時間に依存した電位の変化を開始する。また、第1のカウンタ18はクロックパルス信号clkの計数を開始し、カウント信号を各列のラッチ回路13に出力する。また、ラッチ選択パルスPTaをHレベルとする。
例えば、時刻t17にランプ信号Vrampと垂直信号線7の電位Vlineとの大小関係が逆転したとする。この時、比較器9は比較結果信号CMPをラッチ選択回路12に出力する。ラッチ選択パルスPTaがHレベルとなっているため、比較結果信号CMPはLatch_a13−2に出力される。Latch_a13−2は、比較結果信号CMPが出力された時のカウント信号を保持する。この時のカウント信号値は「6」であるので、Latch_a13−2には「6」のカウント信号が保持される。このLatch_a13−2に保持された「6」のカウント信号が、デジタルA+N信号である。
時刻t18に、アナログデジタル変換部リセットパルスAD ResetをLレベルからHレベルとして、ランプ信号Vrampの時間に依存した電位の変化を終了する。また、ラッチ選択パルスPTaをHレベルからLレベルとする。また、水平走査回路14は、Latch_n13−1、Latch_a13−2のそれぞれから保持したカウント信号を差分信号出力部15−2に出力させる。差分信号出力部15−2は、Latch_a13−2が保持した「6」のカウント信号と、Latch_n13−1が保持した「4」のカウント信号との差分処理を行い、「2」のカウント信号をOUT_a出力として出力する。この「2」のカウント信号がデジタルA信号である。
時刻t19に、転送パルスPTX2をLレベルからHレベルとする。これにより、フォトダイオード1に蓄積された電荷が増幅MOSトランジスタ5のゲートに転送され、垂直信号線7には、画素100からP(A+B+N)信号が出力される。
時刻t20に、アナログデジタル変換部リセットパルスAD ResetをHレベルからLレベルとする。そして、ランプ信号Vrampが時間に依存した電位の変化を開始する。また、第1のカウンタ18はクロックパルス信号clkの計数を開始し、カウント信号を各列のラッチ回路13に出力する。また、ラッチ選択パルスPTbをHレベルとする。
例えば、時刻t21にランプ信号Vrampと垂直信号線7の電位Vlineとの大小関係が逆転したとする。この時、比較器9は比較結果信号CMPをラッチ選択回路12に出力する。ラッチ選択パルスPTbがHレベルとなっているため、比較結果信号CMPはLatch_b13−3に出力される。Latch_b13−3は、比較結果信号CMPが出力された時のカウント信号を保持する。この時のカウント信号値は「8」であるので、Latch_b13−3には「8」のカウント信号が保持される。このLatch_b13−3に保持された「8」のカウント信号が、デジタルA+B+N信号である。
時刻t22に、アナログデジタル変換部リセットパルスAD ResetをLレベルからHレベルとして、ランプ信号Vrampの時間に依存した電位の変化を終了する。また、ラッチ選択パルスPTbをHレベルからLレベルとする。また、水平走査回路14は、Latch_n13−1、Latch_b13−3のそれぞれから保持したカウント信号を差分信号出力部15−1に出力させる。差分信号出力部15−1は、Latch_b13−3が保持した「8」のカウント信号と、Latch_n13−1が保持した「4」のカウント信号との差分処理を行い、「4」のカウント信号をOUT_b出力として出力する。この「4」のカウント信号がデジタルA+B信号である。
以上述べた動作により、本実施例の撮像装置はデジタルA信号、デジタルA+B信号を出力することができる。本実施例の撮像装置では、ラッチ回路13にデジタルN信号、デジタルA+N信号、デジタルA+B+N信号のそれぞれを保持させている。これにより、特許文献1のように、1つの信号を複数の異なる容量に保持させることによる容量の容量値のばらつきは生じない。よって、本実施例の撮像装置はデジタルA信号、デジタルA+B信号を精度よく得ることができる。本実施例のデジタルN信号には、画素100のノイズ成分に加え、複数の比較器9の比較器毎の動作ばらつきの成分が含まれている。本実施例の撮像装置は、デジタルA+N信号、デジタルA+B+N信号からデジタルN信号を差し引いて出力する。これにより、デジタルA+N信号、デジタルA+B+N信号に含まれる、画素100のノイズ成分と、複数の比較器9の比較器毎の動作ばらつきの成分とを差し引くことができ、画質の低下を低減することができる。
差分信号出力部15−2はデジタルA信号を出力する。このデジタルA信号は、第2の信号を変換したデジタルA+N信号と、第1の信号を変換したデジタルN信号との第1の差分信号である。差分信号出力部15−1はデジタルA+B信号を出力する。このデジタルA+B信号は、第3の信号を変換したデジタルA+B+N信号と第1の信号を変換したデジタルN信号との第2の差分信号である。
また、特許文献1に記載の撮像装置で、P(A+B+N)信号からPN信号を差し引いた差分信号であるP(A+B)信号を得ようとする場合には、N信号を容量23−1に加えて容量23−2でも保持する構成が考えられる。しかし、この形態では複数の容量がN信号を保持する必要があり、複数の容量の容量値のばらつきにより、A信号とA+B信号とを精度よく得られない課題があった。従って、特許文献1では、1つの画素100から同じPN信号が出力されても、PN信号を保持する複数の容量の容量値ばらつきにより、PN信号の信号値がばらついてしまう場合があった。一方、本実施例の撮像装置では、PN信号はデジタルN信号としてラッチ回路Latch_n13−1に保持されている。そのため、異なる容量に保持されることによるPN信号のばらつきを抑えることができる。
本実施例では、2つのフォトダイオード1、51を有する画素100を有する撮像装置について説明した。本実施例はこの形態に限定されるものではない。本実施例は1つのフォトダイオードを有する画素100を有する撮像装置においても好適に実施することができる。つまり、図1Aで例示した画素100において、フォトダイオード51、転送MOSトランジスタ50を省略した構成としても良い。その場合には、転送パルスPTX2を時刻t15と時刻t19でHレベルとすれば良い。まず転送パルスPTX2を時刻t15でHレベルとすることによって、フォトダイオード1で生成した信号電荷が増幅MOSトランジスタ5のゲートに転送される。ここで出力される信号が第2の信号である。その後、転送パルスPTX2をLレベルとする。そして、フォトダイオード1は再び入射光に基づく光電変換を行って、信号電荷を生成する。時刻t19に再び転送パルスPTX2をHレベルとする。これにより、フォトダイオード1に蓄積された信号電荷が増幅MOSトランジスタ5のゲートに転送される。この間、リセットパルスPRESがLレベルに保たれるため、増幅MOSトランジスタ5のゲートには、時刻t15にフォトダイオード1から転送された信号電荷と、時刻t19に転送された信号電荷とが保持される。この時に画素100から出力される信号が第3の信号である。この形態では、例えば第2の信号と第3の信号とを、フォトダイオード1の露光時間を異ならせて生成した信号電荷に基づく信号としても良い。
また、画素100が、複数のフォトダイオードを有している形態であっても、本実施例でこれまで述べた形態とは別の形態としても良い。つまり、増幅MOSトランジスタ5のゲートの電位をリセットレベルとしたことによって垂直信号線7に出力される第1の信号と、画素100が有する複数のフォトダイオードのうちのm個(mは自然数)のフォトダイオードの生成した信号電荷に基づく第2の信号と、m個よりも多いn個(nは自然数)のフォトダイオードの生成した信号電荷に基づく第3の信号と、を画素100が出力する形態であっても良い。
本実施例は、Latch_n13−1が1つのデジタルN信号を保持する形態を示したが、デジタルN信号を保持できるメモリを複数有するダブルバッファメモリの形態であっても良い。つまりLatch_n13−1が有する第1のメモリが、時刻t14に本実施例の1行目の画素のPN信号を変換したデジタルN信号を保持する。そして、時刻t14から時刻t18までのいずれかの期間に、第1のメモリから第2のメモリにデジタルN信号を転送する。水平走査回路14は第2のメモリからデジタルN信号を差分信号出力部15−2に出力させる。一方、第2のメモリにデジタルN信号を転送した後、時刻t22に選択パルスPSELをLレベルとし、次の行の画素100の選択パルスPSELとリセットパルスPRESをHレベルとする。その後、アナログデジタル変換部リセットパルスAD ResetをHレベルからLレベルとし、次の行の画素100のPN信号を変換したデジタル信号を生成する動作を行う。これにより、Latch_n13−1は時刻t22から、デジタルN信号の差分信号出力部15−1への出力と、次の行の画素100のPN信号を変換したデジタルN信号の生成とを並列して行うことができる。これにより、複数行の画素100が出力する信号を変換したデジタル信号の生成、出力に要する時間を短縮することができる。
また、本実施例ではLatch_a13−2とLatch_b13−3のそれぞれから水平走査回路14がデジタルA+N信号、デジタルA+B+N信号を出力させる形態を基に説明した。他の形態として、Latch_a13−2からLatch_b13−2にデジタル信号が転送され、水平走査回路14がLatch_b13−2からデジタル信号を出力させる形態であっても良い。具体的には、時刻t18でLatch_a13−2は保持したデジタルA+N信号をLatch_b13−3に転送する。水平走査回路14はLatch_b13−3からデジタルA+N信号を出力させる。また、Latch_a13−2は時刻t20から時刻t22の期間、クロックパルス信号clkを計数して得た、P(A+B+N)信号を変換したデジタルA+B+N信号を保持する。時刻t22でLatch_a13−2は保持したデジタルA+B+N信号をLatch_b13−3に転送する。水平走査回路14はLatch_b13−3からデジタルA+B+N信号を差分信号出力部15に転送する。これにより、本実施例では複数設けていた差分信号出力部15−1、15−2を1つの差分信号出力部15とすることができる。
また、本実施例のアナログデジタル変換部は時間に依存して電位が変化するランプ信号と画素信号との比較に基づいてAD変換を行う形式であったが、他のAD変換形式として例えば逐次比較型、デルタシグマ型などであっても良い。
本実施例の撮像装置を、実施例1とは異なる部分を中心に説明する。
以下、図面を参照しながら説明する。
図3Aは、本実施例の撮像装置の一例を示した等価回路図である。実施例1で説明した図1Bと同じ機能を有するものについては、図1Bで付した符号と同一の符号を付している。
実施例1と異なるのは、画素100から出力されたPN信号、P(A+N)信号、P(A+B+N)信号のそれぞれが反転増幅器17によって反転増幅されて比較器9に出力される点である。反転増幅器17は、画素信号を増幅して比較器9に出力する増幅部である。複数の反転増幅器17は、行列状に配された複数の画素100の列に対応して設けられている。垂直信号線7については、画素100から反転増幅器17までの電気的経路を垂直信号線7−1、反転増幅器17から比較器9までの電気的経路を垂直信号線7−2と分けて示した。本実施例のアナログ信号出力部は、画素100と反転増幅器17とを含んで構成される。本実施例では画素100が出力するPN信号に基づいて反転増幅器17が出力する信号が比較器9に与えられる。この画素100が出力するPN信号に基づいて反転増幅器17が出力する信号をGN信号と表記する。同様に、画素100が出力するP(A+N)信号に基づいて反転増幅器17が出力する信号をG(A+N)信号、P(A+B+N)信号に基づいて反転増幅器17が出力する信号をG(A+B+N)信号と表記する。本実施例において、アナログ信号出力部が出力する第1の信号はGN信号である。また、アナログ信号出力部が出力する第2の信号はG(A+N)信号である。また、アナログ信号出力部が出力する第3の信号はG(A+B+N)信号である。
図3Bは、図3Aで例示した撮像装置の動作の一例を示したタイミング図である。実施例1で述べた図2では、本実施例の垂直信号線7−1に相当する電位を垂直信号線7の電位Vlineとして示した。一方、本実施例の図3Bは、反転増幅器17から比較器9までの電気的経路である垂直信号線7−2の電位Vline2を示した。
垂直信号線7−2の電位Vline2は、垂直信号線7−1の電位を反転増幅した信号であるため、垂直信号線7−1の電気的極性とは反対となる。従って、本実施例においては、画素100からP(A+N)信号、P(A+B+N)信号が出力されて垂直信号線7−2の電位Vline2が変化する方向が実施例1の場合とは反対方向になる。従って、ランプ信号Vrampの時間に依存して電位が変化する方向についても、実施例1の場合とは反対方向としている。
Latch_n13−1が保持するデジタルN信号はGN信号をデジタル信号に変換した信号である。本実施例のデジタルN信号は、画素100、反転増幅器17を含むアナログ信号出力部のノイズ成分と、複数の比較器9の比較器毎の動作ばらつきの成分とを含む信号である。
また、Latch_a13−2が保持するデジタルA+N信号は、画素100が出力するG(A+N)信号をデジタル信号に変換した信号である。
また、Latch_b13−3が保持するデジタルA+B+N信号は、G(A+B+N)信号をデジタル信号に変換した信号である。
その他の点については、実施例1の撮像装置と同様とすることができる。すなわち、時刻t31〜t42のそれぞれの時刻での動作は、実施例1の時刻t11〜t22のそれぞれの時刻での動作と同様とすることができる。
本実施例のデジタルN信号は、画素100、反転増幅器17を含むアナログ信号出力部のノイズ成分に加え、複数の比較器9の比較器毎の動作ばらつきの成分が含まれている。本実施例の撮像装置は、デジタルA+N信号、デジタルA+B+N信号からデジタルN信号を差し引いて出力する。これにより、デジタルA+N信号、デジタルA+B+N信号に含まれる、画素100、反転増幅器17を含むアナログ信号出力部のノイズ成分と、複数の比較器9の比較器毎の動作ばらつきの成分とを差し引くことができ、画質の低下を低減することができる。
本実施例の撮像装置においても、実施例1と同様の効果を得ることができる。なお、反転増幅器17は、非反転増幅器やバッファ回路と置換してもよい。その場合の電位Vline2およびランプ信号Vrampが変化する方向は、図2に示した電位Vlineおよびランプ信号Vrampと一致する。
本実施例の撮像装置を、実施例2とは異なる点を中心に説明する。
以下、図面を参照しながら説明する。
図4Aは、本実施例の撮像装置の一例を示した等価回路図である。本実施例の撮像装置は、ラッチ選択回路12を設けず、画素の各列に対応してカウンタ制御回路16が設けられている。また、実施例1,2では第1のカウンタ18が各列のラッチ回路13に共通のカウント信号を与えていたが、本実施例では、第2のカウンタ19が各列のカウンタ制御回路16に対応して設けられている。そして、第2のカウンタ19の信号を保持するメモリ25が各列の第2のカウンタ19に対応して設けられている。第2のカウンタ19の信号を保持するメモリ25は、反転増幅器17が出力するGN信号に基づいて生成するデジタルN´信号を保持する第1の信号保持部である。さらにメモリ25は、第3の信号とランプ信号Vrampとの比較において、デジタルN´信号を第2のカウンタ19に出力する。カウンタ制御回路16は、不図示のタイミングジェネレータからクロックパルス信号clkが入力される。さらにカウンタ制御回路16は、カウント信号リセットパルスCNT Reset、パルスtranstom、パルスtranstocに基づいて、第2のカウンタ19、メモリ25を動作させる。Latch26は、第2のカウンタ19のカウント信号を保持する。実施例2では、第2の信号を変換したデジタル信号、第3の信号を変換したデジタル信号を保持する第2の信号保持部としてLatch_a13−1、Latch_b13−2の2つを有していたが、本実施例はLatch26の一つのみとすることができる。Latch26は、本実施例の第2の信号を変換したデジタル信号、第3の信号を変換したデジタル信号を保持する第2の信号保持部である。各列のLatch26にはラッチ信号LATが与えられ、ラッチ信号LATがHレベルの時に第2のカウンタ19が出力するカウント信号値を取り込む。ランプ信号発生回路10には、ランプ信号の電位を初期値にリセットするランプ信号リセットパルスRamp Resetが供給される。
図4Bは、図4Aで例示した撮像装置の第2のカウンタ19とメモリ25とを例示した等価回路図である。第2のカウンタ19はカウント信号を生成する複数のフリップフロップ回路FF1−1〜FF1−4を有している。即ち、第2のカウンタ19は複数のビット信号を含むカウント信号を生成する複数のフリップフロップ回路FF1−1〜FF1−4を有している。ビット信号とは、カウント信号の各ビットの信号である。第1の信号保持部であるメモリ25は、複数のビットメモリ250−1〜250−4を有し、複数のビットメモリ250−1〜250−4の各々が複数のフリップフロップ回路FF1−1〜FF1−4の各々に電気的に接続されている。即ち、メモリ25はビット信号の各々を保持する複数のビットメモリ250−1〜250−4を有し、複数のビットメモリの各々が複数のフリップフロップ回路FF1−1〜FF1−4の各々に電気的に接続されている。本実施例の第2のカウンタ19は、複数のフリップフロップ回路FF1−1〜FF1−4を電気的に接続し、前段の非反転出力端子Qの出力を後段のクロック端子に入力する構成である。また、フリップフロップ回路FF1−1〜FF1−4のそれぞれの非反転出力端子Qの出力D0〜D3は、Latch26に出力されると共に、ビットメモリ250−1〜250−4のそれぞれに与えられる。
また、本実施例の特徴として、フリップフロップ回路FF1−1〜FF1−4のそれぞれは、自身の反転出力端子NQの出力を端子Dに与えるとともに、非反転出力端子NQの出力をそれぞれのビットメモリ250−1〜250−4に与える。また、フリップフロップ回路のそれぞれのS端子には、それぞれのビットメモリ250−1〜250−4の保持した信号が出力される。
図5は、図4A、4Bで説明した撮像装置の動作の一例を示したタイミング図である。カウンタ制御パルスはカウンタ制御回路16から第2のカウンタ19に出力される信号であり、カウンタ制御パルスに基づいて第2のカウンタ19は動作する。
時刻t51では、選択パルスPSEL、ランプ信号リセットパルスRamp ResetをHレベルとしている。また、時刻t51にリセットパルスPRESをHレベルからLレベルとする。また、カウンタ制御パルスは第2のカウンタ19が動作しない「停止」の状態としている。
時刻t52に、ランプ信号リセットパルスRamp ResetをHレベルからLレベルとする。そして、ランプ信号Vrampの時間に依存した電位の変化を開始する。
例えば、時刻t53に、垂直信号線7−2の電位Vline2とランプ信号Vrampの電位との大小関係が逆転したとする。この時に比較器9は比較結果信号CMPをカウンタ制御回路16に出力する。カウンタ制御回路16は、比較結果信号CMPを受け、カウンタ制御パルスを「停止」の状態から「カウント」の状態に変化させる。これにより、第2のカウンタ19は時刻t53から、カウント動作を開始する。
時刻t54に、ランプ信号Vrampの時間に依存した電位の変化を終了するとともに、ランプ信号リセットパルスRamp ResetをLレベルからHレベルとする。また、カウンタ制御パルスを「カウント」の状態から「停止」の状態に変化させる。これにより、第2のカウンタ19は時刻t54にカウント動作を一時停止する。また、パルスtranstomをHレベルとする。これにより、この時刻t53から時刻t54までをカウントしたカウント信号値がメモリ25に保持される。この時点でメモリ25が保持する信号がデジタルN´信号である。そして、パルスtranstomをLレベルとする。
時刻t55に、転送パルスPTX1をLレベルからHレベルとする。これにより、フォトダイオード51に蓄積された電荷が増幅MOSトランジスタ5のゲートに転送され、垂直信号線7には、画素100からP(A+N)信号が出力される。反転増幅器17から比較器9にG(A+N)信号が出力される。
時刻t56に、ランプ信号リセットパルスRamp ResetをHレベルからLレベルとする。そして、ランプ信号Vrampの時間に依存した電位の変化を開始する。また、カウンタ制御パルスを「停止」の状態から「カウント」の状態に変化させる。これにより、第2のカウンタ19は、時刻t54でのカウント信号値からカウント動作を開始する。
例えば、時刻t57に、垂直信号線7−2の電位Vline2とランプ信号Vrampの電位との大小関係が逆転したとする。この時に比較器9は比較結果信号CMPをカウンタ制御回路16に出力する。カウンタ制御回路16は、比較結果信号CMPを受け、カウンタ制御パルスを「カウント」の状態から「停止」の状態に変化させる。これにより、第2のカウンタ19は時刻t54でのカウント信号値から、さらに時刻t56から時刻t57までの期間をカウントしたカウント信号を保持する。
時刻t58に、ランプ信号リセットパルスRamp ResetをLレベルからHレベルとして、ランプ信号Vrampの時間に依存した電位の変化を終了する。また、ラッチ信号LATをHレベルとする。これにより、この時刻t58で第2のカウンタ19が保持しているカウント信号がLatch26に取り込まれる。
この時点で保持されるデジタル信号について説明する。時刻t52から時刻t54の期間の動作を、以下N変換と表記する。本実施例のN変換では、比較器9が比較結果信号CMPを出力した時刻t53から時刻t54までの期間をカウントしたカウント信号値であるデジタルN´信号を第2のカウンタ19が保持している。このカウント信号値は、N変換時の最大カウント信号値Nmax(つまり、ランプ信号Vrampが時間に依存した電位の変化を開始した時刻t52から時刻t54までの期間を全てカウントしたカウント信号値)から、時刻t52から時刻t53までをカウントしたカウント信号値Ncntを差し引いたカウント信号値(Nmax−Ncnt)である。実施例2ではカウント信号値NcntをLatch_n13−1が保持していたが、本実施例ではカウント信号値(Nmax−Ncnt)をLatch26が保持している。
次に、時刻t56から時刻t58の期間の動作(以下、A+N変換と表記する)を説明する。時刻t56では、第2のカウンタ19はカウント信号値(Nmax−Ncnt)を保持している。よって、第2のカウンタ19は時刻t56から時刻t57の期間のカウント動作をカウント信号値(Nmax−Ncnt)から開始する。時刻t58に第2のカウンタ19が保持しているカウント信号値は、時刻t56から時刻t57までの期間を初期値のカウント信号値(即ち時刻t52におけるカウント信号値)からカウント動作した場合のカウント信号値Acnt+Ncntに対してカウント信号値(Nmax−Ncnt)を加算した値である。この時刻t58のカウント信号値は、Acnt+Ncnt+(Nmax−Ncnt)、すなわちAcnt+Nmaxとして表される。従って、GN信号の成分を含まず、デジタルA信号にNmaxのオフセットが付されたデジタル信号がLatch26に保持される。このAcnt+Nmaxのカウント信号値を有するデジタル信号が、PA信号に基づいて出力されるGA信号を変換したデジタル信号である。
従って、デジタルA信号を得るには、時刻t58に第2のカウンタ19が保持しているカウント信号値Acnt+Nmaxから、既知であるN変換時の最大カウント信号値Nmaxを差し引く。これにより、カウント信号値Acnt、すなわちデジタルA信号を得ることができる。
時刻t58にラッチ信号LATをHレベルとした後、ラッチ信号LATをLレベルとする。
時刻t59に、パルスtranstocをHレベルとし、第2のカウンタ19のカウント信号値を時刻t54の時のカウント信号値に戻す。すなわち、カウント信号値をデジタルN´信号の信号値とする。また、水平走査回路14は各列のLatch26を順次選択し、Latch26が保持したデジタルA信号を出力する。
時刻t60に、転送パルスPTX2をLレベルからHレベルとする。これにより、フォトダイオード1に蓄積された電荷が増幅MOSトランジスタ5のゲートに転送され、垂直信号線7には、画素100からP(A+B+N)信号が出力される。反転増幅器17から比較器9にG(A+B+N)信号が出力される。
時刻t61に、ランプ信号リセットパルスRamp ResetをHレベルからLレベルとする。そして、ランプ信号Vrampの時間に依存した電位の変化を開始する。また、カウンタ制御パルスを「停止」の状態から「カウント」の状態に変化させる。これにより、第2のカウンタ19は、時刻t54でのカウント信号値(すなわち時刻t59でのカウント信号値でもある)からカウント動作を開始する。
例えば、時刻t62に、垂直信号線7−2の電位Vline2とランプ信号Vrampの電位との大小関係が逆転したとする。この時に比較器9は比較結果信号CMPをカウンタ制御回路16に出力する。カウンタ制御回路16は、比較結果信号CMPを受け、カウンタ制御パルスを「カウント」の状態から「停止」の状態に変化させる。これにより、第2のカウンタ19は時刻t54でのカウント信号値から、さらに時刻t61から時刻t62までの期間をカウントしたカウント信号を保持する。
時刻t63に、ランプ信号Vrampの時間に依存した電位の変化を終了するとともに、ランプ信号リセットパルスRamp ResetをLレベルからHレベルとする。また、ラッチ信号LATをHレベルとする。これにより、この時刻t63で第2のカウンタ19が保持しているカウント信号がLatch26に取り込まれる。
この時点でLatch26に取り込まれるデジタル信号について説明する。時刻t61から時刻t63の期間の動作(以下、A+B+N変換と表記する)を説明する。時刻t61では、第2のカウンタ19はカウント信号値(Nmax−Ncnt)を保持している。よって、第2のカウンタ19は時刻t61から時刻t62の期間のカウント動作をカウント信号値(Nmax−Ncnt)から開始する。時刻t62に第2のカウンタ19が保持しているカウント信号値は、時刻t61から時刻t62までの期間を初期値のカウント信号値(即ち時刻t52におけるカウント信号値)からカウント動作した場合のカウント信号値Acnt+Bcnt+Ncntに対してカウント信号値(Nmax−Ncnt)を加算した値である。この時刻t58のカウント信号値は、Acnt+Bcnt+Ncnt+(Nmax−Ncnt)、すなわちAcnt+Bcnt+Nmaxとして表される。従って、GN信号の成分を含まず、デジタルA+B信号にNmaxのオフセットが付されたデジタル信号がLatch26に保持される。このAcnt+Bcnt+Nmaxのカウント信号値を有するデジタル信号が、P(A+B)信号に基づいて出力されるG(A+B)信号を変換したデジタル信号である。
従って、デジタルA+B信号を得るには、時刻t63に第2のカウンタ19が保持しているカウント信号値Acnt+Bcnt+Nmaxから、既知であるN変換時の最大カウント信号値Nmaxを差し引く。これにより、カウント信号値Acnt+Bcnt、すなわちデジタルA+B信号を得ることができる。
時刻t63にラッチ信号LATがHレベルとした後、ラッチ信号LATをLレベルとする。
時刻t64に、カウント信号リセットパルスCNT ResetをHレベルとする。これにより、第2のカウンタ19のカウント信号の信号値が初期値にリセットされる。また、水平走査回路14は各列のLatch26を順次選択し、時刻t63にLatch26が保持したデジタル信号を出力する。
このデジタルA信号、デジタルA+B信号を得るうえで行われる、Latch26が保持したデジタル信号からNmaxを差し引く処理は、撮像装置内で行っても良いし、撮像装置に電気的に接続された不図示の信号処理部で行っても良い。
本実施例の各列に設けられた回路部21は、比較器9、カウンタ制御回路16、第2のカウンタ19、メモリ25、Latch26を含んで構成されている。各列の回路部21はデジタルA信号を出力する。このデジタルA信号は、第2の信号を変換したデジタルA+N信号と、第1の信号を変換したデジタルN信号との第1の差分信号である。また、各列の回路部21はデジタルA+B信号を出力する。このデジタルA+B信号は、第3の信号を変換したデジタルA+B+N信号と第1の信号を変換したデジタルN信号との第2の差分信号である。
以上述べた通り、本実施例の撮像装置においても、デジタルA信号、デジタルA+B信号を取得することができる。また、Latch26が保持するデジタル信号はPN信号を変換したGN信号の成分を含まない信号とすることができる。つまり、本実施例の動作により、画素信号とランプ信号Vrampと比較する動作と、A+N信号、A+B+N信号からN信号を差し引いた信号を変換したデジタル信号を得る動作とを並行して行うことができる。
本実施例の撮像装置においても、実施例1、2と同様の効果を得ることができる。
本実施例の撮像装置を、実施例3とは異なる点を中心に説明する。
以下、図面を参照しながら説明する。
図6Aは本実施例の撮像装置の一例を示した等価回路図である。本実施例の撮像装置は、不図示のタイミングジェネレータからカウンタ制御回路16を介して第2のカウンタ19にモード設定パルスmodeが与えられる点が実施例3と異なっている。モード設定パルスmodeは、後述する第2のカウンタ19のモードを切り替えるためのパルスである。
図6Bは、図6Aで例示した本実施例の第2のカウンタ19を示した等価回路図である。本実施例の第2のカウンタ19は、フリップフロップ回路FF2−1〜FF2−4を電気的に接続し、前段の非反転出力端子Qからの出力を後段のクロック端子に入力する構成である。また、フリップフロップ回路FF2−1〜2−4のそれぞれの非反転出力端子Qの出力は、D0〜D3としてLatch26に与えられる。また、カウンタ制御回路16は、フリップフロップ回路FF2−1〜2−4の端子Dのそれぞれに電気的に接続されたスイッチSW3−1〜3−4、クロックパルス端子のそれぞれに電気的に接続されたスイッチSW4−1〜4−4に、モードを切り替えるモード設定パルスmodeを与える。また、不図示のタイミングジェネレータがカウンタ制御回路16を介してパルスtranstocをスイッチSW1、パルスtranstomをスイッチSW2のそれぞれに与える。モード設定パルスmodeがLレベルの時、フリップフロップ回路FF2−1〜2−4のそれぞれの反転出力端子NQが自身のフリップフロップ回路の端子Dと電気的に接続される。また、クロックパルス端子には、カウントCLKが与えられる。一方、モード設定パルスmodeがHレベルの時、フリップフロップ回路FF2−1〜FF2−4の端子Dは、それぞれ前段のフリップフロップ回路の非反転出力端子Qと電気的に接続される。また、モード設定パルスmodeがHレベルの時、フリップフロップ回路FF2−1〜2−4のクロックパルス端子にはシフトCLKが与えられる。また、スイッチSW2に与えられるパルスtranstomがHレベルの時には、フリップフロップ回路FF2−4の非反転出力端子Qとメモリ25とが電気的に接続される。従って、モード設定パルスmode、パルスtranstomがともにHレベルの時、フリップフロップ回路FF2−1〜FF2−4のそれぞれが出力する信号が順次メモリ25に出力される。メモリ25は例えばシフトレジスタ回路であり、順次出力されるフリップフロップ回路FF2−1〜FF2−4のそれぞれの出力する信号を有するカウント信号を保持する。また、モード設定パルスmode、パルスtranstocがともにHレベルである時、フリップフロップ回路FF2−1は、端子DがスイッチSW1を介してメモリ25と電気的に接続される。これにより、メモリ25に保持されているカウント信号が、順次フリップフロップ回路FF2−1〜FF2−4に与えられる。
図7は、図6Aで例示した撮像装置の動作の一例を示したタイミング図である。以下、実施例3で図5を用いて述べた動作とは異なる点を中心に説明する。
時刻t71において、モード設定パルスmodeはLレベルである。その他は図5で示した時刻t51の動作と同様とすることができる。
時刻t72から時刻t74までの動作は、図5で示した時刻t52から時刻t54までの動作と同様とすることができる。
時刻t74から時刻t76の間のいずれかの期間において、モード設定パルスmodeとパルスtranstomをHレベルとする。これにより、時刻t74のカウント信号値がメモリ25に保持される。
その他の時刻t74から時刻t76までの動作と、時刻t77から時刻t78までの動作については、図5で示した時刻t54から時刻t58までの動作と同様とすることができる。
時刻t78から時刻t80までのいずれかの期間において、モード設定パルスmodeとパルスtranstocをHレベルとする。これにより、時刻t74から時刻t76までのいずれかの期間でメモリ25に保持された時刻t74におけるカウント信号値が、第2のカウンタ19に設定される。
時刻t78から時刻t80においてのその他の動作については、図5で示した時刻t58から時刻t61と同様とすることができる。
時刻t81から時刻t83までの動作についても、図5で示した時刻t62から時刻t64までの動作とそれぞれ同様とすることができる。
以上述べた通り、本実施例の撮像装置においても、デジタルA信号、デジタルA+B信号を取得することができる。
本実施例の撮像装置においても、実施例3と同様の効果を得ることができる。
以下、図面を参照しながら本実施例の撮像装置を説明する。
本実施例は、撮像装置に設けられた画素100が出力する画素信号を用いて、位相差検出方式による焦点検出を行う形態である。
図8Aは、4つの光電変換部、すなわちフォトダイオード1、51、61、71を有する画素の一例を示した等価回路図である。
フォトダイオード1,51,61,71のそれぞれで生成した信号電荷は、それぞれ転送MOSトランジスタ20,50,60,70を介して増幅MOSトランジスタ5のゲートに転送される。転送MOSトランジスタ20のゲートには転送パルスPTX1が図1Bを用いて述べた撮像装置と同様に、垂直走査回路2から与えられる。同様に、転送MOSトランジスタ50には転送パルスPTX2、転送MOSトランジスタ60には転送パルスPTX3、転送MOSトランジスタ70には転送パルスPTX4が図1Bを用いて述べた撮像装置と同様に垂直走査回路2から与えられる。本実施例の撮像装置は、アナログデジタル変換部が実施例1〜4で述べた構成のいずれであっても実施することができるが、以下では実施例1の形態のアナログデジタル変換部160を用いた撮像装置について説明する。
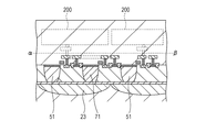
図8Bは、図8Aにおいて、画素100に含まれる2つのフォトダイオードを含む断面図である。図8Bは、フォトダイオード1,51、61,71が、1つのマイクロレンズ23と回路部200との間に配された、いわゆる裏面照射型の撮像装置である。本実施例の形態は、裏面照射型の撮像装置であっても好適に実施することができる。回路部200と、フォトダイオード1、51、61、71とを互いに異なる基板に形成し、両者の電気的な接続により裏面照射型の撮像装置を形成してもよい。基板の分離の仕方の一例をα―βの線分で示した。また、マイクロレンズ23とフォトダイオード1,51,61,71の間にインナーレンズをさらに設けて、フォトダイオードへの集光効率を向上させた形態であっても良い。
図9は、図8Aの撮像装置の動作の一例を示したタイミング図である。実施例1で図2を用いて述べたタイミングと異なる点を中心に説明する。
時刻t91からt94までの動作については、実施例1の時刻t11から時刻t14までの動作と同様とすることができる。
時刻t95に、転送パルスPTX1、PTX2をともにHレベルとする。これにより、フォトダイオード1、51のそれぞれで生成された信号電荷が増幅MOSトランジスタ5のゲートに転送される。この時、垂直信号線7に出力される画素信号は、PN信号に、フォトダイオード1の信号電荷に基づくPA信号と、フォトダイオード51の信号電荷に基づくPB信号との和が重畳されたP(A+B+N)信号である。この時刻t95での画素100から垂直信号線7への信号出力動作を本実施例では第1の画素出力動作と表記する。
時刻t96から時刻t98までの動作については、実施例1の時刻t16から時刻t18までの動作と同様とすることができる。これにより、P(A+B+N)信号をデジタル信号に変換したデジタルA+B+N信号が得られる。
時刻t99に転送パルスPTX3、PTX4をともにHレベルとする。これにより、フォトダイオード61、71のそれぞれで生成された信号電荷が、フォトダイオード1、51で生成された信号電荷を既に時刻t96に保持している増幅MOSトランジスタ5のゲートに転送される。これにより、PN信号に、P(A+B)信号と、フォトダイオード61の信号電荷に基づくPC信号と、フォトダイオード71の信号電荷に基づくPD信号とを加算した信号が重畳された、P(A+B+C+D+N)信号が垂直信号線7に出力される。この時刻t99での画素100から垂直信号線7への信号出力動作を本実施例では第2の画素出力動作と表記する。
時刻t100から時刻t102までの動作は、実施例1の時刻t20から時刻t22までの動作と同様とすることができる。これにより、P(A+B+C+D+N)信号をデジタル信号に変換したデジタルA+B+C+D+N信号を得ることができる。
差分信号出力部15−2はデジタルA信号を出力する。このデジタルA信号は、第2の信号を変換したデジタルA+N信号と、第1の信号を変換したデジタルN信号との第1の差分信号である。差分信号出力部15−1はデジタルA+B信号を出力する。このデジタルA+B信号は、第3の信号を変換したデジタルA+B+N信号と第1の信号を変換したデジタルN信号との第2の差分信号である。
以上述べた第1の画素出力動作では、画素100からP(A+B+N)信号を垂直信号線7に出力した。しかし、この組み合わせには限定されず、2つの異なるフォトダイオードから信号電荷を増幅MOSトランジスタ5のゲートに転送する形態であれば好適に位相差検出方式の動作を実施できる。詳細は図11B〜11Dを用いて後述する。
次に、図11Aに4つのフォトダイオードを有する画素100とマイクロレンズ23との配置の一例を示した。本実施例の撮像装置では複数のマイクロレンズ23を有するマイクロレンズアレイを有し、1つの画素100に対し、1つのマイクロレンズ23が配されている。図11AのA,B,C,Dは、それぞれPA、PB,PC,PD信号を得るための信号電荷を生成するフォトダイオードの配置の例を示している。例えば、Aと示した領域には、図8Aで述べたフォトダイオード1が配されている。
次に、図11B〜11Dを用いて、位相差検出方式の焦点検出の一例について説明する。図11B〜11Dにおいて楕円で囲まれた領域の信号を加算して垂直信号線7に出力する。つまり、図11Bでは、第1の画素出力動作ではP(A+C)信号、あるいはP(B+D)信号を画素100から垂直信号線7に出力する。同様に、図11Cでは、第1の画素出力動作ではP(A+B+N)信号、あるいはP(C+D+N)信号を画素100から垂直信号線7に出力する。同様に、図11Dでは、第1の画素出力動作ではP(A+D+N)信号、あるいはP(B+C+N)信号を画素100から垂直信号線7に出力する。第2の画素出力動作については、図11B〜11Dのいずれの形態でもP(A+B+C+D+N)信号を出力する。図11B〜Dの形態でのアナログ信号出力部が出力する第1の信号はPN信号である。また、図11Bでの第2の信号は、P(A+C+N)信号、あるいはP(B+D+N)信号である。また、図11Cでの第2の信号は、P(A+B+N)信号、あるいはP(C+D+N)信号である。図11Dでの第2の信号は、P(A+D+N)信号、あるいはP(B+C+N)信号である。また、図11B〜Dの形態での第3の信号は、P(A+B+C+D+N)信号である。
次に、本実施例の撮像装置を有する撮像システムについて説明する。撮像システムとして、デジタルスチルカメラやデジタルカムコーダーや監視カメラなどがあげられる。図12に、撮像システムの例としてデジタルスチルカメラに本実施例の撮像装置を適用した場合の模式図を示す。
図12において、撮像システムはレンズの保護のためのバリア151、被写体の光学像を本実施例の撮像装置154に結像させるレンズ152、レンズ152を通った光量を可変にするための絞り153、撮像装置154より出力される出力信号の処理を行う出力信号処理部155を有する。出力信号処理部155は撮像装置154から出力されるデジタル信号を処理するデジタル信号処理部である。レンズ152、絞り153は撮像装置154に光を集光する光学系である。撮像装置154は、第2の信号を変換したデジタル信号と、第3の信号を変換したデジタル信号とを出力する。出力信号処理部155はデジタルA+B信号からデジタルA信号を差し引いてデジタルB信号を得る差分処理を行うことができる。また、出力信号処理部155はその他、必要に応じて各種の補正、圧縮を行って信号を出力する動作を行う。
図12に例示した撮像システムはさらに、画像データを一時的に記憶する為のバッファメモリ部156、外部コンピュータ等と通信する為の外部インターフェース部157を有する。さらに撮像システムは、撮像データの記録または読み出しを行う為の半導体メモリ等の着脱可能な記録媒体159、記録媒体159に記録または読み出しを行うための記録媒体制御インターフェース部158を有する。さらに撮像システムは、各種演算とデジタルスチルカメラ全体を制御する全体制御・演算部1510、撮像装置154と出力信号処理部155に各種タイミング信号を出力するタイミング発生部1511を有する。ここで、タイミング信号などは外部から入力されてもよく、撮像システムは少なくとも撮像装置154と、撮像装置154から出力された出力信号を処理する出力信号処理部155とを有すればよい。
図11Bの形態では、例えば第1の画素出力動作でP(A+C+N)信号を出力し、図9を用いて述べたデジタル変換によりデジタルA+C+N信号を得たとする。第2の画素出力動作ではP(A+B+C+D+N)信号が出力され、P(A+C+N)信号と同様にデジタル変換を行い、デジタルA+B+C+D+N信号を得る。差分信号出力部15は、デジタルA+C信号、デジタルA+B+C+D信号を出力する。出力信号処理部155は、撮像装置から出力されたデジタルA+B+C+D信号とデジタルA+C信号との差分であるデジタル(B+D)´信号を得る。このデジタル(B+D)´信号は、この形態では画素100からP(B+D)信号は出力されてはいないが、画素100が出力すると想定されるP(B+D)信号をデジタル変換したデジタルB+D信号に相当する信号である。デジタルA+C信号、デジタル(B+D)´信号を用いて、フォトダイオードの列による位相差を検出し、焦点検出を行うことができる。
同様に、図11Cでは、フォトダイオードの行による位相差を検出し、焦点検出を行うことができる。また、図11Dでは、フォトダイオードの斜め方向の位相差を検出し、焦点検出を行うことができる。
次に、図11Eを用いて、画素部の行ごとの信号出力動作について説明する。図11Eは、画素部を模式的にあらわしたものであり、L1からL4は図の上から順に、1行目から4行目の画素行を表している。また、L1の行については、A+C,A+B+C+Dと記載しているが、これは第1の画素出力動作でP(A+C)信号を含む信号であるP(A+C+N)信号が画素100から垂直信号線7に出力され、第2の画素出力動作でP(A+B+C+D)信号を含む信号であるP(A+B+C+D+N)信号が画素100から垂直信号線7に出力されることを示している。L2からL4の行についても同様である。このような配置とすることにより、L1の行の画素100ではフォトダイオードの列による位相差を検出でき、L2の行の画素100では、フォトダイオードの行による位相差を検出することができる。これにより、各行の画素100で、フォトダイオードの列ごと、行ごとの位相差を検出することができる。また、必要に応じて、図11Dのようにフォトダイオードの斜め方向の位相差を検出する行を設けても良い。
また、第2の画素出力動作で得られるP(A+B+C+D)信号は、画素100が有する全てのフォトダイオードへの入射光に基づく画素信号である。従って、画素100の入射光に基づく画像を得るには、P(A+B+C+D)信号を変換したデジタルA+B+C+D信号を用いて画像を生成すればよい。
次に、図11Fを用いて、画素部の行ごとの信号出力動作の他の形態を説明する。図11Fの図中の符号は、図11Eと同様として示している。図11Fの信号出力動作では、各行の画素100は、PN信号、P(A+N)信号、P(A+B+N)信号、P(D+N)信号、P(D+C+N)信号をそれぞれ時分割で垂直信号線7に出力する。この出力動作について、図10を参照しながら説明する。図10はLatch_n13−1が、デジタルN信号を保持できるメモリを複数有するダブルバッファメモリの形態であるとして説明する。
時刻t111から時刻t114までの動作については、先の図9を参照しながら説明した時刻t91から時刻t94までの動作のそれぞれと同様とすることができる。
時刻t115に、転送パルスPTX1をHレベルとする。これにより、画素100から垂直信号線7にP(A+N)信号が出力される。
時刻t116から時刻t118までの動作については、先の図9を参照しながら説明した時刻t96から時刻t98までの動作と同様とすることができる。これにより、P(A+N)信号をデジタル信号に変換したデジタルA+N信号が得られる。
時刻t119に転送パルスPTX2をHレベルとする。これにより、P(A+B+N)信号が画素100から垂直信号線7に出力される。
時刻t120から時刻t122までの動作については、先の図9を参照しながら説明した時刻t100から時刻t102までの動作と同様とすることができる。これにより、P(A+B+N)信号をデジタル信号に変換したデジタルA+B+N信号が得られる。
時刻t123に、リセットパルスPRESをHレベルとする。これにより、増幅MOSトランジスタ5のゲートの電位がリセットレベルとなる。
時刻t124から時刻t127までの動作は、先の時刻t111から時刻t114までの動作と同様とすることができる。Latch_n13−1がダブルバッファメモリであるので、このN変換の期間と、差分信号出力部15−1に時刻t114で保持したデジタルN信号が転送されている期間とを重ねることができる。
時刻t128に転送パルスPTX3をHレベルとする。これにより、P(D+N)信号が画素100から垂直信号線7に出力される。
時刻t129から時刻t131までの動作は、先の時刻t116から時刻t118までの動作と同様とすることができる。これにより、P(D+N)信号をデジタル信号に変換したデジタルD+N信号が得られる。
時刻t132に、転送パルスPTX4をHレベルとする。これにより、P(D+C+N)信号が画素100から垂直信号線7に出力される。
時刻t133から時刻t135までの動作は、先の時刻t120から時刻t122までの動作と同様とすることができる。これにより、P(D+C+N)信号をデジタル信号に変換したデジタルD+C+N信号が得られる。
なお、時刻t125から時刻t127までの動作によって、PN信号を再びデジタルN信号に変換しているが、この動作を省略し、時刻t112から時刻t115で得たデジタルN信号のみを用いる形態であっても良い。
以上述べた通り、撮像装置からはデジタルA信号、デジタルA+B信号、デジタルD信号、デジタルD+C信号が出力される。この形態ではn個の光電変換部はフォトダイオード1、51である。n個の光電変換部とは別のp個(pは自然数)の光電変換部は、フォトダイオード71である。p個よりも多く、n個の光電変換部とは別のq個(qは自然数)の光電変換部とは、フォトダイオード61、71である。この形態では、n=2、p=1、q=2の形態を説明したが、この形態に限定されるものではなく、適宜光電変換部の数を変更しても良い。即ち、m個、n個、p個、q個の光電変換部の数はm<n、p<qの関係式を満たす形態であれば良い。
出力信号処理部155は、撮像装置から出力されるデジタルA信号とデジタルA+B信号との差分であるデジタルB´信号を得る。デジタルB´信号は、画素100が出力すると想定されるB信号をデジタル変換したデジタルB信号に相当する信号である。このデジタルA信号とデジタルB´信号とを用いて、フォトダイオードの列による位相差を検出することができる。同様に、出力信号処理部はデジタルD信号とデジタルD+C信号との差分であるデジタルC´信号を得る。デジタルC´信号は、画素100が出力すると想定されるC信号をデジタル変換したデジタルC信号に相当する信号である。このデジタルD信号とデジタルC´信号とを用いて、フォトダイオードの列による位相差を検出することができる。つまり、図11Fの形態では、1つの画素100において、デジタルA信号とデジタルB´信号とを用いた位相差検出と、デジタルC´信号とデジタルD信号を用いた位相差検出とを行える。この2つの位相差検出のそれぞれ、あるいは適宜組み合わせて焦点検出を行うことができ、図11Eの信号出力動作に比して焦点検出の精度を向上させることができる。
図11Fの動作は、例として画素100がP(A+N)、P(A+B+N),P(D+N)、P(D+C+N)信号を出力する形態を示したが、他の形態であっても良い。つまり、ある1つのフォトダイオードの信号電荷に基づく画素信号と、そのフォトダイオードを含む2つのフォトダイオードの信号電荷に基づく画素信号とが出力される形態であれば良い。
本実施例の撮像装置は、図11E、11Fの動作のみに限定されるものではなく、適宜図11E、図11Fの動作を組み合わせて行っても良い。例えば、画素100からP(A+N),P(A+B+N)信号を出力させた後、P(A+B+C+D+N)信号を出力させる形態であっても良い。
次に図11Gに、フォトダイオードとカラーフィルタ(RGB)の配置の一例を示す。図11Gでは2つの画素100−1、100―2を表している。図11Gでは、カラーフィルタの色と、PA、PB,PC,PD信号を得るための信号電荷を生成するフォトダイオードとの配置関係を、「カラーフィルタの色−PA、PB,PC,PD信号を得るための信号電荷を生成するフォトダイオード」の順で示した。即ち、「G−A」と示されている領域は、緑(G)のカラーフィルタが配されると共に、PA信号を出力するための信号電荷を生成するフォトダイオード1が配されている領域である。1つの画素100のフォトダイオードの1行2列は同色のカラーフィルタが配されている。また、2つの画素100−1,100−2の1行2列ごとに異なる色のカラーフィルタが、ベイヤー配列で配されている。この形態の場合では、それぞれの画素100−1、100−2は、先述した図11Cのように画素信号を出力することが好ましい。これは、同色のカラーフィルタを経由してフォトダイオードに入射した光を用いて焦点検出することにより、焦点検出を高精度に行うことができるためである。さらに、複数の画素100が出力する画素信号を用いて焦点検出を行う形態であっても良い。例えば、緑(G)のカラーフィルタが配された領域に含まれるフォトダイオードから出力される、画素100−1の画素信号を変換したデジタルA信号とデジタルB信号、画素100−2の画素信号を変換したデジタルC信号とデジタルD信号、デジタルA+B信号とデジタルC+D信号、のそれぞれの組み合わせから位相差を検出して焦点検出を行う形態であっても良い。また、この焦点検出の形態ではデジタルA信号とデジタルB信号、あるいはデジタルC信号とデジタルD信号のいずれか一方の組み合わせと、デジタルA+B信号とデジタルC+D信号の組み合わせとを用いる形態であっても良い。また、図11Gでは水平方向(HSC14が走査する方向)に配された画素100−1、100−2を用いて焦点検出を行う形態を示した。一方、図11Hは垂直方向(VSC2が走査する方向)に配された画素100−1、100―2を用いて焦点検出を行う場合のカラーフィルタの配置の一例を示したものである。垂直方向に配された複数の画素100を用いて焦点検出を行う形態においても、それぞれの画素100−1、100−2は、先述した図11Cのように画素信号を出力することが好ましい。また、画素100−1と画素100−2とのカラーフィルタの配置については、少なくとも画素100−1と画素100−2とで隣接する光電変換部に配されたカラーフィルタが同色であれば良い。すなわち、図11Hの形態では、画素100−1の「R−C」、「R−D」に対して、画素100−2で同色のカラーフィルタを有する「R−A」、「R−B」が隣り合って配されていれば良い。さらに言えば、画素100−1のカラーフィルタの配列に対する画素100−2のカラーフィルタの配列は、図11Hで示したように上下を逆にしたものとすることが好ましい。
本実施例は、図8Aで例示した画素100と、実施例1のアナログデジタル変換部160を有する形態を基に説明した。他の形態として、先述したように、図8Aで例示した画素100と、実施例2〜5で述べたアナログデジタル変換部160とを有する撮像装置であっても好適に実施することができる。また、図8Aの画素100は4つのフォトダイオードを有していたが、この数には限定されない。すなわち、複数のフォトダイオードを有し、1つのマイクロレンズが配された画素100を有する構成であれば、好適に実施することができる。これらの形態であっても、実施例1〜4のそれぞれで述べた効果が得られ、さらに好適に位相差検出方式の焦点検出を行うことができる効果を有する。
実施例1〜4で述べた撮像装置を撮像システムに適用した場合の実施例について述べる。撮像システムとして、デジタルスチルカメラやデジタルカムコーダーや監視カメラなどがあげられる。本実施例の撮像システムの例としてデジタルスチルカメラに撮像装置を適用した場合の模式図は実施例5で説明した図12と同様とすることができる。
以上のように、本実施例の撮像システムは、撮像装置154を適用して撮像動作を行うことが可能である。
本発明は上記実施の形態に制限されるものではなく、本発明の精神及び範囲から離脱することなく、様々な変更及び変形が可能である。従って、本発明の範囲を公にするために以下の請求項を添付する。
1、51 光電変換部
2 垂直走査回路
4 リセットMOSトランジスタ
5 増幅MOSトランジスタ
6 選択MOSトランジスタ
7 垂直信号線
8 電流源
9 比較器
10 ランプ信号発生回路
13 ラッチ回路
14 水平走査回路
15 差分信号出力部
160 アナログデジタル変換部
18 カウンタ
20,50 転送MOSトランジスタ
21 回路部
100 画素

Claims (9)

  1. アナログ信号出力部と、比較器および信号保持部を有する回路部と、前記比較器にランプ信号を供給するランプ信号供給部と、クロックを計数するカウンタとを含む撮像装置であって、
    前記アナログ信号出力部は画素を含み、
    前記画素は、光電変換部を有し、
    前記アナログ信号出力部は、前記光電変換部で生成した信号電荷に基づく第1のアナログ信号と、前記信号電荷に前記光電変換部で生成した別の信号電荷を加算した信号電荷に基づく第2のアナログ信号と、をそれぞれ出力し、
    前記比較器は、前記比較器のリセットされた入力ノードの電位と前記ランプ信号との比較である第1の比較を行い、
    前記カウンタは、前記第1の比較において、前記ランプ信号の電位の変化の開始から前記第1の比較の結果が変化するまでの期間を、前記クロックを加算あるいは減算の一方で計数することで、第1のデジタル信号を生成し、
    前記信号保持部が前記第1のデジタル信号を保持し、
    前記比較器は、前記第1のアナログ信号と前記ランプ信号との比較である第2の比較と、前記第2のアナログ信号と前記ランプ信号との比較である第3の比較とをそれぞれ行い、
    前記カウンタは、前記第2の比較において、前記ランプ信号の電位の変化の開始から前記第2の比較の結果が変化するまでの期間を、前記クロックを加算あるいは減算の他方で計数することで、第2のデジタル信号を生成し、
    前記カウンタは、前記第3の比較において、前記ランプ信号の電位の変化の開始から前記第3の比較の結果が変化するまでの期間を、前記クロックを加算あるいは減算の他方で計数することで、第3のデジタル信号を生成し、
    前記第2のデジタル信号と前記第3のデジタル信号の少なくとも一方の生成において、前記信号保持部から前記カウンタに前記第1のデジタル信号が入力されることによって、前記カウンタの前記クロックを加算あるいは減算の他方の計数の起点が前記第1のデジタル信号に対応する信号に設定されることを特徴とする撮像装置。
  2. 前記画素は個(nは2以上の自然数)の光電変換部を有し、
    前記第1のアナログ信号が、前記n個の光電変換部のうちのm個(mはn>mの関係式を満たす自然数)の前記光電変換部で生成した信号電荷に基づく信号であり
    前記第2のアナログ信号が、前記n個の光電変換部で生成した信号電荷に基づく信号であることを特徴とする請求項1に記載の撮像装置。
  3. 前記撮像装置は、
    マイクロレンズを複数有するマイクロレンズアレイをさらに有し、
    1つの前記マイクロレンズは、前記n個の光電変換部に光を射させることを特徴とする請求項に記載の撮像装置。
  4. 前記比較器は、前記アナログ信号出力部が出力する信号と前記ランプ信号とを比較した結果を示す比較結果信号を出力し、
    前記アナログ信号出力部が出力する信号のデジタル信号への換を、前記ランプ信号の電位の時間に依存した変化を開始するタイミングから前記比較結果信号の信号値が変化したタイミングまでの前記カウンタの信号を用いて行うことを特徴とする請求項1〜3のいずれか1項に記載の撮像装置。
  5. 前記アナログ信号出力部は増幅部を有し、
    前記第1のアナログ信号と前記第2のアナログ信号のそれぞれは、前記画素が出力する信号を前記増幅部が増幅して出力した信号であることを特徴とする請求項1〜のいずれか1項に記載の撮像装置。
  6. 前記第1のデジタル信号は複数のビットのデジタル信号であって
    前記カウンタは、前記複数のビットの各々に、それぞれが対応する複数のフリップフロップ回路を有し、
    前記信号保持部は、複数のビットメモリを有し、
    前記複数のビットメモリの各々は、前記複数のフリップフロップ回路のうちの対応する1つのフリップフロップ回路に電気的に接続されていることを特徴とする請求項1〜5のいずれか1項に記載の撮像装置。
  7. 前記第1のデジタル信号は複数のビットのデジタル信号であって
    前記カウンタは、前記複数のビットの各々に、それぞれが対応する複数のフリップフロップ回路を有し、
    前記信号保持部は、入力ノードと出力ノードとを備え、
    前記入力ノードは、前記複数のビットのうちの第1のビットに対応するフリップフロップ回路に電気的に接続され、
    前記出力ノードは、前記複数のビットのうちの、前記第1のビットよりも上位のビットである第2のビットに対応するフリップフロップ回路に電気的に接続されていることを特徴とする請求項1〜5のいずれか1項に記載の撮像装置。
  8. 請求項に記載の撮像装置と、
    前記撮像装置から、前記第1の差分信号と、前記第2の差分信号とが入力されるデジタル信号処理部と、を有する撮像システムであって、
    前記デジタル信号処理部が、
    前記第1の差分信号と前記第2の差分信号との差分である第3の差分信号を得て、前記第3の差分信号と、前記第1の差分信号とによって、焦点検出を行うことを特徴とする撮像システム。
  9. 請求項1〜8のいずれか1項に記載の撮像装置と、
    前記撮像装置が出力する信号を処理することによって、画像データを生成するデジタル信号処理部とを有することを特徴とする撮像システム。
JP2016234100A 2016-12-01 2016-12-01 撮像装置、撮像システム Expired - Fee Related JP6242467B2 (ja)

Priority Applications (1)

Application Number Priority Date Filing Date Title
JP2016234100A JP6242467B2 (ja) 2016-12-01 2016-12-01 撮像装置、撮像システム

Applications Claiming Priority (1)

Application Number Priority Date Filing Date Title
JP2016234100A JP6242467B2 (ja) 2016-12-01 2016-12-01 撮像装置、撮像システム

Related Parent Applications (1)

Application Number Title Priority Date Filing Date
JP2014501885A Division JP6053750B2 (ja) 2012-02-28 2012-02-28 撮像装置、撮像システム、撮像装置の駆動方法

Related Child Applications (1)

Application Number Title Priority Date Filing Date
JP2017214160A Division JP6598837B2 (ja) 2017-11-06 2017-11-06 撮像装置、撮像システム

Publications (2)

Publication Number Publication Date
JP2017077003A JP2017077003A (ja) 2017-04-20
JP6242467B2 true JP6242467B2 (ja) 2017-12-06

Family

ID=58551649

Family Applications (1)

Application Number Title Priority Date Filing Date
JP2016234100A Expired - Fee Related JP6242467B2 (ja) 2016-12-01 2016-12-01 撮像装置、撮像システム

Country Status (1)

Country Link
JP (1) JP6242467B2 (ja)

Families Citing this family (1)

* Cited by examiner, † Cited by third party
Publication number Priority date Publication date Assignee Title
US11910113B2 (en) * 2018-05-23 2024-02-20 Nikon Corporation Image sensor and image-capturing device having pixels for focus detection and pixels for image generation

Family Cites Families (7)

* Cited by examiner, † Cited by third party
Publication number Priority date Publication date Assignee Title
JP3774597B2 (ja) * 1999-09-13 2006-05-17 キヤノン株式会社 撮像装置
JP5187550B2 (ja) * 2007-08-21 2013-04-24 ソニー株式会社 撮像装置
JP4743227B2 (ja) * 2008-05-12 2011-08-10 ソニー株式会社 Ad変換方法およびad変換装置、並びに物理量分布検知の半導体装置および電子機器
JP5251412B2 (ja) * 2008-10-09 2013-07-31 ソニー株式会社 固体撮像素子およびその駆動方法、並びにカメラシステム
JP5429547B2 (ja) * 2009-10-02 2014-02-26 ソニー株式会社 固体撮像装置、撮像装置、ad変換方法
JP4821921B2 (ja) * 2010-09-03 2011-11-24 ソニー株式会社 固体撮像装置および電子機器
JP5316611B2 (ja) * 2011-08-08 2013-10-16 ソニー株式会社 固体撮像装置、撮像装置、ad変換ゲイン調整方法

Also Published As

Publication number Publication date
JP2017077003A (ja) 2017-04-20

Similar Documents

Publication Publication Date Title
JP6053750B2 (ja) 撮像装置、撮像システム、撮像装置の駆動方法
US20220329748A1 (en) Comparator, ad converter, solid-state imaging device, electronic apparatus, and method of controlling comparator
JP6164846B2 (ja) 撮像装置、撮像システム、撮像装置の駆動方法
JP5886806B2 (ja) 固体撮像装置
JP6041500B2 (ja) 撮像装置、撮像システム、撮像装置の駆動方法、撮像システムの駆動方法
US8269872B2 (en) Analog-to-digital converter, analog-to-digital converting method, solid-state image pickup device, and camera system
US7321329B2 (en) Analog-to-digital converter and semiconductor device
US9232165B2 (en) Solid-state imaging apparatus and method for driving solid-state imaging apparatus
CN102905088B (zh) 固态成像装置
US20090109315A1 (en) Data processor, solid-state imaging device, imaging device, and electronic apparatus
US20150092097A1 (en) Imaging apparatus
JP6120495B2 (ja) 撮像装置、撮像装置の駆動方法、撮像システム、撮像システムの駆動方法
JP6415041B2 (ja) 撮像装置、撮像システム、撮像装置の駆動方法、撮像システムの駆動方法
JP2013051575A (ja) 固体撮像装置、撮像装置および撮像方法
US9258505B2 (en) Imaging apparatus, imaging system, method for driving imaging apparatus, and method for driving imaging system
JP2017147700A (ja) 撮像装置、撮像システム、撮像装置の駆動方法
WO2020090166A1 (ja) 信号処理装置、イメージセンサ、撮像装置、並びに情報処理装置
JP2012175690A (ja) 固体撮像素子
JP6598837B2 (ja) 撮像装置、撮像システム
JP6242467B2 (ja) 撮像装置、撮像システム
JP4403402B2 (ja) Ad変換方法およびad変換装置並びに物理情報取得方法および物理情報取得装置
JP6632357B2 (ja) 撮像装置の駆動方法、撮像装置、撮像システム
JP2013197866A (ja) 個体撮像装置および駆動方法、並びに、電子機器

Legal Events

Date Code Title Description
A521 Request for written amendment filed

Free format text: JAPANESE INTERMEDIATE CODE: A523

Effective date: 20170206

A977 Report on retrieval

Free format text: JAPANESE INTERMEDIATE CODE: A971007

Effective date: 20170911

TRDD Decision of grant or rejection written
A01 Written decision to grant a patent or to grant a registration (utility model)

Free format text: JAPANESE INTERMEDIATE CODE: A01

Effective date: 20171010

A61 First payment of annual fees (during grant procedure)

Free format text: JAPANESE INTERMEDIATE CODE: A61

Effective date: 20171107

R151 Written notification of patent or utility model registration

Ref document number: 6242467

Country of ref document: JP

Free format text: JAPANESE INTERMEDIATE CODE: R151

LAPS Cancellation because of no payment of annual fees