JP6239569B2 - 表示装置 - Google Patents

表示装置 Download PDF

Info

Publication number
JP6239569B2
JP6239569B2 JP2015220047A JP2015220047A JP6239569B2 JP 6239569 B2 JP6239569 B2 JP 6239569B2 JP 2015220047 A JP2015220047 A JP 2015220047A JP 2015220047 A JP2015220047 A JP 2015220047A JP 6239569 B2 JP6239569 B2 JP 6239569B2
Authority
JP
Japan
Prior art keywords
layer
light
color filter
abbreviation
film
Prior art date
Legal status (The legal status is an assumption and is not a legal conclusion. Google has not performed a legal analysis and makes no representation as to the accuracy of the status listed.)
Active
Application number
JP2015220047A
Other languages
English (en)
Other versions
JP2016048690A (ja
Inventor
亮 荒澤
亮 荒澤
Current Assignee (The listed assignees may be inaccurate. Google has not performed a legal analysis and makes no representation or warranty as to the accuracy of the list.)
Semiconductor Energy Laboratory Co Ltd
Original Assignee
Semiconductor Energy Laboratory Co Ltd
Priority date (The priority date is an assumption and is not a legal conclusion. Google has not performed a legal analysis and makes no representation as to the accuracy of the date listed.)
Filing date
Publication date
Application filed by Semiconductor Energy Laboratory Co Ltd filed Critical Semiconductor Energy Laboratory Co Ltd
Priority to JP2015220047A priority Critical patent/JP6239569B2/ja
Publication of JP2016048690A publication Critical patent/JP2016048690A/ja
Application granted granted Critical
Publication of JP6239569B2 publication Critical patent/JP6239569B2/ja
Active legal-status Critical Current
Anticipated expiration legal-status Critical

Links

Images

Classifications

    • HELECTRICITY
    • H10SEMICONDUCTOR DEVICES; ELECTRIC SOLID-STATE DEVICES NOT OTHERWISE PROVIDED FOR
    • H10KORGANIC ELECTRIC SOLID-STATE DEVICES
    • H10K59/00Integrated devices, or assemblies of multiple devices, comprising at least one organic light-emitting element covered by group H10K50/00
    • H10K59/30Devices specially adapted for multicolour light emission
    • H10K59/38Devices specially adapted for multicolour light emission comprising colour filters or colour changing media [CCM]
    • HELECTRICITY
    • H10SEMICONDUCTOR DEVICES; ELECTRIC SOLID-STATE DEVICES NOT OTHERWISE PROVIDED FOR
    • H10KORGANIC ELECTRIC SOLID-STATE DEVICES
    • H10K50/00Organic light-emitting devices
    • H10K50/10OLEDs or polymer light-emitting diodes [PLED]
    • H10K50/14Carrier transporting layers
    • H10K50/15Hole transporting layers
    • H10K50/155Hole transporting layers comprising dopants
    • HELECTRICITY
    • H10SEMICONDUCTOR DEVICES; ELECTRIC SOLID-STATE DEVICES NOT OTHERWISE PROVIDED FOR
    • H10KORGANIC ELECTRIC SOLID-STATE DEVICES
    • H10K50/00Organic light-emitting devices
    • H10K50/10OLEDs or polymer light-emitting diodes [PLED]
    • H10K50/14Carrier transporting layers
    • H10K50/16Electron transporting layers
    • H10K50/165Electron transporting layers comprising dopants
    • HELECTRICITY
    • H10SEMICONDUCTOR DEVICES; ELECTRIC SOLID-STATE DEVICES NOT OTHERWISE PROVIDED FOR
    • H10KORGANIC ELECTRIC SOLID-STATE DEVICES
    • H10K50/00Organic light-emitting devices
    • H10K50/80Constructional details
    • H10K50/86Arrangements for improving contrast, e.g. preventing reflection of ambient light
    • H10K50/865Arrangements for improving contrast, e.g. preventing reflection of ambient light comprising light absorbing layers, e.g. light-blocking layers
    • HELECTRICITY
    • H10SEMICONDUCTOR DEVICES; ELECTRIC SOLID-STATE DEVICES NOT OTHERWISE PROVIDED FOR
    • H10KORGANIC ELECTRIC SOLID-STATE DEVICES
    • H10K59/00Integrated devices, or assemblies of multiple devices, comprising at least one organic light-emitting element covered by group H10K50/00
    • H10K59/10OLED displays
    • H10K59/12Active-matrix OLED [AMOLED] displays
    • H10K59/123Connection of the pixel electrodes to the thin film transistors [TFT]
    • HELECTRICITY
    • H10SEMICONDUCTOR DEVICES; ELECTRIC SOLID-STATE DEVICES NOT OTHERWISE PROVIDED FOR
    • H10KORGANIC ELECTRIC SOLID-STATE DEVICES
    • H10K59/00Integrated devices, or assemblies of multiple devices, comprising at least one organic light-emitting element covered by group H10K50/00
    • H10K59/80Constructional details
    • H10K59/8791Arrangements for improving contrast, e.g. preventing reflection of ambient light
    • H10K59/8792Arrangements for improving contrast, e.g. preventing reflection of ambient light comprising light absorbing layers, e.g. black layers
    • HELECTRICITY
    • H10SEMICONDUCTOR DEVICES; ELECTRIC SOLID-STATE DEVICES NOT OTHERWISE PROVIDED FOR
    • H10KORGANIC ELECTRIC SOLID-STATE DEVICES
    • H10K50/00Organic light-emitting devices
    • H10K50/10OLEDs or polymer light-emitting diodes [PLED]
    • H10K50/19Tandem OLEDs
    • HELECTRICITY
    • H10SEMICONDUCTOR DEVICES; ELECTRIC SOLID-STATE DEVICES NOT OTHERWISE PROVIDED FOR
    • H10KORGANIC ELECTRIC SOLID-STATE DEVICES
    • H10K59/00Integrated devices, or assemblies of multiple devices, comprising at least one organic light-emitting element covered by group H10K50/00
    • H10K59/10OLED displays
    • H10K59/12Active-matrix OLED [AMOLED] displays
    • H10K59/122Pixel-defining structures or layers, e.g. banks

Landscapes

  • Physics & Mathematics (AREA)
  • Optics & Photonics (AREA)
  • Engineering & Computer Science (AREA)
  • Microelectronics & Electronic Packaging (AREA)
  • Electroluminescent Light Sources (AREA)
  • Devices For Indicating Variable Information By Combining Individual Elements (AREA)
  • Optical Filters (AREA)

Description

本発明は、有機化合物を含む層を発光層とする発光装置及び電子機器に関する。
薄型軽量化が容易であること、入力信号に対し高速に応答可能であること、直流低電圧電
源を用いて駆動可能であること等の特徴を有する有機化合物を発光体として用いた発光素
子は、次世代のフラットパネルディスプレイや照明への応用が検討されている。特に、発
光素子をマトリクス状に配置した表示装置は、従来の液晶表示装置と比較して、視野角が
広く視認性が優れる点に優位性があると考えられている。
有機化合物を発光体として用いた発光素子の発光機構は以下の通りである。まず、一対の
電極間にエレクトロルミネッセンス(Electro Luminescence、以下
ELとも記す)層を挟んで電圧を印加することにより、陰極から注入された電子および陽
極から注入された正孔がEL層に注入され、電流が流れる。そして、注入された電子及び
正孔がEL層中の発光性の有機化合物を励起状態に至らしめ、励起された発光性の有機化
合物から発光を得る。励起状態には一重項励起と三重項励起が知られ、発光はどちらの励
起状態を経ても可能であると考えられている。
発光素子を構成するEL層は、少なくとも発光層を有する。また、EL層は、発光層の他
に、正孔注入層、正孔輸送層、電子輸送層、電子注入層などを有する積層構造とすること
もできる。
フルカラーの画像を表示する装置を作製する場合には、少なくとも赤、緑、青の3色の光
を発する発光素子をマトリクス状に配置することが必要となる。その方法としては、色ご
とにEL層の必要な部分を塗り分けて発光色が異なる発光素子を設ける方法(以下、塗り
分け方式と記す)、すべての発光素子を白色発光とし、それぞれにカラーフィルタを重ね
て白色光を透過させることによって各々の色を得る方法(以下、カラーフィルタ方式と記
す)や、すべての発光素子を青色又は青色より短波長の発光とし、それぞれに色変換層を
重ねて青色光を透過させることによって各々の色を得る方法(以下、色変換方式と記す)
などがある。例えば、特許文献1には、カラーフィルタ方式を用いた有機EL表示装置の
記載がある。
塗り分け方式は、材料の利用効率が低い、歩留まりを高めることが困難である等、塗り分
け技術に課題が多く、高精細化や基板の大型化が難しい。一方、カラーフィルタ方式や色
変換方式は、塗り分け方式に比べて、製造工程が簡単であり、高精細化や基板の大型化へ
の対応に有利である。
特開2004−227854号公報
しかし、カラーフィルタ方式は、カラーフィルタによる光の吸収が発生するため、塗り分
け方式に比べて、消費電力が高いという問題がある。また、色変換方式も、色の変換効率
が必ずしも100%ではないため、塗り分け方式に比べて、消費電力が高いという問題が
ある。
したがって、本発明の一態様は、消費電力が低く、製造工程が簡単であり、高精細化や基
板の大型化への対応に好適な発光装置を提供することを課題とする。また、該発光装置を
用いた電子機器を提供することを課題とする。
上記課題を解決するためには、発光装置に用いる発光素子の駆動電圧を低減すれば良い。
具体的には、基板側の電極層(以下、第1の電極層と記す)、第2の電極層、及びEL層
を有する発光素子において、EL層が、導電性が高められた層と、発光性の有機化合物を
含む層を備えていれば良い。導電性が高められた層としては、可視光に対する透光性を有
し、導電性の高い物質(例えば、酸化インジウム酸化スズ合金(In−SnO
ITO))を含む層や、ドナー性物質及びアクセプター性物質を含む層をその例に挙げる
ことができる。ドナー性物質及びアクセプター性物質を含む層としては、具体的には、有
機化合物に、アルカリ金属、アルカリ土類金属、希土類金属、アルカリ金属化合物、アル
カリ土類金属化合物、又は希土類金属化合物を添加した層や、ポリ(3,4−エチレンジ
オキシチオフェン)/ポリ(スチレンスルホン酸)(PEDOT/PSS)等の導電性高
分子を含む層を用いることができる。導電性が高められた層をEL層の一部に備えること
で、発光素子の駆動電圧を低くすることができる。駆動電圧の低い発光素子を用いること
で、低消費電力の発光装置を実現することができる。
さらに、カラーフィルタ方式や色変換方式の中でも、発光素子の第1の電極層と基板との
間に、カラーフィルタ、又は色変換層を形成する方式を採用すれば良い。この方式を用い
ると、基板上に導電率の高い配線を作製した後に、連続してカラーフィルタ、又は色変換
層を形成すれば良く、導電率の高い配線上に発光素子を形成した基板に別途作製したカラ
ーフィルタ付きの基板を貼り合わせる方式に比べ、製造工程が簡単で、低コスト化が実現
できる。
特に、発光素子と同一基板上に、発光素子のスイッチング素子としてトランジスタを形成
し、発光素子の第1の電極層と、トランジスタのソース電極層、又はドレイン電極層とを
接続する構成、所謂アクティブマトリクス型の発光装置とすれば良い。アクティブマトリ
クス型の発光装置とすることで、発光装置の高画質化、及び低消費電力化が容易となる。
発光素子の第1の電極層と基板の間に、カラーフィルタ層を形成する場合、カラーフィル
タ層には開口部が設けられており、開口部の一部で、基板上の導電率の高い配線と接続す
る必要がある。特に、アクティブマトリクス型の発光装置では、当該開口部を介して画素
用トランジスタの電極層と発光素子の第1の電極層とが接続する必要がある。なお、カラ
ーフィルタ層の開口部と重なるEL層は発光しないように、開口部において、第1の電極
層上に絶縁性の隔壁が設けられ、隔壁上に、EL層及び第2の電極層が形成されている。
これは、開口部と重なるEL層が発光することで、カラーフィルタ層を通っていない光が
観察者側に漏れる現象を防ぐためである。しかし、上述の通り、本発明の一態様の発光装
置は、EL層に、導電性が高められた層を備えるため、当該導電性が高められた層を介し
て、絶縁性の隔壁上に電流が回り込む現象が発生する。その結果、EL層は、カラーフィ
ルタ層の開口部に設けた隔壁上においても発光する。カラーフィルタ層を通っていない光
がカラーフィルタ層の開口部から漏れて取り出されると、発光装置全体の色再現性が悪く
なるといった不具合が生じる。したがって、絶縁性の隔壁を可視光に対する遮光性を有す
る材料で設ける、または、カラーフィルタ層の開口部において、EL層と基板の間に、可
視光に対する遮光性を有する層を設けることによって、当該不具合を解決できる。
本明細書中において、カラーフィルタ層は、特定の波長域の光を通過させる層であり、上
述の、白色光を透過させることによって各々の色を得ることが可能なカラーフィルタや、
青色光を通過させることによって各々の色を得ることが可能な色変換層を含むものとする
したがって、本発明の一態様は、可視光に対する遮光性を有する層と、可視光に対する遮
光性を有する層上に一部が重なる、導電層と、可視光に対する遮光性を有する層上に開口
部を有する、カラーフィルタ層と、カラーフィルタ層上に、開口部で導電層と接続し、可
視光に対する透光性を有する第1の電極層と、開口部と重なる第1の電極層上に、絶縁性
の隔壁と、第1の電極層及び隔壁上に、有機化合物を含む層と、有機化合物を含む層上に
、第2の電極層を有し、有機化合物を含む層は、ドナー性物質及びアクセプター性物質を
含む層と、発光性の有機化合物を含む層を備える発光装置である。
本発明の一態様は、可視光に対する遮光性を有する層と、可視光に対する遮光性を有する
層上に一部が重なる、可視光に対する遮光性を有する導電層と、可視光に対する遮光性を
有する層上及び導電層上に開口部を有する、カラーフィルタ層と、カラーフィルタ層上に
、開口部で導電層と接続し、可視光に対する透光性を有する第1の電極層と、開口部と重
なる第1の電極層上に、絶縁性の隔壁と、第1の電極層及び隔壁上に、有機化合物を含む
層と、有機化合物を含む層上に、第2の電極層を有し、有機化合物を含む層は、ドナー性
物質及びアクセプター性物質を含む層と、発光性の有機化合物を含む層を備える発光装置
である。
本発明の一態様は、可視光に対する遮光性を有する導電層と、導電層上に開口部を有する
、カラーフィルタ層と、カラーフィルタ層上に、開口部で導電層と接続し、可視光に対す
る透光性を有する第1の電極層と、開口部と重なる第1の電極層上に、絶縁性の隔壁と、
第1の電極層及び隔壁上に、有機化合物を含む層と、有機化合物を含む層上に、第2の電
極層を有し、有機化合物を含む層は、ドナー性物質及びアクセプター性物質を含む層と、
発光性の有機化合物を含む層を備える発光装置である。
上記構成の発光装置において、導電層は、トランジスタと電気的に接続されていることが
好ましい。
可視光に対する遮光性を有する導電層は、該トランジスタが有するゲート電極層や、ソー
ス電極層、ドレイン電極層を兼ねていても良い。また、可視光に対する遮光性を有する導
電層は、該トランジスタが有するゲート電極層や、ソース電極層、ドレイン電極層と同じ
導電膜を用いても良い。
上記構成の発光装置において、有機化合物を含む層は、発光性の有機化合物を含む層を備
えた第1の層と、発光性の有機化合物を含む層を備えた第2の層と、第1の層と第2の層
の間に形成された、中間層と、を有しても良い。このとき、中間層は、ドナー性物質及び
アクセプター性物質を含む導電性が高められた層であることが好ましい。
上記構成の発光装置において、ドナー性物質として、アルカリ金属、アルカリ土類金属、
希土類金属、アルカリ金属化合物、アルカリ土類金属化合物、又は希土類金属化合物を含
むと、有機化合物を含む層の導電性が高くなるため好ましい。
上記構成の発光装置を用いて作製した電子機器も、本発明に含むものとする。
本発明の一態様は、消費電力が低く、製造工程が簡単であり、高精細化や基板の大型化へ
の対応に好適な発光装置を提供することができる。また、該発光装置を用いた電子機器を
提供することができる。
実施の形態に係る発光装置の構成を説明する上面図。 実施の形態に係る発光装置の等価回路を示す図。 実施の形態に係る発光装置の構成を説明する断面図。 実施の形態に係る発光装置の構成を説明する断面図。 実施の形態に係る発光装置の構成を説明する上面図。 実施の形態に係る発光装置の作製方法を説明する図。 実施の形態に係る発光装置の発光層を説明する図。 実施の形態に係る発光装置の発光層を説明する図。 実施の形態に係る発光装置を説明する図。 実施の形態に係る電子機器を説明する図。
実施の形態について、図面を用いて詳細に説明する。但し、以下の説明に限定されず、趣
旨及びその範囲から逸脱することなくその形態及び詳細を様々に変更し得ることは当業者
であれば容易に理解される。従って、以下に示す実施の形態の記載内容に限定して解釈さ
れるものではない。なお、以下に説明する構成において、同一部分又は同様な機能を有す
る部分には同一の符号を異なる図面間で共通して用い、その繰り返しの説明は省略する。
(実施の形態1)
本実施の形態では、本発明の一態様の発光装置について図1乃至図5を用いて説明する。
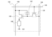
本発明の一態様の発光装置の画素部の上面図を図1に示す。図1に示す発光装置は、駆動
用トランジスタ100及びスイッチング用トランジスタ130を有する。駆動用トランジ
スタ100は、ゲート電極層105、半導体層である酸化物半導体層109、ソース電極
層、及びドレイン電極層111a、111bを有する。図2は、図1に示す画素部の回路
の等価回路に相当する。
図2は、本発明の一態様の発光装置の、デジタル時間階調駆動を適用可能な画素構成の一
例を示す図である。
デジタル時間階調駆動を適用可能な画素の構成及び画素の動作について説明する。ここで
は酸化物半導体層をチャネル形成領域に用いるnチャネル型のトランジスタを1つの画素
に2つ用いる例を示す。
画素150は、スイッチング用トランジスタ130、駆動用トランジスタ100、発光素
子140及び容量素子142を有している。スイッチング用トランジスタ130はゲート
が走査線146に接続され、第1電極(ソース電極及びドレイン電極の一方)が信号線1
44に接続され、第2電極(ソース電極及びドレイン電極の他方)が駆動用トランジスタ
100のゲートに接続されている。駆動用トランジスタ100は、ゲートが容量素子14
2を介して電源線148に接続され、第1電極が電源線148に接続され、第2電極が発
光素子140の第1電極(画素電極)に接続されている。発光素子140の第2電極は共
通電極152に相当する。共通電極152は、同一基板上に形成される共通電位線と電気
的に接続される。
なお、発光素子140の第2電極(共通電極152)には低電源電位が設定されている。
なお、低電源電位とは、電源線148に設定される高電源電位を基準にして低電源電位<
高電源電位を満たす電位であり、低電源電位としては例えばGND、0Vなどが設定され
ていても良い。この高電源電位と低電源電位との電位差を発光素子140に印加して、発
光素子140に電流を流して発光素子140を発光させるため、高電源電位と低電源電位
との電位差が発光素子140の順方向しきい値電圧以上となるようにそれぞれの電位を設
定する。
なお、容量素子142は駆動用トランジスタ100のゲート容量を代用して省略すること
も可能である。駆動用トランジスタ100のゲート容量については、チャネル領域とゲー
トとの間で容量が形成されていても良い。
ここで、電圧入力電圧駆動方式の場合には、駆動用トランジスタ100のゲートには、駆
動用トランジスタ100が十分にオンするか、オフするかのいずれかの状態となるような
ビデオ信号を入力する。つまり、駆動用トランジスタ100は線形領域で動作させる。駆
動用トランジスタ100は線形領域で動作させるため、電源線148の電圧よりも高い電
圧を駆動用トランジスタ100のゲートにかける。なお、信号線144には、(電源線電
圧+駆動用トランジスタ100のしきい値電圧Vth)以上の電圧をかける。
また、デジタル時間階調駆動に代えて、アナログ階調駆動を行う場合、異なる信号を入力
することで、図2と同じ画素構成を用いることができる。
アナログ階調駆動を行う場合、駆動用トランジスタ100のゲートに(発光素子140の
順方向電圧+駆動用トランジスタ100のVth)以上の電圧をかける。発光素子140
の順方向電圧とは、所望の輝度とする場合の電圧を指しており、少なくとも順方向しきい
値電圧よりも大きい。なお、駆動用トランジスタ100が飽和領域で動作するようなビデ
オ信号を入力することで、発光素子140に電流を流すことができる。駆動用トランジス
タ100を飽和領域で動作させるため、電源線148の電位は、駆動用トランジスタ10
0のゲート電位よりも高くする。ビデオ信号をアナログとすることで、発光素子140に
ビデオ信号に応じた電流を流し、アナログ階調駆動を行うことができる。
なお、図2に示す画素構成は、これに限定されない。例えば、図2に示す画素に新たにス
イッチ、抵抗素子、容量素子、トランジスタ又は論理回路などを追加しても良い。
図3(A)、図4(A)を用いて、本発明の一態様の発光装置の画素の詳細な構成につい
て説明する。図3(A)は、図1に示す切断線A1−A2における断面に相当し、図4(
A)は、図1に示す切断線A3−A4における断面に相当する。
図3(A)、図4(A)に示す発光装置は、可視光に対する透光性を有する基板101、
下地層103、ゲート電極層105、ゲート絶縁層107、半導体層である酸化物半導体
層109、ソース電極層及びドレイン電極層111a、111b、層間絶縁層113、カ
ラーフィルタ層115、オーバーコート層117、第1の電極層121、絶縁性を有する
隔壁127、EL層129、第2の電極層131を有する。
本発明の一態様の発光装置の半導体層に用いる半導体材料は特に限定されない。例えば、
シリコン系の半導体材料(非晶質、結晶性、単結晶いずれも含む)、ゲルマニウム系の半
導体材料、カルコゲナイド系の半導体材料、酸化物半導体材料、その他の各種半導体材料
を用いることができる。本実施の形態で示す発光装置は、半導体層として、酸化物半導体
層109を有する。本実施の形態では、不純物を除去され、I型化又は実質的にI型化さ
れた酸化物半導体を用いる。なお、半導体層に用いる半導体の結晶性については、特に限
定されず、非晶質半導体を用いても良いし、結晶性半導体を用いても良い。
カラーフィルタ層115は、開口部125を有し、開口部125には、第1の電極層12
1と、ソース電極層(又はドレイン電極層)111bが接続されているコンタクト部12
3が含まれる。隔壁127は、開口部125と重なる第1の電極層121上に設けられて
いる。
ゲート電極層105、及びソース電極層(又はドレイン電極層)111bは、可視光に対
する遮光性を有する材料で形成されている。これらの可視光に対する遮光性を有する層は
、開口部125と重なるEL層129が発する光を遮断することができる。
EL層129は、導電性が高められた層と、発光性の有機化合物を含む層を備える。した
がって、導電性が高められた層を介して、隔壁127上に電流が回り込む現象が発生する
。その結果、EL層は、隔壁127上においても発光する。つまり、カラーフィルタ層1
15の開口部125と重なる領域で発光する。カラーフィルタ層115を通っていない光
が開口部125から漏れて取り出されると、発光装置全体の色再現性が悪くなるといった
不具合が生じる。しかし、本実施の形態の発光装置は、開口部125において、EL層1
29と基板101の間に、ゲート電極層105、ソース電極層(又はドレイン電極層)1
11bが設けられているため、当該不具合を防ぐことができる。なお、導電性が高められ
た層と発光性の有機化合物を含む層は、直接接する必要は無く、2層の間に、別の層が形
成されていても良い。
図1とは異なる、本発明の一態様の発光装置の画素部の上面図を図5に示す。図5に示す
本発明の一態様の発光装置は、駆動用トランジスタ200及びスイッチング用トランジス
タ230を有する。駆動用トランジスタ200は、ゲート電極層205、半導体層209
、ソース電極層、及びドレイン電極層211a、211bを有する。
図3(B)、図4(B)を用いて、本発明の一態様の発光装置の画素の詳細な構成につい
て説明する。図3(B)は、図5に示す切断線B1−B2における断面に相当し、図4(
B)は、図5に示す切断線B3−B4における断面に相当する。
図3(B)、図4(B)に示す発光装置は、可視光に対する透光性を有する基板201、
下地層203、ゲート電極層205、ゲート絶縁層207、半導体層209、ソース電極
層及びドレイン電極層211a、211b、層間絶縁層213、カラーフィルタ層215
、オーバーコート層217、第1の電極層221、絶縁性及び可視光に対する遮光性を有
する隔壁227、EL層229、第2の電極層231を有する。
カラーフィルタ層215は、開口部225を有し、開口部225には、第1の電極層22
1と、ソース電極層(又はドレイン電極層)211bが接続されているコンタクト部22
3が含まれる。隔壁227は、開口部225と重なる第1の電極層221上に設けられて
いる。
EL層229は、導電性が高められた層と、発光性の有機化合物を含む層を備える。した
がって、導電性が高められた層を介して、隔壁227上に電流が回り込む現象が発生する
。その結果、EL層は、隔壁227上においても発光する。つまり、カラーフィルタ層2
15の開口部225と重なる領域で発光する。カラーフィルタ層215を通っていない光
が開口部225から漏れて取り出されると、発光装置全体の色再現性が悪くなるといった
不具合が生じる。しかし、本実施の形態の発光装置の隔壁227は可視光に対する遮光性
を有するため、当該不具合を防ぐことができる。
以上のように、本実施の形態に記載の発光装置は、EL層に、導電性が高められた層を備
えているため、発光素子の駆動電圧を低くすることができる。駆動電圧の低い発光素子を
用いることで、低消費電力の発光装置を実現することができる。
さらに、発光素子の第1の電極層と基板との間に、カラーフィルタ層を形成する方式を採
用しているため、基板上に導電率の高い配線を作製した後に、連続してカラーフィルタ層
を形成することができ、製造工程が簡単で、低コスト化が実現できる。
本実施の形態に記載の発光装置は、カラーフィルタ層の開口部と重なる第1の電極層上に
可視光に対する遮光性を有する隔壁を設けること、もしくは、カラーフィルタ層の開口部
と重なり、EL層と基板の間に、可視光に対する遮光性を有する層を設けることによって
、カラーフィルタ層を通っていない光がカラーフィルタ層の開口部から漏れて取り出され
ることを防ぎ、発光装置全体の色再現性が悪くなるといった不具合を解決することができ
る。
(実施の形態2)
本実施の形態では、実施の形態1に示す発光装置の作製方法の一例について図6を用いて
説明する。
はじめに、可視光に対する透光性を有する基板101上に下地層103を形成する。基板
101は、EL層からの光の取り出し方向に位置するため、バリウムホウケイ酸ガラスや
アルミノホウケイ酸ガラスなどのガラス、プラスチック、ポリエステルフィルム、又はア
クリルフィルムのような可視光に対する透光性を有する材料を用いる。下地層103は、
基板101からの不純物の拡散を防止する機能があるが、必要でなければ設けなくても良
い。下地層は、窒化シリコン膜、酸化シリコン膜、窒化酸化シリコン膜、又は酸化窒化シ
リコン膜を単層で又は積層して形成することができる。
下地層103上に導電膜を形成し、第1のフォトリソグラフィ工程により、ゲート電極層
105を形成する。なお、レジストマスクをインクジェット法で形成しても良い。レジス
トマスクをインクジェット法で形成すると、フォトマスクを使用しないため、製造コスト
を低減できる。
ゲート電極層105は、モリブデン、チタン、タンタル、タングステン、アルミニウム、
銅、ネオジム、スカンジウム等の金属材料又はこれらを主成分とする合金材料を用いて、
単層で又は積層して形成することができる。
次に、ゲート電極層105上に、ゲート絶縁層107を形成する。ゲート絶縁層107は
、プラズマCVD法又はスパッタリング法等を用いて、酸化シリコン層、窒化シリコン層
、酸化窒化シリコン層、窒化酸化シリコン層、酸化アルミニウム層、窒化アルミニウム層
、酸化窒化アルミニウム層、窒化酸化アルミニウム層、又は酸化ハフニウム層を単層で又
は積層して形成することができる。
本実施の形態の発光装置は、半導体層として酸化物半導体層109を形成する。本実施の
形態の酸化物半導体としては、不純物を除去され、I型化又は実質的にI型化された酸化
物半導体を用いる。このような高純度化された酸化物半導体は界面準位、界面電荷に対し
て極めて敏感であるため、酸化物半導体層とゲート絶縁層との界面は重要である。そのた
め高純度化された酸化物半導体に接するゲート絶縁層は、高品質化が要求される。
例えば、μ波(例えば周波数2.45GHz)を用いた高密度プラズマCVDは、緻密で
絶縁耐圧の高い高品質な絶縁層を形成できるので好ましい。高純度化された酸化物半導体
と高品質ゲート絶縁層とが密接することにより、界面準位を低減して界面特性を良好なも
のとすることができるからである。
もちろん、ゲート絶縁層として良質な絶縁層を形成できるものであれば、他の成膜方法を
適用することができる。また、成膜後の熱処理によってゲート絶縁層の膜質、酸化物半導
体との界面特性が改質される絶縁層であっても良い。いずれにしても、ゲート絶縁層とし
ての膜質が良好であることは勿論のこと、酸化物半導体との界面準位密度を低減し、良好
な界面を形成できるものであれば良い。
また、ゲート絶縁層107、酸化物半導体膜に水素、水酸基及び水分がなるべく含まれな
いようにするために、酸化物半導体膜の成膜の前処理として、スパッタリング装置の予備
加熱室でゲート電極層105が形成された基板101、又はゲート絶縁層107までが形
成された基板101を予備加熱し、基板101に吸着した水素、水分などの不純物を脱離
し排気することが好ましい。なお、予備加熱室に設ける排気手段はクライオポンプが好ま
しい。なお、この予備加熱の処理は省略することもできる。またこの予備加熱は、層間絶
縁層113の成膜前に、ソース電極層、又はドレイン電極層111a、111bまで形成
した基板101に同様に行っても良い。
次に、ゲート絶縁層107上に、膜厚2nm以上200nm以下、好ましくは5nm以上
30nm以下の酸化物半導体膜を形成する。
なお、酸化物半導体膜をスパッタリング法により成膜する前に、アルゴンガスを導入して
プラズマを発生させる逆スパッタを行い、ゲート絶縁層107の表面に付着している粉状
物質(パーティクル、ごみともいう)を除去することが好ましい。逆スパッタとは、アル
ゴン雰囲気下で基板にRF電源を用いて電圧を印加して基板近傍にプラズマを形成して表
面を改質する方法である。なお、アルゴン雰囲気に代えて窒素、ヘリウム、酸素などを用
いても良い。
酸化物半導体膜に用いる酸化物半導体としては、四元系金属酸化物であるIn−Sn−G
a−Zn−O系酸化物半導体や、三元系金属酸化物であるIn−Ga−Zn−O系酸化物
半導体、In−Sn−Zn−O系酸化物半導体、In−Al−Zn−O系酸化物半導体、
Sn−Ga−Zn−O系酸化物半導体、Al−Ga−Zn−O系酸化物半導体、Sn−A
l−Zn−O系酸化物半導体や、二元系金属酸化物であるIn−Zn−O系酸化物半導体
、Sn−Zn−O系酸化物半導体、Al−Zn−O系酸化物半導体、Zn−Mg−O系酸
化物半導体、Sn−Mg−O系酸化物半導体、In−Ga−O系酸化物半導体、In−M
g−O系酸化物半導体や、一元系金属酸化物であるIn−O系酸化物半導体、Sn−O系
酸化物半導体、Zn−O系酸化物半導体などを用いることができる。また、上記酸化物半
導体はSiOを含んでも良い。ここで、例えば、In−Ga−Zn−O系酸化物半導体
とは、インジウム(In)、ガリウム(Ga)、亜鉛(Zn)を有する酸化物膜、という
意味であり、その組成比はとくに問わない。また、InとGaとZn以外の元素を含んで
も良い。本実施の形態では、酸化物半導体膜を、In−Ga−Zn−O系酸化物ターゲッ
トを用いてスパッタリング法により成膜する。
酸化物半導体膜をスパッタリング法で作製するためのターゲットとしては、例えば、組成
比として、In:Ga:ZnO=1:1:1[mol数比]の酸化物ターゲ
ットを用い、In−Ga−Zn−O膜を成膜する。また、このターゲットの材料及び組成
に限定されず、例えば、In:Ga:ZnO=1:1:2[mol数比]の
酸化物ターゲットを用いても良い。
また、酸化物半導体としてIn−Zn−O系の材料を用いる場合、用いるターゲットの組
成比は、原子数比で、In:Zn=50:1〜1:2(モル数比に換算するとIn
:ZnO=25:1〜1:4)、好ましくはIn:Zn=20:1〜1:1(モル数比に
換算するとIn:ZnO=10:1〜1:2)、さらに好ましくはIn:Zn=1
5:1〜1.5:1(モル数比に換算するとIn:ZnO=15:2〜3:4)と
する。例えば、In−Zn−O系酸化物半導体の形成に用いるターゲットは、原子数比が
In:Zn:O=X:Y:Zのとき、Z>1.5X+Yとする。
また、酸化物ターゲットの充填率は90%以上100%以下、好ましくは95%以上99
.9%以下である。充填率の高い金属酸化物ターゲットを用いることにより、成膜した酸
化物半導体膜は緻密な膜とすることができる。
酸化物半導体膜を成膜する際に用いるスパッタガスは、水素、水、水酸基又は水素化物な
どの不純物が除去された高純度ガスを用いることが好ましい。
減圧状態に保持された成膜室内に基板を保持し、基板温度を100℃以上600℃以下好
ましくは200℃以上400℃以下とする。基板を加熱しながら成膜することにより、成
膜した酸化物半導体膜に含まれる不純物濃度を低減することができる。また、スパッタリ
ングによる損傷が軽減される。そして、成膜室内の残留水分を除去しつつ水素及び水分が
除去されたスパッタガスを導入し、上記ターゲットを用いて基板101上に酸化物半導体
膜を成膜する。成膜室内の残留水分を除去するためには、吸着型の真空ポンプ、例えば、
クライオポンプ、イオンポンプ、チタンサブリメーションポンプを用いることが好ましい
。また、排気手段としては、ターボポンプにコールドトラップを加えたものであっても良
い。クライオポンプを用いて排気した成膜室は、例えば、水素や、水などの水素を含む化
合物(より好ましくは炭素を含む化合物も)等が排気されるため、当該成膜室で成膜した
酸化物半導体膜に含まれる不純物の濃度を低減できる。
スパッタリング法を行う雰囲気は、希ガス(代表的にはアルゴン)雰囲気、酸素雰囲気、
または希ガスと酸素の混合雰囲気とすれば良い。
成膜条件の一例としては、基板とターゲットとの間の距離を100mm、圧力0.6Pa
、直流(DC)電源0.5kW、酸素(酸素流量比率100%)雰囲気下の条件が適用さ
れる。なお、パルス直流電源を用いると、成膜時に発生する粉状物質(パーティクル、ご
みともいう)が軽減でき、膜厚分布も均一となるために好ましい。
次いで、酸化物半導体膜を第2のフォトリソグラフィ工程により島状の酸化物半導体層1
09に加工する。また、酸化物半導体層を形成するためのレジストマスクをインクジェッ
ト法で形成しても良い。レジストマスクをインクジェット法で形成するとフォトマスクを
使用しないため、製造コストを低減できる。
また、ゲート絶縁層107にコンタクトホールを形成する場合、その工程は酸化物半導体
膜の加工時に同時に行うことができる。
なお、ここでの酸化物半導体膜のエッチングは、ドライエッチングでもウェットエッチン
グでも良く、両方を用いても良い。例えば、酸化物半導体膜のウェットエッチングに用い
るエッチング液としては、燐酸と酢酸と硝酸を混ぜた溶液などを用いることができる。ま
た、ITO07N(関東化学社製)を用いても良い。
本実施の形態では、酸化物半導体層109に、第1の加熱処理を行う。第1の加熱処理の
温度は、400℃以上750℃以下、好ましくは400℃以上基板の歪み点未満とする。
ここでは、加熱処理装置の一つである電気炉に基板を導入し、酸化物半導体層109に対
して窒素雰囲気下450℃において1時間の加熱処理を行った後、大気に触れることなく
、酸化物半導体層への水や水素の混入を防ぎ、酸化物半導体層を得る。この第1の加熱処
理によって酸化物半導体層109の脱水化又は脱水素化を行うことができる。
なお、加熱処理装置は電気炉に限られず、抵抗発熱体などの発熱体からの熱伝導又は熱輻
射によって、被処理物を加熱する装置を用いても良い。例えば、GRTA(Gas Ra
pid Thermal Annealing)装置、LRTA(Lamp Rapid
Thermal Annealing)装置等のRTA(Rapid Thermal
Annealing)装置を用いることができる。LRTA装置は、ハロゲンランプ、
メタルハライドランプ、キセノンアークランプ、カーボンアークランプ、高圧ナトリウム
ランプ、高圧水銀ランプなどのランプから発する光(電磁波)の輻射により、被処理物を
加熱する装置である。GRTA装置は、高温のガスを用いて加熱処理を行う装置である。
ガスには、アルゴンなどの希ガス、又は窒素のような、加熱処理によって被処理物と反応
しない不活性気体が用いられる。
例えば、第1の加熱処理として、650℃〜700℃の高温に加熱した不活性ガス中に基
板を移動させて入れ、数分間加熱した後、基板を移動させて高温に加熱した不活性ガス中
から出すGRTAを行っても良い。GRTAを用いると短時間での高温加熱処理が可能と
なる。
なお、第1の加熱処理においては、窒素、又はヘリウム、ネオン、アルゴン等の希ガスに
、水、水素などが含まれないことが好ましい。又は、加熱処理装置に導入する窒素、又は
ヘリウム、ネオン、アルゴン等の希ガスの純度を、6N(99.9999%)以上、好ま
しくは7N(99.99999%)以上、(即ち不純物濃度を1ppm以下、好ましくは
0.1ppm以下)とすることが好ましい。
また、第1の加熱処理で酸化物半導体層を加熱した後、同じ炉に高純度の酸素ガス、高純
度のNOガス、又は超乾燥エア(露点が−40℃以下、好ましくは−60℃以下)を導
入しても良い。酸素ガスまたはNOガスに、水、水素などが含まれないことが好ましい
。または、加熱処理装置に導入する酸素ガスまたはNOガスの純度を、6N以上好まし
くは7N以上(即ち、酸素ガスまたはNOガス中の不純物濃度を1ppm以下、好まし
くは0.1ppm以下)とすることが好ましい。酸素ガス又はNOガスの作用により、
脱水化または脱水素化処理による不純物の排除工程によって同時に減少してしまった酸化
物半導体を構成する主成分材料である酸素を供給することによって、酸化物半導体層を高
純度化及び電気的にI型(真性)化する。
また、酸化物半導体層の第1の加熱処理は、島状の酸化物半導体層に加工する前の酸化物
半導体膜に行うこともできる。その場合には、第1の加熱処理後に、加熱処理装置から基
板を取り出し、フォトリソグラフィ工程を行う。
なお、第1の加熱処理は、上記以外にも、酸化物半導体層成膜後であれば、酸化物半導体
層上にソース電極層及びドレイン電極層を積層させた後、あるいは、ソース電極層及びド
レイン電極層上に絶縁層を形成した後、のいずれで行っても良い。
また、ゲート絶縁層107にコンタクトホールを形成する場合、その工程は酸化物半導体
膜に第1の加熱処理を行う前でも行った後に行っても良い。
また、酸化物半導体層を2回に分けて成膜し、2回に分けて加熱処理を行うことで、酸化
物半導体層の下地にあたる層の材料が、酸化物、窒化物、金属など材料を問わず、膜厚の
厚い結晶領域、即ち、膜表面に垂直にc軸配向した結晶領域を有する酸化物半導体層を形
成しても良い。例えば、3nm以上15nm以下の第1の酸化物半導体膜を成膜し、窒素
、酸素、希ガス、または乾燥空気の雰囲気下で450℃以上850℃以下、好ましくは5
50℃以上750℃以下の第1の加熱処理を行い、表面を含む領域に結晶領域(板状結晶
を含む)を有する第1の酸化物半導体膜を形成する。そして、第1の酸化物半導体膜より
も厚い第2の酸化物半導体膜を形成し、450℃以上850℃以下、好ましくは600℃
以上700℃以下の第2の加熱処理を行い、第1の酸化物半導体膜を結晶成長の種として
、上方に結晶成長させ、第2の酸化物半導体膜の全体を結晶化させ、結果として膜厚の厚
い結晶領域を有する酸化物半導体層を形成しても良い。
次いで、ゲート絶縁層107、及び酸化物半導体層109上に、ソース電極層及びドレイ
ン電極層(これと同じ層で形成される配線を含む)となる導電膜を形成する。導電膜はス
パッタリング法や真空蒸着法で形成すれば良い。導電膜の材料としては、Al、Cr、C
u、Ta、Ti、Mo、Wから選ばれた元素、又は上述した元素を成分とする合金か、上
述した元素を組み合わせた合金膜等が挙げられる。また、マンガン、マグネシウム、ジル
コニウム、ベリリウムのいずれか一又は複数を用いても良い。また、導電膜は、単層構造
でも、2層以上の積層構造としても良い。例えば、シリコンを含むアルミニウム膜の単層
構造、アルミニウム膜上にチタン膜を積層する2層構造、チタン膜と、そのチタン膜上に
重ねてアルミニウム膜を積層し、さらにその上にチタン膜を成膜する3層構造などが挙げ
られる。また、アルミニウムと、チタン、タンタル、タングステン、モリブデン、クロム
、ネオジム、スカンジウムから選ばれた元素を単数、又は複数組み合わせた積層膜、合金
膜、もしくは窒化膜を用いても良い。
次いで、第3のフォトリソグラフィ工程を行い、導電膜のエッチングにより、ソース電極
層及びドレイン電極層111a、111bを形成する。
なお、導電膜のエッチングの際に、酸化物半導体層109がエッチングされ、分断するこ
とのないようエッチング条件を最適化することが望まれる。しかしながら、導電膜のみを
エッチングし、酸化物半導体層109を全くエッチングしないという条件を得ることは難
しく、導電膜のエッチングの際に酸化物半導体層109は一部のみがエッチングされ、溝
部(凹部)を有する酸化物半導体層となることもある。
次いで、NO、N、またはArなどのガスを用いたプラズマ処理を行い、露出してい
る酸化物半導体層109の表面に付着した吸着水などを除去しても良い。プラズマ処理を
行った場合、大気に触れることなく、酸化物半導体層の一部に接する保護絶縁膜となる層
間絶縁層113を形成する。
層間絶縁層113は、少なくとも1nm以上の膜厚とし、スパッタリング法など、層間絶
縁層113に水、水素等の不純物を混入させない方法を適宜用いて形成することができる
。層間絶縁層113に水素が含まれると、その水素の酸化物半導体層109への侵入、又
は水素による酸化物半導体層109中の酸素の引き抜き、が生じ酸化物半導体層109の
バックチャネルが低抵抗化(N型化)してしまい、寄生チャネルが形成されるおそれがあ
る。よって、層間絶縁層113はできるだけ水素を含まない膜になるように、成膜方法に
水素を用いないことが重要である。
層間絶縁層113のように、酸化物半導体層に接して形成する絶縁層は、水分や、水素イ
オンや、水酸化物イオンなどの不純物を含まず、これらが外部から侵入することをブロッ
クする無機絶縁膜を用い、代表的には酸化シリコン膜、酸化窒化シリコン膜、酸化アルミ
ニウム膜、または酸化窒化アルミニウム膜などを用いる。成膜時の基板温度は、室温以上
300℃以下とすれば良い。例えば、酸化シリコン膜のスパッタリング法による成膜は、
希ガス(代表的にはアルゴン)雰囲気下、酸素雰囲気下、または希ガスと酸素の混合雰囲
気下において行うことができる。また、ターゲットとして酸化シリコンターゲットまたは
シリコンターゲットを用いることができる。
酸化物半導体膜の成膜時と同様に、層間絶縁層113の成膜室内の残留水分を除去するた
めには、吸着型の真空ポンプ(クライオポンプなど)を用いることが好ましい。クライオ
ポンプを用いて排気した成膜室で成膜すると、層間絶縁層113に含まれる不純物の濃度
を低減できる。また、層間絶縁層113の成膜室内の残留水分を除去するための排気手段
としては、ターボポンプにコールドトラップを加えたものであっても良い。
層間絶縁層113を、成膜する際に用いるスパッタガスは、水素、水、水酸基又は水素化
物などの不純物が除去された高純度ガスを用いることが好ましい。
次いで、不活性ガス雰囲気下、または酸素ガス雰囲気下で第2の加熱処理(好ましくは2
00℃以上400℃以下、例えば250℃以上350℃以下)を行う。例えば、窒素雰囲
気下で250℃、1時間の第2の加熱処理を行う。第2の加熱処理を行うと、酸化物半導
体層の一部(チャネル形成領域)が層間絶縁層113と接した状態で加熱される。
以上の工程を経ることによって、酸化物半導体膜に対して第2の加熱処理を行って水素、
水分、水酸基又は水素化物(水素化合物ともいう)などの不純物を酸化物半導体層より意
図的に排除し、かつ不純物の排除工程によって同時に減少してしまう酸化物半導体を構成
する主成分材料の一つである酸素を供給することができる。よって、酸化物半導体層は高
純度化及び電気的にI型(真性)化する。
また、層間絶縁層113に欠陥を多く含む酸化シリコン層を用いると、酸化シリコン層形
成後の加熱処理によって酸化物半導体層中に含まれる水素、水分、水酸基又は水素化物な
どの不純物を酸化シリコン層に拡散させ、酸化物半導体層中に含まれる該不純物をより低
減させる効果を奏する。
層間絶縁層113上にさらに保護絶縁層を形成しても良い。例えば、RFスパッタリング
法を用いて窒化シリコン膜を形成する。RFスパッタリング法は、量産性が良いため、保
護絶縁層の成膜方法として好ましい。保護絶縁層は、水分などの不純物を含まず、これら
が外部から侵入することをブロックする無機絶縁膜を用い、窒化シリコン膜、窒化アルミ
ニウム膜などを用いる。
保護絶縁層の形成後、さらに大気中、100℃以上200℃以下、1時間以上30時間以
下での加熱処理を行っても良い。この加熱処理は一定の加熱温度を保持して加熱しても良
いし、室温から、100℃以上200℃以下の加熱温度への昇温と、加熱温度から室温ま
での降温を複数回くりかえして行っても良い。
次に、第4のフォトリソグラフィ工程を行い、層間絶縁層113のエッチングにより、開
口部を設ける。この開口部は、ソース電極層又はドレイン電極層111bと、のちに形成
する第1の電極層121が接続するコンタクト部123となる(図6(A))。
次に、層間絶縁層113上にカラーフィルタ層115を形成する。カラーフィルタ層とし
ては緑色のカラーフィルタ層、青色のカラーフィルタ層、赤色のカラーフィルタ層などを
用いることができ、本実施の形態では緑色のカラーフィルタ層、青色のカラーフィルタ層
、赤色のカラーフィルタ層を順次形成する。各カラーフィルタ層は、印刷法、インクジェ
ット法、フォトリソグラフィ技術を用いたエッチング方法などでそれぞれ形成する。カラ
ーフィルタ層を、画素電極(第1の電極層121)を形成する基板側に設けることによっ
て、封止基板の貼り合わせの精度に依存することなくカラーフィルタ層と発光素子の発光
領域との位置合わせを行うことができる。隣り合うカラーフィルタ層同士は、第1の電極
層121、EL層129、及び第2の電極層131が直接重なっている部分以外の場所に
おいて、重なっていても良い。
カラーフィルタ層115は、ソース電極層又はドレイン電極層111bと、のちに形成す
る第1の電極層121が接続するコンタクト部123を含む開口部125を有する(図6
(B))。図3(A)、図4(A)に示す本発明の一態様の発光装置は、カラーフィルタ
層115の開口部125と重なり、EL層と基板の間に、可視光に対する遮光性を有する
ソース電極層、又はドレイン電極層111b、及び可視光に対する遮光性を有するゲート
電極層105を有する。
次いで、カラーフィルタ層115を覆うオーバーコート層117を形成する。オーバーコ
ート層117は可視光に対する透光性を有する樹脂を用いる。本実施の形態ではフォトリ
ソグラフィ工程を行い、オーバーコート層117を形成する。
オーバーコート層117として用いることができるアクリル樹脂などの樹脂は、水分を多
く含む。EL層を水分から保護するために、オーバーコート層117を覆う絶縁膜を形成
しても良い。絶縁膜としては、例えば、窒化珪素膜、窒化アルミニウム膜、窒化酸化珪素
膜、酸化窒化アルミニウム膜、等を用いることができる。前の工程で、層間絶縁層113
上に保護絶縁層を形成していた場合、同じ組成の絶縁膜とすると、第4のフォトリソグラ
フィ工程を省略し、層間絶縁層113、保護絶縁層、及び絶縁膜の3層を1回の工程でエ
ッチングすることで、開口部125を設けることができるため、好ましい。
次に、可視光に対する透光性を有する導電膜を成膜し、第1の電極層121を形成する。
第1の電極層121は、酸化インジウム(In)や酸化インジウム酸化スズ合金(
ITO)などをスパッタ法や真空蒸着法などを用いて形成する。第1の電極層121の他
の材料として、窒素を含ませたAl−Zn−O系非単結晶膜、即ちAl−Zn−O−N系
非単結晶膜や、Zn−O−N系非単結晶膜や、Sn−Zn−O−N系非単結晶膜を用いて
も良い。なお、Al−Zn−O−N系非単結晶膜の亜鉛の組成比(原子%)は、47原子
%以下とし、非単結晶膜中のアルミニウムの組成比(原子%)より大きく、非単結晶膜中
のアルミニウムの組成比(原子%)は、非単結晶膜中の窒素の組成比(原子%)より大き
い。このような材料のエッチング処理は塩酸系の溶液により行う。しかし、特にITOの
エッチングは残渣が発生しやすいので、エッチング加工性を改善するために酸化インジウ
ム酸化亜鉛合金(In―ZnO)を用いても良い。
なお、第1の電極層121の組成比の単位は原子%とし、電子線マイクロアナライザー(
EPMA:Electron Probe X−ray MicroAnalyzer)
を用いた分析により評価するものとする。
次いで、カラーフィルタ層115の開口部125を覆うように隔壁127を形成する。隔
壁127は、ポリイミド、アクリル、ポリアミド、エポキシ等の有機樹脂膜、無機絶縁膜
またはシロキサン系樹脂を用いて形成する。
なおシロキサン系樹脂とは、シロキサン系材料を出発材料として形成されたSi−O−S
i結合を含む樹脂に相当する。シロキサン系樹脂は置換基としては有機基(例えばアルキ
ル基やアリール基)やフルオロ基を用いても良い。また、有機基はフルオロ基を有してい
ても良い。
隔壁127としては、PSG(リンガラス)、BPSG(リンボロンガラス)等も用いる
ことができる。なお、これらの材料で形成される絶縁膜を複数積層させることで、隔壁1
27を形成しても良い。
隔壁127の形成法は、特に限定されず、その材料に応じて、スパッタ法、SOG法、ス
ピンコート法、ディップ法、スプレー塗布法、液滴吐出法(インクジェット法、スクリー
ン印刷、オフセット印刷等)等の方法、ドクターナイフ、ロールコーター、カーテンコー
ター、ナイフコーター等のツールを用いることができる。また、発光装置に用いる他の絶
縁層として隔壁127の例として示した上記材料及び方法を用いても良い。
なお、図3(B)、図4(B)に示す本発明の一態様の発光装置のように、カラーフィル
タ層215の開口部225と重なり、EL層229と基板201の間に、可視光に対する
遮光性を有していない領域が一部でも存在する場合は、隔壁227を可視光に対する遮光
性を有する材料で形成する。可視光に対する遮光性を有する材料としては、例えば、上述
の隔壁127に用いることのできる樹脂に、光吸収性を有する物質を分散させた材料など
を用いることができる。
次に、第1の電極層121、及び隔壁127上にEL層129を形成し、EL層129上
に第2の電極層131を形成して発光素子を形成する(図6(C))。EL層129の構
成の一例は、実施の形態3にて詳細に説明する。EL層129は、導電性が高められた層
と、発光性の有機化合物を含む層を備える。したがって、導電性が高められた層を介して
、隔壁127上に電流が回り込む現象が発生する。その結果、EL層129は、隔壁12
7上においても発光する。つまり、カラーフィルタ層115の開口部125と重なる領域
で発光する。カラーフィルタ層115を通っていない光が開口部125から漏れて取り出
されると、発光装置全体の色再現性が悪くなるといった不具合が生じる。しかし、図6(
C)に示す本実施の形態の発光装置は、開口部125において、EL層129と基板10
1の間に、ソース電極層(又はドレイン電極層)111bが設けられているため、当該不
具合を防ぐことができる。
第2の電極層131は様々な材料を用いることができるが、仕事関数が小さい材料、例え
ば、LiやCs等のアルカリ金属、およびMg、Ca、Sr等のアルカリ土類金属、およ
びこれらを含む合金(Mg−Ag、Al−Liなど)の他、YbやEr等の希土類金属等
が好ましい。
上記に挙げた作製方法で作製した本実施の形態に記載の発光装置は、EL層に、導電性が
高められた層を備えているため、発光素子の駆動電圧を低くすることができる。駆動電圧
が低い発光素子を用いることで、低消費電力の発光装置を実現することができる。
さらに、発光素子の第1の電極層と基板との間に、カラーフィルタ層を形成する方式を採
用しているため、基板上に導電率の高い配線を作製した後に、連続してカラーフィルタ層
を形成することができ、製造工程が簡単で、低コスト化が実現できる。
本実施の形態に記載の発光装置は、カラーフィルタ層の開口部と重なる第1の電極層上に
可視光に対する遮光性を有する隔壁を設けること、もしくは、カラーフィルタ層の開口部
と重なり、EL層と基板の間に、可視光に対する遮光性を有する層を設けることによって
、カラーフィルタ層を通っていない光がカラーフィルタ層の開口部から漏れて取り出され
ることを防ぎ、発光装置全体の色再現性が悪くなるといった不具合を解決することができ
る。
なお、本実施の形態では、アクティブマトリクス型の発光装置の例を示したが、パッシブ
マトリクス型の発光装置にも本実施の形態は適応できる。
なお、アクティブマトリクス型の発光装置を作製する場合において、そのトランジスタの
構造は特に限定されない。また、n型、p型いずれのトランジスタを用いても良い。また
、スタガ型のトランジスタでも、逆スタガ型のトランジスタでも良い。
本実施の形態は、他の実施の形態と適宜組み合わせることが可能である。
(実施の形態3)
本実施の形態では、本発明の一態様の発光装置に用いるEL層の一例について図7を用い
て説明する。本実施の形態で説明するEL層は、実施の形態1で示したEL層129(図
3(A)、図4(A)参照)、及びEL層229(図3(B)、図4(B)参照)に適用
することができる。
図7に示す本実施の形態のEL層129は、第1の電極層121及び第2の電極層131
の一対の電極間に設けられている。第1の電極層121がEL層129と直接接して、第
2の電極層131と重なる領域1120が、所望の発光領域である。EL層129は、機
能層として、正孔注入層1111、正孔輸送層1112、発光層1113、電子輸送層1
114、電子注入層1115を有している。なお、第1の電極層121及び第2の電極層
131は実施の形態2に示した材料で形成すれば良い。
EL層129は、第1の電極層121と発光層1113との間に、導電性が高められた層
を有している。導電性が高められた層としては、導電性の高い物質を含む層や、ドナー性
物質及びアクセプター性物質を含む層をその例に挙げることができる。具体的には、有機
化合物に、アルカリ金属、アルカリ土類金属、希土類金属、アルカリ金属化合物、アルカ
リ土類金属化合物、又は希土類金属化合物を添加した層や、ポリ(3,4−エチレンジオ
キシチオフェン)/ポリ(スチレンスルホン酸)(PEDOT/PSS)等の導電性高分
子を含む層を用いることができる。
例えば、PEDOT/PSSを用いて形成した正孔注入層1111は導電性が高いため、
図7に示す矢印の方向に、第1の電極層121から第2の電極層131へと電流が流れる
。つまり、所望の発光領域1120の外側の隔壁127上においても、電流が流れる。こ
のように、導電性が高められた層(図7では正孔注入層1111)を介して、絶縁性の隔
壁127上に電流が回り込む現象が発生した結果、EL層129は、カラーフィルタ層の
開口部に設けた隔壁上においても発光する(図7の発光領域1130参照)。カラーフィ
ルタ層を通っていない光がカラーフィルタ層の開口部から漏れて取り出されると、発光装
置全体の色再現性が悪くなるといった不具合が生じる。しかし、本発明の一態様の発光装
置(例えば、実施の形態1に示した発光装置)は、可視光に対する遮光性を有する材料か
らなる絶縁性の隔壁、または、カラーフィルタ層の開口部において、EL層と基板の間に
、可視光に対する遮光性を有する層を有するため、当該不具合を抑制できる。
EL層129には公知の物質を用いることができ、低分子系化合物及び高分子系化合物の
いずれを用いることもできる。なお、EL層129を形成する物質には、有機化合物のみ
から成るものだけでなく、無機化合物を一部に含む構成も含めるものとする。
また、EL層129は、発光層1113の他、図7に示すように正孔注入層1111、正
孔輸送層1112、電子輸送層1114、電子注入層1115などを適宜組み合わせて積
層することにより形成される。
正孔注入層1111は、正孔注入性の高い物質を含む層である。正孔注入性の高い物質と
しては、例えば、モリブデン酸化物、チタン酸化物、バナジウム酸化物、レニウム酸化物
、ルテニウム酸化物、クロム酸化物、ジルコニウム酸化物、ハフニウム酸化物、タンタル
酸化物、銀酸化物、タングステン酸化物、マンガン酸化物等の金属酸化物を用いることが
できる。また、フタロシアニン(略称:HPc)、銅(II)フタロシアニン(略称:
CuPc)等のフタロシアニン系の化合物を用いることができる。
また、低分子の有機化合物である4,4’,4’’−トリス(N,N−ジフェニルアミノ
)トリフェニルアミン(略称:TDATA)、4,4’,4’’−トリス[N−(3−メ
チルフェニル)−N−フェニルアミノ]トリフェニルアミン(略称:MTDATA)、4
,4’−ビス[N−(4−ジフェニルアミノフェニル)−N−フェニルアミノ]ビフェニ
ル(略称:DPAB)、4,4’−ビス(N−{4−[N’−(3−メチルフェニル)−
N’−フェニルアミノ]フェニル}−N−フェニルアミノ)ビフェニル(略称:DNTP
D)、1,3,5−トリス[N−(4−ジフェニルアミノフェニル)−N−フェニルアミ
ノ]ベンゼン(略称:DPA3B)、3−[N−(9−フェニルカルバゾール−3−イル
)−N−フェニルアミノ]−9−フェニルカルバゾール(略称:PCzPCA1)、3,
6−ビス[N−(9−フェニルカルバゾール−3−イル)−N−フェニルアミノ]−9−
フェニルカルバゾール(略称:PCzPCA2)、3−[N−(1−ナフチル)−N−(
9−フェニルカルバゾール−3−イル)アミノ]−9−フェニルカルバゾール(略称:P
CzPCN1)等の芳香族アミン化合物等を用いることができる。
さらに、高分子化合物(オリゴマー、デンドリマー、ポリマー等)を用いることもできる
。例えば、ポリ(N−ビニルカルバゾール)(略称:PVK)、ポリ(4−ビニルトリフ
ェニルアミン)(略称:PVTPA)、ポリ[N−(4−{N’−[4−(4−ジフェニ
ルアミノ)フェニル]フェニル−N’−フェニルアミノ}フェニル)メタクリルアミド]
(略称:PTPDMA)、ポリ[N,N’−ビス(4−ブチルフェニル)−N,N’−ビ
ス(フェニル)ベンジジン](略称:Poly−TPD)などの高分子化合物が挙げられ
る。また、ポリ(3,4−エチレンジオキシチオフェン)/ポリ(スチレンスルホン酸)
(PEDOT/PSS)、ポリアニリン/ポリ(スチレンスルホン酸)(PAni/PS
S)等の酸を添加した高分子化合物を用いることができる。
また、正孔注入層1111として、有機化合物と電子受容体(アクセプター)とを混合し
てなる複合材料を用いても良い。このような複合材料は、電子受容体によって有機化合物
に正孔が発生するため、正孔注入性及び正孔輸送性に優れている。この場合、有機化合物
は、発生した正孔の輸送に優れた材料(正孔輸送性の高い物質)であることが好ましい。
複合材料に用いる有機化合物としては、芳香族アミン化合物、カルバゾール誘導体、芳香
族炭化水素、高分子化合物(オリゴマー、デンドリマー、ポリマー等)など、種々の化合
物を用いることができる。なお、複合材料に用いる有機化合物としては、正孔輸送性の高
い有機化合物であることが好ましい。具体的には、10−6cm/Vs以上の正孔移動
度を有する物質であることが好ましい。但し、電子よりも正孔の輸送性の高い物質であれ
ば、これら以外のものを用いても良い。以下では、複合材料に用いることのできる有機化
合物を具体的に列挙する。
複合材料に用いることのできる有機化合物としては、例えば、TDATA、MTDATA
、DPAB、DNTPD、DPA3B、PCzPCA1、PCzPCA2、PCzPCN
1、4,4’−ビス[N−(1−ナフチル)−N−フェニルアミノ]ビフェニル(略称:
NPB又はα−NPD)、N,N’−ビス(3−メチルフェニル)−N,N’−ジフェニ
ル−[1,1’−ビフェニル]−4,4’−ジアミン(略称:TPD)、4−フェニル−
4’−(9−フェニルフルオレン−9−イル)トリフェニルアミン(略称:BPAFLP
)等の芳香族アミン化合物や、4,4’−ジ(N−カルバゾリル)ビフェニル(略称:C
BP)、1,3,5−トリス[4−(N−カルバゾリル)フェニル]ベンゼン(略称:T
CPB)、9−[4−(10−フェニル−9−アントリル)フェニル]−9H−カルバゾ
ール(略称:CzPA)、9−フェニル−3−[4−(10−フェニル−9−アントリル
)フェニル]−9H−カルバゾール(略称:PCzPA)、1,4−ビス[4−(N−カ
ルバゾリル)フェニル]−2,3,5,6−テトラフェニルベンゼン等のカルバゾール誘
導体を用いることができる。
また、2−tert−ブチル−9,10−ジ(2−ナフチル)アントラセン(略称:t−
BuDNA)、2−tert−ブチル−9,10−ジ(1−ナフチル)アントラセン、9
,10−ビス(3,5−ジフェニルフェニル)アントラセン(略称:DPPA)、2−t
ert−ブチル−9,10−ビス(4−フェニルフェニル)アントラセン(略称:t−B
uDBA)、9,10−ジ(2−ナフチル)アントラセン(略称:DNA)、9,10−
ジフェニルアントラセン(略称:DPAnth)、2−tert−ブチルアントラセン(
略称:t−BuAnth)、9,10−ビス(4−メチル−1−ナフチル)アントラセン
(略称:DMNA)、9,10−ビス[2−(1−ナフチル)フェニル]−2−tert
−ブチルアントラセン、9,10−ビス[2−(1−ナフチル)フェニル]アントラセン
、2,3,6,7−テトラメチル−9,10−ジ(1−ナフチル)アントラセン等の芳香
族炭化水素化合物を用いることができる。
さらに、2,3,6,7−テトラメチル−9,10−ジ(2−ナフチル)アントラセン、
9,9’−ビアントリル、10,10’−ジフェニル−9,9’−ビアントリル、10,
10’−ビス(2−フェニルフェニル)−9,9’−ビアントリル、10,10’−ビス
[(2,3,4,5,6−ペンタフェニル)フェニル]−9,9’−ビアントリル、アン
トラセン、テトラセン、ルブレン、ペリレン、2,5,8,11−テトラ(tert−ブ
チル)ペリレン、ペンタセン、コロネン、4,4’−ビス(2,2−ジフェニルビニル)
ビフェニル(略称:DPVBi)、9,10−ビス[4−(2,2−ジフェニルビニル)
フェニル]アントラセン(略称:DPVPA)等の芳香族炭化水素化合物を用いることが
できる。
また、電子受容体としては、7,7,8,8−テトラシアノ−2,3,5,6−テトラフ
ルオロキノジメタン(略称:F−TCNQ)、クロラニル等の有機化合物や、遷移金属
酸化物を挙げることができる。また、元素周期表における第4族乃至第8族に属する金属
の酸化物を挙げることができる。具体的には、酸化バナジウム、酸化ニオブ、酸化タンタ
ル、酸化クロム、酸化モリブデン、酸化タングステン、酸化マンガン、酸化レニウムは電
子受容性が高いため好ましい。中でも特に、酸化モリブデンは大気中でも安定であり、吸
湿性が低く、扱いやすいため好ましい。
なお、上述したPVK、PVTPA、PTPDMA、Poly−TPD等の高分子化合物
と、上述した電子受容体を用いて複合材料を形成し、正孔注入層1111に用いても良い
正孔輸送層1112は、正孔輸送性の高い物質を含む層である。正孔輸送性の高い物質と
しては、例えば、NPB、TPD、BPAFLP、4,4’−ビス[N−(9,9−ジメ
チルフルオレン−2−イル)−N−フェニルアミノ]ビフェニル(略称:DFLDPBi
)、4,4’−ビス[N−(スピロ−9,9’−ビフルオレン−2−イル)−N―フェニ
ルアミノ]ビフェニル(略称:BSPB)等の芳香族アミン化合物を用いることができる
。ここに述べた物質は、主に10−6cm/Vs以上の正孔移動度を有する物質である
。但し、電子よりも正孔の輸送性の高い物質であれば、これら以外のものを用いても良い
。なお、正孔輸送性の高い物質を含む層は、単層のものだけでなく、上記物質からなる層
が二層以上積層したものとしても良い。
また、正孔輸送層1112には、CBP、CzPA、PCzPAのようなカルバゾール誘
導体や、t−BuDNA、DNA、DPAnthのようなアントラセン誘導体を用いても
良い。
なお、正孔輸送層1112には、PVK、PVTPA、PTPDMA、Poly−TPD
などの高分子化合物を用いることもできる。
発光層1113は、発光物質を含む層である。発光物質としては、例えば、蛍光を発光す
る蛍光性化合物や燐光を発光する燐光性化合物を用いることができる。発光層1113に
用いることができる蛍光性物質としては、例えば、青色系の発光材料として、N,N’−
ビス[4−(9H−カルバゾール−9−イル)フェニル]−N,N’−ジフェニルスチル
ベン−4,4’−ジアミン(略称:YGA2S)、4−(9H−カルバゾール−9−イル
)−4’−(10−フェニル−9−アントリル)トリフェニルアミン(略称:YGAPA
)、4−(10−フェニル−9−アントリル)−4’−(9−フェニル−9H−カルバゾ
ール−3−イル)トリフェニルアミン(略称:PCBAPA)などが挙げられる。また、
緑色系の発光材料として、N−(9,10−ジフェニル−2−アントリル)−N,9−ジ
フェニル−9H−カルバゾール−3−アミン(略称:2PCAPA)、N−[9,10−
ビス(1,1’−ビフェニル−2−イル)−2−アントリル]−N,9−ジフェニル−9
H−カルバゾール−3−アミン(略称:2PCABPhA)、N−(9,10−ジフェニ
ル−2−アントリル)−N,N’,N’−トリフェニル−1,4−フェニレンジアミン(
略称:2DPAPA)、N−[9,10−ビス(1,1’−ビフェニル−2−イル)−2
−アントリル]−N,N’,N’−トリフェニル−1,4−フェニレンジアミン(略称:
2DPABPhA)、N−[9,10−ビス(1,1’−ビフェニル−2−イル)]−N
−[4−(9H−カルバゾール−9−イル)フェニル]−N−フェニルアントラセン−2
−アミン(略称:2YGABPhA)、N,N,9−トリフェニルアントラセン−9−ア
ミン(略称:DPhAPhA)などが挙げられる。また、黄色系の発光材料として、ルブ
レン、5,12−ビス(1,1’−ビフェニル−4−イル)−6,11−ジフェニルテト
ラセン(略称:BPT)などが挙げられる。また、赤色系の発光材料として、N,N,N
’,N’−テトラキス(4−メチルフェニル)テトラセン−5,11−ジアミン(略称:
p−mPhTD)、7,14−ジフェニル−N,N,N’,N’−テトラキス(4−メチ
ルフェニル)アセナフト[1,2−a]フルオランテン−3,10−ジアミン(略称:p
−mPhAFD)などが挙げられる。
また、発光層1113に用いることができる燐光性化合物としては、例えば、緑色系の発
光材料として、トリス(2−フェニルピリジナト−N,C2’)イリジウム(III)(
略称:Ir(ppy))、ビス(2−フェニルピリジナト−N,C2’)イリジウム(
III)アセチルアセトナート(略称:Ir(ppy)(acac))、ビス(1,2
−ジフェニル−1H−ベンゾイミダゾラト)イリジウム(III)アセチルアセトナート
(略称:Ir(pbi)(acac))、ビス(ベンゾ[h]キノリナト)イリジウム
(III)アセチルアセトナート(略称:Ir(bzq)(acac)))、トリス(
ベンゾ[h]キノリナト)イリジウム(III)(略称:Ir(bzq))などが挙げ
られる。また、黄色系の発光材料として、ビス(2,4−ジフェニル−1,3−オキサゾ
ラト−N,C2’)イリジウム(III)アセチルアセトナート(略称:Ir(dpo)
(acac))、ビス[2−(4’−パーフルオロフェニルフェニル)ピリジナト]イ
リジウム(III)アセチルアセトナート(略称:Ir(p−PF−ph)(acac
))、ビス(2−フェニルベンゾチアゾラト−N,C2’)イリジウム(III)アセチ
ルアセトナート(略称:Ir(bt)(acac))、(アセチルアセトナト)ビス[
2,3−ビス(4−フルオロフェニル)−5−メチルピラジナト]イリジウム(III)
(略称:Ir(Fdppr−Me)(acac))、(アセチルアセトナト)ビス{2
−(4−メトキシフェニル)−3,5−ジメチルピラジナト}イリジウム(III)(略
称:Ir(dmmoppr)(acac))などが挙げられる。また、橙色系の発光材
料として、トリス(2−フェニルキノリナト−N,C2’)イリジウム(III)(略称
:Ir(pq))、ビス(2−フェニルキノリナト−N,C2’)イリジウム(III
)アセチルアセトナート(略称:Ir(pq)(acac))、(アセチルアセトナト
)ビス(3,5−ジメチル−2−フェニルピラジナト)イリジウム(III)(略称:I
r(mppr−Me)(acac))、(アセチルアセトナト)ビス(5−イソプロピ
ル−3−メチル−2−フェニルピラジナト)イリジウム(III)(略称:Ir(mpp
r−iPr)(acac))などが挙げられる。また、赤色系の発光材料として、ビス
[2−(2’−ベンゾ[4,5−α]チエニル)ピリジナト−N,C3’]イリジウム(
III)アセチルアセトナート(略称:Ir(btp)(acac))、ビス(1−フ
ェニルイソキノリナト−N,C2’)イリジウム(III)アセチルアセトナート(略称
:Ir(piq)(acac))、(アセチルアセトナト)ビス[2,3−ビス(4−
フルオロフェニル)キノキサリナト]イリジウム(III)(略称:Ir(Fdpq)
(acac))、(アセチルアセトナト)ビス(2,3,5−トリフェニルピラジナト)
イリジウム(III)(略称:Ir(tppr)(acac))、(ジピバロイルメタ
ナト)ビス(2,3,5−トリフェニルピラジナト)イリジウム(III)(略称:Ir
(tppr)(dpm))、2,3,7,8,12,13,17,18−オクタエチル
−21H,23H−ポルフィリン白金(II)(略称:PtOEP)等の有機金属錯体が
挙げられる。また、トリス(アセチルアセトナト)(モノフェナントロリン)テルビウム
(III)(略称:Tb(acac)(Phen))、トリス(1,3−ジフェニル−
1,3−プロパンジオナト)(モノフェナントロリン)ユーロピウム(III)(略称:
Eu(DBM)(Phen))、トリス[1−(2−テノイル)−3,3,3−トリフ
ルオロアセトナト](モノフェナントロリン)ユーロピウム(III)(略称:Eu(T
TA)(Phen))等の希土類金属錯体は、希土類金属イオンからの発光(異なる多
重度間の電子遷移)を有するため、燐光性化合物として用いることができる。
また、発光物質として高分子化合物を用いることができる。具体的には、青色系の発光材
料として、ポリ(9,9−ジオクチルフルオレン−2,7−ジイル)(略称:PFO)、
ポリ[(9,9−ジオクチルフルオレン−2,7−ジイル)−co−(2,5−ジメトキ
シベンゼン−1,4−ジイル)](略称:PF−DMOP)、ポリ{(9,9−ジオクチ
ルフルオレン−2,7−ジイル)−co−[N,N’−ジ−(p−ブチルフェニル)−1
,4−ジアミノベンゼン]}(略称:TAB−PFH)などが挙げられる。また、緑色系
の発光材料として、ポリ(p−フェニレンビニレン)(略称:PPV)、ポリ[(9,9
−ジヘキシルフルオレン−2,7−ジイル)−alt−co−(ベンゾ[2,1,3]チ
アジアゾール−4,7−ジイル)](略称:PFBT)、ポリ[(9,9−ジオクチル−
2,7−ジビニレンフルオレニレン)−alt−co−(2−メトキシ−5−(2−エチ
ルヘキシロキシ)−1,4−フェニレン)]などが挙げられる。また、橙色〜赤色系の発
光材料として、ポリ[2−メトキシ−5−(2’−エチルヘキソキシ)−1,4−フェニ
レンビニレン](略称:MEH−PPV)、ポリ(3−ブチルチオフェン−2,5−ジイ
ル)(略称:R4−PAT)、ポリ{[9,9−ジヘキシル−2,7−ビス(1−シアノ
ビニレン)フルオレニレン]−alt−co−[2,5−ビス(N,N’−ジフェニルア
ミノ)−1,4−フェニレン]}、ポリ{[2−メトキシ−5−(2−エチルヘキシロキ
シ)−1,4−ビス(1−シアノビニレンフェニレン)]−alt−co−[2,5−ビ
ス(N,N’−ジフェニルアミノ)−1,4−フェニレン]}(略称:CN−PPV−D
PD)などが挙げられる。
発光層1113は、上述の発光物質を分散する有機化合物を含んでも良い。発光物質を分
散する有機化合物としては、発光物質が蛍光性化合物の場合には、蛍光性化合物よりも一
重項励起エネルギー(基底状態と一重項励起状態とのエネルギー差)が大きい物質を用い
ることが好ましい。また、発光物質が燐光性化合物の場合には、燐光性化合物よりも三重
項励起エネルギー(基底状態と三重項励起状態とのエネルギー差)が大きい物質を用いる
ことが好ましい。
発光物質を分散する有機化合物としては、例えばトリス(8−キノリノラト)アルミニウ
ム(III)(略称:Alq)、トリス(4−メチル−8−キノリノラト)アルミニウム
(III)(略称:Almq)、ビス(10−ヒドロキシベンゾ[h]キノリナト)ベ
リリウム(II)(略称:BeBq)、ビス(2−メチル−8−キノリノラト)(4−
フェニルフェノラト)アルミニウム(III)(略称:BAlq)、ビス(8−キノリノ
ラト)亜鉛(II)(略称:Znq)、ビス[2−(2−ベンゾオキサゾリル)フェノラ
ト]亜鉛(II)(略称:ZnPBO)、ビス[2−(2−ベンゾチアゾリル)フェノラ
ト]亜鉛(II)(略称:ZnBTZ)などの金属錯体、2−(4−ビフェニリル)−5
−(4−tert−ブチルフェニル)−1,3,4−オキサジアゾール(略称:PBD)
、1,3−ビス[5−(p−tert−ブチルフェニル)−1,3,4−オキサジアゾー
ル−2−イル]ベンゼン(略称:OXD−7)、3−(4−ビフェニリル)−4−フェニ
ル−5−(4−tert−ブチルフェニル)−1,2,4−トリアゾール(略称:TAZ
)、2,2’,2’’−(1,3,5−ベンゼントリイル)トリス(1−フェニル−1H
−ベンゾイミダゾール)(略称:TPBI)、バソフェナントロリン(略称:BPhen
)、バソキュプロイン(略称:BCP)、9−[4−(5−フェニル−1,3,4−オキ
サジアゾール−2−イル)フェニル]−9H−カルバゾール(略称:CO11)などの複
素環化合物、4,4’−ビス[N−(1−ナフチル)−N−フェニルアミノ]ビフェニル
(略称:NPB)、N,N’−ビス(3−メチルフェニル)−N,N’−ジフェニル−[
1,1’−ビフェニル]−4,4’−ジアミン(略称:TPD)、4,4’−ビス[N−
(スピロ−9,9’−ビフルオレン−2−イル)−N―フェニルアミノ]ビフェニル(略
称:BSPB)などの芳香族アミン化合物が挙げられる。また、アントラセン誘導体、フ
ェナントレン誘導体、ピレン誘導体、クリセン誘導体、ジベンゾ[g,p]クリセン誘導
体等の縮合多環芳香族化合物が挙げられ、具体的には、9,10−ジフェニルアントラセ
ン(略称:DPAnth)、N,N−ジフェニル−9−[4−(10−フェニル−9−ア
ントリル)フェニル]−9H−カルバゾール−3−アミン(略称:CzA1PA)、4−
(10−フェニル−9−アントリル)トリフェニルアミン(略称:DPhPA)、4−(
9H−カルバゾール−9−イル)−4’−(10−フェニル−9−アントリル)トリフェ
ニルアミン(略称:YGAPA)、N,9−ジフェニル−N−[4−(10−フェニル−
9−アントリル)フェニル]−9H−カルバゾール−3−アミン(略称:PCAPA)、
N,9−ジフェニル−N−{4−[4−(10−フェニル−9−アントリル)フェニル]
フェニル}−9H−カルバゾール−3−アミン(略称:PCAPBA)、9,10−ジフ
ェニル−2−[N−フェニル−N−(9−フェニル−9H−カルバゾール−3−イル)ア
ミノ]アントラセン(略称:2PCAPA)、6,12−ジメトキシ−5,11−ジフェ
ニルクリセン、N,N,N’,N’,N’’,N’’,N’’’,N’’’−オクタフェ
ニルジベンゾ[g,p]クリセン−2,7,10,15−テトラアミン(略称:DBC1
)、9−[4−(N−カルバゾリル)フェニル]−10−フェニルアントラセン(略称:
CzPA)、3,6−ジフェニル−9−[4−(10−フェニル−9−アントリル)フェ
ニル]−9H−カルバゾール(略称:DPCzPA)、9,10−ビス(3,5−ジフェ
ニルフェニル)アントラセン(略称:DPPA)、9,10−ジ(2−ナフチル)アント
ラセン(略称:DNA)、2−tert−ブチル−9,10−ジ(2−ナフチル)アント
ラセン(略称:t−BuDNA)、9,9’−ビアントリル(略称:BANT)、9,9
’−(スチルベン−3,3’−ジイル)ジフェナントレン(略称:DPNS)、9,9’
−(スチルベン−4,4’−ジイル)ジフェナントレン(略称:DPNS2)、3,3’
,3’’−(ベンゼン−1,3,5−トリイル)トリピレン(略称:TPB3)などを挙
げることができる。
なお、発光層1113は、上記発光物質を2種類以上用いても良いし、発光物質を分散さ
せる上記有機化合物を2種類以上用いても良い。
電子輸送層1114は、電子輸送性の高い物質を含む層である。電子輸送性の高い物質と
しては、例えば、Alq、Almq、BeBq、BAlqなど、キノリン骨格又はベ
ンゾキノリン骨格を有する金属錯体等が挙げられる。また、この他ビス[2−(2−ヒド
ロキシフェニル)ベンゾオキサゾラト]亜鉛(略称:Zn(BOX))、ビス[2−(
2−ヒドロキシフェニル)ベンゾチアゾラト]亜鉛(略称:Zn(BTZ))などのオ
キサゾール系、チアゾール系配位子を有する金属錯体なども用いることができる。さらに
、金属錯体以外にも、2−(4−ビフェニリル)−5−(4−tert−ブチルフェニル
)−1,3,4−オキサジアゾール(略称:PBD)や、1,3−ビス[5−(p−te
rt−ブチルフェニル)−1,3,4−オキサジアゾール−2−イル]ベンゼン(略称:
OXD−7)、3−(4−ビフェニリル)−4−フェニル−5−(4−tert−ブチル
フェニル)−1,2,4−トリアゾール(略称:TAZ)、バソフェナントロリン(略称
:BPhen)、バソキュプロイン(略称:BCP)なども用いることができる。ここに
述べた物質は、主に10−6cm/Vs以上の電子移動度を有する物質である。また、
電子輸送層は、単層のものだけでなく、上記物質からなる層が二層以上積層したものとし
ても良い。
電子注入層1115は、電子注入性の高い物質を含む層である。電子注入層1115には
、リチウム、セシウム、カルシウム、フッ化リチウム、フッ化セシウム、フッ化カルシウ
ム、リチウム酸化物等のようなアルカリ金属、アルカリ土類金属、又はそれらの化合物を
用いることができる。また、フッ化エルビウムのような希土類金属化合物を用いることが
できる。また、上述した電子輸送層1114を構成する物質を用いることもできる。
あるいは、電子注入層1115に、有機化合物と電子供与体(ドナー)とを混合してなる
複合材料を用いても良い。このような複合材料は、電子供与体によって有機化合物に電子
が発生するため、電子注入性及び電子輸送性に優れている。この場合、有機化合物として
は、発生した電子の輸送に優れた材料であることが好ましく、具体的には、例えば上述し
た電子輸送層1114を構成する物質(金属錯体や複素芳香族化合物等)を用いることが
できる。電子供与体としては、有機化合物に対し電子供与性を示す物質であれば良い。具
体的には、アルカリ金属やアルカリ土類金属や希土類金属が好ましく、リチウム、セシウ
ム、マグネシウム、カルシウム、エルビウム、イッテルビウム等が挙げられる。また、ア
ルカリ金属酸化物やアルカリ土類金属酸化物が好ましく、リチウム酸化物、カルシウム酸
化物、バリウム酸化物等が挙げられる。また、酸化マグネシウムのようなルイス塩基を用
いることもできる。また、テトラチアフルバレン(略称:TTF)等の有機化合物を用い
ることもできる。
なお、上述した正孔注入層1111、正孔輸送層1112、発光層1113、電子輸送層
1114、電子注入層1115は、それぞれ、蒸着法(真空蒸着法を含む)、インクジェ
ット法、塗布法等の方法で形成することができる。
なお、第1の電極層121と第2の電極層131との間に設けられる層の構成は、上記の
ものに限定されない。つまり、層の積層構造については特に限定されず、電子輸送性の高
い物質、正孔輸送性の高い物質、電子注入性の高い物質、正孔注入性の高い物質、バイポ
ーラ性(電子及び正孔の輸送性の高い物質)の物質、又は正孔ブロック材料等から成る層
を発光層と自由に組み合わせて構成すれば良い。
以下、具体的な発光素子の形成方法を示す。
本実施の形態の発光素子は一対の電極間にEL層が挟持される構造となっている。EL層
は少なくとも導電性が高められた層と、発光層を有する。EL層は液滴吐出法(インクジ
ェット法)、スピンコート法、印刷法などの湿式法を用いて形成しても良く、真空蒸着法
、CVD法、スパッタリング法などの乾式法を用いて形成しても良い。湿式法を用いれば
、大気圧下で形成することができるため、簡易な装置及び工程で形成することができ、工
程が簡略化し、生産性が向上するという効果がある。一方、乾式法は、材料を溶解させる
必要がないために溶液に難溶の材料も用いることができ、材料の選択の幅が広い。
発光素子を構成する薄膜のすべての形成を湿式法で行っても良い。この場合、湿式法で必
要な設備のみで発光素子を作製することができる。また、発光層を形成するまでの積層を
湿式法で行い、発光層上に積層する機能層や第2の電極層などを乾式法により形成しても
良い。さらに、発光層を形成する前の機能層や第1の電極層を乾式法により形成し、発光
層、及び発光層上に積層する機能層や第2の電極層を湿式法によって形成しても良い。も
ちろん、本実施の形態はこれに限定されず、用いる材料や必要とされる膜厚、界面状態に
よって適宜湿式法と乾式法を選択し、組み合わせて発光素子を作製することができる。
以上のように、本実施の形態に記載のEL層は、導電性が高められた層を備えているため
、発光素子の駆動電圧を低くすることができる。低駆動電圧の発光素子を用いることで、
低消費電力の発光装置を実現することができる。
本実施の形態は、他の実施の形態と適宜組み合わせて用いることができる。
(実施の形態4)
本実施の形態では、本発明の一態様の発光装置に用いるEL層の一例について図8を用い
て説明する。本実施の形態で説明するEL層は、実施の形態1で示したEL層129(図
3(A)、図4(A)参照)、及びEL層229(図3(B)、図4(B)参照)に適用
することができる。本実施の形態で説明するEL層は、複数の発光ユニットを積層した構
成である。
図8(A)において、第1の電極層121と第2の電極層131との間に形成されたEL
層129は、第1の発光ユニット311と第2の発光ユニット312が積層した構成であ
る。本実施の形態において、第1の電極層121は陽極として機能する電極であり、第2
の電極層131は陰極として機能する電極である。なお、第1の電極層121と第2の電
極層131は実施の形態2、3と同様なものを適用することができる。また、第1の発光
ユニット311と第2の発光ユニット312は同じ構成であっても異なる構成であっても
良い。また、第1の発光ユニット311と、第2の発光ユニット312は、その構成とし
て、実施の形態3と同様なものを適用しても良いし、いずれかが異なる構成であっても良
い。
また、第1の発光ユニット311と第2の発光ユニット312の間には、電荷発生層31
3が設けられている。電荷発生層313は、第1の電極層121と第2の電極層131に
電圧を印加したときに、一方の発光ユニットに電子を注入し、他方の発光ユニットに正孔
を注入する機能を有する。本実施の形態の場合には、第1の電極層121に第2の電極層
131よりも電位が高くなるように電圧を印加すると、電荷発生層313から第1の発光
ユニット311に電子が注入され、第2の発光ユニット312に正孔が注入される。
なお、電荷発生層313は、光の取り出し効率の点から、可視光に対する透光性を有する
ことが好ましい。また、電荷発生層313は、第1の電極層121や第2の電極層131
よりも低い導電率であっても機能する。
電荷発生層313は、正孔輸送性の高い有機化合物と電子受容体(アクセプター)とを含
む構成であっても、電子輸送性の高い有機化合物と電子供与体(ドナー)とを含む構成で
あっても良い。また、これらの両方の構成が積層されていても良い。
正孔輸送性の高い有機化合物と電子受容体とを含む構成とする場合において、正孔輸送性
の高い有機化合物としては、例えば、NPBやTPD、TDATA、MTDATA、4,
4’−ビス[N−(スピロ−9,9’−ビフルオレン−2−イル)−N―フェニルアミノ
]ビフェニル(略称:BSPB)などの芳香族アミン化合物等を用いることができる。こ
こに述べた物質は、主に10−6cm/Vs以上の正孔移動度を有する物質である。但
し、電子よりも正孔の輸送性の高い有機化合物であれば、上記以外の物質を用いても構わ
ない。
また、電子受容体としては、7,7,8,8−テトラシアノ−2,3,5,6−テトラフ
ルオロキノジメタン(略称:F−TCNQ)、クロラニル等を挙げることができる。ま
た、遷移金属酸化物を挙げることができる。また元素周期表における第4族乃至第8族に
属する金属の酸化物を挙げることができる。具体的には、酸化バナジウム、酸化ニオブ、
酸化タンタル、酸化クロム、酸化モリブデン、酸化タングステン、酸化マンガン、酸化レ
ニウムは電子受容性が高いため好ましい。中でも特に、酸化モリブデンは大気中でも安定
であり、吸湿性が低く、扱いやすいため好ましい。
一方、電子輸送性の高い有機化合物と電子供与体とを含む構成とする場合において、電子
輸送性の高い有機化合物としては、例えば、Alq、Almq、BeBq、BAlq
など、キノリン骨格又はベンゾキノリン骨格を有する金属錯体等を用いることができる。
また、Zn(BOX)、Zn(BTZ)などのオキサゾール系、チアゾール系配位子
を有する金属錯体なども用いることができる。さらに、金属錯体以外にも、PBDやOX
D−7、TAZ、BPhen、BCPなども用いることができる。ここに述べた物質は、
主に10−6cm/Vs以上の電子移動度を有する物質である。なお、正孔よりも電子
の輸送性の高い有機化合物であれば、上記以外の物質を用いても構わない。
また、電子供与体としては、アルカリ金属、アルカリ土類金属、希土類金属、又は元素周
期表における第13族に属する金属及びその酸化物、炭酸塩などを用いることができる。
具体的には、リチウム、セシウム、マグネシウム、カルシウム、イッテルビウム、インジ
ウム、酸化リチウム、炭酸セシウムなどを用いることが好ましい。また、テトラチアナフ
タセンのような有機化合物を電子供与体として用いても良い。
なお、上述した材料を用いて電荷発生層313を形成することにより、EL層が積層され
た場合における駆動電圧の上昇を抑制することができる。
本実施の形態では、BPhenとリチウムとを共蒸着することにより電荷発生層313を
形成する。BPhenとリチウムの比率は、重量比で1:0.02(=BPhen:Li
)となるように調節し、10nmの膜厚とした。このように形成した電荷発生層313は
導電性が高いため、図8(A)に示す矢印の方向に、第1の電極層121から第2の電極
層131へと電流が流れる。つまり、所望の発光領域315の外側においても、電流が流
れる。このように、導電性が高められた層(図8(A)では電荷発生層313)を介して
、絶縁性の隔壁127上に電流が回り込む現象が発生した結果、第2の発光ユニット31
2は、カラーフィルタ層の開口部に設けた隔壁上においても発光する(図8(A)に示す
発光領域317参照)。カラーフィルタ層を通っていない光がカラーフィルタ層の開口部
から漏れて取り出されると、発光装置全体の色再現性が悪くなるといった不具合が生じる
。しかし、本発明の一態様の発光装置(例えば、実施の形態1に示した発光装置)は、可
視光に対する遮光性を有する材料からなる絶縁性の隔壁、または、カラーフィルタ層の開
口部において、EL層と基板の間に、可視光に対する遮光性を有する層を有するため、当
該不具合を抑制できる。
なお、共蒸着法とは、一つの処理室内で複数の蒸発源から同時に蒸着を行う蒸着法である
本実施の形態では、2つの発光ユニットを有する発光素子について説明したが、同様に、
図8(B)に示すように、3つ以上の発光ユニット314を積層した発光素子も適用する
ことが可能である。例えばn(nは2以上の自然数)層の積層構造を有する場合、m(m
は自然数、1以上(n−1)以下)番目の発光ユニットと、(m+1)番目の発光ユニッ
トとの間に、電荷発生層313が挟まれた構造を有する。本実施の形態に係る発光素子の
ように、一対の電極間に複数の発光ユニットを電荷発生層で仕切って配置することで、電
流密度を低く保ったまま、高輝度で発光する長寿命素子を実現できる。
なお、本実施の形態は、他の実施の形態と適宜組み合わせることが可能である。
(実施の形態5)
本実施の形態では、発光表示パネル(発光パネルともいう)の外観及び断面について、図
9を用いて説明する。図9(A)は、第1の基板上に形成されたトランジスタ及び発光素
子を、第2の基板との間にシール材によって封止した、パネルの平面図であり、図9(B
)は、図9(A)のH−Iにおける断面図に相当する。
第1の基板4501上に設けられた画素部4502、信号線駆動回路4503a、450
3b、及び走査線駆動回路4504a、4504bを囲むようにして、シール材4505
が設けられている。また画素部4502、信号線駆動回路4503a、4503b、及び
走査線駆動回路4504a、4504bの上に第2の基板4506が設けられている。よ
って画素部4502、信号線駆動回路4503a、4503b、及び走査線駆動回路45
04a、4504bは、第1の基板4501とシール材4505と第2の基板4506と
によって、充填材4507と共に密封されている。このように外気に曝されないように気
密性が高く、脱ガスの少ない保護フィルム(貼り合わせフィルム、紫外線硬化樹脂フィル
ム等)やカバー材でパッケージング(封入)することが好ましい。
また第1の基板4501上に設けられた画素部4502、信号線駆動回路4503a、4
503b、及び走査線駆動回路4504a、4504bは、トランジスタを複数有してお
り、図9(B)では、画素部4502に含まれるトランジスタ4510と、信号線駆動回
路4503aに含まれるトランジスタ4509とを例示している。
本実施の形態のトランジスタ4509、4510は、半導体層に、不純物を除去され、I
型化又は実質的にI型化された酸化物半導体を用いる。トランジスタ4509としては、
実施の形態1で示した駆動用トランジスタ100や200、トランジスタ4510として
は、実施の形態1で示したスイッチング用トランジスタ130、230を用いることがで
きる。本実施の形態において、トランジスタ4509、4510はnチャネル型トランジ
スタである。
絶縁層4544上においてトランジスタ4509の酸化物半導体層のチャネル形成領域と
重なる位置に導電層4540が設けられている。導電層4540を酸化物半導体層のチャ
ネル形成領域と重なる位置に設けることによって、BT試験前後におけるトランジスタ4
509のしきい値電圧の変化量を低減することができる。また、導電層4540は、電位
がトランジスタ4509のゲート電極層と同じでも良いし、異なっていても良く、第2の
ゲート電極層として機能させることもできる。また、導電層4540の電位がGND、0
V、或いは導電層4540はフローティング状態であっても良い。
また、トランジスタ4510は、第1電極層4517と電気的に接続されている。
発光素子4511の発光領域と重なるようにカラーフィルタ層4545が、酸化物絶縁層
4542上に形成される。
また、カラーフィルタ層4545の表面凹凸を低減するため平坦化絶縁膜として機能する
オーバーコート層4543で覆う構成となっている。
また、オーバーコート層4543上に絶縁層4544が形成されている。絶縁層4544
は実施の形態1で示した保護絶縁膜と同様な材料及び方法で形成すれば良い。
発光素子4511が有する画素電極である第1電極層4517は、トランジスタ4510
のソース電極層またはドレイン電極層と接続されている。なお発光素子4511の構成は
、第1電極層4517、電界発光層4512、第2電極層4513の積層構造であるが、
示した構成に限定されない。発光素子4511から取り出す光の方向などに合わせて、発
光素子4511の構成は適宜変えることができる。
隔壁4520は、可視光に対する遮光性を有する材料で形成する。可視光に対する遮光性
を有する材料としては、実施の形態1、2に示した隔壁227と同様の材料を用いること
ができる。なお、カラーフィルタ層4545の開口部と重なり、発光素子4511が有す
るEL層と第1の基板4501との間に、可視光に対する遮光性を有する層を有している
場合は、隔壁は必ずしも可視光に対する遮光性を有する必要は無い。
電界発光層4512は、単数の層で構成されていても、複数の層が積層されるように構成
されていてもどちらでも良い。
発光素子4511に酸素、水素、水分、二酸化炭素等が侵入しないように、第2電極層4
513及び隔壁4520上に保護膜を形成しても良い。保護膜としては、窒化珪素膜、窒
化酸化珪素膜、DLC膜等を形成することができる。
また、信号線駆動回路4503a、4503b、走査線駆動回路4504a、4504b
、または画素部4502に与えられる各種信号及び電位は、FPC4518a、4518
bから供給されている。
接続端子電極4515が、発光素子4511が有する第1電極層4517と同じ導電膜か
ら形成され、端子電極4516は、トランジスタ4509のソース電極層及びドレイン電
極層と同じ導電膜から形成されている。
接続端子電極4515は、FPC4518aが有する端子と、異方性導電膜4519を介
して電気的に接続されている。
発光素子4511からの光の取り出し方向に位置する基板は、可視光に対する透光性を有
していなければならない。その場合には、ガラス板、プラスチック板、ポリエステルフィ
ルムまたはアクリルフィルムのような可視光に対する透光性を有する材料を用いる。
また、充填材4507としては窒素やアルゴンなどの不活性な気体の他に、紫外線硬化樹
脂または熱硬化樹脂を用いることができ、PVC(ポリビニルクロライド)、アクリル樹
脂、ポリイミド、エポキシ樹脂、シリコーン樹脂、PVB(ポリビニルブチラル)または
EVA(エチレンとビニルアセテートとの共重合体)を用いることができる。例えば充填
材として窒素を用いれば良い。
また、必要であれば、発光素子の射出面に偏光板、又は円偏光板(楕円偏光板を含む)、
位相差板(λ/4板、λ/2板)、カラーフィルタなどの光学フィルムを適宜設けても良
い。また、偏光板又は円偏光板に反射防止膜を設けても良い。例えば、表面の凹凸により
反射光を拡散し、映り込みを低減できるアンチグレア処理を施すことができる。
信号線駆動回路4503a、4503b、及び走査線駆動回路4504a、4504bは
、別途用意された基板上に単結晶半導体膜又は多結晶半導体膜によって形成された駆動回
路で実装されていても良い。また、信号線駆動回路のみ、或いは一部、又は走査線駆動回
路のみ、或いは一部のみを別途形成して実装しても良く、図9の構成に限定されない。
以上の工程により、発光表示装置(表示パネル)を作製することができる。
(実施の形態6)
本実施の形態では、上記実施の形態に示す本発明の一態様の発光装置をその一部に含む電
子機器について説明する。電子機器としては、ビデオカメラ、デジタルカメラ等のカメラ
、ゴーグル型ディスプレイ、ナビゲーションシステム、音響再生装置(カーオーディオ、
オーディオコンポ等)、コンピュータ、ゲーム機器、携帯情報端末(モバイルコンピュー
タ、携帯電話、携帯型ゲーム機又は電子書籍等)、記録媒体を備えた画像再生装置(具体
的には、Digital Versatile Disc(DVD)等の記録媒体を再生
し、その画像を表示しうる表示装置を備えた装置)などが挙げられる。これらの電子機器
の具体例を図10に示す。
図10(A)は、ノート型のパーソナルコンピュータであり、筐体601、筐体605、
表示部603、キーボード604などによって構成されている。このコンピュータにおい
て、表示部603には、本発明の一態様の発光装置を適用することができる。本発明の一
態様の発光装置は、低駆動電圧であるため、本発明の一態様の発光装置を適用することで
、消費電力の低減されたコンピュータを得ることができる。
図10(B)は、携帯情報端末(PDA)であり、本体610には、表示部616と、外
部インターフェイス617と、操作ボタン614等が設けられている。また、携帯情報端
末を操作するスタイラス612などを備えている。表示部616には、本発明の一態様の
発光装置を適用することができる。本発明の一態様の発光装置は、低駆動電圧であるため
、本発明の一態様の発光装置を適用することで、消費電力の低減された携帯情報端末を得
ることができる。
図10(C)は、電子ペーパーを実装した電子書籍620であり、筐体621と筐体62
3の2つの筐体で構成されている。筐体621及び筐体623には、それぞれ表示部62
5及び表示部627が設けられている。筐体621と筐体623は、軸部637により接
続されており、該軸部637を軸として開閉動作を行うことができる。また、筐体621
は、電源631、操作キー633、スピーカー635などを備えている。表示部625、
627の少なくとも一には、本発明の一態様の発光装置が用いられている。本発明の一態
様の発光装置は、低駆動電圧であるため、本発明の一態様の発光装置を適用することで、
消費電力の低減された電子書籍を得ることができる。
図10(D)は、携帯電話機であり、筐体640と筐体641の2つの筐体で構成されて
いる。さらに、筐体640と筐体641は、スライドし、図10(D)のように展開して
いる状態から重なり合った状態とすることができ、携帯に適した小型化が可能である。ま
た、筐体641は、表示パネル642、スピーカー643、マイクロフォン644、ポイ
ンティングデバイス646、カメラ用レンズ647、外部接続端子648などを備えてい
る。また、筐体640は、携帯電話機の充電を行う太陽電池セル649、外部メモリスロ
ット651などを備えている。また、表示パネル642はタッチパネル機能を備えており
、図10(D)には映像表示されている複数の操作キー645を点線で示している。また
、アンテナは、筐体641に内蔵されている。表示パネル642には、本発明の一態様の
発光装置を適用することができる。本発明の一態様の発光装置は、低駆動電圧であるため
、本発明の一態様の発光装置を適用することで、消費電力の低減された携帯電話機を得る
ことができる。
図10(E)は、デジタルカメラであり、本体661、表示部667、接眼部663、操
作スイッチ664、表示部665、バッテリー666などによって構成されている。表示
部665には、本発明の一態様の発光装置を適用することができる。本発明の一態様の発
光装置は、低駆動電圧であるため、本発明の一態様の発光装置を適用することで、消費電
力の低減されたデジタルカメラを得ることができる。
図10(F)は、テレビジョン装置670であり、筐体671、表示部673、スタンド
675などで構成されている。テレビジョン装置670の操作は、筐体671が備えるス
イッチや、リモコン操作機680により行うことができる。表示部673には、本発明の
一態様の発光装置を適用することができる。本発明の一態様の発光装置は、低駆動電圧で
あるため、本発明の一態様の発光装置を適用することで、消費電力の低減されたテレビジ
ョン装置を得ることができる。
以上の様に、本発明の一態様の発光装置の適用範囲は極めて広く、この発光装置をあらゆ
る分野の電子機器に適用することが可能である。本発明の一態様の発光装置を用いること
により、消費電力の低減された電子機器を得ることができる。
なお、本実施の形態は、他の実施の形態と適宜組み合わせることが可能である。
100 駆動用トランジスタ
101 基板
103 下地層
105 ゲート電極層
107 ゲート絶縁層
109 酸化物半導体層
111a、b ソース電極層またはドレイン電極層
113 層間絶縁層
115 カラーフィルタ層
117 オーバーコート層
121 第1の電極層
123 コンタクト部
125 開口部
127 隔壁
129 EL層
130 スイッチング用トランジスタ
131 第2の電極層
140 発光素子
142 容量素子
144 信号線
146 走査線
148 電源線
150 画素
152 共通電極
200 駆動用トランジスタ
201 基板
203 下地層
205 ゲート電極層
207 ゲート絶縁層
209 半導体層
211a、b ソース電極層またはドレイン電極層
213 層間絶縁層
215 カラーフィルタ層
217 オーバーコート層
221 第1の電極層
223 コンタクト部
225 開口部
227 隔壁
229 EL層
230 スイッチング用トランジスタ
231 第2の電極層
311 第1の発光ユニット
312 第2の発光ユニット
313 電荷発生層
314 発光ユニット
315 所望の発光領域
317 発光領域
601 筐体
603 表示部
604 キーボード
605 筐体
610 本体
612 スタイラス
614 操作ボタン
616 表示部
617 外部インターフェイス
620 電子書籍
621 筐体
623 筐体
625 表示部
627 表示部
631 電源
633 操作キー
635 スピーカー
637 軸部
640 筐体
641 筐体
642 表示パネル
643 スピーカー
644 マイクロフォン
645 操作キー
646 ポインティングデバイス
647 カメラ用レンズ
648 外部接続端子
649 太陽電池セル
651 外部メモリスロット
661 本体
663 接眼部
664 操作スイッチ
665 表示部
666 バッテリー
667 表示部
670 テレビジョン装置
671 筐体
673 表示部
675 スタンド
680 リモコン操作機
1111 正孔注入層
1112 正孔輸送層
1113 発光層
1114 電子輸送層
1115 電子注入層
1120 所望の発光領域
1130 発光領域
4501 基板
4502 画素部
4503a、b 信号線駆動回路
4504a、b 走査線駆動回路
4505 シール材
4506 基板
4507 充填材
4509 トランジスタ
4510 トランジスタ
4511 発光素子
4512 電界発光層
4513 第2電極層
4515 接続端子電極
4516 端子電極
4517 第1電極層
4518a、b FPC
4519 異方性導電膜
4520 隔壁
4540 導電層
4542 酸化物絶縁層
4543 オーバーコート層
4544 絶縁層
4545 カラーフィルタ層
4546 絶縁層

Claims (2)

  1. トランジスタのゲート電極となる領域を有し且つ遮光性を有する第1の導電層と、
    前記トランジスタのチャネル形成領域を有する酸化物半導体層と、
    前記酸化物半導体層と電気的に接続されている第2の導電層と、
    前記第2の導電層上方の第1の絶縁層と、
    前記第1の絶縁層上方の赤色のカラーフィルタ層と、
    前記赤色のカラーフィルタ層上方の第2の絶縁層と、
    前記第2の絶縁層上方の画素電極と、
    前記画素電極上方の隔壁と、
    前記画素電極上方及び前記隔壁上方のEL層と、
    前記EL層上方の陰極と、を有し、
    前記第2の導電層は、ソース電極又はドレイン電極となる領域を有し、
    前記隔壁は、前記赤色のカラーフィルタ層と重なる領域と、前記赤色のカラーフィルタ層の端部と重ならない領域と、を有し、
    前記画素電極は、前記第2の導電層と電気的に接続される表示装置であって、
    前記第1の導電層と前記隔壁と前記赤色のカラーフィルタ層と前記EL層と前記陰極とが互いに重なる領域と、前記第1の導電層と前記隔壁と前記EL層と前記陰極とが互いに重なり且つ前記赤色のカラーフィルタ層が重ならない領域と、を有することを特徴とする表示装置。
  2. トランジスタと、
    前記トランジスタ上方のカラーフィルタ層と、
    前記カラーフィルタ層上方の画素電極と、
    前記画素電極上方の隔壁と、
    前記画素電極上方及び前記隔壁上方のEL層と、
    前記EL層上方の陰極と、を有し、
    前記隔壁は、前記カラーフィルタ層と重なる領域と、前記カラーフィルタ層と重ならない領域と、を有し、
    前記画素電極は、前記トランジスタのソース電極層又はドレイン電極層と電気的に接続される表示装置であって、
    前記トランジスタの遮光性を有するゲート電極層と前記隔壁と前記カラーフィルタ層と前記EL層と前記陰極とが互いに重なる領域と、前記トランジスタの遮光性を有するゲート電極層と前記隔壁と前記EL層と前記陰極とが互いに重なり且つ前記カラーフィルタ層と重ならない領域と、を有することを特徴とする表示装置。
JP2015220047A 2010-04-16 2015-11-10 表示装置 Active JP6239569B2 (ja)

Priority Applications (1)

Application Number Priority Date Filing Date Title
JP2015220047A JP6239569B2 (ja) 2010-04-16 2015-11-10 表示装置

Applications Claiming Priority (3)

Application Number Priority Date Filing Date Title
JP2010094807 2010-04-16
JP2010094807 2010-04-16
JP2015220047A JP6239569B2 (ja) 2010-04-16 2015-11-10 表示装置

Related Parent Applications (1)

Application Number Title Priority Date Filing Date
JP2011088775A Division JP5839819B2 (ja) 2010-04-16 2011-04-13 発光装置、表示モジュール及び電子機器

Related Child Applications (1)

Application Number Title Priority Date Filing Date
JP2017211556A Division JP2018029078A (ja) 2010-04-16 2017-11-01 表示装置

Publications (2)

Publication Number Publication Date
JP2016048690A JP2016048690A (ja) 2016-04-07
JP6239569B2 true JP6239569B2 (ja) 2017-11-29

Family

ID=44787589

Family Applications (7)

Application Number Title Priority Date Filing Date
JP2011088775A Active JP5839819B2 (ja) 2010-04-16 2011-04-13 発光装置、表示モジュール及び電子機器
JP2015202654A Withdrawn JP2016006802A (ja) 2010-04-16 2015-10-14 半導体装置及び表示装置
JP2015220047A Active JP6239569B2 (ja) 2010-04-16 2015-11-10 表示装置
JP2017211556A Withdrawn JP2018029078A (ja) 2010-04-16 2017-11-01 表示装置
JP2019112731A Active JP6806849B2 (ja) 2010-04-16 2019-06-18 表示装置
JP2020201446A Active JP7032509B2 (ja) 2010-04-16 2020-12-04 表示装置
JP2022026627A Withdrawn JP2022060491A (ja) 2010-04-16 2022-02-24 発光装置

Family Applications Before (2)

Application Number Title Priority Date Filing Date
JP2011088775A Active JP5839819B2 (ja) 2010-04-16 2011-04-13 発光装置、表示モジュール及び電子機器
JP2015202654A Withdrawn JP2016006802A (ja) 2010-04-16 2015-10-14 半導体装置及び表示装置

Family Applications After (4)

Application Number Title Priority Date Filing Date
JP2017211556A Withdrawn JP2018029078A (ja) 2010-04-16 2017-11-01 表示装置
JP2019112731A Active JP6806849B2 (ja) 2010-04-16 2019-06-18 表示装置
JP2020201446A Active JP7032509B2 (ja) 2010-04-16 2020-12-04 表示装置
JP2022026627A Withdrawn JP2022060491A (ja) 2010-04-16 2022-02-24 発光装置

Country Status (2)

Country Link
US (1) US8890187B2 (ja)
JP (7) JP5839819B2 (ja)

Families Citing this family (29)

* Cited by examiner, † Cited by third party
Publication number Priority date Publication date Assignee Title
US9793444B2 (en) 2012-04-06 2017-10-17 Semiconductor Energy Laboratory Co., Ltd. Display device and electronic device
US9711110B2 (en) 2012-04-06 2017-07-18 Semiconductor Energy Laboratory Co., Ltd. Display device comprising grayscale conversion portion and display portion
TWI650580B (zh) 2012-05-09 2019-02-11 日商半導體能源研究所股份有限公司 顯示裝置及電子裝置
TWI588540B (zh) 2012-05-09 2017-06-21 半導體能源研究所股份有限公司 顯示裝置和電子裝置
US9916793B2 (en) * 2012-06-01 2018-03-13 Semiconductor Energy Laboratory Co., Ltd. Semiconductor device and method of driving the same
US9201276B2 (en) * 2012-10-17 2015-12-01 Apple Inc. Process architecture for color filter array in active matrix liquid crystal display
TWI516836B (zh) * 2013-03-07 2016-01-11 群創光電股份有限公司 液晶顯示面板及包含其之液晶顯示裝置
KR20140123420A (ko) * 2013-04-12 2014-10-22 가부시키가이샤 한도오따이 에네루기 켄큐쇼 표시 장치
WO2015033775A1 (ja) * 2013-09-04 2015-03-12 コニカミノルタ株式会社 面状発光ユニット
KR102151754B1 (ko) * 2013-11-20 2020-09-04 삼성디스플레이 주식회사 유기발광 디스플레이 장치 및 그 제조방법
KR20150061574A (ko) 2013-11-27 2015-06-04 가부시키가이샤 한도오따이 에네루기 켄큐쇼 표시 장치 및 표시 장치용 테두리
US10547831B2 (en) 2013-11-27 2020-01-28 Semiconductor Energy Laboratory Co., Ltd. Display device and display device frame
KR102315659B1 (ko) 2013-11-27 2021-10-20 가부시키가이샤 한도오따이 에네루기 켄큐쇼 표시 장치
KR20160064978A (ko) 2014-11-28 2016-06-08 가부시키가이샤 한도오따이 에네루기 켄큐쇼 표시 장치, 모듈, 표시 시스템, 및 전자 기기
JP2016122608A (ja) * 2014-12-25 2016-07-07 パイオニア株式会社 発光装置
TWI599834B (zh) * 2015-07-31 2017-09-21 友達光電股份有限公司 畫素結構及其製造方法
US10485100B2 (en) 2015-09-30 2019-11-19 Semiconductor Energy Laboratory Co., Ltd. Circuit board and display system
KR102447451B1 (ko) * 2016-01-20 2022-09-27 삼성디스플레이 주식회사 유기 발광 표시 장치
KR102590011B1 (ko) * 2016-08-31 2023-10-16 엘지디스플레이 주식회사 유기 발광 표시 장치 및 이의 제조 방법
WO2018193340A1 (ja) * 2017-04-20 2018-10-25 株式会社半導体エネルギー研究所 表示パネル、表示装置、入出力装置、情報処理装置
KR102602739B1 (ko) * 2018-09-07 2023-11-16 삼성디스플레이 주식회사 전자 장치
KR20210132141A (ko) 2019-03-07 2021-11-03 가부시키가이샤 한도오따이 에네루기 켄큐쇼 발광 디바이스
JP7581186B2 (ja) * 2019-04-26 2024-11-12 株式会社半導体エネルギー研究所 発光デバイス、発光装置、電子機器および照明装置
KR102674960B1 (ko) * 2019-05-30 2024-06-17 삼성전자주식회사 이미지 센서 및 이의 제조 방법
CN110571255B (zh) * 2019-09-10 2021-09-07 昆山国显光电有限公司 膜层结构、显示面板、显示装置及膜层结构制备方法
JP2020061384A (ja) * 2020-01-22 2020-04-16 パイオニア株式会社 発光装置
KR20230146572A (ko) 2021-02-18 2023-10-19 가부시키가이샤 한도오따이 에네루기 켄큐쇼 전자 기기
JPWO2023131854A1 (ja) * 2022-01-07 2023-07-13
KR20240164533A (ko) * 2022-03-31 2024-11-19 가부시키가이샤 한도오따이 에네루기 켄큐쇼 발광 디바이스의 제작 방법

Family Cites Families (33)

* Cited by examiner, † Cited by third party
Publication number Priority date Publication date Assignee Title
JPH0990425A (ja) 1995-09-19 1997-04-04 Sony Corp 表示装置
JPH1010574A (ja) 1996-06-26 1998-01-16 Sharp Corp 液晶表示装置およびその製造方法
JP4014710B2 (ja) * 1997-11-28 2007-11-28 株式会社半導体エネルギー研究所 液晶表示装置
TW439387B (en) * 1998-12-01 2001-06-07 Sanyo Electric Co Display device
JP3267271B2 (ja) 1998-12-10 2002-03-18 日本電気株式会社 液晶表示装置およびその製造法
US7821065B2 (en) 1999-03-02 2010-10-26 Semiconductor Energy Laboratory Co., Ltd. Semiconductor device comprising a thin film transistor comprising a semiconductor thin film and method of manufacturing the same
US6512504B1 (en) * 1999-04-27 2003-01-28 Semiconductor Energy Laborayory Co., Ltd. Electronic device and electronic apparatus
JP2001175198A (ja) 1999-12-14 2001-06-29 Semiconductor Energy Lab Co Ltd 半導体装置およびその作製方法
JP4831873B2 (ja) * 2000-02-22 2011-12-07 株式会社半導体エネルギー研究所 自発光装置及びその作製方法
TW525305B (en) * 2000-02-22 2003-03-21 Semiconductor Energy Lab Self-light-emitting device and method of manufacturing the same
US7102168B2 (en) 2001-12-24 2006-09-05 Samsung Electronics Co., Ltd. Thin film transistor array panel for display and manufacturing method thereof
KR100825102B1 (ko) * 2002-01-08 2008-04-25 삼성전자주식회사 박막 트랜지스터 기판 및 그 제조 방법
US6933520B2 (en) 2002-02-13 2005-08-23 Semiconductor Energy Laboratory Co., Ltd. Light emitting device
JP4718761B2 (ja) * 2002-02-13 2011-07-06 株式会社半導体エネルギー研究所 発光装置の作製方法
US7164308B2 (en) 2003-01-17 2007-01-16 International Rectifier Corporation Temperature compensated bandgap voltage reference
JP2004227854A (ja) 2003-01-21 2004-08-12 Sanyo Electric Co Ltd エレクトロルミネッセンス表示装置
JP2005084511A (ja) * 2003-09-10 2005-03-31 Seiko Epson Corp カラーフィルタ基板及びその製造方法、電気光学装置、並びに電子機器
KR20050029426A (ko) * 2003-09-22 2005-03-28 삼성에스디아이 주식회사 칼라필터층 또는 색변환층을 갖는 풀칼라 유기전계발광소자
KR101061850B1 (ko) * 2004-09-08 2011-09-02 삼성전자주식회사 박막 트랜지스터 표시판 및 그 제조방법
JP2006127986A (ja) * 2004-10-29 2006-05-18 Sanyo Electric Co Ltd 有機エレクトロルミネッセンス素子、その製造方法および有機エレクトロルミネッセンス装置
US7531959B2 (en) * 2005-06-29 2009-05-12 Eastman Kodak Company White light tandem OLED display with filters
JP2007103028A (ja) * 2005-09-30 2007-04-19 Sanyo Electric Co Ltd 有機エレクトロルミネッセンス表示装置
JP5269305B2 (ja) * 2005-11-17 2013-08-21 三星ディスプレイ株式會社 有機発光表示装置
KR20070073394A (ko) * 2006-01-05 2007-07-10 삼성전자주식회사 잉크젯 프린팅 시스템 및 이를 이용한 표시 장치의 제조방법
US7510454B2 (en) * 2006-01-19 2009-03-31 Eastman Kodak Company OLED device with improved power consumption
KR101230308B1 (ko) * 2006-02-22 2013-02-06 삼성디스플레이 주식회사 표시 장치
JP2006293385A (ja) * 2006-05-24 2006-10-26 Semiconductor Energy Lab Co Ltd 表示装置
KR101293562B1 (ko) * 2006-06-21 2013-08-06 삼성디스플레이 주식회사 유기 발광 표시 장치 및 그 제조 방법
JP2008276212A (ja) * 2007-04-05 2008-11-13 Fujifilm Corp 有機電界発光表示装置
KR101378864B1 (ko) * 2007-12-28 2014-03-27 엘지디스플레이 주식회사 유기전계발광표시장치 및 이의 제조방법
WO2010004944A1 (en) * 2008-07-10 2010-01-14 Semiconductor Energy Laboratory Co., Ltd. Light-emitting device and electronic device using the same
KR101572084B1 (ko) * 2008-07-16 2015-11-26 삼성디스플레이 주식회사 유기 발광 표시 장치 및 그 제조 방법
WO2011055631A1 (en) * 2009-11-06 2011-05-12 Semiconductor Energy Laboratory Co., Ltd. Semiconductor device and manufacturing method thereof

Also Published As

Publication number Publication date
JP2016006802A (ja) 2016-01-14
US20110254037A1 (en) 2011-10-20
US8890187B2 (en) 2014-11-18
JP2019207876A (ja) 2019-12-05
JP2021044256A (ja) 2021-03-18
JP2018029078A (ja) 2018-02-22
JP2016048690A (ja) 2016-04-07
JP2022060491A (ja) 2022-04-14
JP6806849B2 (ja) 2021-01-06
JP7032509B2 (ja) 2022-03-08
JP5839819B2 (ja) 2016-01-06
JP2011238908A (ja) 2011-11-24

Similar Documents

Publication Publication Date Title
JP7032509B2 (ja) 表示装置
US11031439B2 (en) Light-emitting device and display device
JP6619466B2 (ja) 発光素子及び発光装置
JP6475779B2 (ja) 表示装置
JP6400650B2 (ja) 表示装置
JP5917185B2 (ja) 表示装置
US9166192B2 (en) Display device having plural sealants at periphery of pixel portion
JP2012182443A (ja) 発光素子及び発光装置

Legal Events

Date Code Title Description
A977 Report on retrieval

Free format text: JAPANESE INTERMEDIATE CODE: A971007

Effective date: 20160720

A131 Notification of reasons for refusal

Free format text: JAPANESE INTERMEDIATE CODE: A131

Effective date: 20160802

A521 Request for written amendment filed

Free format text: JAPANESE INTERMEDIATE CODE: A523

Effective date: 20160927

A131 Notification of reasons for refusal

Free format text: JAPANESE INTERMEDIATE CODE: A131

Effective date: 20170307

A521 Request for written amendment filed

Free format text: JAPANESE INTERMEDIATE CODE: A523

Effective date: 20170426

TRDD Decision of grant or rejection written
A01 Written decision to grant a patent or to grant a registration (utility model)

Free format text: JAPANESE INTERMEDIATE CODE: A01

Effective date: 20171003

A61 First payment of annual fees (during grant procedure)

Free format text: JAPANESE INTERMEDIATE CODE: A61

Effective date: 20171101

R150 Certificate of patent or registration of utility model

Ref document number: 6239569

Country of ref document: JP

Free format text: JAPANESE INTERMEDIATE CODE: R150

R250 Receipt of annual fees

Free format text: JAPANESE INTERMEDIATE CODE: R250

R250 Receipt of annual fees

Free format text: JAPANESE INTERMEDIATE CODE: R250

R250 Receipt of annual fees

Free format text: JAPANESE INTERMEDIATE CODE: R250

R250 Receipt of annual fees

Free format text: JAPANESE INTERMEDIATE CODE: R250

R250 Receipt of annual fees

Free format text: JAPANESE INTERMEDIATE CODE: R250

R250 Receipt of annual fees

Free format text: JAPANESE INTERMEDIATE CODE: R250