JP6237891B2 - 農作業実績の入力支援方法、農作業実績の入力支援プログラム、および入力支援装置 - Google Patents
農作業実績の入力支援方法、農作業実績の入力支援プログラム、および入力支援装置 Download PDFInfo
- Publication number
- JP6237891B2 JP6237891B2 JP2016514592A JP2016514592A JP6237891B2 JP 6237891 B2 JP6237891 B2 JP 6237891B2 JP 2016514592 A JP2016514592 A JP 2016514592A JP 2016514592 A JP2016514592 A JP 2016514592A JP 6237891 B2 JP6237891 B2 JP 6237891B2
- Authority
- JP
- Japan
- Prior art keywords
- work
- screen
- farm
- field
- input
- Prior art date
- Legal status (The legal status is an assumption and is not a legal conclusion. Google has not performed a legal analysis and makes no representation as to the accuracy of the status listed.)
- Expired - Fee Related
Links
Images
Classifications
-
- G—PHYSICS
- G06—COMPUTING OR CALCULATING; COUNTING
- G06Q—INFORMATION AND COMMUNICATION TECHNOLOGY [ICT] SPECIALLY ADAPTED FOR ADMINISTRATIVE, COMMERCIAL, FINANCIAL, MANAGERIAL OR SUPERVISORY PURPOSES; SYSTEMS OR METHODS SPECIALLY ADAPTED FOR ADMINISTRATIVE, COMMERCIAL, FINANCIAL, MANAGERIAL OR SUPERVISORY PURPOSES, NOT OTHERWISE PROVIDED FOR
- G06Q50/00—Information and communication technology [ICT] specially adapted for implementation of business processes of specific business sectors, e.g. utilities or tourism
- G06Q50/02—Agriculture; Fishing; Forestry; Mining
-
- G—PHYSICS
- G06—COMPUTING OR CALCULATING; COUNTING
- G06Q—INFORMATION AND COMMUNICATION TECHNOLOGY [ICT] SPECIALLY ADAPTED FOR ADMINISTRATIVE, COMMERCIAL, FINANCIAL, MANAGERIAL OR SUPERVISORY PURPOSES; SYSTEMS OR METHODS SPECIALLY ADAPTED FOR ADMINISTRATIVE, COMMERCIAL, FINANCIAL, MANAGERIAL OR SUPERVISORY PURPOSES, NOT OTHERWISE PROVIDED FOR
- G06Q10/00—Administration; Management
- G06Q10/06—Resources, workflows, human or project management; Enterprise or organisation planning; Enterprise or organisation modelling
- G06Q10/063—Operations research, analysis or management
- G06Q10/0631—Resource planning, allocation, distributing or scheduling for enterprises or organisations
- G06Q10/06314—Calendaring for a resource
Landscapes
- Business, Economics & Management (AREA)
- Human Resources & Organizations (AREA)
- Engineering & Computer Science (AREA)
- Strategic Management (AREA)
- Economics (AREA)
- Tourism & Hospitality (AREA)
- Physics & Mathematics (AREA)
- Theoretical Computer Science (AREA)
- General Physics & Mathematics (AREA)
- Marketing (AREA)
- General Business, Economics & Management (AREA)
- Entrepreneurship & Innovation (AREA)
- Quality & Reliability (AREA)
- Animal Husbandry (AREA)
- Operations Research (AREA)
- Educational Administration (AREA)
- Game Theory and Decision Science (AREA)
- Life Sciences & Earth Sciences (AREA)
- Agronomy & Crop Science (AREA)
- Development Economics (AREA)
- Marine Sciences & Fisheries (AREA)
- Mining & Mineral Resources (AREA)
- Health & Medical Sciences (AREA)
- General Health & Medical Sciences (AREA)
- Primary Health Care (AREA)
- Management, Administration, Business Operations System, And Electronic Commerce (AREA)
Description
本発明は、農作業実績の入力支援方法、農作業実績の入力支援プログラム、および入力支援装置に関する。
農作業の作業現場において、作業者が情報処理端末を操作して農作業の作業実績の入力を行うことは困難なことが多い。このため、作業者は、複数の圃場に対して幾つかの農作業を行って、休憩時間や終業時に事務所に戻った際に、農作業を行った複数の圃場に対する様々な作業項目についての作業実績の入力をまとめて行うことが多い。
先行技術としては、例えば、介護者が行った全ての援助にかかったトータル時間から、介護者が行ったそれぞれの援助項目にかかった実援助時間を、援助項目テーブルを参照し按分して求める技術がある。
しかしながら、従来技術では、農作業を行った複数の圃場に対する複数の作業項目についての作業実績の入力をまとめて行うのは手間がかかり面倒である。
一つの側面では、本発明は、農作業の作業実績の入力を支援することができる農作業実績の入力支援方法、農作業実績の入力支援プログラム、および入力支援装置を提供することを目的とする。
本発明の一側面によれば、圃場の選択と、作業項目の選択と、総作業時間の指定とを受け付け、選択された圃場が複数であって、かつ、選択された作業項目が複数である場合に、選択された複数の圃場の全てについて、選択された複数の作業項目の全てを割り当て、前記複数の圃場別かつ前記複数の作業項目別に、前記総作業時間を分配して記録する農作業実績の入力支援方法、農作業実績の入力支援プログラム、および入力支援装置が提案される。
本発明の一態様によれば、農作業の作業実績の入力を支援することができるという効果を奏する。
以下に図面を参照して、本発明にかかる農作業実績の入力支援方法、農作業実績の入力支援プログラム、および入力支援装置の実施の形態を詳細に説明する。
(農作業実績の入力支援方法の一実施例)
図1は、実施の形態にかかる農作業実績の入力支援方法の一実施例を示す説明図である。図1において、入力支援装置100は、農作業の作業実績の入力を支援するコンピュータである。農作業とは、農業生産のための作業であり、例えば、耕耘、播種、定植、見回り、肥料散布、農薬散布、追肥、灌水などである。また、農作業の作業実績とは、農作業に従事する作業者によって行われた農作業の仕事量を表す情報である。
図1は、実施の形態にかかる農作業実績の入力支援方法の一実施例を示す説明図である。図1において、入力支援装置100は、農作業の作業実績の入力を支援するコンピュータである。農作業とは、農業生産のための作業であり、例えば、耕耘、播種、定植、見回り、肥料散布、農薬散布、追肥、灌水などである。また、農作業の作業実績とは、農作業に従事する作業者によって行われた農作業の仕事量を表す情報である。
ここで、各圃場の農作業の進捗状況を把握したり、圃場単位のトレーサビリティを確保したりするには、各圃場で行われた作業項目ごとの農作業の作業実績を管理することが望まれる。圃場は、作物を栽培、生育するための田畑、菜園などである。作物は、農業によって生産される物であり、例えば、穀類、野菜、果物、花卉などである。作業項目とは、農作業を作業内容で区分けしたものである。
一方で、農作業の作業現場において、作業者がスマートフォンなどの端末装置を操作して農作業の作業実績の入力を行うことは困難なことが多い。例えば、農作業の作業現場では、作業者の手を防護するために、軍手などの手袋を着用して農作業を行うことが多く、端末装置に対する細かい操作を行うことは難しい。
このため、作業者は、例えば、始業時に事務所を出発し、複数の圃場に対して幾つかの農作業を行って、休憩時間や終業時に事務所に戻った際に、農作業を行った複数の圃場に対する複数の作業項目についての作業実績の入力をまとめて行うことが多い。ところが、複数の圃場に対する複数の作業項目についての作業実績の入力をまとめて行うのは手間がかかり面倒である。
そこで、本実施の形態では、農作業が行われた複数の圃場に対する複数の作業項目についての作業実績の入力を簡便にする入力支援方法について説明する。以下、入力支援装置100の農作業実績の入力支援処理例について説明する。ここでは、入力支援装置100を、農業経営者や作業者が使用するPC(パーソナル・コンピュータ)、タブレット型PC、スマートフォンなどに適用した場合を例に挙げて説明する。
(1)入力支援装置100は、圃場の選択と、作業項目の選択と、総作業時間の指定とを受け付ける。ここで、選択される圃場は、農作業実績の入力を行う対象の圃場である。また、選択される作業項目は、農作業実績の入力を行う対象の作業項目である。また、指定される総作業時間は、選択される圃場に対して行われた農作業の総作業時間である。
具体的には、例えば、入力支援装置100は、不図示のキーボードやマウスやタッチパネルを用いたユーザの操作入力により、圃場の選択と、作業項目の選択と、総作業時間の指定とを受け付ける。より具体的には、例えば、入力支援装置100は、圃場、作業項目および総作業時間の入力を行うための入力画面110を表示する。
なお、選択候補の圃場を特定する情報は、入力支援装置100が記憶していてもよく、また、入力支援装置100と通信可能な他のコンピュータに記憶されていてもよい。
以下の説明においては、操作画面に表示されている項目をユーザが選択する操作としてクリック操作を行うことを例として説明する。入力画面110において、ユーザの操作入力により、ボックス111をクリックすることで、農作業を行った作業日を入力することができる。また、入力画面110において、ユーザの操作入力により、チェックボックス112〜116をクリックすることで、農作業実績の入力を行う対象の圃場を選択することができる。
また、入力画面110において、ユーザの操作入力により、チェックボックス117〜121をクリックすることで、農作業実績の入力を行う対象の作業項目を選択することができる。また、入力画面110において、ユーザの操作入力により、ボックス122をクリックすることで、農作業の総作業時間を指定することができる。
図1の例では、農作業を行った作業日「2014年4月9日」がボックス111に入力されている。また、チェックボックス112,114がクリックされて、農作業実績の入力を行う対象の圃場として、圃場Aおよび圃場Cが選択されている。また、チェックボックス120,121がクリックされて、農作業実績の入力を行う対象の作業項目として、追肥および灌水が選択されている。また、農作業の総作業時間「6時間00分」がボックス122に入力されている。
また、入力画面110において、ユーザの操作入力により、ボタン123をクリックすることで、圃場の選択、作業項目の選択および総作業時間の指定を確定することができる。図1の例では、農作業実績の入力を行う対象の圃場として、圃場Aおよび圃場Cの選択が確定し、農作業実績の入力を行う対象の作業項目として、追肥および灌水の選択が確定し、農作業の総作業時間「6時間00分」の指定が確定した場合を想定する。
(2)入力支援装置100は、選択された圃場が複数であって、かつ、選択された作業項目が複数である場合に、選択された複数の圃場の全てについて、選択された複数の作業項目の全てを割り当てる。すなわち、選択された全ての圃場で、選択された全ての作業項目の農作業が行われたとする。図1の例では、選択された圃場Aおよび圃場Cで、選択された作業項目「追肥」「灌水」のいずれもの農作業が行われた場合を想定する。
(3)入力支援装置100は、選択された複数の圃場別かつ複数の作業項目別に、指定された農作業の総作業時間を分配して出力する。具体的には、例えば、まず、入力支援装置100は、指定された総作業時間「6時間00分」を、選択を受け付けた作業項目の数「2」で按分する。これにより、農作業の総作業時間「6時間00分」を作業項目別に分配することができる。
そして、入力支援装置100は、按分の結果得られた各作業項目に対する作業時間「3時間00分」を、複数の圃場のそれぞれの面積に応じて分配する。ここで、圃場の面積は、例えば、圃場に作付け中の作物の作付面積である。圃場に作付け中の作物の作付面積が広くなると、作付されている作物の数も多くなることが多く、そのため、圃場における農作業の作業時間は多くなる傾向にある。
このため、入力支援装置100は、例えば、選択された複数の圃場のそれぞれの面積に比例して、按分の結果得られた各作業項目に対する作業時間の配分量を制御する。そして、入力支援装置100は、分配して得られた値を、複数の圃場別かつ複数の作業項目別の作業時間として出力する。
なお、各圃場に作付け中の作物の作付面積を特定する情報は、入力支援装置100が記憶していてもよく、また、入力支援装置100と通信可能な他のコンピュータに記憶されていてもよい。
図1の例では、圃場Aと圃場Cとの間の面積の比率は、「2:1」である。このため、各作業項目「追肥、灌水」に対する作業時間「3時間00分」が、圃場Aと圃場Cに「2:1」の比率で分配される。この結果、複数の圃場別かつ複数の作業項目別の作業時間を表示する作業実績画面130が表示される。
作業実績画面130において、ボックス131には、圃場Aに対する作業項目「追肥」についての作業時間「2時間00分」が作業実績として表示される。また、ボックス132には、圃場Aに対する作業項目「灌水」についての作業時間「2時間00分」が作業実績として表示される。また、ボックス133には、圃場Cに対する作業項目「追肥」についての作業時間「1時間00分」が作業実績として表示される。また、ボックス134には、圃場Cに対する作業項目「灌水」についての作業時間「1時間00分」が作業実績として表示される。
また、作業実績画面130において、ボックス131〜134をクリックすることで、各圃場に対する各作業項目についての作業時間を変更することができる。また、作業実績画面130において、ユーザの操作入力により、ボタン135をクリックすることで、各圃場に対する各作業項目についての作業時間の入力を確定することができる。
このように、実施の形態にかかる入力支援装置100によれば、複数の圃場のそれぞれで複数の作業項目の農作業が行われた場合に、複数の圃場別かつ複数の作業項目別に、農作業の総作業時間を分配して出力することができる。これにより、農作業が行われた各圃場の作業項目別の大まかな作業時間を特定可能にして、複数の圃場に対する複数の作業項目についての作業実績の入力を簡便にすることができる。
図1の例では、圃場「圃場A、圃場C」に対する作業項目「追肥、灌水」についての作業実績の入力をまとめて行う際に、各圃場の作業項目別の大まかな作業時間が表示される。このため、各圃場の作業項目別の作業実績を一から手作業で入力する場合に比べて、農作業実績の入力作業にかかる手間を削減することができる。
(農業支援システム200のシステム構成例)
つぎに、図1に示した入力支援装置100を農業支援システム200に適用した場合について説明する。
つぎに、図1に示した入力支援装置100を農業支援システム200に適用した場合について説明する。
図2は、農業支援システム200のシステム構成例を示す説明図である。図2において、農業支援システム200は、入力支援装置100と、クライアント装置201−1〜201−nと、を含む構成である(nは、2以上の自然数)。農業支援システム200において、入力支援装置100とクライアント装置201−1〜201−nは、有線または無線のネットワーク210を介して接続される。ネットワーク210は、例えば、LAN(Local Area Network)、WAN(Wide Area Network)、インターネットなどである。
ここで、入力支援装置100は、生産計画DB(データベース)220、農薬マスタ230および作業実績テーブル240を有し、クライアント装置201−1〜201−nの表示制御を行う。入力支援装置100は、例えば、サーバである。各種DB等220,230,240の記憶内容については、図5〜図8を用いて後述する。
クライアント装置201−1〜201−nは、ディスプレイ(例えば、後述する図4に示すディスプレイ406)を有し、入力支援装置100の表示制御に従って、各種画面を表示可能なコンピュータである。クライアント装置201−1〜201−nは、例えば、農業経営者や作業者が使用するPC、ノートPC、タブレット型PC、スマートフォンなどである。
具体的には、例えば、入力支援装置100は、クライアント装置201−1〜201−nから各種画面の表示要求を受信すると、各種画面の画面情報を生成してクライアント装置201−1〜201−nに送信する。この結果、クライアント装置201−1〜201−nのディスプレイに各種画面が表示される。
以下の説明では、クライアント装置201−1〜201−nを単に「クライアント装置201」と表記する場合がある。
(入力支援装置100のハードウェア構成例)
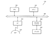
図3は、入力支援装置100のハードウェア構成例を示すブロック図である。図3において、入力支援装置100は、CPU(Central Processing Unit)301と、メモリ302と、I/F(Interface)303と、ディスクドライブ304と、ディスク305と、を有する。また、各構成部は、バス300によってそれぞれ接続される。
図3は、入力支援装置100のハードウェア構成例を示すブロック図である。図3において、入力支援装置100は、CPU(Central Processing Unit)301と、メモリ302と、I/F(Interface)303と、ディスクドライブ304と、ディスク305と、を有する。また、各構成部は、バス300によってそれぞれ接続される。
ここで、CPU301は、入力支援装置100の全体の制御を司る。メモリ302は、例えば、ROM(Read Only Memory)、RAM(Random Access Memory)およびフラッシュROMなどを有する。具体的には、例えば、フラッシュROMやROMが各種プログラムを記憶し、RAMがCPU301のワークエリアとして使用される。メモリ302に記憶されるプログラムは、CPU301にロードされることで、コーディングされている処理をCPU301に実行させる。
I/F303は、通信回線を通じてネットワーク210に接続され、ネットワーク210を介して他のコンピュータ(例えば、図2に示したクライアント装置201)に接続される。そして、I/F303は、ネットワーク210と内部のインターフェースを司り、他のコンピュータからのデータの入出力を制御する。I/F303には、例えば、モデムやLANアダプタなどを採用することができる。
ディスクドライブ304は、CPU301の制御に従ってディスク305に対するデータのリード/ライトを制御する。ディスク305は、ディスクドライブ304の制御で書き込まれたデータを記憶する。ディスク305としては、例えば、磁気ディスク、光ディスクなどが挙げられる。
なお、入力支援装置100は、上述した構成部のほか、例えば、SSD(Solid State Drive)、キーボード、マウス、ディスプレイなどを有することにしてもよい。
(クライアント装置201のハードウェア構成例)
図4は、クライアント装置201のハードウェア構成例を示すブロック図である。図4において、クライアント装置201は、CPU401と、メモリ402と、ディスクドライブ403と、ディスク404と、I/F405と、ディスプレイ406と、入力装置407と、を有する。また、各構成部はバス400によってそれぞれ接続される。
図4は、クライアント装置201のハードウェア構成例を示すブロック図である。図4において、クライアント装置201は、CPU401と、メモリ402と、ディスクドライブ403と、ディスク404と、I/F405と、ディスプレイ406と、入力装置407と、を有する。また、各構成部はバス400によってそれぞれ接続される。
ここで、CPU401は、クライアント装置201の全体の制御を司る。メモリ402は、例えば、ROM、RAMおよびフラッシュROMなどを有する。具体的には、例えば、フラッシュROMやROMが各種プログラムを記憶し、RAMがCPU401のワークエリアとして使用される。メモリ402に記憶されるプログラムは、CPU401にロードされることで、コーディングされている処理をCPU401に実行させる。
ディスクドライブ403は、CPU401の制御に従ってディスク404に対するデータのリード/ライトを制御する。ディスク404は、ディスクドライブ403の制御で書き込まれたデータを記憶する。ディスク404としては、例えば、磁気ディスク、光ディスクなどが挙げられる。
I/F405は、通信回線を通じてネットワーク210に接続され、ネットワーク210を介して他のコンピュータ(例えば、図2に示した入力支援装置100)に接続される。そして、I/F405は、ネットワーク210と内部のインターフェースを司り、他のコンピュータからのデータの入出力を制御する。
ディスプレイ406は、カーソル、アイコンあるいはツールボックスをはじめ、文書、画像、機能情報などのデータを表示する。ディスプレイ406は、例えば、CRT(Cathode Ray Tube)、液晶ディスプレイ、有機EL(Electroluminescence)ディスプレイなどを採用することができる。
入力装置407は、文字、数字、各種指示などの入力のためのキーを有し、データの入力を行う。入力装置407は、キーボードやマウスなどであってもよく、また、タッチパネル式の入力パッドやテンキーなどであってもよい。
なお、クライアント装置201は、上述した構成部のうち、例えば、ディスクドライブ403、ディスク404などを有さないことにしてもよい。また、クライアント装置201は、上述した構成部のほか、例えば、SSD、スキャナ、プリンタなどを有することにしてもよい。
(各種DB220,230,240の記憶内容)
つぎに、図5〜図7を用いて各種DB220,230,240の記憶内容について説明する。各種DB220,230,240は、例えば、図3に示した入力支援装置100のメモリ302、ディスク305により実現される。
つぎに、図5〜図7を用いて各種DB220,230,240の記憶内容について説明する。各種DB220,230,240は、例えば、図3に示した入力支援装置100のメモリ302、ディスク305により実現される。
<生産計画DB220の記憶内容>
図5は、生産計画DB220の記憶内容の一例を示す説明図である。図5において、生産計画DB220は、圃場名、品目、品種、作型および作付面積のフィールドを有する。各フィールドに情報を設定することで、生産計画情報(例えば、生産計画情報500−1〜500−3)がレコードとして記憶される。
図5は、生産計画DB220の記憶内容の一例を示す説明図である。図5において、生産計画DB220は、圃場名、品目、品種、作型および作付面積のフィールドを有する。各フィールドに情報を設定することで、生産計画情報(例えば、生産計画情報500−1〜500−3)がレコードとして記憶される。
ここで、生産計画とは、生産対象となる作物を、どの圃場にどのくらい作付けするのかの計画である。各圃場における作物の栽培は、生産計画に沿って行われる。圃場名は、圃場の名称である。圃場名として、例えば、1つの圃場を区切って分割した区画の名称である分筆名称を用いることにしてもよい。品目は、作物の種類である。品目としては、例えば、トマト、きゅうり、水稲、キャベツなどがある。
品種は、同一品目の中の種類である。例えば、キャベツの品種として、夏蒔きの品種であれば「彩風」「グリーンボール」、春蒔きの品種であれば「中早生2号」「中早生3号」「秋早生」「新風」などがある。作型は、作物の栽培を行うときの条件や技術の組み合わせを示す体系である。作型としては、例えば、ハウス栽培、露地栽培、夏蒔き栽培などがある。作付面積は、作物を作付けする面積である。
なお、生産計画DB220には、上述した情報のほかに、例えば、栽培指針、栽培開始予定日、栽培終了予定日、栽培期間、収穫量などの計画が記憶される。栽培指針は、農業を行う上での目標や方針のようなものである。農業経営者は、例えば、環境保護の観点から、使用する農薬を制限するという目標を栽培指針として設定したりする。
<農薬マスタ230の記憶内容>
図6は、農薬マスタ230の記憶内容の一例を示す説明図である。図6において、農薬マスタ230は、農薬および散布対象作物のフィールドを有し、各フィールドに情報を設定することで、農薬情報(例えば、農薬情報600−1〜600−3)をレコードとして記憶する。
図6は、農薬マスタ230の記憶内容の一例を示す説明図である。図6において、農薬マスタ230は、農薬および散布対象作物のフィールドを有し、各フィールドに情報を設定することで、農薬情報(例えば、農薬情報600−1〜600−3)をレコードとして記憶する。
ここで、農薬とは、農業用の薬剤である。農薬としては、作物を害する菌、線虫、ダニ、昆虫、動植物、ウイルスなどの防除に用いる殺菌剤、殺虫剤等のほか、作物の生理機能の増進または抑制に用いる植物成長調整剤や発芽抑制剤などがある。農薬フィールドには、例えば、農薬の種類や名称が設定される。
散布対象作物とは、農薬の散布対象として定められた作物である。散布対象作物フィールドには、例えば、作物の品目が設定される。一例として、農薬情報600−1を例に挙げると、農薬「○○顆粒水溶剤」の散布対象として定められた作物の品目「きゅうり、キャベツ、…」が示されている。
<作業実績テーブル240の記憶内容>
図7は、作業実績テーブル240の記憶内容の一例を示す説明図である。図7において、作業実績テーブル240は、作業実績ID、作業日、作業者、総作業時間、圃場、作業項目、圃場・作業項目別の作業時間のフィールドを有する。各フィールドに情報を設定することで、農作業の作業実績を示す作業実績情報(例えば、作業実績情報700)が記憶される。
図7は、作業実績テーブル240の記憶内容の一例を示す説明図である。図7において、作業実績テーブル240は、作業実績ID、作業日、作業者、総作業時間、圃場、作業項目、圃場・作業項目別の作業時間のフィールドを有する。各フィールドに情報を設定することで、農作業の作業実績を示す作業実績情報(例えば、作業実績情報700)が記憶される。
ここで、作業実績IDは、作業実績情報を識別する識別子である。作業日は、農作業が行われた年月日である。作業者は、農作業を行った作業者である。総作業時間は、農作業を行った総作業時間である。圃場は、農作業が行われた圃場である。作業項目は、圃場で行われた農作業の作業項目である。圃場・作業項目別の作業時間は、各圃場で行われた各作業項目の作業時間である。
一例として、作業者「中村」を例に挙げると、作業実績情報700によれば、作業日「2014年4月9日」に圃場「小田原1、小田原2」で行われた農作業の総作業時間「7時間30分」を特定することができる。また、農作業の総作業時間「7時間30分」のうち、圃場「小田原1」で行われた、農作業「見回り」の作業時間「2時間30分」および農作業「農薬散布」の作業時間「2時間30分」を特定することができる。また、農作業の総作業時間「7時間30分」のうち、圃場「小田原2」で行われた、農作業「見回り」の作業時間「1時間15分」および農作業「農薬散布」の作業時間「1時間15分」を特定することができる。
また、農作業の作業項目に「農薬散布」が含まれる場合は、作業実績情報には、農薬散布の作業実績を示す農薬散布実績情報が含まれる。ここで、農薬散布実績情報の具体例について説明する。
図8は、農薬散布実績情報の具体例を示す説明図である。図8において、農薬散布実績情報800は、作業実績情報700に含まれる農薬散布の作業実績を示す情報である。農薬散布実績情報800は、圃場「小田原1、小田原2」に対して散布された農薬「○○顆粒水溶剤」の散布量「150[L]」を示す。また、農薬散布実績情報800は、農薬「○○顆粒水溶剤」の散布量「150[L]」のうち、圃場「小田原1」に対して散布された圃場別散布量「100[L]」と、圃場「小田原2」に対して散布された圃場別散布量「50[L]」とを示す。
さらに、農薬散布実績情報800は、圃場「小田原1、小田原2」に対して散布された農薬「△△液用生石灰」の散布量「150[kg]」を示す。また、農薬散布実績情報800は、農薬「△△液用生石灰」の散布量「150[kg]」のうち、圃場「小田原1」に対して散布された圃場別散布量「100[kg]」と、圃場「小田原2」に対して散布された圃場別散布量「50[kg]」とを示す。
(作業記録画面の画面例(その1))
つぎに、クライアント装置201のディスプレイ406に表示される作業記録画面の画面例について説明する。
つぎに、クライアント装置201のディスプレイ406に表示される作業記録画面の画面例について説明する。
図9は、作業記録画面の画面例を示す説明図(その1)である。図9において、作業記録画面900は、農作業の作業実績の入力を行う際にメインとなる操作画面である。なお、図9では、作業記録画面900の表示内容のうち一画面に収まらない部分についても仮想的に表示している。
作業記録画面900において、図4に示した入力装置407を用いたユーザの操作入力により、アイコン901をクリックすると、農作業を行った作業日を入力することができる。図9の例では、農作業が行われた作業日「2014年4月9日」が入力されている。なお、作業日が入力されると、入力された作業日の午前、午後の天気が表示される。
また、作業記録画面900において、アイコン902をクリックすると、後述の図10に示す圃場選択画面1000に遷移して、農作業の作業実績の入力を行う対象の圃場を選択することができる。また、作業記録画面900において、アイコン903をクリックすると、後述の図11に示す作業項目選択画面1100に遷移して、農作業の作業実績の入力を行う対象の作業項目を選択することができる。作業項目とは、農作業を作業内容で区分けしたものである。
また、作業記録画面900において、アイコン904をクリックすると、後述の図12に示す作業者選択画面1200に遷移して、農作業の作業実績の入力を行う対象の作業者を選択することができる。なお、作業記録画面900には、農薬の散布実績の入力を受け付ける操作画面に遷移するためのアイコン(例えば、後述の図13に示すアイコン1311)を表示可能であるが、図9の時点では、農薬の散布実績の入力ができないように規制されている。
(圃場選択画面の画面例)
つぎに、クライアント装置201のディスプレイ406に表示される圃場選択画面の画面例について説明する。圃場選択画面は、例えば、図9に示した作業記録画面900において、アイコン902をクリックすると遷移する操作画面である。
つぎに、クライアント装置201のディスプレイ406に表示される圃場選択画面の画面例について説明する。圃場選択画面は、例えば、図9に示した作業記録画面900において、アイコン902をクリックすると遷移する操作画面である。
図10は、圃場選択画面の画面例を示す説明図である。図10において、圃場選択画面1000は、農作業の作業実績の入力を行う対象の圃場を選択するための操作画面である。なお、図10では、圃場選択画面1000の表示内容のうち一画面に収まらない部分についても仮想的に表示している。
圃場選択画面1000には、ユーザの操作入力により任意に指定される検索条件(例えば、キーワード指定、エリア指定など)に合致する圃場群が選択候補として表示される。また、圃場選択画面1000には、選択候補の圃場の圃場名とともに、圃場に作付け中の作物の品目および作付面積が表示される。
圃場選択画面1000において、チェックボックス1001〜1009をクリックすると、農作業の作業実績の入力を行う対象の圃場を選択することができる。図10の例では、チェックボックス1002,1005がクリックされて、農作業実績の入力を行う対象の圃場として、「小田原1」および「小田原2」が選択されている。
また、圃場選択画面1000において、ボタン1010をクリックすると、圃場の選択を確定することができる。また、圃場選択画面1000において、ボタン1011をクリックすると、選択候補の全圃場を選択することができる。また、圃場選択画面1000において、ボタン1012をクリックすると、圃場の選択を解除することができる。また、圃場選択画面1000において、ボタン1013をクリックすると、図9に示した作業記録画面900に戻ることができる。
(作業項目選択画面の画面例)
つぎに、クライアント装置201のディスプレイ406に表示される作業項目選択画面の画面例について説明する。作業項目選択画面は、例えば、図9に示した作業記録画面900において、アイコン903をクリックすると遷移する操作画面である。
つぎに、クライアント装置201のディスプレイ406に表示される作業項目選択画面の画面例について説明する。作業項目選択画面は、例えば、図9に示した作業記録画面900において、アイコン903をクリックすると遷移する操作画面である。
図11は、作業項目選択画面の画面例を示す説明図である。図11において、作業項目選択画面1100は、農作業の作業実績の入力を行う対象の作業項目を選択するための操作画面である。なお、図11では、作業項目選択画面1100の表示内容のうち一画面に収まらない部分についても仮想的に表示している。
作業項目選択画面1100において、チェックボックス1101〜1110をクリックすると、農作業の作業実績の入力を行う対象の作業項目を選択することができる。図11の例では、チェックボックス1109,1110がクリックされて、農作業実績の入力を行う対象の作業項目として、「見回り」および「農薬散布」が選択されている。
また、作業項目選択画面1100において、ボタン1111をクリックすると、作業項目の選択を確定することができる。また、作業項目選択画面1100において、ボタン1112をクリックすると、選択候補の全作業項目を選択することができる。また、作業項目選択画面1100において、ボタン1113をクリックすると、作業項目の選択を解除することができる。また、作業項目選択画面1100において、ボタン1114をクリックすると、図9に示した作業記録画面900に戻ることができる。
(作業者選択画面の画面例)
つぎに、クライアント装置201のディスプレイ406に表示される作業者選択画面の画面例について説明する。作業者選択画面は、例えば、図9に示した作業記録画面900において、アイコン904をクリックすると遷移する操作画面である。
つぎに、クライアント装置201のディスプレイ406に表示される作業者選択画面の画面例について説明する。作業者選択画面は、例えば、図9に示した作業記録画面900において、アイコン904をクリックすると遷移する操作画面である。
図12は、作業者選択画面の画面例を示す説明図である。図12において、作業者選択画面1200は、農作業の作業実績の入力を行う対象の作業者を選択するための操作画面である。なお、図12では、作業者選択画面1200の表示内容のうち一画面に収まらない部分についても仮想的に表示している。
作業者選択画面1200において、ボックス1201をクリックすると、選択候補の作業者が属するグループを指定することができる。図12の例では、グループ「FDL」が指定され、選択候補の作業者として、グループ「FDL」に属する作業者が表示されている。
また、作業者選択画面1200において、チェックボックス1202〜1210をクリックすると、農作業の作業実績の入力を行う対象の作業者を選択することができる。図12の例では、チェックボックス1203,1210がクリックされて、農作業実績の入力を行う対象の作業者として、「中村」および「加藤」が選択されている。
また、作業者選択画面1200において、ボタン1211をクリックすると、選択候補の全作業者を選択することができる。また、作業者選択画面1200において、ボタン1212をクリックすると、作業者の選択を解除することができる。
また、作業者選択画面1200において、チェックボックス1213,1214のいずれかをクリックすることで、農作業の総作業時間の入力方法を選択することができる。例えば、チェックボックス1213をクリックすると、ボックス1215が表示されて、農作業の総作業時間を「時間」で入力することができる。
一方、チェックボックス1214をクリックすると、農作業の開始、終了時刻を入力するボックス(不図示)が表示されて、農作業の総作業時間を「時刻」で入力することができる。図12の例では、チェックボックス1213がクリックされて、農作業の総作業時間「7時間30分」がボックス1215に入力されている。
また、作業者選択画面1200において、ボタン1216をクリックすると、作業者の選択を確定することができる。また、作業者選択画面1200において、ボタン1217をクリックすると、図9に示した作業記録画面900に戻ることができる。
(作業記録画面の画面例(その2))
つぎに、図10〜図12に示した各種画面1000,1100,1200での各種操作が行われた結果、クライアント装置201のディスプレイ406に表示される作業記録画面の画面例について説明する。
つぎに、図10〜図12に示した各種画面1000,1100,1200での各種操作が行われた結果、クライアント装置201のディスプレイ406に表示される作業記録画面の画面例について説明する。
図13は、作業記録画面の画面例を示す説明図(その2)である。図13において、作業記録画面900には、農作業の作業実績の入力を行う対象の圃場として選択された「小田原1」および「小田原2」が表示されている。
作業記録画面900において、アイコン1301,1302をクリックすると、圃場の選択を解除することができる。また、作業記録画面900において、アイコン1303をクリックすると、圃場選択画面1000(図10参照)に遷移して、農作業の作業実績の入力を行う対象の圃場を追加することができる。
また、作業記録画面900には、農作業の作業実績の入力を行う対象の作業項目として選択された「見回り」および「農薬散布」が表示されている。
作業記録画面900において、アイコン1304,1305をクリックすると、作業項目の選択を解除することができる。また、作業記録画面900において、アイコン1306をクリックすると、作業項目選択画面1100(図11参照)に遷移して、農作業の作業実績の入力を行う対象の作業項目を追加することができる。
また、作業記録画面900には、農作業の作業実績の入力を行う対象の作業者として選択された「中村」および「加藤」が表示されている。また、作業記録画面900には、農作業の総作業時間として入力された作業時間「7時間30分」が各作業者に割り当てられて表示されている。
作業記録画面900において、アイコン1307,1308をクリックすると、作業者の選択を解除することができる。また、作業記録画面900において、アイコン1309をクリックすると、作業者選択画面1200(図12参照)に遷移して、農作業の作業実績の入力を行う対象の作業者を追加することができる。
また、作業記録画面900において、ボタン1310をクリックすると、圃場別かつ作業項目別の作業時間を表示する作業時間画面に遷移することができる。なお、作業時間画面の画面例については、図15を用いて後述する。
また、作業記録画面900には、農薬の散布実績の入力を受け付ける操作画面に遷移するためのアイコン1311が表示されている。作業記録画面900において、アイコン1311をクリックすると、圃場に対して散布した農薬の選択を受け付ける農薬選択画面に遷移することができる。なお、農薬選択画面の画面例については、図17を用いて後述する。
(入力支援装置100の機能的構成例)
図14は、入力支援装置100の機能的構成例を示すブロック図である。図14において、入力支援装置100は、受付部1401と、算出部1402と、表示制御部1403と、更新部1404と、判断部1405と、を含む構成である。受付部1401〜判断部1405は制御部となる機能であり、具体的には、例えば、図3に示したメモリ302、ディスク305などの記憶装置に記憶されたプログラムをCPU301に実行させることにより、または、I/F303により、その機能を実現する。各機能部の処理結果は、例えば、メモリ302、ディスク305などの記憶装置に記憶される。
図14は、入力支援装置100の機能的構成例を示すブロック図である。図14において、入力支援装置100は、受付部1401と、算出部1402と、表示制御部1403と、更新部1404と、判断部1405と、を含む構成である。受付部1401〜判断部1405は制御部となる機能であり、具体的には、例えば、図3に示したメモリ302、ディスク305などの記憶装置に記憶されたプログラムをCPU301に実行させることにより、または、I/F303により、その機能を実現する。各機能部の処理結果は、例えば、メモリ302、ディスク305などの記憶装置に記憶される。
受付部1401は、農作業実績の入力を行う作業日の指定を受け付ける。農作業実績の入力を行う作業日の指定は、例えば、作業記録画面900(図9参照)において、クライアント装置201のユーザの操作入力により行われる。ユーザは、例えば、農作業を行った作業者や作業者を管理する農業経営者などである。
クライアント装置201は、指定された作業日の指定結果を入力支援装置100に送信する。この場合、受付部1401は、クライアント装置201から指定結果を受信することにより、農作業実績の入力を行う作業日の指定を受け付ける。指定された農作業実績の入力を行う作業日は、例えば、作業実績テーブル240(図7参照)に記憶される。
また、受付部1401は、農作業実績の入力を行う対象の圃場の選択を受け付ける。農作業実績の入力を行う対象の圃場の選択は、例えば、圃場選択画面1000(図10参照)において、クライアント装置201のユーザの操作入力により行われる。
クライアント装置201は、選択された圃場の選択結果を入力支援装置100に送信する。この場合、受付部1401は、クライアント装置201から圃場の選択結果を受信することにより、農作業実績の入力を行う対象の圃場の選択を受け付ける。選択された圃場は、例えば、作業実績テーブル240に記憶される。
また、受付部1401は、農作業実績の入力を行う対象の作業項目の選択を受け付ける。農作業実績の入力を行う対象の作業項目の選択は、例えば、作業項目選択画面1100(図11参照)において、クライアント装置201のユーザの操作入力により行われる。
クライアント装置201は、選択された作業項目の選択結果を入力支援装置100に送信する。この場合、受付部1401は、クライアント装置201から作業項目の選択結果を受信することにより、農作業実績の入力を行う対象の作業項目の選択を受け付ける。選択された作業項目は、例えば、作業実績テーブル240に記憶される。
また、受付部1401は、農作業実績の入力を行う対象の作業者の選択を受け付ける。農作業実績の入力を行う対象の作業者の選択は、例えば、作業者選択画面1200(図12参照)において、クライアント装置201のユーザの操作入力により行われる。
クライアント装置201は、選択された作業者の選択結果を入力支援装置100に送信する。この場合、受付部1401は、クライアント装置201から作業者の選択結果を受信することにより、農作業実績の入力を行う対象の作業者の選択を受け付ける。選択された作業者は、例えば、作業実績テーブル240に記憶される。
また、受付部1401は、農作業実績の入力を行う対象の圃場で行われた農作業の総作業時間の指定を受け付ける。ここで、農作業の総作業時間は、作業者一人当たりの総作業時間である。農作業の総作業時間の指定は、例えば、作業者選択画面1200(図12参照)において、クライアント装置201のユーザの操作入力により行われる。
クライアント装置201は、指定された総作業時間の指定結果を入力支援装置100に送信する。この場合、受付部1401は、クライアント装置201から総作業時間の指定結果を受信することにより、農作業の総作業時間の指定を受け付ける。指定された総作業時間は、例えば、作業実績テーブル240に記憶される。
算出部1402は、選択された圃場が複数であって、かつ、選択された作業項目が複数である場合に、選択された複数の圃場の全てについて、選択された複数の作業項目の全てを割り当てる。そして、算出部1402は、複数の圃場別かつ複数の作業項目別に、指定された農作業の総作業時間を分配する。
具体的には、例えば、まず、算出部1402は、農作業の総作業時間を、選択された作業項目の数で按分する。つぎに、算出部1402は、按分の結果得られた各作業項目に対する作業時間を、複数の圃場のそれぞれの面積に応じて分配する。そして、算出部1402は、分配した値を、複数の圃場別かつ複数の作業項目別の作業時間として記録する。
ここで、圃場の面積は、例えば、圃場に作付け中の作物の作付面積である。各圃場で作付け中の作物の作付面積は、例えば、生産計画DB220内の各圃場の生産計画情報から特定される。圃場に作付け中の作物の作付面積が広くなると、圃場における農作業の作業時間は多くなる傾向にある。このため、算出部1402は、例えば、選択された複数の圃場のそれぞれの面積に比例して、按分の結果得られた各作業項目に対する作業時間の配分量を制御する。
一例として、図10に示したように、圃場として「小田原1」および「小田原2」が選択され、図11に示したように、作業項目として「見回り」および「農薬散布」が選択されたとする。また、図12に示したように、各作業者の総作業時間として「7時間30分」が指定されたとする。
この場合、まず、算出部1402は、農作業の総作業時間「7時間30分」を、選択された作業項目の数「2」で按分する。これにより、農作業の総作業時間「7時間30分」を作業項目別に分配することができる。つぎに、算出部1402は、按分の結果得られた各作業項目「見回り」「農薬散布」に対する作業時間「3時間45分」を、選択された圃場「小田原1」「小田原2」のそれぞれの面積に応じて分配する。
ここで、圃場「小田原1」と圃場「小田原2」との間の作付面積の比率は、「2(100ha):1(50ha)」である。このため、算出部1402は、各作業項目「見回り、農薬散布」に対する作業時間「3時間45分」を、圃場「小田原1」と圃場「小田原2」に「2:1」の比率で分配する。
この結果、圃場「小田原1」の各作業項目「見回り」「農薬散布」に対する作業時間は、「2時間30分」となる。また、圃場「小田原2」の各作業項目「見回り」「農薬散布」に対する作業時間は、「1時間15分」となる。複数の圃場別かつ複数の作業項目別の作業時間は、例えば、作業実績テーブル240に記憶される。
表示制御部1403は、記録された複数の圃場別かつ複数の作業項目別の作業時間を表示する制御を行う。具体的には、例えば、表示制御部1403は、複数の圃場別かつ複数の作業項目別の作業時間を表示する作業時間画面(例えば、後述する図15に示す作業時間画面1500)の画面情報を生成して、クライアント装置201に送信する。
また、受付部1401は、複数の圃場別かつ複数の作業項目別の作業時間に対する変更の入力を受け付ける。複数の圃場別かつ複数の作業項目別の作業時間に対する変更は、例えば、後述する作業時間画面1500(図15参照)において、クライアント装置201のユーザの操作入力により行われる。
クライアント装置201は、変更された複数の圃場別かつ複数の作業項目別の作業時間の変更結果を入力支援装置100に送信する。この場合、受付部1401は、クライアント装置201から変更結果を受信することにより、複数の圃場別かつ複数の作業項目別の作業時間の変更を受け付ける。
更新部1404は、受け付けた変更後の作業時間に基づいて、農作業の総作業時間を更新する。具体的には、例えば、まず、更新部1404は、受け付けた変更後の作業時間で、作業実績テーブル240内の対応する圃場・作業項目別の作業時間を更新する。つぎに、更新部1404は、各作業者の圃場・作業項目別の作業時間の合計値を算出する。そして、更新部1404は、算出した各作業者の圃場・作業項目別の作業時間の合計値で、作業実績テーブル240内の対応する総作業時間を更新する。なお、農作業の総作業時間の更新例については、図16を用いて後述する。
判断部1405は、選択された圃場が複数の場合、選択された複数の圃場のそれぞれに対応付けて記憶された作付け中の作物が同一であるか否かを判断する。具体的には、例えば、判断部1405は、生産計画DB220(図5参照)を参照して、選択された複数の圃場のそれぞれに対応付けて記憶された作付け中の作物の品目が同一であるか否かを判断する。
表示制御部1403は、判断された判断結果に応じて、選択された複数の圃場についての農薬の散布実績の入力を許容するか否か制御する。具体的には、例えば、表示制御部1403は、作付け中の作物が同一である場合に、複数の圃場についての農薬の散布実績の入力を許容する。
より詳細に説明すると、例えば、表示制御部1403は、作付け中の作物が同一である場合は、クライアント装置201を制御して、複数の圃場についての農薬の散布実績の入力を受け付ける操作画面に遷移するためのアイコン1311(図13参照)を作業記録画面900に表示する。
一方、作付け中の作物が同一でない場合には、表示制御部1403は、複数の圃場を対象とする農薬の散布実績の入力を規制する。より詳細に説明すると、例えば、表示制御部1403は、作付け中の作物が同一でない場合は、クライアント装置201を制御して、農薬の散布実績の入力画面への移行を規制する。
また、表示制御部1403は、圃場に対して散布した農薬を選択するための農薬選択画面を表示する制御を行う。具体的には、例えば、まず、表示制御部1403は、作業記録画面900においてアイコン1311(図13参照)がクリックされると、農薬マスタ230(図6参照)を参照して、選択された複数の圃場に作付け中の作物を散布対象作物とする農薬を特定する。
そして、表示制御部1403は、特定した農薬を選択候補とする農薬選択画面の画面情報を生成して、クライアント装置201に送信する。この結果、クライアント装置201のディスプレイ406に農薬選択画面(例えば、後述の図17に示す農薬選択画面1700)が表示される。
また、表示制御部1403は、農薬の散布量を入力するための散布実績入力画面を表示する制御を行う。具体的には、例えば、表示制御部1403は、後述の図17に示す農薬選択画面1700においてボタン1705がクリックされると、選択された農薬の散布量を入力するための散布実績入力画面の画面情報を生成して、クライアント装置201に送信する。この結果、クライアント装置201のディスプレイ406に散布実績入力画面(例えば、後述の図18に示す散布実績入力画面1800)が表示される。
また、受付部1401は、選択された複数の圃場のそれぞれに対応付けて記憶された作付け中の作物が同一である場合に、複数の圃場についての農薬の散布実績として、農薬の種類と散布量とを受け付ける。農薬の種類と散布量の入力は、例えば、後述する図17および図18に示す農薬選択画面1700および散布実績入力画面1800において、クライアント装置201のユーザの操作入力により行われる。
クライアント装置201は、入力された農薬の種類と散布量の入力結果を入力支援装置100に送信する。この場合、受付部1401は、クライアント装置201から農薬の種類と散布量の入力結果を受信することにより、複数の圃場についての農薬の散布実績として農薬の種類と散布量とを受け付ける。受け付けた農薬の種類と散布量は、例えば、農薬散布実績情報(例えば、図8に示した農薬散布実績情報800)として作業実績テーブル240に記憶される。
また、算出部1402は、受け付けた複数の圃場についての農薬の散布量を、選択された複数の圃場のそれぞれの面積に応じて分配する。ここで、圃場に作付け中の作物の作付面積が広くなると、作物に対して散布する農薬の散布量は多くなる。このため、算出部1402は、例えば、生産計画DB220を参照して、選択された複数の圃場のそれぞれに対応付けて記憶された作付け中の作物の作付面積に比例して、複数の圃場のそれぞれに対する農薬の散布量の配分量を制御する。
一例として、図10に示したように、圃場として「小田原1」および「小田原2」が選択されたとする。また、圃場「小田原1」「小田原2」に対して散布した農薬「○○顆粒水溶剤」の散布量として、150[L]を受け付けた場合を想定する。
この場合、まず、算出部1402は、農薬「○○顆粒水溶剤」の散布量「150[L]」を、圃場「小田原1」「小田原2」のそれぞれの面積に応じて分配する。ここで、圃場「小田原1」と圃場「小田原2」との間の作付面積の比率は、「2(100ha):1(50ha)」である。
このため、算出部1402は、農薬「○○顆粒水溶剤」の散布量「150[L]」を、圃場「小田原1」と圃場「小田原2」に「2:1」の比率で分配する。この結果、圃場「小田原1」に対する農薬「○○顆粒水溶剤」の圃場別散布量は、「100[L]」となる。また、圃場「小田原2」に対する農薬「○○顆粒水溶剤」の圃場別散布量は、「50[L]」となる。
これにより、農薬散布が行われた複数の圃場のそれぞれの作付面積に応じて、複数の圃場に対する農薬の散布量を面積按分することができる。
分配された分配結果(圃場別散布量)は、農薬散布実績情報(例えば、図8に示した農薬散布実績情報800)として作業実績テーブル240に記憶される。すなわち、複数の圃場についての農薬の散布量が、複数の圃場のそれぞれの面積に応じた配分量で、複数の圃場のそれぞれについての散布量として記録される。
また、受付部1401は、複数の圃場のそれぞれに分配された農薬の散布量に対する変更の入力を受け付ける。各圃場についての農薬の散布量に対する変更は、例えば、後述の図19に示す圃場別散布実績表示画面1900において、クライアント装置201のユーザの操作入力により行われる。
クライアント装置201は、変更された各圃場についての農薬の散布量の変更結果を入力支援装置100に送信する。この場合、受付部1401は、クライアント装置201から農薬の散布量の変更結果を受信することにより、各圃場についての農薬の散布量の変更を受け付ける。
更新部1404は、受け付けた変更後の散布量に基づいて、複数の圃場についての農薬の散布量を更新する。具体的には、例えば、まず、更新部1404は、受け付けた変更後の散布量で、農薬散布実績情報800の対応する圃場別散布量を更新する。つぎに、更新部1404は、各農薬の圃場別散布量の合計値を算出する。そして、更新部1404は、算出した各農薬の圃場別散布量の合計値で、農薬散布実績情報800の対応する農薬の散布量を更新する。
また、表示制御部1403は、選択された複数の圃場のそれぞれに作付け中の作物が同一でない場合には、農薬マスタ230を参照して、複数の圃場のそれぞれに作付け中の作物に共通して使用可能な農薬の種類を特定することにしてもよい。そして、表示制御部1403は、複数の圃場について、特定した種類の農薬の散布実績の入力を許容することにしてもよい。
例えば、圃場「小田原1」に作付け中の作物「きゅうり」を散布対象作物とする農薬を「農薬a」「農薬b」「農薬c」とし、圃場「横浜1」に作付け中の作物「トマト」を散布対象作物とする農薬を「農薬b」「農薬c」「農薬d」とする。
この場合、表示制御部1403は、例えば、農薬bと農薬cを選択候補とする農薬選択画面をディスプレイ406に表示する制御を行うことにしてもよい。これにより、圃場間で作付け中の作物が同一でなくても、作付け中の作物に共通して使用可能な農薬が散布される場合の農薬散布の作業実績を簡便に記録できるようになる。
また、表示制御部1403は、選択された圃場が一つの場合には、選択された圃場についての農薬の散布実績の入力を許容することにしてもよい。具体的には、例えば、表示制御部1403は、クライアント装置201を制御して、選択された圃場についての農薬の散布実績の入力を受け付ける操作画面に遷移するためのアイコンを作業記録画面900(図13参照)に表示することにしてもよい。
(作業時間画面の画面例)
つぎに、複数の圃場別かつ複数の作業項目別の作業時間を表示する作業時間画面の画面例について説明する。作業時間画面は、例えば、作業記録画面900(図13参照)において、ボタン1310をクリックすると、クライアント装置201のディスプレイ406に表示される。
つぎに、複数の圃場別かつ複数の作業項目別の作業時間を表示する作業時間画面の画面例について説明する。作業時間画面は、例えば、作業記録画面900(図13参照)において、ボタン1310をクリックすると、クライアント装置201のディスプレイ406に表示される。
図15は、作業時間画面の画面例を示す説明図である。図15において、作業時間画面1500は、複数の圃場別かつ複数の作業項目別の作業時間を表示する操作画面である。なお、図15では、作業時間画面1500の表示内容のうち一画面に収まらない部分についても仮想的に表示している。
作業時間画面1500には、各作業者(中村、加藤)の圃場(小田原1、小田原2)別かつ作業項目(見回り、農薬散布)別の作業時間が表示される。
具体的には、ボックス1501には、圃場「小田原1」に対する作業項目「見回り」についての作業者「中村」の作業時間「2時間30分」が作業実績として表示される。また、ボックス1502には、圃場「小田原2」に対する作業項目「見回り」についての作業者「中村」の作業時間「1時間15分」が作業実績として表示される。
また、ボックス1503には、圃場「小田原1」に対する作業項目「農薬散布」についての作業者「中村」の作業時間「2時間30分」が作業実績として表示される。また、ボックス1504には、圃場「小田原2」に対する作業項目「農薬散布」についての作業者「中村」の作業時間「1時間15分」が作業実績として表示される。
さらに、ボックス1505には、圃場「小田原1」に対する作業項目「見回り」についての作業者「加藤」の作業時間「2時間30分」が作業実績として表示される。また、ボックス1506には、圃場「小田原2」に対する作業項目「見回り」についての作業者「加藤」の作業時間「1時間15分」が作業実績として表示される。
また、ボックス1507には、圃場「小田原1」に対する作業項目「農薬散布」についての作業者「加藤」の作業時間「2時間30分」が作業実績として表示される。また、ボックス1508には、圃場「小田原2」に対する作業項目「農薬散布」についての作業者「加藤」の作業時間「1時間15分」が作業実績として表示される。
これにより、複数の圃場に対する農作業の総作業時間をもとに面積按分等して得られた大まかな各圃場の作業項目別の作業時間を特定可能にすることができる。
作業時間画面1500において、ボックス1501〜1508をクリックすると、各作業者(中村、加藤)の圃場(小田原1、小田原2)別かつ作業項目(見回り、農薬散布)別の作業時間を変更することができる。例えば、作業者のうちの誰かが、ある圃場で行われたある作業項目について、自分達が行った農作業の作業時間を正確に覚えていることがある。
このような場合に、ボックス1501〜1508に表示される作業時間と、誰かが覚えている作業時間との間にずれがあるときには、その作業項目についての作業時間を変更することができる。例えば、圃場「小田原1」に対する作業項目「見回り」についての作業者「中村」の実際の作業時間が「2時間15分」であったとする。
この場合、ボックス1501をクリックすると、圃場「小田原1」に対する作業項目「見回り」についての作業者「中村」の作業時間を変更することができる。これにより、農作業の総作業時間をもとに面積按分等して得られた大まかな作業時間を、実際の作業時間に合わせて修正することができる。また、作業時間画面1500において、ボタン1509をクリックすると、各作業者(中村、加藤)の圃場(小田原1、小田原2)別かつ作業項目(見回り、農薬散布)別の作業時間の入力を確定することができる。また、作業時間画面1500において、ボタン1510をクリックすると、図13に示した作業記録画面900に戻ることができる。
(農作業の総作業時間の更新例)
ここで、作業時間画面1500(図15参照)において、ボックス1501がクリックされて、圃場「小田原1」に対する作業項目「見回り」についての作業者「中村」の作業時間が「2時間30分」から「2時間15分」に変更された場合を例に挙げて、農作業の総作業時間の更新例について説明する。
ここで、作業時間画面1500(図15参照)において、ボックス1501がクリックされて、圃場「小田原1」に対する作業項目「見回り」についての作業者「中村」の作業時間が「2時間30分」から「2時間15分」に変更された場合を例に挙げて、農作業の総作業時間の更新例について説明する。
図16は、作業実績テーブル240の記憶内容の変遷例を示す説明図である。図16において、まず、更新部1404は、作業実績テーブル240内の圃場「小田原1」に対する作業項目「見回り」についての作業者「中村」の作業時間を、変更後の作業時間「2時間15分」に更新する。
つぎに、更新部1404は、作業者「中村」の各作業項目「見回り、農薬散布」についての圃場・作業項目別の作業時間の合計値「7時間15分(=2時間15分+2時間30分+1時間15分+1時間15分)」を算出する。そして、更新部1404は、算出した合計値「7時間15分」で、作業実績テーブル240内の作業者「中村」の総作業時間を更新する。これにより、各圃場の各作業項目についての実際の作業時間に合わせて、複数の圃場に対する農作業の総作業時間を更新することができる。
(農薬選択画面の画面例)
つぎに、農薬選択画面の画面例について説明する。農薬選択画面は、例えば、作業記録画面900(図13参照)においてアイコン1311がクリックされると、クライアント装置201のディスプレイ406に表示される。
つぎに、農薬選択画面の画面例について説明する。農薬選択画面は、例えば、作業記録画面900(図13参照)においてアイコン1311がクリックされると、クライアント装置201のディスプレイ406に表示される。
図17は、農薬選択画面の画面例を示す説明図である。図17において、農薬選択画面1700は、複数の圃場に対して散布した農薬を選択するための操作画面である。農薬選択画面1700では、ユーザの操作入力により任意に指定される検索条件(例えば、キーワード指定)に合致する農薬群や過去に選択された農薬群を選択候補として表示することができる。
農薬選択画面1700において、チェックボックス1701をクリックすると、圃場「小田原1」「小田原2」に作付け中の作物「きゅうり」を散布対象作物とする農薬のうち、栽培指針に設定された農薬を抽出して表示することができる。栽培指針は、例えば、生産計画DB220から特定することができる。
また、農薬選択画面1700において、例えば、チェックボックス1702〜1704をクリックすると、圃場「小田原1」「小田原2」に対して散布した農薬を選択することができる。図17の例では、チェックボックス1702,1704がクリックされて、圃場「小田原1」「小田原2」に対して散布した農薬として、「○○顆粒水溶剤」および「△△液用生石灰」が選択されている。
また、農薬選択画面1700において、ボタン1705をクリックすると、農薬の選択を確定することができる。また、農薬選択画面1700において、ボタン1706をクリックすると、選択候補の全農薬を選択することができる。また、農薬選択画面1700において、ボタン1707をクリックすると、農薬の選択を解除することができる。また、農薬選択画面1700において、ボタン1708をクリックすると、図13に示した作業記録画面900に戻ることができる。
(散布実績入力画面の画面例)
つぎに、散布実績入力画面の画面例について説明する。散布実績入力画面は、例えば、農薬選択画面1700(図17参照)においてボタン1705がクリックされると、クライアント装置201のディスプレイ406に表示される。
つぎに、散布実績入力画面の画面例について説明する。散布実績入力画面は、例えば、農薬選択画面1700(図17参照)においてボタン1705がクリックされると、クライアント装置201のディスプレイ406に表示される。
図18は、散布実績入力画面の画面例を示す説明図である。図18において、散布実績入力画面1800は、複数の圃場に対して散布した農薬の散布量を入力するための操作画面である。散布実績入力画面1800には、農薬選択画面1700において選択された農薬「○○顆粒水溶剤」「△△液用生石灰」が表示される。
散布実績入力画面1800において、ボックス1801をクリックすると、農薬「○○顆粒水溶剤」の希釈倍率を入力することができる。また、散布実績入力画面1800において、ボックス1802をクリックすると、農薬「○○顆粒水溶剤」の散布量を入力することができる。また、ボックス1803をクリックすると、農薬「○○顆粒水溶剤」の散布量の単位を選択することができる。
また、散布実績入力画面1800において、アイコン1804をクリックすると、農薬「○○顆粒水溶剤」の散布量の入力方法を選択することができる。農薬の散布量の入力方法の選択例については、図20を用いて後述する。また、散布実績入力画面1800において、アイコン1805をクリックすると、農薬「○○顆粒水溶剤」の選択を解除することができる。
さらに、散布実績入力画面1800において、ボックス1806をクリックすると、農薬「△△液用生石灰」の散布量を入力することができる。また、ボックス1807をクリックすると、農薬「△△液用生石灰」の散布量の単位を選択することができる。
また、散布実績入力画面1800において、アイコン1808をクリックすると、農薬「△△液用生石灰」の散布量の入力方法を選択することができる。また、散布実績入力画面1800において、アイコン1809をクリックすると、農薬「△△液用生石灰」の選択を解除することができる。
また、散布実績入力画面1800において、アイコン1810をクリックすると、農薬選択画面1700(図17参照)に遷移して、複数の圃場に対して散布した農薬を追加することができる。また、散布実績入力画面1800において、ボタン1811をクリックすると、圃場別の農薬の散布量(使用量)を表示する圃場別散布実績表示画面に遷移することができる。また、散布実績入力画面1800において、ボタン1812をクリックすると、図17に示した農薬選択画面1700に戻ることができる。なお、圃場別散布実績表示画面の画面例については、図19を用いて後述する。
(圃場別散布実績表示画面の画面例)
つぎに、圃場別散布実績表示画面の画面例について説明する。圃場別散布実績表示画面は、例えば、散布実績入力画面1800(図18参照)においてボタン1811がクリックされると、クライアント装置201のディスプレイ406に表示される。
つぎに、圃場別散布実績表示画面の画面例について説明する。圃場別散布実績表示画面は、例えば、散布実績入力画面1800(図18参照)においてボタン1811がクリックされると、クライアント装置201のディスプレイ406に表示される。
図19は、圃場別散布実績表示画面の画面例を示す説明図である。図19において、圃場別散布実績表示画面1900は、複数の圃場のそれぞれに対して散布した農薬の散布量を表示する操作画面である。なお、図19では、圃場別散布実績表示画面1900の表示内容のうち一画面に収まらない部分についても仮想的に表示している。
圃場別散布実績表示画面1900には、圃場(小田原1、小田原2)別の農薬の散布量が表示される。
具体的には、ボックス1901には、圃場「小田原1」に対して散布された農薬「○○顆粒水溶剤」の散布量「100[L]」が散布実績として表示される。また、ボックス1902には、圃場「小田原2」に対して散布された農薬「○○顆粒水溶剤」の散布量「50[L]」が散布実績として表示される。
さらに、ボックス1903には、圃場「小田原1」に対して散布された農薬「△△液用生石灰」の散布量「100[kg]」が散布実績として表示される。また、ボックス1904には、圃場「小田原2」に対して散布された農薬「△△液用生石灰」の散布量「50[kg]」が散布実績として表示される。
これにより、複数の圃場に対して散布した農薬の散布量を面積按分して得られた大まかな圃場別の散布量を特定可能にすることができる。
圃場別散布実績表示画面1900において、ボックス1901〜1904をクリックすると、圃場(小田原1、小田原2)別の農薬の散布量を変更することができる。例えば、作業者のうちの熟練度の高い作業者などが、ある圃場で散布した農薬の散布量を正確に覚えていることがある。
このような場合に、ボックス1901〜1904に表示される散布量と、作業者が覚えている散布量との間にずれがあるときには、圃場別の農薬の散布量を変更することができる。例えば、圃場「小田原1」に対する農薬「○○顆粒水溶剤」の実際の散布量が「90[L]」であったとする。
この場合、ボックス1901をクリックすると、圃場「小田原1」に対する農薬「○○顆粒水溶剤」の散布量を変更することができる。これにより、複数の圃場に対して散布した農薬の散布量を面積按分して得られた大まかな圃場別の散布量を、実際の散布量に合わせて修正することができる。
また、圃場別散布実績表示画面1900において、ボタン1905をクリックすると、圃場(小田原1、小田原2)別の農薬の散布量を確定することができる。また、圃場別散布実績表示画面1900において、ボタン1906をクリックすると、図18に示した散布実績入力画面1800に戻ることができる。
なお、圃場別散布実績表示画面1900の表示内容が一画面に収まらない場合、例えば、画面内の下向き矢印をクリックすると、一つ下の農薬についての圃場別の散布実績が表示される。また、画面内の上向き矢印をクリックすると、一つ上の農薬についての圃場別の散布実績が表示される。
(農薬の散布量の入力方法の選択例)
つぎに、農薬の散布量の入力方法の選択例について説明する。ここでは、図18に示した散布実績入力画面1800において、アイコン1804がクリックされた場合を例に挙げて、農薬「○○顆粒水溶剤」の散布量の入力方法の選択例について説明する。
つぎに、農薬の散布量の入力方法の選択例について説明する。ここでは、図18に示した散布実績入力画面1800において、アイコン1804がクリックされた場合を例に挙げて、農薬「○○顆粒水溶剤」の散布量の入力方法の選択例について説明する。
図20は、農薬の散布量の入力方法の選択例を示す説明図である。散布実績入力画面1800において、アイコン1804をクリックすると、入力方法選択画面2000がポップアップ表示される。入力方法選択画面2000は、農薬「○○顆粒水溶剤」の散布量の入力方法を選択するための操作画面である。
入力方法選択画面2000において、入力方法2001〜2003をクリックすることにより、農薬「○○顆粒水溶剤」の散布量の入力方法を選択することができる。また、入力方法選択画面2000において、キャンセル2004をクリックすると、散布実績入力画面1800に戻ることができる。
図20の例では、入力方法選択画面2000において、入力方法2003がクリックされ、農薬「○○顆粒水溶剤」の散布量の入力方法「使用量(総量)」が選択されている。この結果、散布実績入力画面1800において、農薬「○○顆粒水溶剤」の散布量の入力方法が「使用量(総量)」に変更されている。
また、散布実績入力画面1800において、ボックス2005をクリックすると、「使用量(総量)」の入力方法で、農薬「○○顆粒水溶剤」の散布量を入力することができる。また、ボックス2006をクリックすると、農薬「○○顆粒水溶剤」の散布量の単位を選択することができる。
(入力支援装置100の入力支援処理手順)
つぎに、入力支援装置100の入力支援処理手順について説明する。
つぎに、入力支援装置100の入力支援処理手順について説明する。
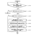
図21および図22は、入力支援装置100の入力支援処理手順の一例を示すフローチャートである。図21のフローチャートにおいて、まず、入力支援装置100は、作業日の指定、圃場、作業項目、作業者の選択および総作業時間の指定を受け付けたか否かを判断する(ステップS2101)。
作業日は、農作業実績の入力を行う作業日である。圃場は、農作業実績の入力を行う対象の圃場である。作業項目は、農作業実績の入力を行う対象の作業項目である。作業者は、農作業実績の入力を行う対象の作業者である。総作業時間は、農作業実績の入力を行う対象の圃場で行われた農作業の総作業時間である。
ここで、入力支援装置100は、作業日、圃場、作業項目、作業者および総作業時間を受け付けるのを待つ(ステップS2101:No)。そして、作業日、圃場、作業項目、作業者および総作業時間を受け付けた場合(ステップS2101:Yes)、入力支援装置100は、複数の圃場が選択されたか否かを判断する(ステップS2102)。
ここで、複数の圃場が選択されなかった場合(ステップS2102:No)、入力支援装置100は、本フローチャートによる一連の処理を終了する。
一方、複数の圃場が選択された場合(ステップS2102:Yes)、入力支援装置100は、複数の作業項目が選択されたか否かを判断する(ステップS2103)。ここで、複数の作業項目が選択されなかった場合(ステップS2103:No)、入力支援装置100は、図22に示すステップS2201に移行する。
一方、複数の作業項目が選択された場合(ステップS2103:Yes)、入力支援装置100は、選択された複数の圃場の全てについて、選択された複数の作業項目の全てを割り当てる(ステップS2104)。そして、入力支援装置100は、指定された農作業の総作業時間を、選択された作業項目の数で按分する(ステップS2105)。
つぎに、入力支援装置100は、生産計画DB220を参照して、按分の結果得られた各作業項目に対する作業時間を、複数の圃場のそれぞれに対応付けて記憶された作付け中の作物の作付面積に応じて分配する(ステップS2106)。そして、入力支援装置100は、分配した値を、複数の圃場別かつ複数の作業項目別の作業時間として記録して(ステップS2107)、図22に示すステップS2201に移行する。
図22のフローチャートにおいて、まず、入力支援装置100は、生産計画DB220を参照して、選択された複数の圃場のそれぞれに対応付けて記憶された作付け中の作物が同一であるか否かを判断する(ステップS2201)。ここで、作付け中の作物が同一である場合(ステップS2201:Yes)、入力支援装置100は、選択された複数の圃場についての農薬の散布実績の入力を許容する(ステップS2202)。
つぎに、入力支援装置100は、複数の圃場についての農薬の散布実績として、農薬の種類と散布量を受け付けたか否かを判断する(ステップS2203)。ここで、入力支援装置100は、農薬の種類と散布量を受け付けるのを待つ(ステップS2203:No)。そして、入力支援装置100は、農薬の種類と散布量を受け付けた場合(ステップS2203:Yes)、受け付けた農薬の種類と散布量を、農薬散布実績情報として作業実績テーブル240に記録する(ステップS2204)。
つぎに、入力支援装置100は、生産計画DB220を参照して、受け付けた農薬の散布量を、選択された複数の圃場のそれぞれに対応付けて記憶された作付け中の作物の作付面積に応じて分配する(ステップS2205)。そして、入力支援装置100は、分配して得られた各圃場の圃場別散布量を、農薬散布実績情報として作業実績テーブル240に記録して(ステップS2206)、本フローチャートによる一連の処理を終了する。
また、ステップS2201において、作付け中の作物が同一でない場合(ステップS2201:No)、入力支援装置100は、選択された複数の圃場を対象とする農薬の散布実績の入力を規制して(ステップS2207)、本フローチャートによる一連の処理を終了する。
これにより、複数の圃場に対する農作業の総作業時間をもとに、大まかな各圃場の作業項目別の作業時間を得ることができる。また、複数の圃場に対して散布した農薬の散布量をもとに、大まかな圃場別の散布量を得ることができる。
(入力支援装置100の作業時間更新処理手順)
つぎに、入力支援装置100の作業時間更新処理手順について説明する。
つぎに、入力支援装置100の作業時間更新処理手順について説明する。
図23は、入力支援装置100の作業時間更新処理手順の一例を示すフローチャートである。図23のフローチャートにおいて、まず、入力支援装置100は、複数の圃場別かつ複数の作業項目別の作業時間に対する変更の入力を受け付けたか否かを判断する(ステップS2301)。ここで、入力支援装置100は、作業時間に対する変更の入力を受け付けるのを待つ(ステップS2301:No)。
そして、入力支援装置100は、作業時間に対する変更の入力を受け付けた場合(ステップS2301:Yes)、受け付けた変更後の作業時間で、作業実績テーブル240内の対応する圃場・作業項目別の作業時間を更新する(ステップS2302)。
つぎに、入力支援装置100は、作業実績テーブル240を参照して、各作業者の圃場・作業項目別の作業時間の合計値を算出する(ステップS2303)。そして、入力支援装置100は、算出した各作業者の圃場・作業項目別の作業時間の合計値で、作業実績テーブル240内の対応する総作業時間を更新して(ステップS2304)、本フローチャートによる一連の処理を終了する。
これにより、農作業の総作業時間をもとに面積按分等して得られた大まかな作業時間を、実際の作業時間に合わせて修正することができる。また、各圃場の各作業項目についての実際の作業時間に合わせて、農作業の総作業時間を更新することができる。
(入力支援装置100の農薬散布量更新処理手順)
つぎに、入力支援装置100の農薬散布量更新処理手順について説明する。
つぎに、入力支援装置100の農薬散布量更新処理手順について説明する。
図24は、入力支援装置100の農薬散布量更新処理手順の一例を示すフローチャートである。図24のフローチャートにおいて、まず、入力支援装置100は、圃場についての農薬の散布量に対する変更の入力を受け付けたか否かを判断する(ステップS2401)。ここで、入力支援装置100は、散布量に対する変更の入力を受け付けるのを待つ(ステップS2401:No)。
そして、入力支援装置100は、散布量に対する変更の入力を受け付けた場合(ステップS2401:Yes)、受け付けた変更後の散布量で、作業実績テーブル240内の農薬散布実績情報の対応する圃場別散布量を更新する(ステップS2402)。
つぎに、入力支援装置100は、作業実績テーブル240内の農薬散布実績情報を参照して、各農薬の圃場別散布量の合計値を算出する(ステップS2403)。そして、入力支援装置100は、算出した各農薬の圃場別散布量の合計値で、作業実績テーブル240内の農薬散布実績情報の対応する農薬の散布量を更新して(ステップS2404)、本フローチャートによる一連の処理を終了する。
これにより、複数の圃場に対して散布した農薬の散布量を面積按分して得られた大まかな圃場別の散布量を、実際の散布量に合わせて修正することができる。また、実際の圃場別の散布量に合わせて、複数の圃場に対して散布した農薬の散布量を更新することができる。
以上説明したように、実施の形態にかかる入力支援装置100によれば、農作業実績の入力を行う対象の圃場および作業項目の選択と、農作業の総作業時間の指定とを受け付けることができる。そして、入力支援装置100によれば、選択された圃場が複数であって、かつ、選択された作業項目が複数である場合に、複数の圃場の全てについて、複数の作業項目の全てを割り当て、複数の圃場別かつ複数の作業項目別に、農作業の総作業時間を分配して記録することができる。これにより、農作業が行われた圃場ごとの作業項目別の大まかな作業時間を特定可能にして、各圃場の農作業の進捗状況の把握に役立てることができる。
また、入力支援装置100によれば、農作業の総作業時間を作業項目の数で按分し、按分の結果得られた各作業項目に対する作業時間を、複数の圃場のそれぞれの面積に応じて分配することができる。そして、入力支援装置100は、分配して得られた値を、複数の圃場別かつ前記複数の作業項目別の作業時間として記録することができる。これにより、農作業が行われた複数の圃場のそれぞれの面積に応じて、農作業の総作業時間を作業項目の数で按分して得られた各作業項目に対する作業時間を面積按分して、圃場ごとの作業項目別の大まかな作業時間を求めることができる。
また、入力支援装置100によれば、複数の圃場別かつ複数の作業項目別の作業時間に対する変更の入力を受け付け、受け付けた変更後の作業時間に基づいて、農作業の総作業時間を更新することができる。これにより、各圃場の各作業項目についての実際の作業時間に合わせて、複数の圃場に対する農作業の総作業時間を更新することができる。
なお、本実施の形態で説明した農作業実績の入力支援方法は、予め用意された入力支援プログラムをパーソナル・コンピュータやワークステーション等のコンピュータで実行することにより実現することができる。本入力支援プログラムは、ハードディスク、フレキシブルディスク、CD−ROM、MO、DVD等のコンピュータで読み取り可能な記録媒体に記録され、コンピュータによって記録媒体から読み出されることによって実行される。また、本入力支援プログラムは、インターネット等のネットワークを介して配布してもよい。
100 入力支援装置
201 クライアント装置
220 生産計画DB
230 農薬マスタ
240 作業実績テーブル
800 農薬散布実績情報
1401 受付部
1402 算出部
1403 表示制御部
1404 更新部
1405 判断部
201 クライアント装置
220 生産計画DB
230 農薬マスタ
240 作業実績テーブル
800 農薬散布実績情報
1401 受付部
1402 算出部
1403 表示制御部
1404 更新部
1405 判断部
Claims (5)
- コンピュータを用いた農作業実績の入力支援方法において、
圃場の選択と、作業項目の選択と、総作業時間の指定とを受け付け、
選択された圃場が複数であって、かつ、選択された作業項目が複数である場合に、選択された複数の圃場の全てについて、選択された複数の作業項目の全てを割り当て、前記複数の圃場別かつ前記複数の作業項目別に、前記総作業時間を分配して記録する、
処理を前記コンピュータが実行することを特徴とする農作業実績の入力支援方法。 - 前記総作業時間を分配して記録する処理は、
前記総作業時間を、選択を受け付けた前記作業項目の数で按分し、按分の結果得られた各作業項目に対する作業時間を、前記複数の圃場のそれぞれの面積に応じて分配した値を、前記複数の圃場別かつ前記複数の作業項目別の作業時間として記録することを特徴とする請求項1に記載の農作業実績の入力支援方法。 - さらに、前記複数の圃場別かつ前記複数の作業項目別の作業時間に対する変更の入力を受け付け、
受け付けた前記変更の後の前記作業時間に基づいて、前記総作業時間を更新する、
処理を前記コンピュータに実行させることを特徴とする請求項2に記載の農作業実績の入力支援方法。 - コンピュータに、
圃場の選択と、作業項目の選択と、総作業時間の指定とを受け付け、
選択された圃場が複数であって、かつ、選択された作業項目が複数である場合に、選択された複数の圃場の全てについて、選択された複数の作業項目の全てを割り当て、前記複数の圃場別かつ前記複数の作業項目別に、前記総作業時間を分配して記録する、
処理を実行させることを特徴とする農作業実績の入力支援プログラム。 - 圃場の選択と、作業項目の選択と、総作業時間の指定とを受け付け、選択された圃場が複数であって、かつ、選択された作業項目が複数である場合に、選択された複数の圃場の全てについて、選択された複数の作業項目の全てを割り当て、前記複数の圃場別かつ前記複数の作業項目別に、前記総作業時間を分配して記録する制御部、
を有することを特徴とする入力支援装置。
Applications Claiming Priority (1)
| Application Number | Priority Date | Filing Date | Title |
|---|---|---|---|
| PCT/JP2014/061333 WO2015162702A1 (ja) | 2014-04-22 | 2014-04-22 | 農作業実績の入力支援方法、農作業実績の入力支援プログラム、および入力支援装置 |
Publications (2)
| Publication Number | Publication Date |
|---|---|
| JPWO2015162702A1 JPWO2015162702A1 (ja) | 2017-04-13 |
| JP6237891B2 true JP6237891B2 (ja) | 2017-11-29 |
Family
ID=54331894
Family Applications (1)
| Application Number | Title | Priority Date | Filing Date |
|---|---|---|---|
| JP2016514592A Expired - Fee Related JP6237891B2 (ja) | 2014-04-22 | 2014-04-22 | 農作業実績の入力支援方法、農作業実績の入力支援プログラム、および入力支援装置 |
Country Status (3)
| Country | Link |
|---|---|
| US (1) | US20170053359A1 (ja) |
| JP (1) | JP6237891B2 (ja) |
| WO (1) | WO2015162702A1 (ja) |
Families Citing this family (1)
| Publication number | Priority date | Publication date | Assignee | Title |
|---|---|---|---|---|
| WO2015162703A1 (ja) * | 2014-04-22 | 2015-10-29 | 富士通株式会社 | 農作業実績の入力支援方法、農作業実績の入力支援プログラム、および入力支援装置 |
Family Cites Families (4)
| Publication number | Priority date | Publication date | Assignee | Title |
|---|---|---|---|---|
| JPH11306242A (ja) * | 1998-04-24 | 1999-11-05 | Nitsuko Corp | 援助時間算出方法、援助時間算出システム、および記録媒体 |
| JP2004213239A (ja) * | 2002-12-27 | 2004-07-29 | Iseki & Co Ltd | 作業管理装置 |
| JP2005234630A (ja) * | 2004-02-17 | 2005-09-02 | Natl Fedelation Of Agricult Coop Assoc | 農産物栽培履歴情報開示システム及び情報記憶媒体 |
| JP2009064231A (ja) * | 2007-09-06 | 2009-03-26 | Agri Support Network Kk | 生産履歴管理プログラム |
-
2014
- 2014-04-22 WO PCT/JP2014/061333 patent/WO2015162702A1/ja not_active Ceased
- 2014-04-22 JP JP2016514592A patent/JP6237891B2/ja not_active Expired - Fee Related
-
2016
- 2016-10-14 US US15/294,197 patent/US20170053359A1/en not_active Abandoned
Also Published As
| Publication number | Publication date |
|---|---|
| JPWO2015162702A1 (ja) | 2017-04-13 |
| WO2015162702A1 (ja) | 2015-10-29 |
| US20170053359A1 (en) | 2017-02-23 |
Similar Documents
| Publication | Publication Date | Title |
|---|---|---|
| CN112106087B (zh) | 农业数据的分析和呈现 | |
| RU2728540C2 (ru) | Устройства и способы планирования и мониторинга выращивания сельскохозяйственной культуры | |
| CN110896660A (zh) | 用于经济农业管理的手持设备 | |
| WO2015173875A1 (ja) | 栽培計画生成方法、栽培計画生成装置、および栽培計画生成プログラム | |
| US20230360150A1 (en) | Computer implemented method for providing test design and test instruction data for comparative tests on yield, gross margin, efficacy or vegetation indices for at least two products or different application timings of the same product | |
| Dogliotti et al. | Influence of farm resource endowment on possibilities for sustainable development: a case study for vegetable farms in South Uruguay | |
| Brancalion et al. | Upscaling ecological restoration by integrating with agriculture | |
| CN111095314A (zh) | 作物植物种植的产量估计 | |
| JP6195016B2 (ja) | 農作業実績の入力支援方法、農作業実績の入力支援プログラム、および入力支援装置 | |
| WO2015173876A1 (ja) | 作物の栽培に関する評価入力方法、作物の栽培に関する評価入力プログラム、および作物の栽培に関する評価入力装置 | |
| JP6486722B2 (ja) | 商品購入システム及び方法 | |
| JP6237891B2 (ja) | 農作業実績の入力支援方法、農作業実績の入力支援プログラム、および入力支援装置 | |
| Mohammadzadeh et al. | Analyzing the rainfed wheat yield gap in Northwest Iran | |
| JP6337955B2 (ja) | 収穫量表示方法、変換方法、収穫量表示プログラム、変換プログラムおよびシステム | |
| JP7219386B2 (ja) | 農作業支援システム、及びサーバ装置 | |
| JP7517654B2 (ja) | 農業支援システム | |
| Fevery et al. | Adjustments of the Pesticide Risk Index used in environmental policy in Flanders | |
| JP7327791B2 (ja) | 農作物の生産支援システム及びほ場別アドバイス表示プログラム | |
| Naik et al. | Hybrid agricultural information delivery system as a means to improve sustainability of agriculture: Experimental evidence from India | |
| JP6264452B2 (ja) | 作物の栽培に関する作業スケジュール表示方法、作業スケジュール表示プログラムおよび作業スケジュール表示装置 | |
| WO2015173874A1 (ja) | 圃場の作業スケジュール表示方法、作業スケジュール表示プログラムおよび作業スケジュール表示装置 | |
| JP2018055503A (ja) | 形式知化支援装置、形式知化支援方法、及びプログラム | |
| Cook et al. | Contribution of integrated farm management (IFM) to Defra objectives | |
| JP2022089326A (ja) | 農薬情報管理装置、情報端末、農薬情報管理システム、農薬情報管理方法、及びプログラム | |
| EP4078476A1 (en) | Computer implemented method for providing test design and test instruction data for comparative tests for yield, gross margin, efficacy and/or effects on vegetation indices on a field for different rates or application modes of one product |
Legal Events
| Date | Code | Title | Description |
|---|---|---|---|
| TRDD | Decision of grant or rejection written | ||
| A01 | Written decision to grant a patent or to grant a registration (utility model) |
Free format text: JAPANESE INTERMEDIATE CODE: A01 Effective date: 20171003 |
|
| A61 | First payment of annual fees (during grant procedure) |
Free format text: JAPANESE INTERMEDIATE CODE: A61 Effective date: 20171016 |
|
| R150 | Certificate of patent or registration of utility model |
Ref document number: 6237891 Country of ref document: JP Free format text: JAPANESE INTERMEDIATE CODE: R150 |
|
| LAPS | Cancellation because of no payment of annual fees |