JP6234897B2 - 室外機用の据付台 - Google Patents

室外機用の据付台 Download PDF

Info

Publication number
JP6234897B2
JP6234897B2 JP2014155738A JP2014155738A JP6234897B2 JP 6234897 B2 JP6234897 B2 JP 6234897B2 JP 2014155738 A JP2014155738 A JP 2014155738A JP 2014155738 A JP2014155738 A JP 2014155738A JP 6234897 B2 JP6234897 B2 JP 6234897B2
Authority
JP
Japan
Prior art keywords
arm
side opening
opening
vertical
bolt
Prior art date
Legal status (The legal status is an assumption and is not a legal conclusion. Google has not performed a legal analysis and makes no representation as to the accuracy of the status listed.)
Expired - Fee Related
Application number
JP2014155738A
Other languages
English (en)
Other versions
JP2016033428A (ja
Inventor
宏隆 配島
宏隆 配島
貴至 青谷
貴至 青谷
Current Assignee (The listed assignees may be inaccurate. Google has not performed a legal analysis and makes no representation or warranty as to the accuracy of the list.)
Nissei Kinzoku Co Ltd
Original Assignee
Nissei Kinzoku Co Ltd
Priority date (The priority date is an assumption and is not a legal conclusion. Google has not performed a legal analysis and makes no representation as to the accuracy of the date listed.)
Filing date
Publication date
Application filed by Nissei Kinzoku Co Ltd filed Critical Nissei Kinzoku Co Ltd
Priority to JP2014155738A priority Critical patent/JP6234897B2/ja
Publication of JP2016033428A publication Critical patent/JP2016033428A/ja
Application granted granted Critical
Publication of JP6234897B2 publication Critical patent/JP6234897B2/ja
Expired - Fee Related legal-status Critical Current
Anticipated expiration legal-status Critical

Links

Images

Landscapes

  • Standing Axle, Rod, Or Tube Structures Coupled By Welding, Adhesion, Or Deposition (AREA)
  • Mutual Connection Of Rods And Tubes (AREA)
  • Other Air-Conditioning Systems (AREA)

Description

本発明は、エアコンの室外機を壁面に据え付けるための据付台に関する。
この種の室外機用の据付台には、地面等の平坦面に据え付けられる棚タイプ、屋根の上に据え付けられる屋根タイプ、ベランダ等の天井面から吊り下げられる吊り下げタイプ、家屋の外壁面に取り付けられる外壁面タイプ等がある。
外壁面タイプの主要構成部品は、外壁面に取り付けられるアングル材と、このアングル材に取り付けられるアームとがあり、アームは外壁面に対して略直交方向に突出するようになっている。
室外機は重量物であるので、室外機が据え付けられたアームは手前側に変形して僅かに傾斜するという問題がある。
かかる問題を解消するために、本願出願人は、特許第2943131号を創案した。この特許第2943131号は『壁面等の鉛直面に沿って取付けられるベース部から壁面に直角な方向に突出し、壁面に平行な水平方向に間隔をあけて並列した一対の片持ち式フレームによりエアコン室外機を支持する片持ち式エアコン据付け台において、各フレームの先端部の高さを独立に調節するレベル調節機構を設け、該レベル調節機構として、各フレームの先端部または中央部に上端部が連結され、下端部がフレームより下のベース部に連結された一対の斜材により各フレームを支持し、且つ、前記フレームに直角な横軸により前記斜材の上端部にブラケットを軸支結合すると共に、前記横軸に平行な横軸により前記ブラケットのフレーム基端側部分を前記フレームに軸支結合し、前記ブラケットのフレーム先端側部分に取付けたナットにねじ込まれた縦方向のボルトによりフレームを下方から支持したことを特徴とする片持ち式エアコン据付け台。』である。
特許第2943131号公報
しかしなから、この片持ち式エアコン据付台は、クランク金具と片持ち式フレームとが連結され、斜材とクランク金具とが連結されることで、斜材と片持ち式フレームとが連結される。そして、クランク金具に取り付けられ、片持ち式フレームの下面に当接する垂直なボルトのねじ込み量によって、片持ち式フレームの角度調整(高さ調整)が行われるようになっている。
しかしながら、かかる構造では、片持ちフレームに対して下向きに係る荷重に対しては強いが、片持ちフレームに上向きの力が加えられると、片持ちフレームは簡単に上方向に移動するおそれがある。
例えば、台風等の強風によって室外機ごと上方向に煽られると、据付台が破壊されるおそれもある。
本発明は、上記事情に鑑みて創案されたもので、簡単な構成で上向きの力、例えば台風等の強風で上方向に煽られても、室外機が取り付けられるアームが上方向へと移動しない安全な室外機用の据付台を提供することを目的としている。
本発明の実施の形態に係る室外機用の据付台1000は、壁面等に固定されるアングル材200と、このアングル材200に取り付けられる一対の縦稈300と、この縦稈300に対して略直交方向に突出して取り付けられる一対のアーム400と、前記縦稈300の内部にあって、縦稈300の正面310からの調整ボルト550と螺合すべく調整ボルト用雌ねじ部511Aが開設され、この調整ボルト550と調整ボルト用雌ねじ部511Aとの螺合具合によって前記アーム400の縦稈に対する角度を調整する調整部材500とを備えており、前記アーム400の基端側側面には上側に位置する第1のアーム側開口部421Aと、これより下側に位置する第2のアーム側開口部421Bとがそれぞれ開設され、前記縦稈300の側面320には、前記第1のアーム側開口部421Aと対応した第1の縦稈側開口部321Aと、前記第2のアーム側開口部421Bと対応した長孔状の第2の縦稈側開口部321Bとがそれぞれ開設され、前記調整部材500の側面520には、前記第2のアーム側開口部421B及び第2の縦稈側開口部321Bと対応した調整部材側開口部521が開設されており、前記第1のアーム側開口部421Aと前記第1の縦稈側開口部321Aとを一致させた状態で第1のボルト450Aを挿通させるとともに、第前記2のアーム側開口部421Bと前記第2の縦稈側開口部321Bと調整部材側開口部521とを一致させた状態で第2のボルト450Bを挿通させてアーム400を縦稈300に取り付けた状態で、前記調整ボルト550の螺合具合を変動させて調整部材500を変位させることで前記第1のボルト450Aを中心としてアーム400の縦稈300に対する角度が調整され、かつ前記調整ボルト550には縦稈300の内側において抜け止め用のUナット560が螺合されている。
本発明に係る室外機用の据付台は、簡単な構成でアームの角度調整が可能であり、しかもアームに対して上向きの力が加えられても上方向へと移動することがない安全な室外機用の据付台を提供することを目的としている。
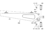
本発明の実施の形態に係る室外機用の据付台の概略的分解斜視図である。 本発明の実施の形態に係る室外機用の据付台に用いられる調整部材の概略的斜視図である。 本発明の実施の形態に係る室外機用の据付台に用いられる調整部材の図面であって、同図(A)は概略的背面図、同図(B)は概略的側面図、同図(C)は概略的平面図である。 本発明の実施の形態に係る室外機用の据付台に用いられる室外機用の据付台のアングル材への取付手順を示す概略的正面図である。 本発明の実施の形態に係る室外機用の据付台のアームの角度の調整を示す概略的側面図である。 本発明の実施の形態に係る室外機用の据付台のアームの角度の調整を示す概略的側面図である。 本発明の実施の形態に係る室外機用の据付台において縦稈を逆さ方向にした場合の概略的側面図である。 である。
本発明の実施の形態に係る室外機用の据付台1000は、外壁面に固定された一対のアングル材200と、このアングル材200に取り付けられる一対の縦稈300と、この縦稈300に対して略直交方向に突出して取り付けられる一対のアーム400と、前記縦稈300の内部にあって、縦稈300の正面310からの調整ボルトと螺合すべく調整ボルト用雌ねじ部511Aが開設され、この調整ボルト550と調整ボルト用雄ねじ部511Aとの螺合具合によって前記アーム400の縦稈300に対する角度を調整する調整部材500とを備えており、前記アーム400の基端側側面には上側に位置する第1のアーム側開口部421Aと、これより下側に位置する第2のアーム側開口部421Bとがそれぞれ開設され、前記縦稈300の側面320には、前記第1のアーム側開口部421Aと対応した第1の縦稈側開口部321Aと、前記第2のアーム側開口部421Bと対応した長孔状の第2の縦稈側開口部321Bとがそれぞれ開設され、前記調整部材500の側面520には、前記第2のアーム側開口部421B及び第2の縦稈側開口部321Bと対応した調整部材側開口部521が開設されており、前記第1のアーム側開口部421Aと前記第1の縦稈側開口部321Aとを一致させた状態で第1のボルト450Aを挿通させるとともに、前記第2のアーム側開口部421Bと前記第1の縦稈側開口部321Aと調整部材側開口部521とを一致させた状態で第2のボルト450Bを挿通させてアーム400を縦稈300に取り付けた状態で、前記調整ボルト550の螺合具合を変動させて調整部材500を変移させることで前記第1のボルト450Aを中心としてアーム400の縦稈300に対する角度が調整され、かつ前記調整ボルト550には縦稈300の内側において抜け止め用のUナット560が螺合されている。
前記アングル材200は、従来の室外機用の据付台に使用されるものと同等であり、図1に示すように、開口溝210が開設された面と対向する面である底面部220が平坦になった断面略C字形状に形成されている。なお、アングル材200の底面部220を平坦にするのは、その底面部220が外壁面に接する部分だからである。
また、このアングル材200は、前記底面部220に等間隔で複数の長孔221が開設されている。アングル材200は、この長孔221を利用して外壁面に上下二段に平行に取り付けられる。
前記縦稈300は、図1に示すように、上下二段に平行になったアングル材200を連結するとともに、アーム400が取り付けられる部分である。かかる縦稈300は、四角柱の一面が開放された形状になっており、開放された面と対向する面である正面310には、後述するスライド式ボルト100のボルト部120の軸部121に対応した2つの縦稈側開口部311が開設されている。また、この2つの縦稈側開口部311の間には、後述する調整ボルト550が挿通される調整ボルト用挿通孔312が開設されている。
また、この縦稈300の両側面320には、アーム400を取り付けるための3つの開口部321A、321B、321Cが開設されている。
中央の開口部が第2の縦稈側開口部321Bであり、この第2の縦稈側開口部321Bは長孔状に設定されている。
また、この第2の縦稈側開口部321Bの上方には、第1の縦稈側開口部321Aが開設されている。また、第2の縦稈側開口部321Bの下方にも前記第1の縦稈側開口部321Cが開設されている。この上側の第1の縦稈側開口部321Aと下側の縦稈側開口部321Aとは、第2の縦稈側開口部321Bを挟んで対称の位置、すなわち第2の縦稈側開口部321Bを挟んで等距離にあることになる。
この下側の第2の縦稈側開口部321Bは、縦稈300を図1や図8に示すものとは逆さ向きに使用する場合、すなわち図7に示すような状態で使用する場合のものである。
縦稈300は上下を入れ換えて使用することができるので、室外機用の据付台1000が設置される周囲のスペースや環境に応じて室外機の設置位置、設置高さを適宜変更することができるので便利である。
なお、第2の縦稈側開口部321Bの手前側縁部は第1の縦稈側開口部321Aの手前側縁部と同一垂線上に位置している。また、第2の縦稈側開口部321Bの奥側縁部は第1の縦稈側開口部321Aの奥側縁部より奥側に位置している。この第2の縦稈側開口部321Bの奥側縁部の第1の縦稈側開口部321Aの奥側縁部に対する位置ずれがアーム400の角度の調整を可能とするのである。
また、前記調整ボルト用挿通孔312には、手前側から調整ボルト550が挿通されている。この調整ボルト550は、調整ボルト用挿通孔312から挿通された状態で空回りし、かつ抜け落ちないように、縦稈300の正面310の裏面側において抜け止め加工が施されたUナット560が螺合されている。
なお、調整ボルト550に螺合されるものは、螺合した後には調整ボルト550から抜けることがないいわゆる抜け止め加工が施された抜け止め用ナットであれば、Uボルト560に限定されることはなく、他の抜け止め用ナットであってもよいことはいうまでもない。
このように構成された縦稈300は、前記スライド式ボルト100によってアングル材200に取り付けられる。
このスライド式ボルト100は、図4に示すように、本体部110と、この本体部110に立設されたボルト部120とから構成されている。
前記本体部110は、鋼板を折曲形成したものであり、略平行四辺形の中央片と、この中央片111の各辺から直交方向に折曲された2種類4つの折曲片とが一体に形成されている。
前記中央片の中央部、すなわち本体部110の中央部には、後述するボルト部120の軸部121が貫通する貫通孔(図示省略)が開設されている。また、この貫通孔の周囲には120度間隔で3つの凹部(図示省略)が形成されている。この凹部が形成されるため、中央片の裏面側には貫通孔の周囲に3つの凸部(図示省略)が形成される。この凸部は、ボルト部120の六角形の頭部(図示省略)の外周に当接してボルト部120の空回りを防ぐよう機能を発揮する。
また、前記折曲片は、中央片の長い対辺から折曲される長折曲片と、短い対辺から折曲される短折曲片とがある。
短折曲片の幅寸法は、スライド式ボルト100をアングル材200に嵌め込むと、短折曲片はアングル材200の底面部220に、中央片はアングル材200の前縁部230の裏面にそれぞれ接触するように設定されている。一方、長折曲片は、アングル材200の底面部220には接触しないように設定されている。短折曲片のみならず長折曲片まで底面部220に接触して、スライド式ボルト100のアングル材200内でのスムーズなスライドが阻害されないようにするためである。
本体部110の一対の鈍角部分には、それぞれ板バネ113が設けられている。この板バネ113は、前記長折曲片から延設されたものであって、その先端部分は前記短折曲片より若干外側に突出している。
また、前記本体部110は、対辺のうち短い対辺を底辺とした状態(図4(A)に示す状態)での高さ寸法は前記アングル材200の内側幅寸法Wより若干小さく設定されている。さらに、前記一対の板バネ部113の間の寸法は、外力が加えられていない状態では前記内側幅寸法Wより大きく、板バネ部113が内側に撓んだ状態では前記内側幅寸法Wより小さくなる。
このように構成された本体部110にボルト部120が取り付けられてスライド式ボルト100となる。ボルト部120は、本体部110の貫通孔111Bに裏面側から軸部121が挿入され、ボルト部120の頭部が前記凸部に当接させられる。なお、ボルト部120は、本体部110に軸部121が挿入された状態で、さらにナット部122を螺合させることで本体部110に固定される。
これで本体部110にボルト部120が立設したスライド式ボルト100となる。
なお、ボルト部120の本体部110への固定は、ナット部122による固定以外の固定方法、例えば溶接等であってもかまわない。
次に、上述したスライド式ボルト100のアングル材200への取付手順について説明する。なお、アングル材200は、開口溝210を手前側にした状態で予め外壁面に取り付けられているものとする。
図4(A)に示すように、アングル材200の開口溝210を介してスライド式ボルト100を手前側から内側に嵌め込む。この際、長い対辺111Lが底面となるようにし、ボルト部120の軸部121が開口溝210から飛び出すようにしておく。
この状態にあるスライド式ボルト100はアングル材200の内側で自由にスライドさせることができる。
図4(B)に示すように、鈍角部分の板バネ部113をアングル材200の側面部240の内側面に接触せさつつ回動させる。この回動の際、板バネ部113はアングル材200から外力を与えられ、内側に撓むので、回動には抵抗が生ずるが阻害されることはない。これは、板バネ部113の長い対辺の長折曲片から延設されており、板バネ部113の先端が短折曲片側に位置しているためである。
回動が完了したスライド式ボルト100は、図4(C)に示すように、短い対辺を底辺とした状態となっている。短い対辺を底辺とした状態でのスライド式ボルト100の高さ寸法は、前記アングル材200の内側幅寸法Wより若干小さく設定されているので、この状態にあるスライド式ボルト100はアングル材200の手前側から取り外すことはできない。しかも、この状態にあるスライド式ボルト100は、アングル材200の内側で自由にスライドさせることができる。
この状態にあるスライド式ボルト100を取り外すには、スライド式ボルト100を長い対辺が底面となるように回動させる。すなわち、図4(A)に示す状態に復帰させる。ただし、この回動は鈍角部分に板バネ部113があるので、スムーズにはいかない。これは、板バネ部113の長い対辺の長折曲片から延設されており、板バネ部113の先端部分が短折曲片側に位置しているためである。すなわち、スライド式ボルト100を回動させようとすると、板バネ部113の先端部分がアングル材200の側面部240の内側面に食い込んで、回動しにくいためである。
しかし、一定以上の力を加えると板バネ部113が内側に撓んで、板バネ部113の間の寸法が、前記内側幅寸法Wより小さくなるので、スライド式ボルト100は回動させることができるようになる。
なお、この室外機用の据付台1000においては、必ずスライド式ボルト100を使用しなければならないわけではない。アングル材200に縦稈300を取り付ける方法は他のものであってもかまわない。
前記アーム400は、図1に示すように、一枚の鋼板を折曲形成したものであり、上面410が平坦になり、その上面410から側面視略長い三角形状の側面420が延設されている。また、上面410には2個の長孔411が開設されている。この長孔411は、据え付けられる室外機との間に介在される絶縁ゴム430を固定する部分である。また、前記側面420の基端側である基端側側面には、2つのアーム側開口部421A、421Bが開設されている。第1のアーム側開口部421Aは前記縦稈300の第1の縦稈側開口部321Aに、第2のアーム側開口部421Bは前記縦稈300の第2の縦稈側開口部321Bにそれぞれ対応している。
なお、このアーム400の先端には、軟質性素材からなる保護キャップ440が取り付けられる。
前記調整部材500は、図1に示すように、背面側が開放された偏平直方体状に形成されており、略正方形状の正面510の対向する2辺からは側面520が折曲形成されている。この調整部材500の正面510には、後述する調整ボルト550が螺合する調整ボルト用雌ねじ部511Aを形作るナット511が溶接等の適宜な手法で連結されている。 また、この調整部際500の対向する側面520には、調整部材側開口部521がそれぞれ開設されている。
なお、この調整部材500は、縦稈300の内側に入り込むことができ、しかも入り込んだ状態では回転することができないサイズに設定されている。
次に、上述した室外機用の据付台1000の組立手順について説明する。
まず、外壁面に一対のアングル材200を上下二段に平行に適宜な方法で取り付ける。
このアングル材200にスライド式ボルト100を取り付ける。1つのアングル材200に2つのスライド式ボルト100を取り付けるので、全体には4つのスライド式ボルト100が必要になる。
縦稈300の内部に調整部材500を組み込む。
縦稈300の手前側から調整ボルト用挿通孔312に調整ボルト550の軸部551を挿通させ、軸部当該軸部にUナット560を螺合させる。これで、調整ボルト550は、調整ボルト用挿通孔312内で回動可能であるが、抜けることがない状態で縦稈300に取り付けられる。
調整部材500の調整部材側開口部521が、縦稈300の第2のアーム側開口部321Bに重なるような状態で縦稈300の奥側から調整部材500を入れ込む。
そして、当該調整部材500の調整ボルト用雌ねじ部511Aに調整ボルト550を螺合させる。
このようにして調整部材500が組み込まれた2つの縦稈300を前記スライド式ボルト100を介してアングル材200に取り付ける。
スライド式ボルト100の軸部121を縦稈300の縦稈側開口部311に挿入し、この縦稈側開口部311にナット150を螺合させることで、縦稈300がアングル材200に取り付けられる。
次に、縦稈300にアーム400を取り付ける。
アーム400の第1のアーム側開口部421Aと縦稈300の第1の縦稈側開口部321Aとを一致させるとともに、アーム400の第2のアーム側開口部421Bと縦稈300の第2の縦稈側開口部321Bとを一致させる。
すると、アーム400の第2のアーム側開口部421Bと縦稈300の第2の縦稈側開口部321Bとは、調整部材500の調整部材側開口部521とも重なることになる。
この状態で、第1のアーム側開口部421Aと第1の縦稈側開口部321Aとには第1のボルト450Aを、第2のアーム側開口部421Bと第2の縦稈側開口部321Bと調整部材側開口部521とには第2のボルト450Bをそれぞれ挿通させる。
そして、第1のボルト450Aと第2のボルト450Bに、ナット460を螺合させる。
なお、アーム400の絶縁ゴム430は必要に応じて取り付ける。
これで、室外機用の据付台1000が一応完成する。
上述したようにして組み立てられた室外機用の据付台1000のアーム400の角度調整について図5、図6を参照しつつ説明する。
調整ボルト550を回動させて、軸部551のナット511の調整ボルト用雌ねじ部511Aに対する螺合状態を変更することでアーム400の角度調整を行う。
調整ボルト500が最も深く調整部材300に螺合している状態、すなわち図5で示す状態であれば、第2のアーム側開口部421Bと調整部材側開口部521とは重なった状態で、長孔状の第2の縦稈側開口部321Bの手前側縁部に一致する。
すなわち、上側調整ボルト500の調整部材300への螺合状態を深くすれば、調整部材500は縦稈300の手前へと移動するので、第2のアーム側開口部421Bと第2の縦稈側開口部321Bと調整部材側開口部521とに挿通されている第2のボルト450Bは長孔状の第2の縦稈側開口部321Bの手前縁部方向へと移動する。
そして、アーム400の角度の調整(変化)は、第1のアーム側開口部421A及び第1の縦稈側開口部321Aとを中心としてアーム400が円弧状に動くことで行われるので、アーム400は手前に向かって上向きの角度となる。
一方、図6に示すように、上側調整ボルト500の調整部材300への螺合状態を浅くすれば、調整部材500は縦稈300の奥側へと移動するので、第2のアーム側開口部421Bと第2の縦稈側開口部321Bと調整部材側開口部521とに挿通されている第2のボルト450Bは長孔状の第2の縦稈側開口部321Bの奥側縁部方向へと移動する。この結果、アーム400は手前に向かって上向きだったものが水平方向へと移動する。
なお、室外機用の据付台1000には2つのアーム400があるが、室外機は左右の重量差があるので、それぞれのアーム400に加わる荷重は異なる。従って、各アーム400は加わる荷重に応じて角度を調整するものとする。
なお、図8においてアーム400の角度が水平な状態を実線で、最も上向きな状態を二点鎖線で示している。
かかる室外機用の据付台1000のアーム400に対して上向きの力が加わった場合、アーム400の上方向への移動は、調整ボルト550に螺合したUナット560で規制されているので、アーム400は上方向へと移動しない。すなわち、台風等の強風によってアーム400が室外機ごと上方向に煽られても、上方向へと動かないので安全である。
もし、Uナット560に相当するものがない場合、調整ボルト550は、調整部材500と縦稈300の内側面との間の隙間分(図6のS参照)だけ外側に向かって移動することができるので、アーム400に上向きの力が加えられると、アーム400は上方向へと移動する。
なお、図5及び図6では、第1のアーム側開口部421Aの方が、縦稈300の第1の縦稈側開口部321Aより径大に記載されているが、これは作図の都合上のものであり、実際にはほぼ同径となっている。
また、同様に、アーム400の第2のアーム側開口部421Bの方が、縦稈300の第2の縦稈側開口部321B(短径側)より径大に、調整部材500の調整部材側開口部521より径大に記載されているが、これは作図の都合上のものであり、実際にはほぼ同径となっている。
200 アングル材
300 縦稈
400 アーム
500 調整部材
550 調整ボルト
560 抜け止め用のナット

Claims (4)

  1. 壁面等に固定されるアングル材と、このアングル材に取り付けられる一対の縦稈と、この縦稈に対して略直交方向に突出して取り付けられる一対のアームと、前記縦稈の内部にあって、縦稈の正面からの調整ボルトと螺合すべく調整ボルト用雌ねじ部が開設され、この調整ボルトと調整ボルト用雌ねじ部との螺合具合によって前記アームの縦稈に対する角度を調整する調整部材とを具備しており、前記アームの基端側側面には上側に位置する第1のアーム側開口部と、これより下側に位置する第2のアーム側開口部とがそれぞれ開設され、前記縦稈の側面には、前記第1のアーム側開口部と対応した第1の縦稈側開口部と、前記第2のアーム側開口部と対応した長孔状の第2の縦稈側開口部とがそれぞれ開設され、前記調整部材の側面には、前記第2のアーム側開口部及び第2の型稈側開口部と対応した調整部材側開口部が開設されており、前記第1のアーム側開口部と前記第1の縦稈側開口部とを一致させた状態で第1のボルトを挿通させるとともに、第前記2のアーム側開口部と前記第2の縦稈側開口部と調整部材側開口部とを一致させた状態で第2のボルトを挿通させてアームを縦稈に取り付けた状態で、前記調整ボルトの螺合具合を変動させて調整部材を変位させることで前記第1のボルトを中心としてアームの縦稈に対する角度が調整され、かつ前記調整ボルトには縦稈の内側において抜け止め用のナットが螺合されていることを特徴とする室外機用の据付台。
  2. 前記抜け止め用のナットは、Uナットであることを特徴とする請求項1記載の室外機用の据付台。
  3. 前記第2の縦稈側開口部の手前側縁部は第1の縦稈側開口部の手前側縁部と同一垂線上にあり、第2の縦稈側開口部の奥側縁部は第1の縦稈側開口部の奥側縁部より奥側に位置していることを特徴とする請求項1又は2記載の室外機用の据付台。
  4. 前記縦稈の側面には、第2の縦稈側開口部を挟んで等距離にある2つの第1の縦稈側開口部が開設されていることを特徴とする請求項1、2又は3記載の室外機用の据付台。
JP2014155738A 2014-07-31 2014-07-31 室外機用の据付台 Expired - Fee Related JP6234897B2 (ja)

Priority Applications (1)

Application Number Priority Date Filing Date Title
JP2014155738A JP6234897B2 (ja) 2014-07-31 2014-07-31 室外機用の据付台

Applications Claiming Priority (1)

Application Number Priority Date Filing Date Title
JP2014155738A JP6234897B2 (ja) 2014-07-31 2014-07-31 室外機用の据付台

Publications (2)

Publication Number Publication Date
JP2016033428A JP2016033428A (ja) 2016-03-10
JP6234897B2 true JP6234897B2 (ja) 2017-11-22

Family

ID=55452401

Family Applications (1)

Application Number Title Priority Date Filing Date
JP2014155738A Expired - Fee Related JP6234897B2 (ja) 2014-07-31 2014-07-31 室外機用の据付台

Country Status (1)

Country Link
JP (1) JP6234897B2 (ja)

Cited By (1)

* Cited by examiner, † Cited by third party
Publication number Priority date Publication date Assignee Title
CN112856610A (zh) * 2021-02-01 2021-05-28 杨泽杰 一种空调外挂机的拆装机构及拆装方法

Families Citing this family (7)

* Cited by examiner, † Cited by third party
Publication number Priority date Publication date Assignee Title
CN108105897B (zh) * 2017-12-07 2020-06-12 嵊州领航信息科技有限公司 一种空调外机智能安装支架
CN108413519A (zh) * 2018-03-22 2018-08-17 刘影 一种便于安装的空调外挂机
CN109737585B (zh) * 2019-01-23 2020-09-29 浙江永奥节能科技有限公司 一种电梯空调用安装支架
CN111219801B (zh) * 2020-03-10 2020-12-01 浙江升丽纺织有限公司 一种空调外机安装辅助器
CN111661739B (zh) * 2020-07-07 2025-07-25 珠海格力电器股份有限公司 一种安装装置及电梯系统
CN112577128B (zh) * 2020-11-25 2023-06-27 深圳市兴元环境工程有限公司 一种中央空调安装固定装置及安装方法
CN112984646B (zh) * 2021-03-04 2022-10-11 深圳市恒嘉工程建设有限公司 一种暖通工程用暖通空调安装机构及其工作方法

Family Cites Families (6)

* Cited by examiner, † Cited by third party
Publication number Priority date Publication date Assignee Title
JP2546735Y2 (ja) * 1992-04-24 1997-09-03 株式会社北川堂製作所 ルームエアコンの屋外機の壁面取付装置
JP3067713B2 (ja) * 1997-10-09 2000-07-24 バクマ工業株式会社 ルームエアコン室外機据付金具における杆体連結機構
JP3025470B2 (ja) * 1997-12-19 2000-03-27 日晴金属株式会社 エアコン据付け用架台
JP3488667B2 (ja) * 1999-12-28 2004-01-19 ダイキン工業株式会社 空気調和機用壁面据付装置
ITVR20100007U1 (it) * 2010-03-22 2011-09-23 Cappellari 80 S R L Dispositivo a staffe di supporto per apparecchi
JP2011247533A (ja) * 2010-05-28 2011-12-08 Daikin Industries Ltd 室外機据付台

Cited By (1)

* Cited by examiner, † Cited by third party
Publication number Priority date Publication date Assignee Title
CN112856610A (zh) * 2021-02-01 2021-05-28 杨泽杰 一种空调外挂机的拆装机构及拆装方法

Also Published As

Publication number Publication date
JP2016033428A (ja) 2016-03-10

Similar Documents

Publication Publication Date Title
JP6234897B2 (ja) 室外機用の据付台
US9447914B2 (en) Hanger for hanging object from support rod including hooks
JP6634146B2 (ja) ブラケット組立体及び方法
US8608343B2 (en) Lighting systems and methods for installing same
US11739882B2 (en) Bracket for adjustable-depth mounting of electrical boxes
KR20140035100A (ko) 빔 클램프
EP2943720B1 (en) Light fixture support assembly
KR100728793B1 (ko) 위치 및 높이 조정이 가능한 천정패널 고정행거
JP2023169428A (ja) スロープ装置
CN103883855B (zh) 壁挂组件
KR101729517B1 (ko) 배너봉 절첩장치
KR200472251Y1 (ko) 폭 조절이 용이한 천장 부착형 빨래건조대
CN207279211U (zh) 环绕式多屏显示器吊架
CN220770769U (zh) 壁挂式电视机支架
US6966678B2 (en) Foldable ceiling lamp
CN203640225U (zh) 风管吊架
JP6289810B2 (ja) 天井吊り金具及び天井下地材支持構造
KR200307537Y1 (ko) 벽면 부착형 행거의 걸이대 각도 조절구조
JP5160853B2 (ja) 映像表示装置の吊設装置
JP2005098047A (ja) 開放防止柵
JP3214851U (ja) 折板屋根用取付具
JP6530617B2 (ja) 竪樋支持具
JP3139619U (ja) サポート杆受け金具
CN208586905U (zh) 一种可调节式建筑模板的夹紧装置
RU170952U1 (ru) Автомобильный домкрат

Legal Events

Date Code Title Description
A621 Written request for application examination

Free format text: JAPANESE INTERMEDIATE CODE: A621

Effective date: 20161003

A977 Report on retrieval

Free format text: JAPANESE INTERMEDIATE CODE: A971007

Effective date: 20170706

A131 Notification of reasons for refusal

Free format text: JAPANESE INTERMEDIATE CODE: A131

Effective date: 20170711

A521 Written amendment

Free format text: JAPANESE INTERMEDIATE CODE: A523

Effective date: 20170901

TRDD Decision of grant or rejection written
A01 Written decision to grant a patent or to grant a registration (utility model)

Free format text: JAPANESE INTERMEDIATE CODE: A01

Effective date: 20171017

A61 First payment of annual fees (during grant procedure)

Free format text: JAPANESE INTERMEDIATE CODE: A61

Effective date: 20171025

R150 Certificate of patent or registration of utility model

Ref document number: 6234897

Country of ref document: JP

Free format text: JAPANESE INTERMEDIATE CODE: R150

LAPS Cancellation because of no payment of annual fees