JP6232069B2 - 安定性が向上した電極組立体及びその製造方法 - Google Patents

安定性が向上した電極組立体及びその製造方法 Download PDF

Info

Publication number
JP6232069B2
JP6232069B2 JP2015529706A JP2015529706A JP6232069B2 JP 6232069 B2 JP6232069 B2 JP 6232069B2 JP 2015529706 A JP2015529706 A JP 2015529706A JP 2015529706 A JP2015529706 A JP 2015529706A JP 6232069 B2 JP6232069 B2 JP 6232069B2
Authority
JP
Japan
Prior art keywords
electrode
separation membrane
unit body
basic unit
terminal
Prior art date
Legal status (The legal status is an assumption and is not a legal conclusion. Google has not performed a legal analysis and makes no representation as to the accuracy of the status listed.)
Active
Application number
JP2015529706A
Other languages
English (en)
Other versions
JP2015531155A (ja
Inventor
ミョンフン コ
ミョンフン コ
ジウォン パク
ジウォン パク
ジンホ バン
ジンホ バン
アルム ジョン
アルム ジョン
スンホ ナ
スンホ ナ
Current Assignee (The listed assignees may be inaccurate. Google has not performed a legal analysis and makes no representation or warranty as to the accuracy of the list.)
LG Chem Ltd
Original Assignee
LG Chem Ltd
Priority date (The priority date is an assumption and is not a legal conclusion. Google has not performed a legal analysis and makes no representation as to the accuracy of the date listed.)
Filing date
Publication date
Application filed by LG Chem Ltd filed Critical LG Chem Ltd
Publication of JP2015531155A publication Critical patent/JP2015531155A/ja
Application granted granted Critical
Publication of JP6232069B2 publication Critical patent/JP6232069B2/ja
Active legal-status Critical Current
Anticipated expiration legal-status Critical

Links

Images

Classifications

    • HELECTRICITY
    • H01ELECTRIC ELEMENTS
    • H01MPROCESSES OR MEANS, e.g. BATTERIES, FOR THE DIRECT CONVERSION OF CHEMICAL ENERGY INTO ELECTRICAL ENERGY
    • H01M10/00Secondary cells; Manufacture thereof
    • H01M10/04Construction or manufacture in general
    • H01M10/0413Large-sized flat cells or batteries for motive or stationary systems with plate-like electrodes
    • HELECTRICITY
    • H01ELECTRIC ELEMENTS
    • H01MPROCESSES OR MEANS, e.g. BATTERIES, FOR THE DIRECT CONVERSION OF CHEMICAL ENERGY INTO ELECTRICAL ENERGY
    • H01M10/00Secondary cells; Manufacture thereof
    • H01M10/04Construction or manufacture in general
    • H01M10/0459Cells or batteries with folded separator between plate-like electrodes
    • HELECTRICITY
    • H01ELECTRIC ELEMENTS
    • H01MPROCESSES OR MEANS, e.g. BATTERIES, FOR THE DIRECT CONVERSION OF CHEMICAL ENERGY INTO ELECTRICAL ENERGY
    • H01M10/00Secondary cells; Manufacture thereof
    • H01M10/04Construction or manufacture in general
    • H01M10/0463Cells or batteries with horizontal or inclined electrodes
    • HELECTRICITY
    • H01ELECTRIC ELEMENTS
    • H01MPROCESSES OR MEANS, e.g. BATTERIES, FOR THE DIRECT CONVERSION OF CHEMICAL ENERGY INTO ELECTRICAL ENERGY
    • H01M10/00Secondary cells; Manufacture thereof
    • H01M10/04Construction or manufacture in general
    • H01M10/0472Vertically superposed cells with vertically disposed plates
    • HELECTRICITY
    • H01ELECTRIC ELEMENTS
    • H01MPROCESSES OR MEANS, e.g. BATTERIES, FOR THE DIRECT CONVERSION OF CHEMICAL ENERGY INTO ELECTRICAL ENERGY
    • H01M10/00Secondary cells; Manufacture thereof
    • H01M10/05Accumulators with non-aqueous electrolyte
    • H01M10/052Li-accumulators
    • HELECTRICITY
    • H01ELECTRIC ELEMENTS
    • H01MPROCESSES OR MEANS, e.g. BATTERIES, FOR THE DIRECT CONVERSION OF CHEMICAL ENERGY INTO ELECTRICAL ENERGY
    • H01M10/00Secondary cells; Manufacture thereof
    • H01M10/05Accumulators with non-aqueous electrolyte
    • H01M10/058Construction or manufacture
    • H01M10/0585Construction or manufacture of accumulators having only flat construction elements, i.e. flat positive electrodes, flat negative electrodes and flat separators
    • HELECTRICITY
    • H01ELECTRIC ELEMENTS
    • H01MPROCESSES OR MEANS, e.g. BATTERIES, FOR THE DIRECT CONVERSION OF CHEMICAL ENERGY INTO ELECTRICAL ENERGY
    • H01M2220/00Batteries for particular applications
    • H01M2220/20Batteries in motive systems, e.g. vehicle, ship, plane
    • YGENERAL TAGGING OF NEW TECHNOLOGICAL DEVELOPMENTS; GENERAL TAGGING OF CROSS-SECTIONAL TECHNOLOGIES SPANNING OVER SEVERAL SECTIONS OF THE IPC; TECHNICAL SUBJECTS COVERED BY FORMER USPC CROSS-REFERENCE ART COLLECTIONS [XRACs] AND DIGESTS
    • Y02TECHNOLOGIES OR APPLICATIONS FOR MITIGATION OR ADAPTATION AGAINST CLIMATE CHANGE
    • Y02EREDUCTION OF GREENHOUSE GAS [GHG] EMISSIONS, RELATED TO ENERGY GENERATION, TRANSMISSION OR DISTRIBUTION
    • Y02E60/00Enabling technologies; Technologies with a potential or indirect contribution to GHG emissions mitigation
    • Y02E60/10Energy storage using batteries
    • YGENERAL TAGGING OF NEW TECHNOLOGICAL DEVELOPMENTS; GENERAL TAGGING OF CROSS-SECTIONAL TECHNOLOGIES SPANNING OVER SEVERAL SECTIONS OF THE IPC; TECHNICAL SUBJECTS COVERED BY FORMER USPC CROSS-REFERENCE ART COLLECTIONS [XRACs] AND DIGESTS
    • Y02TECHNOLOGIES OR APPLICATIONS FOR MITIGATION OR ADAPTATION AGAINST CLIMATE CHANGE
    • Y02PCLIMATE CHANGE MITIGATION TECHNOLOGIES IN THE PRODUCTION OR PROCESSING OF GOODS
    • Y02P70/00Climate change mitigation technologies in the production process for final industrial or consumer products
    • Y02P70/50Manufacturing or production processes characterised by the final manufactured product
    • YGENERAL TAGGING OF NEW TECHNOLOGICAL DEVELOPMENTS; GENERAL TAGGING OF CROSS-SECTIONAL TECHNOLOGIES SPANNING OVER SEVERAL SECTIONS OF THE IPC; TECHNICAL SUBJECTS COVERED BY FORMER USPC CROSS-REFERENCE ART COLLECTIONS [XRACs] AND DIGESTS
    • Y10TECHNICAL SUBJECTS COVERED BY FORMER USPC
    • Y10TTECHNICAL SUBJECTS COVERED BY FORMER US CLASSIFICATION
    • Y10T29/00Metal working
    • Y10T29/49Method of mechanical manufacture
    • Y10T29/49002Electrical device making
    • Y10T29/49108Electric battery cell making

Landscapes

  • Engineering & Computer Science (AREA)
  • Manufacturing & Machinery (AREA)
  • Chemical & Material Sciences (AREA)
  • Chemical Kinetics & Catalysis (AREA)
  • Electrochemistry (AREA)
  • General Chemical & Material Sciences (AREA)
  • Secondary Cells (AREA)
  • Cell Separators (AREA)
  • Battery Electrode And Active Subsutance (AREA)

Description

本発明は、安定性が向上した電極組立体及びその製造方法に関し、より詳しくは、分離膜の収縮率を減少させることができる安定性が向上した電極組立体及びその製造方法に関する。
本出願は、2013年2月15日付で出願された韓国特許出願第10-2013-0016512号及び2014年2月17日付けで出願された韓国特許出願第10-2014-0017701号に基づいた優先権を主張し、当該出願の明細書及び図面に開示された全ての内容は本出願に援用される。
二次電池は、化石燃料を用いる既存のガソリン車両、ディーゼル車両などの大気汚染などを解決するための方案として提示されている電気自動車(EV)、ハイブリッド電気自動車(HEV)、並列型ハイブリッド電気自動車(PHEV) などの動力源としても注目を浴びているが、自動車などのような中大型デバイスには高出力、大容量の必要性のため、多数の電池セルを電気的に連結した中大型電池モジュールが用いられる。
ところが、中大型電池モジュールは、できれば小さな大きさと重量に製造されるのが好ましいので、高い集積度で充積可能であり、容量対比重量が小さな角形電池、パウチ型電池などが中大型電池モジュールの電池セルとして主に製作されている。
一般に、電極組立体は、正極/分離膜/負極構造の電極組立体が如何なる構造でなっているのかにより分類されることもあるが、代表的には、長いシート状の正極等と負極等を、長いシート状の分離膜が介在された状態で巻き取った構造のジェリーロール(巻取型) 電極組立体、所定大きさの単位で切断した多数の正極と負極を、分離膜を介在した状態で順次積層したスタック型(積層型) 電極組立体に区分される。好ましくは、スタック型構造とスタック/フォールディング型構造を挙げることができる。
前記スタック型構造は、当業界に広く公知になっているので、 本明細書でそれに対する説明は略する。前記スタック/フォールディング型構造の電極組立体に対する詳しい内容は、本出願人の韓国特許出願公開第2001-0082058号、第2001-0082059号及び第2001-0082060号に開示されている。
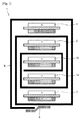
図1に示す通り、スタック/フォールディング型構造の電極組立体1は正極、分離膜、負極が順次積層された単位セル1a、1b、2、3、4が複数個重畳されており、それぞれの重畳部には分離膜シート5が介在されている。分離膜シート5は、単位セルを取り囲むことができる長さを有し、単位セル1aから始まって外角の単位セル4まで連続してそれぞれの単位セルを取り囲みながら単位セル等の重畳部に介在されている。
分離膜シート5の末端部は、熱融着するか接着テープ6などを貼り付けて仕上げる。このようなスタック/フォールディング型電極組立体は、例えば、長い長さの分離膜シート5上に単位セル1a、1b、2、3、4を配列し、分離膜シート5の一端部から始めて順次巻き取ることにより製造される。しかし、このような構造で中心部の単位セル1a、1b、2と外殻部の単位セル3、4 との間には、温度勾配が発生し放熱効率が相違することになるので、長時間用いる場合、寿命が短くなるとの問題がある。
一般に、単位セルに備えられた分離膜は主にポリマー材質で形成され、熱により収縮される性質を有する。また、電極組立体又はこれを含む二次電池は、安定性を評価するため過充電テストとホットボックステスト(hot box test)を経ることになる。このようなテスト時に一部の不良電極組立体、又はこれを含む二次電池で発火が引き起こる場合がある。また、発火は、熱により分離膜が収縮され、これにより正極と負極が当接して発生する短絡 (short)に起因する。
一方、安定性評価のためのテストを通過して市販された二次電池であっても、使用中外部から加えられる熱、又は二次電池の内部で発生する熱により分離膜が収縮され、前述したところのように短絡が発生し得る危険がある。
このような現象を防止するため、電極よりさらに大きいサイズの分離膜が電極組立体に適用される。
しかし、前記スタック/フォールディング型構造の電極組立体1の場合、分離膜の縁部は電極と付着されていない状態で保持され、通常は分離膜の縁部に対する特別な処理なしで一連の二次電池の製造工程が引き続き行われるため、過充電、過熱などにより短絡が発生する危険性が高い。また、スタック型構造の電極組立体も分離膜の縁部に対する特別な処理がないことは同様なので、スタック/フォールディング型構造の電極組立体1と同様に短絡が発生する危険性が高い。
したがって、スタック/フォールディング型構造の電極組立体1及びスタック型電極組立体は全て、正極と負極との間の短絡を確実に防止するためには、分離膜を電極より遥かに大きく製造しなければならず、これにより結局二次電池の体積は増加することになる。
また、分離膜が必要以上に多く用いられるため、二次電池の製造コストが上昇するとの問題がある。
本発明は、前述の問題点を解決するため案出されたものであり、従来の技術と同一の大きさ、又は多少小さな大きさの分離膜を用いながらも、内部短絡の危険性を低下させることができる、安定性が向上した電極組立体及びその製造方法を提供することに目的がある。
本発明の他の目的は、二次電池の製造コストを低減させることができる、安定性が向上した電極組立体及びその製造方法を提供することにある。
本発明のさらに他の目的は、一種類のバイセルだけでも電極組立体を製造することが可能な、安定性が向上した電極組立体及びその製造方法を提供することにある。
前記のような目的を達成するため、本発明の好ましい実施例に係る安定性が向上した電極組立体は、(a)互いに同一な個数の電極と分離膜が交互に配置されて一体に結合された1種の基本単位体が繰り返して配置された構造、又は(b)互いに同一な個数の電極と分離膜が交互に配置されて一体に結合された2種以上の基本単位体が定められた順に従い配置された構造を有する単位体スタック部を備え、前記(a)の1種の基本単位体は、第1電極、第1分離膜、第2電極及び第2分離膜が順次配置された4層構造又は前記4層構造が繰り返して配置された構造を有し、前記(b)の2種以上の基本単位体をそれぞれ1個ずつ定められた順に従い配置すれば、前記4層構造又は前記4層構造が繰り返して積層された構造が形成され、前記分離膜は縁部が前記電極と分離膜の外側へ露出されるように前記電極よりさらに大きいサイズを有し、1つの基本単位体に含まれた分離膜等の縁部が互いに付着されてシール部をなすか、前記単位体スタック部に含まれた分離膜等の縁部が互いに付着されてシール部をなすことができる。
また、前記のような目的を達成するため、本発明の好ましい一例に係る安定性が向上した電極組立体の製造方法は、互いに同一な個数の電極と分離膜が交互に積層された構造を有する1種の基本単位体、または互いに同一な個数の電極と分離膜が交互に積層された構造を有する2種以上の基本単位体を製造する段階(S10); 1つの基本単位体に含まれた分離膜等の縁部を互いに当接させたまま、熱と圧力を加えてシール部を形成する段階(S20); 及び前記S10段階及びS20段階が行われた前記1種の基本単位体を繰り返して積層するか、前記S10段階及びS20段階が行われた前記2種以上の基本単位体を定められた順に従い積層して単位体スタック部を製造する段階(S22);を含み、前記1種の基本単位体は第1電極、第1分離膜、第2電極及び第2分離膜が順次積層された4層構造や、前記4層構造が繰り返して積層された構造を有し、前記2種以上の基本単位体をそれぞれ1個ずつ定められた順に従い積層すれば、前記4層構造や前記4層構造が繰り返して積層された構造が形成され得る。
また、前記のような目的を達成するため、本発明の好ましい他の例に係る安定性が向上した電極組立体の製造方法は、互いに同一な個数の電極と分離膜が交互に積層された構造を有する1種の基本単位体、又は互いに同一な個数の電極と分離膜が交互に積層された構造を有する2種以上の基本単位体を製造する段階(S10); 前記1種の基本単位体を繰り返して積層するか、前記2種以上の基本単位体を定められた順に従い積層して単位体スタック部を製造する段階(S14); 及び前記単位体スタック部に含まれた分離膜等の縁部を互いに当接させたまま、熱と圧力を加えてシール部を形成する段階(S30);を含み、前記1種の基本単位体は第1電極、第1分離膜、第2電極及び第2分離膜が順次積層された4層構造や、前記4層構造が繰り返して積層された構造を有し、前記2種以上の基本単位体をそれぞれ1個ずつ定められた順に従い積層すれば、前記4層構造や前記4層構造が繰り返して積層された構造が形成され得る。
本発明によれば、次のような効果がある。
第一、従来の技術と同一の大きさまたは多少小さな大きさの分離膜を用いながらも、内部短絡の危険性を低下させることができる、安定性が向上した電極組立体及びその製造方法を提供することができる。
第二、二次電池の製造コストを低減させることができる、安定性が向上した電極組立体及びその製造方法を提供することができる。
第三、一種類のバイセルだけでも電極組立体を製造することが可能な、安定性が向上した電極組立体及びその製造方法を提供することができる。
次の図等は本発明の好ましい実施例を例示するものであり、前述された発明の詳細な説明と共に本発明の技術思想をさらに理解させる役割を果たすものなので、本発明はそのような図に記載された事項のみに限定されて解釈されてはならない。
従来の電極組立体のフォールディング構造を概念的に示す断面図である。 本発明に係る基本単位体の第1構造を示す側面図である。 本発明に係る基本単位体の第2構造を示す側面図である。 図2に示した基本単位体の積層で形成される単位体スタック部を示す側面図である。 本発明に係る基本単位体の第3構造を示す側面図である。 本発明に係る基本単位体の第4構造を示す側面図。 図5に示した基本単位体と図6に示した基本単位体との積層で形成される単位体スタック部を示す側面図である。 本発明に係る基本単位体を製造する工程を示す工程図である。 異なる大きさを有する基本単位体が積層され形成される単位体スタック部を示す斜視図である。 図9に示した単位体スタック部を示す側面図である。 別の幾何学的形状を有する基本単位体が積層され形成される単位体スタック部を示す斜視図である。 本発明に係る基本単位体と第1補助単位体とを含む単位体スタック部の第1構造を示す側面図である。 本発明に係る基本単位体と第1補助単位体とを含む単位体スタック部の第2構造を示す側面図である。 本発明に係る基本単位体と第2補助単位体とを含む単位体スタック部の第3構造を示す側面図である。 本発明に係る基本単位体と第2補助単位体とを含む単位体スタック部の第4構造を示す側面図である。 本発明に係る基本単位体と第1補助単位体とを含む単位体スタック部の第5構造を示す側面図である。 本発明に係る基本単位体と第1補助単位体とを含む単位体スタック部の第6構造を示す側面図である。 本発明に係る基本単位体と第2補助単位体とを含む単位体スタック部の第7構造を示す側面図である。 本発明に係る基本単位体と第2補助単位体とを含む単位体スタック部の第8構造を示す側面図である。 本発明に係る基本単位体と第1補助単位体とを含む単位体スタック部の第9構造を示す側面図である。 本発明に係る基本単位体、第1補助単位体及び第2補助単位体を含む単位体スタック部の第10構造を示す側面図である。 本発明に係る基本単位体と第2補助単位体とを含む単位体スタック部の第11構造を示す側面図である。 図2に示した基本単位体の第1構造の上部に分離膜を積層した状態を示す断面図である。 図2に示した基本単位体の第1構造を二回積層し、最上層をなしている電極上に分離膜を積層した状態を示す断面図である。 図23で分離膜の縁部が付着され、シール部が形成されている単位体スタック部を示す断面図である。 図24で分離膜の縁部が付着され、シール部が形成されている単位体スタック部を示す断面図である。
以下、図を参照し、本発明の好ましい実施例に係る安定性が向上した電極組立体及びその製造方法に対し詳しく説明する。
本明細書及び特許請求の範囲に用いられた用語や単語は、通常的かつ辞典的な意味に限定して解釈されてはならず、発明者は自分の発明を最善の方法で説明するため用語の概念を適宜定義することができるとの原則に即し、本発明の技術的思想に符合する意味と概念に解釈されなければならない。したがって、本明細書に記載された実施例と図に示された構成は、本発明の最も好ましい一実施形態に過ぎず、本発明の技術的思想を全て代弁するものではないので、本出願時点においてこれらを代替することができる多様な均等物と変形例等があり得ることを理解しなければならない。
図で、各構成要素又はその構成要素をなす特定部分の大きさは、説明の便宜及び明確性のため誇張又は省略されるか、概略的に示された。したがって、各構成要素の大きさは、実際の大きさを全的に反映するものではない。関連した公知機能あるいは構成に対する具体的な説明が、不要に本発明の要旨を濁し得ると判断される場合、そのような説明は略する。
本発明に係る電極組立体は、基本単位体を繰り返して又は定められた順に従い積層した構造や、繰り返してまたは定められた順に従い積層された基本単位体に補助単位体をさらに積層した構造を有する単位体スタック部を含み、電極よりさらに大きいサイズを有する分離膜の縁部を基本単位体ごとに付着してシール部を形成するか、基本単位体を繰り返して又は定められた順に従い積層した構造を有する単位体スタック部に存在する全ての分離膜の縁部を一斉に付着してシール部を形成することができる。
基本単位体の構造と、基本単位体に積層され得る補助単位体と、複数層積層された基本単位体を有する単位体スタック部の構造とは多様に具現され得るので、先ず、この構造等に対し説明し、基本単位体自体でシール部を形成するか、単位体スタック部で一斉にシール部を形成することに対しては追って説明する。
単位体スタック部
本発明で単位体スタック部は、1種の基本単位体が繰り返して積層された構造を有するか、2種以上の基本単位体が定められた順に従い、例えば交互に積層された構造を有する。ここに、以下で先ず基本単位体に対して検討してみる。
[基本単位体の構造]
本発明に係る電極組立体における基本単位体は、電極と分離膜が交互に配置されて形成される。この際、電極と分離膜は同数配置される。例えば、図2で示す通り、基本単位体110aは、2つの電極111、113と2つの分離膜112、114が積層されて形成され得る。この際、正極と負極は当然分離膜を介して互いに対向することができる。基本単位体がこのように形成されると、基本単位体の一側末端に電極(図2で図面符号111の電極を参照)が位置することになり、基本単位体の他側末端に分離膜(図2で図面符号114の分離膜を参照)が位置することになる。
本発明に係る電極組立体は、基本単位体の積層だけで単位体スタック部(すなわち、電極組立体)を形成することができるとの点に基本的な特徴がある。すなわち、本発明は、1種の基本単位体を繰り返して積層するか、2種以上の基本単位体を定められた順に従い積層して単位体スタック部を形成することができるとの点に基本的な特徴がある。このような特徴を具現するため、基本単位体は以下のような構造を有することができる。
第一、基本単位体は、第1電極、第1分離膜、第2電極及び第2分離膜が順次積層されて形成され得る。より具体的に、基本単位体110a、110bは、図2で示しているように、第1電極111、第1分離膜112、第2電極113及び第2分離膜114が上側から下側へ順次積層されて形成されるか、図3で示しているように第1電極111、第1分離膜112、第2電極113及び第2分離膜114が下側から上側へ順次積層されて形成され得る。このような構造を有する基本単位体を、以下で第1基本単位体と記す。この際、第1電極111と第2電極113は互いに逆の電極である。例えば、第1電極111が正極であれば、第2電極113は負極である。
このように第1電極、第1分離膜、第2電極及び第2分離膜が順次積層されて基本単位体が形成されると、図4で示しているように、1種の基本単位体110aを繰り返して積層することだけでも単位体スタック部100aを形成することができる。ここで、基本単位体は、このような4層構造以外にも8層構造や12層構造を有することができる。すなわち、基本単位体は、4層構造が繰り返して配置された構造を有することができる。例えば、基本単位体は第1電極、第1分離膜、第2電極、第2分離膜、第1電極、第1分離膜、第2電極及び第2分離膜が順次積層されて形成されてもよい。
第二、基本単位体は、第1電極、第1分離膜、第2電極、第2分離膜、第1電極及び第1分離膜が順次積層されて形成されるか、第2電極、第2分離膜、第1電極、 第1分離膜、第2電極及び第2分離膜が順次積層されて形成され得る。前者の構造を有する基本単位体を以下で第2基本単位体と記し、後者の構造を有する基本単位体を以下で第3基本単位体と記す。
より具体的に、第2基本単位体110cは図5に示されているように、第1電極111、第1分離膜112、第2電極113、第2分離膜114、第1電極111及び第1分離膜112が上側から下側へ順次積層されて形成され得る。また、第3基本単位体110dは、図6に示されているように、第2電極113、第2分離膜114、第1電極111、第1分離膜112、第2電極113及び第2分離膜114が上側から下側へ順次積層されて形成され得る。これと逆に、下側から上側へ順次積層されて形成されてもよい。
第2基本単位体110cと第3基本単位体110dを1つずつのみ積層すれば、4層構造が繰り返して積層された構造が形成される。したがって、第2基本単位体110cと第3基本単位体110dを1つずつ交互に引き続き積層すれば、図7で示しているように、第2及び第3基本単位体の積層だけでも単位体スタック部100bを形成することができる。参考までに、3種の基本単位体が準備されるのであれば、例えば1番基本単位体、2番基本単位体、3番基本単位体、再び1番基本単位体、2番基本単位体、3番基本単位体の順に、すなわち定められた順に従い基本単位体を積層して単位体スタック部を形成することができる。
このように本発明で1種の基本単位体は、第1電極、第1分離膜、第2電極及び第2分離膜が順次配置された4層構造や、4層構造が繰り返して配置された構造を有する。また、本発明で2種以上の基本単位体をそれぞれ1つずつ定められた順に従い配置すれば、4層構造や4層構造が繰り返して配置された構造が形成される。例えば、前述の第1基本単位体は4層構造を有し、前述の第2基本単位体と第3基本単位体をそれぞれ1つずつ合計2つを積層すれば、4層構造が繰り返して積層された12層構造が形成される。
したがって、本発明で1種の基本単位体を繰り返して積層するか、2種以上の基本単位体を定められた順に従い積層すれば、単に積層だけでも単位体スタック部(すなわち、電極組立体)を形成することができる。
本発明で単位体スタック部は、基本単位体が基本単位体単位に積層されて形成される。すなわち、先ず基本単位体を製作した後、これを繰り返して、または定められた順に従い積層して単位体スタック部を製作する。このように本発明は、基本単位体の積層だけで単位体スタック部を形成することができる。したがって、本発明は基本単位体を非常に精密に整列させることができる。基本単位体が精密に整列されれば、電極と分離膜も単位体スタック部で精密に整列され得る。また、本発明は、単位体スタック部(電極組立体)の生産性を非常に向上させることができる。工程が非常に単純になるためである。
[基本単位体の製造]
図8を参照し、代表的に第1基本単位体を製造する工程に対して検討してみる。 先ず、第1電極材料121、第1分離膜材料122、第2電極材料123及び第2分離膜材料124を準備する。ここで、第1分離膜材料122と第2分離膜材料124は互いに同一の材料であり得る。その後、第1電極材料121をカッター(C1)を介して所定の大きさに切断し、第2電極材料123もカッター(C2)を介して所定の大きさに切断する。その後、第1電極材料121を第1分離膜材料122に積層し、第2電極材料123を第2分離膜材料124に積層する。
その後、ラミネータ(L1、L2)で電極材料と分離膜材料を互いに接着させることが好ましい。このような接着で、電極と分離膜が一体に結合された基本単位体が製造可能である。結合の方法は多様であり得る。ラミネータ(L1、L2)は、接着のため材料に圧力を加えるか圧力と熱を加える。このような接着は、単位体スタック部を製造する際、基本単位体の積層をより容易にする。また、このような接着は、基本単位体の整列にも有利である。このような接着後に第1分離膜材料122と第2分離膜材料124をカッター(C3)を介して所定の大きさに切断すれば、基本単位体110aが製造され得る。
このように基本単位体における電極は、隣接した分離膜に接着され得る。または、分離膜が電極に接着されるとみることもできる。この際、電極は分離膜に対向する面で全体的に分離膜に接着されることが好ましい。このようにすれば、電極が安定的に分離膜に固定され得るためである。通常、電極は分離膜より小さい。
このため、接着剤を分離膜に塗布することができる。しかし、このように接着剤を利用するためには、接着剤を接着面に亘ってメッシュ(mesh)形態やドット (dot) 形態に塗布する必要がある。接着剤を接着面の全体に万遍なく塗布すれば、リチウムイオンのような反応イオンが分離膜を通過することができないためである。したがって、接着剤を利用すれば、電極を全体的に (すなわち、接着面の全体にかけて)分離膜に接着させることはできるとしても、全体的に万遍なく接着させることは困難である。
もしくは、接着力を有するコーティング層を備える分離膜を介して全体的に電極を分離膜に接着させることができる。より詳述する。分離膜は、ポリオレフィン系列の分離膜基材のような多孔性の分離膜基材、及び分離膜基材の一面又は両面に全体的にコーティングされる多孔性のコーティング層を含むことができる。 この際、コーティング層は無機物粒子等と無機物粒子等を互いに連結及び固定するバインダー高分子の混合物で形成され得る。
ここで、無機物粒子は、分離膜の熱的安定性を向上させることができる。すなわち、無機物粒子は、高温で分離膜が収縮されることを防止することができる。 また、バインダー高分子は、無機物粒子を固定させて分離膜の機械的安定性も向上させることができる。また、バインダー高分子は、電極を分離膜に接着させることができる。バインダー高分子は、コーティング層に全体的に分布するので、 前述の接着剤とは異なり接着面の全体で万遍なく接着が発生し得る。したがって、このような分離膜を利用すれば、電極をより安定的に分離膜に固定させることができる。このような接着を強化するため、前述のラミネータを利用することができる。
ところが、無機物粒子等は、充填構造(densely packed structure)をなしてコーティング層で全体的に無機物粒子等の間のインタースティシャルボリューム(interstitial volumes)を形成することができる。この際、無機物粒子等が限定するインタースティシャルボリュームにより、コーティング層には気孔構造が形成され得る。このような気孔構造により、分離膜にコーティング層が形成されているとしてもリチウムイオンが分離膜を良好に通過することができる。参考までに、無機物粒子等が限定するインタースティシャルボリュームは、位置によってバインダー高分子により詰まっていることもある。
ここで充填構造は、ガラス瓶に砂利が満たされていることのような構造で説明され得る。したがって、無機物粒子等が充填構造をなすと、コーティング層で局部的に無機物粒子等の間のインタースティシャルボリュームが形成されるのではなく、コーティング層で全体的に無機物粒子等の間のインタースティシャルボリュームが形成される。これにより、無機物粒子の大きさが増加すれば、インタースティシャルボリュームによる気孔の大きさも共に増加する。このような充填構造のため、分離膜の全体面でリチウムイオンが円滑に分離膜を通過することができる。
一方、単位体スタック部で基本単位体も基本単位体どうし互いに接着され得る。例えば、図2で第2分離膜114の下面に接着剤が塗布されるか、前述のコーティング層がコーティングされるのであれば、第2分離膜114の下面に他の基本単位体が接着され得る。
この際、基本単位体で電極と分離膜との間の接着力は、単位体スタック部で基本単位体間の接着力より大きいことがある。もちろん、基本単位体間の接着力はないこともある。この通りであれば、電極組立体(単位体スタック部)を分離する時、接着力の差のため基本単位体単位に分離される可能性が高い。参考までに、接着力は剥離力に表現することもできる。例えば、電極と分離膜との間の接着力は、電極と分離膜を互いに取り離すとき必要な力に表現することもできる。このように、単位体スタック部内で基本単位体は、隣接した基本単位体と結合されないか、基本単位体内で電極と分離膜が互いに結合された結合力と異なる結合力で隣接した基本単位体と結合され得る。
参考までに、分離膜が前述のコーティング層を含む場合、分離膜に対する超音波融着は好ましくない。分離膜は、通常電極より大きい。これに伴い、第1分離膜112の末端と第2分離膜114の末端とを超音波融着で互いに結合させようとする試みがあり得る。ところが、超音波融着は、ホーンで対象を直接加圧する必要がある。しかし、ホーンで分離膜の末端を直接加圧すれば、接着力を有するコーティング層により分離膜にホーンがくっつくことがある。これにより、装置の故障が齎され得る。
[基本単位体の変形]
今まで互いに同一の大きさを有する基本単位体のみを説明した。しかし、基本単位体は互いに異なる大きさを有することもある。互いに異なる大きさを有する基本単位体を積層すれば、単位体スタック部を多様な形状に製造することができる。ここで、基本単位体の大きさは、分離膜の大きさを基準に説明する。通常、分離膜が電極より大きいためである。
図9と図10を参照してより詳述すれば、基本単位体は複数個に設けられて互いに異なる大きさを有する少なくとも2つのグループに分けられ得る(図10の図面符号1101a、1102a、1103aを参照)。このような基本単位体等を大きさに従って積層すれば、複数段の構造を有する単位体スタック部100cが形成され得る。図9と図10は、3つのグループに分けられる基本単位体1101a、1102a、1103aが互いに同一の大きさの基本単位体どうし積層されて3つの段を形成した例を示している。参考までに、1つのグループに属する基本単位体等が2つ以上の段を形成しても構わない。
ところが、このように複数段を形成する場合、基本単位体は前述の4層構造や 4層構造が繰り返して積層された構造、すなわち第1基本単位体の構造を有するのが最も好ましい。(本明細書で基本単位体等が互いに積層構造が同一であれば、互いに大きさが異なるとしても1種の基本単位体に属するものとみなす。)
これに対し詳述すれば、1つの段で正極と負極は互いに同数ほど積層されることが好ましい。また、段と段との間で互いに逆の電極が分離膜を介して互いに対向することが好ましい。ところが、例えば第2及び第3基本単位体の場合、前記のように1つの段を形成するため2種の基本単位体が必要となる。
しかし、図10に示されているように、第1基本単位体の場合、前記のように1つの段を形成するため1種の基本単位体のみ必要となる。したがって、基本単位体が前述の4層構造や4層構造が繰り返して積層された構造を有すると、複数段を形成するとしても基本単位体の種類数を減少させることができる。
また、例えば、第2及び第3基本単位体の場合、前記のように1つの段を形成するため、2種の基本単位体を少なくとも1つずつ積層する必要があるので、1つの段は最少12層の構造を有することになる。しかし、第1基本単位体の場合、前記のように1つの段を形成するため、1種の基本単位体のみ積層すればいいので、1つの段は最少4層の構造を有することになる。したがって、基本単位体が前述の4層構造や4層構造が繰り返して積層された構造を有すると、複数段を形成する時、各段の厚さを非常に容易に調節することができる。
一方、基本単位体は、互いに異なる大きさを有することもできるだけでなく、互いに異なる幾何学的形状を有することもできる。例えば、図11で示しているように、基本単位体等は大きさだけでなく、角形状において差があり得、穿孔の有無において差があり得る。より具体的に、図11で示しているように、3つのグループに分けられる基本単位体等が互いに同一の幾何学的形状の基本単位体どうし積層されて3つの段を形成することもできる。このために基本単位体は、少なくとも2つのグループ(各グループは、互いに異なる幾何学的形状を有する)に分けられ得る。この時も同様に、基本単位体は前述の4層構造や4層構造が繰り返して積層された構造、すなわち第1基本単位体の構造を有するのが最も好ましい。(本明細書で基本単位体等が互いに積層構造が同一であれば、互いに幾何学的形状が異なるとしても1種の基本単位体に属するものとみなす。)
[補助単位体]
単位体スタック部は、第1補助単位体と第2補助単位体のうち少なくともいずれか1つをさらに含むことができる。先ず、第1補助単位体に対して検討してみる。本発明における基本単位体は、一側末端に電極が位置し、他側末端に分離膜が位置する。したがって、基本単位体を順次積層すれば、単位体スタック部の最も上側や最も下側に電極(図12で図面符号116の電極を参照、以下「末端電極」と記す)が位置することになる。第1補助単位体は、このような末端電極に追加して積層される。
より具体的に、末端電極116が正極であれば、第1補助単位体130aは図12で示しているように、末端電極116から順に、すなわち末端電極116から外側へ分離膜114、負極113、分離膜112及び正極111が順次積層されて形成され得る。また、末端電極116が負極であれば、第1補助単位体130bは図13で示しているように、末端電極116から順に、すなわち末端電極116から外側へ分離膜114及び正極113が順次積層されて形成され得る。
単位体スタック部100d、100eは、図12と図13に示されているように、第1補助単位体130a、130bを介して末端電極側の最外側に正極を位置させることができる。この時、最外側に位置する正極、すなわち第1補助単位体の正極は、集電体の両面のうち基本単位体に対向する一面(図12を基準に下側を向く一面)のみに活物質層がコーティングされることが好ましい。このように活物質層がコーティングされると、末端電極側の最外側に活物質層が位置しなくなるので、活物質層の無駄遣いを防止することができる。参考までに、正極は (例えば) リチウムイオンを放出する構成なので、最外側に正極を位置させると電池容量において有利である。
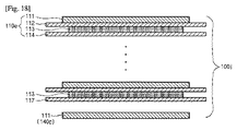
次に、第2補助単位体に対して検討してみる。第2補助単位体は、基本的に第1補助単位体と同様の役割を果たす。より詳述する。本発明における基本単位体は、一側末端に電極が位置し、他側末端に分離膜が位置する。したがって、基本単位体を順次積層すれば、単位体スタック部の最上側や最下側に分離膜(図14で図面符号117の分離膜を参照、以下「末端分離膜」と記す)が位置することになる。第2補助単位体は、このような末端分離膜に追加して積層される。
より具体的に、基本単位体で末端分離膜117に接した電極113が正極であれば、第2補助単位体140aは、図14で示しているように、末端分離膜117から順に負極111、分離膜112及び正極113が積層されて形成され得る。また、基本単位体で末端分離膜117に接した電極113が負極であれば、第2補助単位体140bは、図15で示しているように正極111に形成され得る。
単位体スタック部100f、100gは、図14と図15に示されているように、第2補助単位体140a、140bを介して末端分離膜側の最外側に正極を位置させることができる。この際、最外側に位置する正極、すなわち第2補助単位体の正極も第1補助単位体の正極と同様に、集電体の両面のうち基本単位体に対向する一面(図14を基準に上側を向く一面)のみに活物質層がコーティングされることが好ましい。
ところが、第1補助単位体と第2補助単位体とは、前述の構造と異なる構造を有することもできる。先ず、第1補助単位体に対し検討してみる。図16で示しているように、末端電極116が正極であれば、第1補助単位体130cは分離膜114及び負極113が末端電極116から順次積層されて形成され得る。また、図17に示されているように、末端電極116が負極であれば、第1補助単位体130dは分離膜114、正極113、分離膜112及び負極111が、末端電極116から順次積層されて形成され得る。
単位体スタック部100h、100iは、図16と図17に示されているように、第1補助単位体130c、130dを介して末端電極側の最外側に負極を位置させることができる。
次に、第2補助単位体に対して検討してみる。図18で示しているように、基本単位体で末端分離膜117に接した電極113が正極であれば、第2補助単位体140cは負極111に形成され得る。また、図19で示しているように、基本単位体で末端分離膜117に接した電極113が負極であれば、第2補助単位体140dは正極111、分離膜112及び負極13が末端分離膜117から順次積層されて形成され得る。単位体スタック部100j、100kは、図18と図19に示しているように、第2補助単位体140c、140dを介して末端分離膜側の最外側に負極を位置させることができる。
参考までに、負極は、電位差により電池ケース(例えば、パウチ型ケース)のアルミニウム層と反応を引き起こし得る。したがって、負極は分離膜を介して電池ケースから絶縁されることが好ましい。このため、図16から図19において、第1及び第2補助単位体は負極の外側に分離膜をさらに含むこともできる。例えば、図16の第1補助単位体130cに比べ、図20の第1補助単位体130eは最外側に分離膜112をさらに含むこともできる。参考までに、補助単位体が分離膜を含めば、補助単位体を基本単位体に整列する時に一層容易である。
一方、図21で示しているように、単位体スタック部100mを形成することもできる。基本単位体110bは、下側から上側へ第1電極111、第1分離膜112、第2電極113及び第2分離膜114が順次積層されて形成され得る。この際、第1電極111は正極であってもよく、第2電極113は負極であってもよい。
また、第1補助単位体130fは、分離膜114、負極113、分離膜112及び正極111が末端電極116から順次積層されて形成され得る。この際、第1補助単位体130fの正極111は、集電体の両面のうち基本単位体110bに対向する一面のみに活物質層が形成され得る。
また、第2補助単位体140eは、末端分離膜117から順次正極(第1正極)111、分離膜112、負極113、分離膜114及び正極(第2正極)118が積層されて形成され得る。この際、第2補助単位体140eの正極のうち最外側に位置した正極(第2正極)118は、集電体の両面のうち基本単位体110bに対向する一面のみに活物質層が形成され得る。
最後に、図22で示しているように、単位体スタック部100nを形成することもできる。基本単位体110eは、上側から下側へ第1電極111、第1分離膜112、第2電極113及び第2分離膜114が積層されて形成され得る。この際、第1電極111は負極であってもよく、第2電極113は正極であってもよい。 また、第2補助単位体140fは負極111、分離膜112、正極113、分離膜114及び負極119が末端分離膜117から順次積層されて形成され得る。
今まで、基本単位体の構造と、基本単位体に積層され得る補助単位体と、複数層積層された基本単位体を有する単位体スタック部の構造とに対し検討してみたので、便宜上図2に示された第1基本単位体を例に挙げて、基本単位体自体でシール部(A)を形成するか、単位体スタック部で一斉にシール部(A)を形成し、最終的に単位体スタック部(電極組立体)を製造することに対し説明する。
電極組立体は、単位体スタック部自体又は単位体スタック部の周りに固定用テープを取り巻いたものに該当することができる。したがって、本発明に係る電極組立体は、互いに同一な個数の電極と分離膜とが交互に積層された構造を有する1種の基本単位体が繰り返して積層された構造を有するか、互いに同一な個数の電極と分離膜とが交互に積層された構造を有する2種以上の基本単位体が定められた順に従い積層された構造を有する単位体スタック部を備える。
図23は、図2に示された基本単位体の第1構造の上部に分離膜を積層した状態を示す断面図であり、図24は、図2に示された基本単位体の第1構造を二回積層し、最上層をなしている電極上に分離膜を積層した状態を示す断面図である。
図23及び図24に示されたように、単位体スタック部の最上層をなしている電極上には分離膜(S)がさらに積層され、最上層電極の上面と最下層電極の下面とが分離膜で覆われることになる。一方、図23及び図24に示された単位体スタック部の上下を覆した時を基準にすれば、単位体スタック部の最下層をなしている電極上にさらに分離膜(S)が積層されるとみることができる。
図23又は図24の状態で互いに隣接した分離膜等の縁部を互いに当接させて加熱及び加圧すれば、分離膜等の縁部どうし互いに付着し、これにより、図25及び図26に示されたシール部(A)が形成される。
一方、電極組立体を製造する時は、1つの基本単位体に含まれた分離膜等の縁部を互いに付着してシール部(A)を形成することもでき、これとは別に基本単位体を積層して(勿論、補助単位体も共に積層することができる) 単位体スタック部を形成した後、単位体スタック部全体に含まれた分離膜等の縁部を互いに付着してシール部(A)を形成することもできる。
以下では、本発明に係る電極組立体の製造方法の一例に対しさらに詳しく説明する。
先ず、同一な個数の電極と分離膜とが交互に積層された構造を有する1種の基本単位体や、互いに同一な個数の電極と分離膜とが交互に積層された構造を有する2種以上の基本単位体を製造する段階(S10)を行う。
次に、1つの基本単位体に含まれた分離膜等の縁部を互いに当接させたまま、熱と圧力を加えてシール部(A)を形成する段階(S20)を行う。
次に、S10段階及びS20段階が行われた1種の基本単位体を繰り返して積層するか、S10段階及びS20段階が行われた2種以上の基本単位体を定められた順に従い積層して単位体スタック部を製造する段階(S22)を行う。
このように、S10段階、S20段階、S22段階を順に行うと、基本単位体ごとに分離膜等の縁部がシール部(A)をなすようにした後、このような基本単位体等を積層した構造を有する単位体スタック部(電極組立体)を製造することができる。
本発明に係る電極組立体の製造方法の他の例は、先ずS10段階が行われることは前記一例と同一であるが、その次に1種の基本単位体を繰り返して積層するか、2種以上の基本単位体を定められた順に従い積層して単位体スタック部を製造する段階(S14)を行い、その次に単位体スタック部に含まれた分離膜等の縁部を互いに当接させたまま、熱と圧力を加えてシール部(A)を形成する段階(S30)を行う。
このようにS10段階、S14段階、S30段階を順に行うと、基本単位体等に備えられた分離膜等の縁部をシール部(A)としていない状態で、先ず基本単位体等を積層して単位体スタック部を製作し、単位体スタック部に含まれた全ての分離膜の縁部を一斉にシール部(A)に形成することになる。
図4に示されたように、第1基本単位体を積層して単位体スタック部を製造するとの仮定の下、図4の最上側に位置した第1基本単位体の最上側電極に追加的な分離膜(S)を積層する段階を行うと、最上面と最下面が全て分離膜となる単位体スタック部を製造することができる。
一方、S20段階またはS30段階でシール部(A)を形成するため、互いに隣接した分離膜等の縁部に加えられる熱と圧力は、それぞれ50℃〜100℃と10gf/cm2〜20gf/cm2であることが好ましい。また、S20段階またはS30段階は、単に互いに隣接した分離膜等の縁部に3〜5秒間熱と圧力を加えることにより行われてもよく、これだけでもシール部(A)が十分形成され得る。
したがって、シール部(A)を形成する段階(S20、S30)により、電極組立体の製造時間が有意義に上昇することはない。
正極及び負極を分離膜に付着するには約100Kgf/cm2の圧力が必要であるが、 シール部(A)を形成するため分離膜等の縁部に加えられる圧力は、上述のように10gf/cm2〜20gf/cm2であれば十分である。したがって、正極及び負極を分離膜に付着する圧力より遥かに低い圧力でもシール部(A)を形成することができる。
以下では、 本発明に係る電極組立体の効果を検証するために行った実験に対し説明する。
<比較例>
分離膜の縁部が重畳していない場合であって、150℃で30分間加熱した結果、20〜24%の収縮率を示すものと確認された。
<実験例1>
分離膜の縁部が重畳しているものの、分離膜の縁部どうし互いに付着されていないため、シール部(A)が形成されてはいない場合に該当し、150℃で30分間加熱した結果、 16〜18%の収縮率を示すものと確認された。
<実験例2>
分離膜の縁部が互いに付着してシール部(A)をなす場合に該当し、150℃で30分間加熱した結果、 9〜12%の収縮率を示すものと確認された。
実験例1と比較例を比較すると、分離膜の縁部が互いに接触しないまま別に正極及び負極の間に積層されていることに比べ、分離膜の縁部が重畳している状態で分離膜の収縮率が減少するとのことが分かる。
また、実験例2と実験例1を比較すると、分離膜の縁部が単に2重に重畳している状態に比べ、分離膜の縁部が重畳する上に互いに付着してシールされた状態では、分離膜の収縮率がさらに減少するとのことを確認することができる。
結局、本発明に係る電極組立体は、分離膜が重畳していることによる収縮率減少効果と、分離膜が互いに付着したことによる収縮率減少効果とが加わり、分離膜の収縮率が非常に減少するとの効果がある。
したがって、本発明の場合、正極と負極が互いに短絡される危険が低く、よって、従来の技術に比べて電極組立体の安定性が向上するとの長所がある。また、 従来の技術と同一な大きさまたは多少小さな大きさの分離膜を用いながらも、従来の技術より安定性が向上した電極組立体を製造することができる。
また、従来の技術と同等な程度の安定性を有する電極組立体を製造するために必要な分離膜の面積は従来の技術より小さいので、二次電池の体積を減少させることができる。
さらに、従来の技術に比べ狭い面積の分離膜を用いることができるため、電極組立体の製造コストを低減させることができるとの効果がある。
以上において本発明は、たとえ限定された実施例と図により説明されたが、本発明はこれにより限定されず、本発明の属する技術分野で通常の知識を有する者により、本発明の技術思想と特許請求の範囲の均等範囲内で多様な修正及び変形が可能なことは勿論である。

Claims (21)

  1. (a)互いに同一な個数の電極と分離膜が前記分離膜を挟み隣接する前記電極同士、互いに逆の極性を有する形態に交互に配置されて一体に結合された1種の基本単位体が繰り返して配置された構造、又は (b) 互いに同一な個数の電極と分離膜が前記分離膜を挟み隣接する前記電極同士、互いに逆の極性を有する形態に交互に配置されて一体に結合された2種以上の基本単位体が定められた順に従い配置された構造を有する単位体スタック部を備え、
    前記 (a)の1種の基本単位体に対し、前記電極は第1電極及び第2電極を含み、前記分離膜は第1分離膜及び第2分離膜を含んで、前記1種の基本単位体は、前記第1電極、前記第1分離膜、前記第2電極及び前記第2分離膜が順次配置された4層構造又は前記4層構造が繰り返して配置された構造を有し、
    前記(b)の2種以上の基本単位体をそれぞれ1個ずつ定められた順に従い配置すれば、前記4層構造が繰り返して積層された構造が形成され、
    前記分離膜は、縁部が前記電極と分離膜の外側へ露出されるように前記電極よりさらに大きいサイズを有し、
    1つの基本単位体に含まれた分離膜の縁部が互いに付着されてシール部をなすか、前記単位体スタック部に含まれた分離膜の縁部が互いに付着されてシール部をなし、
    前記電極は、それぞれの基本単位体内で隣接した分離膜に接着され、
    前記基本単位体内で前記電極と前記隣接した分離膜との間の接着力は、前記単位体スタック部内で前記基本単位体間の接着力より大きく、
    前記単位体スタック部は、最上側または最下側に位置する電極である末端電極に積層される第1補助単位体をさらに含み、
    前記末端電極が正極の際、前記第1補助単位体は前記末端電極から順に分離膜、負極、分離膜及び正極が積層されて形成され、
    前記末端電極が負極の際、前記第1補助単位体は前記末端電極から順に分離膜及び正極が積層されて形成されることを特徴とする電極組立体。
  2. 前記単位体スタック部の最上層又は最下層をなしている電極上に、追加して積層された分離膜をさらに含むことを特徴とする請求項1記載の電極組立体。
  3. 前記 (a)の 1種の基本単位体は、前記4層構造や前記4層構造が繰り返して配置された構造を有する第1基本単位体を含み、
    前記単位体スタック部は、前記第1基本単位体が繰り返して配置された構造を有することを特徴とする請求項1記載の電極組立体。
  4. 前記(b)の2種以上の基本単位体は、
    第1電極、第1分離膜、第2電極、第2分離膜、第1電極及び第1分離膜が順に配置されて一体に結合された第2基本単位体と、
    第2電極、第2分離膜、第1電極、第1分離膜、第2電極及び第2分離膜が順に配置されて一体に結合された第3基本単位体とを含み、
    前記単位体スタック部は、前記第2基本単位体と前記第3基本単位体が交互に配置された構造を有することを特徴とする請求項1記載の電極組立体。
  5. 前記 (a)の1種の基本単位体は、複数個設けられて互いに異なる大きさを有する少なくとも2つのグループに分けられ、
    前記単位体スタック部は、前記 (a)の1種の基本単位体が大きさに従い積層され、複数段を形成した構造を有することを特徴とする請求項1記載の電極組立体。
  6. 前記 (a)の1種の基本単位体は、複数個設けられて互いに異なる幾何学的形状を有する少なくとも2つのグループに分けられ、
    前記単位体スタック部は、前記 (a)の1種の基本単位体が幾何学的形状に従い積層され、複数段を形成した構造を有することを特徴とする請求項1記載の電極組立体。
  7. 前記電極は、前記隣接した分離膜に対向する面で全体的に前記隣接した分離膜に接着されることを特徴とする請求項1記載の電極組立体。
  8. 前記分離膜は、多孔性の分離膜基材、及び前記分離膜基材の一面又は両面に全体的にコーティングされる多孔性のコーティング層を含み、
    前記コーティング層は、無機物粒子と前記無機物粒子を互いに連結及び固定するバインダー高分子の混合物で形成され、
    前記電極は、前記コーティング層により前記隣接した分離膜に接着されることを特徴とする請求項1記載の電極組立体。
  9. 前記無機物粒子は、充填構造(densely packed structure)をなして前記コーティング層で全体的に無機物粒子の間のインタースティシャルボリューム(interstitial volumes)を形成し、前記無機物粒子が限定するインタースティシャルボリュームにより前記コーティング層に気孔構造が形成されることを特徴とする請求項8記載の電極組立体。
  10. 前記第1補助単位体の正極は、
    集電体; 及び
    前記集電体の両面のうち前記基本単位体に対向する一面のみにコーティングされる活物質を備えることを特徴とする請求項記載の電極組立体。
  11. 前記単位体スタック部は、最上側又は最下側に位置する分離膜である末端分離膜に積層される第2補助単位体をさらに含み、
    前記基本単位体で前記末端分離膜に接した電極が正極の際、前記第2補助単位体は前記末端分離膜から順に負極、分離膜及び正極が積層されて形成され、
    前記基本単位体で前記末端分離膜に接した電極が負極の際、第2補助単位体は正極に形成されることを特徴とする請求項1記載の電極組立体。
  12. 前記第2補助単位体の正極は、
    集電体; 及び
    前記集電体の両面のうち前記基本単位体に対向する一面のみにコーティングされる活物質を備えることを特徴とする請求項11記載の電極組立体。
  13. 前記単位体スタック部は、最上側又は最下側に位置する分離膜である末端分離膜に積層される第2補助単位体をさらに含み、
    前記基本単位体で前記末端分離膜に接した電極が正極の際、前記第2補助単位体は負極に形成され、
    前記基本単位体で前記末端分離膜に接した電極が負極の際、前記第2補助単位体は前記末端分離膜から順に正極、分離膜及び負極が積層されて形成されることを特徴とする請求項1記載の電極組立体。
  14. 前記第2補助単位体は、前記負極の外側に分離膜をさらに含むことを特徴とする請求項13記載の電極組立体。
  15. 前記単位体スタック部は、最上側又は最下側に位置する分離膜である末端分離膜に積層される第2補助単位体をさらに含み、
    前記基本単位体で前記末端分離膜に接した電極が負極の際、前記第2補助単位体は前記末端分離膜から順に第1正極、分離膜、負極、分離膜及び第2正極が積層されて形成されることを特徴とする請求項1記載の電極組立体。
  16. 前記第2補助単位体の第2正極は、
    集電体; 及び
    前記集電体の両面のうち前記基本単位体に対向する一面のみにコーティングされる活物質を備えることを特徴とする請求項15記載の電極組立体。
  17. 前記単位体スタック部は、最上側又は最下側に位置する分離膜である末端分離膜に積層される第2補助単位体をさらに含み、
    前記基本単位体で前記末端分離膜に接した電極が正極の際、前記第2補助単位体は前記末端分離膜から順に第1負極、分離膜、正極、分離膜及び第2負極が積層されて形成されることを特徴とする請求項1記載の電極組立体。
  18. 互いに同一な個数の電極と分離膜が前記分離膜を挟み隣接する前記電極同士、互いに逆の極性を有する形態に交互に積層された構造を有する1種の基本単位体、又は互いに同一な個数の電極と分離膜が前記分離膜を挟み隣接する前記電極同士、互いに逆の極性を有する形態に交互に積層された構造を有する2種以上の基本単位体を製造する段階(S10);
    1つの基本単位体に含まれた分離膜の縁部を互いに当接させたまま、熱と圧力を加えてシール部を形成する段階(S20); 及び
    前記S10段階及びS20段階が行われた前記1種の基本単位体を繰り返して積層するか、前記S10段階及びS20段階が行われた前記2種以上の基本単位体を定められた順に従い積層して単位体スタック部を製造する段階(S22);を含み、
    前記1種の基本単位体に対し、前記電極は第1電極及び第2電極を含み、前記分離膜は第1分離膜及び第2分離膜を含んで、前記1種の基本単位体は、前記第1電極、前記第1分離膜、前記第2電極及び前記第2分離膜が順次積層された4層構造や前記4層構造が繰り返して積層された構造を有し、
    前記2種以上の基本単位体をそれぞれ1個ずつ定められた順に従い積層すれば、 前記4層構造が繰り返して積層された構造が形成され、
    前記電極は、それぞれの基本単位体内で隣接した分離膜に接着され、
    前記基本単位体内で前記電極と前記隣接した分離膜との間の接着力は、前記単位体スタック部内で前記基本単位体間の接着力より大きく、
    前記単位体スタック部は、最上側または最下側に位置する電極である末端電極に積層される第1補助単位体をさらに含み、
    前記末端電極が正極の際、前記第1補助単位体は前記末端電極から順に分離膜、負極、分離膜及び正極が積層されて形成され、
    前記末端電極が負極の際、前記第1補助単位体は前記末端電極から順に分離膜及び正極が積層されて形成される
    ことを特徴とする電極組立体の製造方法。
  19. 互いに同一な個数の電極と分離膜が前記分離膜を挟み隣接する前記電極同士、互いに逆の極性を有する形態に交互に積層された構造を有する1種の基本単位体、又は互いに同一な個数の電極と分離膜が前記分離膜を挟み隣接する前記電極同士、互いに逆の極性を有する形態に交互に積層された構造を有する 2種以上の基本単位体を製造する段階(S10);
    前記1種の基本単位体を繰り返して積層するか、前記2種以上の基本単位体を定められた順に従い積層して単位体スタック部を製造する段階(S14); 及び
    前記単位体スタック部に含まれた分離膜の縁部を互いに当接させたまま、熱と圧力を加えてシール部を形成する段階(S30);を含み、
    前記1種の基本単位体に対し、前記電極は第1電極及び第2電極を含み、前記分離膜は第1分離膜及び第2分離膜を含んで、前記1種の基本単位体は、前記第1電極、前記第1分離膜、前記第2電極及び前記第2分離膜が順次積層された4層構造や前記4層構造が繰り返して積層された構造を有し、
    前記2種以上の基本単位体をそれぞれ1個ずつ定められた順に従い積層すれば、前記4層構造が繰り返して積層された構造が形成され、
    前記電極は、それぞれの基本単位体内で隣接した分離膜に接着され、
    前記基本単位体内で前記電極と前記隣接した分離膜との間の接着力は、前記単位体スタック部内で前記基本単位体間の接着力より大きく、
    前記単位体スタック部は、最上側または最下側に位置する電極である末端電極に積層される第1補助単位体をさらに含み、
    前記末端電極が正極の際、前記第1補助単位体は前記末端電極から順に分離膜、負極、分離膜及び正極が積層されて形成され、
    前記末端電極が負極の際、前記第1補助単位体は前記末端電極から順に分離膜及び正極が積層されて形成される
    ことを特徴とする電極組立体の製造方法。
  20. 前記S20段階は、互いに隣接した分離膜の縁部に50°C〜100°Cの熱と、10gf/cm2〜20gf/cm2の圧力とを加えることによって行われることを特徴とする請求項18記載の電極組立体の製造方法。
  21. 前記S20段階は、互いに隣接した分離膜の縁部に3〜5秒間熱と圧力を加えることにより行われることを特徴とする請求項18記載の電極組立体の製造方法。
JP2015529706A 2013-02-15 2014-02-17 安定性が向上した電極組立体及びその製造方法 Active JP6232069B2 (ja)

Applications Claiming Priority (5)

Application Number Priority Date Filing Date Title
KR20130016512 2013-02-15
KR10-2013-0016512 2013-02-15
PCT/KR2014/001268 WO2014126432A1 (ko) 2013-02-15 2014-02-17 안전성이 향상된 전극 조립체 및 그 제조방법
KR10-2014-0017701 2014-02-17
KR1020140017701A KR101595644B1 (ko) 2013-02-15 2014-02-17 안전성이 향상된 전극 조립체 및 그 제조방법

Publications (2)

Publication Number Publication Date
JP2015531155A JP2015531155A (ja) 2015-10-29
JP6232069B2 true JP6232069B2 (ja) 2017-11-15

Family

ID=51747585

Family Applications (1)

Application Number Title Priority Date Filing Date
JP2015529706A Active JP6232069B2 (ja) 2013-02-15 2014-02-17 安定性が向上した電極組立体及びその製造方法

Country Status (7)

Country Link
US (3) US10084200B2 (ja)
EP (1) EP2958179B1 (ja)
JP (1) JP6232069B2 (ja)
KR (1) KR101595644B1 (ja)
CN (1) CN104854752B (ja)
TW (1) TWI520405B (ja)
WO (1) WO2014126432A1 (ja)

Families Citing this family (31)

* Cited by examiner, † Cited by third party
Publication number Priority date Publication date Assignee Title
KR101561735B1 (ko) * 2013-09-25 2015-10-19 주식회사 엘지화학 전극조립체 제조방법
KR101609424B1 (ko) * 2013-09-26 2016-04-05 주식회사 엘지화학 전극조립체의 제조방법
KR101619604B1 (ko) * 2013-09-26 2016-05-10 주식회사 엘지화학 전극조립체 및 이차전지의 제조방법
KR101826142B1 (ko) * 2015-08-27 2018-02-07 삼성에스디아이 주식회사 전극 조립체 및 그 제조 방법과 이차 전지
KR102050023B1 (ko) * 2015-09-07 2019-11-28 주식회사 엘지화학 전극조립체의 제조방법, 그 전극조립체 및 이를 포함하는 이차전지
KR102261176B1 (ko) * 2015-11-26 2021-06-07 주식회사 엘지에너지솔루션 이차전지의 제조방법
DE102016218495A1 (de) * 2016-09-27 2018-03-29 Robert Bosch Gmbh Verfahren zur Herstellung eines Elektrodenstapels für eine Batteriezelle und Batteriezelle
DE102016218496A1 (de) 2016-09-27 2018-03-29 Robert Bosch Gmbh Verfahren zur Herstellung einer Elektrodeneinheit für eine Batteriezelle und Elektrodeneinheit
JP6787241B2 (ja) 2017-04-28 2020-11-18 トヨタ自動車株式会社 電極積層体及び電池の製造方法
CN107482163A (zh) * 2017-07-11 2017-12-15 多氟多(焦作)新能源科技有限公司 一种电极组件单元、电极组件的制造方法及电池单体
EP3454404B1 (en) * 2017-09-12 2021-06-23 Robert Bosch GmbH Method for joining an electrode stack
DE102017216138A1 (de) 2017-09-13 2019-03-14 Robert Bosch Gmbh Verfahren zur Herstellung eines Elektrodenstapels für eine Batteriezelle und Batteriezelle
KR101837724B1 (ko) 2017-11-15 2018-03-12 이소라 적층식 이차전지 제조방법
EP3486989A1 (en) * 2017-11-15 2019-05-22 Lee, Sora Manufacturing method for laminated secondary battery
KR102254264B1 (ko) * 2018-02-01 2021-05-21 주식회사 엘지에너지솔루션 전극조립체 및 이의 제조 방법
JP7037992B2 (ja) * 2018-04-09 2022-03-17 日産自動車株式会社 電池の製造方法
DE102018215070A1 (de) 2018-09-05 2020-03-05 Gs Yuasa International Ltd. Verfahren zur Bildung eines Elektrodenstapels
KR102314631B1 (ko) * 2018-09-19 2021-10-20 주식회사 엘지에너지솔루션 전극조립체
JP7156046B2 (ja) * 2019-01-14 2022-10-19 トヨタ自動車株式会社 積層体プレス装置、プレス済み帯状積層体の製造方法、積層型電極体の製造方法、及び、電池の製造方法
CN109888360B (zh) * 2019-01-26 2021-08-27 温在东 叠片电芯结构及适于其分体式叠片、贴胶的生产方法
KR102841898B1 (ko) * 2019-03-26 2025-08-04 주식회사 엘지에너지솔루션 전극조립체 및 그 전극조립체 제조용 라미네이션 장치 및 그 전극조립체의 제조 방법
CN110277590B (zh) * 2019-06-28 2022-04-12 蜂巢能源科技有限公司 用于电芯制造的叠片方法和电芯极组制造装备
CN110265731A (zh) * 2019-07-15 2019-09-20 东莞市超鸿自动化设备有限公司 摇摆式切叠一体机
KR102872284B1 (ko) * 2019-11-26 2025-10-16 주식회사 엘지에너지솔루션 전극조립체 및 그 제조방법
FR3109673B1 (fr) * 2020-04-22 2022-08-12 Pellenc Energy Composant à reliefs de rétention de matière active pour accumulateur d’énergie électrique, accumulateur d’énergie électrique utilisant le composant et procédé de fabrication
US12482850B2 (en) 2020-07-17 2025-11-25 Lg Energy Solution, Ltd. Separator sealing device and apparatus for manufacturing unit cell using the same
KR102666729B1 (ko) * 2021-03-22 2024-05-16 주식회사 엘지에너지솔루션 전극 조립체 및 이를 포함하는 이차전지
WO2022224596A1 (ja) * 2021-04-23 2022-10-27 株式会社村田製作所 非水電解質二次電池
EP4503220A4 (en) * 2022-03-31 2025-06-11 Ningde Amperex Technology Limited Electrochemical device and electronic device
WO2024049096A1 (ko) * 2022-08-29 2024-03-07 주식회사 엘지에너지솔루션 전극 조립체 제조 방법 및 전극 조립체
KR20240082069A (ko) * 2022-12-01 2024-06-10 주식회사 엘지에너지솔루션 전극조립체 및 그 전극조립체를 포함하는 이차전지

Family Cites Families (32)

* Cited by examiner, † Cited by third party
Publication number Priority date Publication date Assignee Title
DE69728410T2 (de) * 1996-08-08 2005-05-04 William Marsh Rice University, Houston Makroskopisch manipulierbare, aus nanoröhrenanordnungen hergestellte vorrichtungen
JP2001028275A (ja) * 1999-06-25 2001-01-30 Mitsubishi Chemicals Corp 立体自由形状バッテリー装置
JP3611765B2 (ja) * 1999-12-09 2005-01-19 シャープ株式会社 二次電池及びそれを用いた電子機器
KR100515572B1 (ko) * 2000-02-08 2005-09-20 주식회사 엘지화학 중첩 전기화학 셀 및 그의 제조 방법
KR100515571B1 (ko) 2000-02-08 2005-09-20 주식회사 엘지화학 중첩 전기 화학 셀
KR100497147B1 (ko) 2000-02-08 2005-06-29 주식회사 엘지화학 다중 중첩 전기화학 셀 및 그의 제조방법
JP4644899B2 (ja) 2000-02-23 2011-03-09 ソニー株式会社 電極及び電池、並びにそれらの製造方法
JP2002208442A (ja) * 2001-01-11 2002-07-26 Tdk Corp 電気化学デバイス
KR100440934B1 (ko) 2002-02-06 2004-07-21 삼성에스디아이 주식회사 이차전지
WO2006025662A1 (en) * 2004-09-02 2006-03-09 Lg Chem, Ltd. Organic/inorganic composite porous film and electrochemical device prepared thereby
US20060115718A1 (en) * 2004-11-30 2006-06-01 Delphi Technologies, Inc. Lithium ion polymer multi-cell and method of making
KR100853619B1 (ko) * 2006-01-04 2008-08-25 주식회사 엘지화학 분리막 상단이 밀봉되어 있는 전극조립체 및 이를 포함하는이차전지
TW200743245A (en) 2006-05-01 2007-11-16 Antig Tech Co Ltd Assembly method used in the assembly of flat-plate type membrane electrode assembled layer and its structure
KR100874387B1 (ko) * 2006-06-13 2008-12-18 주식회사 엘지화학 둘 이상의 작동 전압을 제공하는 중첩식 이차전지
WO2008002024A1 (en) 2006-06-26 2008-01-03 Lg Chem, Ltd. Electrode plate for battery cell and process of preparing the same
KR100894408B1 (ko) * 2006-07-10 2009-04-24 주식회사 엘지화학 향상된 안전성의 스택/폴딩형 전극조립체 및 이를 포함하는전기화학 셀
TW200812138A (en) 2006-08-18 2008-03-01 Antig Technology Corp Flat type membrane electrode layer structure
JP5795475B2 (ja) * 2007-07-25 2015-10-14 エルジー・ケム・リミテッド 電気化学素子及びその製造方法
KR101014817B1 (ko) * 2007-12-14 2011-02-14 주식회사 엘지화학 안전 부재를 포함하고 있는 스택/폴딩형 전극조립체 및그것의 제조방법
JP5334162B2 (ja) 2008-09-08 2013-11-06 Necエナジーデバイス株式会社 積層型二次電池
KR101016650B1 (ko) 2008-10-17 2011-02-25 주식회사 케이티 데이터 서비스 제공 제어 방법 및 장치
WO2010100979A1 (ja) * 2009-03-05 2010-09-10 日産自動車株式会社 双極型二次電池及びその製造方法
KR101024927B1 (ko) 2009-07-30 2011-03-31 노바테크인더스트리 주식회사 에칭 공정에서의 세정 방법
KR101103499B1 (ko) 2009-10-07 2012-01-06 에스케이이노베이션 주식회사 전지용 전극조립체 및 그 제조방법
KR101084909B1 (ko) * 2009-12-07 2011-11-17 삼성에스디아이 주식회사 전극조립체블록 및 그 제조 방법, 이차전지 및 그 제조 방법
US8486160B2 (en) * 2009-12-17 2013-07-16 Samsung Sdi Co., Ltd. Rechargeable battery
JP2011210524A (ja) * 2010-03-30 2011-10-20 Sanyo Electric Co Ltd 積層式電池
KR101163053B1 (ko) * 2010-04-06 2012-07-05 주식회사 엘지화학 스택 타입 셀, 개선된 바이-셀, 이들을 이용한 이차 전지용 전극 조립체 및 그 제조 방법
KR101217780B1 (ko) * 2010-10-19 2013-01-02 주식회사 엘지화학 케이블형 이차전지
WO2012060604A2 (ko) 2010-11-01 2012-05-10 주식회사 아모그린텍 내열성 분리막, 전극 조립체 및 이를 이용한 이차 전지와 그 제조방법
US20120189894A1 (en) * 2011-01-26 2012-07-26 Samsung Sdi Co., Ltd. Electrode assembly and secondary battery including the same
US9318733B2 (en) * 2012-12-27 2016-04-19 Lg Chem, Ltd. Electrode assembly of stair-like structure

Also Published As

Publication number Publication date
EP2958179A4 (en) 2016-09-07
WO2014126432A1 (ko) 2014-08-21
TWI520405B (zh) 2016-02-01
US10084200B2 (en) 2018-09-25
KR101595644B1 (ko) 2016-02-26
CN104854752A (zh) 2015-08-19
EP2958179B1 (en) 2017-06-21
EP2958179A1 (en) 2015-12-23
US20180254504A1 (en) 2018-09-06
US20140363727A1 (en) 2014-12-11
US11171353B2 (en) 2021-11-09
US10811722B2 (en) 2020-10-20
TW201501387A (zh) 2015-01-01
CN104854752B (zh) 2018-07-06
JP2015531155A (ja) 2015-10-29
US20200381763A1 (en) 2020-12-03
KR20140103086A (ko) 2014-08-25

Similar Documents

Publication Publication Date Title
JP6232069B2 (ja) 安定性が向上した電極組立体及びその製造方法
JP5987119B2 (ja) 電極組立体の製造方法
CN104685690B (zh) 利用胶带的电极组件的固定方法
JP6467440B2 (ja) 電極組立体及びこれを含むポリマー二次電池セル
JP6186071B2 (ja) パウチ型二次電池
KR101595643B1 (ko) 전극조립체 및 이를 포함하는 폴리머 이차전지 셀
KR101624386B1 (ko) 테이프를 이용한 전극조립체의 고정방법
KR101598682B1 (ko) 전극조립체 및 전극조립체 제조방법
JP6275147B2 (ja) 電極組立体
JP6280550B2 (ja) 電極組立体及びこのための基本単位体
KR101810281B1 (ko) 2차 전지 및 그 2차 전지의 제작 방법
KR101747514B1 (ko) 전극 조립체
JP2015526874A (ja) 電極組立体の製造方法
KR20160043754A (ko) 이차 전지

Legal Events

Date Code Title Description
A521 Request for written amendment filed

Free format text: JAPANESE INTERMEDIATE CODE: A821

Effective date: 20150227

A621 Written request for application examination

Free format text: JAPANESE INTERMEDIATE CODE: A621

Effective date: 20150227

A131 Notification of reasons for refusal

Free format text: JAPANESE INTERMEDIATE CODE: A131

Effective date: 20160323

A521 Request for written amendment filed

Free format text: JAPANESE INTERMEDIATE CODE: A523

Effective date: 20160622

A02 Decision of refusal

Free format text: JAPANESE INTERMEDIATE CODE: A02

Effective date: 20160802

A521 Request for written amendment filed

Free format text: JAPANESE INTERMEDIATE CODE: A523

Effective date: 20161201

A521 Request for written amendment filed

Free format text: JAPANESE INTERMEDIATE CODE: A523

Effective date: 20161209

A911 Transfer to examiner for re-examination before appeal (zenchi)

Free format text: JAPANESE INTERMEDIATE CODE: A911

Effective date: 20161214

A912 Re-examination (zenchi) completed and case transferred to appeal board

Free format text: JAPANESE INTERMEDIATE CODE: A912

Effective date: 20170217

A521 Request for written amendment filed

Free format text: JAPANESE INTERMEDIATE CODE: A523

Effective date: 20170901

A61 First payment of annual fees (during grant procedure)

Free format text: JAPANESE INTERMEDIATE CODE: A61

Effective date: 20171020

R150 Certificate of patent or registration of utility model

Ref document number: 6232069

Country of ref document: JP

Free format text: JAPANESE INTERMEDIATE CODE: R150

R250 Receipt of annual fees

Free format text: JAPANESE INTERMEDIATE CODE: R250

R250 Receipt of annual fees

Free format text: JAPANESE INTERMEDIATE CODE: R250

S111 Request for change of ownership or part of ownership

Free format text: JAPANESE INTERMEDIATE CODE: R313111

R350 Written notification of registration of transfer

Free format text: JAPANESE INTERMEDIATE CODE: R350

R250 Receipt of annual fees

Free format text: JAPANESE INTERMEDIATE CODE: R250

R250 Receipt of annual fees

Free format text: JAPANESE INTERMEDIATE CODE: R250

R250 Receipt of annual fees

Free format text: JAPANESE INTERMEDIATE CODE: R250

R250 Receipt of annual fees

Free format text: JAPANESE INTERMEDIATE CODE: R250