JP6229447B2 - 情報処理装置の製造方法及び光学部品取付装置 - Google Patents

情報処理装置の製造方法及び光学部品取付装置 Download PDF

Info

Publication number
JP6229447B2
JP6229447B2 JP2013236466A JP2013236466A JP6229447B2 JP 6229447 B2 JP6229447 B2 JP 6229447B2 JP 2013236466 A JP2013236466 A JP 2013236466A JP 2013236466 A JP2013236466 A JP 2013236466A JP 6229447 B2 JP6229447 B2 JP 6229447B2
Authority
JP
Japan
Prior art keywords
light
substrate
receiving element
correction value
light receiving
Prior art date
Legal status (The legal status is an assumption and is not a legal conclusion. Google has not performed a legal analysis and makes no representation as to the accuracy of the status listed.)
Expired - Fee Related
Application number
JP2013236466A
Other languages
English (en)
Other versions
JP2015097306A (ja
Inventor
淳吾 嶋田
淳吾 嶋田
Current Assignee (The listed assignees may be inaccurate. Google has not performed a legal analysis and makes no representation or warranty as to the accuracy of the list.)
Fujitsu Ltd
Original Assignee
Fujitsu Ltd
Priority date (The priority date is an assumption and is not a legal conclusion. Google has not performed a legal analysis and makes no representation as to the accuracy of the date listed.)
Filing date
Publication date
Application filed by Fujitsu Ltd filed Critical Fujitsu Ltd
Priority to JP2013236466A priority Critical patent/JP6229447B2/ja
Publication of JP2015097306A publication Critical patent/JP2015097306A/ja
Application granted granted Critical
Publication of JP6229447B2 publication Critical patent/JP6229447B2/ja
Expired - Fee Related legal-status Critical Current
Anticipated expiration legal-status Critical

Links

Images

Landscapes

  • Camera Bodies And Camera Details Or Accessories (AREA)
  • Transforming Light Signals Into Electric Signals (AREA)
  • Studio Devices (AREA)

Description

本発明は、情報処理装置の製造方法及び光学部品取付装置に関する。
生体センサや携帯端末などの情報処理装置を製造する場合には、プリント基板に受光素子や、受光素子に光を導く光学レンズなどの光学部品を実装することがある。ここで、光学レンズは、収束させた光を受光素子の所定位置に入射するために用いられる。従って、プリント基板に光学レンズを実装する場合に、光学レンズは、受光素子の位置に合わせて光軸を調整しながらプリント基板に実装する必要がある。このために、プリント基板が反りを有する場合には、プリント基板の反りを矯正した後に光学レンズを実装する必要がある。
ここで、従来のプリント基板の反りを矯正する装置には、プリント基板を保持する挟持部材がヒンジで回動自在に設けられている。さらに、プリント基板のたわみ量を3箇所で測定するセンサを有し、3箇所のたわみ量の差が最小になるように挟持部材を回動させていた。
実開平5−33956号公報
ここで、近年では、プリント基板の板厚が薄くなっており、プリント基板が反り易くなっている。このために、検査などのためにプリント基板にプローブなどを接触させたときに、プローブの接触圧力によってプリント基板が反り、受光素子の向きが変化してしまうことがある。さらに、受光素子や光学レンズの小型化に伴い、光学レンズの取り付け位置にマイクロラジアン単位の高い精度が要求される。これは、光学レンズの取り付け位置に少しの角度ずれが生じても光学レンズを通して撮影した像に収差などが生じてしまうためである。
しかしながら、プリント基板の反りと受光素子の傾きは必ずしも一致しない。このために、プリント基板の反りを測定しても受光素子と光学レンズの位置を高精度に位置合わせすることは困難であった。なお、光学レンズの保持機構に、受光素子の傾斜に合わせて光学レンズの向きを調整する機構を設けると、保持機構の構成が複雑、かつ大型化してしまう。
この発明は、このような事情に鑑みてなされたものであり、プリント基板に実装された受光素子に対して光学部品を高精度に位置決めして実装できるようにすることを目的とする。
実施形態の一観点によれば、受光素子を実装した基板を固定部で保持し、前記受光素子に電力を供給し、前記受光素子に複数の光源から出力させた複数の光を入射させ、複数の前記光の像を前記受光素子で取得し、複数の前記光の像の間の距離を算出し、複数の前記光の像から選択した2つの前記光の像の間の距離と、選択された2つの前記光の像に対応する2つの前記光源の間の距離との差から前記基板の姿勢の補正値を算出し、前記補正値に基づいて前記基板の姿勢を変化させ、複数の前記光の像を基準位置に一致させた後、光学部品を前記基板の所定位置に固定することを含む情報処理装置の製造方法が提供される。
また、実施形態の別の観点によれば、受光素子を実装した基板を保持する固定部と、前記受光素子に電力を供給する入力部材と、前記受光素子に複数の光を入射させる複数の光源と、前記受光素子で取得した複数の前記光の像から選択した2つの前記光の像の間の距離と、選択された2つの前記光の像に対応する2つの前記光源の間の距離との差から前記基板の姿勢の補正値を算出し、前記補正値に基づいて前記基板の姿勢を変化させる制御部と、複数の前記光の像を基準位置に一致させた後、光学部品を前記基板の所定位置に取り付ける部品取付部と、を含むことを特徴とする光学部品取付装置が提供される。
検査用光源に対する受光素子の傾きを検出し、基板の姿勢を調整することにより受光素子の傾きを調整するようにしたので、受光素子と光学部品の光軸を高精度に一致させることができる。
図1は、本発明の実施の形態に係る光学部品取付装置の概略構成の一例を示す図である。 図2は、本発明の実施の形態に係る光学部品取付装置においてプローブピンでプリント基板が変形する場合の一例を示す図である。 図3は、本発明の実施の形態に係る光学部品取付装置において発光素子の配置の一例を説明する図1のA矢視図である。 図4Aは、本発明の実施の形態に係る光学部品取付装置における処理の一例を説明するフローチャートである。 図4Bは、本発明の実施の形態に係る光学部品取付装置における処理の一例を説明するフローチャートである。 図5は、本発明の実施の形態に係る光学部品取付装置において検査用光源から撮像素子に光を照射する工程の一例を説明する図である。 図6は、本発明の実施の形態に係る光学部品取付装置において撮像素子によって取得される画像の一例を示す図である。 図7は、本発明の実施の形態に係る光学部品取付装置において光学レンズをプリント基板に実装する工程の一例を説明する図である。 図8は、本発明の実施の形態に係る光学部品取付装置において撮像素子が傾いている場合の一例を説明する図である。
発明の目的及び利点は、請求の範囲に具体的に記載された構成要素及び組み合わせによって実現され達成される。
前述の一般的な説明及び以下の詳細な説明は、典型例及び説明のためのものであって、本発明を限定するためのものではない。
図1に光学部品取付装置の概略構成について説明する。
光学部品取付装置1は、プリント基板2を載置する基板設置台3を有する。基板設置台3は、例えば、枠形状を有し、その上面にプリント基板2の外縁部が載置される。また、基板設置台3の上方には、プリント基板2を押さ付ける基板固定部4と、検査用光源5が配置されている。基板固定部4は、アクチュエータ11と、アクチュエータ11に連絡されたアーム12とを有する。アクチュエータ11は、例えば、アーム12を回動する機能を有し、アクチュエータ11の回転軸にアーム12の基端部が固定されている。また、アーム12の先端部には、プリント基板2に押し当てられる押圧部材13が取り付けられている。押圧部材13をプリント基板2の上面に押し付けることによって、図2に示すように、基板設置台3との間でプリント基板2を固定することができる。
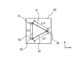
図1のA矢視図である図3に示すように、検査用光源5は、3つの発光素子21,22,23が配置されている。各発光素子21〜23は、プリント基板2に実装された受光素子である撮像素子31上にスポット光を1つずつ形成することができるものが使用される。3つの発光素子21〜23は、例えば、平面視で三角形の各頂点に相当する位置に1つずつ配置されている。より具体的には、第1の発光素子21と第2の発光素子22の中心間距離は、L1である。同様に、第2の発光素子22と第3の発光素子23の中心間距離は、L2である。第3の発光素子23と第1の発光素子21の中心間距離は、L3である。なお、検査用光源5の発光素子21〜23は、4つ以上でも良い。複数の発光素子21〜23は、少なくとも1つの発光素子21〜23が1つの直線上から離れた位置に配置されていれば良い。
さらに、図1に示す光学部品取付装置1は、部品取付部であるレンズ取り付けユニット6を有する。レンズ取り付けユニット6は、例えば、駆動機構部41とレンズ保持部42とを有する。駆動機構部41は、水平方向に移動可能な第1の腕部44と、上下方向に移動可能な第2の腕部45とを有する。第1の腕部44は、水平方向にロッド46Aを進退させるアクチュエータ46を有する。第2の腕部45は、上下方向にロッド47Aを進退させるアクチュエータ47を有する。なお、駆動機構部41には、多関節ロボット等を使用しても良い。
レンズ保持部42は、第2の腕部45のロッド47Aの下端に固定されており、光学部品である光学レンズ51の保持部48を有する。保持部48は、例えば、不図示の吸着部を複数有し、光学レンズ51を吸着保持するように構成されている。また、保持部48は、光学レンズ51を把持する爪を開閉自在に有しても良い。ここで、光学部品である光学レンズ51は、上端が閉塞された円柱形のホルダー52と、ホルダー52の上端の中央に取り付けられたレンズ本体53とを有する。光学レンズ51の種類や、形状、構成は図1に示すものに限定されない。
さらに、光学部品取付装置1は、制御部7を有する。制御部7は、基板固定部4と、検査用光源5と、レンズ取り付けユニット6とに接続されて、各部の制御を行う。さらに、制御部7には、入力部材であるプローブピン61が接続されている。プローブピン61は、不図示のコイルバネなどにより、下側からプリント基板2の不図示の電極パッドに所定の力で押し当てられることにより、プリント基板2に電気的に接続される。プローブピン61は、撮像素子31の電力供給及び撮像素子31からの出力信号の取得に使用される。
また、制御部7は、実施形態に特徴的な機能として、補正値算出部71と、保持制御部72と、撮像制御部73と、取付制御部74とに機能分割できる。補正値算出部71は、プリント基板2の姿勢を制御するときに使用する補正値を算出する保持制御部72は、基板固定部4を制御する。撮像制御部73は、撮像素子31の制御及び撮像素子31で取得した画像を処理する。取付制御部74は、レンズ取り付けユニット6を制御する。制御部7は、例えば、コンピュータに制御プログラムを実行させることにより、各部71〜74の処理を実行するように構成することができる。
なお、受光素子としての撮像素子31としては、CCD(Charge Coupled Device)があげられる。しかしながら、受光素子は、3箇所以上の光の入射位置を特定可能な構成を有すれば良く、CCDに限定されない。
次に、図4のフローチャートを主に参照し、組み立て工程について説明する。
ステップS101では、基板設置台3上にプリント基板2を載せる。ステップS102では、保持制御部72の指令に基づいて基板固定部4がアーム12を回動させ、押圧部材13でプリント基板2を押圧する。これによって、基板固定部4と基板設置台3の間でプリント基板2が把持される。さらに、ステップS103で、撮像制御部73が、プリント基板2の電極パッドにプローブピン61を押し付け、プリント基板2を制御部7に電気的に接続する。このとき、図2に示すように、プローブピン61が下方から押し当てられることによって、プリント基板2の一部が上方に凸となるように変形する。さらに、これに伴って、撮像素子31が初期状態に比べて傾く。この後、ステップS104で、撮像制御部73が、プローブピン61を介してプリント基板2に通電する。これによって、撮像素子31が動作可能になる。
続くステップS105からステップS109で、補正値算出部71が、撮像素子31の姿勢検査を実行する。まず、ステップS105では、図5に示すように、検査用光源5の3つの発光素子21〜23から撮像素子31にスポット光を照射する。撮像素子31は、スポット光を受光することによって画像データを作成する。画像データの信号は、撮像素子31からプリント基板2の不図示の電極パッドに出力され、電極パッドからプローブピン61を介して制御部7に入力される。制御部7は、撮像制御部73で画像データを画像処理し、例えば、図6に示すような発光素子21〜23の像を含む画像80を作成する。画像80には、第1の発光素子21のスポット光の像(第1の像)71と、第2の発光素子22のスポット光の像(第2の像)72と、第3の発光素子23のスポット光の像(第3の像)73とが含まれる。検査用光源5と撮像素子31のそれぞれの光軸が一致している場合、各像81〜83は、基準位置、即ち検査用光源5の各発光素子21〜23の位置と同じ位置に配置される。
ステップS106では、撮像制御部73のデータ処理により、3つのスポット光の像81〜73の中心座標を取得する。ステップS107では、撮像制御部73が、3つのスポット光の像81〜83から選択される2つの像81〜83の中心間の距離を計算する。図6の例では、3つのスポット光の像81〜83から選択される2つの像81〜83の中心間の長さとしてL11,L21,L31が算出される。続くステップS108では、補正値算出部71が、スポット光の像81〜83の中心間の距離と、検査用光源5の各発光素子21〜23の中心間距離L1〜L3とを参照し、撮像素子31の傾きを算出する。ここで、ステップS109において、補正値算出部71が、撮像素子31の傾きがゼロ、即ち、撮像素子31の光軸と検査用光源5の光軸とが一致すると判定した場合には、ステップS113に進む。一方、補正値算出部71が、撮像素子31の光軸と検査用光源5の光軸とが一致していないと判定すれば、姿勢調整が完了していないとみなし、ステップS110に進む。なお、図2の例では、プローブピン61を押し当てることで撮像素子31が傾いているので、ステップS110が実行される。
続いて、ステップS110からステップS112で姿勢補正を実行する。まず、ステップS110では、補正値算出部71が、姿勢補正値を算出する。図2の例では、プローブピン61による撮像素子31の傾斜を打ち消すようにプリント基板2の姿勢を変形させるような姿勢補正値が算出される。
次に、ステップS111では、保持制御部72が、姿勢補正値に基づいて基板固定部4のアクチュエータ11を駆動させ、押圧部材13によるプリント基板2の押圧を調整し、プリント基板2の姿勢を変化させる。ここで、ステップS112において、補正値算出部71が、撮像素子31の傾きがゼロ、即ち、撮像素子31の光軸と検査用光源5の光軸とが一致すると判定した場合には、ステップS113に進む。一方、補正値算出部71が、撮像素子31の光軸と検査用光源5の光軸とが一致していないと判定すれば、姿勢調整が完了していないとみなし、ステップS105に戻る。
ステップS113では、撮像制御部73が、検査用光源5の全ての発光素子21〜23を消灯させる。ステップS114で、アクチュエータ11が現在の状態を保持した状態で、ステップS115に進み、取付制御部74がレンズ取り付けユニット6を駆動させ、光学レンズ51をプリント基板2の所定位置に取り付ける。これによって、図7に示すように、光学レンズ51が撮像素子31を覆うようにプリント基板2に固定される。このとき、レンズ本体53の光軸は、検査用光源5の光軸と一致するようにプリント基板2に固定されるので、レンズ本体53の光軸と撮像素子31の光軸とが一致する。光学レンズ51の固定には、例えば、不図示の接着剤が使用される。光学レンズ51を取り付けた後、レンズ取り付けユニット6は、プリント基板2の上方から退避する。さらに、ステップS116で、保持制御部72がアクチュエータ11を駆動させ、基板固定部4によるプリント基板2の保持を解除する。そして、ステップS117で、プリント基板2が基板設置台3か取り外される。他のプリント基板2に光学レンズ51を実装する場合には、前記の各工程を繰り返す。
なお、プリント基板2には、図示を省略する他の回路や素子が実装され、他の部品と組み合わされることによって情報処理装置になる。情報処理装置では、光学レンズ51を通して所定の光が撮像素子31に入力され、これに基づいて画像データが作成される。さらに、画像データを不図示のマイクロプロセッサ等でデータ処理することにより、所定の機能が実現される。
ここで、ステップS105からステップS112までの処理の具体例について、図6を例にして説明する。図6は、プリント基板1の反りによって撮像素子31が第1の像81と第3の像83を結ぶ線分を回転軸として傾斜し、第2の像82側が下がった状態を示している。このケースでは、図5に示す撮像素子31の画像80は、図8のB矢視に相当する像になる。即ち、第2の像82の位置が、撮像素子31の位置ズレがない場合に比べてずれる。なお、破線は、撮像素子31が相対的に傾斜していない場合の像81〜83を結ぶ辺を示している。
この場合、補正値算出部71は、画像80中の第1の像81と第2の像82を結ぶ辺91の長さL11と、第2の像82と第3の像83を結ぶ辺92の長さL21を算出する。そして、辺91の長さL11と、対応する検査用光源5の2つの発光素子21,23間の距離L1とを比較する。同様に、辺92の長さL21と、対応する検査用光源5の2つの発光素子22,23間の距離L2とを比較する。距離L1,L2は、変化しない既知の値なので、撮像素子31が傾いていると、距離L1と辺91の長さL11が不一致になる。同様に、距離L2と辺92の長さL21が、不一致になる。これによって、撮像素子31が傾きを有することがわかる。この場合、辺93の長さL31と、対応する検査用光源5の2つの発光素子21,23間の距離L3とは一致するので、像82側が、他の2つの像81,83に対して相対的に下がっているか、上がっていることになる。
この場合、補正値算出部71は、検査用光源5側の距離L1と、撮像素子31側の長さL11との差を算出する。この差は、像81の基準位置からのずれ量に相当する。同様に、検査用光源5側の距離L2と、撮像素子31側の長さL21との差を算出する。この差は、像82の基準位置からのずれ量に相当する。そして、これらの差のそれぞれに予め定められている係数などを掛けることにより、差をゼロにするような姿勢補正値を算出する。また、例えば、各像81〜83の実際の位置と基準位置の差の値と、基板固定部4の押圧力の関係を予め調べた結果のデータを補正値算出部71に予め格納し、このデータを差の値で検索することにより姿勢補正値を取得しても良い。
姿勢補正値は、保持制御部72に出力される。保持制御部72は、姿勢補正値に応じてプリント基板2に与える押圧力を変化させ、撮像素子31の傾斜を打ち消すようにプリント基板2の姿勢を調整する。以降は、前記の処理を繰り替し、距離L1,L2と対応する辺91,92の長さL11,L21の差をゼロにする。
ここで、例えば、像82側が相対的に下がっているのにも係らず、像82側を下げるように基板固定部4を制御した場合、即ちプリント基板2の姿勢を調整する方向が反対であった場合には、プリント基板2の姿勢補正後の撮像素子31の距離L1,L2と対応する辺91,92の長さL11,L21の差がさらに大きくなる。この場合には、差が前回値より大きくなることから、制御部7は、姿勢の調整方向が逆方向だと判定し、逆方向にプリント基板2の姿勢を調整するような姿勢補正値を算出する。なお、3つの像81〜83の全てが基準位置からずれていた場合には、第1の像81と第3の像83を結ぶ辺93の長さL31と、対応する2つの発光素子21,23間の距離L3とも不一致になる。この場合、例えば、2つの像81〜83を順番に選択して同様の処理を行い、距離L1〜L3と対応する辺91〜93の長さL11〜L31の差をゼロにする。
以上、説明したように、光学部品取付装置1では、検査用光源5から出力した光を撮像素子31で受光することによって画像80を作成し、画像80を用いて撮像素子31の光軸と検査用光源5の光軸が一致するように構成した。このために、撮像素子31の実際の光軸を調整することが可能になり、撮像素子31と光学レンズ51の位置を高精度に位置合わせすることが可能になる。レンズ保持部41は、予め光軸調整された撮像素子31に対して光学レンズ51を配置するだけで良いので、装置構成を簡略化できる。
ここで挙げた全ての例及び条件的表現は、発明者が技術促進に貢献した発明及び概念を読者が理解するのを助けるためのものであり、ここで具体的に挙げたそのような例及び条件に限定することなく解釈するものであり、また、明細書におけるそのような例の編成は本発明の優劣を示すこととは関係ない。本発明の実施形態を詳細に説明したが、本発明の精神及び範囲から逸脱することなく、それに対して種々の変更、置換及び変形を施すことができる。
以下に、前記の実施の形態の特徴を付記する。
(付記1) 受光素子を実装した基板を固定部で保持し、前記受光素子に電力を供給し、前記受光素子に複数の光を入射させ、複数の前記光の像を前記受光素子で取得し、複数の前記光の像の基準位置に対する位置ずれから前記基板の姿勢の補正値を算出し、前記補正値に基づいて前記基板の姿勢を変化させ、複数の前記光の像を基準位置に一致させた後、光学部品を前記基板の所定位置に固定することを含む情報処理装置の製造方法。
(付記2) 複数の前記光の像の間の距離を算出し、前記光の像の基準位置間の距離との差がゼロになるように補正値を算出する付記1に記載の情報処理装置の製造方法。
(付記3) 前記補正値に従って前記基板を押圧する押圧部材の押圧力を変化させることにより、前記基板の姿勢を変化させる付記1又は付記2に記載の情報処理装置の製造方法。
(付記4) 受光素子を実装した基板を保持する固定部と、前記受光素子に電力を供給する入力部材と、前記受光素子に複数の光を入射させる光源と、前記受光素子で取得した複数の前記光の像の基準位置に対する位置ずれから前記基板の姿勢の補正値を算出し、前記補正値に基づいて前記基板の姿勢を変化させる制御部と、複数の前記光の像を基準位置に一致させた後、光学部品を前記基板の所定位置に取り付ける部品取付部と、を含むことを特徴とする光学部品取付装置。
(付記5) 前記制御部は、複数の前記光の像の間の距離を算出し、前記光の像の基準位置間の距離との差がゼロになるように補正値を算出するように構成した付記4に記載の光学部品取付装置。
(付記6) 前記固定部は、前記基板を押圧する押圧部材を有し、前記保持制御部は、前記補正値に従って前記押圧部材の押圧力を変化させるように構成した付記4又は付記5に記載の光学部品取付装置。
1 光学部品取付装置
2 プリント基板
4 基板固定部
5 検査用光源
6 レンズ取り付けユニット(部品取付部)
7 制御部
13 押圧部材
31 撮像素子(受光素子)
51 光学レンズ(光学部品)
61 プローブピン(入力部材)
71 補正値算出部
72 保持制御部
81,82,83 像

Claims (5)

  1. 受光素子を実装した基板を固定部で保持し、
    前記受光素子に電力を供給し、
    前記受光素子に複数の光源から出力させた複数の光を入射させ、
    複数の前記光の像を前記受光素子で取得し、
    複数の前記光の像の間の距離を算出し、
    複数の前記光の像から選択した2つの前記光の像の間の距離と、選択された2つの前記光の像に対応する2つの前記光源の間の距離との差から前記基板の姿勢の補正値を算出し、
    前記補正値に基づいて前記基板の姿勢を変化させ、
    複数の前記光の像を基準位置に一致させた後、光学部品を前記基板の所定位置に固定することを含む情報処理装置の製造方法。
  2. 前記複数の光は、平面視で三角形の各頂点に相当する位置に1つずつに配置された前記光源から出力される請求項1に記載の情報処理装置の製造方法。
  3. 前記補正値に従って前記基板を押圧する押圧部材の押圧力を変化させることにより、前記基板の姿勢を変化させる請求項1又は請求項2に記載の情報処理装置の製造方法。
  4. 受光素子を実装した基板を保持する固定部と、
    前記受光素子に電力を供給する入力部材と、
    前記受光素子に複数の光を入射させる複数の光源と、
    前記受光素子で取得した複数の前記光の像から選択した2つの前記光の像の間の距離と、選択された2つの前記光の像に対応する2つの前記光源の間の距離との差から前記基板の姿勢の補正値を算出し、前記補正値に基づいて前記基板の姿勢を変化させる制御部と、
    複数の前記光の像を基準位置に一致させた後、光学部品を前記基板の所定位置に取り付ける部品取付部と、
    を含むことを特徴とする光学部品取付装置。
  5. 前記固定部は、前記基板を押圧する押圧部材を有し、前記保持制御部は、前記補正値に従って前記押圧部材の押圧力を変化させるように構成した請求項4に記載の光学部品取付装置。
JP2013236466A 2013-11-15 2013-11-15 情報処理装置の製造方法及び光学部品取付装置 Expired - Fee Related JP6229447B2 (ja)

Priority Applications (1)

Application Number Priority Date Filing Date Title
JP2013236466A JP6229447B2 (ja) 2013-11-15 2013-11-15 情報処理装置の製造方法及び光学部品取付装置

Applications Claiming Priority (1)

Application Number Priority Date Filing Date Title
JP2013236466A JP6229447B2 (ja) 2013-11-15 2013-11-15 情報処理装置の製造方法及び光学部品取付装置

Publications (2)

Publication Number Publication Date
JP2015097306A JP2015097306A (ja) 2015-05-21
JP6229447B2 true JP6229447B2 (ja) 2017-11-15

Family

ID=53374426

Family Applications (1)

Application Number Title Priority Date Filing Date
JP2013236466A Expired - Fee Related JP6229447B2 (ja) 2013-11-15 2013-11-15 情報処理装置の製造方法及び光学部品取付装置

Country Status (1)

Country Link
JP (1) JP6229447B2 (ja)

Family Cites Families (5)

* Cited by examiner, † Cited by third party
Publication number Priority date Publication date Assignee Title
JP2004320169A (ja) * 2003-04-11 2004-11-11 Miyota Kk 固体撮像装置とその製造方法、及びその製造治具
JP5004412B2 (ja) * 2003-07-24 2012-08-22 パナソニック株式会社 レンズ一体型撮像装置の製造方法及び製造装置
JP2005198103A (ja) * 2004-01-08 2005-07-21 Inter Action Corp カメラモジュールの組立装置および組立方法
JP2007093495A (ja) * 2005-09-30 2007-04-12 Olympus Corp 撮像素子、及び光学機器測定装置
JP2012049999A (ja) * 2010-08-30 2012-03-08 Nikon Corp 撮像装置および姿勢調整プログラム

Also Published As

Publication number Publication date
JP2015097306A (ja) 2015-05-21

Similar Documents

Publication Publication Date Title
US7540080B2 (en) Method for mounting component by suction nozzle
JP5779386B2 (ja) 電気部品装着機
JP5879461B2 (ja) 撮像モジュールの製造方法及び撮像モジュールの製造装置
JP5174583B2 (ja) 電子部品実装装置の制御方法
US20140265094A1 (en) Die bonder and bonding head device of the same, and also collet position adjusting method
US9712732B2 (en) Imaging module, electronic device provided therewith, and imaging-module manufacturing method
US10205859B2 (en) Mounting device, image processing method, and imaging unit
US11823938B2 (en) Mounting device and mounting method
WO2014174598A1 (ja) 部品実装装置、実装ヘッド、および制御装置
WO2015040696A1 (ja) 部品実装機
US9906695B2 (en) Manufacturing method of imaging module and imaging module manufacturing apparatus
CN105283063B (zh) 电子部件安装装置以及电子部件安装方法
CN105103668B (zh) 生产设备
US9979868B2 (en) Image pickup module manufacturing method, and image pickup module manufacturing device
KR101266714B1 (ko) 부품 장착 장치의 부품 실장 방법 및 부품 장착 장치
JP6229447B2 (ja) 情報処理装置の製造方法及び光学部品取付装置
JP6475264B2 (ja) 部品実装機
US10020342B2 (en) Image pickup module manufacturing method, and image pickup module manufacturing device
WO2015060188A1 (ja) 撮像モジュールの製造方法及び撮像モジュールの製造装置
CN120473403A (zh) 一种可实时纠偏的芯片贴装方法及系统
JPH10335752A (ja) 光軸傾き検出方法及びその装置並びにボンディング方法及びその装置

Legal Events

Date Code Title Description
A621 Written request for application examination

Free format text: JAPANESE INTERMEDIATE CODE: A621

Effective date: 20160804

A977 Report on retrieval

Free format text: JAPANESE INTERMEDIATE CODE: A971007

Effective date: 20170529

A131 Notification of reasons for refusal

Free format text: JAPANESE INTERMEDIATE CODE: A131

Effective date: 20170606

A521 Request for written amendment filed

Free format text: JAPANESE INTERMEDIATE CODE: A523

Effective date: 20170807

TRDD Decision of grant or rejection written
A01 Written decision to grant a patent or to grant a registration (utility model)

Free format text: JAPANESE INTERMEDIATE CODE: A01

Effective date: 20170919

A61 First payment of annual fees (during grant procedure)

Free format text: JAPANESE INTERMEDIATE CODE: A61

Effective date: 20171002

R150 Certificate of patent or registration of utility model

Ref document number: 6229447

Country of ref document: JP

Free format text: JAPANESE INTERMEDIATE CODE: R150

LAPS Cancellation because of no payment of annual fees