JP6171436B2 - 組立時間算出プログラム、組立時間算出方法及び組立時間算出装置 - Google Patents

組立時間算出プログラム、組立時間算出方法及び組立時間算出装置 Download PDF

Info

Publication number
JP6171436B2
JP6171436B2 JP2013056241A JP2013056241A JP6171436B2 JP 6171436 B2 JP6171436 B2 JP 6171436B2 JP 2013056241 A JP2013056241 A JP 2013056241A JP 2013056241 A JP2013056241 A JP 2013056241A JP 6171436 B2 JP6171436 B2 JP 6171436B2
Authority
JP
Japan
Prior art keywords
assembly
animation
viewpoint
information
product
Prior art date
Legal status (The legal status is an assumption and is not a legal conclusion. Google has not performed a legal analysis and makes no representation as to the accuracy of the status listed.)
Expired - Fee Related
Application number
JP2013056241A
Other languages
English (en)
Other versions
JP2014182557A (ja
Inventor
隆祐 吉村
隆祐 吉村
Current Assignee (The listed assignees may be inaccurate. Google has not performed a legal analysis and makes no representation or warranty as to the accuracy of the list.)
Fujitsu Ltd
Original Assignee
Fujitsu Ltd
Priority date (The priority date is an assumption and is not a legal conclusion. Google has not performed a legal analysis and makes no representation as to the accuracy of the date listed.)
Filing date
Publication date
Application filed by Fujitsu Ltd filed Critical Fujitsu Ltd
Priority to JP2013056241A priority Critical patent/JP6171436B2/ja
Priority to EP14152265.6A priority patent/EP2782052A1/en
Priority to US14/167,307 priority patent/US20140288864A1/en
Priority to CN201410043689.6A priority patent/CN104063531A/zh
Publication of JP2014182557A publication Critical patent/JP2014182557A/ja
Application granted granted Critical
Publication of JP6171436B2 publication Critical patent/JP6171436B2/ja
Expired - Fee Related legal-status Critical Current
Anticipated expiration legal-status Critical

Links

Images

Classifications

    • GPHYSICS
    • G06COMPUTING OR CALCULATING; COUNTING
    • G06QINFORMATION AND COMMUNICATION TECHNOLOGY [ICT] SPECIALLY ADAPTED FOR ADMINISTRATIVE, COMMERCIAL, FINANCIAL, MANAGERIAL OR SUPERVISORY PURPOSES; SYSTEMS OR METHODS SPECIALLY ADAPTED FOR ADMINISTRATIVE, COMMERCIAL, FINANCIAL, MANAGERIAL OR SUPERVISORY PURPOSES, NOT OTHERWISE PROVIDED FOR
    • G06Q50/00Information and communication technology [ICT] specially adapted for implementation of business processes of specific business sectors, e.g. utilities or tourism
    • G06Q50/04Manufacturing
    • YGENERAL TAGGING OF NEW TECHNOLOGICAL DEVELOPMENTS; GENERAL TAGGING OF CROSS-SECTIONAL TECHNOLOGIES SPANNING OVER SEVERAL SECTIONS OF THE IPC; TECHNICAL SUBJECTS COVERED BY FORMER USPC CROSS-REFERENCE ART COLLECTIONS [XRACs] AND DIGESTS
    • Y02TECHNOLOGIES OR APPLICATIONS FOR MITIGATION OR ADAPTATION AGAINST CLIMATE CHANGE
    • Y02PCLIMATE CHANGE MITIGATION TECHNOLOGIES IN THE PRODUCTION OR PROCESSING OF GOODS
    • Y02P90/00Enabling technologies with a potential contribution to greenhouse gas [GHG] emissions mitigation
    • Y02P90/30Computing systems specially adapted for manufacturing

Landscapes

  • Business, Economics & Management (AREA)
  • Engineering & Computer Science (AREA)
  • Primary Health Care (AREA)
  • Strategic Management (AREA)
  • Economics (AREA)
  • General Health & Medical Sciences (AREA)
  • Human Resources & Organizations (AREA)
  • Marketing (AREA)
  • Manufacturing & Machinery (AREA)
  • Health & Medical Sciences (AREA)
  • Tourism & Hospitality (AREA)
  • Physics & Mathematics (AREA)
  • General Business, Economics & Management (AREA)
  • General Physics & Mathematics (AREA)
  • Theoretical Computer Science (AREA)
  • Processing Or Creating Images (AREA)

Description

本件は、組立時間算出プログラム、組立時間算出方法及び組立時間算出装置に関する。
製品の組み立て作業をコンピュータでシミュレーションすることで、組み立て作業を行いやすい手順を解析する技術が知られている(例えば、特許文献1又は2参照)。また、シミュレーションにおいて、組み立て作業の手順を表すアニメーションを作成して、製品の組立性評価に役立てる技術が知られている(例えば特許文献3参照)。
特開平9−300145号公報 WO99/30258号公報 特開2007−200082号公報
コンピュータシミュレーションにより作成されるアニメーションは、実際の製品の組み立ての際に、作業員が見て組み立て作業の参考にするものである。このため、アニメーションにおいて、製品を映す視点の位置が切り替わると、実際の作業においても作業員の姿勢や立ち位置に変化が生じる場合がある。作業員の姿勢や立ち位置に変化が生じると、実際の作業時間に遅延が生じる場合があり、実際の作業時間と、シミュレーションによって算出する作業時間とにずれが生じることになる。
1つの側面では、本発明は、シミュレーションにより算出する組み立て時間の推定値の精度を高めることを目的とする。
本明細書に記載の組立時間算出プログラムは、製品の組み立て作業の手順を示すアニメーション表示部に表示させるためのアニメーションデータを取得、取得した前記アニメーションデータから、前記アニメーションの視点の変化を検出、検出した前記アニメーションの視点の変化の量に基づいて、前記製品の組み立て時間の推定値を算出する、処理をコンピュータに実行させる。
本明細書に記載の組立時間算出方法は、製品の組み立て作業の手順を示すアニメーション表示部に表示させるためのアニメーションデータを取得、取得した前記アニメーションデータから、前記アニメーションの視点の変化を検出、検出した前記アニメーションの視点の変化の量に基づいて、前記製品の組み立て時間の推定値を算出する、処理をコンピュータが実行する
本明細書に記載の組立時間算出装置は、製品の組み立て作業の手順を示すアニメーション表示部に表示させるためのアニメーションデータを取得、取得した前記アニメーションデータから、前記アニメーションの視点の変化を検出、検出した前記アニメーションの視点の変化の量に基づいて、前記製品の組み立て時間の推定値を算出する、処理部を備える。
シミュレーションにより算出する組み立て時間の推定値の精度を高めることができる。
情報生成装置への入力データの一例を示す図である。 アセンブリツリーの一例を示す図である。 アセンブリの一例を示す図である。 部品情報のデータ構造例を示す図である。 アセンブリ情報のデータ構造例を示す図である。 相対座標値および相対姿勢を示す図である。 (A)は図2に示すアセンブリツリーを等価な製造フローに変換した例を示す図であり、(B)は、(A)の製造フローに工程を挿入した例を示す図である。 図7(B)の製造フローを親子関係で分解した分解製造フローを示す説明図である。 ノードのデータ構造例を示す図である。 分解製造フローのリスト構造例を示す図である。 情報生成装置のハードウェア構成例を示すブロック図である。 情報生成装置の機能的構成例を示すブロック図である。 生成部と算出部の処理を説明するための図である。 バウンディングボックスの一例を示す図である。 干渉判定の一例を示す説明図である。 移動量設定の一例を示す図である。 第1アニメーションについて説明するための図である。 (A)は、部品M0に部品M1を組み付ける際の視点方向を示す図であり、(B)は、(A)に示す視点方向から見た、部品M0と部品M1の組み付け前と、組み付け後の状態を示す図である。 図18(A)に示す視点位置とは異なる方向に視点位置を設定した状態を示す図である。 視線の変化を説明するための図である。 標準時間算出用テーブルの一例を示す図である。 作業者視距離と作業者視線角度とを説明するための図である。 天頂角と方位角と作業指示注視点距離とを説明するための図である。 視点角を説明するための図であり、(A)は視点角を設定する前の初期状態を示す図であり、(B)は、視点角を設定後の状態を示す図である。 情報生成装置による情報生成処理の処理手順を示すフローチャートである。 情報設定処理の処理手順を示すフローチャートである。 標準時間算出処理の処理手順を示すフローチャートである。 標準時間算出処理の処理手順の続きを示すフローチャートである。
以下、図1〜図28を参照しながら、シミュレーションによって製品の組み立て時間の推定値を算出する情報生成装置について説明する。
<入力データ例>
図1は、情報生成装置の入力するアニメーションデータ(以下、入力データという)の一例を示す説明図である。入力データ200は、例えば、3次元CAD(Computer Aided Design)システムから送信されてくるデータである。図1では、例としてマウスの入力データ200を示している。
入力データ200には、情報生成の対象となる対象製品(図1ではマウス)の3次元モデル201と、3次元モデル201のアセンブリツリー202とが含まれる。アセンブリツリー202は、3次元モデル201を構成するアセンブリや部品(パーツ)の構成を階層構造化した情報である。アセンブリとは、複数の部品が組み付けられた集合品又は完成品である。アセンブリを構成する部品の組合せは、アセンブリツリー202から特定することができる。また、部品は、これ以上分解できない最小単位である。なお、部品とアセンブリとを総称して呼ぶ場合には、モデルと呼ぶ。
図2は、図1に示したアセンブリツリー202の一例を示す。図2において、トップアセンブリA0は、3次元モデル201であるマウス(完成品)を示している。図2の例では、トップアセンブリA0は、アセンブリA1,A5および部品p10を有する。アセンブリA1は、アセンブリA2,A3を有し、アセンブリA2は、部品p1,p2を有する。また、1つ上の階層のアセンブリを親アセンブリという。例えば、アセンブリA2の親アセンブリはアセンブリA1である。また、1つ下の階層のアセンブリを子アセンブリという。例えば、アセンブリA1の子アセンブリはアセンブリA2,A3である。
図3は、アセンブリの一例を示す説明図である。図3では、アセンブリ400は、ギア401と、軸402,403が組み合わされたアセンブリ404とを有する。
<部品情報のデータ構造例>
図4は、部品情報のデータ構造例を示す説明図である。部品情報500は、3次元モデル内の各部品が有する情報であり、情報生成装置が、取得した入力データ200から抽出する情報である。情報生成装置は、入力データ200から抽出した部品情報500を、図12に示す記憶部1301に記憶させる。図4において、部品情報500は、識別情報と、形状情報と、相対座標値と、相対姿勢と、最優先方向と、6軸スコアと、視点と、移動量との各項目を有する。
識別情報の項目には、部品を一意に特定する識別情報が記録されている。図4では、識別情報としてpiが記録されている。
形状情報の項目は、ファセットと、ファセットの法線ベクトルの項目が含まれている。ファセットとは、部品の立体形状を表現するために使われる3角形のポリゴンデータ(面データ)をいい、ファセットの項目には、部品のファセット群が記録される。図4に示す部品情報500には、ni個のファセットfi−1〜fi−niが記録されている。各ファセットfi−1〜fi−niには、この部品のローカル座標系を基準にした3角形の頂点座標値が記録されている。ファセットの法線ベクトルの項目には、各ファセットfi−1〜fi−niの法線ベクトルvi−1〜vi−ni(ni個)が記録されている。
相対座標値の項目には、親アセンブリのローカル座標系(親アセンブリがトップアセンブリA0の場合はグローバル座標系)での親アセンブリの原点からの相対座標値が記録されている。図4では、相対座標値Ciが記録されている。相対姿勢の項目には、親アセンブリのローカル座標系(親アセンブリがトップアセンブリA0の場合はグローバル座標系)での親アセンブリの姿勢からの相対姿勢Riが記録されている。相対姿勢Riは、例えば、3×3の行列で表現される。
最優先方向の項目には、組付方向と分解方向の項目が含まれている。入力データ200を取得した段階では、組付方向および分解方向の項目には何も記録されず、組付方向や分解方向が検出された場合に、検出された方向が記録される。
6軸スコアの項目には、ローカル座標系の各軸(+Xl〜−Zl)の項目と、グローバル座標系の各軸(+Xg〜−Zg)の項目とが含まれている。入力データ200を取得した段階では、6軸スコアの項目には何も記録されず、6軸スコアが算出されると、算出されたスコアが記録される。6軸スコアは、軸ごとの、組付方向としての適性をあらわす指標値である。本例では、スコアが高いほど適性があるものとする。6軸スコアの算出については後述する。
視点の項目には、視点位置を示す座標値が記録される。なお、視点位置は、アセンブリや部品のアニメーションを表示する方向を決定するものである。すなわち、視点位置の方向から見たアセンブリや部品がアニメーションとして表示される。また、分解方向にモデルを移動させる場合、分解方向が視点方向に一致していると分解状態のアニメーションを再生しても、分解方向への移動が見えにくい。そのため、視点の位置をずらした視点座標値を記録しておくことで、分解状態のアニメーションを再生する際に視点座標値からの視点方向で表示して視認しやすくする。
<アセンブリ情報のデータ構造例>
図5は、アセンブリ情報のデータ構造例を示す説明図である。アセンブリ情報600は、3次元モデル内の各アセンブリが有する情報であり、情報生成装置が入力データ200から抽出する情報である。図5において、アセンブリ情報600は、識別情報と、直下の構成モデル数と、親アセンブリの識別情報と、相対座標値と、相対姿勢と、最優先方向と、6軸スコアと、視点と、移動量との各項目を有する。直下の構成モデル数および親アセンブリの識別情報以外の項目群は、部品情報500と同一内容であるため、説明を省略する。
直下の構成モデル数の項目には、直下の構成モデル数mjが記録される。直下の構成モデル数とは、自身アセンブリの1つ下の階層での構成モデル数である。1つ下の階層であっても、構成モデル以外のモデルはカウントしない。例えば、図2において、アセンブリA3の場合、アセンブリA3の下の階層には、アセンブリA4、部品p3〜p6が存在するが、アセンブリA3の1つ下の階層の構成モデルは、アセンブリA4,部品p3,p4である。従って、アセンブリA3の場合の直下の構成モデル数mjは、mj=3となる。
また、親アセンブリの識別情報の項目には、親アセンブリの識別情報Ajが記録される。例えば、アセンブリA3の場合、親アセンブリはアセンブリA1であるため、親アセンブリの識別情報の項目には、A1が記録される。これにより、情報生成装置は、アセンブリごとにどのアセンブリと親子関係があるかを特定することができる。
図6は、図4および図5に示した相対座標値および相対姿勢を示す説明図である。ここでは、モデルMの相対座標値および相対姿勢について説明する。図6において、Xg軸、Yg軸およびZg軸からなるグローバル座標系をCgとする。Q0は、グローバル座標系Cgの原点である。グローバル座標系Cgは、図2のトップアセンブリA0となるモデルM0を定義する空間である。モデルM0を構成するファセットの座標値は、原点Q0を基準に設定される。
Q1は、Xl1軸、Yl1軸およびZl1軸からなるローカル座標系Cl1の原点である。ローカル座標系Cl1は、例えば、図2のトップアセンブリA0を親アセンブリとするアセンブリA1となるモデルM1を定義する空間である。ローカル座標系Cl1の原点Q1は、グローバル座標系Cgの原点Q0との相対位置により決定される。モデルM1を構成するファセットの座標値は、原点Q1を基準に設定される。また、ローカル座標系Cl1の相対姿勢R1は、グローバル座標系Cgの、モデルM0の姿勢からの相対姿勢となる。
Q2は、Xl2軸、Yl2軸およびZl2軸からなるローカル座標系Cl2の原点である。ローカル座標系Cl2は、例えば、図2のアセンブリA1を親アセンブリとするアセンブリA2となるモデルM2を定義する空間である。ローカル座標系Cl2の原点Q2は、ローカル座標系Cl1の原点Q1との相対位置により決定される。モデルM2を構成するファセットの座標値は、原点Q2を基準に設定される。また、ローカル座標系Cl2の相対姿勢R2は、ローカル座標系Cl1のモデルM1の姿勢からの相対姿勢となる。このように、モデルの相対座標値は、親アセンブリの原点からの相対位置で決定された原点を基準に設定され、モデルの姿勢は、親アセンブリの姿勢を基準に設定される。
<アセンブリツリー202の変換例>
図7は、アセンブリツリー202の変換例を示す説明図である。図7(A)では、図2に示したアセンブリツリー202が、等価な製造フロー801に変換された状態を示している。製造フロー801への変換については手動でも自動でもよい。図7(A)の製造フロー801では、例えば、部品p7,p8を組み合わせてアセンブリA6とし、部品p9とアセンブリA6とを組み合わせてアセンブリA5とするように、上から下への方向が組付順を示している。従って、その逆の下から上の方向が分解順を示すことになる。
図7(B)の製造フロー802では、所望の位置に工程が挿入されている。工程は、ユーザ操作により挿入される。工程は、組み付けに必要な作業を示している。例えば、図7(B)において、部品p2については、工程F2を施し、そのあとで部品p1と組み合わせることで、アセンブリA2が得られることになる。
図8は、図7(B)の製造フロー802を親子関係で分解した分解製造フロー901〜907を示す説明図である。例えば、分解製造フロー902は、アセンブリA2,A3を組み付けてアセンブリA1を生成するフローである。また、分解製造フロー903は、アセンブリp1に、工程F2を施したp2を組み付けてアセンブリA2を生成するフローである。
<リスト構造>
次に、製造フロー802のデータ構造について説明する。本実施形態では、上述した部品情報500やアセンブリ情報600を、ノードを連結したリスト構造で管理する。なお、ノードとは、製造フローにおいて、部品、アセンブリ、工程のいずれか1つを示す表示である。
図9は、ノードのデータ構造例を示す図である。図9において、ノードは、ノード番号と、ノード情報と、次ノードへのポインタとを含む。ノード番号は、組立順を示す番号であり、製造フロー802について1から順にナンバリングされる。ノード番号の昇順が組み立て順となり、その逆順が分解順となる。
また、ノード情報は、モデルの識別情報と、種別フラグと、フロー記号と、工程情報とを含む。モデルの識別情報とは、ノードに対応する部品またはアセンブリの識別情報である。モデルの識別情報がポインタとなり、部品情報500やアセンブリ情報600を指定することができる。
種別フラグとは、ノードが、部品、アセンブリ、工程のどのノードに該当するかを識別するフラグである。例えば、部品の種別フラグを「0」、アセンブリの種別フラグを「1」、工程の種別フラグを「2」とする。フロー記号は、図7、8に示した記号である。工程情報とは、ノードの種別が工程である場合に、工程の詳細な内容を示す文字列である。当該文字列は、ユーザ操作により入力される。なお、ノードの種別が部品やアセンブリである場合には、空欄となる。
次ノードへのポインタには、次ノードのノード番号が記録される。これにより、次ノードを指定することができる。また、次ノードからも指定される。次ノードがない場合、当該ノードが最後尾のノードとなるため、「Null」が記録される。
図10は、分解製造フローのリスト構造例を示す説明図である。図10に示したリスト構造1101は、図8に示した分解製造フロー901のリスト構造であり、ノードN1〜N5が連結されている。
<情報生成装置のハードウェア構成例>
図11は、情報生成装置1300のハードウェア構成例を示すブロック図である。
情報生成装置1300は、CPU(Central Processing Unit)1201を備える。CPU1201は、情報生成装置1300の全体の制御を司る。
情報生成装置1300は、ROM(Read Only Memory)1202を備える。ROM1202は、ブートプログラムなどのプログラムを記憶している。
情報生成装置1300は、RAM(Random Access Memory)1203を備える。RAM1203は、CPU1201のワークエリアとして使用される。
情報生成装置1300は、磁気ディスクドライブ1204と、磁気ディスク1205とを備える。磁気ディスクドライブ1204は、CPU1201の制御に従って磁気ディスク1205に対するデータのリード/ライトを制御する。磁気ディスク1205は、磁気ディスクドライブ1204の制御により書き込まれたデータを記憶する。
情報生成装置1300は、光ディスクドライブ1206と、光ディスク1207とを備える。光ディスクドライブ1206は、CPU1201の制御に従って光ディスク1207に対するデータのリード/ライトを制御する。光ディスク1207は、光ディスクドライブ1206の制御により書き込まれたデータを記憶したり、光ディスク1207に記憶されたデータをコンピュータに読み取らせたりする。
情報生成装置1300は、ディスプレイ1208を備える。ディスプレイ1208は、カーソル、アイコンあるいはツールボックスをはじめ、文書、画像、機能情報などのデータを表示する。このディスプレイ1208は、例えば、液晶ディスプレイ、プラズマディスプレイなどを採用することができる。
情報生成装置1300は、インターフェース(以下、「I/F」と略する。)1209を備える。I/F1209は、通信回線を通じてLAN(Local Area Network)、WAN(Wide Area Network)、インターネットなどのネットワーク1214に接続され、このネットワーク1214を介して他の装置に接続される。そして、I/F1209は、ネットワーク1214と内部のインターフェースを司り、外部装置からのデータの入出力を制御する。I/F1209には、例えばモデムやLANアダプタなどを採用することができる。
情報生成装置1300は、キーボード1210とマウス1211とを備える。キーボード1210は、文字、数字、各種指示などの入力のためのキーを備え、データの入力をおこなう。また、タッチパネル式の入力パッドやテンキーなどであってもよい。マウス1211は、カーソルの移動や範囲選択、あるいはウィンドウの移動やサイズの変更などをおこなう。ポインティングデバイスとして同様に機能を備えるものであれば、トラックボールやジョイスティックなどであってもよい。
情報生成装置1300は、スキャナ1212とプリンタ1213とを備える。スキャナ1212は、画像を光学的に読み取り、情報生成装置1300内に画像データを取り込む。なお、スキャナ1212は、OCR(Optical Character Reader)機能を持たせてもよい。また、プリンタ1213は、画像データや文書データを印刷する。プリンタ1213には、例えば、レーザプリンタやインクジェットプリンタを採用することができる。
<情報生成装置の機能的構成例>
図12は、情報生成装置1300の機能的構成例を示すブロック図である。情報生成装置1300は、記憶部1301、入力部1302、選択部1303、生成部1304、算出部1305、判定部1306、決定部1307を備える。また、情報生成装置1300は、設定部1308、再生部1309、変化点検出部1310、標準時間算出部1311、出力部1312を備える。
記憶部1301は、具体的には、例えば、図11に示したROM1202、RAM1203、磁気ディスク1205、光ディスク1207などの記憶装置によりその機能を実現する。また、入力部1302〜出力部1312は、図11に示したROM1202、RAM1203、磁気ディスク1205、光ディスク1207などの記憶装置に記憶されたプログラムをCPU1201に実行させ、その機能を実現する。
入力部1302は、データの入力を受け付ける。具体的には、図1に示したように、3次元モデル201やアセンブリツリー202の入力を受け付ける。入力データ200は、記憶部1301に記憶させる。記憶部1301には、その他に、図4の部品情報500、図5のアセンブリ情報600、図7(B)の製造フローや図10のリスト構造を順次記憶させる。
選択部1303は、複数のモデルで組み付けられたアセンブリを記憶する記憶部1301からいずれかのモデルを選択する。ここでは、すでに、処理対象となる分解製造フローのリスト構造が指定されているものとする。そして、選択部1303は、リスト構造の最後尾のノードから順次モデルを選択することになる。
例えば、図10のリスト構造1101の場合、選択部1303は、最後尾のノードN5から順次選択し、部品p10を選択モデルとして選択し、次に、ノードN4のアセンブリA5を選択モデルとして選択する。次のノードN3は、工程であるため選択されず、ノードN2のアセンブリA1が選択されることになる。先頭のノードN1まで選択されると、選択すべきモデルがないため、終了する。
生成部1304は、第1の領域に対し、選択部1303での選択モデルを第1の領域の背景色と異なる色で複数の方向から投影することにより、第1の投影画像群を生成する。
具体的には、生成部1304は、選択モデルを、選択モデルのローカル座標系の6方向(+Xl〜−Zl)とグローバル座標系の6方向(+Xg〜−Zg)の各々の方向に投影した第1の投影画像群を生成する。投影先となる第1の領域とは、例えば、図13に示す所定サイズのビットマップ画像領域(例えば、200×200ピクセル)である。生成部1304は、ローカル座標系とグローバル座標系とが一致する場合は、いずれか一方の座標系の6方向について投影画像を生成することになる。これにより、同一処理の重複を防止でき、処理の高速化を図ることができる。
図13には、選択モデルのローカル座標系の6方向に、選択モデルを投影した第1の投影画像群を示す。ローカル座標系とグローバル座標系とが一致する場合、生成部1304は、第1の投影画像群として、投影画像(a)〜(f)を生成する。なお、図13に示すシャフト102の軸方向をZ軸方向(+Z,−Z)とし、軸方向に直交する方向をX軸方向(+X,−X)とする。また、X軸とZ軸とに直交する鉛直方向をY軸方向(+Y,−Y)とする。この場合、選択モデル(Eリング101)は背景色(例えば、黒)と異なる色(白)で投影される。従って、選択モデルの投影箇所のビットを計数されることになる。なお、ローカル座標系とグローバル座標系とが一致しない場合がある。例えば、モデルのローカル座標系に対し、グローバル座標系では、斜めに組み付けられている場合などである。このような場合は、第1および第2の投影画像群は、それぞれ12方向分生成されることになる。
また、生成部1304は、第1の領域と同サイズの第2の領域に対し、選択モデルを背景色と異なる色にし、選択モデル以外の他のモデルを背景色と同色にして、複数の方向から投影することにより、第2の投影画像群を生成する。具体的には、例えば、生成部1304は、選択モデルを、選択モデルのローカル座標系の6方向(+Xl〜−Zl)とグローバル座標系の6方向(+Xg〜−Zg)の各々の方向に投影した第2の投影画像群を生成する。投影先となる第2の領域とは、第1の領域と同サイズであり、例えば、図13に示した所定サイズのビットマップ画像領域(例えば、200×200ピクセル)である。生成部1304は、ローカル座標系とグローバル座標系とが一致する場合は、いずれか一方の座標系の6方向について生成することになる。これにより、同一処理の重複を防止でき、処理の高速化を図ることができる。
同様に、ローカル座標系とグローバル座標系とが一致する場合、図13に示したように、生成部1304は、第2の投影画像群として、投影画像(A)〜(F)を生成する。この場合、選択モデル(例えば、図13のEリング101)は背景色(例えば、黒)と異なる色(白)で投影され、他のモデル(例えば、図13のシャフト102)は背景色で投影される。従って、干渉状態の選択モデルの投影箇所のビットが計数されることになる。
算出部1305は、生成部1304によって生成された第1および第2の投影画像群を、複数の方向から選ばれた検証方向が同一である投影画像どうしで比較することにより、投影画像どうしの一致度を示すスコアを検証方向ごとに算出する。図13を例に挙げて詳細に説明する。なお、ここでは、図13の座標系をローカル座標系として説明する。
複数の方向から選ばれた検証方向とは、図13の場合、+X〜−Zから順次選ばれる方向である。算出部1305は、検証方向が同一である投影画像どうしを比較する。例えば、算出部1305は、検証方向が+Xである場合、投影画像(a),(A)を比較し、検証方向が−Xである場合、投影画像(b),(B)を比較する。例えば、以下のように比較される。
図13において、投影画像(a)〜(f)のうち選択モデルであるEリングの画像を示す白色のビット数の計数結果WB1を、それぞれ、
WB1(a)= 2000
WB1(b)= 2000
WB1(c)= 2000
WB1(d)= 2000
WB1(e)=13000
WB1(f)=13000
とする。
また、図13において、投影画像(A)〜(F)のうち選択モデルであるEリングの画像を示す白色のビット数の計数結果WB2を、それぞれ、
WB2(A)=2000
WB2(B)=1700
WB2(C)=2000
WB2(D)=1700
WB2(E)=9000
WB2(F)=9500
とする。
次に、算出部1305は同一方向どうしで6軸方向のスコア(6軸スコア)を算出する。一例として、各軸方向のスコアは、下記式(1)により算出される。
スコアBp=(WB1/WB2)×100・・・(1)
従って、検証方向ごとのスコアBpは以下のようになる。
Bp(+Xl)=100
Bp(−Xl)= 85
Bp(+Yl)=100
Bp(−Yl)= 85
Bp(+Zl)= 70
Bp(−Zl)= 73
第2の投影画像群は他のモデルとの干渉状態を示しており干渉部分が黒のビットとなるため、スコアBpは100以下の得点となる。第2の投影画像においても干渉状態にならない場合は、最高得点の100となる。このように、スコアBpが高いほど、第1の投影画像における選択モデルの投影箇所(白のビット)と第2の投影画像における選択モデルの投影箇所(白のビット)との一致数が高くなる。換言すれば、一致数が高いということは、その検証方向の逆方向に選択モデルと干渉する箇所が少ないことを意味する。従って、選択モデルが検証方向の逆方向に抜ける可能性が高くなる。上記の例では、+X方向および+Y方向のスコアBpがともに100であるため、その逆方向である−X方向または−Y方向に分解できる可能性が高いことを示している。
判定部1306は、方向判定部1361と、干渉判定部1362とを有する。
方向判定部1361について説明する。方向判定については、「組付け作業」と考えると、同一の組付方向が連続していた方が好ましく、組付先のモデルの無駄な回転や反転を控える方に加点するという考え方から加点処理として実行される。従って、方向判定部1361は、前回の選択モデルで決定された分解方向を、前回の選択モデルの部品情報500またはアセンブリ情報600から確認する。そして、検証方向と逆方向である場合、算出部1305は、加点スコアAP3をスコアBpに加算することになる。
干渉判定部1362について説明する。干渉判定は、干渉の発生自体が、組付の可否、または分解の可否の直接の要因とはならないが、分解方向の決定精度を高めるための処理として実行される。特に、干渉判定は、工業製品内に多く使われるEリング101やカーテンレールのスライド部品のように、モデル形状が凹形状である場合に有効である。このような形状のモデルが、リングの軸方向に分解するように見えても、実際の組立では軸に垂直方向へ抜くモデルである場合、抜き方向(分解方向)の決定精度を高めることができる。
干渉判定部1362は、選択モデルを、検証方向の逆方向に、検証モデルの検証方向での長さを超えない所定量移動させることにより、移動前後で干渉するか否かを判定する。具体的には、例えば、干渉判定部1362では、検証方向の座標系での選択モデルのバウンディングボックスを求める。なお、バウンディングボックスとは、3次元の直交座標系において、選択モデルを囲む最小の直方体という。バウンディングボックスの一例を図14に示す。図14に示すバウンディングボックスは、図3に示すアセンブリ400のバウンディングボックスである。
次に、干渉判定部1362は、バウンディングボックスからパラメタ群(高さ、幅、奥行き)を計算する。そして、干渉判定部1362は、パラメタ群のうち検証方向と同一方向のパラメタの値の長さの1/4または1/2だけ、検証方向とは逆方向となる分解方向に選択モデルを移動させる。干渉判定部1362は、移動前の選択モデルと移動後の選択モデルとで干渉チェックを実行する。
図15は、干渉判定例を示す説明図である。図15では、選択モデルとしてEリング101を例に挙げて説明している。図15では、検証方向D(j)の逆方向に、検証方向と同一方向のパラメタの値Lの1/2を移動させた例である。また、図15中、B1は移動前のバウンディングボックス、B2は移動後のバウンディングボックス、M1は移動前の選択モデル、M2は移動後の選択モデルである。また、M0は、選択モデルMの組付先のモデルである。
図15(A)の場合、選択モデルM1を検証方向D(j)の逆方向に移動させると、移動後のモデルM2は、組付先のモデルM0と干渉しない。従って、検証方向D(j)のスコアBpに加点スコアAP4が加点されることになる。一方、図15(B)の場合、選択モデルM1を検証方向D(j)の逆方向に移動させると、移動後のモデルM2は、組付先のモデルM0と干渉する。従って、検証方向D(j)のスコアBpに加点スコアAP4が加点されないことになる。干渉判定部1362で干渉していないと判定された場合は、算出部1305は、加点スコアAP4をスコアBpに加算することになる。
決定部1307は、算出部1305によって算出されたスコア群の中で最大スコアとなる投影画像の検証方向の逆方向を、アセンブリデータから選択モデルを分解する分解方向に決定する。決定部1307は、決定した分解方向を選択モデルに関連付けて記憶部1301に記憶させる。例えば、決定部1307は、ローカル座標系の6方向およびグローバル座標系の6方向の計12方向から得られたスコアBpのうち、最大スコアとなる投影画像を投影した検証方向の逆方向を、分解方向に決定する。決定部1307は、また、最大スコアとなる投影画像を投影した検証方向を、組付方向に決定する。決定部1307は、決定された分解方向および組付方向を、選択モデルの部品情報500またはアセンブリ情報600の最優先方向の項目に保存する。
設定部1308は、視点設定部1381と移動量設定部1382とを有する。視点設定部1381は、選択モデルの分解方向の注視点が同じでかつ方向が異なる視点方向の視点を設定し、選択モデルに関連付けて記憶部1301に記憶させる。分解方向からの視点では、奥行き方向にモデルが移動するため、アニメーションとしては分かり辛い。そのため、視点設定部1381は、例えば、天頂角と方位角をそれぞれ所定角度(例えば30度)傾けた位置の座標値を視点として、部品情報500またはアセンブリ情報600の視点の項目に保存する。
移動量設定部1382は、選択モデルの分解方向の長さに基づいて、選択モデルを分解方向に移動させる移動量を設定し、選択モデルに関連付けて記憶部1301に記憶させる。具体的には、例えば、移動量設定部1382は、選択モデルの分解方向の座標系で選択モデルのバウンディングボックスのパラメタ群(高さ、幅、奥行き)を計算する。そして、移動量設定部1382は、パラメタ群のうち選択モデルの分解方向と同一方向となるパラメタの値を所定倍(例えば3倍)して、移動量に設定する。
図16は、移動量の設定例を示す説明図である。図16において、M0が組付先のモデルであり、M1が選択モデルである。図16では、選択モデルM1のバウンディングボックスにおける分解方向の長さを200とする。この場合、例えば、200×3=600が移動量となる。このように、選択モデルの分解方向と同一方向となるパラメタの値を所定倍して移動量を設定することで、アセンブリから選択モデルが十分離されるため、分解されたことを容易に視認することができる。
次に、変化点検出部1310、標準時間算出部1311について説明する前に、情報生成装置1300が生成して、再生部1309で再生するアニメーションについて説明する。
情報生成装置1300が生成するアニメーションには、2種類のアニメーションがある。1つ目のアニメーションは、製品を組み立てる作業員の視点から製品の組み立て手順を映したアニメーション(以下、第1アニメーションという)である。すなわち、第1アニメーションは、作業員が作業位置に立って実際に製品の組み立て作業を行う際に、製品がどのような見え方をするのかを表したアニメーションである。
図17に、ローカル座標系Cl3(Xl3,Yl3,Zl3)の原点位置に配置した部品S0と、部品S0を見る作業員20とを示す。図17に示す例では、作業員20の目の位置(視点位置)にカメラ10があるものと想定している。この作業員20の視点位置からローカル座標系Cl3(Xl3,Yl3,Zl3)の原点(注視点)に向けられた視線に映る製品のアニメーションが第1アニメーションになる。なお、第1アニメーションでは、視点位置は、事前に設定された所定位置に固定されている。視点位置の座標値は、視点位置情報として記憶部1301に記憶されている。
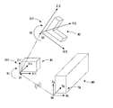
2つ目のアニメーションは、作業員に製品の組み立て手順を理解させるためのアニメーションである(以下、第2アニメーションという)。第2アニメーションでは、作業員に製品の組み立て手順を理解させるため、部品の組み付けが分かりやすい位置に視点位置が移動する。すなわち、組み付ける部品ごとに視点位置(カメラ位置)の変更が必要か否かを視点設定部1381が判定し、視点位置の変更が必要と判断した場合には、前回の部品の組み付けの際の視点位置から視点位置を変更する。例えば、図18(A)に示す部品M0に部品M1を組み付けるアニメーションを生成するものとする。図18(A)に示すカメラ10の位置を視点位置に設定した場合、カメラ10の撮影方向、すなわち視線の方向が部品M1の移動方向に一致している。従って、図18(B)に示すように、組み付け前のアニメーションと組み付け後のアニメーションとに変化がないことになる。このため、図19に示すように、必要がある場合には、視点位置(カメラ位置)を変更して、作業員が部品の組み付けを理解できる視点位置の視点座標値を部品情報500、アセンブリ情報600として記録しておく。これにより、アニメーションの再生の際には、作業員が組み立て方法を理解しやすいアニメーションとなる。
作業員20は、第1及び第2アニメーションを参照して製品の組み立て作業を行うため、アニメーションの視点位置に変化があると、実際の作業においても作業員20の姿勢や立ち位置に変化が生じる場合がある。作業員20の姿勢や立ち位置に変化が生じると、実際の作業時間に遅延が生じる場合があり、実際の作業時間と、シミュレーションによって算出する作業時間とにずれが生じることになる。
図20には、グローバル座標系Cgの空間上に配置された2つの部品Pp(Xp,Yp,Zp)、部品Pq(Xq,Yq,Zq)と、作業員の視点位置Pc(Xc,Yc,Zc)とを示す。なお、図20には、視点位置Pcに、カメラ10を配置している。
例えば、不図示のアセンブリに、部品Ppと部品Pqとを組み付ける作業を行うものとする。第1又は第2アニメーションに従って、最初に、作業者の作業位置から遠い位置(Xp,Yp,Zp)で部品Ppをアセンブリ(不図示)に組み付ける作業を行い、その後に、作業位置から近い位置(Xq,Yq,Zq)で部品Pqを組み付ける作業を行うものとする。この場合、図20に示すように視線の方向が大きく変化するため、作業員の立ち位置や態勢にも変化が生じ、実際の作業時間と、シミュレーションによって算出する製品の組み立て時間の推定値(以下、標準時間という)とにずれが生じる場合がある。
シミュレーションによって算出する標準時間と、実際の作業時間とのずれを低減するため、本実施形態では、変化点検出部1310が第1及び第2アニメーションの視点の変化を検出する。標準時間算出部1311は、変化点検出部1310が検出した第1及び第2アニメーションの視点の変化に基づいて、製品の組み立て時間の推定値を算出する。
変化点検出部1310は、第1アニメーションにおいては、製品の位置の変化を検出して、第1アニメーションの視点の変化を検出する。具体的には、変化点検出部1310は、製品の位置の変化を、作業者視距離と作業者視線角度とから検出する。また、変化点検出部1310は、第2アニメーションにおいては、視点位置又は製品の位置の変化を検出して、第2アニメーションの視点の変化を検出する。具体的には、変化点検出部1310は、視点位置又は製品の位置の変化を、天頂角、方位角、視点角及び作業指示注視点距離から検出する。これらの処理の詳細について以下に説明する。
上述のように部品情報500、アセンブリ情報600には、相対座標値、視点の項目が設けられている。また、記憶部1301は、第1アニメーションの視点位置の座標値を、視点位置情報として記憶している。変化点検出部1310は、これらの値を参照して、天頂角と、方位角と、視点角と、作業指示注視点距離と、作業者視距離と、作業者視線角度とを製造フローのモデルごとに算出する。変化点検出部1310は、算出した作業者視距離、作業者視線角度、天頂角、方位角、視点角及び作業指示注視点距離を、図21に示す標準時間算出用テーブルに記録する。標準時間算出用テーブルには、モデルを示す製造フローの各ノードに対応させて、天頂角と、方位角と、視点角と、作業指示注視点距離と、作業者視距離と、作業者視線角度とを記録する記録欄が設けられている。標準時間算出用テーブルは、記憶部1301に記憶されている。なお、以下では、作業者視距離と、作業者視線角度とを第1アニメーション情報という。また、天頂角、方位角、視点角及び作業指示注視点距離とを第2アニメーション情報という。
まず、図22を参照しながら、第1アニメーション情報である作業者視距離と作業者視線角度とについて説明する。図22には、部品Ppを配置したローカル座標系(Cl3)と、グローバル座標系Cgと、作業員20とを示す。作業者視距離は、部品Ppを配置したローカル座標系Cl3の原点Q3と、作業者の視点位置との距離を示している。第1アニメーションの場合、作業者の視点位置に変化はない。部品Ppのローカル座標系Cl3の原点Q3が移動すれば、作業者視距離も変化する。
また、作業者視線角度は、グローバル座標系Cgの原点Q0と部品Ppのローカル座標系Cl3の原点Q3とを結ぶベクトルと、グローバル座標系Cgの原点Q0と作業者の視点位置とを結ぶベクトルとのなす角度θ1である。作業者視線角度θ1も、部品のローカル座標系の原点位置に変更があれば変化する。
次に、図23を参照しながら方位角、天頂角及び作業指示注視点距離について説明する。なお、図23には、グローバル座標系Cgと、このグローバル座標系Cg上の空間に配置された部品Pp(Xp,Yp,Zp)と、視点位置Pc(Xc,Yc,Zc)とを示す。
方位角θ2は、部品Pp(Xp,Yp,Zp)と視点位置Pc(Xc,Yc,Zc)とを結ぶベクトルと、グローバル座標系CgのY軸(Yg)とのなす角度を示している。すなわち、方位角θ2は、グローバル座標系CgのY軸を基準にしたZ軸(Zg)まわりの回転角度であり、部品Ppの位置に応じて0.0°〜359.9°の範囲で設定される。また、天頂角θ3は、部品Pp(Xp,Yp,Zp)と視点位置Pc(Xc,Yc,Zc)とを結ぶベクトルと、グローバル座標系CgのZ軸(Zg)とのなす角度を示している。すなわち、天頂角θ3は、グローバル座標系CgのZ軸(Zg)から、グローバル座標系CgのXgYg平面へ倒れていく角度であり(例えば、図24(A)のθ3参照)、部品Ppの位置に応じて0.0°〜180.0°の範囲で設定される。また、作業指示注視点距離は、部品Pp(Xp,Yp,Zp)と視点位置Pc(Xc,Yc,Zc)とを結ぶベクトルの距離を示している。
次に、図24を参照しながら視点角について説明する。図24(A)には、部品Ppを、部品Ppのローカル座標系(Cl3)の原点Q3に配置した状態を示す。なお、部品Ppのローカル座標系(Cl3)の原点Q3の位置は、グローバル座標系Cgの原点Q0から、ローカル座標系(Cl3)の原点Q3までの距離rと、方位角θ2と、天頂角θ3とに基づいて決定される。図24(A)に示す状態を初期状態と呼ぶ。
図24(B)には、図24(A)に示す初期状態から視点角を調整した状態を示す。視点角とは、部品Ppの組み付け等の作業を、作業員が見やすいように、ローカル座標系(Cl3)の座標軸を回転させた角度を示す。図24(B)では、部品Ppのローカル座標系(Cl3)のZ軸(Zl3)が、グローバル座標系CgのZ軸(Zg)に対してθ4回転した状態が示されている。この回転角θ4が視点角となる。視点角θ4は、回転後のローカル座標系のZ軸の、グローバル座標系CgのZ軸(Zg)に対する角度であり、0.0°〜359.9°の範囲で設定される。なお、部品やアセンブリに設定された視点角は、部品情報500又はアセンブリ情報600として記憶部1301に記憶される。
次に、標準時間の算出方法の一例について説明する。変化点検出部1310は、まず、部品情報500、アセンブリ情報600として記録された視点位置情報、相対座標値、視点角を参照する。また、変化点検出部1310は、記憶部1301に記憶した第1アニメーションの視点位置情報を参照する。変化点検出部1310は、これらの情報を参照して、天頂角、方位角、視点角、作業指示注視点距離、作業者視距離及び作業者視線角度を製造フローのモデルごとに算出する。これらの値は、図22〜図24を参照して説明したように、グローバル座標系Cgの原点位置と、相対座標値(ローカル座標系の原点位置)と、視点位置とが分かれば算出することができる。なお、視点角は、事前に記憶部1301に記憶しているものを使用する。変化点検出部1310は、該当モデルを表すノードの天頂角、方位角、視点角、作業指示注視点距離、作業者視距離及び作業者視線角度の記録欄に、算出したそれぞれの値を記録する。
次に、変化点検出部1310は、標準時間算出用テーブルを参照して、第1アニメーション情報及び第2アニメーション情報に変化があるか否かを判定する。
変化点検出部1310は、まず、処理対象のノードを選択する。変化点検出部1310は、最下位の階層の1つ上の階層のノードであって、モデルを表すノードを選択する。例えば、図7(B)に示す製造フローにおいては、最下位の階層のモデルを表すノードがA0であるため、その1つ上位層のA1を選択する。下位の階層のノードから選択するのは、ノード番号の昇順が組み立て順であるためである。また、最下位の階層のノードは、最初の組み立てシーンを表すアニメーションとなるため、視点位置に変化は生じない。このため、最下位の階層のノードは処理対象から除外される。処理対象のノードを選択すると、変化点検出部1310は、選択した処理対象のノードの作業者視距離を標準時間算出用テーブルから取り出す。また、変化点検出部1310は、製造フローにおいて処理対象ノードの1つ下の階層のモデルを表すノードの作業者視距離を標準時間算出用テーブルから取り出す。図7(B)に示す製造フローを例に説明すると、処理対象のノードがA1であると、変化点検出部1310は、A1の下のA0のノードに記録された作業者視距離を標準時間算出用テーブルから取り出す。そして、変化点検出部1310は、処理対象のノードの作業者視距離と、処理対象のノードの1つ下の階層のノードの作業者視距離との差分を算出し、作業者視距離に変化があるか否かを判定する。作業者視距離に差分を検出した場合、変化点検出部1310は、算出した差分を記憶部1301に記憶させる。変化点検出部1310は、この処理を、最上位の階層のノードまで繰り返す。また、変化点検出部1310は、作業者視線角度、天頂角、方位角、視点角、作業指示注視点距離、作業者視距離についても同様に、ノード間の差分を算出する。
次に、標準時間算出部1311の処理について説明する。標準時間算出部1311は、変化点検出部1310が算出した差分値の項目ごとの和を求める。標準時間算出部1311は、天頂角、方位角、視点角、作業指示注視点距離、作業者視距離、作業者視線角度の項目ごとに、差分値の和を求める。また、標準時間算出部1311は、各項目の差分値の和に所定の係数を積算して、差分値の和(累積値)から求められる誤差時間の推定値をそれぞれに算出する。すなわち、差分値の和を項目ごとに求めることで、第1アニメーションにおいて作業者視距離や作業者視線角度の変化量の累積値を求める。また、第2アニメーションにおいて天頂角、方位角、視点角及び作業指示注視点距離の変化量の累積値を求める。求めた変化量の累積値に所定の係数を積算することで、作業者視距離や作業者視線角度の変化によって生じる作業の遅延時間の推定値を算出する。同様に、求めた変化量の累積値に所定の係数を積算することで、天頂角、方位角、視点角及び作業指示注視点距離の変化によって生じる作業の遅延時間の推定値を算出する。
標準時間算出部1311は、作業者視距離の差分値の和に係数A1を積算して、作業者視距離の変化によって生じる誤差時間の推定値を算出する(以下、作業者視距離誤差時間と呼ぶ)。また、標準時間算出部1311は、作業者視線角度の差分値の和に係数A2を積算して、作業者視線角度の変化によって生じる誤差時間の推定値を算出する(以下、作業者視線角度誤差時間と呼ぶ)。また、標準時間算出部1311は、天頂角の差分値の和に係数A3を積算して、天頂角の変化によって生じる誤差時間の推定値を算出する(以下、天頂角誤差時間と呼ぶ)。また、標準時間算出部1311は、方位角の差分値の和に係数A4を積算して、方位角の変化によって生じる誤差時間の推定値を算出する(以下、方位角誤差時間と呼ぶ)。また、標準時間算出部1311は、視点角の差分値の和に係数A5を積算して、視点角の変化によって生じる誤差時間の推定値を算出する(以下、視点角誤差時間と呼ぶ)。また、標準時間算出部1311は、作業指示注視点距離の差分値の和に係数A6を積算して、作業指示注視点距離の変化によって生じる作業指示注視点距離の誤差時間を算出する(以下、作業指示注視点距離誤差時間と呼ぶ)。
さらに標準時間算出部1311は、算出した作業者視距離誤差時間と作業者視線角度誤差時間とを加算し、加算した値を、第1アニメーションにおける誤差時間の推定値として算出する。同様に、標準時間算出部1311は、天頂角誤差時間と、方位角誤差時間と、視点角誤差時間と、作業指示注視点距離誤差時間とを加算し、加算した値を、第2アニメーションにおける誤差時間の推定値として算出する。
上述したように作業員20は、第1及び第2アニメーションを参照して製品の組み立て作業を行う。このため、第1アニメーションにおける作業者視距離や作業者視線角度の変化や、第2アニメーションにおける天頂角、方位角、視点角又は作業指示注視点距離の変化が、作業員に影響する場合がある。作業員の立ち位置や態勢の変化は、作業時間の遅延につながる場合がある。このため、標準時間算出部1311は、算出した第1アニメーションにおける誤差時間及び第2アニメーションにおける誤差時間の推定値を使用して、シミュレーション上の作業時間である標準時間を算出する。
出力部1312は、標準時間算出部1311が算出した標準時間を記憶部1301から取得し、取得した標準時間をディスプレイ1208に出力して表示させたり、プリンタ1213に出力してプリンタ1213に印刷させる。
<情報生成処理>
図25は、情報生成装置1300による情報生成処理の詳細な処理手順を示すフローチャートである。
情報生成装置1300は、情報設定処理(ステップS2001)と、標準時間算出処理(ステップS2002)と、再生処理(ステップS2002)とを実行する。
情報生成装置1300は、複数の部品を備えた製品を各部品に分解する分解経路をシミュレーションにより探索し、この分解経路を逆さ向きにたどることで、その製品を構成する複数の部品の組立経路を生成する。情報設定処理では、選択モデルごとに分解方向および組付方向、視点、移動量が設定される。また、標準時間算出処理では、シミュレーションにより、作業者視距離、作業者視線角度、天頂角、方位角、視点角、作業指示注視点距離を考慮した標準時間を算出する。なお、算出した標準時間は、ディスプレイ1208に表示させてもよいし、プリンタ1213により印刷出力してもよい。再生処理では、情報設定処理で設定された情報を用いて、第1アニメーションと第2アニメーションとの少なくとも一方を再生する。
図26は、図25に示した情報設定処理(ステップS2101)の詳細な処理手順を示すフローチャートである。まず、情報生成装置1300は、対象アセンブリが指定されるのを待ち受ける(ステップS2101/NO)。例えば、情報生成装置1300は、製造フローの中から対象アセンブリがユーザ操作により指定されるのを待ち受ける。
対象アセンブリが指定された場合(ステップS2101/YES)、情報生成装置1300は、対象アセンブリの直下の階層のモデル数Nを検出する(ステップS2102)。具体的には、例えば、対象アセンブリのアセンブリ情報600における直下の構成モデル数項目に記録されている値を抽出する。この値が、対象アセンブリについての分解製造フロー内のモデル数と一致することになる。
次に、情報生成装置1300は、磁気ディスク1205、光ディスク1207等の記憶装置に記憶されている分解製造フロー群から対象アセンブリの分解製造フローを特定する。そして、情報生成装置1300は、特定したリスト構造を取得する(ステップS2103)。例えば、対象アセンブリがA0の場合、図8の分解製造フロー901に対応するリスト構造1101(図10)を取得する。そして、情報生成装置1300は、カウンタのインデックスiをi=1とし(ステップS2104)、i>Nであるか否かを判断する(ステップS2105)。すなわち、情報生成装置1300が、取得したリスト構造内のモデルをすべて選択したか否かを判断することになる。
i>Nでない場合(ステップS2105/NO)、情報生成装置1300は、対象アセンブリのリスト構造の未選択ノードのうち最後尾のノードを選択する(ステップS2106)。ノードの選択順は任意でもよいが、最後尾のノードから選択することで、製造フローにおいて最後に組み付けられたモデルから順に選択することができる。そして、情報生成装置1300は、選択ノードから種別フラグを抽出し(ステップS2107)、選択ノードがモデルであるか否かを判断する(ステップS2108)。種別フラグが「0」または「1」であればモデル、「2」は工程であるため、モデルではない。
このあと、選択ノードがモデルでないと判断された場合(ステップS2108/NO)、ステップS2112に移行する。一方、選択ノードがモデルであると判断された場合(ステップS2108/YES)、情報生成装置1300は、分解方向の検出を行う(ステップS2109)。
分解方向の検出は、モデルであると判断された選択ノード、すなわち、選択モデルの分解方向を検出する処理である。図12に示す選択部1303、生成部1304、算出部1305、判定部1306、決定部1307で実施される。
分解方向の検出が終了すると、情報生成装置1300は、視点の設定を行う(S2110)。視点の設定は、選択モデルの視点を設定する処理であり、図12に示す視点設定部1381で設定される。視点の設定が終了すると、情報生成装置1300は、移動量の設定を行う(ステップS2111)。移動量の設定は、選択モデルの移動量を設定する処理であり、図12に示す移動量設定部1382で設定される。
ステップS2112では、カウンタのインデックスiをインクリメントして(ステップS2112)、ステップS2105に戻る。そして、ステップS2105において、i>Nと判断された場合(ステップS2105/YES)、図25に示した標準時間算出処理に移行する。
次に、図27、図28を参照しながら標準時間算出処理の詳細について説明する。なお、S2207の選択ノードから種別フラグを抽出するまでの手順は、図26に示すフローと同一であるため説明を省略する。
情報生成装置1300は、選択ノードから種別フラグを抽出し(ステップS2207)、選択ノードがモデルであるか否かを判断する(ステップS2208)。このあと、選択ノードがモデルでないと判断された場合(ステップS2208/NO)、ステップS2210に移行する。選択ノードがモデルである場合(ステップS2208/YES)、情報生成装置1300は、選択ノードの部品情報500又はアセンブリ情報600として記録された視点位置情報と、相対座標値と、視点角とを取得する。また、第1アニメーションにおける視点位置情報を記憶部1301から取得する。次に、情報生成装置1300は、視点位置情報と、相対座標値と、視点角とを参照して、天頂角、方位角、視点角、作業指示注視点距離、作業者視距離、作業者視線角度を算出する(ステップS2209)。なお、視点角については、記憶部1301から取得したものをそのまま使用すればよい。情報生成装置1300は、算出した角度や距離の情報を、図21に示す標準時間算出用テーブルに記録する(ステップS2209)。情報生成装置1300は、視点位置情報や相対座標値を取得した部品情報500又はアセンブリ情報600に該当するノードの記録欄に、算出した算出した角度や距離の情報を記録する。その後、情報生成装置1300は、カウンタのインデックスjをインクリメントして(ステップS2210)、ステップS2205に移行する。ステップS2205において、カウンタのインデックスjがNよりも大きい場合、情報生成装置1300は、図28に示すフローに移行する。また、カウンタのインデックスjがN以下であった場合には、情報生成装置1300は、ステップS2206〜2210の処理を繰り返す。
次に、図28に示すフローチャートを参照しながら、ステップS2205の判定が肯定判定であった場合の処理フローを説明する。
ステップS2205の判定が肯定判定であった場合、情報生成装置1300は、図21に示す標準時間算出用テーブルを参照して、モデルのノードを選択する(ステップS2211)。図21に示す製造フローに三角形で示すフロー記号が、モデルのノードを示す。情報生成装置1300は、モデルのノードを選択すると、選択したモデルのノードの下位に、他のモデルのノードが存在するか否かを判定する(ステップS2212)。図9に示すノード番号の昇順が組み立て順であるため、情報生成装置1300は、選択したモデルのノードの下位に、他のモデルのノードが存在するか否かを判定する。情報生成装置1300は、選択ノードに下位ノードが存在すると判断すると(ステップS2212/YES)、標準時間算出用テーブルを参照して、選択ノードと、選択ノードの下位ノードとの差分値を算出する(ステップS2213)。差分値を求める項目は、標準時間算出用テーブルに記録された、天頂角、方位角、視点角、作業指示視点距離、作業者視距離及び作業者視線角度の各項目である。情報生成装置1300は、各項目で求めた差分値を記憶部1301に記憶させる。
次に、情報生成装置1300は、全てのモデルのノードを選択ノードとして選択したか否かを判断する(ステップS2214)。全てのモデルのノードを選択ノードとして選択した場合には、情報生成装置1300は、ステップS2215の処理に移行する。また、全てのモデルのノードを選択ノードとして選択していない場合には、情報生成装置1300は、ステップS2211からS2214までの処理を繰り返す。
S2214の判定が肯定判定である場合、情報生成装置1300は、算出した各差分値に係数を積算して、作業者視距離及び作業者視線角度の誤差時間の推定値を算出する(ステップS2215)。情報生成装置1300は、作業者視距離の差分値の和に、係数A1を積算して、作業者視距離誤差時間を算出する。また、情報生成装置1300は、作業者視線角度の差分値に和に、係数A2を積算して、作業者視距離誤差時間を算出する(ステップS2215)。また、情報生成装置1300は、算出した各差分値に係数を積算して、天頂角と、方位角と、視点角と、作業指示視点距離との誤差時間の推定値を算出する(ステップS2216)。情報生成装置1300は、天頂角の差分値の和に、係数A3を積算して、天頂角誤差時間を算出する(ステップS2216)。また、情報生成装置1300は、方位角の差分値の和に、係数A4を積算して、方位角誤差時間を算出する(ステップS2216)。また、情報生成装置1300は、視点角の差分値の和に、係数A5を積算して、視点角誤差時間を算出する(ステップS2216)。また、情報生成装置1300は、作業指示視点距離の差分値の和に、係数A6を積算して、作業指示視点距離誤差時間を算出する(ステップS2216)。
次に、情報生成装置1300は、ステップS2215で算出した作業者視距離誤差時間と、作業者視線角度誤差時間とを加算して、第1アニメーション情報の誤差時間の推定値を算出する(ステップS2217)。また、情報生成装置1300は、天頂角誤差時間と、方位角誤差時間と、視点角誤差時間と、作業指示視点距離誤差時間とを加算して、第2アニメーション情報の誤差時間の推定値を算出する(ステップS2218)。
情報生成装置1300は、算出した第1アニメーション情報の誤差時間の推定値と、第2アニメーション情報の誤差時間の推定値とを使用して、シミュレーションによる製品の組み立て時間の推定値を算出する(ステップS2219)。
以上、詳細に説明したように、本実施形態は、作業員が作業の際に参照するアニメーションにおいて、製品を映す視点位置や製品位置の変化を検出して、製品の組み立て時間の推定値を算出する。このため、シミュレーションにおいて算出する組み立て時間の推定値の精度を高めることができる。
なお、以上の説明に関して更に以下の付記を開示する。
(付記1) シミュレーションによって製品の組み立て時間を算出するプログラムであって、
コンピュータに、
前記製品の組み立て作業の手順をアニメーションで表示部に表示させるためのアニメーションデータを取得する手順と、
取得した前記アニメーションデータから、アニメーションの視点の変化を検出する手順と、
検出した前記アニメーションの視点の変化に基づいて、前記製品の組み立て時間の推定値を算出する手順と、
を実行させるためのプログラム。
(付記2) 前記推定値を算出する手順は、前記製品を映す視点位置を変更しながら、前記製品の組み立て手順を表示するアニメーションにおける前記視点位置又は前記製品の位置の変化と、前記製品の組み立て作業を行う作業員の視点位置から前記製品の組み立て手順を表示するアニメーションにおける前記製品の位置の変化との少なくとも一方を検出して、前記推定値を算出することを特徴とする付記1記載のプログラム。
(付記3) シミュレーションによって製品の組み立て時間を算出する組立時間算出方法であって、
前記製品の組み立て作業の手順をアニメーションで表示部に表示させるためのアニメーションデータを取得する工程と、
取得した前記アニメーションデータから、アニメーションの視点の変化を検出する工程と、
検出した前記アニメーションの視点の変化に基づいて、前記製品の組み立て時間の推定値を算出する工程と、
を有することを特徴とする組立時間算出方法。
(付記4) 前記推定値を算出する工程は、前記製品を映す視点位置を変更しながら、前記製品の組み立て手順を表示するアニメーションにおける前記視点位置又は前記製品の位置の変化と、前記製品の組み立て作業を行う作業員の視点位置から前記製品の組み立て手順を表示するアニメーションにおける前記製品の位置の変化との少なくとも一方を検出して、前記推定値を算出することを特徴とする付記3記載の組立時間算出方法。
(付記5) シミュレーションによって製品の組み立て時間を算出する組立時間算出装置であって、
前記製品の組み立て作業の手順をアニメーションで表示部に表示させるためのアニメーションデータを取得する手段と、
取得した前記アニメーションデータから、アニメーションの視点の変化を検出する手段と、
検出した前記アニメーションの視点の変化に基づいて、前記製品の組み立て時間の推定値を算出する手段と、
を備えることを特徴とする組立時間算出装置。
(付記6) 前記推定値を算出する手段は、前記製品を映す視点位置を変更しながら、前記製品の組み立て手順を表示するアニメーションにおける前記視点位置又は前記製品の位置の変化と、前記製品の組み立て作業を行う作業員の視点位置から前記製品の組み立て手順を表示するアニメーションにおける前記製品の位置の変化との少なくとも一方を検出して、前記推定値を算出することを特徴とする付記5記載の組立時間算出装置。
1300 情報生成装置
1301 記憶部
1302 入力部
1303 選択部
1304 生成部
1305 算出部
1306 判定部
1307 決定部
1308 設定部
1309 再生部
1310 変化点検出部
1311 標準時間算出部
1312 出力部

Claims (4)

  1. 品の組み立て作業の手順を示すアニメーション表示部に表示させるためのアニメーションデータを取得
    取得した前記アニメーションデータから、前記アニメーションの視点の変化を検出
    検出した前記アニメーションの視点の変化の量に基づいて、前記製品の組み立て時間の推定値を算出する、
    処理をコンピュータに実行させることを特徴とする組立時間算出プログラム。
  2. 前記推定値を算出する処理は、前記製品を映す視点位置を変更しながら、前記製品の組み立て手順を表示するアニメーションにおける前記視点位置又は前記製品の位置の変化と、前記製品の組み立て作業を行う作業員の視点位置から前記製品の組み立て手順を表示するアニメーションにおける前記製品の位置の変化との少なくとも一方を検出して、前記推定値を算出することを特徴とする請求項1記載の組立時間算出プログラム。
  3. 品の組み立て作業の手順を示すアニメーション表示部に表示させるためのアニメーションデータを取得
    取得した前記アニメーションデータから、前記アニメーションの視点の変化を検出
    検出した前記アニメーションの視点の変化の量に基づいて、前記製品の組み立て時間の推定値を算出する、
    処理をコンピュータが実行することを特徴とする組立時間算出方法。
  4. 品の組み立て作業の手順を示すアニメーション表示部に表示させるためのアニメーションデータを取得
    取得した前記アニメーションデータから、前記アニメーションの視点の変化を検出
    検出した前記アニメーションの視点の変化の量に基づいて、前記製品の組み立て時間の推定値を算出する、
    処理部を備えることを特徴とする組立時間算出装置。
JP2013056241A 2013-03-19 2013-03-19 組立時間算出プログラム、組立時間算出方法及び組立時間算出装置 Expired - Fee Related JP6171436B2 (ja)

Priority Applications (4)

Application Number Priority Date Filing Date Title
JP2013056241A JP6171436B2 (ja) 2013-03-19 2013-03-19 組立時間算出プログラム、組立時間算出方法及び組立時間算出装置
EP14152265.6A EP2782052A1 (en) 2013-03-19 2014-01-23 Method of calculating assembly time and assembly time calculating device
US14/167,307 US20140288864A1 (en) 2013-03-19 2014-01-29 Method of calculating assembly time and assembly time calculating device
CN201410043689.6A CN104063531A (zh) 2013-03-19 2014-01-29 计算装配时间的方法和装配时间计算装置

Applications Claiming Priority (1)

Application Number Priority Date Filing Date Title
JP2013056241A JP6171436B2 (ja) 2013-03-19 2013-03-19 組立時間算出プログラム、組立時間算出方法及び組立時間算出装置

Publications (2)

Publication Number Publication Date
JP2014182557A JP2014182557A (ja) 2014-09-29
JP6171436B2 true JP6171436B2 (ja) 2017-08-02

Family

ID=50002535

Family Applications (1)

Application Number Title Priority Date Filing Date
JP2013056241A Expired - Fee Related JP6171436B2 (ja) 2013-03-19 2013-03-19 組立時間算出プログラム、組立時間算出方法及び組立時間算出装置

Country Status (4)

Country Link
US (1) US20140288864A1 (ja)
EP (1) EP2782052A1 (ja)
JP (1) JP6171436B2 (ja)
CN (1) CN104063531A (ja)

Families Citing this family (7)

* Cited by examiner, † Cited by third party
Publication number Priority date Publication date Assignee Title
JP6425949B2 (ja) 2014-09-08 2018-11-21 株式会社Soken 内燃機関用の点火プラグ
US20190205802A1 (en) * 2016-09-07 2019-07-04 Mitsubishi Electric Corporation Information processing device, information processing method and computer readable medium
JP7155610B2 (ja) * 2018-05-25 2022-10-19 富士通株式会社 表示プログラム、表示方法および表示制御装置
JP7188057B2 (ja) * 2018-12-21 2022-12-13 富士通株式会社 情報処理装置、判定プログラム及び判定方法
CN111968206B (zh) * 2020-08-18 2024-04-30 网易(杭州)网络有限公司 动画对象的处理方法、装置、设备及存储介质
CN119923663A (zh) * 2023-08-31 2025-05-02 株式会社日立高新技术 评价装置以及评价方法
KR20250124323A (ko) 2024-02-09 2025-08-19 주식회사 히타치하이테크 작업의 평가 시스템

Family Cites Families (14)

* Cited by examiner, † Cited by third party
Publication number Priority date Publication date Assignee Title
JPH09300145A (ja) 1996-05-14 1997-11-25 Matsushita Electric Ind Co Ltd 組立性評価装置
JP3689226B2 (ja) * 1997-03-13 2005-08-31 富士通株式会社 分解経路生成装置
WO1999030258A1 (en) 1997-12-05 1999-06-17 Matsushita Electric Industrial Co., Ltd. Method and device for evaluating assemblability and reverse assemblability
US6099573A (en) * 1998-04-17 2000-08-08 Sandia Corporation Method and apparatus for modeling interactions
JP4082120B2 (ja) * 2002-07-25 2008-04-30 松下電器産業株式会社 印刷検査のシミュレーション装置および印刷検査のシミュレーション方法
JP4291321B2 (ja) * 2003-06-03 2009-07-08 トヨタ自動車株式会社 工程アニメーションの自動生成方法及びシステム
JP4731335B2 (ja) * 2006-01-27 2011-07-20 富士通株式会社 組立性評価方法、そのシステム及びプログラム
JP4859590B2 (ja) * 2006-08-17 2012-01-25 株式会社日立製作所 組立物情報生成装置
JP4886640B2 (ja) * 2007-09-10 2012-02-29 株式会社リコー パーツカタログ生成装置、パーツカタログ生成方法、パーツカタログ生成プログラムおよび記録媒体
CN101216862B (zh) * 2008-01-16 2011-06-15 南京航空航天大学 无纸化三维装配工艺文件的实现方法
CN101414179B (zh) * 2008-11-20 2010-08-18 上海交通大学 人机交互的装配工艺规划系统
JP2011008609A (ja) * 2009-06-26 2011-01-13 Hitachi Ltd 設計支援装置、設計支援方法、およびプログラム
JP5712796B2 (ja) * 2011-06-02 2015-05-07 富士通株式会社 解析支援プログラム、解析支援方法および解析支援装置
CN102968520A (zh) * 2012-10-25 2013-03-13 北京航天新风机械设备有限责任公司 基于装配过程仿真的产品装配工艺生成的方法

Also Published As

Publication number Publication date
CN104063531A (zh) 2014-09-24
US20140288864A1 (en) 2014-09-25
EP2782052A1 (en) 2014-09-24
JP2014182557A (ja) 2014-09-29

Similar Documents

Publication Publication Date Title
JP6171436B2 (ja) 組立時間算出プログラム、組立時間算出方法及び組立時間算出装置
US10324452B2 (en) Assembly workability evaluation calculation device and assembly workability evaluation method
CN105389321B (zh) 复杂系统的主题元件的可视化和分析
KR101591148B1 (ko) 조립 순서 생성 프로그램을 기록한 기록 매체, 조립 순서 생성 장치 및 제조 방법
Yue et al. WireDraw: 3D Wire Sculpturing Guided with Mixed Reality.
US20210287451A1 (en) System and method for handling assets for fabrication
JP5639907B2 (ja) 設計支援装置、方法およびプログラム
Osti et al. Semi-automatic design for disassembly strategy planning: An augmented reality approach
WO2007101114A2 (en) Method of enabling a user to draw a component part as input for searching component parts in a database
KR101357316B1 (ko) 정보 생성 프로그램을 기록한 컴퓨터 판독 가능한 기록 매체, 정보 생성 방법 및 정보 생성 장치
JP2012014569A (ja) 組立シーケンス生成システム、プログラム及び方法
Gruber et al. The city of sights: Design, construction, and measurement of an augmented reality stage set
CN101751481A (zh) 三维模型动态定向设定、检视、执行方法
Dodds et al. Mastering autodesk navisworks 2013
Zhang et al. Sceneviewer: Automating residential photography in virtual environments
US10726621B2 (en) Traversal selection of components for a geometric model
US20110032254A1 (en) Sheet metal model creation device and sheet metal model creation method
JP4726465B2 (ja) 3次元形状処理方法および装置
US8704828B1 (en) Inverse kinematic melting for posing models
JP2003006245A (ja) 3次元形状処理装置および3次元形状処理方法
JP5152581B2 (ja) 画像データ処理装置及び方法、並びにプログラム及び記録媒体
JP3651476B2 (ja) 分解組立図作成装置および方法
JP2009237812A (ja) 処理プログラム、処理装置、および処理方法
JP2008015812A (ja) 設計支援システム
JP6244825B2 (ja) 3次元cad表示装置、3次元cad表示方法、および3次元cad表示プログラム

Legal Events

Date Code Title Description
A621 Written request for application examination

Free format text: JAPANESE INTERMEDIATE CODE: A621

Effective date: 20151007

A977 Report on retrieval

Free format text: JAPANESE INTERMEDIATE CODE: A971007

Effective date: 20160912

A131 Notification of reasons for refusal

Free format text: JAPANESE INTERMEDIATE CODE: A131

Effective date: 20161004

A521 Written amendment

Free format text: JAPANESE INTERMEDIATE CODE: A523

Effective date: 20161205

TRDD Decision of grant or rejection written
A01 Written decision to grant a patent or to grant a registration (utility model)

Free format text: JAPANESE INTERMEDIATE CODE: A01

Effective date: 20170606

A61 First payment of annual fees (during grant procedure)

Free format text: JAPANESE INTERMEDIATE CODE: A61

Effective date: 20170619

R150 Certificate of patent or registration of utility model

Ref document number: 6171436

Country of ref document: JP

Free format text: JAPANESE INTERMEDIATE CODE: R150

LAPS Cancellation because of no payment of annual fees