JP6166181B2 - ハイブリッド車両の動力伝達装置 - Google Patents

ハイブリッド車両の動力伝達装置 Download PDF

Info

Publication number
JP6166181B2
JP6166181B2 JP2013546888A JP2013546888A JP6166181B2 JP 6166181 B2 JP6166181 B2 JP 6166181B2 JP 2013546888 A JP2013546888 A JP 2013546888A JP 2013546888 A JP2013546888 A JP 2013546888A JP 6166181 B2 JP6166181 B2 JP 6166181B2
Authority
JP
Japan
Prior art keywords
rotor shaft
power transmission
rotating machine
engine
transmission member
Prior art date
Legal status (The legal status is an assumption and is not a legal conclusion. Google has not performed a legal analysis and makes no representation as to the accuracy of the status listed.)
Active
Application number
JP2013546888A
Other languages
English (en)
Other versions
JPWO2013080311A1 (ja
Inventor
恵太 今井
恵太 今井
弘一 奥田
弘一 奥田
光洋 豊田
光洋 豊田
田端 淳
淳 田端
翔 水篠
翔 水篠
Current Assignee (The listed assignees may be inaccurate. Google has not performed a legal analysis and makes no representation or warranty as to the accuracy of the list.)
Toyota Motor Corp
Original Assignee
Toyota Motor Corp
Priority date (The priority date is an assumption and is not a legal conclusion. Google has not performed a legal analysis and makes no representation as to the accuracy of the date listed.)
Filing date
Publication date
Application filed by Toyota Motor Corp filed Critical Toyota Motor Corp
Priority to JP2013546888A priority Critical patent/JP6166181B2/ja
Priority claimed from PCT/JP2011/077585 external-priority patent/WO2013080311A1/ja
Publication of JPWO2013080311A1 publication Critical patent/JPWO2013080311A1/ja
Application granted granted Critical
Publication of JP6166181B2 publication Critical patent/JP6166181B2/ja
Active legal-status Critical Current
Anticipated expiration legal-status Critical

Links

Images

Classifications

    • YGENERAL TAGGING OF NEW TECHNOLOGICAL DEVELOPMENTS; GENERAL TAGGING OF CROSS-SECTIONAL TECHNOLOGIES SPANNING OVER SEVERAL SECTIONS OF THE IPC; TECHNICAL SUBJECTS COVERED BY FORMER USPC CROSS-REFERENCE ART COLLECTIONS [XRACs] AND DIGESTS
    • Y02TECHNOLOGIES OR APPLICATIONS FOR MITIGATION OR ADAPTATION AGAINST CLIMATE CHANGE
    • Y02TCLIMATE CHANGE MITIGATION TECHNOLOGIES RELATED TO TRANSPORTATION
    • Y02T10/00Road transport of goods or passengers
    • Y02T10/60Other road transportation technologies with climate change mitigation effect
    • Y02T10/7072Electromobility specific charging systems or methods for batteries, ultracapacitors, supercapacitors or double-layer capacitors

Landscapes

  • Hybrid Electric Vehicles (AREA)
  • Electric Propulsion And Braking For Vehicles (AREA)

Description

本発明は、ハイブリッド車両の動力伝達装置に関し、特にそのハイブリッド車両の燃費を向上させる技術に関するものである。
例えば、特許文献1乃至4に示すようなハイブリッド車両の動力伝達装置がある。このようなハイブリッド車両の動力伝達装置は、特許文献1に示すように、機関例えばエンジンの出力および回転機の出力が選択的に駆動輪に伝達されるものである。
また、特許文献1のハイブリッド車両の動力伝達装置は、その特許文献1の図1に示すように、前記エンジン、第1回転機、および前記回転機としての第2回転機にそれぞれ連結される第1回転要素、第2回転要素、および第3回転要素を有する電気式差動部を備え、その電気式差動部の第3回転要素すなわち出力軸は駆動輪に連結されており、前記電気式差動部から駆動輪に至る動力伝達経路の一部を構成する回転部材に前記第2回転機のロータ軸が噛合機構を介して連結され、第2回転機のロータ軸からの出力が駆動輪に伝達されるようになっている。
ところで、上記のようなハイブリッド車両の動力伝達装置において、前記第2回転機の出力が無いか或いは小さいときには、前記第2回転機のロータ軸がフローティング状態となり、エンジンからの回転変動を含む動力が伝達されると、ロータ軸の噛合歯とそれに噛み合う回転部材側の噛合歯との歯面同士が互いに打ち合うことで所謂歯打ち音或いはガラ音が発生する場合があるという問題があった。
これに対して、特許文献5に示すようなハイブリッド車両の動力伝達装置がある。このハイブリッド車両の動力伝達装置は、ハイブリッド車両のドライブトレーンでギヤの歯打ちが発生する条件を検出したら、エンジン回転数を変更して歯打ちを低減するものである。
特開2007−253823号公報 特開2006−194299号公報 特開2007−1450号公報 US2005/0204862A1 特開平11−93725号公報
しかしながら、上記のような特許文献5のハイブリッド車両の動力伝達装置において、歯打ちが発生する条件を検出した時、駆動軸の出力状態を保ったままエンジンの回転数を上げると、エンジンの動作点が予め設定された最適曲線から外れて、車両燃費が悪化するという問題があった。
本発明は、以上の事情を背景として為されたものであって、その目的とするところは、第2回転機のトルクがゼロ付近となっても、機関の動作点を変更することなく歯打ち音を抑制できるハイブリッド車両の動力伝達装置を提供することにある。
かかる目的を達成するための本第1発明の要旨とするところは、(a) 機関に連結された第1回転要素と第1回転機に連結された第2回転要素と第2回転機に連結された第3回転要素とを有する電気式差動部を備え、該第2回転機は該第3回転要素を経由する前記機関と駆動輪との間の動力伝達経路に配設されたハイブリッド車両の動力伝達装置であって、(b) 前記ハイブリッド車両の動力伝達装置は、前記第3回転要素に動力伝達可能に接続された第1伝達部材と、前記駆動輪と動力伝達可能に接続され、且つ前記第1伝達部材とは別体に形成された第2伝達部材とを備え、(c) 前記第2回転機のロータ軸は前記第1伝達部材と前記第2伝達部材とにそれぞれ接続されると共に、前記第1伝達部材と前記第2伝達部材とは相互に離隔しており、(d) 前記第2回転機のロータ軸は、その両端部に一対の内周スプライン歯がそれぞれ形成され、(e) その一対の内周スプライン歯は、前記第1伝達部材と前記第2伝達部材とにそれぞれスプライン嵌合されていることにある。
また、第2発明の要旨とするところは、(a) 機関に連結された第1回転要素と第1回転機に連結された第2回転要素と第2回転機に連結された第3回転要素とを有する電気式差動部を備え、該第2回転機は該第3回転要素を経由する前記機関と駆動輪との間の動力伝達経路に配設されたハイブリッド車両の動力伝達装置であって、(b) 前記ハイブリッド車両の動力伝達装置は、前記第3回転要素に動力伝達可能に接続された第1伝達部材と、前記駆動輪と動力伝達可能に接続され、且つ前記第1伝達部材とは別体に形成された第2伝達部材とを備え、(c) 前記第2回転機のロータ軸は前記第1伝達部材と前記第2伝達部材とにそれぞれ接続されると共に、前記第1伝達部材と前記第2伝達部材とは相互に離隔しており、(d) 前記第2回転機のロータ軸は、その一軸端部に一対の内周スプライン歯および外周スプライン歯が形成され、(e) その一対の内周スプライン歯および外周スプライン歯は、前記動力伝達経路においてその第2回転機の上流側に位置する部材とその第2回転機の下流側に位置する部材とにそれぞれスプライン嵌合されていることにある。
本第1発明のハイブリッド車両の動力伝達装置によれば、(b) 前記ハイブリッド車両の動力伝達装置は、前記第3回転要素に動力伝達可能に接続された第1伝達部材と、前記駆動輪と動力伝達可能に接続され、且つ前記第1伝達部材とは別体に形成された第2伝達部材とを備え、(c) 前記第2回転機のロータ軸は前記第1伝達部材と前記第2伝達部材とにそれぞれ接続されると共に、前記第1伝達部材と前記第2伝達部材とは相互に離隔している。このため、前記機関の出力が前記第2回転機のロータ軸を介して前記駆動輪へ伝達されている状態では、前記第2回転機のトルクがゼロ付近になる状態でも、前記機関の運転中は前記第2回転機のロータ軸の噛合歯が常に一方に押し付けられていてその第2回転機の連結部分にガタが発生しない。従って、前記第2回転機のトルクがゼロ付近になる状態でも、前記機関の動作点が変更することなく歯打ち音が抑制されると共に、前記ハイブリッド車両の燃費が向上する。また、(d) 前記第2回転機のロータ軸は、その両端部に一対の内周スプライン歯がそれぞれ形成され、(e) その一対の内周スプライン歯は、前記第1伝達部材と前記第2伝達部材とにそれぞれスプライン嵌合されている。このため、前記第2回転機のロータ軸に形成された一対の内周スプライン歯によって、そのロータ軸の軸心方向における前記動力伝達装置の全長を好適に短くすることができる。
また、第2発明のハイブリッド車両の動力伝達装置によれば、(b) 前記ハイブリッド車両の動力伝達装置は、前記第3回転要素に動力伝達可能に接続された第1伝達部材と、前記駆動輪と動力伝達可能に接続され、且つ前記第1伝達部材とは別体に形成された第2伝達部材とを備え、(c) 前記第2回転機のロータ軸は前記第1伝達部材と前記第2伝達部材とにそれぞれ接続されると共に、前記第1伝達部材と前記第2伝達部材とは相互に離隔している。このため、前記機関の出力が前記第2回転機のロータ軸を介して前記駆動輪へ伝達されている状態では、前記第2回転機のトルクがゼロ付近になる状態でも、前記機関の運転中は前記第2回転機のロータ軸の噛合歯が常に一方に押し付けられていてその第2回転機の連結部分にガタが発生しない。従って、前記第2回転機のトルクがゼロ付近になる状態でも、前記機関の動作点が変更することなく歯打ち音が抑制されると共に、前記ハイブリッド車両の燃費が向上する。また、(d) 前記第2回転機のロータ軸は、その一軸端部に一対の内周スプライン歯および外周スプライン歯が形成され、(e) その一対の内周スプライン歯および外周スプライン歯は、前記動力伝達経路においてその第2回転機の上流側に位置する部材とその第2回転機の下流側に位置する部材とにそれぞれスプライン嵌合されている。このため、前記動力伝達経路においてその第2回転機の下流側に位置する部材は、前記動力伝達経路においてその第2回転機の上流側に位置する部材よりも前記第2回転機の出力トルクが加算される為、その第2回転機の下流側に位置する部材の必要強度を比較的に大きくする必要があるが、前記第2回転機の下流側に位置する部材を前記第2回転機のロータ軸の外周側に配置させることで、好適にその第2回転機の下流側に位置する部材の径を大きくして強度を確保できる共に、前記第2回転機の上流側に位置する部材を前記第2回転機のロータ軸の内周側に配置させることで、不必要にその部材の径を大きくしなくて済むので小型化できる。
ここで、好適には、前記機関の出力は、前記第2回転機のロータ軸を通して前記駆動輪に伝達される。このため、前記機関の出力が前記第2回転機のロータ軸を介して前記駆動輪へ伝達されている状態では、前記第2回転機のトルクがゼロ付近になる状態でも、前記機関の運転中は前記第2回転機のロータ軸の噛合歯が常に一方に押し付けられていてその第2回転機の連結部分にガタが発生しない。
また、好適には、前記第2回転機のロータ軸の両端部に形成された内周スプライン歯は、相互に同径とされている。このため、前記第2回転機のロータ軸の両端部に形成される内周スプライン歯を、同一の加工設備・刃具を使用して成形することができ、前記第2回転機のロータ軸の生産性が向上する。
また、好適には、前記第2回転機のロータ軸は、円筒軸であって、その両端部に形成された内周スプライン歯は、軸方向に連続している。このため、前記第2回転機のロータ軸の両端部に形成される内周スプライン歯を、そのロータ軸の軸方向に一度のブローチ加工で作製でき、前記第2回転機のロータ軸の生産性が好適に向上する。
本発明の一実施例のハイブリッド車両の動力伝達装置を説明する骨子図である。 図1の動力伝達装置の一部を拡大して示す断面図である。 本発明の他の実施例であるハイブリッド車両の動力伝達装置を説明する骨子図である。 図3の動力伝達装置の一部を拡大して示す断面図である。
以下、本発明の実施例を図面を参照しつつ詳細に説明する。なお、以下の実施例において図は理解を容易とするために適宜簡略化或いは変形されており、各部の寸法比および形状等は必ずしも正確に描かれていない。
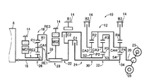
図1は、本発明の一実施例であるハイブリッド車両(以下、車両10という)10の動力伝達装置12を説明する骨子図である。この動力伝達装置12は、例えは車両10において縦置きされるFR(フロントエンジン・リヤドライブ)型車両に好適に用いられるものである。
図1において、動力伝達装置12は、車体に取り付けられる非回転部材としてのトランスミッションケース14(以下、ケース14という)内において共通の軸心上に配設された入力回転部材としての動力伝達装置入力軸(以下、入力軸16という)16と、この入力軸16に直接に或いは図示しない脈動吸収ダンパーなどを介して間接的に連結された差動機構としての動力分配機構(電気式差動部)18と、その動力分配機構18と動力伝達装置出力軸(以下、出力軸20という)20との間で伝達部材22を介して直列に連結されている有段式の自動変速機24と、この自動変速機24に連結されている出力回転部材としての出力軸20とを備えている。
動力伝達装置12は、走行用の駆動力源としてのエンジン(機関)8と図示しない一対の駆動輪25との間に設けられて、エンジン8の出力を差動歯車装置および一対の車軸等を順次介してその一対の駆動輪25へ伝達する。
動力分配機構18は、入力軸16に入力されたエンジン8の出力を機械的に合成し或いは分配する機械的機構であって、エンジン8の出力を第1電動機(第1回転機)MG1および伝達部材22に分配し、或いはエンジン8の出力とその第1電動機MG1の出力とを合成して伝達部材22へ出力する。本実施例の第1電動機MG1および第2電動機(第2回転機)MG2は、発電機能をも有する所謂モータジェネレータであるが、第1電動機MG1は反力を発生させるためのジェネレータ(発電)機能を少なくとも備え、第2電動機MG2は駆動力を出力するためのモータ(電動機)機能を少なくとも備える。
エンジン8は、例えばガソリンエンジンやディーゼルエンジン等の公知の内燃機関であり、マイクロコンピュータを主体とする図示しない電子制御装置によって吸入空気量、燃料供給量、および点火時期等が電気的に制御されることで、エンジン回転速度およびエンジントルクが変化させられるように構成されている。上記電子制御装置は、例えばエンジン回転速度とエンジントルクとで構成される二次元座標において車両の運転性とエンジン8の燃費性とが両立するように予め実験的に求められて記憶された最適曲線に沿うようにエンジン8を作動させつつ、目標エンジン出力が得られるエンジン回転速度とエンジントルクとなるように、エンジン8を制御すると共に第1電動機MG1を制御する。
動力分配機構18は、シングルピニオン型の第1遊星歯車装置26を備えている。この第1遊星歯車装置26は、第1サンギヤS1、第1遊星歯車P1、その第1遊星歯車P1を自転および公転可能に支持する第1キャリヤCA1、第1遊星歯車P1を介して第1サンギヤS1と噛み合う第1リングギヤR1を回転要素として備えている。なお、第1遊星歯車装置26において、第1キャリアCA1は第1回転要素RE1に対応しており、第1サンギヤS1は第2回転要素RE2に対応しており、第1リングギヤR1は第3回転要素RE3に対応している。
動力分配機構18においては、第1キャリヤCA1は入力軸16すなわちエンジン8に連結され、第1サンギヤS1は第1電動機MG1に連結され、第1リングギヤR1は第2電動機MG2のロータ軸28を介して伝達部材22に連結されている。
動力分配機構18では、第1サンギヤS1、第1キャリヤCA1、第1リングギヤR1がそれぞれ相互に相対回転可能であることから、エンジン8の出力が第1電動機MG1と伝達部材22とに分配され、第1電動機MG1に分配されたエンジン8の出力で第1電動機MG1が発電され、その発電された電気エネルギや、蓄電されていた電気エネルギで第2電動機MG2が回転駆動されるので、例えば無段変速状態とされて、エンジン8の所定回転に拘わらず伝達部材22の回転が連続的に変化させられる。すなわち、動力分配機構18は、第1電動機MG1及び第2電動機MG2を介して運転状態が制御されることにより、入力回転速度(入力軸16の回転速度)と出力回転速度(伝達部材22の回転速度)の差動状態が制御される電気式差動部として機能する。
自動変速機24は、複数の遊星歯車装置、すなわち、シングルピニオン型の第2遊星歯車装置30、シングルピニオン型の第3遊星歯車装置32、およびシングルピニオン型の第4遊星歯車装置34を備えている。第2遊星歯車装置30は、第2サンギヤS2、第2遊星歯車P2、その第2遊星歯車P2を自転および公転可能に支持する第2キャリヤCA2、第2遊星歯車P2を介して第2サンギヤS2と噛み合う第2リングギヤR2を備えている。第3遊星歯車装置32は、第3サンギヤS3、第3遊星歯車P3、その第3遊星歯車P3を自転および公転可能に支持する第3キャリヤCA3、第3遊星歯車P3を介して第3サンギヤS3と噛み合う第3リングギヤR3を備えている。第4遊星歯車装置34は、第4サンギヤS4、第4遊星歯車P4、その第4遊星歯車P4を自転および公転可能に支持する第4キャリヤCA4、第4遊星歯車P4を介して第4サンギヤS4と噛み合う第4リングギヤR4を備えている。
自動変速機24では、第2サンギヤS2と第3サンギヤS3とが一体的に連結されて第2クラッチC2を介して伝達部材22に選択的に連結されるとともに第1ブレーキB1を介してケース14に選択的に連結され、第2キャリヤCA2は第2ブレーキB2を介してケース14に選択的に連結され、第4リングギヤR4は第3ブレーキB3を介してケース14に選択的に連結され、第2リングギヤR2と第3キャリヤCA3と第4キャリヤCA4とが一体的に連結されて出力軸20に連結され、第3リングギヤR3と第4サンギヤS4とが一体的に連結されて第1クラッチC1を介して伝達部材22に選択的に連結されている。
以上のように構成された動力伝達装置12では、例えば、第1クラッチC1、第2クラッチC2、第1ブレーキB1、第2ブレーキB2、および第3ブレーキB3のうちのいずれか2つが選択的に係合作動させられることにより、複数の変速段が選択的に成立させられ、略等比的に変化する変速比γ(=入力軸回転速度NIN/出力軸回転速度NOUT)が各ギヤ段毎に得られるようになっている。
図2は、動力伝達装置12の一部を示す断面図である。この図2によれば、動力伝達装置12は、電気式差動部である動力分配機構18の第1リングギヤR1に連結された電気式差動部出力軸(以下、出力軸36という)36と、その出力軸36に一端部が連結された第2電動機MG2のロータ軸28と、そのロータ軸28の他端部に連結された軸状の伝達部材22とを備えており、エンジン8の出力および第2電動機MG2の出力が選択的に伝達部材22を介して一対の駆動輪25に伝達されるようになっている。
第2電動機MG2のロータ軸28は、図2に示すように、一対の軸受38によってその回転軸心D1回りに回転可能に支持された円筒状の円筒軸である。また、図2に示すように、エンジン8から一対の駆動輪25に至る動力伝達経路において、第2電動機MG2の上流側に位置する部材は出力軸36であり、第2電動機MG2の下流側に位置する部材は伝達部材22である。このため、第2電動機MG2のロータ軸28が上記動力伝達経路内に直列に介在させられてその動力伝達経路の一部を構成している。
第2電動機MG2のロータ軸28には、図2に示すように、そのロータ軸28の回転軸心D1方向に貫通する略円柱形状の嵌合穴28aが形成されており、そのロータ軸28の出力軸36側の端部の嵌合穴28aに、出力軸36のロータ軸28側の端部に形成された円筒形状の軸部36aが相対回転不能に嵌め入れられ、そのロータ軸28の伝達部材22側の端部の嵌合穴28aに、伝達部材22のロータ軸28側の端部に形成された円筒形状の軸部22aが相対回転不能に嵌め入れられている。このため、エンジン8の出力は、出力軸36から第2電動機MG2のロータ軸28をその軸方向に通して伝達部材22に伝達され、その伝達部材22によって一対の駆動輪25が駆動させられる。
ロータ軸28の内周部に形成された内周スプライン歯28bに、出力軸36の軸部36aの先端部の外周に形成された外周スプライン溝36bが嵌め入れられており、ロータ軸28が出力軸36と相対回転不能に連結されている。また、ロータ軸28の内周スプライン歯28bに、伝達部材22の軸部22aの先端部の外周に形成された外周スプライン溝22bが嵌め入れられており、ロータ軸28が伝達部材22と相対回転不能に連結されている。
図2に示すように、第2電動機MG2のロータ軸28の両端部に形成された内周スプライン歯28bは相互に同径とされており、そのロータ軸28の両端部に形成された内周スプライン歯28bがそのロータ軸28の回転軸心D1方向に連続して例えばブローチ加工によって成形されている。
本実施例のハイブリッド車両10の動力伝達装置12によれば、第2電動機MG2のロータ軸28は、エンジン8から一対の駆動輪25に至る動力伝達経路の一部を構成している。このため、エンジン8の出力が第2電動機MG2のロータ軸28を介して前記一対の駆動輪25へ伝達されている状態では、第2電動機MG2のトルクがゼロ付近になる状態でも、エンジン8の運転中は第2電動機MG2のロータ軸28の内周スプライン歯28bが常に一方に押し付けられていてその第2電動機MG2の連結部分にガタが発生しない。従って、第2電動機MG2のトルクがゼロ付近になる状態でも、エンジン8の動作点が変更することなく歯打ち音が抑制されると共に、ハイブリッド車両10の燃費が向上する。
また、本実施例のハイブリッド車両10の動力伝達装置12によれば、エンジン8の出力は、第2電動機MG2のロータ軸28を通して一対の駆動輪25に伝達される。このため、エンジン8の出力が第2電動機MG2のロータ軸28を介して一対の駆動輪25へ伝達されているとき、第2電動機MG2のトルクがゼロ付近になる状態でも、エンジン8の運転中は第2電動機MG2のロータ軸28の内周スプライン歯28bが常に一方に押し付けられていてその第2電動機MG2の連結部分にガタが発生しない。
また、本実施例のハイブリッド車両10の動力伝達装置12によれば、第2電動機MG2のロータ軸28は、その両端部に内周スプライン歯28bがそれぞれ形成され、その内周スプライン歯28bは、エンジン8から一対の駆動輪25に至る動力伝達経路においてその第2電動機MG2の上流側に位置する出力軸36とその第2電動機MG2の下流側に位置する伝達部材22とにそれぞれ相対回転不能にスプライン嵌合されている。このため、第2電送機MG2のロータ軸28に形成された内周スプライン歯28bによって、そのロータ軸28の回転軸心D1方向における動力伝達装置12の全長を好適に短くすることができる。
また、本実施例のハイブリッド車両10の動力伝達装置12によれば、第2電動機MG2のロータ軸28の両端部に形成された内周スプライン歯28bは、相互に同径とされている。このため、第2電動機MG2のロータ軸28の両端部に形成される内周スプライン歯28bを、同一の加工設備・刃具を使用して成形することができ、第2電動機MG2のロータ軸28の生産性が向上する。
また、本実施例のハイブリッド車両10の動力伝達装置12によれば、第2電動機MG2のロータ軸28は、円筒軸であって、その両端部に形成された内周スプライン歯28bは、そのロータ軸28の回転軸心D1方向に連続している。このため、第2電動機MG2のロータ軸28の両端部に形成される内周スプライン歯28bを、そのロータ軸28の回転軸心D1方向に一度のブローチ加工で作製でき、第2電動機MG2のロータ軸28の生産性が好適に向上する。
次に、本発明の他の実施例を説明する。なお、以下の説明において実施例相互間で共通する部分には同一の符号を付して説明を省略する。
本実施例のハイブリッド車両(以下、車両40という)40の動力伝達装置42は、前述の実施例1の動力伝達装置12に比較して、動力伝達装置42が、例えは車両40において横置きされるFF(フロントエンジン・フロントドライブ)型車両に好適に用いられる点で相違している。
図3に示すように、動力伝達装置42は、車体に取り付けられる非回転部材としてのトランスアクスルケース(以下、ケース44という)44内において、エンジン8側から順番にそのエンジン8の出力軸(例えばクランク軸)に作動的に連結されてエンジン8からのトルク変動等による脈動を吸収するダンパー46、そのダンパー46を介してエンジン8によって回転駆動させられる入力軸48、第1電動機(第1回転機)MG1、差動機構として機能する動力分配機構(電気式差動部)50、第2電動機(第2回転機)MG2、および図示しない一対の駆動輪25に動力伝達可能に連結された出力歯車52を備えている。
動力分配機構50は、シングルピニオン型の遊星歯車装置54を備えている。この遊星歯車装置54は、第1ピニオンギヤP1’、その第1ピニオンギヤP1’を自転および公転可能に支持する第1回転要素RE1’としての第1キャリヤCA1’、第2回転要素RE2’としての第1サンギヤS1’、および、第1ピニオンギヤP1’を介して第1サンギヤS1’と噛み合う第3回転要素RE3’としての第1リングギヤR1’を備えている。
動力分配機構50においては、第1キャリヤCA1’は入力軸48すなわちエンジン8に連結され、第1サンギヤS1’は第1電動機MG1に連結され、第1リングギヤR1’は第2電動機MG2のロータ軸56を介して出力歯車52に連結されている。
動力分配機構50では、第1サンギヤS1’、第1キャリヤCA1’、第1リングギヤR1’がそれぞれ相互に相対回転可能であることから、エンジン8の出力が第1電動機MG1と出力歯車52とに分配され、第1電動機MG1に分配されたエンジン8の出力で第1電動機MG1が発電され、その発電された電気エネルギや、蓄電されていた電気エネルギで第2電動機MG2が回転駆動されるので、例えば無段変速状態とされて、エンジン8の所定回転に拘わらず出力歯車52の回転が連続的に変化させられる。すなわち、動力分配機構50は、第1電動機MG1及び第2電動機MG2を介して運転状態が制御されることにより、入力回転速度(入力軸48の回転速度)と出力回転速度(出力歯車52の回転速度)の差動状態が制御される電気式差動部として機能する。
図4は、動力伝達装置42の一部を示す断面図である。この図4によれば、動力伝達装置42は、電気式差動部である動力分配機構50の第1リングギヤR1’に連結された電気式差動部出力軸(以下、出力軸58という)58と、その出力軸58に連結された第2電動機MG2のロータ軸56と、そのロータ軸56に連結された出力歯車52とを備えており、エンジン8の出力および第2電動機MG2の出力が選択的に出力歯車52を介して一対の駆動輪25に伝達されるようになっている。なお、動力伝達装置42では、エンジン8の出力や第2電動機MG2の出力が出力歯車52へ伝達されると、その出力歯車52からカウンタギヤ60、ファイナルギヤ、差動歯車装置、一対の車軸等を順次介して一対の駆動輪25へ伝達されるようになっている。
第2電動機MG2のロータ軸56は、図4に示すように、一対の軸受62、64によってその回転軸心D2回りに回転可能に支持されている。また、ロータ軸56には、そのロータ軸56の第1電動機MG1側の軸端部が円筒形状に成形された円筒部56aが備えられている。また、図4に示すように、エンジン8から前記一対の駆動輪25に至る動力伝達経路において、第2電動機MG2の上流側に位置する部材は出力軸58であり、第2電動機MG2の下流側に位置する部材は出力歯車52である。このため、第2電動機MG2のロータ軸56が上記動力伝達経路内に直列に介在させられてその動力伝達経路の一部を構成している。
第2電動機MG2のロータ軸56には、図4に示すように、そのロータ軸56の回転軸心D2方向に貫通する略円柱形状の嵌合穴56bが形成されており、そのロータ軸56の円筒部56aの嵌合穴56bに、出力軸58のロータ軸56側の端部に形成された略円筒形状の軸部58aが相対回転不能に嵌め入れられ、そのロータ軸56の円筒部56aの外周が、出力歯車52の中央部から回転軸心D2方向の第1電動機MG1とは反対側に突き出した円筒形状の円筒部52aの嵌合穴52b内に相対回転不能に嵌め入れられている。このため、エンジン8の出力は、第2電動機MG2のロータ軸56をその径方向に通して出力歯車52に伝達され、その出力歯車52によって一対の駆動輪25が駆動させられる。
図4に示すように、ロータ軸56および出力軸58は、ロータ軸56の円筒部56aの内周に形成された内周スプライン歯56cに、出力軸58の軸部58aの先端部の外周に形成された外周スプライン溝58bが嵌め入れられており、ロータ軸56が出力軸58と相対回転不能に連結されている。また、図4に示すように、ロータ軸56および出力歯車52は、ロータ軸56の円筒部56aの外周に形成された外周スプライン歯56dに、出力歯車52の円筒部52aの内周に形成された内周スプライン溝52cが嵌め入れられており、ロータ軸56が出力歯車52と相対回転不能に連結されている。
本実施例のハイブリッド車両40の動力伝達装置42によれば、第2電動機MG2のロータ軸56は、エンジン8から一対の駆動輪25に至る動力伝達経路の一部を構成している。これにより、実施例1のハイブリッド車両10の動力伝達装置12と同様に、第2電動機MG2のトルクがゼロ付近になる状態でも、エンジン8の動作点を変更することなく歯打ち音が抑制されると共に、ハイブリッド車両40の燃費が向上する。
また、本実施例のハイブリッド車両40の動力伝達装置42によれば、エンジン8の出力は、第2電動機MG2のロータ軸56を通して一対の駆動輪25に伝達される。これにより、実施例1のハイブリッド車両10の動力伝達装置12と同様に、第2電動機MG2のトルクがゼロ付近になる状態でも、エンジン8の運転中は第2電動機MG2のロータ軸56の内周スプライン歯56cおよび外周スプライン歯56dが常に一方に押し付けられその第2電動機MG2の連結部分にガタが発生しない。
また、本実施例のハイブリッド車両40の動力伝達装置42によれば、第2電動機MG2のロータ軸56は、その円筒部56aに一対の内周スプライン歯56cおよび外周スプライン歯56dが形成され、その一対の内周スプライン歯56cおよび外周スプライン歯56dは、エンジン8から一対の駆動輪25に至る動力伝達経路においてその第2電動機MG2の上流側に位置する部材すなわち出力軸58とその第2電動機MG2の下流側に位置する部材すなわち出力歯車52とにそれぞれスプライン嵌合されている。このため、前記動力伝達経路において出力歯車52は、前記動力伝達経路において出力軸58よりも第2電動機MG2の出力トルクが加算される為、その出力歯車52の必要強度を比較的に大きくする必要があるが、出力歯車52を第2電動機MG2のロータ軸56の外周側に配置させることで、好適にその出力歯車52の径を大きくして強度を確保できる共に、出力軸58の軸部58aを第2電動機MG2のロータ軸56の内周側に配置させることで、不必要にその出力軸58の軸部58aの径を大きくしなくて済むので小型化できる。
以上、本発明の一実施例を図面に基づいて説明したが、本発明はその他の態様においても適用される。
たとえば、本実施例のハイブリッド車両10、40の動力伝達装置12、42において、その動力伝達装置12、42の駆動源としてエンジン8である内燃機関が使用されたが、一対の駆動輪25に駆動力を発生させるものであればどのような機関が使用されても良い。
また、本実施例のハイブリッド車両10、40の動力伝達装置12、42において、第1キャリヤCA1、CA1’はエンジン8と直接若しくは間接的に連結され、第1サンギヤS1、S1’は第1電動機MG1と直接若しくは間接的に連結され、第1リングギヤR1、R1’は第2電動機MG2のロータ軸28、56と直接若しくは間接的に連結されてもよい。
その他一々例示はしないが、本発明は当業者の知識に基づいて種々の変更、改良を加えた態様で実施することができる。
8:エンジン(機関)
10、40:車両(ハイブリッド車両)
12、42:動力伝達装置
18、50:動力分配機構(電気式差動部)
22:伝達部材
25:駆動輪
28:ロータ軸
28b:内周スプライン歯
52:出力歯車
56:ロータ軸
56c:内周スプライン歯
56d:外周スプライン歯
MG1:第1電動機(第1回転機)
MG2:第2電動機(第2回転機)
RE1、RE1’:第1回転要素
RE2、RE2’:第2回転要素
RE3、RE3’:第3回転要素

Claims (5)

  1. 機関に連結された第1回転要素と第1回転機に連結された第2回転要素と第2回転機に連結された第3回転要素とを有する電気式差動部を備え、該第2回転機は該第3回転要素を経由する前記機関と駆動輪との間の動力伝達経路に配設されたハイブリッド車両の動力伝達装置であって、
    前記ハイブリッド車両の動力伝達装置は、前記第3回転要素に動力伝達可能に接続された第1伝達部材と、前記駆動輪と動力伝達可能に接続され、且つ前記第1伝達部材とは別体に形成された第2伝達部材とを備え、
    前記第2回転機のロータ軸は前記第1伝達部材と前記第2伝達部材とにそれぞれ接続されると共に、前記第1伝達部材と前記第2伝達部材とは相互に離隔しており、
    前記第2回転機のロータ軸は、その両端部に一対の内周スプライン歯がそれぞれ形成され、
    該一対の内周スプライン歯は、前記第1伝達部材と前記第2伝達部材とにそれぞれスプライン嵌合されていることを特徴とするハイブリッド車両の動力伝達装置。
  2. 機関に連結された第1回転要素と第1回転機に連結された第2回転要素と第2回転機に連結された第3回転要素とを有する電気式差動部を備え、該第2回転機は該第3回転要素を経由する前記機関と駆動輪との間の動力伝達経路に配設されたハイブリッド車両の動力伝達装置であって、
    前記ハイブリッド車両の動力伝達装置は、前記第3回転要素に動力伝達可能に接続された第1伝達部材と、前記駆動輪と動力伝達可能に接続され、且つ前記第1伝達部材とは別体に形成された第2伝達部材とを備え、
    前記第2回転機のロータ軸は前記第1伝達部材と前記第2伝達部材とにそれぞれ接続されると共に、前記第1伝達部材と前記第2伝達部材とは相互に離隔しており、
    前記第2回転機のロータ軸は、その一軸端部に一対の内周スプライン歯および外周スプライン歯が形成され、
    該一対の内周スプライン歯および外周スプライン歯は、前記動力伝達経路において該第2回転機の上流側に位置する部材と該第2回転機の下流側に位置する部材とにそれぞれスプライン嵌合されていることを特徴とするハイブリッド車両の動力伝達装置。
  3. 前記機関の出力は、前記第2回転機のロータ軸を通して前記駆動輪に伝達されることを特徴とする請求項1または2のハイブリッド車両の動力伝達装置。
  4. 前記第2回転機のロータ軸の両端部に形成された内周スプライン歯は、相互に同径とされていることを特徴とする請求項1のハイブリッド車両の動力伝達装置。
  5. 前記第2回転機のロータ軸は、円筒軸であって、その両端部に形成された内周スプライン歯は、軸方向に連続していることを特徴とする請求項4のハイブリッド車両の動力伝達装置。
JP2013546888A 2011-11-29 2011-11-29 ハイブリッド車両の動力伝達装置 Active JP6166181B2 (ja)

Priority Applications (1)

Application Number Priority Date Filing Date Title
JP2013546888A JP6166181B2 (ja) 2011-11-29 2011-11-29 ハイブリッド車両の動力伝達装置

Applications Claiming Priority (2)

Application Number Priority Date Filing Date Title
PCT/JP2011/077585 WO2013080311A1 (ja) 2011-11-29 2011-11-29 ハイブリッド車両の動力伝達装置
JP2013546888A JP6166181B2 (ja) 2011-11-29 2011-11-29 ハイブリッド車両の動力伝達装置

Publications (2)

Publication Number Publication Date
JPWO2013080311A1 JPWO2013080311A1 (ja) 2015-04-27
JP6166181B2 true JP6166181B2 (ja) 2017-07-26

Family

ID=53013425

Family Applications (1)

Application Number Title Priority Date Filing Date
JP2013546888A Active JP6166181B2 (ja) 2011-11-29 2011-11-29 ハイブリッド車両の動力伝達装置

Country Status (1)

Country Link
JP (1) JP6166181B2 (ja)

Family Cites Families (2)

* Cited by examiner, † Cited by third party
Publication number Priority date Publication date Assignee Title
JP4151635B2 (ja) * 2004-09-27 2008-09-17 トヨタ自動車株式会社 車両用駆動装置
US8084908B2 (en) * 2005-05-10 2011-12-27 Komatsu Ltd. Generator/motor mounted as an auxiliary power unit of an engine

Also Published As

Publication number Publication date
JPWO2013080311A1 (ja) 2015-04-27

Similar Documents

Publication Publication Date Title
WO2013080311A1 (ja) ハイブリッド車両の動力伝達装置
US8102087B2 (en) Drive device that is reduced in size while maintaining high axial center accuracy of a rotor shaft
US7762366B2 (en) Axle drive unit for a hybrid electric vehicle
JP5664663B2 (ja) 車両用動力伝達装置
CN102770689B (zh) 混合动力驱动装置
CN104024014B (zh) 车辆用动力传递装置
KR102829607B1 (ko) 토크 벡터링 장치
CN113195276A (zh) 车辆用驱动装置
CN103470702B (zh) 具有偏置电动机和两个行星齿轮组的双模式电可变变速器
WO2013008625A1 (ja) 車両用駆動装置
KR20120117898A (ko) 하이브리드 구동장치
JP5454393B2 (ja) 車両用ハイブリッド駆動装置
CN105873783A (zh) 用于混合动力车辆的驱动装置
JP5951410B2 (ja) 駆動力伝達装置
JP5218031B2 (ja) 車両の駆動装置
JP5093601B2 (ja) ハイブリッド駆動装置
JP6166181B2 (ja) ハイブリッド車両の動力伝達装置
US12163577B2 (en) Transmission and drive device for a motor vehicle
WO2021106349A1 (ja) 車両用駆動装置
JP5699409B2 (ja) 電動駆動装置
JP5747383B2 (ja) 動力伝達装置
JP6808521B2 (ja) 遊星歯車機構の支持構造
JP2019077304A (ja) ハイブリッド駆動装置
JP2016179726A (ja) 車両用駆動装置
JP2022149054A (ja) シリーズハイブリッド車両用トランスアクスル

Legal Events

Date Code Title Description
A131 Notification of reasons for refusal

Free format text: JAPANESE INTERMEDIATE CODE: A131

Effective date: 20150804

A521 Request for written amendment filed

Free format text: JAPANESE INTERMEDIATE CODE: A523

Effective date: 20151002

A02 Decision of refusal

Free format text: JAPANESE INTERMEDIATE CODE: A02

Effective date: 20160315

A521 Request for written amendment filed

Free format text: JAPANESE INTERMEDIATE CODE: A523

Effective date: 20160613

A911 Transfer to examiner for re-examination before appeal (zenchi)

Free format text: JAPANESE INTERMEDIATE CODE: A911

Effective date: 20160714

A912 Re-examination (zenchi) completed and case transferred to appeal board

Free format text: JAPANESE INTERMEDIATE CODE: A912

Effective date: 20160819

A61 First payment of annual fees (during grant procedure)

Free format text: JAPANESE INTERMEDIATE CODE: A61

Effective date: 20170622

R151 Written notification of patent or utility model registration

Ref document number: 6166181

Country of ref document: JP

Free format text: JAPANESE INTERMEDIATE CODE: R151