JP6149814B2 - ハイブリッド車両 - Google Patents

ハイブリッド車両 Download PDF

Info

Publication number
JP6149814B2
JP6149814B2 JP2014138790A JP2014138790A JP6149814B2 JP 6149814 B2 JP6149814 B2 JP 6149814B2 JP 2014138790 A JP2014138790 A JP 2014138790A JP 2014138790 A JP2014138790 A JP 2014138790A JP 6149814 B2 JP6149814 B2 JP 6149814B2
Authority
JP
Japan
Prior art keywords
mode
driving force
vehicle
traveling
vehicle driving
Prior art date
Legal status (The legal status is an assumption and is not a legal conclusion. Google has not performed a legal analysis and makes no representation as to the accuracy of the status listed.)
Active
Application number
JP2014138790A
Other languages
English (en)
Other versions
JP2016016689A (ja
Inventor
泰司 久野
泰司 久野
Current Assignee (The listed assignees may be inaccurate. Google has not performed a legal analysis and makes no representation or warranty as to the accuracy of the list.)
Toyota Motor Corp
Original Assignee
Toyota Motor Corp
Priority date (The priority date is an assumption and is not a legal conclusion. Google has not performed a legal analysis and makes no representation as to the accuracy of the date listed.)
Filing date
Publication date
Application filed by Toyota Motor Corp filed Critical Toyota Motor Corp
Priority to JP2014138790A priority Critical patent/JP6149814B2/ja
Priority to US14/753,260 priority patent/US9878701B2/en
Priority to DE102015110688.4A priority patent/DE102015110688B9/de
Priority to CN201510388623.5A priority patent/CN105235678B/zh
Publication of JP2016016689A publication Critical patent/JP2016016689A/ja
Application granted granted Critical
Publication of JP6149814B2 publication Critical patent/JP6149814B2/ja
Active legal-status Critical Current
Anticipated expiration legal-status Critical

Links

Images

Classifications

    • BPERFORMING OPERATIONS; TRANSPORTING
    • B60VEHICLES IN GENERAL
    • B60WCONJOINT CONTROL OF VEHICLE SUB-UNITS OF DIFFERENT TYPE OR DIFFERENT FUNCTION; CONTROL SYSTEMS SPECIALLY ADAPTED FOR HYBRID VEHICLES; ROAD VEHICLE DRIVE CONTROL SYSTEMS FOR PURPOSES NOT RELATED TO THE CONTROL OF A PARTICULAR SUB-UNIT
    • B60W20/00Control systems specially adapted for hybrid vehicles
    • B60W20/10Controlling the power contribution of each of the prime movers to meet required power demand
    • B60W20/15Control strategies specially adapted for achieving a particular effect
    • BPERFORMING OPERATIONS; TRANSPORTING
    • B60VEHICLES IN GENERAL
    • B60WCONJOINT CONTROL OF VEHICLE SUB-UNITS OF DIFFERENT TYPE OR DIFFERENT FUNCTION; CONTROL SYSTEMS SPECIALLY ADAPTED FOR HYBRID VEHICLES; ROAD VEHICLE DRIVE CONTROL SYSTEMS FOR PURPOSES NOT RELATED TO THE CONTROL OF A PARTICULAR SUB-UNIT
    • B60W10/00Conjoint control of vehicle sub-units of different type or different function
    • BPERFORMING OPERATIONS; TRANSPORTING
    • B60VEHICLES IN GENERAL
    • B60KARRANGEMENT OR MOUNTING OF PROPULSION UNITS OR OF TRANSMISSIONS IN VEHICLES; ARRANGEMENT OR MOUNTING OF PLURAL DIVERSE PRIME-MOVERS IN VEHICLES; AUXILIARY DRIVES FOR VEHICLES; INSTRUMENTATION OR DASHBOARDS FOR VEHICLES; ARRANGEMENTS IN CONNECTION WITH COOLING, AIR INTAKE, GAS EXHAUST OR FUEL SUPPLY OF PROPULSION UNITS IN VEHICLES
    • B60K6/00Arrangement or mounting of plural diverse prime-movers for mutual or common propulsion, e.g. hybrid propulsion systems comprising electric motors and internal combustion engines
    • B60K6/20Arrangement or mounting of plural diverse prime-movers for mutual or common propulsion, e.g. hybrid propulsion systems comprising electric motors and internal combustion engines the prime-movers consisting of electric motors and internal combustion engines, e.g. HEVs
    • B60K6/42Arrangement or mounting of plural diverse prime-movers for mutual or common propulsion, e.g. hybrid propulsion systems comprising electric motors and internal combustion engines the prime-movers consisting of electric motors and internal combustion engines, e.g. HEVs characterised by the architecture of the hybrid electric vehicle
    • B60K6/44Series-parallel type
    • B60K6/445Differential gearing distribution type
    • BPERFORMING OPERATIONS; TRANSPORTING
    • B60VEHICLES IN GENERAL
    • B60KARRANGEMENT OR MOUNTING OF PROPULSION UNITS OR OF TRANSMISSIONS IN VEHICLES; ARRANGEMENT OR MOUNTING OF PLURAL DIVERSE PRIME-MOVERS IN VEHICLES; AUXILIARY DRIVES FOR VEHICLES; INSTRUMENTATION OR DASHBOARDS FOR VEHICLES; ARRANGEMENTS IN CONNECTION WITH COOLING, AIR INTAKE, GAS EXHAUST OR FUEL SUPPLY OF PROPULSION UNITS IN VEHICLES
    • B60K6/00Arrangement or mounting of plural diverse prime-movers for mutual or common propulsion, e.g. hybrid propulsion systems comprising electric motors and internal combustion engines
    • B60K6/20Arrangement or mounting of plural diverse prime-movers for mutual or common propulsion, e.g. hybrid propulsion systems comprising electric motors and internal combustion engines the prime-movers consisting of electric motors and internal combustion engines, e.g. HEVs
    • B60K6/42Arrangement or mounting of plural diverse prime-movers for mutual or common propulsion, e.g. hybrid propulsion systems comprising electric motors and internal combustion engines the prime-movers consisting of electric motors and internal combustion engines, e.g. HEVs characterised by the architecture of the hybrid electric vehicle
    • B60K6/48Parallel type
    • BPERFORMING OPERATIONS; TRANSPORTING
    • B60VEHICLES IN GENERAL
    • B60WCONJOINT CONTROL OF VEHICLE SUB-UNITS OF DIFFERENT TYPE OR DIFFERENT FUNCTION; CONTROL SYSTEMS SPECIALLY ADAPTED FOR HYBRID VEHICLES; ROAD VEHICLE DRIVE CONTROL SYSTEMS FOR PURPOSES NOT RELATED TO THE CONTROL OF A PARTICULAR SUB-UNIT
    • B60W10/00Conjoint control of vehicle sub-units of different type or different function
    • B60W10/04Conjoint control of vehicle sub-units of different type or different function including control of propulsion units
    • B60W10/08Conjoint control of vehicle sub-units of different type or different function including control of propulsion units including control of electric propulsion units, e.g. motors or generators
    • BPERFORMING OPERATIONS; TRANSPORTING
    • B60VEHICLES IN GENERAL
    • B60WCONJOINT CONTROL OF VEHICLE SUB-UNITS OF DIFFERENT TYPE OR DIFFERENT FUNCTION; CONTROL SYSTEMS SPECIALLY ADAPTED FOR HYBRID VEHICLES; ROAD VEHICLE DRIVE CONTROL SYSTEMS FOR PURPOSES NOT RELATED TO THE CONTROL OF A PARTICULAR SUB-UNIT
    • B60W20/00Control systems specially adapted for hybrid vehicles
    • BPERFORMING OPERATIONS; TRANSPORTING
    • B60VEHICLES IN GENERAL
    • B60WCONJOINT CONTROL OF VEHICLE SUB-UNITS OF DIFFERENT TYPE OR DIFFERENT FUNCTION; CONTROL SYSTEMS SPECIALLY ADAPTED FOR HYBRID VEHICLES; ROAD VEHICLE DRIVE CONTROL SYSTEMS FOR PURPOSES NOT RELATED TO THE CONTROL OF A PARTICULAR SUB-UNIT
    • B60W2510/00Input parameters relating to a particular sub-units
    • B60W2510/24Energy storage means
    • B60W2510/242Energy storage means for electrical energy
    • B60W2510/244Charge state
    • YGENERAL TAGGING OF NEW TECHNOLOGICAL DEVELOPMENTS; GENERAL TAGGING OF CROSS-SECTIONAL TECHNOLOGIES SPANNING OVER SEVERAL SECTIONS OF THE IPC; TECHNICAL SUBJECTS COVERED BY FORMER USPC CROSS-REFERENCE ART COLLECTIONS [XRACs] AND DIGESTS
    • Y02TECHNOLOGIES OR APPLICATIONS FOR MITIGATION OR ADAPTATION AGAINST CLIMATE CHANGE
    • Y02TCLIMATE CHANGE MITIGATION TECHNOLOGIES RELATED TO TRANSPORTATION
    • Y02T10/00Road transport of goods or passengers
    • Y02T10/60Other road transportation technologies with climate change mitigation effect
    • Y02T10/62Hybrid vehicles
    • YGENERAL TAGGING OF NEW TECHNOLOGICAL DEVELOPMENTS; GENERAL TAGGING OF CROSS-SECTIONAL TECHNOLOGIES SPANNING OVER SEVERAL SECTIONS OF THE IPC; TECHNICAL SUBJECTS COVERED BY FORMER USPC CROSS-REFERENCE ART COLLECTIONS [XRACs] AND DIGESTS
    • Y10TECHNICAL SUBJECTS COVERED BY FORMER USPC
    • Y10STECHNICAL SUBJECTS COVERED BY FORMER USPC CROSS-REFERENCE ART COLLECTIONS [XRACs] AND DIGESTS
    • Y10S903/00Hybrid electric vehicles, HEVS
    • Y10S903/902Prime movers comprising electrical and internal combustion motors
    • Y10S903/903Prime movers comprising electrical and internal combustion motors having energy storing means, e.g. battery, capacitor

Landscapes

  • Engineering & Computer Science (AREA)
  • Transportation (AREA)
  • Mechanical Engineering (AREA)
  • Chemical & Material Sciences (AREA)
  • Combustion & Propulsion (AREA)
  • Automation & Control Theory (AREA)
  • Electric Propulsion And Braking For Vehicles (AREA)
  • Hybrid Electric Vehicles (AREA)

Description

この発明は、ハイブリッド車両に関し、特に、CD(Charge Depleting)モードとCS(Charge Sustaining)モードとのいずれかを選択して走行するハイブリッド車両に関する。
入力スイッチからユーザがパワーモード又はエコノミーモードを選択可能なハイブリッド車両が知られている。このようなハイブリッド車両では、パワーモード又はエコノミーモードの選択によって、アクセル開度に対する車両駆動力(要求パワー)の特性がノーマルモードから切替えられる。エコノミーモードが選択されると、アクセル開度の増加に対する車両駆動力の増加がノーマルモードよりも緩やかになるように車両駆動力が制御される。これにより、低燃費の走行が実現される(たとえば、特許文献1参照)。
特開2011−93335号公報
蓄電装置のSOC(State Of Charge)を消費するCDモードと、SOCを所定レベルに維持するCSモードとのいずれかを選択して走行するハイブリッド車両において、基本的に蓄電装置に蓄えられたエネルギーを用いて走行するCDモードでは、特に低燃費の走行が要求される。上記のようなCDモードでは、エンジンを停止させてモータを用いて走行する所謂EV走行が主体的となるが、CDモードにおいても大きな車両駆動力が要求されればエンジンが作動するので、十分な低燃費を実現できない可能性がある。上記の特許文献1では、この観点からの検討はなされていない。
それゆえに、この発明の目的は、CDモードとCSモードとのいずれかを選択して走行するハイブリッド車両において、CDモードにおける燃費を向上させることである。
この発明によれば、ハイブリッド車両は、蓄電装置と、蓄電装置に蓄えられた電力を受けて車両駆動力を発生する駆動装置と、内燃機関と、制御装置とを備える。駆動装置は、さらに、内燃機関の出力を用いて蓄電装置を充電するための電力を生成可能に構成される。制御装置は、蓄電装置のSOCを消費するCDモードと、SOCを所定レベルに維持するCSモードとのいずれかを選択して走行させる。そして、制御装置は、CDモードが選択されているときは、CSモードが選択されているときよりも、同一のアクセル開度に対する車両駆動力が小さくなるように車両駆動力を制御する。
このハイブリッド車両においては、CDモードが選択されているときは、CSモードが選択されているときよりも、同一のアクセル開度に対する車両駆動力が小さいので、CDモードにおいて、車両駆動力を確保するために内燃機関を作動させる頻度が抑制される。したがって、このハイブリッド車両によれば、CDモードにおける燃費を向上させることができる。
好ましくは、制御装置は、車両の加速性よりも燃費の低減を優先する所定モード(ECOモード)が選択されている場合において、CDモードが選択されているときは、CSモードが選択されているときよりも、同一のアクセル開度に対する車両駆動力が小さくなるように車両駆動力を制御する。
所定モード(ECOモード)が選択され、かつ、CDモードが選択されているときは、特に低燃費走行が要求される。このハイブリッド車両によれば、このような場合に、上記の構成によって燃費を向上させることができる。
好ましくは、制御装置は、CDモードが選択されているときは、CSモードが選択されているときよりも、車両駆動力の最大値が小さくなるように車両駆動力を制御する。
このような構成とすることにより、過度なアクセル操作に対しても、車両駆動力が確実に抑制される。したがって、このハイブリッド車両によれば、CDモードにおける燃費を確実に向上させることができる。
好ましくは、駆動装置は、車両駆動力を発生する電動機を含む。CDモードが選択されているときの車両駆動力の最大値は、電動機のトルクが所定の制限トルクを超えないように設定される。所定の制限トルクは、電動機の効率に基づき設定され、電動機が出力可能な最大トルクよりも小さい。
このような構成により、CDモードにおいて、電動機は、効率が大きく低下しない範囲で作動する。したがって、このハイブリッド車両によれば、CDモードにおいて電動機の損失を抑制することができ、その結果、CDモードにおける燃費を向上させることができる。
好ましくは、ハイブリッド車両は、車両外部の電源からの電力を用いて蓄電装置を充電するための充電機構をさらに備える。
このような充電機構を備えるハイブリッド車両においては、CDモードにおける低燃費走行が特に要求される。このハイブリッド車両によれば、CDモードにおいて内燃機関が作動する頻度が抑制されるので、CDモードにおける燃費を向上させることができる。
この発明によれば、CDモードとCSモードとのいずれかを選択して走行するハイブリッド車両において、CDモードにおける燃費を向上させることができる。
この発明の実施の形態1に従うハイブリッド車両の全体構成を説明するためのブロック図である。 CDモード及びCSモードを説明するための図である。 アクセル開度と要求パワーとの関係を示した図である。 ECUにより実行される要求パワー設定処理の手順を説明するためのフローチャートである。 実施の形態1の変形例におけるアクセル開度と要求パワーとの関係を示した図である。 走行用のモータジェネレータの特性曲線を示した図である。 実施の形態2に従うハイブリッド車両の全体構成を説明するためのブロック図である。 実施の形態2におけるアクセル開度と要求パワーとの関係を示した図である。 実施の形態2におけるECUにより実行される要求パワー設定処理の手順を説明するためのフローチャートである。 実施の形態2の変形例におけるアクセル開度と要求パワーとの関係を示した図である。
以下、本発明の実施の形態について、図面を参照しながら詳細に説明する。以下では、複数の実施の形態について説明するが、各実施の形態で説明された構成を適宜組合わせることは出願当初から予定されている。なお、図中同一又は相当部分には同一符号を付してその説明は繰返さない。
[実施の形態1]
図1は、この発明の実施の形態1に従うハイブリッド車両の全体構成を説明するためのブロック図である。図1を参照して、ハイブリッド車両100は、エンジン2と、駆動装置22と、伝達ギヤ8と、駆動軸12と、車輪14と、蓄電装置16とを備える。また、ハイブリッド車両100は、電力変換器23と、接続部24と、ECU(Electronic Control Unit)26とをさらに備える。
エンジン2は、燃料の燃焼による熱エネルギーをピストンやロータなどの運動子の運動エネルギーに変換することによって動力を出力する内燃機関である。エンジン2の燃料としては、ガソリンや軽油、エタノール、液体水素、天然ガスなどの炭化水素系燃料、又は、液体もしくは気体の水素燃料が好適である。
駆動装置22は、動力分割装置4と、モータジェネレータ6,10と、電力変換器18,20とを含む。モータジェネレータ6,10は、交流回転電機であり、たとえば、3相交流同期電動機によって構成される。モータジェネレータ6は、動力分割装置4を経由してエンジン2により駆動される発電機として用いられるとともに、エンジン2を始動するための電動機としても用いられる。モータジェネレータ10は、主として電動機として動作し、駆動軸12を駆動する。一方で、車両の制動時や下り斜面での加速度低減時には、モータジェネレータ10は、発電機として動作して回生発電を行なう。
動力分割装置4は、たとえば、サンギヤ、キャリア、リングギヤの3つの回転軸を有する遊星歯車機構を含む。動力分割装置4は、エンジン2の駆動力を、モータジェネレータ6の回転軸に伝達される動力と、伝達ギヤ8に伝達される動力とに分割する。伝達ギヤ8は、車輪14を駆動するための駆動軸12に連結される。また、伝達ギヤ8は、モータジェネレータ10の回転軸にも連結される。
蓄電装置16は、再充電可能な直流電源であり、たとえば、ニッケル水素電池やリチウムイオン電池等の二次電池によって構成される。蓄電装置16は、電力変換器18,20へ電力を供給する。また、蓄電装置16は、モータジェネレータ6及び/又は10の発電時に発電電力を受けて充電される。なお、蓄電装置16として、大容量のキャパシタも採用可能である。
蓄電装置16の充電状態は、蓄電装置16の満充電状態に対する現在の蓄電量を百分率で表したSOC値によって示される。SOC値は、たとえば、図示されない電圧センサ及び/又は電流センサによって検出される、蓄電装置16の出力電圧及び/又は入出力電流に基づいて算出される。SOC値は、蓄電装置16に別途設けられるECUで算出してもよいし、蓄電装置16の出力電圧及び/又は入出力電流の検出値に基づいてECU26で算出してもよい。
電力変換器18は、ECU26から受ける制御信号に基づいて、モータジェネレータ6と蓄電装置16との間で双方向の直流/交流電力変換を実行する。同様に、電力変換器20は、ECU26から受ける制御信号に基づいて、モータジェネレータ10と蓄電装置16との間で双方向の直流/交流電力変換を実行する。これにより、モータジェネレータ6,10は、蓄電装置16との間での電力の授受を伴なって、電動機として動作するための正トルク又は発電機として動作するための負トルクを出力することができる。なお、蓄電装置16と電力変換器18,20との間に、直流電圧変換のための昇圧コンバータを配置することも可能である。
このように、モータジェネレータ6,10、動力分割装置4、及び電力変換器18,20によって構成される駆動装置22は、車両駆動力を発生するとともに、エンジン2の出力を用いてモータジェネレータ6により蓄電装置16を充電するための電力を生成することができる。
電力変換器23は、ECU26から受ける制御信号に基づいて、接続部24に電気的に接続される車両外部の電源(図示せず)から供給される電力を蓄電装置16の電圧レベルに変換して蓄電装置16へ出力する(以下、車両外部の電源による蓄電装置16の充電を「外部充電」とも称する。)。
ECU26は、CPU(Central Processing Unit)、記憶装置、入出力バッファ等を含み(いずれも図示せず)、ハイブリッド車両100における各機器の制御を行なう。なお、これらの制御については、ソフトウェアによる処理に限られず、専用のハードウェア(電子回路)で処理することも可能である。
ECU26の主要な制御として、ECU26は、アクセルペダルの操作量に応じたアクセル開度に基づいて車両要求パワー(以下、単に「要求パワー」とも称する。)を設定する。そして、ECU26は、要求パワーに相当する車両駆動力を発生するように駆動装置22を制御する。
ECU26は、車両駆動力が小さいときは、エンジン2を停止させてモータジェネレータ10のみで走行(EV走行)するように駆動装置22を制御する。車両駆動力が大きくなったり、SOCが低下したりすると、ECU26は、エンジン2を作動させて走行(HV走行)するように駆動装置22を制御する。HV走行では、モータジェネレータ10の駆動力に加えて、又はモータジェネレータ10の代わりに、エンジン2の駆動力を用いてハイブリッド車両100が走行する。エンジン2の作動に伴ないモータジェネレータ6が発電した電力は、モータジェネレータ10に直接供給されたり、蓄電装置16に蓄えられたりする。
また、ECU26は、SOCを消費するCDモードと、SOCを所定レベルに維持するCSモードとを選択的に適用して車両の走行を制御する走行制御を実行する。
図2は、CDモード及びCSモードを説明するための図である。図2を参照して、たとえば、外部充電により蓄電装置16が満充電状態となった後、CDモードで走行が開始されるものとする。
CDモードは、SOCを消費するモードであり、基本的には、蓄電装置16に蓄えられた電力(主には外部充電による電気エネルギー)を消費するものである。CDモードでの走行時は、SOCを維持するためにはエンジン2は作動しない。これにより、車両の減速時等に回収される回生電力やエンジン2の作動に伴ない発電される電力により一時的にSOCが増加することはあるものの、結果的に充電よりも放電の割合の方が相対的に大きくなり、全体としては走行距離の増加に伴ないSOCが減少する。
CSモードは、SOCを所定レベルに維持するモードである。一例として、時刻t1において、SOCの低下を示す所定値SLにSOCが低下すると、CSモードが選択され、その後のSOCが、所定値SLに基づき定められる制御範囲RNG内に維持される。具体的には、エンジン2が作動及び停止を適宜繰り返す(間欠運転)ことによって、SOCが制御範囲RNG内に制御される。このように、CSモードでは、SOCを維持するためにエンジン2が作動する。
なお、CDモードにおいても、大きな車両駆動力(要求パワー)が要求されればエンジン2は作動する。一方、CSモードにおいても、SOCが上昇すればエンジン2は停止する。すなわち、CDモードは、エンジン2を常時停止させて走行するEV走行に限定されるものではなく、CSモードも、エンジン2を常時作動させて走行するHV走行に限定されるものではない。CDモードにおいても、CSモードにおいても、EV走行とHV走行とが可能である。
再び図1を参照して、ECU26は、CDモードが選択されているときは、CSモードが選択されているときよりも、同一のアクセル開度(アクセルペダルの操作量)に対する車両駆動力が小さくなるように車両駆動力を制御する。具体的には、ECU26は、CDモードが選択されているときは、CSモードが選択されているときよりも、同一のアクセル開度に対する要求パワーが小さくなるように要求パワーを設定する。
CDモードでは、SOCを維持するためにエンジン2は作動しないので、その分、CSモードに比べて燃費はよい。しかしながら、CDモードにおいても、大きな車両駆動力が要求されれば、車両駆動力を確保するためにエンジン2が作動する。エンジン2が作動すれば、燃費は悪化する。そこで、この実施の形態1に従うハイブリッド車両100では、CDモードが選択されているときの要求パワーを上記のように設定することにより、CDモードで走行中の車両駆動力を抑える。これにより、CDモードにおいて、車両駆動力を確保するためにエンジン2を作動させる頻度が抑制される。その結果、CDモードにおける燃費が向上する。
図3は、アクセル開度と要求パワーとの関係を示した図である。図3を参照して、横軸はアクセル開度を示し、アクセル開度100%はアクセル全開に相当する。縦軸は要求パワーreqを示し、車両駆動力に相当する。この実施の形態1では、CSモードにおいては、アクセル開度と要求パワーとの基本的な関係を示すノーマルラインL1に従って、アクセル開度に応じて要求パワーreqが設定される。
一方、CDモードにおいては、ノーマルラインL1に代えて、出力抑制ラインL2が用いられる。すなわち、CDモードでは、アクセル開度が0%(全閉)から100%(全開)の間において、同一のアクセル開度に対する要求パワーreqがノーマルラインL1よりも小さくなる出力抑制ラインL2に従って、アクセル開度に応じて要求パワーreqが設定される。これにより、CDモードにおいて、要求パワー(車両駆動力)が抑制されることでEV走行からHV走行への切替が抑制され、低燃費の走行が実現される。
図4は、ECU26により実行される要求パワー設定処理の手順を説明するためのフローチャートである。なお、このフローチャートに示される処理は、所定時間毎又は所定条件の成立時にメインルーチンから呼び出されて実行される。
図4を参照して、ECU26は、アクセル開度を検出する(ステップS10)。アクセル開度は、たとえば、アクセルペダルの操作量を検知可能な図示しないセンサによって検出される。次いで、ECU26は、CDモードが選択されているか否かを判定する(ステップS20)。この判定は、たとえば、図2に示したCDモード区間中かCSモード区間中かによって状態が切替わるフラグに基づいて行なわれてもよいし、SOC値そのものに基づいて行なわれてもよい。
ステップS20において、モードはCDモードであると判定されると(ステップS20においてYES)、ECU26は、図3に示した出力抑制ラインL2に従って、ステップS10において検出されたアクセル開度に基づいて要求パワーreqを設定する(ステップS30)。
ステップS20において、モードはCDモードでない、すなわちモードはCSモードであると判定されると(ステップS20においてNO)、ECU26は、図3に示したノーマルラインL1に従って、ステップS10において検出されたアクセル開度に基づいて要求パワーreqを設定する(ステップS40)。
以上のように、この実施の形態1においては、CDモードが選択されているときは、CSモードが選択されているときよりも、同一のアクセル開度に対する車両駆動力が小さいので、CDモードにおいて、車両駆動力を確保するためにエンジン2を作動させる頻度が抑制される。したがって、この実施の形態1によれば、CDモードにおける燃費を向上させることができる。
[実施の形態1の変形例]
上記の実施の形態1では、要求パワーの最大値、すなわちアクセル開度が100%(全開)のときの要求パワー(車両駆動力)は、CDモードでもCSモードと同じであったが、この変形例では、CDモードにおいては、CSモード時よりも要求パワー(車両駆動力)の最大値が小さい。これにより、過度なアクセル操作に対しても、車両駆動力が確実に抑制され、その結果、燃費を確実に向上させることが可能となる。
図5は、この変形例におけるアクセル開度と要求パワーとの関係を示した図である。図5を参照して、この図は、上述の図3に対応するものであり、CSモードにおいては、実施の形態1と同様に、ノーマルラインL1に従って、アクセル開度に応じて要求パワーreqが設定される。
一方、CDモードにおいては、図3に示した出力抑制ラインL2に代えて、出力抑制ラインL3が用いられる。この出力抑制ラインL3については、同一のアクセル開度に対する要求パワーreqがノーマルラインL1よりも小さく、かつ、アクセル開度100%における要求パワーの値(P2)すなわち車両駆動力の最大値がノーマルラインL1の値(P1)よりも小さい。これにより、ユーザが過度なアクセル操作を行なっても、車両駆動力が確実に抑制され、燃費を確実に向上できる。
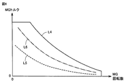
なお、この変形例に従うハイブリッド車両では、さらに、CDモードにおいてアクセル開度が100%であるときの要求パワーP2が、走行用のモータジェネレータ10の効率に基づいて決定される。これにより、モータジェネレータ10の効率を向上させ、その結果として燃費の向上がさらに図られている。以下、この点について説明する。
図6は、走行用のモータジェネレータ10の特性曲線を示した図である。図6を参照して、横軸は、モータジェネレータ10の回転数を示し、縦軸は、モータジェネレータ10のトルクを示す。実線で示されるラインL4は、モータジェネレータ10の最大トルクラインを示す。
点線で示されるラインL5は、モータジェネレータ10の各回転数においてモータジェネレータ10の効率が略最大となる最大効率ラインを示す。一点鎖線で示されるラインL6は、モータジェネレータ10の最大効率のたとえば−5%の効率でモータジェネレータ10が作動するラインである。ラインL6よりもトルクが大きくなると、モータジェネレータ10の効率はさらに低下する。
そして、この変形例では、ラインL6に基づいて、図5に示した要求パワーP2の値が決定される。たとえば、ラインL6をモータジェネレータ10の等パワー線で近似し、その等パワー線が示すパワーが要求パワーP2として設定される。これにより、アクセル開度100%(車両駆動力の最大値)に対して、モータジェネレータ10の効率低下は最大効率の−5%に抑えられ、モータジェネレータ10の効率を高い状態に維持することができる。その結果、燃費も向上する。
以上のように、この変形例においては、CDモードでは、要求パワー(車両駆動力)の最大値が抑制される。これにより、CDモードにおいて、過度なアクセル操作に対する車両駆動力が抑制され、エンジン2の作動が抑制される。したがって、この変形例によれば、燃費を確実に向上させることができる。
また、この変形例においては、CDモードにおいて、アクセル開度が100%であるときの要求パワーP2は、上記のように走行用のモータジェネレータ10の効率に基づいて決定される。したがって、この変形例によれば、CDモードにおいてモータジェネレータ10の効率を高い状態に維持することができ、この点でも燃費の向上が図られる。
[実施の形態2]
この実施の形態2では、車両の加速性よりも燃費の低減を優先した走行を可能とするECOモードスイッチが設けられる。そして、ECOモードスイッチがユーザにより操作されてECOモードが選択された場合において、CDモード中は、CSモード中よりも、同一のアクセル開度に対する車両駆動力が小さくなるように要求パワーが設定される。
図7は、実施の形態2に従うハイブリッド車両の全体構成を説明するためのブロック図である。図7を参照して、このハイブリッド車両100Aは、図1に示したハイブリッド車両100の構成において、ECOモードスイッチ28をさらに備え、ECU26に代えてECU26Aを備える。
ECOモードスイッチ28は、加速性よりも燃費低減を優先させて走行するECOモードをユーザが選択するための入力スイッチである。ECOモードスイッチ28は、ユーザによるオン操作に応答して信号ECをECU26Aへ出力する。
ECU26Aは、ECOモードが選択されているときは、ECOモードが選択されていないノーマルモードのときよりも、同一のアクセル開度(アクセルペダルの操作量)に対する車両駆動力が小さくなるように車両駆動力を制御する。さらに、ECU26Aは、ECOモードが選択されている場合において、CDモードが選択されているときは、CSモードが選択されているときよりも、同一のアクセル開度に対する車両駆動力が小さくなるように車両駆動力を制御する。具体的には、ECU26Aは、ECOモードが選択されている場合において、CDモードが選択されているときは、CSモードが選択されているときよりも、同一のアクセル開度に対する要求パワーが小さくなるように要求パワーを設定する。
図8は、実施の形態2におけるアクセル開度と要求パワーとの関係を示した図である。図8を参照して、この実施の形態2では、ノーマルモード(ECOモードの非選択時)では、アクセル開度と要求パワーとの基本的な関係を示すノーマルラインL11に従って、アクセル開度に応じて要求パワーreqが設定される。
ECOモードでは、同一のアクセル開度に対する要求パワーがノーマルモードよりも小さくなるように要求パワーが設定される。具体的には、ECOモードが選択されている場合において、CSモード時は、ノーマルラインL11よりも要求パワーが小さい第1出力抑制ラインL12に従って、アクセル開度に応じて要求パワーreqが設定される。CDモード時は、第1出力抑制ラインL12よりもさらに要求パワーが小さい第2出力抑制ラインL13に従って、アクセル開度に応じて要求パワーreqが設定される。
ECOモードの選択中にCDモードで走行しているときは、特に低燃費走行が要求されるところ、この実施の形態2では、このような場合に、第2出力抑制ラインL13に従って、アクセル開度に応じて要求パワーreqが設定される。これにより、要求パワー(車両駆動力)が抑制されることでEV走行からHV走行への切替が抑制され、その結果、低燃費の走行が実現される。
図9は、実施の形態2におけるECU26Aにより実行される要求パワー設定処理の手順を説明するためのフローチャートである。なお、このフローチャートに示される処理も、所定時間毎又は所定条件の成立時にメインルーチンから呼び出されて実行される。
図9を参照して、ECU26Aは、アクセル開度を検出する(ステップS110)。次いで、ECU26Aは、ECOモードスイッチ28からの信号ECに基づいて、ECOモードが選択されているか否かを判定する(ステップS120)。ECOモードは選択されていない、すなわちノーマルモードであると判定されると(ステップS120においてNO)、ECU26Aは、図8に示したノーマルラインL11に従って、ステップS110において検出されたアクセル開度に基づいて要求パワーreqを設定する(ステップS160)。
ステップS120において、ECOモードが選択されていると判定されると(ステップS120においてYES)、ECU26Aは、CDモードが選択されているか否かを判定する(ステップS130)。
モードはCDモードであると判定されると(ステップS130においてYES)、ECU26Aは、図8に示した第2出力抑制ラインL13に従って、アクセル開度に基づいて要求パワーreqを設定する(ステップS140)。
一方、ステップS130において、モードはCDモードでない、すなわちモードはCSモードであると判定されると(ステップS130においてNO)、ECU26Aは、図8に示した第1出力抑制ラインL12に従って、アクセル開度に基づいて要求パワーreqを設定する(ステップS150)。
以上のように、ECOモードの選択中にCDモードで走行しているときは、特に低燃費走行が要求されるところ、この実施の形態2においては、このような場合に、第2出力抑制ラインL13に従って、アクセル開度に応じて要求パワーreqが設定される。したがって、この実施の形態2によれば、要求パワー(車両駆動力)が抑制されることでEV走行からHV走行への切替が抑制され、その結果、燃費を向上させることができる。
[実施の形態2の変形例]
実施の形態1の変形例と同様に、この変形例では、ECOモードの選択中にCDモードで走行しているときは、ノーマルモードのとき(ECOモードの非選択時)、又はECOモードの選択中にCSモードで走行しているときよりも、要求パワー(車両駆動力)の最大値が小さい。これにより、過度なアクセル操作に対しても、車両駆動力が確実に抑制され、その結果、CDモードにおける燃費を確実に向上させることが可能となる。
図10は、実施の形態2の変形例におけるアクセル開度と要求パワーとの関係を示した図である。図10を参照して、この図は、上述の図8に対応するものであり、ノーマルモードにおいては、実施の形態2と同様に、ノーマルラインL11に従って、アクセル開度に応じて要求パワーreqが設定される。また、ECOモードが選択されている場合において、CSモードのときも、実施の形態2と同様に、第1出力抑制ラインL12に従って、アクセル開度に応じて要求パワーreqが設定される。
一方、ECOモードが選択されている場合において、CDモードのときは、図8に示した第2出力抑制ラインL13に代えて、第3出力抑制ラインL14が用いられる。この第3出力抑制ラインL14については、同一のアクセル開度に対する要求パワーreqが第1出力抑制ラインL12よりも小さく、かつ、アクセル開度100%における要求パワーの値(P2)すなわち車両駆動力の最大値が第1出力抑制ラインL12の値(P1)よりも小さい。これにより、ユーザが過度なアクセル操作を行なっても、車両駆動力が確実に抑制され、燃費を確実に向上できる。
なお、この変形例においても、ECOモードが選択されている場合のCDモードにおいて、アクセル開度が100%であるときの要求パワーP2は、上述の図5,6で説明したように、たとえば、走行用のモータジェネレータ10の効率に基づいて決定される。
以上のように、この実施の形態2の変形例によれば、ECOモードが選択されている場合に、CDモードにおいて、過度なアクセル操作に対する車両駆動力が抑制され、エンジン2の作動が抑制される。したがって、この変形例によれば、燃費を確実に向上させることができる。また、モータジェネレータ10の効率を高い状態に維持することができ、この点でも燃費の向上が図られる。
なお、上記の各実施の形態では、エンジン2と2つのモータジェネレータ6,10とが動力分割装置4によって連結された構成のハイブリッド車両100,100A(図1,7)について説明したが、この発明が適用されるハイブリッド車両は、このような構成のものに限定されない。
たとえば、エンジン2と1つのモータジェネレータ10とが、クラッチを介して直列的に連結された構成のハイブリッド車両等に対しても、上記の各実施の形態で説明した制御を適用することが可能である。また、モータジェネレータ6を駆動するためにのみエンジン2を用い、モータジェネレータ10でのみ車両の駆動力を発生する、いわゆるシリーズ型のハイブリッド車両にも、この発明は適用可能である。
また、上記の各実施の形態では、ハイブリッド車両100,100Aは、外部充電可能な所謂プラグインハイブリッド車として説明したが、この発明が適用されるハイブリッド車両は、プラグインハイブリッド車に限定されない。すなわち、車両外部の電源によって蓄電装置16を充電する充電機構(電力変換器23及び接続部24)を備えないハイブリッド車両にも、この発明は適用可能である。
なお、上記において、モータジェネレータ6,10、動力分割装置4、及び電力変換器18,20は、この発明における「駆動装置」の一実施例に対応する。また、エンジン2は、この発明における「内燃機関」の一実施例に対応し、ECU26は、この発明における「制御装置」の一実施例に対応する。さらに、モータジェネレータ10は、この発明における「電動機」の一実施例に対応し、電力変換器23及び接続部24は、この発明における「充電機構」の一実施例を形成する。
今回開示された各実施の形態は、適宜組合わせて実施することも予定されている。そして、今回開示された実施の形態は、すべての点で例示であって制限的なものではないと考えられるべきである。本発明の範囲は、上記した実施の形態の説明ではなくて特許請求の範囲によって示され、特許請求の範囲と均等の意味及び範囲内でのすべての変更が含まれることが意図される。
2 エンジン、4 動力分割装置、6,10 モータジェネレータ、8 伝達ギヤ、12 駆動軸、14 車輪、16 蓄電装置、18,20,23 電力変換器、22 駆動装置、24 接続部、26,26A ECU、28 ECOモードスイッチ、100,100A ハイブリッド車両。

Claims (6)

  1. 蓄電装置と、
    前記蓄電装置に蓄えられた電力を受けて車両駆動力を発生する駆動装置と、
    内燃機関とを備え、
    前記駆動装置は、さらに、前記内燃機関の出力を用いて前記蓄電装置を充電するための電力を生成可能に構成され、さらに
    前記蓄電装置のSOCを消費するCD(Charge Depleting)モードと、前記SOCを所定レベルに維持するCS(Charge Sustaining)モードとのいずれかを選択して走行するための制御装置を備え、
    前記駆動装置は、車両駆動力を発生する電動機を含み、
    前記制御装置は、前記CDモードにおいて、走行状況に応じて、前記内燃機関を停止して前記電動機により走行するEV走行と、前記内燃機関を作動させて走行するHV走行とを切り替え、
    前記制御装置は、前記EV走行中か前記HV走行中かに拘わらず、前記CDモードが選択されているときは、前記CSモードが選択されているときよりも、同一のアクセル開度に対する車両駆動力が小さくなるように車両駆動力を制御する、ハイブリッド車両。
  2. 蓄電装置と、
    前記蓄電装置に蓄えられた電力を受けて車両駆動力を発生する駆動装置と、
    内燃機関とを備え、
    前記駆動装置は、さらに、前記内燃機関の出力を用いて前記蓄電装置を充電するための電力を生成可能に構成され、さらに
    前記蓄電装置のSOCを消費するCD(Charge Depleting)モードと、前記SOCを所定レベルに維持するCS(Charge Sustaining)モードとのいずれかを選択して走行するための制御装置を備え、
    前記駆動装置は、車両駆動力を発生する電動機を含み、
    前記制御装置は、前記CDモードにおいて、走行状況に応じて、前記内燃機関を停止して前記電動機により走行するEV走行と、前記内燃機関を作動させて走行するHV走行とを切り替え、
    前記制御装置は、前記CDモードが選択されているときは、前記CSモードが選択されているときよりも、同一のアクセル開度に対するHV走行中の車両駆動力が小さくなるように車両駆動力を制御する、ハイブリッド車両。
  3. 前記制御装置は、車両の加速性よりも燃費の低減を優先する所定モードが選択されている場合において、前記CDモードが選択されているときは、前記CSモードが選択されているときよりも、同一のアクセル開度に対する車両駆動力が小さくなるように車両駆動力を制御する、請求項1又は請求項2に記載のハイブリッド車両。
  4. 蓄電装置と、
    前記蓄電装置に蓄えられた電力を受けて車両駆動力を発生する駆動装置と、
    内燃機関とを備え、
    前記駆動装置は、さらに、前記内燃機関の出力を用いて前記蓄電装置を充電するための電力を生成可能に構成され、さらに
    前記蓄電装置のSOCを消費するCD(Charge Depleting)モードと、前記SOCを所定レベルに維持するCS(Charge Sustaining)モードとのいずれかを選択して走行するための制御装置を備え、
    前記制御装置は、前記CDモードが選択されているときは、前記CSモードが選択されているときよりも、同一のアクセル開度に対する車両駆動力が小さくなるように車両駆動力を制御し、
    前記制御装置は、前記CDモードが選択されているときは、前記CSモードが選択されているときよりも、車両駆動力の最大値が小さくなるように車両駆動力を制御する、ハイブリッド車両。
  5. 前記駆動装置は、車両駆動力を発生する電動機を含み、
    前記CDモードが選択されているときの車両駆動力の最大値は、前記電動機のトルクが所定の制限トルクを超えないように設定され、
    前記所定の制限トルクは、前記電動機の効率に基づき設定され、前記電動機が出力可能な最大トルクよりも小さい、請求項4に記載のハイブリッド車両。
  6. 車両外部の電源からの電力を用いて前記蓄電装置を充電するための充電機構をさらに備える、請求項1から請求項5のいずれか1項に記載のハイブリッド車両。
JP2014138790A 2014-07-04 2014-07-04 ハイブリッド車両 Active JP6149814B2 (ja)

Priority Applications (4)

Application Number Priority Date Filing Date Title
JP2014138790A JP6149814B2 (ja) 2014-07-04 2014-07-04 ハイブリッド車両
US14/753,260 US9878701B2 (en) 2014-07-04 2015-06-29 Hybrid vehicle
DE102015110688.4A DE102015110688B9 (de) 2014-07-04 2015-07-02 Hybridfahrzeug
CN201510388623.5A CN105235678B (zh) 2014-07-04 2015-07-03 混合动力车辆

Applications Claiming Priority (1)

Application Number Priority Date Filing Date Title
JP2014138790A JP6149814B2 (ja) 2014-07-04 2014-07-04 ハイブリッド車両

Publications (2)

Publication Number Publication Date
JP2016016689A JP2016016689A (ja) 2016-02-01
JP6149814B2 true JP6149814B2 (ja) 2017-06-21

Family

ID=54866360

Family Applications (1)

Application Number Title Priority Date Filing Date
JP2014138790A Active JP6149814B2 (ja) 2014-07-04 2014-07-04 ハイブリッド車両

Country Status (4)

Country Link
US (1) US9878701B2 (ja)
JP (1) JP6149814B2 (ja)
CN (1) CN105235678B (ja)
DE (1) DE102015110688B9 (ja)

Families Citing this family (5)

* Cited by examiner, † Cited by third party
Publication number Priority date Publication date Assignee Title
JP6363493B2 (ja) * 2014-12-19 2018-07-25 トヨタ自動車株式会社 ハイブリッド車両
JP6439722B2 (ja) * 2016-03-08 2018-12-19 トヨタ自動車株式会社 ハイブリッド自動車
CN114633757A (zh) * 2020-11-30 2022-06-17 荷兰移动驱动器公司 驾驶辅助方法及车载装置
KR20230122729A (ko) * 2022-02-15 2023-08-22 현대자동차주식회사 연료 전지 차량의 배터리 어시스트 장치 및 그 방법
JP2025076550A (ja) * 2023-11-02 2025-05-16 トヨタ自動車株式会社 ハイブリッド車両の制御装置

Family Cites Families (18)

* Cited by examiner, † Cited by third party
Publication number Priority date Publication date Assignee Title
JP4254786B2 (ja) * 2006-02-08 2009-04-15 トヨタ自動車株式会社 車両及びその制御方法
JP5162998B2 (ja) * 2006-10-12 2013-03-13 日産自動車株式会社 ハイブリッド車両のモード切り替え制御装置
JP4232824B2 (ja) * 2006-12-28 2009-03-04 トヨタ自動車株式会社 ハイブリッド自動車およびその制御方法
JP4997986B2 (ja) 2007-01-19 2012-08-15 トヨタ自動車株式会社 ハイブリッド車両の制御装置
JP2008296619A (ja) * 2007-05-29 2008-12-11 Toyota Motor Corp ハイブリッド車両、ハイブリッド車両の制御方法およびその制御方法をコンピュータに実行させるためのプログラムを記録したコンピュータ読取可能な記録媒体
JP4341704B2 (ja) * 2007-07-12 2009-10-07 トヨタ自動車株式会社 ハイブリッド車両およびハイブリッド車両の制御方法
JP4818337B2 (ja) 2008-09-17 2011-11-16 本田技研工業株式会社 車両の制御装置
EP2380793B1 (en) * 2008-12-22 2019-05-08 Toyota Jidosha Kabushiki Kaisha Hybrid vehicle
JP2009143563A (ja) * 2009-01-26 2009-07-02 Toyota Motor Corp ハイブリッド車両
JP2011093335A (ja) * 2009-10-27 2011-05-12 Toyota Motor Corp ハイブリッド車両の制御装置
CN102834308B (zh) * 2010-04-07 2015-07-22 丰田自动车株式会社 混合动力车辆的控制装置及具备该装置的混合动力车辆
JP5187362B2 (ja) * 2010-08-20 2013-04-24 トヨタ自動車株式会社 車両の制御装置
US8983699B2 (en) 2011-02-01 2015-03-17 Toyota Jidosha Kabushiki Kaisha Vehicle, method and device for controlling vehicle
JP2012219795A (ja) * 2011-04-14 2012-11-12 Toyota Motor Corp 車両およびその制御方法
EP2815945B1 (en) 2012-02-17 2019-10-09 Toyota Jidosha Kabushiki Kaisha Vehicle and vehicle control method
CN102849062B (zh) * 2012-09-18 2015-10-14 中国第一汽车股份有限公司 一种增程式电动汽车的驱动控制方法
JP5680176B2 (ja) 2012-12-21 2015-03-04 株式会社高尾 循環式遊技機
CN103192737B (zh) * 2013-03-25 2015-10-07 吉林大学 纯电动轿车驱动控制方法

Also Published As

Publication number Publication date
DE102015110688B9 (de) 2023-10-19
DE102015110688A1 (de) 2016-01-07
DE102015110688B4 (de) 2023-05-17
JP2016016689A (ja) 2016-02-01
US9878701B2 (en) 2018-01-30
CN105235678A (zh) 2016-01-13
US20160001767A1 (en) 2016-01-07
CN105235678B (zh) 2018-04-03

Similar Documents

Publication Publication Date Title
JP6363493B2 (ja) ハイブリッド車両
JP6213497B2 (ja) ハイブリッド車両
JP6156303B2 (ja) ハイブリッド車両
JP6179504B2 (ja) ハイブリッド車両
JPWO2011128986A1 (ja) ハイブリッド車両
US9199542B2 (en) Vehicle and method of controlling vehicle
WO2013018221A1 (ja) 車両および車両の制御方法
JPWO2013065166A1 (ja) 車両および車両の制御方法
JP5696791B2 (ja) 車両および車両の制御方法
JP6149814B2 (ja) ハイブリッド車両
JP5811181B2 (ja) 車両および車両の制御方法
JP2016117374A (ja) ハイブリッド車両
US9573581B2 (en) Hybrid vehicle
US9663100B2 (en) Hybrid vehicle
JP2013006430A (ja) ハイブリッド車両およびその制御方法
JP2016010981A (ja) ハイブリッド車両の制御装置
JP2016155486A (ja) ハイブリッド車両
JP2017154582A (ja) ハイブリッド車両

Legal Events

Date Code Title Description
A621 Written request for application examination

Free format text: JAPANESE INTERMEDIATE CODE: A621

Effective date: 20160120

A131 Notification of reasons for refusal

Free format text: JAPANESE INTERMEDIATE CODE: A131

Effective date: 20160920

A977 Report on retrieval

Free format text: JAPANESE INTERMEDIATE CODE: A971007

Effective date: 20160923

A521 Request for written amendment filed

Free format text: JAPANESE INTERMEDIATE CODE: A523

Effective date: 20161116

TRDD Decision of grant or rejection written
A01 Written decision to grant a patent or to grant a registration (utility model)

Free format text: JAPANESE INTERMEDIATE CODE: A01

Effective date: 20170425

A61 First payment of annual fees (during grant procedure)

Free format text: JAPANESE INTERMEDIATE CODE: A61

Effective date: 20170508

R151 Written notification of patent or utility model registration

Ref document number: 6149814

Country of ref document: JP

Free format text: JAPANESE INTERMEDIATE CODE: R151