JP6136838B2 - プログラム、転送方法、転送装置及びウェブメールシステム - Google Patents

プログラム、転送方法、転送装置及びウェブメールシステム Download PDF

Info

Publication number
JP6136838B2
JP6136838B2 JP2013212255A JP2013212255A JP6136838B2 JP 6136838 B2 JP6136838 B2 JP 6136838B2 JP 2013212255 A JP2013212255 A JP 2013212255A JP 2013212255 A JP2013212255 A JP 2013212255A JP 6136838 B2 JP6136838 B2 JP 6136838B2
Authority
JP
Japan
Prior art keywords
file
mail
unit
identification information
attached
Prior art date
Legal status (The legal status is an assumption and is not a legal conclusion. Google has not performed a legal analysis and makes no representation as to the accuracy of the status listed.)
Expired - Fee Related
Application number
JP2013212255A
Other languages
English (en)
Other versions
JP2015075958A (ja
Inventor
雄樹 小林
雄樹 小林
Current Assignee (The listed assignees may be inaccurate. Google has not performed a legal analysis and makes no representation or warranty as to the accuracy of the list.)
Fujitsu Ltd
Original Assignee
Fujitsu Ltd
Priority date (The priority date is an assumption and is not a legal conclusion. Google has not performed a legal analysis and makes no representation as to the accuracy of the date listed.)
Filing date
Publication date
Application filed by Fujitsu Ltd filed Critical Fujitsu Ltd
Priority to JP2013212255A priority Critical patent/JP6136838B2/ja
Publication of JP2015075958A publication Critical patent/JP2015075958A/ja
Application granted granted Critical
Publication of JP6136838B2 publication Critical patent/JP6136838B2/ja
Expired - Fee Related legal-status Critical Current
Anticipated expiration legal-status Critical

Links

Images

Landscapes

  • Information Transfer Between Computers (AREA)

Description

本願は、ファイルが添付された電子メールを転送するプログラム、転送方法、転送装置及びウェブメールシステムに関する。
資料を配布するために、資料を電子化したファイルが電子メールに添付される。当該ファイルが添付された電子メールを受信したユーザは、自身が所属するグループ内で情報の共有化を図るために、当該電子メールをグループメンバに転送する場合がある。
しかし、誤って不適切な添付ファイルがグループメンバに配布される可能性がある。そこで、ファイルが添付された電子メールを送信する場合、警告メッセージを表示して、ユーザに操作続行の可否の確認を促す機器がある(例えば、特許文献1)。当該機器は、ユーザから送信OKの応答を受け付けた場合、ファイルが添付された電子メールを送信する。また、添付ファイルとしてデータが添付された受信メールに対し、添付ファイルの内容が確認されたか否かについての判別を容易に行うことができる電子機器がある(例えば、特許文献2)。当該電子機器は、電子メール本文及び添付ファイルの内容が確認されたか否かを判定し、判定結果を表示する。
国際公開第2008/129915号パンフレット 特開2009−230542号公報
本願の目的の1つは、ユーザによる確認がなされていないファイルが添付された電子メールを送信しようとしていることの、ユーザへの注意を促すことができるプログラム等を提供することにある。
本願の一観点は、ファイルが添付された電子メールを転送する処理を、記憶部にアクセス可能なコンピュータに実行させるプログラムにおいて、ファイルが添付された電子メールの転送指示を受け付けた場合、該電子メールから該電子メールの識別情報及びファイルの識別情報を夫々抽出し、前記ファイルについてユーザによりアクセスされたことを示す情報、該電子メールの識別情報及びファイルの識別情報が対応付けて記憶された前記記憶部の内容を、抽出した前記電子メールの識別情報及びファイルの識別情報に基づいて参照し、参照した前記ファイルについてのアクセスされたことを示す情報に基づいて、該ファイルがオープン済みか否かを判定し、前記ファイルがオープン済みでないと判定した場合、前記ファイルがオープン済みでないことを通知する。
本願の一観点によれば、ユーザによる確認がなされていないファイルが添付された電子メールを送信しようとしていることの、ユーザへの注意を促すことができる。
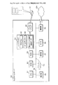
社内電子メールシステムの構成の一例を示す説明図である。 端末装置のハードウェア構成例を示すブロック図である。 端末装置の機能構成例を示す機能ブロック図である。 添付ファイル管理データのレコードレイアウトの一例を示す説明図である。 転送画面の画面レイアウトの一例を示す説明図である。 警告画面の画面レイアウトの一例を示す説明図である。 添付ファイル表示画面の画面レイアウトの一例を示す説明図である。 電子メールメイン処理の手順の一例を示すフローチャートである。 メール閲覧処理の手順の一例を示すフローチャートである。 メール閲覧処理の手順の一例を示すフローチャートである。 警告処理の手順の一例を示すフローチャートである。 警告処理の手順の一例を示すフローチャートである。 新規メール作成処理の手順の一例を示すフローチャートである。 送信処理の手順の一例を示すフローチャートである。 ウェブメールシステムの構成の一例を示す説明図である。 ウェブメールサーバのハードウェア構成例を示すブロック図である。 端末装置及びウェブメールサーバの機能構成例を示す機能ブロック図である。 添付ファイル送信管理データのレコードレイアウトの一例を示す説明図である。 ウェブメールメイン処理の手順の一例を示すフローチャートである。 ウェブメールメイン処理の手順の一例を示すフローチャートである。 添付ファイル表示処理の手順の一例を示すフローチャートである。 添付ファイルダウンロード処理の手順の一例を示すフローチャートである。 メール転送処理の手順の一例を示すフローチャートである。 メール転送処理の手順の一例を示すフローチャートである。 メール転送処理の手順の一例を示すフローチャートである。
本実施の形態をその図面に基づいて説明する。
実施の形態1
実施の形態1は、電子化された会議資料を、電子メールを用いて社内グループのメンバに配布することにより、情報の共有化を図る社内電子メールシステムに関する。
図1は、社内電子メールシステム10の構成の一例を示す説明図である。社内電子メールシステム10は、複合機20、メールサーバ30及び端末装置40を含む。複合機20、メールサーバ30及び端末装置40は、ネットワーク1Nに接続されている。ネットワーク1Nは、例えば社内のLAN(Local Area Network)又はWAN(Wide Area Network)である。なお、ネットワーク1Nは、図示しないファイアウォールを介してインターネット10Nに接続されてもよい。
複合機20は、紙資料を画像データ化するスキャナ機能、スキャナ機能により生成した画像データのファイルが添付された電子メールを、メールサーバ30を介して、予め登録されたメールアドレス又は指定されたメールアドレスへ送信する送信機能を有している。また、複合機20は、紙資料を紙に複写する複写機能及び端末装置40から受け付けた情報を紙に印刷する印刷機能を更に有していてもよい。
メールサーバ30は、例えば汎用コンピュータ、ワークステーション、デスクトップ型PC(パーソナルコンピュータ)等である。メールサーバ30には、電子メールを配送するソフトウェアがインストールされている。メールサーバ30は、インターネット10Nにも接続されており、社外のメールサーバと電子メールの送受信をすることが可能である。
端末装置40は、例えばデスクトップ型PC、ノートブック型PC、タブレット型PC、スマートフォン等である。以下では、端末装置40は、デスクトップ型PCであるものとする。複数人からなる各従業員に少なくとも1台の端末装置40が与えられている。そのため、端末装置40は、複数台である。
図2は、端末装置40のハードウェア構成例を示すブロック図である。端末装置40は、CPU(Central Processing Unit)41を含む。また、端末装置40は、ROM(Read Only Memory)42及びRAM(Random Access Memory)43を含む。更に、端末装置40は、ハードディスク44、ディスクドライブ45、表示部46、操作部47、タイマ48及び通信部49を含む。
なお、端末装置40は、コンピュータ及び転送装置に対応する。
CPU41は、ソフトウェアプログラムに記述された命令セットを実行するためのプロセッサである。CPU41は、端末装置40の各構成部を制御する。CPU41は、ハードディスク44に記憶されたプログラム4PをRAM43に読み出し、RAM43に読み出したプログラム4Pを実行する。
なお、CPU41は、抽出部、参照部、判定部、出力部、取得部、複製部、保存部、記憶制御部及び更新部に対応する。
ROM42は、読み出し専用記憶媒体であり、例えば不揮発性の半導体メモリである。ROM42は、端末装置40の起動時にCPU41が実行するBIOS(Basic Input/Output System)、ファームウェア等を記憶している。
RAM43は、主記憶装置である。RAM43は、例えばSRAM又はDRAMであり、CPU41が実行する処理の過程で必要な作業変数、データ等を一時的に記憶する。なお、RAM43の代わりにフラッシュメモリ、メモリカード等が用いられてもよい。
ハードディスク44は、補助記憶装置である。ハードディスク44は、大容量の情報の記憶が可能なフラッシュメモリ又はCD(Compact Disc)、DVD(Digital Versatile Disc)、BD(Blu-ray(登録商標) Disc)等の光ディスク1dで代替されてもよい。ハードディスク44は、端末装置40の内部に取り付けられるものであっても、端末装置40の外部に置かれるものであってもよい。
ハードディスク44は、CPU41が実行するOS(Operating System)プログラム4OSP、プログラム4P及び添付ファイル管理データ4Tを記憶している。
なお、ハードディスク44は記憶部に、OSプログラム4OSPは他のプログラムに対応する。
OSプログラム4OSPは、ハードウェアを抽象化したインターフェースをアプリケーションソフトウェアに提供するソフトウェアである。OSプログラム4OSPは、多くのアプリケーションソフトウェアから共通して利用される基本的な機能を提供し、コンピュータシステム全体を管理する。OSプログラム4OSPは、例えばファイルを管理するファイルシステムを含む。
プログラム4Pは、電子メールソフト(メーラー)のプログラム及び電子メールソフトのアドオンソフトを含む。
添付ファイル管理データ4Tは、電子メールに添付されたファイルを管理するための情報を格納するデータである。また、1の添付ファイル管理データ4Tは、1の受信者のメールアドレスと対応付けられているものとする。添付ファイル管理データ4Tの詳細については、後述する。
また、ハードディスク44には、記憶領域であるメールボックス4Bが格納されている。ここでのメールボックス4Bは、端末装置40が受信した電信メールと、端末装置40が送信した送信済みの電子メールとを保存する記憶領域である。メールボックス4Bは、ハードディスク44上の予め決められたパスに所在する。
ディスクドライブ45は、外部の記憶媒体であるCD、DVD、BD等の光ディスク1dから情報を読み出し、光ディスク1dに情報を記録する。
表示部46は、画像を表示する表示装置である。表示部46は、例えば液晶ディスプレイ、有機EL(Electro Luminescence)ディスプレイ、CRT(Cathode Ray Tube)ディスプレイ等の画面を有し、CPU41からの指示に従って、プログラム4Pに係る各種情報を当該画面に表示する。なお、表示部46は、図示しないスピーカを含む。
操作部47は、ユーザからの各種の入力を受け付けるキーボード、マウス、タッチパネル、電源スイッチ等の入力デバイスである。操作部47は、ユーザによる操作に基づいて入力信号を生成する。生成された入力信号は、バス4bを介してCPU41に出力される。
なお、操作部47は、受付部、保存先受付部及び要求受付部に対応する。
タイマ48は、クロックを数えることで一定時間の経過を計時する装置である。タイマ48は、計時した結果をCPU41に出力する。
通信部49は、有線又は無線通信のモデム、LANカード、ルータ、USB(Universal Serial Bus)端子、接続コネクタ等である。通信部49は、ネットワーク1Nと接続されている。
なお、CPU41は、ディスクドライブ45を介して、プログラム4Pを光ディスク1dなどの可搬記憶媒体から読み込んでもよい。CPU41は、通信部49を介して、プログラム4Pを他の情報処理装置又は記憶装置から読み込んでもよい。さらに、プログラム4Pを記憶したフラッシュメモリ等の半導体メモリ1mが、端末装置40内に実装されていてもよい。
次に、端末装置40の機能について説明する。
図3は、端末装置40の機能構成例を示す機能ブロック図である。端末装置40の各機能部は、ハードディスク44に記憶されたプログラム4Pと、CPU41、RAM43、ハードディスク44等のハードウェア資源とが協働して動作することにより実現される。端末装置40は、通信部401、オープン部402、複製部403、保存先受付部404、保存部405、転送受付部406、抽出部407、記憶制御部408、取得部409、判定部410、出力部411及びファイル管理部412の各機能部を含む。
通信部401は、ハードウェアの通信部49に対応する機能部である。通信部401は、メールサーバ30から電子メールを受信し、受信した電子メールを該電子メールの受信者のメールアドレスと対応付けられているメールボックス4Bに保存する。通信部401は、メールサーバ30へ電子メールを送信し、送信した送信済み電子メールを該電子メールの送信者のメールアドレスと対応付けられているメールボックス4Bに保存する。
オープン部402は、電子メール又は電子メールに添付されたファイル(以下、添付ファイルと呼ぶ)をオープンする機能部であり、ハードウェアのCPU41に対応する。
複製部403は、添付ファイルを複製する機能部であり、ハードウェアのCPU41に対応する。以下、添付ファイルを複製したファイルを複製ファイルと呼ぶ。
保存先受付部404は、ハードウェアのCPU41及び操作部47に対応する機能部である。保存先受付部404は、ハードディスク44におけるメールボックス4B以外の記憶領域に複製ファイルを保存する場合、複製ファイルの保存先の情報、すなわちパスを受け付ける。
ここでは、ユーザは自身が管理する端末装置40のハードディスク44に複製ファイルを保存するものとする。ただし、複製ファイルの保存先は、ユーザが管理する端末装置40のハードディスク44に限る必要はなく、ユーザが任意に指定した保存先にすることができる。例えば、複製ファイルの保存先は、ディスクドライブ45にセットされた光ディスク1d又は端末装置40内に実装された半導体メモリ1mでもよい。あるいは、複製ファイルの保存先は、ユーザが管理する他の端末装置40又は他者が管理する端末装置40のハードディスク44でもよい。更には、複製ファイルの保存先は、ネットワーク1N又はインターネット10Nに接続されたPC、ファイルサーバ、データベースサーバ等でもよい。
保存部405は、複製部403が生成した複製ファイルを、保存先受付部404が受け付けた保存先に保存する機能部であり、ハードウェアのCPU41に対応する。
転送受付部406は、ハードウェアのCPU41及び操作部47に対応する機能部である。転送受付部406は、受信した電子メールの転送先及び転送指示を受け付ける。
抽出部407は、メールボックス4Bに保存されている電子メールの識別情報を抽出する機能部であり、ハードウェアのCPU41に対応する。また、抽出部407は、電子メールにファイルが添付されている場合、添付ファイルの識別情報も抽出する機能部である。ここでの電子メールの識別情報は、例えば電子メールのヘッダ情報に含まれるメッセージIDである。ここでの添付ファイルの識別情報は、例えば電子メールのヘッダ情報に含まれる添付ファイルの名称である。
記憶制御部408は、添付ファイル管理データ4Tに対して、新規レコードの挿入、レコード検索、レコード更新、レコード削除等を実行する機能部である。記憶制御部408は、ハードウェアのCPU41に対応する。
なお、記憶制御部408は、参照部に対応する。
図4は、添付ファイル管理データ4Tのレコードレイアウトの一例を示す説明図である。図4の例では、テーブル形式のデータとして説明しているが、添付ファイル管理データ4Tは、管理されている各項目のデータを対応可能に関連付けて記憶することができる場合、どのような形式でデータを格納してもかまわない。
添付ファイル管理データ4Tは、メッセージID、添付ファイル名、保存先パス、保存日時及びオープン有無の各列を含む。メッセージIDの項目には、少なくともメールボックス4Bに格納されているメールデータの中で各電子メールを一意に識別可能な情報が格納される。添付ファイル名の項目には、添付ファイルが添付された電子メール毎に、すなわち、少なくとも1つのメッセージIDに対応するデータの中で一意に識別可能な情報として、例えば添付ファイルの名称が格納される。保存先パスは、複製ファイルを保存する場合における保存場所への経路である。保存先パスは、絶対パスでもよいし、相対パスでもよい。複製ファイルが保存されない場合、保存先パスは空欄である。保存日時の項目には、複製ファイルを指定された保存先パスに保存した日時の情報が格納される。複製ファイルが保存されない場合、保存日時は空欄である。
オープン有無の項目には、添付ファイルがオープン済みか否かを示すフラグが格納される。添付ファイル管理データ4Tに新規レコードが挿入される場合、オープン有無には「無」が格納される。添付ファイルが一度でもオープンされた場合、オープン有無は「有」に更新される。
添付ファイル管理データ4Tのデータは、メッセージID及び添付ファイル名をキーとし、メッセージID及び添付ファイル別に管理される。そのため、電子メールにおける添付ファイルの数が例えば1つの場合、添付ファイル管理データ4Tに登録されるレコードの数は1件である。電子メールにおける添付ファイルの数が例えば2つの場合、添付ファイル管理データ4Tに登録されるレコードの数は2件である。
図3に戻り、端末装置40における機能について説明を続ける。
取得部409は、添付ファイルや複製ファイルのプロパティを、オペレーティングシステムが有するファイルシステムから取得する機能部であり、ハードウェアのCPU41に対応する。複製ファイルのプロパティは、作成日時、更新日時及びアクセス日時を含む。作成日時は、複製ファイルがハードディスク44に新規保存された日時である。すなわち、作成日時は、例えばユーザが添付ファイルを保存先へコピー&ペーストした保存日時と同一である。また、作成日時は、添付ファイルが複製されていない場合、該添付ファイルが添付された電子メールをユーザが受信した日時である。
更新日時は、複製ファイルを最後に書き換えた日時である。複製ファイルの新規保存時において、更新日時は作成日時と同じである。アクセス日時は、添付ファイルや複製ファイルを最後にオープンした日時である。アクセス日時は、最終アクセス日時と呼んでもよい。アクセス日時は、ユーザが添付ファイルや複製ファイルをオープンした場合、更新される。すなわち、複製ファイルを編集しなくても更新される。
判定部410は、添付ファイルや複製ファイルがオープン済か否かを判定する機能部であり、ハードウェアのCPU41に対応する。添付ファイルが受信されてから一度もオープンされていない場合、アクセス日時は受信日時と等しい。また、複製ファイルがハードディスク44に保存されてから一度もオープンされていない場合、アクセス日時は保存日時と等しい。他方、添付ファイルが受信されてから一度でもオープンされた場合、アクセス日時はオペレーティングシステムが有するファイルシステムにより更新されるため、受信日時よりも新しい。また、複製ファイルがハードディスク44に保存されてから一度でもオープンされた場合、アクセス日時はオペレーティングシステムが有するファイルシステムにより更新されるため、保存日時よりも新しい。
そこで、判定部410は、取得部409が取得したアクセス日時が記憶制御部408により添付ファイル管理データ4Tから検索された保存日時よりも新しい場合、複製ファイルはオープン済みと判定する。判定部410は、取得部409が取得したアクセス日時が記憶制御部408により添付ファイル管理データ4Tから検索された保存日時よりも新しくない場合、複製ファイルはオープン済みでないと判定する。
なお、判定部410は、取得部409が取得した作成日時及びアクセス日時を用いて、アクセス日時が作成日時よりも新しい場合、複製ファイルはオープン済みと判定してもよい。また、判定部410は、取得部409が取得した作成日時及びアクセス日時を用いて、アクセス日時が作成日時よりも新しくない場合、複製ファイルはオープン済みでないと判定してもよい。かかる場合、添付ファイル管理データ4Tは、保存日時を含まなくてもよい。
出力部411は、添付ファイル管理データ4Tの保存先パスが空欄であり、かつ添付ファイル管理データ4Tのオープン有無が「無」である場合、添付ファイルのオープンを促す警告情報を表示部46に出力する機能部である。また、出力部411は、添付ファイル管理データ4Tのオープン有無が「無」であり、かつ判定部410が複製ファイルはオープン済みでないと判定した場合、添付ファイルのオープンを促す警告情報を表示部46に出力する機能部である。すなわち、出力部411は、複製ファイルが存在しないときに添付ファイルがオープン済みでない場合、又は添付ファイルが存在し、かつ添付ファイル及び複製ファイルの両者がオープン済みでない場合に、添付ファイルのオープンを促す警告情報を画像情報として表示部46に出力する。出力部411は、ハードウェアのCPU41に対応する。
なお、出力部411は、警告情報を音声情報としてスピーカに出力してもよい。
なお、出力部411は、表示部46に各種画面に対応する情報を出力する機能部である。ここでの各種画面は、例えば電子メールの本文、添付ファイルの内容等を表示する画面である。
表示部46は、ハードウェアの表示部46と同一であり、出力部411が出力した警告情報に基づいて、添付ファイルのオープンを促す警告文言を含む画面を表示する。また、表示部46は、出力部411が出力した警告情報に基づいて、添付ファイルを開くか否かを選択する選択画面を表示する。ここでの警告文言を含む画面と選択画面とは、別々の画面であってもよいし、同一の画面であってもよい。以下では、警告文言を含む画面と選択画面とは同一画面であるものとする。
ファイル管理部412は、ハードディスク44に記憶された各種ファイルの属性を管理する機能部である。ファイル管理部412は、オペレーティングシステムが有するファイルシステムに対応し、各種ファイルに対する操作に基づいて、当該各種ファイルの属性を更新する。ファイル管理部412は、ハードウェアのCPU41に対応する。
次に、端末装置40の動作について説明する。まず、端末装置40の動作の概要を、具体的な操作画面を参照して説明する。
社内グループのメンバが集まり、業務に関する会議を開いたものとする。ここで、メンバの一人であるユーザが、会議を欠席したメンバに、会議の資料を配布する場合を考える。
ユーザは、会議の紙資料を複合機20でスキャンし、紙資料に対応する画像のファイルを複合機20に生成させる。ユーザは、ファイルが添付された電子メールを自身が管理する端末装置40に対応するメールアドレスへ、複合機20に送信させる。端末装置40は、メールサーバ30を介して、複合機20からファイルが添付された電子メールを受信する。端末装置40は、ユーザによる操作に応じて添付ファイルを複製し、ユーザにより指定された保存先に複製ファイルを保存する。
端末装置40は、複合機20から受信した電子メールの転送指示を受け付けた場合、添付ファイル及び複製ファイルがオープン済みか否かを、添付ファイル管理データ4T及びオペレーティングシステムが有するファイルシステムを参照して調べる。端末装置40は、添付ファイル及び複製ファイルが一度もオープンされていない場合、添付ファイルの内容の確認を促す警告画面を表示部46に表示する。
図5は、転送画面1fの画面レイアウトの一例を示す説明図である。転送画面1fは、ユーザが端末装置40においてプログラム4Pを起動し、受信した電子メールを転送するための操作をした場合、表示部46に表示される。
転送画面1fは、差出人ラベル11lbl、宛先ボタン11btn、宛先テキストボックス11txt、添付ファイルラベル12lbl、件名テキストボックス12txt、電子メール閲覧画面10f及び送信ボタン12btnを含む。
差出人ラベル11lblは、転送者の名称を表示する画面部品である。宛先ボタン11btnは、電子メールの送信先を選択するダイアログボックスを表示させるための画面部品である。宛先テキストボックス11txtは、電子メールの送信先を特定可能な情報を表示又は入力するための画面部品である。ユーザは、宛先ボタン11btn又は宛先テキストボックス11txtを利用して、会議に欠席したメンバに対応するメールアドレスを選択又は入力する。
添付ファイルラベル12lblは、添付ファイルの名称を表示する画面部品である。添付ファイルラベル12lblが例えばダブルクリックされた場合、添付ファイルを指定し直すためのダイアログボックスが表示される。これにより、ユーザは、添付ファイルが意図するものと異なる場合、添付ファイルを意図するものに変更することができる。
件名テキストボックス12txtは、転送する電子メールの件名を表示又は入力するための画面部品である。電子メール閲覧画面10fは、転送する電子メールの本文を表示する子画面である。送信ボタン12btnは、受信した電子メールの転送を実行するための画面部品である。
図6は、警告画面2fの画面レイアウトの一例を示す説明図である。警告画面2fは、転送画面1fにおいて送信ボタン12btnが押下された場合、転送画面1fの前面に例えばポップアップ画面として表示される。警告画面2fは、警告ラベル21lbl、開くボタン21btn及び開かないボタン22btnを含む。
警告ラベル21lblは、ユーザに添付ファイルの確認を促す文字列を表示する画面部品である。当該文字列は、例えば「添付ファイルを開いて確認したほうがいいですよ」である。警告ラベル21lblから添付ファイルに関する注意喚起を促されたユーザは、開くボタン21btn又は開かないボタン22btnを選択して押下する。
開くボタン21btnは、添付ファイルをオープンするための画面部品である。開かないボタン22btnは、添付ファイルをオープンせずに、警告画面2fをクローズする画面部品である。
図7は、添付ファイル表示画面3fの画面レイアウトの一例を示す説明図である。添付ファイル表示画面3fは、警告画面2fにおいて開くボタン21btnが押下された場合、転送画面1fの前面に例えばポップアップ画面として表示される。添付ファイル表示画面3fには、添付ファイルの内容が表示される。これにより、ユーザは添付ファイルの内容を確認することができる。例えば、ユーザは、複合機20で紙資料をスキャンする場合、紙資料の縦横の向きや表裏を間違えたり、スキャンすべき箇所を間違えることがある。また、スキャン時における紙資料のブレ等で画像として取り込まれた文字が潰れることがある。かかる場合、添付ファイルの内容が表示されることで、ユーザは、紙資料のスキャニングをやり直すべきと判定することができる。
また、添付ファイルの内容自体は適切であっても、ユーザは添付ファイルを配布すべきメンバを間違えることがある。例えば、メンバ毎に配布する資料の種類が異なり、スキャンした紙資料の種類が多い場合、ユーザは宛先の選択又は入力の誤りを犯しやすい。しかし、ユーザは、宛先と添付ファイルの内容とを確認することにより、宛先の選択又は入力をやり直す機会を得ることができる。
警告画面2fにおける開かないボタン22btnが押下され、警告画面2fがクローズされた場合、転送画面1fが表示される(図5)。
ユーザは、宛先と添付ファイルとが適切であると確信した場合、送信ボタン12btnを押下し、転送処理を終了する。これにより、ユーザは短時間で業務を遂行することができる。
一方、ユーザは、宛先及び/又は添付ファイルが不適切であると認識した場合、複合機20を利用したスキャニング操作や、宛先の選択又は入力等、不適切な点を解消するために、必要な操作をやり直す。これにより、端末装置40は、ユーザによる不適切な添付ファイルの配布を防止することができる。
端末装置40の動作の詳細について説明する。なお、電子メールの受信処理は、プログラム4Pが起動している場合、一定時間間隔にてバックグラウンドで実行される。
図8は、電子メールメイン処理の手順の一例を示すフローチャートである。電子メールメイン処理は、4つのサブルーチン処理を含む。
オープン部402は、受信した電子メールの閲覧指示を受け付けたか否かを判定する(ステップS1)。オープン部402は、受信した電子メールの閲覧指示を受け付けたと判定した場合(ステップS1:YES)、メール閲覧処理を実行し(ステップS2)、ステップS3へ処理を進める。メール閲覧処理は、受信した電子メールの本文を転送画面1fに表示する処理であり、添付ファイルのコピー&ペースト並びに添付ファイル管理データ4Tへのレコード挿入及びレコード更新を含む。
オープン部402が受信した電子メールの閲覧指示を受け付けていないと判定した場合(ステップS1:NO)、転送受付部406は受信した電子メールの転送指示を受け付けたか否かを判定する(ステップS3)。転送受付部406が受信した電子メールの転送指示を受け付けたと判定した場合(ステップS3:YES)、出力部411は警告処理を実行する(ステップS4)。警告処理は、添付ファイル及び複製ファイルが一度もオープンされていない場合、警告画面2fを表示する処理である。
転送受付部406が受信した電子メールの転送指示を受け付けていないと判定した場合(ステップS3:NO)、CPU41は新規メールを作成する指示を受け付けたか否かを判定する(ステップS5)。CPU41は、新規メールを作成する指示を受け付けたと判定した場合(ステップS5:YES)、新規メール作成処理を実行する(ステップS6)。新規メール作成処理は、新規メールを作成する画面を表示し、作成された電子メールを一時保存する処理である。
通信部401は、警告処理又は新規メール作成処理が実行された後に(ステップS4、S6)、送信処理を実行する(ステップS7)。送信処理は、電子メールを送信又は転送する処理である。CPU41は、送信処理を実行した場合(ステップS7)、処理をステップS1へ戻す。
図9及び図10は、メール閲覧処理の手順の一例を示すフローチャートである。
オープン部402は、ステップS1で閲覧が指示された電子メールに添付ファイルが添付されているか否かを判定する(ステップS201)。オープン部402は、閲覧が指示された電子メールに添付ファイルが添付されていないと判定した場合(ステップS201:NO)、ステップS213に処理を進める。オープン部402により閲覧が指示された電子メールに添付ファイルが添付されていると判定された場合(ステップS201:YES)、抽出部407は閲覧が指示された電子メールのヘッダからメッセージID及び添付ファイル名を抽出する(ステップS202)。なお、ステップS202において、抽出部407は、抽出したメッセージID及び添付ファイル名をRAM43に記憶する。CPU41は、以降のステップにおいて、メッセージID及び添付ファイル名を参照する必要が生じた場合、RAM43からメッセージID及び添付ファイル名を取得する。
記憶制御部408は、添付ファイル管理データ4Tに、ステップ202で取得したメッセージID及び添付ファイル名に対応するレコードが記録されているか否かを判定する(ステップS203)。記憶制御部408は、添付ファイル管理データ4Tにレコードが記録されていると判定した場合(ステップS203:YES)、ステップS205へ処理を進める。記憶制御部408は、添付ファイル管理データ4Tにレコードが記録されていないと判定した場合(ステップS203:NO)、添付ファイル管理データ4Tに、取得したメッセージID及び添付ファイルの値を有する新規レコードを挿入する(ステップS204)。なお、ステップS204において、記憶制御部408は、新規レコードにおけるオープン有無の値に「無」を設定し、保存先パス及び保存日時に値を設定しない。
保存先受付部404は、添付ファイルの保存指示を受け付けたか否かを判定する(ステップS205)。ステップS205において、保存先受付部404は、添付ファイルを保存するか否かを選択するためのダイアログボックスを表示部46に表示し、表示したダイアログボックスに対するユーザからの応答に応じて判定処理を実行する。保存先受付部404は、添付ファイルの保存指示を受け付けていないと判定した場合(ステップS205:NO)、ステップS210へ処理を進める。保存先受付部404は、添付ファイルの保存指示を受け付けたと判定した場合(ステップS205:YES)、添付ファイルを保存する保存先パスを受け付ける(ステップS206)。ステップS206において、出力部411は、保存先を指定してファイルを保存するダイアログボックスを表示部46に表示し、表示したダイアログボックスを介して、保存先パスを受け付ける。
複製部403は、添付ファイルを複製し、複製した複製ファイルをステップS206で受け付けた保存先に保存する(ステップS207)。記憶制御部408は、タイマ48の計時に基づいて、複製ファイルを保存した時の日時を保存日時として取得する(ステップS208)。記憶制御部408は、ステップS202で取得したメッセージID及び添付ファイル名に対応する添付ファイル管理データ4Tのレコードに、受け付けた保存先パスと、取得した保存日時とを設定し、当該レコードを更新する(ステップS209)。
オープン部402は、添付ファイルの内容を表示する指示を受け付けたか否かを判定する(ステップS210)。ステップS210において、出力部411は添付ファイルの内容を表示するか否かを選択するためのダイアログボックスを表示部46に表示し、表示したダイアログボックスに対するユーザからの応答に応じて判定処理を実行する。オープン部402は、添付ファイルの内容を表示する指示を受け付けていないと判定した場合(ステップS210:NO)、ステップS213へ処理を進める。オープン部402は、添付ファイルの内容を表示する指示を受け付けたと判定した場合(ステップS210:YES)、添付ファイルをオープンする(ステップS211)。ステップS211において、出力部411は、オープンした添付ファイルの内容を図7に示した添付ファイル表示画面3fと同様の画面に表示する。
記憶制御部408は、ステップS202で取得したメッセージID及び添付ファイル名に対応する添付ファイル管理データ4Tのレコードに、オープン有無の値に「有」を設定し、当該レコードを更新する(ステップS212)。出力部411は、ステップS1で閲覧が指示された電子メールの本文を、図5に示した転送画面1fにおける電子メール閲覧画面10fと同様の画面に表示し(ステップS213)、処理を終了する。
なお、上述の例では、メール閲覧処理は、受信したメールの閲覧指示を受け付けた場合に実行された。しかし、メール閲覧処理の大部分を占める処理、すなわち添付ファイル管理データ4Tへの新規レコード挿入と、レコード更新とに関する処理は、端末装置40が電子メールを受信する都度、実行されてよい。
図11及び図12は、警告処理の手順の一例を示すフローチャートである。
出力部411は、ステップS3で転送指示を受け付けた電子メールを転送するための転送画面1fを表示部46に表示する(ステップS401)。オープン部402は、転送指示を受け付けた電子メールに添付ファイルが添付されているか否かを判定する(ステップS402)。オープン部402は、転送指示を受け付けた電子メールに添付ファイルが添付されていないと判定した場合(ステップS402:NO)、処理を終了する。
オープン部402が転送指示を受け付けた電子メールに添付ファイルが添付されていると判定した場合(ステップS402:YES)、抽出部407は転送指示を受け付けた電子メールのヘッダからメッセージID及び添付ファイル名を抽出する(ステップS403)。記憶制御部408は、ステップS403で抽出部407が抽出したメッセージID及び添付ファイル名をキーにして、添付ファイル管理データ4Tからレコードを検索する(ステップS404)。判定部410は、ステップS404で検索したレコードのオープン有無の値が「有」か否かを判定する(ステップS405)。
判定部410は、ステップS404で検索したレコードのオープン有無が「有」であると判定した場合(ステップ405:YES)、処理を終了する。判定部410は、ステップS404で検索したレコードのオープン有無が「有」でないと判定した場合(ステップS405:NO)、当該レコードの保存先パス及び保存日時に値が夫々設定されているか否かを判定する(ステップS406)。判定部410は、ステップS404で検索したレコードの保存先パス及び保存日時に値が夫々設定されていないと判定した場合(ステップS406:NO)、ステップS410へ処理を進める。
取得部409は、判定部410がステップS404で検索したレコードの保存先パス及び保存日時に値が夫々設定されていると判定した場合(ステップS406:YES)、保存先に保存されている複製ファイルのプロパティを取得する(ステップS407)。ステップS407において、取得部409は、オペレーティングシステムに含まれるファイルシステムから複製ファイルのプロパティを取得する。ここで、複製ファイルのプロパティは、作成日時、更新日時及び最終アクセス日時を含む。なお、端末装置40に予め既存のファイル管理アプリケーションをインストールしておき、取得部409は当該ファイル管理アプリケーションから複製ファイルのプロパティを取得してもよい。
取得部409は、ステップS407で取得した複製ファイルのプロパティから、複製ファイルの最終アクセス日時を抽出する(ステップS408)。判定部410は、ステップS408で抽出した複製ファイルの最終アクセス日時がステップS404で検索したレコードの保存日時よりも新しいか否かを判定する(ステップS409)。判定部410は、ステップS408で抽出した複製ファイルの最終アクセス日時がステップS404で検索したレコードの保存日時よりも新しいと判定した場合(ステップS409:YES)、処理を終了する。
判定部410がステップS408で抽出した複製ファイルの最終アクセス日時がステップS404で検索したレコードの保存日時よりも新しくないと判定した場合(ステップS409:NO)、出力部411は警告画面2fを表示部46に表示する(ステップS410)。オープン部402は、警告画面2fの開くボタン21btnが押下されたか否かを判定する(ステップS411)。オープン部402は、警告画面2fの開くボタン21btnが押下されていないと判定した場合(ステップS411:NO)、すなわち警告画面2fの開かないボタン22btnが押下されたと判定した場合、処理を終了する。
オープン部402は、警告画面2fの開くボタン21btnが押下されたと判定した場合(ステップS411:YES)、添付ファイルをオープンし(ステップS412)、処理を終了する。ステップS412において、出力部411は、オープンした添付ファイルの内容を図7に示した添付ファイル表示画面3fに表示する。ステップS412以降、ユーザは添付ファイル表示画面3fをクローズし、転送画面1fの送信ボタン12btnを押下するか、転送画面1fをクローズする操作をする。
なお、ステップS405で、レコードのオープン有無が「有」でないと判定した場合、ステップS406〜S409の処理を実行せずに、すなわち、複製ファイルに対するオープンの有無を考慮せずに、ステップS410の処理を実行することも考えられる。
図13は、新規メール作成処理の手順の一例を示すフローチャートである。
CPU41は、新規メールを作成するための新規作成画面(図示せず)を表示する(ステップS61)。当該新規作成画面は、新規メールを保存するための保存ボタン、宛先を指定するための画面部品、新規メールを送信するための送信ボタン、ファイルを添付するための画面部品等を含む。CPU41は、一定時間間隔で新規作成画面に入力された本文、宛先等をハードディスク44に一時的に保存する(ステップS62)。
CPU41は、保存ボタンが押下されたか否かを判定する(ステップS63)。CPUは、保存ボタンが押下されていないと判定した場合(ステップS63:NO)、ステップS63へ処理を戻す。CPU41は、保存ボタンが押下されたと判定した場合(ステップS63:YES)、新規メールを保存し(ステップS64)、処理を終了する。
なお、CPU41は、新規メールにてファイルが添付された場合、当該ファイル名もハードディスク44に保存する。
ステップS64以降、ユーザは新規作成画面の送信ボタンを押下するか、新規作成画面をクローズする操作をする。
図14は、送信処理の手順の一例を示すフローチャートである。
通信部401は、転送画面1fの送信ボタン12btn又は新規作成画面の送信ボタンが押下されたか否かを判定する(ステップS71)。通信部401は、転送画面1fの送信ボタン12btn及び新規作成画面の送信ボタンが押下されていないと判定した場合(ステップS71:NO)、処理を終了する。通信部401は、転送画面1fの送信ボタン12btn又は新規作成画面の送信ボタンが押下されたと判定した場合(ステップS71:YES)、選択された電子メールの送信又は転送を実行する(ステップS72)。通信部401は、送信した送信済み電子メールを送信元のメールアドレスに対応するメールボックス4Bに保存し(ステップS73)、処理を終了する。
上述の例では、複合機20で生成した画像のファイルを社内グループに配布して、情報の共有化を図る例を挙げた。しかし、電子メールに添付して一定のグループメンバに配布するファイルは、画像ファイルに限らないことは勿論である。例えば、添付ファイルは、テキストファイル、ワードプロセッサで作成されたファイル、表計算ソフトのファイル、映像ファイル、音声ファイル等でもよい。
上述の例では、社内の複合機20から端末装置40が受信した電子メールを、ネットワーク1Nに接続された他の端末装置40へ転送する場合を例に挙げた。しかし、端末装置40が転送する電子メールは、例えばインターネットメールでもよく、転送先は社内に限らない。
上述の例では、社内グループメンバ間での情報の共有化を扱った。しかし、ファイルが添付された電子メールを転送することにより、情報の共有化が図られるグループは、社内グループに限らない。添付ファイルを介して情報の共有化が図られるグループは、例えば企業から製品情報の提供を受ける顧客グループ、教育機関から学校運営情報の提供を受ける保護者グループ、行政機関から市民サービス情報の提供を受ける市民グループ等でもよい。
上述の例では、1つの電子メールに1つのファイルが添付されている場合を扱った。しかし、1つの電子メールに複数のファイルが添付されていてもよいことは勿論である。かかる場合、CPU41は、添付ファイル管理データ4Tに対して、添付ファイルの数だけ、同一の処理を繰り返す。また、CPU41は、添付ファイルの数だけ、電子メール転送前のチェック処理を繰り返す。
端末装置40によれば、ユーザによる確認がなされていないファイルが添付された電子メールの転送を防止することができる。
ユーザは、受信した電子メールにファイルが添付されている場合、当該ファイルを自身が管理するPCの作業フォルダ、自身に割り当てられたファイルサーバのフォルダ等にコピー&ペーストする場合がある。それは、添付ファイルをファイル毎に分類して管理したり、複製・保存したファイルを編集したりするためである。その後、ユーザは、添付ファイルそのもの又はコピー&ペーストした複製ファイルをオープンすることもあれば、オープンしないこともある。ユーザは、他者と情報を共有化するために、受信した電子メールを他者へ転送する場合、電子メールに添付されているファイルと、コピー&ペーストした複製ファイルとのどちらについても、その内容を確認せずに転送することがある。その場合、不適切なファイルが添付された電子メールが誤って送信される虞がある。本実施の形態1によれば、端末装置40は、添付ファイル及び複製ファイルのいずれもがオープンされていない場合、ユーザに警告を発することで、ユーザによる確認がなされていないファイルが添付された電子メールの転送を防止することができる。
ユーザが電子メールに添付されたファイルをわざわざ自身が管理するPC等の記憶領域にコピー&ペーストするのは、そのファイルがユーザにとって重要度が高いからである。しかし、ユーザが複製ファイルをオープンしていない場合、ユーザはメールボックス4Bに保存されている添付ファイルもオープンしていない可能性が高い。そのため、添付ファイルそのもののオープン有無と独立して、複製ファイルがオープンされていない場合、ユーザに添付ファイルに関する注意を喚起するだけでも、適切な情報共有化、情報漏洩防止等に資する。そのため、端末装置40は、複製ファイルがオープン済みか否かだけを判定して、警告画面2fを表示してもよい。
実施の形態2
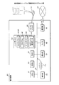
実施の形態2は、ウェブメールサーバが受信した電子メールに添付されたファイルを、電子メールを介して友人グループに配布することにより、情報の共有化を図るウェブメールシステムに関する。
なお、実施の形態2において、実施の形態1と同様である構成要素には同一の参照番号を付してその詳細な説明を省略する。
図15は、ウェブメールシステム100の構成の一例を示す説明図である。ウェブメールシステム100は、ウェブメールサーバ50、他のウェブメールサーバ60、メールサーバ70、端末装置40及びPC80を含む。ウェブメールサーバ50、他のウェブメールサーバ60、メールサーバ70、端末装置40及びPC80は、インターネット10Nに接続されている。
ウェブメールサーバ50は、例えば汎用コンピュータ、ワークステーション、デスクトップ型PC等である。ウェブメールサーバ50には、ウェブメールソフトウェアがインストールされている。
ウェブメールサーバ50は、他のウェブメールサーバ60及びメールサーバ70と電子メールの送受信を行う。
他のウェブメールサーバ60及びメールサーバ70は、夫々例えば汎用コンピュータ、ワークステーション、デスクトップ型PC等である。図15には、他のウェブメールサーバ60及びメールサーバ70が夫々1台ずつ描かれているが、他のウェブメールサーバ60及びメールサーバ70各々は複数台であってもよい。
他のウェブメールサーバ60は、ウェブメールサーバ50及びメールサーバ70と電子メールの送受信を行う。メールサーバ70は、ウェブメールサーバ50及び他のウェブメールサーバ60と電子メールの送受信を行う。
端末装置40のハードウェア構成は、実施の形態1に係る端末装置40と同じである。ただし、端末装置40のハードディスク44には、プログラム40P及びブラウザプログラム400Pがインストールされている。プログラム40Pは、実施の形態1に係るプログラム4Pをブラウザのアドオンソフトに改変したものである。図15には1台の端末装置40が描かれているが、端末装置40の台数は複数台でもよい。
端末装置40は、ウェブメールサーバ50と情報の送受信を行う。ファイルが添付された電子メールを友人グループに転送するユーザは、端末装置40の使用者である。
PC80は、例えばデスクトップ型PC、ノートブック型PC、タブレット型PC、スマートフォン等である。PC80には、電子メールソフト及びブラウザがインストールされている。図15には、2台のPC80が描かれているが、PC80の数は3台以上又は1台でもよい。
PC80は、ウェブメールサーバ50、他のウェブメールサーバ60又はメールサーバ70と情報の送受信を行う。ユーザが転送した電子メールを受け取る友人グループのメンバは、PC80の使用者である。
図16は、ウェブメールサーバ50のハードウェア構成例を示すブロック図である。ウェブメールサーバ50は、CPU51、ROM52及びRAM53を含む。また、ウェブメールサーバ50は、ハードディスク54、ディスクドライブ55、表示部56、操作部57、タイマ58及び通信部59を含む。
CPU51は、ソフトウェアプログラムに記述された命令セットを実行するためのプロセッサである。CPU51は、ウェブメールサーバ50の各構成部を制御する。CPU51は、ハードディスク54に記憶されたプログラム5PをRAM53に読み出し、RAM53に読み出したプログラム5Pを実行する。
なお、CPU51は、抽出部及び複製部に対応する。
ROM52は、読み出し専用記憶媒体であり、例えば不揮発性の半導体メモリである。ROM52は、ウェブメールサーバ50の起動時にCPU51が実行するBIOS、ファームウェア等を記憶している。
RAM53は、主記憶装置である。RAM53は、例えばSRAM又はDRAMであり、CPU51が実行する処理の過程で必要な作業変数、データ等を一時的に記憶する。
ハードディスク54は、補助記憶装置である。ハードディスク54は、ウェブメールサーバ50の内部に取り付けられるものであっても、ウェブメールサーバ50の外部に置かれるものであってもよい。
ハードディスク54は、CPU51が実行するプログラム5P及び添付ファイル送信管理データ5Tを記憶している。
プログラム5Pは、ウェブメールソフトウェアを含む。
添付ファイル送信管理データ5Tは、電子メールに添付されたファイルの内容を表示する画面に対応する画面情報を端末装置40へ送信したか否かを管理するデータである。1の添付ファイル送信管理データ5Tは、1のユーザのメールアドレスと対応付けられているものとする。添付ファイル送信管理データ5Tの詳細については、後述する。
ハードディスク54には、記憶領域であるメールボックス5Bが格納されている。ここでのメールボックス5Bは、ユーザのメールアドレスと対応付けた状態で、受信した電信メールと、送信済みの電子メールとを保存する記憶領域である。メールボックス5Bは、ハードディスク54上の予め決められたパスに所在する。
ディスクドライブ55は、外部の記憶媒体であるCD、DVD、BD等の光ディスク1dから情報を読み出し、光ディスク1dに情報を記録する。
表示部56は、画像を表示する表示装置である。表示部56は、例えば液晶ディスプレイ、有機ELディスプレイ、CRTディスプレイ等の画面を有し、CPU51からの指示に従って、プログラム5Pに係る各種情報を当該画面に表示する。
操作部57は、ユーザからの各種の入力を受け付けるキーボード、マウス、電源スイッチ等の入力デバイスである。操作部57は、ユーザによる操作に基づいて入力信号を生成する。生成された入力信号は、バス5bを介してCPU51に出力される。
タイマ58は、クロックを数えることで一定時間の経過を計時する装置である。タイマ58は、計時した結果をCPU51に出力する。
通信部59は、有線又は無線通信のモデム、LANカード、ルータ、USB端子、接続コネクタ等である。通信部59は、インターネット10Nに接続されている。
なお、通信部59は、送信部及び受信部に対応する。
なお、CPU51は、ディスクドライブ55を介して、プログラム5Pを光ディスク1dなどの可搬記憶媒体から読み込んでもよい。CPU51は、通信部59を介して、プログラム5Pを他の情報処理装置又は記憶装置から読み込んでもよい。さらに、プログラム5Pを記憶したフラッシュメモリ等の半導体メモリ1mが、ウェブメールサーバ50内に実装されていてもよい。
次に、端末装置40及びウェブメールサーバ50の機能について説明する。
図17は、端末装置40及びウェブメールサーバ50の機能構成例を示す機能ブロック図である。端末装置40の各機能部は、ハードディスク44に記憶されたプログラム4Pと、CPU41、RAM43、ハードディスク44等のハードウェア資源とが協働して動作することにより実現される。ウェブメールサーバ50の各機能部は、ハードディスク54に記憶されたプログラム5Pと、CPU51、RAM53、ハードディスク54等のハードウェア資源とが協働して動作することにより実現される。
端末装置40は、通信部401、保存先受付部404、保存部405、転送受付部406、記憶制御部408、取得部409、判定部410、出力部411及びファイル管理部412の各機能部を含む。これらの機能部は、実施の形態1に係る端末装置の各機能部と同じである。
端末装置40は、表示制御部413及び要求受付部414を含む。表示制御部413は、ハードウェアのCPU41及びソフトウェアのブラウザプログラム400Pに対応する。表示制御部413は、通信部401がウェブメールサーバ50から受信した画面情報に対応する画面を表示部46に表示する。要求受付部414は、ハードウェアのCPU41に対応し、添付ファイルの複製ファイルをウェブメールサーバ50から端末装置40へダウンロードする要求を受け付ける機能部である。
ウェブメールサーバ50は、通信部501、生成部502、抽出部503、記憶制御部504及び複製部505を含む。
通信部501は、ハードウェアのCPU51及び通信部59に対応する機能部である。通信部501は、他のウェブメールサーバ60及びメールサーバ70から電子メールを受信し、受信した電子メールを該電子メールの受信者のメールアドレスと対応付けられているメールボックス5Bに保存する。通信部501は、他のウェブメールサーバ60又はメールサーバ70へ電子メールを送信し、送信した送信済み電子メールを該電子メールの送信者のメールアドレスと対応付けられているメールボックス5Bに保存する。
生成部502は、ブラウザが表示する画面に対応する画面情報を生成する機能部であり、ハードウェアのCPU51に対応する。生成部502が生成する画面情報に対応する画面は、受信した電子メールの内容を表示する画面、添付ファイルの内容を表示する画面及び各種情報を通知する画面を含む。
なお、ブラウザが表示する画面に対応する画面情報は、例えばHTMLファイルである。しかし、ブラウザが表示する画面に対応する画面情報は、静止画像ファイル、動画像ファイル、テキストファイル、ワードプロセッサ用のファイル、表計算ソフト用のファイル等も含む。端末装置40のブラウザプログラム400Pは、これらのファイルをウェブメールサーバ50からダウンロードすることができるが、ダウンロードしたこれらのファイルをオープンして、その内容をブラウザの画面に表示することもできる。端末装置40がウェブメールサーバ50からダウンロードしたファイルの内容を表示部46に表示する場合、生成部502が生成する画面情報には、当該ファイルも含まれる。
抽出部503は、メールボックス5Bに保存されている電子メールのヘッダ情報から当該電子メールの識別情報を抽出する機能部であり、ハードウェアのCPU51に対応する。また、抽出部503は、電子メールにファイルが添付されている場合、電子メールのヘッダ情報から添付ファイルの識別情報も抽出する機能部である。
記憶制御部504は、添付ファイル送信管理データ5Tに対して、新規レコードの挿入、レコード検索、レコード更新、レコード削除を実行する機能部であり、ハードウェアのCPU41に対応する。
複製部505は、ウェブメールサーバ50が端末装置40から添付ファイルのダウンロード要求を受信した場合、添付ファイルを複製する機能部であり、ハードウェアのCPU51に対応する。
図18は、添付ファイル送信管理データ5Tのレコードレイアウトの一例を示す説明図である。添付ファイル送信管理データ5Tは、メッセージID、添付ファイル名及び送信有無の各列を含む。メッセージIDの項目には、少なくともメールボックス5Bに格納されているメールデータの中で各電子メールを一意に識別可能な情報が格納される。添付ファイル名の項目には、添付ファイルが添付された電子メール毎に、すなわち、少なくとも1のメッセージIDに対応するデータの中で一意に識別可能な情報として、例えば添付ファイルの名称が格納される。送信有無の項目には、添付ファイルの内容を表示する画面に対応する画面情報が端末装置40へ送信済みか否かを示すフラグが格納される。当該画面情報が未送信である場合、送信有無に「無」が格納される。当該画面情報が送信済みである場合、送信有無に「有」が格納される。
添付ファイル送信管理データ5Tのデータは、メッセージID及び添付ファイル名をキーとし、メッセージID及び添付ファイル別に管理される。そのため、電子メールにおける添付ファイルの数が例えば1つの場合、添付ファイル送信管理データ5Tに登録されるレコードの数は1件である。電子メールにおける添付ファイルの数が例えば2つの場合、添付ファイル送信管理データ5Tに登録されるレコードの数は2件である。
次に、端末装置40及びウェブメールサーバ50の動作について説明する。
図19及び図20は、ウェブメールメイン処理の手順の一例を示すフローチャートである。ウェブメールメイン処理は、ウェブメールサーバ50が受信した電子メールの内容を端末装置40の表示部46に表示する処理である。ウェブメールメイン処理は、3つのサブルーチン処理を含む。第一のサブルーチン処理は、添付ファイルの内容を端末装置40の表示部46に表示する添付ファイル表示処理である。第二のサブルーチン処理は、端末装置40がウェブメールサーバ50から添付ファイルをダウンロードする添付ファイルダウンロード処理である。第三のサブルーチン処理は、電子メールを転送するメール転送処理である。
ウェブメールメイン処理の開始前に、端末装置40におけるブラウザの画面には、ウェブメールサーバ50が受信したユーザ宛の電子メールの一覧画面が表示されているものとする。一覧画面に表示される各電子メールには、電子メールの識別情報であるメッセージIDが一覧画面に表示されない隠しデータとして関連付けられている。電子メールの一覧画面は、選択された電子メールの閲覧要求をメッセージIDと共にウェブメールサーバ50へ送信する送信ボタンを含む。ユーザは、電子メールを閲覧する場合、閲覧を希望する電子メールを選択し、当該送信ボタンを押下する。当該送信ボタンが押下された場合、CPU41は、ウェブメールメイン処理を開始する。
端末装置40の通信部401は、電子メールの閲覧指示を受け付けたか否かを判定する(ステップS801)。通信部401は、電子メールの閲覧指示を受け付けていないと判定した場合(ステップS801:NO)、ステップS801へ処理を戻す。通信部401は、電子メールの閲覧指示を受け付けたと判定した場合(ステップS801:YES)、メッセージIDと共に電子メールの閲覧要求をウェブメールサーバ50へ送信する(ステップS802)。
ウェブメールサーバ50の通信部501は、端末装置40からメッセージIDと共に電子メールの閲覧要求を受信する(ステップS803)。抽出部503は、受信したメッセージIDに対応する電子メールをメールボックス5Bから抽出する(ステップS804)。抽出部503は、抽出した電子メールにファイルが添付されているか否かを判定する(ステップS805)。抽出部503は、抽出した電子メールにファイルが添付されていないと判定した場合(ステップS805:NO)、ステップS809へ処理を進める。
抽出部503は、抽出した電子メールにファイルが添付されていると判定した場合(ステップS805:YES)、抽出した電子メールのヘッダから添付ファイル名を抽出する(ステップS806)。記憶制御部504は、添付ファイル送信管理データ5Tに、ステップ803で通信部501が受信したメッセージID及びステップS806で抽出部503が抽出した添付ファイル名に対応するレコードが記録されているか否かを判定する(ステップS807)。記憶制御部504は、レコードが記録されていると判定した場合(ステップS807:YES)、ステップS809へ処理を進める。
記憶制御部504は、レコードが記録されていないと判定した場合(ステップS807:NO)、添付ファイル送信管理データ5Tに、受信したメッセージID及び抽出した添付ファイル名を値とする新規レコードを挿入する(ステップS808)。なお、ステップS808において、記憶制御部504は、新規レコードにおける送信有無の値に「無」を設定する。生成部502は、抽出した電子メールのヘッダ情報及び本文情報に基づいて、電子メールの閲覧画面に対応する画面情報を生成する(ステップS809)。
ステップS809において、生成部502が生成する画面情報に対応する閲覧画面は、例えば図5に示した転送画面1fと類似の画面であり、電子メールのメッセージID及び添付ファイル名が含まれている。また、生成部502が生成する画面情報に対応する閲覧画面には、3つの送信ボタンが含まれている。第一の送信ボタンは、添付ファイルの表示要求をウェブメールサーバ50へ送信する送信ボタンである。第二の送信ボタンは、添付ファイルのダウンロード要求をウェブメールサーバ50へ送信する送信ボタンである。第三の送信ボタンは、電子メールの転送指示をウェブメールサーバ50へ送信する送信ボタンである。通信部501は、ステップS809で生成部502が生成した画面情報を端末装置40へ送信する(ステップS810)。
端末装置40の通信部401は、ウェブメールサーバ50から画面情報を受信する(ステップS811)。表示制御部413は、受信した画面情報に対応する閲覧画面を表示部46に表示する(ステップS812)。ステップS812において、CPU41は、受信した画面情報に含まれるメッセージID及び添付ファイル名をRAM43に記憶する。CPU41は、以降の処理においてメッセージID及び添付ファイル名が必要になった場合、適宜RAM43からメッセージID及び添付ファイル名を読み出すものとする。なお、電子メールにファイルが添付されていない場合、添付ファイル名はウェブメールサーバから送信されないため、CPU41は、メッセージIDのみをRAM43に記憶する。
CPU41は、閲覧画面にて添付ファイルの表示要求をウェブメールサーバ50へ送信する送信ボタンが押下されたか否かを判定する(ステップS813)。CPU41が添付ファイルの表示要求を送信する送信ボタンが押下されていないと判定した場合(ステップS813:NO)、要求受付部414は添付ファイルのダウンロード要求をウェブメールサーバ50へ送信する送信ボタンが押下されたか否かを判定する(ステップS814)。
要求受付部414が添付ファイルのダウンロード要求を送信する送信ボタンが押下されていないと判定した場合(ステップS814:NO)、転送受付部406は電子メールの転送指示をウェブメールサーバ50へ送信する送信ボタンが押下されたか否かを判定する(ステップS815)。転送受付部406は、電子メールの転送指示をウェブメールサーバ50へ送信する送信ボタンが押下されていないと判定した場合(ステップS815:NO)、ステップS813へ処理を戻す。
CPU41は、添付ファイルの表示要求を送信する送信ボタンが押下されたと判定した場合(ステップS813:YES)、添付ファイル表示処理を実行し(ステップS9)、処理を終了する。CPU41は、要求受付部414が添付ファイルのダウンロード要求を送信する送信ボタンが押下されたと判定した場合(ステップS814:YES)、添付ファイルダウンロード処理を実行し(ステップS10)、処理を終了する。CPU41は、転送受付部406が電子メールの転送指示をウェブメールサーバ50へ送信する送信ボタンが押下されたと判定した場合(ステップS815:YES)、メール転送処理(S11)を実行し、処理を終了する。
図21は、添付ファイル表示処理の手順の一例を示すフローチャートである。
端末装置40の通信部401は、電子メールのメッセージID及び添付ファイル名と共に、添付ファイルの表示要求をウェブメールサーバ50へ送信する(ステップS901)。
ウェブメールサーバ50の通信部501は、メッセージID及び添付ファイル名と共に、添付ファイルの表示要求を端末装置40から受信する(ステップS902)。記憶制御部504は、受信したメッセージID及び添付ファイル名に対応する添付ファイル送信管理データ5Tのレコードに、送信有無の値として「有」を設定し、当該レコードを更新する(ステップS903)。
生成部502は、ステップS902で受信したメッセージID及び添付ファイル名に基づいて、該当する添付ファイルの内容を表示する画面に対応する画面情報を生成する(ステップS904)。ステップS904において生成部502が生成する画面情報には、メッセージID及び添付ファイル名が含まれている。通信部501は、生成した画面情報を端末装置40へ送信する(ステップS905)。
端末装置40の通信部401は、ウェブメールサーバ50から画面情報を受信する(ステップS906)。表示制御部413は、受信した画面情報に対応する添付ファイルの内容に係る画面を表示部46に表示する(ステップS907)。記憶制御部408は、受信した画面情報に含まれるメッセージID及び添付ファイル名に対応するレコードが添付ファイル管理データ4Tに記録されているか否かを判定する(ステップS908)。なお、ステップS908において、記憶制御部408は、RAM43に記憶したメッセージID及び添付ファイル名に基づいて、判定処理を実行してもよい。
記憶制御部408は、メッセージID及び添付ファイル名に対応するレコードが添付ファイル管理データ4Tに記録されていないと判定した場合(ステップS908:NO)、次の処理を実行する。すなわち、記憶制御部408は、メッセージID及び添付ファイル名の値を有する新規レコードを添付ファイル管理データ4Tに挿入し(ステップS909)、処理を終了する。なお、ステップS909において、記憶制御部408は、新規レコードにおけるオープン有無の値に「有」を設定し、保存先パス及び保存日時を設定しない。
記憶制御部408は、メッセージID及び添付ファイル名に対応するレコードが添付ファイル管理データ4Tに記録されていると判定した場合(ステップS908:YES)、次の処理を実行する。すなわち、記憶制御部408は、メッセージID及び添付ファイル名に対応するレコードのオープン有無の値に「有」を設定して、当該レコードを更新し(ステップS910)、処理を終了する。
図22は、添付ファイルダウンロード処理の手順の一例を示すフローチャートである。
CPU41は、電子メールのメッセージID及び添付ファイル名と共に、添付ファイルのダウンロード要求をウェブメールサーバ50へ送信する(ステップS1001)。
ウェブメールサーバ50の通信部501は、電子メールのメッセージID及び添付ファイル名と共に、添付ファイルのダウンロード要求を端末装置40から受信する(ステップS1002)。複製部505は、メールボックス5Bから受信したメッセージIDに対応する電子メールを抽出し、抽出した電子メールに添付され、かつ受信した添付ファイル名に対応するファイルを複製する(ステップS1003)。通信部501は、電子メールのメッセージID及び添付ファイル名と共に、生成した複製ファイルを端末装置40へ送信する(ステップS1004)。
端末装置40の通信部401は、メッセージID及び添付ファイル名と共に複製ファイルをウェブメールサーバ50から受信する(ステップS1005)。記憶制御部408は、添付ファイル管理データ4Tに、受信した受信したメッセージID及び添付ファイル名に対応するレコードが記録されているか否かを判定する(ステップS1006)。なお、ステップS1006において、記憶制御部408は、RAM43に記憶されたメッセージID及び添付ファイル名に基づいて、判定処理を実行してもよい。記憶制御部408は、添付ファイル管理データ4Tに、受信したメッセージID及び添付ファイル名に対応するレコードが記録されていると判定した場合(ステップS1006:YES)、ステップS1008へ処理を進める。
記憶制御部408は、添付ファイル管理データ4Tに、受信したメッセージID及び複製ファイル名に対応するレコードが記録されていないと判定した場合(ステップS1006:NO)、次の処理を実行する。すなわち、記憶制御部408は、受信したメッセージID及び添付ファイル名の値を有する新規レコードを添付ファイル管理データ4Tに挿入する(ステップS1007)。なお、ステップS1007において、記憶制御部408は、新規レコードにおけるオープン有無の値に「無」を設定し、保存先パス及び保存日時を設定しない。
保存先受付部404は、保存先を指定してファイルを保存するダイアログボックスを表示する(ステップS1008)。保存部405は、ダイアログボックスから指定された保存先パスに、ステップS1005で受信した複製ファイルを保存する(ステップS1009)。記憶制御部408は、受信したメッセージID及び添付ファイル名に対応する添付ファイル管理データ4Tのレコードに、指定された保存先パスと、複製ファイルを保存した保存日時とを設定して、当該レコードを更新し(ステップS1010)、処理を終了する。
図23、図24及び図25は、メール転送処理の手順の一例を示すフローチャートである。
端末装置40のCPU41は、受け付けた転送指示の対象である電子メールにファイルが添付されているか否かを判定する(ステップS1101)。ステップS1101において、CPU41は、ステップS812でRAM43に記憶したメッセージIDと添付ファイル名とを参照することにより、ファイルが添付されているか否かを判定する。CPU41は、RAM43にメッセージIDのみが記憶されている場合、電子メールにファイルは添付されていないと判定する。CPU41は、RAM43にメッセージID及び添付ファイル名が記憶されている場合、電子メールにファイルが添付されていると判定する。
CPU41は、受け付けた転送指示の対象である電子メールにファイルが添付されていないと判定した場合(ステップS1101:NO)、ステップS1112へ処理を進める。CPU41が受け付けた転送指示の対象である電子メールにファイルが添付されていると判定した場合(ステップS1101:YES)、記憶制御部408はRAM43から読み出したメッセージID及び添付ファイル名に対応する添付ファイル管理データ4Tのレコードを検索する(ステップS1102)。記憶制御部408は、検索したレコードのオープン有無の値が「有」か否かを判定する(ステップS1103)。
記憶制御部408は、検索したレコードのオープン有無の値が「有」であると判定した場合(ステップS1103:YES)、ステップS1112へ処理を進める。記憶制御部408が検索したレコードのオープン有無の値が「有」でないと判定した場合(ステップS1103:NO)、取得部409はステップS1102で検索したレコードの保存先パスに保存されている複製ファイルのプロパティを取得する(ステップS1104)。取得部409は、取得した複製ファイルのプロパティから最終アクセス日時を抽出する(ステップS1105)。判定部410は、ステップS1105で抽出した最終アクセス日時がステップS1102で検索したレコードの保存日時よりも新しいか否かを判定する(ステップS1106)。
判定部410は、ステップS1105で抽出した最終アクセス日時がステップS1102で検索したレコードの保存日時よりも新しいと判定した場合(ステップS1106:YES)、ステップS1112へ処理を進める。判定部410により、ステップS1105で抽出した最終アクセス日時がステップS1102で検索したレコードの保存日時よりも新しくないと判定された場合(ステップS1106:NO)、出力部411は警告画面を表示部46に表示する(ステップS1107)。
ここでの警告画面は、図6に示した警告画面2fに類似し、例えば「添付ファイルを開いて確認したほうがいいですよ」という文字列を含んでいる。また、ここでの警告画面は、図6に示した警告画面2fに類似し、添付ファイルを開くボタンと、添付ファイルを開かないボタンとを含んでいる。なお、上記の添付ファイルは、ユーザが保存先に保存した添付ファイルの複製ファイルである。
CPU41は、警告画面にて開くボタンが押下されたか否かを判定する(ステップS1108)。CPU41は、警告画面にて開くボタンが押下されていないと判定した場合(ステップS1108:NO)、すなわち開かないボタンが押下されたと判定した場合、警告画面をクローズして、ステップS1111へ処理を進める。CPU41は、警告画面にて開くボタンが押下されたと判定した場合(ステップS1108:YES)、保存先の複製ファイルをオープンする(ステップS1109)。記憶制御部408は、メッセージID及び添付ファイル名に対応する添付ファイル管理データ4Tにおけるオープン有無の値に「有」を設定して、当該レコードを更新する(ステップS1110)。
転送受付部406は、電子メールを転送するか否かを選択するダイアログボックスを表示部46に表示し、電子メールの転送指示を受け付けたか否かを判定する(ステップS1111)。ここでの転送指示には、宛先のメールアドレスが含まれている。転送受付部406は、電子メールの転送指示を受け付けなかったと判定した場合(ステップS1111:NO)、処理を終了する。転送受付部406が電子メールの転送指示を受け付けたと判定した場合(ステップS1111:YES)、通信部401は電子メールのメッセージIDと共に転送指示をウェブメールサーバ50へ送信する(ステップS1112)。
ウェブメールサーバ50の通信部501は、電子メールのメッセージIDと共に転送指示を端末装置40から受信する(ステップS1113)。抽出部503は、転送指示を受けた電子メールにファイルが添付されているか否かを判定する(ステップS1114)。ステップS1114において、抽出部503は、受信したメッセージIDに対応するレコードが添付ファイル送信テーブル5Tに記憶されている場合、転送指示を受けた電子メールにファイルが添付されていると判定する。あるいは、抽出部503は、受信したメッセージIDに対応する電子メールをメールボックス5Bから読み出し、当該電子メールのヘッダに添付ファイル名が記載されている場合、転送指示を受けた電子メールにファイルが添付されていると判定してもよい。
抽出部503により、転送指示を受けた電子メールにファイルが添付されていると判定された場合(ステップS1114:YES)、記憶制御部504は添付ファイル送信管理データ5Tの送信有無の値が「無」か否かを判定する(ステップS1115)。記憶制御部504は、添付ファイル送信管理データ5Tの送信有無の値が「無」である場合(ステップS1115:YES)、ステップS1117に処理を進める。
抽出部503が転送指示を受けた電子メールにファイルが添付されていないと判定した場合(ステップS1114:NO)、通信部501は受信したメッセージIDに対応する電子メールを転送する処理を実行する(ステップS1116)。また、抽出部503が添付ファイル送信管理データ5Tの送信有無の値が「無」でないと判定した場合も(ステップS1115:NO)、通信部501は受信したメッセージIDに対応する電子メールを転送する処理を実行する(ステップS1116)。
生成部502は、転送処理に係る情報を通知する転送通知画面に対応する画面情報を生成する(ステップS1117)。ステップS1117における転送通知画面は、転送を実行した場合(ステップS1116)、転送時間、宛先、転送者、件名等の書誌事項を表示する画面である。ステップS1117における転送通知画面は、転送を実行しなかった場合(ステップS1114:YES、ステップS1115:YES)、添付ファイルを表示していないので、表示して確認した方がよい旨のメッセージを表示する画面である。
通信部501は、生成した画面情報を端末装置40へ送信する(ステップS1118)。
端末装置40の通信部401は、ウェブメールサーバ50から画面情報を受信する(ステップS1119)。表示制御部413は、受信した画面情報に対応する転送通知画面を表示部46に表示し(ステップS1120)、処理を終了する。
上述の例では、ウェブメールサーバ50の記憶制御部504は、通信部501が添付ファイルの内容を表示する画面に対応する画面情報を端末装置40へ送信する場合、添付ファイル送信管理データ5Tの送信有無を「有」に更新した(ステップS903)。しかし、記憶制御部504は、通信部501に添付ファイルを端末装置40にダウンロードさせる場合にも、添付ファイル送信管理データ5Tの送信有無を「有」に更新してもよい。端末装置40に添付ファイルをダウンロードさせる限り、ユーザは添付ファイルの複製ファイルをオープンせずに、電子メールの転送指示をする可能性がある。端末装置40に何らかの不具合が生じて、端末装置40の側での転送チェック処理が失敗した場合でも、ウェブメールサーバ50の側でのチェックにより、不適切なファイルが添付された電子メールの転送を防止することができる。
上述の例では、友人グループメンバ間での情報の共有化を扱った。しかし、ファイルが添付された電子メールを転送することにより、情報の共有化が図られるグループは、友人グループに限らない。添付ファイルを介して情報の共有化が図られるグループは、例えば交通機関から乗り物の運行情報の提供を受ける交通機関利用者グループ、店舗から商品情報又はサービス情報の提供を受ける消費者グループ、学会から開催されるミーティング情報の提供を受ける学会会員グループ等でもよい。
ウェブメールシステム100によれば、ユーザによる確認がなされていないファイルが添付された電子メールの転送を防止することができる。
ユーザは、ウェブメールサーバ50から添付ファイルの複製ファイルをダウンロードし、ダウンロードした複製ファイルを自身が管理するPCの作業フォルダ、自身に割り当てられたファイルサーバのフォルダ等に保存する場合がある。しかし、ユーザは、ダウンロードした複製ファイルの内容を確認せずに、受信した電子メールを転送する虞がある。しかし、ウェブメールシステム100は、複製ファイルがオープンされていない場合、ユーザに警告を発することで、ユーザによる確認がなされていないファイルが添付された電子メールの転送を防止することができる。
さて、上述の実施の形態1、実施の形態2においては、添付ファイルもしくは添付ファイルが複製された複製ファイルが、どのユーザによってオープンされたかについて確認しない場合について記載した。しかし、実施の形態はこれに限る必要はなく、オープンを実行したユーザの情報を利用してもよい。
その場合、添付ファイルもしくは複製ファイルをオープンもしくはアクセスしたユーザの識別情報を、添付ファイル管理データ4Tで添付ファイル毎に格納してもよい。もしくは、取得部409は、複製ファイルのプロパティ情報と併せて、複製ファイルにアクセスしたユーザの識別情報を取得してもよい。そして、添付ファイル又は複製ファイルに対するオープンが「有」である場合、さらに、「有」と対応づけられているファイルをオープンしたユーザの識別情報を特定し、特定したユーザの識別情報に示されるユーザが、メールの転送処理を行おうとしている転送元アドレスに示されるユーザと同一であるかを確認してもよい。ここで、ファイルをオープンしたユーザと、メールの転送処理を行おうとしているユーザとを同一とみなすことができる場合、転送処理を継続し、同一とみなすことができない場合、警告画面2fを出力することが考えられる。
開示された実施の形態は、全ての点で例示であって制限的なものではないと考えられるべきである。本発明の範囲は上述の説明ではなくて特許請求の範囲によって示され、特許請求の範囲と均等の意味及び範囲内での全ての変更が含まれることが意図される。
各実施の形態で記載されている技術的特徴(構成要件)はお互いに組合せ可能であり、組み合わせすることにより、新しい技術的特徴を形成することができる。
以上の実施の形態に関し、更に以下の付記を開示する。
(付記1)
ファイルが添付された電子メールを転送する処理を、記憶部にアクセス可能なコンピュータに実行させるプログラムにおいて、
ファイルが添付された電子メールの転送指示を受け付けた場合、該電子メールから該電子メールの識別情報及びファイルの識別情報を夫々抽出し、
前記ファイルについてユーザによりアクセスされたことを示す情報、該電子メールの識別情報及びファイルの識別情報が対応付けて記憶された前記記憶部の内容を、抽出した前記電子メールの識別情報及びファイルの識別情報に基づいて参照し、
参照した前記ファイルについてのアクセスされたことを示す情報に基づいて、該ファイルがオープン済みか否かを判定し、
前記ファイルがオープン済みでないと判定した場合、前記ファイルに係る情報を出力する
処理をコンピュータに実行させるプログラム。
(付記2)
前記記憶部には、前記ファイルが複製された複製ファイルについて、ユーザによりアクセスされたことを示す情報も、前記電子メールの識別情報及びファイルの識別情報と対応付けて予め記憶されており、
前記記憶部の内容を参照する処理は、抽出した前記各識別情報に基づいて、前記複製ファイルについてのアクセスされたことを示す情報を参照し、
前記判定する処理は、参照した前記複製ファイルについてのアクセスされたことを示す情報に基づいて、該複製ファイルがオープン済みか否かも判定し、
前記出力する処理は、前記ファイルと前記複製ファイルとのいずれもがオープン済みでないと判定した場合、前記ファイルに係る情報を出力する
付記1記載のプログラム。
(付記3)
前記記憶部には、更に、前記電子メールの識別情報、前記ファイルの識別情報並びに該ファイルを複製した複製ファイルの保存先及び保存日時が対応づけて予め記憶されており、
前記記憶部の内容を参照する処理は、抽出した前記各識別情報に基づいて、前記複製ファイルの保存先及び保存日時を参照し、
参照した保存先における複製ファイルの、前記アクセスされたことを示す情報である最終アクセス日時を取得し、
前記判定する処理は、取得した前記最終アクセス日時が参照した保存日時よりも新しくない場合、前記複製ファイルはオープン済みでないと判定する
付記2に記載のプログラム。
(付記4)
ファイルが添付された電子メールに対する、該ファイルの複製の指示を受け付けた場合、該電子メールから該電子メール及びファイルの各識別情報を夫々抽出し、
前記ファイルを複製し、
複製した複製ファイルの保存先を受け付け、
複製した複製ファイルを受け付けた保存先に保存し、
抽出した各識別情報、受け付けた保存先及び保存した保存日時を対応付けて前記記憶部に記憶する
付記2又は付記3に記載のプログラム。
(付記5)
前記記憶部には、前記各識別情報、保存先、保存日時及び前記ファイルがオープン済みか否かを示すフラグが対応付けて予め記憶されており、
前記記憶部の内容を参照する処理は、抽出した前記各識別情報に基づいて、前記フラグを参照し、
前記最終アクセス日時を取得する処理は、参照した前記フラグがオープン済みでないことを示す場合、前記最終アクセス日時を取得する
付記3に記載のプログラム。
(付記6)
前記各識別情報、保存先及び保存日時を対応付けて前記記憶部に記憶する処理は、ファイルが添付された電子メールを受信した場合又はファイルが添付された電子メールのオープン指示を受け付けた場合、前記各識別情報、保存先、保存日時及び該ファイルがオープン済みでないことを示すフラグを対応付けて前記記憶部に記憶する
付記4に記載のプログラム。
(付記7)
前記電子メールに添付されたファイルがオープンされた場合、該電子メールから該電子メール及びファイルの各識別情報を夫々抽出し、
抽出した各識別情報に基づいて、前記記憶部に記憶されたフラグをオープン済みに更新する
付記5又は付記6に記載のプログラム。
(付記8)
前記記憶部には、前記複製ファイルの属性が記憶されており、
前記最終アクセス日時を取得する処理は、前記コンピュータに前記複製ファイルに対する操作に基づいて、該複製ファイルの属性を更新する処理を実行させる他のプログラムを介して、前記記憶部から前記最終アクセス日時を取得する
付記3から付記7までのいずれか一つに記載のプログラム。
(付記9)
前記コンピュータは、
画像を表示する表示部と、
入力操作を受け付ける操作部と、
を備え、
前記情報を出力する処理は、前記電子メールに添付されたファイルをオープンするか否かに係る選択画面情報を前記表示部に出力し、
前記操作部により前記ファイルのオープンが選択された場合、該ファイルをオープンする
付記1から付記8までのいずれか一つに記載のプログラム。
(付記10)
前記記憶部には、更に、前記電子メールの識別情報、前記ファイルの識別情報及び該ファイルを複製した複製ファイルの保存先が対応付けて予め記憶されており、
前記記憶部の内容を参照する処理は、抽出した前記各識別情報に基づいて、前記複製ファイルの保存先を参照し、
参照した保存先における複製ファイルの保存日時と、該複製ファイルの、前記アクセスされたことを示す情報である最終アクセス日時とを取得し、
前記判定する処理は、取得した前記最終アクセス日時が前記保存日時よりも新しくない場合、前記複製ファイルはオープン済みでないと判定する
付記2に記載のプログラム。
(付記11)
ファイルが添付された電子メールに対する、該ファイルの複製の指示を受け付けた場合、該電子メールから該電子メールの識別情報及びファイルの識別情報を夫々抽出し、
前記ファイルを複製し、
複製した複製ファイルの保存先を受け付け、
複製した複製ファイルを受け付けた保存先に保存し、
抽出した各識別情報及び受け付けた保存先を対応付けて前記記憶部に記憶する
付記10に記載のプログラム。
(付記12)
前記記憶部には、前記各識別情報、保存先及び前記ファイルがオープン済みか否かを示すフラグが対応付けて予め記憶されており、
前記保存先を参照する処理は、抽出した各識別情報に基づいて、前記記憶部から前記フラグを参照し、
前記保存日時及び最終アクセス日時を取得する処理は、参照した前記フラグがオープン済みでないことを示す場合、前記保存日時及び最終アクセス日時を取得する
付記10又は付記11に記載のプログラム。
(付記13)
前記各識別情報及び保存先を対応付けて前記記憶部に記憶する処理は、ファイルが添付された電子メールを受信した場合又はファイルが添付された電子メールのオープン指示を受け付けた場合、前記各識別情報、保存先及び該ファイルがオープン済みでないことを示すフラグを対応付けて前記記憶部に記憶する
付記11に記載のプログラム。
(付記14)
記憶部にアクセス可能なコンピュータによりファイルが添付された電子メールを転送する転送方法において、
ファイルが添付された電子メールの転送指示を受け付けた場合、該電子メールから該電子メールの識別情報及びファイルの識別情報を夫々抽出し、
電子メールに添付されたファイルについてユーザによりアクセスされたことを示す情報、前記電子メールの識別情報及び前記ファイルの識別情報が対応付けて予め記憶された前記記憶部の内容を、抽出した前記電子メールの識別情報及び前記ファイルの識別情報に基づいて参照し、
参照した前記ファイルについてのアクセスされたことを示す情報に基づいて、該ファイルがオープン済みか否かを判定し、
前記ファイルがオープン済みでないと判定した場合、前記ファイルに係る情報を出力する
転送方法。
(付記15)
前記記憶部には、前記ファイルが複製された複製ファイルについて、ユーザによりアクセスされたことを示す情報も、前記電子メールの識別情報及びファイルの識別情報と対応付けて予め記憶されており、
抽出した前記各識別情報に基づいて、前記複製ファイルについてのアクセスされたことを示す情報を前記記憶部から参照し、
参照した前記複製ファイルについてのアクセスされたことを示す情報に基づいて、該複製ファイルがオープン済みか否かも判定し、
前記ファイルと前記複製ファイルとのいずれもがオープン済みでないと判定した場合、前記ファイルに係る情報を出力する
付記14に記載の転送方法。
(付記16)
ファイルが添付された電子メールを転送する転送装置において、
ファイルが添付された電子メールの転送指示を受け付ける受付部と、
該受付部が前記電子メールの転送指示を受け付けた場合、該電子メールから該電子メールの識別情報及び前記ファイルの識別情報を夫々抽出する抽出部と、
該抽出部が夫々抽出した各識別情報及び前記ファイルについてユーザによりアクセスされたことを示す情報が対応付けて予め記憶された記憶部と、
前記抽出部が抽出した前記電子メールの識別情報及びファイルの識別情報に基づいて、前記ファイルについてユーザによりアクセスされたことを示す情報を前記記憶部から参照する参照部と、
該参照部が参照した前記ファイルについてのアクセスされたことを示す情報に基づいて、該ファイルがオープン済みか否かを判定する判定部と、
該判定部がオープン済みでないと判定した場合、前記ファイルに係る情報を出力する出力部と
を備える転送装置。
(付記17)
前記記憶部には、前記ファイルが複製された複製ファイルについて、ユーザによりアクセスされたことを示す情報も、前記電子メールの識別情報及びファイルの識別情報と対応付けて予め記憶されており、
前記参照部は、前記抽出部が抽出した前記各識別情報に基づいて、前記複製ファイルについてのアクセスされたことを示す情報を参照し、
前記判定部は、前記参照部が参照した前記複製ファイルについてのアクセスされたことを示す情報に基づいて、該複製ファイルがオープン済みか否かも判定し、
前記出力部は、前記判定部が前記ファイルと前記複製ファイルとのいずれもがオープン済みでないと判定した場合、前記ファイルに係る情報を出力する
付記16記載の転送装置。
(付記18)
前記記憶部には、更に、前記電子メールの識別情報、前記ファイルの識別情報並びに該ファイルを複製した複製ファイルの保存先及び保存日時が対応付けて予め記憶されており、
前記参照部は、前記抽出部が抽出した前記各識別情報に基づいて、前記記憶部から前記複製ファイルの保存先及び保存日時を参照し、
前記参照部が参照した保存先における複製ファイルの、前記アクセスされたことを示す情報である最終アクセス日時を取得する取得部を備え、
前記判定部は、前記取得部が取得した前記最終アクセス日時が前記参照部により参照された保存日時よりも新しくない場合、前記複製ファイルはオープン済みでないと判定する
付記17に記載の転送装置。
(付記19)
前記抽出部は、ファイルが添付された電子メールに対する、該ファイルの複製の指示を受け付けた場合、該電子メールから該電子メール及びファイルの各識別情報を夫々抽出し、
前記ファイルを複製する複製部と、
該複製部が複製した複製ファイルを保存する保存先を受け付ける保存先受付部と、
前記複製部が複製した複製ファイルを前記保存先受付部が受け付けた保存先に保存する保存部と、
前記抽出部が抽出した各識別情報、前記保存先受付部が受け付けた保存先及び前記保存部が複製ファイルを保存した保存日時を対応付けて前記記憶部に記憶する記憶制御部と
を更に備える
付記16から付記18までのいずれか一つに記載の転送装置。
(付記20)
ファイルが添付された電子メールの転送指示を送信する端末装置及び該端末装置から受信した転送指示に応じて該ファイルが添付された該電子メールを転送するウェブメールサーバを備えるウェブメールシステムにおいて、
前記ウェブメールサーバは、
受信した電子メールから該電子メールの識別情報及び該電子メールに添付されたファイルの識別情報を夫々抽出する抽出部と、
該抽出部により抽出された各識別情報が含まれた画面情報を前記端末装置へ送信する送信部と
を有し、
前記端末装置は、
前記ウェブメールサーバから各識別情報が含まれた前記画面情報を受信する受信部と、
該受信部が受信した前記画面情報に含まれる一の識別情報に対応するファイルが添付され、かつ他の識別情報に対応する電子メールの転送指示を受け付ける受付部と、
前記各識別情報及び前記ファイルについてユーザによりアクセスされたことを示す情報が対応付けて予め記憶された記憶部と、
前記受付部が受け付けた転送指示に係る前記電子メールの識別情報及びファイルの識別情報に基づいて、該ファイルについてユーザによりアクセスされたことを示す情報を前記記憶部から参照する参照部と、
該参照部が参照した前記ファイルについてのアクセスされたことを示す情報に基づいて、該ファイルにアクセス済みか否かを判定する判定部と、
該判定部がアクセス済みでないと判定した場合、前記ファイルに係る情報を出力する出力部と
を有する
ウェブメールシステム。
(付記21)
前記記憶部には、前記ファイルが複製された複製ファイルについて、ユーザによりアクセスされたことを示す情報も、前記電子メールの識別情報及びファイルの識別情報と対応付けて予め記憶されており、
前記参照部は、前記各識別情報に基づいて、前記複製ファイルについてのアクセスされたことを示す情報を参照し、
前記端末装置の判定部は、前記参照部が参照した前記複製ファイルについてのアクセスされたことを示す情報に基づいて、該複製ファイルがオープン済みか否かも判定し、
前記端末装置の出力部は、前記判定部が前記ファイルにアクセス済みでなく、かつ前記複製ファイルがオープン済みでないと判定した場合、前記ファイルに係る情報を出力する
付記20に記載のウェブメールシステム。
(付記22)
前記端末装置は、
前記ファイルを複製した複製ファイルのダウンロード要求を受け付ける要求受付部と、
該要求受付部がダウンロード要求を受け付けた場合、該ダウンロード要求を前記ウェブメールサーバへ送信する送信部と
を有し、
前記ウェブメールサーバは、
前記ダウンロード要求を前記端末装置から受信する受信部と、
該受信部が前記ダウンロード要求を受信した場合、前記ファイルを複製する複製部と
を有し、
前記ウェブメールサーバの送信部は前記複製部が複製した複製ファイルを前記端末装置へ送信し、
前記端末装置の受信部は前記複製ファイルを前記ウェブメールサーバから受信し、
前記端末装置は、
前記受信部が受信した複製ファイルを保存する保存先を受け付ける保存先受付部と、
前記受信部が受信した複製ファイルを前記保存先受付部が受け付けた保存先に保存する保存部と、
前記各識別情報、前記保存先受付部が受け付けた保存先及び前記保存部が保存した保存日時を対応付けて前記記憶部に記憶する記憶制御部と
を更に有する
付記20又は付記21に記載のウェブメールシステム。
(付記23)
前記記憶部には、前記各識別情報、保存先、保存日時及び前記ファイルの内容を表示する画面に対応する画面情報を前記ウェブメールサーバから受信したか否かを示すフラグが対応付けて予め記憶されており、
前記参照部は、前記各識別情報に基づいて、前記記憶部から前記フラグを参照し、
前記出力部は、前記参照部が参照したフラグが未受信を示し、かつ前記判定部により前記複製ファイルがオープン済みでないと判定された場合、前記ファイルに係る情報を出力する
付記20から付記22までのいずれか一つに記載のウェブメールシステム。
10 社内電子メールシステム
20 複合機
30 メールサーバ
40 端末装置
41 CPU
43 RAM
44 ハードディスク
46 表示部
47 操作部
48 タイマ
49 通信部
50 ウェブメールサーバ
51 CPU
53 RAM
54 ハードディスク
59 通信部
100 ウェブメールシステム
4P プログラム
4OSP OSプログラム
40P プログラム
400P ブラウザプログラム
4T 添付ファイル管理データ
5P プログラム
5T 添付ファイル送信管理データ

Claims (11)

  1. ファイルが添付された電子メールを転送する処理を、記憶部にアクセス可能なコンピュータに実行させるプログラムにおいて、
    ファイルが添付された電子メールの転送指示を受け付けた場合、該電子メールから該電子メールの識別情報及びファイルの識別情報を夫々抽出し、
    前記ファイルについてユーザによりアクセスされたことを示す情報、該電子メールの識別情報及びファイルの識別情報が対応付けて記憶された前記記憶部の内容を、抽出した前記電子メールの識別情報及びファイルの識別情報に基づいて参照し、
    参照した前記ファイルについてのアクセスされたことを示す情報に基づいて、該ファイルがオープン済みか否かを判定し、
    前記ファイルがオープン済みでないと判定した場合、前記ファイルがオープン済みでないことを通知する
    処理をコンピュータに実行させるプログラム。
  2. ファイルが添付された電子メールを転送する処理を、記憶部にアクセス可能なコンピュータに実行させるプログラムにおいて、
    ファイルが添付された電子メールの転送指示を受け付けた場合、該電子メールから該電子メールの識別情報及びファイルの識別情報を夫々抽出し、
    前記ファイルについてユーザによりアクセスされたことを示す情報、前記ファイルが複製された複製ファイルについてユーザによりアクセスされたことを示す情報、前記電子メールの識別情報及びファイルの識別情報が対応付けて記憶された前記記憶部の内容を、抽出した前記電子メールの識別情報及びファイルの識別情報に基づいて参照し、
    参照した前記ファイルについてのアクセスされたことを示す情報に基づいて、該ファイルがオープン済みか否かを判定し、参照した前記複製ファイルについてのアクセスされたことを示す情報に基づいて、該複製ファイルがオープン済みか否か判定し、
    記ファイルと前記複製ファイルとのいずれもがオープン済みでないと判定した場合、前記ファイルに係る情報を出力する
    処理をコンピュータに実行させるプログラム。
  3. 前記記憶部には、更に、前記電子メールの識別情報、前記ファイルの識別情報並びに該ファイルを複製した複製ファイルの保存先及び保存日時が対応づけて予め記憶されており、
    前記記憶部の内容を参照する処理は、抽出した前記各識別情報に基づいて、前記複製ファイルの保存先及び保存日時を参照し、
    参照した保存先における複製ファイルの、前記アクセスされたことを示す情報である最終アクセス日時を取得し、
    前記判定する処理は、取得した前記最終アクセス日時が参照した保存日時よりも新しくない場合、前記複製ファイルはオープン済みでないと判定する
    請求項2に記載のプログラム。
  4. ファイルが添付された電子メールに対する、該ファイルの複製の指示を受け付けた場合、該電子メールから該電子メール及びファイルの各識別情報を夫々抽出し、
    前記ファイルを複製し、
    複製した複製ファイルの保存先を受け付け、
    複製した複製ファイルを受け付けた保存先に保存し、
    抽出した各識別情報、受け付けた保存先及び保存した保存日時を対応付けて前記記憶部に記憶する
    請求項2又は請求項3に記載のプログラム。
  5. 前記記憶部には、前記各識別情報、保存先、保存日時及び前記ファイルがオープン済みか否かを示すフラグが対応付けて予め記憶されており、
    前記記憶部の内容を参照する処理は、抽出した前記各識別情報に基づいて、前記フラグを参照し、
    前記最終アクセス日時を取得する処理は、参照した前記フラグがオープン済みでないことを示す場合、前記最終アクセス日時を取得する
    請求項3に記載のプログラム。
  6. 前記各識別情報、保存先及び保存日時を対応付けて前記記憶部に記憶する処理は、ファイルが添付された電子メールを受信した場合又はファイルが添付された電子メールのオープン指示を受け付けた場合、前記各識別情報、保存先、保存日時及び該ファイルがオープン済みでないことを示すフラグを対応付けて前記記憶部に記憶する
    請求項4に記載のプログラム。
  7. 前記電子メールに添付されたファイルがオープンされた場合、該電子メールから該電子メール及びファイルの各識別情報を夫々抽出し、
    抽出した各識別情報に基づいて、前記記憶部に記憶されたフラグをオープン済みに更新する
    請求項5又は請求項6に記載のプログラム。
  8. 前記記憶部には、更に、前記電子メールの識別情報、前記ファイルの識別情報及び該ファイルを複製した複製ファイルの保存先が対応付けて予め記憶されており、
    前記記憶部の内容を参照する処理は、抽出した前記各識別情報に基づいて、前記複製ファイルの保存先を参照し、
    参照した保存先における複製ファイルの保存日時と、該複製ファイルの、前記アクセスされたことを示す情報である最終アクセス日時とを取得し、
    前記判定する処理は、取得した前記最終アクセス日時が前記保存日時よりも新しくない場合、前記複製ファイルはオープン済みでないと判定する
    請求項2に記載のプログラム。
  9. 記憶部にアクセス可能なコンピュータによりファイルが添付された電子メールを転送する転送方法において、
    ファイルが添付された電子メールの転送指示を受け付けた場合、該電子メールから該電子メールの識別情報及びファイルの識別情報を夫々抽出し、
    電子メールに添付されたファイルについてユーザによりアクセスされたことを示す情報、前記電子メールの識別情報及び前記ファイルの識別情報が対応付けて予め記憶された前記記憶部の内容を、抽出した前記電子メールの識別情報及び前記ファイルの識別情報に基づいて参照し、
    参照した前記ファイルについてのアクセスされたことを示す情報に基づいて、該ファイルがオープン済みか否かを判定し、
    前記ファイルがオープン済みでないと判定した場合、前記ファイルがオープン済みでないことを通知する
    転送方法。
  10. ファイルが添付された電子メールを転送する転送装置において、
    ファイルが添付された電子メールの転送指示を受け付ける受付部と、
    該受付部が前記電子メールの転送指示を受け付けた場合、該電子メールから該電子メールの識別情報及び前記ファイルの識別情報を夫々抽出する抽出部と、
    該抽出部が夫々抽出した各識別情報及び前記ファイルについてユーザによりアクセスされたことを示す情報が対応付けて予め記憶された記憶部と、
    前記抽出部が抽出した前記電子メールの識別情報及びファイルの識別情報に基づいて、前記ファイルについてユーザによりアクセスされたことを示す情報を前記記憶部から参照する参照部と、
    該参照部が参照した前記ファイルについてのアクセスされたことを示す情報に基づいて、該ファイルがオープン済みか否かを判定する判定部と、
    該判定部がオープン済みでないと判定した場合、前記ファイルがオープン済みでないことを通知する出力部と
    を備える転送装置。
  11. ファイルが添付された電子メールの転送指示を送信する端末装置及び該端末装置から受信した転送指示に応じて該ファイルが添付された該電子メールを転送するウェブメールサーバを備えるウェブメールシステムにおいて、
    前記ウェブメールサーバは、
    受信した電子メールから該電子メールの識別情報及び該電子メールに添付されたファイルの識別情報を夫々抽出する抽出部と、
    該抽出部により抽出された各識別情報が含まれた画面情報を前記端末装置へ送信する送信部と
    を有し、
    前記端末装置は、
    前記ウェブメールサーバから各識別情報が含まれた前記画面情報を受信する受信部と、
    該受信部が受信した前記画面情報に含まれる一の識別情報に対応するファイルが添付され、かつ他の識別情報に対応する電子メールの転送指示を受け付ける受付部と、
    前記各識別情報及び前記ファイルについてユーザによりアクセスされたことを示す情報が対応付けて予め記憶された記憶部と、
    前記受付部が受け付けた転送指示に係る前記電子メールの識別情報及びファイルの識別情報に基づいて、該ファイルについてユーザによりアクセスされたことを示す情報を前記記憶部から参照する参照部と、
    該参照部が参照した前記ファイルについてのアクセスされたことを示す情報に基づいて、該ファイルがオープン済みか否かを判定する判定部と、
    該判定部がオープン済みでないと判定した場合、前記ファイルがオープン済みでないことを通知する出力部と
    を有する
    ウェブメールシステム。
JP2013212255A 2013-10-09 2013-10-09 プログラム、転送方法、転送装置及びウェブメールシステム Expired - Fee Related JP6136838B2 (ja)

Priority Applications (1)

Application Number Priority Date Filing Date Title
JP2013212255A JP6136838B2 (ja) 2013-10-09 2013-10-09 プログラム、転送方法、転送装置及びウェブメールシステム

Applications Claiming Priority (1)

Application Number Priority Date Filing Date Title
JP2013212255A JP6136838B2 (ja) 2013-10-09 2013-10-09 プログラム、転送方法、転送装置及びウェブメールシステム

Publications (2)

Publication Number Publication Date
JP2015075958A JP2015075958A (ja) 2015-04-20
JP6136838B2 true JP6136838B2 (ja) 2017-05-31

Family

ID=53000755

Family Applications (1)

Application Number Title Priority Date Filing Date
JP2013212255A Expired - Fee Related JP6136838B2 (ja) 2013-10-09 2013-10-09 プログラム、転送方法、転送装置及びウェブメールシステム

Country Status (1)

Country Link
JP (1) JP6136838B2 (ja)

Family Cites Families (4)

* Cited by examiner, † Cited by third party
Publication number Priority date Publication date Assignee Title
JP5130981B2 (ja) * 2008-03-24 2013-01-30 富士通モバイルコミュニケーションズ株式会社 電子機器
JP2012226417A (ja) * 2011-04-15 2012-11-15 Kyocera Corp 通信端末、メール受信プログラムおよびメール受信方法
JP2013130942A (ja) * 2011-12-20 2013-07-04 Canon Marketing Japan Inc メールセキュリティ装置、制御方法、及びプログラム
WO2013145125A1 (ja) * 2012-03-27 2013-10-03 株式会社日立製作所 コンピュータシステム及びセキュリティ管理方法

Also Published As

Publication number Publication date
JP2015075958A (ja) 2015-04-20

Similar Documents

Publication Publication Date Title
US7831676B1 (en) Method and system for handling email
US8219920B2 (en) Methods and systems for managing to do items or notes or electronic messages
US20050108293A1 (en) Method and apparatus for matter-centric document management
US20200380200A1 (en) Information processing apparatus and method and non-transitory computer readable medium
CA2810686C (en) Electronic device and method for updating message body content based on recipient changes
US20130283187A1 (en) Sharing files on a computer through use of uris
US20130067355A1 (en) Managing and collaborating with digital content
JP2012518222A (ja) 移動通信端末で電子メールメッセージと添付ファイルを処理する方法
JP2006099716A (ja) 情報処理システム、情報処理方法、プログラムおよび記録媒体
US20150278238A1 (en) Information processing apparatus and non-transitory computer readable medium
JP2019128689A (ja) 情報処理装置及び情報処理プログラム
JP2025109933A (ja) ファイル管理装置およびファイル管理プログラム
WO2017073102A1 (ja) 情報処理装置、情報処理方法およびプログラム
JP4730715B2 (ja) 情報処理装置、電子ファイル管理装置、電子ファイル管理システムおよび電子ファイル管理プログラム
JP6136838B2 (ja) プログラム、転送方法、転送装置及びウェブメールシステム
US8799376B2 (en) Method, computer program, and device for processing e-mail addressed to multiple destination addresses
JP2013242688A (ja) データ出力装置、データ出力方法、及び、プログラム
KR101567886B1 (ko) 선박 건조 정보 공유를 지원하는 서버, 단말기 및 방법
JP5268165B2 (ja) 情報処理装置、ウェブメールシステム、制御方法およびプログラム。
JP7172323B2 (ja) 情報処理装置及びプログラム
JP7135626B2 (ja) 情報処理装置及びプログラム
JP5120986B2 (ja) 情報処理装置、ウェブメールシステム、制御方法およびプログラム。
JP2008146194A (ja) 顧客対応メールシステム
JP6516600B2 (ja) 会計情報処理装置、会計情報処理方法、およびプログラム
JP2007028025A (ja) 電子メールシステム

Legal Events

Date Code Title Description
A621 Written request for application examination

Free format text: JAPANESE INTERMEDIATE CODE: A621

Effective date: 20160606

A131 Notification of reasons for refusal

Free format text: JAPANESE INTERMEDIATE CODE: A131

Effective date: 20170124

A521 Written amendment

Free format text: JAPANESE INTERMEDIATE CODE: A523

Effective date: 20170324

TRDD Decision of grant or rejection written
A01 Written decision to grant a patent or to grant a registration (utility model)

Free format text: JAPANESE INTERMEDIATE CODE: A01

Effective date: 20170404

A61 First payment of annual fees (during grant procedure)

Free format text: JAPANESE INTERMEDIATE CODE: A61

Effective date: 20170417

R150 Certificate of patent or registration of utility model

Ref document number: 6136838

Country of ref document: JP

Free format text: JAPANESE INTERMEDIATE CODE: R150

LAPS Cancellation because of no payment of annual fees