JP6119561B2 - ハイブリッド車両用駆動装置 - Google Patents

ハイブリッド車両用駆動装置 Download PDF

Info

Publication number
JP6119561B2
JP6119561B2 JP2013228520A JP2013228520A JP6119561B2 JP 6119561 B2 JP6119561 B2 JP 6119561B2 JP 2013228520 A JP2013228520 A JP 2013228520A JP 2013228520 A JP2013228520 A JP 2013228520A JP 6119561 B2 JP6119561 B2 JP 6119561B2
Authority
JP
Japan
Prior art keywords
motor
hybrid vehicle
engine
mode
output
Prior art date
Legal status (The legal status is an assumption and is not a legal conclusion. Google has not performed a legal analysis and makes no representation as to the accuracy of the status listed.)
Expired - Fee Related
Application number
JP2013228520A
Other languages
English (en)
Other versions
JP2015085906A (ja
Inventor
建正 畑
建正 畑
雄二 岩瀬
雄二 岩瀬
鈴木 陽介
陽介 鈴木
加藤 晃一
晃一 加藤
清太郎 信安
清太郎 信安
太郎 茂木
太郎 茂木
Current Assignee (The listed assignees may be inaccurate. Google has not performed a legal analysis and makes no representation or warranty as to the accuracy of the list.)
Toyota Motor Corp
Original Assignee
Toyota Motor Corp
Priority date (The priority date is an assumption and is not a legal conclusion. Google has not performed a legal analysis and makes no representation as to the accuracy of the date listed.)
Filing date
Publication date
Application filed by Toyota Motor Corp filed Critical Toyota Motor Corp
Priority to JP2013228520A priority Critical patent/JP6119561B2/ja
Priority to US15/033,739 priority patent/US10017040B2/en
Priority to PCT/JP2014/079516 priority patent/WO2015064769A1/en
Publication of JP2015085906A publication Critical patent/JP2015085906A/ja
Application granted granted Critical
Publication of JP6119561B2 publication Critical patent/JP6119561B2/ja
Expired - Fee Related legal-status Critical Current
Anticipated expiration legal-status Critical

Links

Images

Classifications

    • BPERFORMING OPERATIONS; TRANSPORTING
    • B60VEHICLES IN GENERAL
    • B60KARRANGEMENT OR MOUNTING OF PROPULSION UNITS OR OF TRANSMISSIONS IN VEHICLES; ARRANGEMENT OR MOUNTING OF PLURAL DIVERSE PRIME-MOVERS IN VEHICLES; AUXILIARY DRIVES FOR VEHICLES; INSTRUMENTATION OR DASHBOARDS FOR VEHICLES; ARRANGEMENTS IN CONNECTION WITH COOLING, AIR INTAKE, GAS EXHAUST OR FUEL SUPPLY OF PROPULSION UNITS IN VEHICLES
    • B60K6/00Arrangement or mounting of plural diverse prime-movers for mutual or common propulsion, e.g. hybrid propulsion systems comprising electric motors and internal combustion engines
    • B60K6/20Arrangement or mounting of plural diverse prime-movers for mutual or common propulsion, e.g. hybrid propulsion systems comprising electric motors and internal combustion engines the prime-movers consisting of electric motors and internal combustion engines, e.g. HEVs
    • B60K6/22Arrangement or mounting of plural diverse prime-movers for mutual or common propulsion, e.g. hybrid propulsion systems comprising electric motors and internal combustion engines the prime-movers consisting of electric motors and internal combustion engines, e.g. HEVs characterised by apparatus, components or means specially adapted for HEVs
    • B60K6/36Arrangement or mounting of plural diverse prime-movers for mutual or common propulsion, e.g. hybrid propulsion systems comprising electric motors and internal combustion engines the prime-movers consisting of electric motors and internal combustion engines, e.g. HEVs characterised by apparatus, components or means specially adapted for HEVs characterised by the transmission gearings
    • B60K6/365Arrangement or mounting of plural diverse prime-movers for mutual or common propulsion, e.g. hybrid propulsion systems comprising electric motors and internal combustion engines the prime-movers consisting of electric motors and internal combustion engines, e.g. HEVs characterised by apparatus, components or means specially adapted for HEVs characterised by the transmission gearings with the gears having orbital motion
    • BPERFORMING OPERATIONS; TRANSPORTING
    • B60VEHICLES IN GENERAL
    • B60KARRANGEMENT OR MOUNTING OF PROPULSION UNITS OR OF TRANSMISSIONS IN VEHICLES; ARRANGEMENT OR MOUNTING OF PLURAL DIVERSE PRIME-MOVERS IN VEHICLES; AUXILIARY DRIVES FOR VEHICLES; INSTRUMENTATION OR DASHBOARDS FOR VEHICLES; ARRANGEMENTS IN CONNECTION WITH COOLING, AIR INTAKE, GAS EXHAUST OR FUEL SUPPLY OF PROPULSION UNITS IN VEHICLES
    • B60K6/00Arrangement or mounting of plural diverse prime-movers for mutual or common propulsion, e.g. hybrid propulsion systems comprising electric motors and internal combustion engines
    • B60K6/20Arrangement or mounting of plural diverse prime-movers for mutual or common propulsion, e.g. hybrid propulsion systems comprising electric motors and internal combustion engines the prime-movers consisting of electric motors and internal combustion engines, e.g. HEVs
    • B60K6/22Arrangement or mounting of plural diverse prime-movers for mutual or common propulsion, e.g. hybrid propulsion systems comprising electric motors and internal combustion engines the prime-movers consisting of electric motors and internal combustion engines, e.g. HEVs characterised by apparatus, components or means specially adapted for HEVs
    • B60K6/38Arrangement or mounting of plural diverse prime-movers for mutual or common propulsion, e.g. hybrid propulsion systems comprising electric motors and internal combustion engines the prime-movers consisting of electric motors and internal combustion engines, e.g. HEVs characterised by apparatus, components or means specially adapted for HEVs characterised by the driveline clutches
    • B60K6/387Actuated clutches, i.e. clutches engaged or disengaged by electric, hydraulic or mechanical actuating means
    • BPERFORMING OPERATIONS; TRANSPORTING
    • B60VEHICLES IN GENERAL
    • B60KARRANGEMENT OR MOUNTING OF PROPULSION UNITS OR OF TRANSMISSIONS IN VEHICLES; ARRANGEMENT OR MOUNTING OF PLURAL DIVERSE PRIME-MOVERS IN VEHICLES; AUXILIARY DRIVES FOR VEHICLES; INSTRUMENTATION OR DASHBOARDS FOR VEHICLES; ARRANGEMENTS IN CONNECTION WITH COOLING, AIR INTAKE, GAS EXHAUST OR FUEL SUPPLY OF PROPULSION UNITS IN VEHICLES
    • B60K6/00Arrangement or mounting of plural diverse prime-movers for mutual or common propulsion, e.g. hybrid propulsion systems comprising electric motors and internal combustion engines
    • B60K6/20Arrangement or mounting of plural diverse prime-movers for mutual or common propulsion, e.g. hybrid propulsion systems comprising electric motors and internal combustion engines the prime-movers consisting of electric motors and internal combustion engines, e.g. HEVs
    • B60K6/42Arrangement or mounting of plural diverse prime-movers for mutual or common propulsion, e.g. hybrid propulsion systems comprising electric motors and internal combustion engines the prime-movers consisting of electric motors and internal combustion engines, e.g. HEVs characterised by the architecture of the hybrid electric vehicle
    • B60K6/44Series-parallel type
    • B60K6/442Series-parallel switching type
    • BPERFORMING OPERATIONS; TRANSPORTING
    • B60VEHICLES IN GENERAL
    • B60KARRANGEMENT OR MOUNTING OF PROPULSION UNITS OR OF TRANSMISSIONS IN VEHICLES; ARRANGEMENT OR MOUNTING OF PLURAL DIVERSE PRIME-MOVERS IN VEHICLES; AUXILIARY DRIVES FOR VEHICLES; INSTRUMENTATION OR DASHBOARDS FOR VEHICLES; ARRANGEMENTS IN CONNECTION WITH COOLING, AIR INTAKE, GAS EXHAUST OR FUEL SUPPLY OF PROPULSION UNITS IN VEHICLES
    • B60K6/00Arrangement or mounting of plural diverse prime-movers for mutual or common propulsion, e.g. hybrid propulsion systems comprising electric motors and internal combustion engines
    • B60K6/20Arrangement or mounting of plural diverse prime-movers for mutual or common propulsion, e.g. hybrid propulsion systems comprising electric motors and internal combustion engines the prime-movers consisting of electric motors and internal combustion engines, e.g. HEVs
    • B60K6/42Arrangement or mounting of plural diverse prime-movers for mutual or common propulsion, e.g. hybrid propulsion systems comprising electric motors and internal combustion engines the prime-movers consisting of electric motors and internal combustion engines, e.g. HEVs characterised by the architecture of the hybrid electric vehicle
    • B60K6/44Series-parallel type
    • B60K6/445Differential gearing distribution type
    • BPERFORMING OPERATIONS; TRANSPORTING
    • B60VEHICLES IN GENERAL
    • B60KARRANGEMENT OR MOUNTING OF PROPULSION UNITS OR OF TRANSMISSIONS IN VEHICLES; ARRANGEMENT OR MOUNTING OF PLURAL DIVERSE PRIME-MOVERS IN VEHICLES; AUXILIARY DRIVES FOR VEHICLES; INSTRUMENTATION OR DASHBOARDS FOR VEHICLES; ARRANGEMENTS IN CONNECTION WITH COOLING, AIR INTAKE, GAS EXHAUST OR FUEL SUPPLY OF PROPULSION UNITS IN VEHICLES
    • B60K6/00Arrangement or mounting of plural diverse prime-movers for mutual or common propulsion, e.g. hybrid propulsion systems comprising electric motors and internal combustion engines
    • B60K6/20Arrangement or mounting of plural diverse prime-movers for mutual or common propulsion, e.g. hybrid propulsion systems comprising electric motors and internal combustion engines the prime-movers consisting of electric motors and internal combustion engines, e.g. HEVs
    • B60K6/50Architecture of the driveline characterised by arrangement or kind of transmission units
    • FMECHANICAL ENGINEERING; LIGHTING; HEATING; WEAPONS; BLASTING
    • F16ENGINEERING ELEMENTS AND UNITS; GENERAL MEASURES FOR PRODUCING AND MAINTAINING EFFECTIVE FUNCTIONING OF MACHINES OR INSTALLATIONS; THERMAL INSULATION IN GENERAL
    • F16HGEARING
    • F16H3/00Toothed gearings for conveying rotary motion with variable gear ratio or for reversing rotary motion
    • F16H3/44Toothed gearings for conveying rotary motion with variable gear ratio or for reversing rotary motion using gears having orbital motion
    • F16H3/72Toothed gearings for conveying rotary motion with variable gear ratio or for reversing rotary motion using gears having orbital motion with a secondary drive, e.g. regulating motor, in order to vary speed continuously
    • F16H3/727Toothed gearings for conveying rotary motion with variable gear ratio or for reversing rotary motion using gears having orbital motion with a secondary drive, e.g. regulating motor, in order to vary speed continuously with at least two dynamo electric machines for creating an electric power path inside the gearing, e.g. using generator and motor for a variable power torque path
    • FMECHANICAL ENGINEERING; LIGHTING; HEATING; WEAPONS; BLASTING
    • F16ENGINEERING ELEMENTS AND UNITS; GENERAL MEASURES FOR PRODUCING AND MAINTAINING EFFECTIVE FUNCTIONING OF MACHINES OR INSTALLATIONS; THERMAL INSULATION IN GENERAL
    • F16HGEARING
    • F16H3/00Toothed gearings for conveying rotary motion with variable gear ratio or for reversing rotary motion
    • F16H3/44Toothed gearings for conveying rotary motion with variable gear ratio or for reversing rotary motion using gears having orbital motion
    • F16H3/72Toothed gearings for conveying rotary motion with variable gear ratio or for reversing rotary motion using gears having orbital motion with a secondary drive, e.g. regulating motor, in order to vary speed continuously
    • F16H3/727Toothed gearings for conveying rotary motion with variable gear ratio or for reversing rotary motion using gears having orbital motion with a secondary drive, e.g. regulating motor, in order to vary speed continuously with at least two dynamo electric machines for creating an electric power path inside the gearing, e.g. using generator and motor for a variable power torque path
    • F16H3/728Toothed gearings for conveying rotary motion with variable gear ratio or for reversing rotary motion using gears having orbital motion with a secondary drive, e.g. regulating motor, in order to vary speed continuously with at least two dynamo electric machines for creating an electric power path inside the gearing, e.g. using generator and motor for a variable power torque path with means to change ratio in the mechanical gearing
    • BPERFORMING OPERATIONS; TRANSPORTING
    • B60VEHICLES IN GENERAL
    • B60YINDEXING SCHEME RELATING TO ASPECTS CROSS-CUTTING VEHICLE TECHNOLOGY
    • B60Y2200/00Type of vehicle
    • B60Y2200/90Vehicles comprising electric prime movers
    • B60Y2200/92Hybrid vehicles
    • BPERFORMING OPERATIONS; TRANSPORTING
    • B60VEHICLES IN GENERAL
    • B60YINDEXING SCHEME RELATING TO ASPECTS CROSS-CUTTING VEHICLE TECHNOLOGY
    • B60Y2300/00Purposes or special features of road vehicle drive control systems
    • B60Y2300/18Propelling the vehicle
    • B60Y2300/182Selecting between different operative modes, e.g. comfort and performance modes
    • BPERFORMING OPERATIONS; TRANSPORTING
    • B60VEHICLES IN GENERAL
    • B60YINDEXING SCHEME RELATING TO ASPECTS CROSS-CUTTING VEHICLE TECHNOLOGY
    • B60Y2300/00Purposes or special features of road vehicle drive control systems
    • B60Y2300/18Propelling the vehicle
    • B60Y2300/192Power-up or power-down of the driveline, e.g. start up of a cold engine
    • BPERFORMING OPERATIONS; TRANSPORTING
    • B60VEHICLES IN GENERAL
    • B60YINDEXING SCHEME RELATING TO ASPECTS CROSS-CUTTING VEHICLE TECHNOLOGY
    • B60Y2400/00Special features of vehicle units
    • B60Y2400/70Gearings
    • B60Y2400/73Planetary gearings
    • FMECHANICAL ENGINEERING; LIGHTING; HEATING; WEAPONS; BLASTING
    • F16ENGINEERING ELEMENTS AND UNITS; GENERAL MEASURES FOR PRODUCING AND MAINTAINING EFFECTIVE FUNCTIONING OF MACHINES OR INSTALLATIONS; THERMAL INSULATION IN GENERAL
    • F16HGEARING
    • F16H37/00Combinations of mechanical gearings, not provided for in groups F16H1/00 - F16H35/00
    • F16H37/02Combinations of mechanical gearings, not provided for in groups F16H1/00 - F16H35/00 comprising essentially only toothed or friction gearings
    • F16H37/06Combinations of mechanical gearings, not provided for in groups F16H1/00 - F16H35/00 comprising essentially only toothed or friction gearings with a plurality of driving or driven shafts; with arrangements for dividing torque between two or more intermediate shafts
    • F16H37/08Combinations of mechanical gearings, not provided for in groups F16H1/00 - F16H35/00 comprising essentially only toothed or friction gearings with a plurality of driving or driven shafts; with arrangements for dividing torque between two or more intermediate shafts with differential gearing
    • F16H37/0833Combinations of mechanical gearings, not provided for in groups F16H1/00 - F16H35/00 comprising essentially only toothed or friction gearings with a plurality of driving or driven shafts; with arrangements for dividing torque between two or more intermediate shafts with differential gearing with arrangements for dividing torque between two or more intermediate shafts, i.e. with two or more internal power paths
    • F16H37/084Combinations of mechanical gearings, not provided for in groups F16H1/00 - F16H35/00 comprising essentially only toothed or friction gearings with a plurality of driving or driven shafts; with arrangements for dividing torque between two or more intermediate shafts with differential gearing with arrangements for dividing torque between two or more intermediate shafts, i.e. with two or more internal power paths at least one power path being a continuously variable transmission, i.e. CVT
    • F16H2037/0866Power-split transmissions with distributing differentials, with the output of the CVT connected or connectable to the output shaft
    • F16H2037/0873Power-split transmissions with distributing differentials, with the output of the CVT connected or connectable to the output shaft with switching means, e.g. to change ranges
    • FMECHANICAL ENGINEERING; LIGHTING; HEATING; WEAPONS; BLASTING
    • F16ENGINEERING ELEMENTS AND UNITS; GENERAL MEASURES FOR PRODUCING AND MAINTAINING EFFECTIVE FUNCTIONING OF MACHINES OR INSTALLATIONS; THERMAL INSULATION IN GENERAL
    • F16HGEARING
    • F16H37/00Combinations of mechanical gearings, not provided for in groups F16H1/00 - F16H35/00
    • F16H37/02Combinations of mechanical gearings, not provided for in groups F16H1/00 - F16H35/00 comprising essentially only toothed or friction gearings
    • F16H37/06Combinations of mechanical gearings, not provided for in groups F16H1/00 - F16H35/00 comprising essentially only toothed or friction gearings with a plurality of driving or driven shafts; with arrangements for dividing torque between two or more intermediate shafts
    • F16H37/08Combinations of mechanical gearings, not provided for in groups F16H1/00 - F16H35/00 comprising essentially only toothed or friction gearings with a plurality of driving or driven shafts; with arrangements for dividing torque between two or more intermediate shafts with differential gearing
    • F16H37/0833Combinations of mechanical gearings, not provided for in groups F16H1/00 - F16H35/00 comprising essentially only toothed or friction gearings with a plurality of driving or driven shafts; with arrangements for dividing torque between two or more intermediate shafts with differential gearing with arrangements for dividing torque between two or more intermediate shafts, i.e. with two or more internal power paths
    • F16H37/084Combinations of mechanical gearings, not provided for in groups F16H1/00 - F16H35/00 comprising essentially only toothed or friction gearings with a plurality of driving or driven shafts; with arrangements for dividing torque between two or more intermediate shafts with differential gearing with arrangements for dividing torque between two or more intermediate shafts, i.e. with two or more internal power paths at least one power path being a continuously variable transmission, i.e. CVT
    • F16H2037/088Power-split transmissions with summing differentials, with the input of the CVT connected or connectable to the input shaft
    • F16H2037/0886Power-split transmissions with summing differentials, with the input of the CVT connected or connectable to the input shaft with switching means, e.g. to change ranges
    • FMECHANICAL ENGINEERING; LIGHTING; HEATING; WEAPONS; BLASTING
    • F16ENGINEERING ELEMENTS AND UNITS; GENERAL MEASURES FOR PRODUCING AND MAINTAINING EFFECTIVE FUNCTIONING OF MACHINES OR INSTALLATIONS; THERMAL INSULATION IN GENERAL
    • F16HGEARING
    • F16H2200/00Transmissions for multiple ratios
    • F16H2200/20Transmissions using gears with orbital motion
    • F16H2200/203Transmissions using gears with orbital motion characterised by the engaging friction means not of the freewheel type, e.g. friction clutches or brakes
    • F16H2200/2038Transmissions using gears with orbital motion characterised by the engaging friction means not of the freewheel type, e.g. friction clutches or brakes with three engaging means
    • YGENERAL TAGGING OF NEW TECHNOLOGICAL DEVELOPMENTS; GENERAL TAGGING OF CROSS-SECTIONAL TECHNOLOGIES SPANNING OVER SEVERAL SECTIONS OF THE IPC; TECHNICAL SUBJECTS COVERED BY FORMER USPC CROSS-REFERENCE ART COLLECTIONS [XRACs] AND DIGESTS
    • Y02TECHNOLOGIES OR APPLICATIONS FOR MITIGATION OR ADAPTATION AGAINST CLIMATE CHANGE
    • Y02TCLIMATE CHANGE MITIGATION TECHNOLOGIES RELATED TO TRANSPORTATION
    • Y02T10/00Road transport of goods or passengers
    • Y02T10/60Other road transportation technologies with climate change mitigation effect
    • Y02T10/62Hybrid vehicles
    • YGENERAL TAGGING OF NEW TECHNOLOGICAL DEVELOPMENTS; GENERAL TAGGING OF CROSS-SECTIONAL TECHNOLOGIES SPANNING OVER SEVERAL SECTIONS OF THE IPC; TECHNICAL SUBJECTS COVERED BY FORMER USPC CROSS-REFERENCE ART COLLECTIONS [XRACs] AND DIGESTS
    • Y02TECHNOLOGIES OR APPLICATIONS FOR MITIGATION OR ADAPTATION AGAINST CLIMATE CHANGE
    • Y02TCLIMATE CHANGE MITIGATION TECHNOLOGIES RELATED TO TRANSPORTATION
    • Y02T10/00Road transport of goods or passengers
    • Y02T10/60Other road transportation technologies with climate change mitigation effect
    • Y02T10/72Electric energy management in electromobility
    • YGENERAL TAGGING OF NEW TECHNOLOGICAL DEVELOPMENTS; GENERAL TAGGING OF CROSS-SECTIONAL TECHNOLOGIES SPANNING OVER SEVERAL SECTIONS OF THE IPC; TECHNICAL SUBJECTS COVERED BY FORMER USPC CROSS-REFERENCE ART COLLECTIONS [XRACs] AND DIGESTS
    • Y10TECHNICAL SUBJECTS COVERED BY FORMER USPC
    • Y10STECHNICAL SUBJECTS COVERED BY FORMER USPC CROSS-REFERENCE ART COLLECTIONS [XRACs] AND DIGESTS
    • Y10S903/00Hybrid electric vehicles, HEVS
    • Y10S903/902Prime movers comprising electrical and internal combustion motors
    • Y10S903/903Prime movers comprising electrical and internal combustion motors having energy storing means, e.g. battery, capacitor
    • Y10S903/904Component specially adapted for hev
    • Y10S903/909Gearing
    • Y10S903/91Orbital, e.g. planetary gears
    • Y10S903/911Orbital, e.g. planetary gears with two or more gear sets
    • YGENERAL TAGGING OF NEW TECHNOLOGICAL DEVELOPMENTS; GENERAL TAGGING OF CROSS-SECTIONAL TECHNOLOGIES SPANNING OVER SEVERAL SECTIONS OF THE IPC; TECHNICAL SUBJECTS COVERED BY FORMER USPC CROSS-REFERENCE ART COLLECTIONS [XRACs] AND DIGESTS
    • Y10TECHNICAL SUBJECTS COVERED BY FORMER USPC
    • Y10STECHNICAL SUBJECTS COVERED BY FORMER USPC CROSS-REFERENCE ART COLLECTIONS [XRACs] AND DIGESTS
    • Y10S903/00Hybrid electric vehicles, HEVS
    • Y10S903/902Prime movers comprising electrical and internal combustion motors
    • Y10S903/903Prime movers comprising electrical and internal combustion motors having energy storing means, e.g. battery, capacitor
    • Y10S903/904Component specially adapted for hev
    • Y10S903/915Specific drive or transmission adapted for hev

Landscapes

  • Engineering & Computer Science (AREA)
  • Mechanical Engineering (AREA)
  • Chemical & Material Sciences (AREA)
  • Combustion & Propulsion (AREA)
  • Transportation (AREA)
  • General Engineering & Computer Science (AREA)
  • Hybrid Electric Vehicles (AREA)
  • Electric Propulsion And Braking For Vehicles (AREA)
  • Structure Of Transmissions (AREA)

Description

この発明は、エンジンおよびモータを駆動力源とするハイブリッド車両に搭載される駆動装置であって、特に、動力の伝達系統からエンジンを切り離すことができるように構成されたハイブリッド車両用駆動装置に関するものである。
ハイブリッド車両は、例えば、熱エネルギを運動エネルギに変換して動力を発生するエンジンや、発電機能を有するモータなど、動力の発生原理が異なる複数の駆動力源を備えた車両である。したがって、ハイブリッド車両では、エンジンとモータとが持つそれぞれの特性を生かすことにより、エネルギ効率を向上させることができ、また排気ガスの低減を図ることができる。このようなハイブリッド車両に関する発明が特許文献1に記載されている。
この特許文献1に記載されたハイブリッド駆動装置は、エンジン、および、第1モータならびに第2モータを駆動力源として備えている。また、エンジンに連結される入力軸、車輪に連結される出力軸、および、3つの回転要素を有する動力分配機構を備えている。動力分配機構はリングギヤ、キャリア、および、サンギヤを有するシングルピニオン形遊星歯車機構によって構成されている。動力分配機構の分配入力要素となるキャリアには入力軸が連結されている。反力要素となるサンギヤには第1モータが連結されている。出力要素となるリングギヤには出力軸が連結されている。また、変速入力要素、第1出力要素、第2出力要素、および、固定要素の4つの回転要素を有する変速機構を備えている。変速機構は、固定要素となる第1サンギヤ、第1出力要素となる共通リングギヤ、第2出力要素となる共通キャリア、ならびに変速入力要素となる第2サンギヤを有するラビニヨ形遊星歯車機構と、リングギヤ、キャリア、ならびにサンギヤを有するシングルピニオン形遊星歯車機構とによって構成されている。さらに、前記ラビニヨ形遊星歯車機構の第2サンギヤを選択的に回転不可能な状態に固定する第1係合機構、前記シングルピニオン形遊星歯車機構のリングギヤを選択的に回転不可能な状態に固定する第2係合機構、および、前記ラビニヨ形遊星歯車機構の共通リングギヤを選択的に回転不可能な状態に固定する第3係合機構を備えている。
そして、この特許文献1に記載されたハイブリッド駆動装置は、各係合機構の動作を制御することにより、“第1スプリットモード”と、“第2スプリットモード”と、“第3スプリットモード”とのいずれかを選択的に設定することが可能である。“第1スプリットモード”は、3つのモードの中で中間の車速域で設定される動作モードであり、第1係合機構を係合して第2係合機構および第3係合機構を共に解放することにより設定される。“第2スプリットモード”は、3つのモードの中で最も高い車速域で設定される動作モードであり、第2係合機構を係合して第1係合機構および第3係合機構を共に解放することにより設定される。“第3スプリットモード”は、3つのモードの中で最も低い車速域で設定される動作モードであり、第3係合機構を係合して第1係合機構および第2係合機構を共に解放することにより設定される。
なお、特許文献2にも、エンジン、および、第1モータならびに第2モータを駆動力源とするハイブリッド駆動装置に関する発明が記載されている。この特許文献2に記載されているハイブリッド駆動装置は、3つの回転要素によって差動作用を行う動力分配機構を備えている。動力分配機構は、サンギヤ、リングギヤ、および、キャリアを有する遊星歯車機構によって構成されている。この動力分配機構のキャリアにエンジンが連結され、サンギヤに第1モータが連結され、リングギヤに出力軸が連結されている。また、2つの変速比を設定可能な変速機構を備えている。変速機構は、大径の第1サンギヤと小径の第2サンギヤとを有するステップドピニオン形遊星歯車機構、および、2つのブレーキ機構によって構成されている。この変速機構の入力側に第2モータが連結され、出力側に出力軸が連結されている。さらに、動力分配機構のキャリアと第2モータとを選択的に連結する、すなわちエンジンと第2モータとを選択的に連結するクラッチ機構を備えている。
そして、この特許文献2に記載されたハイブリッド駆動装置は、変速機構およびクラッチ機構の動作をそれぞれ制御することにより、“出力スプリットモード”と“機械直結減速モード”とを選択的に設定することが可能である。“出力スプリットモード”は、変速機構をニュートラルの状態にして、かつクラッチ機構を係合してエンジンと第2モータとを連結することにより設定される。“機械直結減速モード”は、変速機構をトルク伝達可能な減速状態にして、かつクラッチ機構を係合してエンジンと第2モータとを連結することにより設定される。
特開2011−213147号公報 特開2008−120139号公報
上記のように、特許文献1に記載されているハイブリッド駆動装置は、“第1スプリットモード”、“第2スプリットモード”、および、“第3スプリットモード”の3つの走行モードを選択的に設定することができる。それら3つの走行モードは、車速と要求駆動力とに基づいて適宜選択される。また、この特許文献1に記載されているハイブリッド駆動装置では、走行モードを切り替える際には、変速機構の第1出力要素の回転数および第2出力要素の回転数が、それぞれ、動力分配機構の出力要素の回転数および分配入力要素の回転数に対応して同期した状態で、走行モードの切り替えが行われる。そのため、走行モードの切り替え時に、変速装置をニュートラルにする必要がなくなり、その結果、ショックやトルク抜けの発生を抑制することができる、とされている。
一方、この特許文献1に記載されているハイブリッド駆動装置では、動力分配機構および変速機構を構成するために、合わせて3つの遊星歯車機構と3つの係合機構とが用いられている。また、構造が複雑なラビニヨ形の遊星歯車機構も用いられている。そのため、特許文献1に記載されているハイブリッド駆動装置は、装置の構造が複雑になっていて、また、小型化が容易ではない構成になっている。さらに、この特許文献1に記載されているハイブリッド駆動装置は、主に車速に応じて3つの走行モードを切り替える構成になっている。しかしながら、車速の大きさ以外にも、例えば、バッテリのSOC(State Of
Charge)が低下している場合や、モータだけの出力によって走行する場合、あるいは、後進時に大きな駆動力が要求される場合など、ハイブリッド車両で想定される走行状況は多様である。したがって、この特許文献1に記載されているハイブリッド駆動装置で選択的に設定される3つの走行モードだけでは、想定される様々な走行状況の全てに適応することはできない場合もある。
このように、従来のハイブリッド駆動装置では、できる限り簡単な、かつ小型化が可能な構成で、ハイブリッド車両の様々な走行状況に対応する適切な走行モードを設定できるようにするためには、未だ改良の余地があった。
この発明は上記の技術的課題に着目してなされたものであり、構成を複雑にすることなく、多様な走行状況に適応した走行モードを設定することができるハイブリッド車両用駆動装置を提供することを目的とするものである。
上記の目的を達成するために、この発明は、エンジンおよび第1モータならびに第2モータを駆動力源とするハイブリッド車両に搭載される駆動装置であって、第1入力要素と第1反力要素と第1出力要素とを有する第1差動機構、第2入力要素と第2反力要素と第2出力要素とを有する第2差動機構、および、前記エンジンと前記第1入力要素とを選択的に連結する第1クラッチ機構を備え、前記第1モータと前記第1反力要素とが連結され、前記第2モータと前記第2入力要素とが連結され、前記第1出力要素および前記第2出力要素と出力部材とがそれぞれ連結されていて、前記エンジンの出力トルクおよび前記第2モータの出力トルクを用いて前記ハイブリッド車両を前進走行させる第1ハイブリッドモードを設定することが可能なハイブリッド車両用駆動装置において、前記第1入力要素と前記第2入力要素とを選択的に連結する第2クラッチ機構を備えていて、少なくとも前記エンジンの出力トルクによって前記ハイブリッド車両を走行させる走行モードであって、前記エンジンの回転数に応じて前記出力部材の回転数が変化する状態で前記ハイブリッド車両を後進走行させるリバース固定段モードを設定することが可能であることを特徴とするものである。
また、この発明における前記第1ハイブリッドモードは、前記エンジンの出力トルクと前記第2モータの出力トルクとを合成して前記出力部材に伝達することにより前記ハイブリッド車両を前進走行させる走行モードを含んでいる。また、前記第1ハイブリッドモードは、前記第1クラッチ機構を係合して前記エンジンと前記第1入力要素とを連結し、前記第2クラッチ機構を解放して前記第1入力要素と前記第2入力要素との間の動力伝達を遮断することにより設定される走行モードであってもよい。そして、前記リバース固定段モードは、前記第1クラッチ機構を係合して前記エンジンと前記第1入力要素とを連結し、前記第2クラッチ機構を係合して前記第1入力要素と前記第2入力要素とを連結することにより設定される走行モードであってもよい。
また、この発明は、前記第2反力要素を選択的に回転不可能な状態に固定するブレーキ機構を更に備えていてもよい。そして、前記エンジンの出力トルクおよび前記第2モータの出力トルクを用いる走行モードであって、それらの出力トルクを前記第1ハイブリッドモードとは異なる動力伝達経路を経由させて前記ハイブリッド車両を前進走行させる第2ハイブリッドモードを設定することが可能である。
また、この発明における前記第2ハイブリッドモードは、前記エンジンの出力トルクと前記第2モータの出力トルクとが合成されたトルクを前記出力部材と前記第1モータとに分配して伝達することにより前記ハイブリッド車両を前進走行させる走行モードを含んでいる。そして、前記第2ハイブリッドモードは、前記第1クラッチ機構を係合して前記エンジンと前記第1入力要素とを連結し、前記第2クラッチ機構を係合して前記第1入力要素と前記第2入力要素とを連結し、前記ブレーキ機構を係合して前記第2反力要素を回転不可能な状態に固定することにより設定される走行モードであってもよい。
また、この発明は、前記第1モータおよび前記第2モータの両方の出力トルクによって前記ハイブリッド車両を走行させる走行モードであって、前記第1モータの回転数および前記第2モータの回転数をそれぞれ変化させることにより前記出力部材の回転数を制御して前記ハイブリッド車両を走行させるモータ回転数制御モードを設定することが可能である。
また、この発明における前記モータ回転数制御モードは、前記第1クラッチ機構を解放して前記エンジンと前記第1入力要素との間の動力伝達を遮断し、前記第2クラッチ機構を係合して前記第1入力要素と前記第2入力要素とを連結し、前記ブレーキ機構を解放して前記第2反力要素を回転可能な状態にすることにより設定される走行モードであってもよい。
また、この発明は、少なくとも前記エンジンの出力トルクによって前記ハイブリッド車両を走行させる走行モードであって、前記第2モータと前記出力部材との間のトルク伝達および前記第2モータと前記エンジンならびに前記第1モータとの間のトルク伝達をいずれも遮断した状態で前記ハイブリッド車両を前進走行させるモータ切り離しモードを設定することが可能である。
また、この発明における前記モータ切り離しモードは、前記第1クラッチ機構を係合して前記エンジンと前記第1入力要素と連結し、前記第2クラッチ機構を解放して前記第1入力要素と前記第2入力要素との間の動力伝達を遮断し、前記ブレーキ機構を解放して前記第2反力要素を回転可能な状態にすることにより設定される走行モードであってもよい。
また、この発明は、前記第1モータおよび前記第2モータの両方の出力トルクによって前記ハイブリッド車両を走行させる走行モードであって、前記第1モータの出力トルクおよび前記第2モータの出力トルクをそれぞれ変化させることにより前記出力部材の回転数を制御して前記ハイブリッド車両を走行させるモータトルク制御モードを設定することが可能である。
また、この発明における前記モータトルク制御モードは、前記第1クラッチ機構を解放して前記エンジンと前記第1入力要素との間の動力伝達を遮断し、前記第2クラッチ機構を係合して前記第1入力要素と前記第2入力要素とを連結し、前記ブレーキ機構を係合して前記第2反力要素を回転不可能な状態に固定することにより設定される走行モードであってもよい。
また、この発明は、前記第1モータおよび前記第1差動機構を、前記エンジンに近い方から、前記第1モータ、前記第1差動機構の順に配置してもよい。そして、前記第1クラッチ機構および前記第2クラッチ機構を、それぞれ、前記エンジンと前記第1モータとの間に配置してもよい。それと共に、前記エンジンの出力軸と同一の回転軸線上で並列させて配置してもよい。
また、この発明は、前記ブレーキ機構を、前記第2差動機構と前記第2モータとの間に配置してもよい。
そして、この発明における前記第1差動機構は、前記第1入力要素となる第1キャリアと、前記第1反力要素となる第1サンギヤと、前記第1出力要素となる第1リングギヤとを有するシングルピニオン形の第1遊星歯車機構によって構成されていてもよい。また、この発明における前記第2差動機構は、記第2入力要素となる第2サンギヤと、前記第2反力要素となる第2キャリアと、前記第2出力要素となる第2リングギヤとを有するシングルピニオン形の第2遊星歯車機構によって構成されていてもよい。
この発明におけるハイブリッド車両用駆動装置は、エンジンおよび2基のモータを駆動力源とするハイブリッド車両に搭載される。また、それぞれ3つの回転要素を有する第1差動機構ならびに第2差動機構、および、エンジンと第1差動機構の第1入力要素とを選択的に連結する第1クラッチ機構を備えている。さらに、この発明におけるハイブリッド車両用駆動装置の特徴的な構成として、第1差動機構の第1入力要素と第2差動機構の第2入力要素とを選択的に連結する第2クラッチ機構を備えている。そして、この発明におけるハイブリッド車両用駆動装置では、“リバース固定段モード”を設定することができる。この“リバース固定段モード”では、回転数を所定の変速比で変速した状態でエンジンの出力トルクを出力部材に伝達してハイブリッド車両を後進走行させることができる。この場合、エンジンの出力トルクに加えて、第1モータおよび第2モータの少なくともいずれかの出力トルクを出力部材に伝達してハイブリッド車両を後進走行させることもできる。したがって、この発明によれば、ハイブリッド車両の後進時に、十分な駆動力を得ることができる。
また、この発明におけるハイブリッド車両用駆動装置では、“第1ハイブリッドモード”を設定することができる。“第1ハイブリッドモード”は、例えばエンジンの出力トルクと第2モータの出力トルクとを合成して出力部材に伝達することによりハイブリッド車両を前進走行させる走行モードである。そして、主に低車速領域においてエネルギ効率の良好な状態でハイブリッド車両を前進走行させることが可能な走行モードである。さらに、第1クラッチ機構を解放することにより、エンジンと第1差動機構の第1入力要素との間のトルク伝達を遮断することができる。すなわち、エンジンと出力部材との間のトルク伝達を遮断した状態で、第2モータの出力トルクによってハイブリッド車両を走行させる“エンジン切り離しモード”を設定することができる。また、従来と同様に、第2モータの出力トルクによってハイブリッド車両を走行させる“通常モータ走行モード”を設定することもできる。
また、この発明におけるハイブリッド車両用駆動装置は、第2差動機構の第2反力要素の回転を選択的に止めるブレーキ機構を設けることができる。このブレーキ機構を設けることにより、“第2ハイブリッドモード”を設定することができる。“第2ハイブリッドモード”は、例えばエンジンの出力トルクと第2モータの出力トルクとが合成されたトルクを出力部材と第1モータとに分配して伝達することによりハイブリッド車両を前進走行させる走行モードである。そして、主に高車速領域においてエネルギ効率の良好な状態でハイブリッド車両を前進走行させることが可能な走行モードである。したがって、この発明によれば、“第1ハイブリッドモード”と“第2ハイブリッドモード”とを、ハイブリッド車両のエネルギ効率が最適になるように選択的に切り替えて設定することができる。例えば、低速走行時には、“第2ハイブリッドモード”よりもエネルギ効率が良い“第1ハイブリッドモード”を設定し、高速走行時には、“第1ハイブリッドモード”よりもエネルギ効率が良い“第2ハイブリッドモード”を設定して、ハイブリッド車両を走行させることができる。そのため、ハイブリッド車両のエネルギ効率を向上させることができる。
また、この発明におけるハイブリッド車両用駆動装置は、上記のようなブレーキ機構を設けることにより、“モータ回転数制御モード”を設定することができる。この“モータ回転数制御モード”では、第1モータの回転数および第2モータの回転数に基づいて出力部材の回転数を制御することができる。すなわち、第1モータおよび第2モータの少なくともいずれかの出力トルクによってハイブリッド車両をモータ走行させる際に、それら第1モータの回転数および第2モータの回転数を任意に設定することができる。そのため、第1モータの電気的損失と第2モータの電気的損失との和が最小になるような状態で、それら第1モータおよび第2モータを運転することができる。
また、この発明におけるハイブリッド車両用駆動装置は、上記のようなブレーキ機構を設けることにより、“モータ切り離しモード”を設定することができる。すなわち、第2クラッチ機構およびブレーキ機構をいずれも解放することにより、第2モータと出力部材との間のトルク伝達および第2モータとエンジンならびに第1モータとの間のトルク伝達をいずれも遮断した状態にすることができる。この“モータ切り離しモード”では、出力部材の回転数やエンジンの回転数あるいは第1モータの回転数に関わりなく、第2モータをフリーの状態にすることができる。そのため、例えば高車速時に、第2モータが連れ回されて逆起電力が増大してしまうことを回避することができる。その結果、そのような逆起電力に起因する電気的損失の増大を抑制することができる。
そして、この発明におけるハイブリッド車両用駆動装置は、“モータトルク制御モード”を設定することができる。この“モータトルク制御モード”では、第1モータの出力トルクおよび第2モータの出力トルクに基づいて出力部材の回転数を制御することができる。すなわち、第1モータの出力トルクと第2モータの出力トルクとを合わせた合成トルクによってハイブリッド車両をモータ走行させる際に、その合成トルクにおける第1モータおよび第2モータの出力トルクの分担率を任意に設定することができる。そのため、第1モータの電気的損失と第2モータの電気的損失との和が最小になるような状態で、それら第1モータおよび第2モータを運転することができる。
さらに、この発明におけるハイブリッド車両用駆動装置では、第1クラッチ機構と第2クラッチ機構とを、同一の回転軸線上で、かつ並列に配置することができる。例えば、デュアルクラッチトランスミッション(DCT)で一般的に採用されている形式のクラッチを適用することができる。そのため、装置の体格を小型化することができる。
このように、この発明におけるハイブリッド車両用駆動装置では、上記のような“リバース固定段モード”、“第1ハイブリッドモード”、“第2ハイブリッドモード”、“エンジン切り離しモード”、“モータ切り離しモード”、“モータ回転数制御モード”、および、“モータトルク制御モード”など、様々な走行状況に適応する多くの走行モードを設定することができる。これらは、2つの差動機構および2つのクラッチ機構だけの簡単な構成によって達成することができる。もしくは、2つの差動機構および2つのクラッチ機構ならびに1つのブレーキ機構だけの簡単な構成によって達成することができる。したがって、この発明によれば、装置の構成を複雑にすることなく、多様な走行状況に適応した走行モードを設定可能なハイブリッド車両用駆動装置を提供することができる。
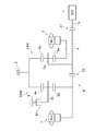
この発明に係るハイブリッド車両用駆動装置のギヤトレーンの一例を説明するためのスケルトン図であって、FF方式のハイブリッド車両へ搭載するのに適したギヤトレーンの例を示す図である。 この発明に係るハイブリッド車両用駆動装置のギヤトレーンの他の例を説明するためのスケルトン図であって、FR方式のハイブリッド車両へ搭載するのに適したギヤトレーンの例を示す図である。 この発明に係るハイブリッド車両用駆動装置のギヤトレーンの他の例を説明するためのスケルトン図であって、第1クラッチ機構と第2クラッチ機構とを同一回転軸線上で並列に配置したギヤトレーンの例を示す図である。 各走行モードにおける第1クラッチ機構、第2クラッチ機構、およびブレーキ機構の係合・解放状態を記す図表である。 “第1ハイブリッドモード”での第1遊星歯車機構および第2遊星歯車機構についての共線図である。 “モータ切り離しモード”での第1遊星歯車機構および第2遊星歯車機構についての共線図である。 “通常モータ走行モード”での第1遊星歯車機構および第2遊星歯車機構についての共線図である。 “エンジン切り離しモード”での第1遊星歯車機構および第2遊星歯車機構についての共線図である。 “第2ハイブリッドモード”での第1遊星歯車機構および第2遊星歯車機構についての共線図である。 “モータトルク制御モード”での第1遊星歯車機構および第2遊星歯車機構についての共線図である。 “モータ回転数制御モード”での第1遊星歯車機構および第2遊星歯車機構についての共線図である。 “リバース固定段モード”での第1遊星歯車機構および第2遊星歯車機構についての共線図である。 各走行モードにおける第1クラッチ機構、第2クラッチ機構、およびブレーキ機構の係合・解放状態を記す図表であって、図3に示す構成のギヤトレーンで設定可能な“リバース固定段モード”を示す図である。 この発明に係るハイブリッド車両用駆動装置のギヤトレーンの他の例を説明するためのスケルトン図であって、ブレーキ機構を備えていないギヤトレーンの例を示す図である。
次に、この発明を、図を参照して具体的に説明する。この発明は、エンジンおよび複数のモータを駆動力源とするハイブリッド車両に搭載される駆動装置である。このハイブリッド車両におけるエンジンとしては、ガソリンエンジンが最も一般的である。その他に、この発明におけるエンジンには、例えば、ディーゼルエンジンやLPGエンジンなど、ガソリン以外の燃料を使用する内燃機関を用いることができる。一方、モータとしては、発電機能のあるモータ(すなわちモータ・ジェネレータ)を用いるのが一般的である。
このようなハイブリッド車両では、エンジンの出力により走行するエンジン走行もしくはHV走行に加えて、モータのみの出力により走行するモータ走行(EV走行)を行うことができる。さらに、モータでエネルギを回生する走行や、EV走行時にエンジンを停止させたり、エンジンを再始動させたりすることが可能である。
EV走行では、エンジンを連れ回すことによる動力損失を抑制することが好ましい。さらに、エンジンを停止するだけでなく、EV走行時に動力を出力しない他のモータを連れ回すことによる動力損失を低減することが好ましい。そのため、駆動輪に対して駆動力源が出力する動力を伝達する動力伝達系統からエンジンを切り離すためのクラッチ機構を設ける場合がある。この発明は、この種のクラッチ機構を備えたハイブリッド車両用の駆動装置を対象にしている。
図1に、この発明で対象とすることのできるハイブリッド車両のギヤトレーンの一例を示してある。ここに示す例は、エンジン(ENG)1が出力した動力の一部を機械的手段によって出力部材に伝達するとともに、エンジン1が出力した動力の他の一部を一旦電力に変換した後に機械的な動力に逆変換して出力部材に伝達するように構成された例である。
エンジン1は、その出力の調整や起動ならびに停止の動作を電気的に制御するように構成されている。例えばガソリンエンジンであれば、スロットル開度、燃料の供給量、点火の実行ならびに停止、および、点火時期などが電気的に制御される。
この図1に示す例では、この発明における出力部材として、出力ギヤ2が設けられている。この出力ギヤ2は、後述する第1遊星歯車機構PAの第1リングギヤRaおよび第2遊星歯車機構PBの第2リングギヤRbと一体化されている。そして、この出力ギヤ2からデファレンシャルギヤ(図示せず)やドライブシャフト(図示せず)等を介して駆動輪(図示せず)に動力が伝達される。
上記のようにエンジン1が出力した動力を分割するための動力分割機構3が設けられている。この動力分割機構3は、従来知られている2モータタイプのハイブリッド駆動装置で適用されている動力分割機構と同様の構成である。この図1に示す例では、第1入力要素と第1反力要素と第1出力要素との3つの回転要素によって差動作用を生じさせる差動機構によって構成されている。具体的には、シングルピニオン形の第1遊星歯車機構PAによって構成されている。したがって、この第1遊星歯車機構PAによって構成される動力分割機構3が、この発明における第1差動機構に相当する。
第1遊星歯車機構PAは、第1サンギヤSaと、その第1サンギヤSaに対する同心円上に配置された第1リングギヤRaと、これら第1サンギヤSaおよび第1リングギヤRaに噛み合っているピニオンギヤを自転および公転が可能なように保持している第1キャリアCaとによって構成されている。
この第1遊星歯車機構PAにおいては、第1キャリアCaが第1入力要素となっている。この第1キャリアCaに、入力軸4が連結されている。入力軸4は、この駆動装置における入力部材である。また、第1サンギヤSaが第1反力要素となっている。この第1サンギヤSaに、第1モータ・ジェネレータ(MG1)5が連結されている。第1モータ・ジェネレータ5は、この発明における第1モータに相当する。そして、第1リングギヤRaが第1出力要素となっている。この第1リングギヤRaに、前述の出力ギヤ2が一体化されている。
入力軸4とエンジン1の出力軸(クランクシャフト)1aとの間に、第1クラッチC1が設けられている。この第1クラッチC1は、駆動力源から駆動輪に至る動力伝達系統6に対してエンジン1を連結し、あるいは、動力伝達系統6からエンジン1を切り離すためのものである。したがって、第1クラッチC1は、エンジン1と入力軸4とを選択的に連結する。すなわち、第1クラッチC1は、エンジン1と第1入力要素とを選択的に連結する。例えば、この第1クラッチC1は、互いに相対回転する回転部材同士を摩擦力によって係合させる摩擦クラッチによって構成されている。この第1クラッチC1が、この発明における第1クラッチ機構に相当する。
第1モータ・ジェネレータ5は、発電機能のあるモータである。この第1モータ・ジェネレータ5は、例えば永久磁石式の同期電動機などによって構成されている。この第1モータ・ジェネレータ5は、図示しないインバータなどのコントローラを介してバッテリに接続されていて、モータもしくは発電機として機能するように電流が制御される。
上記のエンジン1、動力分割機構3、および、第1モータ・ジェネレータ5は、同一の回転軸線上に配列されている。その回転軸線の延長線上に、第2モータ・ジェネレータ(MG2)7が配置されている。この第2モータ・ジェネレータ7は、走行のための駆動力を発生する、および、エネルギ回生を行うためのものである。第2モータ・ジェネレータ7は、上記の第1モータ・ジェネレータ5と同様に、例えば永久磁石式の同期電動機などによって構成されている。また、図示しないインバータなどのコントローラを介してバッテリに接続されていて、モータもしくは発電機として機能するように電流が制御される。そして、この第2モータ・ジェネレータ7は、減速機構8を介して、前述の出力ギヤ2に連結されている。この第2モータ・ジェネレータ7が、この発明における第2モータに相当する。
減速機構8は、上記のエンジン1、動力分割機構3、第1モータ・ジェネレータ5、および、第2モータ・ジェネレータ7と同一の回転軸線上に配置されている。この減速機構8は、この図1に示す例では、第2入力要素と第2反力要素と第2出力要素との3つの回転要素によって差動作用を生じさせる差動機構によって構成されている。具体的には、シングルピニオン形の第2遊星歯車機構PBによって構成されている。この減速機構8が、この発明における第2差動機構に相当する。
第2遊星歯車機構PBは、第2サンギヤSbと、その第2サンギヤSbに対する同心円上に配置された第2リングギヤRbと、これら第2サンギヤSbおよび第2リングギヤRbに噛み合っているピニオンギヤを自転および公転が可能なように保持している第2キャリアCbとによって構成されている。
第2遊星歯車機構PBにおいては、第2サンギヤSbが第2入力要素となっている。この第2サンギヤSbに、第2モータ・ジェネレータ7が連結されている。また、第2リングギヤRbが第2出力要素となっている。この第2リングギヤRbに、上記の第1リングギヤRaと同様に、出力ギヤ2が一体化されている。すなわち、第1リングギヤRaと第2リングギヤRbとは、互いに一体に回転するように連結されている。そしてそれら第1リングギヤRaおよび第2リングギヤRbの外周部分に、前述の出力ギヤ2が第1リングギヤRaおよび第2リングギヤRbと一体に回転するように連結されている。もしくは、それら第1リングギヤRaおよび第2リングギヤRbに一体に形成されている。また、第2キャリアCbが第2反力要素となっている。そしてこの発明の駆動装置では、この第2キャリアCbに、ブレーキB1が設けられている。このブレーキB1が、この発明におけるブレーキ機構に相当する。
ブレーキB1は、その一部が例えばケーシングなどの駆動装置の固定部9に固定されている。このブレーキB1は、係合することにより第2キャリアCbすなわち第2反力要素を選択的に回転不可能な状態に固定するように構成されている。例えば、このブレーキB1は、回転部材と固定部とを摩擦力によって係合させる摩擦ブレーキによって構成されている。また、このブレーキB1は、上記のように、係合することによって第2キャリアCbの回転数を0に固定するものであるから、回転部材と固定部とを機械的に係合させるドグブレーキによって構成することもできる。そのようなドグブレーキを用いることにより、摩擦ブレーキを用いる場合と比較してトルク容量の設計の自由度を向上させることができる。また、ドグブレーキでは、係合状態を維持するためのエネルギを必要としないので、その分エネルギの損失を低減することができる。
なお、上記のブレーキB1は、第2遊星歯車機構PBと第2モータ・ジェネレータ7との間に配置されている。すなわち、それぞれ比較的に径方向の体格が大きい第2遊星歯車機構PBおよび第2モータ・ジェネレータ7に挟み込まれる位置に、ブレーキB1が配置されている。そうすることにより、径方向に比較的大きなスペースがある部分にブレーキB1を配置することができる。また、装置内のスペースを有効に利用してブレーキB1を配置することができる。そのため、設計の自由度を向上させることができ、ひいては、装置の小型化を図ることができる。
そして、この発明の駆動装置では、第1遊星歯車機構PAの第1キャリアCaと、第2遊星歯車機構PBの第2サンギヤSbとの間に、第2クラッチC2が設けられている。この第2クラッチC2は、第1差動機構の第1入力要素と第2差動機構の第2入力要素との間の動力伝達経路を連結し、あるいは、それらの間の動力伝達経路を遮断するためのものである。したがって、この第2クラッチC2は、第1キャリアCaと第2サンギヤSbとを選択的に連結する。すなわち、この第2クラッチC2は、第1差動機構の第1入力要素と第2差動機構の第2入力要素とを選択的に連結する。例えば、この第2クラッチC2は、前述の第1クラッチC1と同様に、互いに相対回転する回転部材同士を摩擦力によって係合させる摩擦クラッチによって構成されている。この第2クラッチC2が、この発明における第2クラッチ機構に相当する。
上記のように図1に示した構成は、駆動力源を車両前方に配置して前輪で駆動力を発生させるいわゆるFF方式の車両へ搭載するのに適したギヤトレーンの例である。これに対して、この発明における駆動装置は、駆動力源を車両前方に配置して後輪で駆動力を発生させるいわゆるFR方式の車両へ搭載することもできる。そのようなFR方式の車両へ搭載するのに適したギヤトレーンの例を図2に示してある。
この図2に示す構成のギヤトレーンでは、この駆動装置における出力部材として出力軸10が設けられている。すなわち、前述の図1に示したギヤトレーンの出力ギヤ2に替わり、出力軸10が、第1リングギヤRaおよび第2リングギヤRbのそれぞれに連結されている。また、この出力軸10は、上記のエンジン1、動力分割機構3、第1モータ・ジェネレータ5ならびに第2モータ・ジェネレータ7、および、減速機構8と同一の回転軸線上に配置されている。そして、第1リングギヤRaおよび第2リングギヤRbが連結されていない出力軸10の一方の端部に、プロペラシャフト(図示せず)、デファレンシャルギヤ(図示せず)、およびドライブシャフト(図示せず)等を介して、駆動輪(図示せず)が動力伝達可能に連結される構成となっている。
さらに、この発明における駆動装置は、第1クラッチC1および第2クラッチC2の両方を、エンジン1と第1モータ・ジェネレータ5との間に、エンジン1の出力軸1aと同一の回転軸線上で並列させて配置することもできる。そのような第1クラッチC1および第2クラッチC2を並列させたギヤトレーンの例を図3に示してある。
この図3に示す構成のギヤトレーンでは、この駆動装置における入力部材として第1入力軸11および第2入力軸12が設けられている。すなわち、前述の図1に示したギヤトレーンの入力軸4に替わり、中空軸として形成された第1入力軸11、および、その第1入力軸11の中空部分に挿入された第2入力軸12が、エンジン1と動力分割機構3ならびに減速機構8との間に配置されている。
第1入力軸11の一方の端部は、第1キャリアCaに連結されている。第1入力軸11の他方の端部は、第1クラッチC1を介してエンジン1の出力軸1aに連結されている。すなわち、エンジン1と第1キャリアCaとが、第1クラッチC1および第1入力軸11を介して、選択的に連結される。また、第2入力軸12は、上記のように第1入力軸11の中空部分に挿入されていて、第1入力軸11と相対回転が可能である。そして、第2入力軸12の一方の端部は、第2サンギヤSbに連結されている。第2入力軸12の他方の端部は、第2クラッチC2を介してエンジン1の出力軸1aに連結されている。すなわち、エンジン1と第2サンギヤSbとが、第2クラッチC2および第2入力軸12を介して、選択的に連結されるように構成されている。また、第1クラッチC1の一方の回転部材と第2クラッチC2の一方の回転部材とは、エンジン1の出力軸1aと共に、互いに一体に回転するように連結されている。
この図3に示す構成のギヤトレーンでは、第1モータ・ジェネレータ5および動力分割機構3が、それぞれ、エンジン1に近い方から、第1モータ・ジェネレータ5、動力分割機構3の順に配置されている。また、第1クラッチC1および第2クラッチC2が、エンジン1と第1モータ・ジェネレータ5との間に配置されている。そして、第1クラッチC1および第2クラッチC2は、上記のように第1入力軸11および第2入力軸12を介して、エンジン1と第1キャリアCaおよび第2サンギヤSbとを選択的に連結する位置に配置されている。すなわち、第1クラッチC1および第2クラッチC2は、エンジン1の出力軸1aと同一の回転軸線上で、かつ互いに並列に配置されている。具体的には、この図3に示す構成のギヤトレーンでは、第1クラッチC1および第2クラッチC2が、一般的なデュアルクラッチトランスミッション(DCT)で採用されているDCT形式のクラッチによって構成されている。そのため、この図3に示す構成のギヤトレーンでは、装置の小型化を図ることができる。
上記の図1,図2,図3に示すこの発明におけるハイブリッド車両用駆動装置では、エンジン1の動力で走行するハイブリッド(HV)走行、電力で走行する電気車両(EV)走行、および、後進(Rev)走行を行うことができる。HV走行とEV走行とは、車速、アクセル開度などに基づく駆動要求量、および、バッテリのSOCなどの車両の走行状態に応じて選択される。例えば車両がある程度の速い車速で走行し、かつその車速を維持する程度にアクセル開度が大きくなっている場合には、HV走行が選択される。これに対して、SOCが十分に大きく、かつアクセル開度が比較的小さい場合などには、EV走行が選択される。
さらに、この発明におけるハイブリッド車両用駆動装置では、HV走行を行う場合に、“第1ハイブリッドモード”、“第2ハイブリッドモード”、および、“モータ切り離しモード”を設定することができる。EV走行を行う場合には、“通常モータ走行モード”、“エンジン切り離しモード”、“モータトルク制御モード”、および、“モータ回転数制御モード”を設定することができる。そして、Rev走行を行う場合には、“通常モータ走行モード”、および、“リバース固定段モード”を設定することができる。これら各走行モードを設定する際の第1クラッチC1、第2クラッチC2、およびブレーキB1の係合および解放の状態を図4の表に示してある。この図4において、“+”は係合を表し、“−”は解放を表している。
HV走行における“第1ハイブリッドモード”は、エンジン1が出力するトルクと第2モータ・ジェネレータ7が出力するトルクとを合成して出力部材に伝達することによって車両を前進走行させる走行モードである。この“第1ハイブリッドモード”は、第1クラッチC1およびブレーキB1を共に係合し、第2クラッチC2を解放することにより設定される。そしてこの“第1ハイブリッドモード”では、図5の共線図に示すように、エンジン1で駆動トルクを出力する。また、第2モータ・ジェネレータ7がモータとして機能させられて駆動トルクを出力する。すなわち、第2モータ・ジェネレータ7は、負回転しかつ駆動トルクを出力するように制御される。また、第1モータ・ジェネレータ5は、第1遊星歯車機構PAの反力要素に対して制動トルクを出力するように制御される。この場合、第1モータ・ジェネレータ5を発電機として機能させることもできる。この“第1ハイブリッドモード”では、主に低車速領域においてエネルギ効率の良好な状態で車両を前進走行させることができる。
なお、この説明では、エンジン1と同じ方向の回転を正回転とし、エンジン1と反対の方向の回転を負回転とする。また、第1モータ・ジェネレータ5および第2モータ・ジェネレータ7が力行状態に制御される際に発生するトルクを正トルクもしくは駆動トルクとし、第1モータ・ジェネレータ5および第2モータ・ジェネレータ7が回生状態に制御される際に発生するトルクを負トルクもしくは反力トルクとする。
上記の“第1ハイブリッドモード”が設定される状態からブレーキB1を解放することにより、“モータ切り離しモード”を設定することができる。すなわち、この“モータ切り離しモード”は、第1クラッチC1を係合し、第2クラッチC2およびブレーキB1を共に解放することにより設定される。この“モータ切り離しモード”では、図6の共線図に示すように、エンジン1で駆動トルクを出力する。また、第2モータ・ジェネレータ7は回転を停止させられる。また、第1モータ・ジェネレータ5は、第1遊星歯車機構PAの反力要素に対して反力トルクを出力するように制御される。この場合、第1モータ・ジェネレータ5を発電機として機能させることもできる。この“モータ切り離しモード”では、出力部材の回転数すなわち第1リングギヤRaおよび第2リングギヤRbの回転数やエンジン1の回転数あるいは第1モータ・ジェネレータ5の回転数に関わりなく、第2モータ・ジェネレータ7をフリーの状態にして、その回転を停止させることができる。そのため、この“モータ切り離しモード”では、高速走行時に第2モータ・ジェネレータ7が連れ回されて逆起電力が増大してしまうことを回避することができる。そして、そのような逆起電力に起因する電気的損失の増大を抑制することができる。
EV走行における“通常モータ走行モード”は、上記の“第1ハイブリッドモード”が設定される状態からエンジン1の運転を停止することにより設定することができる。この“通常モータ走行モード”は、第1クラッチC1およびブレーキB1を共に係合し、第2クラッチC2を解放することにより設定される。この“通常モータ走行モード”では、図7の共線図に示すように、第2モータ・ジェネレータ7がモータとして機能させられて駆動トルクを出力する。この“通常モータ走行モード”は、従来の2モータ式のハイブリッド車両の駆動装置で一般的に設定されるEV走行モードである。
上記の“通常モータ走行モード”が設定される状態から第1クラッチC1を解放することにより、“エンジン切り離しモード”を設定して車両をEV走行させることができる。すなわち、この“エンジン切り離しモード”は、ブレーキB1を係合し、第1クラッチC1および第2クラッチC2を共に解放することにより設定される。この“エンジン切り離しモード”では、図8の共線図に示すように、第2モータ・ジェネレータ7がモータとして機能させられて駆動トルクを出力する。この“エンジン切り離しモード”では、エンジン1と出力部材との間のトルク伝達を遮断した状態で、かつ第1モータ・ジェネレータ5の回転を停止させた状態で、第2モータ・ジェネレータ7が出力するトルクによって車両をEV走行させることができる。そのため、EV走行時に、エンジン1および第1モータ・ジェネレータ5を連れ回すことによる損失を低減することができる。その結果、この駆動装置のエネルギ効率を向上させることができる。
前述したように、この発明におけるハイブリッド車両用駆動装置は、特に、第1遊星歯車機構PAの入力要素すなわち第1キャリアCaと、第2遊星歯車機構PBの入力要素すなわち第2サンギヤSbとを選択的に連結する第2クラッチC2を備えている。上記の“第1ハイブリッドモード”、“モータ切り離しモード”、“通常モータ走行モード”、および“エンジン切り離しモード”の各走行モードは、この第2クラッチC2を解放することにより設定される。それに対して、この第2クラッチC2を係合することにより、以下に示す“第2ハイブリッドモード”、“モータトルク制御モード”、“モータ回転数制御モード”、および“リバース固定段モード”の各走行モードを設定することができる。
HV走行における“第2ハイブリッドモード”は、エンジン1が出力するトルクと第2モータ・ジェネレータ7が出力するトルクとが合成されたトルクを、出力部材と第1モータ・ジェネレータ5とに分配して伝達することにより車両を前進走行させる走行モードである。この“第2ハイブリッドモード”は、第1クラッチC1および第2クラッチを共に係合し、ブレーキB1を解放することにより設定される。そしてこの“第2ハイブリッドモード”では、図9の共線図に示すように、エンジン1で駆動トルクを出力する。また、第1モータ・ジェネレータ5および第2モータ・ジェネレータ7が共に発電機として機能させられて反力トルクを出力する。すなわち、第2モータ・ジェネレータ7は、正回転しかつ反力トルクを出力するように制御される。また、第1モータ・ジェネレータ5は、第1遊星歯車機構PAの反力要素に対して反力トルクを出力するように制御される。この場合、第1モータ・ジェネレータ5を発電機として機能させることもできる。この“第2ハイブリッドモード”では、主に高車速領域においてエネルギ効率の良好な状態で車両を前進走行させることできる。
EV走行における“モータトルク制御モード”は、第1クラッチC1を解放し、第2クラッチC2およびブレーキB1を係合することにより設定することができる。この“モータトルク制御モード”では、図10の共線図に示すように、第1モータ・ジェネレータ5および第2モータ・ジェネレータ7の両方がモータとして機能させられて駆動トルクを出力する。すなわち、第1モータ・ジェネレータ5および第2モータ・ジェネレータ7は、いずれも、負回転しかつ駆動トルクを出力するように制御される。この“モータトルク制御モード”では、第1モータ・ジェネレータ5の出力トルクおよび第2モータ・ジェネレータ7の出力に基づいて出力部材の回転数を制御することができる。例えば、第1モータ・ジェネレータ5の出力トルクと第2モータ・ジェネレータ7の出力トルクとを合わせた合成トルクによってハイブリッド車両をEV走行させる際に、その合成トルクにおける第1モータ・ジェネレータ5と第2モータ・ジェネレータ7との出力トルクの分担率を任意に設定することができる。そのため、第1モータ・ジェネレータ5の電気的損失と第2モータ・ジェネレータ7の電気的損失との和が最小になるような状態で、それら第1モータおよび第2モータを運転することができる。
上記の“モータトルク制御モード”が設定されている状態から、ブレーキB1を解放することにより、“モータ回転数制御モード”を設定して車両をEV走行させることができる。すなわち、この“モータ回転数制御モード”は、第2クラッチC2を係合し、第1クラッチC1およびブレーキB1を共に解放することにより設定される。この“モータ回転数制御モード”では、図11の共線図に示すように、第2モータ・ジェネレータ7がモータとして機能させられて駆動トルクを出力する。すなわち、第2モータ・ジェネレータ7は、正回転しかつ駆動トルクを出力するように制御される。また、第1モータ・ジェネレータ5は、第1遊星歯車機構PAの反力要素に対して反力トルクを出力するように制御される。この“モータ回転数制御モード”では、第1モータ・ジェネレータ5の回転数および第2モータ・ジェネレータ7の回転数に基づいて出力部材の回転数を制御することができる。例えば、第1モータ・ジェネレータ5および第2モータ・ジェネレータ7の少なくともいずれかの出力トルクによって車両をEV走行させる際に、それら第1モータ・ジェネレータ5の回転数および第2モータ・ジェネレータ7の回転数を任意に設定することができる。そのため、第1モータ・ジェネレータ5および第2モータ・ジェネレータ7を可及的に低い回転数で運転することができる。その結果、第1モータ・ジェネレータ5および第2モータ・ジェネレータ7がトルク制限され難くなり、そのことによってEV走行時の駆動力性能を向上させることができる。また、第1モータ・ジェネレータ5の電気的損失と第2モータ・ジェネレータ7の電気的損失との和が最小になるような状態で、それら第1モータ・ジェネレータ5および第2モータ・ジェネレータ5を運転することができる。
Rev走行における“リバース固定段モード”は、第1クラッチC1、第2クラッチC2、およびブレーキB1を全て係合することにより設定することができる。この“リバース固定段モード”では、図12の共線図に示すように、エンジン1で駆動トルクを出力する。例えばバッテリのSOCが低下している場合には、エンジン1の駆動トルクのみで車両を後進走行させることができる。その場合、エンジン1の回転数は所定の変速比で減速され、かつ回転方向が反転されてエンジン1の駆動トルクが出力部材に伝達される。そのため、エンジン1の回転数に応じて出力部材の回転数を変化させることができる。すなわち、エンジン1の回転数の上昇に伴って後進走行における車速を上昇させることができる。また、バッテリのSOCが十分にある場合は、第1モータ・ジェネレータ5および第2モータ・ジェネレータ7の両方をモータとして機能させて駆動トルクを出力することも可能である。例えば、第1モータ・ジェネレータ5および第2モータ・ジェネレータ7の少なくともいずれかを正回転させて駆動トルクを出力するように制御することもできる。したがって、この“リバース固定段モード”では、Rev走行時に十分な駆動力を得ることができ、Rev走行時の駆動力性能を向上させることができる。
Rev走行においては“通常モータ走行モード”を設定することもできる。すなわち、前述の“通常モータ走行モード”で車両を後進方向にEV走行させることができる。具体的には、“通常モータ走行モード”を設定した状態で第2モータ・ジェネレータ7を正回転させて駆動トルクを出力することにより、出力部材に車両を後進させる方向の駆動トルクを伝達することができる。
なお、前述の図3に示した構成のギヤトレーンでは、第1モータ・ジェネレータ5を動力伝達系統6から切り離した状態の“リバース固定段モード”を設定することができる。具体的には、図13の表に示すように、図3に示した構成のギヤトレーンでは、第1クラッチC1を解放し、第2クラッチC2およびブレーキB1を共に係合することにより、第1モータ・ジェネレータ5を動力伝達系統6から切り離した状態の“リバース固定段モード”を設定することができる。そのため、“リバース固定段モード”で後進走行する際に、第1モータ・ジェネレータ5を連れ回すことによる損失を低減することができる。その結果、この駆動装置のエネルギ効率を向上させることができる。
また、上記のように、この発明におけるハイブリッド車両用駆動装置は、“第1ハイブリッドモード”、“モータ切り離しモード”、“通常モータ走行モード”、“エンジン切り離しモード”、“第2ハイブリッドモード”、“モータトルク制御モード”、“モータ回転数制御モード”、および“リバース固定段モード”の8つの走行モードを設定することができる。これらのうち“第1ハイブリッドモード”、“通常モータ走行モード”、“エンジン切り離しモード”、“モータトルク制御モード”、および“リバース固定段モード”は、ブレーキB1を係合することにより設定される。したがって、これら“第1ハイブリッドモード”、“通常モータ走行モード”、“エンジン切り離しモード”、“モータトルク制御モード”、および“リバース固定段モード”の5つの走行モードに限れば、ブレーキB1を備えていない構成であってもよい。すなわち、この発明におけるハイブリッド車両用駆動装置は、図14に示すように、ブレーキB1を設けずに、第2遊星歯車機構PBの第2キャリアCbを直接固定部9に固定し、第2キャリアCbを常時回転不可能な状態にする構成のギヤトレーンも含むことができる。
以上のように、この発明におけるハイブリッド車両用駆動装置は、エンジン1および第1モータ・ジェネレータ5ならびに第2モータ・ジェネレータ7の2基のモータを駆動力源とするハイブリッド車両に搭載される。そして、第1遊星歯車機構PAから構成される動力分割機構3ならびに第2遊星歯車機構PBから構成される減速機構8、および、エンジン1と第1遊星歯車機構PAの第1キャリアCaとを選択的に連結する第1クラッチC1を備えている。さらに、この発明におけるハイブリッド車両用駆動装置の特徴的な構成として、第1遊星歯車機構PAの第1キャリアCaと第2遊星歯車機構PBの第2サンギヤSbとを選択的に連結する第2クラッチC2を備えている。そのような構成により、この発明におけるハイブリッド車両用駆動装置は、“リバース固定段モード”を設定することができる。この“リバース固定段モード”では、回転数を所定の変速比で変速した状態でエンジン1の出力トルクを出力部材2に伝達してハイブリッド車両を後進走行させることができる。この場合、エンジン1の出力トルクに加えて、第1モータ・ジェネレータ5および第2モータ・ジェネレータ7の少なくともいずれかの出力トルクを出力部材2に伝達してハイブリッド車両を後進走行させることもできる。したがって、この発明におけるハイブリッド車両用駆動装置によれば、ハイブリッド車両の後進時に、十分な駆動力を得ることができる。
また、この発明におけるハイブリッド車両用駆動装置では、“第1ハイブリッドモード”を設定することができる。“第1ハイブリッドモード”は、主に低車速領域においてエネルギ効率の良好な状態でハイブリッド車両を前進走行させることが可能な走行モードである。さらに、この発明におけるハイブリッド車両用駆動装置では、第2遊星歯車機構PBの第2キャリアCbの回転を選択的に止めるブレーキB1を設けることができる。このブレーキB1を設けることにより、“第2ハイブリッドモード”を設定することができる。“第2ハイブリッドモード”は、主に高車速領域においてエネルギ効率の良好な状態でハイブリッド車両を前進走行させることが可能な走行モードである。したがって、この発明によれば、“第1ハイブリッドモード”と“第2ハイブリッドモード”とを、ハイブリッド車両のエネルギ効率が最適になるように選択的に切り替えて設定することができる。そのため、ハイブリッド車両のエネルギ効率を向上させることができる。
上記のような“リバース固定段モード”、“第1ハイブリッドモード”、および“第2ハイブリッドモード”の他に、この発明におけるハイブリッド車両用駆動装置では、前述したような“エンジン切り離しモード”、“モータ切り離しモード”、“モータ回転数制御モード”、および、“モータトルク制御モード”などを設定することができる。したがって、この発明におけるハイブリッド車両用駆動装置では、様々な走行状況に適応する多くの走行モードを設定することができる。これらは、第1遊星歯車機構PAならびに第2遊星歯車機構PBの2つの差動機構、および、第1クラッチC1ならびに第2クラッチC2の2つのクラッチ機構だけの簡単な構成によって達成することができる。もしくは、2つのクラッチ機構とブレーキB1の1つのブレーキ機構だけの簡単な構成によって達成することができる。したがって、この発明によれば、装置の構成を複雑にすることなく、多様な走行状況に適応した走行モードを設定可能なハイブリッド車両用駆動装置を提供することができる。
1…エンジン(ENG)、 1a…出力軸(クランク軸)、 2…出力ギヤ(出力部材)、 3…動力分割機構(第1差動機構)、 4…入力軸、 5…第1モータ・ジェネレータ(第1モータ;MG1)、 6…動力伝達経路、 7…第2モータ・ジェネレータ(第2モータ;MG2)、8…減速機構(第2差動機構)、9…固定部、 10…出力軸(出力部材)、 B1…ブレーキ(ブレーキ機構)、 C1…第1クラッチ(第1クラッチ機構)、 C2…第2クラッチ(第2クラッチ機構)、 Ca…第1キャリア(第1入力要素)、 Ra…第1リングギヤ(第1出力要素)、 Sa…第1サンギヤ(第1反力要素)、 Cb…第2キャリア(第2反力要素)、 Rb…第2リングギヤ(第2出力要素)、 Sb…第2サンギヤ(第2入力要素)、 PA…第1遊星歯車機構、 PB…第2遊星歯車機構。

Claims (13)

  1. エンジンおよび第1モータならびに第2モータを駆動力源とするハイブリッド車両に搭載される駆動装置であって、第1入力要素と第1反力要素と第1出力要素とを有する第1差動機構、第2入力要素と第2反力要素と第2出力要素とを有する第2差動機構、および、前記エンジンと前記第1入力要素とを選択的に連結する第1クラッチ機構を備え、前記第1モータと前記第1反力要素とが連結され、前記第2モータと前記第2入力要素とが連結され、前記第1出力要素および前記第2出力要素と出力部材とがそれぞれ連結されていて、前記エンジンの出力トルクおよび前記第2モータの出力トルクを用いて前記ハイブリッド車両を前進走行させる第1ハイブリッドモードを設定することが可能なハイブリッド車両用駆動装置において、
    前記第1入力要素と前記第2入力要素とを選択的に連結する第2クラッチ機構を備えていて、
    少なくとも前記エンジンの出力トルクによって前記ハイブリッド車両を走行させる走行モードであって、前記エンジンの回転数に応じて前記出力部材の回転数が変化する状態で前記ハイブリッド車両を後進走行させるリバース固定段モードを設定することが可能である
    ことを特徴とするハイブリッド車両用駆動装置。
  2. 前記第1ハイブリッドモードは、前記エンジンの出力トルクと前記第2モータの出力トルクとを合成して前記出力部材に伝達することにより前記ハイブリッド車両を前進走行させる走行モードを含み、
    前記第1ハイブリッドモードは、前記第1クラッチ機構を係合して前記エンジンと前記第1入力要素とを連結し、前記第2クラッチ機構を解放して前記第1入力要素と前記第2入力要素との間の動力伝達を遮断することにより設定され、
    前記リバース固定段モードは、前記第1クラッチ機構を係合して前記エンジンと前記第1入力要素とを連結し、前記第2クラッチ機構を係合して前記第1入力要素と前記第2入力要素とを連結することにより設定される
    ことを特徴とする請求項1に記載のハイブリッド車両用駆動装置。
  3. 前記第2反力要素を選択的に回転不可能な状態に固定するブレーキ機構を更に備えていて、
    前記エンジンの出力トルクおよび前記第2モータの出力トルクを用いるとともに、それらの出力トルクを前記第1ハイブリッドモードとは異なる動力伝達経路を経由させて前記ハイブリッド車両を前進走行させる第2ハイブリッドモードを設定することが可能である
    ことを特徴とする請求項1または2に記載のハイブリッド車両用駆動装置。
  4. 前記第2ハイブリッドモードは、前記エンジンの出力トルクと前記第2モータの出力トルクとが合成されたトルクを前記出力部材と前記第1モータとに分配して伝達することにより前記ハイブリッド車両を前進走行させる走行モードを含み、
    前記第2ハイブリッドモードは、前記第1クラッチ機構を係合して前記エンジンと前記第1入力要素とを連結し、前記第2クラッチ機構を係合して前記第1入力要素と前記第2入力要素とを連結し、前記ブレーキ機構を係合して前記第2反力要素を回転不可能な状態に固定することにより設定される
    ことを特徴とする請求項3に記載のハイブリッド車両用駆動装置。
  5. 前記第1モータおよび前記第2モータの両方の出力トルクによって前記ハイブリッド車両を走行させる走行モードであって、前記第1モータの回転数および前記第2モータの回転数をそれぞれ変化させることにより前記出力部材の回転数を制御して前記ハイブリッド車両を走行させるモータ回転数制御モードを設定することが可能である
    ことを特徴とする請求項2から4のいずれかに記載のハイブリッド車両用駆動装置。
  6. 前記モータ回転数制御モードは、前記第1クラッチ機構を解放して前記エンジンと前記第1入力要素との間の動力伝達を遮断し、前記第2クラッチ機構を係合して前記第1入力要素と前記第2入力要素とを連結し、前記ブレーキ機構を解放して前記第2反力要素を回転可能な状態にすることにより設定されることを特徴とする請求項5に記載のハイブリッド車両用駆動装置。
  7. 少なくとも前記エンジンの出力トルクによって前記ハイブリッド車両を走行させる走行モードであって、前記第2モータと前記出力部材との間のトルク伝達および前記第2モータと前記エンジンならびに前記第1モータとの間のトルク伝達をいずれも遮断した状態で前記ハイブリッド車両を前進走行させるモータ切り離しモードを設定することが可能であることを特徴とする請求項2から6のいずれかに記載のハイブリッド車両用駆動装置。
  8. 前記モータ切り離しモードは、前記第1クラッチ機構を係合して前記エンジンと前記第1入力要素と連結し、前記第2クラッチ機構を解放して前記第1入力要素と前記第2入力要素との間の動力伝達を遮断し、前記ブレーキ機構を解放して前記第2反力要素を回転可能な状態にすることにより設定されることを特徴とする請求項7に記載のハイブリッド車両用駆動装置。
  9. 前記第1モータおよび前記第2モータの両方の出力トルクによって前記ハイブリッド車両を走行させる走行モードであって、前記第1モータの出力トルクおよび前記第2モータの出力トルクをそれぞれ変化させることにより前記出力部材の回転数を制御して前記ハイブリッド車両を走行させるモータトルク制御モードを設定することが可能である
    ことを特徴とする請求項1から8のいずれかに記載のハイブリッド車両用駆動装置。
  10. 前記モータトルク制御モードは、前記第1クラッチ機構を解放して前記エンジンと前記第1入力要素との間の動力伝達を遮断し、前記第2クラッチ機構を係合して前記第1入力要素と前記第2入力要素とを連結し、前記ブレーキ機構を係合して前記第2反力要素を回転不可能な状態に固定することにより設定されることを特徴とする請求項9に記載のハイブリッド車両用駆動装置。
  11. 前記第1モータおよび前記第1差動機構は、前記エンジンに近い方から、前記第1モータ、前記第1差動機構の順に配置され、
    前記第1クラッチ機構および前記第2クラッチ機構は、それぞれ、前記エンジンと前記第1モータとの間に配置されるとともに、前記エンジンの出力軸と同一の回転軸線上で並列して配置されている
    ことを特徴とする請求項1から10のいずれかに記載のハイブリッド車両用駆動装置。
  12. 前記ブレーキ機構は、前記第2差動機構と前記第2モータとの間に配置されていることを特徴とする請求項2から11のいずれかに記載のハイブリッド車両用駆動装置。
  13. 前記第1差動機構は、前記第1入力要素となる第1キャリアと、前記第1反力要素となる第1サンギヤと、前記第1出力要素となる第1リングギヤとを有するシングルピニオン形の第1遊星歯車機構を含み、
    前記第2差動機構は、前記第2入力要素となる第2サンギヤと、前記第2反力要素となる第2キャリアと、前記第2出力要素となる第2リングギヤとを有するシングルピニオン形の第2遊星歯車機構を含む
    ことを特徴とする請求項1から12のいずれかに記載のハイブリッド車両用駆動装置。
JP2013228520A 2013-11-01 2013-11-01 ハイブリッド車両用駆動装置 Expired - Fee Related JP6119561B2 (ja)

Priority Applications (3)

Application Number Priority Date Filing Date Title
JP2013228520A JP6119561B2 (ja) 2013-11-01 2013-11-01 ハイブリッド車両用駆動装置
US15/033,739 US10017040B2 (en) 2013-11-01 2014-10-30 Drive unit for a hybrid vehicle
PCT/JP2014/079516 WO2015064769A1 (en) 2013-11-01 2014-10-30 Drive unit for a hybrid vehicle

Applications Claiming Priority (1)

Application Number Priority Date Filing Date Title
JP2013228520A JP6119561B2 (ja) 2013-11-01 2013-11-01 ハイブリッド車両用駆動装置

Publications (2)

Publication Number Publication Date
JP2015085906A JP2015085906A (ja) 2015-05-07
JP6119561B2 true JP6119561B2 (ja) 2017-04-26

Family

ID=52004028

Family Applications (1)

Application Number Title Priority Date Filing Date
JP2013228520A Expired - Fee Related JP6119561B2 (ja) 2013-11-01 2013-11-01 ハイブリッド車両用駆動装置

Country Status (3)

Country Link
US (1) US10017040B2 (ja)
JP (1) JP6119561B2 (ja)
WO (1) WO2015064769A1 (ja)

Cited By (3)

* Cited by examiner, † Cited by third party
Publication number Priority date Publication date Assignee Title
JP3398874B2 (ja) 1993-08-27 2003-04-21 孝夫 稲留 滅菌剤およびそれを用いる入浴液の滅菌方法
US8603355B2 (en) 2007-03-15 2013-12-10 Taiko Pharmaceutical Co., Ltd. Composition for stabilizing chlorine dioxide
US8790630B2 (en) 2007-03-15 2014-07-29 Taiko Pharmaceutical Co., Ltd. Pure chlorine dioxide solution, and gel-like composition and foaming composition each comprising the same

Families Citing this family (15)

* Cited by examiner, † Cited by third party
Publication number Priority date Publication date Assignee Title
GB2532731A (en) * 2014-11-25 2016-06-01 Eric Hawksley Graeme Hybrid power system
DE102015203411A1 (de) 2015-02-26 2016-09-01 Zf Friedrichshafen Ag Aktuator für Luftfahrtanwendungen
JP6344358B2 (ja) * 2015-10-05 2018-06-20 トヨタ自動車株式会社 ハイブリッド車両の駆動装置
JP6409735B2 (ja) * 2015-10-16 2018-10-24 株式会社デンソー ハイブリッド車の制御装置
US9827977B2 (en) * 2016-01-12 2017-11-28 GM Global Technology Operations LLC Powertrain with compound-split hybrid transmission having a reduced ravigneaux gear set
CN106494215B (zh) * 2016-10-21 2017-09-29 广州市新域动力技术有限公司 多模复合行星混合动力总成
JP6607202B2 (ja) * 2017-01-10 2019-11-20 トヨタ自動車株式会社 駆動装置
SE541948C2 (en) * 2017-12-21 2020-01-07 Scania Cv Ab A powertrain, especially for an electrically propelled vehicle
KR101976619B1 (ko) * 2017-12-26 2019-05-10 현대트랜시스 주식회사 하이브리드 변속기
JP7062333B2 (ja) * 2018-01-10 2022-05-06 ジヤトコ株式会社 パワートレイン
DE102018213870A1 (de) * 2018-08-17 2020-02-20 Zf Friedrichshafen Ag Leistungsverzweigtes Getriebe
DE102018130498A1 (de) * 2018-11-30 2020-06-04 Schaeffler Technologies AG & Co. KG Hybride Getriebeeinheit mit zwei Planetenradsätzen und mehreren Schalteinrichtungen; sowie Kraftfahrzeug
CN109849892B (zh) * 2019-03-25 2020-08-28 科力远混合动力技术有限公司 功率分流式混合动力车辆纯电动驱动模式切换控制方法
CN112440716B (zh) * 2019-08-30 2022-05-13 比亚迪股份有限公司 混合动力装置和车辆
CN115507162B (zh) * 2022-10-21 2025-07-11 山西荣盛志达科技有限责任公司 一种基于机电一体化行星调速的功率平衡装置及运行方法

Family Cites Families (13)

* Cited by examiner, † Cited by third party
Publication number Priority date Publication date Assignee Title
US7192373B2 (en) * 2004-11-24 2007-03-20 General Motors Corporation Electrically variable transmission having two planetary gear sets with one fixed interconnection
JP4172453B2 (ja) * 2005-01-18 2008-10-29 トヨタ自動車株式会社 ハイブリッド車の駆動装置
JP4779936B2 (ja) 2006-11-08 2011-09-28 トヨタ自動車株式会社 ハイブリッド駆動装置
JP5170581B2 (ja) 2010-03-31 2013-03-27 アイシン・エィ・ダブリュ株式会社 ハイブリッド駆動装置
KR101189300B1 (ko) * 2010-06-07 2012-10-09 현대자동차주식회사 하이브리드 차량의 변속기
KR101189410B1 (ko) * 2010-06-18 2012-10-10 현대자동차주식회사 하이브리드 차량의 변속기
KR101189332B1 (ko) * 2010-06-18 2012-10-09 현대자동차주식회사 하이브리드 차량의 변속기
KR101231400B1 (ko) * 2010-08-27 2013-02-07 현대자동차주식회사 하이브리드 차량의 파워트레인
DE112011105768T5 (de) * 2011-10-27 2014-10-09 Toyota Jidosha Kabushiki Kaisha Hybridfahrzeugantriebsvorrichtung
EP2810839B1 (en) * 2012-02-01 2018-10-17 Toyota Jidosha Kabushiki Kaisha Drive apparatus for hybrid vehicle
WO2013121527A1 (ja) * 2012-02-14 2013-08-22 トヨタ自動車株式会社 ハイブリッド車両用駆動装置
JP2013203388A (ja) * 2012-03-29 2013-10-07 Toyota Motor Corp ハイブリッド車両の駆動制御装置
KR101550632B1 (ko) * 2014-06-24 2015-09-07 현대자동차 주식회사 하이브리드 자동차의 동력전달장치

Cited By (3)

* Cited by examiner, † Cited by third party
Publication number Priority date Publication date Assignee Title
JP3398874B2 (ja) 1993-08-27 2003-04-21 孝夫 稲留 滅菌剤およびそれを用いる入浴液の滅菌方法
US8603355B2 (en) 2007-03-15 2013-12-10 Taiko Pharmaceutical Co., Ltd. Composition for stabilizing chlorine dioxide
US8790630B2 (en) 2007-03-15 2014-07-29 Taiko Pharmaceutical Co., Ltd. Pure chlorine dioxide solution, and gel-like composition and foaming composition each comprising the same

Also Published As

Publication number Publication date
WO2015064769A1 (en) 2015-05-07
US10017040B2 (en) 2018-07-10
US20160257189A1 (en) 2016-09-08
JP2015085906A (ja) 2015-05-07

Similar Documents

Publication Publication Date Title
JP6119561B2 (ja) ハイブリッド車両用駆動装置
JP4140647B2 (ja) 動力出力装置およびハイブリッド自動車
KR101500356B1 (ko) 하이브리드 자동차의 동력전달장치
JP4069898B2 (ja) ハイブリッド車の駆動装置
KR101500363B1 (ko) 하이브리드 자동차의 동력전달장치
KR101500357B1 (ko) 하이브리드 자동차의 동력전달장치
KR101405232B1 (ko) 하이브리드 자동차의 동력전달장치
KR101459466B1 (ko) 하이브리드 자동차의 동력전달장치
KR101693940B1 (ko) 하이브리드 차량의 변속기
KR101500355B1 (ko) 하이브리드 자동차의 동력전달장치
JP5904214B2 (ja) ハイブリッド車両用駆動装置
WO2013014777A1 (ja) ハイブリッド車両用駆動装置
WO2008075760A1 (ja) ハイブリッド駆動装置
CN103732430A (zh) 混合动力车辆用驱动装置
JP2011255889A (ja) ハイブリッド駆動装置
JP4779935B2 (ja) ハイブリッド駆動装置
JP2014065383A (ja) 車両用駆動装置
JP4179211B2 (ja) ハイブリッド車の駆動装置
JP2008256075A (ja) 動力伝達装置
KR101427951B1 (ko) 하이브리드 자동차의 동력전달장치
JP6025388B2 (ja) 車両用駆動装置
JPWO2013145193A1 (ja) ハイブリッド車両用駆動装置
JP2006298246A (ja) ハイブリッド車の駆動装置
KR101664750B1 (ko) 하이브리드 차량의 파워트레인
JP2005138803A (ja) ハイブリッド車の駆動装置

Legal Events

Date Code Title Description
A621 Written request for application examination

Free format text: JAPANESE INTERMEDIATE CODE: A621

Effective date: 20160419

TRDD Decision of grant or rejection written
A01 Written decision to grant a patent or to grant a registration (utility model)

Free format text: JAPANESE INTERMEDIATE CODE: A01

Effective date: 20170228

A61 First payment of annual fees (during grant procedure)

Free format text: JAPANESE INTERMEDIATE CODE: A61

Effective date: 20170313

R151 Written notification of patent or utility model registration

Ref document number: 6119561

Country of ref document: JP

Free format text: JAPANESE INTERMEDIATE CODE: R151

LAPS Cancellation because of no payment of annual fees