JP6092533B2 - 画像形成装置とその制御方法、及びプログラム - Google Patents

画像形成装置とその制御方法、及びプログラム Download PDF

Info

Publication number
JP6092533B2
JP6092533B2 JP2012147595A JP2012147595A JP6092533B2 JP 6092533 B2 JP6092533 B2 JP 6092533B2 JP 2012147595 A JP2012147595 A JP 2012147595A JP 2012147595 A JP2012147595 A JP 2012147595A JP 6092533 B2 JP6092533 B2 JP 6092533B2
Authority
JP
Japan
Prior art keywords
user
image forming
information
data
forming apparatus
Prior art date
Legal status (The legal status is an assumption and is not a legal conclusion. Google has not performed a legal analysis and makes no representation as to the accuracy of the status listed.)
Expired - Fee Related
Application number
JP2012147595A
Other languages
English (en)
Other versions
JP2014008702A (ja
Inventor
水野 貴史
貴史 水野
Current Assignee (The listed assignees may be inaccurate. Google has not performed a legal analysis and makes no representation or warranty as to the accuracy of the list.)
Canon Inc
Original Assignee
Canon Inc
Priority date (The priority date is an assumption and is not a legal conclusion. Google has not performed a legal analysis and makes no representation as to the accuracy of the date listed.)
Filing date
Publication date
Application filed by Canon Inc filed Critical Canon Inc
Priority to JP2012147595A priority Critical patent/JP6092533B2/ja
Priority to US13/927,260 priority patent/US9202154B2/en
Publication of JP2014008702A publication Critical patent/JP2014008702A/ja
Application granted granted Critical
Publication of JP6092533B2 publication Critical patent/JP6092533B2/ja
Expired - Fee Related legal-status Critical Current
Anticipated expiration legal-status Critical

Links

Images

Classifications

    • GPHYSICS
    • G06COMPUTING OR CALCULATING; COUNTING
    • G06KGRAPHICAL DATA READING; PRESENTATION OF DATA; RECORD CARRIERS; HANDLING RECORD CARRIERS
    • G06K15/00Arrangements for producing a permanent visual presentation of the output data, e.g. computer output printers
    • G06K15/40Details not directly involved in printing, e.g. machine management, management of the arrangement as a whole or of its constitutive parts
    • G06K15/4095Secure printing
    • GPHYSICS
    • G06COMPUTING OR CALCULATING; COUNTING
    • G06KGRAPHICAL DATA READING; PRESENTATION OF DATA; RECORD CARRIERS; HANDLING RECORD CARRIERS
    • G06K15/00Arrangements for producing a permanent visual presentation of the output data, e.g. computer output printers
    • G06K15/02Arrangements for producing a permanent visual presentation of the output data, e.g. computer output printers using printers
    • G06K15/18Conditioning data for presenting it to the physical printing elements
    • G06K15/1801Input data handling means
    • G06K15/1817Buffers
    • GPHYSICS
    • G06COMPUTING OR CALCULATING; COUNTING
    • G06KGRAPHICAL DATA READING; PRESENTATION OF DATA; RECORD CARRIERS; HANDLING RECORD CARRIERS
    • G06K15/00Arrangements for producing a permanent visual presentation of the output data, e.g. computer output printers
    • G06K15/002Interacting with the operator

Landscapes

  • Engineering & Computer Science (AREA)
  • General Engineering & Computer Science (AREA)
  • Physics & Mathematics (AREA)
  • General Physics & Mathematics (AREA)
  • Theoretical Computer Science (AREA)
  • Accessory Devices And Overall Control Thereof (AREA)
  • Facsimiles In General (AREA)

Description

本発明は、画像形成装置とその制御方法、及びプログラムに関するものである。
近年の画像形成装置は、ネットワーク上のファイルサーバ等の機器にアクセスし、その機器に格納されている文書データを取得して印刷できる(プルプリント機能)。またファイルサーバに格納されている文書データが権限によって保護されている場合は、画像形成装置のユーザが認証を行い、そのユーザが、その文書データを印刷できる権限を有している場合にのみ、そのファイルサーバ上の文書データが印刷できる。このような権限は、特定のユーザだけでなく、ユーザが所属するグループに対しても設定できる。
また、既に印刷したデータを再印刷する再印刷機能を備えた画像形成装置もある。例えば特許文献1には、ファイルサーバの印刷履歴をICカード等に記録しておき、その印刷履歴に含まれるデータを再印刷する技術が記載されている。また特許文献2には、スキャンした文書の元電子文書のセキュリティポリシを参照して、その文書のスキャン或いはコピー等が可能かどうかを判定して元電子文書を再利用することが記載されている。
特開2006−056109号公報 特開2007−243621号公報
前者の従来技術は、再印刷を行うデータについての権限は確認していない。また後者の従来技術は、スキャンした文書の元電子文書のセキュリティポリシを取得して、その文書のスキャンデータを利用できるかどうかを判断しているが、履歴情報のデータの権限については言及していない。また上記従来技術では、印刷履歴を利用してデータを再印刷するときに、そのデータのユーザが、最初に印刷を行ったときに所属していたグループと、再印刷を指示したときに所属するグループとが異なる場合でも、そのデータを再印刷できるという課題がある。
例えば、営業部に所属するユーザが、営業部だけがアクセスできる権限が設定されたファイルサーバのデータを画像形成装置で印刷したとする。このとき、この印刷の履歴情報が画像形成装置に保存される。そののち、そのユーザが営業部から人事部に異動すると、そのユーザが所属するグループが営業部から人事部に変更される。この状態で、そのユーザが、画像形成装置の履歴情報を用いて、以前印刷したデータの再印刷を指示すると、そのデータには営業部だけがアクセスできる権限が設定されているにも拘らず再印刷が実行できてしまう。
本発明の目的は、上記従来技術の問題点を解決することにある。
本発明の特徴は、外部装置から取得したデータに基づく印刷データを、認証されたユーザの識別情報に関連付けて格納しておき、その印刷データの再実行を指示したユーザの識別情報が一致すると再印刷でき、印刷を指示したユーザの識別情報が、その印刷データの認証情報と一致しない場合は、その印刷を指示したユーザの認証に成功したことを条件に、その印刷データの再印刷を可能にする技術を提供することにある。
上記目的を達成するために本発明の一態様に係る画像形成装置は以下のような構成を備える。即ち、
外部装置と通信可能な画像形成装置であって、
印刷データを格納する格納手段と、
ユーザに情報を通知する通知手段と、
印刷データに基づき画像を形成する画像形成手段と、
制御を行う制御手段と、を有し、
前記制御手段は、
認証されたユーザから取得した認証情報を前記外部装置に送信し、当該外部装置からデータを取得する処理と、
印刷指示が可能となるように、且つ、前記認証されたユーザの識別情報に関連付けて、取得したデータに基づく印刷データを前記格納手段に格納させる処理と、
前記印刷データの印刷指示を行う指示ユーザであって前記認証されたユーザと識別情報が一致しない指示ユーザに対して認証情報の入力を要求すべく前記通知手段に通知させる処理と、
前記印刷データの印刷指示を行う指示ユーザであって前記認証されたユーザと識別情報が一致する指示ユーザに対して前記認証情報の入力を要求するための通知を前記通知手段にさせずに、前記格納手段に格納された印刷データに基づき前記画像形成手段により画像形成させる処理と、を実行可能であることを特徴とする。
本発明によれば、外部装置から取得したデータに基づく印刷データを、認証されたユーザの識別情報に関連付けて格納しておき、その印刷データの再実行を指示したユーザの識別情報が一致すると再印刷でき、印刷を指示したユーザの識別情報が、その印刷データの認証情報と一致しない場合は、その印刷を指示したユーザの認証に成功したことを条件に、その印刷データの再印刷を可能にする。これにより、印刷データを印刷したユーザの識別情報と異なるユーザによる、その印刷データの再印刷を防止できる。
本実施形態に係る画像形成装置の構成を示すブロック図。 本実施形態に係るシステム構成の一例を示す図。 実施形態に係る画像形成装置の機能を説明する機能ブロック図。 実施形態1に係る履歴管理部に格納される履歴管理テーブルの一例を示す図。 本実施形態1において、履歴管理部に格納された履歴情報の一例を示す図。 実施形態1に係る再印刷における履歴情報の選択画面の一例を示す図。 実施形態1に係る印刷設定の確認画面例を示す図。 実施形態1に係る画像形成装置が、ネットワークに接続されたファイルサーバから画像データを取得して印刷し履歴情報を保存する処理を説明するフローチャート。 実施形態1に係る画像形成装置において、ユーザが履歴情報から再印刷を指示したときに実行される処理を説明するフローチャート。 実施形態2に係る画像形成装置が、ネットワークに接続されたファイルサーバから画像データを取得して印刷して履歴情報を保存する処理を説明するフローチャート。 実施形態2に係る画像形成装置において、ユーザが履歴情報から再印刷を指示したときに実行される処理を説明するフローチャート。 実施形態2に係る履歴管理テーブルを説明する図。 実施形態3に係る画像形成装置において、ユーザが履歴情報から再印刷を指示したときに実行される処理を説明するフローチャート。 実施形態3に係る履歴管理テーブルを説明する図。
以下、添付図面を参照して本発明の実施形態を詳しく説明する。尚、以下の実施形態は特許請求の範囲に係る本発明を限定するものでなく、また本実施形態で説明されている特徴の組み合わせの全てが本発明の解決手段に必須のものとは限らない。
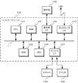
図1は、本実施形態に係る画像形成装置の構成を示すブロック図である。この画像形成装置は、スキャナ機能、プリント機能、ボックス機能等を備えた多機能処理装置(複合機)を例に説明するが、本発明はこのような複合機に限定されるものでなく、プリント機能のみを有するプリンタなどでも良い。
コントローラユニット100は、この画像形成装置全体の動作を制御する。システムバス111に、CPU101,RAM102,ROM103,HDD104、操作部I/F105、デバイスI/F107、ネットワークI/F110が接続される。CPU101は、RAM102に展開されたプログラムに従って、システムバス111に接続された各部を統括的に制御する。RAM102は、CPU101が動作するためのワークメモリを提供しており、また画像データを一時記憶するための画像メモリを提供している。また、RAM102には、オペレーティングシステムやシステムソフトウェア、アプリケーショソフトウェア等のプログラムも配置される。ROM103は、電源オン時に、HDD104にインストールされているプログラムを読み出してRAM102に展開するためのブートプログラムを格納している。またROM103は、フォントなど画像形成装置に必要な情報も格納している場合もある。HDD104はハードディスクドライブで、オペレーティングシステム、システムソフトウェア、アプリケーションソフトウェア、画像データ等を格納している。RAM102に展開されたプログラムは、CPU101の制御の下に実行され、RAM102,ROM103やHDD104に格納された画像データや画像以外のデータを処理する。また小型の画像形成装置では、HDD104を搭載せずに、各種ソフトウェア、アプリケーションソフトウェア等をROM103に格納している。また或いは、HDD104の代わりに、SSD(Solid State Disk)等のフラッシュメモリのようなハードディスク以外の記憶装置を用いても良い。
操作部I/F105は、コントローラユニット100と操作部106とを接続している。操作部106は、画像形成装置の状態をユーザに知らせたり、ユーザからの操作を受け付けるタッチパネル等の表示部や、画像形成装置に指示を与えるための操作ボタン等を含んでいる。デバイスI/F107は、スキャナ108やプリンタ109とコントローラユニット100とを接続し、画像データの入出力を行う。スキャナ108からデバイスI/F107を介して入力された画像データは、RAM102やHDD104に格納される。また格納された画像データに対して、必要に応じてRAM102に格納されたアプリケーションプログラムにより画像処理などが実行される。また、画像データが印刷される場合は、画像データはデバイスI/F107を介してプリンタ109へ出力される。ネットワークI/F110はLANと接続し、ネットワーク上の外部機器との間で、画像データ或いは画像形成装置を制御する情報の入出力を行う。
尚、これ以外にも、例えば、FAX機能を持つ画像形成装置であれば、モデムI/F(不図示)がコントローラユニット100に具備されて、モデムによって公衆回線と接続して、FAX伝送を可能としてもよい。或いは、例えば、フラッシュメモリカード等に格納されたデータを読み出してプリントすることを可能とするために、コントローラユニット100はUSBI/F(不図示)を具備してもよい。
図2は、本実施形態に係るシステム構成の一例を示す図である。
ここではLAN201に、実施形態に係る画像形成装置202、ファイルサーバ203が接続されている。ファイルサーバ203は、ファイル共有プロトコルであるSMB,CIFSやWebDAV等を用いて、LAN201に接続された機器からファイルサーバ203に対してファイル操作が行われる。SMBはServer Message Block、CIFSはCommon Internet File System、WebDAVはWeb−based Distributed Authoring and Versioningの略である。
画像形成装置202も、SMB,CIFSやWebDAV等のファイル共有プロトコルを用いて、LAN201に接続されたファイルサーバ203に対して、ファイル操作を行うことができる。尚、ファイルアクセスのためのファイル共有プロトコルの詳細は、公知の技術であるので説明を割愛する。
画像形成装置202は、ファイル共有プロトコルを用いてファイルサーバ203と通信して、ファイルサーバ203に格納されたファイルの内容や、ファイルやディレクトリの属性情報を取得できる。ファイルやディレクトリの属性情報とは、名称や作成日時、更新日時、アクセス日時、ファイルサイズ、アクセス権などファイルやディレクトリに関する情報である。尚、ファイルやディレクトリの属性情報は、上述の情報に限らず、他の情報を含んでも構わないし、また上記情報の中で含まれない情報があっても構わない。クライアントPC204ではアプリケーションソフトウェアが動作し、アプリケーションソフトウェアからの印刷指示が、プリンタドライバ等によってLAN201を経由して画像形成装置202へ送られる。尚、図2において、画像形成装置202、ファイルサーバ203、クライアントPC204は、各々1台ずつであるが、これらは1台に限らず複数台でも良い。
次に画像形成装置202におけるユーザ認証について説明する。
画像形成装置202は、特定のユーザだけが使用できるようにユーザを制限しており、ユーザの認証を行ってからユーザによる操作を許可している。例えば、ユーザの認証に関する情報(ユーザ名やパスワード)を、画像形成装置202のHDD104にユーザデータベースとして保持しておく。ユーザが画像形成装置202を利用する際に、操作部106に認証画面を表示してユーザ名、パスワード等のユーザ情報を入力させ、そのユーザ情報がユーザデータベースと一致する場合にのみ、そのユーザに画像形成装置202の使用を許可している。或いは、Microsoft社のActiveDirectory等の認証システムのドメインとして画像形成装置202が所属してもよい。この場合は、画像形成装置202はユーザデータベースを持たずに、ネットワーク上の認証サーバに対して、ユーザが入力したユーザ情報が正当であるか問い合わせる。
画像形成装置202がユーザの認証を利用する場合、そのユーザが所属するグループを定義し、そのグループが有する権限に従って、そのユーザの使用可否を判断してもよい。この場合、ユーザは複数のグループに所属しても構わないし、各グループが完全に分離せずに、入れ子構造になっていても構わない。具体的には、例えばユーザAがグループG1,G2,Gxの3つのグループに所属していて、グループGxがグループG3,G4を包含しているとする。この場合、ユーザAが画像形成装置202を利用できるためには、ユーザA自身に使用権限が与えられる以外に、グループG1,G2,G3,G4,Gxのいずれかに使用権限が与えられていればよい。画像形成装置202におけるユーザの認証は公知の技術を利用しており本発明の本質ではないため、その説明を割愛する。尚、本実施形態では、ユーザの認証が行われている例で説明しているが、当然ながら、ユーザの認証なしで、全てのユーザに画像形成装置202を利用させる運用であっても構わない。また外部のファイルサーバ203も、前述した画像形成装置202のユーザの認証と同様に、ユーザが属するグループの概念を含めた認証を行うようにしても良い。
図3は、実施形態に係る画像形成装置の機能を説明する機能ブロック図である。尚、図3に示す各処理部の機能は、CPU101がプログラムを実行することにより実現される。このプログラムは、ROM103或いはHDD104に格納されている。尚、図3では、本実施形態の説明に必要な構成要素しか記載していないが、当然ながら、例えば、FAX処理等の、画像形成装置の機能を実現する他の構成要素が存在しても構わない。
最初に、コピーによる印刷処理について説明する。図示していないが、スキャナ108は、圧板やシート原稿読取装置(ADF)を備える。ユーザが、圧板やADFに原稿を置いて操作部106の原稿読取開始ボタン(不図示)を押すと、スキャナ108は、圧板やADFに置かれた原稿を光学的に読取る。複数ページの原稿を読取る場合は、圧板であれば、ユーザが原稿を入れ替えながら読取りを実行し、ADFであればADFにセットされた原稿を順次搬送して読取りを行う。このときユーザは、操作部106において、用紙に対する面付、ステイプルなどのフィニッシャの設定や濃度等の画質設定等の出力に関する印刷設定を行うことができる。
操作制御部301は、操作部106に、操作に必要な画面や情報を表示したり、操作部106でユーザが操作した情報を受け取って、どの操作が指示されたかを判断する。ユーザがコピーによる印刷を要求したときは、操作制御部301が、コピーに必要な画面を生成して操作部106に表示するように指示する。ユーザは、操作部106にコピーのための画面が表示されるので、圧板やADFに原稿をセットして、コピーの指示を行う。このときユーザは、前述した印刷設定の指示も同時に行ってもよい。こうして入力されたコピーの指示が、操作部106から操作制御部301へ渡される。操作制御部301は、コピー指示が入力されるとコピー制御部305へ制御を移す。コピー制御部305では、まず原稿を読取るために画像読取制御部302へ原稿の読取りを指示する。画像読取制御部302は、デバイスI/F107を介してスキャナ108を制御して原稿を読取る。尚、圧板で原稿を入れ替える場合は、コピー制御部305から操作制御部301へ制御を戻し、再度、操作部106に次の原稿の読取るか、印刷を開始するかの選択画面を表示する。スキャナ108で読取ったデータは、デバイスI/F107、システムバス111を経由し、記憶制御部304によって、RAM102或いはHDD104に格納される。尚、RAM102,HDD104のいずれに格納されるかは、例えば、データサイズや高速処理が要求されるか否か等の要因によって、画像読取制御部302が決定する。
次に、コピー制御部305は、読取った画像データを印刷するために、画像出力制御部303に対して、記憶制御部304で格納している読取った画像データを印刷するように指示する。画像出力制御部303は、記憶制御部304の制御によりRAM102やHDD104に格納された画像データに、ユーザが指定した印刷設定に従った画像処理を施すように画像処理部308に指示する。ここで画像処理とは、例えば、2枚の原稿を1枚の用紙に面付する(2in1)等の印刷対象の画像データの編集を含む。画像処理部308は、印刷向けの画像編集が完了すると、編集後の画像データを格納するように記憶制御部304に指示する。次に、画像出力制御部303は、画像処理を施した画像データを記憶制御部304を用いてRAM102やHDD104から読み出し、システムバス111、デバイスI/F107を経由してプリンタ109へ出力する。プリンタ109は、その送られた画像データに従って順次用紙に印刷する。このようにして印刷された画像データは、履歴管理部309に、ジョブ種別を「コピー印刷」として格納される。更に、履歴管理部309は、そのコピー印刷を行った印刷日時、印刷を行ったユーザ名や印刷設定と、スキャナ108から読込んだ画像データとを併せて格納する。このときに格納される画像データは、画像処理部308で処理が施される前の画像データである。これは、履歴管理部309が印刷時の印刷設定も格納していてコピー印刷時の印刷設定が復元できるため、原稿から読み込んだ状態の画像データを保存している。
次に、ネットワーク(LAN)201に接続された外部のPC等の機器のアプリケーションソフトからプリンタドライバを用いて画像形成装置202に送信されたページ記述言語(PDL)データに基づいて印刷する場合を説明する。この場合、画像形成装置202は、PDLデータを解釈して印刷する。尚、PDLデータの解釈は、ROM103やHDD104に格納されたプログラムによってCPU101で実行しても構わないし、専用のPDLインタプリタ用のハードウェアによりPDLデータを解釈してもよい。プリンタドライバやPDLデータの解釈は、本発明の本質ではないため、詳細な説明は割愛する。
クライアントPC204においてプリンタドライバ等によって生成されたPDLデータ、及びPDLデータに対する印刷設定が、LAN201を経由して、画像形成装置202へ送付される。本実施形態では、PDLデータと印刷設定が別々に送付される例を示しているが、PDLデータに印刷設定が含まれていて、後述するPDL解析部306で、PDLデータから印刷設定を取り出す形でもよい。画像形成装置202は、ネットワーク制御部310によって、LAN201と接続されたネットワークI/F110を介してPDLデータを受け取る。受け取ったPDLデータは、記憶制御部304の制御により、システムバス111を介して、RAM102やHDD104に格納される。PDLデータを格納するとPDL解析部306に制御が移る。PDL解析部306は、格納されたPDLデータを解析し、この画像形成装置202で印刷可能な形式のデータに変換する。変換されたデータは記憶制御部304によって、RAM102やHDD104に格納される。PDL解析部306は、受け取ったPDLデータを印刷するために、画像出力制御部303に対して、格納されている印刷可能な形式に変換された画像データを印刷するように指示する。これにより画像出力制御部303は、記憶制御部304の制御により格納されたデータに対して、PDLデータと共にクライアントPC204から渡された印刷設定に従って画像処理を施すように画像処理部308に指示する。この場合の画像処理は、先のコピー印刷で説明した通りである。
画像処理部308が印刷のための画像処理を完了して保存すると、画像出力制御部303は、記憶制御部304を用いてRAM102やHDD104から、その画像処理を施した画像データを読み出す。こうして読み出された画像データは、システムバス111、デバイスI/F107を経由してプリンタ109へ送られる。プリンタ109は、その送られた画像データに従って、順次用紙に印刷する。このようにして印刷された画像データは、履歴管理部309に、ジョブ種別が「PDL印刷」として格納され、更にPDL印刷を行った印刷日時、印刷を行ったユーザ名、送信元の機器情報やPDLデータと共に送付された印刷時の印刷設定が格納される。更に、履歴管理部309は、記憶制御部304により格納された、この画像形成装置202で印刷可能な形式に変換された画像データも格納する。このときに格納される画像データは、前述のコピーの場合と同様に、画像処理部308で処理が施される前の画像データである。これは、PDLデータと共に送付された印刷設定も格納されているので、PDL印刷時の画像データが復元できるためである。
次に、TIFFやJPEG等のフォーマットの画像データや、Adobe社のPDF等のフォーマット等の文書データを、クライアントPC204から直接、画像形成装置202に送付して印刷する場合(ファイルダイレクト印刷)について説明する。尚、以下の説明では、上述した画像データや文書データを、単に画像データと記述して説明する。
この場合の画像データの解釈は、ROM103やHDD104に格納されたプログラムによってCPU101で実行しても構わないし、専用のハードウェアで行ってもよい。クライアントPC204から、画像形成装置202が解釈できる画像データと印刷設定が、LAN201を経由して画像形成装置202へ送付される。例えば、クライアントPC204が、Webブラウザを用いて画像形成装置202のWebサーバにアクセスして、クライアントPC204から、画像データと印刷設定を画像形成装置202へ送る。これにより画像形成装置202は、ネットワーク制御部310によって、ネットワークI/F110を介して画像データや印刷設定等を受け取る。ネットワーク制御部310は、受け取った画像データ及び印刷設定を、記憶制御部304に格納するよう依頼する。これら画像データ及び印刷設定は、システムバス111を介して、RAM102やHDD104に格納される。こうして画像データ及び印刷設定が格納されると、ファイルフォーマット解析部307に制御が移る。ファイルフォーマット解析部307は、その格納された画像データを解釈し、この画像形成装置202で印刷可能な形式のデータに変換する。こうして変換されたデータは、記憶制御部304の制御の下にRAM102やHDD104に格納される。ファイルフォーマット解析部307は、受け取った画像データを印刷するため、画像出力制御部303に対して、その印刷可能な形式に変換された画像データを印刷するように指示する。画像出力制御部303は、記憶制御部304によって格納された画像データに対して、クライアントPC204から渡された印刷設定に従って画像処理を施すように画像処理部308に指示する。この画像処理は、先のコピー印刷などで説明した通りである。こうして画像処理部308で、印刷用の画像処理が完了すると、画像出力制御部303は、その画像処理を施した画像データを記憶制御部304により読み出して、システムバス111、デバイスI/F107を経由してプリンタ109へ送る。プリンタ109は、その画像データに従って順次用紙に印刷する。こうして印刷された画像データは、履歴管理部309に、ジョブ種別が「ファイルダイレクト印刷」として格納される。更にファイルダイレクト印刷を行った印刷日時、印刷を行ったユーザ名、送信元の機器情報や画像データと共に送付された印刷設定が格納される。更に、履歴管理部309は、記憶制御部304により格納された、この画像形成装置202で印刷可能な形式に変換された画像データも併せて格納する。このときに格納される画像データは、画像処理部308で、印刷設定に従って処理が施される前の画像データである。これは、データと共に送付された印刷設定も格納しているため、ファイルダイレクト印刷時の印刷設定に従った画像データが復元できるためである。
次に、ネットワーク201に接続されたファイルサーバ203に置かれた画像データを画像形成装置202が取得して印刷する場合(プルプリント)を説明する。
この画像データは、TIFF、JPEG、PDF等のフォーマットのデータである。前述したファイルダイレクト印刷のように、TIFFやJPEG、PDF等のフォーマットの画像データを画像形成装置202で解釈して印刷する。ファイルサーバ203には、SMB、CIFSやWebDAV等のネットワーク上のファイル共有を行うプロトコルが実装されているとする。尚、この画像データの解釈は、ROM103やHDD104に格納されたプログラムによってCPU101で実行してもよく、或は、専用のハードウェアで解釈してもよい。またファイルサーバ203と画像形成装置202との間でやり取りされるファイル共有プロトコルは、SMB,CIFSやWebDAVだけでなく、別のプロトコルでも良い。尚、画像データの解釈や、ファイル共有プロトコルは公知の技術であり、本発明の本質ではないため、詳細な説明を割愛する。
ユーザが、操作部106で、接続先のファイルサーバ203のCIFSやWebDAV等の接続プロトコル、IPアドレスやホスト名、パスを指定して、ファイルサーバ203に接続する。サーバ203へのアクセス時にファイルサーバ203で認証が必要な場合は、ファイルサーバ203に対する認証画面を操作部106に表示させて、ユーザが認証に必要な情報(ユーザ名、パスワードなど)を入力する。そして、画像形成装置202が、ファイルサーバ203に認証の問い合わせを行う。ここで入力したユーザ情報は、後述する再印刷のため、履歴情報として格納される。或いは、前述した画像形成装置202に対してユーザ認証が行われていれば、そのときのユーザ情報を用いて、ファイルサーバ203へのアクセスを試みてもよい。また画像形成装置202が認証システムのドメインに所属していれば、Kerberos等の技術を用いて、ファイルサーバ203に対して再度認証することなくアクセスするようにしても良い。また他の例として、画像形成装置202のユーザデータベースを用いて認証する場合、予め画像形成装置202のユーザ情報とファイルサーバ203のユーザ情報とを関連付けて記憶しておくものがある。この場合、画像形成装置202が、ファイルサーバ203にアクセスするときに、認証したユーザ情報に関連付けられたファイルサーバ203のユーザ情報を取得できる。これにより、ユーザが操作部106で認証操作を行うことなく、そのユーザ情報を用いてファイルサーバ203にアクセスすることができる。これらの説明は、一例であり、ファイルサーバ203に対する認証は、他の方法でも構わない。
次にユーザは、操作部106を用いて、ファイルサーバ203に格納されたデータファイルを選択して印刷指示を行う。このデータファイルは、前述した画像形成装置202が解釈できる画像データである。ユーザは、データファイルの印刷指示の際に、操作部106で、面付等の印刷に関する印刷設定を指定できる。こうしてユーザによって印刷指示がされた画像データが、LAN201を経由して、ファイルサーバ203から画像形成装置202へ送付される。画像形成装置202では、ネットワーク制御部310によって、ネットワークI/F110を介して、その画像データを受け取る。このとき同時に、その画像データの属性情報(更新日時、ファイルサイズ、所有者等)もファイルサーバ203から取得する。こうして受け取った画像データ及びその属性情報を、記憶制御部304に格納するように依頼して、システムバス111を介して、RAM102やHDD104に格納する。
こうして画像データを格納すると、ファイルフォーマット解析部307に制御が移る。ファイルフォーマット解析部307は、格納された画像データを解釈して、この画像形成装置202で印刷可能な形式のデータに変換する。こうして変換された画像データは、記憶制御部304によって、RAM102やHDD104に格納される。ファイルフォーマット解析部307は、受け取った画像データを印刷するため、画像出力制御部303に対して、記憶制御部304によって格納された、画像形成装置202で印刷可能な形式に変換された画像データを印刷するように指示する。画像出力制御部303は、その格納された画像データに対して、ユーザによって指示された印刷設定に従って画像処理を施すように画像処理部308に指示する。この画像処理は、先のコピー印刷で説明した通りである。画像処理部308で、印刷用の画像処理が完了すると、画像出力制御部303は、その画像処理を施した画像データを記憶制御部304の制御の下に読み出し、システムバス111、デバイスI/F107を経由してプリンタ109へ出力する。プリンタ109は、その画像データに従って、順次用紙に印刷する。こうして印刷された画像データは、履歴管理部309に、ジョブ種別が「ネットワーク印刷」として格納される。更にその印刷を行った日時、印刷を行ったユーザ名、データ取得元のURI、更新日時、ファイルサイズ等の属性情報や、印刷時の印刷設定が格納される。このときに格納される画像データは、画像処理部308で処理が施される前の画像データである。しかし、ファイルサーバ203のパス(URL)と共に、記憶制御部304に格納された、この画像形成装置202で印刷可能な形式に変換された画像データを保存してもよい。
図8は、本実施形態1に係る画像形成装置202が、ネットワークに接続されたファイルサーバ203から画像データを取得して印刷して履歴情報を保存する処理を説明するフローチャートである。この処理を実行するプログラムは、ROM103或いはHDD104に格納されており、実行時にはRAM102に展開され、CPU101の制御の下に実行される。この処理は、例えばユーザが操作部106を使用して、ファイルサーバ203のCIFSやWebDAV等の接続プロトコル、IPアドレスやホスト名、パス(URL)を指定し、ファイルサーバ203のデータファイルの印刷を指示することにより開始される。
まずS801で、CPU101は、ユーザが操作部106を使用して指定したファイルサーバ203のURLを取得する。次にS802で、CPU101は、S801で受け取ったURLで示されるファイルサーバ203に接続する。そしてS803で、CPU101は、S802で接続したファイルサーバ203が認証を要求しているかを判断する。S803で認証が必要であると判断するとS804へ進み、認証が必要でないと判断するとS809へ進む。S804で、CPU101は、操作部106に認証画面(不図示)を表示する。ここでユーザは、S804で表示された認証画面に、ユーザ名、パスワードなど認証に必要な情報を入力して認証処理を実行するように指示する。次にS805に進み、CPU101は、ユーザが操作部106の認証画面で入力したユーザ情報を受け取り、そのユーザ情報を用いてファイルサーバ203に対して認証を指示する。そしてS806で、CPU101は、ファイルサーバ203から認証結果を受け取り、そのユーザの認証が成功したかどうか判断する。S806で認証が成功したと判断するとS809へ進み、認証が失敗したと判断したときはS807へ進む。S807では、CPU101は、操作部106に認証失敗画面(不図示)を表示する。そしてS808で、CPU101は、ユーザが再認証を行うように指示したか否かを判断する。例えば、S807で表示される認証失敗画面に、再認証するか否かのボタンを設けて、ユーザが再認証を希望しているか否かを確認する。或いは、一定回数、認証に失敗したら強制的に再認証を行わせない等の基準に設けて判断する。前述した再認証するか否かの判断基準は、一例であって、この限りではない。S808で、CPU101は、再認証すると判断した場合はS804へ戻り、再度、認証画面を表示する。一方、S808で、再認証しないと判断した場合は、ファイルサーバ203へアクセスできないため、処理を終了する。
S806で認証が成功したとき、或はS803で認証が必要でないときはS809に進み、CPU101は、操作部106にファイルサーバ203のデータファイル一覧を表示させ、ユーザに印刷対象のデータファイルを選択させる。本実施形態では、簡単のため説明は省略しているが、S809でファイルサーバ203のディレクトリを移動して、所望のデータファイルが存在するディレクトリを辿るディレクトリ探索処理を行うことが可能である。そしてS810に進み、CPU101は、操作部106に印刷設定画面を表示させて、ユーザが設定した印刷設定を取得する。そしてS811で、CPU101は、ユーザがS809で選択したデータファイルの内容を取得する。次にS812に進み、CPU101は、ユーザがS809で選択したデータファイルの属性情報を取得する。そしてS813で、CPU101は、S811で取得したデータファイルの内容を解析して、この画像形成装置202で印刷可能な形式の画像データに変換する。そしてS814に進み、CPU101は、S813で変換された、印刷可能な形式の画像データをHDD104に保存する。なお本実施形態ではS813で変換された画像データをHDD104に保存するようにしたが、変換前のデータ(すなわちS811で取得したデータファイル)を保存するようにしてもよい。そしてS815に進み、CPU101は、S814で保存した、この画像形成装置202で印刷可能な形式の画像データを、S810で取得した印刷設定に従って画像処理を施す。そしてS816に進み、CPU101は、S815で画像処理を施したデータに従ってプリンタ109により印刷させる。
次にS817に進み、S803で認証が必要であると判断されている場合、CPU101は、ユーザがS804で入力した認証情報を基に、そのユーザが所属するグループ情報を取得する。これには例えば、ファイルサーバに問い合わせたり、Microsoft社のActiveDirectory等のディレクトリサービスに問い合わせたりして、そのユーザのグループ情報を取得する方法がある。これは一例であり、グループ情報を取得するのは、当然ながら他の方法でも構わない。尚、S803で認証が不要と判断されている場合は、グループ情報は空とする。
そしてS818に進み、CPU101は履歴情報を保存する。この履歴情報は、ジョブ種別や印刷日時、ユーザのユーザID等の、S816で印刷したジョブに関する情報である。更に、S809で選択されたデータファイルの参照先URL、S810で取得した印刷設定、S812で取得したデータファイルの属性情報、S813で変換された、印刷可能な形式の画像データ、S817で取得したグループ情報等が保存される。尚、データファイルの属性情報とは、ファイル名や作成日時、更新日時、アクセス日時、ファイルサイズ、アクセス権などファイルに関する情報である。履歴情報は、後述する図4を参照してを説明する。
このフローチャートでは、ファイルサーバ203のデータファイルを印刷する例について説明したが、前述したコピーによる印刷、PDL印刷の場合にも適用できる。例えば、コピー印刷では、S801からS809の処理は、ADFや圧板を用いてスキャナ108から画像データを入力する処理になる。この場合、ネットワークを介して他の機器から画像データやその属性情報を読込む必要が無いので、S811,S812,S813の各処理は不要になる。また、S818で履歴情報として保存する情報は、スキャナ108から読込んだ画像データと、ユーザが設定した印刷設定である。
またPDLデータを印刷する場合は、S801からS809で、ネットワークを介してPC等からPDLデータを受信する。この場合、ファイルサーバ203から画像データやその属性情報を読込む必要が無いので、S811,S812の処理は不要になる。またS813はPDLデータの解析処理となる。またS818で履歴情報として保存される情報は、PDLデータを解析して生成された、この画像形成装置202で印刷可能な形式の画像データと、ユーザが設定した印刷設定である。またファイルダイレクト印刷の場合は、PDLと同様の処理で、S813がファイルフォーマットの解析処理となる。
図4は、実施形態1に係る履歴管理部309に格納される履歴管理テーブルの一例を示す図である。図4(A)は、画像形成装置の各ジョブで共通して管理される履歴情報のテーブルの一例を示し、図4(B)は、ファイルサーバ203のデータファイルを印刷する印刷ジョブで追加される履歴情報のテーブルの一例を示す。
図4(A)の履歴管理テーブルには、ジョブ種別401、日時402、ユーザID(ユーザ識別情報)403、印刷設定保存先404、印刷用画像データ保存先405、外部ファイル属性ID406の項目がある。尚、本実施形態1で説明する履歴管理テーブルは一例であって、図4(A)や後述する図4(B)以外の項目を含んでいても構わない。ジョブ種別401は、ジョブの種別を記録する。例えば、コピー印刷の場合は「COPY」、PDL印刷の場合は「PDL」、ファイルダイレクト印刷の場合は「FILE」、ネットワーク上のファイルを印刷した場合は「NET」として格納される。本実施形態1では、これらジョブの種類だけを説明しているが、履歴管理部309は、画像形成装置202が扱える他のジョブの種類を記録しても良い。例えば、FAXで受信した文書を印刷したものをジョブ種別401に「FAX」として格納しても良い。他にも、ファイル送信機能を用いて、スキャンした画像データをメールで送信した場合に、ジョブ種別401に「SEND」として格納しても良く、或いは、前述したファイルダイレクト印刷の場合には、「DIRECT」と格納しても良い。
日時402には、このジョブ種別のジョブを実行した日時が格納され、ユーザID403には、このジョブ種別のジョブを実行したユーザのユーザIDが格納される。ユーザIDとして、本実施形態1では、ユーザ名で格納しているが、例えばユーザを特定する一意な情報、例えば、管理用のID等で格納しても良い。印刷設定保存先404は、印刷時の印刷設定を保存したファイルの保存先を示す。印刷用画像データ保存先405には、画像形成装置202のHDD104等の格納先が格納される。図4(A)では、印刷設定保存先404、印刷用画像データ保存先405にはファイル名だけが記述されているが、フルパス、或いは予め定められたパスからの相対パスで格納されても良い。本実施形態1では、例えば、固定的に印刷用画像データの保存先は、「/history/printdata」に置かれ、印刷設定の保存先は、「/history/printsetting」に置くものとし、ファイル名だけを記述している。外部ファイル属性ID406は、ネットワークに接続されたファイルサーバ等の機器に置かれた画像データを印刷する場合に、指定されたファイルの各種属性が記録されている追加テーブルを参照するためのIDを格納する。図4(A)では、「NET」以外のジョブはファイルサーバ203へのアクセスを伴わないので、それらの外部ファイル属性ID406欄は空欄「−」となっている。ジョブ属性「NET」は、ファイルサーバ203のデータファイルの印刷であるので、外部ファイル属性ID406が格納される。図4(A)では、外部ファイル属性IDに「28」が格納されており、これが、図4(B)のテーブルのIDフィールド407の「28」と対応する。即ち、図4(A)のジョブ種別「NET」のファイルサーバのファイル属性は、図4(B)のID「28」に対応する各フィールドの情報となる。
図4(B)は、ID407、参照先URL408、プロトコル409、更新日時410、ファイルサイズ411、ユーザ情報412、グループ413の項目を有している。ID407は、前述したように、図4(A)の外部ファイル属性ID406から参照されるフィールドである。参照先URL408には、印刷に指定されたファイルサーバ203の画像データのURLが格納される。プロトコル409には、ファイルサーバ203へアクセスするために用いたプロトコルが格納される。更新日時410、ファイルサイズ411のそれぞれには、印刷に指定されたファイルサーバの画像データの更新日時、ファイルサイズが格納される。ユーザ情報412には、ファイルサーバにアクセスしたユーザ情報が格納される。本実施形態1では、ユーザ情報412としてユーザ名を格納しているが、例えば、これ以外にパスワード情報などファイルサーバをアクセスするために必要なユーザの情報も併せて格納しても良い。グループ413には、ユーザの指示により印刷を実行した時に、そのユーザが所属していたグループの情報が全て格納される。
また本実施形態1において、図4(A)、図4(B)のように2つの履歴管理テーブルに分離した例を示したが、1つの履歴管理テーブルで両者を統合して管理する形態でも良い。
次に、履歴情報で指定した画像データを再印刷する方法について説明する。尚、以下に説明する実施形態では、再印刷を例に説明するが、本発明はこれに限定されるものでなく、例えば、送信処理等の再実行であっても良い。
図5(A)(B)は、本実施形態1において、履歴管理部309に格納された履歴情報の一例を示す図である。
履歴管理部309は、先に説明したように、コピー印刷やPDL印刷等の処理モジュールから記録すべき履歴情報を受け取って、自身で管理する履歴管理テーブルに格納する。尚、本実施形態1では、説明を簡単にするため、印刷に関する履歴情報のみを説明しているが、例えば他の画像形成装置に対する操作(例えば、FAXや画像のメール送信など)の履歴情報も格納して管理してもよい。履歴管理部309では、他の処理部からの履歴情報リストの取得要求を受付けると、履歴情報リストとして、自身が管理する全履歴情報を返す。更には、履歴管理テーブルの各項目に対する条件指定を行って、必要な履歴情報だけを抽出して、他の処理部に履歴情報リストを返しても良い。
例えば、履歴情報が図5(A)、図5(B)の場合に、ジョブ種別が「COPY」である履歴情報だけを返すように履歴管理部309へ指示すると、図5(A)の501,505で示す履歴情報だけが履歴情報リストとして要求元へ送られる。また或いは、ユーザID「suzuki」の属性情報を有する履歴情報だけが要求されたときは、履歴管理部309は、図5(A)の502で示す履歴情報だけを履歴情報リストとして返す。これらの指定は、一つだけでなく複数を指定しても構わない。例えば、ジョブ種別を例にすると、ジョブ種別が「PDL」「NET」の履歴情報だけを返すように履歴管理部309へ要求できる。この場合は、図5(A)の502〜504,506で示す履歴情報だけが要求元へ送られる。また、日時の範囲を指定して履歴情報を指定できるようにしても良い。図5(A)、図5(B)の例で、印刷日時が「2011年1月5日から2011年1月31日まで」の履歴情報を履歴管理部309へ要求すると、図5(A)の503と504で示す履歴情報が履歴情報リストとして要求元へ送られる。
更に、複数の項目に対する論理和や論理積を条件として、履歴管理部309へ履歴情報を要求しても構わない。複数の項目に対する論理積の条件の例を説明する。ジョブ種別が「COPY」「NET」で、かつユーザIDが「yamada」の履歴情報を履歴管理部309へ要求すると、図5(A)の501,503,505で示す履歴情報が履歴情報リストとして要求元へ送られる。更に、上記条件に加えて、日時の範囲を指定してもよい。例えば、ジョブ種別が「COPY」「NET」で、かつユーザIDが「yamada」で、かつ印刷日時が「2011年1月5日から2011年2月1日まで」の履歴情報を履歴管理部309へ要求する。この場合は、図5(A)の503,505で示す履歴情報が履歴情報リストとして要求元へ送られる。即ち、履歴管理部309は、各処理部からの履歴情報のフィルタリング条件に応じて、必要な履歴情報だけを要求元に履歴情報リストとして返す。
再印刷処理は、再印刷処理部311で制御される。ユーザが、操作部106を操作して再印刷処理の開始を指示すると、再印刷処理部311へ再印刷の対象となる履歴情報の表示依頼が行われる。まず、再印刷処理部311は、履歴管理部309へ履歴情報リストを要求する。このとき、現在、画像形成装置を操作しているユーザのユーザIDの履歴情報のみを取得するように履歴管理309へ指示する。これは、他のユーザが操作した履歴情報の再印刷が行えると、履歴情報として格納された、特定のユーザ(ユーザID)のみしか印刷できない文書を、他のユーザが印刷できてしまう等の問題があるためである。そのため、そのユーザのユーザIDの履歴情報のみを再印刷の対象とするように制限している。これは一例であり、例えば、誰でも印刷を許可している環境で画像形成装置を使用できるのであれば、このような制限は不要である。例えば、ユーザID「yamada」でユーザが画像形成装置を操作しているとする。履歴管理部309は、上述したように再印刷処理部311が、特定のユーザIDの履歴情報のみを要求するため、履歴管理テーブルから指定されたユーザIDの履歴情報だけを抽出して、再印刷処理部311へ履歴情報リストを返す。図5(A)、図5(B)の例では、ユーザIDが「yamada」である501,503,505で示す履歴情報を再印刷処理部311へ返す。
本実施形態1では、説明を省略するが、印刷に関するもの以外のジョブ種別が履歴情報に格納されている場合に、再印刷処理部311が、印刷に関するジョブ種別だけを条件として加えて、履歴管理部309へ履歴情報リストを要求してもよい。再印刷処理部311は、履歴管理部309から受け取った履歴情報リストを画面表示用に整形して、履歴情報を出力するように操作部106に指示する。このとき、操作部106で選択された履歴情報と履歴情報リストに記載された履歴情報を対応付けておく。
図6は、実施形態1に係る再印刷における履歴情報の選択画面の一例を示す図である。
ここでは履歴情報として、601,602,603で示すように、ジョブ種別や印刷日時、参照先のURL(602のみ)の情報が表示されている。ユーザは、この画面上で再印刷したい履歴情報を選択して、再印刷ボタン604を押す。尚、本発明の本質ではないので詳細な説明は割愛するが、図6には、再印刷を中止するキャンセルボタン、1画面に収まらない複数の履歴情報がある場合のページ送りボタンなどがある。
これにより操作部106は、ユーザが選択した履歴情報に関する情報を再印刷処理部311へ渡す。再印刷処理部311は、操作部106から得た情報を基に、履歴管理部309から得た履歴情報リストの中から、ユーザが選択した履歴情報を特定する。この詳細は、図9のフローチャートで後述するが、ジョブ種別が「NET」の場合は、初回印刷時にユーザが所属していたグループと、現在そのユーザが所属しているグループとを比較することで再認証の要否を判断する。グループが異なっていて再認証が必要な場合は、ネットワーク処理部310を介して認証処理を実行する。また選択された履歴情報に、印刷設定保存先404が格納されているか確認する。印刷設定保存先が格納されていない場合は、不図示の印刷設定画面を表示する。この印刷設定画面を使用してユーザは、印刷時の面付け、ステイプルなどフィニッシャの設定や濃度設定など印刷に関する設定を行うことができるが、これは本発明の本質では無いため、説明は割愛する。
こうしてユーザは、印刷設定を行って再印刷を指示すると、再印刷処理部311は、選択された履歴情報の印刷用画像データ保存先405から印刷用画像データの保存先を特定し、記憶制御部304により、その画像データを取得する。再印刷処理部311は、その画像データと、ユーザが設定した印刷設定を画像出力制御部303へ渡して印刷するように指示する。画像出力制御部303は、記憶制御部304により格納された画像データに対して、再印刷処理部311から渡された画像処理を施すように画像処理部308に指示を出す。これにより、ユーザが設定した印刷設定に従って、先に示したコピー印刷等の説明と同様に、画像処理部308がその画像データに対して印刷用の画像処理を行い、その画像処理済の画像データを保存する。画像出力制御部303は、その画像処理を施した結果の画像データを記憶制御部304により読み出して、システムバス111、デバイスI/F107を経由してプリンタ109へ出力する。プリンタ109は、その画像データに従って順次用紙に画像を印刷する。
図7は、実施形態1に係る印刷設定の確認画面例を示す図である。
選択された履歴情報に、印刷設定保存先404が格納されている場合は、図7の確認画面を操作部106に表示する。即ち、以前に印刷したときの印刷設定が保存されている場合は、同じ設定で再印刷を行うか否かを問い合わせる。図7で、ユーザが「Yes」ボタン701を選択した場合、再印刷処理部311は、履歴情報の印刷用画像データ保存先405、及び印刷設定保存先404から、記憶制御部304により、その印刷用画像データ及び印刷設定をそれぞれ取得する。そして再印刷処理部311は、その画像データと、その印刷設定を画像出力制御部303へ渡して印刷するように指示する。図7で、ユーザが「No」ボタン702を選択した場合は、選択された履歴情報に、印刷設定保存先404が格納されていない場合と同様の処理を行う。この場合、選択された履歴情報の印刷設定を印刷設定画面に反映して表示するようにしてもよい。
図9は、本実施形態1に係る画像形成装置において、ユーザが履歴情報から再印刷を指示したときに実行される処理を説明するフローチャートである。尚、この処理を実行するプログラムは、ROM103或いはHDD104に格納されており、実行時にはRAM102に展開され、CPU101の制御の下に実行される。また図9のフローチャートにおいて、ファイルサーバでの認証処理は、図8のフローチャートと同様であるため同一の番号を付して、その説明を省略する。
S900では、CPU101は、再印刷を指示したユーザが所属するグループの確認処理を実施してから再印刷を行う必要があるか否かを判断する。これは、例えば、スイッチを設けて、そのスイッチが有効(オン)であれば、そのユーザが所属するグループを確認し、そのスイッチが無効(オフ)であれば、確認をせずに再印刷を実行するようにしても良い。S900で確認が必要であると判定するとS901に進み、CPU101は、操作部制御部301でユーザが再印刷を指定した履歴情報を履歴管理部309から取得して、ファイルサーバのデータの印刷の履歴情報であるか否かを判断する。これは、具体的には、指定された履歴情報のジョブ種別が「NET」であれば、ファイルサーバのデータの履歴情報であると判断する。S901でファイルサーバのデータであると判断した場合はS902へ進み、ファイルサーバのデータでないと判断した場合はS907へ進む。
S902では、CPU101は、履歴管理部309から、その履歴情報に格納されているユーザ情報を取得して、ネットワーク制御部310を介して、そのユーザが現在所属しているグループ情報を取得する。具体的には、ファイルサーバのユーザ情報を用いて、そのユーザが現在所属するグループ情報を取得する。これには例えば、ファイルサーバに問い合わせたり、Microsoft社のActiveDirectory等のディレクトリサービスに問い合わせたりして、グループ情報を取得する方法がある。これは一例であり、グループ情報を取得するのは、当然ながら他の方法でも構わない。
次にS903に進み、CPU101は、履歴管理部309から、履歴情報に格納されている、初回印刷時にそのユーザが所属していたグループ情報を取得する。そしてS904に進み、CPU101は、S902で取得した、そのユーザが現在所属するグループ情報と、S903で取得した、そのユーザが初回印刷時に所属していたグループ情報とを比較して、一致しているかを判断する。ここではグループが同一であるか否かを判断するだけなく、前述したようにグループの入れ子構造を判断する。即ち、S903で取得した印刷時のユーザのグループ情報が、S902で取得した、そのユーザが現在所属するグループ情報を包含しているかによって判断してもよい。この場合、S903で取得した、そのユーザの初回印刷時のグループ情報が、S902で取得した、現在そのユーザが所属するグループ情報を包含していれば、グループが一致していると見なす。また、グループが一致しているか否かの判定は、このフローチャートでは、CPU101が行っているが、CPU101が、ネットワーク制御部310を介して、外部のファイルサーバやディレクトリサービスに確認する形態でも構わない。
S904で、グループが一致していると判断した場合は、そのユーザが初回に印刷したときと同じ、或は包含されたグループであるため、再認証が必要ないと判断してS907へ進む。一方、S904で一致していないと判断した場合は再認証が必要なためS905へ進む。S905では、CPU101は、履歴管理部309から履歴情報に格納されている参照先URLを取得し、ネットワーク制御部310を介して、その参照先URLで示されるファイルサーバと接続する。そしてS906に進み、CPU101は、参照先URLにおいて認証が必要か否かを判断する。S906で認証が必要と判断した場合は、再認証が必要なためS804へ進む。一方、S906で認証が不要と判断した場合は、現在、そのユーザが所属するグループと初回印刷時のグループが異なっているが、現在ファイルサーバでの認証が不要であるためS907へ進んで再印刷を実行する。
尚、本実施形態1では、S906でファイルサーバの認証が不要である場合にS907へ進んで再印刷を許容しているが、初回印刷時と現在で、そのユーザが所属するグループが異なる場合に再印刷を禁止するようにしても良い。具体的には、S906で判定がNoの場合は、再印刷処理を行わずに処理を終了するようにしても良い。
尚、S804からS808の処理は、ファイルサーバにおける認証処理であり、図8と基本的に同様であるため、異なるS806についてだけ説明する。S806で、ファイルサーバに対する認証が成功した場合はS907へ進み、CPU101は、履歴管理部309から印刷設定及び印刷用画像データを取得して再印刷を実行する。具体的には、CPU101が、前述したように取得した印刷設定に従って画像処理を施すように、画像処理部308に指示を出す。画像処理部308による印刷用の画像データの処理が完了すると、CPU101は、画像出力制御部303へ画像データを出力するように指示する。画像出力制御部303は、記憶制御部304により、RAM102やHDD104から画像処理を施した画像データを読み出して、システムバス111、デバイスI/F107を経由してプリンタ109へ出力する。プリンタ109は、その画像データを基に、順次用紙に画像を印刷する。尚、図9のフローチャートでは、ユーザが初回印刷時に保存した印刷設定を用いて再印刷を行うようにしているが、ユーザが異なる印刷設定を設定し、その印刷設定に従って再印刷を行うようにしても良い。
またS900で、再印刷時に、そのユーザが所属するグループの確認を行うかどうかを判定する例を示したが、S900の処理を行わずに、ファイルサーバのデータの再印刷の場合は、強制的に所属するグループの確認を行うようにしてもよい。以下の実施形態において、図9のフローチャートに基づいて説明する場合は、S900の処理を行わないものとして説明している。
また図9のフローチャートでは、S902〜S904で、ユーザが初回印刷した時点で所属していたグループと、そのユーザが現在所属しているグループとが一致しているか判断してからファイルサーバに接続している。しかし他の形態として、S902〜S904の処理を行わず、ファイルサーバのデータを再印刷する場合、毎回、ファイルサーバに問い合わせて、ユーザのグループが一致しているかどうか確認してもよい。
また他の実施形態として、図9のフローチャートのS806で認証が成功した場合に、S907に進んで再印刷を実行しているが、ファイルサーバにおけるそのデータの権限情報を確認し、そのユーザに必要な権限がなければ再印刷を認めないようにしてもよい。例えば、ファイルサーバのデータファイルに対して、そのユーザがRead権限を有しているか否かを確認する。ここでは、ユーザにRead権限がないデータでも、ファイルサーバのデータファイルの存在の有無を判定できる。従って、実際に、そのユーザに、そのデータファイルの内容を読み込むことができるRead権限が与えられているかを確認し、Read権限がある場合にのみ、そのユーザの指示による再印刷を実行するようにしてもよい。
具体的な例として、ファイルサーバのデータの再印刷について更に説明する。
ユーザIDが「yamada」であるユーザが画像形成装置202により、ファイルサーバのデータを印刷したとする。より詳細には、CIFSプロトコルでファイルサーバ「¥¥192.168.3.5」に接続し、「¥share¥a.pdf」を2011年1月5日17時33分29秒に印刷したとする。これにより、前述の図5(A)の503、図5(B)の507のように、履歴情報としてユーザID「yamada」が印刷した情報が格納される。詳細に説明すると、ファイルサーバのデータの印刷なので、図5(A)の503で示すように格納される。ここではジョブ種別、印刷が行われた日時と画像形成装置を操作しているユーザIDは、それぞれ「NET」、「2011.1.5 17:33.29」、「yamada」となる。また印刷時に用いた印刷設定が、「/history/printsetting」ディレクトリの下に「00111.setting」として保存される。更に、印刷に用いた画像データが、「/history/printdata」ディレクトリの下に「00111.img」として保存される。前述したように、これらの保存先は、本発明を説明するための一例であるので、他の形態でも構わない。またファイルサーバのデータの印刷であるため、履歴情報に追加情報を保存するので、外部ファイル属性IDとして「28」が格納される。
図5(B)の507は、図5(A)の503で示す履歴情報に対応する追加履歴情報であり、ID「28」として、印刷したデータを保持しているファイルサーバに関する履歴情報が格納される。図5(B)では、参照先URLに、印刷したデータのURL「¥¥192.168.3.5¥share¥a.pdf」、ファイルサーバと接続するためのプロトコル「CIFS」が格納される。また、このファイルに関する更新日時とファイルサイズ等の情報も合わせて格納される。更に、ファイルサーバにアクセスするためのユーザ情報も格納される。この例では、ユーザのIDが「taro」として格納されている。ここで、図5(A)に記録されている、対応するジョブのユーザID「yamada」と異なっているが、ユーザID「yamada」は画像形成装置202を利用するためのユーザであり、ファイルサーバに対するユーザIDと異なっていても構わない。即ち、ユーザID「yamada」で画像形成装置202を利用しているユーザが、ファイルサーバに対して、ID「taro」として認証してアクセスしている。前述したように、ここには、ファイルサーバへアクセスするためのIDだけでなく、パスワードなども格納されてもよい。更に、ファイルサーバに対するユーザID「taro」のユーザが所属するグループ情報も格納される。ここでは、このユーザは、営業部(sales−dept)と東京本社(Tokyo Head Office)の2つのグループに所属していることが分かる。
今、ユーザが、この印刷履歴を指定して再印刷を指示したとする。このとき、再印刷を指示したユーザが、履歴情報のグループと同じグループに所属しているのであれば、前述した図9のS904の判定から再印刷が許可されることが分かる。以下では、再印刷を指示したユーザが現在所属するグループが、履歴情報のグループと異なっている場合について説明する。
いま再印刷を指示したユーザの所属するグループが、営業部(sales−dept)から人事部(personnel−dept)に変更されているとし、これら2つのグループが入れ子構造に無いとする。この場合は、図9のS904で、異なるグループと判断され、ファイルサーバによる認証処理が行われる。この認証処理により、そのユーザが参照先URLに記載されているファイルにアクセスできることが確認できれば再印刷できる。この場合は、ユーザを認証してファイルサーバのデータにアクセスするが、ファイルサーバのデータを再度取得するのでなく、画像形成装置202に格納されている画像データを用いて再印刷する。これにより、ネットワークを介して画像データを転送する処理が不要となる。
別の例として、営業部グループ(sales−dept)に、法人営業部グループ(corporate sales−dept)と個人営業部グループ(personal sales−dept)の2つのサブグループができたとする。つまり、営業部グループが、法人営業部グループと個人営業部グループを包含する入れ子構造になっているとする。そして、ID「taro」のユーザが所属するグループが、営業部グループから法人営業部グループに変わったとする。このときに、そのユーザが再印刷を実行しようとすると、図9のS904の判定において、現在所属するグループと初回印刷時に所属していたグループが異なる。しかし、初回印刷した時のユーザのグループが、そのユーザが現在所属するグループを包含していると判定される。こうして、そのユーザによる再印刷が許可されることになる。
尚、本実施形態では、再印刷時における履歴情報の利用について説明しているが、画像形成装置の持つ機能であれば、印刷処理に限らない。例えば、画像形成装置が、ファイルサーバ上のデータファイルを取得してファクシミリで送信した場合等にも適用できる。
以上説明したように実施形態1によれば、初回印刷時のユーザが所属するグループと、再印刷を指示したユーザが所属するグループが異なっている場合に、そのユーザに認証を求める。これにより、ユーザが前回印刷したときと所属するグループが変更されている場合に、そのユーザが現在所属するグループがアクセスできない文書の再印刷を防ぐことが可能となる。
[実施形態2]
次に本発明の実施形態2を説明する。尚、この実施形態2に係るシステム、画像形成装置、サーバ等の構成は前述の実施形態1と同じであるため、その説明を省略する。ここでは、履歴情報からの再印刷を制限させるファイルサーバ、或いはファイルサーバのディレクトリを予め指定する例について説明する。以下、実施形態1と同様の部分については、その説明を割愛する。
より具体的は、例えば、再印刷を制限するファイルサーバとして「¥¥192.168.3.5」が指定された場合は、ファイルサーバ「¥¥192.168.3.5」の全てのデータの印刷履歴が再印刷の制限の対象となる。またファイルサーバのディレクトリ「¥¥192.168.3.5¥secret」が指定された場合は、ファイルサーバ「¥¥192.168.3.5」のディレクトリ「¥secret」の下のデータの印刷履歴が再印刷の制限の対象となる。尚、ファイルサーバの指定は、IPアドレスを例にして説明しているが、ホスト名などのように一意にファイルサーバを特定できる情報であればよい。また、ファイルサーバのディレクトリが指定された場合に、その指定されたディレクトリの下の全てのファイルを対象とするのでなく、そのディレクトリ直下のデータファイルのみを再印刷の制限の対象としてもよい。
初回印刷時の履歴情報を格納するときに、再印刷の制限対象であるデータであるか判定する場合と、再印刷実行時に履歴情報に格納された印刷元のデータが、再印刷の制限対象であるか判定する場合の2つが考えられる。また初回印刷時と再印刷時の両方で、再印刷の制限対象であるデータか否かを確認しても良い。これにより、再印刷を制限するファイルサーバ或いはディレクトリが変更された場合でも、初回印刷時及び再印刷時に、再印刷が制限されていたファイルサーバ或いはディレクトリのデータかどうかを確認できる。尚、本実施形態2では、再印刷が制限されているデータであるか否かの判定を、初回印刷時と再印刷時の両方で実施する場合で説明するが、いずれか一方だけで、再印刷が制限されているデータか否かを確認するようにしても良い。
図10は、本実施形態2に係る画像形成装置202が、ネットワークに接続されたファイルサーバ203から画像データを取得して印刷して履歴情報を保存する処理を説明するフローチャートである。この処理を実行するプログラムは、ROM103或いはHDD104に格納されており、実行時にはRAM102に展開され、CPU101の制御の下に実行される。尚、図10で、図8のフローチャートと同等の部分は、同一の番号を付して、その説明を省略する。
S817で、ネットワーク制御部310が、当該ユーザが所属するグループ情報を取得した後でS1001へ進む。S1001では、CPU101が、印刷したデータが、指定されたファイルサーバ或いはディレクトリに置かれているか否かを確認する。指定されたファイルサーバ或いはディレクトリの下のデータの場合はS1003へ進み、そうでないときはS1002へ進む。S1002では、指定されたファイルサーバ或いはディレクトリのデータではないため、CPU101は、図12を参照して後述する再印刷属性を「可」として履歴情報を保存する。尚、S1002で保存される再印刷属性以外の履歴情報は、S818で説明したものと同等である。一方、S1003では、指定されたファイルサーバ或いはディレクトリの下のデータであるため、CPU101は、再印刷属性を「制限」として履歴情報を保存する。S1003で保存される再印刷属性以外の履歴情報は、S818で説明したものと同等である。ここで再印刷属性とは、履歴情報からの再印刷を制限するか否かを設定するものである。
図12は、実施形態2に係る履歴管理テーブルを説明する図である。尚、図12において、図5(A)と同じ部分の説明は割愛する。
ここでは、再印刷属性1201が履歴管理テーブルに追加されている。この値が「可」の場合は再印刷が認められ、「制限」の場合は再印刷が制限され、「不可」の場合は再印刷が認められない。図12では、1202から1205で示す履歴情報では、再印刷属性が「可」となっており、再印刷が許可されている。1206で示す履歴情報では、再印刷属性が「不可」になっているので、再印刷を実行することができない。更に、1207で示す履歴情報では、再印刷属性が「制限」であるため、ユーザが再印刷を指示すると、そのユーザが所属するグループの確認が実施されるように制限が設けられる。尚、本実施形態2では、履歴情報に再印刷属性を設けて再印刷の制限を設定するようにしたが、例えば、再印刷の実行を許可しない場合は、その履歴情報を残さないようにしてもよい。その場合は、図10のフローチャートにおいて、S1002の処理が無くなり、S1003が、図8のS818と同じ処理となる。
図11は、本実施形態2に係る画像形成装置において、ユーザが履歴情報から再印刷を指示したときに実行される処理を説明するフローチャートである。この処理を実行するプログラムは、ROM103或いはHDD104に格納されており、実行時にはRAM102に展開され、CPU101の制御の下に実行される。尚、図11においては、図9のフローチャートと同等の部分は同一の番号を付して、その説明を割愛する。
S1101で、CPU101は、再印刷が指定された履歴情報を履歴管理部309から取得して、その指定された履歴情報の再印刷属性1201を確認する。S1101で、再印刷属性が「不可」と判断した場合は、その履歴情報の再印刷が許可されていないため処理を終了する。またS1101で、再印刷属性が「可」と判断した場合はS901へ進む。更にS1101で、再印刷属性が「制限」と判断した場合はS902へ進む。尚、本実施形態2では、S1101で、再印刷属性が「不可」と判断した場合に処理を終了しているが、例えば、強制的にファイルサーバに対して再認証を実施するなど別の形態でも構わない。
S901で、CPU101は、指定した履歴情報が、ファイルサーバのデータファイルの印刷履歴であるか否かを判断する。S901でファイルサーバのデータファイルの印刷履歴であると判断した場合はS1102へ進むが、ファイルサーバのデータファイルの印刷履歴でないと判断した場合は、ファイルサーバにおける再認証処理の必要が無いためS907へ進む。S1102では、CPU101は、再印刷対象のデータが、指定されたファイルサーバ或いはディレクトリの下に置かれているデータであるか否かを判定する。S1102で、指定されたファイルサーバ或いはディレクトリの下のデータであると判定した場合は、ユーザが所属するグループの確認が必要なためS902へ進む。一方、S1102で、指定されたファイルサーバ或いはディレクトリの下のデータでないと判定した場合は、ユーザが所属するグループの確認が不要なためS907へ進む。
尚、本実施形態2では、S1102で、指定されたファイルサーバ或いはディレクトリの下のデータの場合は、ユーザが所属するグループを確認し、そうでなければ再印刷を認めている。しかし、指定されたファイルサーバ或いはディレクトリの下のデータの場合は、再印刷を認めないようにしても良い。この場合は、S1102でYesと判定した場合はS1105に進み、再印刷を許可しないように再印刷属性1201を「不可」にする。またS1102でNoと判定した場合はS902へ進み、再印刷を指示したユーザが所属しているグループの確認処理が行われる。
またS806で、CPU101がファイルサーバから認証結果を受け取り、S805で実行した認証が成功したかどうか判断する。S806で認証が成功した判断するとS1103へ進み、認証が失敗したと判断するとS807へ進む。S1103では、CPU101は、ユーザが入力した認証情報を基に、そのユーザが所属するグループ情報を取得する。尚、この処理は、S817と同等である。そしてS1104に進み、CPU101は、指定された当該履歴情報のユーザのグループ情報を、S1103で取得したユーザのグループ情報で置き換えて履歴情報を更新する。これにより、次回からの当該データの再印刷が指示された場合に、そのユーザが所属するグループが更に変更されていなければグループが一致することになり、ファイルサーバに対するユーザの再認証が不要となる。
尚、本実施形態2では、S1103,S1104で、そのデータに関する履歴情報の更新を行ったが、当然ながら、履歴情報の更新を行わずに、毎回ユーザを認証するようにしてもよい。また履歴管理部309が、同じユーザID、ユーザ情報で、同一のファイルサーバ或いはディレクトリの下のデータファイルの印刷に関する全ての履歴情報のグループ情報を置き換えるようにしてもよい。これによって、同じファイルサーバ或いはディレクトリの別のデータの再印刷時にユーザの認証が不要となる。
またS806で認証に失敗した後、S808で、CPU101が再認証を行うように指示されたか否かを判断する。S808で再認証すると指示された場合はS804へ戻り、再度、認証画面を表示する。一方、S808で再認証しないと判断した場合はS1105へ進み、認証に失敗したため、CPU101が、当該データの履歴情報の再印刷属性を「不可」として履歴管理テーブルを更新する。これによって、次回以降、そのデータは再印刷の対象外となり、再印刷の候補から外すことができる。尚、本実施形態2では、再印刷属性を「不可」にすることにより再印刷の対象から外したが、そのデータに関する履歴情報を削除するようにしてもよい。
本実施形態2によれば、履歴情報を使用した再印刷を制限するファイルサーバ或いはファイルサーバのディレクトリを予め指定して、そのファイルサーバ或いはファイルサーバのディレクトリの下のデータの再印刷を制限することができる。また再印刷を制限するファイルサーバ等に記憶されていない機密性の低いデータであれば、初回印刷時のユーザが所属するグループと、再印刷時に、そのユーザが所属するグループとが異なっていても、ユーザの指示により再印刷を行うことができる。
また、履歴情報に再印刷属性を設けて、履歴情報を適宜更新することにより、再印刷の対象となりえないデータを指定して、再印刷の対象から除くことができる。
[実施形態3]
次に本発明の実施形態3を説明する。尚、この実施形態3に係るシステム、画像形成装置、サーバ等の構成は前述の実施形態1,2と同じであるため、その説明を省略する。ここでは、ファイルサーバのデータの履歴情報として参照先URL情報のみを格納し、印刷に使用した画像データを履歴情報として格納しない例について説明する。これは、画像形成装置202のHDD104の記憶容量を節約するために行われる。以下、実施形態1と同様の部分については、説明を割愛する。
まず、履歴情報として、印刷に用いた画像データを格納せずに、参照先URL情報のみを格納することについて説明する。
図14(A)(B)は、実施形態3に係る履歴管理テーブルを説明する図である。尚、図14(A)、図14(B)はそれぞれ図5(A)、図5(B)に対応しており、ここでは図5と異なる部分についてのみ説明する。
図14(A)において、1401,1402のジョブ種別が「NET」であるものは、ファイルサーバのデータの印刷の履歴情報を示している。これらの印刷用画像データ保存先は「−」となっており、印刷に用いたデータが画像形成装置202に保存されていないことを表す。図14(B)は、外部ファイル属性IDから辿れるネットワークのファイルサーバのデータファイルに対する追加の履歴情報のテーブルを示す。この追加の履歴情報テーブルのユーザ情報には、ファイルサーバのユーザのIDだけでなく、パスワード情報も格納されている。この情報は、当然ながら、暗号化、ハッシュ化などが施されている。また、ユーザ情報は、本実施形態3では、ID、パスワードだけであるが、その他にファイルサーバのアクセスに必要な情報があれば、格納されても良い。例えば、ドメイン情報が必要であれば、合わせて追加の履歴情報テーブルのユーザ情報にドメイン情報が格納される。
図13は、本実施形態3に係る画像形成装置において、ユーザが履歴情報から再印刷を指示したときに実行される処理を説明するフローチャートである。この処理を実行するプログラムは、ROM103或いはHDD104に格納されており、実行時にはRAM102に展開され、CPU101の制御の下に実行される。尚、図13では、図9のフローチャートと同等の部分は同一の番号を付して、それらの説明を省略する。
S904で、CPU101は、S902で取得した、ユーザが現在所属するグループ情報と、S903で取得した初回印刷時のユーザのグループ情報とを比較して、一致しているか判断する。尚、グループの判断については、実施形態1におけるS904と同様である。S904で一致していると判断した場合は、そのユーザが前回印刷したときと同じグループであるため、再認証が必要ないと判定してS1301へ進む。一方、S904で一致していないと判断した場合は、再認証が必要なためS905へ進む。
S1301では、CPU101が、履歴管理部309から履歴情報に格納されている当該履歴情報のファイルサーバのユーザ情報(ID、パスワード)を取得して、ネットワーク制御部310を介してファイルサーバへ接続してS1302へ進む。また、S806においても、認証が成功した場合はS1302へ進む。S1302では、CPU101は、ネットワーク制御部310を介して、履歴情報に格納されている当該履歴情報の参照先URLのデータを取得する。次にS1303に進み、CPU101は、履歴管理部309から当該履歴情報の印刷設定を取得して、S1302で取得したデータを用いて再印刷を実行する。尚、S1303は、図9のフローチャートにおけるS907で履歴情報から取得した印刷用画像データの代わりに、S1302でファイルサーバから取得したデータを用いるものであり、画像データの取得先以外は、S907の説明した処理と同等である。
以上説明したように実施形態3によれば、ファイルサーバのデータの再印刷時に、初回印刷時のユーザが所属するグループと、再印刷を指示したユーザが所属するグループが異なっている場合は、再認証を実行して初めて再印刷できる。また画像形成装置が印刷用の画像データを保存していないので、ユーザが所属するグループが一致している場合は、そのユーザのユーザ情報を使用してファイルサーバにアクセスして再印刷用の画像データを取得して再印刷できる。
尚、上述した実施形態では、履歴管理テーブルに格納されている履歴情報は、ユーザが初回印刷時の情報として説明したが、初回印刷時に限定されるものでなく、少なくとも直前に(或いは過去に)印刷したときの履歴情報であれば良い。
また本実施形態では、画像形成装置における再印刷処理を例にして説明したが本発明はこれに限定されるものでなく、PC等の情報処理装置に格納されたユーザのデータを再利用する場合にも適用できる。
(その他の実施例)
また、本発明は、以下の処理を実行することによっても実現される。即ち、上述した実施形態の機能を実現するソフトウェア(プログラム)を、ネットワーク又は各種記憶媒体を介してシステム或いは装置に供給し、そのシステム或いは装置のコンピュータ(又はCPUやMPU等)がプログラムを読み出して実行する処理である。

Claims (10)

  1. 外部装置と通信可能な画像形成装置であって、
    印刷データを格納する格納手段と、
    ユーザに情報を通知する通知手段と、
    印刷データに基づき画像を形成する画像形成手段と、
    制御を行う制御手段と、を有し、
    前記制御手段は、
    認証されたユーザから取得した認証情報を前記外部装置に送信し、当該外部装置からデータを取得する処理と、
    印刷指示が可能となるように、且つ、前記認証されたユーザの識別情報に関連付けて、取得したデータに基づく印刷データを前記格納手段に格納させる処理と、
    前記印刷データの印刷指示を行う指示ユーザであって前記認証されたユーザと識別情報が一致しない指示ユーザに対して認証情報の入力を要求すべく前記通知手段に通知させる処理と、
    前記印刷データの印刷指示を行う指示ユーザであって前記認証されたユーザと識別情報が一致する指示ユーザに対して前記認証情報の入力を要求するための通知を前記通知手段にさせずに、前記格納手段に格納された印刷データに基づき前記画像形成手段により画像形成させる処理と、を実行可能であることを特徴とする画像形成装置。
  2. 前記制御手段は、前記印刷データの印刷指示を行う指示ユーザであって前記認証されたユーザと識別情報が一致しない指示ユーザから認証情報を取得して前記外部装置に前記認証情報を送信し、前記外部装置から取得した応答情報に従って、前記格納手段に格納された印刷データに基づき前記画像形成手段に画像形成させる処理を実行することを特徴とする請求項1に記載の画像形成装置。
  3. 前記制御手段は、前記指示ユーザが印刷指示をする以前に前記外部装置から前記指示ユーザの識別情報を取得することを特徴とする請求項1又は2に記載の画像形成装置。
  4. 前記識別情報は、ユーザ名情報とグループ情報を含むことを特徴とする請求項1乃至3のいずれか1項に記載の画像形成装置。
  5. 前記認証されたユーザと識別情報が一致しない指示ユーザは、前記認証されたユーザとユーザ名情報が一致するが、グループ情報が一致しない指示ユーザであることを特徴とする請求項4に記載の画像形成装置。
  6. 前記制御手段は更に、前記格納手段に格納された印刷データの情報と前記認証されたユーザの識別情報とを履歴情報をとして記憶することを特徴とする請求項1乃至5のいずれか1項に記載の画像形成装置。
  7. 前記履歴情報は、前記外部装置のURL情報を含むことを特徴とする請求項6に記載の画像形成装置。
  8. 前記通知手段はディスプレイを含み、前記ディスプレイには、前記認証情報の入力を要求するための入力画面が表示されることを特徴とする請求項1乃至7のいずれか1項に記載の画像形成装置。
  9. 外部装置と通信可能で、印刷データを格納する格納手段と印刷データに基づき画像を形成する画像形成手段とを有する画像形成装置を制御する制御方法であって、
    認証されたユーザから取得した認証情報を前記外部装置に送信し、当該外部装置からデータを取得する工程と、
    印刷指示が可能となるように、且つ、前記認証されたユーザの識別情報に関連付けて、取得したデータに基づく印刷データを前記格納手段に格納させる工程と、
    前記印刷データの印刷指示を行う指示ユーザであって前記認証されたユーザと識別情報が一致しない指示ユーザに対して前記認証情報の入力を要求すべくユーザに通知する工程と、
    前記印刷データの印刷指示を行う指示ユーザであって前記認証されたユーザと識別情報が一致する指示ユーザに対して前記認証情報の入力を要求するための通知をユーザに通知せずに、前記格納手段に格納された印刷データに基づき前記画像形成手段により画像形成させる工程と、
    を実行可能であることを特徴とする画像形成装置の制御方法。
  10. コンピュータに、請求項に記載の制御方法を実行させるためのプログラム。
JP2012147595A 2012-06-29 2012-06-29 画像形成装置とその制御方法、及びプログラム Expired - Fee Related JP6092533B2 (ja)

Priority Applications (2)

Application Number Priority Date Filing Date Title
JP2012147595A JP6092533B2 (ja) 2012-06-29 2012-06-29 画像形成装置とその制御方法、及びプログラム
US13/927,260 US9202154B2 (en) 2012-06-29 2013-06-26 Information processing apparatus and method for controlling re-execution of print jobs, and storage medium

Applications Claiming Priority (1)

Application Number Priority Date Filing Date Title
JP2012147595A JP6092533B2 (ja) 2012-06-29 2012-06-29 画像形成装置とその制御方法、及びプログラム

Publications (2)

Publication Number Publication Date
JP2014008702A JP2014008702A (ja) 2014-01-20
JP6092533B2 true JP6092533B2 (ja) 2017-03-08

Family

ID=49777849

Family Applications (1)

Application Number Title Priority Date Filing Date
JP2012147595A Expired - Fee Related JP6092533B2 (ja) 2012-06-29 2012-06-29 画像形成装置とその制御方法、及びプログラム

Country Status (2)

Country Link
US (1) US9202154B2 (ja)
JP (1) JP6092533B2 (ja)

Families Citing this family (14)

* Cited by examiner, † Cited by third party
Publication number Priority date Publication date Assignee Title
CN104423902B (zh) * 2013-09-02 2018-02-23 北大方正集团有限公司 用于秘密文件的数码印刷控制方法和系统
JP6478676B2 (ja) * 2014-07-07 2019-03-06 キヤノン株式会社 画像形成装置、情報処理方法及びプログラム
US9619476B2 (en) * 2014-09-15 2017-04-11 International Business Machines Corporation Parallel container and record organization
JP6519942B2 (ja) * 2015-03-19 2019-05-29 富士ゼロックス株式会社 画像形成装置およびプログラム
US10200548B2 (en) 2016-04-22 2019-02-05 Ricoh Company, Ltd. Image processing apparatus, image processing method, and recording medium
JP6900694B2 (ja) * 2017-02-08 2021-07-07 株式会社リコー 情報処理システム、端末装置、情報処理方法およびプログラム
US11171937B2 (en) * 2018-05-25 2021-11-09 Target Brands, Inc. Continuous guest re-authentication system
JP7139868B2 (ja) * 2018-10-18 2022-09-21 ブラザー工業株式会社 スキャナ及びスキャナのためのコンピュータプログラム
JP2020088412A (ja) * 2018-11-15 2020-06-04 キヤノン株式会社 画像処理装置、画像処理装置の制御方法、及びプログラム
CN109756477B (zh) * 2018-11-27 2021-02-02 视联动力信息技术股份有限公司 一种基于视联网的访问权限设置方法及装置
CN110069911B (zh) * 2019-04-19 2021-05-14 奇安信科技集团股份有限公司 访问控制方法、装置、系统、电子设备和可读存储介质
JP7651315B2 (ja) * 2021-02-22 2025-03-26 キヤノン株式会社 印刷機器、印刷機器の制御方法、及びプログラム
JP2023180470A (ja) * 2022-06-09 2023-12-21 キヤノン株式会社 印刷システム及び印刷制御方法
JP2023180469A (ja) * 2022-06-09 2023-12-21 キヤノン株式会社 情報処理装置、印刷装置、印刷システム、プログラム及び印刷制御方法

Family Cites Families (9)

* Cited by examiner, † Cited by third party
Publication number Priority date Publication date Assignee Title
JP3718004B2 (ja) * 1996-07-05 2005-11-16 株式会社東芝 画像形成装置およびネットワークプリントシステム
JP4291426B2 (ja) * 1997-03-05 2009-07-08 パナソニック株式会社 画像処理装置
JP4510543B2 (ja) * 2004-08-02 2010-07-28 キヤノン株式会社 画像処理装置、印刷装置及び画像処理方法
JP2006056109A (ja) 2004-08-19 2006-03-02 Sharp Corp 印刷装置および印刷システム
JP4630800B2 (ja) * 2005-11-04 2011-02-09 キヤノン株式会社 印刷管理システムおよび印刷管理方法とプログラム
US7933029B2 (en) * 2006-02-24 2011-04-26 Canon Kabushiki Kaisha Printing system and printing apparatus
JP4821378B2 (ja) 2006-03-08 2011-11-24 富士ゼロックス株式会社 画像処理制御装置、プログラム、方法
JP4187024B2 (ja) * 2006-08-31 2008-11-26 ブラザー工業株式会社 画像形成装置
JP2009271793A (ja) * 2008-05-08 2009-11-19 Canon Inc 印刷制御装置及び印刷制御方法及びプログラム

Also Published As

Publication number Publication date
US20140002847A1 (en) 2014-01-02
JP2014008702A (ja) 2014-01-20
US9202154B2 (en) 2015-12-01

Similar Documents

Publication Publication Date Title
JP6092533B2 (ja) 画像形成装置とその制御方法、及びプログラム
JP5911212B2 (ja) 印刷装置及びその制御方法、及びプログラム
JP4980255B2 (ja) 印刷処理システム
JP6327930B2 (ja) 画像形成装置、情報処理方法及びプログラム
JP6188334B2 (ja) 画像形成装置及びその制御方法、画像形成システム、並びにプログラム
US8196190B2 (en) Authentication server, authentication system and account maintenance method
US20120320419A1 (en) Printing system, server for distributing print job, method for resubmitting print job, and computer-readable storage medium for computer program
US20100290081A1 (en) System operating under web environment and method of controlling the same
CN1438570A (zh) 数据处理方法和数据处理系统
JP6949585B2 (ja) 管理サーバ、サービス提供サーバ、システム、制御方法、および、プログラム
JP5145254B2 (ja) 画像形成システム、サーバ装置および画像形成装置
JP2015114820A (ja) 印刷サービス提供装置及び印刷システム
JP6623873B2 (ja) 画像形成システム、画像形成方法、画像形成装置、およびプログラム
JP5135238B2 (ja) 画像形成システムおよびサーバ装置
JP2006218649A (ja) 画像形成装置およびホスト装置並びに印刷システム
JP7022519B2 (ja) 携帯端末とその制御方法、及び記憶媒体
JP5097749B2 (ja) 画像形成システムおよびサーバ装置
JP2007140846A (ja) データ管理システム及びデータ管理方法
JP6582906B2 (ja) 画像処理装置、画像処理方法及びプログラム
JP2008003954A (ja) 印刷システム及び画像形成装置ならびに再印刷制御方法及び再印刷制御プログラム
JP5625497B2 (ja) 情報処理装置、情報処理システム、情報処理方法、プログラム、及びそのプログラムを記憶した記録媒体
JP2022181370A (ja) 情報処理装置及びプログラム
JP2017175235A (ja) 情報処理システム、電子機器、情報処理方法、およびプログラム
JP2006318098A (ja) サーバ装置、システム、及びその制御方法
JP2013030044A (ja) 印刷管理システム、及び印刷管理方法

Legal Events

Date Code Title Description
A621 Written request for application examination

Free format text: JAPANESE INTERMEDIATE CODE: A621

Effective date: 20150629

A977 Report on retrieval

Free format text: JAPANESE INTERMEDIATE CODE: A971007

Effective date: 20160615

A131 Notification of reasons for refusal

Free format text: JAPANESE INTERMEDIATE CODE: A131

Effective date: 20160621

A521 Request for written amendment filed

Free format text: JAPANESE INTERMEDIATE CODE: A523

Effective date: 20160810

TRDD Decision of grant or rejection written
A01 Written decision to grant a patent or to grant a registration (utility model)

Free format text: JAPANESE INTERMEDIATE CODE: A01

Effective date: 20170113

A61 First payment of annual fees (during grant procedure)

Free format text: JAPANESE INTERMEDIATE CODE: A61

Effective date: 20170209

R151 Written notification of patent or utility model registration

Ref document number: 6092533

Country of ref document: JP

Free format text: JAPANESE INTERMEDIATE CODE: R151

LAPS Cancellation because of no payment of annual fees