JP6080888B2 - トランジスタ - Google Patents

トランジスタ Download PDF

Info

Publication number
JP6080888B2
JP6080888B2 JP2015076725A JP2015076725A JP6080888B2 JP 6080888 B2 JP6080888 B2 JP 6080888B2 JP 2015076725 A JP2015076725 A JP 2015076725A JP 2015076725 A JP2015076725 A JP 2015076725A JP 6080888 B2 JP6080888 B2 JP 6080888B2
Authority
JP
Japan
Prior art keywords
layer
transistor
thin film
oxide semiconductor
light
Prior art date
Legal status (The legal status is an assumption and is not a legal conclusion. Google has not performed a legal analysis and makes no representation as to the accuracy of the status listed.)
Active
Application number
JP2015076725A
Other languages
English (en)
Other versions
JP2015164201A (ja
Inventor
宏充 郷戸
宏充 郷戸
村上 智史
智史 村上
Current Assignee (The listed assignees may be inaccurate. Google has not performed a legal analysis and makes no representation or warranty as to the accuracy of the list.)
Semiconductor Energy Laboratory Co Ltd
Original Assignee
Semiconductor Energy Laboratory Co Ltd
Priority date (The priority date is an assumption and is not a legal conclusion. Google has not performed a legal analysis and makes no representation as to the accuracy of the date listed.)
Filing date
Publication date
Application filed by Semiconductor Energy Laboratory Co Ltd filed Critical Semiconductor Energy Laboratory Co Ltd
Priority to JP2015076725A priority Critical patent/JP6080888B2/ja
Publication of JP2015164201A publication Critical patent/JP2015164201A/ja
Application granted granted Critical
Publication of JP6080888B2 publication Critical patent/JP6080888B2/ja
Active legal-status Critical Current
Anticipated expiration legal-status Critical

Links

Images

Landscapes

  • Thin Film Transistor (AREA)
  • Liquid Crystal (AREA)
  • Devices For Indicating Variable Information By Combining Individual Elements (AREA)
  • Electroluminescent Light Sources (AREA)
  • Metal-Oxide And Bipolar Metal-Oxide Semiconductor Integrated Circuits (AREA)
  • Recrystallisation Techniques (AREA)
  • Electrochromic Elements, Electrophoresis, Or Variable Reflection Or Absorption Elements (AREA)

Description

酸化物半導体を用いる半導体装置およびその作製方法に関する。
なお、本明細書中において半導体装置とは、半導体特性を利用することで機能しうる装置
全般を指し、電気光学装置、半導体回路および電子機器は全て半導体装置である。
近年、絶縁表面を有する基板上に形成された半導体薄膜(厚さ数〜数百nm程度)を用い
て薄膜トランジスタ(TFT)を構成する技術が注目されている。薄膜トランジスタはI
Cや電気光学装置のような電子デバイスに広く応用され、特に画像表示装置のスイッチン
グ素子として開発が急がれている。また、半導体薄膜としては、金属酸化物が注目されて
おり、多様な金属酸化物が存在し、さまざまな用途に用いられている。特に、金属酸化物
として、酸化インジウムはよく知られた材料であり、液晶ディスプレイなどで必要とされ
る透明電極材料として用いられている。
金属酸化物の中には半導体特性を示すものがある。半導体特性を示す金属酸化物としては
、例えば、酸化タングステン、酸化錫、酸化インジウム、酸化亜鉛などがあり、このよう
な半導体特性を示す金属酸化物をチャネル形成領域とする薄膜トランジスタが既に知られ
ている(特許文献1及び特許文献2)。
特開2007−123861号公報 特開2007−96055号公報
アクティブマトリクス型の表示装置においては、回路を構成する薄膜トランジスタの電気
特性が重要であり、この電気特性が表示装置の性能を左右する。特に、薄膜トランジスタ
の電気特性のうち、オフ電流(リーク電流、Ioffなどともいう)の増大に起因する非
動作時の消費電力(待機時の消費電力)が重要になる。
nチャネル型の薄膜トランジスタの場合、ゲート電圧に正の電圧を印加してはじめてチャ
ネルが形成されて、ドレイン電流が流れ出す薄膜トランジスタが望ましい。ゲートに印加
される電圧が負の電圧状態でオフ電流が流れる薄膜トランジスタは、回路に用いる薄膜ト
ランジスタとしては不向きである。
例えば、半導体装置において回路を構成する薄膜トランジスタのオフ電流が大きい場合、
そのオフ電流の増大に起因する電流漏れが発生する恐れがある。そこで、本発明の一形態
は、広い温度範囲で安定して動作する薄膜トランジスタ及びそれを用いた半導体装置を提
供することを目的とする。なお、本明細書等において、薄膜トランジスタのオフ電流とは
、ゲートに印加される電圧が負の電圧の時の電流値を示す。
本明細書で開示する本発明の一態様は、絶縁表面を有する基板上に、ゲート電極層を有し
、ゲート電極層上にゲート絶縁層を有し、ゲート絶縁層上に酸化物半導体層を有し、酸化
物半導体層上に、ソース電極層及びドレイン電極層を有し、ゲート絶縁層、酸化物半導体
層、ソース電極層及びドレイン電極層上に酸化物半導体層の一部と接する絶縁層を有し、
−25℃以上150℃以下の温度範囲において、チャネル幅が1μmあたりのオフ電流の
値が1×10−12A以下であることを特徴とする半導体装置である。
上記構成において、酸化物半導体層のチャネル長は、1.5μm以上100μm以下であ
ってもよい。また、酸化物半導体層のチャネル長は、3μ以上10μm以下であってもよ
い。
また、本明細書で開示する本発明の一態様は、絶縁表面を有する基板上に、ゲート電極層
を形成し、ゲート電極層上にゲート絶縁層を形成し、ゲート絶縁層上に酸化物半導体層を
形成し、酸化物半導体層を形成した後、第1の熱処理、及び第2の熱処理を行い、酸化物
半導体層上に、ソース電極層及びドレイン電極層を形成し、ゲート絶縁層、酸化物半導体
層、ソース電極層及びドレイン電極層上に酸化物半導体層の一部と接する絶縁層を形成し
、絶縁層を形成した後、第3の熱処理を行うことを特徴とする半導体装置の作製方法であ
る。
上記構成において、第1の熱処理は、窒素雰囲気または希ガス雰囲気下で行うことが好ま
しい。また、第1の熱処理は、350℃以上750℃以下の温度で行うことが好ましい。
上記構成において、第2の熱処理は、大気雰囲気、酸素雰囲気下で行うことが好ましい。
また、第2の熱処理は、100℃以上第1の熱処理温度以下で行うことが好ましい。
上記構成は、上記課題の少なくとも一つを解決する。
本明細書中で用いる酸化物半導体で、InMO(ZnO)(m>0)で表記される薄
膜を形成し、その薄膜を酸化物半導体層として用いた薄膜トランジスタを作製する。ただ
し、mは必ずしも整数にはならない。なお、Mは、Ga、Fe、Ni、Mn及びCoから
選ばれた一の金属元素または複数の金属元素を示す。例えばMとして、Gaの場合がある
ことの他、GaとNiまたはGaとFeなど、Ga以外の上記金属元素が含まれる場合が
ある。また、上記酸化物半導体において、Mとして含まれる金属元素の他に、不純物元素
としてFe、Niその他の遷移金属元素、または該遷移金属の酸化物が含まれている場合
がある。本明細書においては、InMO(ZnO)(m>0)で表記される構造の酸
化物半導体層のうち、MとしてGaを含む構造の酸化物半導体をIn−Ga−Zn−O系
酸化物半導体とよび、その薄膜をIn−Ga−Zn−O系非単結晶膜とも呼ぶ。
また、酸化物半導体層に適用する酸化物半導体として上記の他にも、In−Sn−Zn−
O系、In−Al−Zn−O系、Sn−Ga−Zn−O系、Al−Ga−Zn−O系、S
n−Al−Zn−O系、In−Zn−O系、In−Ga−O系、Sn−Zn−O系、Al
−Zn−O系、In−O系、Sn−O系、Zn−O系の酸化物半導体を適用することがで
きる。また上記酸化物半導体層に酸化珪素を含ませてもよい。酸化物半導体層に結晶化を
阻害する酸化珪素(SiOx(X>0))を含ませることで、製造プロセス中において酸
化物半導体層の形成後に加熱処理した場合に、結晶化してしまうのを抑制することができ
る。なお、酸化物半導体層は非晶質な状態であることが好ましく、一部結晶化していても
よい。
また、加熱処理の条件または酸化物半導体層の材料によっては、酸化物半導体層が非晶質
な状態から微結晶膜または多結晶膜となる場合もある。微結晶膜または多結晶膜となる場
合であっても、TFTとしてスイッチング特性を得ることができる。
オフ電流の変動幅が小さく、安定した電気特性を有する薄膜トランジスタを作製し、提供
することができる。よって、電気特性が良好で信頼性のよい薄膜トランジスタを有する半
導体装置を提供することができる。
半導体装置の作製工程を説明する図。 半導体装置を説明する図。 酸化物半導体層中の分析方法及び水素濃度を示す図。 実施例1の薄膜トランジスタのオフ電流特性を示すグラフ。 半導体装置の計算に用いた断面構造を示す図。 半導体装置の計算で仮定した構造を説明する図。 半導体装置のブロック図を説明する図。 信号線駆動回路の構成及び動作を説明する図。 シフトレジスタの構成を示す回路図。 シフトレジスタの動作を説明する構成及びタイミングチャート。 半導体装置を説明する図。 半導体装置を説明する図。 半導体装置を説明する図。 半導体装置の画素等価回路を説明する図。 半導体装置を説明する図。 半導体装置を説明する図。 半導体装置を説明する図。 半導体装置を説明する図。 半導体装置を説明する図。 半導体装置の構成を示す回路図。 半導体装置を説明する図。 半導体装置を説明する図。 半導体装置を説明する図。 半導体装置の構成を示す回路図。 電子書籍の例を示す図。 テレビジョン装置およびデジタルフォトフレームの例を示す図。 遊技機の例を示す図。 携帯型のコンピュータ及び携帯電話機の例を示す図。 半導体装置の計算結果を説明する図。 半導体装置の計算結果を説明する図。 半導体装置の計算結果を説明する図。
以下では、本発明の実施の形態について図面を用いて詳細に説明する。ただし、本発明は
以下の説明に限定されず、その形態および詳細を様々に変更し得ることは、当業者であれ
ば容易に理解される。また、本発明は以下に示す実施の形態の記載内容に限定して解釈さ
れるものではない。
(実施の形態1)
本実施の形態では、図1(E)に示す薄膜トランジスタ150の作製方法の一形態につい
て、薄膜トランジスタ作製工程の断面図である図1(A)乃至図1(E)を用いて説明す
る。なお、図1(F)は、図1(E)に示す薄膜トランジスタ150の上面図である。薄
膜トランジスタ150は、チャネルエッチ型と呼ばれるボトムゲート構造の一つである。
まず、絶縁表面を有する基板である基板100上に、金属導電膜を形成し、所望の形状に
加工するため、フォトマスクを用いてフォトリソグラフィ工程、及びエッチング工程を行
いゲート電極層101を設ける。なお、レジストマスクをインクジェット法で形成しても
よい。レジストマスクをインクジェット法で形成するとフォトマスクを使用しないため、
製造コストを低減できる。
基板100としては、ガラス基板を用いることが好ましい。基板100として用いるガラ
ス基板は、後の加熱処理の温度が高い場合には、歪み点が730℃以上のものを用いると
良い。また、基板100には、例えば、アルミノシリケートガラス、アルミノホウケイ酸
ガラス、バリウムホウケイ酸ガラスなどのガラス材料が用いられている。ホウ酸と比較し
て酸化バリウム(BaO)を多く含ませることで、より実用的な耐熱ガラスが得られる。
このため、BよりBaOを多く含むガラス基板を用いることが好ましい。
なお、上記の基板100に代えて、セラミック基板、石英ガラス基板、石英基板、サファ
イア基板などの絶縁体でなる基板を用いても良い。他にも、結晶化ガラスなどを用いるこ
とができる。
また、下地膜となる絶縁膜を基板100とゲート電極層101の間に設けてもよい。下地
膜は、基板100からの不純物元素の拡散を防止する機能があり、窒化珪素膜、酸化珪素
膜、窒化酸化珪素膜、または酸化窒化珪素膜から選ばれた一または複数の膜による積層構
造により形成することができる。
下地膜に、塩素、フッ素などのハロゲン元素を含ませることで、基板100からの不純物
元素の拡散を防止する機能をさらに高めることができる。下地膜中に含ませるハロゲン元
素の濃度は、SIMS(二次イオン質量分析計)を用いた分析により得られる濃度ピーク
を1×1015atoms/cm以上1×1020atoms/cm以下とすればよ
い。
ゲート電極層101としては、金属導電膜を用いることができる。金属導電膜の材料とし
ては、Al、Cr、Cu、Ta、Ti、Mo、Wから選ばれた元素、または上述した元素
を成分とする合金か、上述した元素を組み合わせた合金等を用いるのが好ましい。例えば
、チタン層上にアルミニウム層と、該アルミニウム層上にチタン層が積層された三層の積
層構造、またはモリブデン層上にアルミニウム層と、該アルミニウム層上にモリブデン層
を積層した三層の積層構造とすることが好ましい。勿論、金属導電膜として単層、または
2層構造、または4層以上の積層構造としてもよい。
次いで、ゲート電極層101上にゲート絶縁層102を形成する。
ゲート絶縁層102は、プラズマCVD法またはスパッタリング法等を用いて、酸化珪素
層、窒化珪素層、酸化窒化珪素層または窒化酸化珪素層を単層でまたは積層して形成する
ことができる。例えば、成膜ガスとして、SiH、酸素及び窒素を用いてプラズマCV
D法により酸化窒化珪素層を形成すればよい。ゲート絶縁層102の膜厚は、100nm
以上500nm以下とし、積層の場合は、例えば、膜厚50nm以上200nm以下の第
1のゲート絶縁層と、第1のゲート絶縁層上に膜厚5nm以上300nm以下の第2のゲ
ート絶縁層の積層とする。
また、酸化物半導体膜の成膜前に、不活性ガス雰囲気(窒素、またはヘリウム、ネオン、
アルゴン等)下において加熱処理(400℃以上基板の歪み点未満)を行い、層内に含ま
れる水素及び水などの不純物を除去したゲート絶縁層102としてもよい。
次いで、ゲート絶縁層102上に、膜厚5nm以上200nm以下、好ましくは10nm
以上50nm以下の酸化物半導体膜を形成する。酸化物半導体膜の形成後に脱水化または
脱水素化のための加熱処理を行っても酸化物半導体膜を非晶質な状態とするため、膜厚を
50nm以下と薄くすることが好ましい。酸化物半導体膜の膜厚を薄くすることで酸化物
半導体層の形成後に加熱処理した場合に、結晶化してしまうのを抑制することができる。
なお、酸化物半導体膜をスパッタリング法により成膜する前に、アルゴンガスを導入して
プラズマを発生させて逆スパッタリングを行い、ゲート絶縁層102の表面に付着してい
るゴミを除去することが好ましい。逆スパッタリングとは、ターゲット側に電圧を印加せ
ずに、アルゴン雰囲気下で基板側にRF電源を用いて電圧を印加して基板表面がプラズマ
に曝されて表面を改質する方法である。なお、アルゴン雰囲気に代えて窒素、ヘリウムな
どを用いてもよい。
酸化物半導体膜は、In−Ga−Zn−O系非単結晶膜、In−Sn−Zn−O系、In
−Al−Zn−O系、Sn−Ga−Zn−O系、Al−Ga−Zn−O系、Sn−Al−
Zn−O系、In−Ga−O系、In−Zn−O系、Sn−Zn−O系、Al−Zn−O
系、In−O系、Sn−O系、Zn−O系の酸化物半導体膜を用いる。本実施の形態では
、例えば、In−Ga−Zn−O系金属酸化物ターゲットを用いてスパッタリング法によ
り成膜する。また、酸化物半導体膜は、希ガス(代表的にはアルゴン)雰囲気下、酸素雰
囲気下、又は希ガス(代表的にはアルゴン)及び酸素雰囲気下においてスパッタリング法
により酸化物半導体膜を形成することができる。また、スパッタリング法を用いる場合、
SiOを2重量%以上10重量%以下含むターゲットを用いて成膜を行い、酸化物半導
体膜に結晶化を阻害するSiOx(X>0)を含ませ、後の工程で行う脱水化または脱水
素化のための加熱処理の際に結晶化してしまうのを抑制することが好ましい。なお、電源
としてパルス直流(DC)電源を用いると、ごみが軽減でき、膜厚分布も均一となるため
に好ましい。
また、金属酸化物ターゲット中の金属酸化物の相対密度は好ましくは95%以上、更に好
ましくは99%以上とする。これにより、形成された酸化物半導体膜中の不純物濃度を低
減することができ、電気特性または信頼性の高い薄膜トランジスタを得ることができる。
本実施の形態では、金属酸化物の相対密度が97%の金属酸化物ターゲットを用いる。
スパッタリング法にはスパッタリング用電源に高周波電源を用いるRFスパッタリング法
と、直流電源を用いるDCスパッタリング法があり、さらにパルス的にバイアスを与える
パルスDCスパッタリング法もある。RFスパッタリング法は主に絶縁膜を成膜する場合
に用いられ、DCスパッタリング法は主に金属膜を成膜する場合に用いられる。
また、材料の異なるターゲットを複数設置できる多元スパッタリング装置もある。多元ス
パッタリング装置は、同一チャンバーで異なる材料膜を積層成膜することも、同一チャン
バーで複数種類の材料を同時に放電させて成膜することもできる。
また、チャンバー内部に磁石機構を備えたマグネトロンスパッタリング法を用いるスパッ
タ装置や、グロー放電を使わずマイクロ波を用いて発生させたプラズマを用いるECRス
パッタリング法を用いるスパッタ装置がある。
また、スパッタリング法を用いる成膜方法として、成膜中にターゲット物質とスパッタリ
ングガス成分とを化学反応させてそれらの化合物薄膜を形成するリアクティブスパッタリ
ング法や、成膜中に基板にも電圧をかけるバイアススパッタリング法もある。
また、ゲート絶縁層102、及び酸化物半導体膜を大気に触れさせることなく連続的に形
成してもよい。大気に触れさせることなく成膜することで、水やハイドロカーボンなどの
、大気成分や大気中に浮遊する不純物元素に汚染されることなく各積層界面を形成するこ
とができるので、薄膜トランジスタ特性のばらつきを低減することができる。
次いで、酸化物半導体膜をフォトリソグラフィ工程により島状の酸化物半導体層103に
加工する(図1(A)参照)。また、島状の酸化物半導体層103を形成するためのレジ
ストマスクをインクジェット法で形成してもよい。レジストマスクをインクジェット法で
形成するとフォトマスクを使用しないため、製造コストを低減できる。
次いで、第1の熱処理を行って、酸化物半導体層103の脱水化または脱水素化を行う。
脱水化または脱水素化を行う第1の熱処理の温度は、350℃以上750℃以下、好まし
くは425℃以上とする。なお、425℃以上であれば熱処理時間は1時間以下でよいが
、425℃未満であれば加熱処理時間は、1時間よりも長時間行うこととする。例えば、
加熱処理装置の一つである電気炉に基板を導入し、酸化物半導体層103に対して窒素雰
囲気下において加熱処理を行った後、大気に触れることなく、酸化物半導体層103への
水や水素の再混入を防ぎ、酸化物半導体層103を得ることができる。本実施の形態では
、酸化物半導体層103の脱水化または脱水素化を行う加熱温度Tから、再び水が入らな
いような十分な温度まで同じ炉を用い、具体的には加熱温度Tよりも100℃以上下がる
まで窒素雰囲気下で徐冷する。また、窒素雰囲気に限定されず、不活性ガス雰囲気(ヘリ
ウム、ネオン、アルゴン等)下において脱水化または脱水素化を行う。
第1の熱処理により酸化物半導体層103を構成する酸化物半導体の原子レベルの再配列
が行われる。第1の熱処理は、酸化物半導体層103中におけるキャリアの移動を阻害す
る歪みを解放できる点で重要である。
なお、第1の熱処理においては、窒素、またはヘリウム、ネオン、アルゴン等の希ガスに
、水、水素などが含まれないことが好ましい。または、加熱処理装置に導入する窒素、ま
たはヘリウム、ネオン、アルゴン等の希ガスの純度を、6N(99.9999%)以上、
好ましくは7N(99.99999%)以上、(即ち不純物濃度を1ppm以下、好まし
くは0.1ppm以下)とすることが好ましい。
また、第1の熱処理の加熱処理装置は電気炉に限られず、抵抗発熱体などの発熱体からの
熱伝導または熱輻射によって、被処理物を加熱する装置を備えていてもよい。例えば、G
RTA(Gas Rapid Thermal Anneal)装置、LRTA(Lam
p Rapid Thermal Anneal)装置等のRTA(Rapid The
rmal Anneal)装置を用いることができる。LRTA装置は、ハロゲンランプ
、メタルハライドランプ、キセノンアークランプ、カーボンアークランプ、高圧ナトリウ
ムランプ、高圧水銀ランプなどのランプから発する光(電磁波)の輻射により、被処理物
を加熱する装置である。GRTA装置は、高温のガスを用いて加熱処理を行う装置である
。気体には、アルゴンなどの希ガス、または窒素のような、加熱処理によって被処理物と
反応しない不活性気体が用いられる。
また、第1の熱処理の条件、または酸化物半導体層の材料によっては、酸化物半導体層が
結晶化し、微結晶膜または多結晶膜となる場合もある。ここで、酸化物半導体層は、結晶
化率が80%以上の微結晶膜となることがある。また、酸化物半導体層の材料によっては
、結晶を有さない酸化物半導体層となることもある。
また、酸化物半導体層の第1の熱処理は、島状の酸化物半導体層103に加工する前の酸
化物半導体層に行うこともできる。その場合には、第1の熱処理後に、加熱装置から基板
を取り出し、フォトリソグラフィ工程を行う。
ここで、酸化物半導体層中の脱水素化を行った場合と、行わない場合の水素濃度分析結果
について触れておく。図3(A)は、本分析で用いた試料の断面構造模式図である。ガラ
ス基板400上にプラズマCVD法で酸化窒化絶縁層401を形成し、酸化窒化絶縁層4
01上にIn−Ga−Zn−O系酸化物半導体層402を約40nm形成したものを用意
した。用意した試料を分断し、一つは脱水素化を行わず、もう一つはGRTA法による窒
素雰囲気中650℃、6分間の脱水素化を行なった。それぞれの試料について、酸化物半
導体層中の水素濃度を測定することで、熱処理による脱水素化の効果について調査した。
酸化物半導体層中の水素濃度測定は、二次イオン質量分析法(SIMS:Seconda
ry Ion Mass Spectroscopy)で分析が行われた。図3(B)は
、酸化物半導体層中の膜厚方向の水素濃度分布を示すSIMS分析結果である。横軸は試
料表面からの深さを示しており、左端の深さ0nmの位置が試料最表面(酸化物半導体層
の最表面)に相当する。図3(A)に示す分析方向403は、SIMS分析の分析方向を
示している。分析は酸化物半導体層の最表面からガラス基板400に向かう方向で行った
。つまり、図3(B)の横軸において、左端から右端の方向に向かって行った。図3(B
)の縦軸は、特定深さにおける試料中の水素濃度と、酸素イオン強度を対数軸で示してい
る。
図3(B)において、水素濃度プロファイル412は、脱水素化を行っていない酸化物半
導体層中の水素濃度プロファイルを示しており、水素濃度プロファイル413は、熱処理
による脱水素化を行った後の酸化物半導体層中の水素濃度プロファイルを示している。酸
素イオン強度プロファイル411は、水素濃度プロファイル412測定時に同時に取得し
た酸素イオン強度を示している。酸素イオン強度プロファイル411に極端な変動が無く
、ほぼ一定のイオン強度が得られていることから、SIMS分析が正確に行われているこ
とがわかる。なお、水素濃度プロファイル413測定時も同様に酸素イオン強度を測定し
ており、こちらもほぼ一定のイオン強度が得られている。水素濃度プロファイル412及
び水素濃度プロファイル413は、試料と同じIn−Ga−Zn−O系酸化物半導体層で
作製した標準試料を用いて定量している。
なお、SIMS分析は、その原理上、試料表面近傍や、材質が異なる積層膜界面近傍のデ
ータを正確に得ることが困難であることが知られている。本分析においては、試料最表面
から深さ約15nmまでは正確なデータが得られていないと考えられるため、深さ15n
m以降のプロファイルを用いて評価した。
水素濃度プロファイル412から、脱水素化を行っていない酸化物半導体層中に、水素が
約3×1020atoms/cm以上、約5×1020atoms/cm以下、平均
水素濃度で約4×1020atoms/cm含まれていることがわかる。また、水素濃
度プロファイル413から、脱水素化により、酸化物半導体層中の平均水素濃度を約2×
1019atoms/cmに低減できていることがわかる。
本分析により、GRTA法による窒素雰囲気中650℃、6分間の熱処理を行った試料を
SIMS分析する事で水素濃度が低減できたので、この熱処理工程で酸化物半導体層から
の脱水素化が確認できた。
次いで、第2の熱処理を行う。第2の熱処理の温度は、100℃以上第1の熱処理の温度
以下で行う。例えば、加熱処理装置の一つである電気炉に基板を導入し、大気雰囲気下、
若しくは酸素雰囲気下において加熱処理を行う。
次いで、ゲート絶縁層102、及び酸化物半導体層103上にソース電極層及びドレイン
電極層を形成するための導電膜を成膜する。
ソース電極層及びドレイン電極層を形成するための導電膜としては、ゲート電極層101
と同様に、金属導電膜を用いることができる。金属導電膜の材料としては、Al、Cr、
Cu、Ta、Ti、Mo、Wから選ばれた元素、または上述した元素を成分とする合金か
、上述した元素を組み合わせた合金等を用いるのが好ましい。例えば、チタン層上にアル
ミニウム層と、該アルミニウム層上にチタン層が積層された三層の積層構造、またはモリ
ブデン層上にアルミニウム層と、該アルミニウム層上にモリブデン層を積層した三層の積
層構造とすることが好ましい。勿論、金属導電膜として単層、または2層構造、または4
層以上の積層構造としてもよい。
フォトマスクを用いてフォトリソグラフィ工程により、ソース電極層及びドレイン電極層
を形成するための導電膜から、ソース電極層105a及びドレイン電極層105bを形成
する(図1(B)参照)。また、このとき酸化物半導体層103も一部がエッチングされ
、溝部(凹部)を有する酸化物半導体層103となる。
なお、ソース電極層105a及びドレイン電極層105bを形成するためのレジストマス
クをインクジェット法で形成してもよい。レジストマスクをインクジェット法で形成する
とフォトマスクを使用しないため、製造コストを低減できる。
また、酸化物半導体層103と、ソース電極層105a及びドレイン電極層105bの間
に、酸化物半導体層103よりも抵抗が低い酸化物導電層を形成しても良い。このような
積層構成とすることで、薄膜トランジスタの耐圧を向上させることができる。具体的には
、抵抗が低い酸化物導電層のキャリア濃度は、例えば1×1020/cm以上1×10
21/cm以下の範囲内であると好ましい。
次に、ゲート絶縁層102、酸化物半導体層103、ソース電極層105a及びドレイン
電極層105bを覆い、酸化物半導体層103の一部と接する絶縁層107を形成する(
図1(C)参照)。絶縁層107は、少なくとも1nm以上の膜厚とし、CVD法、スパ
ッタリング法など、絶縁層107に水、水素等の不純物を混入させない方法を適宜用いて
形成することができる。ここでは、絶縁層107は、スパッタリング法を用いて形成する
。酸化物半導体層103の一部と接して形成される絶縁層107は、水分や、水素イオン
や、酸素イオンや、OHなどの不純物を含まず、これらが外部から侵入することをブロ
ックする無機絶縁膜を用い、代表的には酸化珪素膜、窒化酸化珪素膜、窒化珪素膜、酸化
ガリウム膜、酸化アルミニウム膜、酸化窒化アルミニウム膜又は窒化アルミニウム膜、を
用いることができる。
また、絶縁層107は、酸化珪素膜、窒化酸化珪素膜、酸化アルミニウム膜又は酸化窒化
アルミニウム膜の上に、窒化珪素膜又は窒化アルミニウム膜を積層する構造としてもよい
。特に窒化珪素膜は水分や、水素イオンや、酸素イオンや、OHなどの不純物を含まず
、これらが外部から侵入することをブロックしやすいので好ましい。
絶縁層107の成膜時の基板温度は、室温以上300℃以下とすればよく、酸化珪素膜の
スパッタリング法による成膜は、希ガス(代表的にはアルゴン)雰囲気下、酸素雰囲気下
、または希ガス(代表的にはアルゴン)及び酸素雰囲気下において行うことができる。ま
た、ターゲットとして酸化珪素ターゲットまたは珪素ターゲットを用いることができる。
例えば、珪素ターゲットを用いて、酸素雰囲気下でスパッタリング法により酸化珪素を形
成することができる。
次いで、第3の熱処理を行う。第3の熱処理は、100℃以上第1の熱処理の温度以下で
行う。例えば、加熱処理装置の一つである電気炉に基板を導入し、窒素雰囲気下において
加熱処理を行う。第3の熱処理は、絶縁層107形成以降の工程であれば、いつ行っても
よい。
以上の工程より、絶縁表面を有する基板である基板100上にゲート電極層101が設け
られ、ゲート電極層101の上にゲート絶縁層102が設けられ、ゲート絶縁層102の
上に酸化物半導体層103が設けられ、酸化物半導体層103の上にソース電極層105
a及びドレイン電極層105bが設けられ、ゲート絶縁層102、酸化物半導体層103
、ソース電極層105a及びドレイン電極層105bを覆い、酸化物半導体層103の一
部と接する絶縁層107が設けられている、チャネルエッチ型の薄膜トランジスタ150
を形成することができる(図1(E)参照)。
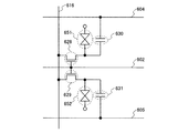
図1(F)は、本実施の形態で示した薄膜トランジスタ150の上面図である。図1(E
)は、図1(F)のX1−X2部位の断面構成を示している。図1(F)において、Lは
チャネル長を示しており、Wはチャネル幅を示している。また、Aはチャネル幅方向と平
行な方向において、酸化物半導体層103がソース電極層105a及びドレイン電極層1
05bと重ならない領域の長さを示している。Lsはソース電極層105aとゲート電極
層101が重なる長さを示しており、Ldはドレイン電極層105bとゲート電極層10
1が重なる長さを示している。
本実施の形態では、薄膜トランジスタ150をシングルゲート構造の薄膜トランジスタを
用いて説明したが、必要に応じて、チャネル形成領域を複数有するマルチゲート構造の薄
膜トランジスタや、絶縁層107上に第2のゲート電極層を有する構造の薄膜トランジス
タとすることもできる。
また、本実施の形態では、チャネルエッチ型の薄膜トランジスタ150の作製方法につい
て説明したが、本実施の形態の構成はこれに限られるものではない。図2(A)に示すよ
うな、ボトムゲート構造のボトムコンタクト型(逆コプラナ型とも呼ぶ)の薄膜トランジ
スタ160や、図2(B)に示すような、チャネル保護層110を有するチャネル保護型
(チャネルストップ型ともいう)の薄膜トランジスタ170等も同様の材料、方法を用い
て形成することができる。図2(C)は、チャネルエッチ型薄膜トランジスタの他の例を
示している。図2(C)に示す薄膜トランジスタ180のゲート電極層101の幅は、酸
化物半導体層103の幅よりも大きい構造となっている。
なお、薄膜トランジスタのチャネル長(図1(F)中のL)は、ソース電極層105aと
ドレイン電極層105bとの距離で定義されるが、チャネル保護型の薄膜トランジスタの
チャネル長は、キャリアの流れる方向と平行な方向のチャネル保護層の幅で定義される。
本実施の形態により、酸化物半導体層を有する薄膜トランジスタのチャネル幅が1μmあ
たりのオフ電流を1×10−12A以下にすることができる。
また、薄膜トランジスタのチャネル長が3μm以上10μm以下の範囲、もしくは、1.
5μm以上乃至100μm以下の範囲において、−25℃から150℃までの動作温度範
囲における薄膜トランジスタのチャネル幅が1μmあたりのオフ電流を1×10−12
以下にすることができる。薄膜トランジスタのチャネル長を1.5μm以上、または3μ
m以上とすることで、短チャネル効果を抑制できるため好ましい。
ここで、図4(A)に示す断面構造の薄膜トランジスタを用いた、−25℃から150℃
までの環境下における薄膜トランジスタ特性の評価結果について説明しておく。
まず、ガラス基板801上に、ゲート電極層802としてタングステン層を100nmの
厚さで形成し、ゲート電極層802上に、ゲート絶縁層803として、酸化窒化層を10
0nmの厚さで形成し、ゲート絶縁層803上に、In−Ga−Zn−O系の酸化物半導
体層804を30nmの厚さで形成し、酸化物半導体層804上に、ソース電極層805
及びドレイン電極層806としてチタン層を形成し、薄膜トランジスタを作製した。なお
、薄膜トランジスタのチャネル長Lを3μm、チャネル幅Wを20μmとした。
次に、薄膜トランジスタに対して、測定時の基板温度を、−25℃、0℃、25℃、50
℃、100℃、150℃と変化させ、それぞれの基板温度(動作温度)における薄膜トラ
ンジスタのオフ電流を測定した。オフ電流特性の測定は、ソースとドレインの間の電圧(
以下、ドレイン電圧もしくはVdという)を10Vとし、ソースとゲートの間の電圧(以
下、ゲート電圧もしくはVgという)を−10Vにて行った。
図4(B)に、本測定で得られたオフ電流測定結果を示す。横軸の測定温度は、薄膜トラ
ンジスタのオフ電流測定時の基板温度(動作温度)をリニアスケールで示してあり、縦軸
は、各基板温度におけるオフ電流(Ioff)をログスケールで示している。
図4(B)に示す、図中「□」はアモルファスシリコン膜を半導体層として使用した場合
のオフ電流を示してあり、図中「●」は酸化物半導体膜を半導体層として使用した場合の
オフ電流を示している。
図4(B)より、アモルファスシリコン膜を半導体層として使用した場合のオフ電流は、
測定時の基板温度が上昇するに従い、オフ電流が上昇していることがわかる。酸化物半導
体膜を半導体層として使用した場合のオフ電流は、測定時の基板温度が上昇してもオフ電
流を1pA、即ち1×10−12A以下になっていることがわかる。
ここで、オフ電流(Ioff)の温度依存性について以下に考察する。
薄膜トランジスタのオフ電流は電子と正孔の生成(以下、キャリアの生成という)、及び
電子と正孔の再結合(以下、キャリアの再結合という)により電流が流れることが一般的
に知られている。また、キャリアの再結合としては、電子が価電子帯(Ev)から伝導帯
(Ec)へ励起される直接再結合と、バンドギャップ(Eg)内の局在準位(Et)を介
して励起される間接再結合がある。
バンドギャップが狭い半導体の場合、電子が励起される熱エネルギーが少なくてすむため
、直接再結合も間接再結合も起こりやすいが、酸化物半導体のようにバンドギャップ(E
g)が広い半導体の場合は、電子の励起には大きな熱エネルギーが必要なため、直接再結
合も間接再結合も起こりにくいと仮定した。
また、バンドギャップが広いと、半導体の真性キャリア濃度が極端に少なくなり、キャリ
ア総数も極めて少なくなる。キャリア総数が少ない結果として、キャリアの生成、キャリ
アの再結合の確率も減少するため、オフ電流が小さくなると仮定した。
異なるバンドギャップ(Eg)を持つ半導体にて薄膜トランジスタのオフ電流の温度依存
について計算することを試みた。
計算で仮定した構造を図5に示す。ゲート電極層701としてタングステン層を100n
mの厚さで形成し、ゲート電極層701上に、ゲート絶縁層702として、酸化窒化層を
100nmの厚さで形成し、ゲート絶縁層702上に、半導体層703を30nmの厚さ
で形成し、半導体層703上に、ソース電極層704及びドレイン電極層705を形成し
た薄膜トランジスタを仮定した。
TFTのサイズはL/W=10/1μmとした。半導体のバンドギャップEg=1.1e
V、1.8eV、3.15eVの3種類とし、酸化物半導体はバンドギャップEg=3.
15eVと想定している。また、電子親和力χ=4.3eVと仮定し、ソース電極層70
4及びドレイン電極層705に使用する金属の仕事関数は酸化物半導体の電子親和力と同
じ4.3eVと仮定した。また、温度T=25℃、100℃、150℃の3条件の温度に
て計算を行った。なお、計算にはSilvaco社製デバイスシミュレーションソフトA
tlasを使用した。
アモルファス半導体では欠陥準位が温度特性に強く影響すると考え、計算では、直接再結
合のみを仮定した場合と、直接再結合と間接再結合の両方を仮定した場合について実施し
た。なお、間接再結合の準位はバンドギャップの中央に仮定した。計算で仮定した構造を
図6(A)、及び図6(B)に示す。直接再結合のみを仮定した図6(A)と、直接再結
合と間接再結合の両方を仮定した図6(B)の2種類にて計算した。
図6(A)、及び図6(B)の図中「Ev」は価電子帯、「Ec」は伝導体、「Et」は
局在準位を示す。また、実線はキャリアの生成、破線はキャリアの再結合を想定している
計算結果を図29に示す。図29は、バンドギャップ(Eg)=1.1eVと仮定した場
合の計算結果であり、図29(A)は直接再結合のみを仮定した場合の計算結果、図29
(B)は直接再結合と間接再結合の両方を仮定した場合の計算結果である。
なお、図29(A)中に示す、スペクトル201は25℃、スペクトル202は100℃
、スペクトル203は150℃を仮定した場合の計算結果であり、図29(B)中に示す
、スペクトル301は25℃、スペクトル302は100℃、スペクトル303は150
℃を仮定した場合の計算結果である。
計算結果を図30に示す。図30は、バンドギャップ(Eg)=1.8eVと仮定した場
合の計算結果であり、図30(A)は直接再結合のみを仮定した場合の計算結果、図30
(B)は直接再結合と間接再結合の両方を仮定した場合の計算結果である。
なお、図30(A)中に示す、スペクトル311は25℃、スペクトル312は100℃
、スペクトル313は150℃を仮定した場合の計算結果であり、図30(B)中に示す
、スペクトル321は25℃、スペクトル322は100℃、スペクトル323は150
℃を仮定した場合の計算結果である。
計算結果を図31に示す。図31は、バンドギャップ(Eg)=3.15eVと仮定した
場合の計算結果であり、図31(A)は直接再結合のみを仮定した場合の計算結果、図3
1(B)は直接再結合と間接再結合の両方を仮定した場合の計算結果である。
なお、図31(A)中に示す、スペクトル451は25℃、スペクトル452は100℃
、スペクトル453は150℃を仮定した場合の計算結果であり、図31(B)中に示す
、スペクトル461は25℃、スペクトル462は100℃、スペクトル463は150
℃を仮定した場合の計算結果である。
図29(B)から、バンドギャップ(Eg)=1.1eVと仮定した場合、25℃時では
、1×10−13A以上のオフ電流が確認され、150℃の時では1×10−10A以上
のオフ電流が確認されており、温度依存性があることがわかる。
図30(B)から、バンドギャップ(Eg)=1.8eVと仮定した場合、図29(B)
のバンドギャップ(Eg)=1.1eVと比較し、25℃時のオフ電流は1×10−16
A以下、150℃の時では1×10−13A以下のオフ電流が確認されており、温度依存
性があることがわかる。
図31(B)から、バンドギャップ(Eg)=3.15eVと仮定した場合、図29(B
)のバンドギャップ(Eg)=1.1eV、及び、図30(B)のバンドギャップ(Eg
)=1.8eVと比較し、計算した3条件の温度25℃、100℃、150℃において、
1×10−16A以下のオフ電流となっており、温度依存性はない結果が得られている。
以上のように、バンドギャップが狭い半導体の場合、電子が励起される熱エネルギーが少
なくてすむため、直接再結合も間接再結合も起こりやすいが、酸化物半導体のようにバン
ドギャップ(Eg)が広い半導体の場合は、電子の励起には大きな熱エネルギーが必要な
ため、直接再結合も間接再結合も起こりにくい計算結果が得られている。
本実施の形態は、他の実施の形態に記載した構成と適宜組み合わせて実施することが可能
である。
(実施の形態2)
本実施の形態では、同一基板上に少なくとも駆動回路の一部と、画素部に配置する薄膜ト
ランジスタを作製する例について以下に説明する。
画素部に配置する薄膜トランジスタは、実施の形態1に従って形成する。また、実施の形
態1に示す薄膜トランジスタはnチャネル型TFTであるため、駆動回路のうち、nチャ
ネル型TFTで構成することができる駆動回路の一部を画素部の薄膜トランジスタと同一
基板上に形成する。
アクティブマトリクス型表示装置のブロック図の一例を図7(A)に示す。表示装置の基
板上5300には、画素部5301、第1の走査線駆動回路5302、第2の走査線駆動
回路5303、信号線駆動回路5304を有する。画素部5301には、複数の信号線が
信号線駆動回路5304から延伸して配置され、複数の走査線が第1の走査線駆動回路5
302、及び走査線駆動回路5303から延伸して配置されている。なお走査線と信号線
との交差領域には、各々、表示素子を有する画素がマトリクス状に配置されている。また
、表示装置の基板5300はFPC(Flexible Printed Circui
t)等の接続部を介して、タイミング制御回路5305(コントローラ、制御ICともい
う)に接続されている。
図7(A)では、第1の走査線駆動回路5302、第2の走査線駆動回路5303、信号
線駆動回路5304は、画素部5301と同じ基板5300上に形成される。そのため、
外部に設ける駆動回路等の部品の数が減るので、コストの低減を図ることができる。また
、基板5300外部に駆動回路を設けた場合の配線を延伸させることによる接続部での接
続数を減らすことができ、信頼性の向上、または歩留まりの向上を図ることができる。
なお、タイミング制御回路5305は、第1の走査線駆動回路5302に対し、一例とし
て、第1の走査線駆動回路用スタート信号(GSP1)(スタートパルス)、走査線駆動
回路用クロック信号(GCK1)を供給する。また、タイミング制御回路5305は、第
2の走査線駆動回路5303に対し、一例として、第2の走査線駆動回路用スタート信号
(GSP2)(スタートパルスともいう)、走査線駆動回路用クロック信号(GCK2)
を供給する。信号線駆動回路5304に対し、一例として、信号線駆動回路用スタート信
号(SSP)、信号線駆動回路用クロック信号(SCK)、ビデオ信号用データ(DAT
A)(単にビデオ信号ともいう)、ラッチ信号(LAT)を供給するものとする。なお各
クロック信号(GCK1、GCK2、SCK)は、周期のずれた複数のクロック信号でも
よいし、クロック信号を反転させた信号(CKB)とともに供給されるものであってもよ
い。なお、第1の走査線駆動回路5302と第2の走査線駆動回路5303の一方を省略
することが可能である。
図7(B)では、駆動周波数が低い回路(例えば、第1の走査線駆動回路5302、第2
の走査線駆動回路5303)を画素部5301と同じ基板5300に形成し、信号線駆動
回路5304を画素部5301とは別の基板に形成する構成について示している。当該構
成により、単結晶半導体を用いたトランジスタと比較すると電界効果移動度が小さい薄膜
トランジスタによって、基板5300に形成する駆動回路を構成することができる。した
がって、表示装置の大型化、工程数の削減、コストの低減、又は歩留まりの向上などを図
ることができる。
また、実施の形態1に示す薄膜トランジスタは、nチャネル型TFTである。図8(A)
、図8(B)ではnチャネル型TFTで構成する信号線駆動回路の構成、動作について一
例を示し説明する。
信号線駆動回路は、シフトレジスタ5601、及びスイッチング回路部5602を有する
。スイッチング回路部5602は、スイッチング回路5602_1〜5602_N(Nは
自然数)という複数の回路を有する。スイッチング回路5602_1〜5602_Nは、
各々、薄膜トランジスタ5603_1〜5603_k(kは自然数)という複数のトラン
ジスタを有する。薄膜トランジスタ5603_1〜5603_kは、nチャネル型TFT
である例を説明する。
信号線駆動回路の接続関係について、スイッチング回路5602_1を例にして説明する
。薄膜トランジスタ5603_1〜5603_kの第1端子は、各々、配線5604_1
〜5604_kと接続される。薄膜トランジスタ5603_1〜5603_kの第2端子
は、各々、信号線S1〜Skと接続される。薄膜トランジスタ5603_1〜5603_
kのゲートは、配線5605_1と接続される。
シフトレジスタ5601は、配線5605_1〜5605_Nに順番にHレベル(H信号
、高電源電位レベル、ともいう)の信号を出力し、スイッチング回路5602_1〜56
02_Nを順番に選択する機能を有する。
スイッチング回路5602_1は、配線5604_1〜5604_kと信号線S1〜Sk
との導通状態(第1端子と第2端子との間の導通)を制御する機能、即ち配線5604_
1〜5604_kの電位を信号線S1〜Skに供給するか否かを制御する機能を有する。
このように、スイッチング回路5602_1は、セレクタとしての機能を有する。また薄
膜トランジスタ5603_1〜5603_Nは、各々、配線5604_1〜5604_k
と信号線S1〜Skとの導通状態を制御する機能、即ち配線5604_1〜5604_k
の電位を信号線S1〜Skに供給する機能を有する。このように、薄膜トランジスタ56
03_1〜5603_Nは、各々、スイッチとしての機能を有する。
なお、配線5604_1〜5604_kには、各々、ビデオ信号用データ(DATA)が
入力される。ビデオ信号用データ(DATA)は、画像情報又は画像信号に応じたアナロ
グ信号である場合が多い。
次に、図8(A)の信号線駆動回路の動作について、図8(B)のタイミングチャートを
参照して説明する。図8(B)には、信号Sout_1〜Sout_N、及び信号Vda
ta_1〜Vdata_kの一例を示す。信号Sout_1〜Sout_Nは、各々、シ
フトレジスタ5601の出力信号の一例であり、信号Vdata_1〜Vdata_kは
、各々、配線5604_1〜5604_kに入力される信号の一例である。なお、信号線
駆動回路の1動作期間は、表示装置における1ゲート選択期間に対応する。1ゲート選択
期間は、一例として、期間T1〜期間TNに分割される。期間T1〜TNは、各々、選択
された行に属する画素にビデオ信号用データ(DATA)を書き込むための期間である。
なお、本実施の形態の図面等において示す各構成の、信号波形のなまり等は、明瞭化のた
めに誇張して表記している場合がある。よって、必ずしもそのスケールに限定されないも
のであることを付記する。
期間T1〜期間TNにおいて、シフトレジスタ5601は、Hレベルの信号を配線560
5_1〜5605_Nに順番に出力する。例えば、期間T1において、シフトレジスタ5
601は、ハイレベルの信号を配線5605_1に出力する。すると、薄膜トランジスタ
5603_1〜5603_kはオンになるので、配線5604_1〜5604_kと、信
号線S1〜Skとが導通状態になる。このとき、配線5604_1〜5604_kには、
Data(S1)〜Data(Sk)が入力される。Data(S1)〜Data(Sk
)は、各々、薄膜トランジスタ5603_1〜5603_kを介して、選択される行に属
する画素のうち、1列目〜k列目の画素に書き込まれる。こうして、期間T1〜TNにお
いて、選択された行に属する画素に、k列ずつ順番にビデオ信号用データ(DATA)が
書き込まれる。
以上のように、ビデオ信号用データ(DATA)が複数の列ずつ画素に書き込まれること
によって、ビデオ信号用データ(DATA)の数、又は配線の数を減らすことができる。
よって、外部回路との接続数を減らすことができる。また、ビデオ信号が複数の列ずつ画
素に書き込まれることによって、書き込み時間を長くすることができ、ビデオ信号の書き
込み不足を防止することができる。
なお、シフトレジスタ5601及びスイッチング回路部5602としては、実施の形態1
に示す薄膜トランジスタで構成される回路を用いることが可能である。この場合、シフト
レジスタ5601が有する全てのトランジスタの極性をnチャネル型で構成することがで
きる。
次に、走査線駆動回路の構成について説明する。走査線駆動回路は、シフトレジスタ、バ
ッファを有している。また場合によってはレベルシフタを有していても良い。走査線駆動
回路において、シフトレジスタにクロック信号(CK)及びスタートパルス信号(SP)
が入力されることによって、選択信号が生成される。生成された選択信号はバッファにお
いて緩衝増幅され、対応する走査線に供給される。走査線には、1ライン分の画素のトラ
ンジスタのゲート電極が接続されている。そして、1ライン分の画素のトランジスタを一
斉にONにしなくてはならないので、バッファは大きな電流を流すことが可能なものが用
いられる。
走査線駆動回路及び/または信号線駆動回路の一部に用いるシフトレジスタの一形態につ
いて図9及び図10を用いて説明する。
走査線駆動回路、信号線駆動回路のシフトレジスタについて、図9及び図10を参照して
説明する。シフトレジスタは、第1のパルス出力回路10_1乃至第Nのパルス出力回路
10_N(Nは3以上の自然数)を有している(図9(A)参照)。図9(A)に示すシ
フトレジスタの第1のパルス出力回路10_1乃至第Nのパルス出力回路10_Nには、
第1の配線11より第1のクロック信号CK1、第2の配線12より第2のクロック信号
CK2、第3の配線13より第3のクロック信号CK3、第4の配線14より第4のクロ
ック信号CK4が供給される。また第1のパルス出力回路10_1では、第5の配線15
からのスタートパルスSP1(第1のスタートパルス)が入力される。また2段目以降の
第nのパルス出力回路10_n(nは、2以上N以下の自然数)では、一段前段のパルス
出力回路からの信号(前段信号OUT(n−1)という)(nは2以上の自然数)が入力
される。また第1のパルス出力回路10_1では、2段後段の第3のパルス出力回路10
_3からの信号、または2段目以降の第nのパルス出力回路10_nでは、2段後段の第
(n+2)のパルス出力回路10_n+2からの信号(後段信号OUT(n+2)という
)が入力される。また各段のパルス出力回路からは、前段及び/または後段のパルス出力
回路に入力するための第1の出力信号OUT(1)(SR)、別の配線等に第2の出力信
号OUT(1)が出力される。なお、図9(A)に示すように、シフトレジスタの最終段
の2つの段には、後段信号OUT(n+2)が入力されないため、一例としては、別途第
2のスタートパルスSP2、第3のスタートパルスSP3をそれぞれ入力する構成とすれ
ばよい。
なお、クロック信号(CK)は、一定の間隔でHレベルとLレベル(L信号、低電源電位
レベル、ともいう)を繰り返す信号である。ここで、第1のクロック信号(CK1)〜第
4のクロック信号(CK4)は、順に1/4周期分遅延している。本実施の形態では、第
1のクロック信号(CK1)〜第4のクロック信号(CK4)を利用して、パルス出力回
路の駆動の制御等を行う。なお、クロック信号は、入力される駆動回路に応じて、GCK
、SCKということもあるが、ここではCKとして説明を行う。
第1の入力端子21、第2の入力端子22及び第3の入力端子23は、第1の配線11
〜第4の配線14のいずれかと電気的に接続されている。例えば、図9(B)において、
第1のパルス出力回路10_1は、第1の入力端子21が第1の配線11と電気的に接続
され、第2の入力端子22が第2の配線12と電気的に接続され、第3の入力端子23が
第3の配線13と電気的に接続されている。また、第2のパルス出力回路10_2は、第
1の入力端子21が第2の配線12と電気的に接続され、第2の入力端子22が第3の配
線13と電気的に接続され、第3の入力端子23が第4の配線14と電気的に接続されて
いる。
第1のパルス出力回路10_1〜第Nのパルス出力回路10_Nの各々は、第1の入力端
子21、第2の入力端子22、第3の入力端子23、第4の入力端子24、第5の入力端
子25、第1の出力端子26、第2の出力端子27を有しているとする(図9(B)参照
)。第1のパルス出力回路10_1において、第1の入力端子21に第1のクロック信号
CK1が入力され、第2の入力端子22に第2のクロック信号CK2が入力され、第3の
入力端子23に第3のクロック信号CK3が入力され、第4の入力端子24にスタートパ
ルスSP1が入力され、第5の入力端子25に後段信号OUT(3)が入力され、第1の
出力端子26より第1の出力信号OUT(1)(SR)が出力され、第2の出力端子27
より第2の出力信号OUT(1)が出力されていることとなる。
なお第1のパルス出力回路10_1〜第Nのパルス出力回路10_Nは、3端子の薄膜ト
ランジスタの他に、4端子の薄膜トランジスタを用いることができる。図9(C)に示す
トランジスタ28は、上記実施の形態1で説明した4端子の薄膜トランジスタを意味し、
図面等で以下用いることとする。トランジスタ28は、第1のゲート電極に入力される第
1の制御信号G1及び第2のゲート電極に入力される第2の制御信号G2によって、In
端子とOut端子間の電気的な制御を行うことのできる素子である。
図9(C)に示すトランジスタ28のしきい値電圧は、トランジスタ28のチャネル形成
領域の上下にゲート絶縁膜を介してゲート電極を設け、上部及び/または下部のゲート電
極の電位を制御することにより所望の値に制御することができる。
次に、パルス出力回路の具体的な回路構成の一例について、図9(D)で説明する。
第1のパルス出力回路10_1は、第1のトランジスタ31〜第13のトランジスタ4
3を有している(図9(D)参照)。また、上述した第1の入力端子21〜第5の入力端
子25、及び第1の出力端子26、第2の出力端子27に加え、第1の高電源電位VDD
が供給される電源線51、第2の高電源電位VCCが供給される電源線52、低電源電位
VSSが供給される電源線53から、第1のトランジスタ31〜第13のトランジスタ4
3に信号、または電源電位が供給される。ここで図9(D)の各電源線の電源電位の大小
関係は、第1の電源電位VDD>第2の電源電位VCC>第3の電源電位VSSとする。
なお、第1のクロック信号(CK1)〜第4のクロック信号(CK4)は、一定の間隔で
HレベルとLレベルを繰り返す信号であるが、HレベルのときVDD、LレベルのときV
SSであるとする。なお電源線52の電位VCCを、電源線51の電位VDDより低くす
ることにより、動作に影響を与えることなく、トランジスタのゲート電極に印加される電
位を低く抑えることができ、トランジスタのしきい値のシフトを低減し、劣化を抑制する
ことができる。なお図9(D)に図示するように、第1のトランジスタ31〜第13のト
ランジスタ43のうち、第1のトランジスタ31、第6のトランジスタ36乃至第9のト
ランジスタ39には、図9(C)で示した4端子のトランジスタ28を用いることが好ま
しい。第1のトランジスタ31、第6のトランジスタ36乃至第9のトランジスタ39の
動作は、ソースまたはドレインとなる電極の一方が接続されたノードの電位を、ゲート電
極の制御信号によって切り替えることが求められるトランジスタであり、ゲート電極に入
力される制御信号に対する応答が速い(オン電流の立ち上がりが急峻)ことでよりパルス
出力回路の誤動作を低減することができるトランジスタである。そのため、図9(C)で
示した4端子のトランジスタ28を用いることによりしきい値電圧を制御することができ
、誤動作がより低減できるパルス出力回路とすることができる。なお図9(C)では第1
の制御信号G1及び第2の制御信号G2を同じ制御信号としたが、異なる制御信号が入力
される構成としてもよい。
図9(D)において第1のトランジスタ31は、第1端子が電源線51に電気的に接続
され、第2端子が第9のトランジスタ39の第1端子に電気的に接続され、ゲート電極(
第1のゲート電極及び第2のゲート電極)が第4の入力端子24に電気的に接続されてい
る。第2のトランジスタ32は、第1端子が電源線53に電気的に接続され、第2端子が
第9のトランジスタ39の第1端子に電気的に接続され、ゲート電極が第4のトランジス
タ34のゲート電極に電気的に接続されている。第3のトランジスタ33は、第1端子が
第1の入力端子21に電気的に接続され、第2端子が第1の出力端子26に電気的に接続
されている。第4のトランジスタ34は、第1端子が電源線53に電気的に接続され、第
2端子が第1の出力端子26に電気的に接続されている。第5のトランジスタ35は、第
1端子が電源線53に電気的に接続され、第2端子が第2のトランジスタ32のゲート電
極及び第4のトランジスタ34のゲート電極に電気的に接続され、ゲート電極が第4の入
力端子24に電気的に接続されている。第6のトランジスタ36は、第1端子が電源線5
2に電気的に接続され、第2端子が第2のトランジスタ32のゲート電極及び第4のトラ
ンジスタ34のゲート電極に電気的に接続され、ゲート電極(第1のゲート電極及び第2
のゲート電極)が第5の入力端子25に電気的に接続されている。第7のトランジスタ3
7は、第1端子が電源線52に電気的に接続され、第2端子が第8のトランジスタ38の
第2端子に電気的に接続され、ゲート電極(第1のゲート電極及び第2のゲート電極)が
第3の入力端子23に電気的に接続されている。第8のトランジスタ38は、第1端子が
第2のトランジスタ32のゲート電極及び第4のトランジスタ34のゲート電極に電気的
に接続され、ゲート電極(第1のゲート電極及び第2のゲート電極)が第2の入力端子2
2に電気的に接続されている。第9のトランジスタ39は、第1端子が第1のトランジス
タ31の第2端子及び第2のトランジスタ32の第2端子に電気的に接続され、第2端子
が第3のトランジスタ33のゲート電極及び第10のトランジスタ40のゲート電極に電
気的に接続され、ゲート電極(第1のゲート電極及び第2のゲート電極)が電源線52に
電気的に接続されている。第10のトランジスタ40は、第1端子が第1の入力端子21
に電気的に接続され、第2端子が第2の出力端子27に電気的に接続され、ゲート電極が
第9のトランジスタ39の第2端子に電気的に接続されている。第11のトランジスタ4
1は、第1端子が電源線53に電気的に接続され、第2端子が第2の出力端子27に電気
的に接続され、ゲート電極が第2のトランジスタ32のゲート電極及び第4のトランジス
タ34のゲート電極に電気的に接続されている。第12のトランジスタ42は、第1端子
が電源線53に電気的に接続され、第2端子が第2の出力端子27に電気的に接続され、
ゲート電極が第7のトランジスタ37のゲート電極(第1のゲート電極及び第2のゲート
電極)に電気的に接続されている。第13のトランジスタ43は、第1端子が電源線53
に電気的に接続され、第2端子が第1の出力端子26に電気的に接続され、ゲート電極が
第7のトランジスタ37のゲート電極(第1のゲート電極及び第2のゲート電極)に電気
的に接続されている。
図9(D)において、第3のトランジスタ33のゲート電極、第10のトランジスタ4
0のゲート電極、及び第9のトランジスタ39の第2端子の接続箇所をノードAとする。
また、第2のトランジスタ32のゲート電極、第4のトランジスタ34のゲート電極、第
5のトランジスタ35の第2端子、第6のトランジスタ36の第2端子、第8のトランジ
スタ38の第1端子、及び第11のトランジスタ41のゲート電極との接続箇所をノード
Bとする(図10(A)参照)。
なお、薄膜トランジスタとは、ゲートと、ドレインと、ソースとを含む少なくとも三つの
端子を有する素子であり、ドレイン領域とソース領域の間にチャネル領域を有しており、
ドレイン領域とチャネル領域とソース領域とを介して電流を流すことが出来る。ここで、
ソースとドレインとは、薄膜トランジスタの構造や動作条件等によって変わるため、いず
れがソースまたはドレインであるかを限定することが困難である。そこで、ソース及びド
レインとして機能する領域を、ソースもしくはドレインと呼ばない場合がある。その場合
、一例としては、それぞれを第1端子、第2端子と表記する場合がある。
なお図9(D)、図10(A)において、ノードAを浮遊状態とすることによりブートス
トラップ動作を行うための、容量素子を別途設けても良い。またノードBの電位を保持す
るため、一方の電極をノードBに電気的に接続した容量素子を別途設けてもよい。
ここで、図10(A)に示したパルス出力回路を複数具備するシフトレジスタのタイミン
グチャートについて図10(B)に示す。なおシフトレジスタが走査線駆動回路である場
合、図10(B)中の期間61は垂直帰線期間であり、期間62はゲート選択期間に相当
する。
なお、図10(A)に示すように、ゲートに第2の電源電位VCCが印加される第9のト
ランジスタ39を設けておくことにより、ブートストラップ動作の前後において、以下の
ような利点がある。
ゲート電極に第2の電位VCCが印加される第9のトランジスタ39がない場合、ブート
ストラップ動作によりノードAの電位が上昇すると、第1のトランジスタ31の第2端子
であるソースの電位が上昇していき、第1の電源電位VDDより大きくなる。そして、第
1のトランジスタ31のソースが第1端子側、即ち電源線51側に切り替わる。そのため
、第1のトランジスタ31においては、ゲートとソースの間、ゲートとドレインの間とも
に、大きなバイアス電圧が印加されるために大きなストレスがかかり、トランジスタの劣
化の要因となりうる。そこで、ゲート電極に第2の電源電位VCCが印加される第9のト
ランジスタ39を設けておくことにより、ブートストラップ動作によりノードAの電位は
上昇するものの、第1のトランジスタ31の第2端子の電位の上昇を生じないようにする
ことができる。つまり、第9のトランジスタ39を設けることにより、第1のトランジス
タ31のゲートとソースの間に印加される負のバイアス電圧の値を小さくすることができ
る。よって、本実施の形態の回路構成とすることにより、第1のトランジスタ31のゲー
トとソースの間に印加される負のバイアス電圧も小さくできるため、ストレスによる第1
のトランジスタ31の劣化を抑制することができる。
なお、第9のトランジスタ39を設ける箇所については、第1のトランジスタ31の第2
端子と第3のトランジスタ33のゲートとの間に第1端子と第2端子を介して接続される
ように設ける構成であればよい。なお、本実施形態でのパルス出力回路を複数具備するシ
フトレジスタの場合、走査線駆動回路より段数の多い信号線駆動回路では、第9のトラン
ジスタ39を省略してもよく、トランジスタ数を削減することが利点である。
なお第1のトランジスタ31乃至第13のトランジスタ43の半導体層として、酸化物半
導体を用いることにより、薄膜トランジスタのオフ電流を低減すると共に、オン電流及び
電界効果移動度を高めることができ、劣化の度合いを低減することが出来るため、回路内
の誤動作を低減することができる。また酸化物半導体を用いたトランジスタは、アモルフ
ァスシリコンを用いたトランジスタに比べ、ゲート電極に高電位が印加されることによる
トランジスタの劣化の程度が小さい。そのため、第2の電源電位VCCを供給する電源線
に、第1の電源電位VDDを供給しても同様の動作が得られ、且つ回路間を引き回す電源
線の数を低減することができるため、回路の小型化を図ることが出来る。
なお、第7のトランジスタ37のゲート電極(第1のゲート電極及び第2のゲート電極)
に第3の入力端子23によって供給されるクロック信号、第8のトランジスタ38のゲー
ト電極(第1のゲート電極及び第2のゲート電極)に第2の入力端子22によって供給さ
れるクロック信号は、第7のトランジスタ37のゲート電極(第1のゲート電極及び第2
のゲート電極)に第2の入力端子22によって供給されるクロック信号、第8のトランジ
スタ38のゲート電極(第1のゲート電極及び第2のゲート電極)に第3の入力端子23
によって供給されるクロック信号となるように、結線関係を入れ替えても同様の作用を奏
する。なお、図10(A)に示すシフトレジスタにおいて、第7のトランジスタ37及び
第8のトランジスタ38が共にオンの状態から、第7のトランジスタ37がオフ、第8の
トランジスタ38がオンの状態、次いで第7のトランジスタ37がオフ、第8のトランジ
スタ38がオフの状態とすることによって、第2の入力端子22及び第3の入力端子23
の電位が低下することで生じる、ノードBの電位の低下が第7のトランジスタ37のゲー
ト電極の電位の低下、及び第8のトランジスタ38のゲート電極の電位の低下に起因して
2回生じることとなる。一方、図10(A)に示すシフトレジスタを図10(B)の期間
のように、第7のトランジスタ37及び第8のトランジスタ38が共にオンの状態から、
第7のトランジスタ37がオン、第8のトランジスタ38がオフの状態、次いで、第7の
トランジスタ37がオフ、第8のトランジスタ38がオフの状態とすることによって、第
2の入力端子22及び第3の入力端子23の電位が低下することで生じるノードBの電位
の低下を、第8のトランジスタ38のゲート電極の電位の低下による一回に低減すること
ができる。そのため、第7のトランジスタ37のゲート電極(第1のゲート電極及び第2
のゲート電極)に第3の入力端子によって供給されるクロック信号、第8のトランジスタ
38のゲート電極(第1のゲート電極及び第2のゲート電極)に第2の入力端子によって
供給されるクロック信号とすることによって、ノードBの電位の変動を小さくすることで
、ノイズを低減することが出来るため好適である。
このように、第1の出力端子26及び第2の出力端子27の電位をLレベルに保持する
期間に、ノードBに定期的にHレベルの信号が供給される構成とすることにより、パルス
出力回路の誤動作を抑制することができる。
実施の形態1に示す薄膜トランジスタの作製方法を用いて上記駆動回路の薄膜トランジス
タを作製することにより、駆動回路部の薄膜トランジスタの高速動作を実現し、省電力化
を図ることができる。
本実施の形態は、他の実施の形態に記載した構成と適宜組み合わせて実施することが可能
である。
(実施の形態3)
本実施の形態では、薄膜トランジスタを作製し、該薄膜トランジスタを画素部、さらには
駆動回路に用いて表示機能を有する半導体装置(表示装置ともいう)を作製する場合につ
いて説明する。また、薄膜トランジスタを用いて、駆動回路の一部または全体を、画素部
と同じ基板上に一体形成し、システムオンパネルを形成することができる。
表示装置は表示素子を含む。表示素子としては液晶素子(液晶表示素子ともいう)、発光
素子(発光表示素子ともいう)を用いることができる。発光素子は、電流または電圧によ
って輝度が制御される素子をその範疇に含んでおり、具体的には無機EL(Electr
o Luminescence)、有機EL等が含まれる。また、電子インクなど、電気
的作用によりコントラストが変化する表示媒体も適用することができる。
また、表示装置は、表示素子が封止された状態にあるパネルと、該パネルにコントローラ
を含むIC等を実装した状態にあるモジュールとを含む。さらに表示装置において、該表
示装置を作製する過程における、表示素子が完成する前の一形態に相当する素子基板が、
電流を表示素子に供給するための手段を複数の各画素に備える。素子基板は、具体的には
、表示素子の画素電極のみが形成された状態であっても良いし、画素電極となる導電膜を
成膜した後であって、エッチングして画素電極を形成する前の状態であっても良いし、あ
らゆる形態があてはまる。
なお、本明細書中における表示装置とは、画像表示デバイス、もしくは光源(照明装置含
む)を指す。また、コネクター、例えばFPC(Flexible printed c
ircuit)もしくはTAB(Tape Automated Bonding)テー
プもしくはTCP(Tape Carrier Package)が取り付けられたモジ
ュール、TABテープやTCPの先にプリント配線板が設けられたモジュール、または表
示素子にCOG(Chip On Glass)方式によりIC(集積回路)が直接実装
されたモジュールも全て表示装置に含むものとする。
本実施の形態では、本発明の一形態である半導体装置として液晶表示装置の例を示す。ま
ず、半導体装置の一形態に相当する液晶表示パネルの外観及び断面について、図11を用
いて説明する。図11は、第1の基板4001上に形成されたIn−Ga−Zn−O系非
単結晶膜を半導体層として含む信頼性の高い薄膜トランジスタ4010、4011、及び
液晶素子4013を、第2の基板4006との間にシール材4005によって封止した、
パネルの上面図であり、図11(B)は、図11(A1)(A2)のM−Nにおける断面
図に相当する。
第1の基板4001上に設けられた画素部4002と、走査線駆動回路4004とを囲む
ようにして、シール材4005が設けられている。また画素部4002と、走査線駆動回
路4004の上に第2の基板4006が設けられている。よって画素部4002と、走査
線駆動回路4004とは、第1の基板4001とシール材4005と第2の基板4006
とによって、液晶層4008と共に封止されている。また第1の基板4001上のシール
材4005によって囲まれている領域とは異なる領域に、別途用意された基板上に単結晶
半導体膜又は多結晶半導体膜で形成された信号線駆動回路4003が実装されている。
なお、別途形成した駆動回路の接続方法は、特に限定されるものではなく、COG方法、
ワイヤボンディング方法、或いはTAB方法などを用いることができる。図11(A1)
は、COG方法により信号線駆動回路4003を実装する例であり、図11(A2)は、
TAB方法により信号線駆動回路4003を実装する例である。
また、第1の基板4001上に設けられた画素部4002と、走査線駆動回路4004は
、薄膜トランジスタを複数有しており、図11(B)では、画素部4002に含まれる薄
膜トランジスタ4010と、走査線駆動回路4004に含まれる薄膜トランジスタ401
1とを例示している。薄膜トランジスタ4010、4011上には絶縁層4020、40
21が設けられている。
薄膜トランジスタ4010、4011は、実施の形態1で示した酸化物半導体層を含む信
頼性の高い薄膜トランジスタを適用することができる。本実施の形態において、薄膜トラ
ンジスタ4010、4011はnチャネル型薄膜トランジスタである。
絶縁層4021上において、駆動回路用の薄膜トランジスタ4011の酸化物半導体層の
チャネル形成領域と重なる位置に導電層4040が設けられている。導電層4040を酸
化物半導体層のチャネル形成領域と重なる位置に設けることによって、BT試験前後にお
ける薄膜トランジスタ4011のしきい値電圧の変化量を低減することができる。また、
導電層4040は、薄膜トランジスタ4011のゲート電極層と同じ電位でもよいし、異
なる電位でも良く、第2のゲート電極層として機能させることもできる。また、導電層4
040の電位がGND、0V、或いはフローティング状態であってもよい。
また、液晶素子4013が有する画素電極層4030は、薄膜トランジスタ4010と電
気的に接続されている。そして液晶素子4013の対向電極層4031は第2の基板40
06上に形成されている。画素電極層4030と対向電極層4031と液晶層4008と
が重なっている部分が、液晶素子4013に相当する。なお、画素電極層4030、対向
電極層4031はそれぞれ配向膜として機能する絶縁層4032、絶縁層4033が設け
られ、絶縁層4032、絶縁層4033を介して液晶層4008を挟持している。
なお、第1の基板4001、第2の基板4006としては、ガラス、金属(代表的にはス
テンレス)、セラミックス、プラスチックを用いることができる。プラスチックとしては
、FRP(Fiberglass−Reinforced Plastics)板、PV
F(ポリビニルフルオライド)フィルム、ポリエステルフィルムまたはアクリル樹脂フィ
ルムを用いることができる。また、アルミニウムホイルをPVFフィルムやポリエステル
フィルムで挟んだ構造のシートを用いることもできる。
また、スペーサ4035は絶縁膜を選択的にエッチングすることで得られる柱状のスペー
サであり、画素電極層4030と対向電極層4031との間の距離(セルギャップ)を制
御するために設けられている。なお球状のスペーサを用いても良い。また、対向電極層4
031は、薄膜トランジスタ4010と同一基板上に設けられる共通電位線と電気的に接
続される。共通接続部を用いて、一対の基板間に配置される導電性粒子を介して対向電極
層4031と共通電位線とを電気的に接続することができる。なお、導電性粒子はシール
材4005に含有させる。
また、配向膜を用いないブルー相を示す液晶を用いてもよい。ブルー相は液晶相の一つで
あり、コレステリック液晶を昇温していくと、コレステリック相から等方相へ転移する直
前に発現する相である。ブルー相は狭い温度範囲でしか発現しないため、温度範囲を改善
するために5重量%以上のカイラル剤を混合させた液晶組成物を液晶層4008に用いる
。ブルー相を示す液晶とカイラル剤とを含む液晶組成物は、応答速度が1msec以下と
短く、光学的等方性であるため配向処理が不要であり、視野角依存性が小さい。
なお、本実施の形態で示す液晶表示装置は透過型液晶表示装置の例であるが、液晶表示装
置は反射型液晶表示装置でも半透過型液晶表示装置でも適用できる。
また、本実施の形態で示す液晶表示装置では、基板の外側(視認側)に偏光板を設け、内
側に着色層、表示素子に用いる電極層という順に設ける例を示すが、偏光板は基板の内側
に設けてもよい。また、偏光板と着色層の積層構造も本実施の形態に限定されず、偏光板
及び着色層の材料や作製工程条件によって適宜設定すればよい。また、必要に応じてブラ
ックマトリクスとして機能する遮光膜を設けてもよい。
また、本実施の形態では、薄膜トランジスタの表面凹凸を低減するため、及び薄膜トラン
ジスタの信頼性を向上させるため、薄膜トランジスタを保護膜や平坦化絶縁膜として機能
する絶縁層(絶縁層4020、絶縁層4021)で覆う構成となっている。なお、保護膜
は、大気中に浮遊する有機物や金属物、水蒸気などの汚染不純物の侵入を防ぐためのもの
であり、緻密な膜が好ましい。保護膜は、スパッタリング法を用いて、酸化シリコン膜、
窒化シリコン膜、酸化窒化シリコン膜、窒化酸化シリコン膜、酸化アルミニウム膜、窒化
アルミニウム膜、酸化窒化アルミニウム膜、又は窒化酸化アルミニウム膜の単層、又は積
層で形成すればよい。本実施の形態では保護膜をスパッタリング法で形成する例を示すが
、特に限定されず種々の方法で形成すればよい。
ここでは、保護膜として積層構造の絶縁層4020を形成する。ここでは、絶縁層402
0の一層目として、スパッタリング法を用いて酸化シリコン膜を形成する。保護膜として
酸化シリコン膜を用いると、ソース電極層及びドレイン電極層として用いるアルミニウム
膜のヒロック防止に効果がある。
また、保護膜の二層目として絶縁層を形成する。ここでは、絶縁層4020の二層目とし
て、スパッタリング法を用いて窒化シリコン膜を形成する。保護膜として窒化シリコン膜
を用いると、ナトリウム等のイオンが半導体領域中に侵入して、TFTの電気特性を変化
させることを抑制することができる。
また、保護膜を形成した後に、半導体層のアニール(300℃〜400℃)を行ってもよ
い。
また、平坦化絶縁膜として絶縁層4021を形成する。絶縁層4021としては、ポリイ
ミド、アクリル、ベンゾシクロブテン、ポリアミド、エポキシ等の、耐熱性を有する有機
材料を用いることができる。また上記有機材料の他に、低誘電率材料(low−k材料)
、シロキサン系樹脂、PSG(リンガラス)、BPSG(リンボロンガラス)等を用いる
ことができる。なお、これらの材料で形成される絶縁膜を複数積層させることで、絶縁層
4021を形成してもよい。
なおシロキサン系樹脂とは、シロキサン系材料を出発材料として形成されたSi−O−S
i結合を含む樹脂に相当する。シロキサン系樹脂は置換基としては有機基(例えばアルキ
ル基やアリール基)やフルオロ基を用いても良い。また、有機基はフルオロ基を有してい
ても良い。
絶縁層4021の形成法は、特に限定されず、その材料に応じて、スパッタリング法、S
OG法、スピンコート、ディップ、スプレー塗布、液滴吐出法(インクジェット法、スク
リーン印刷、オフセット印刷等)、ドクターナイフ、ロールコーター、カーテンコーター
、ナイフコーター等を用いることができる。絶縁層4021として材料液を用いて形成す
る場合、ベークする工程で同時に、半導体層のアニール(300℃〜400℃)を行って
もよい。絶縁層4021の焼成工程と半導体層のアニールを兼ねることで効率よく半導体
装置を作製することが可能となる。
画素電極層4030、対向電極層4031は、酸化タングステンを含むインジウム酸化物
、酸化タングステンを含むインジウム亜鉛酸化物、酸化チタンを含むインジウム酸化物、
酸化チタンを含むインジウム錫酸化物、インジウム錫酸化物(以下、ITOと示す。)、
インジウム亜鉛酸化物、酸化ケイ素を添加したインジウム錫酸化物などの透光性を有する
導電性材料を用いることができる。
また、画素電極層4030、対向電極層4031を、導電性高分子(導電性ポリマーとも
いう)を含む導電性組成物を用いて形成することができる。導電性組成物を用いて形成し
た画素電極は、シート抵抗が10000Ω/□以下、波長550nmにおける透光率が7
0%以上であることが好ましい。また、導電性組成物に含まれる導電性高分子の抵抗率が
0.1Ω・cm以下であることが好ましい。
導電性高分子としては、いわゆるπ電子共役系導電性高分子が用いることができる。例え
ば、ポリアニリンまたはその誘導体、ポリピロールまたはその誘導体、ポリチオフェンま
たはその誘導体、若しくはこれらの2種以上の共重合体などがあげられる。
また別途形成された信号線駆動回路4003と、走査線駆動回路4004または画素部4
002に与えられる各種信号及び電位は、FPC4018から供給されている。
本実施の形態では、接続端子電極4015が、液晶素子4013が有する画素電極層40
30と同じ導電膜から形成され、端子電極4016は、薄膜トランジスタ4010、40
11のソース電極層及びドレイン電極層と同じ導電膜で形成されている。
接続端子電極4015は、FPC4018が有する端子と、異方性導電膜4019を介し
て電気的に接続されている。
また図11においては、信号線駆動回路4003を別途形成し、第1の基板4001に実
装している例を示しているが、本実施の形態はこの構成に限定されない。走査線駆動回路
を別途形成して実装しても良いし、信号線駆動回路の一部または走査線駆動回路の一部の
みを別途形成して実装しても良い。
図12は、半導体装置の一形態に相当する液晶表示モジュールにTFT基板2600を用
いて構成する一例を示している。
図12は液晶表示モジュールの一例であり、TFT基板2600と対向基板2601がシ
ール材2602により固着され、その間にTFT等を含む画素部2603、液晶層を含む
表示素子2604、着色層2605、偏光板2606が設けられ表示領域を形成している
。着色層2605はカラー表示を行う場合に必要であり、RGB方式の場合は、赤、緑、
青の各色に対応した着色層が各画素に対応して設けられている。TFT基板2600と対
向基板2601の外側には偏光板2606、偏光板2607、拡散板2613が配設され
ている。光源は冷陰極管2610と反射板2611により構成され、回路基板2612は
、フレキシブル配線基板2609によりTFT基板2600の配線回路部2608と接続
され、コントロール回路や電源回路などの外部回路が組みこまれている。また偏光板と、
液晶層との間に位相差板を有した状態で積層してもよい。
液晶表示モジュールには、TN(Twisted Nematic)モード、IPS(I
n−Plane−Switching)モード、FFS(Fringe Field S
witching)モード、MVA(Multi−domain Vertical A
lignment)モード、PVA(Patterned Vertical Alig
nment)、ASM(Axially Symmetric aligned Mic
ro−cell)モード、OCB(Optical Compensated Bire
fringence)モード、FLC(Ferroelectric Liquid C
rystal)モード、AFLC(AntiFerroelectric Liquid
Crystal)モードなどを用いることができる。
以上の工程により、半導体装置として信頼性の高い液晶表示装置を作製することができる
実施の形態1に示す薄膜トランジスタを用いて液晶表示装置の画素部の薄膜トランジスタ
を作製することにより、各画素の薄膜トランジスタのオフ電流の変動に起因する消費電力
増加を抑制することができる。
また、実施の形態1に示す薄膜トランジスタの作製方法を用いて液晶表示装置の駆動回路
の薄膜トランジスタを作製することにより、駆動回路部の薄膜トランジスタの高速動作を
実現し、省電力化を図ることができる。
本実施の形態は、他の実施の形態に記載した構成と適宜組み合わせて実施することが可能
である。
(実施の形態4)
半導体装置の一形態として電子ペーパーの例を示す。
実施の形態1の薄膜トランジスタは、スイッチング素子と電気的に接続する素子を利用し
て電子インクを駆動させる電子ペーパーに用いてもよい。電子ペーパーは、電気泳動表示
装置(電気泳動ディスプレイ)とも呼ばれており、紙と同じ読みやすさ、他の表示装置に
比べ低消費電力、薄くて軽い形状とすることが可能という利点を有している。
電気泳動ディスプレイは、様々な形態が考えられ得るが、プラスの電荷を有する第1の粒
子と、マイナスの電荷を有する第2の粒子とを含むマイクロカプセルが溶媒または溶質に
複数分散されたものであり、マイクロカプセルに電界を印加することによって、マイクロ
カプセル中の粒子を互いに反対方向に移動させて一方側に集合した粒子の色のみを表示す
るものである。なお、第1の粒子または第2の粒子は染料を含み、電界がない場合におい
て移動しないものである。また、第1の粒子の色と第2の粒子の色は異なるもの(無色を
含む)とする。
このように、電気泳動ディスプレイは、誘電定数の高い物質が高い電界領域に移動する、
いわゆる誘電泳動的効果を利用したディスプレイである。
上記マイクロカプセルを溶媒中に分散させたものが電子インクと呼ばれるものであり、こ
の電子インクはガラス、プラスチック、布、紙などの表面に印刷することができる。また
、カラーフィルタや色素を有する粒子を用いることによってカラー表示も可能である。
また、アクティブマトリクス基板上に適宜、二つの電極の間に挟まれるように上記マイク
ロカプセルを複数配置すればアクティブマトリクス型の表示装置が完成し、マイクロカプ
セルに電界を印加すれば表示を行うことができる。例えば、実施の形態1の薄膜トランジ
スタによって得られるアクティブマトリクス基板を用いることができる。
なお、マイクロカプセル中の第1の粒子および第2の粒子は、導電体材料、絶縁体材料、
半導体材料、磁性材料、液晶材料、強誘電性材料、エレクトロルミネセント材料、エレク
トロクロミック材料、磁気泳動材料から選ばれた一種の材料、またはこれらの複合材料を
用いればよい。
図13は、半導体装置の例としてアクティブマトリクス型の電子ペーパーを示す。半導体
装置に用いられる薄膜トランジスタ581は、実施の形態1で示す薄膜トランジスタと同
様に作製でき、酸化物半導体層を含む信頼性の高い薄膜トランジスタである。
図13の電子ペーパーは、ツイストボール表示方式を用いた表示装置の例である。ツイス
トボール表示方式とは、白と黒に塗り分けられた球形粒子を表示素子に用いる電極層であ
る第1の電極層及び第2の電極層の間に配置し、第1の電極層及び第2の電極層に電位差
を生じさせて球形粒子の向きを制御することにより、表示を行う方法である。
薄膜トランジスタ581はボトムゲート構造の薄膜トランジスタであり、半導体層と接す
る絶縁膜583に覆われている。薄膜トランジスタ581のソース電極層又はドレイン電
極層は第1の電極層587と、絶縁層585に形成する開口で接しており電気的に接続し
ている。第1の電極層587と第2の電極層588との間には黒色領域590a及び白色
領域590bを有し、周りに液体で満たされているキャビティ594を含む球形粒子58
9が設けられており、球形粒子589の周囲は樹脂等の充填材595で充填されている(
図13参照)。第1の電極層587が画素電極に相当し、第2の電極層588が共通電極
に相当する。第2の電極層588は、薄膜トランジスタ581と同一基板上に設けられる
共通電位線と電気的に接続される。共通接続部を用いて、一対の基板間に配置される導電
性粒子を介して第2の電極層588と共通電位線とを電気的に接続することができる。
また、ツイストボールの代わりに、電気泳動素子を用いることも可能である。透明な液体
と、正に帯電した白い微粒子と負に帯電した黒い微粒子とを封入した直径10μm〜20
0μm程度のマイクロカプセルを用いる。第1の電極層と第2の電極層との間に設けられ
るマイクロカプセルは、第1の電極層と第2の電極層によって、電場が与えられると、白
い微粒子と、黒い微粒子が逆の方向に移動し、白または黒を表示することができる。この
原理を応用した表示素子が電気泳動表示素子であり、一般的に電子ペーパーとよばれてい
る。電気泳動表示素子は、液晶表示素子に比べて反射率が高いため、補助ライトは不要で
あり、また消費電力が小さく、薄暗い場所でも表示部を認識することが可能である。また
、表示部に電源が供給されない場合であっても、一度表示した像を保持することが可能で
あるため、電波発信源から表示機能付き半導体装置(単に表示装置、又は表示装置を具備
する半導体装置ともいう)を遠ざけた場合であっても、表示された像を保存しておくこと
が可能となる。
以上の工程により、半導体装置として信頼性の高い電子ペーパーを作製することができる
本実施の形態は、他の実施の形態に記載した構成と適宜組み合わせて実施することが可能
である。
(実施の形態5)
半導体装置として発光表示装置の例を示す。表示装置の有する表示素子としては、ここで
はエレクトロルミネッセンスを利用する発光素子を用いて示す。エレクトロルミネッセン
スを利用する発光素子は、発光材料が有機化合物であるか、無機化合物であるかによって
区別され、一般的に、前者は有機EL素子、後者は無機EL素子と呼ばれている。
有機EL素子は、発光素子に電圧を印加することにより、一対の電極から電子および正孔
がそれぞれ発光性の有機化合物を含む層に注入され、電流が流れる。そして、それらキャ
リア(電子および正孔)が再結合することにより、発光性の有機化合物が励起状態を形成
し、その励起状態が基底状態に戻る際に発光する。このようなメカニズムから、このよう
な発光素子は、電流励起型の発光素子と呼ばれる。
無機EL素子は、その素子構成により、分散型無機EL素子と薄膜型無機EL素子とに分
類される。分散型無機EL素子は、発光材料の粒子をバインダ中に分散させた発光層を有
するものであり、発光メカニズムはドナー準位とアクセプター準位を利用するドナー−ア
クセプター再結合型発光である。薄膜型無機EL素子は、発光層を誘電体層で挟み込み、
さらにそれを電極で挟んだ構造であり、発光メカニズムは金属イオンの内殻電子遷移を利
用する局在型発光である。なお、ここでは、発光素子として有機EL素子を用いて説明す
る。
図14は、半導体装置の例としてデジタル時間階調駆動を適用可能な画素構成の一例を示
す図である。
デジタル時間階調駆動を適用可能な画素の構成及び画素の動作について説明する。ここで
は酸化物半導体層をチャネル形成領域に用いるnチャネル型のトランジスタを1つの画素
に2つ用いる例を示す。
画素6400は、スイッチング用トランジスタ6401、駆動用トランジスタ6402、
発光素子6404及び容量素子6403を有している。スイッチング用トランジスタ64
01はゲートが走査線6406に接続され、第1電極(ソース電極及びドレイン電極の一
方)が信号線6405に接続され、第2電極(ソース電極及びドレイン電極の他方)が駆
動用トランジスタ6402のゲートに接続されている。駆動用トランジスタ6402は、
ゲートが容量素子6403を介して電源線6407に接続され、第1電極が電源線640
7に接続され、第2電極が発光素子6404の第1電極(画素電極)に接続されている。
発光素子6404の第2電極は共通電極6408に相当する。共通電極6408は、同一
基板上に形成される共通電位線と電気的に接続される。
なお、発光素子6404の第2電極(共通電極6408)には低電源電位が設定されてい
る。なお、低電源電位とは、電源線6407に設定される高電源電位を基準にして低電源
電位<高電源電位を満たす電位であり、低電源電位としては例えばGND、0Vなどが設
定されていても良い。この高電源電位と低電源電位との電位差を発光素子6404に印加
して、発光素子6404に電流を流して発光素子6404を発光させるため、高電源電位
と低電源電位との電位差が発光素子6404の順方向しきい値電圧以上となるようにそれ
ぞれの電位を設定する。
なお、容量素子6403は駆動用トランジスタ6402のゲート容量を代用して省略する
ことも可能である。駆動用トランジスタ6402のゲート容量については、チャネル領域
とゲート電極との間で容量が形成されていてもよい。
ここで、電圧入力電圧駆動方式の場合には、駆動用トランジスタ6402のゲートには、
駆動用トランジスタ6402が十分にオンするか、オフするかの二つの状態となるような
ビデオ信号を入力する。つまり、駆動用トランジスタ6402は線形領域で動作させる。
駆動用トランジスタ6402は線形領域で動作させるため、電源線6407の電圧よりも
高い電圧を駆動用トランジスタ6402のゲートにかける。なお、信号線6405には、
(電源線電圧+駆動用トランジスタ6402のVth)以上の電圧をかける。
また、デジタル時間階調駆動に代えて、アナログ階調駆動を行う場合、信号の入力方法を
変えることで、図14と同じ画素構成を用いることができる。
アナログ階調駆動を行う場合、駆動用トランジスタ6402のゲートに発光素子6404
の順方向電圧+駆動用トランジスタ6402のVth以上の電圧をかける。発光素子64
04の順方向電圧とは、所望の輝度とする場合の電圧を指しており、少なくとも順方向し
きい値電圧を含む。なお、駆動用トランジスタ6402が飽和領域で動作するようなビデ
オ信号を入力することで、発光素子6404に電流を流すことができる。駆動用トランジ
スタ6402を飽和領域で動作させるため、電源線6407の電位は、駆動用トランジス
タ6402のゲート電位よりも高くする。ビデオ信号をアナログとすることで、発光素子
6404にビデオ信号に応じた電流を流し、アナログ階調駆動を行うことができる。
なお、図14に示す画素構成は、これに限定されない。例えば、図14に示す画素に新た
にスイッチ、抵抗素子、容量素子、トランジスタ又は論理回路などを追加してもよい。
次に、発光素子の構成について、図15を用いて説明する。ここでは、駆動用TFTがn
型の場合を例に挙げて、画素の断面構造について説明する。図15(A)(B)(C)の
発光素子に用いられる駆動用TFTであるTFT7001、7011、7021は、実施
の形態1で示す薄膜トランジスタと同様に作製でき、酸化物半導体層を含む信頼性の高い
薄膜トランジスタである。
発光素子は発光を取り出すために少なくとも陽極又は陰極の一方が透明であればよい。そ
して、基板上に薄膜トランジスタ及び発光素子を形成し、基板とは逆側の面から発光を取
り出す上面射出や、基板側の面から発光を取り出す下面射出や、基板側及び基板とは反対
側の面から発光を取り出す両面射出構造の発光素子があり、画素構成はどの射出構造の発
光素子にも適用することができる。
下面射出構造の発光素子について図15(A)を用いて説明する。
駆動用TFT7011がn型で、EL層7014から発せられる光が陰極7013側に射
出する場合の、画素の断面図を示す。図15(A)では、駆動用TFT7011と電気的
に接続された透光性を有する導電膜7017上に、発光素子7012の陰極7013が形
成されており、陰極7013上にEL層7014、陽極7015が順に積層されている。
なお、透光性を有する導電膜7017は、酸化物絶縁層7031に形成されたコンタクト
ホールを介して駆動用TFT7011のドレイン電極層と電気的に接続されている。
透光性を有する導電膜7017としては、酸化タングステンを含むインジウム酸化物、酸
化タングステンを含むインジウム亜鉛酸化物、酸化チタンを含むインジウム酸化物、酸化
チタンを含むインジウム錫酸化物、インジウム錫酸化物(以下、ITOと示す。)、イン
ジウム亜鉛酸化物、酸化ケイ素を添加したインジウム錫酸化物などの透光性を有する導電
膜を用いることができる。
また、陰極7013は様々な材料を用いることができるが、仕事関数が小さい材料、例え
ば、具体的には、LiやCs等のアルカリ金属、およびMg、Ca、Sr等のアルカリ土
類金属、およびこれらを含む合金(Mg:Ag、Al:Liなど)の他、YbやEr等の
希土類金属等が好ましい。図15(A)では、陰極7013の膜厚は、光を透過する程度
(好ましくは、5nm〜30nm程度)とする。例えば20nmの膜厚を有するアルミニ
ウム膜を、陰極7013として用いる。
なお、透光性を有する導電膜とアルミニウム膜を積層成膜した後、選択的にエッチングし
て透光性を有する導電膜7017と陰極7013を形成してもよく、この場合、同じマス
クを用いてエッチングすることができ、好ましい。
また、陰極7013の周縁部は、隔壁7019で覆う。隔壁7019は、ポリイミド、ア
クリル、ポリアミド、エポキシ等の有機樹脂膜、無機絶縁膜または有機ポリシロキサンを
用いて形成する。隔壁7019は、特に感光性の樹脂材料を用い、陰極7013上に開口
部を形成し、その開口部の側壁が連続した曲率を持って形成される傾斜面となるように形
成することが好ましい。隔壁7019として感光性の樹脂材料を用いる場合、レジストマ
スクを形成する工程を省略することができる。
また、陰極7013及び隔壁7019上に形成するEL層7014は、単数の層で構成さ
れていても、複数の層が積層されるように構成されていてもどちらでも良い。EL層70
14が複数の層で構成されている場合、陰極7013上に電子注入層、電子輸送層、発光
層、ホール輸送層、ホール注入層の順に積層する。なおこれらの層を全て設ける必要はな
い。
また、上記積層順に限定されず、陰極7013上にホール注入層、ホール輸送層、発光層
、電子輸送層、電子注入層の順に積層してもよい。ただし、消費電力を比較する場合、陰
極7013上に電子注入層、電子輸送層、発光層、ホール輸送層、ホール注入層の順に積
層するほうが消費電力が少ないため好ましい。
また、EL層7014上に形成する陽極7015としては、様々な材料を用いることがで
きるが、仕事関数が大きい材料、例えば、窒化チタン、ZrN、Ti、W、Ni、Pt、
Cr等や、ITO、IZO(酸化インジウム酸化亜鉛)、ZnOなどの透明導電性材料が
好ましい。また、陽極7015上に遮蔽膜7016、例えば光を遮光する金属、光を反射
する金属等を形成する。本実施の形態では、陽極7015としてITO膜を用い、遮蔽膜
7016としてTi膜を用いる。
陰極7013及び陽極7015で、少なくともEL層7014を挟んでいる領域が発光素
子7012に相当する。図15(A)に示した素子構造の場合、発光素子7012から発
せられる光は、矢印で示すように陰極7013側に射出する。
なお、図15(A)ではゲート電極層として透光性を有する導電膜を用いる例を示してお
り、発光素子7012から発せられる光は、カラーフィルタ層7033を通過し、駆動用
TFTであるTFT7011のゲート電極層やソース電極層を通過して射出させる。TF
T7011のゲート電極層やソース電極層として透光性を有する導電膜を用い、開口率を
向上することができる。
カラーフィルタ層7033はインクジェット法などの液滴吐出法や、印刷法、フォトリソ
グラフィ技術を用いたエッチング方法などでそれぞれ形成する。
また、カラーフィルタ層7033はオーバーコート層7034で覆われ、さらに絶縁層7
035によって覆う。なお、図15(A)ではオーバーコート層7034は薄い膜厚で図
示したが、オーバーコート層7034は、カラーフィルタ層7033に起因する凹凸を平
坦化する機能を有している。
また、絶縁層7035に形成され、且つ、ドレイン電極層に達するコンタクトホールは、
隔壁7019と重なる位置に配置する。図15(A)では、ドレイン電極層に達するコン
タクトホールと、隔壁7019と、を重ねるレイアウトとすることで開口率の向上を図る
ことができる。
次に、両面射出構造の発光素子について、図15(B)を用いて説明する。
図15(B)では、駆動用TFTであるTFT7021と電気的に接続された透光性を有
する導電膜7027上に、発光素子7022の陰極7023が形成されており、陰極70
23上にEL層7024、陽極7025が順に積層されている。なお、透光性を有する導
電膜7027は酸化物絶縁層7041に形成されたコンタクトホールを介してTFT70
21のドレイン電極層と電気的に接続されている。
透光性を有する導電膜7027としては、酸化タングステンを含むインジウム酸化物、酸
化タングステンを含むインジウム亜鉛酸化物、酸化チタンを含むインジウム酸化物、酸化
チタンを含むインジウム錫酸化物、インジウム錫酸化物(以下、ITOと示す。)、イン
ジウム亜鉛酸化物、酸化ケイ素を添加したインジウム錫酸化物などの透光性を有する導電
膜を用いることができる。
また、陰極7023は様々な材料を用いることができるが、仕事関数が小さい材料、例え
ば、具体的には、LiやCs等のアルカリ金属、およびMg、Ca、Sr等のアルカリ土
類金属、およびこれらを含む合金(Mg:Ag、Al:Liなど)の他、YbやEr等の
希土類金属等が好ましい。本実施の形態では、陰極7023の膜厚は、光を透過する程度
(好ましくは、5nm〜30nm程度)とする。例えば20nmの膜厚を有するアルミニ
ウム膜を、陰極7023として用いる。
なお、透光性を有する導電膜とアルミニウム膜を積層成膜した後、選択的にエッチングし
て透光性を有する導電膜7027と陰極7023を形成してもよく、この場合、同じマス
クを用いてエッチングすることができ、好ましい。
また、陰極7023の周縁部は、隔壁7029で覆う。隔壁7029は、ポリイミド、ア
クリル、ポリアミド、エポキシ等の有機樹脂膜、無機絶縁膜または有機ポリシロキサンを
用いて形成する。隔壁7029は、特に感光性の樹脂材料を用い、陰極7023上に開口
部を形成し、その開口部の側壁が連続した曲率を持って形成される傾斜面となるように形
成することが好ましい。隔壁7029として感光性の樹脂材料を用いる場合、レジストマ
スクを形成する工程を省略することができる。
また、陰極7023及び隔壁7029上に形成するEL層7024は、単数の層で構成さ
れていても、複数の層が積層されるように構成されていてもどちらでも良い。EL層70
24が複数の層で構成されている場合、陰極7023上に電子注入層、電子輸送層、発光
層、ホール輸送層、ホール注入層の順に積層する。なおこれらの層を全て設ける必要はな
い。
また、上記積層順に限定されず、陰極7023上にホール注入層、ホール輸送層、発光層
、電子輸送層、電子注入層の順に積層してもよい。ただし、消費電力を比較した場合、陰
極7023上に電子注入層、電子輸送層、発光層、ホール輸送層、ホール注入層の順に積
層するほうが消費電力が少ないため好ましい。
また、EL層7024上に形成する陽極7025としては、様々な材料を用いることがで
きるが、仕事関数が大きい材料、例えば、ITO、IZO、ZnOなどの透明導電性材料
が好ましい。本実施の形態では、陽極7026として酸化珪素を含むITO膜を用いる。
陰極7023及び陽極7025で、EL層7024を挟んでいる領域が発光素子7022
に相当する。図15(B)に示した素子構造の場合、発光素子7022から発せられる光
は、矢印で示すように陽極7025側と陰極7023側の両方に射出する。
なお、図15(B)ではゲート電極層として透光性を有する導電膜を用いる例を示してお
り、発光素子7022から陰極7023側に発せられる光は、カラーフィルタ層7043
を通過し、TFT7021のゲート電極層やソース電極層を通過して射出させる。TFT
7021のゲート電極層やソース電極層として透光性を有する導電膜を用いることで、陽
極7025側の開口率と陰極7023側の開口率をほぼ同一とすることができる。
カラーフィルタ層7043はインクジェット法などの液滴吐出法や、印刷法、フォトリソ
グラフィ技術を用いたエッチング方法などでそれぞれ形成する。
また、カラーフィルタ層7043はオーバーコート層7044で覆われ、さらに絶縁層7
045によって覆う。
また、絶縁層7045に形成され、且つ、ドレイン電極層に達するコンタクトホールは、
隔壁7029と重なる位置に配置する。ドレイン電極層に達するコンタクトホールと、隔
壁7029とを重ねるレイアウトとすることで陽極7025側の開口率と陰極7023側
の開口率をほぼ同一とすることができる。
また、絶縁層7045に形成され、且つ、透光性を有する導電膜7027に達するコンタ
クトホールは、隔壁7029と重なる位置に配置する。
ただし、両面射出構造の発光素子を用い、どちらの表示面もフルカラー表示とする場合、
陽極7025側からの光はカラーフィルタ層7043を通過しないため、別途カラーフィ
ルタ層を備えた封止基板を陽極7025上方に設けることが好ましい。
次に、上面射出構造の発光素子について、図15(C)を用いて説明する。
図15(C)に、駆動用TFTであるTFT7001がn型で、発光素子7002から発
せられる光が陽極7005側に抜ける場合の、画素の断面図を示す。図15(C)では、
TFT7001と接続電極層を介して電気的に接続された発光素子7002の陰極700
3が形成されており、陰極7003上にEL層7004、陽極7005が順に積層されて
いる。
また、陰極7003は様々な材料を用いることができるが、仕事関数が小さい材料、例え
ば、具体的には、LiやCs等のアルカリ金属、およびMg、Ca、Sr等のアルカリ土
類金属、およびこれらを含む合金(Mg:Ag、Al:Liなど)の他、YbやEr等の
希土類金属等が好ましい。
また、陰極7003の周縁部は、隔壁7009で覆う。隔壁7009は、ポリイミド、ア
クリル、ポリアミド、エポキシ等の有機樹脂膜、無機絶縁膜または有機ポリシロキサンを
用いて形成する。隔壁7009は、特に感光性の樹脂材料を用い、陰極7003上に開口
部を形成し、その開口部の側壁が連続した曲率を持って形成される傾斜面となるように形
成することが好ましい。隔壁7009として感光性の樹脂材料を用いる場合、レジストマ
スクを形成する工程を省略することができる。
また、陰極7003及び隔壁7009上に形成するEL層7004は、単数の層で構成さ
れていても、複数の層が積層されるように構成されていてもどちらでも良い。EL層70
04が複数の層で構成されている場合、陰極7003上に電子注入層、電子輸送層、発光
層、ホール輸送層、ホール注入層の順に積層する。なおこれらの層を全て設ける必要はな
い。
また、上記積層順に限定されず、陰極7003上にホール注入層、ホール輸送層、発光層
、電子輸送層、電子注入層の順に積層してもよい。この順に積層する場合は、陰極700
3は陽極として機能することとなる。
図15(C)ではTi膜、アルミニウム膜、Ti膜の順に積層した積層膜上に、ホール注
入層、ホール輸送層、発光層、電子輸送層、電子注入層の順に積層し、その上にMg:A
g合金薄膜とITOとの積層を形成する。
ただし、消費電力を比較した場合、陰極7003上に電子注入層、電子輸送層、発光層、
ホール輸送層、ホール注入層の順に積層するほうが消費電力が少ないため好ましい。
陽極7005は光を透過する透光性を有する導電性材料を用いて形成し、例えば酸化タン
グステンを含むインジウム酸化物、酸化タングステンを含むインジウム亜鉛酸化物、酸化
チタンを含むインジウム酸化物、酸化チタンを含むインジウム錫酸化物、インジウム錫酸
化物、インジウム亜鉛酸化物、酸化ケイ素を添加したインジウム錫酸化物などの透光性を
有する導電膜を用いても良い。
陰極7003及び陽極7005でEL層7004を挟んでいる領域が発光素子7002に
相当する。図15(C)に示した画素の場合、発光素子7002から発せられる光は、矢
印で示すように陽極7005側に射出する。
また、図15(C)において、TFT7001は薄膜トランジスタ150を用いる例を示
しているが、特に限定されず、薄膜トランジスタ160、170、180を用いることが
できる。
また、図15(C)において、TFT7001のドレイン電極層は、接続電極層と酸化物
絶縁層7051を介して電気的に接続し、接続電極層は、絶縁層7052及び絶縁層70
55を介して陰極7003と電気的に接続する。平坦化絶縁層7053は、ポリイミド、
アクリル、ベンゾシクロブテン、ポリアミド、エポキシ等の樹脂材料を用いることができ
る。また上記樹脂材料の他に、低誘電率材料(low−k材料)、シロキサン系樹脂、P
SG(リンガラス)、BPSG(リンボロンガラス)等を用いることができる。なお、こ
れらの材料で形成される絶縁膜を複数積層させることで、平坦化絶縁層7053を形成し
てもよい。平坦化絶縁層7053の形成法は、特に限定されず、その材料に応じて、スパ
ッタリング法、SOG法、スピンコート、ディップ、スプレー塗布、液滴吐出法(インク
ジェット法、スクリーン印刷、オフセット印刷等)、ドクターナイフ、ロールコーター、
カーテンコーター、ナイフコーター等を用いることができる。
また、陰極7003と、隣り合う画素の陰極とを絶縁するために隔壁7009を設ける。
隔壁7009は、ポリイミド、アクリル、ポリアミド、エポキシ等の有機樹脂膜、無機絶
縁膜または有機ポリシロキサンを用いて形成する。隔壁7009は、特に感光性の樹脂材
料を用い、陰極7003上に開口部を形成し、その開口部の側壁が連続した曲率を持って
形成される傾斜面となるように形成することが好ましい。
また、図15(C)の構造においては、フルカラー表示を行う場合、例えば発光素子70
02として緑色発光素子とし、隣り合う一方の発光素子を赤色発光素子とし、もう一方の
発光素子を青色発光素子とする。また、3種類の発光素子だけでなく白色素子を加えた4
種類の発光素子でフルカラー表示ができる発光表示装置を作製してもよい。
また、図15(C)の構造においては、配置する複数の発光素子を全て白色発光素子とし
て、発光素子7002上方にカラーフィルタなどを有する封止基板を配置する構成とし、
フルカラー表示ができる発光表示装置を作製してもよい。白色などの単色の発光を示す材
料を形成し、カラーフィルタや色変換層を組み合わせることによりフルカラー表示を行う
ことができる。
もちろん単色発光の表示を行ってもよい。例えば、白色発光を用いて照明装置を形成して
もよいし、単色発光を用いてエリアカラータイプの発光装置を形成してもよい。
また、必要があれば、円偏光板などの偏光フィルムなどの光学フィルムを設けてもよい。
なお、ここでは、発光素子として有機EL素子について述べたが、発光素子として無機E
L素子を設けることも可能である。
なお、発光素子の駆動を制御する薄膜トランジスタ(駆動用TFT)と発光素子が電気的
に接続されている例を示したが、駆動用TFTと発光素子との間に電流制御用TFTが接
続されている構成であってもよい。
次に、半導体装置の一形態に相当する発光表示パネル(発光パネルともいう)の外観及び
断面について、図16を用いて説明する。図16(A)は、第1の基板上に形成された薄
膜トランジスタ及び発光素子を、第2の基板との間にシール材によって封止した、パネル
の平面図であり、図16(B)は、図16(A)のH−Iにおける断面図に相当する。
第1の基板4501上に設けられた画素部4502、信号線駆動回路4503a、450
3b、及び走査線駆動回路4504a、4504bを囲むようにして、シール材4505
が設けられている。また画素部4502、信号線駆動回路4503a、4503b、及び
走査線駆動回路4504a、4504bの上に第2の基板4506が設けられている。よ
って画素部4502、信号線駆動回路4503a、4503b、及び走査線駆動回路45
04a、4504bは、第1の基板4501とシール材4505と第2の基板4506と
によって、充填材4507と共に密封されている。このように外気に曝されないように気
密性が高く、脱ガスの少ない保護フィルム(貼り合わせフィルム、紫外線硬化樹脂フィル
ム等)やカバー材でパッケージング(封入)することが好ましい。
また第1の基板4501上に設けられた画素部4502、信号線駆動回路4503a、4
503b、及び走査線駆動回路4504a、4504bは、薄膜トランジスタを複数有し
ており、図15(B)では、画素部4502に含まれる薄膜トランジスタ4510と、信
号線駆動回路4503aに含まれる薄膜トランジスタ4509とを例示している。
薄膜トランジスタ4509、4510は、実施の形態1で示した酸化物半導体層を含む信
頼性の高い薄膜トランジスタを適用することができる。本実施の形態において、薄膜トラ
ンジスタ4509、4510はnチャネル型薄膜トランジスタである。
絶縁層4544上において駆動回路用の薄膜トランジスタ4509の酸化物半導体層のチ
ャネル形成領域と重なる位置に導電層4540が設けられている。導電層4540を酸化
物半導体層のチャネル形成領域と重なる位置に設けることによって、BT試験前後におけ
る薄膜トランジスタ4509のしきい値電圧の変化量を低減することができる。また、導
電層4540は、薄膜トランジスタ4509のゲート電極層と同じ電位でもよいし、異な
る電位でも良く、第2のゲート電極層として機能させることもできる。また、導電層45
40の電位がGND、0V、或いはフローティング状態であってもよい。
薄膜トランジスタ4509には、絶縁膜としてチャネル形成領域を含む半導体層に接して
絶縁層4541が形成されている。絶縁層4541は実施の形態1で示した絶縁層107
と同様な材料及び方法で形成すればよい。また、薄膜トランジスタの表面凹凸を低減する
ため平坦化絶縁膜として機能する絶縁層4544で覆う構成となっている。ここでは、絶
縁層4541として、実施の形態1に示す絶縁層107と同様に、スパッタリング法によ
り酸化珪素膜を形成する。
また、平坦化絶縁膜として絶縁層4544を形成する。絶縁層4544としては、実施の
形態2で示した絶縁層4021と同様な材料及び方法で形成すればよい。ここでは、絶縁
層4544としてアクリルを用いる。
また4511は発光素子に相当し、発光素子4511が有する画素電極である第1の電極
層4517は、薄膜トランジスタ4510のソース電極層またはドレイン電極層と電気的
に接続されている。なお発光素子4511の構成は、第1の電極層4517、電界発光層
4512、第2の電極層4513の積層構造であるが、示した構成に限定されない。発光
素子4511から取り出す光の方向などに合わせて、発光素子4511の構成は適宜変え
ることができる。
隔壁4520は、有機樹脂膜、無機絶縁膜または有機ポリシロキサンを用いて形成する。
特に感光性の材料を用い、第1の電極層4517上に開口部を形成し、その開口部の側壁
が連続した曲率を持って形成される傾斜面となるように形成することが好ましい。
電界発光層4512は、単数の層で構成されていても、複数の層が積層されるように構成
されていてもどちらでも良い。
発光素子4511に酸素、水素、水分、二酸化炭素等が侵入しないように、第2の電極層
4513及び隔壁4520上に保護膜を形成してもよい。保護膜としては、窒化珪素膜、
窒化酸化珪素膜、DLC膜等を形成することができる。
また、信号線駆動回路4503a、4503b、走査線駆動回路4504a、4504b
、または画素部4502に与えられる各種信号及び電位は、FPC4518a、4518
bから供給されている。
接続端子電極4515が、発光素子4511が有する第1の電極層4517と同じ導電膜
から形成され、端子電極4516は、薄膜トランジスタ4509、4510が有するソー
ス電極層及びドレイン電極層と同じ導電膜から形成されている。
接続端子電極4515は、FPC4518aが有する端子と、異方性導電膜4519を介
して電気的に接続されている。
発光素子4511からの光の取り出し方向に位置する基板は、透光性でなければならない
。その場合には、ガラス板、プラスチック板、ポリエステルフィルムまたはアクリルフィ
ルムのような透光性を有する材料を用いる。
また、充填材4507としては窒素やアルゴンなどの不活性な気体の他に、紫外線硬化樹
脂または熱硬化樹脂を用いることができ、PVC(ポリビニルクロライド)、アクリル、
ポリイミド、エポキシ樹脂、シリコーン樹脂、PVB(ポリビニルブチラル)またはEV
A(エチレンビニルアセテート)を用いることができる。例えば充填材として窒素を用い
ればよい。
また、必要であれば、発光素子の射出面に偏光板、又は円偏光板(楕円偏光板を含む)、
位相差板(λ/4板、λ/2板)、カラーフィルタなどの光学フィルムを適宜設けてもよ
い。また、偏光板又は円偏光板に反射防止膜を設けてもよい。例えば、表面の凹凸により
反射光を拡散し、映り込みを低減できるアンチグレア処理を施すことができる。
信号線駆動回路4503a、4503b、及び走査線駆動回路4504a、4504bは
、別途用意された基板上に単結晶半導体膜又は多結晶半導体膜によって形成された駆動回
路で実装されていてもよい。また、信号線駆動回路のみ、或いは一部、又は走査線駆動回
路のみ、或いは一部のみを別途形成して実装しても良く、図16の構成に限定されない。
以上の工程により、半導体装置として信頼性の高い発光表示装置(表示パネル)を作製す
ることができる。
実施の形態1に示す薄膜トランジスタの作製方法を用いて発光表示装置の画素部の薄膜ト
ランジスタを作製することにより、各画素の薄膜トランジスタのオフ電流の変動に起因す
る消費電力を低減することができる。
また、実施の形態1に示す薄膜トランジスタの作製方法を用いて発光表示装置の駆動回路
の薄膜トランジスタを作製することにより、駆動回路部の薄膜トランジスタの高速動作を
実現し、省電力化を図ることができる。
本実施の形態は、他の実施の形態に記載した構成と適宜組み合わせて実施することが可能
である。
(実施の形態6)
本実施の形態では、半導体装置の一形態として、実施の形態1で示す薄膜トランジスタを
有する液晶素子を用いた液晶表示装置の例を図17乃至図20を用いて説明する。図17
乃至図20の液晶表示装置に用いられるTFT628、TFT629は、実施の形態1で
示す薄膜トランジスタを適用することができ、実施の形態1で示す工程と同様に作製でき
る電気特性及び信頼性の高い薄膜トランジスタである。TFT628及びTFT629は
、酸化物半導体層をチャネル形成領域とする薄膜トランジスタである。図17乃至図20
では、薄膜トランジスタの一例として図2(C)に示す薄膜トランジスタを用いる場合に
ついて説明するが、これに限定されるものではない。
以下、VA(Vertical Alignment)型の液晶表示装置について示す。
VA型の液晶表示装置とは、液晶表示パネルの液晶分子の配列を制御する方式の一種であ
る。VA型の液晶表示装置は、電圧が印加されていないときにパネル面に対して液晶分子
が垂直方向を向く方式である。本実施の形態では、特に画素(ピクセル)をいくつかの領
域(サブピクセル)に分け、それぞれ別の方向に分子を倒すよう工夫されている。これを
マルチドメイン化あるいはマルチドメイン設計という。以下の説明では、マルチドメイン
設計が考慮された液晶表示装置について説明する。
図18及び図19は、それぞれ画素電極及び対向電極を示している。なお、図18は画素
電極が形成される基板側の平面図であり、図中に示す切断線E−Fに対応する断面構造を
図17に表している。また、図19は対向電極が形成される基板側の平面図である。以下
の説明ではこれらの図を参照して説明する。
図17は、TFT628とそれに接続する画素電極624、及び保持容量部630が形成
された基板600と、対向電極640等が形成される対向基板601とが重ね合わせられ
、液晶が注入された状態を示している。
対向基板601において柱状スペーサが形成される位置には、第1の着色膜636、第2
の着色膜(図示せず)、第3着色膜(図示せず)、対向電極640が形成されている。こ
の構造により、液晶の配向を制御するための突起644とスペーサの高さを異ならせてい
る。画素電極624上には配向膜648が形成され、同様に対向電極640上にも配向膜
646が形成されている。この間に液晶層650が形成されている。
スペーサはここでは柱状スペーサを用いて示したがビーズスペーサを散布してもよい。な
お、ここで柱状スペーサとは、一方の基板上に形成した有機膜又は無機膜をフォトリソグ
ラフィ工程で所定のサイズにパターニング、エッチングしたものや、ポジ型又はネガ型の
パターング可能な有機膜などで作製されたものなどをいい、柱状スペーサは液晶層の厚さ
を制御できる。さらには、スペーサを基板600上に形成される画素電極624上に形成
してもよい。
基板600上には、TFT628とそれに接続する画素電極624、及び保持容量部63
0が形成される。画素電極624は、TFT628、配線616、及び保持容量部630
を覆う絶縁膜620、絶縁膜620を覆う第3絶縁膜622をそれぞれ貫通するコンタク
トホール623で、配線618と接続する。TFT628は実施の形態1で示す薄膜トラ
ンジスタを適宜用いることができる。また、保持容量部630は、TFT628のゲート
配線602と同時に形成した第1の容量配線である容量配線604と、ゲート絶縁膜60
6と、配線616、618と同時に形成した第2の容量配線である容量配線617で構成
される。
画素電極624と液晶層650と対向電極640が重なり合うことで、液晶素子が形成さ
れている。
図18に基板600上の構造を示す。画素電極624は、酸化タングステンを含むインジ
ウム酸化物、酸化タングステンを含むインジウム亜鉛酸化物、酸化チタンを含むインジウ
ム酸化物、酸化チタンを含むインジウム錫酸化物、インジウム錫酸化物(以下、ITOと
示す。)、インジウム亜鉛酸化物、酸化ケイ素を添加したインジウム錫酸化物などの透光
性を有する導電性材料を用いることができる。
また、画素電極624として、導電性高分子(導電性ポリマーともいう)を含む導電性組
成物を用いて形成することができる。導電性組成物を用いて形成した画素電極は、シート
抵抗が10000Ω/□以下、波長550nmにおける透光率が70%以上であることが
好ましい。また、導電性組成物に含まれる導電性高分子の抵抗率が0.1Ω・cm以下で
あることが好ましい。
導電性高分子としては、いわゆるπ電子共役系導電性高分子が用いることができる。例え
ば、ポリアニリンまたはその誘導体、ポリピロールまたはその誘導体、ポリチオフェンま
たはその誘導体、若しくはこれらの2種以上の共重合体などがあげられる。
画素電極624にはスリット625を設ける。スリット625は液晶の配向を制御するた
めのものである。
図18に示すTFT628とそれに接続する画素電極626及び保持容量部631は、そ
れぞれTFT628、画素電極624及び保持容量部630と同様に形成することができ
る。TFT628とTFT629は共に配線616と接続している。この液晶表示パネル
の画素(ピクセル)は、画素電極624と画素電極626により構成されている。画素電
極624と画素電極626はサブピクセルを構成する。
図19に対向基板側の構造を示す。対向電極640は、画素電極624と同様の材料を用
いて形成することが好ましい。対向電極640上には液晶の配向を制御する突起644が
形成されている。
この画素構造の等価回路を図20に示す。TFT628とTFT629は、共にゲート配
線602、配線616と接続している。この場合、容量配線604と容量配線605の電
位を異ならせることで、液晶素子651と液晶素子652の動作を異ならせることができ
る。すなわち、容量配線604と容量配線605の電位を個別に制御することにより液晶
の配向を精密に制御して視野角を広げている。
スリット625を設けた画素電極624に電圧を印加すると、スリット625の近傍には
電界の歪み(斜め電界)が発生する。このスリット625と、対向基板601側の突起6
44とを交互に咬み合うように配置することで、斜め電界が効果的に発生させて液晶の配
向を制御することで、液晶が配向する方向を場所によって異ならせている。すなわち、マ
ルチドメイン化して液晶表示パネルの視野角を広げている。
次に、上記とは異なるVA型の液晶表示装置について、図21乃至図24を用いて説明す
る。
図21と図22は、VA型液晶表示パネルの画素構造を示している。図22は基板600
の平面図であり、図中に示す切断線Y−Zに対応する断面構造を図21に表している。以
下の説明ではこの両図を参照して説明する。
この画素構造は、一つの画素に複数の画素電極が有り、それぞれの画素電極にTFTが接
続されている。各TFTは、異なるゲート信号で駆動されるように構成されている。すな
わち、マルチドメイン設計された画素において、個々の画素電極に印加する信号を、独立
して制御する構成を有している。
画素電極624はコンタクトホール623において、配線618でTFT628と接続し
ている。また、画素電極626はコンタクトホール627において、配線619でTFT
629と接続している。TFT628のゲート配線602と、TFT629のゲート配線
603には、異なるゲート信号を与えることができるように分離されている。一方、デー
タ線として機能する配線616は、TFT628とTFT629で共通に用いられている
。TFT628とTFT629は実施の形態1で示す薄膜トランジスタを適宜用いること
ができる。また、容量配線690が設けられている。
画素電極624と画素電極626の形状は異なっており、スリット625によって分離さ
れている。V字型に広がる画素電極624の外側を囲むように画素電極626が形成され
ている。画素電極624と画素電極626に印加する電圧のタイミングを、TFT628
及びTFT629により異ならせることで、液晶の配向を制御している。この画素構造の
等価回路を図24に示す。TFT628はゲート配線602と接続し、TFT629はゲ
ート配線603と接続している。ゲート配線602とゲート配線603には異なるゲート
信号を与えることで、TFT628とTFT629の動作タイミングを異ならせることが
できる。
対向基板601には、着色膜636、対向電極640が形成されている。また、着色膜6
36と対向電極640の間には平坦化膜637が形成され、液晶の配向乱れを防いでいる
。図23に対向基板側の構造を示す。対向電極640は異なる画素間で共通化されている
電極であるが、スリット641が形成されている。このスリット641と、画素電極62
4及び画素電極626側のスリット625とを交互に咬み合うように配置することで、斜
め電界を効果的に発生させて液晶の配向を制御することができる。これにより、液晶が配
向する方向を場所によって異ならせることができ、視野角を広げている。
画素電極624と液晶層650と対向電極640が重なり合うことで、第1の液晶素子が
形成されている。また、画素電極626と液晶層650と対向電極640が重なり合うこ
とで、第2の液晶素子が形成されている。また、一画素に第1の液晶素子と第2の液晶素
子が設けられたマルチドメイン構造である。
本実施の形態では、実施の形態1で示す薄膜トランジスタを有する液晶表示装置としてV
A型の液晶表示装置について説明したが、IPS型の液晶表示装置や、TN型の液晶表示
装置などについても適用可能である。
実施の形態1に示す薄膜トランジスタの作製方法を用いて発光表示装置の画素部の薄膜ト
ランジスタを作製することにより、各画素の薄膜トランジスタのオフ電流の変動に起因す
る消費電力を低減することができる。
(実施の形態7)
本明細書に開示する半導体装置は、電子ペーパーとして適用することができる。電子ペー
パーは、情報を表示するものであればあらゆる分野の電子機器に用いることが可能である
。例えば、電子ペーパーを用いて、電子書籍(電子ブック)、ポスター、電車などの乗り
物の車内広告、クレジットカード等の各種カードにおける表示等に適用することができる
。電子機器の一例を図25に示す。
図25は、電子書籍2700の一例を示している。例えば、電子書籍2700は、筐体2
701および筐体2703の2つの筐体で構成されている。筐体2701および筐体27
03は、軸部2711により一体とされており、該軸部2711を軸として開閉動作を行
うことができる。このような構成により、紙の書籍のような動作を行うことが可能となる
筐体2701には表示部2705が組み込まれ、筐体2703には表示部2707が組み
込まれている。表示部2705および表示部2707は、続き画面を表示する構成として
もよいし、異なる画面を表示する構成としてもよい。異なる画面を表示する構成とするこ
とで、例えば右側の表示部(図25では表示部2705)に文章を表示し、左側の表示部
(図25では表示部2707)に画像を表示することができる。
また、図25では、筐体2701に操作部などを備えた例を示している。例えば、筐体2
701において、電源2721、操作キー2723、スピーカ2725などを備えている
。操作キー2723により、頁を送ることができる。なお、筐体の表示部と同一面にキー
ボードやポインティングデバイスなどを備える構成としてもよい。また、筐体の裏面や側
面に、外部接続用端子(イヤホン端子、USB端子、またはACアダプタおよびUSBケ
ーブルなどの各種ケーブルと接続可能な端子など)、記録媒体挿入部などを備える構成と
してもよい。さらに、電子書籍2700は、電子辞書としての機能を持たせた構成として
もよい。
また、電子書籍2700は、無線で情報を送受信できる構成としてもよい。無線により、
電子書籍サーバから、所望の書籍データなどを購入し、ダウンロードする構成とすること
も可能である。
(実施の形態8)
本明細書に開示する半導体装置は、さまざまな電子機器(遊技機も含む)に適用すること
ができる。電子機器としては、例えば、テレビジョン装置(テレビ、またはテレビジョン
受信機ともいう)、コンピュータ用などのモニタ、デジタルカメラ、デジタルビデオカメ
ラなどのカメラ、デジタルフォトフレーム、携帯電話機(携帯電話、携帯電話装置ともい
う)、携帯型ゲーム機、携帯情報端末、音響再生装置、パチンコ機などの大型ゲーム機な
どが挙げられる。
図26(A)は、テレビジョン装置9600の一例を示している。テレビジョン装置96
00は、筐体9601に表示部9603が組み込まれている。表示部9603により、映
像を表示することが可能である。また、ここでは、スタンド9605により筐体9601
を支持した構成を示している。
テレビジョン装置9600の操作は、筐体9601が備える操作スイッチや、別体のリモ
コン操作機9610により行うことができる。リモコン操作機9610が備える操作キー
9609により、チャンネルや音量の操作を行うことができ、表示部9603に表示され
る映像を操作することができる。また、リモコン操作機9610に、当該リモコン操作機
9610から出力する情報を表示する表示部9607を設ける構成としてもよい。
なお、テレビジョン装置9600は、受信機やモデムなどを備えた構成とする。受信機に
より一般のテレビ放送の受信を行うことができ、さらにモデムを介して有線または無線に
よる通信ネットワークに接続することにより、一方向(送信者から受信者)または双方向
(送信者と受信者間、あるいは受信者間同士など)の情報通信を行うことも可能である。
図26(B)は、デジタルフォトフレーム9700の一例を示している。例えば、デジタ
ルフォトフレーム9700は、筐体9701に表示部9703が組み込まれている。表示
部9703は、各種画像を表示することが可能であり、例えばデジタルカメラなどで撮影
した画像データを表示させることで、通常の写真立てと同様に機能させることができる。
なお、デジタルフォトフレーム9700は、操作部、外部接続用端子(USB端子、US
Bケーブルなどの各種ケーブルと接続可能な端子など)、記録媒体挿入部などを備える構
成とする。これらの構成は、表示部と同一面に組み込まれていてもよいが、側面や裏面に
備えるとデザイン性が向上するため好ましい。例えば、デジタルフォトフレームの記録媒
体挿入部に、デジタルカメラで撮影した画像データを記憶したメモリを挿入して画像デー
タを取り込み、取り込んだ画像データを表示部9703に表示させることができる。
また、デジタルフォトフレーム9700は、無線で情報を送受信できる構成としてもよい
。無線により、所望の画像データを取り込み、表示させる構成とすることもできる。
図27(A)は携帯型遊技機であり、筐体9881と筐体9891の2つの筐体で構成さ
れており、連結部9893により、開閉可能に連結されている。筐体9881には表示部
9882が組み込まれ、筐体9891には表示部9883が組み込まれている。また、図
27(A)に示す携帯型遊技機は、その他、スピーカ部9884、記録媒体挿入部988
6、LEDランプ9890、入力手段(操作キー9885、接続端子9887、センサ9
888(力、変位、位置、速度、加速度、角速度、回転数、距離、光、液、磁気、温度、
化学物質、音声、時間、硬度、電場、電流、電圧、電力、放射線、流量、湿度、傾度、振
動、におい又は赤外線を測定する機能を含むもの)、マイクロフォン9889)等を備え
ている。もちろん、携帯型遊技機の構成は上述のものに限定されず、少なくとも本明細書
に開示する半導体装置を備えた構成であればよく、その他付属設備が適宜設けられた構成
とすることができる。図27(A)に示す携帯型遊技機は、記録媒体に記録されているプ
ログラム又はデータを読み出して表示部に表示する機能や、他の携帯型遊技機と無線通信
を行って情報を共有する機能を有する。なお、図27(A)に示す携帯型遊技機が有する
機能はこれに限定されず、様々な機能を有することができる。
図27(B)は大型遊技機であるスロットマシン9900の一例を示している。スロット
マシン9900は、筐体9901に表示部9903が組み込まれている。また、スロット
マシン9900は、その他、スタートレバーやストップスイッチなどの操作手段、コイン
投入口、スピーカなどを備えている。もちろん、スロットマシン9900の構成は上述の
ものに限定されず、少なくとも本明細書に開示する半導体装置を備えた構成であればよく
、その他付属設備が適宜設けられた構成とすることができる。
図28(A)は携帯型のコンピュータの一例を示す斜視図である。
図28(A)の携帯型のコンピュータは、上部筐体9301と下部筐体9302とを接続
するヒンジユニットを閉状態として表示部9303を有する上部筐体9301と、キーボ
ード9304を有する下部筐体9302とを重ねた状態とすることができ、持ち運ぶこと
が便利であるとともに、使用者がキーボード入力する場合には、ヒンジユニットを開状態
として、表示部9303を見て入力操作を行うことができる。
また、下部筐体9302はキーボード9304の他に入力操作を行うポインティングデバ
イス9306を有する。また、表示部9303をタッチ入力パネルとすれば、表示部の一
部に触れることで入力操作を行うこともできる。また、下部筐体9302はCPUやハー
ドディスク等の演算機能部を有している。また、下部筐体9302は他の機器、例えばU
SBの通信規格に準拠した通信ケーブルが差し込まれる外部接続ポート9305を有して
いる。
上部筐体9301には更に上部筐体9301内部にスライドさせて収納可能な表示部93
07を有しており、広い表示画面を実現することができる。また、収納可能な表示部93
07の画面の向きを使用者は調節できる。また、収納可能な表示部9307をタッチ入力
パネルとすれば、収納可能な表示部の一部に触れることで入力操作を行うこともできる。
表示部9303または収納可能な表示部9307は、液晶表示パネル、有機発光素子また
は無機発光素子などの発光表示パネルなどの映像表示装置を用いる。
また、図28(A)の携帯型のコンピュータは、受信機などを備えた構成として、テレビ
放送を受信して映像を表示部または表示部に表示することができる。また、上部筐体93
01と下部筐体9302とを接続するヒンジユニットを閉状態としたまま、表示部930
7をスライドさせて画面全面を露出させ、画面角度を調節して使用者がテレビ放送を見る
こともできる。この場合には、ヒンジユニットを開状態として表示部9303を表示させ
ず、さらにテレビ放送を表示するだけの回路の起動のみを行うため、最小限の消費電力と
することができ、バッテリー容量の限られている携帯型のコンピュータにおいて有用であ
る。
また、図28(B)は、腕時計のように使用者の腕に装着可能な形態を有している携帯電
話の一例を示す斜視図である。
この携帯電話は、少なくとも電話機能を有する通信装置及びバッテリーを有する本体、本
体を腕に装着するためのバンド部、腕に対するバンド部の固定状態を調節する調節部92
05、表示部9201、スピーカ9207、及びマイク9208から構成されている。
また、本体は、操作スイッチ9203を有し、電源入力スイッチや、表示切り替えスイッ
チや、撮像開始指示スイッチの他、例えばボタンを押すとインタネット用のプログラムが
起動される。
この携帯電話の入力操作は、表示部9201に指や入力ペンなどで触れること、又は操作
スイッチ9203の操作、またはマイク9208への音声入力により行われる。なお、図
28(B)では、表示部9201に表示された表示ボタン9202を図示しており、指な
どで触れることにより入力を行うことができる。
また、本体は、撮影レンズを通して結像される被写体像を電子画像信号に変換する撮像手
段を有するカメラ部9206を有する。なお、特にカメラ部は設けなくともよい。
また、図28(B)に示す携帯電話は、テレビ放送の受信機などを備えた構成として、テ
レビ放送を受信して映像を表示部9201に表示することができ、さらにメモリなどの記
憶装置などを備えた構成として、テレビ放送をメモリに録画できる。また、図28(B)
に示す携帯電話は、GPSなどの位置情報を収集できる機能を有していてもよい。
表示部9201は、液晶表示パネル、有機発光素子または無機発光素子などの発光表示パ
ネルなどの映像表示装置を用いる。図28(B)に示す携帯電話は、小型、且つ、軽量で
あるため、バッテリー容量が限られており、表示部9201に用いる表示装置は低消費電
力で駆動できるパネルを用いることが好ましい。
なお、図28(B)では”腕”に装着するタイプの電子機器を図示したが、特に限定され
ず、携行できる形状を有しているものであればよい。
本実施例では、実施の形態1に示した作製方法を用いて薄膜トランジスタを作製し、−2
5℃乃至150℃の環境下における薄膜トランジスタ特性のオフ電流を評価した結果を示
す。
本実施例では、ガラス基板上にチャネル長Lの長さを3μmとする複数の薄膜トランジス
タを作製し、−25℃以上150℃以下の環境下における薄膜トランジスタ特性のオフ電
流を評価した。なお、チャネル幅Wは20μmとした。まず、薄膜トランジスタの作製方
法について説明する。
まず、ガラス基板上に下地膜として、CVD法により膜厚100nmの酸化窒化珪素膜を
形成し、酸化窒化珪素膜上にゲート電極層としてスパッタリング法により膜厚100nm
のタングステン膜を形成した。ここで、タングステン膜を選択的にエッチングしてゲート
電極層を形成した。
次に、ゲート電極層上にゲート絶縁層としてCVD法により膜厚100nmの酸化窒化珪
素膜を形成した。
次に、ゲート絶縁層上に、In−Ga−Zn−O系酸化物半導体ターゲット(In
:Ga:ZnO=1:1:1)を用いて、基板とターゲットの間との距離を80m
m、圧力0.4Pa、直流(DC)電源5kW、アルゴン及び酸素(アルゴン:酸素=5
0sccm:50sccm)雰囲気下、200℃で成膜を行い、膜厚30nmの酸化物半
導体層を形成した。ここで、酸化物半導体層を選択的にエッチングし、島状の酸化物半導
体層を形成した。
次に、酸化物半導体層を窒素雰囲気下、650℃で6分の第1の熱処理を行ったあと、つ
づいて大気雰囲気下、450℃で1時間、第2の熱処理を行った。
次に、酸化物半導体層上にソース電極層及びドレイン電極層としてチタン膜(膜厚100
nm)、アルミニウム膜(膜厚300nm)、及びチタン膜(膜厚100nm)の積層を
、スパッタリング法により100℃で形成した。ここで、ソース電極層及びドレイン電極
層を選択的にエッチングし、薄膜トランジスタのチャネル長Lの長さが3μm、チャネル
幅Wが20μmとなるようにした。
次に、酸化物半導体層に接するように絶縁層としてスパッタリング法により膜厚300n
mの酸化珪素膜を200℃で形成した。ここで、保護層である酸化珪素膜を選択的にエッ
チングし、ゲート電極層、ソース電極層及びドレイン電極層上に開口部を形成した。その
後、窒素雰囲気下、250℃で1時間、第3の熱処理を行った。
以上の工程により、チャネル長Lの長さを3μm、チャネル幅Wの長さを20μmとする
複数の薄膜トランジスタをガラス基板上に作製した。
つづいて、薄膜トランジスタのオフ電流を測定した。オフ電流特性の測定は、ソースとド
レインの間の電圧(以下、ドレイン電圧もしくはVdという)を10Vとし、ソースとゲ
ートの間の電圧(以下、ゲート電圧もしくはVgという)を−10Vにて行った。図4(
B)に測定時の基板温度を、−25℃、0℃、25℃、50℃、100℃、150℃と変
化させ、それぞれの基板温度(動作温度)における薄膜トランジスタのオフ電流を示す。
横軸の測定温度は、薄膜トランジスタのオフ電流測定時の基板温度(動作温度)をリニア
スケールで示してあり、縦軸は、各基板温度におけるオフ電流(Ioff)をログスケー
ルで示している。
本実施例で作製した薄膜トランジスタは、−25℃以上150℃以下の環境下において、
オフ電流の値が1×10−12A以下であることが確認できた。
10 パルス出力回路
11 配線
12 配線
13 配線
14 配線
15 配線
21 入力端子
22 入力端子
23 入力端子
24 入力端子
25 入力端子
26 出力端子
27 出力端子
28 トランジスタ
31 トランジスタ
32 トランジスタ
33 トランジスタ
34 トランジスタ
35 トランジスタ
36 トランジスタ
37 トランジスタ
38 トランジスタ
39 トランジスタ
40 トランジスタ
41 トランジスタ
42 トランジスタ
43 トランジスタ
51 電源線
52 電源線
53 電源線
61 期間
62 期間
100 基板
101 ゲート電極層
102 ゲート絶縁層
103 酸化物半導体層
107 絶縁層
110 チャネル保護層
150 薄膜トランジスタ
160 薄膜トランジスタ
170 薄膜トランジスタ
180 薄膜トランジスタ
201 スペクトル
202 スペクトル
203 スペクトル
301 スペクトル
302 スペクトル
303 スペクトル
311 スペクトル
312 スペクトル
313 スペクトル
321 スペクトル
322 スペクトル
323 スペクトル
400 ガラス基板
401 酸化窒化絶縁層
402 In−Ga−Zn−O系酸化物半導体層
403 分析方向
411 酸素イオン強度プロファイル
412 水素濃度プロファイル
413 水素濃度プロファイル
451 スペクトル
452 スペクトル
453 スペクトル
461 スペクトル
462 スペクトル
463 スペクトル
581 薄膜トランジスタ
583 絶縁膜
585 絶縁層
587 電極層
588 電極層
589 球形粒子
594 キャビティ
595 充填材
600 基板
601 対向基板
602 ゲート配線
603 ゲート配線
604 容量配線
605 容量配線
606 ゲート絶縁膜
616 配線
617 容量配線
618 配線
619 配線
620 絶縁膜
622 絶縁膜
623 コンタクトホール
624 画素電極
625 スリット
626 画素電極
627 コンタクトホール
628 TFT
629 TFT
630 保持容量部
631 保持容量部
636 着色膜
637 平坦化膜
640 対向電極
641 スリット
644 突起
646 配向膜
648 配向膜
650 窒素雰囲気中
650 液晶層
651 液晶素子
652 液晶素子
690 容量配線
701 ゲート電極層
702 ゲート絶縁層
703 半導体層
704 ソース電極層
705 ドレイン電極層
801 ガラス基板
802 ゲート電極層
803 ゲート絶縁層
804 酸化物半導体層
805 ソース電極層
806 ドレイン電極層
105a ソース電極層
105b ドレイン電極層
2600 TFT基板
2601 対向基板
2602 シール材
2603 画素部
2604 表示素子
2605 着色層
2606 偏光板
2607 偏光板
2608 配線回路部
2609 フレキシブル配線基板
2610 冷陰極管
2611 反射板
2612 回路基板
2613 拡散板
2700 電子書籍
2701 筐体
2703 筐体
2705 表示部
2707 表示部
2711 軸部
2721 電源
2723 操作キー
2725 スピーカ
4001 基板
4002 画素部
4003 信号線駆動回路
4004 走査線駆動回路
4005 シール材
4006 基板
4008 液晶層
4010 薄膜トランジスタ
4011 薄膜トランジスタ
4013 液晶素子
4015 接続端子電極
4016 端子電極
4018 FPC
4019 異方性導電膜
4020 絶縁層
4020 絶縁層(絶縁層
4021 絶縁層
4030 画素電極層
4031 対向電極層
4032 絶縁層
4040 導電層
4501 基板
4502 画素部
4505 シール材
4506 基板
4507 充填材
4509 薄膜トランジスタ
4510 薄膜トランジスタ
4511 発光素子
4512 電界発光層
4513 電極層
4515 接続端子電極
4516 端子電極
4517 電極層
4519 異方性導電膜
4520 隔壁
4540 導電層
4541 絶縁層
4544 絶縁層
5300 基板上
5300 基板
5301 画素部
5302 走査線駆動回路
5303 走査線駆動回路
5304 信号線駆動回路
5305 タイミング制御回路
5601 シフトレジスタ
5602 スイッチング回路部
5602 スイッチング回路
5603 薄膜トランジスタ
5604 配線
5605 配線
590a 黒色領域
590b 白色領域
6400 画素
6401 スイッチング用トランジスタ
6402 駆動用トランジスタ
6403 容量素子
6404 発光素子
6405 信号線
6406 走査線
6407 電源線
6408 共通電極
7001 TFT
7002 発光素子
7003 陰極
7004 EL層
7005 陽極
7009 隔壁
7011 TFT
7012 発光素子
7013 陰極
7014 EL層
7015 陽極
7016 遮蔽膜
7017 導電膜
7019 隔壁
7021 TFT
7022 発光素子
7023 陰極
7024 EL層
7025 陽極
7026 陽極
7027 導電膜
7029 隔壁
7031 酸化物絶縁層
7033 カラーフィルタ層
7034 オーバーコート層
7035 絶縁層
7041 酸化物絶縁層
7043 カラーフィルタ層
7044 オーバーコート層
7045 絶縁層
704a ドレイン電極層
704b ソース電極層
7051 酸化物絶縁層
7052 絶縁層
7053 平坦化絶縁層
7055 絶縁層
9201 表示部
9202 表示ボタン
9203 操作スイッチ
9205 調節部
9206 カメラ部
9207 スピーカ
9208 マイク
9301 上部筐体
9302 下部筐体
9303 表示部
9304 キーボード
9305 外部接続ポート
9306 ポインティングデバイス
9307 表示部
9600 テレビジョン装置
9601 筐体
9603 表示部
9605 スタンド
9607 表示部
9609 操作キー
9610 リモコン操作機
9700 デジタルフォトフレーム
9701 筐体
9703 表示部
9881 筐体
9882 表示部
9883 表示部
9884 スピーカ部
9885 入力手段(操作キー
9886 記録媒体挿入部
9887 接続端子
9888 センサ
9889 マイクロフォン
9890 LEDランプ
9891 筐体
9893 連結部
9900 スロットマシン
9901 筐体
9903 表示部
4503a 信号線駆動回路
4504a 走査線駆動回路
4518a FPC

Claims (4)

  1. 酸化物半導体層を有するトランジスタであって、
    前記酸化物半導体層は、インジウムと、ガリウムと、亜鉛と、を有し、
    チャネル長が1.5μm以上100μm以下であり、
    定温度が−25℃以上150℃以下の温度範囲において、チャネル幅が1μmあたりのオフ電流の値が1×10−12A以下であることを特徴とするトランジスタ。
  2. ゲート電極層と、ゲート絶縁層と、酸化物半導体層と、ソース電極層と、ドレイン電極層と、を有し、
    前記ゲート電極層は、前記ゲート絶縁層を介して前記酸化物半導体層を重なる領域を有し、
    前記ソース電極層は、前記酸化物半導体層と電気的に接続され、
    前記ドレイン電極層は、前記酸化物半導体層と電気的に接続され、
    前記酸化物半導体層は、インジウムと、ガリウムと、亜鉛と、を有し、
    チャネル長が1.5μm以上100μm以下であり、
    定温度が−25℃以上150℃以下の温度範囲において、チャネル幅が1μmあたりのオフ電流の値が1×10−12A以下であることを特徴とするトランジスタ。
  3. ゲート電極層を有し、
    前記ゲート電極層上にゲート絶縁層を有し、
    前記ゲート絶縁層上に酸化物半導体層を有し、
    前記酸化物半導体層上にチャネル保護層を有し、
    前記チャネル保護層上及び前記酸化物半導体層上にソース電極層を有し、
    前記チャネル保護層上及び前記酸化物半導体層上にドレイン電極層を有し、
    前記酸化物半導体層は、インジウムと、ガリウムと、亜鉛と、を有し、
    チャネル長が1.5μm以上100μm以下であり、
    定温度が−25℃以上150℃以下の温度範囲において、チャネル幅が1μmあたりのオフ電流の値が1×10−12A以下であることを特徴とするトランジスタ。
  4. 請求項1乃至3のいずれか一において、
    前記オフ電流は、ソースとドレインの間の電圧が10Vで、ソースとゲートの間の電圧が−10Vのときの値であることを特徴とするトランジスタ。
JP2015076725A 2010-03-31 2015-04-03 トランジスタ Active JP6080888B2 (ja)

Priority Applications (1)

Application Number Priority Date Filing Date Title
JP2015076725A JP6080888B2 (ja) 2010-03-31 2015-04-03 トランジスタ

Applications Claiming Priority (3)

Application Number Priority Date Filing Date Title
JP2010083072 2010-03-31
JP2010083072 2010-03-31
JP2015076725A JP6080888B2 (ja) 2010-03-31 2015-04-03 トランジスタ

Related Parent Applications (1)

Application Number Title Priority Date Filing Date
JP2011073911A Division JP5727832B2 (ja) 2010-03-31 2011-03-30 トランジスタ

Related Child Applications (1)

Application Number Title Priority Date Filing Date
JP2017005615A Division JP6318272B2 (ja) 2010-03-31 2017-01-17 半導体装置

Publications (2)

Publication Number Publication Date
JP2015164201A JP2015164201A (ja) 2015-09-10
JP6080888B2 true JP6080888B2 (ja) 2017-02-15

Family

ID=45043624

Family Applications (8)

Application Number Title Priority Date Filing Date
JP2011073911A Active JP5727832B2 (ja) 2010-03-31 2011-03-30 トランジスタ
JP2015076725A Active JP6080888B2 (ja) 2010-03-31 2015-04-03 トランジスタ
JP2017005615A Active JP6318272B2 (ja) 2010-03-31 2017-01-17 半導体装置
JP2018070928A Active JP6496062B2 (ja) 2010-03-31 2018-04-02 液晶表示装置
JP2019041781A Active JP6707688B2 (ja) 2010-03-31 2019-03-07 発光表示パネル
JP2020087834A Active JP6924871B2 (ja) 2010-03-31 2020-05-20 発光表示パネル
JP2021126433A Active JP7101852B2 (ja) 2010-03-31 2021-08-02 半導体装置の作製方法
JP2022108235A Active JP7291275B2 (ja) 2010-03-31 2022-07-05 表示装置

Family Applications Before (1)

Application Number Title Priority Date Filing Date
JP2011073911A Active JP5727832B2 (ja) 2010-03-31 2011-03-30 トランジスタ

Family Applications After (6)

Application Number Title Priority Date Filing Date
JP2017005615A Active JP6318272B2 (ja) 2010-03-31 2017-01-17 半導体装置
JP2018070928A Active JP6496062B2 (ja) 2010-03-31 2018-04-02 液晶表示装置
JP2019041781A Active JP6707688B2 (ja) 2010-03-31 2019-03-07 発光表示パネル
JP2020087834A Active JP6924871B2 (ja) 2010-03-31 2020-05-20 発光表示パネル
JP2021126433A Active JP7101852B2 (ja) 2010-03-31 2021-08-02 半導体装置の作製方法
JP2022108235A Active JP7291275B2 (ja) 2010-03-31 2022-07-05 表示装置

Country Status (1)

Country Link
JP (8) JP5727832B2 (ja)

Families Citing this family (7)

* Cited by examiner, † Cited by third party
Publication number Priority date Publication date Assignee Title
JP5647860B2 (ja) * 2010-10-28 2015-01-07 富士フイルム株式会社 薄膜トランジスタおよびその製造方法
JP2013149953A (ja) * 2011-12-20 2013-08-01 Semiconductor Energy Lab Co Ltd 半導体装置及び半導体装置の作製方法
JP6088253B2 (ja) * 2012-01-23 2017-03-01 株式会社半導体エネルギー研究所 半導体装置
WO2014003086A1 (en) * 2012-06-29 2014-01-03 Semiconductor Energy Laboratory Co., Ltd. Semiconductor device
WO2015068319A1 (ja) * 2013-11-06 2015-05-14 株式会社Joled 薄膜トランジスタ及びその製造方法
JP6393937B2 (ja) 2014-09-05 2018-09-26 Dic株式会社 薄膜トランジスタの製造方法、薄膜トランジスタ及びトランジスタアレイ
US20180145096A1 (en) * 2016-11-23 2018-05-24 Semiconductor Energy Laboratory Co., Ltd. Display device and electronic device

Family Cites Families (19)

* Cited by examiner, † Cited by third party
Publication number Priority date Publication date Assignee Title
JP4090716B2 (ja) * 2001-09-10 2008-05-28 雅司 川崎 薄膜トランジスタおよびマトリクス表示装置
JP5305630B2 (ja) * 2006-12-05 2013-10-02 キヤノン株式会社 ボトムゲート型薄膜トランジスタの製造方法及び表示装置の製造方法
WO2008105347A1 (en) * 2007-02-20 2008-09-04 Canon Kabushiki Kaisha Thin-film transistor fabrication process and display device
WO2008126879A1 (en) * 2007-04-09 2008-10-23 Canon Kabushiki Kaisha Light-emitting apparatus and production method thereof
JP5406449B2 (ja) * 2007-05-30 2014-02-05 キヤノン株式会社 酸化物半導体を用いた薄膜トランジスタの製造方法および表示装置
US7935964B2 (en) * 2007-06-19 2011-05-03 Samsung Electronics Co., Ltd. Oxide semiconductors and thin film transistors comprising the same
US7982216B2 (en) * 2007-11-15 2011-07-19 Fujifilm Corporation Thin film field effect transistor with amorphous oxide active layer and display using the same
CN101897031B (zh) * 2007-12-13 2013-04-17 出光兴产株式会社 使用了氧化物半导体的场效应晶体管及其制造方法
JP5213458B2 (ja) * 2008-01-08 2013-06-19 キヤノン株式会社 アモルファス酸化物及び電界効果型トランジスタ
JP5305696B2 (ja) * 2008-03-06 2013-10-02 キヤノン株式会社 半導体素子の処理方法
JP5305731B2 (ja) * 2008-05-12 2013-10-02 キヤノン株式会社 半導体素子の閾値電圧の制御方法
KR101344594B1 (ko) * 2008-05-22 2013-12-26 이데미쓰 고산 가부시키가이샤 스퍼터링 타겟, 그것을 이용한 비정질 산화물 박막의 형성 방법, 및 박막 트랜지스터의 제조 방법
KR101468591B1 (ko) * 2008-05-29 2014-12-04 삼성전자주식회사 산화물 반도체 및 이를 포함하는 박막 트랜지스터
KR100963026B1 (ko) * 2008-06-30 2010-06-10 삼성모바일디스플레이주식회사 박막 트랜지스터, 그의 제조 방법 및 박막 트랜지스터를구비하는 평판 표시 장치
KR100963027B1 (ko) * 2008-06-30 2010-06-10 삼성모바일디스플레이주식회사 박막 트랜지스터, 그의 제조 방법 및 박막 트랜지스터를구비하는 평판 표시 장치
JP2010040552A (ja) * 2008-07-31 2010-02-18 Idemitsu Kosan Co Ltd 薄膜トランジスタ及びその製造方法
JP2010045263A (ja) * 2008-08-15 2010-02-25 Idemitsu Kosan Co Ltd 酸化物半導体、スパッタリングターゲット、及び薄膜トランジスタ
US10644163B2 (en) * 2008-08-27 2020-05-05 Idemitsu Kosan Co., Ltd. Semiconductor film comprising an oxide containing in atoms, Sn atoms and Zn atoms
JP4623179B2 (ja) * 2008-09-18 2011-02-02 ソニー株式会社 薄膜トランジスタおよびその製造方法

Also Published As

Publication number Publication date
JP2017103472A (ja) 2017-06-08
JP5727832B2 (ja) 2015-06-03
JP6707688B2 (ja) 2020-06-10
JP6496062B2 (ja) 2019-04-03
JP6924871B2 (ja) 2021-08-25
JP2015164201A (ja) 2015-09-10
JP7101852B2 (ja) 2022-07-15
JP2018113474A (ja) 2018-07-19
JP7291275B2 (ja) 2023-06-14
JP2021184098A (ja) 2021-12-02
JP2020166278A (ja) 2020-10-08
JP2011228679A (ja) 2011-11-10
JP6318272B2 (ja) 2018-04-25
JP2022153409A (ja) 2022-10-12
JP2019106547A (ja) 2019-06-27

Similar Documents

Publication Publication Date Title
JP6700367B2 (ja) 液晶表示装置の作製方法
JP6229085B2 (ja) 液晶表示装置及びその作製方法
JP6250907B2 (ja) 半導体装置の作製方法
JP7291275B2 (ja) 表示装置

Legal Events

Date Code Title Description
A977 Report on retrieval

Free format text: JAPANESE INTERMEDIATE CODE: A971007

Effective date: 20160530

A131 Notification of reasons for refusal

Free format text: JAPANESE INTERMEDIATE CODE: A131

Effective date: 20160607

TRDD Decision of grant or rejection written
A01 Written decision to grant a patent or to grant a registration (utility model)

Free format text: JAPANESE INTERMEDIATE CODE: A01

Effective date: 20161220

A61 First payment of annual fees (during grant procedure)

Free format text: JAPANESE INTERMEDIATE CODE: A61

Effective date: 20170117

R150 Certificate of patent or registration of utility model

Ref document number: 6080888

Country of ref document: JP

Free format text: JAPANESE INTERMEDIATE CODE: R150

R250 Receipt of annual fees

Free format text: JAPANESE INTERMEDIATE CODE: R250

R250 Receipt of annual fees

Free format text: JAPANESE INTERMEDIATE CODE: R250

R250 Receipt of annual fees

Free format text: JAPANESE INTERMEDIATE CODE: R250

R250 Receipt of annual fees

Free format text: JAPANESE INTERMEDIATE CODE: R250

R250 Receipt of annual fees

Free format text: JAPANESE INTERMEDIATE CODE: R250

R250 Receipt of annual fees

Free format text: JAPANESE INTERMEDIATE CODE: R250

R250 Receipt of annual fees

Free format text: JAPANESE INTERMEDIATE CODE: R250