JP6077397B2 - スパークプラグの製造方法 - Google Patents

スパークプラグの製造方法 Download PDF

Info

Publication number
JP6077397B2
JP6077397B2 JP2013129360A JP2013129360A JP6077397B2 JP 6077397 B2 JP6077397 B2 JP 6077397B2 JP 2013129360 A JP2013129360 A JP 2013129360A JP 2013129360 A JP2013129360 A JP 2013129360A JP 6077397 B2 JP6077397 B2 JP 6077397B2
Authority
JP
Japan
Prior art keywords
rear end
metal shell
talc
cutting
gap
Prior art date
Legal status (The legal status is an assumption and is not a legal conclusion. Google has not performed a legal analysis and makes no representation as to the accuracy of the status listed.)
Expired - Fee Related
Application number
JP2013129360A
Other languages
English (en)
Other versions
JP2015005388A (ja
Inventor
和彦 野本
和彦 野本
寛幸 間
寛幸 間
Current Assignee (The listed assignees may be inaccurate. Google has not performed a legal analysis and makes no representation or warranty as to the accuracy of the list.)
Niterra Co Ltd
Original Assignee
NGK Spark Plug Co Ltd
Priority date (The priority date is an assumption and is not a legal conclusion. Google has not performed a legal analysis and makes no representation as to the accuracy of the date listed.)
Filing date
Publication date
Application filed by NGK Spark Plug Co Ltd filed Critical NGK Spark Plug Co Ltd
Priority to JP2013129360A priority Critical patent/JP6077397B2/ja
Publication of JP2015005388A publication Critical patent/JP2015005388A/ja
Application granted granted Critical
Publication of JP6077397B2 publication Critical patent/JP6077397B2/ja
Expired - Fee Related legal-status Critical Current
Anticipated expiration legal-status Critical

Links

Images

Landscapes

  • Ignition Installations For Internal Combustion Engines (AREA)
  • Spark Plugs (AREA)

Description

本発明は、スパークプラグの製造方法に関する。
スパークプラグの製造において、主体金具と絶縁碍子との間隙に滑石が充填され、その後、主体金具の端部が径方向内側へ加締められる。例えば特許文献1には、切削金具の刃先よりも後端側に設けられた当接面が、主体金具の端部に当接する状態になるまで、切削金具に滑石へ向かう方向の荷重を加えることによって、滑石を切削する技術が開示されている。この技術によれば、主体金具の端部から切削後の滑石までの距離がほぼ一定に保たれるので、滑石の充填量の変動が抑制される。
特開2011−34792号公報
しかし、特許文献1の技術では、切削金具の当接面を主体金具の端部に当接させるため、主体金具にキズがつくことがあった。このようなキズは、スパークプラグの製造において、外観不良の原因となることがあった。
本発明は、上述の課題を解決するためになされたものであり、以下の形態として実現することが可能である。
軸線方向に伸びる筒状の主体金具と、前記主体金具の内側に配置された絶縁体と、前記主体金具と前記絶縁体との間隙に充填された滑石と、を備えるスパークプラグの製造方法であって、
(A)前記主体金具の内側に前記絶縁体を配置する工程と、
(B)前記主体金具の後端側から前記間隙に前記滑石を充填する工程と、
(C)前記主体金具の後端側から前記軸線方向に沿って前記間隙に入り込む刃先部と、該刃先部の後端側に配置され前記刃先部が前記間隙に入り込んだときに前記主体金具の後端部と対向する先端面を備える本体部と、を有する切削金具を、前記主体金具の前記軸線を中心に相対的に回転させて前記充填された滑石の後端部を切削する工程と、
(D)前記主体金具の後端部を径方向内側へ加締める工程と、を備え、
前記工程(C)では、前記本体部の前記先端面と前記主体金具の後端部とが接触しないように、前記切削金具を前記軸線方向に沿って相対的に移動させて前記滑石を切削し、
前記工程(D)では、前記主体金具の後端側から前記間隙に筒状の治具を挿入して前記治具の端部を前記滑石の後端へ接触させることにより、前記治具を介して前記工程(C)によって切削された前記滑石の後端の位置を測定し、測定された前記滑石の後端の位置情報に基づいて取得された値が予め定められた範囲内の場合に、前記主体金具の後端部を加締めることを特徴とする、
スパークプラグの製造方法。
また、本発明は、以下の形態として実現することも可能である。
(1)本発明の一形態によれば、軸線方向に伸びる筒状の主体金具と、前記主体金具の内側に配置された絶縁体と、前記主体金具と前記絶縁体との間隙に充填された滑石と、を備えるスパークプラグの製造方法が提供される。この製造方法は、(A)前記主体金具の内側に前記絶縁体を配置する工程と;(B)前記主体金具の後端側から前記間隙に前記滑石を充填する工程と;(C)前記主体金具の後端側から前記軸線方向に沿って前記間隙に入り込む刃先部と、該刃先部の後端側に配置され前記刃先部が前記間隙に入り込んだときに前記主体金具の後端部と対向する先端面を備える本体部と、を有する切削金具を、前記主体金具に対して相対的に回転させて前記充填された滑石の後端部を切削する工程と;(D)前記主体金具の後端部を径方向内側へ加締める工程と、を備え;前記工程(C)では、前記本体部の前記先端面と前記主体金具の後端部とが接触しないように、前記切削金具を前記軸線方向に沿って相対的に移動させて前記滑石を切削することを特徴とする。この形態の製造方法によれば、切削金具の本体部の先端面と主体金具の後端部とが接触することによって主体金具の後端部に傷が生じることを、防ぐことができる。
(2)上記形態の製造方法において、前記工程(C)では、前記切削金具を相対的に移動させる前の前記刃先部の位置に対する前記主体金具の所定の部位の位置に基づいて、前記切削金具を相対的に移動させる量を決定することを特徴としてもよい。この形態の製造方法によれば、切削金具を相対的に移動させる前の刃先部の位置と主体金具の所定の部位の位置とに基づいて切削金具の移動量を決定し、決定された移動量に基づいて、滑石の後端部に対して切削を行うことができる。
(3)上記形態の製造方法において、前記工程(D)では、前記工程(C)によって切削された前記滑石の後端の位置を測定し、測定された前記滑石の後端の位置情報に基づいて取得された値が予め定められた範囲内の場合に、前記主体金具の後端部を加締めることを特徴としてもよい。この形態の製造方法によれば、滑石の後端の位置を予め定められた範囲内とした上で、主体金具の後端部を加締めることができる。そのため、主体金具と絶縁体との間隙に充填された滑石の充填量を管理することができる。よって、滑石の充填量が多すぎることによる主体金具の変形や、少なすぎることによる主体金具と絶縁体との間における気密性の低下を、抑制することができる。
(4)上記形態の製造方法において、前記工程(D)では、前記主体金具の後端側から前記間隙に筒状の治具を挿入して前記治具の端部を前記滑石の後端へ接触させることにより、前記治具を介して前記滑石の後端の位置の測定を行うことを特徴としてもよい。この形態の製造方法によれば、充填された滑石の後端の位置が一様でない場合であっても、治具が筒状であることにより、治具の端部が滑石の最後端に接触するので、滑石の最後端の位置を確実に取得できる。
本発明は、上述した製造方法以外の種々の形態で実現することも可能である。例えばスパークプラグや、スパークプラグを備える車両等の形態で実現することができる。
本発明を適用して製造されるスパークプラグ100の一例を示す部分断面図である。 スパークプラグ100の製造工程を示すフローチャートである。 ステップS10の様子を示す図である。 ステップS20の様子を示す図である。 ステップS30の様子を示す図である。 切削金具500の形状を示す説明図である。 ステップS40の様子を示す図である。 ステップS50の様子を示す図である。 ステップS60の様子を示す図である。
A.実施形態:
A1.スパークプラグの構成:
図1は、本発明を適用して製造されるスパークプラグ100の一例を示す部分断面図である。以下では、図1においてスパークプラグ100の軸線方向ODを図面における上下方向とし、下側をスパークプラグの先端側、上側を後端側として説明する。なお、図1では、軸線O−Oの右側にスパークプラグ100の外観を示し、軸線O−Oの左側にスパークプラグ100を軸線O−O(すなわち、中心軸)を通る面で切断した断面を示している。
絶縁碍子10は、アルミナ等を焼成することにより形成された絶縁体である。絶縁碍子10の形状は、軸線方向ODへ延びる軸孔12が中心軸に沿って形成された筒状である。絶縁碍子10には、軸線方向ODの略中央に外径が最も大きな鍔部19が形成されており、それより後端側には鍔部19よりも外径の小さな後端側胴部18が形成されている。鍔部19より先端側には、鍔部19よりも外径の小さな先端側胴部17が形成されている。先端側胴部17よりもさらに先端側には、先端側胴部17よりも外径の小さな脚長部13が形成されている。脚長部13は、先端側ほど外径が小さくなっている。この脚長部13は、スパークプラグ100が内燃機関のエンジンヘッド200に取り付けられた際には、内燃機関の燃焼室内に曝される。脚長部13と先端側胴部17との間には段部15が形成されている。
中心電極20は、絶縁碍子10に設けられた軸孔12内に保持されている。中心電極20は、絶縁碍子10の先端側から後端側に向かって中心軸O−Oに沿って延びており、絶縁碍子10の先端側において露出している。中心電極20は、電極母材21の内部に芯材25を埋設した構造を有する棒状の電極である。電極母材21は、インコネル600またはインコネル601等(インコネルは登録商標)のニッケルを主成分とする合金から形成されている。芯材25は、電極母材21よりも熱伝導性に優れる銅または銅を主成分とする合金から形成されている。中心電極20は、有底筒状に形成された電極母材21の内部に芯材25を詰め、底側から押出成形を行って引き延ばすことで作製される。芯材25は、胴部分においては略一定の外径をなすものの、先端側においては先細り形状に形成される。軸孔12内において、中心電極20は、シール体4およびセラミック抵抗3を介して、絶縁碍子10の後端側に設けられた端子金具40に電気的に接続されている。なお、中心電極20、シール体4、セラミック抵抗3および端子金具40は、併せて「中軸」とも呼ばれる。
主体金具50は、低炭素鋼材より形成された筒状の金具であり、絶縁碍子10を内部に保持している。絶縁碍子10の後端側胴部18の一部から脚長部13にかけての部位は、主体金具50によって取り囲まれている。
主体金具50は、工具係合部51と、取付ネジ部52とを備えている。工具係合部51は、スパークプラグレンチ(図示せず)が嵌合する部位である。主体金具50の取付ネジ部52は、ネジ山が形成された部位であり、内燃機関の上部に設けられたエンジンヘッド200の取付ネジ孔201に螺合する。このように、主体金具50の取付ネジ部52をエンジンヘッド200の取付ネジ孔201に螺合させて締め付けることより、スパークプラグ100は、内燃機関のエンジンヘッド200に固定される。
主体金具50の工具係合部51と取付ネジ部52との間には、鍔状のシール部54が形成されている。取付ネジ部52とシール部54との間のネジ首59には、板体を折り曲げて形成した環状のガスケット5が嵌挿されている。ガスケット5は、スパークプラグ100をエンジンヘッド200に取り付けた際に、シール部54の座面55と取付ネジ孔201の開口周縁部205との間で押し潰されて変形する。このガスケット5の変形により、スパークプラグ100とエンジンヘッド200間が封止され、取付ネジ孔201を介した燃焼ガスの漏出が抑制される。
主体金具50の工具係合部51より後端側には、薄肉の後端部50aが設けられている。また、シール部54と工具係合部51との間には、薄肉の座屈部58が設けられている。主体金具50の工具係合部51から後端部50aにかけての内周面と、絶縁碍子10の後端側胴部18の外周面との間には、円環状のリング部材6,7が挿入されている。さらに両リング部材6,7間には、滑石(タルク)9の粉末が充填されている。後端部50aを径方向内側に折り曲げるようにして加締めることにより、主体金具50と絶縁碍子10とが固定される。主体金具50と絶縁碍子10との間の気密性は、主体金具50の内周面に形成された段部56と、絶縁碍子10の段部15との間に介在する環状の板パッキン8によって保持され、燃焼ガスの漏出が防止される。座屈部58は、加締めの際に、圧縮力の付加に伴い外向きに撓み変形するように構成されており、滑石9の圧縮長さを確保して主体金具50内の気密性を高めている。
主体金具50の先端部には、主体金具50の先端部から中心軸O−Oに向かって屈曲した接地電極30が接合されている。接地電極30は、インコネル600、インコネル601等(インコネルは登録商標)の耐腐食性が高いニッケル合金で形成することが可能である。この接地電極30と主体金具50との接合は、溶接により行うことができる。接地電極30の先端部33は、中心電極20と対向している。
スパークプラグ100の端子金具40には、図示しない高圧ケーブルがプラグキャップ(図示しない)を介して接続される。そして、この端子金具40とエンジンヘッド200との間に高電圧を印加することにより、接地電極30と中心電極20との間に火花が生じる。
A2.スパークプラグの製造:
図2は、スパークプラグ100の製造工程を示すフローチャートである。本実施形態では、まず、主体金具50に対し、板パッキン8と、中軸が組み込まれた絶縁碍子10とが、軸線方向ODへ挿入される(ステップS10)。
図3は、ステップS10の様子を示す図である。図3には、このステップS10によって、主体金具50に対し、板パッキン8と絶縁碍子10とが挿入された状態が示されている。図3に示す「+」のハッチングは、中軸(図示せず)が組み込まれた絶縁碍子10を表している。このことは、以降の図においても同様である。ステップS10は、本願の工程Aに相当する。
主体金具50に対し、板パッキン8と絶縁碍子10とが挿入されると、次に、主体金具50の後端部50aの内周面と絶縁碍子10の外周面との間隙に、リング部材7が挿入されるとともに、滑石9が充填される(ステップS20)。このとき、滑石9は、主体金具50の後端50t付近まで充填される。
図4は、ステップS20の様子を示す図である。なお、図4には、図3に示した破線部分Cを拡大して示している。このことは、以降の図においても同様である。ステップS20では、さらに、絶縁碍子10と主体金具50との間隙にプレス治具(図示しない)が挿入される。挿入されたプレス治具に軸線方向ODへ荷重が加えられると、滑石9は、上方から軸線方向ODに圧縮される。このように、滑石9が軸線方向ODに圧縮されることにより、絶縁碍子10は、主体金具50内で先端側に向け押圧されて主体金具50に組み付けられる。図4には、滑石9が圧縮されて、絶縁碍子10が主体金具50に組み付けられた状態が示されている。ステップS20は、本願の工程Bに相当する。
主体金具50と絶縁碍子10との間隙に滑石9が充填されると、切削金具500を移動させる量(移動量)が決定される(ステップS30)。
図5は、ステップS30の様子を示す図である。図5には、絶縁碍子10を挿通するように配置された切削金具500が示されている。
図6は、切削金具500の形状を示す説明図である。図6(a)には、切削金具500の側面の外観が示されており、図6(b)には、切削金具500を下面(すなわち、軸線方向ODの先端側)から見た外観が示されている。図6において、矢印は、切削金具500の回転方向に相当する。以降、図5および図6を用いて、ステップS30について説明する。
図6に示すように、円筒状の切削金具500は、刃先部540と本体部520とを有している。刃先部540は、複数の刃が環状に並んで配置されることで構成されている。刃と刃の間は、本体部520まで切り込まれている。切削された滑石9の切削粉は、この刃と刃の間から切削金具500の外側に排出される。刃先部540の外径は、主体金具50の後端部50aの内径よりもやや小さく、刃先部540の内径は、絶縁碍子10の後端側胴部18よりもやや大きい。
本体部520は、刃先部540の後端側に設けられている。本体部520の外径は、主体金具50の後端部50aの外径よりも大きく、本体部520の内径は、絶縁碍子10の後端側胴部18よりも大きい。本体部520は、刃先部540との間に設けられた先端面560を有している。先端面560は、刃先部540が間隙に入り込んだときに、主体金具50の後端部50aと対向する。このような形状を有することにより、切削金具500は、刃先部540の軸方向ODの長さ分だけ、すなわち、先端面560と後端部50aとが接触するまで、間隙に入り込む。
図5に戻り、ステップS30では、刃先部540の位置P1に対する、主体金具50の後端部50a(より好ましくは後端50t)の位置P2に基づいて切削金具500を移動させる量(移動量)が決定される。切削金具500を主体金具50へ向けて移動させる量は、例えば、刃先部540の位置P1と後端部50aの位置P2との差分の絶対値に、予め定められた移動量(値)βを足した量とすることができる。また、移動量βは、先端面560と刃先部540の先端との位置の差分の絶対値αよりも小さくなるように設定される。こうすることで、先端面560と後端部50aとの接触が防止される。
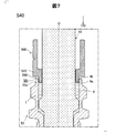
切削金具500を移動させる量(移動量)が決定されると(ステップS30)、切削金具500が移動するとともに、切削金具500に荷重がかけられて回転することによって、滑石9の後端部9aが切削される(ステップS40)。切削された滑石9の切削粉は、切削金具500の刃と刃との間から排出される。
図7は、ステップS40の様子を示す図である。図7には、切削金具500によって、滑石9の後端部9aが切削される様子が示されている。ステップS30で決定された移動量に基づいて切削金具500が移動することで、切削金具500を移動させた分だけ、滑石9の後端部9aが切削される。また、滑石9の後端部9aは、切削金具500の先端面560と主体金具50の後端部50aとが接触しない状態で切削される。なお、ステップS30およびステップS40は、本願の工程Cに相当する。
滑石9の後端部9aが切削されると、滑石9の後端9tの位置P3が、主体金具50の後端部50aの位置P2に対して、予め定められた範囲内か否かが確認される(ステップS50)。
図8は、ステップS50の様子を示す図である。具体的には、ステップS50では、図8に示すように、主体金具50の後端50t側から、主体金具50と絶縁碍子10との間隙に、円筒状の治具であるスリーブ600を挿入し、スリーブ600の端部600aを滑石9の後端9tに接触させる。こうすることによって、スリーブ600を介して、滑石9の後端9tの位置P3が測定される。位置P3は、例えばセンサによって測定することができる。主体金具50の後端部50aの位置P2に対する、滑石9の後端9tの位置P3の範囲は、主体金具50の後端部50aを加締めた際に、主体金具50の形状の変化や、主体金具50と絶縁碍子10との気密性の低下が抑制可能となるように、例えば実験によって予め定めることができる。なお、位置P2に対する位置P3は、本願の「位置情報」に相当する。
測定された位置P3が、主体金具50の後端部50aの位置P2に対して予め定められた範囲内である場合には(ステップS50:YES)、間隙にリング部材6が挿入され、後端部50aが径方向内側へ加締められる(ステップS60)。図9は、ステップS60の様子を示す図である。図9には、後端部50aが径方向内側へ加締められた様子を示している。
一方、ステップS50において、位置P3が位置P2に対して予め定められた範囲内でない場合には(ステップS50:NO)、滑石9の充填の状態が不合格(NG)であると判断される。なお、滑石9の充填量が多いために不合格であると判断された場合には、滑石9の後端部9aを、切削金具500により再度切削してもよい。また、滑石9の充填量が少ないために不合格であると判断された場合には、主体金具50と絶縁碍子10との間隙に、滑石9を再度充填してもよい。以上で説明した一連の手順を経て、スパークプラグ100が製造される。
以上で説明した本実施形態のスパークプラグ100の製造方法によれば、切削金具500の本体部520と後端部50aとが接触しないように滑石9の後端部9aが切削される。そのため、本体部520の先端面560が、主体金具50の後端部50aに接触することによって、後端部50aに傷がつくことを防ぐことができる。よって、スパークプラグ100の外観不良を低減することができる。
また、切削金具500を移動させる量は、刃先部540の位置P1に対する主体金具50の後端部50aの位置P2に基づいて決定される。そのため、滑石9の後端部9aに対し、一定量の切削を行うことができる。
また、本実施形態では、一定量の切削が行われた後、主体金具50の後端部50aの位置P2に対する、滑石9の後端9tの位置P3が測定される。よって、滑石9の後端9tの位置P3を管理することができるので、滑石9の充填量を管理することができる。その後、測定された位置P3が、後端部50aの位置P2に対して予め定められた範囲である場合には、後端部50aの加締めが行われる。そのため、従来技術のように切削金具500の先端面560を後端部50aに接触させることによって、滑石9の切削量を調整しなくとも、滑石9の切削量(充填量)を調整することができる。よって、加締め後の主体金具50の工具係合部51の変形や、主体金具50と絶縁碍子10との間の気密性が不十分となることを抑制することができる。
さらに、本実施形態では、滑石9の後端9tの位置P3は、スリーブ600の端部600aを滑石9の後端9tに接触させることによって測定される。そのため、充填された滑石9の後端9tの位置P3が一様でない場合であっても、スリーブ600の端部600aを、滑石9の最後端に接触するので、滑石9の最後端の位置を確実に取得することができる。
B.変形例:
上述の実施形態におけるステップS30では、切削金具500の刃先部540の位置P1に対する、主体金具50の後端部50a(後端50t)の位置P2に基づいて、切削金具500を移動させる量が決定される。これに対し、切削金具500を移動させる量は、刃先部540の位置P1に対する、主体金具50の他の部位の位置に基づいて決定されてもよい。他の部位とは、例えば、主体金具50の工具係合部51や、座面55などであってもよい。
上述の実施形態におけるステップS40では、滑石9の後端部9aを切削するために、切削金具500を主体金具50へ向けて移動させている。これに対し、主体金具50を切削金具500の刃先部540側へ移動させることにより、滑石9の後端部9aを切削してもよい。また、切削金具500を主体金具50へ向けて移動させるとともに、主体金具50を切削金具500の刃先部540側へ向けて移動させることにより、滑石9の後端部9aを切削してもよい。
上述の実施形態におけるステップS40では、滑石9の後端部9aを切削するために、切削金具500を回転させている。これに対し、主体金具50を回転させることにより、滑石9の後端部9aを切削してもよい。また、切削金具500を回転させるとともに、主体金具50を切削金具500と逆方向に回転させることにより、滑石9の後端部9aを切削してもよい。
上述の実施形態における切削金具500は、円筒状である。これに対し、切削金具500は、刃先部540が間隙に入り込んだときに、主体金具50の後端部50aと対向する先端面560を有すれば、円筒状でなくともよい。例えば、図6に示す切削金具500の刃を一つ以上残すように、切削金具500を軸線方向ODに沿って切断した形状(半円形状や、棒状等)であってもよい。このような形状の切削金具を、軸線O−Oを中心とし、主体金具50に対して相対的に回転させることによって、滑石9の後端部9aを切削してもよい。
本発明は、上述の実施形態や変形例に限られるものではなく、その趣旨を逸脱しない範囲において種々の構成で実現することができる。例えば、発明の概要の欄に記載した各形態中の技術的特徴に対応する実施形態、変形例中の技術的特徴は、上述の課題の一部又は全部を解決するために、あるいは、上述の効果の一部又は全部を達成するために、適宜、差し替えや、組み合わせを行うことが可能である。また、その技術的特徴が本明細書中に必須なものとして説明されていなければ、適宜、削除することが可能である。
3…セラミック抵抗
4…シール体
5…ガスケット
6、7…リング部材
8…板パッキン
9…滑石
9a…滑石の後端部
9t…滑石の後端
10…絶縁碍子
12…軸孔
13…脚長部
15…段部
17…先端側胴部
18…後端側胴部
19…鍔部
20…中心電極
21…電極母材
25…芯材
30…接地電極
33…先端部
40…端子金具
50…主体金具
50a…主体金具の後端部
50t…主体金具の後端
51…工具係合部
52…取付ネジ部
54…シール部
55…座面
56…段部
58…座屈部
59…ネジ首
100…スパークプラグ
200…エンジンヘッド
201…取付ネジ孔
205…開口周縁部
500…切削金具
520…本体部
540…刃先部
560…先端面
600…スリーブ
600a…スリーブの端部
P1…刃先部の位置
P2…主体金具の後端部の位置
P3…滑石の後端の位置
OD…軸線方向
O−O…軸線

Claims (2)

  1. 軸線方向に伸びる筒状の主体金具と、前記主体金具の内側に配置された絶縁体と、前記主体金具と前記絶縁体との間隙に充填された滑石と、を備えるスパークプラグの製造方法であって、
    (A)前記主体金具の内側に前記絶縁体を配置する工程と、
    (B)前記主体金具の後端側から前記間隙に前記滑石を充填する工程と、
    (C)前記主体金具の後端側から前記軸線方向に沿って前記間隙に入り込む刃先部と、該刃先部の後端側に配置され前記刃先部が前記間隙に入り込んだときに前記主体金具の後端部と対向する先端面を備える本体部と、を有する切削金具を、前記主体金具の前記軸線を中心に相対的に回転させて前記充填された滑石の後端部を切削する工程と、
    (D)前記主体金具の後端部を径方向内側へ加締める工程と、を備え、
    前記工程(C)では、前記本体部の前記先端面と前記主体金具の後端部とが接触しないように、前記切削金具を前記軸線方向に沿って相対的に移動させて前記滑石を切削し、
    前記工程(D)では、前記主体金具の後端側から前記間隙に筒状の治具を挿入して前記治具の端部を前記滑石の後端へ接触させることにより、前記治具を介して前記工程(C)によって切削された前記滑石の後端の位置を測定し、測定された前記滑石の後端の位置情報に基づいて取得された値が予め定められた範囲内の場合に、前記主体金具の後端部を加締めることを特徴とする、
    スパークプラグの製造方法。
  2. 請求項1記載のスパークプラグの製造方法であって、
    前記工程(C)では、前記切削金具を相対的に移動させる前の前記刃先部の位置に対する前記主体金具の所定の部位の位置に基づいて、前記切削金具を相対的に移動させる量を決定することを特徴とする、スパークプラグの製造方法。
JP2013129360A 2013-06-20 2013-06-20 スパークプラグの製造方法 Expired - Fee Related JP6077397B2 (ja)

Priority Applications (1)

Application Number Priority Date Filing Date Title
JP2013129360A JP6077397B2 (ja) 2013-06-20 2013-06-20 スパークプラグの製造方法

Applications Claiming Priority (1)

Application Number Priority Date Filing Date Title
JP2013129360A JP6077397B2 (ja) 2013-06-20 2013-06-20 スパークプラグの製造方法

Publications (2)

Publication Number Publication Date
JP2015005388A JP2015005388A (ja) 2015-01-08
JP6077397B2 true JP6077397B2 (ja) 2017-02-08

Family

ID=52301130

Family Applications (1)

Application Number Title Priority Date Filing Date
JP2013129360A Expired - Fee Related JP6077397B2 (ja) 2013-06-20 2013-06-20 スパークプラグの製造方法

Country Status (1)

Country Link
JP (1) JP6077397B2 (ja)

Family Cites Families (4)

* Cited by examiner, † Cited by third party
Publication number Priority date Publication date Assignee Title
JPS6449906A (en) * 1987-08-20 1989-02-27 Toyo Glass Co Ltd Measuring instrument for top inclination of glass bottle
JPH05192922A (ja) * 1992-01-20 1993-08-03 Tokyo Seimitsu Co Ltd 薄溝加工機
JP5192461B2 (ja) * 2009-07-31 2013-05-08 日本特殊陶業株式会社 複合部品の製造装置及び製造方法
JP5358612B2 (ja) * 2011-04-05 2013-12-04 日本特殊陶業株式会社 スパークプラグの製造方法

Also Published As

Publication number Publication date
JP2015005388A (ja) 2015-01-08

Similar Documents

Publication Publication Date Title
US8188641B2 (en) Spark plug
JP5260748B2 (ja) スパークプラグ
US8624473B2 (en) Spark plug
JP5414896B2 (ja) スパークプラグ
JP6482719B2 (ja) 点火プラグ
JP5167211B2 (ja) スパークプラグの製造装置及び製造方法
JP6158283B2 (ja) スパークプラグ
WO2010131410A1 (ja) スパークプラグ
JP6426120B2 (ja) スパークプラグ
JP6328093B2 (ja) スパークプラグ
JP6077397B2 (ja) スパークプラグの製造方法
JP4837688B2 (ja) スパークプラグ
JP5798203B2 (ja) スパークプラグ
JP5683409B2 (ja) スパークプラグおよびスパークプラグの製造方法
JP5513466B2 (ja) スパークプラグの製造方法
JP6903717B2 (ja) 点火プラグ
JP5144738B2 (ja) 中心電極およびスパークプラグの製造方法
JP5192461B2 (ja) 複合部品の製造装置及び製造方法
JP5451676B2 (ja) スパークプラグの製造方法
JP6675340B2 (ja) 棒部材
JP6335770B2 (ja) スパークプラグ用の絶縁体の製造方法
JP5400198B2 (ja) スパークプラグ用絶縁体及びその製造方法、並びに、内燃機関用スパークプラグ
JP2018152310A (ja) スパークプラグ
JP2017033812A (ja) スパークプラグの製造方法

Legal Events

Date Code Title Description
A621 Written request for application examination

Free format text: JAPANESE INTERMEDIATE CODE: A621

Effective date: 20150610

A131 Notification of reasons for refusal

Free format text: JAPANESE INTERMEDIATE CODE: A131

Effective date: 20160216

A521 Request for written amendment filed

Free format text: JAPANESE INTERMEDIATE CODE: A523

Effective date: 20160404

A02 Decision of refusal

Free format text: JAPANESE INTERMEDIATE CODE: A02

Effective date: 20160913

A521 Request for written amendment filed

Free format text: JAPANESE INTERMEDIATE CODE: A523

Effective date: 20161121

A911 Transfer to examiner for re-examination before appeal (zenchi)

Free format text: JAPANESE INTERMEDIATE CODE: A911

Effective date: 20161201

TRDD Decision of grant or rejection written
A01 Written decision to grant a patent or to grant a registration (utility model)

Free format text: JAPANESE INTERMEDIATE CODE: A01

Effective date: 20161220

A61 First payment of annual fees (during grant procedure)

Free format text: JAPANESE INTERMEDIATE CODE: A61

Effective date: 20170112

R150 Certificate of patent or registration of utility model

Ref document number: 6077397

Country of ref document: JP

Free format text: JAPANESE INTERMEDIATE CODE: R150

R250 Receipt of annual fees

Free format text: JAPANESE INTERMEDIATE CODE: R250

R250 Receipt of annual fees

Free format text: JAPANESE INTERMEDIATE CODE: R250

LAPS Cancellation because of no payment of annual fees