JP6076762B2 - レポート作成支援システム及びレポート作成支援プログラム - Google Patents

レポート作成支援システム及びレポート作成支援プログラム Download PDF

Info

Publication number
JP6076762B2
JP6076762B2 JP2013018212A JP2013018212A JP6076762B2 JP 6076762 B2 JP6076762 B2 JP 6076762B2 JP 2013018212 A JP2013018212 A JP 2013018212A JP 2013018212 A JP2013018212 A JP 2013018212A JP 6076762 B2 JP6076762 B2 JP 6076762B2
Authority
JP
Japan
Prior art keywords
annotation
medical image
unit
report
character string
Prior art date
Legal status (The legal status is an assumption and is not a legal conclusion. Google has not performed a legal analysis and makes no representation as to the accuracy of the status listed.)
Active
Application number
JP2013018212A
Other languages
English (en)
Other versions
JP2014149689A (ja
Inventor
麻希 水口
麻希 水口
賢一 丹羽
賢一 丹羽
Current Assignee (The listed assignees may be inaccurate. Google has not performed a legal analysis and makes no representation or warranty as to the accuracy of the list.)
Canon Medical Systems Corp
Original Assignee
Toshiba Medical Systems Corp
Priority date (The priority date is an assumption and is not a legal conclusion. Google has not performed a legal analysis and makes no representation as to the accuracy of the date listed.)
Filing date
Publication date
Application filed by Toshiba Medical Systems Corp filed Critical Toshiba Medical Systems Corp
Priority to JP2013018212A priority Critical patent/JP6076762B2/ja
Publication of JP2014149689A publication Critical patent/JP2014149689A/ja
Application granted granted Critical
Publication of JP6076762B2 publication Critical patent/JP6076762B2/ja
Active legal-status Critical Current
Anticipated expiration legal-status Critical

Links

Images

Landscapes

  • Measuring And Recording Apparatus For Diagnosis (AREA)
  • Medical Treatment And Welfare Office Work (AREA)

Description

本発明の実施形態は、レポート作成支援システム及びレポート作成支援プログラムに関する。
医療分野においては、専門分野が細分化されている。たとえば、X線CT装置、MRI装置等により取得された医用画像の読影を行う場合、専門の医師(読影医)に依頼することが広く行われている。読影医は、読影対象の医用画像を確認しながら、その所見を読影レポートとしてまとめる作業を行う。
読影レポートの作成には、たとえば、レポート作成装置が用いられる。レポート作成装置を用いた読影レポート作成は、読影医が表示部に表示された医用画像を確認し、所見を見出す。そして、読影医がその所見を表示部に表示された所見入力欄に文字列として入力することにより行われる。所見の判断に用いられた医用画像は、「キー画像」という場合がある。
読影レポートを作成する際、キー画像中における注目部位(たとえば、血栓や腫瘍等の病変部)を明確にするため、キー画像にアノテーションと呼ばれる円や多角形等の図形を付与することが行われる。
また、読影レポートを作成する際、所見入力欄に入力された文字列と医用画像とをリンク付けすることも可能である(ハイパーリンク)。読影医は、入力部等を介してリンク付けする医用画像を選択し、その医用画像のドラッグを行う。そして、読影医は、ドラッグした医用画像をリンク付けしようとする所望の文字列にドロップする(以下、このドラッグ操作及びドロップ操作を合わせて「ドラッグアンドドロップ」という場合がある)。ドラッグアンドドロップの操作により、選択された医用画像の記憶先を示すアドレス情報がドロップされた文字列にリンク付けされる。更に、レポート作成装置は、医用画像のリンク付けと併せて、リンク付けされた文字列の色を変更し、下線を付すなどして識別可能に表示する。下線が付された文字列が選択されると、レポート作成装置は、選択された文字列にリンク付けされた医用画像を表示させる。
特開2005−301453号公報
ここで、一つの医用画像に複数のアノテーションが付される場合がある。このような医用画像を所望の文字列にハイパーリンクした場合において、所望の文字列が選択されると、表示部には複数のアノテーションが付された医用画像が表示される。よって、医用画像を確認したレポート作成依頼者(医師等)は、所望の文字列の内容が医用画像に示されたどのアノテーションに関する記載なのか(複数のアノテーション全てに対応する記載なのか、一のアノテーションに対応する記載なのか等)を把握することが困難であった。
実施形態は、前述の問題点を解決するためになされたもので、読影レポートの文字列とその文字列にリンク付けされた医用画像に付されたアノテーションとの対応を容易に把握することが可能なレポート作成支援技術を提供することを目的とする。
上記課題を解決するために、実施形態に記載のレポート作成支援システムは、表示制御部と、入力部と、リンク付け部とを有する。表示制御部は、表示部に対し、複数のアノテーションが付された医用画像、及び複数の文字列から構成される読影レポートを作成するための作成画面を表示させる。入力部は、複数のアノテーションから所望のアノテーションを選択する。リンク付け部は、入力部により選択された所望のアノテーションのみが付された医用画像を作成画面における所望の文字列に対して移動する指示がなされた場合に、所望のアノテーションのみが付された医用画像を所望の文字列にリンク付けする。
実施形態に係る医用情報システムを示す全体図である。 実施形態に係るレポート作成支援装置を示すブロック図である。 実施形態に係る表示部を示す図である。 実施形態に係る表示部を示す図である。 実施形態に係る表示部を示す図である。 実施形態に係る表示部を示す図である。 実施形態に係る表示部を示す図である。 実施形態に係るレポート作成支援装置の動作を示すフローチャートである。 変形例2に係るレポート作成支援装置を示すブロック図である。 変形例2に係る表示部を示す図である。 変形例2に係る表示部を示す図である。 変形例2に係る表示部の別例を示す図である。 変形例2に係る表示部の別例を示す図である。 変形例3に係るレポート作成支援装置を示すブロック図である。 変形例3に係る表示部を示す図である。 変形例3に係る表示部を示す図である。
<実施形態>
図1から図5を参照して、本実施形態に係るレポート作成支援装置の構成について説明する。
[医用情報システム1の全体構成]
図1に示すように、医用情報システム1は、医用画像撮影装置2、医用画像保管装置3、レポート作成支援装置4及びレポート保管装置5を含んで構成されている。これらの装置間はLAN(Local Area Network)等のネットワークNを介して通信可能に接続されている。装置間の通信は、医用画像の標準規格であるDICOM(Digital Imaging and Communications in Medicine)に準拠することが望ましいが、適宜、他の標準規格を適用してもよい。情報通信は、業界標準規格のTCP/IP(Transmission Control Protocol/Internet Protocol)通信で、データはネットワークNを介してパケット(転送する情報の基本単位)でやり取りされる。
医用画像撮影装置2は、X線撮影装置、X線CT(Computed Tomography)装置及びMRI(Magnetic Resonance Imaging)装置等の撮影装置である。これらの撮影装置で被検体を撮影することにより、医用画像を取得することができる。取得された医用画像は、たとえばDICOMに準拠したファイル形式で医用画像保管装置3に送信される。送信される医用画像には、その医用画像を取得した日付、撮影条件等その医用画像に付随する画像関連情報が含まれている。なお、「画像」と「画像データ」は一対一に対応するので、本実施形態においては、これらを同一視する場合がある。
医用画像保管装置3は、医用画像撮影装置2から送信された医用画像等を保管する装置である。医用画像保管装置3は、所謂コンピュータであり、内部にCPU(Central Processing Unit。図示なし)、ROM(Read Only Memory。図示なし)、RAM(Random Access Memory。図示なし)及び大容量の記憶装置(図示なし)等を含んで構成されている。
レポート作成支援装置4は、読影医等からの指示入力に基づき、医用画像に関する所見を記録し、読影レポートを作成するための装置である。レポート作成支援装置4の詳細については後述する。
レポート保管装置5は、読影レポートを作成するための作成画面のテンプレート、レポート作成支援装置4で作成された読影レポート、及びその読影レポートを作成する際に参照した医用画像(キー画像)等を保管する装置である。レポート保管装置5は、所謂コンピュータであり、内部にCPU(図示なし)、ROM(図示なし)、RAM(図示なし)及び大容量の記憶装置(図示なし)等を含んで構成されている。なお、医用画像保管装置3及びレポート保管装置5は、一つの装置として構成されていてもよい。或いは、レポート作成支援装置4及びレポート保管装置5を一つの装置として構成することも可能である。
[レポート作成支援装置の構成]
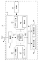
図2に示すように、レポート作成支援装置4は、入力部41と、表示部42と、処理部43とを含んで構成されている。本実施形態におけるレポート作成支援装置4は、「レポート作成支援システム」の一例である。
(入力部)
入力部41は、レポート作成支援装置4において各種の指示入力を行うために設けられている。入力部41は、たとえば、キーボード、マウス、トラックボール、ジョイスティック等により構成される。また、入力部41として、表示部42に表示されたGUI(Graphical User Interface)を用いることも可能である。
(表示部)
表示部42は、読影レポート及び医用画像を表示するディスプレイである。本実施形態では、第1の表示部42a及び第2の表示部42bを有するデュアルディスプレイが用いられている。第1の表示部42aには医用画像が表示される。第2の表示部42bには読影レポートを作成するための作成画面や、作成された読影レポートが表示される。
(処理部)
本実施形態において、処理部43は、通信部431、表示制御部432、レポート作成部433、アノテーション部434及びリンク付け部435を有する。処理部43は、たとえばCPUにより構成される。
通信部431は、入力部41等からの指示入力に基づいて、読影レポートを作成する際に参照する医用画像を医用画像保管装置3から取得する。たとえば、入力部41で検査IDが入力された場合、通信部431は、その検査IDに対応する医用画像を医用画像保管装置3から読み出す。また、通信部431は、入力部41等からの指示入力に基づいて、読影レポートの作成画面のテンプレートをレポート保管装置5から取得する。また、通信部431は、レポート作成支援装置4により作成された読影レポート等をレポート保管装置5に送信する。
表示制御部432は、表示部42(第1の表示部42a及び第2の表示部42b)に対する各種の表示制御を行う。たとえば、表示制御部432は、医用画像保管装置3から取得した医用画像を第1の表示部42aに表示させる。また、表示制御部432は、レポート保管装置5から取得したテンプレートに基づき、読影レポートの作成画面を第2の表示部42bに表示させる。
また、本実施形態における表示制御部432は、切替部432aを含んで構成されている。レポート作成支援装置4は、医用画像に表示されたアノテーションを操作可能なモード(以下、「第1のモード」という場合がある)、アノテーションを医用画像に対して固定することでアノテーションが付された医用画像を生成するモード(以下、「第2のモード」という場合がある)を有する。すなわち、第1のモードは、アノテーションの位置や形状の変更が可能なモードである。第2のモードは、アノテーションの位置や形状の変更が不可能なモードである。切替部432aは、入力部41等からの指示入力に基づいて、第1のモードと第2のモードとの切り替えを行う。
レポート作成部433は、入力部41等からの指示入力に基づいて、第2の表示部42bに表示された読影レポートの作成画面の所見入力欄に所見の内容を記入する。たとえば、入力部41がキーボードからなる場合、レポート作成部433は、読影医により押下された文字キーに対応付けられた文字を所見入力欄に電子データとして記録することにより、所見入力欄に所見の内容を記入する。所見の内容は、複数の文字列で構成される。
アノテーション部434は、入力部41等からの指示入力に基づいて、第1の表示部42aに表示された医用画像中にアノテーションを付加させる。
アノテーションは、医用画像中に付加することで注目部位等を認識し易くするためのマークである。アノテーションは、様々な形態で表示される。たとえば、アノテーションは、注目部位(病変部等)を指す矢印や、注目部位を囲む円、楕円、多角形、或いは、注目部位を囲むようにフリーハンドで描かれた線等、医用画像上に描出される図形である。また、アノテーションには、注目部位の大きさを示す目盛り等も含まれる。
図3は、第1の表示部42aに表示された医用画像Iの一例を示す図である。図3では、医用画像I中に円形状のアノテーションA及び矢印形状のアノテーションA、アノテーションAが付されている。このように、一の医用画像に複数のアノテーションが付加されてもよい。
アノテーションの付加は、手動または自動で行うことが可能である。
アノテーションの付加を手動で行う場合、第1のモード下、読影医は医用画像の注目部位に対して図形を描く。アノテーション部434は、描かれた図形をアノテーションとして医用画像に表示させる。その後、切替部432aは、第1のモードから第2のモードに切り替えを行う。これにより、アノテーション部434は、表示されたアノテーションを医用画像に対して固定することで、アノテーションが付された医用画像を生成する(すなわち、アノテーション部434は、医用画像にアノテーションを付加する)。
一方、アノテーションの付加を自動で行う場合、たとえば、特開2010−57902号公報の技術を応用することが可能である。ここでは、図3に示すような3つのアノテーションを付加する例について述べる。読影医は、予め設定された複数のアノテーションの中から一のアノテーションを選択する。そして、第1のモード下、読影医がマウス(入力部41)により医用画像中の注目部位を選択すると、アノテーション部434は、選択された部分に選択されたアノテーション(アノテーションA)を表示させる。読影医は、入力部41を介してアノテーションAの位置を調整する。同様に、アノテーション部434は、医用画像Iにおいて、矢印のアノテーションA及びアノテーションAを表示させる。その後、切替部432aは、入力部41からの指示入力に基づき、第1のモードから第2のモードに切り替えを行う。これにより、アノテーション部434は、表示されたアノテーションA〜Aを医用画像Iに対して固定する(すなわち、アノテーション部434は、医用画像にアノテーションを付加する。図3参照)。
なお、アノテーションを選択する代わりに、予め設定された情報(たとえば、読影医の読影ルーチンに基づく複数のアノテーションの組み合わせや、過去の読影レポート作成時に使用したアノテーションの情報)に基づいてアノテーションを自動で表示させてもよい。たとえば、入力部41により注目部位が選択された場合、アノテーション部434は、予め設定された情報に基づくアノテーションを自動で選択し、注目部位の位置に表示させる。
アノテーションの付加は、医用画像に対してアノテーションの画像を重ねる(オーバーレイ)ことでもよいし、医用画像においてアノテーションが表示される領域の画素をアノテーションのGSPS(Grayscale Softcopy Presentation State)に基づいて置き換えることでもよい。
リンク付け部435は、入力部41により選択された所望のアノテーションのみが付された医用画像を作成画面における所望の文字列に対して移動する指示がなされた場合に、所望のアノテーションのみが付された医用画像を所望の文字列にリンク付けする。リンク付けの処理は、第1の表示部42aにアノテーションが付加された医用画像が表示され、且つ第2の表示部42bに読影レポートの作成画面が表示された状態で行われる。
本実施形態において、「所望のアノテーション」とは、医用画像に付加されたアノテーションのうち、読影医が望む所望の文字列に記載された内容に関連する領域を示すアノテーションをいう。「所望の文字列」とは、読影レポートに示される複数の文字列のうち、医用画像をリンク付け(ハイパーリンク)する対象となる文字列をいう。また、「移動する指示」とは、ドラッグアンドドロップの操作をいう。また、「医用画像を所望の文字列にリンク付けする」とは、医用画像データを読影レポートに示される所望の文字列のデータに関連付けることをいう。この関連付けには、たとえば、読影レポート内における画像の位置(貼付位置)や画像のサイズ等が含まれる。
以下、図4A〜図4Dを参照して、リンク付けの具体例について説明する。ここでは、図3に示すアノテーションA〜Aが付された医用画像Iにおいて、アノテーションAのみが選択された場合について述べる。以下の説明では、アノテーションAが「所望のアノテーション」であり、文字列βが「所望の文字列」であるとする。文字列βは、アノテーションAで示された領域に関する所見が記載されているものとする。また、リンク付けの操作は、第2のモードで実行されるものとして述べる。
読影医は、第2の表示部42bに表示される読影レポートの作成画面Wに患者IDや患者の氏名等を入力する。また、読影医は、所見入力欄Fに医用画像Iに関する所見を示す文字列α及び文字列βを入力する(図4A参照)。
その後、読影医は、文字列βに関して、アノテーションAが付された医用画像Iのリンク付けを行う。
この場合、読影医は、入力部41によりアノテーションAを選択する(ドラッグ操作。図4B参照)。表示制御部432は、選択されたアノテーションAが他のアノテーションと識別可能となるよう表示形態を変更する。たとえば、表示制御部432は、選択されたアノテーションAの表示色を他のアノテーションの表示色と変える。或いは、表示制御部432は、選択されたアノテーションAの近傍に選択されたことを示すマークを表示させてもよい。なお、図4Bでは、選択されたアノテーションとそれ以外のアノテーションとを区別するため、選択されたアノテーション(アノテーションA)を破線で示している。
アノテーションAが選択された場合、リンク付け部435は、選択されたアノテーションが表示される医用画像Iが有する特定情報(StudyインスタンスUID、SOPインスタンスUID、検査日、検査を行った医用画像撮影装置2の種類、指定されたアノテーションAの位置情報等)をURL形式の情報として取得する。
その後、読影医は、入力部41により、アノテーションAを選択した状態で医用画像Iを第2の表示部42bに表示された文字列βにドロップする(図4C参照)。リンク付け部435は、ドロップされた医用画像Iを文字列βにリンク付けする。リンク付けされた医用画像Iは、たとえば、作成画面Wの画像表示欄Fに表示される(図4D参照)。そして、リンク付け部435は、取得された特定情報を含むハイパーリンクに関する情報(以下、「ハイパーリンクURL情報」という場合がある)を作成し、読影レポートと関連付けてレポート保管装置5に記憶させる。
表示制御部432は、文字列βを他の文字列と識別可能な状態で表示させる。たとえば、表示制御部432は、文字列βの表示色を他の文字列の表示色と変更させ、且つ文字列βに下線を付す表示を行う(図4D参照)。
なお、上記では、一のアノテーションを選択する例について述べたが、複数のアノテーションを選択することも可能である。たとえば、入力部41がキーボードの場合、読影医は、SHIFTキーを押下したまま、キー操作を行うことにより、複数のアノテーションを選択することでできる。
また、ある文字列に対して、複数の医用画像をリンク付けすることも可能である。たとえば、上記例において医用画像Iを文字列βにリンク付けした後、読影医によって異なる医用画像I´が文字列βに対してドラッグアンドドロップされたとする。この場合、リンク付け部435は、ドロップされた医用画像I´を医用画像Iと共に文字列βにリンク付けする。
[動作]
次に、図5を参照して、本実施形態に係るレポート作成支援装置4の動作について説明する。
まず、レポート作成支援装置4を起動する。レポート作成支援装置4が起動されると、通信部431は、読影レポートの作成画面のテンプレートをレポート保管装置5から取得する。表示制御部432は、取得した読影レポートの作成画面を第2の表示部42bに表示させる(S10)。
次に、入力部41から検査IDが入力されると、通信部431はその検査IDに対応する医用画像を医用画像保管装置3から取得する。表示制御部432は、取得された医用画像を第1の表示部42aに表示させる(S11)。
読影医は、第1の表示部42aに表示された医用画像を観察し、所見を見出す。そして、読影医は、その所見を第2の表示部42bに表示された読影レポート作成画面に入力する。
また、読影医は、入力部41を介して医用画像中の注目部位を指定する。この指示入力に基づき、アノテーション部434は、注目部位に対してアノテーションを付加する(S12)。以下、医用画像Iに対して複数のアノテーションA〜Aが付加されたとして説明を行う(図3参照)。
ここで、読影医は、入力した文字列のうち所望の文字列に対し、その入力時に参照した医用画像のリンク付け(ハイパーリンク)を行う。この場合、読影医は、入力部41で複数のアノテーションから所望のアノテーション(アノテーションA)を選択する(S13)。
読影医は、アノテーションAを選択した状態(S13の状態)で医用画像Iをドラッグし、所望の文字列にドロップする(S14)。
リンク付け部435は、所望の文字列にドロップされた医用画像Iをリンク付けする(S15。ハイパーリンク)。
このようにして、所望のアノテーションのみが付された医用画像と所望の文字列とのハイパーリンクが作成された読影レポートが完成する(S16)。作成された読影レポートは、ハイパーリンクURL情報と共にレポート保管装置5に保管される。
作成された読影レポートを参照する場合、レポート作成依頼者は、操作端末(たとえば、レポート作成者が所有するPC)に検査IDを入力する。操作端末は、入力された検査IDに対応する読影レポートをレポート保管装置5から読み出し、操作端末の表示画面に表示させる。操作端末のキーボード等により、表示された読影レポートにおける所望の文字列が選択されると、操作端末は、所望の文字列にリンク付けされた医用画像を表示させる。表示された医用画像には、所望の文字列に関連する領域を示すアノテーション(所望のアノテーション)のみが示されている。よって、レポート作成依頼者は、所望の文字列に記載された内容が医用画像のどの領域に関するものであるかを容易に把握することができる。すなわち、所望のアノテーションのみが付された医用画像を表示させることにより、レポート作成依頼者による診断効率が向上する。
なお、本実施形態に係るレポート作成支援システムの構成は上記の構成に限られない。たとえば、複数の装置からなるシステムを構築することも可能である。
具体例として、医用画像を閲覧するための画像閲覧装置を設ける例について述べる。画像閲覧装置は、所謂コンピュータであり、CPU(図示なし)、ROM(図示なし)、及びRAM(図示なし)、表示部等を含んで構成されている。画像閲覧装置は、医用画像保管装置3から医用画像を受信し、画像ビューワと呼ばれるアプリケーションソフトウェアにて表示部に表示することができる。そして、画像閲覧装置では、医用画像の表示及びアノテーションの付加に関する処理等を実行させる。つまり、画像閲覧装置の表示部は「第1の表示部42a」に該当する。
一方、レポート作成支援装置4は、読影レポートの作成に関する処理(医用画像と文字列とのリンク付けを含む)を実行する(この場合、レポート作成支援装置4には第1の表示部42a及びアノテーション部434は不要である)。これにより上記実施形態の構成と同様の動作を行うことが可能となる。この場合、レポート作成支援装置4及び画像閲覧装置がレポート作成支援システムの一例となる。
或いは、レポート作成支援装置4を設ける代わりに、医用画像撮影装置2等の他の装置(コンピュータ)にレポート作成支援装置4の機能を実行させてもよい。たとえば、医用画像撮影装置2に所定のレポート作成支援プログラムを実行させることで医用画像撮影装置2に上記動作を行わせることも可能である。このようなレポート作成支援プログラムは、少なくとも表示制御機能及びリンク付け機能を有する。表示制御機能は、コンピュータ(たとえば、医用画像撮影装置2)の表示部に対し、少なくとも一つのアノテーションが付された医用画像、及び複数の文字列から構成される読影レポートを作成するための作成画面を表示させる。リンク付け機能は、コンピュータに設けられる入力部により選択された所望のアノテーションのみが付された医用画像を作成画面における所望の文字列に対して移動する指示がなされた場合に、所望のアノテーションのみが付された医用画像を所望の文字列にリンク付けする。
[作用・効果]
本実施形態に係るレポート作成支援システムの作用及び効果について説明する。
レポート作成支援システムは、表示制御部432と、リンク付け部435とを有する。表示制御部432は、表示部(第1の表示部42a、第2の表示部42b)に対し、少なくとも一つのアノテーションが付された医用画像、及び複数の文字列から構成される読影レポートを作成するための作成画面を表示させる。リンク付け部435は、入力部41により選択された所望のアノテーションのみが付された医用画像を作成画面における所望の文字列に対して移動する指示がなされた場合に、所望のアノテーションのみが付された医用画像を所望の文字列にリンク付けする。
このように、リンク付け部435は、所望のアノテーションのみが付された医用画像と所望の文字列とのリンク付けを行う。従って、その文字列にリンク付けされた医用画像を観察する医師等は、その文字列に示された内容が医用画像のどの領域に関する記載であるかを容易に判断することができる。すなわち、本実施形態におけるレポート作成支援システムによれば、読影レポートの文字列とその文字列にリンク付けされた医用画像に付されたアノテーションとの対応を容易に把握することが可能となる。
また、レポート作成支援システムにおける表示制御部432は、切替部432aを有する。切替部432aは、医用画像に表示されたアノテーションを操作可能な第1のモードと、アノテーションを医用画像に対して固定することでアノテーションが付された医用画像を生成する第2のモードとを切り替える。そして、入力部41による所望のアノテーションの選択は、第2のモードで行われる。
このように、切替部432aが第1のモードと第2のモードとを切り替えることで、医用画像に対してアノテーションを固定することができる。また、アノテーションが固定された状態でアノテーションの選択及びドラッグアンドドロップが可能となるため、医用画像に付されたアノテーションをドラッグした場合等にアノテーションの位置がずれることがない。
また、コンピュータにプログラムを実行させることで、本実施形態に係るレポート作成支援システムを実現させることも可能である。このようなレポート作成支援プログラムは、表示制御機能と、リンク付け機能とを有する。表示制御機能は、表示部に対し、少なくとも一つのアノテーションが付された医用画像、及び複数の文字列から構成される読影レポートを作成するための作成画面を表示させる。リンク付け機能は、入力部41により選択された所望のアノテーションのみが付された医用画像を作成画面における所望の文字列に対して移動する指示がなされた場合に、所望のアノテーションのみが付された医用画像を所望の文字列にリンク付けする。
このように、リンク付け機能により、コンピュータに所望のアノテーションのみが付された医用画像と所望の文字列とのリンク付けを行わせる。従って、その文字列にリンク付けされた医用画像を観察する医師等は、その文字列に示された内容が医用画像のどの部分に関する記載であるかを容易に判断することができる。すなわち、本実施形態におけるレポート作成支援プログラムを実行することで、読影レポートの文字列とその文字列にリンク付けされた医用画像に付されたアノテーションとの対応を容易に把握することが可能となる。
<変形例1>
上記実施形態では、第2のモード(アノテーションの位置や形状の変更が不可能なモード)下で、アノテーションが付された医用画像と所望の文字列とのリンク付けを行う例を示したが、同様の処理を第1のモード下で行うことも可能である。
一方、第1のモードは、アノテーションの位置や形状を変更することが可能なモードである。従って、第1のモード下、アノテーションを選択した状態でドラッグアンドドロップを行うと、アノテーションの位置が動く可能性がある。
そこで、リンク付け部435は、第1のモードにおいて入力部41によりアノテーションが選択された場合、選択されたアノテーションの位置を記憶する。そして、リンク付け部435は、入力部41の操作量が所定量以上になった場合には、その操作がドラッグアンドドロップの操作であると判断し、所望の文字列に対し、記憶された位置にアノテーションが付された医用画像をリンク付けする。所定量は、入力部41による操作がアノテーションに対する操作なのか、ドラッグアンドドロップの操作なのかを判別できる値である。たとえば、第1の表示部42aの表示画面における縦(または横)の長さを所定量として適用することができる。
本変形例におけるレポート作成支援装置4は、第1のモードで所望のアノテーションの選択を行い、医用画像を所望の文字列にリンク付けすることができる。すなわち、レポート作成支援装置4は、第2のモードへの切り替えが不要となる。従って、より簡易に所望の文字列と所望のアノテーションのみが付された医用画像とのハイパーリンクを行うことが可能となる。
<変形例2>
上記実施形態では所望のアノテーションを入力部41で直接選択する構成について述べたが、所望のアノテーションの選択は上記例に限られない。
たとえば、アノテーションが複数付された医用画像において、あるアノテーション以外、全てのアノテーションを選択したい場合もありうる。
この場合、図6に示すように、処理部43は、通信部431、表示制御部432、レポート作成部433、アノテーション部434、リンク付け部435及び選択部436を有する。
選択部436は、入力部41により一のアノテーションが指定された場合、それ以外のアノテーションを所望のアノテーションとして選択する。
図7A及び図7Bを参照して選択部436による処理の一例を示す。図7A及び図7Bは、第1の表示部42aに表示された医用画像Iを示す図である。医用画像Iには、4つのアノテーション(アノテーションA〜A)が付されている。
読影医が入力部41によりアノテーションAを指定したとする(図7A参照。図7Aでは指定されたアノテーションAを破線で示す)。このとき、選択部436は、アノテーションA以外で医用画像Iに付されているアノテーション(アノテーションA〜アノテーションA)を所望のアノテーションとして選択する(図7B参照)。図7Bの医用画像Iをドラッグアンドドロップすることにより、リンク付け部435は、所望の文字列に対し、アノテーションA〜アノテーションAのみが付された医用画像Iをリンク付けすることができる。
或いは、選択部436は、入力部41により一のアノテーションが指定された場合、指定されたアノテーション近傍のアノテーションを所望のアノテーションとして選択することも可能である。
図8A及び図8Bを参照して選択部436による処理の別例を示す。図8A及び図8Bは、第1の表示部42aに表示された医用画像Iを示す図である。医用画像Iには、6つのアノテーション(アノテーションA〜A)が付されている。
読影医が入力部41によりアノテーションAを指定したとする(図8A参照。図8Aでは指定されたアノテーションAを破線で示す)。このとき、選択部436は、アノテーションA、及びアノテーションAの近傍にあるアノテーション(アノテーションA〜アノテーションA)を所望のアノテーションとして選択する(図8B参照)。図8Bの医用画像Iをドラッグアンドドロップすることにより、リンク付け部435は、所望の文字列に対し、アノテーションA〜アノテーションAのみが付された医用画像Iをリンク付けすることができる。「指定されたアノテーションの近傍」とは、指定されたアノテーションから所定の画素範囲内にあるアノテーションをいう。所定の画素範囲は、任意に設定することが可能である。
このように、選択部436を設けることにより、複数のアノテーションを一度に選択することが可能となる。すなわち、本変形例にかかるレポート作成支援装置4によれば、所望のアノテーションが複数ある場合であってもそれらを簡易に選択することができる。
なお、所望のアノテーションの選択をどのように行うか(上記実施形態の処理で行うか、選択部436を用いた処理を行うか)は、予め設定することが可能である。たとえば、レポート作成支援装置4は、予め各選択に対応するモードを有している。読影医は、アノテーションの選択を行う際に、それらのモードから任意のモードを選んで設定することができる。
<変形例3>
所望の文字列に医用画像をリンク付けする前に、その医用画像(選択されたアノテーションのみが付された医用画像)を確認したい場合がある。
この場合、図9に示すように、処理部43は、通信部431、表示制御部432、レポート作成部433、アノテーション部434、リンク付け部435及び縮小画像作成部437を有する。
縮小画像作成部437は、所望のアノテーションが選択された場合に、所望のアノテーションのみが付された医用画像の縮小画像を作成する。表示制御部432は作成された縮小画像を表示部42に表示させる。
図10A及び図10Bを参照して縮小画像作成部437により表示される縮小画像の一例を示す。図10A及び図10Bは、第1の表示部42aに表示された医用画像Iを示す図である。
たとえば、医用画像Iにおいて、読影医が所望のアノテーションとしてアノテーションAを選択したとする(図10A参照。図10Aでは選択されたアノテーションAを破線で示す)。このとき、縮小画像作成部437は、選択されたアノテーションAのみが付された縮小画像Iを作成する。表示制御部432は、作成された縮小画像Iを医用画像Iに重ねて表示させる(図10B参照)。
このように、選択されたアノテーションを示す縮小画像を表示させることで、読影医は、所望の文字列と医用画像とのリンク付けを行う前に、リンク付けを行おうとしている医用画像が所望のアノテーションのみが付された医用画像であるかを確認することができる。
本発明のいくつかの実施形態を説明したが、これらの実施形態は、例として提示したものであり、発明の範囲を限定することは意図していない。これら新規な実施形態は、その他の様々な形態で実施されることが可能であり、発明の要旨を逸脱しない範囲で、種々の省略、置き換え、変更を行うことができる。これら実施形態やその変形は、発明の範囲や要旨に含まれるとともに、特許請求の範囲に記載された発明とその均等の範囲に含まれる。
1 医用情報システム
2 医用画像撮影装置
3 医用画像保管装置
4 レポート作成支援装置
5 レポート保管装置
41 入力部
42 表示部
42a 第1の表示部
42b 第2の表示部
43 処理部
431 通信部
432 表示制御部
432a 切替部
433 レポート作成部
434 アノテーション部
435 リンク付け部

Claims (7)

  1. 表示部に対し、複数のアノテーションが付された医用画像、及び複数の文字列から構成される読影レポートを作成するための作成画面を表示させる表示制御部と、
    前記複数のアノテーションから所望のアノテーションを選択する入力部と、
    前記入力部により選択された前記所望のアノテーションのみが付された前記医用画像を前記作成画面における所望の前記文字列に対して移動する指示がなされた場合に、前記所望のアノテーションのみが付された医用画像を前記所望の文字列にリンク付けするリンク付け部と、
    を有することを特徴とするレポート作成支援システム。
  2. 前記表示部は、
    前記アノテーションが付された医用画像を表示する第1の表示部と、
    前記作成画面を表示する第2の表示部と、
    を有することを特徴とする請求項1記載のレポート作成支援システム。
  3. 前記表示制御部は、前記医用画像に表示されたアノテーションを操作可能な第1のモードと、前記アノテーションを前記医用画像に対して固定することで前記アノテーションが付された医用画像を生成する第2のモードとを切り替え可能な切替部を有し、
    前記入力部による前記所望のアノテーションの選択は、前記第1のモードまたは前記第2のモードで行われることを特徴とする請求項1または2記載のレポート作成支援システム。
  4. 前記医用画像において、前記アノテーションは複数付されており、
    前記入力部により一のアノテーションが指定された場合、それ以外のアノテーションを前記所望のアノテーションとして選択する選択部を有することを特徴とする請求項1から3のいずれか一つに記載のレポート作成支援システム。
  5. 前記医用画像において、前記アノテーションは複数付されており、
    前記入力部により一のアノテーションが指定された場合、指定された前記アノテーション近傍のアノテーションを前記所望のアノテーションとして選択する選択部を有することを特徴とする請求項1から3のいずれか一つに記載のレポート作成支援システム。
  6. 前記医用画像において、前記アノテーションは複数付されており、
    前記所望のアノテーションが選択された場合に、前記所望のアノテーションのみが付された前記医用画像の縮小画像を作成する縮小画像作成部を有し、
    前記表示制御部は前記縮小画像を前記表示部に表示させることを特徴とする請求項1から5のいずれか一つに記載のレポート作成支援システム。
  7. コンピュータに、
    表示部に対し、複数のアノテーションが付された医用画像、及び複数の文字列から構成される読影レポートを作成するための作成画面を表示させる表示制御機能と、
    前記複数のアノテーションから所望のアノテーションを選択する入力機能と、
    前記入力機能により選択された前記所望のアノテーションのみが付された前記医用画像を前記作成画面における所望の前記文字列に対して移動する指示がなされた場合に、前記所望のアノテーションのみが付された医用画像を前記所望の文字列にリンク付けするリンク付け機能と、
    を実行させることを特徴とするレポート作成支援プログラム。
JP2013018212A 2013-02-01 2013-02-01 レポート作成支援システム及びレポート作成支援プログラム Active JP6076762B2 (ja)

Priority Applications (1)

Application Number Priority Date Filing Date Title
JP2013018212A JP6076762B2 (ja) 2013-02-01 2013-02-01 レポート作成支援システム及びレポート作成支援プログラム

Applications Claiming Priority (1)

Application Number Priority Date Filing Date Title
JP2013018212A JP6076762B2 (ja) 2013-02-01 2013-02-01 レポート作成支援システム及びレポート作成支援プログラム

Publications (2)

Publication Number Publication Date
JP2014149689A JP2014149689A (ja) 2014-08-21
JP6076762B2 true JP6076762B2 (ja) 2017-02-08

Family

ID=51572610

Family Applications (1)

Application Number Title Priority Date Filing Date
JP2013018212A Active JP6076762B2 (ja) 2013-02-01 2013-02-01 レポート作成支援システム及びレポート作成支援プログラム

Country Status (1)

Country Link
JP (1) JP6076762B2 (ja)

Families Citing this family (6)

* Cited by examiner, † Cited by third party
Publication number Priority date Publication date Assignee Title
JP6160664B2 (ja) * 2014-09-30 2017-07-12 キヤノンマーケティングジャパン株式会社 情報処理装置とサーバと情報処理システムと、その処理方法及びプログラム
KR101764774B1 (ko) * 2014-12-11 2017-08-07 대한민국 사진이 구비된 보고서 작성 시스템 및 그 프로그램을 기록한 컴퓨터로 판독 가능한 기록매체
JP7322409B2 (ja) * 2018-08-31 2023-08-08 ソニーグループ株式会社 医療システム、医療装置および医療方法
JP7341686B2 (ja) * 2019-03-19 2023-09-11 キヤノンメディカルシステムズ株式会社 医用情報収集装置
WO2022113798A1 (ja) * 2020-11-25 2022-06-02 パナソニック株式会社 医療用画像表示システム、医療用画像表示方法及びプログラム
JP6923863B1 (ja) * 2021-04-27 2021-08-25 Psp株式会社 レポート作成システム、レポート作成プログラム及びレポート作成方法

Family Cites Families (10)

* Cited by examiner, † Cited by third party
Publication number Priority date Publication date Assignee Title
JPH09274553A (ja) * 1996-04-04 1997-10-21 Toshiba Corp ウィンドウ表示制御装置及びウィンドウ表示制御方法
JP4165987B2 (ja) * 2000-08-10 2008-10-15 シャープ株式会社 デジタル放送受信装置
JP4356327B2 (ja) * 2003-01-31 2009-11-04 コニカミノルタホールディングス株式会社 医用画像処理装置及び医用画像処理方法
JP2005339295A (ja) * 2004-05-28 2005-12-08 Fuji Xerox Co Ltd 文書処理装置、文書処理方法及び文書処理プログラム
US7979383B2 (en) * 2005-06-06 2011-07-12 Atlas Reporting, Llc Atlas reporting
JP5426105B2 (ja) * 2008-03-27 2014-02-26 富士フイルム株式会社 医用レポートシステム、医用レポート閲覧装置、医用レポートプログラム、及び医用レポートシステムの作動方法
JP5317558B2 (ja) * 2008-07-07 2013-10-16 株式会社東芝 医用情報作成装置
JP2010057902A (ja) * 2008-08-06 2010-03-18 Toshiba Corp レポート作成支援装置、レポート作成支援システム、及び医用画像参照装置
JP5308973B2 (ja) * 2009-09-16 2013-10-09 富士フイルム株式会社 医用画像情報表示装置および方法並びにプログラム
JP5234836B2 (ja) * 2010-04-19 2013-07-10 日本電信電話株式会社 コンテンツ管理装置,情報関連度算出方法および情報関連度算出プログラム

Also Published As

Publication number Publication date
JP2014149689A (ja) 2014-08-21

Similar Documents

Publication Publication Date Title
JP4820680B2 (ja) 医用画像表示装置
US8634611B2 (en) Report generation support apparatus, report generation support system, and medical image referring apparatus
US10222954B2 (en) Image display apparatus, display control apparatus and display control method using thumbnail images
JP5674457B2 (ja) 患者の統合健康情報をシームレスに視覚表示するシステム及び方法
JP6076762B2 (ja) レポート作成支援システム及びレポート作成支援プログラム
JP6116945B2 (ja) 医用情報閲覧装置
JP5416845B2 (ja) 医用画像表示装置、医用情報管理サーバ
JP6214887B2 (ja) レポート作成支援装置及びレポート閲覧装置
JP2013122778A (ja) 医用レポート作成装置、医用レポート参照装置及びそのプログラム
CN106445435B (zh) 医用图像显示装置、系统和方法
JP2009230304A (ja) 医用レポート作成支援システム、プログラム及び方法
JP2018175216A (ja) 医用画像表示装置及びプログラム
JP4288526B2 (ja) レポート作成装置、及びレポート作成プログラム
JP5317558B2 (ja) 医用情報作成装置
JP2008245737A (ja) 医用情報処理装置
KR20210012492A (ko) 의료 영상 분석 보조 시스템, 화면을 갖는 전자 장치에서 수행되는 방법, 화면을 갖는 전자 장치의 그래픽 사용자 인터페이스
JP2012000472A (ja) 医用画像表示装置
JP2010187758A (ja) 医用画像表示装置、医用画像表示方法、及びプログラム
JP5707440B2 (ja) 医用情報表示装置
JP5512117B2 (ja) 医療情報システムおよび医用診断レポート表示装置
JP2010131238A (ja) 医用画像表示装置及びプログラム
JP6456539B1 (ja) レポート作成装置、レポート作成装置の制御方法、およびプログラム
JP6841136B2 (ja) 医用画像表示装置及びプログラム
JP2011014007A (ja) レポート作成装置、及び、レポート作成装置におけるリンク作成方法
JP5889131B2 (ja) 情報処理装置および情報処理装置の機能設定方法並びにプログラム

Legal Events

Date Code Title Description
A621 Written request for application examination

Free format text: JAPANESE INTERMEDIATE CODE: A621

Effective date: 20151201

A711 Notification of change in applicant

Free format text: JAPANESE INTERMEDIATE CODE: A711

Effective date: 20160527

A977 Report on retrieval

Free format text: JAPANESE INTERMEDIATE CODE: A971007

Effective date: 20160812

A131 Notification of reasons for refusal

Free format text: JAPANESE INTERMEDIATE CODE: A131

Effective date: 20160823

A521 Written amendment

Free format text: JAPANESE INTERMEDIATE CODE: A523

Effective date: 20161019

TRDD Decision of grant or rejection written
A01 Written decision to grant a patent or to grant a registration (utility model)

Free format text: JAPANESE INTERMEDIATE CODE: A01

Effective date: 20161213

A61 First payment of annual fees (during grant procedure)

Free format text: JAPANESE INTERMEDIATE CODE: A61

Effective date: 20170111

R150 Certificate of patent or registration of utility model

Ref document number: 6076762

Country of ref document: JP

Free format text: JAPANESE INTERMEDIATE CODE: R150

S533 Written request for registration of change of name

Free format text: JAPANESE INTERMEDIATE CODE: R313533

R350 Written notification of registration of transfer

Free format text: JAPANESE INTERMEDIATE CODE: R350