JP6074331B2 - 圧電センサ - Google Patents

圧電センサ Download PDF

Info

Publication number
JP6074331B2
JP6074331B2 JP2013144215A JP2013144215A JP6074331B2 JP 6074331 B2 JP6074331 B2 JP 6074331B2 JP 2013144215 A JP2013144215 A JP 2013144215A JP 2013144215 A JP2013144215 A JP 2013144215A JP 6074331 B2 JP6074331 B2 JP 6074331B2
Authority
JP
Japan
Prior art keywords
sheet
ground electrode
electrode
piezoelectric
laminated
Prior art date
Legal status (The legal status is an assumption and is not a legal conclusion. Google has not performed a legal analysis and makes no representation as to the accuracy of the status listed.)
Active
Application number
JP2013144215A
Other languages
English (en)
Other versions
JP2015017855A (ja
Inventor
信人 神谷
信人 神谷
直之 森本
直之 森本
八田 文吾
文吾 八田
賞純 岡林
賞純 岡林
Current Assignee (The listed assignees may be inaccurate. Google has not performed a legal analysis and makes no representation or warranty as to the accuracy of the list.)
Sekisui Chemical Co Ltd
Original Assignee
Sekisui Chemical Co Ltd
Priority date (The priority date is an assumption and is not a legal conclusion. Google has not performed a legal analysis and makes no representation as to the accuracy of the date listed.)
Filing date
Publication date
Priority to JP2013144215A priority Critical patent/JP6074331B2/ja
Application filed by Sekisui Chemical Co Ltd filed Critical Sekisui Chemical Co Ltd
Priority to US14/902,964 priority patent/US10768066B2/en
Priority to NO14822553A priority patent/NO3021099T3/no
Priority to EP14822553.5A priority patent/EP3021099B1/en
Priority to PCT/JP2014/067902 priority patent/WO2015005238A1/ja
Priority to KR1020157036705A priority patent/KR102303584B1/ko
Priority to CN201480037748.7A priority patent/CN105358950B/zh
Priority to TW103123556A priority patent/TWI669370B/zh
Publication of JP2015017855A publication Critical patent/JP2015017855A/ja
Application granted granted Critical
Publication of JP6074331B2 publication Critical patent/JP6074331B2/ja
Active legal-status Critical Current
Anticipated expiration legal-status Critical

Links

Images

Landscapes

  • Ultra Sonic Daignosis Equipment (AREA)

Description

本発明は、生産効率が高く且つ優れた圧電性を有する圧電センサに関する。
圧電シートをセンサとして用いた生体信号センサが知られている。脈波、呼吸、体動により発生する圧力が圧電シートに加わると、圧電シートから圧力に応じた大きさの電気信号が発生し、この電気信号を利用して生体信号を検出することができる。
特許文献1には、高分子材料からなる圧電体と、前記圧電体の一方の側に配置され、第1の絶縁体にシグナル電極を担持した第1の電極担持部と、前記圧電体の他方の側に配置され、第2の絶縁体にグランド電極を担持した第2の電極担持部とを備え、前記圧電体と前記第1の電極担持部と前記第2の電極担持部との重ね方向視において、前記シグナル電極が前記圧電体の領域内に収まり、且つ、前記圧電体全体が前記グランド電極の領域内に収まるかあるいは前記グランド電極の領域に重なり合うよう配置してある圧電センサが開示されている。
上記圧電センサは、これを構成している部材同士を一体化させるにあたって、溶剤を含む粘着剤を圧電シート、グランド電極又はシグナル電極に塗布した後に乾燥させることによって溶剤を除去して部材同士を一体化していることから、溶剤を蒸発、除去させるための乾燥時間を要し生産効率が低いという問題点を有する。
特許第5044196号公報
本発明は、生産効率が高く且つ優れた圧電性を有する圧電センサを提供する。
本発明の圧電センサは、圧電シートの一面に第一グランド電極が積層一体化されていると共に、上記圧電シートの他面にシグナル電極及び第二グランド電極がこの順序で積層一体化されてなる圧電センサであって、上記第一グランド電極は、電気絶縁シート上に第一グランド電極及び固定剤層がこの順序で積層一体化されてなる第一グランド電極シートを上記固定剤層により上記圧電シートの一面に貼着一体化することによって上記圧電シートの一面に積層一体化されていると共に、上記シグナル電極は、電気絶縁シート上にシグナル電極及び固定剤層がこの順序で積層一体化されてなるシグナル電極シートを上記固定剤層により上記圧電シートの他面に貼着一体化することによって上記圧電シートの他面に積層一体化されており、更に、上記第二グランド電極は、電気絶縁シート上に第二グランド電極及び固定剤層がこの順序で積層一体化されてなる第二グランド電極シートを上記固定剤層により上記圧電シートの他面に貼着一体化することによって上記シグナル電極上に積層一体化されており、上記シグナル電極シートの端面と上記第二グランド電極シートの端面とが交差する部分において、上記シグナル電極シートと上記第二グランド電極シートとの間に電気絶縁シートを介在させていることを特徴とする。
上記圧電センサにおいて、シグナル電極シートは、一面に離型処理がされた基材シートの離型処理面上に、粘着剤層、シグナル電極層及び電気絶縁シートがこの順序で積層一体化されてなる積層シートを上記電気絶縁シート側から上記基材シートに向かって切断刃により切断することによって形成されていると共に、第二グランド電極シートは、一面に離型処理がされた基材シートの離型処理面上に、粘着剤層、第二グランド電極層及び電気絶縁シートがこの順序で積層一体化されてなる積層シートを上記電気絶縁シート側から上記基材シートに向かって切断刃により切断することによって形成されていることを特徴とする。
上記圧電センサにおいて、シグナル電極シート及び第二グランド電極シートには切欠き部が形成されており、シグナル電極シート及び第二グランド電極シートの切欠き部の辺縁同士が交差しており、この交差部分において、上記シグナル電極シートと上記第二グランド電極シートとの間に電気絶縁シートを介在させていることを特徴とする。
本発明の圧電センサは、上述の如き構成を有していることから、圧電シートに、シグナル電極シート及び第一、第二グランド電極シートを貼着一体化するという簡単な工程によって効率良く製造することができる。
更に、本発明の圧電センサは、シグナル電極シートの端面と第二グランド電極シートの端面とが交差する部分において、シグナル電極シートと第二グランド電極シートとの間に電気絶縁シートを介在させているので、シグナル電極と第二グランド電極とが不測に短絡を生じるようなことはなく、圧電シートにて発生した電位を安定的にシグナル電極を通じて取り出すことができる。
本発明の圧電センサを示した平面図。 図1のII−II線断面図。 図1のIII−III線断面図 本発明の圧電センサを示した分解斜視図。 本発明の圧電センサを示した斜視図。 グランド電極シートの製造要領を示した斜視図。 グランド電極シートの製造要領を示した断面図。 シグナル電極シートの製造要領を示した斜視図。 シグナル電極シートの製造要領を示した断面図。
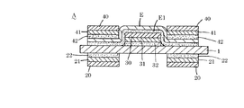
本発明の圧電センサの一例を図面を参照しながら説明する。圧電センサAは、図1〜5に示したように、圧電シート1と、この圧電シート1の一面に積層一体化された第一グランド電極21と、圧電シート1の他面に積層一体化されたシグナル電極31と、上記シグナル電極31上に積層一体化された第二グランド電極41とを有している。
圧電シート1としては、外力が加えられることによって電荷を発生させることができるシートであれば、特に限定されず、例えば、合成樹脂シート(合成樹脂発泡シート又は合成樹脂非発泡シート)に分極を付与した圧電シート、無機系圧電材料を樹脂に分散させた無機系シートに分極を付与した圧電シート、無機系圧電材料を含む無機系シートに分極を付与した圧電シートが挙げられ、脈波などの微弱な生体信号を精度良く検出でき、感度が高く、厚み方向の変形で電荷を発生しやすいことから、合成樹脂シート(合成樹脂発泡シート又は合成樹脂非発泡シート)に分極を付与した圧電シートが好ましく、合成樹脂発泡シートに分極を付与した圧電シートがより好ましい。
合成樹脂シートを構成する合成樹脂としては、特に限定されず、例えば、ポリエチレン系樹脂、ポリプロピレン系樹脂などのポリオレフィン系樹脂、ポリフッ化ビニリデン、ポリ乳酸、液晶樹脂などが挙げられる。無機系シートを構成する無機材料としては、例えば、チタン酸ジルコン酸鉛、チタン酸鉛、ニオブ酸カリウム、ニオブ酸リチウム、タンタル酸リチウム、タングステン酸ナトリウム、酸化亜鉛、リチウムテトラボレート、Ba2NaNb55,Pb2KNb515などが挙げられる。
合成樹脂シート又は無機系シートに分極を付与する方法としては、特に限定されず、例えば、(1)合成樹脂シート又は無機系シートを一対の平板電極で挟持し、帯電させたい表面に接触させている平板電極を高圧直流電源に接続すると共に他方の平板電極をアースし、合成樹脂シート又は無機系シートに直流又はパルス状の高電圧を印加して合成樹脂又は無機材料に電荷を注入して合成樹脂シート又は無機系シートに分極を付与する方法、(2)電子線、X線などの電離性放射線や紫外線を合成樹脂シート又は無機系シートの表面に照射して、合成樹脂シート又は無機系シートの近傍部の空気分子をイオン化することによって合成樹脂又は無機系シートに分極を付与する方法、(3)合成樹脂シート又は無機系シートの一面に、アースされた平板電極を密着状態に重ね合わせ、合成樹脂シート又は無機系シートの他面側に所定間隔を存して直流の高圧電源に電気的に接続された針状電極又はワイヤー電極を配設し、針状電極の先端又はワイヤー電極の表面近傍への電界集中によりコロナ放電を発生させ、空気分子をイオン化させて、針状電極又はワイヤー電極の極性により発生した空気イオンを反発させて合成樹脂又は無機系シートに分極を付与する方法などが挙げられる。
圧電シート1の一面には第一グランド電極21が積層一体化されている。この第一グランド電極21は、第一グランド電極シートBを圧電シート1の一面に貼着一体化することによって圧電シート1の一面に積層一体化されている。
第一グランド電極シートBは、電気絶縁シート20と第一グランド電極21と固定剤層22とがこの順序で積層一体化されており、電気絶縁シート20、第一グランド電極21及び固定剤層22が全て同一形状、同一大きさに形成されている。そして、第一グランド電極シートBをその固定剤層22により圧電シート1の一面に貼着一体化することによって、第一グランド電極21が圧電シート1の一面に積層一体化されている。
第一グランド電極シートBは下記の要領で製造される。先ず、図6及び図7に示したように、一面に離型処理が施された合成樹脂シートなどからなる基材シートB1の離型処理面B1aに、固定剤層となる粘着剤層B2と、第一グランド電極となる第一グランド電極層B3と、電気絶縁シートB4とをこの順序で互いに積層一体化させた積層シートB’を製造する。なお、基材シートB1の離型処理面B1aと、粘着剤層B2とは剥離可能に積層されている。第一グランド電極層B3と電気絶縁シートB4とは粘着剤層(図示せず)を介して積層一体化されていてもよい。
しかる後、電気絶縁シートB4側から基材シートB1に向かって切断刃によって所望形状に切断する。この際、基材シートB1は切断されても切断されていなくてもよい。このようにして、所望形状に切断された電気絶縁シート20上に、第一グランド電極21及び固定剤層22がこの順序で積層一体化されてなる第一グランド電極シートBを製造することができる。
そして、第一グランド電極シートBの固定剤層22上に基材シートB1が剥離可能に貼着されている場合には、基材シートB1を剥離、除去した上で、第一グランド電極シートBをその固定剤層22を介して圧電シート1の一面に貼着一体化すればよく、第一グランド電極シートBを圧電シート1の一面に貼着一体化することによって、第一グランド電極21が圧電シート1の一面に積層一体化される。
圧電シート1の他面にはシグナル電極31が積層一体化されている。このシグナル電極31は、シグナル電極シートCを圧電シート1の他面に貼着一体化することによって圧電シート1の他面に積層一体化されている。
シグナル電極シートCは、電気絶縁シート30とシグナル電極31と固定剤層32とがこの順序で積層一体化されており、電気絶縁シート30、シグナル電極31及び固定剤層32が全て同一形状、同一大きさに形成されている。そして、シグナル電極シートCをその固定剤層32により圧電シート1の他面に貼着一体化することによって、シグナル電極31が圧電シート1の他面に積層一体化されている。
シグナル電極シートCも第一グランド電極シートBと同様の要領で製造される。先ず、図8及び図9に示したように、一面に離型処理が施された合成樹脂シートなどからなる基材シートC1の離型処理面C1aに、固定剤層となる粘着剤層C2と、シグナル電極となるシグナル電極層C3と、電気絶縁シートC4とをこの順序で互いに積層一体化させた積層シートC’を製造する。なお、基材シートC1の離型処理面C1aと、粘着剤層C2とは剥離可能に積層されている。シグナル電極層C3と電気絶縁シートC4とは粘着剤層(図示せず)を介して積層一体化されていてもよい。
しかる後、電気絶縁シートC4側から基材シートC1に向かって切断刃によって所望形状に切断する。この際、基材シートC1は切断されても切断されていなくてもよい。このようにして、所望形状に切断された電気絶縁シート30上に、シグナル電極31及び固定剤層32がこの順序で積層一体化されてなるシグナル電極シートCを製造することができる。
シグナル電極シートCは、電極シートの厚み方向(平面)に見たとき、平面矩形状の互いに隣接する角部が切りかかれて切欠き部C6、C6が形成され、平面凸字状に形成されており、切欠き部C6、C6間に突部C5が形成されている。
シグナル電極シートCの固定剤層32上に基材シートC1が剥離可能に貼着されている場合には、基材シートC1を剥離、除去した上で、シグナル電極シートCをその固定剤層32を介して圧電シート1の他面に貼着一体化すればよく、シグナル電極シートCを圧電シート1の他面に貼着一体化することによって、シグナル電極31が圧電シート1の他面に積層一体化される。
更に、圧電シート1の他面に積層一体化されたシグナル電極31上には第二グランド電極41が積層一体化されている。この第二グランド電極41は、第二グランド電極シートDを圧電シート1のシグナル電極シートC上に貼着一体化することによって圧電シート1の他面に積層一体化されている。
第二グランド電極シートDは下記の要領で製造される。先ず、図6及び図7に示したように、一面に離型処理がされた合成樹脂シートなどからなる基材シートD1の離型処理面D1aに、固定剤層となる粘着剤層D2と、第二グランド電極となる第二グランド電極層D3と、電気絶縁シートD4とをこの順序で互いに積層一体化させた積層シートD’を製造する。なお、基材シートD1の離型処理面D1aと、粘着剤層D2とは剥離可能に積層されている。第二グランド電極層D3と電気絶縁シートD4とは粘着剤層(図示せず)を介して積層一体化されていてもよい。
しかる後、電気絶縁シートD4側から基材シートD1に向かって切断刃によって所望形状に切断する。この際、基材シートD1は切断されても切断されていなくてもよい。このようにして、所望形状に切断された電気絶縁シート40上に、第二グランド電極41及び固定剤層42がこの順序で積層一体化されてなる第二グランド電極シートDを製造することができる。
第一、第二グランド電極シートB、Dには、その角部を除いた端縁に開口する切欠き部B1、D1が形成されており、第一、第二グランド電極シートB、Dは、その厚み方向に見て凹字状に形成されている。第一、第二グランド電極シートB、Dは共に、第一、第二グランド電極シートB、Dの厚み方向に見て同一形状、同一大きさに形成されている。
なお、電気絶縁シートB4(20)、C4(30)、D4(40)は、電気絶縁性を有しておれば、特に限定されず、例えば、ポリエチレンテレフタレートシート、ポリエチレンナフタレートシート、ポリ塩化ビニルシートなどが挙げられる。
固定剤層22、32、42を構成している固定剤は、反応系・溶剤系・水系・ホットメルト系の接着剤又は粘着剤から構成されており、圧電シート1の感度を維持する観点から、誘電率の低い固定剤が好ましい。
電極層と電気絶縁シートとを積層一体化させる方法、即ち、電気絶縁シート上に電極層を形成する方法としては、例えば、(1)電気絶縁シート上に、バインダー中に導電性微粒子を含有させてなる導電ペーストを塗布、乾燥させて、電気絶縁シート上に電極層を形成する方法、(2)電気絶縁シート上に蒸着によって電極層を形成する方法、(3)電気絶縁シート上に、銅箔、アルミニウム箔などの金属シートを電極層として接着剤などを介して積層一体化する方法などが挙げられる。
圧電シート1の一面に第一グランド電極シートBが積層一体化され且つ圧電シート1の他面にシグナル電極シートC及び第二グランド電極シートDがこの順序で積層一体化されており、この状態において、第一グランド電極シートBと第二グランド電極シートDとは圧電シート1の厚み方向に略合致した状態で重なり合っている。
そして、シグナル電極シートCは、第一、第二グランド電極シートB、D及びこれらの切り込み部B1、D1を含めた矩形状体間に介在した状態で配設されており、電極シートB〜Dの厚み方向に見たとき、第一、第二グランド電極シートB、Dの切り込み部B1、D1内にシグナル電極シートCの突部C5が互いに接触しないように配設された状態となっており、第二グランド電極シートDの第二グランド電極41と、シグナル電極シートCのシグナル電極31とは電気的に断絶された状態となっている。
図3及び図4に示したように、シグナル電極シートCと第二グランド電極シートDとは互いに隣接した状態で配設されている。
一方、シグナル電極シートC及び第二グランド電極シートDは、上述したように、基材シートの離型処理面に、固定剤層となる粘着剤層と、電極となる電極層と、電気絶縁シートとをこの順序で互いに積層一体化させた積層シートを用意し、この積層シートの粘着剤層、電極層及び電気絶縁シートを切断刃によって電気絶縁シート側から基材シートに向かって所望形状に切断することによって製造されている。
しかるに、切断刃を用いて積層シートを切断して電極シートを製造するにあたって、電極層にはその厚み方向に切断刃による剪断応力が加えられる。積層シートの電極層は比較的、軟らかい材料から形成されていることが多いため、積層シートの切断面、即ち、得られる電極シートの切断端面に、切断された電極層、即ち、電極の一部が切断刃による剪断応力によって伸ばされて付着した状態となっていることがある。
電極シートの切断端面に電極の一部が付着した状態となっていると、互いに隣接して配設されているシグナル電極シートと第二グランド電極シートとの間において、シグナル電極シートの切断端面と第二グランド電極シートの切断端面とが交差する部分にて、シグナル電極シートの切断端面に付着したシグナル電極と、第二グランド電極シートの切断端面に付着した第二グランド電極との間に短絡が生じる虞れがある。シグナル電極シートの切断端面に付着したシグナル電極と、第二グランド電極シートの切断端面に付着した第二グランド電極とが短絡を生じると、圧電シート1にて発生した電位をシグナル電極を通じて取り出すことができない。
そこで、本発明では、シグナル電極シートCの切断端面と、第二グランド電極シートDの切断端面とが交差する部分Fにおいて、シグナル電極シートCと第二グランド電極シートDとの間に電気絶縁シートEを介在させて、シグナル電極シートの切断端面に付着したシグナル電極と、第二グランド電極シートの切断端面に付着した第二グランド電極との間に短絡を生じるのを防止している。シグナル電極シートCの切断端面と、第二グランド電極シートDの切断端面とが交差する部分Fに少なくとも電気絶縁シートEが介在しておればよく、シグナル電極シートCの切断端面と第二グランド電極シートDの切断端面とが交差する部分Fとこの交差する部分Fの近傍部とを含む部分に電気絶縁シートEを介在させておいてもよい。
上記電気絶縁シートEは、電気絶縁性を有しておれば、特に限定されず、例えば、ポリエチレンテレフタレートシート、ポリエチレンナフタレートシート、ポリ塩化ビニルシートなどが挙げられる。
又、電気絶縁シートEの片面に粘着剤E1を積層一体化させてシグナル電極シートC又は第二グランド電極シートDの何れか一方に貼着一体化させてもよい。なお、粘着剤としては、圧電シート1の感度を維持する観点から、誘電率の低い固定剤が好ましい。
上記圧電センサAを使用するには、第一グランド電極21に導電線を電気的に接続する。第一グランド電極21に導電線を電気的に接続する方法としては、例えば、第一グランド電極21の切欠き部B1に隣接する角部にピアス端子を打ち込み、第一、第二グランド電極21、41をシグナル電極31と電気的に接続させることなく互いに電気的に接続させ、このピアス端子を介して第一、第二グランド電極21、41に導電線を電気的に接続する方法などが挙げられる。第一グランド電極21に接続させた導電線を介して第一グランド電極21にアースをとることによって第一グランド電極21を基準電極とする。
一方、シグナル電極31に導電線を電気的に接続する。シグナル電極31に導電線を電気的に接続する方法としては、例えば、シグナル電極シートCの突部C5にピアス端子を打ち込み、ピアス端子を介してシグナル電極31の突部に導電線を電気的に接続する方法が挙げられる。
そして、第一グランド電極21を基準電極として、シグナル電極31を通じて圧電シートにて発生した電位を取り出すことができる。
1 圧電シート
21 第一グランド電極
31 シグナル電極
41 第二グランド電極
A 圧電センサ
B 第一グランド電極シート
C シグナル電極シート
D 第二グランド電極シート
E 電気絶縁シート
F シグナル電極シートの端面と第二グランド電極シートの端面との交差部分

Claims (3)

  1. 圧電シートの一面に第一グランド電極が積層一体化されていると共に、上記圧電シートの他面にシグナル電極及び第二グランド電極がこの順序で積層一体化されてなる圧電センサであって、上記第一グランド電極は、電気絶縁シート上に第一グランド電極及び固定剤層がこの順序で積層一体化されてなる第一グランド電極シートを上記固定剤層により上記圧電シートの一面に貼着一体化することによって上記圧電シートの一面に積層一体化されていると共に、上記シグナル電極は、電気絶縁シート上にシグナル電極及び固定剤層がこの順序で積層一体化されてなるシグナル電極シートを上記固定剤層により上記圧電シートの他面に貼着一体化することによって上記圧電シートの他面に積層一体化されており、更に、上記第二グランド電極は、電気絶縁シート上に第二グランド電極及び固定剤層がこの順序で積層一体化されてなる第二グランド電極シートを上記固定剤層により上記圧電シートの他面に貼着一体化することによって上記シグナル電極上に積層一体化されており、上記シグナル電極シートの端面と上記第二グランド電極シートの端面とが交差する部分において、上記シグナル電極シートと上記第二グランド電極シートとの間に電気絶縁シートを介在させていることを特徴とする圧電センサ。
  2. シグナル電極シートは、一面に離型処理がされた基材シートの離型処理面上に、粘着剤層、シグナル電極層及び電気絶縁シートがこの順序で積層一体化されてなる積層シートを上記電気絶縁シート側から上記基材シートに向かって切断刃により切断することによって形成されていると共に、第二グランド電極シートは、一面に離型処理がされた基材シートの離型処理面上に、粘着剤層、第二グランド電極層及び電気絶縁シートがこの順序で積層一体化されてなる積層シートを上記電気絶縁シート側から上記基材シートに向かって切断刃により切断することによって形成されていることを特徴とする請求項1に記載の圧電センサ。
  3. シグナル電極シート及び第二グランド電極シートには切欠き部が形成されており、シグナル電極シート及び第二グランド電極シートの切欠き部の辺縁同士が交差しており、この交差部分において、上記シグナル電極シートと上記第二グランド電極シートとの間に電気絶縁シートを介在させていることを特徴とする請求項1又は請求項2に記載の圧電センサ。
JP2013144215A 2013-07-10 2013-07-10 圧電センサ Active JP6074331B2 (ja)

Priority Applications (8)

Application Number Priority Date Filing Date Title
JP2013144215A JP6074331B2 (ja) 2013-07-10 2013-07-10 圧電センサ
NO14822553A NO3021099T3 (ja) 2013-07-10 2014-07-04
EP14822553.5A EP3021099B1 (en) 2013-07-10 2014-07-04 Piezoelectric sensor
PCT/JP2014/067902 WO2015005238A1 (ja) 2013-07-10 2014-07-04 圧電センサ
US14/902,964 US10768066B2 (en) 2013-07-10 2014-07-04 Piezoelectric sensor including overlapping cutout sections in a signal electrode, a first ground electrode, and a second electrode
KR1020157036705A KR102303584B1 (ko) 2013-07-10 2014-07-04 압전 센서
CN201480037748.7A CN105358950B (zh) 2013-07-10 2014-07-04 压电传感器
TW103123556A TWI669370B (zh) 2013-07-10 2014-07-09 Pressure sensor

Applications Claiming Priority (1)

Application Number Priority Date Filing Date Title
JP2013144215A JP6074331B2 (ja) 2013-07-10 2013-07-10 圧電センサ

Publications (2)

Publication Number Publication Date
JP2015017855A JP2015017855A (ja) 2015-01-29
JP6074331B2 true JP6074331B2 (ja) 2017-02-01

Family

ID=52438987

Family Applications (1)

Application Number Title Priority Date Filing Date
JP2013144215A Active JP6074331B2 (ja) 2013-07-10 2013-07-10 圧電センサ

Country Status (1)

Country Link
JP (1) JP6074331B2 (ja)

Family Cites Families (9)

* Cited by examiner, † Cited by third party
Publication number Priority date Publication date Assignee Title
EP0355289A1 (en) * 1988-07-01 1990-02-28 ATOCHEM NORTH AMERICA, INC. (a Pennsylvania corp.) Accelerometer
JPH0555656A (ja) * 1991-08-29 1993-03-05 Toyota Motor Corp 圧電素子の電極構造
JP3548280B2 (ja) * 1995-06-29 2004-07-28 シルバー株式会社 流体の移送異常検出装置
JPH10332509A (ja) * 1997-05-27 1998-12-18 Amp Japan Ltd 圧電式圧力センサ
JP2002340700A (ja) * 2001-05-14 2002-11-27 Matsushita Electric Ind Co Ltd 圧電センサ
JP2009053109A (ja) * 2007-08-28 2009-03-12 Aisin Seiki Co Ltd 圧電フィルムセンサ
JP5111071B2 (ja) * 2007-09-05 2012-12-26 エルメック電子工業株式会社 圧電センサ
JP5397978B2 (ja) * 2008-08-28 2014-01-22 株式会社タニタ 生体情報検出装置
JP5811588B2 (ja) * 2011-05-18 2015-11-11 国立大学法人佐賀大学 複合センサ

Also Published As

Publication number Publication date
JP2015017855A (ja) 2015-01-29

Similar Documents

Publication Publication Date Title
TWI669370B (zh) Pressure sensor
JP6574889B2 (ja) 圧電センサ
US11450800B2 (en) Film with piezoelectric polymer region
CN104956692A (zh) 压电振动体
JP6234858B2 (ja) 圧電センサ
CN108231993B (zh) 压电驻极体材料组件的极化方法及应用
JP6294177B2 (ja) 圧電センサ
JP6074331B2 (ja) 圧電センサ
JP2017058344A (ja) 圧電センサ構造
JP6066773B2 (ja) 圧電センサの製造方法
JP2017062200A (ja) 圧電センサ構造
JP2014169945A (ja) 圧電センサ
JP2015014550A (ja) 圧電センサシート原反及び圧電素子
JP2012023559A (ja) 静電型スピーカ
US9204224B2 (en) Electrostatic speaker
JP6126388B2 (ja) 生体信号センサ及びこれを用いた生体信号センサシステム
JP6110267B2 (ja) 圧電センサ構造体
JP2014135308A (ja) 圧電センサの製造方法
CN103959820B (zh) 静电扬声器
JP2020169849A (ja) 圧電センサ
JP2015012987A (ja) 生体信号センサ
JP2014197461A (ja) 電気化学デバイスの製造方法
JP2017177355A (ja) 積層体、密閉容器、積層体製造法および密閉容器製造方法

Legal Events

Date Code Title Description
A621 Written request for application examination

Free format text: JAPANESE INTERMEDIATE CODE: A621

Effective date: 20160421

A131 Notification of reasons for refusal

Free format text: JAPANESE INTERMEDIATE CODE: A131

Effective date: 20161004

A521 Written amendment

Free format text: JAPANESE INTERMEDIATE CODE: A523

Effective date: 20161122

TRDD Decision of grant or rejection written
A01 Written decision to grant a patent or to grant a registration (utility model)

Free format text: JAPANESE INTERMEDIATE CODE: A01

Effective date: 20161213

A61 First payment of annual fees (during grant procedure)

Free format text: JAPANESE INTERMEDIATE CODE: A61

Effective date: 20170106

R151 Written notification of patent or utility model registration

Ref document number: 6074331

Country of ref document: JP

Free format text: JAPANESE INTERMEDIATE CODE: R151