JP6036131B2 - 負作動型電磁ブレーキ装置とその制御方法及び制御装置、駆動装置 - Google Patents

負作動型電磁ブレーキ装置とその制御方法及び制御装置、駆動装置 Download PDF

Info

Publication number
JP6036131B2
JP6036131B2 JP2012221506A JP2012221506A JP6036131B2 JP 6036131 B2 JP6036131 B2 JP 6036131B2 JP 2012221506 A JP2012221506 A JP 2012221506A JP 2012221506 A JP2012221506 A JP 2012221506A JP 6036131 B2 JP6036131 B2 JP 6036131B2
Authority
JP
Japan
Prior art keywords
armature
brake
coil
yoke
magnetic field
Prior art date
Legal status (The legal status is an assumption and is not a legal conclusion. Google has not performed a legal analysis and makes no representation as to the accuracy of the status listed.)
Active
Application number
JP2012221506A
Other languages
English (en)
Other versions
JP2014075894A (ja
Inventor
裕介 太田
裕介 太田
和則 小泉
和則 小泉
正幸 丸山
正幸 丸山
逸男 渡辺
逸男 渡辺
Current Assignee (The listed assignees may be inaccurate. Google has not performed a legal analysis and makes no representation or warranty as to the accuracy of the list.)
NSK Ltd
Original Assignee
NSK Ltd
Priority date (The priority date is an assumption and is not a legal conclusion. Google has not performed a legal analysis and makes no representation as to the accuracy of the date listed.)
Filing date
Publication date
Application filed by NSK Ltd filed Critical NSK Ltd
Priority to JP2012221506A priority Critical patent/JP6036131B2/ja
Publication of JP2014075894A publication Critical patent/JP2014075894A/ja
Application granted granted Critical
Publication of JP6036131B2 publication Critical patent/JP6036131B2/ja
Active legal-status Critical Current
Anticipated expiration legal-status Critical

Links

Images

Landscapes

  • Braking Arrangements (AREA)
  • Dynamo-Electric Clutches, Dynamo-Electric Brakes (AREA)

Description

本発明は、例えばダイレクトドライブモータ等のモータやアクチュエータ等の種々駆動装置に搭載される負作動型電磁ブレーキ装置に関し、またその制御方法、装置及びその負作動型電磁ブレーキ装置を備えた駆動装置に関するものである。
従来、モータに搭載されるブレーキとして、永久磁石を内蔵した負作動型電磁ブレーキ装置が用いられている。関連する技術として、特許文献1には、電磁ブレーキのトルク制御装置の技術が記載されている。
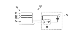
図10及び図11は、負作動型電磁ブレーキ装置の動作原理を示す模式図である。図10は、負作動型電磁ブレーキ装置の解放時を示す模式図であり、図11は、負作動型電磁ブレーキ装置の作動時を示す模式図である。
図10及び図11を参照すると、負作動型電磁ブレーキ装置50は、フランジ61と、弾性部材である板ばね62と、アーマチュア63と、マグネットヨーク64と、を含む負作動型電磁ブレーキ機構部60を備えている。板ばね62は、フランジ61に固着されており、アーマチュア63とマグネットヨーク64との間隙を広げる方向にアーマチュア63を付勢している。マグネットヨーク64は、磁性材料で作られたアーマチュア63を引き寄せる磁界を発生する永久磁石(不図示)及び永久磁石による磁界を相殺する磁界を発生させるコイル(不図示)を有する。
負作動型電磁ブレーキ装置50の負作動型電磁ブレーキ機構部60を制御する制御装置70は、直流電圧発生部71と、直流電圧発生部71とマグネットヨーク64内のコイルとを接続する接続部(スイッチ)72と、を含んでいる。
図10を参照すると、ブレーキ解放時には、接続部72は、マグネットヨーク64の永久磁石による磁界を相殺する磁界をマグネットヨーク64のコイルに発生させるように、マグネットヨーク64のコイルと電圧発生部71とを接続する。すると、マグネットヨーク64の永久磁石がアーマチュア63を引き寄せる磁力が消失し、アーマチュア63は弾性部材である板ばね62によりフランジ61方向に付勢され、アーマチュア63とマグネットヨーク64との間に間隙が生じる。これにより、アーマチュア63とマグネットヨーク64との間の摩擦が無くなり、ブレーキが解放される。
図11を参照すると、ブレーキ作動時には、接続部72は、マグネットヨーク64のコイルと電圧発生部71との間を開放する。すると、マグネットヨーク64のコイルが磁界を発生しないので、マグネットヨーク64の永久磁石がアーマチュア63を自身の磁力によって引き寄せ、アーマチュア63とマグネットヨーク64とが接触し、アーマチュア63とマグネットヨーク64との間に摩擦力が発生し、この摩擦力が停止トルクとしてアーマチュア63に作用し、制動力となる。また、停電などにより突然電力の供給が途絶えた場合も接続部72を開放した場合と同様に制動力が発生する。
特開平5―44739号公報
このように、負作動型電磁ブレーキ装置はモータ等駆動装置に搭載されるブレーキとして有効であるが、近年、回転アクチュエータの被駆動部までの長軸化に伴い、作用するモーメントが大きくなり、位置決め位置を保持する必要等のため、制動力をより高めることが好ましいことがある。
本発明は、上記に鑑みてなされたものであって、負作動型電磁ブレーキ装置の制動力をより高めることを目的とする。
上述した課題を解決し、目的を達成するために、本発明は、アーマチュアと、前記アーマチュアを引き寄せる磁界を発生する第1の永久磁石及び前記アーマチュアを引き寄せる磁界を変化させるコイルを有するマグネットヨークと、前記アーマチュアと前記マグネットヨークとの間隙を広げる方向に前記アーマチュアを付勢する弾性部材と、ブレーキの作動を制御する制御装置と、を含む負作動型電磁ブレーキ装置であって、前記アーマチュアには、第2の永久磁石を備えていることを特徴とする負作動型電磁ブレーキ装置を提供する。
また、本発明は、前記第1の永久磁石と前記第2の永久磁石とは、互いに引き寄せ合う向きに設置されていることを特徴とする負作動型電磁ブレーキ装置を提供する。
また、本発明は、前記第2の永久磁石は、第1のアーマチュアヨークと第2のアーマチュアヨークとに挟まれており、固着されていることを特徴とする負作動型電磁ブレーキ装置を提供する。
また、本発明は、前記第1のアーマチュアヨークは、円環状の板形状となっており、前記第2のアーマチュアヨークは、外周部と内周部とで厚さの異なる円環状の板形状となっていることを特徴とする負作動型電磁ブレーキ装置を提供する。
また、本発明は、前記制御装置には、直流電圧を発生する直流電圧発生部と、ブレーキ解放時には、前記マグネットヨークの前記アーマチュアを引き寄せる磁界を弱めるように前記コイルと前記直流電圧発生部とを接続し、ブレーキ作動時には、前記マグネットヨークの前記アーマチュアを引き寄せる磁界を強めるように前記コイルと前記直流電圧発生部とを接続する接続部と、を備えることを特徴とする負作動型電磁ブレーキ装置を提供する。
このように、負作動型電磁ブレーキ装置の作動時に、マグネットヨークのアーマチュアを引き寄せる磁界を強めるようにコイルに直流電圧を印加することで、マグネットヨークのアーマチュアを引き寄せる磁界を強めることができる。これにより、負作動型電磁ブレーキ装置の制動力をより高めることができる。
また、本発明は、ブレーキ作動時には、ブレーキ解放時とは逆方向に、前記コイルへ直流電圧を印加することを特徴とする負作動型電磁ブレーキ装置を提供する。
また、本発明は、前記直流電圧発生部が、一定の直流電圧を発生する単一のものであることを特徴とする負作動型電磁ブレーキ装置を提供する。これにより、単一の直流電圧発生部で負作動型電磁ブレーキ装置の作動及び解放を行うことができるので、制御装置の簡略化、低コスト化を図ることができる。
また、本発明は、前記直流電圧発生部が、複数からなり、ブレーキ解放用のものと、ブレーキ作動用のものと、を独立して有することを特徴とする負作動型電磁ブレーキ装置を提供する。
また、本発明は、前記直流電圧発生部について、ブレーキ作動用のものがブレーキ解放用のものより、発生する電圧が大きいことを特徴とする負作動型電磁ブレーキ装置を提供する。
また、本発明は、前記直流電圧発生部について、ブレーキ作動用のものがブレーキ解放用のものより、発生する電圧が小さいことを特徴とする負作動型電磁ブレーキ装置を提供する。
また、本発明は、前記直流電圧発生部について、ブレーキ作動用のものに可変抵抗器を有し、発生する電圧を変化させることができ、ブレーキトルクの制御を可能としていることを特徴とする負作動型電磁ブレーキ装置を提供する。
また、本発明は、アーマチュアと、前記アーマチュアを引き寄せる磁界を発生する第1の永久磁石及び前記アーマチュアを引き寄せる磁界を変化させるコイルを有するマグネットヨークと、前記アーマチュアと前記マグネットヨークとの間隙を広げる方向に前記アーマチュアを付勢する弾性部材と、ブレーキの作動を制御する制御装置と、前記アーマチュアに備えられている第2の永久磁石と、を含む負作動型電磁ブレーキ装置を制御する方法であって、ブレーキ解放時には、前記マグネットヨークの前記アーマチュアを引き寄せる磁界を弱めるように前記コイルに直流電圧を印加し、ブレーキ作動時には、前記マグネットヨークの前記アーマチュアを引き寄せる磁界を強めるように前記コイルに直流電圧を印加することを特徴とする負作動型電磁ブレーキ装置の制御方法を提供する。
また、本発明は、アーマチュアと、前記アーマチュアを引き寄せる磁界を発生する第1の永久磁石及び前記アーマチュアを引き寄せる磁界を変化させるコイルを有するマグネットヨークと、前記アーマチュアと前記マグネットヨークとの間隙を広げる方向に前記アーマチュアを付勢する弾性部材と、前記アーマチュアに備えられている第2の永久磁石と、を含む負作動型電磁ブレーキ装置を制御する制御装置であって、前記制御装置には、直流電圧を発生する直流電圧発生部と、ブレーキ解放時には、前記マグネットヨークの前記アーマチュアを引き寄せる磁界を弱めるように前記コイルと前記直流電圧発生部とを接続し、ブレーキ作動時には、前記マグネットヨークの前記アーマチュアを引き寄せる磁界を強めるように前記コイルと前記直流電圧発生部とを接続する接続部と、を備えることを特徴とする負作動型電磁ブレーキ装置の制御装置を提供する。
また、本発明は、上記の負作動型電磁ブレーキ装置を備えたことを特徴とする駆動装置を提供する。
本発明は、負作動型電磁ブレーキ装置の制動力をより高めることができる。
図1は、本発明の実施形態に係る負作動型電磁ブレーキ装置を内蔵したダイレクトドライブモータを示す断面図である。 図2は、本発明の第1実施例に係る負作動型電磁ブレーキ装置の解放時における、接続部の接続状態を示す模式図である。 図3は、本発明の第1実施例に係る負作動型電磁ブレーキ装置の作動時における、接続部の接続状態を示す模式図である。 図4は、本発明の第2実施例に係る負作動型電磁ブレーキ装置の解放時における、接続部の接続状態を示す模式図である。 図5は、本発明の第2実施例に係る負作動型電磁ブレーキ装置の作動時における、接続部の接続状態を示す模式図である。 図6は、本発明の第3実施例に係る負作動型電磁ブレーキ装置の解放時における、接続部の接続状態を示す模式図である。 図7は、本発明の第3実施例に係る負作動型電磁ブレーキ装置の作動時における、接続部の接続状態を示す模式図である。 図8は、本発明の第4実施例に係る負作動型電磁ブレーキ装置の解放時における、接続部の接続状態を示す模式図である。 図9は、本発明の第4実施例に係る負作動型電磁ブレーキ装置の作動時における、接続部の接続状態を示す模式図である。 図10は、負作動型電磁ブレーキ装置の解放時における、接続部の接続状態を説明するための模式図である。 図11は、負作動型電磁ブレーキ装置の作動時における、接続部の接続状態を説明するための模式図である。
以下、本発明につき図面を参照しつつ詳細に説明する。なお、この発明を実施するための形態(以下、実施形態という)により本発明が限定されるものではない。また、以下の説明における構成要素には、当業者が容易に想定できるもの、実質的に同一のもの、いわゆる均等の範囲のものが含まれる。
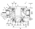
図1は、負作動型電磁ブレーキ装置を有するダイレクトドライブモータの回転軸を含む平面での断面図である。本実施形態においては、負作動型電磁ブレーキ装置及び本実施形態に係る制御方法をダイレクトドライブモータ1に適用した例を示すが、負作動型電磁ブレーキ装置及び本実施形態に係る制御方法の適用対象は、ダイレクトドライブモータ1に限定されるものではない。直動アクチュエータ等を含む駆動装置全般に適用できる。
ダイレクトドライブモータ1は、モータベース20を有する。モータベース20は、ダイレクトドライブモータ1の回転中心軸Zrと同軸の円筒状部20Bを有する。また、モータベース20は、円筒状部20Bの軸方向の第1の方向の端部から外方向に拡がる円環状部20Rを有する。第1の方向とは、回転中心軸Zrと平行な方向かつ後述する回転部10側に向く(図1において下向きの)方向である。
モータベース20の円筒状部20Bと円環状部20Rとの境界部分の第1の方向側には、マグネットヨーク21が、ダイレクトドライブモータ1の回転中心軸Zrと同軸にボルトで緊締し固着されている。マグネットヨーク21は、軟磁性体のヨーク21A、21B、21Cを有する。ヨーク21Aは、ダイレクトドライブモータ1の回転中心軸Zrと同軸の円環状の形状を有する。また、マグネットヨーク21は、ヨーク21Aの内周部から第1の方向に沿って延在する円筒状のヨーク21Bを有する。ヨーク21Aの外周部の第1の方向側の面には、アーマチュア10cを引き寄せる磁界を発生する、硬磁性体の第1の永久磁石21Dが固着されている。ヨーク21Cは、第1の永久磁石21Dの第1の方向側の面に固着された円環状部21Caと、円環状部21Caの第1の方向側の面の外周部から第1の方向に延在する円筒状部21Cbと、を有する。ヨーク21Bの外周とヨーク21Cの円筒状部21Cbの内周との間には、ダイレクトドライブモータ1の回転中心軸Zrと同軸に、第1の永久磁石21Dによる磁界を変化させる磁界を発生させるコイル21Eが巻回されている。マグネットヨーク21の外周面には、コイル21Eに電圧を印加するためのリード線24が設けられている。モータベース20の円環状部20Rの第1の方向と反対の第2の方向側の面の外周部には、モータコア26A及び巻線26Bが配置されている。これらの部材がステータ2を構成する。
マグネットヨーク21及び後述する回転部10が、負作動型電磁ブレーキ装置のブレーキ機構部25を構成する。
ダイレクトドライブモータ1は、負作動型電磁ブレーキ装置のブレーキ機構部25の制動力をロータ3のモータ出力軸13に伝達するブレーキ連結軸12を有する。ブレーキ連結軸12は、ダイレクトドライブモータ1の回転中心軸Zrと同軸の円環状部12Rと、円環状部12Rの内周側を含む中央部から第1の方向に向かって延在する円筒状部12Bと、を有する。ブレーキ連結軸12の円筒状部12Bは、第2の方向側から第1の方向側に向かって、モータベース20及びマグネットヨーク21を貫通している。
ブレーキ連結軸12の円筒状部12Bの第1の方向側の端部には、ブレーキ機構部25の回転部10が取付けられている。回転部10は、フランジ10aと、弾性部材である板ばね10bと、アーマチュア10cと、を有する。フランジ10aは、円盤状の形状を有しており、ブレーキ連結軸12の円筒状部12Bの第1の方向側の端部にボルトで緊締し固着されている。板ばね10b及びアーマチュア10cは、円環状の形状を有している。アーマチュア10cは、板ばね10bを挟んで、フランジ10aの第2の方向側の面に固着されている。板ばね10bは、アーマチュア10cを第1の方向(フランジ10a側)に引っ張るように付勢している。板ばね10bはフランジ10aとアーマチュア10cとの両方に固定されている。板ばね10bは、面内剛性が低いため、ブレーキ作動時にはアーマチュア10cに作用する磁力によって引っ張られ軸方向に変形してたわむが、周方向への剛性は非常に高いため、周方向への変形は小さい。
このような構造により、コイル21Eに印加する電圧でブレーキの解放や作動を制御する。ブレーキ解放時には、第1の永久磁石21Dの磁力を弱める方向に磁界が発生するようコイル21Eに電圧が印加される。これにより、アーマチュア10cは、板ばね10bにより第1の方向(フランジ10a側)に引っ張られ、マグネットヨーク21とアーマチュア10cとの間に間隙ができブレーキが解放される。一方、ブレーキが作動すると、ブレーキ機構部25は、ロータ3を制動して所定の位置に固定することができる。マグネットヨーク21のコイル21Eに電圧を印加しないと、マグネットヨーク21のコイル21Eが磁界を発生しないので、マグネットヨーク21の第1の永久磁石21Dがアーマチュア10cを自身の磁力によって引き寄せ、アーマチュア10cとマグネットヨーク21とが接触する。その結果、アーマチュア10cとマグネットヨーク21との間に摩擦力が発生し、この摩擦力が停止トルクとしてアーマチュア10cに作用し、ダイレクトドライブモータ1のロータ3の制動力となる。本発明では、更に制動力を高めるために、第1の永久磁石21Dの磁力に加えて、コイル21Eの磁力も付与できるような電圧を印加する。これについては、実施例を用いて後述する。
また、本発明では、更に制動力を高めるために、アーマチュア10cに第2の永久磁石10eを備えている。第1の永久磁石21Dと第2の永久磁石10eとは、互いに引き寄せ合う向きに設置されている。第2の永久磁石10eは、第1のアーマチュアヨーク10dと第2のアーマチュアヨーク10fとに挟まれている。第2の永久磁石10eは、両アーマチュアヨーク10d,10fに固着されている。第1のアーマチュアヨーク10dは、円環状の板形状となっており、第2のアーマチュアヨーク10fは、外周部と内周部とで厚さの異なる円環状の板形状となっている。図1に示す本実施形態では、第2のアーマチュアヨーク10fは、内周部が外周部より厚くなっている。この内周部と外周部との厚さの差は、永久磁石10eの厚さより大きくなっている。
このように、静止体であるマグネットヨーク21に第1の永久磁石21Dを、回転体であるアーマチュア10cに第2の永久磁石10eを、磁気回路上、非通電状態で互いに引き寄せ合う極性で配置することにより、磁力を上げることができブレーキ力を上げることができる。高磁力の永久磁石はレアアースを含有しており、昨今、価格が高騰している。数年で10倍になったネオジム系磁石を代表に永久磁石及び、ジスプロシウム等永久磁石への添加物の価格高騰は非常に著しい。コストを軽減するためには、比較的表面磁束の低い、フェライト系磁石のような、廉価な永久磁石を使わざるを得なくなってきている。しかし、このような廉価な永久磁石を使用したものでは、従来のブレーキ構造では、本来必要としているブレ−キトルクが得られない。本発明の実施形態では、廉価な永久磁石を使用しても必要なブレーキトルクを得うる構成となっている。また、フェライト系磁石を用いることにより、高温での使用も可能な電磁ブレーキとなっている。
ブレーキ連結軸12の円環状部12Rの第1の方向側の面の外周部には、ダイレクトドライブモータ1の回転中心軸Zrと同軸の円筒状のモータ出力軸13がボルトで緊締され固着されている。モータ出力軸13の第1の方向側の端部には、ダイレクトドライブモータ1の回転中心軸Zrと同軸のロータフランジ14が固着されている。ロータフランジ14の外周面には、ステータ2側のモータコア26A及び巻線26Bと対向するように、永久磁石15が配置されている。これらの部材がロータ3を構成する。
ロータフランジ14の内周面と、モータベース20の円筒状部20Bの外周面と、の間には、クロスローラ軸受27が配置されている。クロスローラ軸受27は、アキシアル荷重とモーメント荷重を受けることができる。
(実施例1)
図2及び図3は、本発明の第1実施例に係る負作動型電磁ブレーキ装置の制御装置とブレーキ機構部とを接続した様子を示す模式図である。図2は、負作動型電磁ブレーキ装置の解放時を示す模式図であり、図3は、負作動型電磁ブレーキ装置の作動時を示す模式図である。
負作動型電磁ブレーキ装置30を制御する負作動型電磁ブレーキ装置の制御装置(以下、必要に応じて制御装置という)40は、リード線24(図1参照)を介してブレーキ機構部25と接続されている。制御装置40は、所定の直流電圧(例えば、24V)を発生する直流電圧発生部41と、直流電圧発生部41とマグネットヨーク21内のコイル21E(図1参照)とを接続する接続部(スイッチ)42と、を含んでいる。
図2を参照すると、ブレーキ解放時には、接続部42は、マグネットヨーク21内の第1の永久磁石21D(図1参照)によるアーマチュア10cを引き寄せる磁界を弱めるようにコイル21Eに直流電圧を印加すべく、コイル21Eと直流電圧発生部41とを接続する。すると、コイル21Eが発生する磁界により、ヨーク21A、21B、21C(図1参照)が磁化する。このときにヨーク21A、21B、21Cに発生する磁束の方向に、コイル21Eに流れる電流の向きによって変化する。ヨーク21A、21B、21Cの磁束の方向が第1の永久磁石21Dの磁束の方向と反対である場合、マグネットヨーク21中に存在する磁束の量が低減する。その結果、マグネットヨーク21がアーマチュア10cを引き寄せる磁界が弱められ(相殺されることが好ましい)、アーマチュア10cは弾性部材である板ばね10bによりフランジ10a方向に付勢され、アーマチュア10cとマグネットヨーク21との間に間隙が生じる。これにより、アーマチュア10cとマグネットヨーク21との間の摩擦が無くなり、ブレーキが解放される。
図3を参照すると、ブレーキ作動時には、接続部42は、ブレーキ解放時とは逆方向に、直流電圧がマグネットヨーク21内のコイル21Eに印加されるように、コイル21Eと直流電圧発生部41とを接続する。つまり、接続部42は、マグネットヨーク21のアーマチュア10cを引き寄せる磁界を強めるようにコイル21Eに直流電圧を印加する。すると、コイル21Eが発生する磁界と第1の永久磁石21Dによる磁界とが重ね合わされて、マグネットヨーク21がアーマチュア10cを引き寄せる磁界が強められ、マグネットヨーク21がアーマチュア10cを強い磁力によって引き寄せ、アーマチュア10cとマグネットヨーク21とが接触し、アーマチュア10cとマグネットヨーク21との間に摩擦力が発生し、この摩擦力が停止トルクとしてアーマチュア10cに作用し、ダイレクトドライブモータ1のロータ3の制動力となる。
このように、ブレーキ作動時に、解放時と逆の電圧をマグネットヨーク21のコイル21Eに印加することで、マグネットヨーク21は、マグネットヨーク21の第1の永久磁石21Dによる磁界とコイル21Eの磁界とを加えた磁界を発生させることができる。その結果、負作動型電磁ブレーキ装置30は、アーマチュア10cとマグネットヨーク21との間の制動トルクを従来よりも強くすることができる。これにより、負作動型電磁ブレーキ装置30は、ダイレクトドライブモータ1のロータ3の制動力をより高めることができる。これは、近年、回転アクチュエータにおいて被駆動部までの長軸化等に伴い、作用するモーメントが大きくなってきており、位置決め位置での確実な停止や保持をする上で有用な効果がある。
なお、コイル21Eによる磁力と第1の永久磁石21Dの磁力とで、マグネットヨーク21のヨーク21A、21B、21Cが磁気飽和した後は、コイル21Eによる磁界をそれ以上強くしても負作動型電磁ブレーキ装置30が発生する磁界は、磁気飽和したとき以上には大きくならない。そのため、コイル21Eに印加する電圧は、コイル21Eによる磁界と第1の永久磁石21Dの磁界とで、ヨーク21A、21B、21Cが磁気飽和するまでの電圧とすることが好ましい。
また、本実施例においては、ブレーキ作動時に、解放時と逆方向かつ同じ大きさの直流電圧をマグネットヨーク21のコイル21Eに印加することとしているが、本発明はこれに限定されない。本発明においては、アーマチュア10cを引き寄せる磁界を強める電圧を、マグネットヨーク21のコイル21Eに印加すればよい。つまり、ブレーキ作動時の電圧の絶対値が、解放時の電圧の絶対値より大きくてもよいし、小さくてもよい。マグネットヨーク21のヨーク21A、21B、21Cが磁気飽和しない範囲で、ブレーキ作動時の電圧の絶対値を大きくすると、制動力が高くなり好適である。この例として、第2実施例を上げて後述する。
また、本実施例のように、ブレーキ作動時に、解放時と逆方向に同じ大きさの直流電圧をマグネットヨーク21のコイル21Eに印加することとすれば、単一の直流電圧発生部41でブレーキの作動及び解放を行うことができるので、制御装置40の簡略化、低コスト化を図ることができる。
(実施例2)
図4及び図5は、本発明の第2実施例に係る負作動型電磁ブレーキ装置の制御装置とブレーキ機構部とを接続した様子を示す模式図である。図4は、負作動型電磁ブレーキ装置の解放時を示す模式図であり、図5は、負作動型電磁ブレーキ装置の作動時を示す模式図である。本実施例においては、前述の第1実施例と同様の部位については、共通の符号を用い説明を省略する。
本実施例が第1実施例と異なる点は、ブレーキの解放用直流電圧発生部41aと作動用直流電圧発生部41bとを独立させ、互いの電圧の絶対値を変えていることである。互いの電圧の方向は、第1実施例と同様に相反するようになっている。本実施例においては、作動用直流電圧発生部41bの電圧の大きさは、解放用直流電圧発生部41aの電圧の大きさより大きい。これにより、ブレーキによる制動力を向上させブレーキの作動時間を短縮することができる。また、ブレーキ作動時の剛性を高めることができる。
(実施例3)
図6及び図7は、本発明の第3実施例に係る負作動型電磁ブレーキ装置の制御装置とブレーキ機構部とを接続した様子を示す模式図である。図6は、負作動型電磁ブレーキ装置の解放時を示す模式図であり、図7は、負作動型電磁ブレーキ装置の作動時を示す模式図である。本実施例においては、前述の第1実施例と同様の部位については、共通の符号を用い説明を省略する。
本実施例が第1実施例と異なる点は、ブレーキの解放用直流電圧発生部41aと作動用直流電圧発生部41bとを独立させ、互いの電圧の絶対値を変えていることである。互いの電圧の方向は、第1実施例と同様に相反するようになっている。本実施例においては、作動用直流電圧発生部41bの電圧の大きさは、解放用直流電圧発生部41aの電圧の大きさより小さい。これにより、第1の永久磁石21D(図1参照)の磁力を強める磁力は、第1実施例の場合より少なくはなるが、ブレーキの解放にかかる時間を短縮することができる。
(実施例4)
図8及び図9は、本発明の第4実施例に係る負作動型電磁ブレーキ装置の制御装置とブレーキ機構部とを接続した様子を示す模式図である。図8は、負作動型電磁ブレーキ装置の解放時を示す模式図であり、図9は、負作動型電磁ブレーキ装置の作動時を示す模式図である。本実施例においては、前述の第1実施例と同様の部位については、共通の符号を用い説明を省略する。
本実施例が第1実施例と異なる点は、ブレーキの解放用直流電圧発生部41aと作動用直流電圧発生部41bとを独立させ、互いの電圧の絶対値を可変にしていることである。互いの電圧の方向は、第1実施例と同様に相反するようになっている。本実施例においては、作動用直流電圧発生部41bの電圧の大きさは、可変抵抗器43により可変となっている。これにより、ブレーキによる制動力を変化させることができる。例えば、ブレーキの制動力を高めたいときには可変抵抗器43により電圧を高くし、ブレーキの解放時間を短縮させたいときには、電圧を低くすることで対応できる。また、ある一定の外部からの印加トルクがかかった場合に内部機器を破損させないために、可変抵抗器43により、ブレーキが一定のトルクですべり出すように調整することも可能である。
1 ダイレクトドライブモータ
2 ステータ
3 ロータ
10 回転部
10a、61 フランジ
10b、62 板ばね(弾性部材)
10c、63 アーマチュア
10d 第1のアーマチュアヨーク
10e 第2の永久磁石
10f 第2のアーマチュアヨーク
12 ブレーキ連結軸
13 モータ出力軸
14 ロータフランジ
15 永久磁石
20 モータベース
21、64 マグネットヨーク
21A、21B、21C ヨーク
21D 第1の永久磁石
21E コイル
24 リード線
25、60 ブレーキ機構部
26A モータコア
26B 巻線
27 クロスローラ軸受
30、50 負作動型電磁ブレーキ装置
40、70 制御装置(負作動型電磁ブレーキ装置の制御装置)
41、71 直流電圧発生部
41a 解放用直流電圧発生部
41b 作動用直流電圧発生部
42、72 接続部(スイッチ)
43 可変抵抗器

Claims (7)

  1. アーマチュアと、前記アーマチュアを引き寄せる磁界を発生する第1の永久磁石及び前記アーマチュアを引き寄せる磁界を変化させるコイルを有するマグネットヨークと、前記アーマチュアと前記マグネットヨークとの間隙を広げる方向に前記アーマチュアを付勢する弾性部材と、ブレーキの作動を制御する制御装置と、を含む負作動型電磁ブレーキ装置であって、前記アーマチュアには、第2の永久磁石を備え
    前記制御装置は、
    ブレーキ解放用の第1の直流電圧発生部と、
    ブレーキ作動用の第2の直流電圧発生部と、
    前記第2の直流電圧発生部に直列に接続された可変抵抗器と、
    ブレーキ解放時には、前記マグネットヨークの前記アーマチュアを引き寄せる磁界を弱めるように前記コイルと前記第1の直流電圧発生部とを直列接続し、ブレーキ作動時には、前記マグネットヨークの前記アーマチュアを引き寄せる磁界を強めるように前記コイルと前記第2の直流電圧発生部と前記可変抵抗器とを直列接続する接続部と、
    を備え、
    ブレーキ解放時の前記コイルへの印加電圧を保ったまま、ブレーキ作動時の前記コイルへの印加電圧を可変にすることで、ブレーキトルクの調整を可能とする制御を行うことを特徴とする負作動型電磁ブレーキ装置。
  2. 前記第1の永久磁石と前記第2の永久磁石とは、互いに引き寄せ合う向きに設置されていることを特徴とする請求項1記載の負作動型電磁ブレーキ装置。
  3. 前記第2の永久磁石は、第1のアーマチュアヨークと第2のアーマチュアヨークとに挟まれており、固着されていることを特徴とする請求項1又は2のいずれか1項に記載の負作動型電磁ブレーキ装置。
  4. 前記第1のアーマチュアヨークは、円環状の板形状となっており、前記第2のアーマチュアヨークは、外周部と内周部とで厚さの異なる円環状の板形状となっていることを特徴とする請求項3記載の負作動型電磁ブレーキ装置。
  5. アーマチュアと、前記アーマチュアを引き寄せる磁界を発生する第1の永久磁石及び前記アーマチュアを引き寄せる磁界を変化させるコイルを有するマグネットヨークと、前記アーマチュアと前記マグネットヨークとの間隙を広げる方向に前記アーマチュアを付勢する弾性部材と、ブレーキの作動を制御する制御装置と、前記アーマチュアに備えられている第2の永久磁石と、を含む負作動型電磁ブレーキ装置を制御する方法であって、
    前記制御装置は、
    ブレーキ解放用の第1の直流電圧発生部と、
    ブレーキ作動用の第2の直流電圧発生部と、
    前記第2の直流電圧発生部に直列に接続された可変抵抗器と、
    を備え、
    ブレーキ解放時には、前記マグネットヨークの前記アーマチュアを引き寄せる磁界を弱めるように前記コイルと前記第1の直流電圧発生部を直列接続し、
    ブレーキ作動時には、前記マグネットヨークの前記アーマチュアを引き寄せる磁界を強めるように前記コイルと前記第2の直流電圧発生部と前記可変抵抗器とを直列接続することにより、
    ブレーキ解放時の前記コイルへの印加電圧を保ったまま、ブレーキ作動時の前記コイルへの印加電圧を可変にすることで、ブレーキトルクの調整を可能とする制御を行うことを特徴とする負作動型電磁ブレーキ装置の制御方法。
  6. アーマチュアと、前記アーマチュアを引き寄せる磁界を発生する第1の永久磁石及び前記アーマチュアを引き寄せる磁界を変化させるコイルを有するマグネットヨークと、前記アーマチュアと前記マグネットヨークとの間隙を広げる方向に前記アーマチュアを付勢する弾性部材と、前記アーマチュアに備えられている第2の永久磁石と、を含む負作動型電磁ブレーキ装置を制御する制御装置であって、
    ブレーキ解放用の第1の直流電圧発生部と、
    ブレーキ作動用の第2の直流電圧発生部と、
    前記第2の直流電圧発生部に直列に接続された可変抵抗器と、
    ブレーキ解放時には、前記マグネットヨークの前記アーマチュアを引き寄せる磁界を弱めるように前記コイルと前記第1の直流電圧発生部とを直列接続し、ブレーキ作動時には、前記マグネットヨークの前記アーマチュアを引き寄せる磁界を強めるように前記コイルと前記第2の直流電圧発生部と前記可変抵抗器とを直列接続する接続部と、
    を備え
    ブレーキ解放時の前記コイルへの印加電圧を保ったまま、ブレーキ作動時の前記コイルへの印加電圧を可変にすることで、ブレーキトルクの調整を可能とする制御を行うことを特徴とする負作動型電磁ブレーキ装置の制御装置。
  7. 請求項1〜の何れか1項に記載の負作動型電磁ブレーキ装置を備えたことを特徴とする駆動装置。
JP2012221506A 2012-10-03 2012-10-03 負作動型電磁ブレーキ装置とその制御方法及び制御装置、駆動装置 Active JP6036131B2 (ja)

Priority Applications (1)

Application Number Priority Date Filing Date Title
JP2012221506A JP6036131B2 (ja) 2012-10-03 2012-10-03 負作動型電磁ブレーキ装置とその制御方法及び制御装置、駆動装置

Applications Claiming Priority (1)

Application Number Priority Date Filing Date Title
JP2012221506A JP6036131B2 (ja) 2012-10-03 2012-10-03 負作動型電磁ブレーキ装置とその制御方法及び制御装置、駆動装置

Publications (2)

Publication Number Publication Date
JP2014075894A JP2014075894A (ja) 2014-04-24
JP6036131B2 true JP6036131B2 (ja) 2016-11-30

Family

ID=50749678

Family Applications (1)

Application Number Title Priority Date Filing Date
JP2012221506A Active JP6036131B2 (ja) 2012-10-03 2012-10-03 負作動型電磁ブレーキ装置とその制御方法及び制御装置、駆動装置

Country Status (1)

Country Link
JP (1) JP6036131B2 (ja)

Families Citing this family (1)

* Cited by examiner, † Cited by third party
Publication number Priority date Publication date Assignee Title
JP7501332B2 (ja) * 2020-12-07 2024-06-18 日本精工株式会社 ロータリーアクチュエータ

Family Cites Families (5)

* Cited by examiner, † Cited by third party
Publication number Priority date Publication date Assignee Title
US3899061A (en) * 1974-04-29 1975-08-12 Warner Electric Brake & Clutch Excitation control for normally engaged, electrically released magnetic coupling
JPS626991Y2 (ja) * 1980-09-08 1987-02-18
JPS62114228U (ja) * 1986-01-09 1987-07-21
JP2543451Y2 (ja) * 1990-12-21 1997-08-06 株式会社コガネイ ソレノイド用駆動回路およびそれを用いた電磁弁
JP2010265837A (ja) * 2009-05-15 2010-11-25 Toyota Motor Corp ウォーターポンプ

Also Published As

Publication number Publication date
JP2014075894A (ja) 2014-04-24

Similar Documents

Publication Publication Date Title
CN102714443B (zh) 旋转单相电磁执行机构
CN110662905B (zh) 磁致动制动器
US8739952B2 (en) Flip-flop clutch
JP4916500B2 (ja) ロータに直接磁気ブレーキを設けた電気機械
JP2015006126A (ja) 統合ブレーキ及び駆動回路を有するステッピングモータ
CN111600428B (zh) 电动机制动器
CN105720791A (zh) 一种线圈旋转型电磁涡流调速器
CN109565219B (zh) 电动机装置
CN105790543A (zh) 一种线圈静止型电磁涡流调速器
JP6036131B2 (ja) 負作動型電磁ブレーキ装置とその制御方法及び制御装置、駆動装置
JP7741077B2 (ja) 電気モータ及びその制御方法
JP5522187B2 (ja) 負作動型電磁ブレーキ装置とその制御方法及び制御装置、駆動装置
WO2013157316A1 (ja) 自己保持型ソレノイド及びツースクラッチ
CN205195520U (zh) 能在较高温度环境下实施转动驱动装置
JPH05300691A (ja) 小型モータ
JP6658701B2 (ja) 磁気アクチュエータ
JP6492671B2 (ja) 動力伝達装置
US12500478B2 (en) Rotator
JP2007215368A (ja) ブレーキ付モータ
JP5955237B2 (ja) ブレーキ付き回転電機
KR102820531B1 (ko) 잔류 자기장을 통한 접촉으로 유지 토크를 인가하기 위해 전기 모터 및 전기 모터의 회전자에 이동 가능하게 배열된 전자석을 갖는 서보 드라이브
JP2015122905A (ja) ブレーキモータ、および巻上機
JP2005094932A (ja) モータ駆動装置
CN101970896A (zh) 电控制动器
CN105790457B (zh) 高性能旋转电磁执行器

Legal Events

Date Code Title Description
A621 Written request for application examination

Free format text: JAPANESE INTERMEDIATE CODE: A621

Effective date: 20150514

RD02 Notification of acceptance of power of attorney

Free format text: JAPANESE INTERMEDIATE CODE: A7422

Effective date: 20150514

A131 Notification of reasons for refusal

Free format text: JAPANESE INTERMEDIATE CODE: A131

Effective date: 20160315

A977 Report on retrieval

Free format text: JAPANESE INTERMEDIATE CODE: A971007

Effective date: 20160316

A521 Written amendment

Free format text: JAPANESE INTERMEDIATE CODE: A523

Effective date: 20160512

TRDD Decision of grant or rejection written
A01 Written decision to grant a patent or to grant a registration (utility model)

Free format text: JAPANESE INTERMEDIATE CODE: A01

Effective date: 20161004

A61 First payment of annual fees (during grant procedure)

Free format text: JAPANESE INTERMEDIATE CODE: A61

Effective date: 20161017

R150 Certificate of patent or registration of utility model

Ref document number: 6036131

Country of ref document: JP

Free format text: JAPANESE INTERMEDIATE CODE: R150