JP5978129B2 - リテーナ及びフレキシブル管用継手 - Google Patents

リテーナ及びフレキシブル管用継手 Download PDF

Info

Publication number
JP5978129B2
JP5978129B2 JP2012514013A JP2012514013A JP5978129B2 JP 5978129 B2 JP5978129 B2 JP 5978129B2 JP 2012514013 A JP2012514013 A JP 2012514013A JP 2012514013 A JP2012514013 A JP 2012514013A JP 5978129 B2 JP5978129 B2 JP 5978129B2
Authority
JP
Japan
Prior art keywords
retainer
flexible pipe
retaining
separated
joint
Prior art date
Legal status (The legal status is an assumption and is not a legal conclusion. Google has not performed a legal analysis and makes no representation as to the accuracy of the status listed.)
Active
Application number
JP2012514013A
Other languages
English (en)
Other versions
JPWO2013132585A1 (ja
Inventor
良治 宇賀
良治 宇賀
裕司 岸本
裕司 岸本
Current Assignee (The listed assignees may be inaccurate. Google has not performed a legal analysis and makes no representation or warranty as to the accuracy of the list.)
JFE Pipe Fitting Mfg Co Ltd
Original Assignee
JFE Pipe Fitting Mfg Co Ltd
Priority date (The priority date is an assumption and is not a legal conclusion. Google has not performed a legal analysis and makes no representation as to the accuracy of the date listed.)
Filing date
Publication date
Application filed by JFE Pipe Fitting Mfg Co Ltd filed Critical JFE Pipe Fitting Mfg Co Ltd
Publication of JPWO2013132585A1 publication Critical patent/JPWO2013132585A1/ja
Application granted granted Critical
Publication of JP5978129B2 publication Critical patent/JP5978129B2/ja
Active legal-status Critical Current
Anticipated expiration legal-status Critical

Links

Images

Classifications

    • FMECHANICAL ENGINEERING; LIGHTING; HEATING; WEAPONS; BLASTING
    • F16ENGINEERING ELEMENTS AND UNITS; GENERAL MEASURES FOR PRODUCING AND MAINTAINING EFFECTIVE FUNCTIONING OF MACHINES OR INSTALLATIONS; THERMAL INSULATION IN GENERAL
    • F16LPIPES; JOINTS OR FITTINGS FOR PIPES; SUPPORTS FOR PIPES, CABLES OR PROTECTIVE TUBING; MEANS FOR THERMAL INSULATION IN GENERAL
    • F16L25/00Construction or details of pipe joints not provided for in, or of interest apart from, groups F16L13/00 - F16L23/00
    • F16L25/0036Joints for corrugated pipes
    • FMECHANICAL ENGINEERING; LIGHTING; HEATING; WEAPONS; BLASTING
    • F16ENGINEERING ELEMENTS AND UNITS; GENERAL MEASURES FOR PRODUCING AND MAINTAINING EFFECTIVE FUNCTIONING OF MACHINES OR INSTALLATIONS; THERMAL INSULATION IN GENERAL
    • F16LPIPES; JOINTS OR FITTINGS FOR PIPES; SUPPORTS FOR PIPES, CABLES OR PROTECTIVE TUBING; MEANS FOR THERMAL INSULATION IN GENERAL
    • F16L33/00Arrangements for connecting hoses to rigid members; Rigid hose-connectors, i.e. single members engaging both hoses
    • F16L33/22Arrangements for connecting hoses to rigid members; Rigid hose-connectors, i.e. single members engaging both hoses with means not mentioned in the preceding groups for gripping the hose between inner and outer parts
    • F16L33/223Arrangements for connecting hoses to rigid members; Rigid hose-connectors, i.e. single members engaging both hoses with means not mentioned in the preceding groups for gripping the hose between inner and outer parts the sealing surfaces being pressed together by means of a member, e.g. a swivel nut, screwed on or into one of the joint parts
    • F16L33/224Arrangements for connecting hoses to rigid members; Rigid hose-connectors, i.e. single members engaging both hoses with means not mentioned in the preceding groups for gripping the hose between inner and outer parts the sealing surfaces being pressed together by means of a member, e.g. a swivel nut, screwed on or into one of the joint parts a clamping ring being arranged between the threaded member and the connecting member

Landscapes

  • Engineering & Computer Science (AREA)
  • General Engineering & Computer Science (AREA)
  • Mechanical Engineering (AREA)
  • Joints That Cut Off Fluids, And Hose Joints (AREA)
  • Quick-Acting Or Multi-Walled Pipe Joints (AREA)

Description

本発明はリテーナ及びフレキシブル管用継手に関する。本発明は、特に、狭い場所に設けられているフレキシブル管へ容易に接続できるリテーナ及びフレキシブル管用継手に関する。
特許文献1は、フレキシブル管の閉塞装置を開示する。この閉塞装置は、継手本体と、パッキンと、座金と、リテーナと、ナットと、カバーと、Oリングとを備える。継手本体は、ガス配管からフレキシブル管が分岐する部分に取り付けられる。この継手本体はフレキシブル管の接続口とOリング溝とを有している。接続口内に段部が設けられている。パッキンはその段部に嵌まる。座金はそのパッキンに密着するように設けられる。リテーナは、接続口内に挿入される。リテーナは2つの部品からなる。ナットは継手本体とかみ合う。ナットは挿入孔を有する。カバーは閉塞部を有する。閉塞部はナットの挿入孔に嵌まる。Oリングは継手本体のOリング溝に嵌まる。この閉塞装置にはフレキシブル管を接続できる。
実開平1−16980号公報
特許文献1に開示された閉塞装置には、狭い場所に設けられているフレキシブル管に接続することが困難であるという問題点がある。特許文献1に開示された閉塞装置が継手であったとしてもこの問題点は解消されない。本発明は、この問題点を解消するためになされたものである。その目的は、狭い場所に設けられているフレキシブル管へ容易に接続できるリテーナ及びフレキシブル管用継手を提供することにある。
図面を参照し本発明のリテーナ及びフレキシブル管用継手を説明する。なおこの欄で図中の符号を使用したのは発明の内容の理解を助けるためである。この欄で図中の符号を使用することには発明の内容を図示した範囲に限定する意図がない。
上述した目的を達成するために、本発明のある局面に従うと、リテーナ24はフレキシブル管300が貫通する貫通空間200を取囲む。リテーナ24はフレキシブル管300が貫通空間200を貫通するとフレキシブル管300が貫通空間200から後退し抜けることを防止する。リテーナ24が、複数の抜止部84と、固定部86,130とを備える。抜止部84は、フレキシブル管300の外周面にそれぞれ引っ掛かる。固定部86,130は、複数の抜止部84が固定される。固定部86,130が、筒部100と、挟み部102,140とを有している。筒部100は複数の抜止部84が収容される。筒部100は抜止部84よりも弾性変形が容易である。挟み部102,140は筒部100と共に抜止部84を挟む。挟み部102,140は抜止部84よりも弾性変形が容易である。この場合、筒部100が、隣り合う抜止部84間に対向する一箇所で、筒部100の軸250方向の一端から他端にわたって分離している。筒部100の分離している一箇所に対向する挟み部102,140の一箇所が、挟み部102,140の軸250方向の一端から他端にわたって分離している。挟み部102が、筒部100の分離している一箇所に対向する一箇所に加え、他の箇所で、挟み部102の軸250方向の一端から他端にわたって分離している。
複数の抜止部84が固定部86,130に固定されているので、狭い場所に設けられているフレキシブル管300へリテーナ24を接続する際、リテーナ24のどこかを持っていれば複数の抜止部84の一部が落下する可能性は低くなる。複数の抜止部84の一部が落下する可能性を低くできるので、そのことにより狭い場所に設けられているフレキシブル管300への接続に手間取ることは防止される。その結果、狭い場所に設けられているフレキシブル管300へ容易に接続できるリテーナ24を提供することができる。
筒部100の一箇所とそこに対向する挟み部102,140の一箇所とがそれぞれ軸250方向の一端から他端にわたって分離している。その分離している箇所に力を加えると、この箇所は開く。その際、筒部100と挟み部102,140とが弾性変形するためである。この箇所に力を加えなくなると、この箇所は元通りに閉じる。これにより、この箇所に力を加えて開いたままリテーナ24をフレキシブル管300に嵌め、リテーナ24がフレキシブル管300に嵌まるとこの箇所に力を加えなくすることができる。このようにしてリテーナ24をフレキシブル管300に嵌めると、筒部100と挟み部102,140とが抜止部84と同様の弾性変形しかしない場合に比べ、リテーナ24をフレキシブル管300に嵌める作業が容易になる。
挟み部102が複数の箇所で挟み部102の軸250方向の一端から他端にわたって分離している。これにより、挟み部102が一箇所のみで分離している場合に比べ、筒部100の分離している一箇所を開きやすくなる。その箇所が開きやすくなると、そうでない場合に比べ、リテーナ24をフレキシブル管300に嵌める作業が容易になる。
本発明の他の局面に従うと、フレキシブル管用継手10は、継手本体20、リテーナ24、及び、押輪26を備える。リテーナ24は継手本体20内に収容される。押輪26は継手本体20内に進入する。継手本体20がフレキシブル管300の進入口34とフレキシブル管300の進入路36とを有する。進入路36にリテーナが配置される。進入路36は進入口34を介して継手本体20の外に連通する。リテーナ24が、フレキシブル管300が貫通する貫通空間200を取囲む。リテーナ24が、フレキシブル管300が貫通空間200を貫通するとフレキシブル管300が貫通空間200から後退し抜けることを防止する。押輪26が、リテーナ24がフレキシブル管300ごと継手本体20内から抜け落ちることを防止する。リテーナ24が、複数の抜止部84と、固定部86,130とを有する。抜止部84は、フレキシブル管300の外周面にそれぞれ引っ掛かる。固定部86,130は、複数の抜止部84が固定される。固定部86,130が、筒部100と、挟み部102,140とを有している。筒部100は複数の抜止部84が収容される。筒部100は抜止部84よりも弾性変形が容易である。挟み部102,140は筒部100と共に抜止部84を挟む。挟み部102,140は抜止部84よりも弾性変形が容易である。この場合、筒部100が、隣り合う抜止部84間に対向する一箇所で、筒部100の軸250方向の一端から他端にわたって分離している。筒部100の分離している一箇所に対向する挟み部102,140の一箇所が、挟み部102,140の軸250方向の一端から他端にわたって分離している。挟み部102が、筒部100の分離している一箇所に対向する一箇所に加え、他の箇所で、挟み部102の軸250方向の一端から他端にわたって分離している。
複数の抜止部84の一部が落下する可能性を低くできるので、そのことにより狭い場所に設けられているフレキシブル管300への接続に手間取ることは防止される。その結果、狭い場所に設けられているフレキシブル管300へ容易に接続できるフレキシブル管用継手10を提供することができる。
また、上述した継手本体20が、密着部38と張出部40とをさらに有することが望ましい。密着部38は進入口34から見て進入路36の奥に設けられる。密着部38にフレキシブル管300の先端部分が塑性変形して密着する。密着部38は環状である。張出部40は密着部38の内側から進入口34方向へ張出している。
張出部40が張出していることにより、フレキシブル管300の先端部分が塑性変形した後、その一部がフレキシブル管300の内部の流れを妨げることは防止される。
本発明によれば、狭い場所に設けられているフレキシブル管へ容易に接続できる。
本発明の実施形態にかかるフレキシブル管用継手の図である。 本発明の実施形態にかかる継手本体の図である。 本発明の実施形態にかかるリテーナの斜視図である。 本発明の実施形態にかかるフレキシブル管用継手の一部の断面図である。 本発明の実施形態にかかる押輪の図である
以下、図面を参照しつつ、本発明の実施形態について説明する。以下の説明では、同一の部品には同一の符号を付してある。それらの名称及び機能も同一である。従って、それらについての詳細な説明は繰返さない。
[構造の説明]
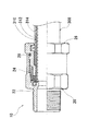
図1は、本実施形態にかかるフレキシブル管用継手10の図である。図1において、フレキシブル管用継手10の半分が切り欠かれている。図1に基づいて、本実施形態のフレキシブル管用継手10の構成を説明する。本実施形態にかかるフレキシブル管用継手10は、フレキシブル管300に接続されるものである。フレキシブル管300は、凸部310と凹部312とを備える。凸部310の表面と凹部312の表面とがフレキシブル管300の外周面を構成している。フレキシブル管300の外周面は被覆層314によって覆われている。図1に示すように、フレキシブル管用継手10は、継手本体20と、先端パッキン22と、リテーナ24と、押輪26とを備える。継手本体20にフレキシブル管300の先端部分が挿入される。継手本体20に押輪26の一端も挿入される。継手本体20には被接続体が接続される。被接続体の例はソケットである。以下の説明では、被接続体は図示されない。本実施形態の場合、先端パッキン22は輪のような形をしている。先端パッキン22の断面は円形である。先端パッキン22はゴム製である。先端パッキン22は継手本体20内に収容されている。リテーナ24は継手本体20内に収容されている。リテーナ24はフレキシブル管300が継手本体20から抜けることを防止する。押輪26は、継手本体20内部に挿入される。押輪26はリテーナ24がフレキシブル管300ごと継手本体20から抜けることを防止する。
図2は、本実施形態にかかる継手本体20の図である。図2において、継手本体20の半分は切り欠かれている。図2に基づいて、本実施形態の継手本体20の構造を説明する。継手本体20の形状は筒状である。継手本体20の外面にはナット型部30が設けられている。スパナなどの工具はナット型部30を保持することになる。その後部(図1では左部)には管接続部32が設けられている。管接続部32に上述した被接続体が接続される。本実施形態の場合、管接続部32とは雄ねじのことである。継手本体20の一端に設けられている口がフレキシブル管300の進入口34である。継手本体20は、その内部に、進入路36と、密着部38と、張出部40と、流体路42とを有している。進入路36は進入口34を介して継手本体20の外と連通している。進入路36にリテーナ24が配置される。密着部38は進入口34から見て進入路36の奥に設けられる。密着部38にはフレキシブル管300の先端部分が塑性変形して密着する。張出部40は密着部38の内側から進入口34方向へ張出している。流体路42は進入口34から見て張出部40の奥に設けられる。流体路42の内径はフレキシブル管300の外径よりも小さい。
進入路36は、本体側シール部46と、雌ねじ48と、テーパ孔50とを有する。本体側シール部46は継手本体20の外から見て進入口34の奥に設けられている。本体側シール部46は押輪26との間にシール面を形成する。雌ねじ48は継手本体20の外から見て本体側シール部46の奥に設けられている。雌ねじ48は後述する雄ねじ62とかみ合う。テーパ孔50は継手本体20の外から見て雌ねじ48の奥に設けられている。このテーパ孔50の内径は密着部38に近づくにつれて小さくなる。
密着部38は、先端パッキン溝52を有する。先端パッキン溝52に上述した先端パッキン22が嵌まる。
図3は、本実施形態にかかるリテーナ24の斜視図である。図3において、リテーナ24の一部は切り欠かれている。図3に基づいて、本実施形態のリテーナ24の構成を説明する。
リテーナ24の外形はほぼ円筒形である。リテーナ24は継手本体20の進入路36のテーパ孔50に嵌まる。リテーナ24は、複数の抜止部84と、固定部86とを有する。抜止部84は貫通空間200を取囲む。フレキシブル管300はこの貫通空間200を貫通する。本実施形態の場合、抜止部84はフレキシブル管300の凹部312にそれぞれ引っ掛かる。それら抜止部84は固定部86に固定される。これにより、対向する抜止部84同士の間隔が固定部86によって設定される。また、このような構造なので、リテーナ24は貫通空間200を取囲むこととなる。
抜止部84は金属製である。抜止部84は、ベース部90と、爪部92とを有する。ベース部90は貫通空間200の外周に配置される。爪部92はベース部90に設けられる。本実施形態の場合、ベース部90と爪部92とは一体である。爪部92はベース部90から貫通空間200に向かって突出する。
固定部86は、筒部100と挟み部102と連結部104とを有する。筒部100と挟み部102と連結部104とは、抜止部84よりも弾性変形が容易である。弾性変形を容易とするため、固定部86の素材は合成樹脂であることが好ましい。本実施形態の場合、固定部86の素材はポリエチレンである。筒部100はすべての抜止部84を収容する。挟み部102は貫通空間200から見てベース部90の内側に配置される。挟み部102は筒部100と共にベース部90を挟む。連結部104は筒部100と挟み部102とを連結する。本実施形態の場合、筒部100は、次に述べる一箇所で、筒部100の軸250方向の一端から他端にわたって分離している。その一箇所とは、隣り合う抜止部84間に対向する箇所である。その一箇所は、複数の抜止部84間のいずれに対向していてもよい。挟み部102の一箇所も挟み部102の軸250方向の一端から他端にわたって分離している。その箇所とは、筒部100の分離している一箇所に対向する箇所である。この筒部100と挟み部102との分離している箇所に力を加えると、この箇所は開く。固定部86が弾性変形するためである。この箇所に力を加えなくなると、この箇所は元通りに閉じる。この箇所が本実施形態に言う分離箇所110である。なお、本実施形態の場合、挟み部102は分離箇所110ではない他の箇所112でも軸250方向の一端から他端にわたって分離している。これにより、本実施形態の挟み部102は2つの部分に分かれている。
フレキシブル管用継手10の部品の長さには、次に述べる関係がある。図4は、本実施形態にかかるフレキシブル管用継手10の一部の断面図である。図4に基づいて、その関係を説明する。筒部100の軸方向(軸250方向のこと。以下同じ。)長さ270は、挟み部102の軸方向長さ272と爪部92の軸方向長さ274とフレキシブル管300のピッチとの和以上である。筒部100の軸方向長さ270は、挟み部102の軸方向長さ272と爪部92の軸方向長さ274と環状部60の軸方向長さ280との和以下である。環状部60の軸方向長さ280は、フレキシブル管300のピッチより長い。フレキシブル管300のピッチとは、フレキシブル管300の凹部312の最も底となる箇所の間隔のことである。実際に使用されるフレキシブル管300において凹部312の間隔にはバラツキがある。従って、本実施形態の場合、実際に使用されるフレキシブル管300のピッチについては、凹部312の間隔の最小値をフレキシブル管300のピッチと見なす
図5は、本実施形態にかかる押輪26の図である。図5において、押輪26の半分は切り欠かれている。図5に基づいて、本実施形態の押輪26の構成を説明する。押輪26の中をフレキシブル管300が貫通できる。押輪26は、環状部60と、雄ねじ62と、押輪側シール部64と、角形環部66とが設けられている。環状部60は、継手本体20内で、リテーナ24の筒部100に覆われる。雄ねじ62は継手本体20の雌ねじ48とかみ合う。押輪側シール部64は進入路36の内周面との間にシールを形成する。継手本体20と押輪26とを接続する際、工具は角形環部66を保持することになる。
押輪側シール部64の外周には外周パッキン溝70が設けられる。外周パッキン溝70は押輪側シール部64の外周面を取囲むように形成されている。図1に示すように、外周パッキン溝70には外周パッキン28が嵌め込まれる。
角形環部66の内部には、防水パッキン溝72が設けられている。防水パッキン溝72は、フレキシブル管300の先端部分が押輪26を貫通する際、フレキシブル管300を取囲むように設けられる。防水パッキン溝72には、防水パッキン80が嵌め込まれている。防水パッキン80は、EPDMなどで作られている。防水パッキン80の断面はT字形である。防水パッキン80の円周方向数箇所には、選択透過性部材が埋設されている。選択透過性部材は図示されていない。選択透過性部材の形状はピン状である。選択透過性部材は、気体を透過するが固体と液体とは透過しない。これにより、ガス漏れ検査が可能である。選択透過性部材は、例えば、連続多孔質膜を含む部材、あるいは連続気孔を有する多孔質体である。前者の連続多孔質膜は、四フッ化エチレン樹脂粉体を成形することによって得られる。後者の多孔質体は、ポリエチレン、ポリプロピレン、ポリメチルアクリレートなどの熱可塑性樹脂粉体から成形することによって得られる。
[接続方法の説明]
次に、上述したフレキシブル管用継手10にフレキシブル管300を接続する方法について説明する。
まず作業者はフレキシブル管300の先端より凸部310数個分の被覆層314を除去する。被覆層314の除去が完了すると、作業者はフレキシブル管300を押輪26に通す。フレキシブル管300の先端は押輪26の環状部60より突出する。
次いで作業者はリテーナ24の固定部86の分離箇所110を拡げる。分離箇所110が拡がると、作業者はフレキシブル管300の先端の凹部312にリテーナ24の爪部92を嵌める。フレキシブル管300の凹部312にリテーナ24の爪部92が嵌まると、固定部86の筒部100は自ずと押輪26の環状部60を覆う。こうしてリテーナ24はフレキシブル管300に取り付けられる。この時、フレキシブル管300の先端はリテーナ24の爪部92からも突出している。
次いで作業者は先端パッキン22を継手本体20の先端パッキン溝52に嵌める。先端パッキン22が嵌められると、作業者はフレキシブル管300をリテーナ24及び押輪26ごと継手本体20の進入路36に挿入する。押輪26の雄ねじ62が継手本体20の進入路36に挿入されると、その雄ねじ62が継手本体20の雌ねじ48にかみ合う。そのまま作業者が押輪26と継手本体20とを互いに逆となる方向に回すと、リテーナ24は継手本体20の進入路36の奥に向かって移動する。そうなるのはリテーナ24が押輪26の環状部60に押されるためである。進入路36のテーパ孔50の内径が密着部38に近づくにつれて小さくなっているので、リテーナ24が進入路36の奥に向かって移動するにつれ、リテーナ24の筒部100の外周面はテーパ孔50の内周面によって圧縮される。同時に、リテーナ24から突出したフレキシブル管300の先端部分は、リテーナ24の爪部92と密着部38との間で押しつぶされ塑性変形する。フレキシブル管300の先端部分が塑性変形しても、その一部がフレキシブル管300の内部の流れを妨げることは防止される。張出部40が張出しているためである。
[本実施形態にかかるフレキシブル管用継手の効果]
以上の説明から明らかなように、本実施形態にかかる複数の抜止部84は固定部86に固定されている。抜止部84が固定されているので、狭い場所に設けられているフレキシブル管300へリテーナ24を接続する際、リテーナ24のどこかを持っていれば複数の抜止部84の一部が落下する可能性は低くなる。複数の抜止部84の一部が落下する可能性を低くできるので、そのことにより狭い場所に設けられているフレキシブル管300への接続に手間取ることは防止される。その結果、狭い場所に設けられているフレキシブル管300へ容易に接続できるリテーナ24を提供することができる。
また、本実施形態にかかる筒部100の一箇所とそこに対向する挟み部102の一箇所とがそれぞれ軸250方向の一端から他端にわたって分離している。これにより、その箇所に力を加えて開いたままリテーナ24をフレキシブル管300に嵌め、リテーナ24がフレキシブル管300に嵌まるとこの箇所に力を加えなくすることができる。このようにしてリテーナ24をフレキシブル管300に嵌めると、筒部100と挟み部102とが抜止部84と同様の弾性変形しかしない場合に比べ、リテーナ24をフレキシブル管300に嵌める作業が容易になる。
また、挟み部102が複数の箇所で挟み部102の軸250方向の一端から他端にわたって分離している。これにより、挟み部102が一箇所のみで分離している場合に比べ、筒部100の分離している一箇所を開きやすくなる。その箇所が開きやすくなると、そうでない場合に比べ、リテーナ24をフレキシブル管300に嵌める作業が容易になる。
張出部40が張出していることにより、フレキシブル管300の先端部分が塑性変形した後、その一部がフレキシブル管300の内部の流れを妨げることは防止される。
<変形例の説明>
今回開示された実施形態はすべての点で例示である。本発明の範囲は上述した実施形態に基づいて制限されるものではなく、本発明の趣旨を逸脱しない範囲で種々の設計変更をしてもよいのはもちろんである。
例えば、上述した本実施形態のフレキシブル管用継手10は先端パッキン22を有していなくともよい。先端パッキン22がなくとも、フレキシブル管300の先端が押しつぶされて継手本体20の密着部38に圧着される(その結果、フレキシブル管300の先端と密着部38との間がシールされる)からである。
また継手本体20の進入路36の奥部分は特にテーパ孔50にする必要はない。しかし、本実施形態で説明したようにテーパ孔50を設ければ、リテーナ24はテーパ孔50とフレキシブル管300との間で圧迫される。リテーナ24が圧迫されると押輪26の締め付けに際してリテーナ24が回転しなくなる。リテーナ24が回転しなくなるとフレキシブル管300も回転しなくなる。
また、継手本体20は張出部40を有していなくともよい。また、管接続部32の具体的な形態は上述した雄ねじに限られない。
また、抜止部84はフレキシブル管300の凸部310にそれぞれ引っ掛かるものであってもよい。抜止部84は凸部310又は凹部312の一方のみに引っ掛かるものであってもよい。抜止部84は凸部310及び凹部312の双方に引っ掛かるものであってもよい。
また、固定部86の形態は上述したものに限定されない。例えば、リテーナ24が有する抜止部84の数は特に限定されない。その数は、「2」から「4」までであってもよい。また、筒部100の軸250方向長さは、上述した要件を満たしていなくともよい。また、挟み部102が何箇所で分離していてもよい
10 :フレキシブル管用継手
20 :継手本体
22 :先端パッキン
24,120 :リテーナ
26 :押輪
28 :外周パッキン
30 :ナット型部
32 :管接続部
34 :進入口
36 :進入路
38 :密着部
40 :張出部
42 :流体路
46 :本体側シール部
46 :雌ねじ
50 :テーパ孔
52 :先端パッキン溝
60 :環状部
62 :雄ねじ
64 :押輪側シール部
66 :角形環部
70 :外周パッキン溝
72 :防水パッキン溝
80 :防水パッキン
84 :抜止部
86,130 :固定部
90 :ベース部
92 :爪部
100 :筒部
102,140 :挟み部
104 :連結部
200 :貫通空間
250 :軸
300 :フレキシブル管
310 :凸部
312 :凹部
314 :被覆層

Claims (3)

  1. フレキシブル管が貫通する貫通空間を取囲み、かつ、前記フレキシブル管が前記貫通空間を貫通すると前記フレキシブル管が前記貫通空間から後退し抜けることを防止するリテーナであって、
    前記フレキシブル管の外周面にそれぞれ引っ掛かる複数の抜止部と、
    前記複数の抜止部が固定される固定部とを備え
    前記固定部が、
    前記複数の抜止部が収容され前記抜止部よりも弾性変形が容易である筒部と、
    前記筒部と共に前記抜止部を挟み前記抜止部よりも弾性変形が容易である挟み部とを有し、
    前記筒部が、隣り合う前記抜止部間に対向する一箇所で、前記筒部の軸方向の一端から他端にわたって分離しており、
    前記筒部の分離している前記一箇所に対向する前記挟み部の一箇所が、前記挟み部の前記軸方向の一端から他端にわたって分離しており、
    前記挟み部が、前記筒部の分離している前記一箇所に対向する前記一箇所に加え、他の箇所で、前記挟み部の前記軸方向の一端から他端にわたって分離していることを特徴とするリテーナ。
  2. 継手本体、前記継手本体内に収容されるリテーナ、及び、前記継手本体内に進入する押輪を備え、
    前記継手本体が、
    フレキシブル管の進入口と、
    前記リテーナが配置され、かつ、前記進入口を介して前記継手本体の外に連通する前記フレキシブル管の進入路とを有し、
    前記リテーナが、前記フレキシブル管が貫通する貫通空間を取囲み、かつ、前記フレキシブル管が前記貫通空間を貫通すると前記フレキシブル管が前記貫通空間から後退し抜けることを防止し、
    前記押輪が、前記リテーナが前記フレキシブル管ごと前記継手本体内から抜け落ちることを防止するフレキシブル管用継手であって、
    前記リテーナが、
    前記フレキシブル管の外周面にそれぞれ引っ掛かる複数の抜止部と、
    前記複数の抜止部が固定される固定部とを有し、
    前記固定部が、
    前記複数の抜止部が収容され前記抜止部よりも弾性変形が容易である筒部と、
    前記筒部と共に前記抜止部を挟み前記抜止部よりも弾性変形が容易である挟み部とを有し、
    前記筒部が、隣り合う前記抜止部間に対向する一箇所で、前記筒部の軸方向の一端から他端にわたって分離しており、
    前記筒部の分離している前記一箇所に対向する前記挟み部の一箇所が、前記挟み部の前記軸方向の一端から他端にわたって分離しており、
    前記挟み部が、前記筒部の分離している前記一箇所に対向する前記一箇所に加え、他の箇所で、前記挟み部の前記軸方向の一端から他端にわたって分離していることを特徴とするフレキシブル管用継手。
  3. 前記継手本体が、
    前記進入口から見て前記進入路の奥に設けられ前記フレキシブル管の先端部分が塑性変形して密着する環状の密着部と、
    前記密着部の内側から前記進入口方向へ張出している張出部とをさらに有していることを特徴とする請求項に記載のフレキシブル管用継手。
JP2012514013A 2012-03-06 2012-03-06 リテーナ及びフレキシブル管用継手 Active JP5978129B2 (ja)

Applications Claiming Priority (1)

Application Number Priority Date Filing Date Title
PCT/JP2012/055627 WO2013132585A1 (ja) 2012-03-06 2012-03-06 リテーナ及びフレキシブル管用継手

Publications (2)

Publication Number Publication Date
JPWO2013132585A1 JPWO2013132585A1 (ja) 2015-07-30
JP5978129B2 true JP5978129B2 (ja) 2016-08-24

Family

ID=49116101

Family Applications (1)

Application Number Title Priority Date Filing Date
JP2012514013A Active JP5978129B2 (ja) 2012-03-06 2012-03-06 リテーナ及びフレキシブル管用継手

Country Status (4)

Country Link
JP (1) JP5978129B2 (ja)
CN (1) CN103403431A (ja)
TW (1) TWI612248B (ja)
WO (1) WO2013132585A1 (ja)

Families Citing this family (3)

* Cited by examiner, † Cited by third party
Publication number Priority date Publication date Assignee Title
WO2017023110A1 (ko) * 2015-08-03 2017-02-09 최희문 파이프 연결용 탑 조인트 링
WO2020150770A1 (en) * 2019-01-21 2020-07-30 Termiplug Pty Ltd A plug assembly
EP3913270B1 (en) 2020-05-19 2023-07-26 ABB Schweiz AG Hygienic coupling system

Family Cites Families (7)

* Cited by examiner, † Cited by third party
Publication number Priority date Publication date Assignee Title
JPH07145894A (ja) * 1993-10-01 1995-06-06 Tokyo Gas Co Ltd フレキシブル管用継手
JP3088266B2 (ja) * 1995-02-01 2000-09-18 株式会社オンダ製作所 フレキシブルチューブ用継手
JP2000304178A (ja) * 1999-04-19 2000-11-02 Shinwa Sangyo Co Ltd フレキシブルチューブ用継手
JP4727078B2 (ja) * 2001-07-19 2011-07-20 東京瓦斯株式会社 差込式管継手
WO2008064110A1 (en) * 2006-11-21 2008-05-29 Titeflex Corporation Quick actuating fitting for corrugated stainless steel tubing
JP5202178B2 (ja) * 2008-08-13 2013-06-05 大阪瓦斯株式会社 フレキシブル管用継手
US8925976B2 (en) * 2010-03-02 2015-01-06 Omega Flex, Inc. Flanged fitting for use with tubing containment system

Also Published As

Publication number Publication date
WO2013132585A1 (ja) 2013-09-12
TW201339460A (zh) 2013-10-01
CN103403431A (zh) 2013-11-20
JPWO2013132585A1 (ja) 2015-07-30
TWI612248B (zh) 2018-01-21

Similar Documents

Publication Publication Date Title
EP2470817B1 (en) Press-connect fitting with improved grab-ring function
US20110227337A1 (en) Fitting for jacketed tubing
US20130181445A1 (en) Fitting for jacketed conduits
AU2021312366A1 (en) A plumbing connector
AU2021312183A1 (en) A plumbing connector and a method of moulding a collet
JP5978129B2 (ja) リテーナ及びフレキシブル管用継手
EP2547947B1 (en) Hose coupling
JP2012122533A (ja) ホース接続具及びシャワーホース用継手構造
JP2011220404A (ja) 配管の連結構造
US8631836B2 (en) Coolant vacuum fill apparatus and method
KR101187042B1 (ko) 파이프 연결장치
KR20150004585A (ko) 파이프 고정이 용이한 배관 커플러
EP1800047B1 (en) Pipe coupling
CN109854829B (zh) 插口管、具有插口管的管及利用插口管的管连接结构
KR102000018B1 (ko) 체결파이프 회전방지 록킹구조를 가지는 완전삽입 확인이 용이한 산업용 멀티 레이어 유체배관 클림핑 연결시스템의 플라스틱 이음구조체 시공방법
JP5917198B2 (ja) 伸縮可撓式継手とこれを用いたサドル付分水栓
JP3176509U (ja) 水道メータとシモクとの結合部における逆止弁及びパッキンの取付け構造
JP2009121585A (ja) パイプの連結構造
JPH0262498A (ja) 管継手
JP4722770B2 (ja) 管継手
KR101396894B1 (ko) 배관 연결장치 및 이의 연결방법
KR20150109122A (ko) 이중 가압스프링이 구비된 배관 커플러
JP4774292B2 (ja) 継手
JP2024126168A (ja) フレキシブル管用継手
CN207712039U (zh) 用于机动车的制动系统

Legal Events

Date Code Title Description
A131 Notification of reasons for refusal

Free format text: JAPANESE INTERMEDIATE CODE: A131

Effective date: 20151117

A521 Request for written amendment filed

Free format text: JAPANESE INTERMEDIATE CODE: A523

Effective date: 20160115

TRDD Decision of grant or rejection written
A01 Written decision to grant a patent or to grant a registration (utility model)

Free format text: JAPANESE INTERMEDIATE CODE: A01

Effective date: 20160628

A61 First payment of annual fees (during grant procedure)

Free format text: JAPANESE INTERMEDIATE CODE: A61

Effective date: 20160725

R150 Certificate of patent or registration of utility model

Ref document number: 5978129

Country of ref document: JP

Free format text: JAPANESE INTERMEDIATE CODE: R150

S533 Written request for registration of change of name

Free format text: JAPANESE INTERMEDIATE CODE: R313533

R350 Written notification of registration of transfer

Free format text: JAPANESE INTERMEDIATE CODE: R350