JP5961925B2 - ボールねじ装置及びその製造方法 - Google Patents

ボールねじ装置及びその製造方法 Download PDF

Info

Publication number
JP5961925B2
JP5961925B2 JP2011130231A JP2011130231A JP5961925B2 JP 5961925 B2 JP5961925 B2 JP 5961925B2 JP 2011130231 A JP2011130231 A JP 2011130231A JP 2011130231 A JP2011130231 A JP 2011130231A JP 5961925 B2 JP5961925 B2 JP 5961925B2
Authority
JP
Japan
Prior art keywords
nut
screw shaft
seal member
screw
ball
Prior art date
Legal status (The legal status is an assumption and is not a legal conclusion. Google has not performed a legal analysis and makes no representation as to the accuracy of the status listed.)
Active
Application number
JP2011130231A
Other languages
English (en)
Other versions
JP2012255524A (ja
Inventor
直人 西脇
直人 西脇
Current Assignee (The listed assignees may be inaccurate. Google has not performed a legal analysis and makes no representation or warranty as to the accuracy of the list.)
NSK Ltd
Original Assignee
NSK Ltd
Priority date (The priority date is an assumption and is not a legal conclusion. Google has not performed a legal analysis and makes no representation as to the accuracy of the date listed.)
Filing date
Publication date
Application filed by NSK Ltd filed Critical NSK Ltd
Priority to JP2011130231A priority Critical patent/JP5961925B2/ja
Publication of JP2012255524A publication Critical patent/JP2012255524A/ja
Application granted granted Critical
Publication of JP5961925B2 publication Critical patent/JP5961925B2/ja
Active legal-status Critical Current
Anticipated expiration legal-status Critical

Links

Images

Landscapes

  • Transmission Devices (AREA)

Description

本発明は、回転運動を直線運動に変換する機械要素として、例えばステアリング装置や重量物移動用装置、加工用装置、精密位置決め装置などに用いるボールねじ装置及びボールねじ装置の製造方法に関する。
従来、ボールが転動するねじ溝部を塵芥等の侵入から保護すると共に、ボールねじナット内部に供給されている潤滑油脂類を保持・密封するためのシール部材を備えたボールねじ装置がある。そのようなボールねじ装置において、良好な防塵性・密封性を得るためには、ねじ軸とシール部材の芯を合わせ、シール部材とねじ軸の位相を調整する必要があるが、この2つを同時に行うことは難しく、そのためには大きな手間と時間がかかる。
そこで、従来のボールねじにおいては、シールリングに半径方向の嵌装孔を設け、そのシールリングをねじ軸の所望の位置にセットし、ねじ軸上のねじ溝内に嵌合する突部を有するシール部材を嵌装孔に装着した後、シールリングをナットに固定するものがある(例えば、特許文献1参照)。
実公昭59−19156号公報
しかしながら、上記のシール装置は、突部を有するシール部材を装着するための嵌装孔を設ける必要があるため、シールリングは軸方向の厚さが相当に厚いものでなければならず、ボールねじのナットの小型化・軽量化等のために軸方向の厚さの薄いシールリングを用いる場合には、上記の技術的手段を適用することは出来ない。また、上記のシール装置においては、シールリングをねじ軸の位相に合わせて所定位置にセットした後にナットを回転させてシールリングとナットとを嵌合させることから、その際にシールリングの位置にずれが生じることが考えられ、これを解消するためには手間と時間がかかる。このような問題に鑑みて、本発明は、シール部材の軸方向の厚さに関わらず、ねじ軸とシール部材の芯を合わせ、シール部材とねじ軸の位相を調整することを容易に行うことができるボールねじ装置を提供することを目的とする。
上記課題を解決するために本発明では、外周面に螺旋状のボール転動溝を形成したねじ軸と、
該ねじ軸の外周に設けられ内周面に螺旋状のボール転動溝を形成したナットと、
前記ねじ軸と前記ナットとの間の隙間をシールする略ドーナツ状のシール部材と、
前記ねじ軸と前記ナットの前記ボール転動溝間に設けられた複数のボールとを具備してなるボールねじ装置において、
前記ナットは、前記ねじ軸を囲繞するように軸方向端部から軸方向で外方に延在した縮径凸部を有し、
前記シール部材の内周面と前記縮径凸部の外周面とは、前記ねじ軸の回転軸を中心軸線とする円柱面状の接触面から成るインロー部を構成しており、
軸方向における前記シール部材のナット側端部が前記ナットの前記軸方向端部に当接しており、
前記シール部材には、長孔部が形成されており、
前記シール部材は、該長孔部を通した固定部材によって前記ナットに固定されていることを特徴とするボールねじ装置を提供する。
好ましくは、前記長孔部は、前記ねじ軸方向に貫通しており、前記ねじ軸の回転軸を中心とする円弧状をしている。
また、上記課題を解決するために本発明では、請求項1乃至3のいずれかに記載のボールねじ装置の製造方法において、前記シール部材の固定角度を調整した後に、前記長孔部を通した前記固定部材によって前記シール部を前記ナットに固定することを特徴とするボールねじ装置の製造方法を提供する。
本発明によれば、シール部材の軸方向の厚さに関わらず、ねじ軸とシール部材の芯を合わせ、シール部材とねじ軸の位相を調整することを容易に行うことができるボールねじ装置を提供することができる。
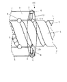
本願の参考例のボールねじ装置を示す図である。ナットの軸方向の断面とねじ軸の側面を示している。 シール部材を取り付けていないナットを示す図である。(a)はナットとねじ軸との組立状態におけるナットの軸方向の断面とねじ軸の側面とを示す図である。(b)はナット端面を示す立面図である。 ナットとシール部材を示す立面図である。(a)はシール部材をナットにはめ込んだ状態のナット端面を示している。(b)はシール部材をナットにねじ固定した状態を示している。 本願の実施形態に係るボールねじ装置を示す図である。(a)はナットの軸方向の断面とねじ軸の側面を示している。(b)はシール部材をナットにねじ固定した状態を軸方向から見た立面図である。
以下、本発明の参考例と実施形態について図1乃至図4を参照しつつ説明する。本参考例に係るボールねじ装置100において、図1に示すように、ねじ軸1の外周面には、螺旋状のボール転動溝2が形成されており、ねじ軸1の外周に設けられたナット3の内周面にも、ボール転動溝2に対向する螺旋状のボール転動溝4が形成されている。
ねじ軸1のボール転動溝2の断面形状は、一般に用いられるゴシックアーク形状の底部に逃げ溝を形成したものとすることもできるが、シール性をより高めるため、図1のように逃げ溝を廃止した形状とすることが好ましい。
ボール転動溝2、4の間には複数のボール5が介装されており、ボール5は、ねじ軸1とナット3が相対回転することによってボール転動溝2、4の間を転動する。転動したボール5は、ボール転動溝4の終点まで到達すると、循環部材(不図示)の内部を通過してボール転動溝4の始点へ戻り、再度ボール転動溝2、4の間を転動するという循環が繰り返される。循環部材としては、エンドデフレクタ式、チューブ式、こま式、エンドキャップ式等を用いることができる。なお、ねじ軸1、ナット3及びボール5の間には予圧が与えられていてもよい。予圧を与えることにより、軸方向の隙間を小さくしてバックラッシを防ぐことが出来る。予圧の方式としては、オーバーボール予圧、インテグラル予圧、ダブルナット予圧等を用いることができる。
ナット3の内部には、防塵性・耐久性を高めるため、潤滑剤の供給機構(不図示)が設けられている。潤滑剤の供給機構としては、例えば、油やグリースを樹脂に含浸させた潤滑ユニット「NSK K1(登録商標)」を用いることができる。
参考例において、ナット3の軸方向の端部には、ねじ軸1の回転軸を中心軸線とする円筒形をした凸部6が形成されている。
なお、本発明において、凸部6は必ずしも円筒形である必要はなく、凸部6の内周面がねじ軸1の回転軸を中心軸線とする円柱面状の内周面を有していれば良い。つまり、凸部6の外周面は円柱面状とする必要はなく、必要に応じて種々変形することが可能である。例えば、四角柱面状の外周面であっても良く、軸方向の各位置で大きさが異なっていても良い。
参考例において、凸部6の内径側のナット3端面は、軸方向と垂直な面であり、シール部材7の固定に用いるねじ穴9が形成されている。シール部材7を取り付けていないナット3端面を図2(b)に示している。ねじ穴9は、円周方向に等間隔で3箇所形成されている。
なお、本発明において、シール部材7を固定する固定部材はねじに限られないため、ねじ以外を用いる場合、ナット3端面にはそれに対応したものを設けることができる。例えば、後述する固定ピンによる固定であれば、ねじ穴9に代えて固定ピン用の穴とすることができる。また、ねじ穴9等の数は3箇所に限られないが、複数あることが好ましい。ねじ穴9等の円周方向の間隔も等間隔であることが望ましいが、これに限られるものではない。
凸部6の内周側において、ナット3端面には、シール部材7が取り付けられる。シール部材7は、ドーナツ状のエラストマーから成り、リップ部10と固定部11とを一体に有している。シール部材7を凸部6に嵌め込んだ状態を図3(a)に示している。
なお、本発明において、シール部材7は、エラストマー以外の弾性体であってもよい。また、シール部材7の形状を保持し、強度を上げるため、固定部11が芯金を備えていてもよい。
シール部材7のリップ部10は、溝内摺接部10aと、これと連続して形成された外周摺接部10bとを有している。溝内摺接部10aは、固定部11の内径部から所定角度範囲にわたり径方向内向きに突出しねじ軸1のボール転動溝2の溝内に摺接する部分であり、外周摺接部10bは、固定部11の内径部から残りの角度範囲にわたり径方向内向きに突出しボール転動溝2が形成されていないねじ軸1の外周面に摺接する部分である。本参考例において、溝内摺接部10aのねじ軸1との摺接部は平面視において直線状をしており、外周摺接部10bのねじ軸1との摺接部は平面視において円弧状をしている。これにより、リップ部10の内周は、シール部材7をねじ軸1の芯と合わせてナット3に取り付けた際に、円周方向のある角度において、大きな変形を生ずること無しに、ねじ軸1の断面の周囲に隙間無く接触する。これによって、リップ部10をねじ軸1の断面全周に均一な力で摺接させることができ、余分なトルクを発生させずに十分なシール性能を得ることが可能となる。
なお、本発明に於いて、リップ部10の平面形状は、図3に示したものに限られず、ねじ軸1の断面に合わせて種々変更が可能である。例えば、ねじ軸1の軸方向と垂直な断面にボール転動溝2がいくつ現れるかによって溝内摺接部10aの数が変わることになる。つまり、本参考例のリップ部10においては、溝内摺接部10aが1箇所となっているが、ねじ軸1のリードをより短くした場合や、多条ねじとした場合には2箇所以上となる場合もある。また、ボール転動溝2の断面形状によっては溝内摺接部10aのねじ溝との摺接部は平面視において直線状でなくても良く、例えば、楕円弧状をしていても良い。
参考例において、溝内摺接部10aは、図1に示すように、固定部11からナット3の軸方向外方に向かって傾斜して延在し、ボール転動溝2と接触している。このような構成とすることで、外部からの塵芥の侵入をより効果的に防ぐことができる。
なお、本発明において、溝内摺接部10aが延在する角度はこれに限られるものではなく、逆に、溝内摺接部10aを固定部11からナット3の軸方向内方に向かって傾斜させてボール転動溝2と接触していてもよい。この場合、ナット3の内部に供給される潤滑油脂類の漏出をより効果的に防ぐことが出来る。また、溝内摺接部10aは軸方向に対して垂直であってもよい。
固定部11の外周面は、凸部6の内周面よりも僅かに径の小さい円柱面状であり、固定部11の軸方向でナット3側の面は軸方向と垂直な面となっている。これにより、凸部6とシール部材7でインロー部13を構成している。このような構成とすることで、ボールねじ装置100の組立時において、ねじ軸1とシール部材7の芯合わせの作業を行う必要がなくなる。また、ナット3とシール部材7の接触面からの異物の侵入を効果的に防ぐことができる。
なお、図4(a)に示す実施形態のように、凸部6とシール部材7とで形成されるインロー部13は、凸部6がシール部材7に内嵌する構成とすることも可能である。つまり、凸部6の外周面を円柱面状とし、シール部材7がそれに外嵌するように、シール部材7の固定部11に軸方向でナット3側へ突出した円筒部11aを設けることができる。この場合、図4(a)に示す実施形態のように、凸部6の外周面をナット3の他の部分の外径よりも径の小さい円柱面状とすることで、シール部材7の円筒部11aのナット3側端部をナット3端部に当接させることができ、ナット3とシール部材7の接触面のシール性能を高めることができる。
また、図1に示す本参考例において、凸部6の内径側の縁は、傾斜面や曲面とすることで、シール部材7を嵌め込むの際の引っ掛かりを防ぐこともできる。同様に、図4の実施形態においては、ナット3側へ突出した円筒部11aの内径側の縁を傾斜面や曲面とすることができる。
図1に示す本参考例において、シール部材7の固定部11には、長孔部12が円周方向に等間隔で3箇所形成されている。長孔部12は、ねじ軸1の回転軸を中心軸線とする円弧状をしており、軸方向に貫通している。図3(b)に示すように、シール部材7は、固定ねじ8を長孔部12を通してねじ穴9に螺入することによってナット3に固定する。
なお、本発明において、長孔部12は3箇所に限られるものではなく、また、ねじ穴9と異なる数であっても良い。長孔部12は円周方向で等間隔に形成されていることが好ましいが、これに限られるものではない。長孔部12はねじ軸1の回転軸を中心軸線とする円弧状をしていることが好ましいが、シール部材7の固定角度を調整した後に固定ねじ8をねじ穴9に通することができる形状であればこれに限られず、例えば、直線状の遊び穴であっても良い。また、前述の如くシール部材7をナット3に固定する固定部材はねじに限られず、固定ピンその他の固定部材であっても良い。
上述の図4に示す実施形態の如く凸部6がシール部材7に内嵌する構成とした場合には、ねじ穴9や固定ピン用の穴は凸部6に形成される。例えば、図4(a)に示すように、固定ねじ8等がシール部材7の固定部11に形成された長孔部12を通って凸部6の軸方向端部から軸方向でナット3側へ向けて挿入されるように構成することができる。また、固定ねじ8等がシール部材7の円筒部11aに径方向に貫通するように形成した長孔部12を通って凸部6の外径側から内径側へ向けて挿入するように構成しても良い。したがって、上述の実施形態においては、これらの固定方法に応じた位置にねじ穴9等を設ける。
ボールねじ装置100の種類によってボール転動溝2、4の断面形状や位相は異なるため、それによってシール部材7の円周方向の固定角度は異なるが、ボール転動溝2、4の断面形状や位相などの設計条件から、シール部材7のリップ部10が全周にわたって隙間無くねじ軸1に摺接する理論上の固定角度(回転方向の角度)を算出することは可能である。しかし、ねじ軸1とナット3の製造等における誤差があるため、適切な固定角度でシール部材7を固定するためには、各ボールねじ装置100の組立ての際に角度を調整する必要がある。
そこで、本発明においては、まず、シール部材7の製造に際し、あらかじめ算出した理論上の固定角度に対応した位置に長孔部12の中央部が配置されるように長孔部12を形成する。そして、シール部材7をナット3に取り付ける際に、ねじ軸1との隙間を見ながら適切な固定角度に調整した後に、固定ねじ8を長孔部12を通してねじ穴9に螺入する。これにより、極めて容易にシール部材7の固定角度の調整と固定を行うことが可能となる。また、本発明は、特許文献1のように嵌装孔を設ける必要はないため、軸方向の厚さに関わらず用いることが可能である。
角度の調整は、長孔部12の円周方向の長さ分行うことができる。したがって、シール部材7を特定のボールねじに対して用いる場合、長孔部12の円周方向の長さは、ねじ軸1とナット3の製造等における誤差に応じた長さを確保すればよい。つまり、製造等における誤差が小さければ短く、誤差が大きければ長くなる。
なお、長孔部12の円周方向の長さを長くすることで、調整可能範囲が広がるため、特定形状のシール部材7を複数の形状のボールねじに用いることが可能となる。また、ナット3のねじ穴9を数多く配置しておくことで、固定部材の配置を変えることができるため、特定の形状のボールねじにおいて形状の異なるシール部材7を用いることが可能となる。
以上のように、本発明によれば、シール部材の軸方向の寸法に関わらず、ねじ軸とシール部材の芯を合わせ、シール部材とねじ軸の位相を調整することを容易に行うことができるボールねじ装置を提供することができる。
1 ねじ軸
2 ボール転動溝(ねじ軸側)
3 ナット
4 ボール転動溝(ナット側)
5 ボール
6 凸部
7 シール部材
8 固定ねじ
9 ねじ穴
10 リップ部
10a 溝内摺接部
10b 外周摺接部
11 固定部
11a 円筒部
12 長孔部
13 インロー部
100 ボールねじ装置

Claims (3)

  1. 外周面に螺旋状のボール転動溝を形成したねじ軸と、
    該ねじ軸の外周に設けられ内周面に螺旋状のボール転動溝を形成したナットと、
    前記ねじ軸と前記ナットとの間の隙間をシールする略ドーナツ状のシール部材と、
    前記ねじ軸と前記ナットの前記ボール転動溝間に設けられた複数のボールとを具備してなるボールねじ装置において、
    前記ナットは、前記ねじ軸を囲繞するように軸方向端部から軸方向で外方に延在した縮径凸部を有し、
    前記シール部材の内周面と前記縮径凸部の外周面とは、前記ねじ軸の回転軸を中心軸線とする円柱面状の接触面から成るインロー部を構成しており、
    軸方向における前記シール部材のナット側端部が前記ナットの前記軸方向端部に当接しており、
    前記シール部材には、長孔部が形成されており、
    前記シール部材は、該長孔部を通した固定部材によって前記ナットに固定されていることを特徴とするボールねじ装置。
  2. 前記長孔部は、前記ねじ軸方向に貫通しており、前記ねじ軸の回転軸を中心とする円弧状をしていることを特徴とする請求項1に記載のボールねじ装置。
  3. 請求項1又は2に記載のボールねじ装置の製造方法において、
    前記シール部材の固定角度を調整した後に、前記長孔部を通した前記固定部材によって前記シール部を前記ナットに固定することを特徴とするボールねじ装置の製造方法。
JP2011130231A 2011-06-10 2011-06-10 ボールねじ装置及びその製造方法 Active JP5961925B2 (ja)

Priority Applications (1)

Application Number Priority Date Filing Date Title
JP2011130231A JP5961925B2 (ja) 2011-06-10 2011-06-10 ボールねじ装置及びその製造方法

Applications Claiming Priority (1)

Application Number Priority Date Filing Date Title
JP2011130231A JP5961925B2 (ja) 2011-06-10 2011-06-10 ボールねじ装置及びその製造方法

Publications (2)

Publication Number Publication Date
JP2012255524A JP2012255524A (ja) 2012-12-27
JP5961925B2 true JP5961925B2 (ja) 2016-08-03

Family

ID=47527260

Family Applications (1)

Application Number Title Priority Date Filing Date
JP2011130231A Active JP5961925B2 (ja) 2011-06-10 2011-06-10 ボールねじ装置及びその製造方法

Country Status (1)

Country Link
JP (1) JP5961925B2 (ja)

Families Citing this family (1)

* Cited by examiner, † Cited by third party
Publication number Priority date Publication date Assignee Title
CN109899473B (zh) * 2019-03-14 2022-06-03 赵洁 滚珠丝杠副及密封结构

Family Cites Families (6)

* Cited by examiner, † Cited by third party
Publication number Priority date Publication date Assignee Title
JP2000179640A (ja) * 1998-12-17 2000-06-27 Nsk Ltd ボールねじ用密封形シール
JP2001336599A (ja) * 2000-05-30 2001-12-07 Nsk Ltd ボールねじ装置のシール取付構造
JP2005214407A (ja) * 2004-02-02 2005-08-11 Nsk Ltd ボールねじ装置
JP5017874B2 (ja) * 2006-02-08 2012-09-05 日本精工株式会社 ボールねじ装置
JP4941134B2 (ja) * 2007-07-05 2012-05-30 日本精工株式会社 直動ねじ装置
JP4985844B2 (ja) * 2010-11-30 2012-07-25 日本精工株式会社 ボールねじ装置およびその製造方法

Also Published As

Publication number Publication date
JP2012255524A (ja) 2012-12-27

Similar Documents

Publication Publication Date Title
TWI518258B (zh) Uniaxial actuator
TWI384144B (zh) 具預壓結構之螺帽旋轉式滾珠螺桿
TWI644038B (zh) Actuator
JPH05340460A (ja) ボールねじ
TWI651477B (zh) 運動導引裝置
JP5821926B2 (ja) ボールねじ装置用シール
JP5961925B2 (ja) ボールねじ装置及びその製造方法
JP2013047529A (ja) ボールねじ装置及びその製造方法
JP2017075699A (ja) トルク伝達可能なリニアブッシュ
JP6403645B2 (ja) レンズ装置
KR101462782B1 (ko) 이격되어 고리형으로 배열된 2개의 롤링체의 윤활 구조체를 구비한 전동소자
CN204664330U (zh) 一种机电作动器丝杠支撑结构及包含它的机电作动器
JP6228503B2 (ja) ボールねじナット
US20180202525A1 (en) Ball Screw, Machine Tool, and Conveying Device
JP6094347B2 (ja) ボールねじ装置用ロックナット及びボールねじ装置
JPWO2005038301A1 (ja) ローラねじ
JP7413706B2 (ja) ボールねじ
JP2012246995A (ja) ボールねじ
JP2018128117A (ja) アクチュエータ
JP5130841B2 (ja) 直動装置
CN222046566U (zh) 油封组件及减速装置
CN222298652U (zh) 一种直进式千分尺
JP5061568B2 (ja) ボールねじ装置
JP2015048924A (ja) シール部材及び風車主軸用転がり軸受
TWI480480B (zh) End cap ball screw with double nut preload structure

Legal Events

Date Code Title Description
A621 Written request for application examination

Free format text: JAPANESE INTERMEDIATE CODE: A621

Effective date: 20140605

A977 Report on retrieval

Free format text: JAPANESE INTERMEDIATE CODE: A971007

Effective date: 20150227

A131 Notification of reasons for refusal

Free format text: JAPANESE INTERMEDIATE CODE: A131

Effective date: 20150317

A521 Written amendment

Free format text: JAPANESE INTERMEDIATE CODE: A523

Effective date: 20150512

A131 Notification of reasons for refusal

Free format text: JAPANESE INTERMEDIATE CODE: A131

Effective date: 20151208

A521 Written amendment

Free format text: JAPANESE INTERMEDIATE CODE: A523

Effective date: 20160205

TRDD Decision of grant or rejection written
A01 Written decision to grant a patent or to grant a registration (utility model)

Free format text: JAPANESE INTERMEDIATE CODE: A01

Effective date: 20160531

A61 First payment of annual fees (during grant procedure)

Free format text: JAPANESE INTERMEDIATE CODE: A61

Effective date: 20160613

R150 Certificate of patent or registration of utility model

Ref document number: 5961925

Country of ref document: JP

Free format text: JAPANESE INTERMEDIATE CODE: R150