JP5951663B2 - 遊技機 - Google Patents

遊技機 Download PDF

Info

Publication number
JP5951663B2
JP5951663B2 JP2014043331A JP2014043331A JP5951663B2 JP 5951663 B2 JP5951663 B2 JP 5951663B2 JP 2014043331 A JP2014043331 A JP 2014043331A JP 2014043331 A JP2014043331 A JP 2014043331A JP 5951663 B2 JP5951663 B2 JP 5951663B2
Authority
JP
Japan
Prior art keywords
game
effect
jackpot
control unit
determination
Prior art date
Legal status (The legal status is an assumption and is not a legal conclusion. Google has not performed a legal analysis and makes no representation as to the accuracy of the status listed.)
Active
Application number
JP2014043331A
Other languages
English (en)
Other versions
JP2015167653A (ja
Inventor
武蔵 島田
武蔵 島田
孝幸 加古
孝幸 加古
智哉 百瀬
智哉 百瀬
菊池 雄
雄 菊池
豊 桑山
豊 桑山
圭介 大角
圭介 大角
菅原 隆
隆 菅原
Current Assignee (The listed assignees may be inaccurate. Google has not performed a legal analysis and makes no representation or warranty as to the accuracy of the list.)
Kyoraku Industrial Co Ltd
Original Assignee
Kyoraku Industrial Co Ltd
Priority date (The priority date is an assumption and is not a legal conclusion. Google has not performed a legal analysis and makes no representation as to the accuracy of the date listed.)
Filing date
Publication date
Application filed by Kyoraku Industrial Co Ltd filed Critical Kyoraku Industrial Co Ltd
Priority to JP2014043331A priority Critical patent/JP5951663B2/ja
Publication of JP2015167653A publication Critical patent/JP2015167653A/ja
Application granted granted Critical
Publication of JP5951663B2 publication Critical patent/JP5951663B2/ja
Active legal-status Critical Current
Anticipated expiration legal-status Critical

Links

Images

Landscapes

  • Pinball Game Machines (AREA)
  • Display Devices Of Pinball Game Machines (AREA)

Description

本発明は、遊技者にとって有利な特別遊技中に演出を行う遊技機に関する。
従来、遊技盤上に設けられた始動口に遊技球が入賞する始動入賞により、大当たり乱数を取得して、この大当たり乱数を用いて特別遊技である大当たりの判定を行う遊技機が知られている。遊技機は、大当たりの判定を行うと、特別図柄表示部に特別図柄を変動表示させて、大当たり判定の判定結果を示す図柄を停止表示させる。
特別図柄の変動表示中に始動入賞すると、遊技機は、始動入賞時に取得した大当たり乱数等の判定用の情報である保留情報を記憶する。停止表示させた特別図柄が大当たりを示す場合、遊技機は、遊技盤上に設けられた大入賞口を開放させる大当たり遊技を行う。停止表示させた特別図柄がハズレを示す特別図柄である場合、遊技機は、始動口へ遊技球が入賞することまたは保留情報が記憶されていることを示す始動条件の成立により、再び大当たり判定を行って特別図柄を変動表示および停止表示させる。
このように、遊技機は、特別図柄を変動表示および停止表示させる遊技状態、または大入賞口を開放させる大当たりの遊技状態のうちのいずれか一方の遊技状態をとる。また、遊技機は、特別図柄の変動表示中や大当たり中に、画像表示部等を用いて演出を行う。変動表示中の演出としては、特別図柄の変動表示および停止表示に対応させて、装飾図柄を変動表示および停止表示させる変動演出がある。
変動演出には、例えばリーチ演出など、遊技者に大当たりを期待させる演出がある。また、大当たり中には、大入賞口を開放させるラウンド毎のラウンド遊技に応じたラウンド演出や、大当たりの終了を示すエンディング遊技中のエンディング演出などが行われる(例えば、下記特許文献1参照。)。
特開2006−218197号公報
しかしながら、上述した従来技術は、大当たりのエンディング遊技時に毎回同じエンディング演出が行われているため、エンディング演出がマンネリ化するというという問題がある。
本発明は、上述した問題点を解消するため、斬新なエンディング演出を行うことを目的とする。
上述した課題を解決し、目的を達成するため、本発明に係る遊技機は、始動条件の成立により、遊技者にとって有利な特別遊技を行うか否かの特別遊技判定を行う特別遊技判定手段と、図柄を変動表示させ、前記特別遊技判定手段による判定結果を示す判定図柄を停止表示させる図柄表示手段と、前記図柄表示手段によって前記特別遊技を示す前記判定図柄が停止表示された場合、可変入賞装置を開放させるラウンド遊技と、前記ラウンド遊技が終了した後のエンディング遊技と、を含む前記特別遊技を実行する特別遊技実行手段と、遊技者にとって不利な遊技状態である非特定遊技状態、または、遊技者にとって有利な遊技状態である特定遊技状態、のいずれか一方の遊技状態で遊技を制御する遊技制御手段と、前記特別遊技実行手段によって、前記ラウンド遊技が行われる際にラウンド演出を行うとともに、前記エンディング遊技が行われる際にエンディング演出を行う特別遊技演出手段と、を備え、前記遊技制御手段は、前記図柄表示手段によって停止表示された前記特別遊技を示す前記判定図柄に基づいて、前記特定遊技状態の実施条件が成立した場合には前記特別遊技実行手段によって前記特別遊技が実行された後に前記特定遊技状態で遊技を制御可能にし、前記特別遊技演出手段は、前記特別遊技の実行後に前記遊技制御手段によって前記特定遊技状態で遊技が制御可能にされる場合において、特定の条件が成立した場合には前記エンディング遊技において前記特定遊技状態が開始されることを報知しない第1のエンディング演出を行い、前記特定の条件が成立しない場合には前記エンディング遊技において前記特定遊技状態が開始されることを報知する第2のエンディング演出であって前記第1のエンディング演出とは異なる前記第2のエンディング演出を行い、前記特定の条件は、前記特別遊技の実行中に記憶されている保留情報に前記特別遊技となる保留情報が記憶されていることであり、前記第1のエンディング演出は、前記特別遊技となる保留情報が記憶されていることを示唆する演出であるとともに、前記第1のエンディング演出の開始によって遊技者に前記特別遊技を報知する演出である、ことを特徴とする。
本発明によれば、斬新なエンディング演出を行うことができる。
ぱちんこ遊技機の一例を示す説明図である。 ぱちんこ遊技機の制御部の内部構成を示すブロック図である。 ラウンド数表示演出の一例を示す説明図である。 連チャン時における大当たりのエンディング演出の一例を示す説明図である。 第1のエンディング演出の一例を示す説明図である。 ぱちんこ遊技機の機能的構成を示すブロック図である。 主制御部が行うタイマ割込処理を示すフローチャートである。 主制御部が行う始動口スイッチ処理を示すフローチャートである。 事前判定処理の処理内容を示すフローチャートである。 事前判定情報記憶領域の一例を示す説明図である。 主制御部が行う特別図柄処理を示すフローチャートである。 主制御部が行う大当たり判定処理を示すフローチャートである。 低確率遊技状態において用いられる当たり判定テーブルの一例を示す説明図である。 高確率遊技状態において用いられる当たり判定テーブルの一例を示す説明図である。 第1始動口への入賞球に対して用いられる図柄判定テーブルの一例を示す説明図である。 第2始動口への入賞球に対して用いられる図柄判定テーブルの一例を示す説明図である。 主制御部が行う変動パターン判定処理を示すフローチャートである。 ハズレ時に用いるハズレ用変動パターン判定テーブルの一例を示す説明図である。 大当たり時に用いる大当たり用変動パターン判定テーブルの一例を示す説明図である。 主制御部が行う停止中処理を示すフローチャート(その1)である。 主制御部が行う停止中処理を示すフローチャート(その2)である。 主制御部が行う大入賞口処理を示すフローチャートである。 オープニング処理の処理内容を示すフローチャートである。 開放中処理の処理内容を示すフローチャートである。 インターバル処理の処理内容を示すフローチャートである。 主制御部が行う確変アタッカスイッチ処理を示すフローチャートである。 主制御部が行うエンディング処理を示すフローチャートである。 主制御部が行う遊技状態設定処理を示すフローチャートである。 演出統括部が行う演出タイマ割込処理を示すフローチャートである。 演出統括部が行うコマンド受信処理を示すフローチャートである。 演出統括部が行う保留コマンド受信処理を示すフローチャートである。 演出統括部の演出事前判定情報記憶領域の一例を示す説明図である。 演出統括部が行う大当たり演出選択処理を示すフローチャートである。 演出統括部が行うラウンド演出処理を示すフローチャートである。 演出統括部が行うエンディング演出選択処理を示すフローチャートである。 演出統括部が行う演出決定処理を示すフローチャートである。 変動演出パターンテーブルの一例を示す説明図である。 演出統括部が行う変動演出中処理を示すフローチャートである。 演出終了処理の処理内容を示すフローチャートである。 演出モードテーブルの一例を示す説明図である。
以下に図面を参照して、遊技機の好適な実施の形態を詳細に説明する。本実施の形態では、旧第1種に属するぱちんこ遊技機(いわゆる「デジパチ」)について説明する。
(ぱちんこ遊技機の基本構成)
まず、実施の形態に係るぱちんこ遊技機の基本構成について説明する。図1は、ぱちんこ遊技機の一例を示す説明図である。図1に示すように、ぱちんこ遊技機100は、遊技盤101を有する。遊技盤101の下部位置には、発射部が配置されている。
発射部の駆動によって発射された遊技球は、レール102に沿って上昇して遊技盤101の上部位置に達した後、遊技領域103内を落下する。遊技領域103には、複数の釘が設けられており、この釘によって遊技球は不特定な方向に向けて落下する。また、遊技領域103において遊技球の落下途中となる位置には、遊技球の落下方向を変化させる風車や各種入賞口(始動口や大入賞口など)が配置されている。
遊技盤101のほぼ中央部分には画像表示部としてのメイン液晶104が配置されているとともに、メイン液晶104の両横にはそれぞれサブ液晶114が配置されている。メイン液晶104およびサブ液晶114は、液晶表示器(LCD:Liquid Crystal Display)である。
サブ液晶114は、不図示の移動機構により、メイン液晶104の前面を進退自在に移動する。図1に示す例では、サブ液晶114はメイン液晶104の前面から待避した位置にある。サブ液晶114は、所定の演出時に、メイン液晶104の前面に移動し、所定の画像を表示する。また、サブ液晶114は、待避位置においても画像を表示する。
メイン液晶104の下方には、第1始動口105と、第2始動口106とが配置されている。第1始動口105および第2始動口106は、始動入賞させるための入賞口である。
第2始動口106には、開閉自在な普通電動役物107が設けられている。普通電動役物107は、閉状態と、開状態と、をとり得る。閉状態は、遊技球を第2始動口106へ入賞させにくくする閉鎖した状態である。開状態は、手前側に開いた状態であり遊技球を第2始動口106へ入賞させやすくする開放した状態である。これらの状態の切替えは、普通電動役物107が備えるソレノイドによって行われる。なお、普通電動役物107は、手前側に開放する態様に限らず、例えばチューリップ形状にして左右に開放する態様でもよい。
普通電動役物107は、メイン液晶104の右側に配置されたゲート108のいずれかを遊技球が通過することによって行われる普通図柄判定の判定結果に基づいて開放する。また、メイン液晶104の右下には大入賞口としての通常アタッカ109aが配置されている。通常アタッカ109aの下方には、大入賞口としての確変アタッカ109bが配置されている。各アタッカ109a,109bは、特別遊技である大当たり遊技状態となったときに大当たりの種類に応じた開放態様で開放し、遊技球の入賞により所定個数(例えば15個)の賞球を払い出すための入賞口である。
メイン液晶104の下方には普通入賞口110が配置されている。普通入賞口110は、遊技球の入賞により所定個数(例えば10個)の賞球を払い出すための入賞口である。普通入賞口110は、図示の位置に限らず、遊技領域103内の任意の位置に配置された構成にしてもよい。遊技領域103の最下部には、いずれの入賞口にも入賞しなかった遊技球を回収する回収口111が設けられている。
遊技盤101の左下部分には、遊技者に特別図柄などの遊技情報を明示する情報表示部112が設けられている。情報表示部112には、遊技球が第1始動口105へ入賞することにより行われる大当たり判定の判定結果を表す第1特別図柄や、遊技球が第2始動口106へ入賞することにより行われる大当たり判定の判定結果を表す第2特別図柄などを表示する。
遊技盤101の遊技領域103の外周部分には、枠部材113が設けられている。枠部材113は、遊技盤101の上下左右の4辺において遊技領域103の周囲を囲む形状を有している。また、枠部材113は、遊技盤101の盤面から遊技者側に突出する形状を有している。
枠部材113において、遊技領域103の上側にはスピーカが組み込まれている。また、枠部材113において遊技領域103の上側部分には、演出ライト部(枠ランプ)115が設けられている。
枠部材113の下部位置には、操作ハンドル116が配置されている。操作ハンドル116は、発射部の駆動によって遊技球を発射させる際に、遊技者によって操作される。操作ハンドル116は、枠部材113と同様に、遊技盤101の盤面から遊技者側に突出する形状を有している。
操作ハンドル116は、発射部を駆動させて遊技球を発射させる発射指示部材117を有する。発射指示部材117は、操作ハンドル116の外周部において、遊技者から見て右回りに回転可能に設けられている。操作ハンドル116には、遊技者が発射指示部材117を直接操作していることを検出するセンサなどが設けられている。これにより、発射部は、発射指示部材117が遊技者によって直接操作されているときに遊技球を発射する。
枠部材113において、遊技領域103の下側部分には、演出ボタン118や十字キー119が設けられている。演出ボタン118や十字キー119は、遊技者からの操作を受け付ける。ぱちんこ遊技機100は、演出ボタン118を発光させて遊技者からの操作を受け付ける通常ボタン演出を行う。また、ぱちんこ遊技機100は、演出ボタン118を、図示の位置よりも上方へ突出させて、押下量を長くして遊技者からの操作を受け付ける特殊ボタン演出を行う。
また、枠部材113において、遊技領域103の下側部分には、不図示の打球供給皿が設けられている。打球供給皿は、遊技球を収容するとともに、順次発射部へ遊技球を送り出す。
また、遊技盤101上には、所定の演出時に動作する可動役物130が設けられている。可動役物130は、不図示の移動機構により、所定の揺動軸を中心にして図中の左右に揺動する。また、可動役物130の他にも、通常時には待避しており、所定の演出時にはメイン液晶104の前面に進出する不図示の可動役物もある。
(ぱちんこ遊技機の基本動作)
次に、本実施の形態のぱちんこ遊技機100の基本動作の一例について説明する。ぱちんこ遊技機100は、遊技球が第1始動口105または第2始動口106へ入賞すると、大当たり乱数を取得し、取得した大当たり乱数を用いて、大当たり判定を行う。遊技球が第1始動口105へ入賞して大当たり判定を行うと、ぱちんこ遊技機100は、第1特別図柄表示部112a(図2参照)において第1特別図柄を変動表示させる。変動表示の開始から所定期間経過すると、ぱちんこ遊技機100は、第1特別図柄表示部112aに、大当たり判定の判定結果を示す図柄を停止表示させる。
遊技球が第2始動口106へ入賞して大当たり判定を行うと、ぱちんこ遊技機100は、第2特別図柄表示部112b(図2参照)において第2特別図柄を変動表示させる。変動表示の開始から所定期間経過すると、ぱちんこ遊技機100は、第2特別図柄表示部112bに、大当たり判定の判定結果を示す図柄を停止表示させる。
ぱちんこ遊技機100は、特別図柄(第1特別図柄または第2特別図柄)を変動表示させると、それに同期させて、メイン液晶104上に3つの装飾図柄(例えば数字図柄)を変動表示させる。そして、ぱちんこ遊技機100は、特別図柄の停止表示に同期させて、装飾図柄を停止表示させる。例えば、ぱちんこ遊技機100は、大当たりを示す特別図柄を停止表示させる場合には、大当たりを示す組み合わせで装飾図柄を停止表示させる。
大当たりを示す組み合わせとは、関連性のある組み合わせであり、例えば、「7・7・7」などのいわゆるゾロ目や、「松・竹・梅」といった観念的に関係のある組み合わせである。大当たりを示す組み合わせで装飾図柄を停止表示させるときには、ぱちんこ遊技機100は、装飾図柄の停止表示に至るまでにリーチ演出などの遊技者に大当たりとなることを期待させる演出を行う。
リーチ演出は、具体的には、複数の装飾図柄(第1装飾図柄、第2装飾図柄および第3装飾図柄)の一部(2つ)を同一または関連性のある図柄で停止表示させて、残りの一部(1つ)を、通常よりも長時間の変動表示とさせる特殊な演出である。大当たりの場合、ぱちんこ遊技機100は、残りの1つを停止中の2つと関連性のある装飾図柄で停止表示させる。ハズレの場合、ぱちんこ遊技機100は、残りの1つを停止中の2つとは関連性のない装飾図柄で停止表示させる。
大当たり判定の結果がハズレである場合には、ぱちんこ遊技機100は、通常のハズレ変動(以下「通常ハズレ変動」という。)、または、ハズレとなるリーチ演出を行う。通常ハズレ変動では、例えば、第1装飾図柄の次に停止表示させる第2装飾図柄を、第1装飾図柄とは関連性のない図柄で停止表示させ、つまり、リーチ演出に発展することのない図柄で停止表示させる。なお、リーチハズレを含むハズレの変動表示において停止表示した装飾図柄の出目をハズレ目という。
また、特別図柄の変動表示中に遊技球が第1始動口105または第2始動口106へ入賞すると、ぱちんこ遊技機100は、所定数を上限に、大当たり判定を受ける権利を示す保留情報を記憶する。所定数とは、第1始動口105および第2始動口106のそれぞれについて、例えば4である。ぱちんこ遊技機100は、通常ハズレ変動においては、保留情報の数(以下「保留数」という)に応じた変動時間、特別図柄を変動表示させる。
通常ハズレ変動における変動時間は、例えば、変動開始時における保留数が1以下の場合13秒、保留数が2の場合8秒、保留数が3以上の場合3秒、である。ぱちんこ遊技機100は、通常のハズレ変動では、ハズレ目で装飾図柄を停止表示する。ハズレを示す装飾図柄を停止表示させると、ぱちんこ遊技機100は、次の保留情報による大当たり判定を行って、装飾図柄を変動表示および停止表示させる。
大当たりを示す組み合わせで装飾図柄を停止表示させると、ぱちんこ遊技機100は、大当たり遊技状態に移行させ、当選した大当たりに応じたラウンド数分、大入賞口(通常アタッカ109aまたは確変アタッカ109b)を開放させる。例えば、1ラウンドは、開放させた大入賞口への所定個数(例えば10球)の入球があるまでの期間、または所定時間(例えば、長開放は29.5秒、短開放は0.5秒)が経過するまでの期間である。
大当たり遊技状態では、ぱちんこ遊技機100は、当選したラウンド数分、大入賞口(通常アタッカ109aまたは確変アタッカ109b)を開放させる。遊技球が開放中の通常アタッカ109aまたは確変アタッカ109bへ入賞すると、ぱちんこ遊技機100は、所定個数の賞球を払い出す。
ぱちんこ遊技機100は、大当たり遊技状態においては、大当たり判定を行わない。ぱちんこ遊技機100は、大当たり遊技状態において、当選した大当たりに応じた通常アタッカ109aまたは確変アタッカ109bの開放が完了すると大当たり遊技状態を終了する。大当たり遊技状態では、例えば、遊技領域103のうちの右側の領域に遊技球が打ち出される、いわゆる右打ちによって遊技が行われ、右側領域に配置された通常アタッカ109aまたは確変アタッカ109b内に入賞させて遊技が行われる。
ぱちんこ遊技機100は、大当たり遊技状態を終了すると、再び、大当たり判定を行う非大当たり遊技状態へ復帰する。大当たり遊技状態を終了させた後の非大当たり遊技状態では、例えば、補助遊技状態などの特定の遊技状態となる。
(ぱちんこ遊技機の遊技状態)
非大当たり遊技状態には、例えば、低確率非補助遊技状態(通常遊技状態)と、高確率補助遊技状態(確変遊技状態:確率変動遊技状態)と、低確率補助遊技状態(時短遊技状態:時間短縮遊技状態)と、高確率非補助遊技状態(潜確遊技状態:潜伏確変遊技状態)と、の4つの遊技状態がある。ぱちんこ遊技機100は、大当たり遊技状態を除いて、この4つの遊技状態のうち、いずれか1つの遊技状態で遊技を制御する。
補助遊技状態は、普通電動役物107の遊技サポート機能が付加されて、通常遊技状態に比べて第2始動口106へ入賞しやすくなる遊技状態である。遊技サポート機能は、例えば、普通図柄の変動時間の短縮化、普通図柄当たりの当選確率の向上(普通電動役物107の開放頻度の増加)、普通電動役物107の開放時間の長時間化、といった機能である。
また、補助遊技状態においては、特別図柄の変動時間を短縮することにより、非補助遊技状態に比べて迅速な遊技が行われる。例えば、補助遊技状態では、通常ハズレ変動の変動時間を短縮したり、リーチハズレの当選確率を低くしたりすることにより、非補助遊技状態に比べて迅速な遊技が行われる。
本実施の形態において、補助遊技状態では、遊技領域103のうち、右側領域に遊技球が打ち出される右打ちによって遊技が行われ、主に第2始動口106への入賞によって遊技が進行される。また、非補助遊技状態(通常遊技状態または潜確遊技状態)では、遊技領域103のうち、左側領域に遊技球が打ち出される左打ちによって遊技が行われる。通常遊技状態では、主に第1始動口105への入賞によって遊技が進行される。潜確遊技状態は、確変遊技状態が終了してから4変動が経過するまで設定されるため、確変遊技状態において第2始動口106へ入賞した保留情報(例えば4つ)が記憶されている場合には、当該保留情報によって遊技が進行される。
低確率遊技状態(通常遊技状態または時短遊技状態)では、大当たりに当選しにくい低確率遊技状態用の低確率当たり判定テーブルを用いた大当たり判定が行われる。低確率遊技状態における大当たりの当選確率は、例えば、1/400である。
高確率遊技状態(確変遊技状態または潜確遊技状態)では、大当たりに当選しやすい高確率遊技状態用の当たり判定テーブルを用いた大当たり判定が行われる。高確率遊技状態における大当たりの当選確率は、例えば、1/50である。このように、高確率遊技状態(確変遊技状態または潜確遊技状態)では、低確率遊技状態(通常遊技状態または時短遊技状態)に比べて高確率で大当たりに当選する。
ぱちんこ遊技機100は、大当たり遊技の終了後に、例えば、確変遊技状態または時短遊技状態に遷移し、さらに、各遊技状態において所定回数の大当たり判定を行うと別の遊技状態に遷移する。ここで、大当たり遊技終了後の遊技状態の遷移について説明する。
例えば、ぱちんこ遊技機100は、大当たりの種類として、第1大当たり(15ラウンド(R)確変アタッカ短開放)と、第2大当たり(15R確変アタッカ長開放1)と、第3大当たり(15R確変アタッカ長開放2)との3種類の大当たりをとり得る。第2大当たりと第3大当たりとは、実質的に同様の大当たりであり、第2大当たりまたは第3大当たりに当選すると、大当たり遊技の最終ラウンドにおいて確変アタッカ109bが長開放(例えば29.5秒の開放)する。
確変アタッカ109bに遊技球が入賞して、確変アタッカ109b内の特定領域に設けられる確変アタッカスイッチ224b(確変アタッカSW224b)がONになると、大当たり終了後、所定変動回数(例えば104変動)が終了するまで高確率遊技状態となる。確変アタッカSW224bは、高確率遊技状態にするためのスイッチである。
なお、本実施の形態においては、確変アタッカ109b内に入賞した遊技球は全て特定領域を通過する構成としているが、確変アタッカ109b内に特定領域と特定領域を除く非特定領域を設けるとともに特定領域と非特定領域とに遊技球を振り分ける振分部材を設ける構成にし、確変アタッカ109bに入賞した場合であっても確変アタッカSW224bがONにならない場合がある構成としてもよい。大当たり中に確変アタッカSW224bがONにならない場合は、大当たり終了後、低確率遊技状態となる。
また、第2大当たりまたは第3大当たりに当選すると、大当たり終了後、例えば100変動が終了するまで補助遊技状態が付加された高確率補助遊技状態(確変遊技状態)に遷移する。大当たり終了後に100変動が経過すると、補助遊技が付加されなくなり、高確率非補助遊技状態(潜確遊技状態)に遷移する。潜確遊技状態において4変動が経過(大当たり終了後、101〜104変動が経過)すると、通常遊技状態(低確率非補助遊技状態)に遷移する。潜確遊技状態では、確変遊技状態において第2始動口106へ入賞した保留情報(例えば4つ)が記憶されている場合には、当該保留情報によって大当たり判定が行われる。
なお、第2大当たりと、第3大当たりとでは、大当たり中に行われる演出が異なる。具体的には、第2大当たりでは、大当たり終了後に確変遊技状態となるか時短遊技状態となるかを大当たりの途中まで秘匿した非報知演出、または、大当たり終了後に確変遊技状態となることを報知する確変報知演出のうち、抽選によって選択されたいずれか一方が行われる。なお、第2大当たりにおける非報知演出では、大当たり中のオープニングおよび所定ラウンドに至るまでは大当たり終了後に確変遊技状態となるか時短遊技状態となるかを秘匿した秘匿演出が行われ、所定ラウンド以降に、大当たり終了後に確変遊技状態となることを示唆する示唆演出が行われる。
第3大当たりでは、確変報知演出が行われる。ただし、確変報知演出や、確変遊技状態となることを示唆する示唆演出が行われた場合であっても、例えば確変アタッカ109bに遊技球が入賞せず、確変アタッカSW224bがONにならない場合は、大当たり終了後、低確率遊技状態となり、確変遊技状態とはならないことがある。
また、第1大当たりに当選すると、大当たり終了後、例えば100変動が終了するまで補助遊技状態が付加された低確率補助遊技状態(時短遊技状態)に遷移する。具体的には、第1大当たりに当選すると、大当たり遊技の最終ラウンドで確変アタッカ109bが短開放(例えば0.1秒の開放)する。
確変アタッカ109bの短開放時に遊技球が確変アタッカ109bに入賞せず、確変アタッカSW224bがONにならないため、大当たり終了後に高確率遊技状態に遷移しない。時短遊技状態において100変動が経過すると、通常遊技状態(低確率非補助遊技状態)に遷移する。なお、第1大当たりでは、大当たり終了後に確変遊技状態となるか時短遊技状態となるかを秘匿した非報知演出が行われる。なお、第1大当たりにおける非報知演出では、大当たり中の所定ラウンド以降に、大当たり終了後に時短遊技状態となることを示唆する示唆演出が行われる。
また、ぱちんこ遊技機100は、各遊技状態に対応させて演出モードによる演出を行う。ぱちんこ遊技機100は、例えば、通常遊技状態においては通常遊技状態であることを示唆する通常モードによる演出を行い、確変遊技状態においては確変遊技状態であることを示唆する確変モードによる演出を行う。また、ぱちんこ遊技機100は、潜確遊技状態においては潜確遊技状態であることを示唆する潜確モードによる演出を行い、時短遊技状態においては時短遊技状態であることを示唆する時短モードによる演出を行う。
(ぱちんこ遊技機の制御部の内部構成)
次に、図2を用いて、ぱちんこ遊技機100の制御部の内部構成について説明する。図2は、ぱちんこ遊技機の制御部の内部構成を示すブロック図である。図2に示すように、ぱちんこ遊技機100の制御部200は、遊技の進行を制御する主制御部201と、演出内容を制御する演出制御部202と、賞球の払い出しを制御する賞球制御部203と、を有する。以下にそれぞれの制御部の構成について詳細に説明する。
(1.主制御部)
主制御部201は、CPU(Central Processing Unit)211と、ROM(Read Only Memory)212と、RAM(Random Access Memory)213と、不図示の入出力インターフェース(I/O)と、を有する。
主制御部201は、CPU211がRAM213をワークエリアとして使用しながら、ROM212に記憶された各種プログラムを実行することによって、ぱちんこ遊技機100の遊技の進行を制御するように機能する。例えば、主制御部201は、大当たり判定や、普通図柄判定や、遊技状態の設定、などを行い、遊技の進行を制御する。主制御部201は、主制御基板によって実現される。
CPU211は、予めROM212に記憶された各種プログラムに基づき、遊技内容の進行に伴う基本処理を実行する。ROM212には、特図保留記憶プログラム、事前判定プログラム、大当たり判定プログラム、特図変動パターン選択プログラム、特図変動表示プログラム、普図保留記憶プログラム、普図当たり判定プログラム、普図変動パターン選択プログラム、普図変動表示プログラム、大入賞口制御プログラム、遊技状態設定プログラム、普通電動役物開放プログラム、などが記憶されている。
特図保留記憶プログラムは、第1始動口SW221によって遊技球が検出されると、大当たり判定を受ける権利を示す第1保留情報をRAM213に記憶させる。また、特図保留記憶プログラムは、第2始動口SW222によって遊技球が検出されると、大当たり判定を受ける権利を示す第2保留情報をRAM213に記憶させる。
大当たり判定プログラムは、第1保留情報および第2保留情報に対する特別遊技の判定である大当たり判定を行わせる。なお、特別図柄が変動表示していない客待ち状態中の始動入賞では保留情報を記憶させない構成とすることも可能である。この場合、大当たり判定プログラムは、第1始動口SW221または第2始動口SW222によって遊技球が検出された際に保留情報を一旦記憶させることなく、検出時に取得した大当たり乱数を用いて、大当たり判定を行わせればよい。
本実施の形態において、特別遊技である大当たりの種類は、例えば3種類としている。具体的には、第1大当たり(15R確変アタッカ短開放)と、第2大当たり(15R確変アタッカ長開放1)と、第3大当たり(15R確変アタッカ長開放2)と、がある。各大当たりは、いずれも出玉のある大当たりである。第1大当たりの場合、最終ラウンドにおいて確変アタッカ109bが短開放するため、第2大当たりおよび第3大当たりに比べて1ラウンド分、出玉が少ない。
特図変動パターン選択プログラムは、大当たり判定結果に応じて、特別図柄の変動開始から変動停止までの変動態様(変動時間)を示した変動パターンを選択させる。特図変動パターン選択プログラムは、保留数に応じて変動パターンを選択させる。例えば、大当たり判定の結果がハズレの場合、保留数が多いときほど、変動時間の短い変動パターンが選択されやすくなっている。特図変動表示プログラムは、特図変動パターン選択プログラムが実行されることによって選択された変動パターンを用いて特別図柄を変動表示および停止表示させる。
事前判定プログラムは、例えば始動入賞時などの特別図柄の変動表示前に、第1保留情報および第2保留情報に対する大当たり判定を行わせる。事前判定プログラムによる判定結果は、保留情報と対応付けられてRAM213に記憶される。
普図保留記憶プログラムは、ゲートSW223によって遊技球が検出されると、普通図柄判定を受ける権利を示す保留情報をRAM213に記憶させる。普図当たり判定プログラムは、普通図柄判定を受ける権利を示す保留情報に基づいて、普図当たりの判定を行わせる。普図変動パターン選択プログラムは、普通図柄判定結果に応じて、普通図柄の変動開始から変動停止までの変動態様(変動時間)を示した変動パターンを選択させる。普図変動表示プログラムは、普図変動パターン選択プログラムが実行されることによって選択された変動パターンを用いて普通図柄を変動表示および停止表示させる。
大入賞口制御プログラムは、当選した大当たりの種類に応じて、通常アタッカ109aまたは確変アタッカ109bを開放させる。遊技状態設定プログラムは、確変アタッカSW224bのONまたはOFFに応じて、大当たり終了後の遊技状態を、時短遊技状態または確変遊技状態に設定させる。
また、遊技状態設定プログラムは、補助遊技状態において所定変動回数(100変動)が経過すると非補助遊技状態を設定させる。また、遊技状態設定プログラムは、高確率遊技状態において所定変動回数(104変動)が経過すると低確率遊技状態を設定させる。普通電動役物開放プログラムは、普通図柄当たり時に、当たりの内容に応じた開放態様で、普通電動役物107を開放させる。
また、主制御部201には、遊技球を検出する各種スイッチ(SW)、通常アタッカ109aや確変アタッカ109bなどの電動役物を開閉動作させるためのソレノイド、第1特別図柄表示部112a、第2特別図柄表示部112b、普通図柄表示部112c、保留表示部112d、右打ち表示部112e、などが接続される。
第1特別図柄表示部112aは、第1特別図柄を変動表示および停止表示する。第2特別図柄表示部112bは、第2特別図柄を変動表示および停止表示する。普通図柄表示部112cは、普通図柄を変動表示および停止表示する。保留表示部112dは、記憶している保留情報を表示する。保留情報は、第1始動口105への遊技球の入賞について4つ、第2始動口106への遊技球の入賞について4つ、ゲート108への遊技球の通過について4つを上限にそれぞれ記憶される。保留表示部112dは記憶されている数を表示する。右打ち表示部112eは、右打ちによって遊技が進行される遊技状態(大当たり遊技状態や補助遊技状態)において、遊技者に右打ちを促すために点灯する。
各種SWには、第1始動口105へ入賞した遊技球を検出する第1始動口SW221と、第2始動口106へ入賞した遊技球を検出する第2始動口SW222と、ゲート108を通過した遊技球を検出するゲートSW223と、通常アタッカ109aへ入賞した遊技球を検出する通常アタッカSW224aと、確変アタッカ109bへ入賞した遊技球を検出する確変アタッカSW224bと、普通入賞口110へ入賞した遊技球を検出する普通入賞口SW225と、がある。
各種SW(221〜225)は、主制御部201に接続されており、それぞれ検出結果が主制御部201へ入力される。各種SW(221〜225)としては、近接スイッチなどが用いられる。なお、普通入賞口SW225は、普通入賞口110の配置位置別に複数個設けてもよい。
また、上述したソレノイドとしては、普通電動役物107を開閉動作させる電動チューリップソレノイド231と、通常アタッカ109aを開閉動作させる通常アタッカソレノイド232aと、確変アタッカ109bを開閉動作させる確変アタッカソレノイド232bと、がある。主制御部201は、各ソレノイド(231,232a,232b)の駆動を制御する。
さらに、主制御部201は、演出制御部202および賞球制御部203に接続され、それぞれに対して各種コマンドを出力する。例えば、主制御部201は、演出制御部202に対しては変動開始コマンド、変動停止コマンド、保留コマンド、などのコマンドを出力する。また、主制御部201は、賞球制御部203に対しては賞球コマンドを出力する。賞球コマンドには、払い出させる賞球の個数を示す情報などが含まれている。
(2.演出制御部)
演出制御部202は、演出統括部202aと、画像・音声制御部202bと、ランプ制御部202cと、を有する。演出制御部202は、ぱちんこ遊技機100の演出内容を制御する。演出統括部202aは、主制御部201から受信した各種コマンドに基づいて演出制御部202全体を統括する。
画像・音声制御部202bは、演出統括部202aからの指示内容を示す演出コマンドに基づいて、画像および音声の制御を行う。また、ランプ制御部202cは、演出統括部202aからの指示内容を示す演出コマンドに基づいて、遊技盤101および枠部材113などに設けられたランプの点灯を制御する。
(2−1.演出統括部)
まず、演出統括部202aの構成について説明する。演出統括部202aは、CPU241と、ROM242と、RAM243と、リアルタイムクロック(以下「RTC」という)244と、不図示の入出力インターフェース(I/O)と、を有する。
CPU241は、予めROM242に記憶された各種プログラムに基づき、演出内容を決定する処理を実行する。ROM242には、CPU241が上述した処理を実行するために必要となる各種プログラムが記憶されている。RAM243は、CPU241のワークエリアとして機能する。CPU241が各種プログラムを実行することにより、所定のタイミングで各種の演出コマンドが画像・音声制御部202bおよびランプ制御部202cに対して出力される。
演出統括部202aは、CPU241がRAM243をワークエリアとして使用しながら、ROM242に記憶された、大当たり演出選択プログラム、ラウンド数表示プログラム、エンディング演出選択プログラム、変動演出選択プログラム、予告演出選択プログラム、保留表示プログラムなどの演出制御プログラムを実行することによって、演出制御部202全体を統括するように機能する。
大当たり演出選択プログラムは、例えば、連チャン中における確変遊技状態の継続を示す確変報知演出や、大当たりの種類を秘匿した非報知演出など、大当たり中の演出内容を選択させるプログラムである。連チャンとは、例えば、本実施の形態では、確変遊技状態、潜確遊技状態または時短遊技状態のいずれかの遊技状態において大当たりに当選することである。なお、連チャンには、時短遊技状態における大当たりの当選や潜確遊技状態における大当たりの当選を含めないようにしてもよい。
ラウンド数表示プログラムは、大当たりにおける各ラウンドにおけるラウンド表示を行わせるプログラムである。ラウンド数表示プログラムは、例えば、ラウンド数を加算することにより実行中のラウンドを表示させたり、非報知演出において大当たりの種類の示唆を開始する所定ラウンドまでの残りラウンド数を表示させたりする。
エンディング演出選択プログラムは、連チャン時の条件に応じて異なるエンディング演出を選択させたり、初当たり時と連チャン時とで異なるエンディング演出を選択させたりするプログラムである。エンディング演出選択プログラムは、例えば、連チャン時においては、記憶している保留情報に大当たりの保留情報がある場合には、大当たりの保留情報による変動表示期間にエンディング演出を継続させる特殊エンディング演出を行わせたりする。
変動演出選択プログラムは、特別図柄の変動パターンに対応させて、装飾図柄を用いたリーチ演出などの変動演出の内容を選択させる。例えば、リーチ演出は、複数の演出段階によって構成される。一例としてリーチ演出には、第1段階のノーマルリーチと、ノーマルリーチ後にさらに演出が発展する第2段階の発展リーチとがある。
ノーマルリーチは、例えば、第1装飾図柄と第2装飾図柄とを関連性のある図柄で停止表示したテンパイ状態において、第3装飾図柄をゆっくりとした変動表示にさせて、その後に停止表示させる演出である。発展リーチは、ノーマルリーチにおいて第3装飾図柄を停止表示させずに高速変動させ、その後に行われる、例えば、物語調のストーリ演出や、敵と味方とが対決するバトル演出である。
予告演出選択プログラムは、特別図柄の変動パターンに基づいて、予告演出を選択させる。予告演出は、例えば、ボタン演出、会話演出、ステップアップ演出、カットイン演出、キャラクタ演出、可動役物演出などである。ボタン演出は、遊技者からの演出ボタン118の操作により関連する後続の演出を行う演出である。会話演出、ステップアップ演出およびカットイン演出は、段階的に発展する演出であり、高段階に発展したときほど、大当たりに対する期待度が高くなる演出である。
キャラクタ演出は、例えば、キャラクタの出現や出現したキャラクタの色によって大当たりに対する期待度が異なる演出である。可動役物演出は、可動役物130を動作させる演出であり、例えば、複数の可動役物130を備えた構成の場合、動作した可動役物130の種類数が多いときほど、期待度が高くなる演出である。また、複数の可動役物130を備えた構成では、特定の可動役物130が動作したときには、他の可動役物130が動作したときよりも期待度が高くなる演出とすることもできる。
保留表示プログラムは、主制御部201の事前判定結果を用いて、事前判定結果と対応付けられている保留情報を通常の保留表示である通常保留表示、または通常保留表示とは異なる特殊保留表示のいずれかの表示形態で表示させる。
RTC244は、実時間を計時出力する。RTC244は、ぱちんこ遊技機100の電源が遮断されているときもバックアップ電源(不図示)により計時動作を継続する。なお、RTC244の配置位置は、演出統括部202aなど演出制御部202内に限らず、主制御部201内としてもよい。
また、演出統括部202aには、演出ボタン118が接続されており、遊技者から演出ボタン118が操作(押下)された旨を示すデータが入力される。また、演出統括部202aには、十字キー119が接続されており、遊技者によって選択されたキーに対応するデータが入力される。
(2−2.画像・音声制御部)
次に、画像・音声制御部202bの構成について説明する。画像・音声制御部202bは、CPU251と、ROM252と、RAM253と、不図示の入出力インターフェース(I/O)と、を有する。
CPU251は、画像や音声の生成および出力処理を実行する。ROM252には、画像や音声の生成および出力処理のためのプログラム、各種画像データ、各種音声データ、などが記憶されている。各種画像データは、例えば、背景画像、装飾図柄画像、キャラクタ画像、予告画像、保留画像、などである。RAM253は、CPU251のワークエリアとして機能し、メイン液晶104に表示する画像データやスピーカ254から出力させる音声データが一時的に格納される。
すなわち、画像・音声制御部202bは、CPU251がRAM253をワークエリアとして使用しながら、ROM252に記憶された各種プログラムを実行することによって、演出統括部202aからの指示に基づいて画像および音声の制御を行うように機能する。
例えば、CPU251は、演出統括部202aから指示された指示内容に基づいて、背景画像表示処理、装飾図柄画像表示処理、キャラクタ画像表示処理、ボタン画像表示処理、保留画像表示処理など各種画像処理と、各種画像に応じた音声を出力する音声処理と、を実行する。画像処理および音声処理を実行する際に、CPU251は、所定の画像データおよび音声データをROM252から読み出してRAM253に書き込む。
ここで、装飾図柄画像には、例えば「0」〜「9」の10種類の数字図柄を示す画像や、「松」、「竹」、「梅」の3種類の文字図柄を示す画像がある。保留画像は、保留情報が記憶されていることを示すとともに、保留情報の期待度の低いものから高いものの順に、白、青、黄、赤、というように、保留情報の期待度に応じて色が異なる。白の保留表示は、通常保留表示である。また、青、黄、赤の保留表示は、特殊保留表示である。なお、保留情報は、メイン液晶104による表示によって表すものに限らず、例えば、ランプ制御部202cの制御によるランプによる点灯によって表すものでもよい。
RAM253に書き込まれた背景画像や装飾図柄画像などの画像データは、画像・音声制御部202bに接続されたメイン液晶104やサブ液晶114に対して出力され、メイン液晶104の表示画面上において重畳表示される。例えば、装飾図柄画像は、背景画像よりも手前に見えるように表示される。なお、同一位置に背景画像と図柄画像が重なる場合などには、Zバッファ法など周知の陰面消去法により各画像データのZバッファのZ値を参照することにより、図柄画像を優先して表示する。
また、RAM253に書き込まれた音声データは、画像・音声制御部202bに接続されたスピーカ254に対して出力され、音声データに基づく音声がスピーカ254から出力される。
(2−3.ランプ制御部)
次に、ランプ制御部202cの構成について説明する。ランプ制御部202cは、CPU261と、ROM262と、RAM263と、不図示の入出力インターフェース(I/O)と、を有する。CPU261は、ランプを点灯させる処理などを実行する。ROM262には、各種プログラム、ランプ点灯に用いる制御データなどが記憶されている。RAM263は、CPU261のワークエリアとして機能する。
ランプ制御部202cは、演出ライト部115と、盤ランプ264と、可動役物130と、に接続され、点灯制御するデータや動作制御するデータを出力する。これにより、ランプ制御部202cは、遊技盤101および枠部材113などに設けられたランプの点灯を制御したり、可動役物130の動作を制御したりする。
本実施の形態において、演出制御部202は、演出統括部202aと、画像・音声制御部202bと、ランプ制御部202cと、を用いて、それぞれ異なる基板によって実現されるものとしたが、これらは同じプリント基板上に組み込まれるものとしてもよい。ただし、同じプリント基板上に組み込まれた場合であっても、それぞれの機能は独立しているものとする。
(3.賞球制御部)
次に、賞球制御部203の構成について説明する。賞球制御部203は、CPU281と、ROM282と、RAM283と、不図示の入出力インターフェース(I/O)と、を有する。CPU281は、払い出す賞球を制御する賞球制御処理を実行する。ROM282には、賞球制御処理を行うためのプログラムなどが記憶されている。RAM283は、CPU281のワークエリアとして機能する。
また、賞球制御部203は、払出部(払出駆動モータ)291と、発射部292と、定位置検出SW293と、払出球検出SW294と、球有り検出SW295と、満タン検出SW296と、に接続される。
賞球制御部203は、払出部291に対して入賞時の賞球数を払い出す制御を行う。払出部291は、遊技球の貯留部から所定数を払い出すためのモータを有する。具体的には、賞球制御部203は、払出部291に対して各入賞口(第1始動口105、第2始動口106、通常アタッカ109a、確変アタッカ109b、普通入賞口110)に入賞した遊技球に対応した賞球数を払い出す制御を行う。
また、賞球制御部203は、発射部292に対する遊技球の発射の操作を検出して遊技球の発射を制御する。発射部292は、遊技者による遊技操作を検出するセンサや、遊技球を発射させるソレノイドなどを有する。賞球制御部203は、発射部292のセンサにより遊技操作が検出されると、検出された遊技操作に対応してソレノイドを駆動させて遊技球を所定間隔で発射することにより、遊技球を遊技盤101の遊技領域103に送り出す。
また、賞球制御部203には、払い出す遊技球の状態を検出する各種の検出部が接続され、賞球のための払い出し状態を検出する。これらの検出部には、定位置検出SW293、払出球検出SW294、球有り検出SW295、満タン検出SW296、などがある。賞球制御部203は、例えば賞球制御基板によって、その機能を実現する。
また、主制御部201には、盤用外部情報端子基板297が接続されており、主制御部201が実行処理した各種情報を外部に出力することができる。賞球制御部203についても、枠用外部情報端子基板298が接続されており、賞球制御部203が実行処理した各種情報を外部に出力することができる。
上記構成の主制御部201と、賞球制御部203とは、それぞれ異なるプリント基板(主制御基板、賞球制御基板)に設けられるが、これに限らず、例えば、賞球制御部203は、主制御部201と同一のプリント基板上に設けることもできる。
(ラウンド数表示演出の一例)
次に、ラウンド数表示演出の一例について説明する。図3−1は、ラウンド数表示演出の一例を示す説明図である。図3−1の(1)〜(4)に示すラウンド数表示演出は、大当たりの種類を秘匿した非報知演出における各ラウンドの演出である。
非報知演出は、第1大当たり(15R確変アタッカ短開放)または第2大当たり(15R確変アタッカ長開放1)において行われる演出である。本実施の形態においては、第1始動口105への入賞によって第1大当たりまたは第2大当たりに当選可能になっている。また、第2始動口106への入賞によって第3大当たり(15R確変アタッカ長開放2)に当選可能になっている。なお、確変遊技状態の後、4変動が経過するまで設定される潜確遊技状態においては、確変遊技状態において第2始動口106へ入賞した保留情報によって大当たり判定が実行可能になっている。
ここで、ゲート108は遊技盤101の右側領域に配置されているため、主に右打ちによって遊技が進行される補助遊技状態(確変遊技状態または時短遊技状態)において遊技球が通過する。また、普通電動役物107(第2始動口106)は、遊技球がゲート108を通過して普通図柄に当選することによって開放するため、主に右打ちによって遊技が進行される補助遊技状態において遊技球が入賞する。なお、通常遊技状態において遊技球がゲートを通過したとしても、通常遊技状態では補助遊技状態に比べて普通図柄の当選確率を低下させたり普通電動役物107の開放時間を短縮化させたりしているため、事実上、第2始動口106への入賞はほとんど見込めない。
そのため、通常遊技状態においては左打ちによって、主に第1始動口105への入賞によって遊技が進行される。このような構成としていることから、本実施の形態では、第1始動口105への入賞によって遊技が進行される通常遊技状態において、主に第1大当たりまたは第2大当たりに当選する。また、第2始動口106への入賞によって遊技が進行される補助遊技状態においては、主に第3大当たりに当選する。
そのため、非報知演出は、主に第1始動口105への入賞によって遊技が進行される通常遊技状態における大当たりの当選時に実行されることとなる。また、主に第2始動口106への入賞によって遊技が進行される、確変遊技状態、時短遊技状態または潜確遊技状態、における大当たり判定では、ほとんどの場合第3大当たりに当選するため、すなわち、大当たり終了後の遊技状態がほとんどの場合確変遊技状態となるため、非報知演出は行われない。
非報知演出では、所定ラウンド(例えば第10ラウンド)となるまで、大当たり終了後に確変遊技状態となるか時短遊技状態となるかを秘匿した秘匿演出が行われる。そして、所定ラウンド以降の特定のラウンド(例えば第14ラウンド)までの5ラウンドの間に、大当たり終了後に確変遊技状態となるか時短遊技状態となるかを示唆する示唆演出が行われる。
示唆演出は、例えばバトル演出であり、バトルに勝利すると大当たり終了後に確変遊技状態となることを示唆し、バトルに敗北すると大当たり終了後に時短遊技状態となることを示唆する。第1大当たりに当選した際の示唆演出では、大当たり終了後に時短遊技状態となるため、バトルに敗北する。一方、第2大当たりに当選した際の示唆演出では、大当たり終了後に確変遊技状態となるため、バトルに勝利する。
なお、第2大当たりの場合に、バトルに敗北してその後に復活することにより、大当たり終了後に確変遊技状態に遷移することを示唆する復活演出を行ってもよい。また、示唆演出は、バトル演出に限らず、アイテムを獲得してゲージ表示したり、ボタン押下によってゲージ表示したりし、ゲージが示す量によって、大当たり終了後の遊技状態を示唆するようにしてもよい。
図3−1の(1)は、第1ラウンドにおけるメイン液晶104の表示画面を示している。第1ラウンドにおいて、メイン液晶104には、現在のラウンドである第1ラウンドと、示唆演出(バトル演出)開始までの残りのラウンド数の示唆(9ラウンドを示す「9」)と、が表示されている。バトル演出開始までの残りのラウンド数の示唆(=9)は、バトル演出が開始される第10ラウンドを示す値(=10)から、現在のラウンド(第1ラウンド)示す値(=1)を減算することによって得られる値である。
バトル演出開始までの残りのラウンド数の示唆は、直接的に示唆する表示(例えば「9R」)としてもよいが、本実施の形態では間接的に示唆する表示(例えば「R」を表示せずに「9」のみの表示)としている。これにより、現在のラウンド数と、バトル演出開始までの残りのラウンド数と、を遊技者が互いに取り違えて認識してしまうことを防止することができる。間接的に示唆する表示は、数字に限らず、例えば、所定のマーク(例えば「☆」)を、バトル演出開始までの残りのラウンド数に相当する個数分表示(例えば「☆」を9個表示)することにより、バトル演出開始までの残りのラウンド数を示唆してもよい。
また、メイン液晶104の隅には、大当たりに当選した際の装飾図柄Ezが表示されている。なお、大当たりに当選した際に、「3」、「7」以外の装飾図柄Ezが停止表示した場合には非報知演出が行われ、「3」、「7」の装飾図柄Ezが停止表示した場合には大当たり終了後に確変遊技状態となることを報知する確変報知演出が行われる。大当たり終了後の遊技状態が確変遊技状態とはならない第1大当たりに当選した場合には、「3」、「7」以外の装飾図柄Ezが停止表示する。大当たり終了後の遊技状態が確変遊技状態となる第2大当たりに当選した場合には、抽選により、「3」、「7」の装飾図柄Ezまたは「3」、「7」以外の装飾図柄Ezが停止表示する。大当たり終了後の遊技状態が確変遊技状態となる第3大当たりに当選した場合には、「3」、「7」の装飾図柄Ezが停止表示する。
図3−1の(2)は、第2ラウンドにおけるメイン液晶104の表示画面を示している。第2ラウンドになると、メイン液晶104には、第2ラウンドを示すラウンド数が表示されている。第2ラウンドを示すラウンド数は、第1ラウンドが終了して次のラウンドが開始したことにより、第1ラウンドを示す値(=1)に1ラウンド進んだことを示す値(=1)を加算することによって得られる値である。また、バトル演出開始までの残りのラウンド数の示唆は8ラウンドを示している。バトル演出開始までの残りのラウンド数の示唆(=8)は、バトル演出が開始される第10ラウンドを示す値(=10)から、現在のラウンドである第2ラウンドを示す値(=2)を減算することによって得られる値である。
第3ラウンドから第8ラウンドについても同様に、現在のラウンド数と、バトル演出開始までの残りのラウンド数の示唆とがメイン液晶104に表示される。そして、図3−1の(3)は、第9ラウンドにおけるメイン液晶104の表示画面を示している。第9ラウンドになると、メイン液晶104には、第9ラウンドを示すラウンド数が表示される。第9ラウンドを示すラウンド数は、1つ前のラウンドである第8ラウンドが終了して次のラウンドが開始したことにより、第8ラウンドを示す値(=8)に1ラウンド進んだことを示す値(=1)を加算することによって得られる値である。
また、バトル演出開始までの残りのラウンド数の示唆は1ラウンドを示している。バトル演出開始までの残りのラウンド数の示唆(=1)は、バトル演出が開始される第10ラウンドを示す値(=10)から、現在のラウンドである第9ラウンドを示す値(=9)を減算することによって得られる値である。
図3−1の(4)は、第10ラウンドにおけるメイン液晶104の表示画面を示している。第10ラウンドになると、メイン液晶104には、第10ラウンドを示すラウンド数が表示される。第10ラウンドを示すラウンド数は、1つ前のラウンドである第9ラウンドが終了して次のラウンドが開始したことにより、第9ラウンドを示す値(=9)に1ラウンド進んだことを示す値(=1)を加算することによって得られる値である。また、第10ラウンドでは、バトル演出が開始される。そのため、第10ラウンドでは、バトル演出開始までの残りのラウンド数の示唆の表示を終了する。
このように、本実施の形態では、大当たり中に、所定ラウンド(例えば第10ラウンド)までラウンド数を減算していくカウントダウン表示を行うことにより、遊技者が所定ラウンドまでの進捗度合いを把握することが可能な演出を行う。そのため、遊技者は、所定ラウンドまでの進捗度合いを把握することができる。これにより、遊技者は、所定ラウンドまでに要する時間や獲得出玉等を推測することができ、大当たり中の遊技の興趣を向上させることができる。また、所定ラウンドにおいて遊技者を期待させる特定の演出を行い、所定ラウンドまでカウントダウン表示を行うことにより、大当たり中の遊技の興趣を向上させることができる。
また、本実施の形態では、所定ラウンドにおいて大当たり後の遊技状態を示唆するバトル演出を行うため、バトル演出までのラウンド数を遊技者に通知することができる。これにより、複数のラウンドのうち、どのラウンドに注目すべきかを遊技者に示唆できる。また、所定ラウンドに至るまでに遊技者の期待感を高めさせ、所定ラウンドにおいて遊技者をより高揚させることができ、大当たり中の遊技の興趣を向上させることができる。
また、本実施の形態では、ラウンド数の加算表示と、バトル演出開始までの残りのラウンド数の示唆である示唆表示と、を同時に行うことができる。このため、現在のラウンド数および所定ラウンドまでのラウンド数を遊技者が把握することができる内容のラウンド数を通知することができる。このように、大当たり中の各ラウンドにおいて、大当たり中の適切な情報を遊技者に通知することができる。
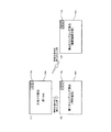
(連チャン時における大当たりのエンディング演出の一例)
次に、連チャン時における大当たりのエンディング演出の一例について説明する。図3−2は、連チャン時における大当たりのエンディング演出の一例を示す説明図である。図3−2において(1)は、第3大当たり(15R確変アタッカ長開放2)の大当たり遊技における最終ラウンドの演出を示している。連チャンとは、確変遊技状態、潜確遊技状態または時短遊技状態のいずれかの特定遊技状態において大当たり(第3大当たり)に当選することである。言い換えれば、連チャンとは、第3大当たりに当選する前の遊技状態が、確変遊技状態、潜確遊技状態または時短遊技状態のいずれかの特定遊技状態であった場合に、大当たりに当選することである。
(2)は、特定の条件を満たした場合に行われる第1のエンディング演出を示している。特定の条件を満たした場合とは、例えば、大当たりの実行中に記憶されている保留情報に大当たりとなる特別保留情報がある場合である。大当たりの実行中に記憶されている保留情報に特別保留情報がある場合とは、保留情報によって大当たり終了後に再び大当たりとなる、いわゆる「保留連」となることが判明している場合である。第1のエンディング演出は、特定遊技状態が開始されることを報知しない演出であり、例えば、特別保留情報が記憶されていることを示唆する特別演出である。
(3)は、特定の条件を満たさない場合に行われる第2のエンディング演出を示している。特定の条件を満たさない場合とは、例えば、保留連とはならないことが判明している場合である。第2のエンディング演出は、特定遊技状態が開始されることを報知する演出であり、例えば、大当たり終了後に確変遊技状態での遊技を継続することを示唆する演出である。
また、不図示であるが、通常遊技状態において(第1始動口105への入賞によって)当選可能な第1大当たり(15R確変アタッカ短開放)のエンディング演出は、大当たり終了後に時短遊技状態に遷移することを示唆する通常エンディング演出である。つまり、連チャンに突入しない、いわゆる単発の大当たり時には、上述した第1のエンディング演出や第2のエンディング演出とは異なる通常エンディング演出が行われる。
これにより、大当たり終了後に時短遊技状態となる場合と確変遊技状態となる場合とで、エンディング演出を異ならせることができ、大当たり終了後の遊技状態に応じたエンディング演出を行うことができる。
また、不図示であるが、第1始動口105への入賞によって(主に通常遊技状態において)当選可能な第2大当たり(15R確変アタッカ長開放1)のエンディング演出は、大当たり終了後に確変遊技状態に遷移することを示唆する確変突入エンディング演出である。つまり、連チャンに突入する初当たり時には、上述した第1のエンディング演出、第2のエンディング演出、および通常エンディング演出とは異なる、確変突入エンディング演出が行われる。
なお、確変突入エンディング演出と、第2大当たりのエンディング演出とを共通の演出としてもよい。例えば、第2のエンディング演出を、確変の継続と突入との両方を含む内容の演出として、大当たり終了後に確変遊技状態が開始されることを示す確変開始演出としてもよい。これにより、4種類のエンディング演出を用意せずに、第1のエンディング演出と、第2のエンディング演出と、通常エンディング演出と、の3つのエンディング演出を用意すれば済むことになる。
このように、本実施の形態では、通常遊技状態において当選した大当たりの種類に応じて、異なるエンディング演出(通常エンディング演出または確変突入エンディング演出)を行うことができる。これにより、エンディング演出において確変遊技状態に突入するのか否かを遊技者に通知することができ、エンディング演出を遊技者にとって有用な演出とすることができる。
また、本実施の形態では、大当たりを介して特定遊技状態が継続する連チャン時の大当たりにおいて、特定の条件を満たしたか否かによって異なるエンディング演出(第1のエンディング演出または第2のエンディング演出)を行うことができる。したがって、連チャン時におけるエンディング演出のマンネリ化を抑え、連チャン時におけるエンディング演出の興趣を向上させることができる。
(第1のエンディング演出の一例)
図3−3は、第1のエンディング演出の一例を示す説明図である。図3−3において(1)は、保留情報によって大当たり終了後に再び大当たりとなる、保留連となる特定の条件が成立した際に行われる第1のエンディング演出(特殊エンディング演出)を示している。図3−3の(1)には、保留表示330が表示されている。保留表示330は、現在記憶している4つの保留情報を示している。4つの保留情報は、左に表示されているものから順に消化(変動開始)され、消化の度に1つずつ左にシフトして表示される。事前判定により、保留表示されている4つの保留情報のうち、1つが大当たりとなる特別保留情報331であることが判明している。特別保留情報331は、大当たり終了後の2変動目に変動表示される。
(2)は、大当たりが終了した後の1変動目のハズレの変動表示中の演出を示している。(2)に示すように、メイン液晶104には、第1のエンディング演出が継続して表示されており、装飾図柄Ezが縮小表示された図柄小表示演出340による変動表示が行われる。また、メイン液晶104には、変動演出が開始されたにもかかわらず、第1のエンディング演出が継続して行われる。
第1のエンディング演出と第2のエンディング演出とは、演出の内容がそれぞれ異なる。なお、これに限らず、第1のエンディング演出と第2のエンディング演出とは、それぞれ演出の内容を同じにして継続させる期間を異ならせた演出としてもよい。具体的には、第2のエンディング演出と同じ内容の第1のエンディング演出を大当たり終了後の変動演出まで継続させる演出としてもよい。
(3)は、大当たりが終了した後の2変動目の特別保留情報331による変動表示中の演出を示している。(3)に示すように、メイン液晶104には、第1のエンディング演出が継続して表示されており、図柄小表示演出340によって装飾図柄Ezが変動表示されている。図柄小表示演出340に示す変動演出がリーチ状態となると、第1のエンディング演出は終了する。
(4)は、大当たり遊技が終了した後の2変動目におけるリーチ状態以降の変動表示中の演出を示している。(4)では、第1のエンディング演出は既に終了しており、また、図柄小表示演出340による変動表示も行われていない。(4)では、(3)までの特殊エンディング演出(第1のエンディング演出の継続)が終了し、装飾図柄Ezを通常の大きさとした、図柄通常表示演出341による変動表示が行われている。この後、この変動表示にて、装飾図柄Ezを「7,7,7」で停止表示させ、大当たりに移行する。
このように、本実施の形態では、保留連となる場合に、第1のエンディング演出を、大当たり後に行われる変動表示期間に継続させる特殊エンディング演出を行うようにした。したがって、大当たり演出と変動演出との間で演出を途切れないようにすることができ、保留連となる場合における演出上の見栄えをよくすることができる。また、エンディング遊技からリーチ演出に発展したように見せることができ、保留連となる場合における演出を盛り上げ、インパクトのある演出を行うことができる。
また、本実施の形態では、大当たり終了後の変動演出において、特殊エンディング演出と同一または類似の変動演出を行う構成とすることも可能である。このような構成であっても、大当たり演出と変動演出との間で演出を途切れないようにすることができ、保留連となる場合における演出上の見栄えをよくすることができる。また、エンディング遊技からリーチ演出に発展したように見せることができ、保留連となる場合における演出を盛り上げ、インパクトのある演出を行うことができる。
また、本実施の形態では、保留連となる場合のエンディング演出を、特別保留情報331に係る変動表示期間まで継続させるようにした。したがって、第1のエンディング演出を最大限延長して行うことができるため、特殊な演出が行われていることをアピールすることができる。
また、第1のエンディング演出と第2のエンディング演出とを異ならせる演出としたので、第1のエンディング演出が開始されることによって大当たりの確定を遊技者に示唆することができるため、第1のエンディング演出の開始時に遊技者を高揚させることができる。
(ぱちんこ遊技機の機能的構成)
次に、図4を用いて、ぱちんこ遊技機100の機能的構成について説明する。図4は、ぱちんこ遊技機の機能的構成を示すブロック図である。図4に示すように、ぱちんこ遊技機100は、特別遊技判定部401と、図柄表示部402と、特別遊技実行部403と、遊技制御部404と、事前判定部405と、保留記憶部406と、変動演出部411と、特別遊技演出部412と、を有する。
(ラウンド数表示演出を行う機能について)
まず、ラウンド数表示演出を行う機能について説明する。特別遊技判定部401は、始動条件の成立により、遊技者にとって有利な特別遊技を行うか否かの特別遊技判定を行う。始動条件の成立とは、第1始動口105または第2始動口106への遊技球の入賞である。始動条件の成立は、ゲート108への遊技球の通過とすることもできる。
特別遊技とは、大当たりである。特別遊技は、始動条件の成立をゲート108への遊技球の通過とした場合には普通図柄の当たりとすることもできる。本実施の形態では、大当たりは、第1大当たり(15R確変アタッカ短開放)と、第2大当たり(15R確変アタッカ長開放1)と、第3大当たり(15R確変アタッカ長開放2)と、がある。
図柄表示部402は、図柄を変動表示させ、特別遊技判定部401による判定結果を示す判定図柄を停止表示させる。図柄は、例えば特別図柄であるが、始動条件の成立をゲート108への遊技球の通過とした場合には普通図柄とすることもできる。図柄表示部402は、第1特別図柄表示部112aおよび第2特別図柄表示部112bに特別図柄を表示させる。
特別遊技実行部403は、図柄表示部402によって特別遊技を示す判定図柄が停止表示された場合、判定図柄に応じたラウンド数分、可変入賞装置を開放させるラウンド遊技を含む特別遊技を実行する。可変入賞装置は、通常アタッカ109aや確変アタッカ109bの大入賞口である。始動条件の成立をゲート108への遊技球の通過とした場合には、可変入賞装置を普通電動役物107とすることもできる。
特別遊技演出部412は、特別遊技実行部403によってラウンド遊技が行われる際にラウンド演出を実行する。特別遊技演出部412は、特別遊技実行部403によって各ラウンド遊技が行われる際に、所定ラウンド(第10ラウンド)までの残りラウンドを示唆する示唆表示を行い、ラウンドの進行に伴って前記示唆表示を減算表示させるラウンド演出を実行する。
減算表示とは、例えばラウンドが進行する度に「1」減算することを示す表示であり、ラウンドが進行する度に1ずつ示唆表示が減少するように遷移させることである。なお、1ラウンド進行する度に「1」減算する示唆表示に限らず、進行したラウンド数と減算する値とが同じであればよく、例えば2ラウンド進行する度に「2」減算する示唆表示としてもよい。
また、遊技制御部404は、遊技者にとって不利な遊技状態である非特定遊技状態、または、遊技者にとって有利な遊技状態である特定遊技状態、のいずれか一方の遊技状態で遊技を制御する。非特定遊技状態は、具体的には、通常遊技状態(低確率非時短遊技状態)である。特定遊技状態は、例えば高確率遊技状態(確変遊技状態や潜確遊技状態)であるが、時短遊技状態を含めてもよい。
遊技制御部404は、図柄表示部402によって停止表示された特別遊技を示す判定図柄に基づいて、特別遊技実行部403によって特別遊技が実行された後に特定遊技状態または非特定遊技状態で遊技を制御可能にする。
特別遊技演出部412は、所定ラウンド(第10ラウンド)のラウンド遊技において、特別遊技の実行後に特定遊技状態または非特定遊技状態のうちのどちらの遊技状態で遊技が制御可能にされるかを示唆する示唆演出(バトル演出)を行い、所定ラウンドまでのラウンドを示唆するラウンド演出を実行する。
特別遊技演出部412は、ラウンド演出において、示唆表示とともに、実行されている各ラウンド遊技のラウンド数を示す加算表示を行う。つまり、加算表示により現在のラウンドを示唆しつつ、示唆表示により所定ラウンドまでのラウンド数を示唆する。
(連チャン時において異なるエンディング演出を行う機能について)
次に、連チャン時において異なるエンディング演出を行う機能について説明する。特別遊技である大当たりは、可変入賞装置を開放させるラウンド遊技と、ラウンド遊技が終了した後のエンディング遊技と、を含む。特別遊技演出部412は、特別遊技実行部403によって、ラウンド遊技が行われる際にラウンド演出を行うとともに、エンディング遊技が行われる際にエンディング演出を行う。
遊技制御部404は、図柄表示部402によって停止表示された特別遊技を示す判定図柄に基づいて、特定遊技状態の実施条件が成立した場合には特別遊技実行部403によって特別遊技が実行された後に特定遊技状態で遊技を制御可能にする。
ここで、特定遊技状態の実施条件の成立について説明する。本実施の形態では、大当たり遊技の最終ラウンドにおいて確変アタッカ109bを長開放させて、遊技球が確変アタッカ109bに入賞することにより、確変アタッカSW224bがONになると、大当たり遊技後に特定遊技状態である高確率遊技状態で遊技が制御される。つまり、特定遊技状態の実施条件の成立とは、確変アタッカSW224bがONになることである。仮に、確変アタッカ109bの長開放時に、遊技球が確変アタッカ109bに入賞せずに確変アタッカSW224bがONにならなかった場合には、大当たり遊技後に高確率遊技状態で遊技が制御されない。
上述した特定遊技状態で遊技を制御可能にするとは、確変アタッカ109bを長開放させる判定図柄である場合に、大当たり遊技後に特定遊技状態で遊技を制御することが可能ということであり、具体的には、確変アタッカ109bを長開放させる判定図柄であり且つ確変アタッカ109bへ遊技球が入賞した場合に、大当たり遊技後に特定遊技状態で遊技を制御することが可能ということである。言い換えれば、確変アタッカ109bを短開放させる判定図柄である場合や、確変アタッカ109bを長開放させたとしても確変アタッカ109bへ入賞しなかった場合には、大当たり遊技後に特定遊技状態で遊技を制御しない場合があるということである。
特別遊技演出部412は、特別遊技の実行後に遊技制御部404によって特定遊技状態で遊技が制御可能な状態におけるエンディング遊技において、特定の条件が成立した場合にはエンディング遊技において第1のエンディング演出を行い、特定の条件が成立しない場合にはエンディング遊技において第1のエンディング演出とは異なる第2のエンディング演出を行う。
特定の条件は、例えば特別遊技の実行中に記憶されている保留情報に特別遊技となる保留情報が記憶されている保留連となる場合である。特定の条件は、保留連に限らず、特定の大当たり図柄が停止表示された場合や、連チャン数が所定回数に達した場合など、他の条件とすることもできる。
第1のエンディング演出は、特定の条件が成立したことを示唆する演出であり、例えば特別遊技となる保留情報が記憶されていることを示唆する演出である。第2のエンディング演出は、例えば遊技制御部404による特定遊技状態での遊技の制御が継続されることを示唆する演出である。第2のエンディング演出は、第1のエンディング演出と演出内容および実行時間が異なるが、第1のエンディング演出と演出内容または実行時間のいずれか一方が異なっていればよい。
(保留連となる場合におけるエンディング演出を行う機能について)
次に、保留連となる場合におけるエンディング演出(第1のエンディング演出)を行う機能について説明する。変動演出部411は、図柄表示部402によって図柄が変動表示および停止表示される際に演出を行う。変動演出部411による演出は、具体的には、装飾図柄を用いた変動演出である。
特別遊技演出部412は、特別遊技実行部403によって、ラウンド遊技が行われる際にラウンド演出を行うとともに、エンディング遊技が行われる際にエンディング演出を行う。特別遊技判定部401は、特別遊技実行部403によってエンディング遊技が実行された後に、特別遊技判定を実行可能である。
図柄表示部402は、特別遊技実行部403によってエンディング遊技が実行された後に、特別遊技判定部401によって特別遊技判定が行われることにより図柄の変動表示を行う。具体的には、図柄表示部402は、大当たり終了後に始動条件が成立すると、特別図柄の変動を再開する。
変動演出部411は、上述した特定の条件が成立すると、特別遊技実行部403によってエンディング遊技が行われた際に開始したエンディング演出(第1のエンディング演出)と同一または類似した特定演出を、エンディング遊技実行後の特別遊技判定部401による特別遊技判定に係る図柄の変動表示期間に継続して行う。以下において、特定演出を特殊エンディング演出という。類似とは、例えば、エンディング演出が継続しているものと遊技者が認識できる程度に似ていることである。
本実施の形態において、変動演出部411は、保留連となる場合に特殊エンディング演出を行う。なお、保留連の発生を特定の条件の成立とはせずに、例えば連チャン数が所定回数に達した場合など他の条件を特定の条件の成立とした場合には、変動演出部411は、記憶されている保留情報の有無や内容に関係なく、特殊エンディング演出を行うことができる。例えば、変動演出部411は、大当たり終了後、所定変動回数が経過するまでの間、特殊エンディング演出を行ってもよい。
ここで、保留連となるか否かを判定する際の具体的な機能について説明する。事前判定部405は、所定の始動領域を遊技球が通過することによって取得した判定情報を用いて、特別遊技判定部401よりも前に特別遊技判定を行う。所定の始動領域とは、第1始動口105または第2始動口106である。判定情報は、具体的には、大当たり乱数などの各種乱数である。事前判定部405が特別遊技判定を行うタイミングは、例えば始動入賞したタイミングである。
保留記憶部406は、事前判定部405による判定結果を示す保留情報を記憶する。保留情報には、大当たりであるか否かの判定結果が含まれる。変動演出部411は、特定の条件の成立として保留記憶部406に特別遊技を示す特別保留情報331(図3−3参照)が記憶されている場合に(保留連となる場合に)、第1のエンディング演出を、図柄表示手段による図柄の変動表示期間に継続させて行う。
例えば、変動演出部411は、大当たり終了後の次変動において再び大当たりとなる場合にのみ、次変動まで継続する特殊エンディング演出を行ってもよい。具体的には、変動演出部411は、大当たり終了後の1変動目に変動表示される特別保留情報331が保留記憶部406に記憶されている場合に、特別保留情報331に係る図柄の変動表示期間まで継続する特殊エンディング演出を行う。
このように、特殊エンディング演出を大当たりの次変動まで延長することにより、特殊エンディング演出から最も早く大当たりに至る演出に移行させることができるため、エンディング遊技から大当たりに発展したように見せる効果を向上させることができる。
また、本実施の形態において、変動演出部411は、保留連となる場合において、ハズレとなる保留情報を含む複数のハズレ保留が記憶されている場合に、特別保留情報331まで継続する特殊エンディング演出を行う。具体的には、変動演出部411は、事前判定部405に特別保留情報331と当該特別保留情報331よりも先に変動表示が行われる通常保留情報との複数の保留情報が記憶されている場合に、通常保留情報による図柄の変動表示および特別保留情報331による図柄の変動表示中まで継続する特殊エンディング演出を行う。
また、特別保留情報331よりも先に変動表示が行われる通常保留情報が例えばリーチハズレとなる特定の保留情報である場合には、特殊エンディング演出が長時間化してしまうため、変動演出部411は、このような場合に特殊エンディング演出を行わないようにしてもよい。
また、変動演出部411は、図柄の変動表示中にエンディング演出を継続して実行する場合、すなわち、特殊エンディング演出を行う場合、通常の表示領域よりも小さい表示領域にて変動演出を実行する。具体的には、変動演出部411は、図柄小表示演出340(図3−3参照)にて変動演出を実行する。
また、変動演出部411は、最も頻出する通常変動演出、または、通常変動演出を行った後に演出を発展させる特別変動演出を行う。通常変動演出は、リーチ演出発展前までの演出であり、例えば通常ハズレ変動である。特別変動演出は、リーチ演出である。
また、変動演出部411は、特別保留情報331による図柄の変動表示における通常変動演出が終了するまで、エンディング演出(第1のエンディング演出)を継続する特殊エンディング演出を実行する。つまり、リーチ演出に発展する前まで、通常変動演出としての図柄小表示演出340と特殊エンディング演出とを実行し、リーチ演出に発展すると、図柄通常表示演出341(図3−3参照)にて変動演出を実行する。
このように、リーチ演出のタイミングになると、特殊エンディング演出を終了させてリーチ演出を行うことにより、大当たりに至るまでの演出を盛り上げることができる。なお、リーチ演出のタイミングになると、特殊エンディング演出を終了させなくてもよく、例えば、リーチ演出のタイミングになっても図柄小表示演出340による変動表示を継続させて、大当たりに至るまで特殊エンディング演出を行ってもよい。このようにすると、特殊エンディング演出から突然大当たりに至ったかのように見せることができ、遊技者を驚かせることができる。
また、変動演出部411は、特定の条件の成立として、特別遊技実行部403によって特別遊技が実行される前の遊技状態が遊技者に有利な特定遊技状態であり且つ保留記憶部406に特別保留情報331が記憶されている場合に、第1エンディング演出を、図柄表示部402による図柄の変動表示期間に継続させる特殊エンディング演出を行う。
つまり、大当たりを介在して確変遊技状態が継続する連チャン中における保留連時に、特殊エンディング演出を行うことができ、遊技者をより高揚させることができる。また、変動演出部411は、特定の条件の成立として、大当たり終了後の遊技状態が確変遊技状態であり且つ保留記憶部406に特別保留情報331が記憶されている場合に、特殊エンディング演出を行ってもよい。
上述した、特別遊技判定部401と、図柄表示部402と、特別遊技実行部403と、遊技制御部404と、事前判定部405とは、主制御部201のCPU211によって実現される。すなわち、CPU211がROM212に記憶されている各種プログラムを実行することにより、各部の機能を実現する。また、保留記憶部406は、主制御部201のRAM213によって実現される。
また、変動演出部411と、特別遊技演出部412とは、演出統括部202aのCPU241によって実現される。すなわち、CPU241がROM242に記憶されている各種プログラムを実行することにより、各部の機能を実現する。
(ぱちんこ遊技機が行う基本処理)
次に、ぱちんこ遊技機100が上述した動作を実現するために行う基本処理の内容について説明する。
(1.主制御部が行う基本処理)
まず、ぱちんこ遊技機100の主制御部201が行う基本処理について説明する。なお、以下に説明する主制御部201の各処理は、主制御部201のCPU211がROM212に記憶されたプログラムを実行することにより行う。
(タイマ割込処理)
まず、図5を用いて主制御部201が行うタイマ割込処理について説明する。図5は、主制御部が行うタイマ割込処理を示すフローチャートである。主制御部201は、電源の供給が開始されると、起動処理や電源遮断監視処理などを含んだメイン制御処理(不図示)の実行を開始する。主制御部201は、電源が供給されている間、このメイン制御処理を継続的に実行している。主制御部201は、このメイン制御処理に対して、タイマ割込処理を所定周期(例えば4ms)で割り込み実行する。
図5に示すタイマ割込処理において、主制御部201は、主制御部201が行う各種判定に用いる乱数の更新を行う乱数更新処理を実行する(ステップS501)。次に、主制御部201は、この乱数更新処理において、当たり乱数、図柄乱数、変動パターン乱数、などの更新を行う。
そして、主制御部201は、各種スイッチにより検出を行うスイッチ処理を実行する(ステップS502)。このスイッチ処理において、主制御部201は、始動口(第1始動口105、第2始動口106)への遊技球の入賞を検出する始動口スイッチ処理(図6−1参照)、ゲート108への遊技球の通過を検出するゲートスイッチ処理(不図示)を行う。
また、この他にも、スイッチ処理には、通常アタッカ109aへの遊技球の入賞を検出する通常アタッカスイッチ処理(不図示)または確変アタッカ109bへの遊技球の入賞を検出する確変アタッカスイッチ処理(図18参照)、普通入賞口110への遊技球の入賞を検出する普通入賞口スイッチ処理(不図示)などがある。主制御部201は、スイッチ処理において、各種スイッチによる検出結果を示すコマンドを演出統括部202aへ出力するためにRAM213に設定する。
次に、主制御部201は、特別図柄および普通図柄に関する図柄処理を実行する(ステップS503)。図柄処理には、特別図柄に関する特別図柄処理(図7参照)や、普通図柄に関する普通図柄処理(不図示)がある。主制御部201は、図柄処理において、各種判定結果を示すコマンドを演出統括部202aへ出力するためにRAM213に設定する。
次に、主制御部201は、各種電動役物の動作制御に関する電動役物制御処理を実行する(ステップS504)。電動役物制御処理には、普通電動役物107の動作を制御する不図示の普通電動役物制御処理(不図示)や、通常アタッカ109aまたは確変アタッカ109bの動作を制御する大入賞口処理(図14参照)などがある。主制御部201は、電動役物制御処理において、動作対象となる電動役物の動作タイミングを示すコマンドを演出統括部202aへ出力するためにRAM213に設定する。
そして、主制御部201は、賞球に関する賞球処理を実行する(ステップS505)。賞球処理において、主制御部201は、第1始動口105、第2始動口106、通常アタッカ109a、確変アタッカ109b、普通入賞口110、などへの遊技球の入賞により、所定個数の賞球の払い出しを指示するための賞球コマンドを賞球制御部203へ出力するためにRAM213に設定する。
そして、主制御部201は、ステップS501〜S505の各処理によりRAM213に設定されたコマンドを演出統括部202aなどに対して出力する出力処理を実行し(ステップS506)、タイマ割込処理を終了する。タイマ割込処理を終了すると、主制御部201はメイン処理へ戻る。
(始動口スイッチ処理)
次に、図6−1を用いて、スイッチ処理(図5のステップS502参照)に含まれる始動口スイッチ処理の処理内容について説明する。図6−1は、主制御部が行う始動口スイッチ処理を示すフローチャートである。始動口スイッチ処理において、主制御部201は、第1始動口SW221がONであるか否かを判定する(ステップS601)。第1始動口SW221がOFFである場合(ステップS601:No)、主制御部201は、ステップS607へ移行する。
第1始動口SW221がONである場合(ステップS601:Yes)、主制御部201は、第1始動口105に入賞した遊技球の保留数を示す第1保留数U1が4未満であるか(U1<4)否かを判定する(ステップS602)。第1保留数U1が4未満ではない場合(ステップS602:No)、すなわち、第1保留数U1が4以上である場合、主制御部201は、ステップS607へ移行する。
第1保留数U1が4未満である場合(ステップS602:Yes)、主制御部201は、第1保留数U1に「1」加算したものを新たな第1保留数U1とし(ステップS603)、各乱数カウンタのカウント値を含む保留情報を取得して、RAM213の保留情報記憶領域に記憶する(ステップS604)。
次に、主制御部201は、記憶した保留情報に基づき、大当たり判定や変動パターン判定を事前に行う事前判定処理(図6−2参照)を実行する(ステップS605)。そして、主制御部201は、事前判定結果を含む保留コマンドをRAM213に設定する(ステップS606)。次に、主制御部201は、第2始動口SW222がONであるか否かを判定する(ステップS607)。第2始動口SW222がOFFである場合(ステップS607:No)、主制御部201は、そのまま始動口スイッチ処理を終了する。
第2始動口SW222がONである場合(ステップS607:Yes)、主制御部201は、第2始動口106に入賞した遊技球の保留数を示す第2保留数U2が4未満であるか(U2<4)否かを判定する(ステップS608)。第2保留数U2が4未満ではない場合(ステップS608:No)、すなわち、第2保留数U2が4以上である場合、主制御部201は、そのまま始動口スイッチ処理を終了する。
第2保留数U2が4未満である場合(ステップS608:Yes)、主制御部201は、第2保留数U2に「1」加算したものを新たな第2保留数U2とし(ステップS609)、各乱数カウンタのカウント値を含む保留情報を取得して、RAM213の保留情報記憶領域に記憶する(ステップS610)。
なお、主制御部201は、第2始動口106への入賞を契機に取得された保留情報については、第1始動口105への入賞を契機に取得された保留情報よりも優先順位が高くなるように記憶させる。次に、主制御部201は、記憶した保留情報に基づき、大当たり判定や変動パターン判定を事前に行う事前判定処理(図6−2参照)を実行するとともに(ステップS611)、事前判定結果を含む保留コマンドをRAM213に設定し(ステップS612)、始動口スイッチ処理を終了する。
(事前判定処理)
図6−2は、事前判定処理の処理内容を示すフローチャートである。事前判定処理において、主制御部201は、現在の遊技状態が高確率遊技状態であることを示す高確率遊技フラグがONであるか否かを判定する(ステップS621)。高確率遊技フラグは、図20を用いて後述する遊技状態設定処理においてONに設定されるフラグである。
高確率遊技フラグがONである場合(ステップS621:Yes)、つまり、現在の遊技状態が高確率遊技状態である場合、主制御部201は、高確率当たり判定テーブルAt2(図9−2参照)を選択する(ステップS622)。高確率遊技フラグがOFFである場合(ステップS621:No)、つまり、低確率遊技状態である場合、主制御部201は、低確率当たり判定テーブルAt1(図9−1参照)を選択する(ステップS623)。
次に、主制御部201は、ステップS622またはステップS623で選択した当たり判定テーブルを用いて、事前判定の対象となる保留情報の当たり乱数が大当たりに対応する判定値と一致するか否かを判定する、当たり判定を行う(ステップS624)。
そして、ステップS624の当たり判定の結果が大当たりであるか否かを判定する(ステップS625)。大当たりである場合(ステップS625:Yes)、遊技球が入賞した始動口105,106に応じて、図柄判定テーブルZt1または図柄判定テーブルZt2(図10−1、図10−2参照)を用いて、当たり図柄判定を行う(ステップS626)。当たり図柄判定では、図柄判定テーブルZt1または図柄判定テーブルZt2を用いて、事前判定対象となる保留情報の図柄乱数がどの大当たり図柄の判定値に対応するかを判定する。
そして、大当たり用変動パターン判定テーブルHt2(図12−2参照)を選択する(ステップS627)。ステップS625において、大当たりではない場合(ステップS625:No)、ハズレ用変動パターン判定テーブルHt1(図12−1参照)を選択する(ステップS628)。
そして、主制御部201は、ステップS627またはステップS628において選択した変動パターン判定テーブルを用いて、事前判定対象となる保留情報の変動パターン乱数がどの変動パターンの判定値に対応するかを判定する、変動パターン判定を行う(ステップS629)。
そして、ぱちんこ遊技機100は、ステップS624の当たり判定結果や、ステップS629の変動パターン判定結果などを含む事前判定結果(事前判定情報)をRAM213の事前判定情報記憶領域に設定し(ステップS630)、事前判定処理を終了する。事前判定情報記憶領域の一例については、図6−3を用いて後述する。ステップS630で設定された事前判定結果は、図5のステップS506に示した出力処理の実行時に、事前判定コマンドによって、演出制御部202に対して出力される。
(事前判定情報記憶領域の一例)
図6−3は、事前判定情報記憶領域の一例を示す説明図である。図6−3において、事前判定情報記憶領域600には、各保留情報格納領域H1〜H8に記憶された保留情報毎の、当たり判定、図柄判定および変動パターン判定の判定結果が記憶される。
なお、事前判定情報記憶領域600には、当たり判定の判定結果および図柄判定の判定結果の双方を含む情報を記憶させてもよい。具体的には、例えば、第1大当たりでは「A」という図柄を示す情報を記憶し、第2大当たりでは「B」という図柄を示す情報を記憶し、第3大当たりでは「C」という図柄を示す情報を記憶し、ハズレでは「−」という図柄を示す情報を記憶してもよい。
(特別図柄処理)
次に、図7を用いて、図柄処理(図5のステップS503参照)に含まれる特別図柄処理の処理内容について説明する。図7は、主制御部が行う特別図柄処理を示すフローチャートである。図7に示す特別図柄処理において、主制御部201は、大当たり遊技フラグがONであるか否かを判定する(ステップS701)。大当たり遊技フラグは、現在の遊技状態が大当たり遊技状態であることを示すフラグである(図13−2のステップS1311参照)。
大当たり遊技フラグがONである場合(ステップS701:Yes)、主制御部201は、特別図柄を変動表示させずに、そのまま特別図柄処理を終了する。大当たり遊技フラグがOFFである場合(ステップS701:No)、主制御部201は、特別図柄が変動表示中であるか否かを判定する(ステップS702)。特別図柄が変動表示中である場合(ステップS702:Yes)、主制御部201は、ステップS711へ移行する。
特別図柄が変動表示中ではない場合(ステップS702:No)、主制御部201は、第2始動口106への入賞による第2保留数U2が「1」以上であるか否かを判定する(ステップS703)。第2保留数U2が「0」の場合(ステップS703:No)、主制御部201は、第1始動口105への入賞による第1保留数U1が「1」以上であるか否かを判定する(ステップS704)。
第1保留数U1が「0」の場合(ステップS704:No)、主制御部201は、特別図柄処理を終了する。第1保留数U1が「1」以上である場合(ステップS704:Yes)、主制御部201は、第1保留数U1を「1」減算した値を新たな第1保留数U1として(ステップS705)、ステップS707へ移行する。
ステップS703において、第2保留数U2が「1」以上である場合(ステップS703:Yes)、主制御部201は、第2保留数U2を「1」減算した値を新たな第2保留数U2とし(ステップS706)、ステップS707へ移行する。
ステップS703〜ステップS706に示したように、第1始動口105への入賞による保留情報よりも、第2始動口106への入賞による保留情報による変動表示を優先させる、いわゆる優先消化が行われる。これは、第1始動口105に入賞した保留情報に対する大当たり判定よりも、第2始動口106に入賞した保留情報に対する大当たり判定の方が、遊技者にとって有利な大当たりに当選しやすくしているためである(図10−1、図10−2参照)。
次に、主制御部201は、大当たりであるか否かの判定や大当たりの場合における大当たり図柄判定を含む大当たり判定処理(図8参照)を実行する(ステップS707)。さらに、主制御部201は、大当たり判定処理の判定結果を参照し、特別図柄の変動パターンの判定を行う変動パターン判定処理(図11参照)を実行する(ステップS708)。大当たり判定処理および変動パターン判定処理における各判定結果は、各処理においてRAM213の判定結果記憶領域に記憶される。
次に、主制御部201は、判定された変動パターンに基づき、第1特別図柄表示部112aまたは第2特別図柄表示部112bの特別図柄の変動表示を開始する(ステップS709)。ステップS709において、主制御部201は、第2始動口106への入賞による大当たり判定の判定結果を示す特別図柄を変動表示させる場合は、第2特別図柄表示部112bの第2特別図柄を変動表示させる。また、ステップS709において、主制御部201は、第1始動口105への入賞による大当たり判定の判定結果を示す特別図柄を変動表示させる場合は、第1特別図柄表示部112aの第1特別図柄を変動表示させる。
次に、特別図柄の変動表示を開始させるために、主制御部201は、変動開始コマンドをRAM213に設定する(ステップS710)。ステップS710で設定される変動開始コマンドには、ステップS707の大当たり判定処理の判定結果やステップS708の変動パターン判定処理によって選択された変動パターンを示す情報などが含まれる。また、ステップS710で設定された変動開始コマンドは、図5のステップS506に示した出力処理の実行時に、演出制御部202に対して出力される。
次に、主制御部201は、特別図柄の変動表示の開始から所定の変動時間(変動表示開始直前に選択した変動パターンが示す変動時間)が経過したか否かを判定する(ステップS711)。所定の変動時間が経過していない場合(ステップS711:No)、そのまま特別図柄処理を終了する。
所定の変動時間が経過した場合(ステップS711:Yes)、主制御部201は、第1特別図柄表示部112aまたは第2特別図柄表示部112bにおいて変動表示中の特別図柄を停止させ(ステップS712)、変動停止コマンドをRAM213に設定する(ステップS713)。ステップS713で設定された変動停止コマンドは、図5のステップS506に示した出力処理の実行時に、演出制御部202に対して出力される。次に、主制御部201は、停止中処理(図13−1および図13−2参照)を実行して(ステップS714)、特別図柄処理を終了する。
(大当たり判定処理)
次に、図8を用いて、図7のステップS707に示した大当たり判定処理の処理内容について説明する。図8は、主制御部が行う大当たり判定処理を示すフローチャートである。大当たり判定処理において、主制御部201は、まず、現在の遊技状態が高確率遊技状態(確変遊技状態または潜確遊技状態)であることを示す高確率遊技フラグがONであるか否かを判定する(ステップS801)。
高確率遊技フラグがONである場合(ステップS801:Yes)、主制御部201は、高確率用の当たり判定テーブルである、高確率当たり判定テーブルを選択する(ステップS802)。高確率遊技フラグがOFFである場合(ステップS801:No)、つまり、現在の遊技状態が低確率遊技状態(時短遊技状態または通常遊技状態)である場合、主制御部201は、低確率用の当たり判定テーブルである、低確率当たり判定テーブルを選択する(ステップS803)。
そして、主制御部201は、ステップS802またはステップS803において選択した当たり判定テーブルを用いて、当たり判定の対象となる保留情報(優先順位の最も高く設定された保留情報)の当たり乱数が各当たりに対応する判定値と一致するかを判定する、当たり判定を行う(ステップS804)。
そして、主制御部201は、当たり判定の結果をRAM213の判定結果記憶領域に設定する(ステップS805)。当たり判定の結果が大当たりである場合(ステップS806:Yes)、主制御部201は、入賞した始動口に応じた図柄判定テーブルを用いて、保留情報の図柄乱数がどの種類の大当たり(7R確変大当たり、7R通常大当たり、など)の判定値に対応するのかを判定する、図柄判定を行う(ステップS807)。
図柄判定では、第1始動口105への入賞球に対しては第1図柄判定テーブルが用いられ、第2始動口106への入賞球に対しては第2図柄判定テーブルが用いられる。そして、主制御部201は、図柄判定の判定結果を表す大当たり図柄をRAM213の判定結果記憶領域に設定して(ステップS808)、大当たり判定処理を終了する。
一方、ステップS806において、当たり判定の判定結果が大当たりでない場合(ステップS806:No)、主制御部201は、ハズレを示す図柄をRAM213の判定結果記憶領域に設定して(ステップS809)、大当たり判定処理を終了する。
(当たり判定テーブルの一例)
ここで、図9−1および図9−2を用いて、ROM212に記憶されている当たり判定テーブルの一例について説明する。図9−1は、低確率遊技状態において用いられる当たり判定テーブルの一例を示す説明図である。図9−2は、高確率遊技状態において用いられる当たり判定テーブルの一例を示す説明図である。
低確率当たり判定テーブルAt1および高確率当たり判定テーブルAt2は、大当たりに対して、所定の判定値が対応付けられている。当たり判定において、大当たりに対する当選確率は、それぞれに対応付けられた判定値の個数によって定められる。例えば、低確率当たり判定テーブルAt1では大当たりに対して判定値「7(1個)」を割り当てている。また、高確率当たり判定テーブルAt2では大当たりに対して判定値「0〜7(8個)」を割り当てている。
当たり判定時に、高確率遊技状態であることを示す高確率遊技フラグがOFFに設定されている場合(低確率遊技状態である場合)には、低確率当たり判定テーブルAt1が用いられる。一方、当たり判定時に高確率遊技フラグがONに設定されている場合(高確率遊技状態である場合)には、高確率当たり判定テーブルAt2が用いられる。ぱちんこ遊技機100は、始動入賞時に取得した当たり乱数が判定値と一致した場合には大当たりに当選したと判定し、また、当たり判定乱数が判定値に一致しない場合にはハズレであると判定する。
始動入賞時に取得される当たり乱数のとり得る範囲は「0〜399」までのいずれかの数値となっている。このため、低確率当たり判定テーブルAt1を用いて当たり判定を行った場合の当選確率(大当たり確率)は、1/400となる。一方、高確率当たり判定テーブルAt2を用いて当たり判定を行った場合の当選確率(大当たり確率)は、1/50(8/400)となる。
このように、高確率遊技フラグがONに設定されているときは、高確率遊技フラグがOFFに設定されているときに比べて、大当たりに当選しやすくなっている。なお、本実施の形態においては、当たり乱数のとり得る範囲は、説明の便宜上、「0〜399」としたが、実際には、例えば0〜数万の範囲をとる。また、大当たりを示す判定値についても、当たり乱数のとり得る範囲に応じた値をとるようにし、例えば、低確率時の大当たり確率が1/400となるようにし、また、高確率時の大当たり確率が1/50となるようにする。
(図柄判定テーブルの一例)
次に、図10−1および図10−2を用いて、ROM212に記憶されている図柄判定テーブルについて説明する。図10−1は、第1始動口への入賞球に対して用いられる図柄判定テーブルの一例を示す説明図である。図10−2は、第2始動口への入賞球に対して用いられる図柄判定テーブルの一例を示す説明図である。
図10−1および図10−2に示すように、第1図柄判定テーブルZt1および第2図柄判定テーブルZt2は、各大当たり図柄に対して、所定の判定値が対応付けられている。第1図柄判定テーブルZt1は、第1始動口105へ入賞した遊技球の図柄判定に用いられる。一方、第2図柄判定テーブルZt2は、第2始動口106へ入賞した遊技球の図柄判定に用いられる。
第1図柄判定テーブルZt1および第2図柄判定テーブルZt2に示す「大当たり図柄」は、停止させる特別図柄の種類(大当たりの種類)を示す。第1図柄判定テーブルZt1および第2図柄判定テーブルZt2においては、説明の便宜上、「大当たりの種類(確変アタッカ)」を記載している。「大当たりの種類」は、大当たり図柄が示す大当たりの内容であり、通常アタッカ109aまたは確変アタッカ109bを開放させるラウンド数と、確変アタッカ109bの開放態様(長開放または短開放)とを示す。
具体的には、ラウンド数は全て15ラウンドを示しており、第1〜14ラウンドまでは通常アタッカ109aが長開放し、第15ラウンドでは大当たり図柄に応じて確変アタッカ109bが長開放したり短開放したりする。確変アタッカ109bが長開放の場合、遊技球が確変アタッカ109bに入賞することにより、確変アタッカSW224bがONになり、大当たり遊技後の遊技状態が確変遊技状態(高確率補助遊技状態)となる。一方、確変アタッカ109bが短開放の場合、遊技球が確変アタッカ109bに入賞することがないため、確変アタッカSW224bがONになることなく、大当たり遊技後の遊技状態が時短遊技状態(低確率補助遊技状態)となる。
「時短回数」は、補助遊技が付加される変動回数を示している。いずれの大当たり図柄であっても、時短回数は100回になっている。各大当たりの種類の当選確率は、それぞれに対応付けられた判定値の個数によって定められる。
具体的に説明すると、例えば、第1大当たり(=15R(短))では、第14ラウンドまで通常アタッカ109aを、1ラウンドの開放期間を規定個数(例えば10球)入賞するまでまたは開放期間(例えば29.5秒)経過するまで開放させる。そして、第15ラウンドでは確変アタッカ109bを、規定個数(例えば10球)入賞するまでまたは開放期間(例えば0.1秒)経過するまで開放させる。第1大当たりでは、確変アタッカ109bへ遊技球が入賞しないため、大当たり遊技後には時短遊技状態が設定される。
第2大当たり(=15R(長))および第3大当たり(=15R(長))では、第14ラウンドまで通常アタッカ109aを、1ラウンドの開放期間を規定個数(例えば10球)入賞するまでまたは開放期間(例えば29.5秒)経過するまで開放させる。そして、第15ラウンドでは確変アタッカ109bを、規定個数(例えば10球)入賞するまでまたは開放期間(例えば29.5秒)経過するまで開放させる。第2大当たりまたは第3大当たりの大当たりでは、確変アタッカ109bへ遊技球が入賞することにより、大当たり遊技後には確変遊技状態が設定される。
本実施の形態において、全ての大当たりが、大当たり遊技後に確変遊技状態で遊技を制御することが可能であり、すなわち、100%の確率で確変遊技状態に移行可能であるが、確変アタッカ109bに入賞しない第1大当たり(時短遊技状態に移行させる大当たり)をとり得ることにより、実質的な確変突入率を100%よりも低く(例えば50%)にしている。
なお、第2大当たりと、第3大当たりとでは、大当たり中に行われる演出が異なる。具体的には、第2大当たりでは、大当たり終了後に確変遊技状態となるか時短遊技状態となるかを秘匿した非報知演出が行われる。第3大当たりでは、大当たり終了後に確変遊技状態となることを報知する確変報知演出が行われる。
図10−1に示す第1図柄判定テーブルZt1では、「0〜99」の範囲のうち、第1大当たりに対して判定値「0〜49(50個)」が割り当てられている。すなわち、大当たりのうち、第1大当たりとなる割合は、50%(=50/100)になっている。
また、第1図柄判定テーブルZt1では、第2大当たりに対して判定値「50〜74(25個)」が割り当てられている。すなわち、大当たりのうち、第2大当たりとなる割合は、25%(=25/100)になっている。同様に、大当たりのうち、第3大当たりとなる割合は25%、となっている。
図10−2に示す第2図柄判定テーブルZt2では、第3大当たりとなる割合は100となっている。第2図柄判定テーブルZt2では、遊技者に有利な第3大当たりとなる確率が図10−1の第1図柄判定テーブルZt1よりも高くなっており、また、遊技者にとって有利度合いが第3大当たりに比べて低い第1大当たりとなる確率は第1図柄判定テーブルZt1よりも低くなっている。すなわち、第2始動口106への入賞による図柄判定は、第1始動口105への入賞による図柄判定よりも遊技者にとって有利な判定となっている。
補助遊技状態においては、普通電動役物107のサポート機能により、ほとんどの場合、第2図柄判定テーブルZt2を用いた図柄判定が行われる。なお、補助遊技状態において、第2始動口106への入賞による保留情報がなくなり、第1始動口105への入賞による保留情報のみが記憶されている状態となった場合には、第1図柄判定テーブルZt1を用いた図柄判定が行われる。なお、本実施の形態においては、大当たり図柄乱数のとり得る範囲は、説明の便宜上、「0〜99」としたが、これは一例に過ぎず、実際には、例えば0〜数万の範囲をとり、判定値についても実際の範囲に応じた割合の値となる。
(変動パターン判定処理)
次に図11を用いて、図7のステップS708に示した変動パターン判定処理の処理内容について説明する。図11は、主制御部が行う変動パターン判定処理を示すフローチャートである。変動パターン判定処理において、主制御部201は、大当たり判定処理(図8参照)における当たり判定の判定結果が大当たりであるか否かを判定する(ステップS1101)。
大当たりではない場合(ステップS1101:No)、主制御部201は、ハズレ用変動パターン判定テーブル(図中「ハズレテーブル」と記載)を選択し(ステップS1102)、ステップS1104に移行する。ステップS1101において、大当たりである場合(ステップS1101:Yes)、主制御部201は、大当たり用変動パターン判定テーブル(図中「大当たりテーブル」と記載)を選択し(ステップS1103)、ステップS1104に移行する。
ステップS1104において、主制御部201は、選択した変動パターン判定テーブルを用いて、今回の保留情報の変動パターン乱数がどの変動パターンの判定値に対応するのかを判定する、変動パターン判定を行う(ステップS1104)。そして、主制御部201は、この判定結果をRAM213の判定結果記憶領域に設定し(ステップS1105)、変動パターン判定処理を終了する。
(変動パターン判定テーブルの一例)
次に、図12−1および図12−2を用いて、変動パターン判定テーブルの一例について説明する。図12−1は、ハズレ時に用いるハズレ用変動パターン判定テーブルの一例を示す説明図である。図12−1に示すように、ハズレ用変動パターン判定テーブルHt1は、複数の変動パターンHpの中から1つが選択されるように判定値が対応付けられている。
変動パターンHpは、特別図柄の変動態様を定義したものであり、例えば、特別図柄を変動させる期間(以下「変動時間」という)を定義したものである。なお、図12−1および図12−2では、説明の便宜上、各変動パターンには、それぞれ変動パターンに対応する演出内容のうちの最終段階の演出内容を括弧書きで記している。変動パターン判定において、各変動パターンHpの当選確率は、それぞれに対応付けられた判定値の個数によって定められる。
変動パターンHp11,Hp12,Hp13,Hp14は、いずれも、通常ハズレの演出が行われる変動パターンであり、「0〜149」の範囲の判定値のうち、始動入賞時に取得された判定値が「0〜119(120個)」の場合に選択される。変動パターンHp11,Hp12,Hp13は、保留情報の数に応じて選択される。ここでの保留情報の数は、変動パターン判定の判定対象となる保留情報により1減算された数を示しており(図7のステップS705,ステップS706参照)、例えば第1始動口105への入賞による保留情報については0〜3のいずれかの値をとる。
変動開始時における保留情報の数が「1以下(0または1)」の場合は、変動時間が13秒の変動パターンHp11が選択され、保留情報の数が「2」の場合は、変動時間が8秒の変動パターンHp12が選択され、保留情報の数が「3以上」の場合は、変動時間が3秒の変動パターンHp13が選択される。このような構成とすることにより、保留数が多く(「2」以上)記憶されている場合に、迅速な遊技を可能にし、多くの大当たり判定の機会を遊技者に与えることを可能にしている。変動パターンHp14は、補助遊技状態において選択可能な通常ハズレ時の1秒の変動パターンである。
変動パターンHp2,Hp3,Hp4,Hp5,Hp6は、リーチ演出が行われる変動パターンである。変動パターンHp2は、短時間のノーマルリーチα(図中「ノーマル短」と記載)が行われる変動パターンである。変動パターンHp3は、変動パターンHp2に比べて長時間のノーマルリーチβ(図中「ノーマル長」と記載)またはノーマルリーチαの後に発展する発展リーチを示唆しつつ発展しない、煽り演出が行われる変動パターンである。
変動パターンHp4は、ノーマルリーチからさらに演出が発展する発展リーチAが行われる変動パターンである。変動パターンHp5は、ノーマルリーチからさらに演出が発展する発展リーチBが行われる変動パターンである。変動パターンHp6は、ノーマルリーチからさらに演出が発展する発展リーチCが行われる変動パターンである。変動パターンHp7は、大当たり確定を示す大当たり確定リーチが行われる変動パターンである。
変動パターンHp2,Hp3,Hp4,Hp5,Hp6,Hp7は、例えば、順に変動時間が長くなっており、変動時間の長いものほど、大当たりに対する信頼度が高い変動となっている。
図12−2は、大当たり時に用いる大当たり用変動パターン判定テーブルの一例を示す説明図である。図12−2に示すように、大当たり用変動パターン判定テーブルHt2は、各変動パターンHp2,Hp3,Hp4,Hp5,Hp6,Hp7に対して、所定の判定値が対応付けられている。大当たり用変動パターン判定テーブルHt2では、例えば、発展リーチCが行われる変動パターンHp6が最も高い割合で選択される。
本実施の形態においては、変動パターンHpの数は、説明の便宜上、図示した10種類について説明しているが、実際には、ぱちんこ遊技機100は、例えば数十種類やそれ以上の数の変動パターンHpを記憶している。
(停止中処理)
次に、図13−1および図13−2を用いて、停止中処理の処理内容について説明する。図13−1は、主制御部が行う停止中処理を示すフローチャート(その1)である。図13−2は、主制御部が行う停止中処理を示すフローチャート(その2)である。
停止中処理において、主制御部201は、補助遊技状態を示す補助遊技フラグがONであるか否かを判定する(ステップS1301)。補助遊技フラグは、図20を用いて後述する遊技状態設定処理にて設定されるフラグである。補助遊技フラグがOFFである場合(ステップS1301:No)、主制御部201は、ステップS1306に移行する。
補助遊技フラグがONである場合(ステップS1301:Yes)、主制御部201は、補助遊技状態の残余回数を示す補助遊技カウンタJから「1」減算した値を新たな補助遊技カウンタJとする(ステップS1302)。なお、補助遊技カウンタJは、補助遊技状態における遊技の残余回数を示しており、大当たり後に、100回に設定される数値である。補助遊技カウンタJは、後述する遊技状態設定処理(図20参照)において設定される。そして、主制御部201は、補助遊技カウンタJが「0」であるか否かを判定する(ステップS1303)。
補助遊技カウンタJが「0」である場合(ステップS1303:Yes)、つまり、大当たり終了後、補助遊技継続回数の100変動が経過した場合、主制御部201は、補助遊技フラグをOFFにする(ステップS1304)。そして、主制御部201は、右打ち表示部112eを消灯させるための右打ち報知終了処理を実行し(ステップS1305)、ステップS1306に移行する。
補助遊技カウンタJが「0」ではない場合(ステップS1303:No)、主制御部201は、高確率遊技状態を示す高確率遊技フラグがONであるか否かを判定する(ステップS1306)。高確率遊技フラグがOFFである場合(ステップS1306:No)、主制御部201は、ステップS1310に移行する。高確率遊技フラグがONである場合(ステップS1306:Yes)、主制御部201は、高確率遊技状態の残余回数を示す高確率遊技カウンタXから「1」減算した値を新たな高確率遊技カウンタXとする(ステップS1307)。
高確率遊技カウンタXは、具体的には、高確率遊技状態における遊技の残余回数を示しており、第2大当たりまたは第3大当たり終了後に、例えば104回に設定される。高確率遊技カウンタXは、後述する遊技状態設定処理(図20参照)において設定される。
次に、主制御部201は、高確率遊技カウンタXが「0」であるか否かを判定し(ステップS1308)、高確率遊技カウンタXが「0」である場合(ステップS1308:Yes)、つまり、第2大当たりまたは第3大当たり終了後、104変動が経過した場合、高確率遊技フラグをOFFにし(ステップS1309)、ステップS1310に移行する。
高確率遊技カウンタXが「0」ではない場合(ステップS1308:No)、主制御部201は、停止した特別図柄が大当たりであるか否かを判定する(ステップS1310)。停止した特別図柄が大当たりではない場合(ステップS1310:No)、主制御部201は、そのまま停止中処理を終了する。
停止した特別図柄が大当たりである場合(ステップS1310:Yes)、主制御部201は、大当たり遊技フラグをONにし(ステップS1311)、右打ち表示部112eを点灯させるための右打ち報知開始処理を実行する(ステップS1312)。
次に、主制御部201は、補助遊技カウンタJおよび高確率遊技カウンタXを「0」にする(ステップS1313)。次に、主制御部201は、補助遊技フラグおよび高確率遊技フラグをOFFにし(ステップS1314)、大当たりのオープニングを開始する(ステップS1315)。そして、主制御部201は、オープニングコマンドをRAM213に設定し(ステップS1316)、停止中処理を終了する。
(大入賞口処理)
次に、図14を用いて、電動役物制御処理(図5のステップS504参照)に含まれる大入賞口処理の処理内容について説明する。図14は、主制御部が行う大入賞口処理を示すフローチャートである。図14に示す大入賞口処理において、主制御部201は、大当たり遊技フラグがONに設定されているかを判定する(ステップS1401)。大当たり遊技フラグがOFFである場合(ステップS1401:No)、主制御部201は、そのまま大入賞口処理を終了する。
大当たり遊技フラグがONである場合(ステップS1401:Yes)、通常アタッカ109aまたは確変アタッカ109bを開放させる前の所定期間であるオープニング中であるか否かを判定する(ステップS1402)。オープニング中ではない場合(ステップS1402:No)、主制御部201は、ステップS1403へ移行し、オープニングが終了したか否かを判定する(ステップS1403)。オープニングが終了した場合(ステップS1403:Yes)、主制御部201は、ステップS1406に移行する。
オープニングが終了していない場合(ステップS1403:No)、すなわち、オープニング開始前である場合、主制御部201は、オープニングの期間や、通常アタッカ109aまたは確変アタッカ109bの各ラウンドにおける動作や、エンディングの期間などを定めた動作パターンの設定を行い(ステップS1404)、ステップS1406に移行する。ステップS1404では、主制御部201は、不図示の大入賞口動作パターン設定テーブルを用いて、通常アタッカ109aまたは確変アタッカ109bの動作パターンを設定する。
ステップS1402において、オープニング中である場合(ステップS1402:Yes)、主制御部201は、オープニング期間をカウントするオープニング処理(図15参照)を行って(ステップS1405)、ステップS1406へ移行する。
次に、主制御部201は、通常アタッカ109aまたは確変アタッカ109bの開放中であるか否かを判定する(ステップS1406)。通常アタッカ109aまたは確変アタッカ109bの開放中である場合(ステップS1406:Yes)、主制御部201は、入賞個数や開放期間をカウントする開放中処理(図16参照)を行って(ステップS1407)、ステップS1408へ移行する。
各ラウンドにおける通常アタッカ109aまたは確変アタッカ109bの開放中ではない場合(ステップS1406:No)、主制御部201は、各ラウンド間を示すインターバル中であるか否かを判定する(ステップS1408)。インターバル中である場合(ステップS1408:Yes)、主制御部201は、インターバル期間のカウントやラウンド数を「1」加算させるインターバル処理(図17参照)を行って(ステップS1409)、ステップS1410へ移行する。
インターバル中ではない場合(ステップS1408:No)、主制御部201は、エンディング中であるか否かを判定する(ステップS1410)。エンディング中である場合(ステップS1410:Yes)、主制御部201は、エンディング処理(図19参照)を行って(ステップS1411)、大入賞口処理を終了する。エンディング中ではない場合(ステップS1410:No)、主制御部201は、大入賞口処理を終了する。
(オープニング処理)
図15は、オープニング処理の処理内容を示すフローチャートである。オープニング処理において、主制御部201は、所定のオープニング期間が経過したか否かを判定する(ステップS1501)。オープニング期間が経過していなければ(ステップS1501:No)、主制御部201は、そのままオープニング処理を終了する。
オープニング期間が経過していれば(ステップS1501:Yes)、主制御部201は、オープニングを終了し(ステップS1502)、ラウンド数カウンタのカウント値Rを1に設定する(ステップS1503)。そして、主制御部201は、1ラウンド目の開始を示すラウンド開始コマンドをRAM213に設定し(ステップS1504)、1ラウンド目の通常アタッカ109aの開放を開始し(ステップS1505)、オープニング処理を終了する。
(開放中処理)
図16は、開放中処理の処理内容を示すフローチャートである。開放中処理において、主制御部201は、各ラウンドにおける通常アタッカ109aまたは確変アタッカ109bの開放期間が経過したか否かを判定する(ステップS1601)。開放期間は、例えば、第1大当たりの第15ラウンドでは0.1秒であるが、第1大当たりにおける第15ラウンド以外の他のラウンドや、第2大当たりや第3大当たりにおける各ラウンドでは29.5秒である。
開放期間が経過していない場合(ステップS1601:No)、主制御部201は、今回のラウンドにおいて、通常アタッカ109aまたは確変アタッカ109bの開放中に、通常アタッカ109aまたは確変アタッカ109bへ規定個数(例えば10個)の遊技球の入賞があったかを判定する(ステップS1602)。規定個数の入賞がない場合(ステップS1602:No)、主制御部201は、そのまま開放中処理を終了する。
ステップS1601において開放期間が経過した場合や(ステップS1601:Yes)、ステップS1602において規定個数の入賞があった場合(ステップS1602:Yes)、主制御部201は、通常アタッカ109aまたは確変アタッカ109b(図中「アタッカ」と記載)を閉口させる(ステップS1603)。そして、主制御部201は、ラウンド数カウンタのカウント値Rが、最終ラウンドを示すRmaxと一致するかを判定する(ステップS1604)。Rmaxは、例えば「15」である。
ラウンド数カウンタのカウント値RがRmaxと一致しない場合(ステップS1604:No)、すなわち、最終ラウンドではない場合、主制御部201は、各ラウンド間における大入賞口の閉口期間であるインターバルを開始して(ステップS1605)、開放中処理を終了する。ラウンド数カウンタのカウント値RがRmaxと一致する場合(ステップS1604:Yes)、すなわち、最終ラウンドである場合、主制御部201は、大当たり遊技状態の終了後に高確率遊技状態(確変遊技状態)を設定するための確変設定フラグがONであるか否かを判定する(ステップS1606)。確変設定フラグは、確変アタッカスイッチ処理(図18参照)においてONに設定されるフラグである。
確変設定フラグがONである場合(ステップS1606:Yes)、主制御部201は、大当たり終了後に確変遊技状態となることを示す確変エンディングコマンドをRAM213に設定する(ステップS1607)。そして、主制御部201は、エンディングを開始して(ステップS1608)、開放中処理を終了する。
ステップS1606において、確変設定フラグがOFFである場合(ステップS1606:No)、主制御部201は、大当たり終了後に時短遊技状態となることを示す時短エンディングコマンドをRAM213に設定して(ステップS1609)、ステップS1608に移行する。確変エンディングコマンドや時短エンディングコマンドには、大当たりのエンディング期間を示す情報などが含まれている。エンディングコマンドは、図5のステップS506に示した出力処理において、演出統括部202aに対して送信される。
(インターバル処理)
図17は、インターバル処理の処理内容を示すフローチャートである。インターバル処理において、主制御部201は、ラウンド間の大入賞口の閉口期間を示すインターバル期間が経過したか否かを判定する(ステップS1701)。インターバル期間が経過していない場合(ステップS1701:No)、主制御部201は、そのままインターバル処理を終了する。
インターバル期間が経過している場合(ステップS1701:Yes)、主制御部201は、インターバルを終了し(ステップS1702)、ラウンド数カウンタのカウント値Rに「1」加算した数値を新たなカウント値Rとする(ステップS1703)。そして、主制御部201は、ラウンド開始コマンドをRAM213に設定する(ステップS1704)。
次に、主制御部201は、ラウンド数カウンタのカウント値Rが最終ラウンドを示すRmaxと一致するかを判定する(ステップS1705)。ラウンド数カウンタのカウント値RがRmaxと一致しない場合(ステップS1705:No)、すなわち、最終ラウンドではない場合、主制御部201は、通常アタッカ109aの開放を開始し(ステップS1706)、インターバル処理を終了する。
ラウンド数カウンタのカウント値RがRmaxと一致する場合(ステップS1705:Yes)、すなわち、最終ラウンドである場合、主制御部201は、確変アタッカ109bの開放を開始し(ステップS1707)、インターバル処理を終了する。ステップS1707における確変アタッカ109bの開放は、第1大当たりの場合は短開放となり、第2大当たりまたは第3大当たりの場合は長開放となる。
(確変アタッカスイッチ処理)
次に、図18を用いて、スイッチ処理(図5のステップS502参照)に含まれる確変アタッカスイッチ処理の処理内容について説明する。図18は、主制御部が行う確変アタッカスイッチ処理を示すフローチャートである。確変アタッカスイッチ処理において、主制御部201は、確変アタッカSW224bがONであるか否かを判定する(ステップS1801)。確変アタッカSW224bがOFFである場合(ステップS1801:No)、主制御部201は、そのまま確変アタッカスイッチ処理を終了する。
確変アタッカSW224bがONである場合(ステップS1801:Yes)、主制御部201は、確変アタッカSW224bの有効期間中であるか否かを判定する(ステップS1802)。確変アタッカSW224bの有効期間中ではない場合(ステップS1802:No)、主制御部201は、そのまま確変アタッカスイッチ処理を終了する。
確変アタッカSW224bの有効期間中である場合(ステップS1802:Yes)、主制御部201は、大当たり遊技状態の終了後に高確率遊技状態(確変遊技状態)を設定するための確変設定フラグをONに設定し(ステップS1803)、確変アタッカスイッチ処理を終了する。
上述した確変アタッカスイッチ処理により、第2大当たりまたは第3大当たりの最終ラウンドにおいて確変アタッカ109bに遊技球が入賞することによって、確変設定フラグをONにすることができる。確変設定フラグがONになると、後述する遊技状態設定処理(図20参照)において、大当たり遊技の終了後に高確率遊技状態が設定される。
(エンディング処理)
次に、図19を用いて、図14のステップS1411に示したエンディング処理について説明する。図19は、主制御部が行うエンディング処理を示すフローチャートである。図19に示すエンディング処理において、主制御部201は、確変アタッカ109bを開放した最終ラウンド後の所定期間であるエンディング期間が経過したか否かを判定する(ステップS1901)。エンディング期間が経過していない場合(ステップS1901:No)、主制御部201は、そのままエンディング処理を終了する。
エンディング期間が経過した場合(ステップS1901:Yes)、主制御部201は、エンディングを終了し(ステップS1902)、ラウンド数カウンタのカウント値Rを「0」にリセットする(ステップS1903)。そして、主制御部201は、大当たり遊技後の遊技状態を設定する遊技状態設定処理(図20参照)を行う(ステップS1904)。
次に、主制御部201は、大当たり遊技フラグをOFFに設定するとともに(ステップS1905)、右打ち表示部112eを消灯するための右打ち報知終了処理を実行し(ステップS1906)、エンディング処理を終了する。
(遊技状態設定処理)
次に、図20を用いて、図19のステップS1904に示した遊技状態設定処理について説明する。図20は、主制御部が行う遊技状態設定処理を示すフローチャートである。図20に示す遊技状態設定処理において、主制御部201は、補助遊技状態であることを示す補助遊技フラグをONに設定するとともに(ステップS2001)、補助遊技カウンタJを「100」に設定する(ステップS2002)。
そして、主制御部201は、高確率遊技状態とするための確変設定フラグがONであるか否かを判定する(ステップS2003)。確変設定フラグは、確変アタッカスイッチ処理(図18のステップS1803参照)においてONに設定されるフラグである。確変設定フラグがOFFである場合(ステップS2003:No)、主制御部201は、ステップS2007に移行する。
確変設定フラグがONである場合(ステップS2003:Yes)、主制御部201は、確変設定フラグをOFFにし(ステップS2004)、高確率遊技状態を示す高確率遊技フラグをONにする(ステップS2005)。そして、主制御部201は、高確率遊技カウンタXを「104」に設定する(ステップS2006)。次に、主制御部201は、右打ち表示部112eを点灯させるための右打ち報知開始処理を実行し(ステップS2007)、遊技状態設定処理を終了する。
(2.演出統括部が行う処理)
次に、演出制御部202の演出統括部202aが行う処理について説明する。以下に示す演出統括部202aが行う各処理は、例えば、演出統括部202aのCPU241がROM242に記憶されているプログラムを実行することによって行われるものである。
(演出タイマ割込処理)
まず、図21を用いて、演出統括部202aが行う演出タイマ割込処理の処理内容について説明する。図21は、演出統括部が行う演出タイマ割込処理を示すフローチャートである。演出統括部202aは、起動中継続的に所定のメイン演出制御処理(不図示)を行っており、このメイン演出制御処理に対して、図21に示す演出タイマ割込処理を、所定の周期(例えば4ms)で割り込み実行する。
演出タイマ割込処理において、演出統括部202aは、演出ボタン118や十字キー119が遊技者から操作を受け付けた際に、受け付けた旨のコマンドを設定する、操作受付処理を行う(ステップS2101)。そして、演出統括部202aは、コマンド受信処理(図22参照)を行う(ステップS2102)。
次に、演出統括部202aは、変動演出中に行う変動演出中処理(図30参照)を行うとともに(ステップS2103)、コマンド送信処理を行って(ステップS2104)、演出タイマ割込処理を終了する。コマンド送信処理では、コマンド受信処理、操作受付処理、変動演出中処理などにおいてRAM243の各記憶領域に設定されるコマンドを、画像・音声制御部202bやランプ制御部202cに対して出力する処理を行う。演出統括部202aは、演出タイマ割込処理を終了すると、メイン演出制御処理に戻る。
(コマンド受信処理)
次に、図22を用いて、コマンド受信処理の処理内容について説明する。図22は、演出統括部が行うコマンド受信処理を示すフローチャートである。図22に示すコマンド受信処理において、演出統括部202aは、主制御部201から保留コマンドを受信したか否かを判定する(ステップS2201)。保留コマンドは、主制御部201の始動口スイッチ処理(図6−1参照)において設定されるコマンドである。
保留コマンドを受信していない場合(ステップS2201:No)、演出統括部202aは、ステップS2203の処理に移行する。保留コマンドを受信した場合(ステップS2201:Yes)、演出統括部202aは、保留コマンド受信処理(図23参照)を行う(ステップS2202)。そして、演出統括部202aは、主制御部201からオープニングコマンドを受信したか否かを判定する(ステップS2203)。オープニングコマンドは、主制御部201の停止中処理において設定されるコマンドである(図13−2参照)。オープニングコマンドを受信していない場合(ステップS2203:No)、演出統括部202aは、ステップS2205へ移行する。
オープニングコマンドを受信した場合(ステップS2203:Yes)、演出統括部202aは、大当たり中に行う大当たり演出を選択する大当たり演出選択処理(図25参照)を行う(ステップS2204)。例えば、第1大当たりに当選している場合、大当たり演出選択処理において、演出統括部202aは、第1大当たり用の当たり演出(第1非報知演出)を選択する。
次に、演出統括部202aは、ラウンド開始コマンドを受信したか否かを判定する(ステップS2205)。ラウンド開始コマンドは、主制御部201のオープニング処理(図15参照)やインターバル処理(図17参照)において設定されるコマンドである。ラウンド開始コマンドを受信していない場合(ステップS2205:No)、演出統括部202aは、ステップS2207へ移行する。
ラウンド開始コマンドを受信した場合(ステップS2205:Yes)、演出統括部202aは、大入賞口が開放するラウンド中の演出であるラウンド演出処理(図26参照)を行う(ステップS2206)。次に、演出統括部202aは、主制御部201からエンディングコマンドを受信したか否かを判定する(ステップS2207)。エンディングコマンドは、主制御部201の開放中処理(図16参照)においてエンディング開始時に設定されるコマンドであり、確変エンディングコマンドと時短エンディングコマンドとがある。エンディングコマンドを受信していない場合(ステップS2207:No)、演出統括部202aは、ステップS2209に移行する。
ステップS2207において、エンディングコマンドを受信した場合(ステップS2207:Yes)、演出統括部202aは、大当たり演出終了時に行うエンディング演出を選択するための、エンディング演出選択処理(図27参照)を行う(ステップS2208)。
次に、演出統括部202aは、主制御部201から変動開始コマンドを受信したか否かを判定する(ステップS2209)。変動開始コマンドは、主制御部201の特別図柄処理において設定されるコマンドである(図7参照)。変動開始コマンドを受信していない場合(ステップS2209:No)、演出統括部202aは、ステップS2211へ移行する。
変動開始コマンドを受信した場合(ステップS2209:Yes)、演出統括部202aは、実行する演出の演出内容を決定する演出決定処理(図28参照)を行う(ステップS2210)。そして、演出統括部202aは、主制御部201から変動停止コマンドを受信したか否かを判定する(ステップS2211)。変動停止コマンドは、主制御部201の特別図柄処理において設定されるコマンドである(図7参照)。
変動停止コマンドを受信していない場合(ステップS2211:No)、演出統括部202aは、コマンド受信処理を終了する。変動停止コマンドを受信した場合(ステップS2211:Yes)、演出統括部202aは、実行中の変動演出を終了させるための演出終了処理(図31参照)を行い(ステップS2212)、コマンド受信処理を終了する。
(保留コマンド受信処理)
次に、図23を用いて、図22のステップS2202に示した保留コマンド受信処理について説明する。図23は、演出統括部が行う保留コマンド受信処理を示すフローチャートである。図23に示す保留コマンド受信処理において、演出統括部202aは、演出事前判定処理を行う(ステップS2301)。演出事前判定処理では、コマンド受信処理において受信された保留コマンドを解析し、大当たり判定、変動パターン判定などの判定を行う。演出事前判定処理における判定結果は、RAM313の演出事前判定情報記憶領域2400(図24参照)に記憶される。
演出統括部202aは、演出事前判定処理の結果が大当たりであるか否かを判定する(ステップS2302)。演出事前判定処理の結果がハズレである場合(ステップS2302:No)、演出統括部202aは、ステップS2305へ移行する。演出事前判定処理の結果が大当たりである場合(ステップS2302:Yes)、演出統括部202aは、大当たり中であるか否か、すなわち、現在の遊技状態が大当たり遊技状態であるか否かを判定する(ステップS2303)。
大当たり中ではない場合(ステップS2303:No)、演出統括部202aは、ステップS2305へ移行する。大当たり中である場合(ステップS2303:Yes)、演出統括部202aは、大当たり中に記憶されている保留情報によって大当たり終了後に再び大当たりとなることを示す保留連フラグをONにする(ステップS2304)。
そして、演出統括部202aは、通常保留表示とは異なる特殊保留表示を行うか否かの保留演出判定処理を実行し(ステップS2305)、保留演出判定の判定結果を示す保留コマンドをRAM243に設定し(ステップS2306)、保留コマンド受信処理を終了する。
上述した処理では、保留連フラグは、大当たり中の始動入賞のタイミングでONに設定されるが、この他のタイミングであってもよい。例えば、大当たり中の始動入賞のタイミングではなく、エンディング前の大当たり中の所定のタイミングで、大当たりの保留情報の有無を判定し、大当たりの保留情報がある場合に保留連フラグをONにしてもよい。また、例えば、大当たり開始前に当該大当たりとなる保留情報の他に大当たりの保留情報が記憶されることもあり、すなわち、大当たり開始前の変動表示中に複数の大当たりの保留情報が記憶されることもあるが、このような場合を想定し、変動表示中における複数の大当たりの保留情報(2つ目の大当たりの保留情報)が記憶されたタイミングで、保留連フラグをONにしてもよい。
(演出事前判定情報記憶領域の一例)
図24は、演出統括部の演出事前判定情報記憶領域の一例を示す説明図である。図24において、演出事前判定情報記憶領域2400には、主制御部201の事前判定情報記憶領域600(図6−3参照)に記憶されている各保留情報格納領域H1〜H8に対応する各保留情報格納領域h1〜h8に、それぞれ、当たり判定結果、図柄判定結果、変動パターン判定結果が記憶される。
図24において、例えば、保留情報格納領域h1には、変動パターンHp2が記憶されており、変動演出パターンEp2によるノーマルリーチaが行われることを示している。保留情報格納領域h2には、変動パターンHp11が記憶されており、変動演出パターンEp11による通常ハズレ変動が行われることを示している。保留情報格納領域h3には、変動パターンHp6が記憶されており、変動演出パターンEp61または変動演出パターンEp62(図29参照)による高信頼度のリーチ演出が行われることを示している。保留情報格納領域h3に格納されている保留情報は、第3大当たりの保留情報である。
このような演出事前判定情報記憶領域2400に記憶される保留情報を用いることにより、特殊保留表示などの保留演出や、複数の変動演出を関連させた連続演出を行うことが可能になっている。具体的には、保留情報格納領域h3に記憶される保留情報を、通常保留表示とは異なる特殊保留表示としたり、保留情報格納領域h1の保留情報による変動から保留情報格納領域h3の保留情報による変動にかけて関連する連続演出を行ったりすることができる。これにより、大当たりに対する期待度の高い保留情報が記憶されている場合に、期待度の高い演出を行うことができる。
(大当たり演出選択処理)
次に、図25を用いて、図22のステップS2204に示した大当たり演出選択処理について説明する。図25は、演出統括部が行う大当たり演出選択処理を示すフローチャートである。図25に示す大当たり演出選択処理において、演出統括部202aは、第1大当たり(15R確変アタッカ短開放)であるか否かを判定する(ステップS2501)。
第1大当たりである場合(ステップS2501:Yes)、演出統括部202aは、大当たり終了後に確変遊技状態となるか時短遊技状態となるかを秘匿した非報知演出のうちの第1非報知演出を選択する(ステップS2502)。第1非報知演出は、所定ラウンド(例えば第10ラウンド)となるまで、大当たり終了後の遊技状態となるかを秘匿し、所定ラウンド以降に、大当たり終了後に時短遊技状態となることを示唆する演出である。示唆演出は、例えばバトル演出であり、時短遊技状態となることを示唆する演出は、例えばバトルに敗北する演出である。
そして、演出統括部202aは、選択した演出を示す大当たり演出パターンをRAM243に設定し(ステップS2503)、大当たり演出選択処理を終了する。ステップS2501において、第1大当たりではない場合(ステップS2501:No)、演出統括部202aは、停止した装飾図柄が「3」または「7」であるか否かを判定する(ステップS2504)。「3」または「7」の装飾図柄は、第2大当たり(15R確変アタッカ長開放1)の場合における「3」、「7」図柄停止判定処理(図28参照)に当選した場合、または第3大当たり(15R確変アタッカ長開放2)の場合に停止表示される。
停止した装飾図柄が「3」または「7」ではない場合(ステップS2504:No)、すなわち、第2大当たりに当選した際の「3,7図柄停止判定処理」(図28参照)に非当選の場合、演出統括部202aは、大当たり終了後に確変遊技状態となるか時短遊技状態となるかを秘匿した非報知演出のうちの第2非報知演出を選択し(ステップS2505)、ステップS2503に移行する。第2非報知演出は、所定ラウンド(例えば第10ラウンド)となるまで、大当たり終了後の遊技状態となるかを秘匿し、所定ラウンド以降に、大当たり終了後に確変遊技状態となることを示唆する演出である。確変遊技状態となることを示唆する演出は、例えばバトルに勝利する演出である。
ステップS2504において、停止した装飾図柄が「3」または「7」である場合(ステップS2504:Yes)、すなわち、第2大当たりに当選した際の「3,7図柄停止判定処理」(図28参照)に当選した場合または第3大当たりである場合、演出統括部202aは、大当たり終了後に確変遊技状態となることを報知する確変報知演出を選択し(ステップS2506)、ステップS2503に移行する。
(ラウンド演出処理)
次に、図26を用いて、図22のステップS2206に示したラウンド演出処理について説明する。図26は、演出統括部が行うラウンド演出処理を示すフローチャートである。図26に示すラウンド演出処理において、演出統括部202aは、ラウンド数カウンタのカウント値である現在のラウンド数Vに「1」を加算した数値を新たなラウンド数Vとする(ステップS2601)。
そして、演出統括部202aは、ラウンド表示を行うために、ラウンド数VをRAM243に設定する(ステップS2602)。次に、演出統括部202aは、非報知演出中(第1非報知演出中または第2非報知演出中)であるか否かを判定する(ステップS2603)。非報知演出中ではない場合(ステップS2603:No)、演出統括部202aは、ステップS2606へ移行する。非報知演出中である場合(ステップS2603:Yes)、演出統括部202aは、大当たり終了後に確変遊技状態となるか時短遊技状態となるかを示唆する示唆演出を行う第Wラウンド(例えば第10ラウンド)までの残りラウンド数U(=W−V)を算出する(ステップS2604)。
そして、演出統括部202aは、算出した残りラウンド数UをRAM243に設定する(ステップS2605)。次に、演出統括部202aは、確変報知演出中の特定のラウンド(例えば8ラウンドまたは14ラウンド)であるか否かを判定する(ステップS2606)。なお、特定のラウンドは、各ラウンドにおいて抽選によって選択してもよいし、8ラウンドや14ラウンド以外の他のラウンドでもよい。
確変報知演出中の特定のラウンドではない場合(ステップS2606:No)、演出統括部202aは、ラウンド演出処理を終了する。確変報知演出中の特定のラウンドである場合(ステップS2606:Yes)、演出統括部202aは、保留連であることを示す保留連フラグがONであるか否かを判定する(ステップS2607)。保留連フラグは、保留コマンド受信処理(図23参照)においてONに設定されるフラグである。
保留連フラグがONである場合(ステップS2607:Yes)、保留連演出を行うか否かを判定する際に用いるテーブルとして、特殊テーブルをRAM243に設定する(ステップS2608)。保留連演出は、例えばコインを獲得することができるか否かを示すゲームであり、コインを獲得することによって保留連を示唆する。特殊テーブルは、例えば、所定の確率で、コインを獲得するゲームにおいて「コインの獲得」を選択させるためのテーブルである。
一方、保留連フラグがOFFである場合(ステップS2607:No)、保留連演出を行うか否かを判定する際に用いるテーブルとして、通常テーブルをRAM243に設定する(ステップS2609)。通常テーブルは、例えば、コインを獲得するゲームにおいて「コインの獲得」を選択しない、いわゆる「ガセ」演出を選択するためのテーブルである。
次に、演出統括部202aは、ステップS2608またはステップS2609において設定したテーブルを用いて、保留連演出判定を行う(ステップS2610)。そして、演出統括部202aは、保留連演出判定の判定結果である保留連演出をRAM243に設定し(ステップS2611)、ラウンド演出処理を終了する。
なお、図26に示したラウンド演出処理は、演出統括部202aが行う処理であるが、画像・音声制御部202bが行う処理としてもよい。例えば、演出統括部202aが主制御部201からラウンド開始コマンドを受信すると、そのままラウンド開始コマンドを画像・音声制御部202bに転送し、画像・音声制御部202bが図26に示したラウンド演出処理を行ってもよい。なお、この場合、画像・音声制御部202bは、例えば、ステップS2608およびステップS2609において設定するテーブルを予め記憶しておき、ステップS2607に示す保留連フラグのON/OFFの判定に代わって、保留連となる条件下であるか否かの情報を演出統括部202aから取得すればよい。
(エンディング演出選択処理)
次に、図27を用いて、図22のステップS2208に示したエンディング演出選択処理について説明する。図27は、演出統括部が行うエンディング演出選択処理を示すフローチャートである。図27に示すエンディング演出選択処理において、演出統括部202aは、エンディングコマンドを解析する(ステップS2701)。
エンディングコマンドの解析の結果、エンディングコマンドが確変エンディングコマンド(図16のステップS1607参照)であるか否かを判定する(ステップS2702)。なお、確変エンディングコマンドは、実行中の大当たりが第2大当たりまたは第3大当たりであって、確変アタッカSW224bがONになった場合に、主制御部201から受信するコマンドである。
確変エンディングコマンドである場合(ステップS2702:Yes)、演出統括部202aは、実行中の大当たりが第3大当たりであるか否かを判定する(ステップS2703)。実行中の大当たりが第3大当たりである場合(ステップS2703:Yes)、すなわち、確変遊技状態、潜確遊技状態または時短遊技状態のいずれかの遊技状態において当選した連チャン中の大当たりである場合、演出統括部202aは、大当たり中に記憶されている保留情報によって大当たり終了後に再び大当たりとなる保留連であることを示す保留連フラグがONであるか否かを判定する(ステップS2704)。保留連フラグは、保留コマンド受信処理(図23参照)においてONに設定されるフラグである。
保留連フラグがONである場合(ステップS2704:Yes)、演出統括部202aは、保留連フラグをOFFにし(ステップS2705)、大当たりの保留情報に係る変動表示期間までエンディング演出を継続させる特殊エンディング演出を行うための特殊エンディング演出パターンを選択する(ステップS2706)。
なお、ステップS2706では、特殊エンディング演出パターンを必ず選択するようにしているが、抽選によって選択するようにしてもよい。つまり、保留連時には必ず特殊エンディング演出を行うのではなく、保留連時における抽選に当選した場合に特殊エンディング演出を行うようにしてもよい。なお、この抽選に当選しなかった場合には、連チャン中のエンディング演出(第2のエンディング演出)を示す連チャン中エンディング演出パターンを選択すればよい。
次に、演出統括部202aは、特殊エンディング演出の実行中であることを示す特殊エンディング実行フラグをONにする(ステップS2707)。そして、演出統括部202aは、選択したエンディング演出パターンをRAM243に設定し(ステップS2708)、ラウンド表示を行うためのラウンド数Vと、示唆演出を行う第Wラウンドまでの残りラウンド数Uと、を0に戻し(ステップS2709)、エンディング演出選択処理を終了する。
ステップS2702において、エンディングコマンドの解析の結果、エンディングコマンドが確変エンディングコマンドではない場合(ステップS2702:No)、すなわち、時短エンディングコマンド(図16のステップS1609参照)である場合、演出統括部202aは、大当たり終了後に時短遊技状態となることを示す時短用エンディング演出パターンを選択する(ステップS2710)。なお、時短エンディングコマンドは、実行中の大当たりが第1大当たりである場合や、実行中の大当たりが第2大当たりまたは第3大当たりでありながら例えば確変アタッカ109b内に遊技球が入賞せずに確変アタッカSW224bがONにならなかった場合に、主制御部201から受信するコマンドである。
次に、演出統括部202aは、大当たり終了後の演出モードの設定として、演出モードテーブルMt(図32参照)を用いて時短モードを示すモードフラグ「3」を設定するとともに(ステップS2711)、ステップS2715に移行する。
ステップS2703において、実行中の大当たりが第3大当たりではない場合(ステップS2703:No)、すなわち、実行中の大当たりが第2大当たり(通常遊技状態において確変遊技状態に移行可能な大当たりに当選するいわゆる初当たり)の場合、演出統括部202aは、大当たり終了後に確変遊技状態となる(確変モードに突入)ことを示す初当たりエンディング演出パターンを選択し(ステップS2712)、ステップS2714に移行する。時短エンディング演出や初当たりエンディング演出では、例えば、製造メーカをPRする表示が行われる。
ステップS2704において、保留連フラグがOFFである場合(ステップS2704:No)、大当たり後も確変遊技状態が継続する連チャン中であること(確変モードの継続)を示す連チャン中エンディング演出パターンを選択する(ステップS2713)。連チャン中のエンディング演出では、例えば、確変モードが継続する旨を示す表示などが行われる。
次に、演出統括部202aは、大当たり終了後の演出モードの設定として、演出モードテーブルMt(図32参照)を用いて確変モードを示すモードフラグ「1」を設定する(ステップS2714)。この後、演出統括部202aは、モード残余変動回数Mに「100」を設定し(ステップS2715)、ステップS2708に移行する。
(演出決定処理)
次に、図28を用いて、図22のステップS2210に示した演出決定処理について説明する。図28は、演出統括部が行う演出決定処理を示すフローチャートである。図28に示す演出決定処理において、演出統括部202aは、コマンド受信処理において受信された変動開始コマンド(図22のステップS2209参照)を解析し(ステップS2801)、大当たり判定の判定結果、変動パターン判定の判定結果、遊技状態を示す情報などを取得する。
そして、演出統括部202aは、現在の保留数から「1」を減算した数値を新たな保留数とする保留数減算処理を行う(ステップS2802)。次に、演出統括部202aは、変動開始コマンドの解析結果に基づいて、開始する変動が第2大当たりとなる変動であるか否かを判定する(ステップS2803)。第2大当たりとなる変動である場合(ステップS2803:Yes)、「3」、「7」図柄停止判定処理を行い(ステップS2804)、ステップS2805に移行する。「3」、「7」図柄停止判定処理では、「3」または「7」の装飾図柄で停止表示させるか否かを判定する処理である。「3」または「7」の装飾図柄で停止表示させることにより、大当たり終了後に確変遊技状態にて遊技が制御可能であることを示唆し、大当たり中も確変報知演出が行われる。また、「3」または「7」以外の装飾図柄で停止表示させることにより、大当たり中に第2非報知演出を行うことができる。
一方、第2大当たりとなる変動ではない場合(ステップS2803:No)、演出統括部202aは、ステップS2805に移行する。なお、この場合、第1大当たりである場合には非報知演出を行うために「3」または「7」以外の装飾図柄を選択し、第3大当たりである場合には確変報知演出を行うために「3」または「7」の装飾図柄を選択する。
次に、演出統括部202aは、演出モードテーブル(図32参照)を用いて、現在の演出モードを示すモードフラグを参照する(ステップS2805)。そして、演出統括部202aは、変動演出パターンテーブル(図29参照)を用いて、変動演出を示す変動演出パターンの選択を行う変動演出パターン選択処理を実行する(ステップS2806)。
そして、演出統括部202aは、特殊エンディング演出の実行中であることを示す特殊エンディング実行フラグがONであるか否かを判定する(ステップS2807)。特殊エンディング実行フラグは、エンディング演出選択処理(図27参照)においてONに設定されるフラグである。
特殊エンディング実行フラグがONである場合(ステップS2807:Yes)、演出統括部202aは、装飾図柄の表示演出として、通常の表示よりも表示領域を小さくした図柄表示とするための、図柄小表示演出を選択する(ステップS2808)。そして、変動開始コマンドの解析結果に基づいて、開始する変動が第3大当たりとなる変動であるか否かを判定する(ステップS2809)。第3大当たりとなる変動である場合(ステップS2809:Yes)、演出統括部202aは、特殊エンディング実行フラグをOFFにし(ステップS2810)、ステップS2812に移行する。なお、第3大当たりとなる変動では、リーチ演出に発展する前まで図柄小表示演出を行う。
ステップS2807において、特殊エンディング実行フラグがOFFである場合(ステップS2807:No)、演出統括部202aは、装飾図柄の表示演出として、通常の図柄表示とするための、図柄通常表示演出を選択し(ステップS2811)、ステップS2812に移行する。ステップS2809において、第3大当たりとなる変動ではない場合(ステップS2809:No)、演出統括部202aは、不図示の予告演出選択テーブルを用いて、ステップアップ演出やカットイン演出等の予告演出の選択を行う予告演出選択処理を行う(ステップS2812)。
次に、演出統括部202aは、各種選択した演出を行うために、画像・音声制御部202bやランプ制御部202cに指示する変動演出開始コマンドをRAM243に設定し(ステップS2813)、演出決定処理を終了する。
(変動演出パターンテーブルの一例)
次に、図29を用いて、変動演出パターンテーブルについて説明する。図29は、変動演出パターンテーブルの一例を示す説明図である。図29に示すように、変動演出パターンテーブルEtは、変動パターンHpと、変動演出パターンEpとを対応付けたものである。変動演出パターンEpは、通常ハズレ演出やリーチ演出などの変動演出の演出内容を定義したものである。
変動演出パターンEp11,Ep12,Ep13は、通常遊技状態における通常ハズレ変動演出を行うための変動演出パターンである。変動演出パターンEp14は、補助遊技状態におけるハズレ変動演出を行うための変動演出パターンである。変動演出パターンEp2は、変動パターンHp2に対応付けられており、ノーマルリーチαを行うための変動演出パターンである。
変動演出パターンEp31,Ep32は、変動パターンHp3に対応付けられている。変動演出パターンEp31は、ノーマルリーチαと煽り演出とを行うための変動演出パターンである。煽り演出は、ノーマルリーチαにおいてハズレ目で停止表示された装飾図柄が再変動して、例えば発展リーチに移行する可能性があることを示唆したり、ゾロ目で停止表示される可能性があることを示唆したりして、遊技者を煽る演出である。
変動演出パターンEp32は、ノーマルリーチβを行うための変動演出パターンである。変動演出パターンEp31,Ep32は大当たり判定の判定結果に応じて選択される割合が異なる。
変動パターンHp4,Hp5,Hp6についても、各変動パターンHpに対応して複数の変動演出パターンEpが記憶されており、大当たり判定の判定結果に応じてそれぞれ変動演出パターンEpの選択される割合が異なる。また、変動パターンHp7には、大当たり確定用の演出である変動演出パターンEp7が対応付けられている。
(変動演出中処理)
次に、図30を用いて、図21のステップS2103に示した変動演出中処理について説明する。図30は、演出統括部が行う変動演出中処理を示すフローチャートである。なお、以下の変動演出中処理では、特殊エンディング演出中において図柄小表示演出を行っている際の処理について説明する。
図30に示す変動演出中処理において、演出統括部202aは、特殊エンディング演出中であるか否かを判定する(ステップS3001)。特殊エンディング演出中ではない場合(ステップS3001:No)、演出統括部202aは、変動演出中処理を終了する。特殊エンディング演出中である場合(ステップS3001:Yes)、大当たり(第3大当たり)となる変動中であるか否かを判定する(ステップS3002)。
大当たりとなる変動中ではない場合(ステップS3002:No)、演出統括部202aは、変動演出中処理を終了する。大当たりとなる変動中である場合(ステップS3002:Yes)、演出統括部202aは、リーチ開始タイミングであるか否かを判定する(ステップS3003)。リーチ開始タイミングではない場合(ステップS3003:No)、演出統括部202aは、変動演出中処理を終了する。
リーチ開始タイミングである場合(ステップS3003:Yes)、演出統括部202aは、図柄小表示演出を終了させ(ステップS3004)、変動演出中処理を終了する。なお、上述した変動演出中処理では、特殊エンディング演出中以外の処理については省略したが、特殊エンディング演出中以外の変動演出中処理では、例えば、所定の演出切替えタイミングで演出切替え用の各種コマンドを設定したりする処理が行われる。
(演出終了処理)
次に、図31を用いて、図22のステップS2212に示した演出終了処理について説明する。図31は、演出終了処理の処理内容を示すフローチャートである。演出終了処理において、演出統括部202aは、コマンド受信処理において受信された変動停止コマンド(図22のステップS2211参照)を解析し(ステップS3101)、停止した特別図柄や遊技状態などを示す情報を取得する。
そして、演出統括部202aは、演出モードテーブルMt(図32参照)を用いて、現在の演出モードを示すモードフラグを参照する(ステップS3102)。そして、演出統括部202aは、大当たりであるか否かを判定する(ステップS3103)。
大当たりである場合(ステップS3103:Yes)、演出統括部202aは、ステップS3110に移行する。ステップS3103において、大当たりではない場合(ステップS3103:No)、演出統括部202aは、現在のモードフラグが通常モードを示す「0」であるか否かを判定する(ステップS3104)。モードフラグが「0」である場合(ステップS3104:Yes)、演出統括部202aは、ステップS3110に移行する。
ステップS3104において、モードフラグが「0」ではない場合(ステップS3104:No)、すなわち、モードフラグが確変モードを示す「1」、潜確モードを示す「2」、時短モードを示す「3」のいずれかである場合、演出統括部202aは、モード残余変動回数Mから「1」を減算した値を新たなモード残余変動回数Mとする(ステップS3105)。そして、演出統括部202aは、モード残余変動回数Mが「0」であるか否かを判定し(ステップS3106)、モード残余変動回数Mが「0」ではない場合(ステップS3106:No)、ステップS3110に移行する。
モード残余変動回数Mが「0」である場合(ステップS3106:Yes)、演出統括部202aは、現在のモードフラグが確変モードを示す「1」であるか否かを判定する(ステップS3107)。現在のモードフラグが「1」である場合(ステップS3107:Yes)、演出統括部202aは、モードフラグを、潜確モードを示す「2」にするとともに(ステップS3108)。潜確モードのモード残余変動回数Mを「4」に設定する(ステップS3109)。
そして、演出統括部202aは、変動演出を終了させるための変動演出終了コマンドをRAM243に設定して(ステップS3110)、演出終了処理を終了する。ステップS3107において、モードフラグが、確変モードを示す「1」ではない場合(ステップS3107:No)、すなわち、モードフラグが、潜確モードを示す「2」である場合や時短モードを示す「3」である場合、演出統括部202aは、モードフラグを、通常モードを示す「0」にし(ステップS3111)、ステップS3110に移行する。
(演出モードテーブルの一例)
次に、図32を用いて、演出モードテーブルMtの一例について説明する。図32は、演出モードテーブルの一例を示す説明図である。図32に示すように、演出モードテーブルMtは、遊技状態毎に、演出モードと、モードフラグと、大当たり終了後の変動回数と、を対応付けて構成されている。
具体的には、通常モードは、主制御部201が通常遊技状態(低確率非補助遊技状態)の場合に設定される演出モードである。通常モードのモードフラグは「0」である。通常モードは、確変モード、潜確モードおよび時短モードが設定されていないときに設定される演出モードであり、遊技の進行上、最も多く実行される演出モードである。
確変モードは、主制御部201が確変遊技状態(高確率補助遊技状態)の場合に設定される演出モードである。確変モードのモードフラグは「1」である。確変モードは、大当たり終了してから100変動が経過するまで設定される演出モードである。
潜確モードは、主制御部201が潜確遊技状態(高確率非補助遊技状態)の場合に設定される演出モードである。潜確モードのモードフラグは「2」である。潜確モードは、確変モードが終了してから4変動が経過するまで設定される。すなわち、潜確モードは、第2大当たりまたは第3大当たりの終了後、101〜104変動の間、設定される演出モードである。
時短モードは、主制御部201が時短遊技状態(低確率補助遊技状態)の場合に設定される演出モードである。時短モードのモードフラグは「3」である。時短モードは、大当たり終了してから100変動が経過するまで設定される演出モードである。
以上説明したように、本実施の形態では、各ラウンドにおいて所定ラウンド(第10ラウンド)までのラウンド数を示唆する示唆表示を行うことにより、遊技者が所定ラウンドまでの進捗度合いを把握することが可能な演出を行う。そのため、遊技者は所定ラウンドまでの進捗度合いを把握することができる。これにより、遊技者は、所定ラウンドまでに要する時間や獲得出玉等を推測することができ、すなわち、所定ラウンドまで各種予測を立てて遊技を行うことができる。したがって、大当たり中の遊技の興趣を向上させることができる。
また、本実施の形態では、所定ラウンドにおいて大当たり後の遊技状態を示唆する示唆演出(バトル演出)を行うため、示唆演出までのラウンド数(進捗度合い)を遊技者に通知することができる。これにより、所定ラウンドに至るまでに遊技者の期待感を高めさせ、所定ラウンドにおいて遊技者をより高揚させることができ、大当たり中の遊技の興趣を向上させることができる。
また、本実施の形態では、ラウンド演出において、所定ラウンドまでの残りラウンドを示唆する示唆表示とともに、実行されている各ラウンド遊技のラウンド数を示す加算表示を行うため、所定ラウンドまでのラウンド数および実行中のラウンドを遊技者に通知することができる。したがって、遊技者は、示唆表示されるラウンド数により所定ラウンドまでの進捗度合いを把握することができるとともに、加算表示されるラウンド数により現在の大当たりの進行状況を把握することができる。このように、大当たり中の各ラウンドにおいて、大当たり中の適切な情報を遊技者に通知することができる。
また、本実施の形態では、大当たりを介して特定遊技状態(例えば確変遊技状態)が継続する連チャン中の大当たりにおいて、特定の条件を満たしたか否かに応じて異なるエンディング演出を行うようにした。したがって、連チャン時におけるエンディング演出のマンネリ化を抑え、連チャン時におけるエンディング演出の興趣を向上させることができる。
本実施の形態では、特定の条件を満たした場合に特定の条件を満たしたことを示す第1のエンディング演出を行うようにしたので、エンディング遊技において、遊技に有用な情報を通知することができる。
また、本実施の形態では、保留連となることを示唆する第1のエンディング演出を行うため、エンディング遊技において保留連となることを遊技者に通知することができる。したがって、エンディング遊技において遊技者を高揚させることができる。
また、本実施の形態では、特定の条件が成立しない場合には、大当たり終了後に確変遊技状態が継続することを示唆する演出を行うため、エンディング遊技において大当たり終了後の遊技状態を遊技者に通知することができる。したがって、遊技者は、エンディング遊技において、大当たり終了後の遊技状態を把握することができる。
また、本実施の形態では、特定の条件が成立すると、エンディング演出(第1のエンディング演出)を図柄の変動表示期間に継続する特殊エンディング演出を行うため、斬新な演出を行うことができる。
また、本実施の形態では、保留連となる場合に特殊エンディング演出を行うため、大当たりが終了してから変動が再開する際に演出を途切れないようにすることができる。したがって、保留連となる場合における演出上の見栄えをよくすることができる。また、エンディング遊技から大当たりに発展したように見せることができ、保留連となる場合における演出を盛り上げ、インパクトのある演出を行うことができる。
また、本実施の形態では、保留連となる場合であって、特別保留情報331による変動表示よりも先に変動表示が行われるハズレの保留情報を含む複数の保留情報が記憶されている場合、特別保留情報331に係る図柄の変動表示期間まで継続する特殊エンディング演出を行うようにした。したがって、大当たりに至る変動表示を行う期間までの最も長い期間、特殊エンディング演出を行うことができる。また、特殊エンディング演出をリーチ演出に発展する前までに終了させるため、リーチ演出によって大当たりに至る過程を通知することができ、遊技者を高揚させることができる。
また、本実施の形態では、特殊エンディング演出において、図柄小表示演出340(図3−3参照)による変動演出を行うため、変動演出を遊技者に提示することができる。
また、本実施の形態では、リーチ演出のタイミングになると、図柄小表示演出340を含む特殊エンディング演出を終了させて、図柄通常表示演出341(図3−3参照)にてリーチ演出を行うため、大当たりに至るまでの演出を盛り上げることができる。
また、本実施の形態では、確変遊技状態において大当たりに当選する連チャン時に保留連を行う場合に、特殊エンディング演出を行うため、連チャン中におけるエンディング演出のマンネリ化を抑え、エンディング演出の興趣を向上させることができる。
100 ぱちんこ遊技機
104 メイン液晶
105 第1始動口
106 第2始動口
112a 第1特別図柄表示部
112b 第2特別図柄表示部
201 主制御部
202 演出制御部
202a 演出統括部
202b 画像・音声制御部
202c ランプ制御部
401 特別遊技判定部
402 図柄表示部
403 特別遊技実行部
404 遊技制御部
405 事前判定部
406 保留記憶部
411 変動演出部
412 特別遊技演出部

Claims (1)

  1. 始動条件の成立により、遊技者にとって有利な特別遊技を行うか否かの特別遊技判定を行う特別遊技判定手段と、
    図柄を変動表示させ、前記特別遊技判定手段による判定結果を示す判定図柄を停止表示させる図柄表示手段と、
    前記図柄表示手段によって前記特別遊技を示す前記判定図柄が停止表示された場合、可変入賞装置を開放させるラウンド遊技と、前記ラウンド遊技が終了した後のエンディング遊技と、を含む前記特別遊技を実行する特別遊技実行手段と、
    遊技者にとって不利な遊技状態である非特定遊技状態、または、遊技者にとって有利な遊技状態である特定遊技状態、のいずれか一方の遊技状態で遊技を制御する遊技制御手段と、
    前記特別遊技実行手段によって、前記ラウンド遊技が行われる際にラウンド演出を行うとともに、前記エンディング遊技が行われる際にエンディング演出を行う特別遊技演出手段と、
    を備え、
    前記遊技制御手段は、
    前記図柄表示手段によって停止表示された前記特別遊技を示す前記判定図柄に基づいて、前記特定遊技状態の実施条件が成立した場合には前記特別遊技実行手段によって前記特別遊技が実行された後に前記特定遊技状態で遊技を制御可能にし、
    前記特別遊技演出手段は、前記特別遊技の実行後に前記遊技制御手段によって前記特定遊技状態で遊技が制御可能にされる場合において、特定の条件が成立した場合には前記エンディング遊技において前記特定遊技状態が開始されることを報知しない第1のエンディング演出を行い、前記特定の条件が成立しない場合には前記エンディング遊技において前記特定遊技状態が開始されることを報知する第2のエンディング演出であって前記第1のエンディング演出とは異なる前記第2のエンディング演出を行い、
    前記特定の条件は、前記特別遊技の実行中に記憶されている保留情報に前記特別遊技となる保留情報が記憶されていることであり、
    前記第1のエンディング演出は、前記特別遊技となる保留情報が記憶されていることを示唆する演出であるとともに、前記第1のエンディング演出の開始によって遊技者に前記特別遊技を報知する演出である、
    ことを特徴とする遊技機。
JP2014043331A 2014-03-05 2014-03-05 遊技機 Active JP5951663B2 (ja)

Priority Applications (1)

Application Number Priority Date Filing Date Title
JP2014043331A JP5951663B2 (ja) 2014-03-05 2014-03-05 遊技機

Applications Claiming Priority (1)

Application Number Priority Date Filing Date Title
JP2014043331A JP5951663B2 (ja) 2014-03-05 2014-03-05 遊技機

Related Child Applications (1)

Application Number Title Priority Date Filing Date
JP2016114696A Division JP6250740B2 (ja) 2016-06-08 2016-06-08 遊技機

Publications (2)

Publication Number Publication Date
JP2015167653A JP2015167653A (ja) 2015-09-28
JP5951663B2 true JP5951663B2 (ja) 2016-07-13

Family

ID=54200958

Family Applications (1)

Application Number Title Priority Date Filing Date
JP2014043331A Active JP5951663B2 (ja) 2014-03-05 2014-03-05 遊技機

Country Status (1)

Country Link
JP (1) JP5951663B2 (ja)

Families Citing this family (7)

* Cited by examiner, † Cited by third party
Publication number Priority date Publication date Assignee Title
JP2017131575A (ja) * 2016-01-29 2017-08-03 株式会社大一商会 遊技機
JP2017164163A (ja) * 2016-03-15 2017-09-21 株式会社サンセイアールアンドディ 遊技機
JP6572253B2 (ja) * 2017-04-19 2019-09-04 株式会社三共 遊技機
JP7016524B2 (ja) * 2018-02-06 2022-02-07 豊丸産業株式会社 遊技機
JP7016525B2 (ja) * 2018-02-06 2022-02-07 豊丸産業株式会社 遊技機
JP6966976B2 (ja) * 2018-06-14 2021-11-17 株式会社ユニバーサルエンターテインメント 遊技機
JP2022182080A (ja) * 2021-05-27 2022-12-08 株式会社サンセイアールアンドディ 遊技機

Family Cites Families (5)

* Cited by examiner, † Cited by third party
Publication number Priority date Publication date Assignee Title
JP4980079B2 (ja) * 2007-01-16 2012-07-18 株式会社三共 遊技機
JP4745304B2 (ja) * 2007-09-04 2011-08-10 株式会社ニューギン 遊技機
JP5583989B2 (ja) * 2010-02-25 2014-09-03 株式会社ニューギン 遊技機
JP5539050B2 (ja) * 2010-06-11 2014-07-02 株式会社ニューギン 遊技機
JP5466249B2 (ja) * 2012-02-14 2014-04-09 株式会社平和 遊技機

Also Published As

Publication number Publication date
JP2015167653A (ja) 2015-09-28

Similar Documents

Publication Publication Date Title
JP6054844B2 (ja) 遊技機
JP5951663B2 (ja) 遊技機
JP5972939B2 (ja) 遊技機
JP2016052458A (ja) 遊技機
JP5111459B2 (ja) 遊技機
JP5996904B2 (ja) 遊技機
JP2015039610A (ja) 遊技機
JP5837951B2 (ja) 遊技機
JP2015039611A (ja) 遊技機
JP6250740B2 (ja) 遊技機
JP5830557B2 (ja) 遊技機
JP5364647B2 (ja) 遊技機
JP6275446B2 (ja) 遊技機
JP5960670B2 (ja) 遊技機
JP6311494B2 (ja) 遊技機
JP2016214761A (ja) 遊技機
JP5922732B2 (ja) 遊技機
JP6068600B2 (ja) 遊技機
JP5972940B2 (ja) 遊技機
JP6486394B2 (ja) 遊技機
JP5396521B1 (ja) 遊技機
JP6181801B2 (ja) 遊技機
JP2021194427A (ja) 遊技機
JP5230757B2 (ja) ぱちんこ遊技機
JP6275445B2 (ja) 遊技機

Legal Events

Date Code Title Description
A977 Report on retrieval

Free format text: JAPANESE INTERMEDIATE CODE: A971007

Effective date: 20150629

A131 Notification of reasons for refusal

Free format text: JAPANESE INTERMEDIATE CODE: A131

Effective date: 20150707

A521 Request for written amendment filed

Free format text: JAPANESE INTERMEDIATE CODE: A523

Effective date: 20150820

A131 Notification of reasons for refusal

Free format text: JAPANESE INTERMEDIATE CODE: A131

Effective date: 20151013

A521 Request for written amendment filed

Free format text: JAPANESE INTERMEDIATE CODE: A523

Effective date: 20151208

A131 Notification of reasons for refusal

Free format text: JAPANESE INTERMEDIATE CODE: A131

Effective date: 20160209

A521 Request for written amendment filed

Free format text: JAPANESE INTERMEDIATE CODE: A523

Effective date: 20160411

TRDD Decision of grant or rejection written
A01 Written decision to grant a patent or to grant a registration (utility model)

Free format text: JAPANESE INTERMEDIATE CODE: A01

Effective date: 20160510

A61 First payment of annual fees (during grant procedure)

Free format text: JAPANESE INTERMEDIATE CODE: A61

Effective date: 20160608

R150 Certificate of patent or registration of utility model

Ref document number: 5951663

Country of ref document: JP

Free format text: JAPANESE INTERMEDIATE CODE: R150

R250 Receipt of annual fees

Free format text: JAPANESE INTERMEDIATE CODE: R250

S531 Written request for registration of change of domicile

Free format text: JAPANESE INTERMEDIATE CODE: R313531

R350 Written notification of registration of transfer

Free format text: JAPANESE INTERMEDIATE CODE: R350