JP5920132B2 - 熱交換器のブラケット取付装置 - Google Patents

熱交換器のブラケット取付装置 Download PDF

Info

Publication number
JP5920132B2
JP5920132B2 JP2012203774A JP2012203774A JP5920132B2 JP 5920132 B2 JP5920132 B2 JP 5920132B2 JP 2012203774 A JP2012203774 A JP 2012203774A JP 2012203774 A JP2012203774 A JP 2012203774A JP 5920132 B2 JP5920132 B2 JP 5920132B2
Authority
JP
Japan
Prior art keywords
side plate
plate
arm
bracket
vehicle body
Prior art date
Legal status (The legal status is an assumption and is not a legal conclusion. Google has not performed a legal analysis and makes no representation as to the accuracy of the status listed.)
Active
Application number
JP2012203774A
Other languages
English (en)
Other versions
JP2014059087A (ja
Inventor
竹尾 友宏
友宏 竹尾
Current Assignee (The listed assignees may be inaccurate. Google has not performed a legal analysis and makes no representation or warranty as to the accuracy of the list.)
Denso Corp
Original Assignee
Denso Corp
Priority date (The priority date is an assumption and is not a legal conclusion. Google has not performed a legal analysis and makes no representation as to the accuracy of the date listed.)
Filing date
Publication date
Application filed by Denso Corp filed Critical Denso Corp
Priority to JP2012203774A priority Critical patent/JP5920132B2/ja
Publication of JP2014059087A publication Critical patent/JP2014059087A/ja
Application granted granted Critical
Publication of JP5920132B2 publication Critical patent/JP5920132B2/ja
Active legal-status Critical Current
Anticipated expiration legal-status Critical

Links

Images

Landscapes

  • Details Of Heat-Exchange And Heat-Transfer (AREA)

Description

本発明は、熱交換器とブラケットとの取付構造に関するものである。
特許文献1には、サイドプレートに補強材を取付けることにより強度を向上させた熱交換器が開示されている。熱交換器は複数のチューブと、フィンと、断面コの字状に形成され断面コの字状の開口側が反チューブ側を向くようにチューブの積層方向端部に設けられたサイドプレートと、を備える。補強材は断面形状がコの字状であり、サイドプレートと組み合わせることで断面ロの字状となるように形成されている。このようにしてサイドプレートと補強材とが互いに重なった側壁部分をボルト等の機械的結合により結合し、サイドプレートと補強材とを固定する。特許文献1には記載されていないが、断面コの字状のサイドプレートと断面コの字状の他の部品とを固定する方法は、熱交換器と補強材とを固定する場合に限らず、熱交換器とブラケットとを固定する場合にも利用することが可能である。
特開2005−3264号公報
しかし、平板状のサイドプレートを備える熱交換器には上記方法を採用することはできない。そこで、平板状のサイドプレートを備える熱交換器とブラケットとを固定する方法として、コア部の端部に接続されたヘッダタンクの端部にブラケットを固定する方法が用いられている。しかし、ブラケットにおいて、ヘッダタンクおよびブラケットを固定するタンク挿嵌部とブラケットおよび車両を固定する車両取付部とが離れた位置に設けられている場合、車体の振動を受けてブラケットはタンク挿嵌部を支点として動き、車体取付部の位置が一定の位置に定まらない。このように車体取付部の位置が定まらないと、車体の振動を受けて、車体と熱交換器とが異なる方向に動く。車体と熱交換器との間には外部から熱交換器を構成するチューブに冷媒を流すための管が設けられており、車体と熱交換器とが異なる方向に動くことで、管に応力がかかり、管が破損するおそれがある。
そこで、本発明は上記問題点に鑑みてなされたものであり、その目的は車体の振動を受けてブラケットが動くことを抑制したブラケット取付装置を提供することである。
本発明は上記目的を達成するために以下の技術的手段を採用する。本願のブラケット取付装置に係る発明は、複数のチューブ(3a)と複数のフィン(3b)とを積層配置して接合されたコア部(3)と、チューブ(3a)内部に連通するようにコア部(3)の端部に接続されたヘッダタンク(4)と、コア部(3)のうち積層の方向の端部に設けられた平板状のサイドプレート(6)と、を有する熱交換器(2)、および、ヘッダタンク(4)を挿嵌するタンク挿嵌部(10)と、タンク挿嵌部(10)と結合されておりタンク挿嵌部(10)からサイドプレート(6)が延びる方向に延在しサイドプレート(6)と対向して設けられるプレート対向壁部(21)と、プレート対向壁部(21)にタンク挿嵌部(10)から離間して設けられサイドプレート(6)を支持するプレート支持部(20、20A)と、車体(7)に取付ける車体取付部(9a)と、を有するブラケット(8、8A)、を備えるブラケット取付装置であって、プレート支持部(20、20A)は、プレート対向壁部(21)からコア部(3)に向かって延在する少なくとも2つの腕部(24、29、29A)を有し、少なくとも2つの腕部(24、29、29A)は内側に突出した爪部(26、31、31A)を有し、少なくとも2つの腕部(24、29、29A)は、爪部(26、31、31A)がサイドプレート(6)においてコア部(3)と隣接する面と対向している状態で、サイドプレート(6)を挟持しており、腕部の幅はフィンの1ピッチよりも小さく形成されており、腕部の長さは、プレート支持部がサイドプレートを支持している状態において、腕部の先端が、サイドプレートに隣接して形成されているフィンの上まで延びる長さであることを特徴とする。
このような構成によれば、腕部がサイドプレートを幅方向に挟持しているため、車体の振動を受けてブラケットが、サイドプレートの幅方向(コア部の厚み方向)に動くことを抑制できる。また、爪部がサイドプレートにおいてコア部と隣接する面と対向しているので、ブラケットがチューブおよびフィンの積層方向であってコア部から遠ざかる方向に動こうとする場合、爪部とサイドプレートとが当接する。よって、ブラケットが前記遠ざかる方向に動くことを抑制することができる。以上のように本発明を採用することで、車体の振動を受けてブラケットが動くことを抑制することができる。
なお、特許請求の範囲および上記手段の項に記載した括弧内の符号は、ひとつの態様として後述する実施形態に記載の具体的手段との対応関係を示す一例であって、本発明の技術的範囲を限定するものではない。
第1実施形態のブラケット取付装置を示す斜視図である。 第1実施形態のブラケット取付装置を示す拡大斜視図である。 第1実施形態のブラケットをコンデンサに取付ける前の状態を示す拡大斜視図である。 第1実施形態のブラケット取付装置の側面図である。 図4中のV−V部の断面部である。 第1実施形態のブラケット取付装置の左側面図である 図6中のA部拡大図である。 第2実施形態のブラケット取付装置の左側面図である。
(第1実施形態)
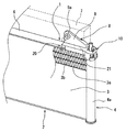
以下、本発明の第1実施形態について図1ないし図7を用いて詳細に説明する。本実施形態における熱交換器は車両のエンジンルームに配置されるコンデンサ2である。図1に示すように、コンデンサ2は、冷媒通路をなす複数のチューブ3aと複数のフィン3bとを積層配置して接合されたコア部3と、チューブ3a内部に連通するようにコア部3の両端部に接続されたヘッダタンク4と、を有する。ヘッダタンク4は、長手方向がチューブ3aおよびフィン3bの積層方向と平行となるように配置にされている。また、コア部3における前記積層方向端部には、コンデンサ2を補強するために平板形状のサイドプレート6が両ヘッダタンク4間に亘って設けられている。サイドプレート6の幅方向の長さは、コア部3の厚みと略同程度の長さである。
図3に示すように、ヘッダタンク4は、タンク本体を構成するパイプ部材4aと、パイプ部材4aの上下両面を閉口するキャップ部材4bとから構成されている。また、キャップ部材4bにはそれぞれ、後述するブラケット8に設けられた孔部13と嵌合する円柱状のピン5が設けられている。ブラケット8は樹脂製であり、図1に示すようにヘッダタンク4を挿嵌するタンク挿嵌部10と、サイドプレート6を支持するプレート支持部20と、車体7に取付ける車体取付部9aと、を有する。
図2および図3に示すように、タンク挿嵌部10は、ヘッダタンク4を挿入した場合に、一方の面がキャップ部材4bと重なるタンク挿嵌上壁部11とパイプ部材4aおよびキャップ部材4bの周囲を嵌め込むためのタンク挿嵌周壁部12とを備えている。タンク挿嵌上壁部11には、キャップ部材4bに設けられたピン5を嵌め込むための孔部13が設けられている。タンク挿嵌周壁部12の内周の大きさはパイプ部材4aの外周径より微小量だけ大きく形成されている。また、図5に示すようにタンク挿嵌周壁部12の内周面には、パイプ部材4aを支持するためのパイプ部材支持部14が複数個設けられている。
パイプ部材支持部14は、タンク挿嵌周壁部12の内周面である周壁部内周面12aに設けられた突起部からなる。パイプ部材支持部14は、ヘッダタンク4をタンク挿嵌部10に挿嵌する際にヘッダタンク4が進行する方向に延在して形成されている。このような構成により、図5に示すように、ヘッダタンク4をタンク挿嵌部10に挿嵌すると、パイプ部材4aの一部は周壁部内周面12aと当接し、また、パイプ部材4aの他の部分はパイプ部材支持部14が当接する。
ヘッダタンク4をタンク挿嵌部10に挿嵌し続けるとヘッダタンク4は、キャップ部材4bとタンク挿嵌上壁部11と当接する位置で停止する。このときピン5は孔部13に嵌め込まれる。図2に示すように、タンク挿嵌上壁部11における孔部13の縁には孔部13を貫通したピン5を支持するピン支持部15、16が2つ設けられている。孔部13は、タンク挿嵌上壁部11に形成された孔であり、ピン5の外形よりも微小量だけ大きい内径で形成されている。また、2つのピン支持部15、16は、孔部13の縁において互いに離間した位置に設けられ、ピン5を挿嵌する際にピン5が孔部13を貫通する方向に突出している。2つのピン支持部15、16は、前記縁からピン支持部先端15a、16aに亘って互いに完全に離間している。また、ピン支持部15、16は孔部13の縁において傾いて設置されている。ピン支持部15、16は、ピン支持部先端15a、16aに向かうにつれてピン支持部15、16同士の間隔が小さくなるように、それぞれ孔部13の中心軸に対して同じ角度だけ内側(互いに対向する方向)に向けて傾いている。したがって、2つのピン支持部15、16において互いに対向する面であるピン支持内周面15b、16b同士の距離はピン支持部先端15a、16aに向かうにつれて狭くなる。前記距離が最も狭くなるピン支持部先端15a、16aでは、前記距離はピン5の外形よりも微小量だけ小さくなるように設定されている。
このように、周壁部内周面12aおよびパイプ部材支持部14によりパイプ部材4aはタンク挿嵌周壁部12に支持され、ピン5はピン支持部15、16により支持され、ヘッダタンク4はタンク挿嵌部10に固定される。
図2に示すように、ブラケット8は、タンク挿嵌部10と結合されておりタンク挿嵌部10からサイドプレート6が延びる方向に延在しサイドプレート6と対向して設けられるプレート対向壁部21を備えている。プレート支持部20は、プレート対向壁部21においてタンク挿嵌部10と離間した位置に設けられている。本実施形態では、プレート支持部20は、プレート対向壁部21においてタンク挿嵌部10と反対側に位置する端部に設けられている。図2および図6に示すように、プレート支持部20はプレート対向壁部21の両端において、プレート対向壁部21からコア部3に向かって延在する2つ腕部24、29と後述するプレート対向凸部34と、から構成されている。
図6に示すように、2つの腕部24、29はプレート対向壁部21の幅方向両端部において互いに対向して設けられており、プレート対向壁部21と2つの腕部24、29とにより略断面コ字形状に形成されている。このような構成により腕部24、29によってサイドプレート6を挟持することが可能となる。2つの腕部24、29は同じ形状に形成されている。腕部24、29の一部は、互いに対向するように突出した爪部26、31を形成している。爪部26、31は、2つの腕部24、29において、互いに対向する面において、内側(腕部24、29がサイドプレート6を挟持した場合においてサイドプレート6が存在する方向)に突出している。さらに、腕部24、29には、爪部26、31の最も突出している爪部先端27、32(互いに対向する爪部26、31同士の距離が最も短くなる部分)から腕部先端28、33にかけて傾斜している腕部先端面35、36が形成されている。本実施形態では、腕部先端面35、36は、爪部先端27、32から腕部先端28、33にかけて間隔が広がるように傾斜して形成されている。
プレート対向壁部21および腕部24、29の結合部から爪部26、31上方までに相当する腕部対向面25、30同士の間隔はサイドプレート6の幅と略同程度に形成されている。また、腕部24、29同士の間隔は、爪部先端27、32において最も小さくなるように形成されており、その距離はサイドプレート6の幅よりも微小量だけ小さく形成されている。さらに、前記間隔は、爪部先端27、32から腕部24、29の先端28、33に亘って前述したように大きくなように形成されており、腕部先端28、33において最も大きくなる。
腕部24、29および爪部26、31はプレート支持部20がサイドプレート6を支持する際に、チューブ3aおよびフィン3bと干渉しない位置に形成されている。また、図4に示すように、腕部24、29の幅はフィンの1ピッチよりも小さく形成されている。腕部24、29の長さは、プレート支持部20がサイドプレート6を支持している状態において、腕部先端28、33が、サイドプレート6に隣接して形成されているフィン3b上まで延びる程度の長さである。さらに、ブラケット8は樹脂製であり弾力性を有するので、腕部24、29は、プレート対向壁部21と腕部24、29との結合部を支点として撓むことが可能となる。よって、腕部24、29は、プレート対向壁部21と腕部24、29との結合部を支点として撓みサイドプレート6を挟持することができる。以上のような構成により、プレート支持部20がコア部3を塞ぐ面積を極力小さくすることができ、コンデンサ2における熱交換性が低下することを抑制できる。
プレート支持部20にサイドプレート6を嵌合する際に、サイドプレート6は腕部先端面35、36と当接する。さらに嵌合し続けると、腕部24、29はサイドプレート6によって互いに離れる方向に押し広げられ、サイドプレート6は爪部26、31と当接し、その後爪部先端27、32と当接する。さらに嵌合し続けると、サイドプレート6は爪部先端27、32から離れプレート対向壁部21と爪部26、31との間に移動する。このとき腕部24、29は復元し、サイドプレート6を挟持する。このようにして、2つの腕部24、29は、爪部26、31がサイドプレート6においてコア部3と隣接する面と対向している状態で、サイドプレート6を挟持する。
腕部24、29がサイドプレート6を幅方向から挟持しているため、車体7の振動を受けてブラケット8が、サイドプレート6の幅方向(コア部3の厚み方向)に動くことを抑制できる。また、爪部26、31がサイドプレート6の面のうちコア部3と隣接する面と対向しているので、ブラケット8がチューブ3aおよびフィン3bの積層方向であってコア部3から遠ざかる方向(図4の実線矢印で示す方向)に動こうとする場合、爪部26、31とサイドプレート6とが当接する。よって、ブラケット8が前記遠ざかる方向に動くことを抑制できる。さらに、ブラケット8は、プレート支持部20の他に、プレート支持部20からサイドプレート6が延在する方向に離間して設けられているタンク挿嵌部10によってコンデンサ2と固定されているので、ブラケット8がサイドプレート6の延在する方向に動くことを抑制できる。以上のようにして、車体7の振動を受けてブラケット8が動くことを抑制することができる。
さらに、サイドプレート6と爪部26、31との間には隙間が形成されているので、車体7の振動を受けてサイドプレート6が爪部26、31から外力受け、サイドプレート6に応力が発生することを抑制できる。これにより、サイドプレート6が変形することを抑制することができる。
図6に示すようにプレート対向壁部21において、サイドプレート6と対向するプレート対向面22において、2つの腕部24、29の間にはサイドプレート6が存在する方向に突出した形状のプレート対向凸部34が形成されている。プレート対向凸部34は、プレート対向面22において幅方向中央部に設けられている。プレート対向凸部34の突出方向の高さは、サイドプレート6をプレート支持部20に嵌合した際に、サイドプレート6とプレート対向凸部34の先端34aとの間に微小な隙間が形成される程度に設定されている。つまり、前述したようにサイドプレート6が腕部24、29によって挟持されている状態においてサイドプレート6とプレート対向凸部先端34aとの間に微小な隙間が形成される。
このような構成により、腕部24、29は、プレート対向凸部先端34aがサイドプレート6と対向した状態で、サイドプレート6を挟持することができる。よって、ブラケット8がチューブ3aおよびフィン3bの積層方向であって、コア部3に近づく方向(図4の破線矢印で示す方向)に動くことを抑制できる。さらに、サイドプレート6とプレート対向凸部先端34aとの間に隙間が形成されているので、車体7の振動を受けてサイドプレート6がプレート対向凸部34から外力受け、サイドプレート6に応力が発生することを抑制できる。これにより、サイドプレート6が変形することを抑制できる。
図1に示すように、プレート対向壁部21において、ブラケット8をコンデンサ2に取り付けた状態でサイドプレート6と対向しない面であるプレート対向壁部上面23には、車体取付用プレート9が設けられている。車体取付用プレート9は、プレート対向壁部上面23に対して垂直方向に起立して設けられている。また、車体取付用プレート9には車体取付部9aが形成されている。車両取付部9aは、車両取付部9aと爪部26、31との距離が車両取付部9aとタンク挿嵌部10との距離よりも短くなるような位置に設けられている。
従来の構成では、ブラケット8とコンデンサ2とはタンク挿嵌部10のみで固定されていたので、車体7の振動を受けてブラケット8が動かないようにするためには、車体取付部9aをタンク挿嵌部10の近くに設ける必要があった。しかし、前述のように、ブラケット8とコンデンサ2とをタンク挿嵌部10およびプレート支持部20で固定し、ブラケット8が動くことを抑制しているので、車体取付部9aの位置は従来のように限定されない。
以上のように、本実施形態で述べたコンデンサ2のブラケット取付装置1を採用することで、車体取付部9aの設ける位置を制限することなく、ブラケット8が車体7の振動を受けて動くことを抑制することができる。
(第2実施形態)
第2実施形態では、第1実施形態と異なる部分について図8を用いて説明する。第1実施形態では、2つの腕部24、29および爪部26、31はそれぞれ同じ形状であったが、第2実施形態ではそれぞれ異なる形状で構成されている。図8に示すように、ブラケット取付措置1Aはプレート支持部20Aを有し、プレート支持部20Aを構成する腕部29Aの長さは腕部24の長さよりも長い。また、腕部先端面35および腕部先端面36Aの傾斜する角度が異なる。腕部29Aが延在する方向(図8に示す一点鎖線X)に対する腕部先端面35の傾斜角度をθ1とし、前記方向に対する腕部先端面36Aの傾斜角度をθ2とする。このとき、θ1がθ2よりも大きくなるように、それぞれの腕部先端面35、36Aは形成されている。
このような構成とすることで、プレート支持部20Aにサイドプレート6を嵌合する際に、サイドプレート6がはじめに一方の腕部29Aに当接し、その後、他の腕部24に当接する。つまり、サイドプレート6は、はじめに腕部29Aの腕部先端面36Aと当接し、腕部29Aはサイドプレート6から外力を受け、腕部24から離れる方向に撓む。さらにプレート支持部20Aにサイドプレート6を嵌合し続けると、サイドプレート6は腕部24に当接し、腕部24はサイドプレート6から外力を受け、腕部29Aから離れる方向に撓む。さらにプレート支持部20Aにサイドプレート6を嵌合し続けると、サイドプレート6は爪部26、31と当接しなくなり、プレート対向壁部21と爪部26、31との間に移動し、腕部24、29Aにより挟持される。
以上のように、サイドプレート6をプレート支持部20Aに嵌合する際に、サイドプレート6は、はじめに一方の腕部29Aと当接する。よって、サイドプレート6を嵌合する際に腕部24、29Aに掛かる荷重を非等分することができる。したがって、サイドプレート6をプレート支持部20Aに嵌合する際に、サイドプレート6に掛かる荷重を低減してサイドプレート6がプレート支持部20Aに嵌合し易くすることができる。
(その他の実施形態)
本発明は上述の実施形態に限定されることなく、本発明の趣旨を逸脱しない範囲内で、以下のように種々変形可能である。
(1)上記実施形態では、キャップ部材4bにピン5を設け、タンク挿嵌上壁部11に孔部13およびピン支持部15、16を設け、互いに対向するピン支持部15、16同士の間隔を変化させることで、ピン支持部15、16がピン5を挟持する構造とした。しかし、このような構造に限らず、ピンに凹部を設け、ピン支持部の内側の面(互いに対向する面)に前記凹部と嵌合するような凸部を形成することで、ピンとピン支持部とを固定してもよい。
(2)上記実施形態では、プレート対向壁部21に腕部24、29、29Aを一組だけ設けた構造であったが、このような構造に限らず、プレート対向壁部21に複数組の腕部を設ける構造としてもよい。
(3)第2実施形態では、2つの腕部24、29Aはそれぞれ異なる長さとしたが、このような構造に限らず、2つの腕部の長さを同一にして、腕部先端面の傾斜角度のみが異なるような構造としてもよい。
1、1A・・・ブラケット取付装置
2・・・コンデンサ(熱交換器)
3・・・コア部
3a・・・チューブ
3b・・・フィン
4・・・ヘッダタンク
6・・・サイドプレート
7・・・車体
8・・・ブラケット
9a・・・車体取付部
10・・・タンク挿嵌部
20、20A・・・プレート支持部
21・・・プレート対向壁部
24、29、29A・・・腕部
26、31、31A・・・爪部

Claims (3)

  1. 複数のチューブ(3a)と複数のフィン(3b)とを積層配置して接合されたコア部(3)と、
    前記チューブ(3a)内部に連通するように前記コア部(3)の端部に接続されたヘッダタンク(4)と、
    前記コア部(3)のうち前記積層の方向の端部に設けられた平板状のサイドプレート(6)と、を有する熱交換器(2)、および、
    前記ヘッダタンク(4)を挿嵌するタンク挿嵌部(10)と、
    前記タンク挿嵌部(10)と結合されており前記タンク挿嵌部(10)から前記サイドプレート(6)が延びる方向に延在し前記サイドプレート(6)と対向して設けられるプレート対向壁部(21)と、
    前記プレート対向壁部(21)に前記タンク挿嵌部(10)から離間して設けられ前記サイドプレート(6)を支持するプレート支持部(20、20A)と、
    車体(7)に取付ける車体取付部(9a)と、を有するブラケット(8、8A)、を備えるブラケット取付装置であって、
    前記プレート支持部(20、20A)は、前記プレート対向壁部(21)から前記コア部(3)に向かって延在する少なくとも2つの腕部(24、29、29A)を有し、
    前記少なくとも2つの腕部(24、29、29A)は内側に突出した爪部(26、31、31A)を有し、
    前記少なくとも2つの腕部(24、29、29A)は、前記爪部(26、31、31A)が前記サイドプレート(6)において前記コア部(3)と隣接する面と対向している状態で、前記サイドプレート(6)を挟持しており、
    前記腕部の幅は前記フィンの1ピッチよりも小さく形成されており、
    前記腕部の長さは、前記プレート支持部が前記サイドプレートを支持している状態において、前記腕部の先端が、前記サイドプレートに隣接して形成されている前記フィンの上まで延びる長さであることを特徴とするブラケット取付装置。
  2. 前記車体取付部(9a)と前記爪部(26、31、31A)との距離は、前記車体取付部(9a)と前記タンク挿嵌部(10)との距離よりも短いことを特徴とする請求項1に記載のブラケット取付装置。
  3. 前記プレート対向壁部(21)の前記サイドプレート(6)と対向する面(22)において、2つの前記腕部(24、29、29A)の間には凸部(34)が形成されており、
    前記腕部(24、29、29A)は、前記凸部(34)が前記サイドプレート(6)と対向した状態で、前記サイドプレート(6)を挟持することを特徴とする請求項1もしくは2に記載のブラケット取付装置。
JP2012203774A 2012-09-17 2012-09-17 熱交換器のブラケット取付装置 Active JP5920132B2 (ja)

Priority Applications (1)

Application Number Priority Date Filing Date Title
JP2012203774A JP5920132B2 (ja) 2012-09-17 2012-09-17 熱交換器のブラケット取付装置

Applications Claiming Priority (1)

Application Number Priority Date Filing Date Title
JP2012203774A JP5920132B2 (ja) 2012-09-17 2012-09-17 熱交換器のブラケット取付装置

Publications (2)

Publication Number Publication Date
JP2014059087A JP2014059087A (ja) 2014-04-03
JP5920132B2 true JP5920132B2 (ja) 2016-05-18

Family

ID=50615713

Family Applications (1)

Application Number Title Priority Date Filing Date
JP2012203774A Active JP5920132B2 (ja) 2012-09-17 2012-09-17 熱交換器のブラケット取付装置

Country Status (1)

Country Link
JP (1) JP5920132B2 (ja)

Families Citing this family (3)

* Cited by examiner, † Cited by third party
Publication number Priority date Publication date Assignee Title
JP5954116B2 (ja) * 2012-10-29 2016-07-20 株式会社デンソー ブラケット
WO2017047562A1 (ja) * 2015-09-16 2017-03-23 株式会社デンソー 熱電発電装置及びその製造方法
JP6390676B2 (ja) 2015-09-16 2018-09-19 株式会社デンソー 熱電発電装置

Family Cites Families (3)

* Cited by examiner, † Cited by third party
Publication number Priority date Publication date Assignee Title
JP2003148893A (ja) * 2001-11-09 2003-05-21 Denso Corp 熱交換器
JP2004211955A (ja) * 2002-12-27 2004-07-29 Calsonic Kansei Corp 熱交換器取付用のブラケット
JP2004271104A (ja) * 2003-03-11 2004-09-30 Zexel Valeo Climate Control Corp 熱交換器

Also Published As

Publication number Publication date
JP2014059087A (ja) 2014-04-03

Similar Documents

Publication Publication Date Title
JP6547576B2 (ja) 熱交換器
JP6394202B2 (ja) 熱交換器
JP5390417B2 (ja) 熱交換器およびその製造方法
JP5920167B2 (ja) 熱交換器
KR101946477B1 (ko) 열 교환기용 압인된 헤더
US9726439B2 (en) Tube and heat exchanger provided with tube
JP2006189206A (ja) 熱交換器
JP5920132B2 (ja) 熱交換器のブラケット取付装置
WO2007141924A1 (ja) 熱交換器
US12460872B2 (en) Heat exchanger and method for processing heat exchanger
JP4470755B2 (ja) 分離型空気調和機の室外ユニット
WO2015159529A1 (ja) 熱交換器
JP2009216151A (ja) シール構造およびそれを用いた熱交換器
KR20160121511A (ko) 열교환기
JP5559517B2 (ja) 熱交換器
JP7021925B2 (ja) 熱交換器
JP5954116B2 (ja) ブラケット
JP5612878B2 (ja) 熱交換器
JP6106546B2 (ja) 熱交換装置
JP2007205597A (ja) 熱交換器
JP2014043170A (ja) 熱交換器のブラケット取付装置
JP6919472B2 (ja) 熱交換器
JP4794279B2 (ja) 熱交換器
JP2016500435A (ja) 熱交換器ボトル、特に自動車空調回路凝縮器のための固定クランプ
JP2007271148A (ja) 熱交換器

Legal Events

Date Code Title Description
A621 Written request for application examination

Free format text: JAPANESE INTERMEDIATE CODE: A621

Effective date: 20141210

A977 Report on retrieval

Free format text: JAPANESE INTERMEDIATE CODE: A971007

Effective date: 20150916

A131 Notification of reasons for refusal

Free format text: JAPANESE INTERMEDIATE CODE: A131

Effective date: 20150929

A521 Request for written amendment filed

Free format text: JAPANESE INTERMEDIATE CODE: A523

Effective date: 20151123

TRDD Decision of grant or rejection written
A01 Written decision to grant a patent or to grant a registration (utility model)

Free format text: JAPANESE INTERMEDIATE CODE: A01

Effective date: 20160315

A61 First payment of annual fees (during grant procedure)

Free format text: JAPANESE INTERMEDIATE CODE: A61

Effective date: 20160328

R151 Written notification of patent or utility model registration

Ref document number: 5920132

Country of ref document: JP

Free format text: JAPANESE INTERMEDIATE CODE: R151

R250 Receipt of annual fees

Free format text: JAPANESE INTERMEDIATE CODE: R250

R250 Receipt of annual fees

Free format text: JAPANESE INTERMEDIATE CODE: R250

R250 Receipt of annual fees

Free format text: JAPANESE INTERMEDIATE CODE: R250

R250 Receipt of annual fees

Free format text: JAPANESE INTERMEDIATE CODE: R250

R250 Receipt of annual fees

Free format text: JAPANESE INTERMEDIATE CODE: R250

R250 Receipt of annual fees

Free format text: JAPANESE INTERMEDIATE CODE: R250

R250 Receipt of annual fees

Free format text: JAPANESE INTERMEDIATE CODE: R250