JP5909428B2 - 洗濯機 - Google Patents

洗濯機 Download PDF

Info

Publication number
JP5909428B2
JP5909428B2 JP2012185619A JP2012185619A JP5909428B2 JP 5909428 B2 JP5909428 B2 JP 5909428B2 JP 2012185619 A JP2012185619 A JP 2012185619A JP 2012185619 A JP2012185619 A JP 2012185619A JP 5909428 B2 JP5909428 B2 JP 5909428B2
Authority
JP
Japan
Prior art keywords
window
pump unit
heat pump
drum
air
Prior art date
Legal status (The legal status is an assumption and is not a legal conclusion. Google has not performed a legal analysis and makes no representation as to the accuracy of the status listed.)
Active
Application number
JP2012185619A
Other languages
English (en)
Other versions
JP2014042591A (ja
Inventor
充洋 松本
充洋 松本
Current Assignee (The listed assignees may be inaccurate. Google has not performed a legal analysis and makes no representation or warranty as to the accuracy of the list.)
Sharp Corp
Original Assignee
Sharp Corp
Priority date (The priority date is an assumption and is not a legal conclusion. Google has not performed a legal analysis and makes no representation as to the accuracy of the date listed.)
Filing date
Publication date
Application filed by Sharp Corp filed Critical Sharp Corp
Priority to JP2012185619A priority Critical patent/JP5909428B2/ja
Publication of JP2014042591A publication Critical patent/JP2014042591A/ja
Application granted granted Critical
Publication of JP5909428B2 publication Critical patent/JP5909428B2/ja
Active legal-status Critical Current
Anticipated expiration legal-status Critical

Links

Images

Landscapes

  • Main Body Construction Of Washing Machines And Laundry Dryers (AREA)
  • Detail Structures Of Washing Machines And Dryers (AREA)

Description

この発明は、洗濯機に関する。
従来、洗濯機としては、特許文献1(特開2011‐67233号公報)に示されるように、乾燥運転には、衣類の水分を含んだ空気が回転するドラムからヒートポンプユニットに導入され、このヒートポンプユニットで上記水分を含んだ空気の除湿,加熱を行い乾燥した温風を上記ドラムへ導入するようにしたものがある。
ところで、乾燥運転時に、上記ドラムからヒートポンプユニットに導入される空気には衣類のほこり,糸くず等が含まれており、このほこり,糸くず等が上記ヒートポンプユニットの熱交換器のフィン間の空気通路を目詰まりさせると、熱交換効率が低下する。
そこで、従来は、上記ヒートポンプユニットの熱交換器の熱交換効率が低下して、乾燥運転時間が長くなった場合、上記ヒートポンプユニットを取り外し、上記ヒートポンプユニットの外装ケースを外して、内部の熱交換器が目詰まりしているか否かを点検し、目詰まりしている場合は熱交換器を清掃している。
しかし、上記熱交換器を点検,清掃するために、上記ヒートポンプユニットを取り外し、さらに上記ヒートポンプユニットの外装ケースを外す必要があるので、点検,清掃作業に多くの労力と時間が必要になるという問題がある。
特開2011−67233号公報
そこで、この発明の課題は、ヒートポンプユニットの熱交換器の点検等を容易にする洗濯機を提供することにある。
また、この発明は、熱交換器の点検だけでなく、掃除を簡単,容易に行うことができる洗濯機を提供することにある。
上記課題を解決するため、この発明の洗濯機は、外箱と、
上記外箱内に配置された洗濯槽と、
上記洗濯槽内に回転自在に配置され、洗濯物を収容するドラムと、
上記ドラムを回転駆動する回転駆動部と、
上記外箱内に配置されていると共に熱交換器とこの熱交換器を収容する外装ケースとを有し、上記ドラムから導入される空気を乾燥させて上記ドラムへ導入するヒートポンプユニットと
を備え、
上記ヒートポンプユニットの上記外装ケースは、
上記空気の流路における上記熱交換器の上流側の端面を視認可能にする窓部を有し、
上記外箱は、着脱可能な背面カバーを有し、
上記外装ケースの窓部は、上記着脱可能な背面カバーに面している
ことを特徴としている。


また、上記窓部は、開閉可能に設けることができる。
この発明の洗濯機によれば、ヒートポンプユニットの外装ケースが有する窓部を通して熱交換器を目視でき、汚れ等の点検を行える。
また、この窓部を開閉可能に設けることで、該窓部を開けることによって、熱交換器の上流側の端面を点検できると共に上記熱交換器の上流側の端面を掃除できる。したがって、上記ヒートポンプユニットを外箱から取り外さなくても、上記窓部から上記熱交換器の上流側の端面の点検,掃除を容易に行うことができる。
この発明の洗濯機の実施形態の乾燥機能に関する概略構成を模式的に示す図である。 上記実施形態の外観を示す斜視図である。 上記実施形態のヒートポンプユニットの外装ケースを開けた様子を示す分解斜視図である。 上記実施形態のヒートポンプユニットの外装ケースの側面図である。 上記実施形態の外装ケースの窓枠部周辺の構造を示す斜視図である。 上記窓枠部に装着する窓蓋を裏側から見た様子を示す裏面図である。 上記窓蓋の側面図である。 上記実施形態の外箱の本体から背面カバーを取り外した様子を示す背面図である。 上記外箱の本体に背面カバーを装着した様子を示す背面図である。
以下、この発明を図示の実施の形態により詳細に説明する。
図1は、この発明の洗濯機の実施形態の乾燥機能に関する概略構成を模式的に示す図である。また、図2は、上記実施形態の外観を示す斜視図である。
図1に示すように、この実施形態は、外箱1と、外箱1内に配置された洗濯槽2と、洗濯槽2内に水平方向に対して予め定められた正面側で上向きとなる傾斜角をなす中心軸J回りに回転可能に配置され、洗濯物が収容されるドラム3と、このドラム3を中心軸J周りに回転駆動する回転駆動部としての電動機4を備える。上記洗濯槽2およびドラム3は、扉21側で開口し、扉21を開いて、ドラム3内に洗濯物を出し入れできる。扉21を閉じることで、洗濯槽2は水密かつ気密が保たれる。なお、中心軸Jは、水平方向に対して略平行であってもよい。
また、この実施形態は、外箱1の背面側下部にヒートポンプユニット13が配置されている。このヒートポンプユニット13と洗濯槽2の排気口22との間に空気循環ダクト23が接続され、ヒートポンプユニット13と洗濯槽2の吸気口25との間に送風ダクト26が接続されている。この送風ダクト26には送風機11が接続されている。
ドラム3には、周面3Aに洗濯槽2内との間で水や空気の流通を可能にする複数の貫通孔(図示せず)が形成されている。また、ドラム3の底面3Bには洗濯槽2の吸気口25に連通する複数の空気導入孔(図示せず)が形成されている。これにより、ヒートポンプユニット13から送風ダクト26を経て供給される乾燥した加熱空気は、図1に矢印Yで示すように吸気口25からドラム3内に導入できる。また、ドラム3内に収容された衣類等の乾燥対象物5から水分を奪った加熱空気は吸湿空気となり、図1に矢印Zで示すようにドラム3の周面3Aの貫通孔から洗濯槽2内に抜け、洗濯槽2の排気口22から空気循環ダクト23に向けて排気され、この空気循環ダクト23を通ってヒートポンプユニット13に導入される。
ヒートポンプユニット13は、蒸発器10と圧縮機7と凝縮器8と膨張弁9とが冷媒配管14で接続され、圧縮機7で圧縮された冷媒が凝縮器8、膨張弁9、蒸発器10の順に流れる。また、圧縮機7の吐出側の冷媒配管14には、状態検知手段としての温度センサ16等が取り付けられ、この温度センサ16で測定した冷媒温度に応じて、制御用コンピュータ等で構成した圧縮機能力制御部15が圧縮機7の能力を制御可能になっている。また、必要に応じて膨張弁9の制御が行われる。
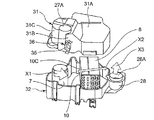
図3,図4に示すように、ヒートポンプユニット13は、蒸発器10,圧縮機7,凝縮器8,またこの図では図示されていない膨張弁9,冷媒配管14を収容する外装ケース27を有する。この外装ケース27の吸気口27Aが空気循環ダクト23に接続される。また、外装ケース27は、排気管28を有し、排気管28の排気口28Aが送風ダクト26に接続される。排気管28内には送風機11が設置されている。
図3に示すように、外装ケース27は、上側部31と下側部32とを有し、この上側部31と下側部32は、取り外し可能で嵌合されることで一体となり、装着時にはパッキン等を介して互いに気密,液密に嵌合される。上側部31の吸気口27Aから外装ケース27内に導入された空気は、矢印X1,X2,X3で示すように、下側部32内に設置された蒸発器10と凝縮器8を順に通って、排気管28の排気口28Aから排気される。
また、図3に示すように、外装ケース27は、上側部31に略四角形状の窓孔35を有する窓枠部36が形成されている。図5は、外装ケース27の上側部31の窓枠部36周辺の構造を示す斜視図である。また、外装ケース27は、図4に示すように、窓枠部36の窓孔35を気密かつ液密に塞ぐような窓蓋37を有する。図6Aに、窓蓋37を裏側から見た様子を示す。また、図6Bは、窓蓋37の側面図である。窓蓋37と窓枠部36が窓部38を構成している。
窓蓋37は、略四角形状の蓋枠37Eを有し、この蓋枠37Eが窓枠部36の外周面に被さるように密に嵌合される。また、窓蓋37は、外装ケース27の上側部31に設けたビス止め部41のねじ穴41Aに、図4に示すビス48で締結される締結部37Aを有する。また、窓蓋37は、外装ケース27の上側部31に設けた突起部43に形成されたスリット44に差し込まれて密に嵌合する差し込み部37Bを有する。さらに、窓蓋37は、締結部37Aの両脇に形成された1対の爪部37C,37Dを有する。この爪部37C,37Dは、上側部31のビス止め部41の両脇に設けた突起部45,46に形成された嵌合孔45A,46Aに嵌合されて突起部45,46に係止される。窓蓋37は、締結部37A,爪部37C,37D,差し込み部37Bでもって、窓枠部36に気密,液密に嵌合,固定される。また、窓蓋37は、上側部31のスリット44、嵌合孔45A,46A等で位置決められ、ビス48で締結され、気密,液密状態で固定され、ビス48を取り外すことで着脱可能となる。
さらに、窓蓋37は透明部材で構成されており、外装ケース27内を目視できる。特に、この窓蓋37を通して、蒸発器10の上流側が目視できる状態で設けられている。
図7,図8に示すように、外箱1は、本体51と、この本体51に対して正面側に設けられた扉21と反対側の面が、着脱可能な背面カバー52を有する。ヒートポンプユニット13は、外装ケース27の窓蓋37が本体51に装着した背面カバー52に面するように、本体51の底部に載置されている。
上記構成の洗濯機では、図2に示すように、外箱1の正面に運転動作を選択指示入力すると共に運転状態を表示する操作表示部60を備える。この操作表示部60から運転コースの選択や各工程の時間設定などを入力すると、上記選択や設定が制御部(図示せず)に入力され、この制御部による制御によって洗濯から乾燥までを一連の動作として実行させることや、乾燥運転のみを実行させることができる。
乾燥運転では、回転ドラム3が駆動モータ4によって乾燥動作に対応する回転速度で回転されて、衣類等の乾燥対象物5を撹拌すると共に、ヒートポンプユニット13および送風機11が駆動されて乾燥用空気の循環が開始される。
ヒートポンプユニット13では、図1に示す圧縮機7により冷媒が圧縮され、この冷媒は圧縮機7から冷媒配管14を通って凝縮器8、膨張弁(絞り手段)9、蒸発器10、圧縮機7を順に循環する。圧縮された冷媒の熱は凝縮器8に流入することにより、凝縮器8内に配設された冷媒管路8Aに設けられたフィン8Bに接する空気に放熱されるので、加熱空気となって、送風機11から送風ダクト26を通って、吸気口25からドラム3内に供給される。
これにより、上記加熱空気は、ドラム3内で撹拌される衣類等の乾燥対象物5から水分を奪った吸湿空気となって、排気口22から空気循環ダクト23に排出される。
空気循環ダクト23に送風された吸湿空気は、ヒートポンプユニット13の吸気口27Aからヒートポンプユニット13内の空間に入り、膨張弁9により減圧されて低圧となった冷媒が冷媒管路10Aを流れる蒸発器10のフィン10Bを通過(図1参照)する際に熱が奪われて除湿される。除湿されることにより生じた結露水は図示しない貯水部に滴下し、除湿されて乾いた空気は凝縮器8に入って再び加熱される。上記貯水部に貯留された水は、排水ポンプが一定時間毎に運転されることにより、洗濯槽2内に排出され、排水弁が開かれることにより排水口から排水管路を通って外部に排水される。
乾燥用空気をヒートポンプユニット13により加熱,除湿するヒートポンプ方式の乾燥機能の構成は、蒸発器10で吸熱した熱を冷媒で回収して再び凝縮器8から放熱するので、圧縮機7に入力したエネルギー以上の熱量を衣類等の乾燥対象物5に与えることができ、乾燥時間の短縮と省エネルギーとを実現することが可能となる。
ここで、上記乾燥運転時に、ドラム3から空気循環ダクト23に導入される空気には衣類のほこり,糸くず等が含まれているので、空気循環ダクト23に糸くずフィルタ(図示せず)を設けて、空気循環ダクト23からヒートポンプユニット13にほこり,糸くず等が入ることを防ぐようにしている。
しかし、上記ほこり,糸くず等が上記糸くずフィルタを通り抜けて、ヒートポンプユニット13の外装ケース27の吸気口27Aからヒートポンプユニット13内に浸入することがある。この浸入したほこり,糸くず等は、蒸発器10の上流側の端面10Cでフィン10Bに引っ掛かってフィン10B間の空気通路を目詰まりさせることがある。フィン10Bは、非常に狭い間隔で密状態で設けられているのが現状で、上流側でフィルタとして機能を果たすことにもなる。よって、フィン10Bには糸くずフィルタをすりぬける非常に細かなほこり等が引っ掛かる。
これに対し、本実施形態では、ヒートポンプユニット13の外装ケース27が、窓孔35を有する窓枠部36と、この窓枠部36の窓孔35を気密,液密に塞ぐ窓蓋37とが構成する窓部38を備えている。この実施形態では、窓部38により、次に述べるようにして、外箱1からヒートポンプユニット13を取り外さなくても、ヒートポンプユニット13の蒸発器10の点検,掃除を簡単,容易に行うことができる。
すなわち、ヒートポンプユニット13の蒸発器10の点検,掃除を行うには、まず、図7の背面図に示す外箱1の本体51から、図8に示す背面カバー52を取り外す。この背面カバー52は、例えばねじ等で本体51にねじ止めされている。背面カバー52を取り外すと、図7に示すように、本体51の下部に取り付けられたヒートポンプユニット13の外装ケース27の窓部38が露出する。
この窓部38の窓蓋37が透明部材で構成されているため、先に説明したように蒸発器10の上流側、すなわちほこり等が引っ掛かった状態等を目視、つまり視認できる。この視認により、蒸発器10での不具合等を点検できる。
もし、窓蓋37が透明部材で構成されていない場合であっても、以下に説明するように容易にヒートポンプユニット13の内部、つまり外装ケース27の内部を上述したように点検できる。
すなわち、窓蓋37を窓枠部36に締結している図4に示すビス48を緩めて、外装ケース27のビス止め部41のねじ穴41Aから外し、図6A,図6Bに示す窓蓋37の爪部37C,37Dを弾性で撓ませながら、図5の突起部45,46の嵌合孔45A46Aと爪部37C,37Dとの嵌合を解除して、締結部37A,爪部37C,37Dを持ち上げ、さらに、窓蓋37の差し込み部37Bを、図5の突起部43のスリット44から抜き出す。これにより、窓蓋37を窓枠部36から取り外すことができ、窓部38が開かれて、窓枠部36の窓孔35から蒸発器10の上流側端面10Cを視認,点検することが可能になる。なお、窓枠部36への窓蓋37の装着は、上述と逆の手順で行う。すなわち、窓蓋37の差し込み部37Bを、図5の突起部43のスリット44に差し込み、次に、爪部37C,37Dを図5の突起部45,46の嵌合孔45A46Aに嵌合させて、蓋枠37Eを窓枠部36の外周面に密に嵌合させる。そして、蓋部37の締結部37Aをビス48でビス止め部41に締結する。これにより、窓蓋37を窓枠部36に気密,液密に嵌合,固定できる。
また、窓孔35から蒸発器10の上流側端面10Cを視認し、点検し、問題ないことが確認できれば、上述したように窓蓋37を固定すればよい。もし、点検の結果、目詰まり等を確認すれば、それを除去するための掃除を窓孔35から行える。例えば、窓孔35から掃除機の吸込みノズル(図示せず)を差し込むことで、蒸発器10の上流側端面10Cに堆積したほこり,糸くず等を吸い込んで、蒸発器10の上流側端面10Cを掃除することができる。
なお、強力な吸引力を有する掃除機であれば、吸引口を吸引ノズルを窓孔35の外側より被せるようにすることで、蒸発器10の上流側端面10Cに引っ掛かったほこり等を含め、外装ケース27内全域の視認できない部分のほこり等を合わせて除去することもできる。
このように、この実施形態の洗濯機によれば、背面カバー52を本体51から取り外すだけで、ヒートポンプユニット13を外箱1から取り外すことなく、簡単に蒸発器10の上流側端面10Cの点検を行える。また、窓部38を開いて窓枠部36の窓孔35から蒸発器10の上流側端面10Cの点検だけでなく,掃除を簡単,容易に行うことができる。
尚、上記実施形態において、窓部38を窓孔35を有する窓枠部36と、この窓枠部36の窓孔35を気密,液密に塞ぐ窓蓋37とで構成したが、窓孔を有する窓枠部とこの窓枠部に開閉自在に取り付けられた窓扉とで窓部を構成してもよい。上記窓扉を閉じることで上記窓孔が気密,液密に塞がれ、上記窓扉を開くことで上記窓孔が露出される。また、上記窓蓋や窓扉を透明部材としてもよい。この場合、窓蓋や窓扉を開くことなく、ヒートポンプユニットの蒸発器を視認して点検することができる。また、上記実施形態では、図7に示すように、外箱1の背面カバー52に面する外装ケース27の上側部31の側面31Bの位置に、ヒートポンプユニット13の外装ケース27の窓部38を配置したが、図3に示す外装ケース27の上側部31の上面31Aや他の側面31Cに窓部を配置してもよい。また、上記窓部の形状は、略四角形状に限らないのは勿論で円形状や楕円形状や多角形状等としてもよい。
以上説明した洗濯機は、ドラムを横方向に配置したドラム式洗濯機である。この発明は、ドラム式洗濯機だけでなく、ドラムを縦方向に設けた縦型洗濯機にも、そのまま利用できる。縦型洗濯機は、上部が開口され底部を有底の筒形状の洗濯槽内に、回転可能に設けられ洗濯物を収容し洗濯、乾燥を行う上部が開口され、底部が有底の筒形状のドラムを設けている。このような構成においても、当然ヒートポンプユニットを設けて洗濯物の乾燥を行う場合、上述した構成のものをそのまま適用できる。
1 外箱
2 洗濯槽
3 ドラム
3A 周面
3B 底面
4 電動機
7 圧縮機
8 凝縮器
8A 冷媒管路
8B フィン
9 膨張弁
10 蒸発器
10A 冷媒管路
10B フィン
10C 上流側端面
11 送風機
13 ヒートポンプユニット
14 冷媒配管
15 圧縮機能力制御部
16 温度センサ
21 扉
23 空気循環ダクト
25 吸気口
26 送風ダクト
27 外装ケース
27A 吸気口
28 排気管
28A 排気口
31 上側部
31A 上面
31B,31C 側面
32 下側部
35 窓孔
36 窓枠部
37 窓蓋
37A 締結部
37B 差し込み部
37C,37D 爪部
41 ビス止め部
43,45,46 突起部
44 スリット
48 ビス
51 本体
52 背面カバー

Claims (3)

  1. 外箱と、
    上記外箱内に配置された洗濯槽と、
    上記洗濯槽内に回転自在に配置され、洗濯物を収容するドラムと、
    上記ドラムを回転駆動する回転駆動部と、
    上記外箱内に配置されていると共に熱交換器とこの熱交換器を収容する外装ケースとを有し、上記ドラムから導入される空気を乾燥させて上記ドラムへ導入するヒートポンプユニットと
    を備え、
    上記ヒートポンプユニットの上記外装ケースは、
    上記空気の流路における上記熱交換器の上流側の端面を視認可能にする窓部を有し、
    上記外箱は、着脱可能な背面カバーを有し、
    上記外装ケースの窓部は、上記着脱可能な背面カバーに面している
    ことを特徴とする洗濯機。
  2. 請求項1に記載の洗濯機において、
    上記窓部は、開閉可能に設けられ、少なくとも上記熱交換器の上流側の端面を掃除可能にすることを特徴とする洗濯機。
  3. 請求項1または2に記載の洗濯機において、
    上記窓部は、透明であることを特徴とする洗濯機。
JP2012185619A 2012-08-24 2012-08-24 洗濯機 Active JP5909428B2 (ja)

Priority Applications (1)

Application Number Priority Date Filing Date Title
JP2012185619A JP5909428B2 (ja) 2012-08-24 2012-08-24 洗濯機

Applications Claiming Priority (1)

Application Number Priority Date Filing Date Title
JP2012185619A JP5909428B2 (ja) 2012-08-24 2012-08-24 洗濯機

Publications (2)

Publication Number Publication Date
JP2014042591A JP2014042591A (ja) 2014-03-13
JP5909428B2 true JP5909428B2 (ja) 2016-04-26

Family

ID=50394338

Family Applications (1)

Application Number Title Priority Date Filing Date
JP2012185619A Active JP5909428B2 (ja) 2012-08-24 2012-08-24 洗濯機

Country Status (1)

Country Link
JP (1) JP5909428B2 (ja)

Cited By (1)

* Cited by examiner, † Cited by third party
Publication number Priority date Publication date Assignee Title
US11186943B2 (en) 2017-10-09 2021-11-30 Whirlpool Corporation Filter configured for being used in a machine for drying laundry and machine for drying laundry equipped with such a filter

Families Citing this family (2)

* Cited by examiner, † Cited by third party
Publication number Priority date Publication date Assignee Title
MX2018004045A (es) 2015-10-05 2018-08-01 M Technique Co Ltd Particulas de oxido de metal y metodo para producir las mismas.
CN107780180B (zh) * 2016-08-30 2020-09-08 青岛海尔滚筒洗衣机有限公司 一种换热器和具有该换热器的洗衣机

Family Cites Families (6)

* Cited by examiner, † Cited by third party
Publication number Priority date Publication date Assignee Title
JP2006187449A (ja) * 2005-01-06 2006-07-20 Toshiba Corp 洗濯乾燥機
JP4834342B2 (ja) * 2005-07-26 2011-12-14 株式会社東芝 ドラム式洗濯乾燥機
JP4836658B2 (ja) * 2006-05-11 2011-12-14 株式会社東芝 洗濯乾燥機
JP4676407B2 (ja) * 2006-09-27 2011-04-27 パナソニック株式会社 ドラム式洗濯乾燥機
JP5104579B2 (ja) * 2008-06-18 2012-12-19 パナソニック株式会社 ドラム式洗濯乾燥機
JP2011098021A (ja) * 2009-11-05 2011-05-19 Panasonic Corp 衣類乾燥機

Cited By (2)

* Cited by examiner, † Cited by third party
Publication number Priority date Publication date Assignee Title
US11186943B2 (en) 2017-10-09 2021-11-30 Whirlpool Corporation Filter configured for being used in a machine for drying laundry and machine for drying laundry equipped with such a filter
US11761141B2 (en) 2017-10-09 2023-09-19 Whirlpool Corporation Filter configured for being used in a machine for drying laundry and machine for drying laundry equipped with such a filter

Also Published As

Publication number Publication date
JP2014042591A (ja) 2014-03-13

Similar Documents

Publication Publication Date Title
CN109338685B (zh) 衣物烘干机
CN102108623B (zh) 烘干机及洗涤烘干机
TWI633225B (zh) washing machine
CN103103719B (zh) 滚筒式洗涤干燥机
JP5147807B2 (ja) 乾燥機及び洗濯乾燥機
JP6282196B2 (ja) ドラム式洗濯乾燥機
JP5909428B2 (ja) 洗濯機
JP6295424B2 (ja) 洗濯乾燥機
CN102653919B (zh) 除去装置及烘干装置
JP6373020B2 (ja) 乾燥機
JP5010626B2 (ja) 洗濯乾燥機
JP2001300192A (ja) 洗濯乾燥機
JP2014033841A (ja) 衣類乾燥機
JP4676292B2 (ja) 衣類乾燥装置
CN102653913B (zh) 烘干装置
JP4996636B2 (ja) 洗濯乾燥機
JP2011050565A (ja) 衣類乾燥機
CN110219149A (zh) 衣物干燥机
CN2740639Y (zh) 洗涤干燥机
CN102653915B (zh) 除去装置以及烘干装置
JP5028369B2 (ja) 乾燥機及び洗濯乾燥機
JP2011050564A (ja) 衣類乾燥機
JP5010136B2 (ja) 洗濯乾燥機及びその組立方法
WO2017043016A1 (ja) 衣類乾燥装置
CN103938422A (zh) 衣物干燥机

Legal Events

Date Code Title Description
A621 Written request for application examination

Free format text: JAPANESE INTERMEDIATE CODE: A621

Effective date: 20150318

A977 Report on retrieval

Free format text: JAPANESE INTERMEDIATE CODE: A971007

Effective date: 20151113

A131 Notification of reasons for refusal

Free format text: JAPANESE INTERMEDIATE CODE: A131

Effective date: 20151124

A521 Written amendment

Free format text: JAPANESE INTERMEDIATE CODE: A523

Effective date: 20151222

A131 Notification of reasons for refusal

Free format text: JAPANESE INTERMEDIATE CODE: A131

Effective date: 20160119

A521 Written amendment

Free format text: JAPANESE INTERMEDIATE CODE: A523

Effective date: 20160202

TRDD Decision of grant or rejection written
A01 Written decision to grant a patent or to grant a registration (utility model)

Free format text: JAPANESE INTERMEDIATE CODE: A01

Effective date: 20160301

A61 First payment of annual fees (during grant procedure)

Free format text: JAPANESE INTERMEDIATE CODE: A61

Effective date: 20160328

R150 Certificate of patent or registration of utility model

Ref document number: 5909428

Country of ref document: JP

Free format text: JAPANESE INTERMEDIATE CODE: R150