JP5778043B2 - ボルト締付機 - Google Patents

ボルト締付機 Download PDF

Info

Publication number
JP5778043B2
JP5778043B2 JP2012000443A JP2012000443A JP5778043B2 JP 5778043 B2 JP5778043 B2 JP 5778043B2 JP 2012000443 A JP2012000443 A JP 2012000443A JP 2012000443 A JP2012000443 A JP 2012000443A JP 5778043 B2 JP5778043 B2 JP 5778043B2
Authority
JP
Japan
Prior art keywords
push rod
head
drive cylinder
socket
retaining
Prior art date
Legal status (The legal status is an assumption and is not a legal conclusion. Google has not performed a legal analysis and makes no representation as to the accuracy of the status listed.)
Active
Application number
JP2012000443A
Other languages
English (en)
Other versions
JP2013139069A (ja
Inventor
元宏 平尾
元宏 平尾
安宏 佐藤
安宏 佐藤
健一 塩田
健一 塩田
Current Assignee (The listed assignees may be inaccurate. Google has not performed a legal analysis and makes no representation or warranty as to the accuracy of the list.)
TONE CO., LTD.
Original Assignee
TONE CO., LTD.
Priority date (The priority date is an assumption and is not a legal conclusion. Google has not performed a legal analysis and makes no representation as to the accuracy of the date listed.)
Filing date
Publication date
Application filed by TONE CO., LTD. filed Critical TONE CO., LTD.
Priority to JP2012000443A priority Critical patent/JP5778043B2/ja
Publication of JP2013139069A publication Critical patent/JP2013139069A/ja
Application granted granted Critical
Publication of JP5778043B2 publication Critical patent/JP5778043B2/ja
Active legal-status Critical Current
Anticipated expiration legal-status Critical

Links

Images

Landscapes

  • Details Of Spanners, Wrenches, And Screw Drivers And Accessories (AREA)

Description

本発明は、ソケットをドライブ筒に装着し、ハンドルの操作によりドライブ筒を回動して手動でボルト又はナットを締め付けるボルト締付機に関するものであり、より具体的には、ソケットがドライブ筒から意図せず外れてしまうことを防止できるボルト締付機に関する。
ボルト又はナットと嵌合するソケットをドライブ筒に嵌挿し、ハンドルの操作によりドライブ筒を回動してボルトを締め付ける所謂ラチェットハンドルやトルクレンチと称される手動式のボルト締付機が広く知られている(例えば、特許文献1参照)。
ソケットはボルトやナットのサイズ応じて交換できるよう、ドライブ筒に対して着脱自在となっている。
ソケットをドライブ筒に装着したときに、ソケットがドライブ筒から脱落しないように、特許文献1では、ドライブ筒に形成した横孔にスプリングによって外側へ付勢された抜止め球体を配備し、該球体をソケットの内周壁に形成した凹溝に嵌合させている。
しかしながら、上記構成では、サイズの大きいボルトやナットに対応した大型のソケットを用いる場合や、締付時にソケットに大きな力が作用する場合などに、抜止め球体がスプリングの付勢力に抗して後退し、ドライブ筒からソケットが脱落してしまうことがある。
そこで、ドライブ筒内に軸方向に沿ってスライド可能なプッシュロッドをその頭部が突出するよう配置し、該プッシュロッドをユーザの操作により押し込んで、抜止め球体の出没を操作できるようにしたボルト締付機も提案されている(例えば、特許文献2参照)。
特開平9−207075号公報 実用新案登録第3150148号
しかしながら、特許文献2のボルト締付機では、前述のとおりプッシュロッドの頭部が突出しており、この突出した頭部を押し込むことでプッシュロッドをスライド操作するようにしている。このため、プッシュロッドの頭部が誤って押されたり、締付中などに突出しているプッシュロッドが他の部材に当たって、意図せずソケットが外れてしまうことがあった。
本発明の目的は、意図せずソケットが外れてしまうことのないボルト締付機を提供することである。
上記課題を解決するために、本願発明のボルト締付機は、
ハンドルの先端に設けられたヘッド部と、
該ヘッド部に取り付けられ、ボルト及び/又はナットと嵌合するソケットを装着可能なドライブ筒と、
該ドライブ筒に開設された挿通孔に嵌まり、挿通孔内でスライド可能なプッシュロッドと、
前記ドライブ筒の側面から出没可能であり、プッシュロッドにより出没が規制される抜止め球体と、
を具えたボルト締付機において、
プッシュロッドは、ヘッド部よりも凹んだ位置でスライド可能に配備される。
本発明によれば、プッシュロッドは、ユーザの操作に係る頭部がヘッド部よりも凹んだ位置に設けられており、突出していないので、プッシュロッドの操作には、細径の治具が必要であり、ユーザが意図せず操作してしまったり、他の部材に当たって操作されてしまうことはない。
従って、ドライブ筒に装着されたソケットの意図しない脱落を防止することができる。
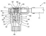
本発明の一実施例であるラチェットハンドルの先端の要部断面図であって、ドライブ筒にソケットを取り付ける前の状態を示している。 ドライブ筒の分解図斜視図である。 プッシュロッドを押し込んで、ソケットが着脱可能な状態であるラチェットハンドルの要部断面図である。 プッシュロッドを押し込んで、ソケットをソケット取付部へ取り付け又は取り外し途上にあるラチェットハンドルの要部断面図である。 ドライブ筒にソケットが取り付けられた状態を示すラチェットハンドルの要部断面図である。
本発明のボルト締付機について、図1乃至図5に基づき説明する。以下では、ボルト締付機として、ラチェットハンドル(10)を例に挙げるが、本発明はラチェットハンドル(10)に限定されず、トルクレンチやその他の手動式の工具にも適用できることは勿論である。
ラチェットハンドル(10)は、図1に示すように、使用者の掴むハンドル(11)と、該ハンドル(11)の先端のヘッド部(12)を有し、該ヘッド部(12)にドライブ筒(20)が嵌まっている。ドライブ筒(20)は、先端側に角柱状のソケット取付部(21)を有しており、ソケット取付部(21)がヘッド部(12)から突出した状態でヘッド部(12)に取り付けられている。
より具体的には、ドライブ筒(20)は、図1に示すように、周面に形成されたドライブギア(22)を介して、ヘッド部(12)のラチェット機構(13)と噛合し、ラチェット機構(13)の切替レバー(14)を切り替えることで、ハンドル(11)の回転が一方向のみドライブ筒(20)に伝わり、他方向ではドライブ筒(20)が空転するよう構成されている。
また、ドライブ筒(20)に取り付けられるソケット(70)は、図1及び図3に示すように、ドライブ筒(20)のソケット取付部(21)に嵌まる断面矩形の取付孔(71)を有しており、先端にボルトやナットが嵌まる差込穴(73)が形成されている。差込穴(73)は、6角や12角のものを例示でき、ソケット(70)は、ボルトやナットのサイズに合わせた差込穴(73)のものが準備される。
取付孔(71)には、ソケット(70)をソケット取付部(21)に保持するための後述する抜止め球体(50)の嵌まる凹溝(72)が形成されている。図示の実施例では、凹溝(72)は、断面矩形の取付孔(71)の各面に凹設している。これにより、ソケット(70)の回転方向の向きを気にすることなく取付けを行なうことができる。
ドライブ筒(20)には、軸芯に沿う方向に挿通孔(30)が形成されており、該挿通孔(30)には、後述するプッシュロッド(40)が頭部(45)を埋没した状態でスライド可能に配備される。
より具体的には、挿通孔(30)は、複数の段部を具える構成とすることができ、種々の異なる内径を有している。例えば、図1に示すように、挿通孔(30)は、先端側からロッドスライド孔(31)、スプリング用孔(32)、頭部スライド孔(33)、押え部材(61)の取り付けられる押え部材取付溝(34)、抜止め部材(63)が取り付けられる抜止め用溝(35)の順で径が大きくなっており、基端は押え部材(61)を挿入できるように押え部材取付溝(34)と略同口径に縮径して開口している。なお、スプリング用孔(32)と頭部スライド孔(33)は同径としてもよい。
また、図1及び図2に示すように、ドライブ筒(20)は、ソケット取付部(21)の側面にドライブ筒(20)の軸芯と直交する向きに横孔(24)が形成されている。該横孔(24)には、ソケット(70)と係合する抜止め球体(50)が転動又はスライド可能に収容される。横孔(24)は、外側端が縮径しており、ソケット取付部(21)から抜止め球体(50)の一部が臨出して、ソケット(70)との係合を許容するが、抜止め球体(50)が外側に脱落することを阻止する脱落止め(25)が設けられている。
抜止め球体(50)は鋼球製とすることができ、その直径は、後述するプッシュロッド(40)の押出凹部(42)と当接した状態で、横孔(24)から臨出して、ソケット(70)の凹溝(72)と係合可能であり、プッシュロッド(40)の逃し凹部(44)に嵌まったときには、横孔(24)内に後退するよう調整される。
ドライブ筒(20)の挿通孔(30)には、プッシュロッド(40)がスライド可能に挿入される。プッシュロッド(40)は、図1及び図2に示すように、軸状、より具体的には円柱状のロッド部(41)と、該ロッド部(41)の基端側の拡径した円板状の頭部(45)を具える。
ロッド部(41)は、長さ方向のやや先端側に、抜止め球体(50)を横孔(24)から臨出させるよう押し出す浅底の押出凹部(42)と、該押出凹部(42)の上側に連続し、軸芯側へ傾斜したテーパ面(43)を介して、抜止め球体(50)を後退させて、横孔(24)内へ埋没させる深底の逃し凹部(44)が凹設されている。
押出凹部(42)は、図1に示すように、頭部(45)が最も上方へ移動した状態で、横孔(24)と対向する位置に形成され、逃し凹部(44)は、図3及び図4に示すように、プッシュロッド(40)が押し込まれた状態で、横孔(24)と対向する位置に形成される。
プッシュロッド(40)は、図1及び図2に示すように、ロッド部(41)にスプリング(60)を嵌装した状態で挿通孔(30)へ挿入され、押え部材取付溝(34)にワッシャの如き環状の押え部材(61)を装着し、スプリング(60)の付勢力によりプッシュロッド(40)と押え部材(61)が挿通孔(30)から抜け出ないように、抜止め部材(63)を抜止め用溝(35)に嵌めることで、ドライブ筒(20)に装着される。
より具体的には、スプリング(60)はコイルバネであり、スプリング用孔(32)内でプッシュロッド(40)の頭部(45)を上向きに付勢する。
押え部材(61)は、図1及び図2に示すように、ワッシャのような環状の板材であり、スプリング(60)により付勢される頭部(45)の上方への移動を阻止し、頭部(45)をヘッド部(12)よりも凹んだ位置で保持すると共に、中央の孔は、ドライバ等の細径の治具(80)を用いて頭部(45)を押し込み可能とする操作孔(62)となる。
操作孔(62)は、ユーザの指で誤操作されないように直径10mm以下、望ましくは5mm以下とすることが望ましい。なお、押え部材(61)は環状に限定されず、プッシュロッド(40)の頭部(45)の移動を阻止できれば挿通孔(30)から突出するネジ等でもよい。この場合、次に説明する抜止め部材(63)を兼ねることもできる。
また、抜止め部材(63)は、図2に示すように、止め輪を例示することができ、プライヤやピンセット等で縮めて抜止め用溝(35)に装着される。
上記構成のドライブ筒(20)を有するラチェットハンドル(10)の如きボルト締付機について、ソケット(70)の着脱を行なう方法について説明する。
図1に示すように、ドライブ筒(20)は、無負荷の状態では、図1に示すように、プッシュロッド(40)がスプリング(60)の付勢力により押え部材(61)に当たった状態で押し上げられており、ロッド部(41)の押出凹部(42)が抜止め球体(50)を横孔(24)から外側に押し出して後退しないように保持している。
図3に示すように、ドライバ等の細径の治具(80)を操作孔(62)に差し込んで、スプリング(60)の付勢力に抗して頭部(45)を下方に押し込む(図3中矢印A)。
頭部(45)の押し込みにより、プッシュロッド(40)は下方に移動し(図3中矢印B)、横孔(24)が逃し凹部(44)と対向して、抜止め球体(50)が逃し凹部(44)側に後退可能となる(図3中矢印C)。
この状態で、図3の矢印D及び図4の矢印Eに示すように、ソケット(70)をソケット取付部(21)に挿入すると、抜止め球体(50)はソケット(70)の端縁に当たって、逃し凹部(44)側に後退する(図4の矢印C)。
ソケット(70)を、図5に示すように、ソケット(70)の凹溝(72)が横孔(24)と対向するまで差し込んで、プッシュロッド(40)を押し込んでいた治具(80)を外すと、スプリング(60)の付勢力によりプッシュロッド(40)は押し上げられる(図5の矢印F)。
これにより、抜止め球体(50)は、逃し凹部(44)からテーパ面(43)を転動又はスライドして、押出凹部(42)により横孔(24)から臨出するよう押し出され、一部がソケット(70)の凹溝(72)に嵌まる(図5の矢印G)。
抜止め球体(50)がソケット(70)の凹溝(72)に嵌まることで、ソケット(70)はドライブ筒(20)に装着される。
なお、抜止め球体(50)は押出凹部(42)により後退不能となっており、また、プッシュロッド(40)は細径の治具(80)を用いない限り、操作不能であるから、意図しないソケット(70)の脱落を防止できる。
ソケット(70)を取り付けた後、ソケット(70)の差込穴(73)に所望のボルトやナットを嵌めて締結作業を行なうことができる。
ソケット(70)を取り外すには、まず、ドライバ等の細径の治具(80)を操作孔(62)に挿入しプッシュロッド(40)を押し込んで(図4の矢印A)、横孔(24)と逃し凹部(44)を対向させる。この状態から、ソケット(70)を図4の矢印H方向に引き出すと、抜止め球体(50)はソケット(70)の凹溝(72)から外れて、逃し凹部(44)側へ後退する(図4の矢印C)。
ソケット(70)をさらに図3の矢印Iに示すように引っ張ることで、ソケット(70)をドライブ筒(20)から取り外すことができる。
本発明によれば、プッシュロッド(40)は、細径の治具(80)を用いない限り操作を行なうことができないから、誤操作や他の部材に当たるなど、意図しないソケット(70)の脱落を防止できる。
本発明は、ドライブ筒よりソケットが意図せず外れてしまうことのないボルト締付機として広く利用可能である。
(10) ラチェットハンドル
(12) ヘッド部
(20) ドライブ筒
(21) ソケット取付部
(24) 横孔
(40) プッシュロッド
(41) ロッド部
(42) 押出凹部
(44) 逃し凹部
(50) 抜止め球体
(61) 押え部材
(62) 操作孔
(63) 抜止め部材
(70) ソケット
(80) 治具

Claims (4)

  1. ハンドルの先端に設けられたヘッド部と、
    該ヘッド部に取り付けられ、先端にボルト及び/又はナットと嵌合するソケットを装着可能なドライブ筒と、
    該ドライブ筒の軸方向に開設された挿通孔に嵌まり、挿通孔内でスライド可能なプッシュロッドと、
    前記ドライブ筒の側面から出没可能であり、前記プッシュロッドにより出没が規制される抜止め球体と、
    を具えたボルト締付機において、
    前記プッシュロッドは、軸状のロッド部と、該ロッド部の基端が拡径した頭部を有し、該頭部が前記ヘッド部よりも凹んだ位置でスライド可能に配備され
    前記挿入孔には、前記プッシュロッドの前記頭部を前記ヘッド部よりも凹んだ位置で保持する環状の板材からなる押え部材を具え、該押え部材は、前記プッシュロッドの前記頭部を操作可能な直径10mm以下の操作孔を有する、
    ことを特徴とするボルト締付機。
  2. 前記プッシュロッドの操作は、治具によって行なわれる請求項1に記載のボルト締付機。
  3. 前記プッシュロッドは、前記頭部を基端に向けて付勢するスプリングを介して前記挿通孔に挿入される、
    請求項1又は請求項2に記載のボルト締付機。
  4. 前記ドライブ筒は、前記抜止め球体が出没可能に形成された横孔を有し、
    前記ロッド部には、
    前記抜止め球体を前記横孔から臨出させるよう押し出す押出凹部が凹設され、
    該押出凹部に連続し軸芯側に傾斜したテーパ面を介して、前記抜止め球体を前記横孔内へ埋設させる逃し凹部が凹設されており、
    前記逃し凹部は、前記押出凹部よりも深底に形成されている、
    請求項1乃至請求項3の何れかに記載のボルト締付機。
JP2012000443A 2012-01-05 2012-01-05 ボルト締付機 Active JP5778043B2 (ja)

Priority Applications (1)

Application Number Priority Date Filing Date Title
JP2012000443A JP5778043B2 (ja) 2012-01-05 2012-01-05 ボルト締付機

Applications Claiming Priority (1)

Application Number Priority Date Filing Date Title
JP2012000443A JP5778043B2 (ja) 2012-01-05 2012-01-05 ボルト締付機

Publications (2)

Publication Number Publication Date
JP2013139069A JP2013139069A (ja) 2013-07-18
JP5778043B2 true JP5778043B2 (ja) 2015-09-16

Family

ID=49037014

Family Applications (1)

Application Number Title Priority Date Filing Date
JP2012000443A Active JP5778043B2 (ja) 2012-01-05 2012-01-05 ボルト締付機

Country Status (1)

Country Link
JP (1) JP5778043B2 (ja)

Families Citing this family (2)

* Cited by examiner, † Cited by third party
Publication number Priority date Publication date Assignee Title
CN111727105B (zh) * 2017-12-07 2022-01-07 士丹利·温纳德 带有旋转连接转接头和故障保险释放机构的手持式工具
TWI739493B (zh) * 2020-06-24 2021-09-11 優鋼機械股份有限公司 伸縮套筒

Family Cites Families (12)

* Cited by examiner, † Cited by third party
Publication number Priority date Publication date Assignee Title
US2954994A (en) * 1957-12-23 1960-10-04 Chicago Pneumatic Tool Co Socket retainer for rotary power tools
JPS52141571U (ja) * 1976-04-22 1977-10-26
US4187747A (en) * 1978-02-21 1980-02-12 Litton Industrial Products, Inc. Quick release mechanism for socket wrench
US4245528A (en) * 1979-05-29 1981-01-20 Ingersoll-Rand Company Push button socket release mechanism
US4508005A (en) * 1983-12-19 1985-04-02 Snap-On Tools Corporation Quick release mechanism for ratchet wrench
US4794828A (en) * 1983-12-19 1989-01-03 Snap-On Tools Corporation Quick release mechanism for ratchet wrench
JPS6327264U (ja) * 1986-07-29 1988-02-23
JPH0621671Y2 (ja) * 1989-07-15 1994-06-08 前田金属工業株式会社 ソケットレンチ
JPH0623424Y2 (ja) * 1989-07-27 1994-06-22 前田金属工業株式会社 回転工具
US5207544A (en) * 1992-03-04 1993-05-04 Vsi Corporation Fastener assembly
JP3896747B2 (ja) * 1999-12-28 2007-03-22 タカタ株式会社 シートベルト装置
JP3075345U (ja) * 2000-08-01 2001-02-16 世揆 謝 ダブルカム駆動式継手

Also Published As

Publication number Publication date
JP2013139069A (ja) 2013-07-18

Similar Documents

Publication Publication Date Title
US8863624B2 (en) Torque wrench with functional lock
US20200376648A1 (en) Foreign Object Removal Socket Adapter
US8308168B2 (en) Quick change tool bit holder
WO2021033152A2 (en) Foreign object removal socket adapter
US6874392B1 (en) Connector of hand tool
US20070295172A1 (en) Fastener Holding Device
US20090107303A1 (en) Tool locking mechanism
US20140311302A1 (en) Attachment for rotating tool
CA2822961C (en) Telescoping extension tool
CA2618359C (en) Adjustable tool extender
AU2008201152A1 (en) Wrench
US20150321332A1 (en) Retaining mechanism, holding sleeve and rod tool including the same
US9095961B1 (en) Wrench extension with magnetic arm
US10040188B2 (en) Ratchet handle having an extension member
CN102729190A (zh) 电动扳手套筒自锁结构
JP5778043B2 (ja) ボルト締付機
US8267408B2 (en) Hand tool that can replace tips easily and quickly
US20210094086A1 (en) Center Punch Driver for Positioning a Fastener
US20100207335A1 (en) Tool with a Chuck
JP3189981U7 (ja)
JP3189981U (ja) 回転工具用ソケット
EP1749604A2 (en) Tap and die ratcheting wrench assembly
US12337449B2 (en) Foreign object removal socket adapter
JP7755844B2 (ja) インパクトレンチ用ソケットアダプター
CN101607388A (zh) 起子头的接杆

Legal Events

Date Code Title Description
A621 Written request for application examination

Free format text: JAPANESE INTERMEDIATE CODE: A621

Effective date: 20140912

A131 Notification of reasons for refusal

Free format text: JAPANESE INTERMEDIATE CODE: A131

Effective date: 20150414

A977 Report on retrieval

Free format text: JAPANESE INTERMEDIATE CODE: A971007

Effective date: 20150416

A521 Written amendment

Free format text: JAPANESE INTERMEDIATE CODE: A523

Effective date: 20150615

TRDD Decision of grant or rejection written
A01 Written decision to grant a patent or to grant a registration (utility model)

Free format text: JAPANESE INTERMEDIATE CODE: A01

Effective date: 20150707

A61 First payment of annual fees (during grant procedure)

Free format text: JAPANESE INTERMEDIATE CODE: A61

Effective date: 20150708

R150 Certificate of patent or registration of utility model

Ref document number: 5778043

Country of ref document: JP

Free format text: JAPANESE INTERMEDIATE CODE: R150

R250 Receipt of annual fees

Free format text: JAPANESE INTERMEDIATE CODE: R250

R250 Receipt of annual fees

Free format text: JAPANESE INTERMEDIATE CODE: R250